WO2021157731A1 - 蓄電デバイス、及び、蓄電デバイスの製造方法 - Google Patents
蓄電デバイス、及び、蓄電デバイスの製造方法 Download PDFInfo
- Publication number
- WO2021157731A1 WO2021157731A1 PCT/JP2021/004456 JP2021004456W WO2021157731A1 WO 2021157731 A1 WO2021157731 A1 WO 2021157731A1 JP 2021004456 W JP2021004456 W JP 2021004456W WO 2021157731 A1 WO2021157731 A1 WO 2021157731A1
- Authority
- WO
- WIPO (PCT)
- Prior art keywords
- storage device
- power storage
- electrode
- exterior
- sealing portion
- Prior art date
- Legal status (The legal status is an assumption and is not a legal conclusion. Google has not performed a legal analysis and makes no representation as to the accuracy of the status listed.)
- Ceased
Links
Images
Classifications
-
- H—ELECTRICITY
- H01—ELECTRIC ELEMENTS
- H01G—CAPACITORS; CAPACITORS, RECTIFIERS, DETECTORS, SWITCHING DEVICES, LIGHT-SENSITIVE OR TEMPERATURE-SENSITIVE DEVICES OF THE ELECTROLYTIC TYPE
- H01G11/00—Hybrid capacitors, i.e. capacitors having different positive and negative electrodes; Electric double-layer [EDL] capacitors; Processes for the manufacture thereof or of parts thereof
- H01G11/78—Cases; Housings; Encapsulations; Mountings
-
- H—ELECTRICITY
- H01—ELECTRIC ELEMENTS
- H01G—CAPACITORS; CAPACITORS, RECTIFIERS, DETECTORS, SWITCHING DEVICES, LIGHT-SENSITIVE OR TEMPERATURE-SENSITIVE DEVICES OF THE ELECTROLYTIC TYPE
- H01G11/00—Hybrid capacitors, i.e. capacitors having different positive and negative electrodes; Electric double-layer [EDL] capacitors; Processes for the manufacture thereof or of parts thereof
- H01G11/10—Multiple hybrid or EDL capacitors, e.g. arrays or modules
-
- H—ELECTRICITY
- H01—ELECTRIC ELEMENTS
- H01M—PROCESSES OR MEANS, e.g. BATTERIES, FOR THE DIRECT CONVERSION OF CHEMICAL ENERGY INTO ELECTRICAL ENERGY
- H01M50/00—Constructional details or processes of manufacture of the non-active parts of electrochemical cells other than fuel cells, e.g. hybrid cells
- H01M50/50—Current conducting connections for cells or batteries
- H01M50/543—Terminals
- H01M50/564—Terminals characterised by their manufacturing process
- H01M50/566—Terminals characterised by their manufacturing process by welding, soldering or brazing
-
- H—ELECTRICITY
- H01—ELECTRIC ELEMENTS
- H01G—CAPACITORS; CAPACITORS, RECTIFIERS, DETECTORS, SWITCHING DEVICES, LIGHT-SENSITIVE OR TEMPERATURE-SENSITIVE DEVICES OF THE ELECTROLYTIC TYPE
- H01G11/00—Hybrid capacitors, i.e. capacitors having different positive and negative electrodes; Electric double-layer [EDL] capacitors; Processes for the manufacture thereof or of parts thereof
- H01G11/78—Cases; Housings; Encapsulations; Mountings
- H01G11/80—Gaskets; Sealings
-
- H—ELECTRICITY
- H01—ELECTRIC ELEMENTS
- H01G—CAPACITORS; CAPACITORS, RECTIFIERS, DETECTORS, SWITCHING DEVICES, LIGHT-SENSITIVE OR TEMPERATURE-SENSITIVE DEVICES OF THE ELECTROLYTIC TYPE
- H01G11/00—Hybrid capacitors, i.e. capacitors having different positive and negative electrodes; Electric double-layer [EDL] capacitors; Processes for the manufacture thereof or of parts thereof
- H01G11/84—Processes for the manufacture of hybrid or EDL capacitors, or components thereof
-
- H—ELECTRICITY
- H01—ELECTRIC ELEMENTS
- H01M—PROCESSES OR MEANS, e.g. BATTERIES, FOR THE DIRECT CONVERSION OF CHEMICAL ENERGY INTO ELECTRICAL ENERGY
- H01M50/00—Constructional details or processes of manufacture of the non-active parts of electrochemical cells other than fuel cells, e.g. hybrid cells
- H01M50/10—Primary casings; Jackets or wrappings
- H01M50/102—Primary casings; Jackets or wrappings characterised by their shape or physical structure
-
- H—ELECTRICITY
- H01—ELECTRIC ELEMENTS
- H01M—PROCESSES OR MEANS, e.g. BATTERIES, FOR THE DIRECT CONVERSION OF CHEMICAL ENERGY INTO ELECTRICAL ENERGY
- H01M50/00—Constructional details or processes of manufacture of the non-active parts of electrochemical cells other than fuel cells, e.g. hybrid cells
- H01M50/10—Primary casings; Jackets or wrappings
- H01M50/102—Primary casings; Jackets or wrappings characterised by their shape or physical structure
- H01M50/105—Pouches or flexible bags
-
- H—ELECTRICITY
- H01—ELECTRIC ELEMENTS
- H01M—PROCESSES OR MEANS, e.g. BATTERIES, FOR THE DIRECT CONVERSION OF CHEMICAL ENERGY INTO ELECTRICAL ENERGY
- H01M50/00—Constructional details or processes of manufacture of the non-active parts of electrochemical cells other than fuel cells, e.g. hybrid cells
- H01M50/10—Primary casings; Jackets or wrappings
- H01M50/147—Lids or covers
- H01M50/148—Lids or covers characterised by their shape
-
- H—ELECTRICITY
- H01—ELECTRIC ELEMENTS
- H01M—PROCESSES OR MEANS, e.g. BATTERIES, FOR THE DIRECT CONVERSION OF CHEMICAL ENERGY INTO ELECTRICAL ENERGY
- H01M50/00—Constructional details or processes of manufacture of the non-active parts of electrochemical cells other than fuel cells, e.g. hybrid cells
- H01M50/10—Primary casings; Jackets or wrappings
- H01M50/147—Lids or covers
- H01M50/166—Lids or covers characterised by the methods of assembling casings with lids
- H01M50/171—Lids or covers characterised by the methods of assembling casings with lids using adhesives or sealing agents
-
- H—ELECTRICITY
- H01—ELECTRIC ELEMENTS
- H01M—PROCESSES OR MEANS, e.g. BATTERIES, FOR THE DIRECT CONVERSION OF CHEMICAL ENERGY INTO ELECTRICAL ENERGY
- H01M50/00—Constructional details or processes of manufacture of the non-active parts of electrochemical cells other than fuel cells, e.g. hybrid cells
- H01M50/10—Primary casings; Jackets or wrappings
- H01M50/172—Arrangements of electric connectors penetrating the casing
-
- H—ELECTRICITY
- H01—ELECTRIC ELEMENTS
- H01M—PROCESSES OR MEANS, e.g. BATTERIES, FOR THE DIRECT CONVERSION OF CHEMICAL ENERGY INTO ELECTRICAL ENERGY
- H01M50/00—Constructional details or processes of manufacture of the non-active parts of electrochemical cells other than fuel cells, e.g. hybrid cells
- H01M50/10—Primary casings; Jackets or wrappings
- H01M50/172—Arrangements of electric connectors penetrating the casing
- H01M50/174—Arrangements of electric connectors penetrating the casing adapted for the shape of the cells
- H01M50/178—Arrangements of electric connectors penetrating the casing adapted for the shape of the cells for pouch or flexible bag cells
-
- H—ELECTRICITY
- H01—ELECTRIC ELEMENTS
- H01M—PROCESSES OR MEANS, e.g. BATTERIES, FOR THE DIRECT CONVERSION OF CHEMICAL ENERGY INTO ELECTRICAL ENERGY
- H01M50/00—Constructional details or processes of manufacture of the non-active parts of electrochemical cells other than fuel cells, e.g. hybrid cells
- H01M50/10—Primary casings; Jackets or wrappings
- H01M50/183—Sealing members
- H01M50/184—Sealing members characterised by their shape or structure
-
- H—ELECTRICITY
- H01—ELECTRIC ELEMENTS
- H01M—PROCESSES OR MEANS, e.g. BATTERIES, FOR THE DIRECT CONVERSION OF CHEMICAL ENERGY INTO ELECTRICAL ENERGY
- H01M50/00—Constructional details or processes of manufacture of the non-active parts of electrochemical cells other than fuel cells, e.g. hybrid cells
- H01M50/10—Primary casings; Jackets or wrappings
- H01M50/183—Sealing members
- H01M50/186—Sealing members characterised by the disposition of the sealing members
-
- H—ELECTRICITY
- H01—ELECTRIC ELEMENTS
- H01M—PROCESSES OR MEANS, e.g. BATTERIES, FOR THE DIRECT CONVERSION OF CHEMICAL ENERGY INTO ELECTRICAL ENERGY
- H01M50/00—Constructional details or processes of manufacture of the non-active parts of electrochemical cells other than fuel cells, e.g. hybrid cells
- H01M50/50—Current conducting connections for cells or batteries
- H01M50/531—Electrode connections inside a battery casing
- H01M50/536—Electrode connections inside a battery casing characterised by the method of fixing the leads to the electrodes, e.g. by welding
-
- H—ELECTRICITY
- H01—ELECTRIC ELEMENTS
- H01M—PROCESSES OR MEANS, e.g. BATTERIES, FOR THE DIRECT CONVERSION OF CHEMICAL ENERGY INTO ELECTRICAL ENERGY
- H01M50/00—Constructional details or processes of manufacture of the non-active parts of electrochemical cells other than fuel cells, e.g. hybrid cells
- H01M50/50—Current conducting connections for cells or batteries
- H01M50/543—Terminals
-
- H—ELECTRICITY
- H01—ELECTRIC ELEMENTS
- H01M—PROCESSES OR MEANS, e.g. BATTERIES, FOR THE DIRECT CONVERSION OF CHEMICAL ENERGY INTO ELECTRICAL ENERGY
- H01M50/00—Constructional details or processes of manufacture of the non-active parts of electrochemical cells other than fuel cells, e.g. hybrid cells
- H01M50/50—Current conducting connections for cells or batteries
- H01M50/543—Terminals
- H01M50/547—Terminals characterised by the disposition of the terminals on the cells
- H01M50/548—Terminals characterised by the disposition of the terminals on the cells on opposite sides of the cell
-
- H—ELECTRICITY
- H01—ELECTRIC ELEMENTS
- H01M—PROCESSES OR MEANS, e.g. BATTERIES, FOR THE DIRECT CONVERSION OF CHEMICAL ENERGY INTO ELECTRICAL ENERGY
- H01M50/00—Constructional details or processes of manufacture of the non-active parts of electrochemical cells other than fuel cells, e.g. hybrid cells
- H01M50/50—Current conducting connections for cells or batteries
- H01M50/543—Terminals
- H01M50/552—Terminals characterised by their shape
- H01M50/553—Terminals adapted for prismatic, pouch or rectangular cells
- H01M50/557—Plate-shaped terminals
-
- Y—GENERAL TAGGING OF NEW TECHNOLOGICAL DEVELOPMENTS; GENERAL TAGGING OF CROSS-SECTIONAL TECHNOLOGIES SPANNING OVER SEVERAL SECTIONS OF THE IPC; TECHNICAL SUBJECTS COVERED BY FORMER USPC CROSS-REFERENCE ART COLLECTIONS [XRACs] AND DIGESTS
- Y02—TECHNOLOGIES OR APPLICATIONS FOR MITIGATION OR ADAPTATION AGAINST CLIMATE CHANGE
- Y02E—REDUCTION OF GREENHOUSE GAS [GHG] EMISSIONS, RELATED TO ENERGY GENERATION, TRANSMISSION OR DISTRIBUTION
- Y02E60/00—Enabling technologies; Technologies with a potential or indirect contribution to GHG emissions mitigation
- Y02E60/10—Energy storage using batteries
Definitions
- the present invention relates to a power storage device and a method for manufacturing the power storage device.
- Patent Document 1 discloses a secondary battery. In this secondary battery, an electrode body is sealed in a bag made of a laminated film (see Patent Document 1).
- a sealing portion of a laminated film is provided on a surface having a large area. Since the sealing portion is a region where the films overlap, it is thicker than other regions.
- the upper secondary battery can tilt with the seal portion as a fulcrum. As a result, the unevenness of the pressure distribution applied to the lower secondary battery becomes large. Further, even when a plurality of secondary batteries are arranged in the horizontal direction so that the surface provided with the seal portion is in contact with the adjacent secondary batteries, the unevenness of the pressure distribution applied from the adjacent secondary batteries becomes large. ..
- the present invention has been made to solve such a problem, and an object of the present invention is a power storage device capable of suppressing uneven distribution of pressure applied to adjacent power storage devices when a plurality of power storage devices are stacked. And to provide a method for manufacturing the power storage device.
- a power storage device includes an electrode body and an exterior body.
- the outer body seals the electrode body.
- the exterior body is composed of a film-like exterior member.
- the exterior body includes a first sealing portion sealed by joining the surfaces facing each other in a state where the exterior member is wound around the electrode body.
- the base portion of the first sealing portion is formed at the boundary between the first surface and the second surface in the exterior body.
- the area of the first surface is larger than the area of the second surface.
- the first sealing portion does not overlap with the first surface in a plan view.
- the first sealing portion does not overlap with the first surface having a large area in a plan view. That is, the first sealing portion does not exist on the first surface having a large area. Therefore, even if other power storage devices are arranged side by side on the first surface, the other power storage devices do not tilt. As a result, according to this power storage device, it is possible to suppress uneven distribution of pressure applied to adjacent power storage devices when a plurality of power storage devices are stacked. Further, in this power storage device, the base portion of the first sealing portion is on the boundary between the first surface and the second surface of the exterior body. Therefore, according to this power storage device, when the first sealing portion is housed on the second surface, the first sealing portion is compared with the case where the base portion of the first sealing portion is on the second surface. A wide joint width can be secured in the portion.
- the first sealing portion may be bent so as to be in contact with the second surface.
- the first sealing portion may cover substantially the entire second surface in a state of being bent so as to be in contact with the second surface.
- a wide bonding width in the first sealing portion can be secured by covering substantially the entire second surface of the first sealing portion.
- the power storage device further includes an electrode terminal electrically connected to the electrode body, the outer body further includes a second sealing portion sealed with the electrode terminal sandwiched therein, and a part of the electrode terminal is formed.
- the base portion of the above-mentioned part which is outside the exterior body, may be located at a position approximately half the thickness of the power storage device in the thickness direction of the power storage device.
- a part of the electrode terminals on the outside of the exterior body is located at a position approximately half the thickness of the power storage device in the thickness direction of the power storage device. Therefore, according to this power storage device, for example, as compared with the case where a part of the power storage device is located at substantially the same position as the first surface in the thickness direction of the power storage device, each of the plurality of electrodes included in the electrode body and the electrode terminal The difference between the longest distance and the shortest distance can be reduced.
- a region where the bonding force between the surfaces is strong and a region where the bonding force between the surfaces is weak may be arranged along the boundary.
- a thin region and a thick region may be arranged along the boundary.
- the power storage device may further include an electrode terminal electrically connected to the electrode body, and the first sealing portion may be sealed with the electrode terminal sandwiched between them.
- the second storage device further includes an electrode terminal electrically connected to the electrode body and a lid body to which the electrode terminal is attached, and the outer body is sealed in a state of being joined to the lid body. It may further include a sealing portion.
- the lid includes a first surface facing the electrode body and a second surface opposite to the first surface, and the second sealing portion is joined to the outer body and the second surface. Part may be included.
- the power storage device further includes a lid, the exterior body further includes a second sealing portion sealed in a state of being joined to the lid, and the lid is a portion where a metal layer is exposed on the surface or a portion.
- a metal portion which is a portion made of a metal material may be included, and the metal portion and the electrode body may be welded to each other.
- the power storage device further includes an electrode terminal electrically connected to the electrode body, and the outer body is sealed with the electrode terminal sandwiched between the protruding portion protruding outward and the protruding portion.
- a second sealing portion may be further included.
- the direction along the boundary may be a direction orthogonal to the flow direction of the exterior member.
- a power storage device includes an electrode body, an electrode terminal electrically connected to the electrode body, and an outer body that seals the electrode body.
- the exterior body is composed of a film-like exterior member, and has a long side and a short side in a plan view.
- the electrode terminals are arranged along the long side.
- a power storage device includes an electrode body and an exterior body.
- the outer body seals the electrode body.
- the exterior member is composed of a film-like exterior member.
- the exterior body includes a piece in which the peripheral edges of the surfaces facing each other in a wound state around the electrode body are joined to each other.
- the base portion of one portion is formed at the boundary between surfaces in the exterior body. In one portion, a space is formed in which the surfaces facing each other are not joined to each other. In one portion, a region where the surfaces facing each other are joined and a region where the surfaces facing each other are not joined are lined up in the vicinity of the boundary.
- Gas can be generated inside the exterior.
- a space is formed in one portion, and a region in which the surfaces facing each other are joined and a region in which the surfaces facing each other are not joined are arranged in the vicinity of the boundary. Therefore, according to this power storage device, by releasing the sealed state of the exterior body at one portion, the gas inside the exterior body can be discharged through the one portion. Then, by sealing the exterior body again, the power storage device after degassing can be manufactured.
- the method for manufacturing a power storage device is a method for manufacturing a power storage device from an unfinished product.
- the unfinished product includes an electrode body and an exterior body.
- the outer body seals the electrode body.
- the exterior body is composed of a film-like exterior member.
- the exterior body includes a piece in which the peripheral edges of the surfaces facing each other in a state where the exterior member is wound around the electrode body are joined to each other.
- the base portion of one portion is formed at the boundary between surfaces in the exterior body. In one portion, a space is formed in which the surfaces facing each other are not joined to each other. In one portion, a region where the surfaces facing each other are joined and a region where the surfaces facing each other are not joined are lined up in the vicinity of the boundary.
- the manufacturing method is an exterior by releasing the sealed state of the exterior body at one part and discharging the gas to the outside of the exterior body, and joining the surfaces facing each other at at least a part of the one part. Includes a step of resealing the body.
- the power storage device after degassing can be manufactured by discharging gas through one part and sealing the exterior body again.
- the present invention it is possible to provide a power storage device capable of suppressing uneven distribution of pressure applied to a lower power storage device when a plurality of power storage devices are stacked, and a method for manufacturing the power storage device.
- FIG. It is a perspective view which shows typically the electricity storage device according to Embodiment 1.
- FIG. It is a top view which shows typically the power storage device.
- FIG. It is a figure which shows the state in which the exterior member was wound around the electrode body in the process of manufacturing the power storage device according to Embodiment 1 from below.
- It is a figure which shows a part of the VI-VI cross section of FIG. 2 schematically. It is a figure for demonstrating the method of forming the 2nd sealing part.
- FIG. 5 is a flowchart showing another manufacturing procedure of the power storage device according to the second embodiment.
- FIG. 3 is a diagram showing a state in which an exterior member is wound around an electrode body and a lid body is attached to the exterior member in the third embodiment from below.
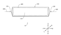
- FIG. 1 is a perspective view schematically showing a power storage device 10 according to the first embodiment.
- FIG. 2 is a plan view schematically showing the power storage device 10.
- FIG. 3 is a side view schematically showing the power storage device 10.
- the arrow UD direction indicates the thickness direction of the power storage device 10
- the arrow LR direction indicates the width direction of the power storage device 10.
- the arrow FB direction indicates the depth direction of the power storage device 10.
- the directions indicated by the arrows UDLRFB are the same in the following figures.
- the power storage device 10 includes an electrode body 200, an exterior body 100, and a plurality (two) electrode terminals 300.
- the electrode body 200 includes electrodes (positive electrode and negative electrode) and separators that form a power storage member such as a lithium ion battery, a capacitor, or an all-solid-state battery.
- the shape of the electrode body 200 is a substantially rectangular parallelepiped.
- substantially rectangular parallelepiped means that, in addition to a perfect rectangular parallelepiped, a solid that can be regarded as a rectangular parallelepiped by modifying the shape of a part of the outer surface, for example.
- the electrode terminal 300 is a metal terminal used for input / output of electric power in the electrode body 200.
- One end of the electrode terminal 300 is electrically connected to an electrode (positive electrode or negative electrode) included in the electrode body 200, and the other end protrudes outward from the edge of the exterior body 100.
- the metal material constituting the electrode terminal 300 is, for example, aluminum, nickel, copper, or the like.
- the electrode terminal 300 connected to the positive electrode is usually made of aluminum or the like
- the electrode terminal 300 connected to the negative electrode is usually made of copper, nickel or the like.
- the exterior body 100 is composed of a film-shaped exterior member 101 (FIG. 4, etc.) and seals the electrode body 200.
- the exterior member 100 is formed by winding the exterior member 101 around the electrode body 200 and sealing the open portion.
- an accommodating portion for accommodating the electrode body 200 in the exterior member 101 through cold molding.
- the exterior body 100 seals the electrode body 200 by winding the exterior member 101 around the electrode body 200, the electrode body 200 can be easily sealed regardless of the thickness of the electrode body 200.
- the exterior member 101 is wound so as to be in contact with the outer surface of the electrode body 200.
- the condition is preferred.
- the space between the electrode body 200 and the exterior member 101 can be eliminated from the viewpoint that it is necessary to uniformly apply a high pressure from the outer surface of the battery in order to exhibit the battery performance. Since it is required, it is preferable that the exterior member 101 is wound so as to be in contact with the outer surface of the electrode body 200.
- the exterior member 101 is, for example, a laminate (laminate film) having a base material layer, a barrier layer, and a heat-sealing resin layer in this order.
- the exterior member 101 does not have to include all of these layers, and may not include, for example, a barrier layer. That is, the exterior member 101 may be made of a flexible and bendable material, and may be made of, for example, a resin film.
- the exterior member 101 is preferably heat-sealable.
- the base material layer contained in the exterior member 101 is a layer for imparting heat resistance to the exterior member 101 and suppressing the occurrence of pinholes that may occur during processing or distribution.
- the base material layer is composed of, for example, at least one layer of a stretched polyester resin layer and a stretched polyamide resin layer.
- the barrier layer can be protected during processing of the exterior member 101 and the breakage of the exterior member 101 can be suppressed.
- the stretched polyester resin layer is preferably a biaxially stretched polyester resin layer
- the stretched polyamide resin layer is preferably a biaxially stretched polyamide resin layer.
- the stretched polyester resin layer is more preferably a biaxially stretched polyethylene terephthalate (PET) film
- the stretched polyamide resin layer is preferably a biaxially stretched nylon (ONy) film.
- the base material layer may be composed of both a stretched polyester resin layer and a stretched polyamide resin layer. From the viewpoint of film strength, the thickness of the base material layer is preferably, for example, 5 to 300 ⁇ m, and more preferably 20 to 150 ⁇ m.
- the barrier layer included in the exterior member 101 is made of, for example, aluminum foil in terms of workability such as moisture resistance and ductility and cost.
- the aluminum foil preferably contains iron from the viewpoint of packaging suitability and pinhole resistance when packaging the electrode body 200.
- the iron content in the aluminum foil is preferably 0.5 to 5.0% by mass, more preferably 0.7 to 2.0% by mass.
- the packaging suitability of the exterior member 101, excellent pinhole resistance, and ductility can be obtained.
- the iron content is 5.0% by mass or less, excellent flexibility of the exterior member 101 can be obtained.
- the thickness of the barrier layer is preferably, for example, 15 to 100 ⁇ m, and more preferably 30 to 80 ⁇ m from the viewpoint of barrier properties, pinhole resistance, and packaging suitability.
- the thickness of the barrier layer is 15 ⁇ m or more, the exterior member 101 is less likely to break even when stress is applied due to the packaging process.
- the thickness of the barrier layer is 100 ⁇ m or less, the increase in mass of the exterior member 101 can be reduced, and the decrease in weight energy density of the power storage device 10 can be suppressed.
- the barrier layer is an aluminum foil
- the barrier layer may be provided with a corrosion resistant film on both sides.
- the corrosion-resistant film is, for example, a hot water transformation treatment such as boehmite treatment, a chemical conversion treatment, anodizing treatment, a plating treatment such as nickel or chromium, and a corrosion prevention treatment for applying a coating agent on the surface of the barrier layer.
- a hot water transformation treatment such as boehmite treatment
- a chemical conversion treatment such as boehmite treatment
- anodizing treatment such as boehmite treatment
- a plating treatment such as nickel or chromium
- a corrosion prevention treatment for applying a coating agent on the surface of the barrier layer.
- a thin film that makes the barrier layer provided with corrosion resistance for example, acid resistance, alkali resistance, etc.
- the corrosion-resistant film means a film for improving the acid resistance of the barrier layer (acid-resistant film), a film for improving the alkali resistance of the barrier layer (alkali-resistant film), and the like.
- the treatment for forming the corrosion-resistant film one type may be performed, or two or more types may be combined. Moreover, not only one layer but also multiple layers can be used.
- the hydrothermal modification treatment and the anodizing treatment are treatments in which the surface of the metal foil is dissolved by a treatment agent to form a metal compound having excellent corrosion resistance. In addition, these processes may be included in the definition of chemical conversion process.
- the barrier layer includes the corrosion-resistant film.
- the corrosion-resistant film is a barrier due to prevention of delamination between the barrier layer (for example, aluminum alloy foil) and the base material layer during molding of the exterior member 101, and hydrogen fluoride generated by the reaction between the electrolyte and moisture. Prevents melting and corrosion of the layer surface, especially aluminum oxide existing on the barrier layer surface when the barrier layer is an aluminum alloy foil, and improves the adhesiveness (wetability) of the barrier layer surface. The effect of preventing the corrosion between the base material layer and the barrier layer at the time of heat sealing and the prevention of the corrosion between the base material layer and the barrier layer at the time of molding is shown.
- the heat-sealing resin layer contained in the exterior member 101 is a layer that imparts sealing properties to the exterior member 101 by heat sealing.
- the heat-sealing resin layer include a resin film made of a polyolefin resin or an acid-modified polyolefin resin obtained by graft-modifying a polyolefin resin with an acid such as maleic anhydride.
- the thickness of the heat-sealing resin layer is preferably, for example, 20 to 300 ⁇ m, and more preferably 40 to 150 ⁇ m from the viewpoint of sealing property and strength.
- the exterior member 101 has a layer having one or more cushioning functions (hereinafter, referred to as “buffer layer”) on the outside of the heat-sealing resin layer, more preferably on the outside of the barrier layer. Is preferable.
- the buffer layer may be laminated on the outside of the base material layer, and the base material layer may also have the function of the buffer layer.
- the plurality of buffer layers may be adjacent to each other, or may be laminated via a base material layer, a barrier layer, or the like.
- the material constituting the cushioning layer can be arbitrarily selected from materials having cushioning properties.
- the material having cushioning property is, for example, rubber, non-woven fabric, or foamed sheet.
- the rubber is, for example, natural rubber, fluororubber, or silicon rubber.
- the rubber hardness is preferably about 20 to 90.
- the material constituting the non-woven fabric is preferably a material having excellent heat resistance.
- the lower limit of the thickness of the buffer layer is preferably 100 ⁇ m, more preferably 200 ⁇ m, still more preferably 1000 ⁇ m.
- the upper limit of the thickness of the buffer layer is preferably 5000 ⁇ m, more preferably 3000 ⁇ m.
- the preferred range of buffer layer thickness is 100 ⁇ m to 5000 ⁇ m, 100 ⁇ m to 3000 ⁇ m, 200 ⁇ m to 3000 ⁇ m, 1000 ⁇ m to 5000 ⁇ m, or 1000 ⁇ m to 3000 ⁇ m.
- the range of the thickness of the buffer layer is most preferably 1000 ⁇ m to 3000 ⁇ m.
- the lower limit of the thickness of the buffer layer is preferably 0.5 mm.
- the upper limit of the thickness of the buffer layer is preferably 10 mm, more preferably 5 mm, still more preferably 2 mm.
- the preferred range of thickness of the buffer layer is 0.5 mm to 10 mm, 0.5 mm to 5 mm, or 0.5 mm to 2 mm.
- the cushioning layer functions as a cushion, so that the exterior member 101 is prevented from being damaged by the impact when the power storage device 10 is dropped or the handling during manufacturing of the power storage device 10. Will be done.
- FIG. 4 is a side view showing a state in which the exterior member 101 is wound around the electrode body 200 during the manufacturing of the power storage device 10.
- an exterior member 101 is wound around the electrode body 200.
- the outermost layer of the electrode body 200 does not necessarily have to be an electrode, and may be, for example, a protective tape or a separator.
- the surfaces of the exterior member 101 facing each other heat-sealed to form the first sealing portion 110. There is.
- the base portion of the first sealing portion 110 is on the side 135 of the exterior body 100.
- the side 135 is formed at the boundary between the first surface 130 and the second surface 140 having a smaller area than the first surface 130. That is, it can be said that the root portion of the first sealing portion 110 is formed at the boundary between the first surface 130 and the second surface 140, and does not exist on either the first surface 130 or the second surface 140. It can be said that.
- the first sealing portion 110 is bent toward the second surface 140 side with the side 135 as the center.
- the first sealing portion 110 is in contact with the second surface 140 and covers substantially the entire second surface 140.
- the "substantially the entire second surface 140" means an area that occupies an area of 75% or more of the second surface 140.
- the first sealing portion 110 is not formed on the first surface 130 having a large area.
- the first surface 130 is flat as compared with the case where the first surface 130 is in contact with a sealing portion such as the first sealing portion 110. Therefore, even if another power storage device 10 is placed on the first surface 130, the other power storage device 10 does not tilt.
- the power storage device 10 it is possible to suppress uneven distribution of pressure applied to the lower power storage device 10 when a plurality of power storage devices 10 are stacked.
- the first sealing portion 110 is not arranged on the surface (first surface 130) adjacent to the adjacent power storage devices 10. ..
- such a configuration is preferable from the viewpoint that it is necessary to uniformly apply a high pressure from the outer surface of the battery in order to exhibit the battery performance.
- the base portion of the first sealing portion 110 is on the side 135 of the exterior body 100. Therefore, according to the power storage device 10, the first portion of the first sealing portion 110 is located on the second surface 140 (for example, the central portion of the second surface 140 in the direction of the arrow UD). A wide joint region in the sealing portion 110 can be secured.
- the joining region of the first sealing portion 110 does not necessarily have to be the entire region of the first sealing portion 110.
- the first sealing portion 110 such as only in the vicinity of the base portion of the first sealing portion 110. It may be a part of.
- substantially the entire second surface 140 is covered by the first sealing portion 110. That is, in the power storage device 10, for example, the length of the first sealing portion 110 in the arrow UD direction is longer than that in the case where the first sealing portion 110 covers only a region equal to or less than half of the second surface 140. (See FIG. 3). Therefore, according to the power storage device 10, a wide bonding region in the first sealing portion 110 can be secured. Further, since substantially the entire second surface 140 is covered by the first sealing portion 110, even if the power storage device 10 is arranged upright so that the second surface 140 is in contact with the mounting surface, the power storage device 10 Is stable. That is, the power storage device 10 is less likely to tilt with respect to the mounting surface. Therefore, such a configuration is effective, for example, when a plurality of power storage devices 10 are arranged side by side to form a module.
- FIG. 5 is a diagram showing a state in which the exterior member 101 is wound around the electrode body 200 during the manufacturing of the power storage device 10 from below.
- the direction along the side 135 is the TD (Transverse Direction) of the exterior member 101
- the direction orthogonal to the side 135 is the MD (Machine Direction) of the exterior member 101. .. That is, the direction along the side 135 is the direction (TD) orthogonal to the flow direction (MD) of the exterior member 101.
- the first sealing portion 110 is bent along the side 135, and the direction along the side 135 is the direction orthogonal to the flow direction of the exterior member 101. Therefore, according to the power storage device 10, even if a crease is formed in a direction orthogonal to the flow direction of the exterior member 101, the exterior member 101 is unlikely to break, so that the first sealing portion 110 is bent to perform the first sealing. The possibility of the portion 110 breaking can be reduced.
- the flow direction (MD) of the exterior member 101 corresponds to the rolling direction (RD) of the metal foil (aluminum alloy foil, etc.) of the barrier layer included in the exterior member 101.
- the TD of the exterior member 101 corresponds to the TD of the metal foil.
- the rolling direction (RD) of the metal foil can be determined by the rolling stitches.
- heat-sealing property The direction perpendicular to the thickness direction of the heat-sealing resin layer (hereinafter, "heat-sealing property").
- the direction parallel to the cross section where the average diameter of the islands in also referred to as “the length direction of the resin layer" was the maximum can be determined as MD.
- the cross section of the heat-sealing resin layer in the length direction and the cross section in the length direction are changed by 10 degrees from the direction parallel to the cross section in the length direction, and the cross section is changed to the direction perpendicular to the cross section in the length direction.
- the cross-sections (10 cross-sections in total) are observed by electron micrographs to confirm the sea-island structure.
- the diameter d of the island is measured by the linear distance connecting both ends in the direction perpendicular to the thickness direction of the heat-sealing resin layer.
- the average of the diameters d of the top 20 islands from the largest is calculated.
- the direction parallel to the cross section having the largest average diameter d of the islands is determined as MD.
- FIG. 6 is a diagram schematically showing a part of the VI-VI cross section of FIG. As shown in FIG. 6, the second sealing portion 120 is sealed with the exterior body 100 sandwiching the electrode terminal 300.
- FIG. 7 is a diagram for explaining a method of forming the second sealing portion 120.
- the exterior member 101 is folded, and the surfaces of the exterior member 101 facing each other (heat-sealing resin layers) are heat-sealed to form the second sealing portion 120.
- the electrode terminals 300 are located between the surfaces of the exterior members 101 facing each other.
- An adhesive film that adheres to both metal and resin may be arranged between the electrode terminal 300 and the exterior member 101.
- the electrode body 200 includes a plurality of electrodes 210 (positive electrode and negative electrode).
- the current collector 215 extending from each electrode 210 is connected to the electrode terminal 300.
- a part of the electrode terminals 300 on the outside of the exterior body 100 is located at a position approximately half the thickness of the power storage device 10 in the thickness direction of the power storage device 10. That is, the length L2 is approximately half of the length L1.
- the term "approximately half the thickness of the power storage device 10" means 35% to 65% of the thickness of the power storage device 10.
- each of the plurality of electrodes 210 and the electrode terminal 300 can be reduced.
- FIG. 8 is a flowchart showing a manufacturing procedure of the power storage device 10. The process shown in FIG. 8 is performed, for example, by the manufacturing apparatus of the power storage device 10.
- the manufacturing apparatus winds the exterior member 101 around the electrode body 200 (step S100).
- the manufacturing apparatus forms the first sealing portion 110 by heat-sealing the surfaces (heat-sealing resin layers) of the exterior members 101 facing each other (step S110).
- the unfinished products shown in FIGS. 4 and 5 are completed.
- the manufacturing apparatus bends the first sealing portion 110 so that the first sealing portion 110 is in contact with the second surface 140 (step S120).
- the manufacturing apparatus folds the exterior member 101 with the electrode body 200 housed therein, and heat-seals the surfaces (heat-sealing resin layers) of the exterior members 101 facing each other to form the second sealing portion 120 (the second sealing portion 120).
- Step S130 the power storage device 10 is completed.
- the first sealing portion 110 is bent toward the second surface 140 having a small area. That is, the first sealing portion 110 does not exist on the first surface 130 having a large area. Therefore, even if another power storage device 10 is placed on the first surface 130, the other power storage device 10 does not tilt. As a result, according to the power storage device 10, it is possible to suppress uneven distribution of pressure applied to the lower power storage device 10 when a plurality of power storage devices 10 are stacked. Further, when used in an all-solid-state battery, the packaging form of the present invention is preferable because it is necessary to apply a high pressure uniformly from the outer surface of the battery in order to exhibit the battery performance.
- the base portion of the first sealing portion 110 is on the side 135 of the exterior body 100. Therefore, according to the power storage device 10, when the first sealing portion 110 is housed on the second surface 140, the base portion of the first sealing portion 110 is on the second surface 140, as compared with the case where the base portion is on the second surface 140. A wide joint width can be secured in the first sealing portion 110.
- the second sealing portion 120 is formed by folding the exterior member 101 and heat-sealing the surfaces of the exterior member 101 facing each other.
- the shape and forming method of the second sealing portion 120 are not limited to this. In the following, the parts different from the first embodiment will be mainly described, and the parts common to the first embodiment will be omitted.
- FIG. 9 is a plan view schematically showing the power storage device 10X according to the second embodiment.
- FIG. 10 is a side view schematically showing the power storage device 10X.
- FIG. 11 is a perspective view schematically showing the lid body 400.
- the exterior body 100X is configured by fitting the lid 400 into each of the openings at both ends of the exterior member 101 wound around the electrode body 200.
- the second sealing portion 120X is formed by heat-sealing the exterior member 101 and the lid 400 with the lid 400 fitted.
- the lid body 400 is a bottom tray-like member having a rectangular shape in a plan view, and is formed by, for example, cold-molding the exterior member 101.
- the lid body 400 does not necessarily have to be composed of the exterior member 101, and may be a metal molded product or a resin molded product.
- the lid 400 is arranged so that the bottom surface side of the lid 400 is located inside the exterior 100X.
- the bottom surface side of the lid body 400 does not necessarily have to be located inside the exterior body 100X.
- the bottom surface side of the lid body 400 may be located outside the exterior body 100X.
- the electrode terminal 300 passes between the lid body 400 and the exterior member 101 and projects to the outside of the exterior body 100X. That is, the lid body 400 and the exterior member 101 are heat-sealed with the electrode terminal 300 sandwiched between them.
- the position where the electrode terminal 300 projects to the outside does not necessarily have to be between the lid body 400 and the exterior member 101.
- the electrode terminal 300 may project outward from a hole formed in any of the six surfaces of the exterior body 100X. In this case, the slight gap between the exterior body 100X and the electrode terminal 300 is filled with, for example, resin.
- the lid 400 and the electrode terminal 300 are provided as separate bodies.
- the lid body 400 and the electrode terminal 300 do not necessarily have to be provided as separate bodies.
- the lid 400 and the electrode terminal 300 may be integrally formed.
- FIG. 12 is a diagram showing a first example in which the lid body 400 and the electrode terminal 300 are integrally formed. As shown in FIG. 12, in the first example, the electrode terminal 300 is pre-heat-sealed on the side surface of the lid 400.
- an adhesive film that adheres to both metal and resin may be arranged between the lid body 400 and the electrode terminal 300.
- FIG. 13 is a diagram showing a second example in which the lid body 400 and the electrode terminal 300 are integrally formed. As shown in FIG. 13, in the second example, the electrode terminal 300 penetrates the hole formed in the bottom surface portion of the lid body 400. The slight gaps in the holes on the bottom surface of the lid 400 are filled with, for example, resin.
- a gas valve may be attached to a hole formed in any one of the six surfaces of the second sealing portion 120X or the exterior body 100X.
- the gas valve is composed of, for example, a check valve or a break valve, and is configured to reduce the pressure inside the exterior body 100X when the pressure inside the exterior body 100X rises due to the gas generated inside the power storage device 10X. ing.
- FIG. 14 is a flowchart showing a manufacturing procedure of the power storage device 10X. The process shown in FIG. 14 is performed, for example, by the manufacturing apparatus of the power storage device 10X.
- the manufacturing apparatus winds the exterior member 101 around the electrode body 200 (step S200).
- the manufacturing apparatus forms the first sealing portion 110 by heat-sealing the surfaces (heat-sealing resin layers) of the exterior members 101 facing each other (step S210). As a result, the unfinished products shown in FIGS. 4 and 5 are completed.
- the manufacturing apparatus bends the first sealing portion 110 so that the first sealing portion 110 is in contact with the second surface 140 (step S220).
- the manufacturing apparatus accommodates the electrode body 200 in the unfinished product completed in step S220, and attaches the lid body 400 to each of the openings at both ends thereof (step S230).
- the manufacturing apparatus heat-seals the exterior member 101 and the lid 400 to form the second sealing portion 120X (step S240). As a result, the power storage device 10X is completed.
- the first sealing portion 110 is bent toward the second surface 140 having a small area. Therefore, according to the power storage device 10X, it is possible to suppress uneven distribution of pressure applied to the lower power storage device 10X when a plurality of power storage devices 10X are stacked.
- the first sealing portion 110 does not necessarily have to be bent toward the second surface 140 having a small area.
- the first sealing portion 110 may be bent toward the first surface 130 having a large area.
- the base portion of the first sealing portion 110 does not necessarily have to be on the side 135 of the exterior body 100X.
- the base portion of the first sealing portion 110 may be located on a surface other than the lid 400 in the exterior body 100X, for example.
- the power storage device 10X according to the second embodiment includes, for example, the following features.
- the power storage device 10X includes an electrode body (electrode body 200) and an exterior body (exterior body 100X) that seals the electrode body (electrode body 200), and the exterior body (exterior body 100X) is an electrode body (electrode body).
- An exterior member (exterior member 101) wound around the 200) and having openings formed at both ends thereof, and a lid body (lid body 400) for sealing the openings are provided.
- the second sealing portion 120X is not formed by heat-sealing the surfaces of the exterior members 101 facing each other as in the first embodiment (see FIG. 7).
- the opening of the exterior member 101 wound around the electrode body 200 is sealed by the lid body 400. That is, the second sealing portion 120X is formed at the portion where the lid body 400 and the exterior member 101 overlap (see FIGS. 9 and 10). According to such a configuration, the region of the second sealing portion 120X can be easily narrowed by adjusting the depth L3 (FIG. 11) of the lid body 400.
- the second sealing portion 120X is not formed by heat-sealing the surfaces of the exterior members 101 facing each other as in the first embodiment. ..
- the manufacturing procedure of the power storage device 10X is not limited to the procedure shown in the flowchart of FIG.
- the power storage device 10X may be manufactured by the procedure shown in the flowchart of FIG.
- FIG. 15 is a flowchart showing another manufacturing procedure of the power storage device 10X according to the second embodiment.
- the process shown in FIG. 15 is performed, for example, by the manufacturing apparatus of the power storage device 10X.
- the manufacturing apparatus attaches a member in which the electrode terminal 300 and the lid body 400 are integrated (for example, the member shown in FIGS. 12 and 13) to the electrode body 200 (step S250).
- the electrode terminal 300 is welded to the electrode body 200.
- the manufacturing apparatus winds the exterior member 101 around the electrode body 200 (step S260).
- the first sealing portion 110 is formed by heat-sealing the surfaces (heat-sealing resin layers) facing each other of the exterior member 101, and the exterior member 101 and the lid 400 are heat-sealed.
- the second sealing portion 120X is formed by the above (step S270). This completes the power storage device 10X.
- the power storage device 10X may be manufactured by such a procedure.
- Embodiment 3 It is common to go through a step of aging a temporarily sealed power storage device in a predetermined temperature environment for a predetermined time (hereinafter referred to as an aging step) for the purpose of infiltrating the electrolytic solution into the electrode body in the battery manufacturing process. It is necessary to generate gas from the electrode body 200 in the process and discharge the gas to the outside of the battery.
- the power storage device 10X according to the second embodiment is not provided with a mechanism for removing the gas generated in the aging step at the final stage of manufacturing the power storage device 10X.
- the power storage device 10Y according to the third embodiment is provided with a mechanism for removing the gas generated from the electrode body 200 at the final stage of manufacturing the power storage device 10Y.
- the parts different from the second embodiment will be mainly described, and the parts common to the second embodiment will be omitted.
- FIG. 16 is a view showing a state in which the exterior member 101Y is wound around the electrode body 200 during the manufacturing of the power storage device 10Y from the side.
- FIG. 17 is a view from below showing a state in which the exterior member 101Y is wound around the electrode body 200 and the lid body 400 is attached to the exterior member 101Y during the manufacturing of the power storage device 10Y.
- one portion 150 is formed in a state where the exterior member 101Y is wound around the electrode body 200.
- the piece 150 is formed by joining the surfaces of the exterior member 101Y facing each other in a state where the exterior member 101Y is wound around the electrode body 200. More specifically, the piece 150 is formed by joining (heat-sealing) the peripheral edges of the surfaces facing each other in a state where the exterior member 101Y is wound around the electrode body 200. That is, in the piece 150, the first sealing portion 154 is formed on the peripheral edge.
- a space 152 is formed in which the surfaces of the exterior member 101Y facing each other are not joined to each other.
- the joining region 151 in which the facing surfaces of the exterior member 101Y are joined to each other and the unjoined region 153 in which the facing surfaces of the exterior member 101Y are not joined are alternately arranged. That is, in the piece 150, the pattern of the joint region 151 is formed along the side 135.
- the gas generated from the electrode body 200 is discharged to the outside of the exterior body 100Y by releasing the sealed state of the exterior body 100Y by cutting off a part of the piece 150 or the like.
- the gas discharged to the outside of the exterior body 100Y is not necessarily limited to the gas generated from the electrode body 200, but is a gas other than the gas generated from the electrode body 200 such as air, water vapor, or hydrogen sulfide. May be good.
- the exterior body 100Y is put into the sealed state again by heat-sealing the portion including the vicinity of the side 135 in a band shape.
- the power storage device 10Y is completed.
- a region where the bonding force between the surfaces of the exterior member 101Y facing each other is strong and a region where the bonding force between the surfaces is weak are alternately arranged along the side 135. ..
- the thin portion and the thick portion are alternately arranged along the side 135. This is because the unbonded region 153 is single-sealed by heat-sealing the vicinity of the side 135 again, but the bonded region 151 is double-sealed.
- FIG. 18 is a flowchart showing a manufacturing procedure of the power storage device 10Y. The process shown in FIG. 18 is performed, for example, by the manufacturing apparatus of the power storage device 10Y.
- the manufacturing apparatus winds the exterior member 101Y around the electrode body 200 (step S300).
- the manufacturing apparatus forms the first sealing portion 154 by heat-sealing the peripheral edges of the surfaces (heat-sealing resin layers) of the exterior member 101Y facing each other (step S310).
- the manufacturing apparatus heat-seals the facing surfaces of the exterior members 101Y in the vicinity of the side 135 to form a pattern of the joint region 151 (step S320).
- the manufacturing apparatus attaches the lid 400 to each of the openings at both ends with the electrode body 200 housed in the unfinished product completed in step S320 (step S330).
- the manufacturing apparatus heat-seals the exterior member 101Y and the lid 400 to form the second sealing portion 120X (step S340). After that, it goes through an aging process.
- the manufacturing apparatus degass the gas generated in the aging process by cutting off one piece 150 or the like (step S350).
- the manufacturing apparatus reseals the exterior body 100Y by heat-sealing the portion of the piece 150 including the joint region 151 in a band shape and removing the edge portion (step S360). After that, the power storage device 10Y is completed by bending the piece 150 toward the second surface 140.
- the piece 150 including the first sealing portion 154 is bent on the second surface 140 side having a small area. Therefore, according to the power storage device 10Y, it is possible to suppress uneven distribution of pressure applied to the lower power storage device 10Y when a plurality of power storage devices 10Y are stacked.
- the packaging form of the present invention is preferable because it is necessary to apply a high pressure uniformly from the outer surface of the battery in order to exhibit the battery performance.
- Embodiment 4 In the power storage device 10X according to the second embodiment, the position where the electrode terminal 300 protrudes to the outside was between the lid body 400 and the exterior member 101. However, the position where the electrode terminal 300 projects to the outside is not limited to this. In the following, the parts different from the second embodiment will be mainly described, and the parts common to the second embodiment will be omitted.
- FIG. 19 is a plan view schematically showing the power storage device 10XA according to the fourth embodiment.
- FIG. 20 is a side view schematically showing the power storage device 10XA.
- the exterior body 100X of the power storage device 10XA includes a pair of long sides 100XA and a pair of short sides 100XB in a plan view.
- the exterior body 100X is configured by fitting the lid body 400 into each of the openings along the long side 100XA of the exterior member 101 wound around the electrode body 200.
- the second sealing portion 120X is formed by heat-sealing the exterior member 101 and the lid 400 with the lid 400 fitted.
- a through hole (not shown) is formed in the lid body 400.
- the two electrode terminals 300 project from the through holes of the lid body 400 to the outside of the exterior body 100X.
- the two electrode terminals 300 have a shape along the long side 100XA of the exterior body 100X.
- the slight gap between the through hole and the electrode terminal 300 is filled with, for example, resin.
- the first sealing portion 110 is formed on one side of the pair of short sides 100XB.
- the position of the electrode terminal 300 of the lid 400 in the thickness direction (arrow UD direction) of the power storage device 10XA can be arbitrarily selected.
- the electrode terminal 300 projects from the substantially center of the lid 400 to the outside of the exterior 100X in the thickness direction of the power storage device 10XA.
- the length of the electrode terminal 300 in the depth direction (arrow FB direction) of the power storage device 10XA can be arbitrarily selected.
- the length of the electrode terminal 300 in the depth direction (arrow FB direction) of the power storage device 10XA is substantially the same as the length of the electrode body 200.
- the electrode terminals 300 are arranged along the long side 100XA having a long depth direction, a larger electrode terminal 300 can be used. Therefore, a high output power storage device 10XA can be provided.
- one exterior member is wound around the electrode body 200.
- the number of exterior members wound around the electrode body 200 does not necessarily have to be one.
- two or more exterior members may be wound around the electrode body 200.
- FIG. 21 is a side view showing a state in which the exterior members 101Z1 and 101Z2 are wound around the electrode body 200 during the manufacturing of the power storage device in the modified example.
- the electrode body 200 is surrounded by exterior members 101Z1 and 101Z2.
- the first sealing portion 110Z is formed by joining the facing surfaces of the exterior members 101Z1 and 101Z2 to each other.
- each first sealing portion 110Z is bent toward the second surface 140Z side instead of the first surface 130Z side. Even with such a configuration, it is possible to achieve the effect of suppressing uneven distribution of pressure applied to the lower power storage device when a plurality of power storage devices are stacked.
- each first sealing portion 110Z does not necessarily have to be bent. Further, in this modification, each sealing portion 110Z may be sealed with a part of the electrode terminal 300 sandwiched between them. Further, in this modification, each first sealing portion 110Z does not need to be formed on the side 135Z, and may project outward from the substantially center of the second surface 140Z in the thickness direction of the power storage device.
- the electrode body 200 is a so-called stack type formed by stacking a plurality of electrodes 210, but the form of the electrode body 200 is not limited to this.
- the electrode body 200 may be, for example, a so-called winding type configured by winding a positive electrode and a negative electrode via a separator. Further, the electrode body 200 may be configured by laminating a plurality of so-called winding type electrode bodies.
- the second surface 140 is a plane extending downward at a substantially right angle from the first surface 130.
- the form of the second surface 140 is not limited to this.
- the electrode body 200 is a winding type electrode body and a flat surface and a curved surface are formed on the outer circumference.
- the area of the plane is larger than the area of the curved surface
- the first surface 130 covers the plane of the electrode body
- the second surface 140 covers the curved surface of the electrode body.
- the second surface 140 may be formed of a curved surface.
- the boundary portion from the first surface 130 to the second surface 140 extending downward is the side 135.
- the joining regions 151 are formed at four locations.
- the number of locations where the junction region 151 is formed is not limited to this.
- the joint region 151 may be formed only at two locations near both ends along the side 135 or at one location near the center of the side 135, or may be formed at five or more locations.
- the electrode terminal 300 is arranged in the second sealing portion 120, but the position where the electrode terminal 300 is arranged in the exterior body 100 is not limited to this.
- the electrode terminal 300 can also be arranged in the first sealing portion 110.
- the first sealing portion 110 is sealed with the electrode terminal 300 sandwiched between them.
- at least one of the two electrode terminals 300 may be bent toward the second surface 140, may be bent toward the side opposite to the second surface 140, or protrude outward from the side 135. It does not have to be bent to do so.
- the electrode terminal 300 and the first sealing portion 110 can be easily sealed, so that the sealing performance of the exterior body 100 is enhanced.
- the electrode body 200 can be easily housed in the exterior body 100.
- the lid body 400 is fitted into each of the openings at both ends of the exterior member 101 as in the second embodiment.
- the second sealing portion 120 is formed by heat-sealing the exterior member 101 and the lid 400 with the lid 400 fitted.
- FIG. 23 is a perspective view showing a lid body 500 as a modified example of the lid body 400.
- the lid body 500 is, for example, plate-shaped and includes a first surface 500A facing the electrode body 200 (see FIG. 9) and a surface 500B opposite to the first surface 500A.
- a hole 500C penetrating the first surface 500A and the second surface 500B is formed in the center of the lid body 500.
- the material constituting the lid body 500 is, for example, a resin.
- the adhesive film 530 that adheres to both the electrode terminal 300 and the lid 500 is attached to a predetermined range including the portion of the electrode terminal 300 that is joined to the lid 500.
- the lid body 500 is composed of a member divided into a first portion 510 and a second portion 520, and the first portion 510 and the second portion 520 are joined so as to sandwich the electrode terminal 300 and the adhesive film 530. It may be manufactured. Further, the lid body 500 may be manufactured by insert molding the lid body 500 with respect to the electrode terminal 300 in which the adhesive film 530 is attached. Further, in this modification, it is preferable that the barrier layer is laminated on at least a part of the surface of the lid body 500.
- a barrier layer may be formed in any layer.
- the material constituting the barrier layer is, for example, aluminum.
- the gap is filled with a resin material such as hot melt.
- the exterior member 101 and the second surface 500B of the lid body 500 are joined to each other in a state where the lid body 500 is fitted.
- the sealing portion 120X is formed.
- the joining means between the exterior member 101 and the second surface 500B of the lid body 500 is, for example, a heat seal.
- the sealing performance of the exterior body 100X is enhanced.
- FIG. 25 is a front view of the lid body 600 of another modified example of the lid body 400 in the second embodiment.
- the lid body 600 includes a metal portion 610 that is a portion where metal is exposed on the surface, and the metal portion 610 and the electrode 210 of the electrode body 200 are welded to each other.
- the entire lid 600 may be composed of only the metal portion 610, or the metal portion 610 may be partially formed.
- the lid body 600 is made of a multi-layered material including a metal layer.
- the metal portion 610 is a portion in which a layer other than the metal layer is partially removed so that the metal layer is exposed.
- the power storage device 10X can be configured in a compact size.
- FIG. 26 is a front view of the lid body 700 of another modified example of the lid body 400 in the second embodiment.
- the lid body 700 includes a metal portion 710 made of a metal material and a non-metal portion 720 connected to the metal portion 710 and made of a resin material.
- the metal portion 710 is welded to the electrode 210 of the electrode body 200.
- the power storage device 10X see FIG. 9) can be configured in a compact size.
- the second sealing portion 120 is formed by folding the exterior member 101 and heat-sealing the heat-sealing resin layers of the exterior member 101.
- the method for forming the second sealing portion 120 is not limited to this.
- FIG. 27 is a plan view schematically showing the power storage device 10 having the second sealing portion 120Y of the modified example.
- the exterior member 101 has an overhanging portion 101X extending outward from the exterior body 100, and the heat-sealing resin layers of the overhanging portion 101X are heat-sealed to form a second sealing portion 120Y. It is formed.
- the heat-sealing resin layer of the overhanging portion 101X and the electrode terminal 300 are heat-sealed.
- the second sealing portion 120Y can be heat-sealed more firmly, so that the sealing performance of the exterior body 100 is improved.
- the portion of the overhanging portion 101X other than the portion heat-sealed with the electrode terminal 300 may be cut if necessary. Note that this modification can also be applied to the modification shown in FIG.
- 10,10X, 10XA, 10Y, 10Z power storage device 100, 100X, 100Y exterior body, 101, 101Y, 101Z1, 101Z2 exterior member, 101X overhang part, 110, 110Z, 154 first sealing part, 120, 120X, 120Y 2nd sealing part, 130, 130Z 1st surface, 135, 135Z side, 140, 140Z 2nd surface, 150 piece part, 151 bonding area, 152 space, 153 unbonded area, 200 electrode body, 210 electrode, 215 Collector, 300 electrode terminals, 500A 1st surface, 500B 2nd surface, 400,500,700 lid, 610,710 metal part, C1 corner.
Landscapes
- Chemical & Material Sciences (AREA)
- Chemical Kinetics & Catalysis (AREA)
- Electrochemistry (AREA)
- General Chemical & Material Sciences (AREA)
- Engineering & Computer Science (AREA)
- Power Engineering (AREA)
- Microelectronics & Electronic Packaging (AREA)
- Manufacturing & Machinery (AREA)
- Sealing Battery Cases Or Jackets (AREA)
- Electric Double-Layer Capacitors Or The Like (AREA)
- Connection Of Batteries Or Terminals (AREA)
- Gas Exhaust Devices For Batteries (AREA)
Priority Applications (10)
| Application Number | Priority Date | Filing Date | Title |
|---|---|---|---|
| JP2021546742A JP6986184B1 (ja) | 2020-02-07 | 2021-02-05 | 蓄電デバイス、及び、蓄電デバイスの製造方法 |
| CN202180012888.9A CN115066791A (zh) | 2020-02-07 | 2021-02-05 | 蓄电器件和蓄电器件的制造方法 |
| CN202410919402.5A CN118867503A (zh) | 2020-02-07 | 2021-02-05 | 蓄电器件和用于蓄电器件的盖体 |
| EP21751325.8A EP4102528A4 (en) | 2020-02-07 | 2021-02-05 | ENERGY STORAGE DEVICE AND METHOD FOR MANUFACTURING ENERGY STORAGE DEVICE |
| CN202410919314.5A CN118867501A (zh) | 2020-02-07 | 2021-02-05 | 蓄电器件和用于蓄电器件的盖体 |
| US17/798,192 US20230155260A1 (en) | 2020-02-07 | 2021-02-05 | Energy storage device and method for manufacturing energy storage device |
| CN202410919365.8A CN118867502A (zh) | 2020-02-07 | 2021-02-05 | 蓄电器件和用于蓄电器件的盖体 |
| KR1020257025172A KR20250116793A (ko) | 2020-02-07 | 2021-02-05 | 축전 디바이스 |
| KR1020227020141A KR102840501B1 (ko) | 2020-02-07 | 2021-02-05 | 축전 디바이스, 및 축전 디바이스의 제조 방법 |
| JP2021190977A JP7205606B2 (ja) | 2020-02-07 | 2021-11-25 | 蓄電デバイス、及び、蓄電デバイスの製造方法 |
Applications Claiming Priority (4)
| Application Number | Priority Date | Filing Date | Title |
|---|---|---|---|
| JP2020-019549 | 2020-02-07 | ||
| JP2020019549 | 2020-02-07 | ||
| JP2020108399 | 2020-06-24 | ||
| JP2020-108399 | 2020-06-24 |
Publications (1)
| Publication Number | Publication Date |
|---|---|
| WO2021157731A1 true WO2021157731A1 (ja) | 2021-08-12 |
Family
ID=77200671
Family Applications (1)
| Application Number | Title | Priority Date | Filing Date |
|---|---|---|---|
| PCT/JP2021/004456 Ceased WO2021157731A1 (ja) | 2020-02-07 | 2021-02-05 | 蓄電デバイス、及び、蓄電デバイスの製造方法 |
Country Status (6)
| Country | Link |
|---|---|
| US (1) | US20230155260A1 (enExample) |
| EP (1) | EP4102528A4 (enExample) |
| JP (7) | JP6986184B1 (enExample) |
| KR (2) | KR102840501B1 (enExample) |
| CN (4) | CN115066791A (enExample) |
| WO (1) | WO2021157731A1 (enExample) |
Cited By (21)
| Publication number | Priority date | Publication date | Assignee | Title |
|---|---|---|---|---|
| WO2023013783A1 (ja) * | 2021-08-06 | 2023-02-09 | 大日本印刷株式会社 | 蓄電デバイス、及び、蓄電デバイスの製造方法 |
| JP7276572B1 (ja) | 2022-07-08 | 2023-05-18 | 大日本印刷株式会社 | 蓄電デバイス及び電動自動車 |
| JP7276573B1 (ja) | 2022-07-08 | 2023-05-18 | 大日本印刷株式会社 | 蓄電デバイス、電動自動車、蓄電デバイス用包装容器及びその製造方法 |
| JPWO2023113042A1 (enExample) * | 2021-12-17 | 2023-06-22 | ||
| WO2023120640A1 (ja) * | 2021-12-22 | 2023-06-29 | 大日本印刷株式会社 | 蓋体、蓄電デバイス、蓄電デバイスの製造方法 |
| WO2023127912A1 (ja) * | 2021-12-28 | 2023-07-06 | 大日本印刷株式会社 | 蓄電デバイス |
| WO2023163183A1 (ja) * | 2022-02-26 | 2023-08-31 | 大日本印刷株式会社 | 蓄電デバイス、蓄電デバイスの製造方法 |
| WO2023163188A1 (ja) * | 2022-02-26 | 2023-08-31 | 大日本印刷株式会社 | 蓋体、蓋体ユニット、蓄電デバイス、蓋体ユニットの製造方法、蓄電デバイスの製造方法 |
| EP4325636A2 (en) | 2022-07-28 | 2024-02-21 | AESC Japan Ltd. | Battery cell |
| EP4325638A2 (en) | 2022-07-28 | 2024-02-21 | AESC Japan Ltd. | Battery cell |
| EP4325639A2 (en) | 2022-07-25 | 2024-02-21 | AESC Japan Ltd. | Battery cell |
| WO2024063103A1 (ja) * | 2022-09-22 | 2024-03-28 | 株式会社村田製作所 | 二次電池 |
| WO2024157639A1 (ja) | 2023-01-25 | 2024-08-02 | 株式会社Aescジャパン | 電池セル及び電池セルの製造方法 |
| WO2024157603A1 (ja) | 2023-01-23 | 2024-08-02 | 株式会社Aescジャパン | 電池セル |
| WO2024185824A1 (ja) * | 2023-03-06 | 2024-09-12 | 大日本印刷株式会社 | 蓄電デバイス、蓋体、蓋ユニット、蓄電デバイスの製造方法 |
| WO2024204835A1 (ja) * | 2023-03-29 | 2024-10-03 | 大日本印刷株式会社 | 蓄電デバイス及びその製造方法 |
| WO2025005293A1 (ja) * | 2023-06-28 | 2025-01-02 | 大日本印刷株式会社 | 蓄電デバイス、蓋体、蓄電デバイスの製造方法 |
| WO2025005297A1 (ja) * | 2023-06-28 | 2025-01-02 | 大日本印刷株式会社 | 蓄電デバイス、蓋体、被覆体、蓄電デバイスの製造方法 |
| JPWO2025084359A1 (enExample) * | 2023-10-20 | 2025-04-24 | ||
| WO2025187802A1 (ja) * | 2024-03-06 | 2025-09-12 | 大日本印刷株式会社 | 蓋体、蓄電デバイス、蓄電デバイスの製造方法 |
| JP7790640B1 (ja) | 2024-03-06 | 2025-12-23 | 大日本印刷株式会社 | 蓋体、蓄電デバイス、蓄電デバイスの製造方法 |
Families Citing this family (11)
| Publication number | Priority date | Publication date | Assignee | Title |
|---|---|---|---|---|
| CN115066791A (zh) * | 2020-02-07 | 2022-09-16 | 大日本印刷株式会社 | 蓄电器件和蓄电器件的制造方法 |
| JP7444341B2 (ja) * | 2021-12-28 | 2024-03-06 | 大日本印刷株式会社 | 蓄電デバイス用外装材、その製造方法、及び蓄電デバイス |
| JP2024017547A (ja) * | 2022-07-28 | 2024-02-08 | 株式会社Aescジャパン | 電池セル |
| KR20250087535A (ko) * | 2022-10-12 | 2025-06-16 | 다이니폰 인사츠 가부시키가이샤 | 축전 디바이스 |
| JP7640001B2 (ja) * | 2023-03-06 | 2025-03-05 | 大日本印刷株式会社 | 蓄電デバイスの製造方法、および、蓄電デバイス |
| KR20250166097A (ko) * | 2023-03-29 | 2025-11-27 | 다이니폰 인사츠 가부시키가이샤 | 축전 디바이스, 고정 지그, 축전 디바이스의 제조 방법 |
| JP7718619B1 (ja) * | 2023-10-02 | 2025-08-05 | 大日本印刷株式会社 | 蓄電デバイス、蓋体、蓄電デバイスの製造方法 |
| JP7697610B1 (ja) * | 2023-10-02 | 2025-06-24 | 大日本印刷株式会社 | 蓄電デバイス、蓋体、蓄電デバイスの製造方法 |
| JPWO2025075194A1 (enExample) * | 2023-10-06 | 2025-04-10 | ||
| JP7700984B1 (ja) * | 2024-01-18 | 2025-07-01 | 大日本印刷株式会社 | 蓄電デバイス及びその製造方法、並びに、蓄電デバイス用外装材及びその製造方法 |
| JP7700983B1 (ja) * | 2024-01-18 | 2025-07-01 | 大日本印刷株式会社 | 蓄電デバイス及びその製造方法、並びに、蓄電デバイス用外装材及びその製造方法 |
Citations (10)
| Publication number | Priority date | Publication date | Assignee | Title |
|---|---|---|---|---|
| JP2001256933A (ja) * | 2000-03-10 | 2001-09-21 | Mitsubishi Chemicals Corp | 電池及び電池パック |
| JP2002117904A (ja) * | 2000-10-06 | 2002-04-19 | Mitsubishi Chemicals Corp | リチウム二次電池 |
| US6482544B1 (en) * | 2000-06-30 | 2002-11-19 | Mitsubishi Denki Kabushiki Kaisha | Battery package |
| JP2004014445A (ja) * | 2002-06-11 | 2004-01-15 | Sony Corp | 電池の製造装置 |
| JP2009087750A (ja) * | 2007-09-28 | 2009-04-23 | Dainippon Printing Co Ltd | 扁平型電気化学セル |
| JP4509242B2 (ja) | 1999-02-26 | 2010-07-21 | 藤森工業株式会社 | 二次電池 |
| JP2013131427A (ja) * | 2011-12-22 | 2013-07-04 | Panasonic Corp | ラミネート電池 |
| JP2014078471A (ja) * | 2012-10-12 | 2014-05-01 | Toshiba Corp | 二次電池および二次電池システム |
| JP2015069812A (ja) * | 2013-09-27 | 2015-04-13 | 積水化学工業株式会社 | 積層型電池及びその製造方法 |
| JP2019153504A (ja) * | 2018-03-05 | 2019-09-12 | トヨタ自動車株式会社 | 全固体電池 |
Family Cites Families (25)
| Publication number | Priority date | Publication date | Assignee | Title |
|---|---|---|---|---|
| US6769844B2 (en) * | 2001-01-10 | 2004-08-03 | Kennametal Inc. | Cutting insert and method of making the same |
| JP2005183359A (ja) * | 2003-11-28 | 2005-07-07 | Matsushita Electric Ind Co Ltd | 角形電池とその製造方法 |
| JP4895543B2 (ja) * | 2005-01-28 | 2012-03-14 | 三洋電機株式会社 | パック電池 |
| KR20110053835A (ko) * | 2009-11-16 | 2011-05-24 | 삼성에스디아이 주식회사 | 리튬 폴리머 이차 전지 |
| JP5655734B2 (ja) * | 2011-07-26 | 2015-01-21 | 株式会社Gsユアサ | 電池 |
| JP6003170B2 (ja) * | 2012-04-12 | 2016-10-05 | 凸版印刷株式会社 | 二次電池 |
| KR101463660B1 (ko) * | 2012-12-17 | 2014-11-24 | 성균관대학교산학협력단 | 합성가스로부터 디메틸에테르 직접 합성용 촉매 및 이의 제조방법 |
| JP6247448B2 (ja) * | 2013-03-13 | 2017-12-13 | 矢崎総業株式会社 | 電源装置 |
| JP2015076293A (ja) * | 2013-10-09 | 2015-04-20 | 株式会社東芝 | 非水電解質二次電池 |
| JP6346017B2 (ja) * | 2014-07-18 | 2018-06-20 | 矢崎総業株式会社 | バスバーモジュール及びバスバーモジュールの製造方法 |
| JP6525419B2 (ja) * | 2015-01-15 | 2019-06-05 | 株式会社半導体エネルギー研究所 | 二次電池 |
| JP2018077931A (ja) * | 2015-03-17 | 2018-05-17 | 日立オートモティブシステムズ株式会社 | 二次電池 |
| JP6816937B2 (ja) * | 2015-04-28 | 2021-01-20 | 昭和電工パッケージング株式会社 | 蓄電デバイス |
| JP6587598B2 (ja) * | 2016-11-18 | 2019-10-09 | 矢崎総業株式会社 | 電圧検出用端子の保持構造 |
| KR102232542B1 (ko) * | 2017-01-11 | 2021-03-26 | 주식회사 엘지화학 | 전해액의 추가 공급이 가능한 이중 실링부 구조를 포함하는 전지셀 |
| JP6891951B2 (ja) * | 2017-04-18 | 2021-06-18 | 株式会社村田製作所 | 電池及びその製造方法、組電池、並びに電子機器 |
| KR102443908B1 (ko) * | 2017-10-17 | 2022-09-16 | 주식회사 엘지에너지솔루션 | 패턴 실링 단계를 포함하는 파우치형 이차전지의 제조방법 |
| KR102164254B1 (ko) * | 2017-11-15 | 2020-10-12 | 주식회사 엘지화학 | 이차 전지 및 그의 제조 방법, 이차 전지용 파우치 및 그의 제조 방법 |
| KR102540837B1 (ko) * | 2017-12-01 | 2023-06-07 | 현대자동차주식회사 | 파우치형 이차전지 및 그 제조방법 |
| JP6962240B2 (ja) * | 2018-03-05 | 2021-11-05 | トヨタ自動車株式会社 | 全固体電池 |
| JP7040293B2 (ja) * | 2018-05-28 | 2022-03-23 | 大日本印刷株式会社 | 電池 |
| JP6624317B1 (ja) * | 2019-01-30 | 2019-12-25 | 大日本印刷株式会社 | 弁装置及び組電池 |
| JP6579283B1 (ja) * | 2019-02-04 | 2019-09-25 | 大日本印刷株式会社 | 弁及びこれを備える包装体 |
| CN115066791A (zh) * | 2020-02-07 | 2022-09-16 | 大日本印刷株式会社 | 蓄电器件和蓄电器件的制造方法 |
| JP2024017547A (ja) * | 2022-07-28 | 2024-02-08 | 株式会社Aescジャパン | 電池セル |
-
2021
- 2021-02-05 CN CN202180012888.9A patent/CN115066791A/zh active Pending
- 2021-02-05 CN CN202410919365.8A patent/CN118867502A/zh active Pending
- 2021-02-05 EP EP21751325.8A patent/EP4102528A4/en active Pending
- 2021-02-05 KR KR1020227020141A patent/KR102840501B1/ko active Active
- 2021-02-05 JP JP2021546742A patent/JP6986184B1/ja active Active
- 2021-02-05 WO PCT/JP2021/004456 patent/WO2021157731A1/ja not_active Ceased
- 2021-02-05 KR KR1020257025172A patent/KR20250116793A/ko active Pending
- 2021-02-05 CN CN202410919314.5A patent/CN118867501A/zh active Pending
- 2021-02-05 CN CN202410919402.5A patent/CN118867503A/zh active Pending
- 2021-02-05 US US17/798,192 patent/US20230155260A1/en active Pending
- 2021-11-25 JP JP2021190977A patent/JP7205606B2/ja active Active
-
2022
- 2022-05-23 JP JP2022083692A patent/JP7131729B2/ja active Active
- 2022-08-10 JP JP2022127972A patent/JP7459902B2/ja active Active
-
2024
- 2024-03-21 JP JP2024044781A patent/JP7740409B2/ja active Active
- 2024-08-02 JP JP2024127615A patent/JP7622897B2/ja active Active
-
2025
- 2025-08-28 JP JP2025142112A patent/JP2025169444A/ja active Pending
Patent Citations (10)
| Publication number | Priority date | Publication date | Assignee | Title |
|---|---|---|---|---|
| JP4509242B2 (ja) | 1999-02-26 | 2010-07-21 | 藤森工業株式会社 | 二次電池 |
| JP2001256933A (ja) * | 2000-03-10 | 2001-09-21 | Mitsubishi Chemicals Corp | 電池及び電池パック |
| US6482544B1 (en) * | 2000-06-30 | 2002-11-19 | Mitsubishi Denki Kabushiki Kaisha | Battery package |
| JP2002117904A (ja) * | 2000-10-06 | 2002-04-19 | Mitsubishi Chemicals Corp | リチウム二次電池 |
| JP2004014445A (ja) * | 2002-06-11 | 2004-01-15 | Sony Corp | 電池の製造装置 |
| JP2009087750A (ja) * | 2007-09-28 | 2009-04-23 | Dainippon Printing Co Ltd | 扁平型電気化学セル |
| JP2013131427A (ja) * | 2011-12-22 | 2013-07-04 | Panasonic Corp | ラミネート電池 |
| JP2014078471A (ja) * | 2012-10-12 | 2014-05-01 | Toshiba Corp | 二次電池および二次電池システム |
| JP2015069812A (ja) * | 2013-09-27 | 2015-04-13 | 積水化学工業株式会社 | 積層型電池及びその製造方法 |
| JP2019153504A (ja) * | 2018-03-05 | 2019-09-12 | トヨタ自動車株式会社 | 全固体電池 |
Cited By (48)
| Publication number | Priority date | Publication date | Assignee | Title |
|---|---|---|---|---|
| WO2023013783A1 (ja) * | 2021-08-06 | 2023-02-09 | 大日本印刷株式会社 | 蓄電デバイス、及び、蓄電デバイスの製造方法 |
| JP7388605B2 (ja) | 2021-12-17 | 2023-11-29 | 大日本印刷株式会社 | 蓄電デバイス、蓋体、蓄電デバイスの製造方法 |
| JPWO2023113042A1 (enExample) * | 2021-12-17 | 2023-06-22 | ||
| WO2023113042A1 (ja) * | 2021-12-17 | 2023-06-22 | 大日本印刷株式会社 | 蓄電デバイス、蓋体、蓄電デバイスの製造方法 |
| WO2023120640A1 (ja) * | 2021-12-22 | 2023-06-29 | 大日本印刷株式会社 | 蓋体、蓄電デバイス、蓄電デバイスの製造方法 |
| JP7327717B1 (ja) * | 2021-12-22 | 2023-08-16 | 大日本印刷株式会社 | 蓋体、蓄電デバイス、蓄電デバイスの製造方法 |
| EP4528911A3 (en) * | 2021-12-28 | 2025-05-28 | Dai Nippon Printing Co., Ltd. | Power storage device |
| WO2023127912A1 (ja) * | 2021-12-28 | 2023-07-06 | 大日本印刷株式会社 | 蓄電デバイス |
| JPWO2023127912A1 (enExample) * | 2021-12-28 | 2023-07-06 | ||
| JP7420323B2 (ja) | 2021-12-28 | 2024-01-23 | 大日本印刷株式会社 | 蓄電デバイス |
| JP7513183B2 (ja) | 2022-02-26 | 2024-07-09 | 大日本印刷株式会社 | 蓋体、蓋体ユニット、蓄電デバイス、蓋体ユニットの製造方法、蓄電デバイスの製造方法 |
| WO2023163183A1 (ja) * | 2022-02-26 | 2023-08-31 | 大日本印刷株式会社 | 蓄電デバイス、蓄電デバイスの製造方法 |
| WO2023163188A1 (ja) * | 2022-02-26 | 2023-08-31 | 大日本印刷株式会社 | 蓋体、蓋体ユニット、蓄電デバイス、蓋体ユニットの製造方法、蓄電デバイスの製造方法 |
| EP4553969A3 (en) * | 2022-02-26 | 2025-11-12 | Dai Nippon Printing Co., Ltd. | Lid body, lid body unit, electric power storage device, method for manufacturing lid body unit, and method for manufacturing electric power storage device |
| EP4485644A4 (en) * | 2022-02-26 | 2025-11-26 | Dainippon Printing Co Ltd | LID BODY, LID BODY UNIT, ELECTRICAL ENERGY STORAGE DEVICE, METHOD FOR MANUFACTURING A LID BODY UNIT, AND METHOD FOR MANUFACTURING AN ELECTRICAL ENERGY STORAGE DEVICE |
| JP7416346B1 (ja) * | 2022-02-26 | 2024-01-17 | 大日本印刷株式会社 | 蓋体、蓋体ユニット、蓄電デバイス、蓋体ユニットの製造方法、蓄電デバイスの製造方法 |
| JP7375995B1 (ja) * | 2022-02-26 | 2023-11-08 | 大日本印刷株式会社 | 蓄電デバイス、蓄電デバイスの製造方法 |
| JP2024039039A (ja) * | 2022-02-26 | 2024-03-21 | 大日本印刷株式会社 | 蓋体、蓋体ユニット、蓄電デバイス、蓋体ユニットの製造方法、蓄電デバイスの製造方法 |
| JP2024008458A (ja) * | 2022-07-08 | 2024-01-19 | 大日本印刷株式会社 | 蓄電デバイス及び電動自動車 |
| JP2024008461A (ja) * | 2022-07-08 | 2024-01-19 | 大日本印刷株式会社 | 蓄電デバイス、電動自動車、蓄電デバイス用包装容器及びその製造方法 |
| JP7276572B1 (ja) | 2022-07-08 | 2023-05-18 | 大日本印刷株式会社 | 蓄電デバイス及び電動自動車 |
| JP7276573B1 (ja) | 2022-07-08 | 2023-05-18 | 大日本印刷株式会社 | 蓄電デバイス、電動自動車、蓄電デバイス用包装容器及びその製造方法 |
| WO2024009786A1 (ja) * | 2022-07-08 | 2024-01-11 | 大日本印刷株式会社 | 蓄電デバイス及び電動自動車 |
| WO2024009787A1 (ja) * | 2022-07-08 | 2024-01-11 | 大日本印刷株式会社 | 蓄電デバイス、電動自動車、蓄電デバイス用包装容器及びその製造方法 |
| EP4325639A2 (en) | 2022-07-25 | 2024-02-21 | AESC Japan Ltd. | Battery cell |
| EP4325638A2 (en) | 2022-07-28 | 2024-02-21 | AESC Japan Ltd. | Battery cell |
| EP4325636A2 (en) | 2022-07-28 | 2024-02-21 | AESC Japan Ltd. | Battery cell |
| WO2024063103A1 (ja) * | 2022-09-22 | 2024-03-28 | 株式会社村田製作所 | 二次電池 |
| EP4657646A1 (en) | 2023-01-23 | 2025-12-03 | AESC Japan Ltd. | Battery cell |
| WO2024157603A1 (ja) | 2023-01-23 | 2024-08-02 | 株式会社Aescジャパン | 電池セル |
| EP4657620A1 (en) | 2023-01-25 | 2025-12-03 | AESC Japan Ltd. | Battery cell and method for producing battery cell |
| WO2024157639A1 (ja) | 2023-01-25 | 2024-08-02 | 株式会社Aescジャパン | 電池セル及び電池セルの製造方法 |
| JPWO2024185824A1 (enExample) * | 2023-03-06 | 2024-09-12 | ||
| WO2024185824A1 (ja) * | 2023-03-06 | 2024-09-12 | 大日本印刷株式会社 | 蓄電デバイス、蓋体、蓋ユニット、蓄電デバイスの製造方法 |
| JP7700947B2 (ja) | 2023-03-06 | 2025-07-01 | 大日本印刷株式会社 | 蓄電デバイス、蓋体、蓋ユニット、蓄電デバイスの製造方法 |
| JP2025065112A (ja) * | 2023-03-06 | 2025-04-17 | 大日本印刷株式会社 | 蓄電デバイス、蓋体、蓋ユニット、蓄電デバイスの製造方法 |
| JP7666760B2 (ja) | 2023-03-06 | 2025-04-22 | 大日本印刷株式会社 | 蓄電デバイス、蓋体、蓋ユニット、蓄電デバイスの製造方法 |
| WO2024204835A1 (ja) * | 2023-03-29 | 2024-10-03 | 大日本印刷株式会社 | 蓄電デバイス及びその製造方法 |
| JP7622917B1 (ja) * | 2023-03-29 | 2025-01-28 | 大日本印刷株式会社 | 蓄電デバイス及びその製造方法 |
| JP2025110418A (ja) * | 2023-06-28 | 2025-07-28 | 大日本印刷株式会社 | 蓄電デバイス、蓋体、被覆体、蓄電デバイスの製造方法 |
| JPWO2025005297A1 (enExample) * | 2023-06-28 | 2025-01-02 | ||
| JPWO2025005293A1 (enExample) * | 2023-06-28 | 2025-01-02 | ||
| WO2025005297A1 (ja) * | 2023-06-28 | 2025-01-02 | 大日本印刷株式会社 | 蓄電デバイス、蓋体、被覆体、蓄電デバイスの製造方法 |
| WO2025005293A1 (ja) * | 2023-06-28 | 2025-01-02 | 大日本印刷株式会社 | 蓄電デバイス、蓋体、蓄電デバイスの製造方法 |
| WO2025084359A1 (ja) * | 2023-10-20 | 2025-04-24 | 大日本印刷株式会社 | 蓄電デバイス用外装フィルム及び蓄電デバイス |
| JPWO2025084359A1 (enExample) * | 2023-10-20 | 2025-04-24 | ||
| WO2025187802A1 (ja) * | 2024-03-06 | 2025-09-12 | 大日本印刷株式会社 | 蓋体、蓄電デバイス、蓄電デバイスの製造方法 |
| JP7790640B1 (ja) | 2024-03-06 | 2025-12-23 | 大日本印刷株式会社 | 蓋体、蓄電デバイス、蓄電デバイスの製造方法 |
Also Published As
| Publication number | Publication date |
|---|---|
| JP2022126646A (ja) | 2022-08-30 |
| CN118867501A (zh) | 2024-10-29 |
| EP4102528A1 (en) | 2022-12-14 |
| KR20250116793A (ko) | 2025-08-01 |
| JP2024156865A (ja) | 2024-11-06 |
| JP2024079748A (ja) | 2024-06-11 |
| JP7622897B2 (ja) | 2025-01-28 |
| JP7205606B2 (ja) | 2023-01-17 |
| JP7459902B2 (ja) | 2024-04-02 |
| JP6986184B1 (ja) | 2021-12-22 |
| JP2022172136A (ja) | 2022-11-15 |
| KR102840501B1 (ko) | 2025-07-29 |
| JP2022040117A (ja) | 2022-03-10 |
| KR20220137877A (ko) | 2022-10-12 |
| JP7740409B2 (ja) | 2025-09-17 |
| US20230155260A1 (en) | 2023-05-18 |
| JP7131729B2 (ja) | 2022-09-06 |
| JPWO2021157731A1 (enExample) | 2021-08-12 |
| JP2025169444A (ja) | 2025-11-12 |
| EP4102528A4 (en) | 2024-06-19 |
| CN115066791A (zh) | 2022-09-16 |
| CN118867502A (zh) | 2024-10-29 |
| CN118867503A (zh) | 2024-10-29 |
Similar Documents
| Publication | Publication Date | Title |
|---|---|---|
| JP6986184B1 (ja) | 蓄電デバイス、及び、蓄電デバイスの製造方法 | |
| JP7332073B2 (ja) | 蓄電デバイス、及び、蓄電デバイスの製造方法 | |
| JP2023526609A (ja) | パウチフィルム積層体、パウチ型電池ケースおよびパウチ型二次電池 | |
| US20120015226A1 (en) | Pouch type lithium secondary battery | |
| JP7327717B1 (ja) | 蓋体、蓄電デバイス、蓄電デバイスの製造方法 | |
| JP6109058B2 (ja) | シールケース及びその製造方法 | |
| WO2023163183A1 (ja) | 蓄電デバイス、蓄電デバイスの製造方法 | |
| US20240291079A1 (en) | Power storage device, heat transfer body, and package | |
| US20250079588A1 (en) | Power storage device | |
| WO2024225485A1 (ja) | 蓄電デバイス用外装部材、蓄電デバイス、及び、蓄電デバイスの製造方法 | |
| JP7790640B1 (ja) | 蓋体、蓄電デバイス、蓄電デバイスの製造方法 | |
| JP7643652B1 (ja) | 蓋体、蓄電デバイス | |
| CN118572272A (zh) | 蓄电器件和蓄电器件的制造方法 | |
| WO2025187802A1 (ja) | 蓋体、蓄電デバイス、蓄電デバイスの製造方法 | |
| JP2025100981A (ja) | 蓄電デバイス、蓋体、蓋ユニット | |
| WO2025084359A1 (ja) | 蓄電デバイス用外装フィルム及び蓄電デバイス | |
| JP2025006017A (ja) | 蓄電デバイス、蓋ユニット、蓄電デバイスの製造方法 |
Legal Events
| Date | Code | Title | Description |
|---|---|---|---|
| ENP | Entry into the national phase |
Ref document number: 2021546742 Country of ref document: JP Kind code of ref document: A |
|
| 121 | Ep: the epo has been informed by wipo that ep was designated in this application |
Ref document number: 21751325 Country of ref document: EP Kind code of ref document: A1 |
|
| NENP | Non-entry into the national phase |
Ref country code: DE |
|
| ENP | Entry into the national phase |
Ref document number: 2021751325 Country of ref document: EP Effective date: 20220907 |
|
| WWD | Wipo information: divisional of initial pct application |
Ref document number: 1020257025172 Country of ref document: KR |
|
| WWP | Wipo information: published in national office |
Ref document number: 1020257025172 Country of ref document: KR |