WO2020246232A1 - 流体制御装置及び電子機器 - Google Patents

流体制御装置及び電子機器 Download PDF

Info

Publication number
WO2020246232A1
WO2020246232A1 PCT/JP2020/019821 JP2020019821W WO2020246232A1 WO 2020246232 A1 WO2020246232 A1 WO 2020246232A1 JP 2020019821 W JP2020019821 W JP 2020019821W WO 2020246232 A1 WO2020246232 A1 WO 2020246232A1
Authority
WO
WIPO (PCT)
Prior art keywords
space
control device
fluid control
fluid
outlet
Prior art date
Legal status (The legal status is an assumption and is not a legal conclusion. Google has not performed a legal analysis and makes no representation as to the accuracy of the status listed.)
Ceased
Application number
PCT/JP2020/019821
Other languages
English (en)
French (fr)
Japanese (ja)
Inventor
洋志 鈴木
佐藤 正啓
康司 福元
祐哉 堀内
安倍 浩信
川口 裕人
本郷 一泰
拓磨 松下
大輔 水田
吉田 健太郎
Current Assignee (The listed assignees may be inaccurate. Google has not performed a legal analysis and makes no representation or warranty as to the accuracy of the list.)
Sony Corp
Original Assignee
Sony Corp
Priority date (The priority date is an assumption and is not a legal conclusion. Google has not performed a legal analysis and makes no representation as to the accuracy of the date listed.)
Filing date
Publication date
Application filed by Sony Corp filed Critical Sony Corp
Priority to EP20817949.9A priority Critical patent/EP3978752B1/en
Priority to US17/616,381 priority patent/US12135022B2/en
Priority to CN202080029567.5A priority patent/CN113710896A/zh
Priority to JP2021524740A priority patent/JP7444165B2/ja
Priority to KR1020217038320A priority patent/KR20220016072A/ko
Publication of WO2020246232A1 publication Critical patent/WO2020246232A1/ja
Anticipated expiration legal-status Critical
Ceased legal-status Critical Current

Links

Images

Classifications

    • FMECHANICAL ENGINEERING; LIGHTING; HEATING; WEAPONS; BLASTING
    • F04POSITIVE - DISPLACEMENT MACHINES FOR LIQUIDS; PUMPS FOR LIQUIDS OR ELASTIC FLUIDS
    • F04BPOSITIVE-DISPLACEMENT MACHINES FOR LIQUIDS; PUMPS
    • F04B43/00Machines, pumps, or pumping installations having flexible working members
    • F04B43/02Machines, pumps, or pumping installations having flexible working members having plate-like flexible members, e.g. diaphragms
    • F04B43/04Pumps having electric drive
    • F04B43/043Micropumps
    • F04B43/046Micropumps with piezoelectric drive
    • FMECHANICAL ENGINEERING; LIGHTING; HEATING; WEAPONS; BLASTING
    • F04POSITIVE - DISPLACEMENT MACHINES FOR LIQUIDS; PUMPS FOR LIQUIDS OR ELASTIC FLUIDS
    • F04BPOSITIVE-DISPLACEMENT MACHINES FOR LIQUIDS; PUMPS
    • F04B43/00Machines, pumps, or pumping installations having flexible working members
    • F04B43/02Machines, pumps, or pumping installations having flexible working members having plate-like flexible members, e.g. diaphragms
    • F04B43/028Machines, pumps, or pumping installations having flexible working members having plate-like flexible members, e.g. diaphragms with in- or outlet valve arranged in the plate-like flexible member
    • FMECHANICAL ENGINEERING; LIGHTING; HEATING; WEAPONS; BLASTING
    • F04POSITIVE - DISPLACEMENT MACHINES FOR LIQUIDS; PUMPS FOR LIQUIDS OR ELASTIC FLUIDS
    • F04BPOSITIVE-DISPLACEMENT MACHINES FOR LIQUIDS; PUMPS
    • F04B45/00Pumps or pumping installations having flexible working members and specially adapted for elastic fluids
    • F04B45/04Pumps or pumping installations having flexible working members and specially adapted for elastic fluids having plate-like flexible members, e.g. diaphragms
    • F04B45/045Pumps or pumping installations having flexible working members and specially adapted for elastic fluids having plate-like flexible members, e.g. diaphragms with in- or outlet valve arranged in the plate-like pumping flexible members
    • FMECHANICAL ENGINEERING; LIGHTING; HEATING; WEAPONS; BLASTING
    • F04POSITIVE - DISPLACEMENT MACHINES FOR LIQUIDS; PUMPS FOR LIQUIDS OR ELASTIC FLUIDS
    • F04BPOSITIVE-DISPLACEMENT MACHINES FOR LIQUIDS; PUMPS
    • F04B45/00Pumps or pumping installations having flexible working members and specially adapted for elastic fluids
    • F04B45/04Pumps or pumping installations having flexible working members and specially adapted for elastic fluids having plate-like flexible members, e.g. diaphragms
    • F04B45/047Pumps having electric drive

Definitions

  • This technology relates to fluid control devices and electronic devices that transport fluid by driving a diaphragm.
  • a diaphragm type pump using a diaphragm has been put into practical use as a small and thin pump.
  • the diaphragm type pump is equipped with a pump chamber whose volume fluctuates due to bending deformation of the diaphragm, and it is possible to suck fluid into the pump chamber by increasing the volume and discharge the fluid from the pump chamber by decreasing the volume. is there.
  • Patent Document 1 discloses a piezoelectric pump in which a fluid suction port and a fluid discharge port are provided in a direction perpendicular to an oscillator.
  • the purpose of this technique is to provide a fluid control device having a diaphragm structure and a small flow path resistance.
  • the fluid control device includes a first space, two flat plate members, a drive mechanism, a second space, a first check valve, and a second. It is equipped with a check valve.
  • the first space has an inlet and an outlet.
  • the two flat plate members are elastic bodies that face each other through the first space and at least one of them has flexibility.
  • the drive mechanism bends the elastic body.
  • the second space is adjacent to the first space, communicates with the first space through the inflow port, and has an intake port.
  • the first check valve allows fluid to flow into the first space from the suction port through the inflow port.
  • the third space is adjacent to the first space, communicates with the first space via the outlet, and has an outlet.
  • the second check valve allows fluid to flow from the first space into the discharge port via the outlet. At least one of the suction port and the discharge port is located on an extension surface of at least one of the two flat plate members.
  • the electronic device includes a first space, two flat plate members, a drive mechanism, a second space, a first check valve, and a second check valve.
  • a fluid control device including a valve is provided.
  • the first space has an inlet and an outlet.
  • the two flat plate members are elastic bodies that face each other through the first space and at least one of them has flexibility.
  • the drive mechanism bends the elastic body.
  • the second space is adjacent to the first space, communicates with the first space through the inflow port, and has an intake port.
  • the first check valve allows fluid to flow into the first space from the suction port through the inflow port.
  • the third space is adjacent to the first space, communicates with the first space via the outlet, and has an outlet.
  • the second check valve allows fluid to flow from the first space into the discharge port via the outlet. At least one of the suction port and the discharge port is located on an extension surface of at least one of the two flat plate members.
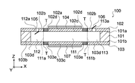
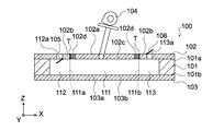
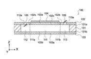
  • FIG. 1 is a cross-sectional view of the fluid control device 100 according to the present embodiment
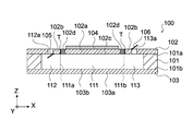
  • FIG. 2 is a plan view of the fluid control device 100.
  • the fluid control device 100 is a pump capable of sucking in and discharging a fluid.
  • the fluid is a gas, a liquid, another fluid, or the like, and is not particularly limited.
  • the fluid control device 100 includes a first housing member 101, a second housing member 102, a third housing member 103, a drive mechanism 104, a first check valve 105, and a second check valve 105.
  • a check valve 106 is provided.
  • a first space 111 is provided between the second housing member 102 and the third housing member 103, and a second space 112 and a third space 113 are provided adjacent to the first space 111.
  • FIG. 3 is a schematic view showing the first space 111, the second space 112, and the third space 113.
  • the first housing member 101 can be a plate-shaped member having openings that serve as a first space 111, a second space 112, and a third space 113.
  • One surface of the first housing member 101 is the first surface 101a, and the surface opposite to the first surface 101a is the second surface 101b.
  • the second housing member 102 is a plate-shaped member joined to the first surface 101a of the first housing member 101.
  • the second housing member 102 includes a movable portion 102a and a fixed portion 102b.
  • the movable portion 102a is located at the central portion of the second housing member 102 and is made of an elastic body.
  • the shape of the movable portion 102a is not particularly limited, but it can be circular when viewed from the direction (Z direction) perpendicular to the second housing member 102 and the third housing member 103.
  • the fixed portion 102b is arranged around the movable portion 102a and is made of an inelastic body.
  • the movable portion 102a is a diaphragm, is supported by the fixed portion 102b, and is configured to be bent by the drive mechanism 104.
  • FIG. 4 is a schematic view showing a bending operation of the movable portion 102a.
  • the drive mechanism 104 is not shown in FIG.
  • the movable portion 102a bends in a direction approaching the third housing member 103 and in a direction away from the third housing member 103.
  • a spring portion that promotes bending of the movable portion 102a may be provided between the movable portion 102a and the fixed portion 102b. The details will be described later.
  • the bending direction of the movable portion 102a is defined as the Z direction
  • the two directions perpendicular to the Z direction and orthogonal to each other are defined as the X direction and the Y direction.
  • the X and Y directions are directions parallel to the extension surfaces of the second housing member 102 and the third housing member 103.
  • the third housing member 103 is a plate-shaped member joined to the second surface 101b of the first housing member 101.
  • the third housing member 103 can be a plate-shaped member made of an inelastic body.
  • the portion facing the movable portion 102a is referred to as the facing portion 103a.
  • the first housing member 101, the second housing member 102, and the third housing member 103 are collectively referred to as a "housing" of the fluid control device 100.
  • the second housing member 102 and the third housing member 103 are arranged so that the movable portion 102a and the facing portion 103a face each other via the first space 111.
  • the first space 111 is a space whose volume changes as the movable portion 102a bends, and includes an inflow port 111a and an outflow port 111b.
  • the second space 112 is a space adjacent to the first space 111, and communicates with the first space 111 via the inflow port 111a. Further, the second space 112 includes a suction port 112a.
  • the suction port 112a is an opening provided in the second housing member 102, and the second space 112 communicates with the external space of the fluid control device 100 via the suction port 112a.
  • a pipe or the like for supplying the fluid to the suction port 112a may be connected to the suction port 112a.
  • the third space 113 is a space adjacent to the first space 111, and communicates with the first space 111 via the outlet 111b. Further, the third space 113 includes a discharge port 113a.
  • the discharge port 113a is an opening provided in the second housing member 102, and the third space 113 communicates with the external space of the fluid control device 100 via the discharge port 113a.
  • a pipe or the like into which the fluid discharged from the discharge port 113a flows may be connected to the discharge port 113a.
  • the drive mechanism 104 bends the movable portion 102a.
  • the drive mechanism 104 can be a piezoelectric element laminated on the movable portion 102a. Further, the drive mechanism 104 does not have to be a piezoelectric element, and may be any one capable of bending the movable portion 102a.
  • the first check valve 105 allows fluid to flow from the suction port 112a into the first space 111 via the inflow port 111a. As shown in FIG. 1, the first check valve 105 is provided in the suction port 112a, allows the fluid flowing from the external space to the second space 112 to pass through, and allows the fluid flowing from the second space 112 to the external space to pass through. It can be prevented from passing through.
  • the first check valve 105 is provided at the inflow port 111a, allows the fluid flowing from the second space 112 to the first space 111 to pass through, and passes through the fluid flowing from the first space 111 to the second space 112. It is also possible not to let it.
  • the first check valve 105 can be, for example, a swing type check valve.
  • the second check valve 106 causes fluid to flow from the first space 111 into the discharge port 113a via the outflow port 111b. As shown in FIG. 1, the second check valve 106 is provided at the discharge port 113a, allows the fluid flowing from the third space 113 to the external space to pass through, and allows the fluid flowing from the external space to the third space 113 to pass through. It can be prevented from passing through.
  • the second check valve 106 is provided at the outflow port 111b, allows the fluid flowing from the first space 111 to the third space 113 to pass through, and passes through the fluid flowing from the third space 113 to the first space 111. It is also possible not to let it.
  • the second check valve 106 can be, for example, a swing type check valve.
  • the fluid control device 100 has the above-mentioned schematic configuration.
  • the fluid control device 100 By forming the fluid control device 100 in a structure in which plate-shaped members (first housing member 101, second housing member 102, and third housing member 103) are laminated, the fluid control device 100 can be made thinner. ing.
  • the first housing member 101, the second housing member 102, and the third housing member 103 can be joined by bonding, fastening, or other joining methods.
  • the third housing member 103 is assumed to be an inelastic body, but the third housing member 103 also has a movable portion made of an elastic body like the second housing member 102, and is provided by a drive mechanism. The movable part may be bent.
  • the shape of the housing (first housing member 101, second housing member 102, and third housing member 103) of the fluid control device 100 is not particularly limited, but as shown in FIG. 2, the second housing member 102 and The shape can be square when viewed from the direction perpendicular to the third housing member 103 (Z direction). Further, the housing shape of the fluid control device 100 is not limited to a square shape, and may be a polygonal shape such as a hexagonal shape or an octagonal shape when viewed from the same direction.
  • the suction port 112a and the discharge port 113a are located on the extension surface of the second housing member 102.
  • the surface on the first space 111 side is defined as the surface 102c.
  • the surface 102c is an extension surface of the movable portion 102a which is a flat plate member.
  • the surface on the first space 111 side is designated as the surface 103b.
  • the surface 103b is an extension surface of the facing portion 103a which is a flat plate member.
  • the suction port 112a and the discharge port 113a are provided on the surface 102c. As a result, the flow path resistance of the fluid transported by the fluid control device 100 can be reduced.
  • FIG. 7 is a cross-sectional view of the fluid control device 500 according to the comparison.
  • the fluid control device 500 includes a first flat plate member 501, a second flat plate member 502, and a housing member 503, and one or both of the first flat plate member 501 and the second flat plate member 502 It is an elastic body that bends.
  • a first space 511 having a variable volume is provided between the first flat plate member 501 and the second flat plate member 502, and a second space 512 and a third space 513 are provided adjacent to the first space 511.
  • the first space 511 is provided with a suction port 512a in which the first check valve 505 is arranged, and the second space 512 is provided with an discharge port 513a in which the second check valve 506 is arranged.
  • the fluid control device 500 has a structure in which the suction port 512a and the discharge port 513a are not arranged on the extension surfaces of the first flat plate member 501 and the second flat plate member 502. In this case, as shown by an arrow in FIG. 7, a step is formed between the first space 511 and the second space 512 and between the first space 511 and the third space 513, and the flow path resistance is increased by this step. appear.
  • the space between the first space 111 and the second space 112 and the space between the first space 111 and the third space 113 are the surface 102c of the second housing member 102 and the space 102c.
  • the third housing member 103 is connected on the same surface as the surface 103b. Therefore, in the fluid control device 100, it is possible to reduce the flow path resistance.
  • only one of the suction port 112a and the discharge port 113a may be provided on the surface 102c, and either one or both of the suction port 112a and the discharge port 113a may be provided on the surface 103b. ..
  • a flow path is formed from the second space 112 to the first space 111 via the inflow port 111a and from the first space 111 to the third space 113 via the outflow port 111b.
  • the flow path preferably has a shape in which the cross-sectional area of the flow path continuously changes from the suction port 112a to the discharge port 113a.
  • the shape in which the cross-sectional area of the flow path changes continuously is, for example, from the position on the pipeline where the cross-sectional area Sa is taken to the position on the pipeline where the cross-sectional area Sb is taken when the cross-sectional area of the pipeline changes from Sa to Sb.
  • the distance is 0 or more, and the pipeline connecting Sa to Sb is connected by a smooth line, but the present invention is not limited to this.
  • the cross-sectional area of the flow path is the area of the cross section having the shortest streamline in the pipeline connecting the inlet and the outlet as the normal.
  • FIG. 8 is a schematic view showing the flow path shape and the fluid flow in the fluid control device 100.
  • the first space 111 is circular when viewed from the direction (Z direction) perpendicular to the second housing member 102 and the third housing member 103, and is in the same direction (Z) as shown in FIG. It has a cylindrical shape with the direction) as the height direction.
  • the second space 112 has a shape in which the cross-sectional area of the flow path gradually expands from the suction port 112a, and is connected to the side surface of the first space 111 via the inflow port 111a.
  • the third space 113 is connected to the side surface of the first space 111 via an outlet 111b, and has a shape in which the cross-sectional area of the flow path gradually decreases toward the discharge port 113a.
  • the fluid can smoothly pass through the flow path in which the cross-sectional area of the flow path formed by the second space 112, the first space 111, and the third space 113 changes continuously. It is possible to reduce the flow path resistance.
  • FIG. 9 is a schematic view of the fluid control device 600 for comparison.
  • the fluid control device 600 includes a movable portion 601, a housing 602, a space 603, an suction port 604, and a discharge port 605.
  • Check valves are provided at the suction port 604 and the discharge port 605, respectively.
  • the volume of the space 603 fluctuates due to the bending of the movable portion 601 and the fluid flows in and out of the space 603 in the direction perpendicular to the movable portion 601.
  • the cross-sectional area of the flow path sharply increases from the suction port 604 to the space 603, and sharply decreases from the space 603 to the discharge port 605.
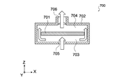
  • FIG. 10 is a schematic view of the fluid control device 700 for comparison.
  • the fluid control device 700 includes a movable portion 701, a housing 702, a first space 703, a second space 704, a suction port 705, and a discharge port 706.
  • a check valve is provided at the discharge port 706.
  • the volumes of the first space 703 and the second space 704 fluctuate due to the bending of the movable portion 701, and the fluid flows in the direction perpendicular to the movable portion 701 and flows into the first space 703, and flows in the same direction to the second space. It is discharged from 704.
  • the cross-sectional area of the flow path sharply increases from the suction port 705 to the first space 703, and sharply decreases from the second space 704 to the discharge port 706.
  • FIG. 11 is a schematic view showing a partial configuration of the fluid control device 800 for comparison.
  • the fluid control device 800 includes a piston 801 and a housing 802, a first space 803, a second space 804, and a discharge port 805.
  • the area of the piston 801 is S 1
  • the mass of the piston 801 is M
  • the amount of position fluctuation of the piston 801 is L
  • the area of the discharge port 805 is S 2
  • the volume of ⁇ S is 1 L
  • Equation 1 the following (Equation 1) holds.
  • FIG. 12 to 15 are schematic views showing the arrangement of the suction port 112a and the discharge port 113a, and in each figure, the flow of the fluid from the suction port 112a to the discharge port 113a is indicated by an arrow.
  • one suction port 112a and one discharge port 113a may be provided on opposite sides via the first space 111. Further, as shown in FIGS. 13 and 14, two suction ports 112a and two discharge ports 113a may be provided. As shown in FIG. 13, the suction port 112a and the discharge port 113a may be arranged on opposite sides of the first space 111, and as shown in FIG. 14, the suction port 112a and the discharge port 113a are each in the first space 111. It may be placed on the opposite side.
  • suction ports 112a and four discharge ports 113a may be provided.
  • any number of suction ports 112a and discharge ports 113a can be provided.
  • the positions of the suction port 112a and the discharge port 113a are not particularly limited, but as shown in FIGS. 12 to 15, the direction in which the housing of the fluid control device 100 is perpendicular to the second housing member 102 and the third housing member 103.
  • the first space 111 has a square shape when viewed from the (Z direction) and the first space 111 has a circular shape when viewed from the same direction, it is preferable to arrange the first space 111 at the corner of the housing.
  • FIG. 16 is a schematic view showing a state in which the fluid control device 100 is tiling.
  • the housing has a square shape, whereas the first space 111 has a circular shape, so that a space is formed at the corner of the housing (in the figure, (Inside the broken line frame) is generated, and the suction port 112a and the discharge port 113a can be arranged in this space.
  • FIG. 17 is a schematic view showing a state in which the fluid control device 700 according to the comparative example is tiling.
  • a space inside the broken line frame in the figure
  • this space becomes a dead space that is not used.
  • the suction port 705 and the discharge port 706 are located in the thickness direction of the housing, the thickness is increased as compared with the case of the fluid control device 100.
  • the suction port 112a and the discharge port 113a in the space at the corner of the housing (inside the broken line frame in the drawing), the space can be effectively used and the thickness can be increased. It can be suppressed. This makes it possible to tiling the fluid control device 100 over a wide range of surfaces, such as tactile presentation, and to form an array with high efficiency with respect to the occupied area when used as a pump array.
  • the housing of the fluid control device 100 is not a square shape but a hexagonal shape or an octagonal shape, similarly, by arranging the suction port 112a and the discharge port 113a at the corners of the housing, the first space It is possible to effectively use the space between 111.
  • the second space 112 is a space connecting the suction port 112a and the inflow port 111a, and forms a fluid flow path.
  • the third space 113 is a space connecting the outlet 111b and the discharge port 113a, and forms a fluid flow path.
  • the second space 112 and the third space 113 can be spaces that form a flow path using a curved surface.
  • FIG. 18 is a cross-sectional view of the fluid control device 100 in which the second space 112 and the third space 113 form a flow path using a curved surface
  • FIG. 19 is a cross-sectional view of the first space 111 and the third space 113 of the fluid control device 100. It is a schematic diagram which shows 2 space 112 and 3rd space 113.
  • FIG. 20 is a cross-sectional view showing the second space 112, and the flow of the fluid is indicated by an arrow.
  • P is an extension surface (XY plane) of the second housing member 102.
  • a curved surface C is used for the inner peripheral surface of the second space 112, and the curved surface C is used from the direction perpendicular to the extension surface P (Z direction) toward the inflow port 111a from the suction port 112a to the direction parallel to the extension surface P (X direction). Form an extending flow path.
  • FIG. 21 is a cross-sectional view showing the third space 113, and the flow of the fluid is indicated by an arrow.
  • P is an extension surface (XY plane) of the second housing member 102.
  • a curved surface C is used for the inner peripheral surface of the third space 113, and the curved surface C is used from the direction parallel to the extension surface P (X direction) toward the discharge port 113a from the outlet 111b to the direction perpendicular to the extension surface P (Z direction). Form an extending flow path.
  • the suction port 112a and the first space 111 and the first space 111 and the discharge port 113a are smoothly connected, and the flow path resistance. Can be reduced.
  • FIG. 22 is a schematic view showing a lift-type check valve 901
  • FIG. 22A shows a state in which the check valve 901 is closed
  • FIG. 22B is a state in which the check valve 901 is open. Is shown.
  • FIG. 22B when the check valve 901 is open, a vortex is generated due to the entrainment of the fluid, and a pressure loss is caused by the viscous resistance of the fluid.
  • FIG. 23 is a schematic view showing a swing type check valve 902
  • FIG. 23 (a) shows a state in which the check valve 902 is closed
  • FIG. 23 (b) is a state in which the check valve 902 is open.
  • the swing type check valve is a check valve provided with a hinge at one position around the valve and swings around the hinge to open and close.
  • FIG. 23 (b) even in the case of the swing type, when the check valve 902 is open, a vortex is generated due to the entrainment of fluid, and a pressure loss due to viscous resistance occurs.
  • the second check valve 106 has a structure in which the second check valve 106 is in close contact with the curved surface C of the third space 113 without a gap when the valve is opened. As a result, it is possible to prevent the generation of a vortex as shown in FIG. 23 (b) and suppress the pressure loss.
  • the second check valve 106 is preferably made of a flexible material such as polyethylene terephthalate, nylon, polyester or polypropylene so that it can be brought into close contact with the curved surface C of the third space 113.
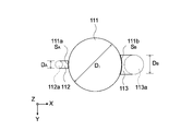
  • FIG. 24 is a schematic view showing the areas of the inflow port 111a and the outflow port 111b
  • FIG. 25 is a schematic view showing the first space 111, the second space 112, and the third space 113.
  • the area of the area S A of the inlet port 111a, the area of the area S B of the outlet 111b, and the area S r a representative cross-sectional area of the first space 111.
  • the fluid control device 100 can be made the area S B is greater than the area S A.
  • the flow path resistance of the fluid is caused by a change in the cross-sectional area (flow path cross-sectional area) perpendicular to the direction of the flow velocity.
  • the general flow path resistance is as follows due to the difference between the flow path cross-sectional area on the upstream side and the flow path cross-sectional area on the downstream side with respect to the flow velocity. In the following, the fluid flowing through the fluid control device 100 will be described as being air.
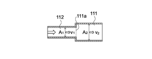
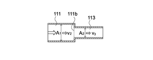
  • FIG. 26 is a schematic view showing the cross-sectional area of the flow path on the inflow port 111a side.
  • the flow path cross-sectional area of the second space 112 is A 1
  • the flow velocity of the fluid flowing through the second space 112 is v 1
  • the flow path cross-sectional area of the first space 111 is A 2 first space 111.
  • is a coefficient that changes depending on the area ratio A 1 / A 2 , and is approximately 1.
  • FIG. 27 is a schematic view showing the cross-sectional area of the flow path on the outlet 111b side.
  • the flow path cross-sectional area of the first space 111 is A 1
  • the flow velocity of the fluid flowing through the first space 111 is v 2
  • the flow path cross-sectional area of the third space 113 is A 2
  • the third space 113 is expressed by the following equation (3).
  • the area S A is 0.1 mm 2
  • a representative cross-sectional area S r is 0.9 mm 2
  • the area S r is 0.3mm
  • the resistance coefficient ⁇ d is 0.889
  • the resistance coefficient ⁇ c is 0.34.
  • Figure 28 is a graph showing the relationship between the area ratio of the inlet 111a and the outlet 111b and (S A / S B) resistance coefficient. As shown in the range H in the figure, when the area ratio (S A / S B) is less than 0.3, the drag coefficient of the outlet 111b is smaller than the resistance coefficient of the inlet 111a. On the other hand, if the area ratio (S A / S B) is 0.3 or more, the resistance coefficient of the outlet 111b is greater than the resistance coefficient of the inlet 111a. Therefore, the area ratio (S A / S B) is suitably satisfy the S A / S B ⁇ 0.3.
  • the inlet 111a and the outlet 111b is suitably made as S A ⁇ S B and S A / S B ⁇ 0.3.
  • the fluid flowing through the fluid control device 100 has been described is air, fluid outlet 111b and inlet 111a even if other than air shall be S A ⁇ S B
  • the resistance coefficient of the outflow port 111b can be made smaller than that of the inflow port 111a, that is, the flow path resistance can be made smaller.
  • the first space 111, the size of the second space 112 and third space 113 is not particularly limited, for example, the diameter D A is 1 mm, the diameter D B is 2 mm, the diameter D r may be 9 mm.
  • the cross-sectional area of the flow path may change continuously.
  • 29 and 30 are schematic views of the fluid control device 100 in which the flow path cross-sectional areas of the second space 112 and the third space 113 continuously change.
  • the second space 112 has a shape in which the cross-sectional area of the flow path continuously increases from the suction port 112a toward the inflow port 111a, and the third space 113 extends from the outflow port 111b to the discharge port 113a.
  • the shape can be such that the cross-sectional area of the flow path continuously decreases toward it.
  • Area S B of the area S A of the inlet 111a outlet 111b is formed such that S A ⁇ S B.
  • the second space 112 has a shape in which the cross-sectional area of the flow path continuously decreases from the suction port 112a toward the inflow port 111a
  • the third space 113 has a shape from the outflow port 111b to the discharge port.
  • the shape can be such that the cross-sectional area of the flow path continuously decreases toward 113a.
  • Area S B of the area S A of the inlet 111a outlet 111b is formed such that S A ⁇ S B.
  • the fluid control device 100 can be made with the two inlets 111a having an area S A, three outlet 111b having an area S B.
  • Fluid control apparatus 100 those total area of the inlet 111a (2S A) is less than the total area of the outlet 111b (3S B) are suitable for the flow resistance is small.
  • the number of the second space 112 and the third space 113 is not limited to those described above, and may be one or more respectively.
  • the flow path cross-sectional area of each of the second space 112 and the third space 113 may change continuously as shown in FIGS. 29 and 30.
  • a plurality are provided second space 112 and third space 113, respectively, and different areas S A from each other, the area S B may also be different from each other.
  • the one is suitable because the flow path resistance is small.
  • the number of the second space 112 and the third space 113 is not limited, and may be one or more each.
  • the flow path cross-sectional area of each of the second space 112 and the third space 113 may change continuously as shown in FIGS. 29 and 30.
  • the first space 111 can also have the following configuration.
  • FIG. 33 is a cross-sectional view of the fluid control device 100 having a structure in which the first space 111 is smaller than the movable portion 102a
  • FIG. 34 is a schematic view of the fluid control device 100.
  • a wall 111c is provided between the movable portion 102a and the facing portion 103a, and the wall 111c forms a first space 111 that is smaller than the space between the movable portion 102a and the facing portion 103a. .. Further, a wall 112b and a wall 113b connected to the wall 111c are provided between the movable portion 102a and the third housing member 103, and a second space 112 and a third space 113 communicating with the first space 111 are formed. ing.
  • FIG. 35 is a schematic view showing the first space 111, the second space 112, and the third space 113 of the fluid control device 100. As shown in the figure, a part of the second space 112 and the third space 113 is provided between the movable portion 102a and the third housing member 103. Area S B of the area S A of the inlet 111a outlet 111b is formed such that S A ⁇ S B.
  • the influence of ⁇ V can be increased by reducing the volume V, and the transmission pressure of the fluid control device 100 can be increased.
  • the space outside the wall 111c that is, the space other than the first space 111 is not used for transporting the fluid, so a filler or the like is filled and sealed. You may.
  • FIG. 36 is a schematic view of the fluid control device 100 in which the first space 111 has a shape different from that of the movable portion 102a.
  • the first space 111 has a trapezoidal shape with the second space 112 side as the short side and the third space 113 side as the long side when viewed from the direction perpendicular to the movable portion 102a (Z direction).
  • the flow path cross-sectional area is formed so as to continuously increase from the inflow port 111a toward the outflow port 111b.
  • the area S B of the area S A of the inlet 111a outlet 111b is formed such that S A ⁇ S B.
  • the shape of the first space 111 is not limited to the trapezoidal shape, and may be another shape formed so that the cross-sectional area of the flow path continuously increases from the inflow port 111a toward the outflow port 111b.
  • the second housing member 102 can also have the following configuration.
  • FIG. 37 is a cross-sectional view of the fluid control device 100
  • FIG. 38 is a plan view of the second housing member 102.
  • a spring portion 102d is provided between the movable portion 102a and the fixed portion 102b, and the elastic body is formed by the movable portion 102a and the spring portion 102d.
  • the end face T located on the outer periphery of the spring portion 102d is fixed to the fixed portion 102b, and the spring portion 102d connects the movable portion 102a and the fixed portion 102b.
  • the spring portion 102d is formed so as to have a lower rigidity than the fixed portion 102b, and causes elastic deformation to promote bending of the movable portion 102a.
  • the rigidity of the spring portion 102d is different from the rigidity of the movable portion 102a, and may be larger or smaller than the rigidity of the movable portion 102a.
  • the spring portion 102d may be made of the same material as the movable portion 102a and the fixed portion 102b, or may be made of a different material.
  • the spring portion 102d may be formed over the entire region between the movable portion 102a and the fixed portion 102b, and there may be no gap between the movable portion 102a and the fixed portion 102b, or the gap may be minimized.
  • FIG. 39 is a plan view of the diaphragm structure including the movable portion 701 of the fluid control device 700 (see FIG. 10) according to the comparison.
  • a spring portion 707 is provided between the movable portion 701 and the fixed portion 708.
  • the spring portion 707 has a spring 709 that is intermittently arranged around the movable portion 701, and a gap 710 is provided between the springs 709.
  • a piezoelectric element 711 is arranged on the movable portion 701.
  • FIG. 40 is a schematic view showing a bending operation of the movable portion 701. As shown in FIG. 40A, when a voltage is applied to the piezoelectric element 711, a difference in stress (arrow in the figure) is generated between the elastic body side surface 711a and the opposite side surface 711b of the piezoelectric element 711.
  • FIG. 41 is a schematic view showing the flow of fluid (arrows in the figure) in the movable portion 701 and the fluid control device 700 in the bent state.
  • the fluid flows from the first space 703 to the second space 704 due to the bending of the movable portion 701, but as shown in the figure, a part of the fluid returns to the first space 703 through the gap 710, and a loss occurs.
  • FIG. 42 is a schematic view showing each region of the movable portion 701 in the bent state.
  • the region G1 projects toward the second space 704 side and contributes to the extrusion of the fluid.
  • the region G2 causes a reverse shake and protrudes toward the first space 703, and does not contribute to the extrusion of the fluid.
  • the secondary resonance mode in which the end portion of the movable portion 701 is reversely shaken due to the structure, so that the region G2 that does not contribute to the extrusion of the fluid is formed.
  • low-order resonance modes may occur at the same time.
  • FIG. 43 is a schematic view showing a region of the movable portion 102a in a bent state. As shown in the figure, the movable portion 102a is a region G3 that contributes to the extrusion of the fluid as a whole.
  • the second housing member 102 since a gap is not provided between the fixed portion 102b and the movable portion 102a, or the gap is minimal, the passage of the fluid gap is restricted and loss is prevented. Further, since the gap is not provided or the gap is minimized, the rigidity of the spring portion 102d can be made larger than the rigidity of the spring portion 707, and the primary resonance mode can be shifted to the audible range or higher. Further, since the movable portion 102a is in a resonance mode in which reverse blurring does not occur, efficient driving is possible.
  • the second housing member 102 can be further configured as follows. 44 to 46 are cross-sectional views of a fluid control device 100 including a second housing member 102 having each configuration.
  • the spring portion 102d may have an uneven structure. As shown in FIG. 44, the uneven structure of the spring portion 102d includes a deformed spring structure provided with the concave portion 102e. In addition, the uneven structure of the spring portion 102d may include a bellows structure, a corrugated structure, and the like. By making the spring portion 102d have an uneven structure, it is possible to adjust the spring characteristics of the spring portion 102d.
  • the spring portion 102d may have a gap 102f.
  • FIG. 46 is a plan view of the second housing member 102 having the spring portion 102d. As shown in the figure, the spring portion 102d is composed of a plurality of gaps 102f and a plurality of springs 102g arranged between the gaps 102f.
  • the total area of the gap 102f when viewed from the direction perpendicular to the second housing member 102 (Z direction) is formed so as to be equal to or less than the total area of the spring 102g.
  • the number of the spring portion 102d and the gap 102f is not limited to that shown in FIG. 46, and may be at least one or more of each.
  • the amount of displacement was measured for the fluid control device 100 in which the second housing member 102 has each configuration.
  • the measurement results are shown in the following [Table 2].
  • the "comparative example” has a diaphragm structure provided in the fluid control device 700 (see FIG. 39), and the diameter of the elastic body is 9.3 mm.
  • "Structure 1" has a configuration of a second housing member 102 in which a gap 102f (see FIG. 46) is provided in the spring portion 102d, and the diameter of the movable portion 102a is 9.3 mm.
  • "Structure 2” has a configuration of 102 including the spring portion 102d (see FIG. 38), and the diameter of the movable portion 102a is 9.6 mm.
  • “Structure 3” has a configuration of 102 including the spring portion 102d (see FIG. 38), and the diameter of the movable portion 102a is 9.3 mm.
  • Maximum displacement is the amount of displacement of the movable part from the fixed part (Fig. 42: displacement amount H1, Fig. 43: displacement amount H3), and “reverse displacement” is the amount of displacement of the spring part in the direction opposite to the movable part. (FIG. 42, displacement amount H2).
  • the "gap area” is the area of the gap provided in the spring portion (see FIGS. 39 and 46).
  • the third housing member 103 may have a movable portion like the second housing member 102.
  • FIG. 47 is a cross-sectional view of the fluid control device 100 including the third housing member 103 having the movable portion 103c. As shown in the figure, the third housing member 103 may include a movable portion 103c, a fixing portion 103d, and a spring portion 103e.
  • the movable portion 103c is located in the central portion of the third housing member 103 and is made of an elastic body.
  • the fixed portion 103d is arranged around the movable portion 103c and is made of an inelastic body.
  • a spring portion 103e is provided between the movable portion 103c and the fixed portion 103d.
  • the spring portion 103e has a different rigidity from the movable portion 103c, and the end face T located on the outer periphery of the spring portion 103e is fixed to the fixed portion 103d.
  • An elastic body is composed of a movable portion 103c and a spring portion 103e.
  • a drive mechanism 107 such as a piezoelectric element is provided on the movable portion 103c, and the movable portion 103c is configured to be bent by the drive mechanism 107 and functions as a diaphragm.
  • the spring portion 103e can have the above-mentioned various configurations like the spring portion 102d.
  • the drive mechanism 104 can also have the following configuration. 48 and 49 are cross-sectional views of a fluid control device 100 including a drive mechanism 104 having each configuration.
  • the movable portion 102a can be made of a piezoelectric element, that is, the movable portion 102a can be integrally formed with the drive mechanism 104. As a result, the movable portion 102a can be bent by itself by driving the piezoelectric element.
  • the drive mechanism 104 is connected to the movable portion 102a, and the movable portion 102a can be bent from the outside.
  • the drive mechanism 104 may be one that bends the movable portion 102a by a mechanical mechanism, or may be one that bends the movable portion 102a by another mechanism.
  • the fluid control device 100 may include a vibration support member.
  • FIG. 50 is a cross-sectional view of the fluid control device 100 including the vibration support member 108
  • FIG. 51 is a plan view of the fluid control device 100.
  • the vibration support member 108 can be an annular member joined around the drive mechanism 104 on the second housing member 102.
  • the housing of the fluid control device 100 is configured by laminating the first housing member 101, the second housing member 102, and the third housing member 103, but a single housing member. It may consist of.
  • FIG. 52 is a cross-sectional view of the fluid control device 100 including a single housing member. As shown in the figure, the fluid control device 100 includes a housing member 109, a movable portion 110, a drive mechanism 104, a first check valve 105, and a second check valve 106.
  • the movable portion 110 is bent by a drive mechanism 104 such as a piezoelectric element.
  • a first space 111 is provided between the facing portion 109a, which is a portion of the housing member 109 facing the movable portion 110, and the movable portion 110, and the second space 112 and the third space are adjacent to the first space 111.
  • 113 is provided. Also in this configuration, it is possible to reduce the flow path resistance by providing the suction port 112a and the discharge port 113a on the extension surface of the facing portion 109a which is a flat plate member. Further, a spring portion having a rigidity different from that of the movable portion 110 may be provided between the movable portion 110 and the housing member 109.
  • the application of the fluid control device 100 is not particularly limited, but it can be mounted on, for example, an electronic device.
  • the fluid control device 100 can discharge the air in the electronic device to the outside or suck the air from the outside of the electronic device.
  • the fluid control device 100 can be used as a cooling device that suppresses heat generation by blowing a fluid onto a heat generating body in an electronic device. Since the fluid control device 100 can be miniaturized, it can be easily incorporated in an electronic device.
  • the present technology can have the following configurations. (1) A first space with an inlet and an outlet, Two flat plate members facing each other through the first space and at least one of which is an elastic body having flexibility, The drive mechanism that bends the elastic body and A second space adjacent to the first space, communicating with the first space through the inflow port, and having an intake port, A first check valve that allows fluid to flow from the suction port to the first space through the inflow port, and A third space adjacent to the first space, communicating with the first space through the outlet, and having a discharge port, It is provided with a second check valve that allows fluid to flow from the first space to the discharge port via the outlet.
  • a fluid control device in which at least one of the suction port and the discharge port is located on an extension surface of at least one of the two flat plate members.
  • the flow path from the second space to the first space via the inflow port and from the first space to the third space via the outlet is the first space, the above.
  • a fluid control device in which the cross-sectional area of the flow path continuously changes in the second space and the third space.
  • the drive mechanism is a piezoelectric element, and the piezoelectric element is a fluid control device laminated on the elastic body.
  • the fluid control device according to any one of (1) to (4) above.
  • the fluid control device according to any one of (1) to (5) above.
  • the housing of the fluid control device has a polygonal shape when viewed from a direction perpendicular to the two flat plate members.
  • the first space has a circular shape when viewed from a direction perpendicular to the two flat plate members.
  • a fluid control device in which at least one of the suction port and the discharge port is arranged at a corner of the housing. (7) The fluid control device according to (6) above.
  • the second space forms a flow path using a curved surface extending from the suction port toward the inflow port from a direction perpendicular to the extension surface of the two flat plate members to a direction parallel to the extension surface.
  • the third space is a fluid control device that forms a flow path using a curved surface that extends from the outlet toward the discharge port from a direction parallel to the extension surface to a direction perpendicular to the extension surface.
  • the inlet area of the S A, the area of the outlet when the S B, the fluid control device is a S A ⁇ S B.
  • the fluid is air, the fluid control device is a S A / S B ⁇ 0.3.
  • the second space and a part of the third space are fluid control devices provided between the two flat plate members.
  • (12) The fluid control device according to any one of (1) to (11) above.
  • the cross-sectional area of the flow path continuously changes from the suction port to the inflow port.
  • the third space is a fluid control device in which the cross-sectional area of the flow path continuously changes from the outlet to the discharge port.
  • the fluid control device according to any one of (1) to (12) above. It has a plurality of the second space and a plurality of the third space, has a plurality of the inlets and the plurality of outlets, and the total area of the plurality of inlets is the sum of the areas of the plurality of outlets. A fluid controller smaller than the total area. (14) The fluid control device according to (13) above. A fluid control device in which the area of the inlet having the largest area among the plurality of inlets is smaller than the area of the outlet having the smallest area among the plurality of outlets. (15) The fluid control device according to any one of (9) to (14) above.
  • the first space is a fluid control device formed so that the cross-sectional area of the flow path continuously increases from the inlet to the outlet.
  • the elastic body is a fluid control device having a movable portion and a spring portion having a rigidity different from that of the movable portion and connecting the movable portion to an outer peripheral portion.
  • the movable part and the spring part are fluid control devices made of materials having different rigidity from each other.
  • the fluid control device according to (16) above. A fluid control device in which the spring portion is provided with an uneven structure.
  • the movable part is a fluid control device integrally formed with the drive mechanism. (20) The fluid control device according to any one of (16) to (18) above.
  • the movable portion is a fluid control device that is bent by the drive mechanism connected to the movable portion.
  • the fluid control device according to any one of (16) to (20), wherein the spring portion has at least one gap and at least one spring, and is perpendicular to the two flat plate members. The total area of the gap is less than or equal to the total area of the spring when viewed from the above direction.
  • (22) A first space with an inlet and an outlet, Two flat plate members facing each other through the first space and at least one of which is an elastic body having flexibility,
  • the drive mechanism that bends the elastic body and A second space adjacent to the first space, communicating with the first space through the inflow port, and having a suction port,
  • a first check valve that allows fluid to flow from the suction port to the first space through the inflow port
  • An electronic device including a fluid control device in which at least one of the suction port and the discharge port is located on an extension surface of at least one of the two flat plate members.
  • Fluid control device 101 ... First housing member 102 ... Second housing member 102a ... Movable part 102b ... Fixed part 102d ... Spring part 103 ... Third housing member 103a ... Opposing part 104 ... Drive mechanism 105 ... First Check valve 106 ... Second check valve 111 ... First space 111a ... Inflow port 111b ... Outlet 112 ... Second space 112a ... Suction port 113 ... Third space 113a ... Discharge port

Landscapes

  • Engineering & Computer Science (AREA)
  • Mechanical Engineering (AREA)
  • General Engineering & Computer Science (AREA)
  • Reciprocating Pumps (AREA)
PCT/JP2020/019821 2019-06-03 2020-05-19 流体制御装置及び電子機器 Ceased WO2020246232A1 (ja)

Priority Applications (5)

Application Number Priority Date Filing Date Title
EP20817949.9A EP3978752B1 (en) 2019-06-03 2020-05-19 Fluid control device and electronic apparatus
US17/616,381 US12135022B2 (en) 2019-06-03 2020-05-19 Fluid control apparatus and electronic apparatus
CN202080029567.5A CN113710896A (zh) 2019-06-03 2020-05-19 流体控制装置及电子设备
JP2021524740A JP7444165B2 (ja) 2019-06-03 2020-05-19 流体制御装置及び電子機器
KR1020217038320A KR20220016072A (ko) 2019-06-03 2020-05-19 유체 제어 장치 및 전자 기기

Applications Claiming Priority (2)

Application Number Priority Date Filing Date Title
JP2019103467 2019-06-03
JP2019-103467 2019-06-03

Publications (1)

Publication Number Publication Date
WO2020246232A1 true WO2020246232A1 (ja) 2020-12-10

Family

ID=73652808

Family Applications (1)

Application Number Title Priority Date Filing Date
PCT/JP2020/019821 Ceased WO2020246232A1 (ja) 2019-06-03 2020-05-19 流体制御装置及び電子機器

Country Status (6)

Country Link
US (1) US12135022B2 (enExample)
EP (1) EP3978752B1 (enExample)
JP (1) JP7444165B2 (enExample)
KR (1) KR20220016072A (enExample)
CN (1) CN113710896A (enExample)
WO (1) WO2020246232A1 (enExample)

Families Citing this family (1)

* Cited by examiner, † Cited by third party
Publication number Priority date Publication date Assignee Title
JP2023183637A (ja) * 2022-06-16 2023-12-28 ローム株式会社 マイクロポンプ

Citations (19)

* Cited by examiner, † Cited by third party
Publication number Priority date Publication date Assignee Title
JPS6270677A (ja) * 1985-09-24 1987-04-01 Ckd Controls Ltd ピエゾポンプ
JPH051669A (ja) * 1991-06-21 1993-01-08 Seiko Epson Corp マイクロポンプ及びマイクロバルブの製造方法
JPH07301182A (ja) 1994-05-02 1995-11-14 Tosoh Corp 圧電ポンプの駆動方法
JPH10502861A (ja) * 1994-05-09 1998-03-17 アクアテック・ウォーター・システムズ・インコーポレーテッド 逆浸透用透過水ポンプ
JPH10184549A (ja) * 1996-12-26 1998-07-14 Citizen Electron Co Ltd 小型ポンプ
JPH11311184A (ja) * 1998-04-27 1999-11-09 Matsushita Electric Works Ltd 小型ポンプ
JP2000265963A (ja) * 1999-03-17 2000-09-26 Kasei Optonix Co Ltd 小型ポンプ
JP2002227770A (ja) * 2001-02-02 2002-08-14 Matsushita Electric Ind Co Ltd 小型ポンプ
US20020197167A1 (en) * 2001-06-26 2002-12-26 Micralyne Inc. Microfluidic flow control device
WO2005012729A1 (ja) * 2003-08-04 2005-02-10 Nec Corporation ダイヤフラムポンプおよび該ダイヤフラムポンプを備えた冷却システム
JP2006295147A (ja) * 2005-03-17 2006-10-26 Osaka Industrial Promotion Organization 圧電アクチュエータ及びポンプ
JP2007507663A (ja) * 2003-10-01 2007-03-29 エージェンシー フォー サイエンス,テクノロジー アンド リサーチ マイクロポンプ
JP2007162525A (ja) * 2005-12-12 2007-06-28 Sony Corp 噴流発生装置、放熱装置及び電子機器
JP2008163902A (ja) * 2006-12-28 2008-07-17 Murata Mfg Co Ltd 圧電ポンプ
JP2009293626A (ja) * 2009-09-18 2009-12-17 Seiko Epson Corp 流体噴射装置
JP2012026385A (ja) * 2010-07-26 2012-02-09 Ricoh Co Ltd 液体搬送装置、液体搬送キット
JP2012528980A (ja) * 2009-06-03 2012-11-15 ザ テクノロジー パートナーシップ ピーエルシー 流体ディスクポンプ
WO2018033347A1 (en) * 2016-08-16 2018-02-22 Philip Morris Products S.A. Aerosol-generating device
JP2019065708A (ja) * 2017-09-28 2019-04-25 日本電産株式会社 ポンプ

Family Cites Families (12)

* Cited by examiner, † Cited by third party
Publication number Priority date Publication date Assignee Title
JPS59221485A (ja) 1983-05-31 1984-12-13 Sharp Corp ポンプ
GB2248891A (en) * 1990-10-18 1992-04-22 Westonbridge Int Ltd Membrane micropump
DE4332720C2 (de) * 1993-09-25 1997-02-13 Karlsruhe Forschzent Mikromembranpumpe
JP4793442B2 (ja) * 2006-03-29 2011-10-12 株式会社村田製作所 マイクロポンプ
WO2009050990A1 (ja) * 2007-10-16 2009-04-23 Murata Manufacturing Co., Ltd. 圧電マイクロブロア
EP2241757B1 (en) 2007-12-03 2018-01-03 Murata Manufacturing Co. Ltd. Piezoelectric pump
JP5682513B2 (ja) * 2011-09-06 2015-03-11 株式会社村田製作所 流体制御装置
KR101452050B1 (ko) * 2012-11-12 2014-10-21 삼성전기주식회사 마이크로 펌프
KR20140081570A (ko) * 2012-12-21 2014-07-01 삼성전기주식회사 마이크로 펌프
KR20140118542A (ko) * 2013-03-29 2014-10-08 삼성전기주식회사 마이크로 펌프
CN105822527B (zh) 2016-03-24 2017-12-05 北京理工大学 利用压电陶瓷驱动的多功能流体分配系统及其驱动方法
WO2021090729A1 (ja) * 2019-11-08 2021-05-14 ソニー株式会社 バルブモジュール、流体制御装置及び電子機器

Patent Citations (19)

* Cited by examiner, † Cited by third party
Publication number Priority date Publication date Assignee Title
JPS6270677A (ja) * 1985-09-24 1987-04-01 Ckd Controls Ltd ピエゾポンプ
JPH051669A (ja) * 1991-06-21 1993-01-08 Seiko Epson Corp マイクロポンプ及びマイクロバルブの製造方法
JPH07301182A (ja) 1994-05-02 1995-11-14 Tosoh Corp 圧電ポンプの駆動方法
JPH10502861A (ja) * 1994-05-09 1998-03-17 アクアテック・ウォーター・システムズ・インコーポレーテッド 逆浸透用透過水ポンプ
JPH10184549A (ja) * 1996-12-26 1998-07-14 Citizen Electron Co Ltd 小型ポンプ
JPH11311184A (ja) * 1998-04-27 1999-11-09 Matsushita Electric Works Ltd 小型ポンプ
JP2000265963A (ja) * 1999-03-17 2000-09-26 Kasei Optonix Co Ltd 小型ポンプ
JP2002227770A (ja) * 2001-02-02 2002-08-14 Matsushita Electric Ind Co Ltd 小型ポンプ
US20020197167A1 (en) * 2001-06-26 2002-12-26 Micralyne Inc. Microfluidic flow control device
WO2005012729A1 (ja) * 2003-08-04 2005-02-10 Nec Corporation ダイヤフラムポンプおよび該ダイヤフラムポンプを備えた冷却システム
JP2007507663A (ja) * 2003-10-01 2007-03-29 エージェンシー フォー サイエンス,テクノロジー アンド リサーチ マイクロポンプ
JP2006295147A (ja) * 2005-03-17 2006-10-26 Osaka Industrial Promotion Organization 圧電アクチュエータ及びポンプ
JP2007162525A (ja) * 2005-12-12 2007-06-28 Sony Corp 噴流発生装置、放熱装置及び電子機器
JP2008163902A (ja) * 2006-12-28 2008-07-17 Murata Mfg Co Ltd 圧電ポンプ
JP2012528980A (ja) * 2009-06-03 2012-11-15 ザ テクノロジー パートナーシップ ピーエルシー 流体ディスクポンプ
JP2009293626A (ja) * 2009-09-18 2009-12-17 Seiko Epson Corp 流体噴射装置
JP2012026385A (ja) * 2010-07-26 2012-02-09 Ricoh Co Ltd 液体搬送装置、液体搬送キット
WO2018033347A1 (en) * 2016-08-16 2018-02-22 Philip Morris Products S.A. Aerosol-generating device
JP2019065708A (ja) * 2017-09-28 2019-04-25 日本電産株式会社 ポンプ

Non-Patent Citations (1)

* Cited by examiner, † Cited by third party
Title
See also references of EP3978752A4

Also Published As

Publication number Publication date
EP3978752A1 (en) 2022-04-06
JPWO2020246232A1 (enExample) 2020-12-10
US20220260067A1 (en) 2022-08-18
EP3978752A4 (en) 2023-04-19
US12135022B2 (en) 2024-11-05
KR20220016072A (ko) 2022-02-08
JP7444165B2 (ja) 2024-03-06
CN113710896A (zh) 2021-11-26
EP3978752B1 (en) 2025-11-26

Similar Documents

Publication Publication Date Title
US20210062800A1 (en) Pump
US8678787B2 (en) Piezoelectric micro-blower
US7972124B2 (en) Piezoelectric micro-blower
CN109477478B (zh) 阀、气体控制装置
AU2012312898B2 (en) Dual -cavity pump
US11391277B2 (en) Pump and fluid control device
US20180223829A1 (en) Fluid control device, decompression device, and compression device
CN107076137A (zh) 阀与流体控制装置
US11293428B2 (en) Pump and fluid control device
JP6575634B2 (ja) ブロア
WO2020195036A1 (ja) 圧電ポンプ
US11879449B2 (en) Piezoelectric pump with vibrating plate, protrusion and valve arrangement
US20180100495A1 (en) Pump
WO2020246232A1 (ja) 流体制御装置及び電子機器
US11867167B2 (en) Piezoelectric pump with annular valve arrangement
WO2020195075A1 (ja) 圧電ポンプ
WO2022123983A1 (ja) 流体制御装置、及び電子機器

Legal Events

Date Code Title Description
121 Ep: the epo has been informed by wipo that ep was designated in this application

Ref document number: 20817949

Country of ref document: EP

Kind code of ref document: A1

ENP Entry into the national phase

Ref document number: 2021524740

Country of ref document: JP

Kind code of ref document: A

NENP Non-entry into the national phase

Ref country code: DE

ENP Entry into the national phase

Ref document number: 2020817949

Country of ref document: EP

Effective date: 20220103

WWG Wipo information: grant in national office

Ref document number: 2020817949

Country of ref document: EP