WO2020240943A1 - フラットハーネス取付構造、フラットハーネス取付部品及び取付部品付フラットハーネス - Google Patents

フラットハーネス取付構造、フラットハーネス取付部品及び取付部品付フラットハーネス Download PDF

Info

Publication number
WO2020240943A1
WO2020240943A1 PCT/JP2020/005692 JP2020005692W WO2020240943A1 WO 2020240943 A1 WO2020240943 A1 WO 2020240943A1 JP 2020005692 W JP2020005692 W JP 2020005692W WO 2020240943 A1 WO2020240943 A1 WO 2020240943A1
Authority
WO
WIPO (PCT)
Prior art keywords
flat harness
mounting
plate
flat
fixing
Prior art date
Legal status (The legal status is an assumption and is not a legal conclusion. Google has not performed a legal analysis and makes no representation as to the accuracy of the status listed.)
Ceased
Application number
PCT/JP2020/005692
Other languages
English (en)
French (fr)
Japanese (ja)
Inventor
久洋 安田
Current Assignee (The listed assignees may be inaccurate. Google has not performed a legal analysis and makes no representation or warranty as to the accuracy of the list.)
Sumitomo Wiring Systems Ltd
AutoNetworks Technologies Ltd
Sumitomo Electric Industries Ltd
Original Assignee
Sumitomo Wiring Systems Ltd
AutoNetworks Technologies Ltd
Sumitomo Electric Industries Ltd
Priority date (The priority date is an assumption and is not a legal conclusion. Google has not performed a legal analysis and makes no representation as to the accuracy of the date listed.)
Filing date
Publication date
Application filed by Sumitomo Wiring Systems Ltd, AutoNetworks Technologies Ltd, Sumitomo Electric Industries Ltd filed Critical Sumitomo Wiring Systems Ltd
Priority to CN202080038712.6A priority Critical patent/CN113924705B/zh
Priority to US17/612,184 priority patent/US12005844B2/en
Publication of WO2020240943A1 publication Critical patent/WO2020240943A1/ja
Anticipated expiration legal-status Critical
Ceased legal-status Critical Current

Links

Images

Classifications

    • HELECTRICITY
    • H02GENERATION; CONVERSION OR DISTRIBUTION OF ELECTRIC POWER
    • H02GINSTALLATION OF ELECTRIC CABLES OR LINES, OR OF COMBINED OPTICAL AND ELECTRIC CABLES OR LINES
    • H02G3/00Installations of electric cables or lines or protective tubing therefor in or on buildings, equivalent structures or vehicles
    • H02G3/30Installations of cables or lines on walls, floors or ceilings
    • H02G3/32Installations of cables or lines on walls, floors or ceilings using mounting clamps
    • BPERFORMING OPERATIONS; TRANSPORTING
    • B60VEHICLES IN GENERAL
    • B60RVEHICLES, VEHICLE FITTINGS, OR VEHICLE PARTS, NOT OTHERWISE PROVIDED FOR
    • B60R16/00Electric or fluid circuits specially adapted for vehicles and not otherwise provided for; Arrangement of elements of electric or fluid circuits specially adapted for vehicles and not otherwise provided for
    • B60R16/02Electric or fluid circuits specially adapted for vehicles and not otherwise provided for; Arrangement of elements of electric or fluid circuits specially adapted for vehicles and not otherwise provided for electric constitutive elements
    • B60R16/0207Wire harnesses
    • B60R16/0215Protecting, fastening and routing means therefor
    • FMECHANICAL ENGINEERING; LIGHTING; HEATING; WEAPONS; BLASTING
    • F16ENGINEERING ELEMENTS AND UNITS; GENERAL MEASURES FOR PRODUCING AND MAINTAINING EFFECTIVE FUNCTIONING OF MACHINES OR INSTALLATIONS; THERMAL INSULATION IN GENERAL
    • F16BDEVICES FOR FASTENING OR SECURING CONSTRUCTIONAL ELEMENTS OR MACHINE PARTS TOGETHER, e.g. NAILS, BOLTS, CIRCLIPS, CLAMPS, CLIPS OR WEDGES; JOINTS OR JOINTING
    • F16B2/00Friction-grip releasable fastenings
    • F16B2/02Clamps, i.e. with gripping action effected by positive means other than the inherent resistance to deformation of the material of the fastening
    • F16B2/06Clamps, i.e. with gripping action effected by positive means other than the inherent resistance to deformation of the material of the fastening external, i.e. with contracting action
    • F16B2/12Clamps, i.e. with gripping action effected by positive means other than the inherent resistance to deformation of the material of the fastening external, i.e. with contracting action using sliding jaws
    • HELECTRICITY
    • H01ELECTRIC ELEMENTS
    • H01BCABLES; CONDUCTORS; INSULATORS; SELECTION OF MATERIALS FOR THEIR CONDUCTIVE, INSULATING OR DIELECTRIC PROPERTIES
    • H01B7/00Insulated conductors or cables characterised by their form
    • H01B7/08Flat or ribbon cables
    • H01B7/0823Parallel wires, incorporated in a flat insulating profile
    • HELECTRICITY
    • H02GENERATION; CONVERSION OR DISTRIBUTION OF ELECTRIC POWER
    • H02GINSTALLATION OF ELECTRIC CABLES OR LINES, OR OF COMBINED OPTICAL AND ELECTRIC CABLES OR LINES
    • H02G3/00Installations of electric cables or lines or protective tubing therefor in or on buildings, equivalent structures or vehicles
    • H02G3/02Details
    • H02G3/04Protective tubing or conduits, e.g. cable ladders or cable troughs
    • H02G3/0406Details thereof
    • HELECTRICITY
    • H01ELECTRIC ELEMENTS
    • H01BCABLES; CONDUCTORS; INSULATORS; SELECTION OF MATERIALS FOR THEIR CONDUCTIVE, INSULATING OR DIELECTRIC PROPERTIES
    • H01B7/00Insulated conductors or cables characterised by their form
    • H01B7/08Flat or ribbon cables
    • H01B7/0838Parallel wires, sandwiched between two insulating layers

Definitions

  • This disclosure relates to a flat harness mounting structure, a flat harness mounting component, and a flat harness with mounting components.
  • Patent Document 1 discloses a structure in which a flat wiring material is arranged on the back surface of a panel. A wiring groove is formed in the panel. The flat wiring material is arranged in the arrangement groove.
  • the clip has a pair of fixing claws, and the panel is formed with a hole into which the pair of fixing claws are inserted. A pair of fixing claws are inserted into the pair of holes with the clip straddling the wiring flat wiring material in the width direction. As a result, the flat wiring material is fixed to the panel.
  • the purpose of this disclosure is to enable flat harnesses of various widths to be attached to the attachment target portion.
  • the flat harness mounting structure of the present disclosure is a flat harness mounting structure for a mounting target member having a mounting target surface, and is a side portion of either a flat harness arranged on the mounting target surface or the flat harness.
  • a flat harness mounting structure including a fixing portion fixed to the mounting target member on the side and a pressing portion extending from the fixing portion onto the flat harness so as to press the flat harness against the mounting target surface. Is.
  • the flat harness mounting component of the present disclosure includes a fixing portion fixed to a member to be mounted and a pressing portion extending from the fixing portion with a base end portion connected to the fixing portion, and the pressing portion includes the pressing portion.
  • a flat harness mounting component including a gap forming portion that faces away from the mounting target member and a main body portion that extends along the mounting target surface of the mounting target member.
  • the flat harness with mounting components of the present disclosure includes a flat harness and mounting components including a fixing portion and a pressing portion, the fixing portion is a portion that can be fixed to a member to be mounted, and the fixing portion is A flat harness with mounting parts that penetrates one side of the flat harness and extends from the fixed portion to the flat harness side.
  • flat harnesses of various widths are attached to the attachment target portion.
  • FIG. 1 is a plan view showing a flat harness mounting structure according to an embodiment.
  • FIG. 2 is a sectional view taken along line II-II of FIG.
  • FIG. 3 is a cross-sectional view showing a flat harness mounting component according to a modified example.
  • FIG. 4 is a cross-sectional view showing a flat harness mounting component according to a modified example.
  • FIG. 5 is a partial plan view showing a flat harness mounting component according to a modified example.
  • FIG. 6 is a partial plan view showing a flat harness mounting component according to a modified example.
  • FIG. 7 is a cross-sectional view showing a flat harness mounting component according to a modified example.
  • FIG. 8 is a cross-sectional view showing a flat harness with mounting parts according to a modified example.
  • the flat harness mounting structure of the present disclosure is as follows.
  • a flat harness mounting structure for a mounting target member having a mounting target surface wherein the mounting target member is on one side of the flat harness arranged on the mounting target surface and the flat harness.
  • It is a flat harness mounting structure including a fixed portion fixed to the flat harness and a pressing portion extending from the fixed portion onto the flat harness so as to press the flat harness against the mounting target surface.
  • the fixing portion is fixed to the mounting target member on the side portion side of either one side of the flat harness.
  • a plate-shaped portion extending from the fixed portion onto the flat harness presses the flat harness against the mounting surface. Therefore, regardless of the width of the flat harness, the plate-shaped portion presses the flat harness against the mounting target surface.
  • flat harnesses of various widths are attached to the members to be attached.
  • the pressing portion may be a plate-shaped portion formed in a flat plate shape.
  • the flat harness can be pressed stably by the plate-shaped portion.
  • the pressing portion may be integrally formed with the fixing portion.
  • a hole through which the fixing portion penetrates is formed in the pressing portion, and the fixing portion may be fixed to the mounting target member in a state where the fixing portion penetrates the hole.
  • the fixing portion is fixed to the member to be attached while being penetrated through the hole. Therefore, the union work of the plate-shaped portion and the fixing portion and the work of fixing the fixing portion to the attachment target member can be easily performed.
  • the pressing portion may be set to a length extending from one side portion side to the other side portion with respect to the flat harness.
  • the flat harness is pressed over the entire width direction.
  • the flat harness mounting structure may include a plurality of sets of the fixing portion and the pressing portion.
  • the flat harness can be attached to the member to be attached at a plurality of places.
  • the plurality of sets of the fixing portion and the pressing portion may include those fixed to the attachment target member on different side portions with respect to the flat harness.
  • the flat harness is pressed from different sides along the extending direction of the flat harness.
  • a plurality of the pressing portions may extend from one fixing portion.
  • the flat harness can be pressed by a plurality of pressing portions extending from one fixed portion.
  • the plurality of pressing portions can press the bent portion, the branch portion, and the like of the flat harness.
  • the flat harness mounting parts disclosed in this disclosure are as follows.
  • a fixing portion fixed to the attachment target member and a pressing portion extending from the fixing portion with the base end portion connected to the fixing portion are provided, and the pressing portion is provided from the attachment target member.
  • the pressing portion includes a gap forming portion and a main body portion.
  • the gap forming portion faces in a direction away from the mounting target member. Therefore, a gap suitable for arranging the flat harness is formed between the main body and the mounting surface. According to this flat harness fixing component, the flat harness can be appropriately pressed against the mounting target surface by the main body portion.
  • the flat harness with mounting parts disclosed in this disclosure is as follows.
  • a flat harness and a mounting component including a fixing portion and a pressing portion are included, the fixing portion is a portion that can be fixed to a member to be mounted, and the fixing portion is one of the flat harnesses.
  • the pressing portion is a flat harness with mounting parts that penetrates the side portion on the side and extends from the fixing portion to the flat harness side.
  • the flat harness and mounting parts can be handled integrally. Therefore, when the flat harness is arranged on the member to be mounted, the mounting component can be easily fixed to the member to be mounted, and the flat harness can be easily mounted.
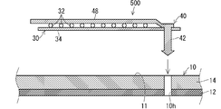
  • FIG. 1 is a plan view showing a flat harness mounting structure 20.
  • FIG. 2 is a sectional view taken along line II-II of FIG.
  • the flat harness mounting structure 20 is a structure for mounting the flat harness 30 to the mounting target member 10 having the mounting target surface 11.
  • the mounting target member 10 is, for example, a plate-shaped portion in a vehicle.
  • the member 10 to be attached may be a flat plate-shaped portion or a bent plate-shaped portion.
  • the mounting target member 10 includes a plate-shaped main body portion 12 and an elastic portion 14.
  • the plate-shaped main body 12 is a metal body or the like in a vehicle.
  • the elastic portion 14 is a plate-shaped portion having elasticity.
  • the elastic portion 14 is, for example, a foamed resin, a non-woven material, or the like, and is considered to be a member that plays a role of a cushioning material, a silencer, or the like.
  • the elastic portion 14 is superposed on one main surface of the plate-shaped main body portion 12.
  • the attachment target member 10 is a laminated body in which the elastic portion 14 is laminated on the plate-shaped main body portion 12.
  • the flat harness 30 is arranged on the outward surface of the member 10 to be mounted on the elastic portion 14 side. Therefore, the outward surface on the elastic portion 14 side of the mounting target member 10 is the mounting target surface 11. It is preferable that the mounting target member 10 is formed with a mounting hole 10h.
  • One of the plate-shaped main body portion 12 and the elastic portion 14 may be omitted.
  • the flat harness mounting structure 20 includes a flat harness 30, a fixing portion 42, and a plate-shaped portion 48 as a pressing portion.
  • the flat harness 30 includes a plurality of linear wiring members and is formed in a flat shape as a whole.
  • the flat harness 30 includes a plurality of electric wires 32 and a seat 34.
  • the electric wire 32 is an example of a linear wiring member.
  • the electric wire 32 includes a core wire and a coating.
  • the core wire is a linear conductor formed of a conductive member such as metal.
  • the coating is an insulating portion that surrounds the core wire.
  • the linear wiring member may be any linear member that transmits electricity, light, or the like.
  • the linear wiring member may be a bare wire, a shielded wire, a twisted wire, an enamel wire, a nichrome wire, an optical fiber, or the like, in addition to an electric wire.
  • the sheet 34 is a sheet-like member that keeps a plurality of electric wires 32 in a flat shape.
  • the sheet 34 is made of resin or the like.
  • the sheet 34 may contain metal.
  • the sheet 34 may include a non-woven sheet.
  • a plurality of electric wires 32 are fixed in parallel on one main surface of the sheet 34.
  • the electric wire 32 is fixed to the sheet 34 by welding, adhesion, adhesion, or the like.
  • the welding may be ultrasonic welding or heat welding.
  • the flat harness 30 may be branched according to the position of each electrical component to be connected.
  • FIG. 1 shows an example in which some electric wires 32a of the plurality of electric wires 32 are branched outward.
  • the sheet 34 may be formed so as to branch along the path of the electric wire 32.
  • the portion of the flat harness 30 provided with the largest number of electric wires 32 may be referred to as a trunk line portion 30a in a later description. Further, the portion where the electric wire 32a is branched may be referred to later as a branch line portion 30b.
  • the end of each electric wire 32 is connected to an electric component or the like via a connector or the like.
  • a plurality of electric wires 32 may be laminated in a plurality of layers on the sheet 34.
  • the flat harness 30 is not limited to the above example.
  • the plurality of electric wires may be kept flat by a flat frame member or the like.
  • a plurality of electric wires may be directly joined in a parallel form so as to have a flat form.
  • the flat harness 30 may be maintained in a flat state in a state where a plurality of linear conductors are mutually insulated by an insulating member, such as FPC (Flexible printed circuits). That is, the flat harness may be a wiring member in which a plurality of linear conductors are held in a flat form in a state of being insulated from each other and formed to have a thickness smaller than a width as a whole.
  • the flat harness 30 is arranged on the mounting target surface 11 in a posture parallel to the mounting target surface 11.
  • the electric wire 32 is located on the side opposite to the mounting target surface 11 with respect to the seat 34.
  • the electric wire 32 may be located on the mounting target surface 11 side with respect to the seat 34.
  • the fixing portion 42 is a portion fixed to the mounting target member 10 on either side of the flat harness 30.
  • the plate-shaped portion 48 is a portion extending from the fixing portion 42 onto the flat harness 30 so as to press the flat harness 30 against the mounting target surface 11.
  • the plate-shaped portion 48 is integrally formed with the fixing portion 42. More specifically, the plate-shaped portion 48 and the fixing portion 42 are integrally formed with the mold by injecting the molten resin into the mold. Therefore, the plate-shaped portion 48 and the fixed portion 42 are integrally connected without a boundary surface.
  • the one in which the fixing portion 42 and the plate-shaped portion 48 are integrally formed may be referred to as a flat harness mounting component 40.
  • the pressing portion is a plate-shaped portion extending in a strip shape.
  • the pressing portion may have a round bar shape, a square bar shape, a triangular bar shape, or the like.
  • the fixing portion 42 is configured to be able to be fitted into the mounting hole 10h formed in the mounting target member 10 in a retaining state.
  • the fixing portion 42 includes, for example, a long main body portion 42a and a hooking portion 42b.
  • the long main body portion 42a is formed to have a length dimension that allows it to be inserted into the mounting hole 10h and reach the back surface side of the mounting target member 10.
  • the hooking portion 42b is formed so as to project outward from the tip end portion of the long main body portion 42a, and is configured to be hookable from the back surface side of the mounting target member 10 to the peripheral edge portion of the mounting hole 10h.
  • the hooking portion 42b can be elastically deformed from a protruding state in which it can be hooked on the peripheral edge of the mounting hole 10h to a retracted state in which it can pass through the mounting hole 10h, for example, by an elastic deformation structure utilizing a leaf spring shape or the like.
  • an elastic deformation structure utilizing a leaf spring shape or the like.
  • well-known configurations such as a harness clip, a harness clamp, a push rivet, and the like may be adopted.
  • a head 43 extending outward is formed at the base end of the fixing portion 42.
  • the head 43 is formed in a disk shape overhanging the entire circumferential direction of the base end portion of the fixing portion 42.
  • the head 43 is caught on one side (mounting target surface 11 side) opening peripheral edge portion of the mounting hole 10h, and the hooked portion 42b is caught on the other side opening peripheral edge portion of the mounting hole 10h. Get caught in.
  • the elastic portion 14 may be in a compressed state. In this case, the elastic restoring force of the elastic portion 14 causes the head 43 to be continuously pushed in the direction away from the plate-shaped main body portion 12. Therefore, the fixing portion 42 is less likely to be tilted, and the posture of the flat harness mounting component 40 is stabilized.
  • the plate-shaped portion 48 extends outward from the base end portion of the fixing portion 42 away from the axial direction of the fixing portion 42.
  • the base end portion of the plate-shaped portion 48 is connected to the base end portion of the fixing portion 42.
  • the plate-shaped portion 48 includes a gap forming portion 48a and a main body portion 48b.
  • the gap forming portion 48a is formed so as to face in a direction away from the attachment target member 10 from the portion connected to the base end portion of the fixing portion 42.
  • the gap forming portion 48a is inclined so as to face outward from a part of the periphery of the head 43 and to face the opposite direction to the tip end portion of the fixing portion 42.
  • the main body portion 48b extends from the tip end portion of the gap forming portion 48a along the mounting target surface 11.
  • the main body portion 48b is formed in an elongated plate shape.
  • the main body portion 48b extends from the tip end portion of the gap forming portion 48a in a direction away from the fixing portion 42 while being orthogonal to the axial direction of the fixing portion 42. Therefore, there may be a difference in the position of the inclination of the gap forming portion 48a between the inward surface of the head 43 and the inward surface of the main body 48b in the direction along the axial direction of the fixed portion 42. .. With the fixing portion 42 fixed to the mounting target member 10, the inward facing surface of the head 43 is in contact with the mounting target surface 11.
  • a gap is formed between the main body portion 48b and the mounting target surface 11 according to the inclination of the gap forming portion 48a.
  • the flat harness 30 is arranged in this gap.
  • the gap is preferably smaller than the thickness dimension of the flat harness 30 (the thickness of the sheet 34 plus the diameter of the electric wire 32).
  • the gap forming portion 48a does not have to be inclined with respect to the fixing portion 42, and may be formed in a crank shape.
  • the thickness of the flat harness 30 to be attached can be changed depending on the diameter of the electric wire 32, the thickness of the sheet 34, and the like.
  • the gap forming portion 48a may be configured according to the thickness of the flat harness 30 to be attached. For example, as shown in FIG. 3, when the thickness of the flat harness 30A is relatively small, the inclination of the gap forming portion 48a1 may be set to be small. As a result, the difference between the inward surface of the head 43 and the inward surface of the main body 48b becomes small in the direction along the axial direction of the fixed portion 42, and the flat harness 30A having a relatively small thickness can be pressed. A suitable configuration can be obtained. Further, for example, as shown in FIG.
  • the inclination of the gap forming portion 48a2 may be set to be large.
  • the difference between the inward surface of the head 43 and the inward surface of the main body 48b can be increased in the direction along the axial direction of the fixed portion 42, and the flat harness 30B having a relatively large thickness is pushed. It can be configured to be suitable for attachment.
  • the length dimension of the plate-shaped portion 48 is preferably set to the length from one side portion of the flat harness 30 to the other side portion.
  • the fixing portion 42 is fixed to the attachment target member 10 at a position outward from one side portion of the flat harness 30. Therefore, the length dimension of the plate-shaped portion 48 is preferably equal to or larger than the width dimension of the flat harness 30.
  • the fixing portion 42 may penetrate the side portion inside the edge of one side portion of the flat harness 30. In this case, even if the length dimension of the plate-shaped portion 48 is less than the width dimension of the flat harness 30, the length dimension of the plate-shaped portion 48 extends from one side portion of the flat harness 30 to the other side portion. Can be set to length.
  • the length dimension of the plate-shaped portion 48 may be set to the length before reaching from one side portion of the flat harness 30 to the other side portion.
  • the plate-shaped portion 48 may be in an oblique posture with respect to the width direction of the flat harness 30.
  • a plurality of sets including the fixed portion and the plate-shaped portion may be provided.
  • the flat harness mounting component 40 including the fixing portion 42 and the plate-shaped portion 48 in addition to the flat harness mounting component 40 including the fixing portion 42 and the plate-shaped portion 48, the flat harness mounting parts 40A, 40B, 40C, 40D, and 40E are shown.
  • the flat harness mounting component 40A is a component including a fixing portion 42 and a plate-shaped portion 48 similar to the flat harness mounting component 40. Focusing on the flat harness mounting parts 40 and 40A, the flat harness mounting part 40 and the flat harness mounting part 40A are fixed to the mounting target member 10 on different sides of the flat harness 30. Further, the flat harness mounting parts 40 and 40A are provided at different positions in the extending direction of the flat harness 30.
  • the fixing portion 42 is fixed to the mounting target member 10 on one side side (here, the outside of the side portion) of the flat harness 30.
  • the plate-shaped portion 48 crosses the flat harness 30 so as to face from one side portion of the flat harness 30 to the other side portion.
  • the flat harness mounting component 40A is provided at a position adjacent to the flat harness mounting component 40 at intervals along the extending direction of the flat harness 30.
  • the posture of the flat harness mounting component 40A is symmetrical with respect to the flat harness mounting component 40 with respect to the center line in the width direction of the flat harness 30. That is, the fixing portion 42 is fixed to the mounting target member 10 on the other side portion side (here, the outside of the side portion) of the flat harness 30.
  • the plate-shaped portion 48 crosses the flat harness 30 so as to face one side from the other side of the flat harness 30.
  • the plate-shaped portions 48 of the flat harness mounting parts 40 and 40A extend from different side portions of the flat harness 30 at different positions along the extending direction of the flat harness 30 to press the flat harness 30. .. It is considered that the flat harness mounting parts 40 and 40A can effectively press the flat harness 30 on the side close to the fixing portion 42. Therefore, the flat harness 30 is effectively pressed against the mounting target surface 11 over a certain range.
  • the fixing portions 42 may be arranged alternately with respect to both side portions of the flat harness 30.
  • the flat harness mounting part 40B includes a fixing portion 42 and a plate-shaped portion 48B.
  • the fixing portion 42 has the same configuration as that described above.
  • the plate-shaped portion 48B is formed wider than the plate-shaped portion 48.
  • the flat harness 30 is protected by the plate-shaped portion 48B.
  • the flat harness mounting component 40B may be provided.
  • the width of the plate-shaped portion 48B can be appropriately set depending on the region where protection is desired.
  • the plate-shaped portion 48B may be set wider than the width of the fixed portion 42.
  • the width of the fixed portion 42 is a dimension in a direction orthogonal to both the axial direction of the fixed portion 42 and the extending direction of the plate-shaped portion 48B. Further, for example, the plate-shaped portion 48B may be set wider than the width of the flat harness 30.
  • the flat harness mounting component 40C includes a fixing portion 42 and a plate-shaped portion 48C.
  • the fixing portion 42 has the same configuration as that described above.
  • the plate-shaped portion 48C is shorter than the plate-shaped portion 48.
  • the flat harness mounting component 40D includes a fixing portion 42 and a plate-shaped portion 48D.
  • the fixing portion 42 has the same configuration as that described above.
  • the plate-shaped portion 48D is shorter than the plate-shaped portion 48.
  • the flat harness mounting part 40C and the flat harness mounting part 40D are fixed to the mounting target member 10 on different sides of the flat harness 30. Further, the flat harness mounting parts 40C and 40D are provided at the same positions in the extending direction of the flat harness 30.
  • the fixing portion 42 is fixed to the mounting target member 10 on one side side (here, the outside of the side portion) of the flat harness 30.
  • the plate-shaped portion 48 extends from one side portion of the flat harness 30 toward the front of the other side portion.
  • the flat harness mounting component 40D is provided at the same position with respect to the flat harness mounting component 40C along the extending direction of the flat harness 30.
  • the posture of the flat harness mounting component 40D is symmetrical with respect to the flat harness mounting component 40C with respect to the center line in the width direction of the flat harness 30. That is, the fixing portion 42 is fixed to the mounting target member 10 on the other side portion side (here, the outside of the side portion) of the flat harness 30.
  • the plate-shaped portion 48 extends from the other side portion of the flat harness 30 toward the front of the one side portion.
  • the plate-shaped portion 48C of the flat harness mounting component 40C and the plate-shaped portion 48D of the flat harness mounting component 40D are along one straight line that crosses the flat harness 30. Further, the plate-shaped portions 48C and 48D face each other at the intermediate portion in the width direction of the flat harness 30.
  • the lengths of the plate-shaped portions 48C and 48D may be the same or may be different.
  • the plate-shaped portions 48C and 48D of the flat harness mounting parts 40C and 40D extend from different side portions of the flat harness 30 at the same position along the extending direction of the flat harness 30 to extend the flat harness 30. Press. It is considered that the flat harness mounting parts 40C and 40D can effectively press the flat harness 30 on the side close to the fixing portion 42. Therefore, both side portions of a part of the flat harness 30 are effectively pressed against the mounting target surface 11.
  • the flat harness mounting component 40E includes a fixing portion 42, a plate-shaped portion 48E1, and a plate-shaped portion 48E2.
  • the fixing portion 42 has the same configuration as the fixing portion 42.
  • the plate-shaped portion 48E1 and the plate-shaped portion 48E2 have the same configuration as the plate-shaped portion 48.
  • the length dimension of the plate-shaped portion 48E1 and the plate-shaped portion 48E2 is set according to the width and the like of the flat harness 30 to be pressed.
  • a plurality of plate-shaped portions 48E1 and plate-shaped portions 48E2 extend from one fixing portion 42.
  • the plate-shaped portion 48E1 is a portion of the flat harness 30 that presses the trunk line portion 30a.
  • the plate-shaped portion 48E1 is set to a length dimension equal to or larger than the width dimension of the trunk line portion 30a.
  • the plate-shaped portion 48E2 is a portion of the flat harness 30 that presses the branch line portion 30b.
  • the plate-shaped portion 48E2 is set to a length dimension equal to or larger than the width dimension of the branch line portion 30b.
  • the fixing portion 42 is fixed to the attachment target member 10 at a position outside the portion where one side of the trunk line portion 30a and one side of the branch line portion 30b intersect.
  • the branch line portion 30b extends in an orthogonal posture with respect to the trunk line portion 30a.
  • the plate-shaped portion 48E1 and the plate-shaped portion 48E2 extend in an orthogonal posture with each other. Therefore, the plate-shaped portion 48E1 presses the trunk line portion 30a in a posture of crossing the trunk line portion 30a. Further, the plate-shaped portion 48E2 presses the branch line portion 30b in a posture of crossing the branch line portion 30b.
  • the angle formed by the plate-shaped portion 48E1 and the plate-shaped portion 48E2 can be changed according to the angle formed by the trunk line portion 30a and the branch line portion 30b. Three or more plate-shaped portions may extend from the fixed portion 42.
  • the plate-shaped portion 48E1 and the plate-shaped portion 48E2 can press the front and rear portions of the bent portion not only in the portion where the flat harness 30 is branched but also in the portion where the flat harness 30 is bent.
  • the length dimension of the plate-shaped portions 48, 48B, 48C, 48D, 48E1 and 48E2 of the flat harness mounting parts 40, 40A, 40B, 40C, 40D and 40E is the width of the portion of the flat harness 30 to be pressed. It is good to set the dimensions according to it.
  • the plate-shaped portions 48, 48B, 48C, 48D, 48E1, and 48E2 may be manufactured by molding or the like according to the width of the portion of the flat harness 30 to be pressed. Further, for example, the maximum width of the flat harness 30 assumed to be pressed is assumed, and the length corresponding to the maximum width assumed as the plate-shaped portion 148 may be manufactured (two-dot chain line in FIG. 1). (See plate-shaped portion 148 indicated by). In this case, it is preferable that the tip portion of the plate-shaped portion 148 is removed according to the width of the flat harness 30 to form the plate-shaped portion 48 having a desired length dimension. The tip of the plate-shaped portion 148 can be removed by cutting with a blade, folding, or the like.
  • a flat harness mounting component 240 having fixing portions 42 provided at both ends of the plate-shaped portion 248 may be manufactured (see the flat harness mounting component 240 shown by the alternate long and short dash line in FIG. 1). In this case, by separating the intermediate portion of the plate-shaped portion 248, the flat harness mounting component 40A having the plate-shaped portion 48 having a desired length dimension can be manufactured.
  • the flat harness mounting component 240 can be used as it is as a component for pressing the flat harness 30.
  • the fixing portion 42 is fixed to the mounting target member 10 on the end side of any one side of the flat harness 30.
  • Plate-shaped portions 48, 48B, 48C, 48D, 48E1 and 48E2 extending from the fixed portion 42 onto the flat harness 30 press the flat harness 30 against the mounting target surface 11. Therefore, regardless of the width of the flat harness 30, the plate-shaped portion 48 presses the flat harness 30 against the mounting target surface 11. As a result, the flat harness 30 having various widths is attached to the attachment target member 10.
  • the fixing portion 42 is provided only on one end side of the plate-shaped portions 48, 48B, 48C, 48D, 48E1 and 48E2, and the mounting target member 10 is provided with the plate-shaped portions 48, 48B, 48C, 48D, 48E1 and 48E2. It is sufficient that the mounting hole 10h is formed only on one end side of the above. Therefore, the mounting workability is improved, and the sound insulation of the mounting target member 10 is improved.
  • the plate-shaped portions 48, 48B, 48C, 48D, 48E1 and 48E2 press the electric wires 32 and 32a against the sheet 34. Therefore, the floating of the electric wires 32 and 32a from the sheet 34 is also suppressed.
  • the plate-shaped portions 48, 48B, 48C, 48D, 48E1 and 48E2 are integrally formed with the fixed portion 42, the number of parts is reduced. Further, since the number of parts required for attaching the flat harness 30 to the attachment target member 10 can be reduced, the flat harness 30 can be easily attached.
  • the plate-shaped portions 48, 48B, 48C, 48D, 48E1 and 48E2 are fixed by the fixing portion 42. Therefore, the plate-shaped portions 48, 48B, 48C, 48D, 48E1 and 48E2 are removed according to the width of the flat harness 30, or the end portions thereof protrude from the middle portion in the width direction or the outside of the flat harness 30. Can be used. This makes it possible to reduce the number of types of flat harness mounting parts 40, 40A, 40B, 40C, 40D, and 40E, and facilitates manufacturing control of parts.
  • the plate-shaped portions 48, 48B, 48E1 and 48E2 are configured to press the entire width direction of the flat harness 30, the flat harness 30 is difficult to float from the mounting target surface 11.
  • the flat harness 30 can be pressed at a plurality of places.
  • the flat harness mounting parts 40 and 40A are fixed to the mounting target member 10 on different side sides from the flat harness 30.
  • the flat harness mounting parts 40 and C40D are fixed to the mounting target member 10 on different sides of the flat harness 30.
  • the flat harness mounting parts 40 and 40A and the flat harness mounting parts 40C and 40D can press the flat harness 30 more firmly on the fixing portion 42 side. By dispersing the fixed portions on both sides of the flat harness 30, the flat harness 30 is firmly pressed from both sides.
  • the flat harness 30 is firmly pressed from both sides in a relatively wide range. If the fixed portion is at the same position along the extending direction of the flat harness 30, the flat harness 30 is firmly pressed from both sides at a local position.
  • the plate-shaped portion 48 includes a gap forming portion 48a and a main body portion 48b.
  • the gap forming portion 48a faces in the direction away from the mounting target member 10. Therefore, a gap suitable for arranging the flat harness 30 is formed between the main body portion 48b and the mounting target surface 11.
  • the gap forming portion 48a keeps the main body portion 48b in a posture parallel to the mounting target surface 11.
  • the flat harness 30 can be appropriately pressed against the mounting target surface 11 in a state where the main body portion 48b is in contact with the flat harness 30 over the entire width direction.
  • a plurality of plate-shaped portions 48E1 and E2 extend in different directions from one fixing portion 42.
  • the plate-shaped portions 48E1 and E2 can press the portions of the flat harness 30 (here, the trunk line portion 30a and the branch line portion 30b) along different directions. Since the plate-shaped portions 48E1 and E2 extend in different directions, the bent portion of the flat harness 30 can also be pressed. Therefore, the flat harness mounting component 40E can press the branched portion and the bent portion of the flat harness 30, and thereby, the path of the branched portion and the bent portion can be kept constant to some extent.
  • the flat harness mounting parts 40, 40A, 40B, 40C, 40D, and 40E are restricted from rotating around the fixed portion 42.
  • the length dimension of the plate-shaped portion 48 of the flat harness mounting component 40A is set to a dimension that contacts the adjacent flat harness mounting component 40. (Refer to the posture P of the plate-shaped portion 48 shown by the alternate long and short dash line in FIG. 1).
  • the plate-shaped portion 48 preferably has a size that allows contact with the fixing portion 42 of the flat harness mounting component 40. As a result, the rotation of the plate-shaped portion 48 is suppressed, and the state in which the plate-shaped portion 48 presses the flat harness 30 is maintained.
  • the cross section (cross section orthogonal to the axial direction) of the fixed portion 342 corresponding to the fixed portion 42 is non-circular (for example, an ellipse, a quadrangle, and FIG. 5 shows an example of an ellipse).
  • Etc. may be formed.
  • the mounting hole 10h may be formed in a non-circular shape according to the cross-sectional shape of the fixing portion 342.
  • a plurality of (here, two) fixing portions 42 may be provided at one end of the plate-shaped portion 48.
  • the plurality of fixing portions 42 may be arranged in the width direction of the plate-shaped portion 48, or may be arranged in the extending direction of the plate-shaped portion 48.
  • FIG. 6 shows an example of the former. Even in this case, since the plurality of fixing portions 42 are fixed at a fixed position with respect to the attachment target member 10, the turning of the plate-shaped portion 48 is restricted. Therefore, the state in which the plate-shaped portion 48 presses the flat harness 30 is maintained.
  • the plate-shaped portion 448 corresponding to the plate-shaped portion 48 and the fixing portion 442 corresponding to the fixing portion 42 may be separated.
  • the plate-shaped portion 448 has a hole 448h formed at the base end portion of the portion corresponding to the plate-shaped portion 48.
  • the fixing portion 442 is inserted into the mounting hole 10h of the mounting target member 10 and fixed in a state of penetrating the hole 448h.
  • the base end portion of the plate-shaped portion 448 can extend from the fixed portion 442 to the flat harness 30 side in a state of being sandwiched between the mounting target member 10 and the head portion 43.
  • the cross-sectional shape of the fixing portion 442 is formed into a non-circular shape (for example, an ellipse, a quadrangle, etc.), and the mounting hole 10h has a non-circular shape corresponding to the cross-sectional shape. It is preferably formed in. Further, in order to restrict the rotation of the plate-shaped portion 448 with respect to the fixed portion 442, the cross-sectional shape of the fixed portion 442 is formed in a non-circular shape, and the hole 448h is formed in a non-circular shape corresponding to the cross-sectional shape. preferable.
  • a plurality of plate-shaped portions 448 may be prepared according to the width of the flat harness 30.
  • a long plate-shaped portion manufactured assuming the maximum width of the flat harness 30 to be pressed is appropriately removed according to the width of the flat harness 30 to be pressed to form a plate-shaped portion 448. May be good.
  • a plurality of holes may be formed at the end of the plate-shaped portion 448, and the fixing portion 442 may penetrate through each of the plurality of holes.
  • one end of the plate-shaped portion 448 is fixed at a plurality of locations, and the rotation of the plate-shaped portion 448 is restricted.
  • the fixing portion 42 of the flat harness mounting component 40 may penetrate the side portion on either one side of the flat harness 30.
  • the fixing portion 42 penetrates the seat 34 of the flat harness 30.
  • the fixing portion 42 is inserted into the mounting hole 10h of the mounting target member 10 in a state of penetrating the flat harness 30, and is fixed to the mounting target member 10.
  • the fixing portion 42 itself can press the side portion of the flat harness 30. Therefore, the flat harness 30 is more firmly attached to the attachment target member 10.
  • a state in which the fixing portion 42 is penetrated through the side portion of the flat harness 30 may be grasped as a flat harness 500 with mounting parts.
  • the flat harness 30 may be attached with a fixed portion 442 and a plate-shaped portion 448 separated from each other (see FIG. 7).
  • the fixing portion 442 may be in a state of penetrating the flat harness 30 through the hole 448h of the plate-shaped portion 448.
  • the flat harness 500 with mounting parts is provided in a form in which the flat harness mounting parts 40 are integrated with the flat harness 30, and the mounting work of the flat harness 30 is performed in the integrated form. Therefore, the mounting work of the flat harness 30 using the flat harness mounting component 40 can be easily performed.
  • the configurations described in the above-described embodiment and each modification can be appropriately combined as long as they do not conflict with each other.
  • some of the flat harness mounting parts 40, 40A, 40B, 40C, 40D, and 40E may be integrated parts, and the rest may be divided components. Further, even if a part of the flat harness mounting parts 40, 40A, 40B, 40C, 40D, and 40E is penetrated through the side portion of the flat harness 30, and the rest is fixed to the mounting target member 10 without being penetrated by the flat harness 30. Good.

Landscapes

  • Engineering & Computer Science (AREA)
  • Mechanical Engineering (AREA)
  • Architecture (AREA)
  • Civil Engineering (AREA)
  • Structural Engineering (AREA)
  • General Engineering & Computer Science (AREA)
  • Installation Of Indoor Wiring (AREA)
  • Clamps And Clips (AREA)
PCT/JP2020/005692 2019-05-31 2020-02-14 フラットハーネス取付構造、フラットハーネス取付部品及び取付部品付フラットハーネス Ceased WO2020240943A1 (ja)

Priority Applications (2)

Application Number Priority Date Filing Date Title
CN202080038712.6A CN113924705B (zh) 2019-05-31 2020-02-14 扁平线束安装结构、扁平线束安装部件以及带安装部件的扁平线束
US17/612,184 US12005844B2 (en) 2019-05-31 2020-02-14 Flat harness attachment structure, flat harness attachment component, and attachment component-equipped flat harness

Applications Claiming Priority (2)

Application Number Priority Date Filing Date Title
JP2019102139A JP7251319B2 (ja) 2019-05-31 2019-05-31 フラットハーネス取付構造
JP2019-102139 2019-05-31

Publications (1)

Publication Number Publication Date
WO2020240943A1 true WO2020240943A1 (ja) 2020-12-03

Family

ID=73553347

Family Applications (1)

Application Number Title Priority Date Filing Date
PCT/JP2020/005692 Ceased WO2020240943A1 (ja) 2019-05-31 2020-02-14 フラットハーネス取付構造、フラットハーネス取付部品及び取付部品付フラットハーネス

Country Status (4)

Country Link
US (1) US12005844B2 (enExample)
JP (1) JP7251319B2 (enExample)
CN (1) CN113924705B (enExample)
WO (1) WO2020240943A1 (enExample)

Families Citing this family (1)

* Cited by examiner, † Cited by third party
Publication number Priority date Publication date Assignee Title
WO2019050825A1 (en) * 2017-09-06 2019-03-14 Hubbell Incorporated CABLE CLIPS

Citations (4)

* Cited by examiner, † Cited by third party
Publication number Priority date Publication date Assignee Title
JPS5172199U (enExample) * 1974-12-02 1976-06-07
JPS58172327U (ja) * 1982-05-12 1983-11-17 株式会社アドバンテスト フラツトリボンケ−ブル用ホルダ
JPH04111394A (ja) * 1990-08-30 1992-04-13 Hitachi Ltd フラットケーブル用クランプ
JP2001268756A (ja) * 2000-03-22 2001-09-28 Sumitomo Wiring Syst Ltd パネル部材の平板状配線取付け構造

Family Cites Families (15)

* Cited by examiner, † Cited by third party
Publication number Priority date Publication date Assignee Title
US2366041A (en) * 1943-04-09 1944-12-26 Adel Prec Products Corp Wire supporting clip
JPS5388799U (enExample) 1976-12-22 1978-07-20
JP3565951B2 (ja) * 1995-07-20 2004-09-15 矢崎総業株式会社 ワイヤーハーネスおよびその製造方法
JPH09250521A (ja) * 1996-03-15 1997-09-22 Kansei Corp フラットハーネス固定用クリップ
JP3728347B2 (ja) 1996-04-16 2005-12-21 株式会社オートネットワーク技術研究所 ワイヤーハーネスの車体パネル取付構造
JP2002002411A (ja) 2000-06-19 2002-01-09 Takada Kogyo Kk 厚板材のハーネス類配索構造
US7162790B1 (en) * 2004-06-01 2007-01-16 David Orlen Daniels Fastener and method for supporting elongated material
JP5602511B2 (ja) * 2010-06-21 2014-10-08 株式会社ニフコ クランプ
JP2012115021A (ja) * 2010-11-24 2012-06-14 Yazaki Corp ワイヤハーネス配索構造
FR2971322B1 (fr) * 2011-02-03 2014-05-02 Saipem Sa Limiteur de courbure de ligne flexible sous-marine et installation de liaison fond-surface en comprenant
JP2012234634A (ja) * 2011-04-28 2012-11-29 Hitachi Cable Ltd フラットケーブル、及びフラットケーブルとプリント配線板との接続構造
JP5807477B2 (ja) * 2011-09-22 2015-11-10 住友電装株式会社 ワイヤーハーネス
JP2015000619A (ja) * 2013-06-14 2015-01-05 住友電装株式会社 ドア用配線装置
WO2017176848A1 (en) * 2016-04-07 2017-10-12 United Launch Alliance, L.L.C. Interior channel cable and tube management bracket
JP2019053938A (ja) * 2017-09-19 2019-04-04 矢崎総業株式会社 フラットケーブル及びワイヤーハーネス

Patent Citations (4)

* Cited by examiner, † Cited by third party
Publication number Priority date Publication date Assignee Title
JPS5172199U (enExample) * 1974-12-02 1976-06-07
JPS58172327U (ja) * 1982-05-12 1983-11-17 株式会社アドバンテスト フラツトリボンケ−ブル用ホルダ
JPH04111394A (ja) * 1990-08-30 1992-04-13 Hitachi Ltd フラットケーブル用クランプ
JP2001268756A (ja) * 2000-03-22 2001-09-28 Sumitomo Wiring Syst Ltd パネル部材の平板状配線取付け構造

Also Published As

Publication number Publication date
CN113924705B (zh) 2023-09-08
CN113924705A (zh) 2022-01-11
JP7251319B2 (ja) 2023-04-04
JP2020198670A (ja) 2020-12-10
US20220242336A1 (en) 2022-08-04
US12005844B2 (en) 2024-06-11

Similar Documents

Publication Publication Date Title
US8870131B2 (en) Wiring harness fixture
TWI599110B (zh) 電纜保持構件、電連接裝置、連接器裝置、扁平電纜
JP2010283945A (ja) フラットケーブル用のバンドクランプ
JP5391895B2 (ja) フラットケーブル用のクランプ
JP7683761B2 (ja) 金属板付導電性シート
WO2020240943A1 (ja) フラットハーネス取付構造、フラットハーネス取付部品及び取付部品付フラットハーネス
JP2013235681A (ja) 電線挟持構造
WO2012176872A1 (ja) クリップ付ワイヤハーネス
WO2022158495A1 (ja) ワイヤハーネス
JP2017139881A (ja) ワイヤーハーネス及びクランプ付ワイヤーハーネス
JP2020198772A (ja) 偏平配線部材の位置決め構造
JP2011061922A (ja) ワイヤハーネス固定構造
JP2010018107A (ja) 電線保持構造、および電線保持方法
JP2019186075A (ja) 端子とその端子が仮固定された部材を備えた組立体、及び、その組立体の製造方法
US11322859B2 (en) Electronic device and insulation-displacement terminal
JP3680717B2 (ja) フラットハーネスのクランプ取付構造
US20240300422A1 (en) Mounting member, mounting unit, cable routing module, and cable routing member
JP7560346B2 (ja) 外装構造体、及び、ワイヤハーネス
US20250210224A1 (en) Wire harness assembly
US12131845B2 (en) Wiring member
JP2009232562A (ja) ワイヤハーネス固定構造
JP2007159272A (ja) フレキシブルフラットケーブルへのクランプ取付構造
JP4074221B2 (ja) フラットハーネス固定構造
JP7440359B2 (ja) 電線保持構造
WO2020241221A1 (ja) 偏平配線部材の位置決め構造

Legal Events

Date Code Title Description
121 Ep: the epo has been informed by wipo that ep was designated in this application

Ref document number: 20811966

Country of ref document: EP

Kind code of ref document: A1

NENP Non-entry into the national phase

Ref country code: DE

122 Ep: pct application non-entry in european phase

Ref document number: 20811966

Country of ref document: EP

Kind code of ref document: A1