WO2020085099A1 - リアクトル - Google Patents

リアクトル Download PDF

Info

Publication number
WO2020085099A1
WO2020085099A1 PCT/JP2019/039923 JP2019039923W WO2020085099A1 WO 2020085099 A1 WO2020085099 A1 WO 2020085099A1 JP 2019039923 W JP2019039923 W JP 2019039923W WO 2020085099 A1 WO2020085099 A1 WO 2020085099A1
Authority
WO
WIPO (PCT)
Prior art keywords
winding portion
winding
case
heat dissipation
coil
Prior art date
Legal status (The legal status is an assumption and is not a legal conclusion. Google has not performed a legal analysis and makes no representation as to the accuracy of the status listed.)
Ceased
Application number
PCT/JP2019/039923
Other languages
English (en)
French (fr)
Japanese (ja)
Inventor
和宏 稲葉
Current Assignee (The listed assignees may be inaccurate. Google has not performed a legal analysis and makes no representation or warranty as to the accuracy of the list.)
Sumitomo Wiring Systems Ltd
AutoNetworks Technologies Ltd
Sumitomo Electric Industries Ltd
Original Assignee
Sumitomo Wiring Systems Ltd
AutoNetworks Technologies Ltd
Sumitomo Electric Industries Ltd
Priority date (The priority date is an assumption and is not a legal conclusion. Google has not performed a legal analysis and makes no representation as to the accuracy of the date listed.)
Filing date
Publication date
Application filed by Sumitomo Wiring Systems Ltd, AutoNetworks Technologies Ltd, Sumitomo Electric Industries Ltd filed Critical Sumitomo Wiring Systems Ltd
Priority to US17/288,412 priority Critical patent/US12062477B2/en
Priority to CN201980064412.2A priority patent/CN112789697B/zh
Publication of WO2020085099A1 publication Critical patent/WO2020085099A1/ja
Anticipated expiration legal-status Critical
Ceased legal-status Critical Current

Links

Images

Classifications

    • HELECTRICITY
    • H01ELECTRIC ELEMENTS
    • H01FMAGNETS; INDUCTANCES; TRANSFORMERS; SELECTION OF MATERIALS FOR THEIR MAGNETIC PROPERTIES
    • H01F27/00Details of transformers or inductances, in general
    • H01F27/02Casings
    • H01F27/025Constructional details relating to cooling
    • HELECTRICITY
    • H01ELECTRIC ELEMENTS
    • H01FMAGNETS; INDUCTANCES; TRANSFORMERS; SELECTION OF MATERIALS FOR THEIR MAGNETIC PROPERTIES
    • H01F17/00Fixed inductances of the signal type
    • H01F17/04Fixed inductances of the signal type with magnetic core
    • HELECTRICITY
    • H01ELECTRIC ELEMENTS
    • H01FMAGNETS; INDUCTANCES; TRANSFORMERS; SELECTION OF MATERIALS FOR THEIR MAGNETIC PROPERTIES
    • H01F27/00Details of transformers or inductances, in general
    • H01F27/02Casings
    • H01F27/022Encapsulation
    • HELECTRICITY
    • H01ELECTRIC ELEMENTS
    • H01FMAGNETS; INDUCTANCES; TRANSFORMERS; SELECTION OF MATERIALS FOR THEIR MAGNETIC PROPERTIES
    • H01F27/00Details of transformers or inductances, in general
    • H01F27/08Cooling; Ventilating
    • H01F27/22Cooling by heat conduction through solid or powdered fillings
    • HELECTRICITY
    • H01ELECTRIC ELEMENTS
    • H01FMAGNETS; INDUCTANCES; TRANSFORMERS; SELECTION OF MATERIALS FOR THEIR MAGNETIC PROPERTIES
    • H01F27/00Details of transformers or inductances, in general
    • H01F27/28Coils; Windings; Conductive connections
    • H01F27/2876Cooling
    • HELECTRICITY
    • H01ELECTRIC ELEMENTS
    • H01FMAGNETS; INDUCTANCES; TRANSFORMERS; SELECTION OF MATERIALS FOR THEIR MAGNETIC PROPERTIES
    • H01F27/00Details of transformers or inductances, in general
    • H01F27/28Coils; Windings; Conductive connections
    • H01F27/30Fastening or clamping coils, windings, or parts thereof together; Fastening or mounting coils or windings on core, casing, or other support
    • H01F27/306Fastening or mounting coils or windings on core, casing or other support
    • HELECTRICITY
    • H01ELECTRIC ELEMENTS
    • H01FMAGNETS; INDUCTANCES; TRANSFORMERS; SELECTION OF MATERIALS FOR THEIR MAGNETIC PROPERTIES
    • H01F27/00Details of transformers or inductances, in general
    • H01F27/28Coils; Windings; Conductive connections
    • H01F27/32Insulating of coils, windings, or parts thereof
    • H01F27/324Insulation between coil and core, between different winding sections, around the coil; Other insulation structures
    • HELECTRICITY
    • H01ELECTRIC ELEMENTS
    • H01FMAGNETS; INDUCTANCES; TRANSFORMERS; SELECTION OF MATERIALS FOR THEIR MAGNETIC PROPERTIES
    • H01F37/00Fixed inductances not covered by group H01F17/00

Definitions

  • the reactor of Patent Document 1 includes a combination of a coil and a magnetic core, a case, and a sealing resin portion.
  • the case accommodates the combination inside.
  • This case has a bottom plate portion on which the combination is placed and a side wall portion surrounding the outer periphery of the combination.
  • the bottom plate portion and the side wall portion are integrally formed.
  • the coil has a pair of winding parts.
  • the shape of the pair of winding portions is a rectangular shape.
  • the width and height of the pair of winding portions are the same.
  • the pair of winding portions are arranged side by side on the same plane of the bottom plate portion so that their axes are parallel to each other. In the following description, horizontal placement on the same plane may be referred to as flat placement.
  • the magnetic core has an inner core portion arranged inside each winding portion and an outer core portion arranged outside each winding portion.
  • the sealing resin portion is filled inside the case to seal the combined body.
  • the reactor according to the present disclosure is A reactor comprising a combination of a coil and a magnetic core, a case that houses the combination, and a sealing resin portion that is filled inside the case and seals at least a part of the combination.
  • a heat dissipation member interposed between the coil and the case The case is An inner bottom surface on which the combination is placed, A pair of coil facing surfaces facing the side surface of the coil, The pair of coil facing surfaces has an inclined surface that is inclined from the inner bottom surface side toward the opposite side of the inner bottom surface so as to be apart from each other,
  • the coil is A first winding portion arranged on the inner bottom surface side, A second winding portion arranged on the side opposite to the inner bottom surface side of the first winding portion,
  • the first winding portion and the second winding portion are vertically stacked so that their axes are parallel to each other,
  • the first winding portion and the second winding portion have the same width
  • the heat dissipation member has a first heat dissipation part interposed between
  • FIG. 1 is a side view showing an outline of the reactor according to the first embodiment.
  • FIG. 2 is a sectional view showing an outline of the reactor taken along the line (II)-(II) of FIG.
  • FIG. 3 is a sectional view showing an outline of the reactor according to the second embodiment.
  • FIG. 4 is a cross-sectional view showing the outline of the reactor according to the third embodiment.
  • FIG. 5 is sectional drawing which shows the outline of the reactor which concerns on Embodiment 4.
  • FIG. 6 is a sectional view showing the outline of the reactor according to the fifth embodiment.
  • the space for installing the reactor may be so small that the pair of winding parts cannot be placed flat.
  • stacking in the direction orthogonal to the installation surface may be referred to as vertical stacking.
  • the distance between the side surface of the upper winding portion and the side wall portion of the case facing the side surface is smaller than that of the lower winding portion. It becomes larger than the distance between the side surface of the winding portion and the side wall portion of the case.
  • the inner wall surface of the side wall portion of the case is usually formed with an inclined surface that is inclined from the inner bottom surface of the bottom plate portion of the case toward the opposite side so as to be away from each other at a distance facing each other.
  • the case is typically manufactured by die casting such as die casting or injection molding.
  • the inclined surface of the inner wall surface is formed by transferring a draft provided in the mold for releasing the case from the mold when the case is manufactured.
  • the case for accommodating the pair of vertically stacked winding portions is deeper than the case for accommodating the pair of flatly arranged winding portions. The deeper the case, the larger the distance between the side surface of the upper winding part and the inner wall surface of the case.
  • the gap between the side surface of the upper winding part and the inner wall surface of the case becomes large, so that the upper winding part is less likely to radiate through the inner wall surface of the case. That is, the lower winding portion is easily cooled, and the upper winding portion is difficult to cool. As a result, when the temperature of the upper winding portion becomes higher than that of the lower winding portion, the loss of the reactor increases.
  • one of the purposes of the present disclosure is to provide a reactor with a small installation area and low loss.
  • the reactor according to the present disclosure has a small installation area and low loss.
  • a reactor according to an aspect of the present disclosure is A reactor comprising a combination of a coil and a magnetic core, a case that houses the combination, and a sealing resin portion that is filled inside the case and seals at least a part of the combination.
  • a heat dissipation member interposed between the coil and the case The case is An inner bottom surface on which the combination is placed, A pair of coil facing surfaces facing the side surface of the coil, The pair of coil facing surfaces has an inclined surface that is inclined from the inner bottom surface side toward the opposite side of the inner bottom surface so as to be apart from each other,
  • the coil is A first winding portion arranged on the inner bottom surface side, A second winding portion arranged on the side opposite to the inner bottom surface side of the first winding portion, The first winding portion and the second winding portion are vertically stacked so that their axes are parallel to each other, The first winding portion and the second winding portion have the same width
  • the heat dissipation member has a first heat dissipation part interposed between at
  • the installation area is smaller than that in the case where the first winding part and the second winding part are placed flat. small.
  • the length of the combination along the direction orthogonal to both the parallel direction of the first winding part and the second winding part and the axial direction of the coil is such that the first winding part and the second winding part are This is because it is smaller than the length of the combination along the parallel direction of the parts.
  • the above reactor has low loss. Since the first winding portion and the second winding portion have the same width, the distance between the one inclined surface and the one side surface of the second winding portion is equal to that of the one inclined surface and the first winding portion. Large compared to the spacing between one side of the part. However, the gap between the one inclined surface and the one side surface of the second winding portion can be filled with the first heat radiation portion. Therefore, the heat of the second winding portion is easily transferred to the coil facing surface of the case via the first heat radiating portion. Therefore, the first winding portion and the second winding portion are likely to be uniformly cooled via the coil facing surface of the case. The uniform cooling of the first winding portion and the second winding portion easily reduces the maximum temperature of the coil. Reducing the maximum coil temperature tends to reduce reactor loss. The definition of the width of the winding portion will be described later.
  • the above reactor can reduce the cost.
  • the second winding portion can be easily dissipated by interposing the heat dissipating member as described above, and thus the sealing resin portion does not have to be made of a resin having a high thermal conductivity or the like.
  • a resin having a high thermal conductivity easily radiates heat from the second winding portion even if the distance between the side surface of the second winding portion and the inclined surface is large to some extent, but the cost is relatively high.
  • the heat radiation member is used in a smaller amount than the sealing resin portion. Therefore, in the reactor, for example, even if the heat dissipation member is made of a resin having a high thermal conductivity, the cost is lower than that when the sealing resin portion is made of a resin having a high thermal conductivity.
  • the first heat dissipation portion may have a length ranging from between the one inclined surface and the second winding portion to between the one inclined surface and the first winding portion.
  • the above reactor makes it easier to radiate heat from the first winding part. This is because the gap between the one inclined surface and one side surface of the first winding portion is filled with a part of the first heat radiating portion.
  • the gap between the one inclined surface and the one side surface of the first winding portion is smaller than the gap between the one inclined surface and the one side surface of the second winding portion. Therefore, even if a part of the first heat radiating portion is not interposed in the gap between the one inclined surface and the one side surface of the first winding portion, the first winding portion is provided via the coil facing surface of the case. Is easily dissipated.
  • the heat of the first winding portion is transferred to the case via the first heat radiating portion. It is more easily transmitted to the coil facing surface.
  • the heat dissipation member may include a second heat dissipation part interposed between the other inclined surface and the second winding part.
  • the above reactor makes it easy to dissipate heat from the second winding part from both sides. This is because by having the second heat radiating portion, the heat of the second winding portion is easily transferred from both side surfaces of the second winding portion to the coil facing surface of the case.
  • the second heat radiating portion may have a length ranging from between the other inclined surface and the second winding portion to between the other inclined surface and the first winding portion.
  • the above reactor makes it easier to radiate heat from the first winding part. Since the gap between the other inclined surface and the other side surface of the first winding portion is filled with a part of the second heat radiation portion, the heat of the first winding portion is transferred to the coil of the case via the second heat radiation portion. This is because they are more easily transmitted to the facing surface.
  • the heat dissipation member has a connecting part that is arranged on the side opposite to the first winding part side of the second winding part and connects the first heat dissipation part and the second heat dissipation part. .
  • the first heat radiating portion and the second heat radiating portion are arranged at appropriate positions with respect to the second winding portion.
  • the connecting portion By arranging the connecting portion on the side opposite to the first winding portion side of the second winding portion, the first heat radiating portion and the second heat radiating portion can be positioned at predetermined positions in the depth direction of the case. is there. Therefore, when the sealing resin portion is formed, the positional displacement of the first heat radiating portion and the second heat radiating portion due to the flow of the filling resin is easily suppressed.
  • Examples of the positional deviation between the first heat radiating portion and the second heat radiating portion include sinking toward the inner bottom surface side of the case and moving along the axial direction of the winding portion.
  • the connecting portion can handle the first heat radiating portion and the second heat radiating portion as one body, the workability of manufacturing the reactor can be improved. Furthermore, the connecting part can mechanically protect the second winding part and protect it from the external environment. The protection from the external environment improves the corrosion resistance of the second winding part.
  • the inner bottom surface is a flat surface, Each end face shape of the first winding portion and the second winding portion, It has a rectangular frame shape, A pair of case facing sides that extend in the vertical direction and that face each of the inclined surfaces, A pair of connecting sides connecting one end side and the other end side of the pair of case facing sides, The pair of connecting sides may be parallel to the inner bottom surface.
  • the distance between each side surface and each inclined surface of the first winding portion along the width direction gradually increases from the inner bottom surface side to the opposite side.
  • the distance between each side surface and each inclined surface of the second winding portion along the width direction gradually increases from the inner bottom surface side to the opposite side.
  • the distance between each inclined surface and each side surface of the second winding portion is larger than the distance between each inclined surface and each side surface of the first winding portion.
  • the gap between the one inclined surface and the one side surface of the second winding portion can be filled with the first heat radiating portion, the heat of the second winding portion is transferred to the case via the first heat radiating portion. It is easily transmitted to the coil facing surface.
  • the end surface shapes of the first winding portion and the second winding portion are It has a rectangular frame shape, One case facing side that is parallel to and faces one of the inclined surfaces, Having the other case facing side that is non-parallel and that faces the other inclined surface, The first heat dissipation part may be interposed between the other inclined surface and the other case facing side of the second winding part.
  • the above reactor makes it easy to dissipate heat from the second winding part from both sides.
  • the distance between the one side surface of the first winding portion and the one inclined surface can be made uniform from the inner bottom surface side to the opposite side.
  • the distance between the one side surface and the one inclined surface of the second winding portion can be made uniform from the inner bottom surface side to the opposite side.
  • the reactor described above makes the distance between the one side surface of the second winding portion and the one inclined surface uniform with the distance between the one side surface of the first winding portion and the one inclined surface. Because you can do it.
  • one side surface of the second winding portion can be brought into surface contact with one inclined surface, if necessary.
  • the interval along the width direction between the other side surface of the first winding portion and the other inclined surface gradually increases from the inner bottom surface side to the opposite side.
  • the distance between the other side surface and the other inclined surface of the second winding portion along the width direction gradually increases from the inner bottom surface side to the opposite side.
  • the heat dissipation member may include a protruding portion interposed between the first winding portion and the second winding portion.
  • the projecting portion makes it easy to dispose the heat dissipation member at an appropriate position with respect to the second winding portion.
  • the heat radiation member can be positioned at a predetermined position in the depth direction of the case by interposing the protruding portion between the first winding portion and the second winding portion. Therefore, when the sealing resin portion is formed, the displacement of the heat dissipation member due to the flow of the filling resin is easily suppressed. Examples of the displacement of the heat dissipation member include sinking toward the inner bottom surface of the case.
  • the heat dissipation member is easy to assemble to the coil when manufacturing the reactor. Therefore, the reactor described above has excellent manufacturing workability.
  • the thermal conductivity of the heat dissipation member is 1 W / mK or more.
  • the above reactor is easy to radiate heat from the second winding part. Because the heat dissipation member has a high thermal conductivity, the heat of the second winding portion is easily transferred to the coil facing surface of the case via the heat dissipation member.
  • the heat dissipation member is made of metal, It may be mentioned that an insulating member is provided between the heat radiation member and the second winding portion to insulate the heat radiation member and the second winding portion.
  • the heat dissipation member is made of metal, so the second winding part can easily dissipate heat. By providing the insulating member, the insulating property between the second winding portion and the heat dissipation member is enhanced.
  • An angle formed by the inner bottom surface and each of the inclined surfaces is 91 ° or more and 95 ° or less.
  • the case is typically manufactured by die casting such as die casting or injection molding.
  • the inclined surface is formed by transferring a draft provided in the mold for releasing the case from the mold when the case is manufactured. If the angle is 91 ° or more, the widths of the first winding portion and the second winding portion are the same, so when the first winding portion and the second winding portion are stacked vertically, The distance between the side surface of the second winding portion and the inclined surface is likely to be larger than the distance between the side surface and the inclined surface of the lower first winding portion.
  • the gap between the side surface of the second winding portion on the upper stage side and the inclined surface is provided. Can be filled. Therefore, even in the case of vertical stacking, the second winding portion is likely to radiate heat through the side wall portion of the case. If the angle is 95 ° or less, the angle is not too large. Therefore, the width of the heat dissipation member does not become excessively large. Therefore, the size of the heat dissipation member is likely to be small, and the amount of the heat dissipation member used is reduced.
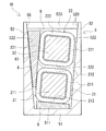
  • the reactor 1 ⁇ / b> A includes a combined body 10 in which the coil 2 and the magnetic core 3 are combined, a case 5, a heat dissipation member 6, and a sealing resin portion 8.
  • the case 5 includes a bottom plate portion 51 on which the combined body 10 is placed, and a side wall portion 52 that surrounds the outer periphery of the combined body 10.
  • the pair of coil facing surfaces 521 facing the side surface of the coil 2 in the side wall portion 52 have inclined surfaces 522 that are inclined from the bottom plate portion 51 side toward the opposite side of the bottom plate portion 51 so as to be separated from each other.
  • the heat dissipation member 6 is interposed between the coil 2 and the case 5.
  • the sealing resin portion 8 is filled inside the case 5 and seals at least a part of the combined body 10.
  • the coil 2 has a first winding portion 21 and a second winding portion 22 formed by winding a winding.
  • the first winding portion 21 is arranged on the bottom plate portion 51 side.
  • the second winding portion 22 is arranged on the side opposite to the bottom plate portion 51 side of the first winding portion 21.
  • the first winding portion 21 and the second winding portion 22 are vertically stacked so that their axes are parallel to each other.
  • the heat dissipation member 6 has a first heat dissipation part 61 interposed between at least one coil facing surface 521 (an inclined surface 522 described below) and the second winding part 22. is there.
  • the following description will be made in the order of the main characteristic part of the reactor 1A, the structure of the part related to the characteristic part, the main effect, and each structure. Further, the following description will be given with the bottom plate portion 51 side of the case 5 as the bottom and the side opposite to the bottom plate portion 51 side as the top. That is, the direction along the vertical direction is the depth direction of the case 5. 1 and 2, the upper side of the paper surface is the upper side and the lower side of the paper surface is the lower side. The direction along this vertical direction is called the height direction or the vertical direction. The direction orthogonal to both the height direction and the axial direction of the coil 2 is called the width direction. In FIG. 2, the left-right direction of the paper surface is the width direction.
  • the case 5 houses the combination 10 inside.
  • the case 5 can protect the combination 10 mechanically and from the external environment. The protection from the external environment improves the corrosion resistance of the combination 10. Further, the case 5 can dissipate heat from the combined body 10.
  • the case 5 is a bottomed cylindrical container.
  • the case 5 includes a bottom plate portion 51 and a side wall portion 52. In FIG. 1, for convenience of explanation, the illustration of the side wall portion on the front side of the drawing is omitted.
  • the bottom plate portion 51 and the side wall portion 52 are integrally formed in this example.
  • the bottom plate portion 51 and the side wall portion 52 may be individually molded.
  • the bottom plate portion 51 and the side wall portion 52 may be integrated with each other by screwing or the like.
  • An opening 55 is formed on the upper end side of the side wall 52.
  • the inner space surrounded by the bottom plate portion 51 and the side wall portion 52 has a shape and size capable of accommodating the entire combined body 10.
  • the bottom plate portion 51 has an inner bottom surface 511 on which the combined body 10 is placed, and an outer bottom surface to be installed on an installation target such as a cooling base. Illustration of the installation target is omitted.
  • the bottom plate portion 51 has a rectangular flat plate shape. The inner bottom surface 511 and the outer bottom surface are flat in this example.
  • the side wall portion 52 surrounds the outer periphery of the combined body 10.
  • the side wall portion 52 is provided upright on the peripheral edge of the bottom plate portion 51.
  • the side wall 52 has a rectangular frame shape in this example.
  • the height of the side wall portion 52 is higher than the height of the combined product 10.
  • the inner wall surface 520 of the side wall portion 52 has four surfaces, a pair of coil facing surfaces 521 and a pair of core facing surfaces 523 (FIG. 1).
  • the pair of coil facing surfaces 521 face each other.
  • the pair of core facing surfaces 523 face each other.
  • the facing direction of the pair of coil facing surfaces 521 and the facing direction of the pair of core facing surfaces 523 are orthogonal to each other.
  • Each coil facing surface 521 faces the side surface of the coil 2. That is, each coil facing surface 521 faces the first winding portion 21 and the second winding portion 22.
  • the side surfaces of the first winding part 21 and the second winding part 22 are the outer circumferences of the first winding part 21 and the second winding part 22 of the first winding part 21 and the second winding part 22, respectively.
  • Each coil facing surface 521 has an inclined surface 522 that is inclined from the inner bottom surface 511 side of the case 5 toward the opening 55 side so as to be separated from each other.
  • a groove portion into which the end surface member 41 is fitted may be formed at a position facing the end surface member 41 of the holding member 4 described later, in the depth direction of the case 5. Illustration of the groove is omitted. If the groove is formed, the combination 10 of the coil 2, the magnetic core 3 and the holding member 4 can be easily positioned with respect to the case 5.
  • each core facing surface 523 faces the outer end surface of the outer core portion 33.
  • the outer end surface of the outer core portion 33 is a surface of the outer core portion 33 opposite to the first inner core portion 31 and the second inner core portion 32.
  • each core facing surface 523 has an inclined surface 524 that is inclined so as to be away from the inner bottom surface 511 side of the case 5 toward the opening 55 side.
  • the case 5 is typically manufactured by die casting such as die casting or injection molding.
  • the inclined surfaces 522 and 524 are formed by transferring the draft angle provided in the mold for releasing the case 5 from the mold when the case 5 is manufactured.
  • the angle (angle ⁇ ) formed by each of the inclined surface 522 and the inclined surface 524 and the inner bottom surface 511 is preferably 91 ° or more and 95 ° or less (FIGS. 1 and 2). 1 and 2, the inclination angles of the inclined surface 522 and the inclined surface 524 are exaggerated for convenience of description.
  • the angles formed by the inclined surface 522 and the inclined surface 524 and the inner bottom surface 511 are all the same in this example.
  • the angle formed by the inclined surface 522 and the inner bottom surface 511 and the angle formed by the inclined surface 524 and the inner bottom surface 511 may be different from each other.
  • the mold releasability of Case 5 is high. If the angle ⁇ is 91 ° or more, the widths of the first winding portion 21 and the second winding portion 22 are the same, so that the first winding portion 21 and the second winding portion 22 are mutually axial. When they are stacked in a direction orthogonal to the inner bottom surface 511 so that they are parallel to each other, the distance between the side surface of the second winding portion 22 on the upper stage side and the inclined surface 522 is equal to that of the first winding portion 21 on the lower stage side. It tends to be larger than the distance between the side surface and the inclined surface 522.
  • the direction orthogonal to the inner bottom surface 511 is the depth direction of the case 5.
  • stacking in the depth direction of the case 5 may be referred to as vertical stacking.
  • the heat dissipation member 6 interposed in the gap between the side surface of the second winding portion 22 on the upper stage side and the inclined surface 522, the side surface and the inclined surface 522 of the second winding portion 22 on the upper stage side are provided.
  • the gap between can be filled. Therefore, the second winding portion 22 is likely to radiate heat via the side wall portion 52 of the case 5 even if the above-mentioned products are stacked vertically.
  • the angle ⁇ is 95 ° or less, the angle is not too large. Therefore, the width of the heat dissipation member 6 does not become excessively large. Therefore, since the size of the heat dissipation member 6 is likely to be small, the usage amount of the heat dissipation member 6 is reduced.
  • Examples of the material of the case 5 include a non-magnetic metal and a non-metal material.
  • the non-magnetic metal include aluminum and its alloys, magnesium and its alloys, copper and its alloys, silver and its alloys, and austenitic stainless steel. The thermal conductivity of these non-magnetic metals is relatively high. Therefore, the case 5 can be used as a heat dissipation path, and the heat generated in the combination 10 can be efficiently dissipated to an installation target such as a cooling base. Therefore, the reactor 1A can improve heat dissipation.
  • die casting can be preferably used as a method of forming the case 5.
  • non-metal material examples include resins such as polybutylene terephthalate (PBT) resin, urethane resin, polyphenylene sulfide (PPS) resin, and acrylonitrile-butadiene-styrene (ABS) resin.
  • PBT polybutylene terephthalate
  • PPS polyphenylene sulfide
  • ABS acrylonitrile-butadiene-styrene
  • the resin may contain a ceramics filler. Examples of the ceramic filler include alumina and silica. Resins containing these ceramic fillers are excellent in heat dissipation and electrical insulation.
  • injection molding can be preferably used as a method of forming the case 5.
  • the bottom plate portion 51 and the side wall portion 52 are individually molded, the bottom plate portion 51 and the side wall portion 52 may be made of different materials.
  • the first winding portion 21 and the second winding portion 22 included in the coil 2 are hollow cylindrical bodies formed by spirally winding separate windings.
  • the first winding portion 21 and the second winding portion 22 are rectangular tubular bodies.
  • the first winding portion 21 and the second winding portion 22 can also be formed by a single winding.
  • the first winding portion 21 and the second winding portion 22 are electrically connected to each other. The method of electrical connection will be described later.
  • a covered wire having an insulating coating on the outer circumference of the conductor wire can be used.
  • the material of the conductor wire include copper, aluminum, magnesium, and alloys thereof.
  • Examples of the conductor wire include a rectangular wire and a round wire.
  • Examples of the insulating coating include enamel.
  • a typical example of the enamel is polyamide-imide.
  • a coated rectangular wire whose conductor wire is a copper rectangular wire and whose insulating coating is enamel is used.
  • the first winding part 21 and the second winding part 22 are constituted by an edgewise coil obtained by edgewise winding the coated rectangular wire.
  • the cross-sectional areas of the windings of the first winding portion 21 and the second winding portion 22 are the same in this example.
  • the first winding part 21 and the second winding part 22 are wound in the same direction.
  • the first winding part 21 and the second winding part 22 have the same number of turns.
  • the cross-sectional area and the number of turns of the windings of the first winding portion 21 and the second winding portion 22 may be different from each other.
  • the first winding part 21 and the second winding part 22 are arranged vertically in the depth direction of the case 5 so that their axes are parallel to each other. This parallel does not include the same straight line.
  • the first winding portion 21 is arranged on the bottom plate portion 51 side.
  • the second winding portion 22 is arranged above the first winding portion 21, that is, on the side opposite to the bottom plate portion 51 side.
  • the end face shapes of the first winding part 21 and the second winding part 22 are rectangular frame shapes (FIG. 2).
  • the rectangular frame shape here includes a square frame shape.
  • the corners of the first winding portion 21 and the second winding portion 22 are rounded.
  • the end surface shapes of the first winding portion 21 and the second winding portion 22 may be trapezoidal frame shapes or the like. Examples of the trapezoidal frame shape include an isosceles trapezoidal frame shape and a right-angled trapezoidal frame shape.
  • the end face shape of the first winding portion 21 has a pair of case facing sides 211 and a pair of connecting sides 212 (FIG. 2).
  • the pair of case facing sides 211 face the inclined surfaces 522 of the coil facing surfaces 521 of the side wall portion 52.
  • the pair of connecting sides 212 connects one end side and the other end side of the pair of case facing sides 211.
  • the pair of case facing sides 211 are parallel to the depth direction of the case 5.
  • Each connecting side 212 is parallel to the inner bottom surface 511 of the bottom plate portion 51.
  • Each connecting side 212 extends along the width direction of the case 5.
  • the end face shape of the second winding portion 22 has a pair of case facing sides 221 and a pair of connecting sides 222 (FIG. 2).
  • the pair of case facing sides 221 face the inclined surfaces 522 of the coil facing surfaces 521 of the side wall portion 52.
  • the pair of connecting sides 222 connects one end side and the other end side of the pair of case facing sides 221.
  • the pair of case facing sides 221 are parallel to the depth direction of the case 5.
  • Each connecting side 222 is parallel to the inner bottom surface 511 of the bottom plate portion 51.
  • Each connection side 222 extends along the width direction of the case 5.
  • the height and width of the first winding portion 21 and the second winding portion 22 are the same in this example. That is, the length of the pair of case facing sides 211 of the first winding portion 21 and the length of the pair of case facing sides 221 of the second winding portion 22 are the same. The length of the pair of connecting sides 212 in the first winding portion 21 and the length of the pair of connecting sides 222 in the second winding portion 22 are the same.
  • the widths being the same means that the minimum widths of the second winding portion 22 and the first winding portion 21 are the same, It means that the maximum widths are the same.
  • the heights of the first winding portion 21 and the second winding portion 22 may be different from each other.
  • the distance between each side surface of the first winding portion 21 and each inclined surface 522 along the width direction gradually increases from the inner bottom surface 511 side to the opening 55 side.
  • the distance between each side surface of the second winding portion 22 and each inclined surface 522 along the width direction gradually increases from the inner bottom surface 511 side to the opening 55 side.
  • the minimum distance along the width direction between each side surface of the second winding portion 22 and each inclined surface 522 is equal to the minimum distance between each side surface of the first winding portion 21 and each inclined surface 522. Greater than maximum spacing. That is, the distance along the width direction between the inner bottom surface 511 side and each inclined surface 522 on each side surface of the second winding portion 22 is equal to the opening 55 side and each inclination on each side surface of the first winding portion 21. It is larger than the distance between the surface 522 and the width direction.
  • the heat dissipation member 6 is interposed between the coil 2 and the case 5 (FIGS. 1 and 2).
  • the heat dissipation member 6 can transfer the heat of the coil 2 to the case 5. 2, the thickness of the heat dissipation member 6 is exaggerated for convenience of description.
  • the thickness of the heat dissipation member 6 is a length along the width direction. This point is the same in FIGS. 3 to 6 described later.
  • the heat dissipation member 6 has at least a first heat dissipation portion 61 (on the left side of the paper surface of FIG. 2).
  • the heat dissipation member 6 further includes a second heat dissipation portion 62 (on the right side of the paper surface of FIG. 2).
  • the heat dissipation member 6 of this example has a second heat dissipation part 62 in addition to the first heat dissipation part 61.
  • the first heat dissipation portion 61 is interposed between the one inclined surface 522 and the side surface of the second winding portion 22 (on the left side of the paper surface of FIG. 2).
  • the first heat dissipation portion 61 fills a gap between the one inclined surface 522 and one side surface of the second winding portion 22. Therefore, the distance between the one inclined surface 522 and one side surface of the second winding portion 22 is smaller than the distance between the one inclined surface 522 and one side surface of the first winding portion 21. Even if large, the heat of the second winding portion 22 is easily transferred to the side wall portion 52 of the case 5 via the first heat radiating portion 61.
  • the first winding portion 21 and the second winding portion 22 are likely to be uniformly cooled via the side wall portion 52 of the case 5. Even cooling of the first winding portion 21 and the second winding portion 22 facilitates reduction of the maximum temperature of the coil 2. By reducing the maximum temperature of the coil 2, the loss of the reactor 1A is easily reduced.
  • the first heat radiation part 61 is made of a sheet-shaped member.
  • the cross-sectional shape of the first heat dissipation portion 61 is preferably a shape that follows the shape of the gap between the one inclined surface 522 and one side surface of the second winding portion 22. This is because the first heat dissipation portion 61 easily fills the gap between the one inclined surface 522 and one side surface of the second winding portion 22.
  • the cross-sectional shape of the first heat dissipation portion 61 is a right-angled trapezoid in this example.
  • the thickness of the first heat dissipation part 61 gradually increases from the inner bottom surface 511 side toward the opening 55 side.
  • the thickness of the first heat dissipation portion 61 is a length along the width direction.
  • the surface of the first heat radiating portion 61 facing the second winding portion 22 is a flat surface parallel to the side surface of the second winding portion 22.
  • the surface of the first heat radiating portion 61 facing the second winding portion 22 is in surface contact with the side surface of the second winding portion 22.
  • the surface of the first heat dissipation portion 61 facing the inclined surface 522 is configured by a plane parallel to the inclined surface 522.
  • the surface of the first heat dissipation portion 61 facing the inclined surface 522 is in surface contact with the inclined surface 522.
  • the first heat radiating portion 61 and the second winding portion 22 are in surface contact with each other, and the first heat radiating portion 61 and the inclined surface 522 are in surface contact with each other.
  • the heat of 22 is easily
  • the height of the first heat radiating portion 61 preferably has a length extending from the upper end of the second winding portion 22 to the lower end of the second winding portion 22. The reason is that one side surface of the second winding portion 22 can be brought into contact with the first heat radiation portion 61 over the entire area in the height direction. Therefore, the heat of the second winding portion 22 is easily transferred to the side wall portion 52 of the case 5 via the first heat radiation portion 61.
  • the height of the first heat dissipation portion 61 is a length along the depth direction.
  • the lower end side of the first heat radiation part 61 may be located at the lower end of the second winding part 22 or may be located below the lower end of the second winding part 22. That is, the first heat dissipation portion 61 does not have to be interposed between the one inclined surface 522 and one side surface of the first winding portion 21, or the one inclination surface 522 and the first winding portion 21. It may be interposed between one of the side surfaces.
  • the position on the lower end side of the first heat dissipation part 61 may be located at the lower end of the second winding part 22, but the thermal conductivity of the first heat dissipation part 61 is higher than that of the sealing resin part 8. Since it is large, it is preferably located below the lower end of the second winding portion 22. This is because the first winding portion 21 is more likely to dissipate heat.
  • a gap between the one inclined surface 522 and one side surface of the first winding portion 21 can be filled with the lower end side of the first heat radiation portion 61. As described above, the gap between the one inclined surface 522 and the one side surface of the first winding portion 21 is the gap between the one inclined surface 522 and the one side surface of the second winding portion 22. Small in comparison.
  • the first heat radiating portion 61 passes through the side wall portion 52 of the case 5 and then the first heat radiating portion 61.
  • the winding part 21 can easily dissipate heat.
  • the lower end side of the first heat radiating portion 61 is interposed between the one inclined surface 522 and one side surface of the first winding portion 21, the first winding portion 21 is interposed via the first heat radiating portion 61. Of heat is more easily transferred to the side wall portion 52 of the case 5.
  • the height of the first heat radiation portion 61 has a length extending from the upper end of the second winding portion 22 to below the upper end of the first winding portion 21. Furthermore, it is preferable that the height of the first heat radiation portion 61 has a length extending from the upper end of the second winding portion 22 to the lower end of the first winding portion 21. In the present example, the height of the first heat dissipation portion 61 has a length extending from above the upper end of the second winding portion 22 to between the upper end and the lower end of the first winding portion 21.
  • the length of the first heat radiating portion 61 is equal to the total length of the second winding portion 22 in the axial direction.
  • the length of the first heat radiation portion 61 is a length along the axial direction of the second winding portion 22. Since the length of the first heat radiating portion 61 is the same as the total length of the second winding portion 22 in the axial direction, one side surface of the second winding portion 22 is formed over the substantially entire area in the axial direction. It is brought into contact with the heat dissipation portion 61. Therefore, the heat of the second winding portion 22 is easily transferred to the side wall portion 52 of the case 5 via the first heat radiation portion 61.
  • the second heat dissipation portion 62 is interposed between the other inclined surface 522 and the other side surface of the second winding portion 22 (on the right side of the paper surface of FIG. 2). Since the heat dissipation member 6 has the second heat dissipation section 62, the heat of the second winding section 22 is transferred to the side wall section 52 of the case 5 from the other side surface of the second winding section 22 via the second heat dissipation section 62. Easy to be transmitted.
  • This second heat dissipation part 62 can employ the same configuration as the first heat dissipation part 61.
  • the material of the heat dissipation member 6 is preferably a material having a higher thermal conductivity than the sealing resin portion 8. Since the heat dissipation member 6 has a higher thermal conductivity than the sealing resin portion 8, the heat of the second winding portion 22 is easily transferred to the side wall portion 52 of the case 5.
  • the thermal conductivity of the heat dissipation member 6 is preferably 1 W / mK or more, for example. When the thermal conductivity of the heat dissipation member 6 is 1 W / mK or more, the second winding portion 22 is likely to dissipate heat.
  • the heat conductivity of the heat dissipation member 6 is preferably 3 W / mK or more, and particularly preferably 5 W / mK or more.
  • the upper limit of the thermal conductivity of the heat dissipation member 6 is not particularly limited, but may be about 100 W / mK.
  • Examples of the material of the heat dissipation member 6 include the same non-magnetic metal and non-metal material as the case 5.
  • the magnetic core 3 includes a first inner core portion 31, a second inner core portion 32, and a pair of outer core portions 33 (FIG. 1).
  • the first inner core portion 31 and the second inner core portion 32 are arranged inside the first winding portion 21 and the second winding portion 22, respectively.
  • the first inner core portion 31 and the second inner core portion 32 mean portions of the magnetic core 3 along the axial direction of the first winding portion 21 and the second winding portion 22.
  • both ends of the magnetic core 3 along the axial direction of the first winding part 21 and the second winding part 22 are located outside the first winding part 21 and the second winding part 22.
  • the protruding portion is also a part of the first inner core portion 31 and the second inner core portion 32.
  • the pair of outer core portions 33 are arranged outside the first winding portion 21 and the second winding portion 22. That is, in the outer core portion 33, the coil 2 is not arranged, but the outer core portion 33 is projected from the coil 2 and is exposed from the coil 2.
  • the magnetic core 3 is formed in an annular shape by contacting the end surfaces of the first inner core portion 31 and the second inner core portion 32 with the inner end surface of the outer core portion 33. That is, the pair of outer core portions 33 are arranged so as to sandwich the first inner core portion 31 and the second inner core portion 32 which are arranged separately. The first inner core portion 31, the second inner core portion 32, and the pair of outer core portions 33 form a closed magnetic circuit when the coil 2 is excited.
  • the shapes of the first inner core portion 31 and the second inner core portion 32 are preferably shapes along the inner peripheral shapes of the first winding portion 21 and the second winding portion 22. The reason is that it is easy to make the interval between the inner peripheral surface of the first winding portion 21 and the outer peripheral surface of the first inner core portion 31 uniform in the circumferential direction of the first inner core portion 31. The other reason is that it is easy to make the interval between the inner peripheral surface of the second winding portion 22 and the outer peripheral surface of the second inner core portion 32 uniform in the circumferential direction of the second inner core portion 32. .
  • the shapes of the first inner core portion 31 and the second inner core portion 32 are rectangular parallelepiped.
  • the corner portions of the first inner core portion 31 and the second inner core portion 32 are rounded along the inner peripheral surfaces of the corner portions of the first winding portion 21 and the second winding portion 22.
  • the height of the first inner core portion 31 and the height of the second inner core portion 32 are the same in this example.
  • the width of the first inner core portion 31 and the width of the second inner core portion 32 are the same. Therefore, the size of the gap between the inner peripheral surface of the first winding portion 21 and the outer peripheral surface of the first inner core portion 31, and the inner peripheral surface of the second winding portion 22 and the outer periphery of the second inner core portion 32.
  • the size of the space between the surfaces is the same as each other.
  • the first inner core portion 31 and the second inner core portion 32 of this example are composed of one columnar core piece.
  • the core pieces do not go through the gap.
  • the core piece has a length of substantially the entire axial length of the first winding portion 21 and the second winding portion 22.
  • the first inner core portion 31 and the second inner core portion 32 may be configured by a laminated body in which a plurality of columnar core pieces and gaps are laminated and arranged along the axial direction of the coil 2.
  • Examples of the shape of the outer core portion 33 include a rectangular parallelepiped shape and a quadrangular pyramid shape.
  • the rectangular parallelepiped shape is a columnar body in which the outer end surface, the side surface, the upper surface, and the lower surface of the outer core portion 33 are all rectangular. The areas of the upper surface and the lower surface are the same.
  • the quadrangular pyramid shape is, for example, a columnar body in which the outer end surface, the upper surface, and the lower surface of the outer core portion 33 are rectangular, and the side surfaces are rectangular trapezoidal.
  • the area of the upper surface of the quadrangular pyramid-shaped outer core portion 33 is larger than the area of the lower surface.
  • the outer core portion 33 in this example has a truncated pyramid shape.
  • the outer core portion 33 may be a columnar body in which the outer end surface, the upper surface, and the lower surface have a rectangular shape, and the side surfaces have a right-angled trapezoidal shape (FIG. 1).
  • the outer end surface of the outer core portion 33 is preferably configured as a surface parallel to the inclined surface 524 of the core facing surface 523. The reason is that the outer end surface of the outer core portion 33 and the inclined surface 524 of the core facing surface 523 can be brought into surface contact with each other. Due to this surface contact, the heat of the outer core portion 33 is easily transferred to the side wall portion 52 of the case 5. Therefore, the heat dissipation of the magnetic core 3 tends to be high. Moreover, the pair of outer core portions 33 can be pressed in the directions in which they approach each other. Therefore, the magnetic core 3 is less likely to be displaced with respect to the case 5.
  • the upper surface of the outer core portion 33 is substantially flush with the upper surface of the second inner core portion 32 in this example.
  • the lower surface of the outer core portion 33 is substantially flush with the lower surface of the first inner core portion 31 in this example.
  • the upper surface of the outer core portion 33 may be higher than the upper surface of the second inner core portion 32.
  • the lower surface of the outer core portion 33 may be below the lower surface of the first inner core portion 31.
  • the sealing resin part 8 is filled in the case 5 and covers at least a part of the combined body 10.
  • the sealing resin portion 8 transfers the heat of the combined body 10 to the case 5, mechanically protects the combined body 10 and protects it from the external environment, improves the corrosion resistance of the combined body 10, and between the combined body 10 and the case 5.
  • Various functions such as improvement of the electric insulation property, integration of the combined body 10 and improvement of strength and rigidity of the reactor 1A by integrating the combined body 10 and the case 5.
  • the encapsulating resin portion 8 of the present example embeds substantially the entire assembly 10.
  • the sealing resin portion 8 has a portion interposed between the coil 2 and the case 5.
  • the encapsulating resin portion 8 includes coils between the lower surface of the first winding portion 21 and the inner bottom surface 511 of the bottom plate portion 51, the lower side of each side surface of the first winding portion 21, and the side wall portion 52. It is interposed between the facing surface 521.
  • the sealing resin portion 8 is also interposed between the upper surface of the first winding portion 21 and the lower surface of the second winding portion 22. The heat of the first winding portion 21 is transferred to the case 5 via the sealing resin portion 8.
  • thermosetting resin and the thermoplastic resin may be used as the material of the sealing resin portion 8.
  • thermosetting resin include epoxy resin, urethane resin, silicone resin, unsaturated polyester resin and the like.
  • thermoplastic resin include PPS resin and the like. These resins may contain the above-mentioned ceramic filler and the like.
  • the reactor 1A according to the first embodiment can achieve the following effects.
  • the length of the combined body 10 along the direction orthogonal to both the parallel direction of the first winding portion 21 and the second winding portion 22 and the axial direction of the coil 2 is determined by the length of the first winding portion 21 and the second winding portion. This is because it is smaller than the length of the combined product 10 along the parallel direction of the turning portions 22.
  • the gap between the one inclined surface 522 and one side surface of the second winding portion 22 can be filled with the first heat radiation portion 61. Further, the gap between the other inclined surface 522 and the other side surface of the second winding portion 22 can be filled with the second heat radiation portion 62. Therefore, even if the distance between each inclined surface 522 and each side surface of the second winding portion 22 is larger than the distance between each inclined surface 522 and each side surface of the first winding portion 21, The heat of the second winding portion 22 is easily transferred to the side wall portion 52 of the case 5 from both side surfaces of the second winding portion 22 via the first heat radiation portion 61 and the second heat radiation portion 62.
  • the second winding portion 22 since the second winding portion 22 is easily radiated, the first winding portion 21 and the second winding portion 22 are likely to be uniformly cooled via the side wall portion 52 of the case 5. Even cooling of the first winding portion 21 and the second winding portion 22 facilitates reduction of the maximum temperature of the coil 2. By reducing the maximum temperature of the coil 2, the loss of the reactor 1A is easily reduced.
  • the conductors at the ends on the one end side of the coil 2 in the axial direction are directly connected to each other.
  • the conductors are connected by bending the ends of the winding of the first winding part 21 and extending to the ends of the winding of the second winding part 22.
  • the conductors may be connected to each other via a connecting member that is independent of the first winding portion 21 and the second winding portion 22.
  • the connecting member is made of, for example, the same member as the winding.
  • the conductors can be connected by welding or pressure welding.
  • both ends of each winding on the other end side in the axial direction of the coil 2 are extended upward from the opening 55 of the case 5, although not shown.
  • the insulating coating is peeled off to expose the conductor.
  • a terminal member is connected to the exposed conductor.
  • the coil 2 is connected to an external device such as a power source for supplying electric power to the coil 2 via the terminal member. Illustration of the terminal member and the external device is omitted.
  • the first winding part 21 and the second winding part 22 may be individually integrated by an integrated resin. Illustration of the integrated resin is omitted.
  • the integrated resin covers the outer peripheral surface, the inner peripheral surface, and the end surface of the first winding portion 21 and the second winding portion 22, and joins adjacent turns.
  • a resin having a coating layer of heat-sealing resin formed on the outer circumference of the winding is used, and the winding can be wound and then heated to melt the coating layer.
  • the outer circumference of the winding refers to a further outer circumference of the insulating coating of the winding.
  • the heat fusion resin include thermosetting resins such as epoxy resin, silicone resin and unsaturated polyester.
  • the first inner core portion 31, the second inner core portion 32, and the outer core portion 33 are made of a powder compact or a composite material.
  • the powder compact is formed by compression molding soft magnetic powder.
  • the powder compact can have a higher proportion of the soft magnetic powder in the core piece as compared with the composite material. Therefore, the green compact is easy to enhance the magnetic properties.
  • the magnetic characteristics include relative permeability and saturation magnetic flux density.
  • the composite material is formed by dispersing soft magnetic powder in resin.
  • the composite material can be obtained by filling a mold with a fluid material in which soft magnetic powder is dispersed in an unsolidified resin and curing the resin.
  • the composite material can easily adjust the content of the soft magnetic powder in the resin. Therefore, the composite material is easy to adjust the magnetic characteristics.
  • the composite material is easier to form even in a complicated shape as compared with the powder compact.
  • the first inner core portion 31, the second inner core portion 32, and the outer core portion 33 may be a hybrid core in which the outer periphery of the powder compact is covered with the composite material.
  • the first inner core portion 31 and the second inner core portion 32 are made of a composite material.
  • the pair of outer core portions 33 are formed of a powder compact.
  • the soft magnetic powder particles include soft magnetic metal particles, coated particles having an insulating coating around the soft magnetic metal particles, and soft magnetic non-metal particles.
  • soft magnetic metals include pure iron and iron-based alloy gold.
  • iron-based alloys include Fe-Si alloys and Fe-Ni alloys.
  • soft magnetic non-metals include ferrite.
  • a thermosetting resin or a thermoplastic resin can be used as the resin of the composite material.
  • the thermosetting resin include epoxy resin, phenol resin, silicone resin and urethane resin.
  • the thermoplastic resin include PPS resin, polyamide (PA) resin, liquid crystal polymer (LCP), polyimide resin, and fluororesin.
  • PA resin include nylon 6, nylon 66, nylon 9T and the like. These resins may contain the above-mentioned ceramics filler.
  • the gap is made of a material having a smaller relative magnetic permeability than the first inner core portion 31, the second inner core portion 32, and the outer core portion 33.
  • the relative magnetic permeability of the first inner core portion 31 and the second inner core portion 32 is preferably 5 or more and 50 or less, more preferably 10 or more and 30 or less, and particularly preferably 20 or more and 30 or less.
  • the relative magnetic permeability of the outer core portion 33 preferably satisfies at least twice the relative magnetic permeability of the first inner core portion 31 and the second inner core portion 32.
  • the relative magnetic permeability of the outer core portion 33 is preferably 50 or more and 500 or less.
  • the combined body 10 may include the holding member 4 (FIG. 1).
  • the holding member 4 ensures insulation between the coil 2 and the magnetic core 3.
  • the holding member 4 of this example has a pair of end surface members 41.
  • the end surface member 41 ensures insulation between each end surface of the coil 2 and each outer core portion 33.
  • the shape of each end surface member 41 is the same.
  • Each end surface member 41 is a frame-shaped plate member in which two through holes 410 are provided along the stacking direction of the first winding portion 21 and the second winding portion 22. The respective ends of the first inner core portion 31 and the second inner core portion 32 are fitted into the respective through holes 410.
  • Two recesses 411 for accommodating the end faces of the first winding portion 21 and the second winding portion 22 are formed on the coil 2 side surface of each end surface member 41.
  • Each of the recesses 411 on the coil 2 side makes the entire end surfaces of the first winding portion 21 and the second winding portion 22 come into surface contact with the end surface member 41.
  • Each recess 411 is formed in a rectangular ring shape so as to surround the through hole 410.
  • the holding member 4 may further include an inner member.
  • the inner member ensures insulation between the inner peripheral surfaces of the first winding portion 21 and the second winding portion 22 and the outer peripheral surfaces of the first inner core portion 31 and the second inner core portion 32.
  • Examples of the material of the holding member 4 include insulating materials such as various resins.
  • the resin for example, the same resin as the resin of the composite material described above can be used.
  • the other thermoplastic resin include polytetrafluoroethylene (PTFE) resin, PBT resin, ABS resin and the like.
  • PTFE polytetrafluoroethylene
  • other thermosetting resins include unsaturated polyester resins.
  • the material of the holding member 4 is preferably the same as that of the sealing resin portion 8. This is because the holding member 4 and the sealing resin portion 8 can have the same linear expansion coefficient, and damage to each member due to thermal expansion and contraction can be suppressed.
  • the combination 10 may include a mold resin portion.
  • the mold resin portion covers each outer core portion 33 and extends inside the first winding portion 21 and the second winding portion 22.
  • the mold resin portion covers a region of the outer peripheral surface of each outer core portion 33, excluding a connecting surface between the first inner core portion 31 and the second inner core portion 32.
  • the mold resin portion is formed between each outer core portion 33 and the recess 412 of each end surface member 41, the outer peripheral surfaces of the first inner core portion 31 and the second inner core portion 32, and the through hole 410 of each end surface member 41. And the inner peripheral surfaces of the first winding portion 21 and the second winding portion 22 and the outer peripheral surfaces of the first inner core portion 31 and the second inner core portion 32.
  • This mold resin portion can integrate each outer core portion 33, each end surface member 41, first inner core portion 31, second inner core portion 32, first winding portion 21, and second winding portion 22.
  • the material of the mold resin portion for example, the same thermosetting resin or thermoplastic resin as the resin of the composite material described above can be used.
  • These resins may contain the above-mentioned ceramics filler. The inclusion of the ceramics filler can improve the heat dissipation of the mold resin portion.
  • the reactor 1A can be used as a component of a circuit that performs a voltage boosting operation or a voltage dropping operation.
  • the reactor 1A can be used as, for example, various converters, components of a power conversion device, or the like.
  • the converter include a vehicle-mounted converter mounted in a vehicle such as a hybrid vehicle, a plug-in hybrid vehicle, an electric vehicle, a fuel cell vehicle, and a converter for an air conditioner.
  • a DC-DC converter is typically used as the in-vehicle converter.
  • FIG. 3 is a sectional view showing a state in which the reactor 1B is cut at the same position as the sectional view shown in FIG.
  • the insulating member 7 insulates the heat dissipation member 6 from the second winding portion 22. That is, the insulating member 7 insulates each of the first heat radiation part 61 and the second heat radiation part 62 from the second winding part 22.
  • the heat radiation member 6 and the second winding portion 22 can be insulated by the insulating coating of the winding of the second winding portion 22, the insulating property can be further improved by providing the insulating member 7.
  • the material of the insulating member 7 may be the same non-metallic material as the case 5.
  • the insulating member 7 may be formed integrally with the heat dissipation member 6 or may be configured as a separate member from the heat dissipation member 6. In this example, the insulating member 7 is formed integrally with the heat dissipation member 6.
  • the covering area of the insulating member 7 may be an area facing the second winding section 22 in the first heat radiating section 61 and the second heat radiating section 62.
  • the insulating member 7 includes the first heat radiating portion 61 and the second heat radiating portion 62. It is also preferably formed in a region facing the first winding portion 21 in. Then, the insulation between the heat dissipation member 6 and the first winding portion 21 becomes high.
  • the thickness of the insulating member 7 is preferably as thin as possible as long as the insulating property can be improved. This is because even if the insulating member 7 is provided, the heat of the second winding portion 22 can be easily transmitted to the side wall portion 52 of the case 5 via the heat dissipation member 6.
  • the thickness of the insulating member 7 is the length along the width direction.
  • the thickness of the insulating member 7 is preferably 0.1 mm or more, for example. If the thickness of the insulating member 7 is 0.1 mm or more, it is easy to improve the insulating property.
  • the thickness of the insulating member 7 is preferably 2.0 mm or less, for example. If the thickness of the insulating member 7 is 2.0 mm or less, it is easy to radiate heat from the second winding portion 22.
  • the thickness of the insulating member 7 is more preferably 1.0 mm or less, and particularly preferably 0.5 mm or less.
  • the second winding portion 22 can easily dissipate heat from both side surfaces thereof. Since the first heat radiating portion 61 and the second heat radiating portion 62 are each made of metal, the second winding is performed from both side surfaces of the second winding portion 22 via the first heat radiating portion 61 and the second heat radiating portion 62. This is because the heat of the turning portion 22 is easily transferred to the side wall portion 52 of the case 5. In addition, the first heat radiation portion 61 and the second heat radiation portion 62 are easily insulated from the coil 2. This is because the insulating member 7 is formed in the area facing the coil 2 in the first heat radiating portion 61 and the second heat radiating portion 62.
  • FIG. 4 is a sectional view showing a state in which the reactor 1C is cut at the same position as the sectional view shown in FIG.
  • Each protrusion 611, 621 is interposed between the first winding portion 21 and the second winding portion 22. It is easy for the protrusions 611 and 621 to dispose the first heat radiating portion 61 and the second heat radiating portion 62 at appropriate positions with respect to the second winding portion 22. The reason is that the protrusions 611 and 621 are interposed between the first winding portion 21 and the second winding portion 22, so that the first heat radiating portion 61 and the second heat radiating portion 62 are deep in the case 5. This is because it can be positioned at a predetermined position in the vertical direction.
  • the sealing resin portion 8 when the sealing resin portion 8 is formed, the positional displacement between the first heat radiating portion 61 and the second heat radiating portion 62 due to the flow of the filling resin is easily suppressed.
  • the positional displacement between the first heat dissipation part 61 and the second heat dissipation part 62 may be, for example, sinking toward the inner bottom surface 511 side of the case 5.
  • the first heat radiating portion 61 and the second heat radiating portion 62 are easy to assemble to the coil 2 when manufacturing the reactor 1C. Therefore, the reactor 1C has excellent manufacturing workability.
  • Each of the projecting portions 611 and 621 is formed so as to project toward the coil 2 side from the surface of the first heat radiating portion 61 and the second heat radiating portion 62 facing the coil 2.
  • Each of the protrusions 611 and 621 may be formed by a protrusion formed continuously along the longitudinal direction thereof, or may be formed by a plurality of protrusions.
  • the plurality of protruding pieces may be provided at intervals in the axial direction of the second winding portion 22.
  • the constituent resin of the sealing resin portion 8 easily flows in the vertical direction of the case 5 through the gap between the protruding pieces.
  • each protrusion 611, 621 is, for example, triangular, rectangular, semicircular, mountain-shaped having curved surfaces along both corners of the first winding portion 21 and the second winding portion 22. Can be mentioned. If the projecting portions 611 and 621 have a mountain-shaped cross-section, the projecting portions 611 and 621 can be closely attached to both corners of the first winding portion 21 and the second winding portion 22. Therefore, more effective heat dissipation of the second winding portion 22 can be expected.
  • the cross-sectional shape of the protrusions 611 and 621 is a right-angled triangle that tapers toward the tip side in this example.
  • the lower side is parallel to the connecting side 212 of the first winding portion 21, and the upper side is the inclined side. Since the lower side is parallel to the connecting side 212, the lower side can be pressed against the first winding portion 21. Therefore, when the sealing resin portion 8 is formed, it is easy to prevent the first heat radiation portion 61 and the second heat radiation portion 62 from sinking to the inner bottom surface 511 side of the case 5 by pouring the resin from the opening portion 55 side of the case 5. .
  • the right triangle may have an upper side parallel to the connecting side 222 of the second winding portion 22 and a lower side as an inclined side. Since the upper side is parallel to the connecting side 222, the upper side can be stopped by hitting the second winding portion 22. Therefore, when the sealing resin part 8 is formed, it is easy to prevent the first heat radiating part 61 and the second heat radiating part 62 from floating toward the opening 55 side of the case 5 due to an increase in the volume of the filling resin in the case 5.
  • each protruding portion 611, 621 is preferably 50% or more of the axial length of the second winding portion 22. The reason is that the first heat radiating portion 61 and the second heat radiating portion 62 are less likely to be displaced with respect to the second winding portion 22.
  • the length of each protrusion 611, 621 is the length along the axial direction of the second winding portion 22. It is preferable that the length of each of the protrusions 611 and 621 is 75% or more of the axial length of the second winding portion 22. It is preferable to have a length equivalent to the total length.
  • the length of each protrusion 611, 621 means the total length of the plurality of protrusions along the axial direction of the second winding portion 22.
  • an insulating member 7 may be provided at the contact portion of the protrusions 611 and 621 with the coil 2.
  • the protrusions 611 and 621 are made of metal, the insulation between the protrusions 611 and 621 and the coil 2 can be improved.
  • the reactor 1C can be manufactured as follows. The assembly in which the heat dissipation member 6 is assembled to the combined body 10 is housed in the case 5. Then, the constituent resin of the sealing resin portion 8 is filled in the case 5 and cured. By assembling the heat dissipation member 6 to the combination body 10 before housing the combination body 10 in the case 5, it is easy to interpose the heat dissipation member 6 between the inclined surface 522 of the case 5 and the second winding portion 22.
  • the second winding portion 22 can easily dissipate heat from both side surfaces thereof. Since the first heat radiating portion 61 and the second heat radiating portion 62 have the projecting portions 611 and 621, respectively, the first heat radiating portion 61 and the second heat radiating portion 62 are arranged at proper positions with respect to the second winding portion 22. This is because it is easy to do. Therefore, the heat of the second winding portion 22 is easily transferred to the side wall portion 52 of the case 5 from both side surfaces of the second winding portion 22 via the first heat radiation portion 61 and the second heat radiation portion 62.
  • FIG. 5 is a cross-sectional view showing a state in which the reactor 1D is cut at the same position as the cross-sectional view shown in FIG.
  • the connecting portion 63 connects the upper ends of the first heat radiating portion 61 and the second heat radiating portion 62 to each other.
  • the connecting portion 63 is arranged on the upper surface of the second winding portion 22, that is, on the side of the second winding portion 22 opposite to the first winding portion 21 side.
  • This connecting portion 63 facilitates disposing the first heat radiating portion 61 and the second heat radiating portion 62 at appropriate positions with respect to the second winding portion 22.
  • the reason is that by disposing the connecting portion 63 on the upper surface of the second winding portion 22, the first heat radiating portion 61 and the second heat radiating portion 62 can be positioned at predetermined positions in the depth direction of the case 5. is there.
  • the sealing resin portion 8 when the sealing resin portion 8 is formed, the positional displacement of the first heat radiating portion 61 and the second heat radiating portion 62 due to the flow of the filling resin is easily suppressed.
  • Examples of the positional deviation between the first heat radiating portion 61 and the second heat radiating portion 62 include sinking toward the inner bottom surface 511 side of the case 5 and movement along the axial direction of the second winding portion 22. . Since the first heat radiating portion 61 and the second heat radiating portion 62 can be handled as one body by the connecting portion 63, the reactor 1D can be improved in workability in manufacturing.
  • the connecting portion 63 can also mechanically protect the upper surface of the second winding portion 22 and protect it from the external environment. The protection from the external environment improves the corrosion resistance of the second winding portion 22.
  • the connecting part 63 is made of a sheet-shaped member.
  • the cross-sectional shape of the connecting portion 63 is rectangular.
  • the thickness of the connecting portion 63 is uniform in the width direction.
  • the thickness of the connecting portion 63 is a length along the height direction.
  • the length of the connecting portion 63 along the axial direction of the second winding portion 22 is preferably equal to the total length of the second winding portion 22 in the axial direction. This is because the upper surface of the second winding portion 22 can be covered with the connecting portion 63 over substantially the entire area.
  • the insulating member 7 may be provided on the lower surface of the connecting portion 63 at the contact point with the second winding portion 22.
  • the connecting portion 63 may be composed of a plurality of bars or a plurality of plates that bridge the first heat radiating portion 61 and the second heat radiating portion 62.
  • the plurality of rods and the plurality of plates may be arranged at intervals in the axial direction of the second winding portion 22. It is easy for the constituent resin of the sealing resin portion 8 to fill the inner bottom surface 511 side of the case 5 through the gap between the rod members or the plate members.
  • the reactor 1D may have a fixing portion that fixes the connecting portion 63 to the case 5. Illustration of the fixed part is omitted. If the fixing portion is provided, the displacement of the connecting portion 63 with respect to the case 5 is prevented by the flow of the filling resin when the sealing resin portion 8 is formed.
  • the second winding portion 22 can easily dissipate heat from both side surfaces thereof.
  • the reason is that by having the connecting portion 63, the first heat radiating portion 61 and the second heat radiating portion 62 can be easily arranged at appropriate positions with respect to the second winding portion 22. Therefore, the heat of the second winding portion 22 is easily transferred to the side wall portion 52 of the case 5 from both side surfaces of the second winding portion 22 via the first heat radiation portion 61 and the second heat radiation portion 62.
  • a reactor 1E according to the fifth embodiment will be described with reference to FIG.
  • the reactor 1E according to the fifth embodiment includes the first winding portion so that one side surface (the right side in FIG. 6) of the first winding portion 21 and the second winding portion 22 and one inclined surface 522 are in surface contact with each other. 21 and the second winding portion 22 are arranged so as to be inclined, and the heat radiation member 6 includes only the first heat radiation portion 61, which is different from the reactor 1A according to the first embodiment.
  • FIG. 6 is a cross-sectional view showing a state in which reactor 1E is cut at the same position as the cross-sectional view shown in FIG.
  • One case facing side 211 of the first winding portion 21 is parallel to the one inclined surface 522.
  • the other case facing side 211 of the first winding portion 21 is not parallel to the other inclined surface 522.
  • the pair of connecting sides 212 of the first winding portion 21 is not parallel to the inner bottom surface 511.
  • the pair of connecting sides 212 is orthogonal to the one inclined surface 522 and intersects the other inclined surface 522 in a non-orthogonal manner.
  • one case facing side 221 of the second winding portion 22 is parallel to the one inclined surface 522.
  • the other case facing side 221 of the second winding portion 22 is not parallel to the other inclined surface 522.
  • the pair of connecting sides 222 of the second winding portion 22 is not parallel to the inner bottom surface 511.
  • the pair of connecting sides 222 is orthogonal to the one inclined surface 522 and intersects the other inclined surface 522 in a non-orthogonal manner.
  • the length of the pair of case facing sides 211 of the first winding portion 21 and the length of the pair of case facing sides 221 of the second winding portion 22 are the same.
  • the length of the pair of connecting sides 212 in the first winding portion 21 and the length of the pair of connecting sides 222 in the second winding portion 22 are the same.
  • the space between the one side surface of the first winding portion 21 and the one inclined surface 522 can be made uniform from the inner bottom surface 511 side to the opening 55 side (the right side of the drawing of FIG. 6).
  • the distance between the one side surface of the second winding portion 22 and the one inclined surface 522 can be made uniform from the inner bottom surface 511 side to the opening 55 side.
  • the distance between the one side surface of the first winding portion 21 and the one inclined surface 522 and the distance between the one side surface of the second winding portion 22 and the one inclined surface 522 are mutually uniform. Can be Therefore, the first winding portion 21 and the second winding portion 22 are likely to be uniformly cooled via the side wall portion 52 of the case 5.
  • one side surface of the first winding portion 21 and one side surface of the second winding portion 22 are in surface contact with one inclined surface 522 (on the right side of the paper surface of FIG. 6). Therefore, the first winding part 21 and the second winding part 22 are more easily cooled.
  • a space is provided between one side surface of the first winding portion 21 and the second winding portion 22 and the one inclined surface 522.
  • One side surface of the two-winding portion 22 and one inclined surface 522 are in direct contact with each other.
  • the other side surface of the first winding part 21 and the other side surface of the second winding part 22 are not in contact with the other inclined surface 522 (the left side of the paper surface of FIG. 6).
  • a predetermined space is provided between the other side surface of the first winding portion 21 and the other inclined surface 522 and between the other side surface of the second winding portion 22 and the other inclined surface 522. ing.
  • the distance between the other side surface of the first winding portion 21 and the other inclined surface 522 gradually increases from the inner bottom surface 511 side to the opening 55 side.
  • the distance between the other side surface of the second winding portion 22 and the other inclined surface 522 gradually increases from the inner bottom surface 511 side to the opening 55 side.
  • the minimum distance along the width direction between the other side surface of the second winding portion 22 and the other inclined surface 522 is the other side surface of the first winding portion 21 and the other side surface. Is larger than the maximum distance between the inclined surface 522 and the inclined surface 522 in the width direction. That is, the distance along the width direction between the inner bottom surface 511 side and the other inclined surface 522 on the other side surface of the second winding portion 22 is the opening 55 side on the other side surface of the first winding portion 21. And the other inclined surface 522 is larger than the interval along the width direction.
  • the 1st heat dissipation part 61 is interposed in the clearance gap between the other inclined surface 522 and the other side surface of the 2nd winding part 22 (left side of the paper surface of FIG. 6).
  • the first heat radiation portion 61 is in surface contact with each of the other inclined surface 522 and the other side surface of the second winding portion 22. Therefore, the heat of the second winding portion 22 is easily transferred to the side wall portion 52 of the case 5 also from the other side surface of the second winding portion 22. Therefore, the first winding portion 21 and the second winding portion 22 are likely to be uniformly cooled via the side wall portion 52 of the case 5.
  • An insulating member 7 (FIG.
  • the 1st heat dissipation part 61 may have the protrusion part 611 (FIG. 4).
  • the material of the first heat dissipation portion 61 is as described in the first embodiment.
  • the reactor 1B preferably includes a pedestal portion 9.
  • the pedestal portion 9 is arranged on the inner bottom surface 511 of the bottom plate portion 51.
  • the pedestal portion 9 mounts the first winding portion 21 and the second winding portion 22 in an inclined state with respect to the inner bottom surface 511 of the bottom plate portion 51.
  • the pedestal part 9 makes one case facing side 211 of the first winding part 21 and one case facing side 221 of the second winding part 22 parallel to the one inclined surface 522. That is, the upper surface of the pedestal portion 9 of this example is a surface along the direction orthogonal to the one inclined surface 522.
  • the pedestal portion 9 of this example is composed of a member different from the case 5.
  • the pedestal portion 9 is composed of a sheet-shaped member that supports substantially the entire lower surface of the first winding portion 21.
  • the sectional shape of the pedestal portion 9 is a right-angled trapezoid.
  • the upper surface of the pedestal portion 9 is formed as an inclined surface.
  • the height of the pedestal portion 9 gradually increases from one inclined surface 522 side toward the other inclined surface 522 side.
  • the pedestal portion 9 may be configured by a ridge member that supports one end side in the width direction on the lower surface of the first winding portion 21 in the axial direction of the first winding portion 21.
  • the pedestal portion 9 can be configured by a part of the case 5.
  • the inner bottom surface 511 may be formed of the inclined surface.
  • the same non-magnetic metal or non-metallic material as that of the case 5 can be mentioned. If the pedestal portion 9 is made of these materials, the heat of the first winding portion 21 is easily transferred to the bottom plate portion 51 of the case 5 via the pedestal portion 9. Therefore, the first winding portion 21 is easily cooled.
  • the pedestal portion 9 may be made of a non-magnetic metal sheet coated with a non-metal material. Then, the insulation between the first winding portion 21 and the case 5 tends to be high.
  • the second winding portion 22 can easily dissipate heat from both side surfaces thereof. This is because by tilting the first winding part 21 and the second winding part 22, one side surface of the second winding part 22 and one inclined surface 522 are in surface contact with each other. In addition, by interposing the first heat dissipation portion 61 between the other inclined surface 522 and the other side surface of the second winding portion 22, the second winding portion 22 is also wound from the other side surface. This is because the heat of the portion 22 is easily transferred to the side wall portion 52 of the case 5.

Landscapes

  • Engineering & Computer Science (AREA)
  • Power Engineering (AREA)
  • Microelectronics & Electronic Packaging (AREA)
  • Coils Of Transformers For General Uses (AREA)
  • Housings And Mounting Of Transformers (AREA)
PCT/JP2019/039923 2018-10-26 2019-10-09 リアクトル Ceased WO2020085099A1 (ja)

Priority Applications (2)

Application Number Priority Date Filing Date Title
US17/288,412 US12062477B2 (en) 2018-10-26 2019-10-09 Reactor
CN201980064412.2A CN112789697B (zh) 2018-10-26 2019-10-09 电抗器

Applications Claiming Priority (2)

Application Number Priority Date Filing Date Title
JP2018-202371 2018-10-26
JP2018202371A JP7130188B2 (ja) 2018-10-26 2018-10-26 リアクトル

Publications (1)

Publication Number Publication Date
WO2020085099A1 true WO2020085099A1 (ja) 2020-04-30

Family

ID=70331972

Family Applications (1)

Application Number Title Priority Date Filing Date
PCT/JP2019/039923 Ceased WO2020085099A1 (ja) 2018-10-26 2019-10-09 リアクトル

Country Status (4)

Country Link
US (1) US12062477B2 (enExample)
JP (1) JP7130188B2 (enExample)
CN (1) CN112789697B (enExample)
WO (1) WO2020085099A1 (enExample)

Cited By (1)

* Cited by examiner, † Cited by third party
Publication number Priority date Publication date Assignee Title
JP2020181838A (ja) * 2019-04-23 2020-11-05 新電元工業株式会社 巻線ユニット

Families Citing this family (2)

* Cited by examiner, † Cited by third party
Publication number Priority date Publication date Assignee Title
JP7127660B2 (ja) * 2020-02-27 2022-08-30 株式会社三洋物産 遊技機
DE102024102472A1 (de) * 2024-01-29 2025-07-31 Sts Spezial-Transformatoren-Stockach Gmbh & Co. Kg Induktive Anordnung

Citations (6)

* Cited by examiner, † Cited by third party
Publication number Priority date Publication date Assignee Title
JP2005183885A (ja) * 2003-12-24 2005-07-07 Concorde Denshi Kogyo:Kk リアクトル
JP2010182941A (ja) * 2009-02-06 2010-08-19 Denso Corp リアクトル
JP2011124242A (ja) * 2008-04-08 2011-06-23 Hitachi Metals Ltd リアクトル装置
JP2013012664A (ja) * 2011-06-30 2013-01-17 Tamura Seisakusho Co Ltd コイル装置及びコイル
JP2014192359A (ja) * 2013-03-27 2014-10-06 Toyota Motor Corp リアクトル
JP2016192432A (ja) * 2015-03-30 2016-11-10 株式会社オートネットワーク技術研究所 リアクトル

Family Cites Families (7)

* Cited by examiner, † Cited by third party
Publication number Priority date Publication date Assignee Title
JP2011029336A (ja) * 2009-07-23 2011-02-10 Sumitomo Electric Ind Ltd リアクトル及びリアクトルの取付構造
US9041502B2 (en) * 2012-04-05 2015-05-26 Lear Corporation Heat dissipating electromagnetic device arrangement
JP2015126142A (ja) * 2013-12-26 2015-07-06 株式会社オートネットワーク技術研究所 リアクトル
JP6376461B2 (ja) * 2014-10-15 2018-08-22 株式会社オートネットワーク技術研究所 リアクトル
JP6384732B2 (ja) * 2015-04-15 2018-09-05 株式会社オートネットワーク技術研究所 リアクトル
JP6508572B2 (ja) * 2015-09-11 2019-05-08 株式会社オートネットワーク技術研究所 リアクトル
JP2017199890A (ja) * 2016-04-26 2017-11-02 株式会社オートネットワーク技術研究所 リアクトル

Patent Citations (6)

* Cited by examiner, † Cited by third party
Publication number Priority date Publication date Assignee Title
JP2005183885A (ja) * 2003-12-24 2005-07-07 Concorde Denshi Kogyo:Kk リアクトル
JP2011124242A (ja) * 2008-04-08 2011-06-23 Hitachi Metals Ltd リアクトル装置
JP2010182941A (ja) * 2009-02-06 2010-08-19 Denso Corp リアクトル
JP2013012664A (ja) * 2011-06-30 2013-01-17 Tamura Seisakusho Co Ltd コイル装置及びコイル
JP2014192359A (ja) * 2013-03-27 2014-10-06 Toyota Motor Corp リアクトル
JP2016192432A (ja) * 2015-03-30 2016-11-10 株式会社オートネットワーク技術研究所 リアクトル

Cited By (2)

* Cited by examiner, † Cited by third party
Publication number Priority date Publication date Assignee Title
JP2020181838A (ja) * 2019-04-23 2020-11-05 新電元工業株式会社 巻線ユニット
JP7349810B2 (ja) 2019-04-23 2023-09-25 新電元工業株式会社 巻線ユニット

Also Published As

Publication number Publication date
JP7130188B2 (ja) 2022-09-05
JP2020068367A (ja) 2020-04-30
US20210358671A1 (en) 2021-11-18
CN112789697B (zh) 2022-10-28
US12062477B2 (en) 2024-08-13
CN112789697A (zh) 2021-05-11

Similar Documents

Publication Publication Date Title
US10283255B2 (en) Reactor
JP5343387B2 (ja) リアクトル、及びコンバータ
WO2020085099A1 (ja) リアクトル
JP7202544B2 (ja) リアクトル
JP7022342B2 (ja) リアクトル
JP5099523B2 (ja) リアクトル
JP2016096271A (ja) リアクトル
US12040127B2 (en) Reactor
JP7089671B2 (ja) リアクトル
JP6610903B2 (ja) リアクトル
WO2015178208A1 (ja) リアクトル
JP7104897B2 (ja) リアクトル
JP2016192432A (ja) リアクトル
US11908613B2 (en) Reactor
US11342105B2 (en) Coil, magnetic core, and reactor
JP2011009660A (ja) リアクトル
WO2020105469A1 (ja) リアクトル
WO2019171940A1 (ja) リアクトル

Legal Events

Date Code Title Description
121 Ep: the epo has been informed by wipo that ep was designated in this application

Ref document number: 19875057

Country of ref document: EP

Kind code of ref document: A1

NENP Non-entry into the national phase

Ref country code: DE

122 Ep: pct application non-entry in european phase

Ref document number: 19875057

Country of ref document: EP

Kind code of ref document: A1