WO2020012926A1 - 抵抗器及び回路基板 - Google Patents

抵抗器及び回路基板 Download PDF

Info

Publication number
WO2020012926A1
WO2020012926A1 PCT/JP2019/024796 JP2019024796W WO2020012926A1 WO 2020012926 A1 WO2020012926 A1 WO 2020012926A1 JP 2019024796 W JP2019024796 W JP 2019024796W WO 2020012926 A1 WO2020012926 A1 WO 2020012926A1
Authority
WO
WIPO (PCT)
Prior art keywords
resistor
layer
bonding layer
bonding
insulating substrate
Prior art date
Legal status (The legal status is an assumption and is not a legal conclusion. Google has not performed a legal analysis and makes no representation as to the accuracy of the status listed.)
Ceased
Application number
PCT/JP2019/024796
Other languages
English (en)
French (fr)
Japanese (ja)
Inventor
周平 松原
仲村 圭史
Current Assignee (The listed assignees may be inaccurate. Google has not performed a legal analysis and makes no representation or warranty as to the accuracy of the list.)
Koa Corp
Original Assignee
Koa Corp
Priority date (The priority date is an assumption and is not a legal conclusion. Google has not performed a legal analysis and makes no representation as to the accuracy of the date listed.)
Filing date
Publication date
Application filed by Koa Corp filed Critical Koa Corp
Priority to US17/257,971 priority Critical patent/US11282621B2/en
Priority to CN201980043950.3A priority patent/CN112335000B/zh
Priority to DE112019003546.0T priority patent/DE112019003546T5/de
Publication of WO2020012926A1 publication Critical patent/WO2020012926A1/ja
Anticipated expiration legal-status Critical
Ceased legal-status Critical Current

Links

Images

Classifications

    • HELECTRICITY
    • H01ELECTRIC ELEMENTS
    • H01CRESISTORS
    • H01C17/00Apparatus or processes specially adapted for manufacturing resistors
    • H01C17/06Apparatus or processes specially adapted for manufacturing resistors adapted for coating resistive material on a base
    • H01C17/065Apparatus or processes specially adapted for manufacturing resistors adapted for coating resistive material on a base by thick film techniques, e.g. serigraphy
    • HELECTRICITY
    • H01ELECTRIC ELEMENTS
    • H01CRESISTORS
    • H01C1/00Details
    • H01C1/01Mounting; Supporting
    • H01C1/012Mounting; Supporting the base extending along and imparting rigidity or reinforcement to the resistive element
    • HELECTRICITY
    • H01ELECTRIC ELEMENTS
    • H01CRESISTORS
    • H01C1/00Details
    • H01C1/14Terminals or tapping points or electrodes specially adapted for resistors; Arrangements of terminals or tapping points or electrodes on resistors
    • HELECTRICITY
    • H01ELECTRIC ELEMENTS
    • H01CRESISTORS
    • H01C1/00Details
    • H01C1/14Terminals or tapping points or electrodes specially adapted for resistors; Arrangements of terminals or tapping points or electrodes on resistors
    • H01C1/144Terminals or tapping points or electrodes specially adapted for resistors; Arrangements of terminals or tapping points or electrodes on resistors the terminals or tapping points being welded or soldered
    • HELECTRICITY
    • H01ELECTRIC ELEMENTS
    • H01CRESISTORS
    • H01C7/00Non-adjustable resistors formed as one or more layers or coatings; Non-adjustable resistors made from powdered conducting material or powdered semi-conducting material with or without insulating material
    • H01C7/003Thick film resistors
    • HELECTRICITY
    • H01ELECTRIC ELEMENTS
    • H01CRESISTORS
    • H01C3/00Non-adjustable metal resistors made of wire or ribbon, e.g. coiled, woven or formed as grids
    • H01C3/10Non-adjustable metal resistors made of wire or ribbon, e.g. coiled, woven or formed as grids the resistive element having zig-zag or sinusoidal configuration
    • H01C3/12Non-adjustable metal resistors made of wire or ribbon, e.g. coiled, woven or formed as grids the resistive element having zig-zag or sinusoidal configuration lying in one plane

Definitions

  • the present invention relates to a resistor and a circuit board.
  • the activated metal method is used for joining the resistor and the board, and the brazing material used is a conductive material and is generally formed thick.
  • the brazing material is a factor that makes the resistance characteristics unstable. In a situation where it is desired to stabilize the resistance characteristics at a higher level as electronic devices become more sophisticated, there is room for further improvement in mounting resistors on a circuit board.
  • the object of the present invention is to provide a resistor capable of realizing stabilization of resistance characteristics at a higher level and a circuit board on which the resistor is formed.
  • a resistor according to one embodiment of the present invention includes an insulating substrate, a resistor layer formed of a resistor material, and a joining layer joining the insulating substrate and the resistor layer, wherein the resistor layer Is formed so that the ratio of the sheet resistance of the bonding layer to the sheet resistance of the above becomes 100 or more.
  • the resistor layer is bonded to the insulating substrate via the bonding layer, heat generated from the resistor layer is easily radiated from the insulating substrate having high thermal conductivity. Furthermore, by forming the ratio (resistance ratio) of the sheet resistance of the bonding layer to the sheet resistance of the resistor layer to be 100 or more, the amount of change in the temperature resistance characteristics of the resistor can be suppressed to a predetermined range or less. Therefore, stable resistance characteristics can be obtained.
  • FIG. 1 is a plan view illustrating a resistor according to an embodiment of the present invention.
  • FIG. 2 is a sectional view illustrating a resistor according to the embodiment of the present invention.
  • FIG. 3 is a cross-sectional view illustrating a modified example of the resistor.
  • FIG. 4 is a plan view illustrating a circuit board according to the embodiment of the present invention.
  • FIG. 5A is a plan view illustrating a conventional shunt resistor.
  • FIG. 5B is a cross-sectional view illustrating a conventional shunt resistor.
  • FIG. 1 is a plan view of a resistor 1 according to the embodiment of the present invention.
  • FIG. 2 is a sectional view of the resistor 1 taken along line II-II shown in FIG.
  • the resistor 1 includes an insulating substrate 11, a resistor layer 12 formed of a resistor material, and a bonding layer 13 for joining the insulating substrate 11 and the resistor layer 12.
  • the bonding layer 13 is formed including at least one metal selected from the group consisting of titanium, aluminum, nickel, and chromium.
  • the resistor 1 is formed such that the ratio of the sheet resistance of the bonding layer 13 to the sheet resistance of the resistor layer 12 becomes 100 or more. Further, the resistor 1 includes, on the surface of the bonding layer 13, two conductor layers 14 partially arranged so as to overlap the resistor layer 12. The resistor 1 is used by connecting each of the conductor layers 14 to a circuit pattern not shown in FIG.
  • the bonding layer 13 and the conductor layer 14 are formed on both surfaces of the insulating substrate 11. Is formed.
  • the resistance value of the resistor 1 is determined by the thickness of the resistor layer 12 formed on the insulating substrate 11, the width W of the resistor layer 12, and the distance between the conductor layers 14 disposed at both ends of the resistor layer 12. L.
  • the insulating substrate 11 is a substrate which is excellent in insulation and heat resistance and is applied to high power use and high heat generation use.
  • the insulating substrate 11 is formed using at least one ceramic material selected from the group consisting of aluminum oxide, silicon nitride, and aluminum nitride.
  • aluminum oxide hereinafter, sometimes referred to as alumina
  • silicon nitride In applications requiring high heat cycle durability, it is preferable to select silicon nitride.
  • the thickness of the insulating substrate 11 can be 0.1 mm or more and 1.0 mm or less. From the viewpoint of the strength as a substrate, the thickness of the insulating substrate 11 is preferably 0.1 mm or more. In addition, from the viewpoint of heat dissipation, it is preferably 1.0 mm or less.
  • the bonding layer 13 joins the insulating substrate 11 and the resistor layer 12 and is disposed on the insulating substrate 11.
  • the material forming the bonding layer 13 is at least one metal material selected from the group consisting of titanium, aluminum, nickel and chromium, and these can be used alone or as an alloy. An oxide of each of these metal materials can also be used.
  • a metal material for forming the bonding layer 13 from the viewpoint of increasing the adhesion strength to the insulating substrate 11, titanium or aluminum is preferably used, and titanium is more preferably used.
  • the thickness of the bonding layer 13 can be not less than 50 nm and not more than 1000 nm.
  • the thickness of the bonding layer 13 is preferably 50 nm or more in order to obtain the adhesion strength between the insulating substrate 11 and the resistor layer 12. Further, from the viewpoints of resistance characteristics and cost-effectiveness, the thickness is preferably 1000 nm or less.
  • the thickness of the bonding layer 13 is more preferably 50 nm or more and 200 nm or less in the above range from the viewpoints of adhesion strength and resistance characteristics.
  • Examples of a method for forming the bonding layer 13 on the surface of the insulating substrate 11 include a plating method, a vacuum deposition method, an ion plating method, a sputtering method, a vapor deposition method, a cold spray method, and the like.
  • the resistor layer 12 is formed of a resistor material, and is arranged at a predetermined position of the bonding layer 13.
  • an alloy containing at least one metal selected from the group consisting of copper, nickel, and manganese can be used as the resistor material forming the resistor layer 12.
  • any metal material that can form a resistor can be generally applied.
  • the thickness of the resistor layer 12 can be set to 20 ⁇ m or more and 1000 ⁇ m or less according to the thickness of the entire resistor when incorporated in the circuit board.
  • the resistance value of the resistor 1 is set by the thickness, the width W of the resistor layer 12 formed on the insulating substrate 11, and the distance L between the conductor layers 14 disposed at the ends of the resistor layer 12. can do. It is more preferable that the thickness of the resistor layer 12 be 50 ⁇ m or more and 500 ⁇ m in the above range based on the size and the resistance value of the circuit board.
  • the resistor 1 when used, for example, as a resistor for detecting current (a so-called shunt resistor), among the resistor materials that can form the resistor layer 12, a resistor such as a manganin alloy, a zelanine alloy, or nichrome is used.
  • the material can be the main component.
  • a manganin alloy or a zelanine alloy can be used. Further, it is preferable to use a manganin alloy on the bonding layer 13 from the viewpoint of workability when forming the bonding layer 13 with the above-described thickness.
  • Examples of a method for forming the resistor layer 12 on the surface of the bonding layer 13 include a plating method, a vacuum evaporation method, an ion plating method, a sputtering method, a vapor deposition method, and a cold spray method.
  • the conductor layer 14 is disposed on the bonding layer 13 so as to sandwich the resistor layer 12.
  • copper is used as a conductor material for forming the conductor layer 14.
  • any other material that can be used for a circuit pattern can be used.
  • the thickness of the conductor layer 14 can be several tens ⁇ m to several hundred ⁇ m, and a shape corresponding to a large current application can be appropriately applied.
  • Examples of the method for forming the conductor layer 14 include a plating method, a vacuum evaporation method, an ion plating method, a sputtering method, a vapor deposition method, and a cold spray method.
  • the bonding layer 13 is formed on the insulating substrate 11 by the above-described method, and then the resistor layer is formed on the bonding layer 13 by the above-described method in a state where a region other than the formation region of the resistor layer 12 is masked.
  • This can be realized by forming the layer 12 and forming the conductor layer 14 by the above-described method in a state where a region other than the region where the conductor layer 14 is formed is masked.
  • FIG. 3 is a cross-sectional view illustrating a modified example of the resistor 1.
  • the bonding layer 13 is formed on the insulating substrate 11 by the above-described method, and then the conductive layer 14 is formed on the bonding layer 13 by the above-described method in a state where the region other than the formation region of the conductive layer 14 is masked. Is formed, and the resistive layer 12 is formed by the above-described method in a state where a region other than the region where the resistive layer 12 is formed is masked.
  • FIG. 4 is a plan view illustrating a circuit board according to the present embodiment.
  • the circuit board 100 shown in FIG. 4 has a circuit pattern 110 formed on an insulating substrate 101, and a resistor layer 103 formed on the insulating substrate 101 via a bonding layer 102.
  • the bonding layer 102 is formed from at least one metal material selected from the group consisting of titanium, aluminum, nickel, and chromium.
  • the resistor layer 103 is formed of a resistor material, and the circuit pattern 110 is formed on a surface of the bonding layer 102 so as to overlap a part of the resistor layer 103.
  • the circuit board 100 is formed such that the ratio of the sheet resistance of the bonding layer 102 to the sheet resistance of the resistor 103 becomes 100 or more.
  • a bonding layer 102 is formed on the surface of an insulating substrate 101 by a plating method, a vacuum evaporation method, an ion plating method, a sputtering method, a vapor deposition method, a cold spray method, or the like.
  • the resistor layer 103 is formed on the bonding layer 102 by the above-described method. It can be realized by forming the circuit pattern 110 by the method described above.
  • a resistor is joined to a predetermined portion of the board on which a circuit pattern is formed by a brazing material.
  • the resistor layer 103 can be formed on the insulating substrate 101 during the process of forming a circuit pattern on the insulating substrate 101. For this reason, there is no problem such as a problem of bonding strength between the substrate and the resistor or a crack of a bonding portion due to thermal stress, which has been a problem when mounting the resistor on a general circuit board.
  • the resistor layer 103 is in close contact with the circuit board 100 as described above, heat generated by the resistor layer 103 is easily radiated through the insulating substrate 101. Further, since the resistor layer 103 can be integrally formed in the process of forming the circuit pattern 110, the degree of freedom in circuit design is increased.
  • a test piece based on the resistor 1 according to the embodiment of the present invention was manufactured, and various measurements were performed to evaluate the resistor 1.
  • a method for preparing a specimen and its evaluation will be described.
  • Aluminum oxide (alumina) was used as an insulating substrate.
  • Manganin was used as a resistor material.
  • Titanium and aluminum were used as metal materials for the bonding layer.
  • a 100-nm-thick bonding layer was formed on a 30 mm-long x 50 mm-wide x 1 mm-thick alumina substrate by sputtering using titanium or aluminum.
  • the sputtering conditions are as follows. -Target: titanium-Discharge gas: argon gas-Gas flow rate: 50 sccm ⁇ Gas pressure: 0.7Pa ⁇ DC power: 1000W
  • Titanium was used as a metal material constituting the bonding layer, and those having a thickness of 50 nm, 100 nm, and 1000 nm were prepared. In addition, the test piece which made the joining layer aluminum was prepared similarly.
  • a cold spray method using a manganin alloy as a resistor material was applied to the bonding layer formed by the sputtering method to form a resistor layer (mask size 10 mm ⁇ 40 mm).
  • the conditions of the cold spray method are as follows. ⁇ Working gas: Compressed nitrogen ⁇ Gas pressure: 1-6MPa ⁇ Gas temperature: 400-450 ° C ⁇ Spray distance: 15mm ⁇ Traverse speed: 20 to 80 mm / sec ⁇ Supply rate of powder for thermal spraying: Manganin: 10 to 30 g / min
  • a resistor layer having a thickness of 20 ⁇ m, 200 ⁇ m, or 1000 ⁇ m was prepared.
  • a plurality of specimens were prepared by changing the combination of the thickness of the resistor layer and the type and thickness of the bonding layer.
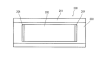
  • FIG. 5A is a plan view illustrating the shunt resistor 200
  • FIG. 5B is a cross-sectional view illustrating the shunt resistor 200.
  • the shunt resistor 200 shown in FIGS. 5A and 5B has two bonding layers 202 separated from each other on both sides of a ceramic substrate 201, and further has a conductor pattern 203 formed on each of the bonding layers 202. .
  • a resistor 205 is joined to a predetermined position of a conductor pattern 203 by solder 204.
  • the ceramic substrate 201 is an alumina substrate having a length of 30 mm x a width of 50 mm x a thickness of 1 mm
  • the resistor 205 is made of a manganin alloy and has a length of 6.35 m x 3.18 mm x 0.6 mm. It is formed in the size of.
  • the resistor 205 is solder-mounted on the ceramic substrate 201 at both ends, but has no air contact with the ceramic substrate 201 except at the ends.
  • the specimen T1 manufactured by the method described above was used as the resistor 1 according to the present embodiment.
  • the structure of the specimen T1 is shown in FIG.
  • the temperature of a hot spot appearing at the center of the resistor 205 and the temperature of a terminal where the resistor 205 is connected to the ceramic substrate 201 were measured.
  • the volume resistivity of manganin is 43 ⁇ ⁇ cm
  • the volume resistivity of titanium is 42.7 ⁇ ⁇ cm
  • the volume resistivity of aluminum is 2.8 ⁇ ⁇ cm.
  • TCR temperature coefficient of resistance
  • Ta is a reference temperature
  • T is a temperature at which a steady state is established
  • Ra is a resistance value of the resistor material at the reference temperature
  • R is a resistance value of the resistor material at the steady state.
  • TCR change rate (%) ⁇ (TCRb ⁇ TCRa) / TCRa ⁇ ⁇ 100
  • TCRa is the temperature coefficient of resistance of only the resistor
  • TCRb is the temperature coefficient of resistance when a laminate of the resistor and the bonding layer is treated as a resistor.
  • the TCR change rate (%) is preferably 20% or less. In the following evaluations, a TCR change rate (%) of 20% or less was judged as “good”, and a TCR change rate (%) of more than 20% was judged as “improper”.
  • Tables 1 and 2 show the evaluation results of the test pieces with respect to the resistor structure.
  • the contribution of the bonding layer to the characteristics of the entire resistor becomes 1% or less. Since the resistance temperature characteristics of titanium, aluminum, chromium, nickel, etc. used in the bonding layer are 3000 to 4000 ppm / ° C., the influence on the TCR of the resistor can be suppressed to 30 to 40 ppm / ° C. Necessary characteristics can be secured. Further, from the results of Tables 1 and 2, it can be seen that when each layer of the resistor has the same configuration, the use of titanium as the bonding layer material provides more stable resistance characteristics.
  • the joint portion is not damaged due to a difference in thermal stress between the resistor layer 12 and the insulating substrate 11, and the durability of the resistor 1 can be improved. it can.
  • the resistor Since there is a difference between the coefficient of thermal expansion of the insulating substrate, the coefficient of thermal expansion of components such as resistors mounted on the insulating substrate, and the coefficient of thermal expansion of the conductor pattern, the resistor causes thermal expansion and contraction. By repeating, fatigue accumulates at the joint between the insulating substrate and the component such as the resistor or the joint between the insulating substrate and the conductor pattern. For this reason, although the ceramic substrate is generally excellent in heat resistance, there is a concern that the durability of the resistor as a whole decreases.
  • the structure in which the resistor is in close contact with the insulating substrate makes it easier to radiate heat from the resistor through the ceramic substrate, and attaches the resistor to the ceramic substrate via a resin material such as polyimide or epoxy. There is also a method of bonding.
  • the thermal stress can be reduced, the heat of the resistor is hindered by the resin material and is not easily transmitted to the ceramic substrate. was there. Further, since the service temperature of the resistor depends on the heat resistance of the resin material, it cannot be used under high temperatures.
  • the resistor 1 according to the present embodiment has a higher level of heat radiation characteristics by having the above structure. Further, since the rate of change of the resistance temperature coefficient can be kept within a predetermined range, stabilization of the resistance characteristic can be realized.
  • resistor 11 ceramic substrate 12 resistor layer 13 bonding layer 14 conductor layer 100 circuit board 101 ceramic substrate 102 bonding layer 103 resistor layer 110 circuit pattern

Landscapes

  • Engineering & Computer Science (AREA)
  • Microelectronics & Electronic Packaging (AREA)
  • Manufacturing & Machinery (AREA)
  • Physics & Mathematics (AREA)
  • Electromagnetism (AREA)
  • Parts Printed On Printed Circuit Boards (AREA)
  • Non-Adjustable Resistors (AREA)
  • Details Of Resistors (AREA)
PCT/JP2019/024796 2018-07-12 2019-06-21 抵抗器及び回路基板 Ceased WO2020012926A1 (ja)

Priority Applications (3)

Application Number Priority Date Filing Date Title
US17/257,971 US11282621B2 (en) 2018-07-12 2019-06-21 Resistor and circuit substrate
CN201980043950.3A CN112335000B (zh) 2018-07-12 2019-06-21 电阻器及电路基板
DE112019003546.0T DE112019003546T5 (de) 2018-07-12 2019-06-21 Widerstand und Schaltungssubstrat

Applications Claiming Priority (2)

Application Number Priority Date Filing Date Title
JP2018-132594 2018-07-12
JP2018132594A JP2020010004A (ja) 2018-07-12 2018-07-12 抵抗器及び回路基板

Publications (1)

Publication Number Publication Date
WO2020012926A1 true WO2020012926A1 (ja) 2020-01-16

Family

ID=69141832

Family Applications (1)

Application Number Title Priority Date Filing Date
PCT/JP2019/024796 Ceased WO2020012926A1 (ja) 2018-07-12 2019-06-21 抵抗器及び回路基板

Country Status (5)

Country Link
US (1) US11282621B2 (enExample)
JP (1) JP2020010004A (enExample)
CN (1) CN112335000B (enExample)
DE (1) DE112019003546T5 (enExample)
WO (1) WO2020012926A1 (enExample)

Families Citing this family (4)

* Cited by examiner, † Cited by third party
Publication number Priority date Publication date Assignee Title
US12432856B2 (en) * 2021-03-29 2025-09-30 KYOCERA AVX Components Corporation Surface mount radiofrequency component
CN113380478A (zh) * 2021-06-07 2021-09-10 广东意杰科技有限公司 模块型合金片功率电阻器
DE102023000899A1 (de) * 2023-03-10 2024-09-12 Wieland-Werke Aktiengesellschaft Verfahren zur Herstellung einer Widerstandsanordnung
CN118527670B (zh) * 2024-07-19 2024-10-18 广东省科学院新材料研究所 高阻尼锰铜合金及其冷喷涂增材制造方法和应用

Citations (3)

* Cited by examiner, † Cited by third party
Publication number Priority date Publication date Assignee Title
JPS62193102A (ja) * 1986-02-19 1987-08-25 松下電工株式会社 セラミツク配線基板の製法
JPH0343985A (ja) * 1989-07-12 1991-02-25 Mitsubishi Electric Corp 薄型高温ヒータおよびその製造方法
JP2002075705A (ja) * 2000-08-31 2002-03-15 Toshiba Corp 抵抗体基板

Family Cites Families (21)

* Cited by examiner, † Cited by third party
Publication number Priority date Publication date Assignee Title
DE3605425A1 (de) * 1986-02-20 1987-08-27 Standard Elektrik Lorenz Ag Duennschichtschaltung und ein verfahren zu ihrer herstellung
US5468672A (en) * 1993-06-29 1995-11-21 Raytheon Company Thin film resistor and method of fabrication
US5680092A (en) * 1993-11-11 1997-10-21 Matsushita Electric Industrial Co., Ltd. Chip resistor and method for producing the same
JPH07297513A (ja) * 1994-04-27 1995-11-10 Matsushita Electric Works Ltd 抵抗体付きセラミックプリント配線板及びその製造方法
JP2963671B2 (ja) * 1997-02-26 1999-10-18 進工業株式会社 チップ抵抗器
JP3758331B2 (ja) 1997-09-18 2006-03-22 富士電機デバイステクノロジー株式会社 半導体装置用のシャント抵抗素子およびその実装方法並びに半導体装置
US6489881B1 (en) * 1999-10-28 2002-12-03 International Rectifier Corporation High current sense resistor and process for its manufacture
DE10144269A1 (de) * 2001-09-08 2003-03-27 Bosch Gmbh Robert Sensorelement zur Erfassung einer physikalischen Messgröße zwischen tribologisch hoch beanspruchten Körpern
JP3826046B2 (ja) * 2002-02-08 2006-09-27 コーア株式会社 抵抗器およびその製造方法
JP4394477B2 (ja) * 2003-03-27 2010-01-06 Dowaホールディングス株式会社 金属−セラミックス接合基板の製造方法
JP2005078874A (ja) * 2003-08-29 2005-03-24 Taiyosha Electric Co Ltd ジャンパーチップ部品及びジャンパーチップ部品の製造方法
CN101364462A (zh) * 2007-08-10 2009-02-11 斐成企业股份有限公司 芯片电阻器及其制法
CN101430955A (zh) * 2007-11-09 2009-05-13 国巨股份有限公司 晶片电阻元件及其制造方法
US8242878B2 (en) * 2008-09-05 2012-08-14 Vishay Dale Electronics, Inc. Resistor and method for making same
JP2010114167A (ja) * 2008-11-04 2010-05-20 Sumitomo Metal Mining Co Ltd 低抵抗チップ抵抗器及びその製造方法
KR101412951B1 (ko) * 2012-08-17 2014-06-26 삼성전기주식회사 칩 저항기 및 이의 제조 방법
JP2014204094A (ja) * 2013-04-10 2014-10-27 株式会社Adn 抵抗器および抵抗器の製造方法
JP2015002212A (ja) * 2013-06-13 2015-01-05 ローム株式会社 チップ抵抗器、チップ抵抗器の実装構造
JP2015170727A (ja) * 2014-03-07 2015-09-28 パナソニックIpマネジメント株式会社 抵抗器およびその製造方法
US9818512B2 (en) * 2014-12-08 2017-11-14 Vishay Dale Electronics, Llc Thermally sprayed thin film resistor and method of making
KR101771817B1 (ko) * 2015-12-18 2017-08-25 삼성전기주식회사 칩 저항기

Patent Citations (3)

* Cited by examiner, † Cited by third party
Publication number Priority date Publication date Assignee Title
JPS62193102A (ja) * 1986-02-19 1987-08-25 松下電工株式会社 セラミツク配線基板の製法
JPH0343985A (ja) * 1989-07-12 1991-02-25 Mitsubishi Electric Corp 薄型高温ヒータおよびその製造方法
JP2002075705A (ja) * 2000-08-31 2002-03-15 Toshiba Corp 抵抗体基板

Also Published As

Publication number Publication date
DE112019003546T5 (de) 2021-03-25
US11282621B2 (en) 2022-03-22
JP2020010004A (ja) 2020-01-16
US20210225562A1 (en) 2021-07-22
CN112335000B (zh) 2022-06-14
CN112335000A (zh) 2021-02-05

Similar Documents

Publication Publication Date Title
WO2020012926A1 (ja) 抵抗器及び回路基板
JP7030730B2 (ja) セラミック素子およびセラミック素子の製造方法
US8823483B2 (en) Power resistor with integrated heat spreader
JP6369875B2 (ja) チップ抵抗器
WO2018163864A1 (ja) ヒートシンク付パワーモジュール用基板
US10141088B2 (en) Resistor
JP2018148064A (ja) ヒートシンク付パワーモジュール用基板
JP2018074143A (ja) 抵抗素子及び抵抗素子アセンブリ
JP2010114167A (ja) 低抵抗チップ抵抗器及びその製造方法
JP7386184B2 (ja) 高周波および高電力薄膜部品
JP3736602B2 (ja) チップ型サーミスタ
JP5047315B2 (ja) セラミックス回路基板
WO2020012924A1 (ja) 成膜方法
JP3783493B2 (ja) 積層セラミック基板及びこれを用いたパワーモジュール用基板
JP2001143904A (ja) 複合積層サーミスタ
JP5346408B2 (ja) 電気抵抗膜を備えた金属箔及びその製造方法
WO2025013453A1 (ja) チップ型電子部品およびそれを用いた電子部品実装品
WO2019017237A1 (ja) チップ抵抗器
JP2003297603A (ja) チップ型サーミスタおよびチップ型サーミスタの実装構造
JP2010225660A (ja) チップ抵抗器およびその実装構造
JP2019016756A (ja) 抵抗器
JP2016081951A (ja) チップサーミスタ

Legal Events

Date Code Title Description
121 Ep: the epo has been informed by wipo that ep was designated in this application

Ref document number: 19833443

Country of ref document: EP

Kind code of ref document: A1

122 Ep: pct application non-entry in european phase

Ref document number: 19833443

Country of ref document: EP

Kind code of ref document: A1