WO2019230911A1 - ベーパーチャンバー、及び電子機器 - Google Patents

ベーパーチャンバー、及び電子機器 Download PDF

Info

Publication number
WO2019230911A1
WO2019230911A1 PCT/JP2019/021609 JP2019021609W WO2019230911A1 WO 2019230911 A1 WO2019230911 A1 WO 2019230911A1 JP 2019021609 W JP2019021609 W JP 2019021609W WO 2019230911 A1 WO2019230911 A1 WO 2019230911A1
Authority
WO
WIPO (PCT)
Prior art keywords
flow path
region
sheet
vapor chamber
channel
Prior art date
Legal status (The legal status is an assumption and is not a legal conclusion. Google has not performed a legal analysis and makes no representation as to the accuracy of the status listed.)
Ceased
Application number
PCT/JP2019/021609
Other languages
English (en)
French (fr)
Japanese (ja)
Inventor
伸一郎 高橋
太田 貴之
和範 小田
武田 利彦
清隆 竹松
輝寿 百瀬
陽子 中村
Current Assignee (The listed assignees may be inaccurate. Google has not performed a legal analysis and makes no representation or warranty as to the accuracy of the list.)
Dai Nippon Printing Co Ltd
Original Assignee
Dai Nippon Printing Co Ltd
Priority date (The priority date is an assumption and is not a legal conclusion. Google has not performed a legal analysis and makes no representation as to the accuracy of the date listed.)
Filing date
Publication date
Application filed by Dai Nippon Printing Co Ltd filed Critical Dai Nippon Printing Co Ltd
Priority to JP2020522602A priority Critical patent/JP6806285B2/ja
Priority to CN201980032165.8A priority patent/CN112166294B/zh
Priority to US17/059,301 priority patent/US11903167B2/en
Priority to CN202110214684.5A priority patent/CN112902717B/zh
Priority to KR1020207034976A priority patent/KR102501074B1/ko
Publication of WO2019230911A1 publication Critical patent/WO2019230911A1/ja
Anticipated expiration legal-status Critical
Priority to US18/398,691 priority patent/US12382610B2/en
Priority to US19/261,419 priority patent/US20250338441A1/en
Ceased legal-status Critical Current

Links

Images

Classifications

    • GPHYSICS
    • G06COMPUTING OR CALCULATING; COUNTING
    • G06FELECTRIC DIGITAL DATA PROCESSING
    • G06F1/00Details not covered by groups G06F3/00 - G06F13/00 and G06F21/00
    • G06F1/16Constructional details or arrangements
    • G06F1/20Cooling means
    • G06F1/203Cooling means for portable computers, e.g. for laptops
    • FMECHANICAL ENGINEERING; LIGHTING; HEATING; WEAPONS; BLASTING
    • F28HEAT EXCHANGE IN GENERAL
    • F28DHEAT-EXCHANGE APPARATUS, NOT PROVIDED FOR IN ANOTHER SUBCLASS, IN WHICH THE HEAT-EXCHANGE MEDIA DO NOT COME INTO DIRECT CONTACT
    • F28D15/00Heat-exchange apparatus with the intermediate heat-transfer medium in closed tubes passing into or through the conduit walls ; Heat-exchange apparatus employing intermediate heat-transfer medium or bodies
    • F28D15/02Heat-exchange apparatus with the intermediate heat-transfer medium in closed tubes passing into or through the conduit walls ; Heat-exchange apparatus employing intermediate heat-transfer medium or bodies in which the medium condenses and evaporates, e.g. heat pipes
    • F28D15/04Heat-exchange apparatus with the intermediate heat-transfer medium in closed tubes passing into or through the conduit walls ; Heat-exchange apparatus employing intermediate heat-transfer medium or bodies in which the medium condenses and evaporates, e.g. heat pipes with tubes having a capillary structure
    • FMECHANICAL ENGINEERING; LIGHTING; HEATING; WEAPONS; BLASTING
    • F28HEAT EXCHANGE IN GENERAL
    • F28DHEAT-EXCHANGE APPARATUS, NOT PROVIDED FOR IN ANOTHER SUBCLASS, IN WHICH THE HEAT-EXCHANGE MEDIA DO NOT COME INTO DIRECT CONTACT
    • F28D15/00Heat-exchange apparatus with the intermediate heat-transfer medium in closed tubes passing into or through the conduit walls ; Heat-exchange apparatus employing intermediate heat-transfer medium or bodies
    • F28D15/02Heat-exchange apparatus with the intermediate heat-transfer medium in closed tubes passing into or through the conduit walls ; Heat-exchange apparatus employing intermediate heat-transfer medium or bodies in which the medium condenses and evaporates, e.g. heat pipes
    • FMECHANICAL ENGINEERING; LIGHTING; HEATING; WEAPONS; BLASTING
    • F28HEAT EXCHANGE IN GENERAL
    • F28DHEAT-EXCHANGE APPARATUS, NOT PROVIDED FOR IN ANOTHER SUBCLASS, IN WHICH THE HEAT-EXCHANGE MEDIA DO NOT COME INTO DIRECT CONTACT
    • F28D15/00Heat-exchange apparatus with the intermediate heat-transfer medium in closed tubes passing into or through the conduit walls ; Heat-exchange apparatus employing intermediate heat-transfer medium or bodies
    • F28D15/02Heat-exchange apparatus with the intermediate heat-transfer medium in closed tubes passing into or through the conduit walls ; Heat-exchange apparatus employing intermediate heat-transfer medium or bodies in which the medium condenses and evaporates, e.g. heat pipes
    • F28D15/0233Heat-exchange apparatus with the intermediate heat-transfer medium in closed tubes passing into or through the conduit walls ; Heat-exchange apparatus employing intermediate heat-transfer medium or bodies in which the medium condenses and evaporates, e.g. heat pipes the conduits having a particular shape, e.g. non-circular cross-section, annular
    • FMECHANICAL ENGINEERING; LIGHTING; HEATING; WEAPONS; BLASTING
    • F28HEAT EXCHANGE IN GENERAL
    • F28DHEAT-EXCHANGE APPARATUS, NOT PROVIDED FOR IN ANOTHER SUBCLASS, IN WHICH THE HEAT-EXCHANGE MEDIA DO NOT COME INTO DIRECT CONTACT
    • F28D15/00Heat-exchange apparatus with the intermediate heat-transfer medium in closed tubes passing into or through the conduit walls ; Heat-exchange apparatus employing intermediate heat-transfer medium or bodies
    • F28D15/02Heat-exchange apparatus with the intermediate heat-transfer medium in closed tubes passing into or through the conduit walls ; Heat-exchange apparatus employing intermediate heat-transfer medium or bodies in which the medium condenses and evaporates, e.g. heat pipes
    • F28D15/0266Heat-exchange apparatus with the intermediate heat-transfer medium in closed tubes passing into or through the conduit walls ; Heat-exchange apparatus employing intermediate heat-transfer medium or bodies in which the medium condenses and evaporates, e.g. heat pipes with separate evaporating and condensing chambers connected by at least one conduit; Loop-type heat pipes; with multiple or common evaporating or condensing chambers
    • HELECTRICITY
    • H01ELECTRIC ELEMENTS
    • H01LSEMICONDUCTOR DEVICES NOT COVERED BY CLASS H10
    • H01L23/00Details of semiconductor or other solid state devices
    • H01L23/34Arrangements for cooling, heating, ventilating or temperature compensation ; Temperature sensing arrangements
    • H01L23/36Selection of materials, or shaping, to facilitate cooling or heating, e.g. heatsinks
    • HELECTRICITY
    • H05ELECTRIC TECHNIQUES NOT OTHERWISE PROVIDED FOR
    • H05KPRINTED CIRCUITS; CASINGS OR CONSTRUCTIONAL DETAILS OF ELECTRIC APPARATUS; MANUFACTURE OF ASSEMBLAGES OF ELECTRICAL COMPONENTS
    • H05K7/00Constructional details common to different types of electric apparatus
    • H05K7/20Modifications to facilitate cooling, ventilating, or heating
    • HELECTRICITY
    • H05ELECTRIC TECHNIQUES NOT OTHERWISE PROVIDED FOR
    • H05KPRINTED CIRCUITS; CASINGS OR CONSTRUCTIONAL DETAILS OF ELECTRIC APPARATUS; MANUFACTURE OF ASSEMBLAGES OF ELECTRICAL COMPONENTS
    • H05K7/00Constructional details common to different types of electric apparatus
    • H05K7/20Modifications to facilitate cooling, ventilating, or heating
    • H05K7/2029Modifications to facilitate cooling, ventilating, or heating using a liquid coolant with phase change in electronic enclosures
    • HELECTRICITY
    • H05ELECTRIC TECHNIQUES NOT OTHERWISE PROVIDED FOR
    • H05KPRINTED CIRCUITS; CASINGS OR CONSTRUCTIONAL DETAILS OF ELECTRIC APPARATUS; MANUFACTURE OF ASSEMBLAGES OF ELECTRICAL COMPONENTS
    • H05K7/00Constructional details common to different types of electric apparatus
    • H05K7/20Modifications to facilitate cooling, ventilating, or heating
    • H05K7/2029Modifications to facilitate cooling, ventilating, or heating using a liquid coolant with phase change in electronic enclosures
    • H05K7/20318Condensers
    • GPHYSICS
    • G06COMPUTING OR CALCULATING; COUNTING
    • G06FELECTRIC DIGITAL DATA PROCESSING
    • G06F2200/00Indexing scheme relating to G06F1/04 - G06F1/32
    • G06F2200/20Indexing scheme relating to G06F1/20
    • G06F2200/201Cooling arrangements using cooling fluid

Definitions

  • This disclosure relates to a vapor chamber that transports heat by refluxing a working fluid enclosed in a sealed space with a phase change.
  • Electronic devices such as personal computers and mobile terminals such as mobile phones and tablet terminals are equipped with electronic components such as a CPU (Central Processing Unit).
  • the amount of heat generated from such an electronic component tends to increase due to an improvement in information processing capability, and a technology for cooling this is important.
  • a heat pipe is well known as a means for such cooling. In this method, the working fluid sealed in the pipe diffuses the heat in the heat source by transporting it to other parts, thereby cooling the heat source.
  • the vapor chamber is a device that develops the concept of heat transport using heat pipes into a flat plate. That is, in the vapor chamber, the working fluid is sealed between the opposing flat plates, and the working fluid recirculates with a phase change to transport heat, and transport and diffuse the heat in the heat source to cool the heat source. To do.
  • a steam channel and a condensate channel are provided between the opposing flat plates of the vapor chamber, and a working fluid is sealed therein.
  • the working fluid receives the heat from the heat source in the vicinity of the heat source and evaporates to become a gas (vapor) and move through the vapor flow path.
  • the heat from the heat source is smoothly transported to a position away from the heat source, and as a result, the heat source is cooled.
  • the working fluid in a gaseous state that has transported heat from the heat source moves to a position away from the heat source, and is cooled and condensed by absorbing the heat to the surroundings, and changes into a liquid state.
  • phase-change working fluid in the liquid state passes through the condensate flow path, returns to the position of the heat source, receives the heat from the heat source, and evaporates to change to a gaseous state. Due to the circulation as described above, the heat generated from the heat source is transported to a position away from the heat source, and the heat source is cooled.
  • Patent Document 1 discloses an apparatus in which such a steam channel (deep groove) and a condensate channel (shallow groove) are formed.
  • the present disclosure is intended to provide a vapor chamber capable of obtaining a high heat transport capability.
  • an electronic device including the vapor chamber is provided.
  • One aspect of the present disclosure is a vapor chamber in which a sealed space is formed, and the working fluid is sealed in the space, and a plurality of condensates in which the liquid condensed from the working fluid flows in the sealed space.
  • a flow path and a steam flow path through which steam vaporized from the working fluid flows, and the steam flow path includes a protruding portion protruding toward the steam flow path in a direction in which the condensate flow path and the steam flow path are arranged.
  • a vapor chamber in which the protruding amount of the protruding portion is different in the direction in which the steam flow path extends.
  • the overhang amount of the overhang portion in one region is smaller than the overhang amounts of the overhang portions in both regions adjacent to the one region. You may comprise.
  • the average value of the overhang amount in the region disposed in the center is disposed on both sides of the region disposed in the center. You may comprise so that it may become smaller than each average value of the overhang
  • the average value of the amount of overhang in the region disposed in the center and the overhang in the regions disposed at both ends is configured to be larger than the average value of the overhang amount of the overhang portion in the region arranged between the region arranged at the center and the region arranged at both ends. May be.
  • Another aspect of the present disclosure is a vapor chamber in which a sealed space is formed and the working fluid is sealed in the space, and a plurality of condensates in which the liquid condensed by the working fluid flows in the sealed space A flow path and a vapor flow path through which the vapor of the working fluid flows.
  • the wall that separates the vapor flow path and the condensate flow path communicates the vapor flow path and the condensate flow path.
  • the vapor chamber is provided with a plurality of communication openings, which are openings, and the pitch of the plurality of communication openings is different in the direction in which the steam flow path extends.
  • the pitch of the communication openings in one region is divided into a plurality of regions so as to include a plurality of communication openings arranged in a direction along the steam flow path with respect to one region.
  • the average value of the pitch of the communication openings provided in the regions disposed at both ends is between the regions disposed at both ends. You may comprise so that it may become smaller than the average value of the pitch of the communicating opening part comprised in the center area
  • the average value of the pitch of the communication openings provided in the region disposed in the center and the region disposed at both ends are provided. So that the average value of the pitch of the communication openings is smaller than the average value of the pitch of the communication openings provided in the region arranged between the region arranged at the center and the region arranged at both ends. You may comprise.
  • Another aspect of the present disclosure is a vapor chamber in which a sealed space is formed, and the working fluid is sealed in the space, and a plurality of flow paths through which the working fluid flows are formed in the sealed space.
  • the width S a wall is at 20 ⁇ m or 300 ⁇ m or less, is in relation to the cross-sectional area of the cross section of the flow passage S B ( ⁇ m 2)
  • a vapor chamber in which a value obtained by dividing S A by S B is 0.005 ( ⁇ m ⁇ 1 ) or more and 0.04 ( ⁇ m ⁇ 1 ) or less.
  • the flow path has a plurality of condensate flow paths through which a liquid obtained by condensing the working fluid and a vapor flow path through which the vapor obtained by vaporizing the working fluid flows, and the wall portion is between adjacent condensate flow paths. It is good also as the formed wall part.
  • a groove may be formed on the surface of the condensate flow path.
  • the wall portion may have a plurality of openings that communicate with adjacent flow paths.
  • the openings may be provided so that the positions are different in the direction in which the flow path extends between adjacent walls.
  • an electronic device comprising a housing, an electronic component disposed inside the housing, and the vapor chamber disposed in contact with the electronic component directly or via another member. it can.
  • the heat transport capability can be increased.
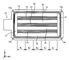
  • FIG. 1 is a perspective view of the vapor chamber 1.
  • FIG. 2 is an exploded perspective view of the vapor chamber 1.
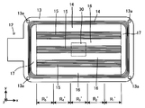
  • FIG. 3 is a perspective view of the first sheet 10.
  • FIG. 4 is a plan view of the first sheet 10.
  • FIG. 5 is a cut surface of the first sheet 10.
  • FIG. 6 is another cut surface of the first sheet 10.
  • FIG. 7 is another cut surface of the first sheet 10.
  • FIG. 8 is an enlarged view of a part of the outer peripheral liquid flow path portion 14 in plan view.
  • FIG. 9 is a diagram showing another form of wall and communication opening.
  • FIG. 10 is a diagram showing another form of wall and communication opening.
  • FIG. 11 is a diagram showing another form of wall and communication opening.
  • FIG. 12 is an enlarged view of a part of the peripheral liquid channel portion 14 of another example in plan view.
  • FIG. 13 is a cut surface focusing on the inner liquid flow path portion 15.
  • FIG. 14 is an enlarged view of a part of the inner liquid flow path portion 15 in plan view.
  • FIG. 15 is an enlarged view of a part of the inner liquid flow path portion 15 in plan view.
  • FIG. 16 is a diagram for explaining an example in which areas are divided differently.
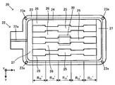
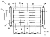
  • FIG. 17 is a perspective view of the second sheet 20.
  • FIG. 18 is a plan view of the second sheet 20.
  • FIG. 19 is a cut surface of the second sheet 20.
  • FIG. 20 is a cut surface of the second sheet 20.
  • FIG. 21 is another cut surface of the second sheet 20.
  • FIG. 22 is a plan view of the second sheet 20 according to the modification.
  • FIG. 17 is a perspective view of the second sheet 20.
  • FIG. 18 is a plan view of the second sheet 20.
  • FIG. 19 is a cut surface of the second sheet 20.
  • FIG. 20 is a cut surface of the second sheet 20.
  • FIG. 23 is a diagram for explaining an example of a different way of dividing the area.
  • FIG. 24 is a diagram for explaining an example of a different method of dividing the area.
  • FIG. 25 is a cut surface of the vapor chamber 1.
  • FIG. 26 is a cut surface of the vapor chamber 1.
  • FIG. 27 is an enlarged view of a part of FIG.
  • FIG. 28 is an enlarged view of a part of FIG.
  • FIG. 29 is an enlarged view of a part of the condensate channel 3 in plan view.
  • FIG. 30 is an enlarged view showing a part of the condensate flow path 3 in plan view.
  • FIG. 31 is a cut surface along the line indicated by I 13 -I 13 in FIG. FIG.
  • FIG. 32 is a cut surface of the wall portion 15 b and the two condensate flow paths 3.
  • FIG. 33 is a diagram for explaining the concept of durability of the wall portion.
  • FIG. 34 is a diagram for explaining the concept of durability of the wall.
  • FIG. 35 is a diagram for explaining another example.
  • FIG. 36 is a diagram for explaining another example.
  • FIG. 37 is a diagram for explaining another example.
  • FIG. 38 is a diagram for explaining another example.
  • FIG. 39 is an enlarged view of a part of a cross section of a vapor chamber according to a modification.
  • FIG. 40 is an enlarged view of a part of a cross section of a vapor chamber according to a modification.
  • FIG. 41 is a perspective view illustrating the electronic device 40.
  • FIG. 42 is a diagram showing an example of the arrangement of electronic components.
  • FIG. 43 is a diagram showing an example of the arrangement of electronic components.
  • FIG. 44 is a diagram showing another example of the arrangement of electronic components.
  • FIG. 45 is a diagram showing another example of the arrangement of electronic components.
  • FIG. 46 is a view for explaining the operation of the vapor chamber 1.
  • FIG. 47 is a perspective view of the vapor chamber 101.
  • FIG. 48 is an exploded perspective view of the vapor chamber 101.
  • FIG. 49 is a view of the third sheet 130 as viewed from the z direction.
  • FIG. 50 is a view as seen from the side opposite to FIG.
  • FIG. 51 is a cut surface of the third sheet 130.
  • FIG. 52 is another cut surface of the third sheet 130.
  • FIG. 53 is a cut surface focusing on the peripheral liquid flow path section 134.
  • FIG. 54 is a partially enlarged view of the outer peripheral liquid flow path portion 134 as viewed from the z direction.
  • FIG. 55 is a cut surface focusing on the inner liquid flow path portion 138.
  • FIG. 56 is a partially enlarged view of the inner liquid channel portion 138 as viewed from the z direction.
  • FIG. 57 is a cut surface of the vapor chamber 101.
  • FIG. 58 is another cut surface of the vapor chamber 101.
  • FIG. 59 is an enlarged view of a part of FIG.
  • FIG. 60 is an enlarged view of another part of FIG.
  • FIG. 61 is a cut surface of the wall portion 139 a and the two condensate flow paths 103.
  • FIG. 62 is a diagram for explaining the overhang portion 241.
  • FIG. 63 is a diagram for explaining the overhang portion 341.
  • FIG. 64 is a diagram illustrating the overhang portion 441.
  • FIG. 65 is a diagram illustrating the overhang portion 541.
  • FIG. 66 is a diagram illustrating the overhanging portion 641.
  • FIG. 67 is a diagram illustrating the overhang portion 741.
  • FIG. 1 is an external perspective view of the vapor chamber 1 according to the first embodiment
  • FIG. 2 is an exploded perspective view of the vapor chamber 1.
  • arrows (x, y, z) indicating directions orthogonal to each other may be shown for convenience.
  • the xy in-plane direction is a direction along the plate surface of the vapor chamber 1 having a flat plate shape
  • the z direction is a thickness direction.
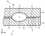
  • the vapor chamber 1 has a first sheet 10 and a second sheet 20 as can be seen from FIGS. Then, as will be described later, the first sheet 10 and the second sheet 20 are overlapped and bonded (diffusion bonding, brazing, etc.) to thereby provide a space between the first sheet 10 and the second sheet 20.
  • a sealed space 2 is formed in the closed space 2 (see, for example, FIG. 25), and a working fluid is sealed in the sealed space 2.
  • the first sheet 10 is a sheet-like member as a whole.
  • 3 is a perspective view of the first sheet 10 viewed from the inner surface 10a side
  • FIG. 4 is a plan view of the first sheet 10 viewed from the inner surface 10a side.
  • FIG. 5 shows a cut surface of the first sheet 10 when cut along I 1 -I 1 in FIG.
  • the cross section shown in FIG. 3 is the same in the region R 1 , the region R 2 , and the region R 3 , and therefore, only one figure is shown here.
  • the first sheet 10 includes an inner surface 10a, an outer surface 10b opposite to the inner surface 10a, and a side surface 10c that connects the inner surface 10a and the outer surface 10b to form a thickness, and the working fluid flows back to the inner surface 10a side.
  • a pattern for the flow path is formed.
  • the sealed space 2 is formed by overlapping the inner surface 10a of the first sheet 10 and the inner surface 20a of the second sheet 20 so as to face each other.
  • Such a first sheet 10 includes a main body 11 and an injection part 12.
  • the main body 11 has a sheet shape that forms a portion where the working fluid recirculates.
  • the main body 11 has a rectangular shape with a circular arc (so-called R) in plan view.
  • the injection part 12 is a part that injects the working fluid into the sealed space 2 (for example, see FIG. 25) formed by the first sheet 10 and the second sheet 20.
  • the injection portion 12 of the first sheet 10 is flat on both the inner surface 10a side and the outer surface 10b side.
  • the thickness of the first sheet 10 is not particularly limited, but is preferably 0.75 mm or less, may be 0.50 mm or less, and may be 0.2 mm or less. On the other hand, this thickness is preferably 0.02 mm or more, may be 0.05 mm or more, and may be 0.1 mm or more.
  • the thickness range may be determined by any one of the plurality of upper limit candidate values and one combination of the plurality of lower limit candidate values. Further, the thickness range may be determined by combining any two of a plurality of upper limit candidate values or by combining any two of a plurality of lower limit candidate values. Thereby, the scene which can be applied as a thin vapor chamber can be increased.
  • seat 10 is not specifically limited, It is preferable that it is a metal with high heat conductivity. Examples of this include copper and copper alloys. However, it is not always necessary to use a metal material. For example, ceramics such as AlN, Si 3 N 4 , or Al 2 O 3 , and resins such as polyimide and epoxy are also possible. Moreover, what laminated
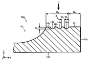
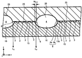
  • a structure for returning the working fluid is formed on the inner surface 10a side of the main body 11. Specifically, on the inner surface 10a side of the main body 11, an outer peripheral joint portion 13, an outer peripheral liquid flow passage portion 14, an inner liquid flow passage portion 15, a vapor flow passage groove 16, and a vapor flow passage communication groove 17 are provided. Configured.
  • the outer peripheral joint 13 is a part having a surface formed along the outer periphery of the main body 11 on the inner surface 10 a side of the main body 11.
  • the outer peripheral joint 13 is overlapped with the outer peripheral joint 23 of the second sheet 20 and joined (diffusion joining, brazing, etc.), thereby forming a sealed space 2 between the first sheet 10 and the second sheet 20.
  • the working fluid is sealed here.
  • the width W 1 is preferably less than 3mm, it may also be 2.5mm or less, may be 2.0mm or less. If the width W 1 is larger than 3 mm, the steam channel and the condensate flow path inner volume of the closed space is reduced there is a risk that can not be sufficiently secured. On the other hand, it is preferable that the width W 1 is 0.2mm or more, may also be 0.6mm or more, may be 0.8mm or more.
  • Range of the width W 1 may be any one of the candidate values of said plurality of upper limit may be determined by one combination of the candidate value of the plurality of lower limit. Further, the range of the width W 1 may combine any two of the candidate value of the plurality of upper or may be defined by any combination of two candidate values for the plurality of lower limit.
  • holes 13 a penetrating in the thickness direction (z direction) are provided at the four corners of the main body 11.
  • the hole 13a functions as a positioning means when overlapping with the second sheet 20.
  • the peripheral liquid flow path portion 14 functions as a liquid flow path portion, and constitutes a part of the condensate flow path 3 (see FIG. 25) that is a second flow path through which the working fluid is condensed and liquefied.
  • It is. 6 shows a portion indicated by an arrow I 2 in FIG. 5, and FIG. 7 shows a cut surface of a portion cut by I 3 -I 3 in FIG.
  • the cross-sectional shape of the outer periphery liquid flow path part 14 appears. Also it represents the enlarged diagram viewed from above the outer peripheral liquid flow path 14 seen from the direction indicated by the arrow I 4 in FIG. 6 in FIG. 8.
  • the outer peripheral liquid flow path portion 14 is formed along the inner side of the outer peripheral joint portion 13 in the inner surface 10 a of the main body 11, and is provided so as to be annular along the outer periphery of the sealed space 2. Yes. Further, the outer peripheral liquid flow path portion 14 is formed with a liquid flow path groove 14a which is a plurality of grooves extending in parallel with the outer peripheral direction of the main body 11, and the plurality of liquid flow path grooves 14a are formed by the liquid flow path grooves 14a. They are arranged at a predetermined interval in a direction different from the extending direction. Therefore, as can be seen from FIG. 6 and FIG.
  • the liquid flow channel groove 14a that is a recess in the cross section and the wall portion 14b that is between the liquid flow channel grooves 14a are formed with repeated irregularities. ing.
  • the liquid channel groove 14a is a groove, in the cross-sectional shape, the bottom is provided on the outer surface 10b side, and an opening is provided on the opposite inner surface 10a side facing the bottom.
  • each liquid flow channel groove 14a is reduced, and the condensate flow channel 3 (see FIG. 25) as the second flow channel. ) Can be used by reducing the cross-sectional area of the flow path.
  • the total flow cross-sectional area of the condensate flow channel 3 is ensured to have a suitable size, and a condensate having a necessary flow rate can flow.
  • the adjacent liquid flow path grooves 14a communicate with each other through a communication opening section 14c at a predetermined interval.
  • equalization of the amount of condensate is promoted between the plurality of liquid flow channel grooves 14a, the condensate can be efficiently flowed, and the working fluid can be smoothly circulated.
  • channel 16 which forms the steam flow path 4 connects the steam flow path 4 and the condensate flow path 3.
  • the end has a circular arc at the end and an R is formed at the corner to reduce the width of the end
  • FIG. 10 has a semicircular end. This is an example in which the width of the end portion is reduced
  • FIG. 11 is an example in which the end portion is tapered so as to be sharp.
  • the width of the end portion of the wall portion 14 b where the communication opening 14 c is formed is smaller than the maximum width (W 31 ) of the wall portion 14 b.
  • W 31 maximum width of the wall portion 14 b.
  • the end of the wall portion 14b is thinned in this way, so stress concentrates on the thinned portion and the wall portion 14b is easily destroyed.
  • the wall portion 14b is not broken and has sufficient durability.
  • the communication opening 14c is disposed so as to face the same position in the direction in which one liquid flow channel 14a extends.
  • the present invention is not limited to this.
  • the communication opening 14 c may be arranged at a different position in the direction in which one liquid channel groove 14 a extends. That is, in this case, the communication openings 14c are arranged in a so-called offset staggered arrangement.
  • the communication opening 14c does not appear simultaneously on both sides when viewed from the working fluid traveling in the condensate flow path 3, and the communication opening 14c appears.
  • at least one side surface always has a wall portion 14b.
  • a capillary force can be obtained continuously. Since the capillary force acting on the working fluid can be maintained high by offsetting from this point of view and forming the communication opening 14c, smoother reflux is possible. On the other hand, when the vapor chamber is not in operation, due to such a strong capillary force, more condensate tends to accumulate in the communication opening 14c than in the example of FIG. Then, as will be described later, when the working fluid freezes and the volume increases, a greater force is applied in the direction of separating the first sheet and the second sheet, that is, the direction of breaking the wall portion 14b. However, in this embodiment, this is the case, and the wall portion 14b has sufficient durability without being destroyed.
  • the end shape of the wall 14b can be configured in accordance with the examples of FIGS.
  • the outer peripheral liquid flow path portion 14 having the above-described configuration further has the following configuration. 4 to 7, the width of the outer peripheral liquid flow path portion 14 indicated by W 2 (the size in the direction in which the liquid flow path portions 14 a are arranged and the width at the joint surface with the second sheet 20) is the vapor chamber.
  • W 2 the width of the outer peripheral liquid flow path portion 14 indicated by W 2 (the size in the direction in which the liquid flow path portions 14 a are arranged and the width at the joint surface with the second sheet 20) is the vapor chamber.
  • the width W 2 is preferably at 3.0mm or less, it may also be 1.5mm or less, may be 1.0mm or less. Width W 2 is greater than 3.0mm when space for inner condensate channel and the steam flow path there is a risk that not enough taken.
  • the width W 2 is 0.1mm or more, may be 0.2mm or more, may be 0.4mm or more.
  • the amount of condensate width W 2 is refluxed 0.1mm smaller than the outside there is not sufficiently obtained fear.
  • Range of the width W 2 may be any one of the candidate values of said plurality of upper limit may be determined by one combination of the candidate value of the plurality of lower limit. Further, the range of the width W 2 may combine any two of the candidate value of the plurality of upper or may be defined by any combination of two candidate values for the plurality of lower limit.
  • the groove width shown in W 3 in FIG. 8 (liquid flow path groove 14a the size of the direction to be arranged, the width of the opening surface of the groove), it is 1000 ⁇ m or less Preferably, it may be 500 ⁇ m or less, or 300 ⁇ m or less. On the other hand, it is preferred that the groove width W 3 is 30 ⁇ m or more, may also be 40 ⁇ m or more, may be 60 ⁇ m or more. Range of the groove width W 3 being any one of the candidate values of said plurality of upper limit may be determined by one combination of the candidate value of the plurality of lower limit.
  • the range of the groove width W 3 being combine any two of the candidate value of the plurality of upper or may be defined by any combination of two candidate values for the plurality of lower limit.
  • the depth of the groove indicated by D 1 in FIG. 7 is preferably 200 ⁇ m or less, may also be 150 ⁇ m or less, may be 100 ⁇ m or less.
  • the depth D 1 is 5 ⁇ m or more, it may also be 10 ⁇ m or more, may be 20 ⁇ m or more.
  • Range of the depth D 1 is, any one of the candidate values of said plurality of upper limit may be determined by one combination of the candidate value of the plurality of lower limit.
  • the range of the depth D 1 combines any two of the candidate value of the plurality of upper or may be defined by any combination of two candidate values for the plurality of lower limit.
  • This ratio may be 1.5 or more, or 2.0 or more.
  • the aspect ratio may be smaller than 1.0.
  • This ratio may be 0.75 or less, and may be 0.5 or less.
  • W 3 is preferably larger than D 1 from the viewpoint of production, and the aspect ratio is preferably larger than 1.3 from this viewpoint.
  • the wall portion 14b, 6, 8 to a width shown by W 31 in FIG. 11 is, 300 [mu] m or less It is preferable that it is 200 micrometers or less, and 100 micrometers or less may be sufficient.
  • the width W 31 is preferably 20 ⁇ m or more, may be 30 ⁇ m or more, and may be 50 ⁇ m or more.
  • the range of the width W 31 may be determined by a combination of any one of the plurality of upper limit candidate values and one of the plurality of lower limit candidate values. Further, the range of the groove width W 31 may be determined by combining any two of a plurality of upper limit candidate values or by combining any two of a plurality of lower limit candidate values.
  • the cross-sectional shape of the liquid channel groove 14a is a semi-elliptical shape, but is not limited thereto, and is selected from a square, a rectangle, a square such as a trapezoid, a triangle, a semi-circle, a semi-circle at the bottom, or from these A plurality of shapes may be combined.
  • the pitch of the liquid flow path grooves 14a adjacent in the plurality of liquid flow path grooves 14a shown in P 1 is less than 1300 ⁇ m 8, may be less 700 .mu.m, even 400 ⁇ m or less Good.
  • the pitch P 1 is 50 ⁇ m or more, it may also be 70 ⁇ m or more, may be more than 110 [mu] m.
  • the scope of the pitch P 1 is any one of the candidate values of said plurality of upper limit may be determined by one combination of the candidate value of the plurality of lower limit. Further, the range of the pitch P 1 may be determined by combining any two of a plurality of upper limit candidate values or by combining any two of a plurality of lower limit candidate values. Thereby, it can suppress that a flow path is crushed by deform
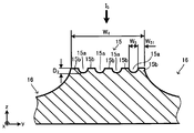
  • the inner liquid flow path portion 15 also functions as a liquid flow path portion, and is a part constituting a part of the condensate flow path 3 as a second flow path through which the working fluid is condensed and liquefied.
  • the Figure 13 shows the portion indicated by I 5 of FIG. Also in this figure, the cross-sectional shape of the inner liquid flow path portion 15 appears.
  • the inner liquid flow path portion 15 is formed inside the ring of the outer peripheral liquid flow path portion 14 that is annular in the inner surface 10 a of the main body 11.
  • the inner liquid flow path portion 15 of the present embodiment is a ridge extending in a direction (x direction) parallel to the long side of the main body 11 in a plan view rectangle.
  • Three) inner liquid flow path portions 15 are arranged at a predetermined interval in a direction (y direction) parallel to the short side.
  • Each inner liquid passage portion 15 is formed with a liquid passage groove 15a that is a groove parallel to the direction in which the inner liquid passage portion 15 extends, and a plurality of liquid passage grooves 15a are formed in the liquid passage groove. They are arranged at a predetermined interval in a direction different from the direction in which 15a extends. Therefore, as can be seen from FIGS. 5 and 13, in the inner liquid flow path portion 15, the liquid flow channel groove 15a that is a recess in the cross section and the wall portion 15b that is a partition wall between the liquid flow channel grooves 15a are repeatedly uneven. Is formed. Since the liquid channel groove 15a is a groove, in the cross-sectional shape thereof, the bottom portion is provided on the outer surface 10b side, and an opening is provided on the opposite inner surface 10a side facing the bottom portion.
  • each liquid flow channel groove 15a By providing a plurality of liquid flow channel grooves 15a in this way, the depth and width of each liquid flow channel groove 15a are reduced, and the condensate flow channel 3 (see FIG. 25) as the second flow channel is reduced. A large capillary force can be used by reducing the cross-sectional area of the channel.
  • the flow channel cross-sectional area of the condensate flow channel 3 as a whole is ensured to have a suitable size, and a necessary flow rate of the condensate can be flowed.
  • the longitudinal direction of the inner liquid flow path portion 15 has the following characteristics. As shown by R 1 , R 2 , and R 3 in FIG. However, in this embodiment, the region R 1 and the region R 3 have the same shape of the inner liquid channel portion 15, and the region of the inner liquid channel portion 15 in the region R 2 sandwiched between the region R 1 and the region R 3 R 1 has a shape different from that of the region R 3 .
  • FIG. 14 shows an enlarged view of the inner liquid flow path portion 15 in the region R 1 and the region R 3 as viewed in plan from the direction indicated by the arrow I 5 in FIG.
  • adjacent liquid flow path grooves 15 a communicate with each other through a communication opening 15 c provided at a predetermined interval.
  • equalization of the amount of condensate is promoted between the plurality of liquid flow channel grooves 15a, and the condensate can be efficiently flowed, so that the working fluid can be smoothly circulated.
  • the communication opening 15c provided in the wall portion 15b which is a partition wall adjacent to the steam channel groove 16 forming the steam channel 4 (see FIG. 25), connects the steam channel 4 and the condensate channel 3 to each other. Communicate. Therefore, the condensate produced in the steam channel 4 can be smoothly moved to the condensate channel 3 by configuring the communication opening 15c.
  • a plurality of communication openings 15 c arranged in the direction along the steam flow path 4 are included, so that the plurality of areas R 1 , R 2 , when divided into regions R 3, the pitch of the communication opening portion 15c in the region R 2 is one of the regions, the pitch of the communication opening portion 15c in the region R 1, region R 3 is a region of both adjacent to the region R 2 Has been bigger than.
  • the communication opening portion 15c which is adjacent to at least the steam flow passage 16 the pitch P of the communication opening portion 15c in the region R 2 as shown in FIG.
  • the pitch of the communication openings in the adjacent regions (region R 1 , region R 3 ) of the region (region R 2 ) where the pitch of the communication openings is long is smaller than the pitch of the communication openings in the region R 2 between them. It is comprised so that it may become. Thereby, as will be described later, in the region (region R 2 ) where the pitch of the communication openings is long, the contact between the working fluid and the first sheet is greater than the region (region R 1 , region R 3 ) adjacent thereto.
  • the working fluid is less likely to be condensed and evaporated. Therefore, for example, when the region R 1 is an evaporation unit in which the heat source is disposed, it is possible to prevent the vapor from condensing in the region R 2 and blocking the vapor flow path, and the region R 3 separated from the heat source. Steam can be moved up to. Further, for example, a region R 1 evaporator section when the (heat receiving portion, the heat source portion to be disposed), the working fluid will evaporate in the region R 2, insufficient condensate in the region R 1 is evaporation portion Can be prevented.
  • the pitch (P R1 ) of the communication openings in the region R 1 and the region R 3 is the same.
  • the pitch is not limited to this, and the pitch of the communication openings in the region R 1 and the region R 3 is different. It may be.
  • the pitch of the communication opening portion of the region R 1 and the region R 3 may be smaller than the pitch of the communication opening portion of the region R 2.
  • the size and ratio of the region R 1 , the region R 2 , and the region R 3 are not particularly limited and can be set as appropriate.
  • one of the region R 1 and the region R 3 can be set as an evaporation unit (a heat receiving unit, and sites) which is a cooling target heat source is disposed, the other region R 1 and the region R 3 as a cooling unit, that between them a region R 2 considered transport unit, to a size suitable for each region in this preferable. Therefore, (one region R 1 and the region R 3) is the evaporating area is more than the size Satoshi heat source is a subject to be cooled, (the other region R 1 and the region R 3) cooling section and region also evaporated The area can be the same size as the part area.
  • the present invention is not limited to this, and the pitch of the communication openings may change even in the same area.
  • the total length of one inner liquid flow path portion 15 is considered to be divided into three areas, and the average value of the pitch of the communication openings adjacent to the vapor flow path grooves is calculated for each area.
  • the average value of the pitch of the communication openings is larger than the average value of the pitch of the communication openings of the regions at both ends (the average value of the pitch of the communication openings of the regions of both ends is the communication opening of the center region) So as to be smaller than the average value of the pitch).
  • three equal parts may be considered.
  • the area is divided into three areas.
  • one of the regions arranged at both ends is an evaporation unit (heat receiving unit) and the other is a cooling unit.
  • it can be divided into five regions. Divided into regions R 1 'to region R 5' according to this, the central region R 3 ', and a region R 1 of the opposite ends', the average value of the pitch of the communicating opening is provided in the region R 5' is, regions Than the average value of the pitch of the communication openings provided in the region R 2 ′ between the R 1 ′ and the region R 3 ′ and the region R 4 ′ between the region R 3 ′ and the region R 5 ′.
  • the heat source to be cooled is disposed with the central region R 3 ′ as the evaporation portion (heat receiving portion), and the regions R 1 ′ and R 5 ′ at both ends are the cooling portions.
  • the pitches of the plurality of communication openings are different in the direction in which the inner liquid flow path portion extends.
  • the width of the inner liquid flow path portion 15 is smaller than the maximum width of the wall portion 15b with respect to the wall portion 15b in accordance with the example of FIGS. 9 to 11 at the end where the communication opening 15c is formed. You may make it form like this. Accordingly, the working fluid can easily move through the communication opening 15c, and the working fluid can be smoothly circulated. On the other hand, when the vapor chamber is not in operation, the working fluid accumulated in the vicinity of the communication opening 15c is frozen to increase the volume, as will be described later. At that time, when a force acting in the direction of separating the first sheet and the second sheet is applied, the end of the wall 15b is thinned in this way, so stress concentrates on the thinned portion and the wall 15b is easily destroyed. However, in this embodiment, even in such a case, the wall portion 15b has sufficient durability without being destroyed.
  • the communication openings 15c may be arranged in an offset so-called staggered arrangement in the same manner as the communication opening 14c. Even when the communication openings 15c are offset and arranged in this manner, the shape of the end of the wall 15b can be configured in accordance with the example of FIGS.
  • the inner liquid flow path part 15 provided with the above configuration further includes the following configuration. 4, 5, and 13, the width of the inner liquid passage portion 15 indicated by W 4 (the size in the direction in which the inner liquid passage portion 15 and the vapor passage groove 16 are arranged, and the second sheet 20 and ) Is preferably 3000 ⁇ m or less, may be 1500 ⁇ m or less, and may be 1000 ⁇ m or less.
  • the width W 4 is preferably 100 ⁇ m or more, may be 200 ⁇ m or more, and may be 400 ⁇ m or more.
  • the scope of the width W 4 is any one of the candidate values of said plurality of upper limit may be determined by one combination of the candidate value of the plurality of lower limit.
  • the range of the width W 4 combines any two of the candidate value of the plurality of upper or may be defined by any combination of two candidate values for the plurality of lower limit.
  • the arrangement pitch of the inner fluid passage section 15 shown in P 2 in FIG. 5 is preferably not more than 4000 .mu.m, may be less 3000 .mu.m, it may be not more than 2000 .mu.m.
  • the pitch P 2 is 200 ⁇ m or more, it may also be 400 ⁇ m or more, or may be more than 800 [mu] m.
  • the scope of the pitch P 2 is any one of the candidate values of said plurality of upper limit may be determined by one combination of the candidate value of the plurality of lower limit.
  • the range of the pitch P 2 combines any two of the candidate value of the plurality of upper or may be defined by any combination of two candidate values for the plurality of lower limit. Thereby, the channel resistance of the steam channel can be lowered, and the movement of the steam and the reflux of the condensate can be performed in a balanced manner.
  • liquid flow path grooves 15a (the size in the direction where the liquid flow path grooves 15a are arranged, the width of the opening surface of the groove) groove width shown in the W 5 in FIGS. 13 to 15, it is 1000 ⁇ m or less Is preferably 500 ⁇ m or less, or 300 ⁇ m or less. On the other hand, it is preferable that the groove width W 5 is 30 ⁇ m or more, it may also be 40 ⁇ m or more, may be 60 ⁇ m or more.
  • the scope of the width W 5 is any one of the candidate values of said plurality of upper limit may be determined by one combination of the candidate value of the plurality of lower limit.
  • the range of the width W 5 may combine any two of the candidate value of the plurality of upper or may be defined by any combination of two candidate values for the plurality of lower limit.
  • the depth of the groove indicated by D 2 in FIG. 13 is preferably 200 ⁇ m or less, may also be 150 ⁇ m or less, it may be 100 ⁇ m or less. On the other hand, it is preferable that the depth D 2 is 5 ⁇ m or more, it may also be 10 ⁇ m or more, may be 20 ⁇ m or more.
  • the depth D 2 ranges, any one of the candidate values of said plurality of upper limit may be determined by one combination of the candidate value of the plurality of lower limit.
  • the range of the depth D 2 combines any two of the candidate value of the plurality of upper or may be defined by any combination of two candidate values for the plurality of lower limit. Thereby, the capillary force of the condensate flow path necessary for reflux can be exerted strongly.
  • the aspect ratio (aspect ratio) in the represented passage cross section divided by the depth D 2 of the width W 5, preferably greater than 1.0 . It may be 1.5 or more, or 2.0 or more. Or it may be smaller than 1.0, may be 0.75 or less, and may be 0.5 or less.
  • the width W 5 is preferably larger than the depth D 2 from the viewpoint of manufacturing, and the aspect ratio is preferably larger than 1.3 from this viewpoint.
  • the wall portion 15b, 13 to the width shown by W 51 in FIG. 15 (in the direction in which the wall portion 15b is arranged size, width of the inner surface 10a side portion of the wall portion 15b), it is 300 ⁇ m or less Is preferably 200 ⁇ m or less, or 100 ⁇ m or less.
  • the width W 51 is preferably 20 ⁇ m or more, may be 30 ⁇ m or more, and may be 50 ⁇ m or more. If this width is smaller than 20 ⁇ m, the working fluid is likely to be broken due to repeated freezing and melting. There is a possibility that the smooth communication of the fluid is hindered.
  • the range of the width W 51 may be determined by a combination of any one of the plurality of upper limit candidate values and one of the plurality of lower limit candidate values. Further, the range of the groove width W 51 may be determined by combining any two of a plurality of upper limit candidate values or by combining any two of a plurality of lower limit candidate values.
  • the cross-sectional shape of the liquid flow channel 15a is a semi-elliptical shape, but is not limited to this, a square, a rectangle, a quadrangle such as a trapezoid, a triangle, a semi-circle, a bottom semi-circular, a bottom semi-elliptical And the shape which combined these may be sufficient.
  • the pitch of the liquid flow path grooves 15a adjacent indicated by P 3 in FIG. 15, is preferably not more than 1300 [mu] m, may be less 700 .mu.m, it may be 400 ⁇ m or less.
  • the pitch P 3 is 50 ⁇ m or more, it may also be 70 ⁇ m or more, may be more than 110 [mu] m.
  • the scope of the pitch P 3 is any one of the candidate values of said plurality of upper limit may be determined by one combination of the candidate value of the plurality of lower limit.
  • the range of the pitch P 3 combines any two of the candidate value of the plurality of upper or may be defined by any combination of two candidate values for the plurality of lower limit. Thereby, it is possible to prevent the flow path from being crushed due to deformation during joining or assembly while increasing the density of the condensate flow path.
  • the size of the communication opening portion along the direction in which the liquid flow path groove 15a shown extend by L 1 in FIG. 15 is preferably not more than 1100 .mu.m, even less 550 ⁇ m It may be 220 ⁇ m or less. On the other hand, it is preferable that the size L 1 is 30 ⁇ m or more, may be more than 55 .mu.m, it may be 70 ⁇ m or more.
  • the size L 1 of the range, any one of the candidate values of said plurality of upper limit may be determined by one combination of the candidate value of the plurality of lower limit. Further, the range of sizes L 1 combines any two of the candidate value of the plurality of upper or may be defined by any combination of two candidate values for the plurality of lower limit.
  • the pitch of the adjacent communication openings 15c indicated by PR1 and PR2 in FIGS. 14 and 15 in the direction in which the liquid flow channel groove 15a extends has the relationship as described above.
  • the pitches P R1 and P R2 are preferably 2700 ⁇ m or less, may be 1800 ⁇ m or less, and may be 900 ⁇ m or less.
  • the pitches P R1 and P R2 are preferably 60 ⁇ m or more, 110 ⁇ m or more, or 140 ⁇ m or more.
  • the range of the pitches PR1 , PR2 may be determined by a combination of any one of the plurality of upper limit candidate values and one of the plurality of lower limit candidate values.
  • the ranges of the pitches PR1 , PR2 may be determined by combining any two of a plurality of upper limit candidate values or by combining any two of a plurality of lower limit candidate values.
  • aspects of the communication opening portion 15c, the size L 1, and for the pitch P R1 and P R2 of the communication opening 15c can be considered similarly for communication opening portion 14c of the peripheral liquid flow path portions 14 .
  • liquid flow channel groove 14a and the liquid flow channel groove 15a of the present embodiment described above are spaced apart from each other at an equal interval and are arranged in parallel to each other.
  • the present invention is not limited to this, and the groove can be used if a capillary action can be achieved. The pitch between them may vary, and the grooves do not have to be parallel.
  • the vapor channel groove 16 is a portion through which vapor vaporized by evaporation of the working fluid passes and constitutes a part of the vapor channel 4 that is the first channel.
  • FIG. 4 shows the shape of the steam channel groove 16 in plan view
  • FIG. 5 shows the cross-sectional shape of the steam channel groove 16.
  • the steam channel groove 16 is constituted by a groove formed on the inner side of the inner surface 10a of the main body 11 inside the ring of the outer peripheral liquid channel portion 14 that is annular.
  • the steam channel groove 16 of the present embodiment is formed between the adjacent inner liquid channel portions 15 and between the outer peripheral liquid channel portion 14 and the inner liquid channel portion 15, and is a plan view of the main body 11. It is a rectangular groove extending in a direction parallel to the long side (x direction). A plurality (four in this embodiment) of steam flow channel 16 are arranged in a direction (y direction) parallel to the short side. Therefore, as can be seen from FIG.
  • the first sheet 10 is repeatedly uneven in the y direction, with the outer peripheral liquid flow path portion 14 and the inner liquid flow path portion 15 as ridges and the vapor flow path groove 16 as a ridge. It has a different shape.
  • the steam channel groove 16 is a groove, in the cross-sectional shape thereof, an opening is provided on the bottom portion on the outer surface 10b side and on the opposite inner surface 10a side facing the bottom portion.
  • the steam channel groove 16 having such a configuration can further have the following configuration. 4 (in the direction in which the inner fluid flow passage 15 and the steam channel 16 is arranged size, width of the opening surface of the groove) width of the steam flow passage 16 shown in W 6 in Figure 5, at least
  • the liquid passage groove 14a and the liquid passage groove 15a are formed larger than the width W 3 and the width W 5 and are preferably 2000 ⁇ m or less, may be 1500 ⁇ m or less, and may be 1000 ⁇ m or less.
  • the width W 6 is preferably 100 ⁇ m or more, 200 ⁇ m or more, or 400 ⁇ m or more.
  • the range of the width W 6 may be determined by a combination of any one of the plurality of upper limit candidate values and one of the plurality of lower limit candidate values. Further, the range of the width W 6 may be determined by combining any two of a plurality of upper limit candidate values or by combining any two of a plurality of lower limit candidate values. In general, the pitch of the steam channel grooves 16 is determined by the pitch of the inner liquid channel portion 15.
  • the depth of the steam flow passage 16 shown in D 3 in FIG. 5, at least the above-mentioned liquid flow path groove 14a, the depth D 1 of the liquid flow path grooves 15a, is larger than the depth D 2, 300 [mu] m Is preferably 200 ⁇ m or less, or 100 ⁇ m or less.
  • the depth D 3 is 10 ⁇ m or more, it may also be 25 ⁇ m or more, may be 50 ⁇ m or more.
  • the depth range of D 3 is any one of the candidate values of said plurality of upper limit may be determined by one combination of the candidate value of the plurality of lower limit.
  • the range of the depth D 3 combines any two of the candidate value of the plurality of upper or may be defined by any combination of two candidate values for the plurality of lower limit. In this way, by making the flow channel cross-sectional area of the vapor flow channel groove larger than that of the liquid flow channel groove, the vapor having a volume larger than that of the condensate can be smoothly refluxed due to the nature of the working fluid.
  • the width of the steam channel 4 is high (size in the thickness direction). It can comprise so that it may become a larger flat shape. Therefore, the aspect ratio that is a value obtained by dividing W 6 by D 6 can be 4.0 or more, and may be 8.0 or more.
  • the cross-sectional shape of the steam channel groove 16 is a semi-elliptical shape.
  • the shape which combined any two or more may be sufficient. Since the steam flow path can smoothly return the working fluid by reducing the flow resistance of the steam, the shape of the cross section of the flow path can be determined from this viewpoint.
  • the steam channel communication groove 17 is a groove that communicates the plurality of steam channel grooves 16 at their ends.
  • the vapors in the plurality of vapor flow channel grooves 16 are equalized, or the vapor is conveyed to a wider range, and the condensate flow channel 3 by the many liquid flow channel grooves 14a and the liquid flow channel grooves 15a is efficiently used. It becomes possible to use well. As a result, the working fluid can be more smoothly recirculated.
  • the steam channel communication groove 17 of this embodiment includes both end portions in the direction in which the inner liquid channel portion 15 extends, both end portions in the direction in which the steam channel groove 16 extends, and the outer peripheral liquid flow. It is formed between the path portion 14.
  • FIG. 7 shows a cross section orthogonal to the direction of communication of the steam flow path communication groove 17. Note that the boundary between the steam flow path communication groove 17 and the steam flow path 16 is not necessarily formed by a shape, and therefore the boundary is shown by a dotted line in FIGS. 3 and 4 for easy understanding.
  • the steam channel communication groove 17 only needs to be formed so that adjacent steam channel grooves 16 communicate with each other, and the shape thereof is not particularly limited.
  • the steam channel communication groove 17 may have the following configuration. . 4 and 7, the width of the steam flow channel communication groove 17 indicated by W 7 (the size in the direction orthogonal to the communication direction and the width of the groove opening surface) is preferably 1000 ⁇ m or less, It may be 750 ⁇ m or less and may be 500 ⁇ m or less.
  • the width W 7 is preferably 100 ⁇ m or more, may be 150 ⁇ m or more, and may be 200 ⁇ m or more.
  • the range of the width W 7 may be determined by a combination of any one of the plurality of upper limit candidate values and one of the plurality of lower limit candidate values.
  • the range of the width W 7 may be determined by combining any two of a plurality of upper limit candidate values or by combining any two of a plurality of lower limit candidate values.
  • the depth of the steam flow path communicating groove 17 shown in D 4 in FIG. 7 is preferably 300 ⁇ m or less, may also be 200 ⁇ m or less, it may be 100 ⁇ m or less. On the other hand, it is preferable that the depth D 4 is 10 ⁇ m or more, it may also be 25 ⁇ m or more, may be 50 ⁇ m or more.
  • the depth range of the D 4 is, any one of the candidate values of said plurality of upper limit may be determined by one combination of the candidate value of the plurality of lower limit. Further, the range of the depth D 4 combines any two of the candidate value of the plurality of upper or may be defined by any combination of two candidate values for the plurality of lower limit. As it may be the same as the depth D 3 of the steam flow passage 16 among. This facilitates manufacturing.
  • the cross-sectional shape of the steam flow passage communication groove 17 is a semi-elliptical shape, but is not limited to this, a square, a rectangle, a square shape such as a trapezoid, a triangle, a semi-circular shape, a semi-circular shape at the bottom, a semi-elliptical shape at the bottom, Alternatively, the shape may be a combination of some of these. Since the steam flow passage groove can reduce the flow resistance of the steam, the working fluid can be smoothly recirculated, so that the shape of the cross section of the flow path can be determined from this viewpoint.
  • the second sheet 20 is also a sheet-like member as a whole.
  • 17 is a perspective view of the second sheet 20 viewed from the inner surface 20a side
  • FIG. 18 is a plan view of the second sheet 20 viewed from the inner surface 20a side.
  • FIG. 19 shows a cut surface cut along I 6 -I 6 in FIG. 18, and
  • FIG. 20 shows a cut surface cut along I 7 -I 7 in FIG. Since the second sheet 20 can also be divided into three regions R 11 , R 12 , and R 13 ,
  • FIG. 19 is a cross section in the regions R 11 and R 13 indicated by I 6 -I 6 in FIG.
  • FIG. 18 shows cut surfaces in the region R 12 indicated by I 7 -I 7 in FIG.
  • FIG. 21 shows a cut surface of the second sheet 20 when cut at I 8 -I 8 in FIG.
  • the second sheet 20 includes an inner surface 20a, an outer surface 20b opposite to the inner surface 20a, and a side surface 20c that connects the inner surface 20a and the outer surface 20b to form a thickness, and a pattern in which the working fluid flows back to the inner surface 20a side. Is formed. As will be described later, a sealed space is formed by overlapping the inner surface 20a of the second sheet 20 and the inner surface 10a of the first sheet 10 so as to face each other.
  • Such a second sheet 20 includes a main body 21 and an injection part 22.
  • the main body 21 is a sheet-like part that forms a part where the working fluid recirculates.
  • the main body 21 has a rectangular shape with a circular arc (so-called R) in plan view.
  • the injection part 22 is a part that injects the working fluid into the sealed space 2 (see FIG. 25) formed by the first sheet 10 and the second sheet 20, and in this embodiment, the side that is rectangular in plan view of the main body 21 It is a sheet shape of a quadrangle in a plan view protruding from.
  • the injection groove 22a is formed on the inner surface 20a side of the injection portion 22 of the second sheet 20, and communicates from the side surface 20c of the second sheet 20 to the inside of the main body 21 (site to be the sealed space 2). ing.
  • the thickness of the second sheet 20 and the constituent material can be considered in the same manner as the first sheet 10. However, the first sheet 10 and the second sheet 20 do not necessarily have the same thickness and material.
  • a structure for circulating the working fluid is formed on the inner surface 20a side of the main body 21. Specifically, on the inner surface 20a side of the main body 21, an outer peripheral joint portion 23, an outer peripheral liquid flow passage portion 24, an inner liquid flow passage portion 25, a vapor flow passage groove 26, and a vapor flow passage communication groove 27 are provided. ing.
  • the outer peripheral joint portion 23 is a surface provided on the inner surface 20 a side of the main body 21 along the outer periphery of the main body 21.
  • the outer peripheral joint 23 is overlapped with the outer peripheral joint 13 of the first sheet 10 and bonded (diffusion bonding, brazing, etc.) to form a sealed space 2 between the first sheet 10 and the second sheet 20.
  • the working fluid is enclosed here. Width of 18 to the outer peripheral joint 23 shown in W 8 in FIG. 21 may be different even the same as the width W 1 of the outer joint portion 13 of the body 11 of the first sheet 10 described above.
  • holes 23a penetrating in the thickness direction (z direction) are provided at the four corners of the main body 21.
  • the hole 23a functions as a positioning means when overlapping with the first sheet 10.
  • the outer peripheral liquid flow path portion 24 is a liquid flow path portion and constitutes a part of the condensate flow path 3 that is a second flow path through which the working fluid is condensed and liquefied.
  • the outer peripheral liquid flow path portion 24 is provided so as to form an annular shape along the outer periphery of the sealed space 2 along the inner side of the outer peripheral joint portion 23 in the inner surface 20 a of the main body 21.
  • the outer peripheral liquid flow path portion 24 of the second sheet 20 is flush with the outer peripheral joint portion 23 as can be seen from FIGS. 19 to 21.
  • the condensate flow path 3 is formed by closing at least some of the liquid flow path grooves 14 a of the plurality of liquid flow path grooves 14 a of the first sheet 10. Detailed aspects regarding the combination of the first sheet 10 and the second sheet 20 will be described later.
  • Width W 9 of the outer fluid passage section 24 shown in FIGS. 18 to 21 in this embodiment is made of the same size as the width W 2 of the outer liquid flow path portion 14 of the first sheet 10.
  • the inner liquid flow path portion 25 is also a liquid flow path portion, and is one part constituting the condensate flow path 3 that is the second flow path.
  • the inner liquid flow path portion 25 is provided on the inner side 20 a of the main body 21 inside the annular ring of the outer peripheral liquid flow path portion 24.
  • the inner liquid flow path portion 25 of the present embodiment is a ridge extending in a direction parallel to the long side (x direction) in a rectangular shape in plan view of the main body 21, and a plurality (three in the present embodiment) of inner liquid flow path portions 25. Are arranged at a predetermined interval in a direction parallel to the short side (y direction).
  • each inner liquid flow path portion 25 is formed so that the surface on the inner surface 20a side becomes a flat surface before joining to the first sheet 10.
  • the condensate flow path 3 that is the second flow path is formed by closing at least some of the liquid flow path grooves 15a of the plurality of liquid flow path grooves 15a of the first sheet 10 described above.
  • the longitudinal direction of the inner liquid flow path portion 25 has the following characteristics. As indicated by R 11 , R 12 , and R 13 in FIG. In this embodiment, the region R 11 and the region R 13 have the same shape of the inner liquid flow path portion 25, and the region R 12 sandwiched between the region R 11 and the region R 13 is the region R 11 and the region R 13. The shape of the inner liquid flow path portion is different.
  • the width W 10 and the width W 11 of the inner liquid flow path portion 25 in this embodiment shown in FIGS. 19 and 20 are both larger than the width W 4 of the inner liquid flow path portion 15 of the first sheet 10. It is formed to be large. Thereby, the overhang
  • the width W 11 of the inner liquid flow path portion 25 in the region R 12 is configured to be smaller than the width W 10 of the region R 11 and the region R 13.
  • the width of the inner liquid channel portion in one region is the width of the inner liquid channel portion in both regions adjacent to the one region. It is comprised so that it may become smaller.
  • the region adjacent to the region (region R 11 , region R 13 ) is larger than the region adjacent to this.
  • the protruding amount of the portion 6 is reduced, the contact area between the working fluid and the second sheet and the contact area between the steam and the condensate are reduced, and the working fluid is less likely to condense and evaporate. Therefore, for example, in the case where the area R 11 heat source was evaporated portion arranged, vapor is prevented from steam flow path is closed by the condensate in the region R 12, vapor to the region R 13 spaced from the heat source Can be moved. Further, for example, evaporation unit regions R 11 is taken as (the heat receiving portion, the heat source portion to be disposed), the working fluid will evaporate at regions R 12, lack of condensate in the region R 11 is evaporated portion Can be prevented. Thereby, smooth recirculation
  • the width (W 10 ) of the region R 11 and the region R 13 is the same in the inner liquid channel portion 25, but is not limited thereto, and the inner liquid channel in the region R 11 and the region R 13 is not limited thereto.
  • the widths of the parts may be different.
  • the width of the inner fluid passage section in the region R 11 and the region R 13 in terms of the present embodiment may be larger than the width of the inner liquid channel of the region R 12.
  • the size and ratio of the region R 11 , the region R 12 , and the region R 13 are not particularly limited and can be set as appropriate.
  • one of the region R 11 and the region R 13 can be set as an evaporation unit (heat receiving unit, and sites) which is a cooling target heat source is arranged, the other regions R 11 and region R 13 as a cooling section, that the intervening area R 12 considered transport unit, to a size suitable for each region in this it can. Therefore, (one region R 11 and region R 13) is the evaporating area is more than the size Satoshi heat source is a subject to be cooled, (the other region R 11 and region R 13) is a cooling region also evaporated The area can be the same size as the part area.
  • the present invention is not limited to this, and as shown in FIG. It may be a form in which the width is not constant but changes.
  • the total length of one inner liquid channel portion 25 is considered to be divided into three regions (region R 11 , region R 12 , region R 13 ), and the average value of the width of the inner liquid channel portion for each region.
  • the average value of the width of the inner liquid flow path portion in the central region (region R 12 ) is larger than the average value of the width of the inner liquid flow channel portion in the regions (region R 11 , region R 13 ) at both ends. What is necessary is just to comprise so that it may become small.
  • three equal parts may be considered.
  • the same city as the length of the region R 11 describes the length of the region R 1 described in the first sheet 10 in the second sheet 20, similarly the length of the region R 2 of the region R 12 length And the length of the region R 3 is the same as the length of the region R 13 . According to this, the effect by the difference regarding the pitch of the above-mentioned communicating opening part 15c and the effect by the difference regarding the width
  • the present invention is not limited to this, and the region R 1 and the region R 11 , the region R 2 and the region R 12 , and the region R 3 and the region R 13 may be set individually without being associated with each other. Further, even if only one of the above-described difference structure related to the pitch of the communication openings 15c and the difference structure related to the width (extension amount) of the inner liquid flow path portion 25, the effect is obtained independently.
  • the vapor chamber may have only one of the structures. That is, for example, the pitch of the communication openings 15c may be the same in all regions, and the inner liquid flow path portion may have a vapor chamber having a different form (width) (extension amount) depending on the region.
  • the vapor chamber may have a configuration in which the pitch of the portion 15c varies depending on the region, and the width (the amount of protrusion) of the inner liquid flow path portion is the same in all regions.
  • the average value of the width of the inner liquid channel portion which is provided in the region R 15' is ,
  • the five regions for example, five equal parts can be considered. In this case, it is assumed that the heat source to be cooled is disposed with the central region R 13 ′ as the evaporation unit (heat receiving unit), and the region R 11 ′ and the region R 15 ′ at both ends are used as the cooling unit.
  • the width of the inner liquid channel portion is different in the direction in which the inner liquid channel portion extends.
  • the steam channel groove 26 is a portion through which vapor vaporized by evaporation of the working fluid passes, and constitutes a part of the steam channel 4 that is the first channel.
  • 18 shows the shape of the steam channel groove 26 in plan view
  • FIGS. 19 and 20 show the cross-sectional shape of the steam channel groove 26, respectively.
  • the steam flow path groove 26 is constituted by a groove formed on the inner side 20a of the main body 21 inside the ring of the outer peripheral liquid flow path portion 24 that is annular.
  • the steam channel groove 26 of the present embodiment is formed between the adjacent inner liquid channel portions 25 and between the outer peripheral liquid channel portion 24 and the inner liquid channel portion 25, and is a plan view of the main body 21. It is a rectangular groove extending in a direction parallel to the long side (x direction). A plurality (four in this embodiment) of steam flow channel grooves 26 are arranged in a direction (y direction) parallel to the short side.
  • the second sheet 20 is formed with protrusions that protrude from the outer peripheral liquid flow path portion 24 and the inner liquid flow path portion 25 in the y direction, and grooves that are recessed from the vapor flow path groove 26 are formed. , These irregularities have a repeated shape.
  • the steam channel groove 26 is a groove, in the cross-sectional shape thereof, the bottom portion is provided on the outer surface 20b side, and an opening is provided on the opposite inner surface 20a side facing the bottom portion.
  • the steam channel groove 26 is preferably disposed at a position overlapping the steam channel groove 16 of the first sheet 10 in the thickness direction when combined with the first sheet 10. Thereby, the steam channel 4 can be formed by the steam channel groove 16 and the steam channel groove 26.
  • the width W 12 and the width W 13 of any steam flow channel 26 shown in FIGS. 19 and 20 are configured to be smaller than the width W 6 of the steam flow channel 16 of the first sheet 10. .
  • the width varies depending on the region R 11 , the region R 12 , and the region R 13 described in the inner liquid flow path portion 25. Specifically, wider W 13 of the steam flow path groove 26 in the narrow region R 12 of the inner fluid flow path portion 25, the region R 11 of the neighboring, width W 12 in the region R 13 is than the width W 13 Is also getting smaller.
  • the depth of the steam flow path groove 26 shown in D 5 in FIG. 20 is preferably 300 ⁇ m or less, may also be 200 ⁇ m or less, may be 100 ⁇ m or less.
  • the depth D 5 is 10 ⁇ m or more, it may also be 25 ⁇ m or more, may be 50 ⁇ m or more.
  • the depth range of the D 5 is, any one of the candidate values of said plurality of upper limit may be determined by one combination of the candidate value of the plurality of lower limit.
  • the range of the depth D 5 combines any two of the candidate value of the plurality of upper or may be defined by any combination of two candidate values for the plurality of lower limit. Further, the depth of the steam passage groove 16 of the first sheet 10 and the depth of the steam passage groove 26 of the second sheet 20 may be the same, and may be large or small.
  • the steam channel groove 26 has a high width (size in the thickness direction). It is preferable that it is comprised so that it may become a flat shape larger than this. Therefore, the aspect ratio represented by a value obtained by dividing W 12 by D 5 and a value obtained by dividing W 13 by D 5 can be 4.0 or more, and may be 8.0 or more.
  • the cross-sectional shape of the steam channel groove 26 is a semi-elliptical shape, but a square, a rectangle, a trapezoid, or the like, a triangle, a semi-circle, a bottom semi-circular, a bottom semi-elliptical, or any one of these The shape which combined these may be sufficient.
  • the steam channel communication groove 27 is a groove that allows the plurality of steam channel grooves 26 to communicate with each other. As a result, the vapors of the plurality of vapor channels 4 are equalized, or the vapors are transported to a wider range, so that many condensate channels 3 can be used efficiently. The reflux can be made smoother.
  • the steam channel communication groove 27 of this embodiment includes both end portions in the direction in which the inner liquid channel portion 25 extends, both end portions in the direction in which the steam channel groove 26 extends, and the outer peripheral liquid flow. It is formed between the path portion 24. Further, FIG. 21 shows a cross section orthogonal to the direction of communication of the steam flow path communication groove 27.
  • the width of the steam flow path communication groove 27 indicated by W 14 in FIGS. 18 and 21 is not particularly limited, and may be the same as the width W 7 of the steam flow path communication groove 17 of the first sheet 10. And may be different.
  • the width W 14 and the width W 7 in different sizes the step is formed in the flow path by the steam path communicating grooves 17 and the steam channel communicating groove 27, which movement of the condensate is promoted by capillary forces by Therefore, the working fluid can be recirculated more smoothly.
  • the range of the size of the width W 14 can be considered similarly to the width W 7 . Further, the depth range of the steam flow path communication groove 27 indicated by D 6 in FIG. 21 can be considered in the same manner as the depth D 4 of the steam flow path communication groove 17 of the first sheet 10.
  • the cross-sectional shape of the steam flow path communication groove 27 is a semi-elliptical shape, but is not limited to this, a square, a rectangle, a quadrangle such as a trapezoid, a triangle, a semi-circular shape, a semi-circular shape at the bottom, a semi-elliptical shape at the bottom, or The shape may be a combination of any of these.
  • FIG. 25 shows a cut surface obtained by cutting the vapor chamber 1 in the thickness direction along the y direction indicated by I 9 -I 9 in FIG. 1
  • FIG. 26 shows I 10 -I 10 in FIG.
  • FIG. 25 is a cut surface in the region R 1 and the region R 11 and the region R 3 and the region R 13
  • FIG. 26 is a cut surface in the region R 2 and the region R 12 .
  • FIG. 5 is an enlarged view of a part of FIG. 25
  • FIG. 28 is an enlarged view of a part of FIG. 29 shows a cross-sectional view taken along the arrow I 11 -I 11 shown in FIG. 27, and
  • FIG. 30 shows a cross-sectional view taken along the arrow I 12 -I 12 shown in FIG.
  • FIG. 31 shows a cut surface cut in the thickness direction of the vapor chamber 1 along the x direction indicated by I 13 -I 13 in FIG.
  • This figure is a combination of the figure shown in FIG. 7 of the first sheet 10 and the figure shown in FIG. 21 of the second sheet 20 to show the cut surface of the vapor chamber 1 at this part.
  • the first sheet 10 and the second sheet 20 are arranged so as to be overlapped and joined to form the vapor chamber 1.
  • the inner surface 10a of the first sheet 10 and the inner surface 20a of the second sheet 20 are arranged so as to face each other, the main body 11 of the first sheet 10 and the main body 21 of the second sheet overlap, The injection part 12 and the injection part 22 of the second sheet 20 overlap.
  • the relative positional relationship between the first sheet 10 and the second sheet 20 is configured to be appropriate by aligning the positions of the hole 13a of the first sheet 10 and the hole 23a of the second sheet 20. ing.
  • the respective configurations included in the main body 11 and the main body 21 are arranged as shown in FIGS. 25 to 31 by the laminated body of the first sheet 10 and the second sheet 20. Specifically, it is as follows.
  • the outer peripheral joint 13 of the first sheet 10 and the outer peripheral joint 23 of the second sheet 20 are arranged so as to overlap each other, and both are joined by a joining means such as diffusion joining or brazing. Thereby, the sealed space 2 is formed between the first sheet 10 and the second sheet 20.
  • the vapor chamber 1 of this embodiment is particularly effective when it is thin. From this point of view, the thickness of the vapor chamber 1 indicated by T 0 in FIGS. 1, 25, and 26 can be 1 mm or less, 0.3 mm or less, and further 0.2 mm or less. By setting the thickness to 0.3 mm or less, in the electronic device in which the vapor chamber 1 is installed, it is often possible to install the vapor chamber in the electronic device without performing processing for forming a space for arranging the vapor chamber. According to this embodiment, the working fluid can be smoothly circulated even in such a thin vapor chamber.
  • the condensate flow path 3 is formed as the second flow path through which the condensate in which the working fluid is condensed and liquefied is formed by the liquid flow path groove 14a and the peripheral liquid flow path portion 24 of the outer peripheral liquid flow path portion 14. Is done.
  • the inner side liquid flow-path part 15 which is the convex line of the 1st sheet
  • the condensate flow path 3 is formed with a communication opening 14c and a communication opening 15c (see FIGS. 29 and 39). Thereby, the several condensate flow path 3 connects, the equalization of a condensate is achieved, and a condensate is moved efficiently. Further, the communication opening 14c and the communication opening 15c that are adjacent to the steam flow path 4 and communicate with the steam flow path 4 and the condensate flow path 3 can smoothly flow the condensate generated in the steam flow path 4 into the condensate flow. Move to Road 3.
  • the communication opening 15c has the following configuration.
  • the structure of the condensate flow path 3 which is the second flow path by the inner liquid flow path portion 15 and the inner liquid flow path portion 25 will be described. A similar structure may be applied to the liquid flow path 3.
  • the plurality of communication openings 15 c arranged in the direction along the steam flow path are divided into a plurality of regions R 1 , region R 2 , and region R 3 .
  • the region R 1 is a region of both adjacent to the region R 2, it is larger than the pitch of the communication opening portion 15c in the region R 3 Yes.
  • the pitch P R1 of the communication opening 15c is configured to be larger than the pitch P R1 of the communication opening 15c. That is, in the communication opening in the region (region R 2 ) where the pitch of the communication opening is long, the pitch is larger than the pitch of the communication opening in the adjacent regions (region R 1 , region R 3 ). ing. Thus, the pitch is long region of the communicating opening (region R 2), areas adjacent thereto (region R 1, region R 3) and the contact area between the working fluid and the first sheet than the steam and condensate Therefore, the working fluid is less likely to condense and evaporate.
  • a region R 1 evaporator section when the (heat receiving portion, the heat source portion to be disposed) the working fluid will evaporate in the region R 2, insufficient condensate in the region R 1 is evaporation portion Can be prevented.
  • the pitch (P R1) of the communication apertures in the region R 1 and the region R 3 is set to the same, it is not limited thereto, the pitch of the communication apertures in the region R 1 and the region R 3 are different It may be. Pitch of the communicating opening region R 1 and the region R 3 in terms of the present embodiment may be smaller than the pitch of the communication opening portion of the region R 2.
  • the size and ratio of the region R 1 , the region R 2 , and the region R 3 are not particularly limited and can be set as appropriate.
  • one of the region R 1 and the region R 3 can be set as an evaporation unit (a heat receiving unit, and sites) which is a cooling target heat source is disposed, the other region R 1 and the region R 3 as a cooling unit, that between them a region R 2 considered transport unit, to a size suitable for each region in this preferable. Therefore, (one region R 1 and the region R 3) is the evaporating area is more than the size Satoshi heat source is a subject to be cooled, (the other region R 1 and the region R 3) cooling section and region also evaporated The area can be the same size as the part area.
  • the present invention is not limited to this, and the pitch of the communication openings changes in one area. Also good.
  • the total length of one inner liquid flow path portion 15 is divided into three regions, and the average value of the pitch of the communication openings adjacent to the steam flow channel groove is calculated for each region, What is necessary is just to comprise so that the average value of the pitch of a communicating opening part may become larger than the average value of the pitch of the communicating opening part in the area
  • three equal parts may be considered.
  • the opening length ratio obtained by dividing L R1 in P R1, opening length ratio of L R2 and P R2 dividing may be 0.2 to 1.0.
  • the ratio of the pitch between the regions obtained by dividing the P R2 in P R1 can be 1.3 to 2.5.
  • the average value of the pitch of the communicating opening is provided in the region R 5' is, regions Than the average value of the pitch of the communication openings provided in the region R 2 ′ between the R 1 ′ and the region R 3 ′ and the region R 4 ′ between the region R 3 ′ and the region R 5 ′. Configured to be smaller.
  • the heat source to be cooled is disposed with the central region R 3 ′ as the evaporation portion (heat receiving portion), and the regions R 1 ′ and R 5 ′ at both ends are the cooling portions.
  • the pitch of the plurality of communication openings is different in the direction in which the steam flow path extends.
  • the pitch of the communication openings in a certain region is made larger than the pitch of the communication openings in both regions adjacent to this certain region.
  • Width of 29, the condensate flow path 3 shown in W 15 in FIG. 30, FIG. 14, based on the groove width shown in the W 5 in FIG. 15, can be considered the same range.
  • the height of the condensate flow path 3, in the present embodiment based on the depth of the groove indicated by D 2 in FIG. 13, can be considered the same range.
  • the capillary force of the condensate flow path necessary for reflux can be sufficiently exerted.
  • the liquid flow channel groove 15a is provided only on the inner liquid flow channel part 15 side.
  • the condensate flow path may be formed by overlapping the liquid flow path groove 15a. In this case, the sum of the depth of the liquid channel groove of the first sheet and the depth of the liquid channel groove of the second sheet is the height of the condensate channel.
  • the aspect ratio (aspect ratio) in the cross section of the condensate flow path represented by the value obtained by dividing the flow path width by the flow path height is more than 1.0. It is preferably larger or smaller than 1.0.
  • the flow path width is preferably larger than the flow path height from the viewpoint of manufacturing, and the value obtained by dividing the flow path width by the flow path height can be larger than 1.0 and 4.0 or less. Can be larger.
  • the thickness of the material portion of the first sheet and the thickness of the material portion of the second sheet at the site where the condensate flow path is formed is first thickness of the sheet and the thickness of the second sheet of the remainder obtained by subtracting the D 2), it is all preferably height D 2 or more condensate flow path.
  • the width S A ( ⁇ m) of the wall 15 b is preferably smaller than the width of the condensate flow path 3. Since the wall 15b is large, the width of the communication opening 15c is increased, and the distance between adjacent condensate flow paths 3 is also increased, which may hinder the smooth communication of the working fluid. It is. Further, it is preferred that the width S A wall portion 15b is 20 ⁇ m or more, it may also be 30 ⁇ m or more, may be 50 ⁇ m or more.
  • the wall width S A ( ⁇ m) is preferably 300 ⁇ m or less, can be 200 ⁇ m or less, and may be 100 ⁇ m or less.
  • ranges width S A is any one of the candidate values of said plurality of upper limit may be determined by one combination of the candidate value of the plurality of lower limit. Further, the range of the width S A combines any two of the candidate value of the plurality of upper or may be defined by any combination of two candidate values for the plurality of lower limit.
  • the cross-sectional area S B ( ⁇ m 2 ) of the width S A ( ⁇ m) of the wall portion 15b and the cross section of the condensate flow channel 3 adjacent thereto (cross section in the direction orthogonal to the flow direction (flow channel longitudinal direction)).
  • the value obtained by dividing S A by S B (S A / S B ) may be in the range of 0.005 ( ⁇ m ⁇ 1 ) to 0.04 ( ⁇ m ⁇ 1 ).
  • the width (S A ) of the wall portion 15b is obtained as follows. After cutting and polishing the vapor chamber so that the cross section of two adjacent condensate flow channels and the wall between them appear, the cross section is 50 times or higher using a high magnification microscope or SEM. Enlarged in the range of 200 times. And the outline of each internal peripheral surface of two condensate flow paths is extracted from this expanded cross section. And the distance of the narrowest part between two extracted outlines is made into the width
  • the cross section of the flow path recognizes its shape from the contour obtained in the above direction, and the largest distance in the width direction (y direction) among the obtained contours is the flow path width S C and the thickness of the contour.
  • each the shape of the cross section of the condensate flow path by the recognized contour obtain channel sectional area S B as follows.
  • S B S C ⁇ S D / 2 ⁇
  • the flow path cross-section in the case of complex shapes, the channel cross-section may be obtained channel cross-sectional area S B by summing subdividing above basic shapes.
  • the wall portion 15b can be provided against repeated freezing and melting of the working fluid. It can have sufficient strength and has excellent durability.
  • the pressure generated is not constant because there is a process of repeated freezing and thawing of the working fluid and because the shape is not simple and freezing and thawing do not occur in the same direction.
  • the material constituting the vapor chamber is required to have high thermal conductivity, a relatively soft material is applied, and plastic deformation occurs little by little during repeated freezing and thawing. Consequently walls overlap various elements such as described above, extends in the thickness direction, it receives the force of being compressed in the thinned direction as indicated by arrow y 1 in FIG. 33, exaggerated When drawn, the shape changes as shown in FIG. For this reason, when considering the durability of the wall, it is necessary to consider not only the height of the condensate flow path but also the entire cross section of the flow path in consideration of both the height and the width direction. Stipulated.
  • the wall portion 15b has a structure that is difficult to break even when the force described above is repeatedly applied.
  • FIG. 36 to FIG. 38 show diagrams for explaining modifications.
  • FIG. 36 is an example in which the positions of the communication openings 15c provided in the adjacent wall portions 15b are different in the longitudinal direction of the wall portions 15b (longitudinal direction of the condensate flow path 3).
  • a communication opening 15c when viewed from the working fluid flowing in the condensate flow path 3, the communication opening 15c does not appear at the same time on both walls, and even if the communication opening 15 appears, it is on one side. Since the wall portion 15b exists, a capillary force can be continuously obtained in the longitudinal direction of the condensate flow path 3. Thereby, the movement of the condensate is promoted, and the working fluid can be more smoothly circulated.
  • the capillary force becomes stronger than the example of FIG.
  • FIG. 37 is an end portion of the wall portion 15b in the longitudinal direction of the wall portion 15b (longitudinal direction of the condensate flow channel 3), and is an end portion that forms the communication opening 15c, following the example described in FIGS. It is a figure showing the example where a width
  • the volume is increased by freezing the condensate accumulated in the periphery of the communication opening portion 15c is, when a force in the direction away a first sheet and the second sheet acts at B 3 in FIG. 37 As shown, stress concentrates on the narrowed end of the wall portion 15b and is easily broken.
  • the wall portion 15b does not break even when the condensate is repeatedly frozen and melted and the above-described force is repeatedly applied. That is, even if a structure that further increases the heat transport capability is applied to a thin vapor chamber, the durability is excellent.
  • a vapor chamber having the following specifications was prepared as a vapor chamber for performing Test Example 1.
  • the basic structure is similar to the vapor chamber 10 shown in FIG. 1, but the details are as follows.
  • ⁇ Material of first sheet and second sheet oxygen-free copper
  • Steam channel width (y direction) 1 mm, height (z direction) 100 ⁇ m, length (x direction) 65 mm, number 6 ⁇ inner liquid flow Road part: Alternating with steam flow path
  • Condensate flow path width (y direction) 100 ⁇ m, height (z direction) 50 ⁇ m, length (x direction) 65 mm, number 8 ⁇ wall part: width (y direction) ) 10 ⁇ m
  • the shape is the same as in FIG. 10
  • Communication opening pitch 500 ⁇ m, length 100 ⁇ m ⁇ S A / S B : 0.0025
  • Working fluid Water, filling rate is 30% of internal volume
  • the vapor chambers of Test Example 1 and Test Example 2 were manufactured as follows.
  • a liquid flow channel groove, a vapor flow channel groove, and a vapor flow channel groove were formed by half-etching on the metal sheet having the outer peripheral shape of the first sheet 10 and the second sheet 20 having a thickness of 150 ⁇ m.
  • Half-etching is to remove a material by etching halfway in the thickness direction without penetrating the thickness direction by etching to form a groove or a depression.
  • the inner surfaces of the first sheet and the second sheet were overlapped so as to face each other and temporarily fixed by resistance welding.
  • diffusion bonding was performed after temporary fixing, and the first sheet and the second sheet were permanently bonded.
  • Diffusion bonding was performed by heating the first sheet and the second sheet to 810 ° C. and applying a pressure of 2 MPa. After joining, evacuation was performed from the formed injection channel, the sealed space was decompressed, the working fluid was injected from the injection channel, and the working fluid was put into the sealed space. The injection portion was caulked and then TEG welded to close the injection flow path.
  • a temperature cycle test was performed on the vapor chamber obtained as described above as follows. Conforms to JIS standard C 60068-2-14: 2011 (IEC 60068-2-14: 2009), low temperature is -40 ° C, high temperature is 85 ° C, exposure time is 30 minutes, cycle number is 100 times, vapor chamber The test was carried out for each of the case of horizontal placement and the case of vertical placement.
  • the width S A , the cross-sectional area S B , and the relationship described above are other forms included in the vapor chamber of the present embodiment, and the structure in which the pitch of the communication openings is different depending on the region, and the overhang depending on the region. Regardless of the structure of which the amount is different, the effect is achieved independently. Therefore, for example, while the pitch of the communication openings is the same in all regions, the vapor chamber has a different form for the extension amount, and the pitch of the communication openings varies from region to region. vapor chamber forms, such as the same area, as well, both the pitch and bulging amount of the communicating opening for either the same become vapor chamber in all areas, the width S a described above, the cross-sectional area S B and these relationships are effective. The same applies to other forms described below.
  • FIG. 38 is a diagram illustrating an example in which a minute inner surface groove 3 a is formed on the flow path surface of the condensate flow path 3 (the surface of the wall portion 15 b).
  • a condensate flow path 3 since the condensate enters the minute inner surface groove 3a and receives a strong capillary force, the condensate easily moves and the movement of the condensate is promoted to make the working fluid smoother. Reflux is possible.
  • the condensate tends to accumulate in the minute inner surface groove 3a due to strong capillary force. It becomes power.
  • the wall portion 15b does not break even when force is repeatedly applied by repeatedly freezing and melting the condensate. That is, even if a structure that further increases the heat transport capability is applied to a thin vapor chamber, the durability is excellent.
  • the cross-sectional shape and cross-sectional area of the inner surface groove 3a are not particularly limited as long as the groove is provided on the inner surface of the condensate flow path 3.
  • the longitudinal direction of the inner surface groove includes a directional component parallel to the direction in which the condensate flow path 3 extends and extends at least longer than twice the opening width ⁇ of the inner surface groove 3a.
  • the opening width ⁇ of the inner surface groove 3a can be less than 10 ⁇ m. Thereby, high capillary force is securable.
  • the depth ⁇ of the inner groove can be less than 10 ⁇ m.
  • a steam flow is a first flow path in which the opening of the steam flow path groove 16 of the first sheet 10 and the opening of the steam flow path groove 26 of the second sheet 20 overlap each other to form a flow path. It becomes road 4.
  • the vapor channel that is the first channel and the condensate channel that is the second channel have the following relationship. That is, the two average of the flow path cross-sectional area of the first flow path and A g, the average of the flow path cross-sectional area of the plurality of the second flow path disposed between two of the first flow path adjacent the adjacent the when the a l, and a second flow path from the first flow path, it is assumed that a l is 0.5 times the relation of a g, and preferably 0.25 times or less. This relationship may be satisfied in at least a part of the entire vapor chamber, and it is more preferable that this is satisfied in the entire vapor chamber.
  • the steam channel 4 is formed with a protruding portion 6 that is a step in the channel cross section (channel cross section in a direction orthogonal to the direction in which the channel extends). . Thereby, it becomes possible to increase the capillary force and smoothly move the condensate to the condensate flow path 3.
  • the overhang portion 6 is a part formed on the boundary surface with the steam flow path 4 and constitutes a part protruding toward the steam flow path 4. That is, the overhanging portion is a portion protruding toward the steam channel in the direction in which the condensate channel 3 and the steam channel 4 are arranged (y direction, width direction), and at the tip of the site where the width of the steam channel is the narrowest.
  • An overhanging surface that is a surface extending from a certain top portion toward a portion having the widest width of the steam channel is provided. The overhanging surface extends in the direction of the condensate flow path, and is configured to be connected to the wall portion or include the wall portion.
  • the overhanging portion 6 has the apex 6a at the tip of the portion where the width of the steam channel is the narrowest, the overhanging surface 6b extends in the y direction, and the overhanging surface where the width of the steam channel is the widest.
  • the end of 6b is connected to the wall 15b.
  • the size of the projecting portion is a width direction size of the projecting surface 6b as shown for example in FIG. 27 at W R12.
  • the overhanging portion 6 of the steam flow path 4 in the region R 12 indicated by W R12 28 is configured to be smaller than the size of the overhanging portion 6 of the regions R 11, and the region R 13 indicated by W R11 27 (bulging amount). That is, when divided into a plurality of regions in the direction in which the steam channel 4 extends, the overhang amount of the overhang portion in one region is greater than the overhang amount of the overhang portion in both regions adjacent to the one region. Is also configured to be small.
  • the overhang amount of the overhang portion 6 is larger than the region (region R 11 , region R 13 ) adjacent to the overhang amount. Since it becomes small, the contact area of a working fluid and a 2nd sheet
  • evaporation unit regions R 11 is taken as (the heat receiving portion, the heat source portion to be disposed), the working fluid will evaporate at regions R 12, lack of condensate in the region R 11 is evaporated portion Can be prevented. As described above, the working fluid can be smoothly recirculated, and the heat transport capability can be enhanced.
  • the amount of overhang of the overhang portion 6 in the region R 11 and the region R 13 is the same, but is not limited to this, and the amount of overhang of the overhang portion 6 in the region R 11 and the region R 13 May be different.
  • Projecting amount of the projecting portion 6 in the region R 11 and the region R 13 in terms of the present embodiment may be larger than Zhang volume of the protrusion 6 in the region R 12.
  • the size and ratio of the region R 11 , the region R 12 , and the region R 13 are not particularly limited and can be set as appropriate.
  • one of the region R 11 and the region R 13 can be set as an evaporation unit (heat receiving unit, and sites) which is a cooling target heat source is arranged, the other regions R 11 and region R 13 as a cooling section, that the intervening area R 12 considered transport unit, to a size suitable for each region in this preferable. Therefore, (one region R 11 and region R 13) is the evaporating area is more than the size Satoshi heat source is a subject to be cooled, (the other region R 11 and region R 13) is a cooling region also evaporated The area can be the same size as the part area.
  • the overhang amount of the overhang portion is constant in one region, but the present invention is not limited to this, and the overhang amount of the overhang portion is not constant and changes. There may be.
  • the total length of one steam channel is divided into three regions, the average value of the overhang amount is calculated for each region, and the average value of the overhang amount in the center region is What is necessary is just to comprise so that it may become smaller than the average value of overhang
  • three equal parts may be considered.
  • the area is divided into three areas.
  • one of the regions arranged at both ends is an evaporation unit (heat receiving unit) and the other is a cooling unit.
  • FIG. 23 and FIG. 24 it can be divided into five regions.
  • the region R 11 ′ to the region R 15 ′ are divided, and the average value of the overhang amount provided in the central region R 13 ′ and the regions R 11 ′ and R 15 ′ at both ends is determined as the region R 11.
  • 'a region R 13' region R 12 is between 'region R 13' to be greater than the average value of the overhang amount provided in 'region R 14 is between' region R 15 and Composed.
  • the heat source to be cooled is disposed with the central region R 13 ′ as the evaporation unit (heat receiving unit), and the region R 11 ′ and the region R 15 ′ at both ends are used as the cooling unit.
  • the overhang amount differs in the direction in which the steam flow path extends.
  • the average value of the overhang amount in a certain region is formed larger than the average value of the overhang amount in both regions adjacent to this certain region.
  • the length of the region R 1 described in the condensate flow channel 3 is the same as the length of the region R 11 described in the steam flow channel 4, and the length of the region R 2 is similarly set to the length of the region R 12 .
  • the length of the region R 3 is the same as the length of the region R 13 . According to this, the effect due to the difference in the region related to the communication opening 15c and the effect due to the difference in the region related to the overhang amount of the overhang portion 6 can be exhibited synergistically, and a higher effect can be achieved. Can be obtained.
  • the present invention is not limited to this, and the region R 1 and the region R 11 , the region R 2 and the region R 12 , and the region R 3 and the region R 13 may be set individually without being associated with each other.
  • the amount of overhang may be a different vapor chamber as described above depending on the region, or the pitch of the communication openings 15c may be As described above, the vapor chamber may have a form in which the amount of overhang is the same in all regions while being different depending on the region. The same applies to other forms described below.
  • the width of the steam channel 4 is based on the steam channel groove 16 and the steam channel groove 26, but can be considered in the same manner as the range described for W 6 (see FIG. 4) in the widest portion. Further, the height of the steam channel 4 is based on the sum of the steam channel groove 16 and the steam channel groove 26, and D 3 (see FIG. 5) and D 5 (see FIGS. 19 and 20) are summed. Can be considered in the same way as the range.
  • bulging amount W R11 of the overhang portion 6 the size of the bulging amount W R12 may be a 100 ⁇ m following range of 30 [mu] m. Further, the difference in the amount of protrusion between adjacent regions (W R11 ⁇ W R12 ) can be in the range of 20 ⁇ m to 50 ⁇ m.
  • the vapor channel 4 can have a flat cross-sectional shape as the vapor chamber 1 becomes thinner. As a result, even if the thickness is reduced, the surface area in the flow path can be secured, and the heat transport capability can be maintained at a high level. More specifically, in the cross section of the steam channel 4, the ratio represented by the value obtained by dividing the width of the widest portion by the height can be 2.0 or more, and may be 4.0 or more.
  • the cross-sectional shape of the steam flow path 4 is a shape in which a step due to the overhanging portion is formed on the basis of an elliptical shape, but is not limited to this, a square, a rectangle, a trapezoid, or the like, a triangle, a semicircle, and a bottom It may be based on a semi-circular shape, a shape whose bottom is a semi-elliptical shape, and a combination thereof.
  • an overlapping flow path is formed so that the opening of the steam flow path communication groove 17 of the first sheet 10 and the opening of the steam flow path communication groove 27 of the second sheet 20 face each other.
  • the channel 4 is a channel that communicates. All the steam channels communicate with each other through this channel.
  • the injection portion 12 and the injection portion 22 are overlapped so that the inner surface 10 a and the inner surface 20 a face each other, and the opening opposite to the bottom portion of the injection groove 22 a of the second sheet 20 is formed.
  • An injection channel 5 is formed which is closed from the inner surface 10a of the injection part 12 of the first sheet 10 and communicates the outside with the sealed space 2 (condensate channel 3 and vapor channel 4) between the main body 11 and the main body 21.
  • the sealed space 2 condensate channel 3 and vapor channel 4
  • the working fluid is sealed in the sealed space 2 of the vapor chamber 1.
  • the working fluid used for a normal vapor chamber such as a pure water, ethanol, methanol, acetone, can be used.
  • the vapor chamber as described above can be manufactured as follows, for example.
  • the vapor flow path communication groove 27 is formed by half etching.
  • half-etching means that a material is removed by etching halfway in the thickness direction without penetrating the thickness direction by etching to form a groove or a depression.
  • the inner surface 10a and the inner surface 20a of the first sheet 10 and the second sheet 20 are overlapped so as to face each other, positioned using the holes 13a and the holes 23a as positioning means, and temporarily fixed.
  • the method of temporary fixing is not particularly limited, and examples thereof include resistance welding, ultrasonic welding, and adhesion using an adhesive. Then, diffusion bonding is performed after temporary fixing, and the first sheet 10 and the second sheet 20 are permanently bonded. In addition, you may join by brazing instead of diffusion bonding.
  • evacuation is performed from the formed injection flow path 5 to depressurize the sealed space 2. Thereafter, the working fluid is injected from the injection flow path 5 into the decompressed sealed space 2, and the working fluid is put into the sealed space 2. Then, the injection flow path 5 is closed by using laser melting or caulking the injection section 12 and the injection section 22. As a result, the working fluid is stably held inside the sealed space 2.
  • the overhang portion 7 is formed by the inner liquid passage portion 15 of the first sheet 10.
  • This overhanging portion 7 is also a part formed on the boundary surface with the steam flow path 4 and constitutes a part protruding to the steam flow path 4 side.
  • the protruding portion 7 has a top portion 7a at the tip of the portion where the width of the steam channel is the narrowest, and the protruding surface 7b extends in the y direction.
  • the overhanging surface 7b includes a wall portion 15b. This overhanging portion 7 can also be operated in the same manner as the vapor chamber 1 described above.
  • FIG. 41 schematically illustrates a state in which the vapor chamber 1 is disposed inside a portable terminal 40 that is one form of the electronic apparatus.
  • a portable terminal 40 includes a housing 41 that contains various electronic components, and a display unit 42 that is exposed so that an image can be seen through the opening of the housing 41.
  • an electronic component 30 to be cooled by the vapor chamber 1 is disposed in the housing 41.
  • the vapor chamber 1 is installed in a casing of a portable terminal or the like, and is attached to an electronic component 30 that is an object to be cooled such as a CPU.
  • the electronic component 30 is attached to the outer surface 10b or the outer surface 20b of the vapor chamber 1 directly or via an adhesive, sheet, tape, or the like having high thermal conductivity.
  • the position at which the electronic component 30 is attached to the outer surface 10b or the outer surface 20b is not particularly limited, and is appropriately set depending on the relationship with the arrangement of other members in the portable terminal or the like.
  • the electronic component 30 that is a heat source to be cooled is arranged in the center of the main body 11 in the y direction on the outer surface 10 b of the first sheet 10. Thereby, it can be made symmetrical with respect to one side and the other side in the y direction, and there is an advantage from the viewpoint of manufacturing and return of working fluid.
  • the electronic component 30 is represented by a dotted line because it is a blind spot and cannot be seen.
  • the electronic component when there are three regions (R 1 to R 3 , R 11 to R 13 ), the electronic component is located at a position that becomes the region R 1 or region R 11 at one end thereof.
  • 30 is an example. 42 shows the relationship with the first sheet 10, and FIG. 43 shows the relationship with the second sheet 20, respectively.
  • the electronic component 30 can be sized and arranged so that all of the electronic components 30 overlap the inside of the region R 1 and the region R 11 in a plan view, and the electronic component 30 indicated by Ra in FIG.
  • the distance from the center position of the component 30 to the boundary between the region R 1 and the region R 2 may be larger than the length of the electronic component 30 in the x direction.
  • the region R 1 and the region R 11 can be efficiently used as the evaporation unit.
  • the x-direction length of the region R 3, and the region R 13 is preferably the same as the x-direction length of the region R 1 and the region R 11.
  • the inner structure with respect to the center of the vapor chamber 1 is symmetrical with respect to one side and the other side in the x direction, so that the pressure at the time of joining the first sheet 10 and the second sheet 20 or mounting on the electronic component Balance becomes good.
  • the lengths in the x direction of the regions R 1 to R 3 and the regions R 11 to R 13 may all be the same.
  • the positions to be the central region R 3 ′ and region R 13 ′ are shown.
  • the electronic component 30 can be sized and arranged so that all of the electronic components 30 overlap the inside of the region R 3 ′ and the region R 13 ′ in the plan view, the region R 3 ′ and the region R
  • the size in the x direction of 13 ′ may be twice or more the size in the x direction of the electronic component 30.
  • the x-direction center position of the region R 3 ′ and the region R 13 ′ may coincide with the x-direction center position of the electronic component 30.
  • the inner structure with respect to the center of the vapor chamber 1 is symmetrical with respect to one side and the other side in the x direction, so that the pressure at the time of joining the first sheet 10 and the second sheet 20 or mounting on the electronic component Balance becomes good.
  • the regions R 2 ′ and R 12 ′ and the regions R 4 ′ and R 14 ′ can have the same size in the x direction, and the regions R 1 ′ and R 11 ′ and the regions R 5 ′ and R 15 ′ can be the same.
  • the size in the x direction can be the same. Note that all the regions may have the same size.
  • FIG. 23 has been described as the second sheet 20 here, the embodiment shown in FIG. 24 can be similarly considered.
  • FIG. 46 shows a diagram for explaining the flow of the working fluid.
  • the second sheet 20 is omitted in this figure, and the inner surface 10a of the first sheet 10 is shown so that it can be seen.
  • the heat is transmitted through the first sheet 10 by heat conduction, and the condensate present at a position close to the electronic component 30 in the sealed space 2 receives heat.
  • the condensate that has received this heat absorbs the heat and evaporates. Thereby, the electronic component 30 is cooled.
  • the vaporized working fluid becomes steam and flows and moves in the steam flow path 4 as indicated by a solid straight arrow in FIG.
  • This flow is generated in a direction away from the electronic component 30 so as to pass through the region R 2 and / or the region R 12 and reach the region R 3 and / or the region R 13 , so that the vapor leaves the electronic component 30.
  • the vapor in the vapor flow path 4 moves away from the electronic component 30 that is a heat source, moves to the outer peripheral portion of the vapor chamber 1 having a relatively low temperature, and sequentially heats the first sheet 10 and the second sheet 20 during the movement. It is cooled while being taken away.
  • the first sheet 10 and the second sheet 20 that have taken heat from the steam transmit heat to the outer surface 10b, the casing of the portable terminal device that contacts the outer surface 20b, and the heat is finally released to the outside air.
  • the working fluid deprived of heat while moving through the steam flow path 4 is condensed and liquefied.
  • This condensate adheres to the wall surface of the steam channel 4.
  • the condensate moves from the communication opening or the like to the condensate channel 3 so as to be pushed by the steam.
  • the condensate flow path 3 of this embodiment includes the communication opening 14c and the communication opening 15c, the condensate is distributed to the plurality of condensate flow paths 3 through the communication opening 14c and the communication opening 15c.
  • the condensate that has entered the condensate flow path 3 approaches the electronic component 30 that is a heat source, as indicated by the dotted straight arrows in FIG. 46, due to capillary action by the condensate flow path and the pressure from the steam. Moving. And it repeats the above by vaporizing with the heat from the electronic component 30 which is a heat source again.
  • the reflux of the condensate becomes good with a high capillary force in the condensate flow path, and the amount of heat transport can be increased.
  • region R 1 and / or region R 11 as in this embodiment i.e., smaller area than the area where the pitch of the communicating opening is adjacent, and / or, the overhang portion of the steam channel
  • the moved steam reaches the region R 3 and / or the region R 13 separated from the heat source.
  • the region where the pitch of the communication openings is smaller than the adjacent region, and / or the extension of the extension part of the steam channel. Since the output amount is larger than the adjacent region, it is easy to condense the vapor and functions as a condensing part with high performance. As a result, the working fluid can smoothly circulate and exhibit high heat transport capability.
  • the present invention is not limited to this, and a vapor chamber with three or more sheets can be similarly considered.
  • a vapor chamber composed of three sheets will be described as an example.
  • FIG. 47 is an external perspective view of the vapor chamber 101 composed of three sheets
  • FIG. 48 is an exploded perspective view of the vapor chamber 101.
  • the vapor chamber 101 of this embodiment has a first sheet 110, a second sheet 120, and a third sheet 130 as can be seen from FIGS. Then, these sheets are overlapped and bonded (diffusion bonding, brazing, etc.) in the same manner as described above, so that a hollow space based on the shape of the third sheet 130 is formed between the first sheet 110 and the second sheet 120. It becomes a vapor chamber sheet in which a portion is formed. Then, the working fluid is sealed in the hollow portion, whereby the sealed space 102 is formed and the vapor chamber 101 is formed.
  • seat 130 can be considered similarly to the above-mentioned 1st sheet
  • the first sheet 110 is a sheet-like member as a whole whose front and back surfaces (one and other surfaces in the thickness direction, the inner surface 110a and the outer surface 110b) are flat.
  • the first sheet 110 has a flat surface on both sides, and forms a thickness across the flat inner surface 110a, the flat outer surface 110b opposite to the inner surface 110a, and the inner surface 110a and the outer surface 110b. End face 110c.
  • the first sheet 110 includes a main body 111 and an injection part 112.
  • the main body 111 is a sheet-like part that forms a hollow portion and a sealed space, and in this embodiment, the main body 111 has a rectangular shape with a circular arc (so-called R) in plan view.
  • the main body 111 of the first sheet 110 has a rectangular shape as in this embodiment, and can have a shape that is required each time as a vapor chamber.
  • it may be a circle, an ellipse, a triangle, other polygons, and a shape having a bent portion, for example, an L shape, a T shape, a crank shape, a U shape, or the like.
  • it can also be set as the shape which combined at least 2 of these.
  • the injection portion 112 is a portion for injecting a working fluid into the formed hollow portion, and in this embodiment, has a rectangular sheet shape in plan view that protrudes from one side of the main body 111 that is rectangular in plan view.
  • the thickness of the first sheet 110 is not particularly limited, but is preferably 1.0 mm or less, may be 0.75 mm or less, and may be 0.5 mm or less. On the other hand, this thickness is preferably 0.02 mm or more, may be 0.05 mm or more, and may be 0.1 mm or more.
  • the thickness range may be determined by any one of the plurality of upper limit candidate values and one combination of the plurality of lower limit candidate values. The thickness range may be determined by combining any two of a plurality of upper limit candidate values, or by combining any two of a plurality of lower limit candidate values. As a result, it is possible to increase the number of scenes that can be applied as a thin vapor chamber.
  • the first sheet 110 may be a single layer, or a plurality of sheets may be laminated.
  • a sheet (clad material) in which a plurality of layers having different strengths are stacked may be used.
  • the second sheet 120 is also a sheet-like member as a whole whose front and back are flat.
  • the second sheet 120 is composed of flat surfaces on both the front and back sides, and forms a thickness across the flat inner surface 120a, the flat outer surface 120b opposite to the inner surface 120a, and the inner surface 120a and the outer surface 120b. End face 120c.
  • the second sheet 120 also includes a main body 121 and an injection part 122, as with the first sheet 110.
  • the second sheet 120 can be considered in the same manner as the first sheet 110.
  • the thickness and material of the second sheet 120 need not be the same as those of the first sheet 110, and may be configured differently.
  • the second sheet 120 may also be a single layer, or a plurality of sheets may be laminated.
  • a sheet (clad material) in which a plurality of layers having different strengths are laminated may be used.
  • the third sheet 130 is a sheet that is sandwiched and overlapped between the inner surface 110a of the first sheet 110 and the inner surface 120a of the second sheet 120, and has a structure for the sealed space 102 in which the working fluid moves. It is equipped.
  • FIGS. 49 and 50 show the third sheet 130 in plan view (viewed from the z direction).
  • FIG. 49 is a diagram of a surface superimposed on the first sheet 110
  • FIG. 50 is a diagram of a surface superimposed on the second sheet 120.
  • 51 shows a cut surface along the line indicated by I 101 -I 101 in FIG. 49
  • FIG. 52 shows a cut surface along the line indicated by I 102 -I 102 in FIG.
  • the third sheet 130 may also be a single layer, or a plurality of sheets may be laminated.
  • a plurality of sheets may be laminated, the following forms may be formed after laminating the plurality of sheets, or the following forms are formed by individually processing and superposing the plurality of sheets. May be.
  • the third sheet 130 includes a first surface 130a that overlaps the inner surface 110a of the first sheet 110, a second surface 130b that overlaps the inner surface 120a of the second sheet 120, and the first surface 130a and the second surface 120b. It has an end face 130c that passes and forms a thickness. Therefore, the first surface 130a appears in FIG. 49, and the second surface 130b appears in FIG.
  • the third sheet 130 includes a main body 131 and an injection part 132.
  • the main body 131 is a sheet-like portion that forms a hollow portion in the vapor chamber sheet and a sealed space in the vapor chamber 101.
  • the main body 131 is a rectangle having a circular arc (so-called R) in plan view.
  • the main body 131 may have a shape required as a vapor chamber in addition to a quadrangle as in this embodiment.
  • it may be a circle, an ellipse, a triangle, other polygons, and a shape having a bent portion, for example, an L shape, a T shape, a crank shape, a U shape, or the like.
  • it can also be set as the shape which combined at least 2 of these.
  • the outer shapes of the first sheet 110, the second sheet 120, and the third sheet 130 are the same.
  • the injecting portion 132 is a portion for injecting a working fluid into the formed hollow portion, and in this embodiment, has a rectangular sheet shape in plan view protruding from one side of the main body 131 that is rectangular in plan view.
  • the injection portion 132 is provided with a groove 132a that leads from the end surface 130c to the main body 32 on the second surface 130b side.
  • the thickness and material of the third sheet 130 can be considered in the same manner as the first sheet 110. However, the thickness and material of the third sheet 130 are not necessarily the same as those of the first sheet 110, and may be configured differently.
  • the main body 131 is formed with a structure for returning the working fluid.
  • the main body 131 includes an outer peripheral joint portion 133, an outer peripheral liquid flow passage portion 134, an inner liquid flow passage portion 138, a vapor flow passage groove 142, and a vapor flow passage communication groove 144.
  • the vapor chamber 101 of the present embodiment is a first flow path that is a vapor flow path 104 through which the working fluid vapor passes, and a second flow path that is a condensate flow path 103 through which condensed liquid liquefied by the working fluid is condensed. Is provided.
  • the steam channel groove 142 of the third sheet 130 forms the steam channel 104, and the liquid channel groove 135 provided in the outer peripheral liquid channel part 134 and the liquid flow provided in the inner liquid channel part 138.
  • the channel groove 139 forms the condensate channel 103.
  • the outer peripheral joint portion 133 is a portion provided along the outer periphery of the main body 131, and includes an outer peripheral joint surface 133a provided on the first surface 130a of the main body 131 and an outer peripheral joint surface 133b provided on the second surface 30b. ing.
  • the outer peripheral bonding surface 133a overlaps with the outer peripheral portion of the inner surface 110a of the first sheet 110, and the outer peripheral bonding surface 133b overlaps with the outer peripheral portion of the one inner surface 20a of the second sheet 120 to be bonded (diffusion bonding, brazing, etc.). .
  • seat 130 is formed between the 1st sheet
  • the width of the outer peripheral joint portion 133 (the outer peripheral joint surface 133a and the outer peripheral joint surface 133b) indicated by W 101 in FIGS. 49 to 52 (the size in the direction orthogonal to the direction in which the outer peripheral joint portion 133 extends) is the first described above. It can be considered in the same manner as the width W 1 of the outer peripheral joint 13 of the sheet 10.
  • the outer peripheral liquid flow path part 134 functions as a liquid flow path part, and is a part constituting a part of the condensate flow path 103 that is a second flow path through which the working fluid is condensed and liquefied.
  • FIG. 53 is an enlarged view of the part indicated by the arrow I 103 in FIG. Further, the (viewed from the z-direction) of the perimetric liquid flow path section 134 in plan view the when viewed in the direction indicated by the arrow I 104 in FIG. 53 in FIG. 54 showing an enlarged view. That is, FIG. 54 shows a part of the outer peripheral liquid flow path part 134 viewed from the first surface 130a.
  • the outer peripheral liquid flow path part 134 includes a liquid flow path groove 135, a wall part 135a, and a communication opening part 135b on the first surface 130a side. It can be considered in the same manner as the form of the road groove 14a, the wall portion 14b, and the communication opening portion 14c, and the description thereof is also appropriate.
  • the 2nd surface 130b side of the outer periphery liquid flow-path part 134 is made into the flat surface by this form.
  • the liquid channel groove 135 is a groove
  • the cross-sectional shape has a bottom portion, and the opposite side facing the bottom portion is open.
  • an overhanging portion 137 is provided in the outer peripheral liquid flow path portion 134.
  • the overhanging portion 137 is a portion formed on the boundary surface with the steam flow channel groove 142 and is a portion protruding toward the steam flow channel groove 142.
  • the overhang portion 137 protrudes most in the width direction (y direction) of the steam channel groove (steam channel) at the position in the thickness direction (z direction) T 101 (see FIG. 53) from the first surface 130a.
  • a concave arcuate projecting surface 137b extending from the top 137a toward the condensate flow path (wall 135a) on the side of the outer peripheral liquid flow path 134 in a cross-sectional view.
  • the overhanging surface 137b is connected to the wall portion 135a.
  • the projecting surface does not need to be arcuate, and may be curved other than a concave arc on the side of the outer peripheral liquid flow path part 134 in a sectional view.
  • the overhanging portion is similar to the overhanging portion 6 and the overhanging portion 7 in the vapor chamber 1 described above, and is on the steam channel groove (steam channel) side. It has a protruding surface with a surface extending in the width direction from the top, which is the most narrowed tip of the vapor channel, toward the condensate channel (wall), and the protruding surface is connected to the wall. Or it is comprised so that a wall part may be included.
  • the condensate easily collects on the overhanging surface 137b depending on the shape thereof, and the movement of the working fluid between the condensate flow path 3 and the vapor flow path 4 through the overhanging section 137 becomes smooth, and the heat Transport capacity can be increased.
  • the surface of the overhanging surface 137b is not particularly limited, but may be a rough surface or a minute stepped surface. Thereby, the retention strength of the condensate can be increased.
  • the surface roughness (ISO 25178) of the overhang surface can be measured, for example, with a laser microscope (model number: VK-X250) manufactured by Keyence Corporation.
  • the arithmetic average height Sa of the surface roughness is preferably 0.005 ⁇ m or more, and more preferably 0.03 ⁇ m or more.
  • the maximum height Sz is preferably 0.05 ⁇ m or more, and more preferably 0.3 ⁇ m or more.
  • bulging amount indicated by W 104 in FIG. 53 bulging amount W R11 of vapor chamber 1 described above, bulging amount It can be considered in the same way as WR12 . That is, also in this embodiment, the overhang amount W 104 of the overhang portion 137 can be varied in the y direction. Further, the regions can be divided (for example, the region R 1 , the region R 2 , and the region R 3 ), and the overhang amount W 104 of the overhang portion 137 can be made different for each region.
  • the range of a value obtained by dividing the T 101 in T 102 combines any two of the candidate value of the plurality of upper or may be defined by any combination of two candidate values for the plurality of lower limit.
  • the value is 0.5
  • the top portion 137a is disposed at the center of the outer peripheral liquid flow path portion 134 in the thickness direction.
  • the inner liquid flow path section 138 also functions as a liquid flow path section, and includes a part of the condensate flow path 3 that is a second flow path through which the working fluid is condensed and liquefied, and a portion including the overhanging portion 141. It is.
  • FIG. 55 is an enlarged view of the part indicated by the arrow I 105 in FIG.
  • FIG. 55 also shows the cross-sectional shape of the inner liquid flow path portion 138.
  • FIG. 56 shows an enlarged view of the inner liquid channel portion 138 viewed from the direction shown by the arrow I 106 in FIG. 55 as viewed in plan (viewed from the z direction).
  • the inner liquid flow path portion 138 is a portion of the main body 131 formed inside the annular ring of the outer peripheral liquid flow path portion 134.
  • the inner liquid flow path portion 138 of the present embodiment extends in a direction (x direction) parallel to the long side of the rectangle in a plan view (when viewed from the z direction) of the main body 31, and includes a plurality (three in this embodiment) of inner liquid.
  • the flow path portions 138 are arranged at predetermined intervals in a direction (y direction) parallel to the short side.
  • the inner liquid channel portion 138 includes a liquid channel groove 139, a wall portion 139a, and a communication opening 139b on the first surface 130a side, and the form thereof is the liquid flow of the inner liquid channel portion 15 described above. It can be considered in the same manner as the form of the road groove 15a, the wall 15b, and the communication opening 15c, and the description thereof is also appropriate. Since the liquid flow channel groove 139 is a groove, the cross-sectional shape has a bottom portion, and the opposite side facing the bottom portion is open. When the first sheet 110 is overlaid on the third sheet 130, the opening is closed and the condensate flow path 103 is formed. On the other hand, in this embodiment, the second surface 130b side of the inner liquid flow path portion 138 is a flat surface.
  • the overhanging portion 141 is provided in the inner liquid channel portion 138.
  • the overhanging portion 141 is a portion formed on the boundary surface with the steam flow channel groove 142 and is a portion protruding toward the steam flow channel groove 142.
  • the overhanging portion 141 includes a top portion 141a that protrudes most from the first surface 130a in the thickness direction (z direction) T103 in the width direction (y direction) of the steam channel groove (steam channel).
  • a concave arcuate surface 141b extending from the top 141a toward the condensate flow path (wall part 139a) is provided on the inner liquid flow path part 138 side in a sectional view.
  • the overhanging surface 141b is connected to the wall portion 139a.
  • the projecting surface does not need to be arcuate, and may be curved other than a concave arc on the inner liquid channel part 138 side in a cross-sectional view.
  • the overhanging portion is similar to the overhanging portion 6 and the overhanging portion 7 in the vapor chamber 1 described above, and is on the steam channel groove (steam channel) side.
  • the condensate easily collects on the overhanging surface 141 b due to the shape as described above, and the movement of the working fluid between the condensate channel 103 and the vapor channel 104 through the overhanging portion 141 is smooth.
  • the heat transport capability can be increased.
  • the surface of the overhanging surface 141b is not particularly limited, but may be a rough surface or a minute stepped surface. Thereby, the retention strength of the condensate can be increased.
  • the surface roughness (ISO 25178) of the overhang surface can be measured, for example, with a laser microscope (model number: VK-X250) manufactured by Keyence Corporation.
  • the arithmetic average height Sa of the surface roughness is preferably 0.005 ⁇ m or more, and more preferably 0.03 ⁇ m or more.
  • the maximum height Sz is preferably 0.05 ⁇ m or more, and more preferably 0.3 ⁇ m or more.
  • the width of the inner liquid channel portion 138 indicated by W 105 in FIGS. 49 to 51 and 55 (the largest value in the direction in which the inner liquid channel portion 138 and the vapor channel groove 142 are arranged) Can be considered in the same manner as W 4 of the inner liquid flow path portion 15 of the first sheet 10 described above.
  • the pitch of the plurality of inner liquid flow path portion 38 shown in P 102 in Figure 51 can be considered in the same manner as P 2 of the inner fluid flow path portion 15 of the first sheet 10 described above.
  • bulging amount indicated by W 107 in FIG. 55 bulging amount W R11 of vapor chamber 1 described above, bulging amount It can be considered in the same way as WR12 . That is, also in this embodiment, the overhang amount W 107 of the overhang portion 141 can be varied in the y direction. Further, the regions can be divided (for example, the region R 1 , the region R 2 , and the region R 3 ), and the overhang amount W 107 of the overhang portion 141 can be made different for each region.
  • the thickness direction distance from the top 141a of the wall portion 139a indicated by T 103 in FIG. 55 to the top portion 141a of the projecting portion 141 when the thickness of the inner fluid passage 138 and the T 104, T 103 the preferably divided by a value not less than 0.05 at T 104, may be 0.15 or more, may be 0.3 or more. Meanwhile, the value obtained by dividing the T 103 in T 104 may if 1.0 or less, may be 0.8 or less, or 0.6 or less.
  • the range of values obtained by dividing the T 103 in T 104 may be any one of the candidate values of said plurality of upper limit may be determined by one combination of the candidate value of the plurality of lower limit.
  • the range of a value obtained by dividing the T 103 in T 104 combines any two of the candidate value of the plurality of upper or may be defined by any combination of two candidate values for the plurality of lower limit.
  • the value is 0.5
  • the top portion 141a is arranged at the center of the inner liquid flow path portion 138 in the thickness direction.
  • the steam channel groove 42 is a part through which the vapor evaporated from the working fluid evaporates and constitutes a part of the steam channel 104 which is the first channel.
  • FIGS. 49 and 50 show the shape of the steam channel groove 142 in plan view, and FIG. 51 shows the cross-sectional shape of the steam channel groove 142, respectively.
  • the steam channel groove 142 is constituted by a groove (slit) formed inside the annular ring of the outer peripheral liquid channel part 134 in the main body 131.
  • the steam channel groove 142 of the present embodiment is formed between the adjacent inner liquid channel portions 138 and between the outer peripheral liquid channel portion 134 and the inner liquid channel portion 138, and is a plan view of the main body 131. It is a rectangular groove extending in a direction parallel to the long side (x direction). A plurality (four in this embodiment) of steam flow channel 142 are arranged in a direction (y direction) parallel to the short side.
  • the steam channel groove 142 of the present embodiment is configured to communicate the first surface 130a and the second surface 130b side of the third sheet 130, that is, a slit-shaped groove, and the first surface 130a and the second surface 130b. It opens to the surface 130b side. Therefore, as can be seen from FIG. 51, the third sheet 130 has a shape in which the outer peripheral liquid flow path part 134, the inner liquid flow path part 138, and the vapor flow path groove 142 are alternately repeated in the y direction.
  • the width of the steam channel groove 142 indicated by W 108 in FIGS. 49 to 51 (the size in the direction in which the inner liquid channel portion 138 and the steam channel groove 142 are arranged and the narrowest portion of the steam channel grooves) Can be considered in the same manner as W 6 of the steam flow channel 16 of the first sheet 10.
  • the steam channel communication groove 144 is a groove that allows the plurality of steam channel grooves 142 to communicate with each other. This makes it possible to equalize the steam in the plurality of steam channel grooves 142, or to transport the steam to a wider range and to efficiently use many condensate channels 3. It becomes possible to make the recirculation
  • the steam channel communication groove 144 of the present embodiment includes the inner liquid channel portion 138, both end portions in the direction in which the steam channel groove 142 extends, and the outer peripheral fluid channel. It is formed between the part 134.
  • the steam channel communication groove 144 is formed to communicate adjacent steam channel grooves 142.
  • the steam flow path communication groove 144 has a groove 144a on the first surface 130a side and a groove 144b on the second surface 130b side, and is connected between the groove 144a and the groove 144b. Part 144c.
  • the connecting portion 144 c connects the inner liquid flow path portion 138 and the outer peripheral liquid flow path portion 134 to hold the inner liquid flow path portion 38.
  • the width of the steam flow passage communication groove 144 indicated by W 109 is the same as that of the first sheet 10 described above. It can be considered in the same manner as the width W 7 of the steam flow channel 17.
  • the cross-sectional shape of the groove 144a and the groove 144b of the steam channel communication groove 144 is a semi-elliptical shape, but is not limited to this, a rectangle, a square, a square such as a trapezoid, a triangle, a semi-circle, a bottom is a semi-circle, The bottom may be semi-elliptical or a combination of any of these. Since the steam flow passage groove can reduce the flow resistance of the steam, the working fluid can be smoothly recirculated, so that the shape of the cross section of the flow path can be determined from this viewpoint.
  • FIG. 57 shows a cut surface obtained by cutting the vapor chamber 101 in the thickness direction along the y direction indicated by I 107 -I 107 in FIG.
  • FIG. 58 shows a cut surface obtained by cutting the vapor chamber 101 in the thickness direction along the x direction indicated by I 108 -I 108 in FIG.
  • FIG. 59 is an enlarged view of the portion indicated by I 109 in FIG. 57
  • FIG. 60 is an enlarged view of the portion indicated by I 110 in FIG. 57 to 60
  • the steam channel 104 and the steam channel 103 are separated by the wall part 135a and the wall part 139a, but the wall part 135a and the wall part 139a are respectively connected to the communication opening part 135b and the wall part 139a.
  • a communication opening 139b is provided. Therefore, the steam channel 104 and the steam channel 103 are communicated with each other through the communication opening 135b and the communication opening 139b.
  • the inner surface 110a of the first sheet 110 is superimposed on the first surface 130a side of the third sheet 30, and the second surface 130b side of the third sheet 130 is overlapped. It is set as the vapor chamber 101 by arrange
  • the main body 131 of the third sheet 130 and the main body 111 of the first sheet 110, the main body 131 of the third sheet 130 and the main body 121 of the second sheet 120 overlap, and the first sheet of the injection portion 132 of the third sheet 130.
  • the injection part 112 of 110, the injection part 132 of the third sheet 130, and the injection part 122 of the second sheet 120 overlap.
  • the components included in the main body 111, the main body 121, and the main body 131 are arranged by the laminated body of the first sheet 110, the second sheet 120, and the third sheet 130. Specifically, it is as follows.
  • the outer peripheral joint surface 133a provided on the first surface 130a side of the third sheet 130 and the outer peripheral surface of the inner surface 110a of the first sheet 110 are arranged so as to overlap with each other, and the second sheet 130 It arrange
  • seat 120 may overlap, and it is joined.
  • a hollow portion based on the shape of the third sheet 130 is formed between the first sheet 110 and the second sheet 120 to form a vapor chamber sheet, and the working fluid is sealed in the hollow portion.
  • a vapor chamber having a sealed space 102 is obtained.
  • the inner surface 110a of the first sheet 110 is disposed so as to overlap the first surface 130a side of the outer peripheral liquid flow path portion 134 of the third sheet 130. As a result, the opening of the liquid channel groove 135 is closed by the first sheet 110 and becomes a part of the hollow portion. This becomes the condensate flow path 103 which is the second flow path through which the condensate in a state where the working fluid sealed in the hollow portion is condensed and liquefied.
  • the inner surface 110a of the first sheet 110 is disposed so as to overlap the first surface 130a side of the inner liquid flow path portion 138 of the third sheet 130.
  • the opening of the liquid flow channel groove 139 is closed by the first sheet 110 and becomes a part of the hollow portion.
  • the condensate can be moved with a strong capillary force, and smooth circulation becomes possible. That is, when considering a flow channel that assumes that the condensate flows, the condensate flow channel 3 is compared with a flow channel by a so-called groove in which one surface of the flow channel is continuously opened. According to this, a high capillary force can be obtained. Moreover, since the condensate flow path 3 is formed separately from the vapor flow path 4 as the first flow path, the working fluid can be circulated smoothly.
  • the total channel cross-sectional area of the condensate channel 103 is increased while reducing (thinning) the channel cross-sectional area of one condensate channel 103. Therefore, the flow of the condensate can be made smooth while maintaining a high capillary force.
  • the shape of the condensate flow path 3 can be considered in the same manner as the shape and dimensions described in the third sheet 30 described above. Further, the relationship between the width (S A ) of the wall portion between adjacent condensate flow paths described in the vapor chamber 1 and the cross-sectional area S B of the cross section of the condensate flow path 3 (S A / S B ). Can be considered in the same manner in this embodiment. That is, in FIG. 61, as shown in an enlarged view, focusing on the two condensate flow paths 103 in FIG. 60, the width S A of the wall portion 139a (the wall portion 135a can be considered similarly).
  • Is preferably 20 ⁇ m or more, may be 30 ⁇ m or more, and may be 50 ⁇ m or more.
  • the wall width S A ( ⁇ m) is preferably 300 ⁇ m or less, can be 200 ⁇ m or less, and may be 100 ⁇ m or less. Thereby, the limited internal space can be used effectively, and the number of the steam flow paths and the condensate flow paths can be increased.
  • These ranges width S A is any one of the candidate values of said plurality of upper limit may be determined by one combination of the candidate value of the plurality of lower limit. Further, the range of the width S A combines any two of the candidate value of the plurality of upper or may be defined by any combination of two candidate values for the plurality of lower limit.
  • the steam flow path 104 is the first flow path through which the steam flows.
  • the shape of the steam channel 104 can be considered in the same manner as the shape and dimensions described in the third sheet 130 and the steam channel 4 of the vapor chamber 1.
  • an overhang portion 137 and an overhang portion 141 are provided in the outer peripheral liquid channel portion 134 and the inner liquid channel portion 138.
  • an overhang portion 137 and an overhang portion 141 that are disposed between the condensate flow channel 103 and the vapor flow channel 104 and protrude toward the vapor flow channel 104 are provided.
  • the overhanging portion 137 and the overhanging portion 141 have a top portion 137a and a top portion 141a that protrude most in the width direction of the steam channel 104 (the direction in which the steam channel 4 and the condensate channel 3 are arranged, the y direction).
  • the overhanging portion is disposed between the condensate flow path 103 and the steam flow path 104 and protrudes so as to narrow the vapor flow path 104 in the width direction, and the condensate flow from the most protruding portion (top).
  • An overhanging surface including a surface approaching the path 103 (wall portion) is provided.
  • the overhang amounts (W 104 , W 107 ) can be considered in the same manner as the overhang amounts W R11 and W R12 of the vapor chamber 1 described above. That is, even in this embodiment, the regions can be divided (for example, the region R 1 , the region R 2 , and the region R 3 ), and the overhang amount can be configured to have the above relationship between the regions.
  • the opening of the groove 144a of the steam flow path communication groove 144 of the third sheet 130 is closed by the first sheet 110, and the opening of the groove 144b is closed by the second sheet 120, respectively.
  • a hollow portion that communicates with the passage 104 is formed, and becomes a part of the sealed space, which becomes a flow path through which the working fluid flows.
  • the injection part 112, the injection part 122, and the injection part 132 are also provided on the first surface 130 a side of the injection part 132 and on the second surface 130 side of the injection part 132.
  • the injection part 122 overlaps, the opening of the injection groove 132a on the second surface 130b side of the third sheet 130 is closed by the injection part 122 of the second sheet 120, and the outside and the hollow part (the condensate flow path 103 and the steam flow path). 104) is formed.
  • the injection flow path 5 is closed and becomes the sealed space 102. Therefore, in the final form of the vapor chamber 101, the outside and the hollow portion are Not communicating.
  • the injection part 112, the injection part 122, and the injection part 132 are provided at one end of a pair of end parts in the longitudinal direction of the vapor chamber 101 .
  • it may be arranged at any one of the other ends, or a plurality of them may be arranged. In the case of a plurality of arrangements, for example, they may be arranged at each of a pair of end portions in the longitudinal direction of the vapor chamber 101, or may be arranged at one end portion of the other pair of end portions.
  • a working fluid is sealed in the sealed space 102 of the vapor chamber 101.
  • the working fluid used for a normal vapor chamber such as a pure water, ethanol, methanol, acetone, and mixtures thereof, can be used.
  • the vapor chamber 101 as described above can also act in the same manner as the vapor chamber 1 and obtain the effect.
  • FIG. 62 to 67 show diagrams for explaining other embodiments by paying attention to the shape of the overhanging portion. Each of them corresponds to FIG.
  • projection parts can also be applied to an outer periphery liquid flow-path part. Further, the amount of overhang of the overhang portion can be considered in the same manner as the overhang portion 6 of the vapor chamber 1.
  • the top portion 241a of the overhang portion 241 is disposed at a position closer to the condensate flow path 103 in the thickness direction than the top portion 141a of FIG. Specifically, a value obtained by dividing T 203 shown in FIG. 62 by T 204 is in a range of 0.2 to 0.4. According to this embodiment, since the space sandwiched between the overhanging surface 241b and the first sheet 110 is small, the capillary force is likely to work strongly, and the above effect is achieved.
  • the overhang surface 341b extending from the top portion 341a of the overhang portion 341 is linear in a cross-sectional view.
  • the above-described overhanging surface 141b and overhanging surface 241b are both concave arcs on the inner liquid flow path portion 138 side, but in this embodiment, the overhanging surface 341b is linear in cross section. Even if it is such a form, there will exist the said effect.
  • the top portion 441a of the overhang portion 441 is planar, and the overhang surface 441b is parallel to the direction in which the plurality of condensate flow channels 103 and the vapor channels 104 are arranged (y direction). It has an extending surface. Even if it is such a form, there will exist the said effect.
  • the overhanging surface 541b extending from the top portion 541a of the overhanging portion 541 has a circular arc shape convex toward the steam channel 104 in a cross-sectional view.
  • the overhanging surface 541b approaches the condensate flow path 103, a relatively large number of portions with a small distance from the first sheet 110 can be formed, and efficient use of capillary force can be expected.
  • the top portion 641a of the overhang portion 641 is provided so as to be separated to the surface on the opposite side of the vapor channel 104 from the condensate channel 103 side. Even in such a form, the overhanging surface 641b can be formed, and the above-described effects are exhibited.
  • the top portion of the steam flow path is in the thickness direction as in each of the above-described embodiments. It is preferable to arrange on one of the side surfaces that do not coincide with the inner surface facing in the thickness direction.
  • the condensate flow path 103 is formed both in the thickness direction of the inner liquid flow path portion 138.
  • the overhanging portion 741 can form overhanging surfaces 741b from the top portion 741a toward both of the condensate flow paths 103, and each of the condensate flow paths 3 existing in both thickness directions.

Landscapes

  • Engineering & Computer Science (AREA)
  • Physics & Mathematics (AREA)
  • Thermal Sciences (AREA)
  • Microelectronics & Electronic Packaging (AREA)
  • General Engineering & Computer Science (AREA)
  • Life Sciences & Earth Sciences (AREA)
  • Sustainable Development (AREA)
  • Mechanical Engineering (AREA)
  • General Physics & Mathematics (AREA)
  • Computer Hardware Design (AREA)
  • Chemical & Material Sciences (AREA)
  • Materials Engineering (AREA)
  • Condensed Matter Physics & Semiconductors (AREA)
  • Power Engineering (AREA)
  • Theoretical Computer Science (AREA)
  • Human Computer Interaction (AREA)
  • Cooling Or The Like Of Semiconductors Or Solid State Devices (AREA)
  • Cooling Or The Like Of Electrical Apparatus (AREA)
  • Physical Or Chemical Processes And Apparatus (AREA)
  • Fixed Capacitors And Capacitor Manufacturing Machines (AREA)
  • Push-Button Switches (AREA)
  • Piezo-Electric Transducers For Audible Bands (AREA)
  • Fuel Cell (AREA)
  • Casings For Electric Apparatus (AREA)
PCT/JP2019/021609 2018-05-30 2019-05-30 ベーパーチャンバー、及び電子機器 Ceased WO2019230911A1 (ja)

Priority Applications (7)

Application Number Priority Date Filing Date Title
JP2020522602A JP6806285B2 (ja) 2018-05-30 2019-05-30 ベーパーチャンバー、及び電子機器
CN201980032165.8A CN112166294B (zh) 2018-05-30 2019-05-30 蒸发室和电子设备
US17/059,301 US11903167B2 (en) 2018-05-30 2019-05-30 Vapor chamber with condensate flow paths disposed on wall parts
CN202110214684.5A CN112902717B (zh) 2018-05-30 2019-05-30 蒸发室用片、蒸发室和电子设备
KR1020207034976A KR102501074B1 (ko) 2018-05-30 2019-05-30 베이퍼 챔버 및 전자 기기
US18/398,691 US12382610B2 (en) 2018-05-30 2023-12-28 Vapor chamber and electronic device
US19/261,419 US20250338441A1 (en) 2018-05-30 2025-07-07 Vapor chamber and electronic device

Applications Claiming Priority (4)

Application Number Priority Date Filing Date Title
JP2018-103620 2018-05-30
JP2018103633 2018-05-30
JP2018-103633 2018-05-30
JP2018103620 2018-05-30

Related Child Applications (2)

Application Number Title Priority Date Filing Date
US17/059,301 A-371-Of-International US11903167B2 (en) 2018-05-30 2019-05-30 Vapor chamber with condensate flow paths disposed on wall parts
US18/398,691 Division US12382610B2 (en) 2018-05-30 2023-12-28 Vapor chamber and electronic device

Publications (1)

Publication Number Publication Date
WO2019230911A1 true WO2019230911A1 (ja) 2019-12-05

Family

ID=68698266

Family Applications (1)

Application Number Title Priority Date Filing Date
PCT/JP2019/021609 Ceased WO2019230911A1 (ja) 2018-05-30 2019-05-30 ベーパーチャンバー、及び電子機器

Country Status (6)

Country Link
US (3) US11903167B2 (enExample)
JP (3) JP6806285B2 (enExample)
KR (1) KR102501074B1 (enExample)
CN (2) CN112166294B (enExample)
TW (3) TWI856760B (enExample)
WO (1) WO2019230911A1 (enExample)

Cited By (6)

* Cited by examiner, † Cited by third party
Publication number Priority date Publication date Assignee Title
WO2020184620A1 (ja) * 2019-03-11 2020-09-17 大日本印刷株式会社 ベーパーチャンバ、電子機器、及び、ベーパーチャンバ用シート
TWI738602B (zh) * 2020-01-22 2021-09-01 訊凱國際股份有限公司 多通道薄熱交換器
JP2021179307A (ja) * 2019-06-21 2021-11-18 株式会社村田製作所 ベーパーチャンバー
US20240125559A1 (en) * 2021-02-03 2024-04-18 Dai Nippon Printing Co., Ltd. Body sheet for vapor chamber, vapor chamber, and electronic apparatus
JP2024059993A (ja) * 2020-02-26 2024-05-01 京セラ株式会社 放熱部材
JP2024174087A (ja) * 2020-01-07 2024-12-13 大日本印刷株式会社 ベーパーチャンバ用のウィックシート、ベーパーチャンバおよび電子機器

Families Citing this family (10)

* Cited by examiner, † Cited by third party
Publication number Priority date Publication date Assignee Title
KR102746872B1 (ko) * 2019-09-06 2024-12-27 다이니폰 인사츠 가부시키가이샤 베이퍼 챔버, 전자 기기, 베이퍼 챔버용 시트, 베이퍼 챔버용의 중간체가 다면 구비된 시트, 베이퍼 챔버용의 중간체가 다면 구비된 시트가 감긴 롤, 베이퍼 챔버용의 중간체
WO2021141110A1 (ja) * 2020-01-10 2021-07-15 大日本印刷株式会社 ベーパーチャンバ用のウィックシート、ベーパーチャンバおよび電子機器
CN114199056A (zh) * 2020-09-02 2022-03-18 泽鸿(广州)电子科技有限公司 薄型均温板
TWI804767B (zh) * 2020-11-05 2023-06-11 大陸商尼得科巨仲電子(昆山)有限公司 均溫板結構及其毛細層結構
US20240142179A1 (en) * 2021-02-26 2024-05-02 Kyocera Corporation Thermal device
TWI878479B (zh) * 2021-03-04 2025-04-01 宸寰科技有限公司 薄型化封裝接著結構
KR102851862B1 (ko) * 2021-04-02 2025-08-28 에스케이하이닉스 주식회사 방열 모듈
JP2023006702A (ja) * 2021-06-30 2023-01-18 尼得科超▲しゅう▼科技股▲ふん▼有限公司 熱伝導部材
CN113473807A (zh) * 2021-07-06 2021-10-01 中国电子科技集团公司第三十八研究所 一种基于毛细力驱动的整体式两相流散热装置
TWI872435B (zh) * 2023-01-12 2025-02-11 薩摩亞商塔普林克科技有限公司 整合式均熱板

Citations (8)

* Cited by examiner, † Cited by third party
Publication number Priority date Publication date Assignee Title
JP2000074578A (ja) * 1998-08-28 2000-03-14 Furukawa Electric Co Ltd:The 扁平ヒートパイプとその製造方法
WO2001063195A1 (en) * 2000-02-25 2001-08-30 Fujitsu Limited Thin heat pipe and method of manufacturing the heat pipe
JP2002039693A (ja) * 2000-07-21 2002-02-06 Toufuji Denki Kk フラット型ヒートパイプ
US20050022978A1 (en) * 2000-12-01 2005-02-03 Jean Duval Heat exchanger device using a two-phase active fluid, and a method of manufacturing such a device
JP2007095762A (ja) * 2005-09-27 2007-04-12 Matsushita Electric Ind Co Ltd フレキシブルヒートパイプ
JP2012202570A (ja) * 2011-03-24 2012-10-22 Toshiba Corp 蒸発器及び冷却装置
JP2014142143A (ja) * 2013-01-24 2014-08-07 Ntec Co Ltd ヒートパイプ
JP2015219639A (ja) * 2014-05-15 2015-12-07 レノボ・シンガポール・プライベート・リミテッド 携帯用情報機器

Family Cites Families (31)

* Cited by examiner, † Cited by third party
Publication number Priority date Publication date Assignee Title
JPS5855687A (ja) * 1981-09-29 1983-04-02 Hisateru Akachi ヒ−トパイプのコンテナとその製造方法
JP2730824B2 (ja) * 1991-07-09 1998-03-25 三菱伸銅株式会社 内面溝付伝熱管およびその製造方法
US5427174A (en) * 1993-04-30 1995-06-27 Heat Transfer Devices, Inc. Method and apparatus for a self contained heat exchanger
TW407455B (en) * 1997-12-09 2000-10-01 Diamond Electric Mfg Heat pipe and its processing method
US6148906A (en) * 1998-04-15 2000-11-21 Scientech Corporation Flat plate heat pipe cooling system for electronic equipment enclosure
JP3552553B2 (ja) 1998-10-08 2004-08-11 日立電線株式会社 平面状ヒートパイプ及びその製造方法
JP2002267378A (ja) * 2001-03-12 2002-09-18 Showa Denko Kk ヒートパイプ
JP4123017B2 (ja) * 2002-04-02 2008-07-23 三菱電機株式会社 熱輸送素子および熱輸送素子を用いた半導体装置および熱輸送素子を用いた大気圏外移動体
JP4114553B2 (ja) 2003-06-12 2008-07-09 株式会社デンソー 対向振動流型熱輸送装置
TWI285251B (en) * 2005-09-15 2007-08-11 Univ Tsinghua Flat-plate heat pipe containing channels
JP2007266153A (ja) * 2006-03-28 2007-10-11 Sony Corp プレート型熱輸送装置及び電子機器
TW200848683A (en) * 2007-03-08 2008-12-16 Convergence Technologies Ltd Heat transfer device
CN101754653A (zh) * 2008-12-08 2010-06-23 富准精密工业(深圳)有限公司 散热器
JP4811460B2 (ja) * 2008-12-24 2011-11-09 ソニー株式会社 熱輸送デバイス及び電子機器
TW201040479A (en) * 2010-07-21 2010-11-16 Asia Vital Components Co Ltd Heat plate driven by pressure difference
US8723205B2 (en) * 2011-08-30 2014-05-13 Abl Ip Holding Llc Phosphor incorporated in a thermal conductivity and phase transition heat transfer mechanism
CN103415192B (zh) * 2013-08-20 2015-09-23 南京理工大学 蒸汽腔热管/微通道冷板复合结构均温装置
JP6121854B2 (ja) * 2013-09-18 2017-04-26 東芝ホームテクノ株式会社 シート型ヒートパイプまたは携帯情報端末
JP6121893B2 (ja) * 2013-12-24 2017-04-26 東芝ホームテクノ株式会社 シート型ヒートパイプ
KR101508877B1 (ko) * 2014-04-14 2015-04-07 김흥배 모세관력을 가지는 구조물이 형성된 베이퍼 챔버
JP6057952B2 (ja) 2014-07-09 2017-01-11 東芝ホームテクノ株式会社 シート型ヒートパイプ
US20160131437A1 (en) 2014-11-12 2016-05-12 Asia Vital Components Co., Ltd. Thin heat pipe structure
US9664458B2 (en) * 2014-12-25 2017-05-30 Asia Vital Components Co., Ltd. Supporting structure for vapor chamber
JP2016125693A (ja) * 2014-12-26 2016-07-11 富士通株式会社 冷却部品および情報処理装置
US20160209122A1 (en) * 2015-01-20 2016-07-21 Chaun-Choung Technology Corp. Slim-type vapor chamber and capillary structure thereof
TWM532046U (zh) * 2016-06-02 2016-11-11 Tai Sol Electronics Co Ltd 具有液汽分離結構的均溫板
JP2017223430A (ja) 2016-06-17 2017-12-21 大日本印刷株式会社 熱交換器用金属プレートおよび熱交換器
US20180156545A1 (en) * 2016-12-05 2018-06-07 Microsoft Technology Licensing, Llc Vapor chamber with three-dimensional printed spanning structure
US10352626B2 (en) * 2016-12-14 2019-07-16 Shinko Electric Industries Co., Ltd. Heat pipe
CN107567248B (zh) * 2017-09-08 2020-04-17 中微冷却技术(深圳)有限公司 液冷散热装置
CN120640614A (zh) * 2019-10-09 2025-09-12 大日本印刷株式会社 蒸发室用的芯部片、蒸发室以及电子设备

Patent Citations (8)

* Cited by examiner, † Cited by third party
Publication number Priority date Publication date Assignee Title
JP2000074578A (ja) * 1998-08-28 2000-03-14 Furukawa Electric Co Ltd:The 扁平ヒートパイプとその製造方法
WO2001063195A1 (en) * 2000-02-25 2001-08-30 Fujitsu Limited Thin heat pipe and method of manufacturing the heat pipe
JP2002039693A (ja) * 2000-07-21 2002-02-06 Toufuji Denki Kk フラット型ヒートパイプ
US20050022978A1 (en) * 2000-12-01 2005-02-03 Jean Duval Heat exchanger device using a two-phase active fluid, and a method of manufacturing such a device
JP2007095762A (ja) * 2005-09-27 2007-04-12 Matsushita Electric Ind Co Ltd フレキシブルヒートパイプ
JP2012202570A (ja) * 2011-03-24 2012-10-22 Toshiba Corp 蒸発器及び冷却装置
JP2014142143A (ja) * 2013-01-24 2014-08-07 Ntec Co Ltd ヒートパイプ
JP2015219639A (ja) * 2014-05-15 2015-12-07 レノボ・シンガポール・プライベート・リミテッド 携帯用情報機器

Cited By (8)

* Cited by examiner, † Cited by third party
Publication number Priority date Publication date Assignee Title
WO2020184620A1 (ja) * 2019-03-11 2020-09-17 大日本印刷株式会社 ベーパーチャンバ、電子機器、及び、ベーパーチャンバ用シート
JP2021179307A (ja) * 2019-06-21 2021-11-18 株式会社村田製作所 ベーパーチャンバー
JP7173238B2 (ja) 2019-06-21 2022-11-16 株式会社村田製作所 ベーパーチャンバー
JP2024174087A (ja) * 2020-01-07 2024-12-13 大日本印刷株式会社 ベーパーチャンバ用のウィックシート、ベーパーチャンバおよび電子機器
JP7780721B2 (ja) 2020-01-07 2025-12-05 大日本印刷株式会社 ベーパーチャンバ用のウィックシート、ベーパーチャンバおよび電子機器
TWI738602B (zh) * 2020-01-22 2021-09-01 訊凱國際股份有限公司 多通道薄熱交換器
JP2024059993A (ja) * 2020-02-26 2024-05-01 京セラ株式会社 放熱部材
US20240125559A1 (en) * 2021-02-03 2024-04-18 Dai Nippon Printing Co., Ltd. Body sheet for vapor chamber, vapor chamber, and electronic apparatus

Also Published As

Publication number Publication date
JPWO2019230911A1 (ja) 2020-12-17
US11903167B2 (en) 2024-02-13
JP6806285B2 (ja) 2021-01-06
CN112166294A (zh) 2021-01-01
CN112902717B (zh) 2022-03-11
US20250338441A1 (en) 2025-10-30
TWI856760B (zh) 2024-09-21
JP2021014981A (ja) 2021-02-12
US20210168969A1 (en) 2021-06-03
JP7318628B2 (ja) 2023-08-01
JP2021055992A (ja) 2021-04-08
TWI878179B (zh) 2025-03-21
JP6809643B1 (ja) 2021-01-06
TWI812723B (zh) 2023-08-21
CN112166294B (zh) 2023-03-24
KR102501074B1 (ko) 2023-02-21
CN112902717A (zh) 2021-06-04
KR20210016537A (ko) 2021-02-16
TW202500939A (zh) 2025-01-01
TW202012865A (zh) 2020-04-01
TW202344791A (zh) 2023-11-16
US20240130083A1 (en) 2024-04-18
US12382610B2 (en) 2025-08-05

Similar Documents

Publication Publication Date Title
WO2019230911A1 (ja) ベーパーチャンバー、及び電子機器
JP7700945B2 (ja) ベーパーチャンバ、ベーパーチャンバ用のシート及び電子機器
JP7517382B2 (ja) ベーパーチャンバー、及び電子機器
JP7464097B2 (ja) ベーパーチャンバー、電子機器、及びベーパーチャンバーの製造方法
JP7567796B2 (ja) ベーパーチャンバ、及び、電子機器
JP7563514B2 (ja) ベーパーチャンバ、電子機器、及び、ベーパーチャンバ用シート
JP2019105398A (ja) ベーパーチャンバー
JP7459897B2 (ja) ベーパーチャンバー、及び電子機器
JP2019124446A (ja) ベーパーチャンバ、電子機器、ベーパーチャンバ用シート、並びに、ベーパーチャンバシート及びベーパーチャンバの製造方法
JP7247475B2 (ja) ベーパーチャンバー、及び電子機器
JP7200607B2 (ja) ベーパーチャンバ、電子機器、及びベーパーチャンバ用シート

Legal Events

Date Code Title Description
121 Ep: the epo has been informed by wipo that ep was designated in this application

Ref document number: 19812026

Country of ref document: EP

Kind code of ref document: A1

ENP Entry into the national phase

Ref document number: 2020522602

Country of ref document: JP

Kind code of ref document: A

NENP Non-entry into the national phase

Ref country code: DE

122 Ep: pct application non-entry in european phase

Ref document number: 19812026

Country of ref document: EP

Kind code of ref document: A1