WO2019208180A1 - パンツ型使い捨ておむつ - Google Patents

パンツ型使い捨ておむつ Download PDF

Info

Publication number
WO2019208180A1
WO2019208180A1 PCT/JP2019/015231 JP2019015231W WO2019208180A1 WO 2019208180 A1 WO2019208180 A1 WO 2019208180A1 JP 2019015231 W JP2019015231 W JP 2019015231W WO 2019208180 A1 WO2019208180 A1 WO 2019208180A1
Authority
WO
WIPO (PCT)
Prior art keywords
disposable diaper
pants
region
type disposable
longitudinal direction
Prior art date
Legal status (The legal status is an assumption and is not a legal conclusion. Google has not performed a legal analysis and makes no representation as to the accuracy of the status listed.)
Ceased
Application number
PCT/JP2019/015231
Other languages
English (en)
French (fr)
Japanese (ja)
Inventor
佑馬 中尾
優子 福田
Current Assignee (The listed assignees may be inaccurate. Google has not performed a legal analysis and makes no representation or warranty as to the accuracy of the list.)
Kao Corp
Original Assignee
Kao Corp
Priority date (The priority date is an assumption and is not a legal conclusion. Google has not performed a legal analysis and makes no representation as to the accuracy of the date listed.)
Filing date
Publication date
Application filed by Kao Corp filed Critical Kao Corp
Priority to RU2020137517A priority Critical patent/RU2750576C1/ru
Priority to DE112019002148.6T priority patent/DE112019002148T5/de
Priority to GB2018256.4A priority patent/GB2588005B/en
Priority to CN201980025938.XA priority patent/CN111989075B/zh
Priority to US17/050,142 priority patent/US11957557B2/en
Publication of WO2019208180A1 publication Critical patent/WO2019208180A1/ja
Anticipated expiration legal-status Critical
Ceased legal-status Critical Current

Links

Images

Classifications

    • AHUMAN NECESSITIES
    • A61MEDICAL OR VETERINARY SCIENCE; HYGIENE
    • A61FFILTERS IMPLANTABLE INTO BLOOD VESSELS; PROSTHESES; DEVICES PROVIDING PATENCY TO, OR PREVENTING COLLAPSING OF, TUBULAR STRUCTURES OF THE BODY, e.g. STENTS; ORTHOPAEDIC, NURSING OR CONTRACEPTIVE DEVICES; FOMENTATION; TREATMENT OR PROTECTION OF EYES OR EARS; BANDAGES, DRESSINGS OR ABSORBENT PADS; FIRST-AID KITS
    • A61F13/00Bandages or dressings; Absorbent pads
    • A61F13/15Absorbent pads, e.g. sanitary towels, swabs or tampons for external or internal application to the body; Supporting or fastening means therefor; Tampon applicators
    • A61F13/551Packaging before or after use
    • A61F13/55105Packaging before or after use packaging of diapers
    • A61F13/5512Packaging before or after use packaging of diapers after use
    • AHUMAN NECESSITIES
    • A61MEDICAL OR VETERINARY SCIENCE; HYGIENE
    • A61FFILTERS IMPLANTABLE INTO BLOOD VESSELS; PROSTHESES; DEVICES PROVIDING PATENCY TO, OR PREVENTING COLLAPSING OF, TUBULAR STRUCTURES OF THE BODY, e.g. STENTS; ORTHOPAEDIC, NURSING OR CONTRACEPTIVE DEVICES; FOMENTATION; TREATMENT OR PROTECTION OF EYES OR EARS; BANDAGES, DRESSINGS OR ABSORBENT PADS; FIRST-AID KITS
    • A61F13/00Bandages or dressings; Absorbent pads
    • A61F13/15Absorbent pads, e.g. sanitary towels, swabs or tampons for external or internal application to the body; Supporting or fastening means therefor; Tampon applicators
    • A61F13/45Absorbent pads, e.g. sanitary towels, swabs or tampons for external or internal application to the body; Supporting or fastening means therefor; Tampon applicators characterised by the shape
    • A61F13/49Absorbent pads, e.g. sanitary towels, swabs or tampons for external or internal application to the body; Supporting or fastening means therefor; Tampon applicators characterised by the shape specially adapted to be worn around the waist, e.g. diapers, nappies
    • A61F13/496Absorbent pads, e.g. sanitary towels, swabs or tampons for external or internal application to the body; Supporting or fastening means therefor; Tampon applicators characterised by the shape specially adapted to be worn around the waist, e.g. diapers, nappies in the form of pants or briefs
    • AHUMAN NECESSITIES
    • A61MEDICAL OR VETERINARY SCIENCE; HYGIENE
    • A61FFILTERS IMPLANTABLE INTO BLOOD VESSELS; PROSTHESES; DEVICES PROVIDING PATENCY TO, OR PREVENTING COLLAPSING OF, TUBULAR STRUCTURES OF THE BODY, e.g. STENTS; ORTHOPAEDIC, NURSING OR CONTRACEPTIVE DEVICES; FOMENTATION; TREATMENT OR PROTECTION OF EYES OR EARS; BANDAGES, DRESSINGS OR ABSORBENT PADS; FIRST-AID KITS
    • A61F13/00Bandages or dressings; Absorbent pads
    • A61F13/15Absorbent pads, e.g. sanitary towels, swabs or tampons for external or internal application to the body; Supporting or fastening means therefor; Tampon applicators
    • A61F13/53Absorbent pads, e.g. sanitary towels, swabs or tampons for external or internal application to the body; Supporting or fastening means therefor; Tampon applicators characterised by the absorbing medium
    • A61F13/531Absorbent pads, e.g. sanitary towels, swabs or tampons for external or internal application to the body; Supporting or fastening means therefor; Tampon applicators characterised by the absorbing medium having a homogeneous composition through the thickness of the pad
    • A61F13/532Absorbent pads, e.g. sanitary towels, swabs or tampons for external or internal application to the body; Supporting or fastening means therefor; Tampon applicators characterised by the absorbing medium having a homogeneous composition through the thickness of the pad inhomogeneous in the plane of the pad
    • AHUMAN NECESSITIES
    • A61MEDICAL OR VETERINARY SCIENCE; HYGIENE
    • A61FFILTERS IMPLANTABLE INTO BLOOD VESSELS; PROSTHESES; DEVICES PROVIDING PATENCY TO, OR PREVENTING COLLAPSING OF, TUBULAR STRUCTURES OF THE BODY, e.g. STENTS; ORTHOPAEDIC, NURSING OR CONTRACEPTIVE DEVICES; FOMENTATION; TREATMENT OR PROTECTION OF EYES OR EARS; BANDAGES, DRESSINGS OR ABSORBENT PADS; FIRST-AID KITS
    • A61F13/00Bandages or dressings; Absorbent pads
    • A61F13/15Absorbent pads, e.g. sanitary towels, swabs or tampons for external or internal application to the body; Supporting or fastening means therefor; Tampon applicators
    • A61F13/551Packaging before or after use
    • AHUMAN NECESSITIES
    • A61MEDICAL OR VETERINARY SCIENCE; HYGIENE
    • A61FFILTERS IMPLANTABLE INTO BLOOD VESSELS; PROSTHESES; DEVICES PROVIDING PATENCY TO, OR PREVENTING COLLAPSING OF, TUBULAR STRUCTURES OF THE BODY, e.g. STENTS; ORTHOPAEDIC, NURSING OR CONTRACEPTIVE DEVICES; FOMENTATION; TREATMENT OR PROTECTION OF EYES OR EARS; BANDAGES, DRESSINGS OR ABSORBENT PADS; FIRST-AID KITS
    • A61F13/00Bandages or dressings; Absorbent pads
    • A61F13/15Absorbent pads, e.g. sanitary towels, swabs or tampons for external or internal application to the body; Supporting or fastening means therefor; Tampon applicators
    • A61F13/15203Properties of the article, e.g. stiffness or absorbency
    • A61F2013/15284Properties of the article, e.g. stiffness or absorbency characterized by quantifiable properties
    • A61F2013/15357Stiffness, e.g. Taber rigidity
    • AHUMAN NECESSITIES
    • A61MEDICAL OR VETERINARY SCIENCE; HYGIENE
    • A61FFILTERS IMPLANTABLE INTO BLOOD VESSELS; PROSTHESES; DEVICES PROVIDING PATENCY TO, OR PREVENTING COLLAPSING OF, TUBULAR STRUCTURES OF THE BODY, e.g. STENTS; ORTHOPAEDIC, NURSING OR CONTRACEPTIVE DEVICES; FOMENTATION; TREATMENT OR PROTECTION OF EYES OR EARS; BANDAGES, DRESSINGS OR ABSORBENT PADS; FIRST-AID KITS
    • A61F13/00Bandages or dressings; Absorbent pads
    • A61F13/15Absorbent pads, e.g. sanitary towels, swabs or tampons for external or internal application to the body; Supporting or fastening means therefor; Tampon applicators
    • A61F13/15203Properties of the article, e.g. stiffness or absorbency
    • A61F2013/15284Properties of the article, e.g. stiffness or absorbency characterized by quantifiable properties
    • A61F2013/15406Basis weight
    • AHUMAN NECESSITIES
    • A61MEDICAL OR VETERINARY SCIENCE; HYGIENE
    • A61FFILTERS IMPLANTABLE INTO BLOOD VESSELS; PROSTHESES; DEVICES PROVIDING PATENCY TO, OR PREVENTING COLLAPSING OF, TUBULAR STRUCTURES OF THE BODY, e.g. STENTS; ORTHOPAEDIC, NURSING OR CONTRACEPTIVE DEVICES; FOMENTATION; TREATMENT OR PROTECTION OF EYES OR EARS; BANDAGES, DRESSINGS OR ABSORBENT PADS; FIRST-AID KITS
    • A61F13/00Bandages or dressings; Absorbent pads
    • A61F13/15Absorbent pads, e.g. sanitary towels, swabs or tampons for external or internal application to the body; Supporting or fastening means therefor; Tampon applicators
    • A61F13/53Absorbent pads, e.g. sanitary towels, swabs or tampons for external or internal application to the body; Supporting or fastening means therefor; Tampon applicators characterised by the absorbing medium
    • A61F13/534Absorbent pads, e.g. sanitary towels, swabs or tampons for external or internal application to the body; Supporting or fastening means therefor; Tampon applicators characterised by the absorbing medium having an inhomogeneous composition through the thickness of the pad
    • A61F13/535Absorbent pads, e.g. sanitary towels, swabs or tampons for external or internal application to the body; Supporting or fastening means therefor; Tampon applicators characterised by the absorbing medium having an inhomogeneous composition through the thickness of the pad inhomogeneous in the plane of the pad, e.g. core absorbent layers being of different sizes
    • A61F2013/5355Absorbent pads, e.g. sanitary towels, swabs or tampons for external or internal application to the body; Supporting or fastening means therefor; Tampon applicators characterised by the absorbing medium having an inhomogeneous composition through the thickness of the pad inhomogeneous in the plane of the pad, e.g. core absorbent layers being of different sizes with terraced core
    • AHUMAN NECESSITIES
    • A61MEDICAL OR VETERINARY SCIENCE; HYGIENE
    • A61FFILTERS IMPLANTABLE INTO BLOOD VESSELS; PROSTHESES; DEVICES PROVIDING PATENCY TO, OR PREVENTING COLLAPSING OF, TUBULAR STRUCTURES OF THE BODY, e.g. STENTS; ORTHOPAEDIC, NURSING OR CONTRACEPTIVE DEVICES; FOMENTATION; TREATMENT OR PROTECTION OF EYES OR EARS; BANDAGES, DRESSINGS OR ABSORBENT PADS; FIRST-AID KITS
    • A61F13/00Bandages or dressings; Absorbent pads
    • A61F13/15Absorbent pads, e.g. sanitary towels, swabs or tampons for external or internal application to the body; Supporting or fastening means therefor; Tampon applicators
    • A61F13/551Packaging before or after use
    • A61F13/55105Packaging before or after use packaging of diapers
    • A61F13/5512Packaging before or after use packaging of diapers after use
    • A61F2013/55125Packaging before or after use packaging of diapers after use the disposal system being a bag or a pocket integral with or attached to the diaper

Definitions

  • the present invention relates to a pants-type disposable diaper provided with a disposal tape.
  • Patent Document 1 includes adjacent first and second tape tab elements and a plastically deformable stretchable film having an elongated portion between two ends, one end of the film being A laminated disposable tape tab is described wherein the first surface of the first tape tab element has the other end of the film bonded to the first surface of the second tape tab. According to Patent Document 1, the tab can be extended by grasping one end of the tape tab, and as a result, the tab can be sufficiently stretched to wrap around the product.
  • Patent Document 2 describes a paper diaper including a post-processing tape having a lower layer, an upper layer, and an intermediate layer, each having a tape base material that has been surface-modified only on one side.
  • Each layer of the post-treatment tape has an adhesive-coated surface formed by applying an adhesive to one surface of the tape base material, and an adhesive non-coated surface is formed on the other surface of the tape base material.
  • the post-processing tape is connected by the first connecting portion and the second connecting portion, and can be deformed from the bent state to the extended state by the first peeling portion and the second peeling portion.
  • the present invention has a waist opening and a pair of leg openings, and in the worn state, the abdomen disposed on the abdomen side of the wearer, the crotch part disposed on the crotch part, and the dorsal side disposed on the dorsal side
  • This is a pants-type disposable diaper having a section.
  • a disposal tape is provided on the outer surface of the disposable diaper.
  • a fixing portion fixed to the outer surface of the disposable diaper, an extension portion, and a fastening portion are arranged in this order along the longitudinal direction of the disposal tape. It is in a tri-fold state that is stacked in order.
  • the disposal tape In the three-folded state, the disposal tape is detachably joined between the fastening portion and the extension portion, and is also detachably joined between the extension portion and the fixing portion. ing.
  • the extending portion can be extended in the longitudinal direction of the disposal tape in a developed state where the tri-fold state is released.
  • the disposal tape In the unfolded state, the disposal tape has a first connection region where the extension portion and the fastening portion overlap, and a second connection region where the extension portion and the fixing portion overlap.
  • One or both of the first and second connection regions include a joint region where the extension portion and the fastening portion or the fixing portion overlapping the extension portion are joined, and the longitudinal direction from the joint region.
  • fixed part which overlaps with this extension part are not joined are located in the center part side of a direction.
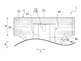
  • FIG. 1 is a perspective view showing an embodiment of a pants-type disposable diaper of the present invention.
  • FIG. 2 is a developed plan view schematically showing the skin facing surface side in the developed and extended state of the pants-type disposable diaper shown in FIG. 1.
  • FIG. 3 is a perspective view showing a disposal form of the pants-type disposable diaper shown in FIG. 1.
  • FIG. 4 is a cross-sectional view showing the structure of a disposal tape provided in the pants-type disposable diaper shown in FIG.
  • FIG. 5A is a plan view schematically showing a developed state in which the three-fold state of the disposal tape shown in FIG. 1 is released
  • FIG. 5B is a cross section along the longitudinal direction of FIG. FIG. FIG.
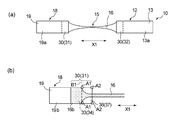
  • FIG. 6 is a perspective view showing a state in which the disposal tape for the pants-type disposable diaper shown in FIG. 1 is extended.
  • Fig.7 (a) is a top view which shows typically the expansion
  • FIG.7 (b) is an enlarged plane of the 1st connection area
  • FIG. FIG. 8 is a view corresponding to FIG. 7B of a disposal tape that does not have a non-bonded region.
  • 9A is an enlarged cross-sectional view of the first connection region shown in FIG. 4, and FIG. 9B is an enlarged cross-sectional view of the second connection region shown in FIG.
  • FIG. 10 is a plan view showing an arrangement example of the disposal tape according to the present invention.
  • Patent Documents 1 and 2 do not describe anything about the hard feel corners that can occur in a waste tape after stretching.
  • the present invention relates to a pants-type disposable diaper that can eliminate the disadvantages of the above-described conventional technology.
  • FIG. 1 shows an embodiment of a pants-type disposable diaper according to the present invention.
  • a pants-type disposable diaper 1 (hereinafter, also simply referred to as “diaper 1”) shown in FIG. 1 is a type of worn article that is used by being worn on the lower abdomen of a wearer.
  • the diaper 1 is a pants-type disposable diaper having a waist opening 1W through which the wearer's torso is passed and a pair of leg openings 1L, 1L through which the wearer's lower limb is passed. Yes.
  • the diaper 1 includes an absorbent main body 4 having a top sheet, a back sheet, and an absorbent body 40, and an exterior body 5 disposed on the non-skin facing surface side of the absorbent main body 4.
  • the exterior body 5 forms the non-skin facing surface of the diaper 1, that is, the outer surface of the diaper 1.
  • the “skin-facing surface” is a surface of the diaper 1 that is an absorbent article or a component thereof (for example, the surface sheet 2) that is directed toward the wearer's skin when the diaper 1 is worn, that is, relatively. It is the side close to the skin of the wearer, and the “non-skin facing surface” is the surface of the diaper 1 or its constituent members that is directed to the side opposite to the skin side (clothing side) when the diaper 1 is worn, that is, relatively. It is the side far from the wearer's skin.
  • “at the time of wear” here means the state by which the normal appropriate wearing position, ie, the correct wearing position of the said diaper 1, was maintained.
  • the diaper 1 includes an abdominal side A disposed on the wearer's abdomen in a worn state, a crotch C disposed on the crotch, and a back side B disposed on the back of the wearer.
  • both side edges along the longitudinal direction X of the exterior body 5 in each of the abdominal side A and the back side B are joined to each other by known joining means such as an adhesive, heat seal, ultrasonic seal and the like. Yes.
  • the above-mentioned waist opening 1W and a pair of leg openings 1L and 1L are formed.
  • FIG. 2 shows the diaper 1 in the expanded and extended state.
  • the “deployed and extended state” of the diaper 1 is defined as an unfolded state separated from a state in which both side edges along the longitudinal direction X of the exterior body 5 of the abdominal part A and the dorsal side part B are joined.
  • the diaper 1 is a state in which the elastic member of each part is extended to the design dimension (same as the dimension when the diaper 1 is flattened in a state where the influence of the elastic member is completely eliminated).
  • the diaper 1 has a longitudinal direction X corresponding to a direction extending from the ventral side A to the back side B through the crotch C, and the diaper 1 in a state where the diaper 1 is spread in a plane as shown in FIG. It has a horizontal direction Y orthogonal to the direction X.
  • the longitudinal direction X coincides with the longitudinal direction of the absorbent main body 4.
  • the diaper 1 is formed symmetrically with respect to a longitudinal center line CL that extends in the longitudinal direction X and bisects the diaper 1 in the transverse direction Y.
  • the absorbent main body 4 in the diaper 1 has a surface sheet 2 on the skin facing surface side and a back sheet 3 on the non-skin facing surface side, and has an absorbent body 40 between these two sheets 2 and 3.
  • the absorbent body 40 is located on the entire surface of the crotch part C, and the top sheet 2, the back sheet 3, and the absorbent body 40, and at least the ventral part A and the back part B along the longitudinal direction X from the crotch part C. It extends to a part.
  • the absorbent body 40 includes a liquid-retaining absorbent core 41 and a core wrap sheet 42 that covers the absorbent core 41, but the absorbent body 40 does not include a core wrap sheet. Not necessary.
  • the diaper 1 includes leak-proof cuffs 6 and 6 extending along the longitudinal direction X on both sides of the absorbent main body 4 along the longitudinal direction X.
  • the leak-proof cuffs 6 and 6 include a water-repellent cuff forming sheet 61 continuous over the entire length of the absorbent body 4 in the longitudinal direction X, and the longitudinal direction X on the inner side of the lateral direction Y of the cuff forming sheet 61. And one or a plurality of cuff elastic members 62 fixed in an expanded state.
  • the leak-proof cuffs 6 and 6 are fixed to the surface sheet via a cuff fixing portion (not shown) extending in the vertical direction X.
  • the leak-proof cuffs 6 and 6 stand on the skin facing surface side by having the cuff elastic member 62.
  • the constituent members of the diaper 1 such as the exterior body 5, the topsheet 2, the backsheet 3 and the absorber 40 included in the absorbent main body 4, and the leakproof cuffs 6 and 6,
  • the same ones that have been used can be used without particular limitation.
  • a disposal tape 10 is provided on the back side B of the diaper 1.
  • the disposal tape 10 is used for maintaining the disposal form of the diaper 1.
  • the disposal tape 10 is located at a substantially central portion in the lateral direction Y in the back side portion B of the diaper 1.
  • the disposal tape 10 is provided such that the longitudinal direction thereof coincides with the longitudinal direction X of the diaper 1.
  • FIG. 3 shows a disposal form of the diaper 1 when it is discarded.
  • the diaper 1 is rolled up from the crotch C toward the waist opening 1W so that the abdominal side A faces inward in the diaper 1 shown in FIG. make.
  • the disposal tape 10 provided on the back side B is exposed outside the rolled-up diaper 1.
  • the disposal tape 10 is stretched in the longitudinal direction of the tape 10, and then wound around the outer periphery of the diaper 1 that has been disposed in a disposal form, thereby maintaining the diaper 1 in the disposal form.
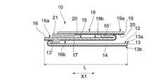
  • the disposal tape 10 is mainly composed of three parts. Specifically, the disposal tape 10 includes a fixing part 12, an extension part 15, and a fastening part 18. These three parts are arranged in this order along the longitudinal direction X1 of the disposal tape 10. Further, these three parts are in a three-fold state where they are stacked in this order.
  • FIG. 4 shows a cross-sectional structure of the disposal tape 10 in a tri-fold state. No other member is interposed between the fixed portion 12 and the extending portion 15, and both are connected directly. Similarly, no other member is interposed between the extending portion 15 and the fastening portion 18, and both are directly connected.
  • the fixing part 12 in the disposal tape 10 has a fixing part sheet piece 13.
  • fixed part has the 1st surface 13a and the 2nd surface 13b.
  • the fixing portion sheet piece 13 has a first surface 13a facing the extending portion 15 and a second surface 13b of the diaper 1 except for a folded portion 13 'described later. Opposite the outer surface.
  • the fixing portion 12 has a fixing portion adhesive portion 14.
  • the fixing portion adhesive portion 14 is provided on the second surface 13 b of the fixing portion sheet piece 13.
  • the fixing part 12 is fixed to the outer surface of the back side part B in the diaper 1 by a fixing part adhesive part 14.
  • the disposal tape 10 is fixed to the outer surface of the back part B of the diaper 1 through the fixing part adhesive part 14.
  • a known method such as an adhesive such as a hot-melt adhesive or a fusion can be used.
  • the extending portion 15 of the disposal tape 10 is a portion that easily expands with a relatively weak tensile force when a tensile force is applied to the disposal tape 10 and increases the length of the disposal tape 10.
  • the extending portion 15 has an extending portion sheet piece 16.
  • the extension portion sheet piece 16 may have the same length as the fixing portion sheet piece 13 described above, or may have a different length. Further, the extension portion sheet piece 16 may have the same width as the fixing portion sheet piece 13 or may have a different width.
  • the extending portion sheet piece 16 has a first surface 16a and a second surface 16b.
  • the extension portion sheet piece 16 has a first surface 16a facing the fastening portion 18 and a second surface 16b fixed portion, except for a folded portion 16 'described later. 12 is opposed.
  • the extending portion 15 has an extending portion adhesive portion 17.
  • the extending portion adhesive portion 17 is provided on the second surface 16 b of the extending portion sheet piece 16.
  • the extension part adhesive part 17 joins the extension part 15 and the fixed part 12 in the three-folded state of the disposal tape 10 in a peelable manner. Therefore, it is preferable that the adhesive part 17 for extended parts is comprised from the low-adhesive adhesive.
  • the fixing part sheet piece 13 has a folded part 13 ′ in which one end of the disposal tape 10 in the longitudinal direction X ⁇ b> 1 is folded back to the extending part 15 side.
  • the folded portion 13 ′ is joined to the end portion of the extension portion sheet piece 16 in the extension portion 15 on the second surface 16 b side.
  • extension part 15 are connected directly.
  • a known method such as an adhesive such as a hot-melt adhesive or a fusion can be used.
  • the extending portion 15 and the fixed portion 12 are connected by a second joining region 35 described later.
  • the fastening portion 18 of the disposal tape 10 can be secured to an arbitrary position on the outer surface of the diaper 1.
  • the fastening portion 18 forms a tip region of the disposal tape 10 and has a fastening part sheet piece 19.
  • the fastening portion sheet piece 19 may have the same length as the fixing portion sheet piece 13 or the extension portion sheet piece 16 or may have a different length. Further, the fastening portion sheet piece 19 may have the same width as the fixing portion sheet piece 13 or the extension portion sheet piece 16 or may have a different width.
  • the sheet piece 19 for fastening part has the 1st surface 19a and the 2nd surface 19b.
  • the fastening part 18 has a fastening part adhesive part 20.
  • the adhesion part 20 for fastening parts is provided on the second surface 19b of the sheet piece 19 for fastening parts.
  • the adhesive part 20 for the fastening part is detachably joined between the fastening part 18 and the elongated part 15 in the disposal tape 10 in a tri-fold state, and the fastening part 18 is attached to the outer surface of the diaper 1. It is surely fixed at an arbitrary position. From this viewpoint, it is preferable that the degree of adhesiveness of the adhesive portion 20 for the fastening portion is determined.
  • the extension portion sheet piece 16 in the extension portion 15 described above has one end in the longitudinal direction X1 folded back toward the fastening portion 18 to form a folded portion 16 ′.
  • the folded portion 16 ′ is joined to one end side portion of the fastening portion sheet piece 19 in the fastening portion 18 on the second surface 19 b side.
  • the extending portion 15 and the fastening portion 18 are directly connected to each other.
  • a known method such as an adhesive such as a hot melt adhesive or a fusion can be used.
  • the extending portion 15 and the fastening portion 18 are continuously provided by a first joining region 34 described later.
  • a grip piece 21 is joined to the other end of the fastening portion sheet piece 19 in the fastening portion 18 on the second surface 19b side.
  • the knob piece 21 is a separate sheet piece from the fastening part sheet piece 19.
  • the disposal tape 10 composed of three parts is folded into three in a Z shape (see FIG. 4). Then, the disposal tape 10 is disposed so that the free end of the disposal tape 10 in a tri-fold state, that is, the attachment portion of the knob piece 21 in the fastening portion 18 faces the waist opening 1W side in the diaper 1. It is attached to the back side B of the diaper 1.
  • FIGS. 5A and 5B schematically show the disposal tape 10 in an unfolded state after releasing the tri-fold state.
  • the “expanded state in which the tri-fold state is released” means that the extended portion 15 and the fixing portion 12 of the disposal tape 10 are peeled off and the extended portion 15 and the fastening portion 18 are peeled off. In other words, it means a state in which the three-folded disposal tape 10 is expanded linearly.
  • the “deployed state with the tri-fold state released” is also simply referred to as “deployed state”.
  • the disposal tape 10 has a fastening portion 18 at one end of the extending portion 15 and a fixing portion at the other end of the extending portion 15 as shown in FIGS. 5 (a) and 5 (b). 12, the fastening part 18, the extension part 15, and the fixing part 12 are arranged in a straight line.
  • the extending portion 15 can be extended in the longitudinal direction X1 of the disposal tape 10 in the unfolded state where the tri-fold state is released.
  • the disposal tape 10 can be stretched by human power.
  • the extension part 15 can be extended by grasping the fastening part 18 with a finger or the like and stretching it in the longitudinal direction X1 of the disposal tape 10 (see FIG. 6).
  • the disposal tape 10 has a first connection region 31 where the extension portion 15 and the fastening portion 18 overlap, and the extension portion 15, as shown in FIGS. It has the 2nd connection area
  • a region where the extended portion 15 and another portion adjacent to the extended portion 15 overlap is also referred to as a connection region 30.
  • the other part adjacent to the extending part 15 is the fastening part 18 or the fixing part 12.
  • the first connection region 31 has a first joint region 34 where the elongated portion 15 and the fastening portion 18 that overlaps the elongated portion 15 are joined.
  • the second connection region 32 has a second joining region 35 where the extending portion 15 and the fixing portion 12 overlapping the extending portion 15 are joined.
  • a region where the extended portion 15 and another portion overlapping the extended portion 15 are bonded is also referred to as a bonded region 33.
  • the connecting region 30 has a joining region 33, and the extending portion 15 is connected to another portion adjacent to the extending portion 15 in the longitudinal direction X ⁇ b> 1 in the joining region 33.
  • the fastening portion adhesive portion 20, the extension portion adhesive portion 17, and the fixing portion adhesive portion 14 are omitted.
  • the first connection region 31 is joined to the extension portion 15 and the fastening portion 18 where the extension portion 15 overlaps.
  • region 32 has the 2nd non-joining area
  • region 36 the area
  • region 31 has the 1st non-joining area
  • the second connection region 32 has a second non-joining region 38 on the center side in the longitudinal direction X1 from the second joining region 35.
  • region 36 is located in the center part side of the joining area
  • the extension part 15 and the other part overlapping the extension part 15 may not be detachably joined, and the extension part 15 and the other part may be detachably joined.
  • the second connection region 32 of the present embodiment has a non-joint region different from the second non-joint region 38 on the outer side in the longitudinal direction X1 from the second joint region 35.
  • region 30 may have a non-joining area
  • the “non-joining region” means a non-joining region located on the center side in the longitudinal direction X1 from the joining region.
  • FIG. 7A shows a state of the connection region 30 in the extended state.
  • FIG. 7B shows a state of the first connection region 31 in the extended state.
  • the disposal tape 10 is stretched in the longitudinal direction X1
  • the stretched portion 15 is stretched, and the width of the stretched portion 15 gradually decreases from the outside in the longitudinal direction X1 toward the center portion. As shown, width shrinkage occurs.
  • the joining region 33 since the extending part 15 is joined to the fastening part 18 or the fixing part 12 that overlaps the extending part 15, the stretchability is not expressed. Therefore, the extending portion 15 can extend in the longitudinal direction X1 except for the joining region 33. That is, as shown in FIG.
  • the extension portion 15 can be extended in the longitudinal direction X1 even in the non-joining region 36, and the width of the joining region 33 is reduced along with the stretching. Is not expressed, and as a result, there is no width shrinkage associated with elongation.
  • the extension portion 15 In the first connection region, when a width shrinkage occurs due to the extension of the extension portion 15, the extension portion 15 is located at the center in the longitudinal direction X ⁇ b> 1 of the first joining region 34 in the vicinity of the boundary B ⁇ b> 1 with the first non-joining region 37. A corner is formed at the corner A1.
  • the fastening portion 18 that overlaps the extended portion 15 in the first non-bonded region 37 has a corner at the corner A2 on the central side in the longitudinal direction X1 as the extended portion 15 is reduced in width in the non-bonded region 36.
  • the corner on the central side in the longitudinal direction X1 in the connection region 30 is also simply referred to as a corner.
  • the extended portion 15 extends and the width shrinks, so that a corner is generated at the corner of the second bonding region 35 and a corner appears at the corner of the second non-bonding region 38.
  • the corner of the elongated portion 15 in the joining region 33 A1 and the corner portion A2 of the other portion that overlaps the elongated portion 15 in the non-joining region 36 do not overlap in the thickness direction of the disposal tape 10. That is, since the corners A1 and A2 do not overlap each other in the thickness direction, it is possible to suppress the rigidity of the corners A1 and A2 from being increased, and even if corners are generated in the corners A1 and A2, respectively. The corner is difficult to feel hard.
  • the corner part A1 of the extension part and the corner part of the other part are connected.
  • A2 overlaps in the thickness direction of the disposal tape, and the overlapped portion is doubled, so that the rigidity is increased and a hard feel corner is generated.
  • Such a hard-feeling corner hits the operator's hand when winding the disposal tape around the diaper, which may be an obstacle to smooth operation.
  • the disposal tape 10 it is sufficient that at least one of the first and second connection regions 31 and 32 has the joining region 33 and the non-joining region 36 described above. From the viewpoint of smoothly performing the operation of winding the disposal tape around the diaper, the disposal tape 10 preferably has the first connection region 31 having the joining region 33 and the non-joining region 36. It is more preferable that both of the second connection regions 31 and 32 have a bonding region 33 and a non-bonding region 36.
  • the non-joining region 36 is a region where the extending portion 15 and the other part are not joined in a detachable manner in the deployed disposal tape.
  • the non-bonding region 36 may be formed by a non-coated portion that is not coated with an adhesive that non-detachably bonds the extending portion 15 and the other portion. It may be formed by a coated part of an adhesive that releasably joins the part.
  • the disposal tape of the present embodiment has a portion E1 on one end side of the fastening portion 18 located on the outer side in the longitudinal direction X1 with respect to the folded portion 16 ′ of the extending portion 15 in the three-fold state (see FIG. 9A).
  • the second surface side of the one end E1 of the fastening part 18 is an adhesive coating part that is detachably joined to the elongated part 15 and serves as a fastening part adhesive part 20.
  • a part 15a (see FIG. 9B) where the folded portion 13 ′ of the fixing portion 12 and the extending portion 15 overlap in the tri-fold state is the second in the unfolded state. This is the portion that becomes the non-bonding region 38.
  • a part 15a on the second surface 16b side of the extending portion 15 is not coated with an adhesive. It has become.
  • the fastening portion 18 includes a portion E1 extending from the extending portion 15 [see FIG. 9 (a)].
  • the extending portion 15 includes a portion E2 extending from the fixed portion (see FIG. 9B).
  • the 1st non-joining field 37 in the 1st connection field 31 is constituted including part E1 in which fastening part 18 extended from extension part 15 in disposal tape 10 which has been folded in three. It is preferable.
  • the second non-joining region 38 in the second connection region 32 is configured to include a portion E2 in which the extending portion 15 extends from the fixing portion 12 in the disposal tape 10 in a tri-fold state. Is preferred. In the tri-fold state, the portions E1 and E2 where the extension portion 15 extends from the extension portion 15 or the extension portion 15 from the fixing portion 12 are also referred to as an extension portion E hereinafter.
  • the dimensions of the connecting region 30, the joining region 33, and the non-joining region 36 are not particularly limited, but preferably one of the first and second connecting regions 31, 32 is preferably the following dimensions, It is more preferable that both of the second connection regions 31 and 32 have the following dimensions.
  • the length L5 of the non-joining region 36 along the longitudinal direction X1 from the viewpoint of increasing the joining strength between the extension portion 15 and the fastening portion 18 or the fixing portion 12 that overlaps the extension portion 15 in the connection region 30 (FIG. 5B). Is preferably 5% or more, more preferably 8% or more, and preferably 30% or less, with respect to the length L1 of the connecting region 30 along the longitudinal direction X1 (see FIG. 5B).
  • the length L1 of the connecting region 30 along the longitudinal direction X1 is the length between the joining region 33 in the longitudinal direction X1 and the non-joining region located on the center side in the same direction X1 from the joining region 33. 33 is a length that does not include other non-joining regions located on the outer side in the longitudinal direction X1.
  • the length L5 of the non-joining region 36 along the longitudinal direction X1 is preferably 0.4 mm or more from the viewpoint of making the hard feel corners less likely to be generated when the elongated portion 15 is elongated. More preferably, it is 0.5 mm or more, preferably 3 mm or less, more preferably 2 mm or less, and preferably 0.4 mm or more and 3 mm or less, more preferably 0.5 mm or more and 2 mm or less.
  • the length L7 of the extending portion E along the longitudinal direction X1 is preferably 0.5 mm or more. More preferably, it is 0.7 mm or more, and preferably 3 mm or less, more preferably 2 mm or less, and preferably 0.5 mm or more and 3 mm or less, more preferably 0.7 mm or more and 2 mm or less.
  • the length L3 is preferably 40% or more, more preferably 50% or more with respect to the length L1 [see FIG. 5 (b)] of the connecting region 30 along the longitudinal direction X1. And preferably 85% or less, more preferably 80% or less, and preferably 40% or more and 85% or less, more preferably 50% or more and 80% or less. From the same viewpoint as described above, the length L3 of the joining region 33 along the longitudinal direction X1 (see FIG.
  • 5B is preferably 2 mm or more, more preferably 3 mm or more, and preferably 5.5 mm or less. More preferably, it is 5 mm or less, Preferably it is 2 mm or more and 5.5 mm or less, More preferably, it is 3 mm or more and 5 mm or less.
  • the diaper 1 has a high-rigidity region in which the absorbent core 41 is present on the inner side in the thickness direction, and a low-rigidity region that is less rigid than the high-rigidity region (see FIG. 2). Moreover, as for the diaper 1, the waist gathers WG and the leg gather LG are formed in the peripheral area of this diaper 1 (refer FIG. 1). The peripheral area refers to an area closer to the waist end than the absorbent core 41. The waist gathers WG and leg gathers LG are often formed in a low rigidity region from the viewpoint of improving the stretchability. In the present embodiment, the low-rigidity region is located in the peripheral region of the diaper 1, and the high-rigidity region is located inside the low-rigidity region. “Inside the low-rigidity region” means being located inward in both the vertical direction X and the horizontal direction Y as compared with the low-rigidity region.
  • the fixing portion 12 is disposed in the high rigidity region.
  • the disposal tape 10 is disposed in the high-rigidity region when wound around the diaper. Since the high-rigidity region has high rigidity, when the diaper is rolled up, the disposal tape wound around the diaper is difficult to bend, and the corners A1 and A2 generated by the extension of the extension part 15 are difficult to stand. can do.
  • the fixed portion 12 may partially overlap the absorbent core 41 on the inner side in the longitudinal direction. Further, as shown in FIG. 10, the entire fixing portion 12 may be disposed in the high-rigidity region. In this case, the fixing portion 12 is disposed so that the entire portion overlaps the absorbent core 41.
  • one or a plurality of elastic members 53, 54 extending along the lateral direction Y are in the vicinity of the waist opening 1 ⁇ / b> W or a part between the waist opening 1 ⁇ / b> W and the leg opening 1 ⁇ / b> L. It is arranged in the department.
  • the leg opening 1L is provided with an elastic member 52 along the opening 1L, and the elastic member 52 has a portion extending along the vertical direction X.
  • the diaper 1 also has an elastic member 62 that expands and contracts in the longitudinal direction X in the leak-proof cuff 6 in addition to the elastic member described above.
  • a portion that expands and contracts in a predetermined direction such as the vertical direction X or the horizontal direction Y by such an elastic member or the like is hereinafter also referred to as an expandable portion.
  • the outer surface of the diaper 1 may be formed with unevenness due to the stretchability of the stretchable part, and if a disposal tape is disposed on the site where such unevenness is formed, there is a risk of unintentional peeling. is there.
  • the fixing portion 12 is positioned so that the fixing portion 12 of the disposal tape 10 does not overlap the stretchable portion in plan view of the diaper 1.
  • the end portion 12a on the crotch C side of the fixed portion 12 is positioned closer to the opening end 50 side of the waist opening 1W than the stretchable portion that expands and contracts in the longitudinal direction X. (See FIG. 2).
  • the end portion 12a on the crotch C side of the fixing portion 12 is formed on the back side portion B of the elastic member 52 disposed along the end portion on the back side portion B side of the cuff elastic member 62 and the leg opening.
  • the length L10 between the crotch C side end portion 12a of the fixing portion 12 and the waist opening end 50 of the back side portion B is the distance between the cuff elastic member 62 and the waist opening end 50. It is shorter than the length L12 between them and the length L14 between the elastic member 52 arranged at the leg opening and the waist opening end 50 (see FIG. 2).
  • the length between the end portion 12a on the crotch C side of the fixing portion 12 and the waist opening end 50 of the back side portion B is set to L10.
  • the length between the cuff elastic member 62 and the waist opening end 50 is L12 (see FIG. 2)
  • the ratio of L12 to L10 is preferably 1. 05 or more, more preferably 1.1 or more, and preferably 2.0 or less, more preferably 1.75 or less, and preferably 1.05 or more and 2.0 or less, more preferably 1.1 or more. 1.75 or less.
  • the ratio of L14 to L10 Is preferably 1.1 or more, more preferably 1.2 or more, and preferably 2.5 or less, more preferably 2.2 or less, and preferably 1.1 or more and 2.5 or less, More preferably, it is 1.2 or more and 2.2 or less.
  • either the fastening portion 18 or the fixing portion 12 is used.
  • One or both have a basis weight of the forming material of preferably 50 g / m 2 or more, more preferably 60 g / m 2 or more, and preferably 90 g / m 2 or less, more preferably 80 g / m 2 or less.
  • it is preferably 50 g / m 2 or more and 90 g / m 2 or less, more preferably 60 g / m 2 or more and 80 g / m 2 or less.
  • the basis weight of the forming material of the fastening portion 18 is preferably in the above range, and the basis weight of the forming material of each of the fastening portion 18 and the fixing portion 12 is more preferably in the above range.
  • either one or both of the fastening portion 18 and the fixing portion 12 has a corner on the central side in the longitudinal direction X1 in the non-joining region 36.
  • R shape is preferred. That is, it is preferable that one or both of the corner portion of the fastening portion 18 in the first non-joining region 37 and the corner portion of the fixing portion 12 in the second non-joining region 38 have an R shape.
  • the total length L (see FIG. 4) of the disposal tape 10 is preferably 30 mm in the tri-fold state. More preferably, it is 35 mm or more, preferably 50 mm or less, more preferably 45 mm or less, preferably 30 mm or more and 50 mm or less, more preferably 35 mm or more and 45 mm or less.
  • the total length L (see FIG. 4) of the disposal tape 10 in the tri-fold state is the maximum length of the tape in the tri-fold state.
  • the extending portion 15 is preferably 150 mm or more, more preferably 180 mm or more, and even more preferably 200 mm or more.
  • the length of the extended portion 15 that has been extended is a length that includes the joining regions 33 at both ends.
  • the maximum extension length of the extension portion 15 is preferably 150 mm or more, more preferably 180 mm or more, preferably 250 mm or less, more preferably 240 mm or less. Preferably they are 150 mm or more and 250 mm or less, More preferably, they are 180 mm or more and 240 mm or less.
  • the maximum extension length of the extension part 15 is the maximum length of the extension part 15 extended until it breaks, and is measured by the following method.
  • the extended part is peeled off from the fixed part, and the folded state is released.
  • the longitudinal direction of the disposal tape is made to coincide with the tensile direction, and the chuck of a tensile tester (for example, Shimadzu Corporation, model “AUTOGRAPH AG-X”) has both ends in the longitudinal direction of the elongated portion, that is, the elongated portion. It is attached so that it may be located in the joining area
  • the film is pulled at a speed of 300 mm / min, and the tensile strength that changes with the tensile distance is measured. The sum of the tensile distance at which the tensile strength becomes the maximum value and the length of the stretched portion before stretching is taken as the maximum stretched length of the stretched portion 15.
  • the disposal tape 10 stops the diaper 1 in the disposal form in a state where the fixing portion 12 is arranged in the high-rigidity region. It is preferable to be able to wear.
  • the disposal tape 10 can fasten the diaper 1 to the disposal form in a state where the disposal tape 10 overlaps the absorbent core 41 after the elongated portion 15 is elongated.
  • the disposal tape 10 is disposed so as to be positioned on the outer periphery of the wound absorbent core 41 in the disposal form.
  • the absorptive core 41 has a slit as the low basic weight part 45 extended in the vertical direction in the center of the horizontal direction Y, as shown in FIG.
  • the “low basis weight portion” is a portion where the basis weight of the forming material forming the absorbent core 41 is 50 g / m 2 or less, and is a portion where the absorbent core forming material is not present. Including parts.
  • the slit etc. which penetrate the absorptive core 41 are mentioned.
  • the disposal tape 10 is disposed on the extension line in the longitudinal direction X of the low basis weight portion 45 so that the disposal tape 10 enters the groove. It is preferable that the fixing part 12 is arranged. From the viewpoint of more surely achieving the above effects, the width W1 of the disposal tape 10 is preferably equal to or less than the width W2 of the low basis weight portion 45, and more preferably smaller than the width W2 of the low basis weight portion 45. From the viewpoint of allowing the disposal tape 10 to easily enter the groove, the width W1 of the disposal tape 10 is preferably 20% or more and 100% or less, more preferably 30% or more with respect to the width W2 of the low basis weight portion 45. 80% or less.
  • the length L8 (see FIG. 2) in the longitudinal direction X of the low basis weight portion 45 is the absorbent core 41. Is preferably 30% or more and 80% or less, more preferably 40% or more and 60% or less with respect to the length L9 (see FIG. 2) in the vertical direction X.
  • the tensile strength at which the stretched portion 15 starts to stretch is preferably 1.0 N or more, more preferably 3 N or more, Moreover, it is preferably 12N or less, more preferably 6.5N or less, and preferably 1.0N or more and 12N or less, more preferably 3N or more and 6.5N or less.
  • the “tensile strength (N) at which the extension part starts extension” is the above-described method for measuring the maximum extension length of the extension part 15 except that the chuck distance is 10 mm and the chuck is attached to the non-bonded region of the extension part. It is measured by the same method.
  • the strength at the first maximum point is defined as the tensile strength (N) at which the stretched portion starts to stretch.
  • the first local maximum point is a local maximum point that appears first in a tensile strength (N) curve that varies with the tensile distance. If the first maximum point is not clearly understood or not observed, the maximum load during elongation between 30% and 70% elongation is regarded as the strength of the first maximum point.
  • the maximum value of the tensile strength that changes with the tensile distance is defined as the breaking strength, the point in time at which the breaking strength is indicated is “at the time of breaking”, and the elongation at break is “100% elongation”. .
  • an appropriate material may be selected as the sheet piece 16 constituting the extension part 15.
  • an extensible film can be used as a constituent material of the sheet pieces 16.
  • Such films include, for example, single layer films and multilayer films such as coextruded films.
  • polyolefin such as linear low density polyethylene is preferable.
  • materials having a permanent deformation of at least 50%, more preferably at least 70% are advantageous to use materials having a permanent deformation of at least 50%, more preferably at least 70%.
  • the same material as that of the above-described sheet piece may be used, and any material that cannot be stretched, that is, cannot be plastically deformed is used. May be.
  • conventionally known materials such as resinous sheets (plastic sheets, films, etc.), non-woven fabrics and woven fabrics can be used without particular limitation.
  • fixed part is extendable, in the part currently fixed to the outer surface of the diaper 1, the extensibility is a state which does not express.
  • a rubber-based adhesive portion 17 for joining the extending portion 15 and the fixing portion 12 so as to be peeled or an adhesive portion 20 for fastening portion joining the fastening portion 18 and the extending portion 15 so as to be peelable can be used.
  • a pressure-sensitive adhesive and an acrylic pressure-sensitive adhesive are generally used, and a rubber-based pressure-sensitive adhesive is preferably used.
  • the rubber-based pressure-sensitive adhesive include synthetic rubbers such as styrene-butadiene block copolymers and hydrogenated styrene-butadiene block copolymers, or blends of these synthetic rubbers and resins.
  • the extension portion adhesive portion 17 may be formed on the entire surface of the first surface 16 a of the extension portion sheet piece 16 excluding the non-bonding region 36. Moreover, the adhesive part 20 for fastening parts may be formed in the whole surface of the 2nd surface 19b of the sheet piece 19 for fastening parts except the non-joining area
  • the disposal tape 10 provided on the outer surface of the diaper 1 includes a fixing portion sheet piece 13 on one end side of the extension portion sheet piece 16 and a fastening portion on the other end portion side of the extension portion sheet piece 16. It can manufacture by laminating
  • the fastening portion sheet piece is located inward in the longitudinal direction X1 from the other end portion of the extension portion sheet piece 16 so that the above-described extending portions E1 and E2 are formed. 19 may be laminated.
  • this invention is not restrict
  • the disposal tape 10 was provided in the back side part B of the diaper 1, the site
  • the disposal tape 10 was provided in the approximate center part in the horizontal direction Y of the diaper 1, the site
  • the disposal tape 10 was provided so that the longitudinal direction X1 might correspond with the longitudinal direction X of the diaper 1, the direction of the disposal tape 10 is not restricted to this, for example, a disposal tape 10 may be provided such that the longitudinal direction X1 thereof coincides with the lateral direction Y of the diaper 1.
  • the knob piece 21 was joined to the other end of the sheet
  • the pants-type wearing article of the present invention may be a pants-type sanitary napkin or the like in addition to a pants-type disposable diaper for infants or adults.
  • This invention discloses the following underpants type disposable diaper regarding embodiment mentioned above further. ⁇ 1> It has a waist opening and a pair of leg openings, and has a ventral side part disposed on the wearer's belly side in a worn state, a crotch part disposed on the crotch part, and a back side part disposed on the back side.
  • a pants-type disposable diaper A disposal tape is provided on the outer surface of the disposable diaper, In the disposal tape, a fixing portion fixed to the outer surface of the disposable diaper, an extension portion, and a fastening portion are arranged in this order along the longitudinal direction of the disposal tape.
  • the disposal tape is detachably joined between the fastening portion and the extension portion, and is also detachably joined between the extension portion and the fixing portion.
  • the extending portion can be extended in the longitudinal direction of the disposal tape in a deployed state in which the tri-fold state is released,
  • the disposal tape has a first connection region where the extension portion and the fastening portion overlap in the unfolded state, and a second connection region where the extension portion and the fixing portion overlap, And either one or both of the second connection region includes a joint region where the extension portion and the fastening portion or the fixing portion overlapping the extension portion are joined, and a center in the longitudinal direction from the joint region.
  • a pants-type disposable diaper having a non-joining region that is located on the part side and that is not joined to the extension part and the fastening part or the fixing part that overlaps the extension part.
  • the extension portion has an extension portion adhesive portion on a surface facing the fixing portion, and the extension portion adhesive portion is in a tri-fold state, the extension portion and the fixing portion in the waste tape.
  • the underpants type disposable diaper as described in said ⁇ 1> which has joined between between so that peeling is possible.
  • the non-joining region is formed by a non-coating portion to which an adhesive that non-detachably joins the extension portion and the fastening portion or the fixing portion is applied, or the extension portion and the stop portion.
  • region is an underpants type disposable diaper as described in said ⁇ 1> or ⁇ 2> which is an application part of the adhesive agent which joins the said expansion
  • the length L5 of the non-joining region along the longitudinal direction is 5% or more, preferably 8% or more with respect to the length L1 of the first connection region or the second connection region along the longitudinal direction.
  • the length L5 of the non-joining region along the longitudinal direction is 0.4 mm or more, preferably 0.5 mm or more, and 3 mm or less, preferably 2 mm or less, any one of ⁇ 1> to ⁇ 6>
  • the length L3 of the joining region along the longitudinal direction is 40% or more, preferably 50% or more with respect to the length L1 of the first connecting region or the second connecting region along the longitudinal direction.
  • the length L3 of the joining region along the longitudinal direction is 2 mm or more, preferably 3 mm or more, and is 5.5 mm or less, preferably 5 mm or less. Any one of the above items ⁇ 1> to ⁇ 7> Pants-type disposable diapers as described.
  • the non-joining region in the first connection region is configured to include a portion in which the fastening portion extends from the extending portion in the disposal tape that is in a three-fold state, ⁇ 1>
  • the underpants-type disposable diaper according to ⁇ 9>, wherein the length of the portion where the fastening portion extends from the elongated portion is 0.5 mm or more.
  • the non-joining region in the first connection region is configured to include a portion in which the fastening portion extends from the extending portion in the disposal tape in the tri-fold state,
  • the length L7 of the extended part along the longitudinal direction is 0.5 mm or more, preferably 0.7 mm or more, and is 3 mm or less, preferably 2 mm or less, ⁇ 1> to ⁇ 10>
  • the disposable diaper has a low-rigidity region located in a peripheral region thereof, and a high-rigidity region located inside the low-rigidity region,
  • the pants-type disposable diaper according to any one of ⁇ 1> to ⁇ 11>, wherein at least a part of the fixing portion is disposed in the high-rigidity region.
  • the disposable diaper comprises an absorbent core,
  • the pants-type disposable diaper according to ⁇ 12>, wherein the high-rigidity region has the absorbent core on the inner side in the thickness direction.
  • the disposable diaper expands and contracts in the vertical direction when the direction extending from the abdominal side part to the back side part through the crotch part is the vertical direction and the direction orthogonal to the vertical direction is the horizontal direction.
  • Have The disposal tape is provided on the back side portion, and the end portion on the crotch portion side of the fixing portion is positioned on the waist opening end side of the waist opening portion with respect to the stretchable portion in the longitudinal direction.
  • the pants-type disposable diaper according to any one of the above items ⁇ 1> to ⁇ 14>.
  • the leak-proof cuff is configured to include a cuff forming sheet and one or a plurality of cuff elastic members fixed in an elongated state in the longitudinal direction.
  • the length between the crotch side end of the fixed part and the waist opening end of the waist opening of the back side is L10, and the length between the cuff elastic member and the waist opening end
  • the ratio of L12 to L10 is 1.05 or more, preferably 1.1 or more, and 2.0 or less, preferably 1.75 or less.
  • the ratio of L14 to L10 (L14 / L10) is 1.1 or more, preferably 1.2 or more.
  • the pants-type disposable diaper according to ⁇ 16> which is 2.5 or less, preferably 2.2 or less.
  • ⁇ 18> Either one or both of the fastening part and the fixing part is a pants-type disposable diaper according to any one of ⁇ 1> to ⁇ 17>, wherein a basis weight of a forming material thereof is 90 g / m 2 or less. . ⁇ 19> Either one or both of the fastening part and the fixing part has a basis weight of the forming material of 50 g / m 2 or more, preferably 60 g / m 2 or more, and 90 g / m 2 or less, preferably 80 g / m 2. m is 2 or less, wherein ⁇ 1> pants-type disposable diaper according to any one of the - ⁇ 18>.
  • any one or both of the fastening portion and the fixing portion may be any one of the above items ⁇ 1> to ⁇ 19>, wherein a corner portion on the central portion side in the longitudinal direction in the non-joining region has an R shape.
  • Pants-type disposable diapers as described.
  • the total length L of the disposal tape in the tri-fold state is 30 mm or more, preferably 35 mm or more, and 50 mm or less, preferably 45 mm or less, according to any one of the above items ⁇ 1> to ⁇ 22> Pants-type disposable diaper.
  • Pants-type disposable diaper ⁇ 24> The pants-type disposable diaper according to any one of ⁇ 1> to ⁇ 23>, wherein the maximum extension length of the extension part is 150 mm or more, preferably 180 mm or more, 250 mm or less, preferably 240 mm or less.
  • the disposable diaper has a low-rigidity region located in a peripheral region thereof, and a high-rigidity region located inside the low-rigidity region,
  • the extension part can be extended to 150 mm or more
  • the pants according to any one of ⁇ 1> to ⁇ 24>, wherein the disposal tape is capable of fixing the disposable diaper to a disposal form in a state where the fixing portion is disposed in the high-rigidity region.
  • Type disposable diaper. comprises an absorbent core, When the direction extending from the abdominal side part to the dorsal side part through the crotch part is the vertical direction, and the direction orthogonal to the vertical direction is the horizontal direction, the absorbent core is in the lateral center.
  • Pants-type disposable diaper ⁇ 27> The underpants-type disposable diaper according to ⁇ 26>, wherein a width of the disposal tape is equal to or less than a width of the low basis weight portion.
  • the width W1 of the disposal tape is 20% or more and 100% or less, preferably 30% or more and 80% or less with respect to the width W2 of the low basis weight part, either ⁇ 26> or ⁇ 27>
  • the longitudinal length L8 of the low basis weight portion is 30% or more and 80% or less, preferably 40% or more and 60% or less, with respect to the longitudinal length L9 of the absorbent core.
  • the pants-type disposable diaper according to any one of ⁇ 26> to ⁇ 28>.
  • the tensile strength at which the stretched portion starts to stretch is 1.0 N or more, preferably 3 N or more, and is 12 N or less, preferably 6.5 N or less. Any one of the above items ⁇ 1> to ⁇ 29> Pants-type disposable diapers as described.

Landscapes

  • Health & Medical Sciences (AREA)
  • Epidemiology (AREA)
  • Engineering & Computer Science (AREA)
  • Biomedical Technology (AREA)
  • Heart & Thoracic Surgery (AREA)
  • Vascular Medicine (AREA)
  • Life Sciences & Earth Sciences (AREA)
  • Animal Behavior & Ethology (AREA)
  • General Health & Medical Sciences (AREA)
  • Public Health (AREA)
  • Veterinary Medicine (AREA)
  • Absorbent Articles And Supports Therefor (AREA)
PCT/JP2019/015231 2018-04-24 2019-04-05 パンツ型使い捨ておむつ Ceased WO2019208180A1 (ja)

Priority Applications (5)

Application Number Priority Date Filing Date Title
RU2020137517A RU2750576C1 (ru) 2018-04-24 2019-04-05 Одноразовый подгузник типа трусов
DE112019002148.6T DE112019002148T5 (de) 2018-04-24 2019-04-05 Wegwerfwindelhose
GB2018256.4A GB2588005B (en) 2018-04-24 2019-04-05 Pants-type disposable diaper
CN201980025938.XA CN111989075B (zh) 2018-04-24 2019-04-05 短裤型一次性尿布
US17/050,142 US11957557B2 (en) 2018-04-24 2019-04-05 Pants-type disposable diaper

Applications Claiming Priority (2)

Application Number Priority Date Filing Date Title
JP2018-082802 2018-04-24
JP2018082802A JP6724063B2 (ja) 2018-04-24 2018-04-24 パンツ型使い捨ておむつ

Publications (1)

Publication Number Publication Date
WO2019208180A1 true WO2019208180A1 (ja) 2019-10-31

Family

ID=68295304

Family Applications (1)

Application Number Title Priority Date Filing Date
PCT/JP2019/015231 Ceased WO2019208180A1 (ja) 2018-04-24 2019-04-05 パンツ型使い捨ておむつ

Country Status (7)

Country Link
US (1) US11957557B2 (enExample)
JP (1) JP6724063B2 (enExample)
CN (1) CN111989075B (enExample)
DE (1) DE112019002148T5 (enExample)
GB (1) GB2588005B (enExample)
RU (1) RU2750576C1 (enExample)
WO (1) WO2019208180A1 (enExample)

Families Citing this family (2)

* Cited by examiner, † Cited by third party
Publication number Priority date Publication date Assignee Title
JP2024025521A (ja) * 2022-08-12 2024-02-26 王子ホールディングス株式会社 吸収性物品及び吸収性物品の製造方法
JP2025091973A (ja) * 2023-12-08 2025-06-19 スリーエム イノベイティブ プロパティズ カンパニー 固定部材及びそれを備える吸収性物品

Citations (3)

* Cited by examiner, † Cited by third party
Publication number Priority date Publication date Assignee Title
JP2014121409A (ja) * 2012-12-20 2014-07-03 3M Innovative Properties Co 廃棄用の留め具を有する使い捨て吸収性物品
WO2017081880A1 (ja) * 2015-11-10 2017-05-18 ユニ・チャーム株式会社 パンツ型使い捨ておむつ
JP2018121931A (ja) * 2017-02-01 2018-08-09 スリーエム イノベイティブ プロパティズ カンパニー 固定部材

Family Cites Families (31)

* Cited by examiner, † Cited by third party
Publication number Priority date Publication date Assignee Title
JP3007564B2 (ja) 1995-03-17 2000-02-07 花王株式会社 吸収性物品
US5942308A (en) 1995-07-05 1999-08-24 Nitto Denko Corporation Expandable fixing tape
JP2001046436A (ja) 1999-05-31 2001-02-20 Oji Paper Co Ltd パンツ型使いすておむつ
JP2001258938A (ja) 2001-02-19 2001-09-25 Daio Paper Corp 後処理テープを有するパンツ型おむつ
US6926704B2 (en) * 2001-06-25 2005-08-09 Sca Hygiene Products Ab Absorbent disposable article
US7297139B2 (en) 2001-07-05 2007-11-20 Kimberly-Clark Worldwide, Inc. Refastenable absorbent garment
JP4059688B2 (ja) 2002-02-15 2008-03-12 大王製紙株式会社 紙おむつの後処理テープ及び後処理テープ付き紙おむつ
JP4336540B2 (ja) 2002-08-30 2009-09-30 ユニ・チャーム株式会社 パンツ型の使い捨ておむつ
JP2004141841A (ja) 2002-10-24 2004-05-20 Katsuya Yamashiro 配管用塗装スタンド
JP4235479B2 (ja) 2003-03-31 2009-03-11 大王製紙株式会社 後処理テープを備えた使い捨ておむつ
WO2006130053A1 (en) 2005-06-01 2006-12-07 Sca Hygiene Products Ab Absorbent article comprising disposal fastening means
EP1762207A1 (en) 2005-09-12 2007-03-14 3M Innovative Properties Company Laminate disposal tape tab and method for manufacturing the same
US8152787B2 (en) 2008-05-30 2012-04-10 Kimberly-Clark Worldwide, Inc. Personal wear absorbent article with disposal tab
JP5576155B2 (ja) 2010-03-15 2014-08-20 大王製紙株式会社 使い捨ておむつ
JP5655479B2 (ja) 2010-10-01 2015-01-21 王子ホールディングス株式会社 吸収性物品の製造方法
BR112013024080B1 (pt) 2011-03-22 2021-01-12 Avery Dennison Corporation fita composta a partir da qual uma aba de fechamento para artigos descartáveis pode ser cortada
JP5789407B2 (ja) 2011-04-27 2015-10-07 花王株式会社 パンツ型吸収性物品
JP5836782B2 (ja) * 2011-12-09 2015-12-24 株式会社リブドゥコーポレーション 吸収性物品
JP6132556B2 (ja) 2012-03-30 2017-05-24 ユニ・チャーム株式会社 使い捨て着用物品
JP6022216B2 (ja) 2012-05-31 2016-11-09 大王製紙株式会社 紙おむつの後処理テープ、及び後処理テープ付き紙おむつ
JP6168855B2 (ja) 2013-06-03 2017-07-26 ユニ・チャーム株式会社 使い捨て着用物品
JP6086398B2 (ja) 2014-09-26 2017-03-01 大王製紙株式会社 吸収性物品
JP6156325B2 (ja) 2014-11-04 2017-07-05 コニカミノルタ株式会社 光書込み装置および画像形成装置
JP2016112408A (ja) 2014-12-10 2016-06-23 王子ホールディングス株式会社 吸収性物品
EP3238678B1 (en) * 2016-04-29 2019-02-27 The Procter and Gamble Company Absorbent core with transversal folding lines
KR101796020B1 (ko) 2016-09-09 2017-11-09 주식회사 라크인더스트리 기저귀 폐기처리용 점착테이프
JP6236569B1 (ja) 2017-07-28 2017-11-22 ユニ・チャーム株式会社 吸収性物品及び吸収性物品のパッケージ
JP7212458B2 (ja) 2017-08-08 2023-01-25 花王株式会社 パンツ型使い捨ておむつ
JP6762985B2 (ja) 2018-04-24 2020-09-30 花王株式会社 パンツ型使い捨ておむつ
JP7106211B2 (ja) 2018-04-24 2022-07-26 花王株式会社 パンツ型使い捨ておむつ
JP7007989B2 (ja) 2018-05-28 2022-01-25 花王株式会社 パンツ型使い捨ておむつ

Patent Citations (3)

* Cited by examiner, † Cited by third party
Publication number Priority date Publication date Assignee Title
JP2014121409A (ja) * 2012-12-20 2014-07-03 3M Innovative Properties Co 廃棄用の留め具を有する使い捨て吸収性物品
WO2017081880A1 (ja) * 2015-11-10 2017-05-18 ユニ・チャーム株式会社 パンツ型使い捨ておむつ
JP2018121931A (ja) * 2017-02-01 2018-08-09 スリーエム イノベイティブ プロパティズ カンパニー 固定部材

Also Published As

Publication number Publication date
RU2750576C1 (ru) 2021-06-29
GB202018256D0 (en) 2021-01-06
US11957557B2 (en) 2024-04-16
CN111989075B (zh) 2022-02-11
CN111989075A (zh) 2020-11-24
GB2588005A (en) 2021-04-14
DE112019002148T5 (de) 2021-01-14
JP2019187718A (ja) 2019-10-31
JP6724063B2 (ja) 2020-07-15
US20210093491A1 (en) 2021-04-01
GB2588005B (en) 2022-03-09

Similar Documents

Publication Publication Date Title
JP2017148111A (ja) パンツ型吸収性物品
JP2001314441A (ja) 吸収性物品
JP6924295B2 (ja) パンツ型使い捨ておむつ
WO2019230317A1 (ja) パンツ型使い捨ておむつ
CN111971013B (zh) 短裤型一次性尿布
WO2019208180A1 (ja) パンツ型使い捨ておむつ
JP3228325U (ja) 吸収性物品
JP3229304U (ja) 吸収性物品
JP6941518B2 (ja) 吸収性物品
CN214073876U (zh) 吸收性物品
WO2019208178A1 (ja) パンツ型使い捨ておむつ
JP6436771B2 (ja) 使い捨ての着用物品
JP7274296B2 (ja) パンツ型使い捨ておむつ
JP7315432B2 (ja) 吸収性物品
CN213941180U (zh) 吸收性物品
JP2016002391A (ja) パンツ型吸収性物品
JP2008012128A (ja) 着用物品
JP4996900B2 (ja) 使い捨ておむつ
JP2017192533A (ja) 吸収性物品
JP3210618U (ja) パンツ型吸収性物品
WO2023022000A1 (ja) パンツ型吸収性物品
JP6198610B2 (ja) 使い捨てのパンツ型着用物品
JP4961032B2 (ja) 着用物品
WO2018109812A1 (ja) 使い捨ておむつ
JP2015089468A (ja) 展開型の使い捨ておむつ

Legal Events

Date Code Title Description
121 Ep: the epo has been informed by wipo that ep was designated in this application

Ref document number: 19791982

Country of ref document: EP

Kind code of ref document: A1

ENP Entry into the national phase

Ref document number: 202018256

Country of ref document: GB

Kind code of ref document: A

Free format text: PCT FILING DATE = 20190405

122 Ep: pct application non-entry in european phase

Ref document number: 19791982

Country of ref document: EP

Kind code of ref document: A1