WO2019167931A1 - 絶縁回路基板 - Google Patents

絶縁回路基板 Download PDF

Info

Publication number
WO2019167931A1
WO2019167931A1 PCT/JP2019/007268 JP2019007268W WO2019167931A1 WO 2019167931 A1 WO2019167931 A1 WO 2019167931A1 JP 2019007268 W JP2019007268 W JP 2019007268W WO 2019167931 A1 WO2019167931 A1 WO 2019167931A1
Authority
WO
WIPO (PCT)
Prior art keywords
layer
circuit
metal layer
thickness
circuit layer
Prior art date
Legal status (The legal status is an assumption and is not a legal conclusion. Google has not performed a legal analysis and makes no representation as to the accuracy of the status listed.)
Ceased
Application number
PCT/JP2019/007268
Other languages
English (en)
French (fr)
Japanese (ja)
Inventor
丈嗣 北原
遼平 湯本
長友 義幸
Current Assignee (The listed assignees may be inaccurate. Google has not performed a legal analysis and makes no representation or warranty as to the accuracy of the list.)
Mitsubishi Materials Corp
Original Assignee
Mitsubishi Materials Corp
Priority date (The priority date is an assumption and is not a legal conclusion. Google has not performed a legal analysis and makes no representation as to the accuracy of the date listed.)
Filing date
Publication date
Application filed by Mitsubishi Materials Corp filed Critical Mitsubishi Materials Corp
Priority to EP19760099.2A priority Critical patent/EP3761351B1/en
Priority to US16/977,269 priority patent/US11013107B2/en
Priority to CN201980015193.9A priority patent/CN111771275B/zh
Publication of WO2019167931A1 publication Critical patent/WO2019167931A1/ja
Anticipated expiration legal-status Critical
Ceased legal-status Critical Current

Links

Images

Classifications

    • HELECTRICITY
    • H05ELECTRIC TECHNIQUES NOT OTHERWISE PROVIDED FOR
    • H05KPRINTED CIRCUITS; CASINGS OR CONSTRUCTIONAL DETAILS OF ELECTRIC APPARATUS; MANUFACTURE OF ASSEMBLAGES OF ELECTRICAL COMPONENTS
    • H05K1/00Printed circuits
    • H05K1/02Details
    • H05K1/09Use of materials for the conductive, e.g. metallic pattern
    • CCHEMISTRY; METALLURGY
    • C04CEMENTS; CONCRETE; ARTIFICIAL STONE; CERAMICS; REFRACTORIES
    • C04BLIME, MAGNESIA; SLAG; CEMENTS; COMPOSITIONS THEREOF, e.g. MORTARS, CONCRETE OR LIKE BUILDING MATERIALS; ARTIFICIAL STONE; CERAMICS; REFRACTORIES; TREATMENT OF NATURAL STONE
    • C04B37/00Joining burned ceramic articles with other burned ceramic articles or other articles by heating
    • C04B37/02Joining burned ceramic articles with other burned ceramic articles or other articles by heating with metallic articles
    • C04B37/023Joining burned ceramic articles with other burned ceramic articles or other articles by heating with metallic articles characterised by the interlayer used
    • C04B37/026Joining burned ceramic articles with other burned ceramic articles or other articles by heating with metallic articles characterised by the interlayer used consisting of metals or metal salts
    • HELECTRICITY
    • H01ELECTRIC ELEMENTS
    • H01LSEMICONDUCTOR DEVICES NOT COVERED BY CLASS H10
    • H01L23/00Details of semiconductor or other solid state devices
    • H01L23/34Arrangements for cooling, heating, ventilating or temperature compensation ; Temperature sensing arrangements
    • H01L23/36Selection of materials, or shaping, to facilitate cooling or heating, e.g. heatsinks
    • H01L23/373Cooling facilitated by selection of materials for the device or materials for thermal expansion adaptation, e.g. carbon
    • H01L23/3735Laminates or multilayers, e.g. direct bond copper ceramic substrates
    • HELECTRICITY
    • H05ELECTRIC TECHNIQUES NOT OTHERWISE PROVIDED FOR
    • H05KPRINTED CIRCUITS; CASINGS OR CONSTRUCTIONAL DETAILS OF ELECTRIC APPARATUS; MANUFACTURE OF ASSEMBLAGES OF ELECTRICAL COMPONENTS
    • H05K3/00Apparatus or processes for manufacturing printed circuits
    • H05K3/22Secondary treatment of printed circuits
    • H05K3/24Reinforcing the conductive pattern
    • CCHEMISTRY; METALLURGY
    • C04CEMENTS; CONCRETE; ARTIFICIAL STONE; CERAMICS; REFRACTORIES
    • C04BLIME, MAGNESIA; SLAG; CEMENTS; COMPOSITIONS THEREOF, e.g. MORTARS, CONCRETE OR LIKE BUILDING MATERIALS; ARTIFICIAL STONE; CERAMICS; REFRACTORIES; TREATMENT OF NATURAL STONE
    • C04B2237/00Aspects relating to ceramic laminates or to joining of ceramic articles with other articles by heating
    • C04B2237/02Aspects relating to interlayers, e.g. used to join ceramic articles with other articles by heating
    • C04B2237/12Metallic interlayers
    • C04B2237/121Metallic interlayers based on aluminium
    • CCHEMISTRY; METALLURGY
    • C04CEMENTS; CONCRETE; ARTIFICIAL STONE; CERAMICS; REFRACTORIES
    • C04BLIME, MAGNESIA; SLAG; CEMENTS; COMPOSITIONS THEREOF, e.g. MORTARS, CONCRETE OR LIKE BUILDING MATERIALS; ARTIFICIAL STONE; CERAMICS; REFRACTORIES; TREATMENT OF NATURAL STONE
    • C04B2237/00Aspects relating to ceramic laminates or to joining of ceramic articles with other articles by heating
    • C04B2237/02Aspects relating to interlayers, e.g. used to join ceramic articles with other articles by heating
    • C04B2237/12Metallic interlayers
    • C04B2237/124Metallic interlayers based on copper
    • CCHEMISTRY; METALLURGY
    • C04CEMENTS; CONCRETE; ARTIFICIAL STONE; CERAMICS; REFRACTORIES
    • C04BLIME, MAGNESIA; SLAG; CEMENTS; COMPOSITIONS THEREOF, e.g. MORTARS, CONCRETE OR LIKE BUILDING MATERIALS; ARTIFICIAL STONE; CERAMICS; REFRACTORIES; TREATMENT OF NATURAL STONE
    • C04B2237/00Aspects relating to ceramic laminates or to joining of ceramic articles with other articles by heating
    • C04B2237/30Composition of layers of ceramic laminates or of ceramic or metallic articles to be joined by heating, e.g. Si substrates
    • C04B2237/32Ceramic
    • C04B2237/34Oxidic
    • C04B2237/343Alumina or aluminates
    • CCHEMISTRY; METALLURGY
    • C04CEMENTS; CONCRETE; ARTIFICIAL STONE; CERAMICS; REFRACTORIES
    • C04BLIME, MAGNESIA; SLAG; CEMENTS; COMPOSITIONS THEREOF, e.g. MORTARS, CONCRETE OR LIKE BUILDING MATERIALS; ARTIFICIAL STONE; CERAMICS; REFRACTORIES; TREATMENT OF NATURAL STONE
    • C04B2237/00Aspects relating to ceramic laminates or to joining of ceramic articles with other articles by heating
    • C04B2237/30Composition of layers of ceramic laminates or of ceramic or metallic articles to be joined by heating, e.g. Si substrates
    • C04B2237/32Ceramic
    • C04B2237/36Non-oxidic
    • C04B2237/366Aluminium nitride
    • CCHEMISTRY; METALLURGY
    • C04CEMENTS; CONCRETE; ARTIFICIAL STONE; CERAMICS; REFRACTORIES
    • C04BLIME, MAGNESIA; SLAG; CEMENTS; COMPOSITIONS THEREOF, e.g. MORTARS, CONCRETE OR LIKE BUILDING MATERIALS; ARTIFICIAL STONE; CERAMICS; REFRACTORIES; TREATMENT OF NATURAL STONE
    • C04B2237/00Aspects relating to ceramic laminates or to joining of ceramic articles with other articles by heating
    • C04B2237/30Composition of layers of ceramic laminates or of ceramic or metallic articles to be joined by heating, e.g. Si substrates
    • C04B2237/32Ceramic
    • C04B2237/36Non-oxidic
    • C04B2237/368Silicon nitride
    • CCHEMISTRY; METALLURGY
    • C04CEMENTS; CONCRETE; ARTIFICIAL STONE; CERAMICS; REFRACTORIES
    • C04BLIME, MAGNESIA; SLAG; CEMENTS; COMPOSITIONS THEREOF, e.g. MORTARS, CONCRETE OR LIKE BUILDING MATERIALS; ARTIFICIAL STONE; CERAMICS; REFRACTORIES; TREATMENT OF NATURAL STONE
    • C04B2237/00Aspects relating to ceramic laminates or to joining of ceramic articles with other articles by heating
    • C04B2237/30Composition of layers of ceramic laminates or of ceramic or metallic articles to be joined by heating, e.g. Si substrates
    • C04B2237/40Metallic
    • C04B2237/402Aluminium
    • CCHEMISTRY; METALLURGY
    • C04CEMENTS; CONCRETE; ARTIFICIAL STONE; CERAMICS; REFRACTORIES
    • C04BLIME, MAGNESIA; SLAG; CEMENTS; COMPOSITIONS THEREOF, e.g. MORTARS, CONCRETE OR LIKE BUILDING MATERIALS; ARTIFICIAL STONE; CERAMICS; REFRACTORIES; TREATMENT OF NATURAL STONE
    • C04B2237/00Aspects relating to ceramic laminates or to joining of ceramic articles with other articles by heating
    • C04B2237/30Composition of layers of ceramic laminates or of ceramic or metallic articles to be joined by heating, e.g. Si substrates
    • C04B2237/40Metallic
    • C04B2237/407Copper
    • CCHEMISTRY; METALLURGY
    • C04CEMENTS; CONCRETE; ARTIFICIAL STONE; CERAMICS; REFRACTORIES
    • C04BLIME, MAGNESIA; SLAG; CEMENTS; COMPOSITIONS THEREOF, e.g. MORTARS, CONCRETE OR LIKE BUILDING MATERIALS; ARTIFICIAL STONE; CERAMICS; REFRACTORIES; TREATMENT OF NATURAL STONE
    • C04B2237/00Aspects relating to ceramic laminates or to joining of ceramic articles with other articles by heating
    • C04B2237/50Processing aspects relating to ceramic laminates or to the joining of ceramic articles with other articles by heating
    • C04B2237/70Forming laminates or joined articles comprising layers of a specific, unusual thickness
    • C04B2237/704Forming laminates or joined articles comprising layers of a specific, unusual thickness of one or more of the ceramic layers or articles
    • CCHEMISTRY; METALLURGY
    • C04CEMENTS; CONCRETE; ARTIFICIAL STONE; CERAMICS; REFRACTORIES
    • C04BLIME, MAGNESIA; SLAG; CEMENTS; COMPOSITIONS THEREOF, e.g. MORTARS, CONCRETE OR LIKE BUILDING MATERIALS; ARTIFICIAL STONE; CERAMICS; REFRACTORIES; TREATMENT OF NATURAL STONE
    • C04B2237/00Aspects relating to ceramic laminates or to joining of ceramic articles with other articles by heating
    • C04B2237/50Processing aspects relating to ceramic laminates or to the joining of ceramic articles with other articles by heating
    • C04B2237/70Forming laminates or joined articles comprising layers of a specific, unusual thickness
    • C04B2237/706Forming laminates or joined articles comprising layers of a specific, unusual thickness of one or more of the metallic layers or articles
    • HELECTRICITY
    • H05ELECTRIC TECHNIQUES NOT OTHERWISE PROVIDED FOR
    • H05KPRINTED CIRCUITS; CASINGS OR CONSTRUCTIONAL DETAILS OF ELECTRIC APPARATUS; MANUFACTURE OF ASSEMBLAGES OF ELECTRICAL COMPONENTS
    • H05K1/00Printed circuits
    • H05K1/02Details
    • H05K1/0271Arrangements for reducing stress or warp in rigid printed circuit boards, e.g. caused by loads, vibrations or differences in thermal expansion
    • HELECTRICITY
    • H05ELECTRIC TECHNIQUES NOT OTHERWISE PROVIDED FOR
    • H05KPRINTED CIRCUITS; CASINGS OR CONSTRUCTIONAL DETAILS OF ELECTRIC APPARATUS; MANUFACTURE OF ASSEMBLAGES OF ELECTRICAL COMPONENTS
    • H05K1/00Printed circuits
    • H05K1/02Details
    • H05K1/03Use of materials for the substrate
    • H05K1/0306Inorganic insulating substrates, e.g. ceramic, glass
    • HELECTRICITY
    • H05ELECTRIC TECHNIQUES NOT OTHERWISE PROVIDED FOR
    • H05KPRINTED CIRCUITS; CASINGS OR CONSTRUCTIONAL DETAILS OF ELECTRIC APPARATUS; MANUFACTURE OF ASSEMBLAGES OF ELECTRICAL COMPONENTS
    • H05K2201/00Indexing scheme relating to printed circuits covered by H05K1/00
    • H05K2201/03Conductive materials
    • H05K2201/0332Structure of the conductor
    • H05K2201/0335Layered conductors or foils
    • H05K2201/0352Differences between the conductors of different layers of a multilayer
    • HELECTRICITY
    • H05ELECTRIC TECHNIQUES NOT OTHERWISE PROVIDED FOR
    • H05KPRINTED CIRCUITS; CASINGS OR CONSTRUCTIONAL DETAILS OF ELECTRIC APPARATUS; MANUFACTURE OF ASSEMBLAGES OF ELECTRICAL COMPONENTS
    • H05K2201/00Indexing scheme relating to printed circuits covered by H05K1/00
    • H05K2201/03Conductive materials
    • H05K2201/0332Structure of the conductor
    • H05K2201/0364Conductor shape
    • H05K2201/0379Stacked conductors
    • HELECTRICITY
    • H05ELECTRIC TECHNIQUES NOT OTHERWISE PROVIDED FOR
    • H05KPRINTED CIRCUITS; CASINGS OR CONSTRUCTIONAL DETAILS OF ELECTRIC APPARATUS; MANUFACTURE OF ASSEMBLAGES OF ELECTRICAL COMPONENTS
    • H05K2203/00Indexing scheme relating to apparatus or processes for manufacturing printed circuits covered by H05K3/00
    • H05K2203/03Metal processing
    • H05K2203/033Punching metal foil, e.g. solder foil
    • HELECTRICITY
    • H05ELECTRIC TECHNIQUES NOT OTHERWISE PROVIDED FOR
    • H05KPRINTED CIRCUITS; CASINGS OR CONSTRUCTIONAL DETAILS OF ELECTRIC APPARATUS; MANUFACTURE OF ASSEMBLAGES OF ELECTRICAL COMPONENTS
    • H05K2203/00Indexing scheme relating to apparatus or processes for manufacturing printed circuits covered by H05K3/00
    • H05K2203/04Soldering or other types of metallurgic bonding
    • H05K2203/047Soldering with different solders, e.g. two different solders on two sides of the PCB
    • HELECTRICITY
    • H05ELECTRIC TECHNIQUES NOT OTHERWISE PROVIDED FOR
    • H05KPRINTED CIRCUITS; CASINGS OR CONSTRUCTIONAL DETAILS OF ELECTRIC APPARATUS; MANUFACTURE OF ASSEMBLAGES OF ELECTRICAL COMPONENTS
    • H05K3/00Apparatus or processes for manufacturing printed circuits
    • H05K3/02Apparatus or processes for manufacturing printed circuits in which the conductive material is applied to the surface of the insulating support and is thereafter removed from such areas of the surface which are not intended for current conducting or shielding
    • H05K3/022Processes for manufacturing precursors of printed circuits, i.e. copper-clad substrates
    • HELECTRICITY
    • H05ELECTRIC TECHNIQUES NOT OTHERWISE PROVIDED FOR
    • H05KPRINTED CIRCUITS; CASINGS OR CONSTRUCTIONAL DETAILS OF ELECTRIC APPARATUS; MANUFACTURE OF ASSEMBLAGES OF ELECTRICAL COMPONENTS
    • H05K3/00Apparatus or processes for manufacturing printed circuits
    • H05K3/02Apparatus or processes for manufacturing printed circuits in which the conductive material is applied to the surface of the insulating support and is thereafter removed from such areas of the surface which are not intended for current conducting or shielding
    • H05K3/06Apparatus or processes for manufacturing printed circuits in which the conductive material is applied to the surface of the insulating support and is thereafter removed from such areas of the surface which are not intended for current conducting or shielding the conductive material being removed chemically or electrolytically, e.g. by photo-etch process
    • H05K3/067Etchants

Definitions

  • the present invention relates to an insulating circuit substrate such as a power module substrate used in a semiconductor device that controls a large current and a high voltage.
  • a power module substrate used in a semiconductor device that controls a large current and a high voltage.
  • a power module board As an insulated circuit board, a power module board is known in which a circuit layer is bonded to one surface of an insulating substrate made of ceramics such as aluminum nitride and a metal layer is bonded to the other surface.
  • each of the circuit layer and the metal layer bonded to the insulating substrate is made of pure copper having a purity of 99.999% or more. For this reason, when the temperature cycle repeatedly acts, recrystallization occurs in the circuit layer and the metal layer, thereby reducing the internal stress generated in the circuit layer and the metal layer so that cracks and the like do not occur. However, the effect may not be sufficient.
  • an insulating circuit board in which an aluminum layer made of aluminum or an aluminum alloy is bonded to the surface of a ceramic substrate and a copper layer made of copper or a copper alloy is solid-phase diffusion bonded to the upper surface of the aluminum layer has been used. Since the aluminum layer has a stress buffering function, the thickness of the aluminum layer bonded to the surface of the ceramic substrate and the thickness of the copper layer are preferably set to be substantially the same. Further, the thickness of the copper layer can be set to 0.4 mm or more by the stress buffering function of the aluminum layer, for example.
  • a circuit layer and a metal layer made of aluminum or an aluminum alloy are joined to the surface of the ceramic substrate, a circuit pattern is formed on the circuit layer, and then a relatively thick metal plate made of copper or a copper alloy is formed on the upper surface of the circuit layer and the metal layer.
  • ⁇ Insulation circuit board with small change in warpage at high temperature is desired because warping changes when soldering to the insulation circuit board is large.
  • the present invention has been made in view of such circumstances, and an object of the present invention is to provide an insulated circuit board capable of suppressing a warp change.
  • An insulating circuit board comprises a ceramic substrate; a circuit layer bonded to one surface of the ceramic substrate to form a circuit pattern; and a metal layer bonded to the other surface of the ceramic substrate.
  • a thickness of each of the first circuit layer and the first metal layer is equal to or greater than 0.2 mm and equal to or less than 0.9 mm.
  • the area ratio S1 / S2 between the junction area S1 of the circuit layer and the junction area S2 of the metal layer is 0.5 to 0.8 and the thickness T1 of the second circuit layer is 5 mm to 2.0 mm.
  • the thickness ratio T1 / T2 of the second metal layer to the thickness T2 is 1.4 or more and 3.2 or less.
  • the second circuit layer and the second metal layer are joined to the upper surfaces of the first circuit layer and the first metal layer, even if stress is generated between the circuit patterns of the ceramic substrate, Since the thickness is thinner than the thickness of the second circuit layer, it is possible to balance the stress on the surface on the circuit layer side and the surface on the metal layer side of the ceramic substrate. Therefore, it is possible to suppress a change in warp at a high temperature during soldering while reducing the warp of the insulating circuit board.
  • the thickness ratio T1 / T2 is less than 1.4, it is impossible to eliminate the warp that is convex on the circuit layer side. If the thickness ratio T1 / T2 exceeds 3.2, the second metal layer is too thin and the temperature is high. The warpage change is large. Setting the thickness ratio T1 / T2 in this way is effective for reducing warpage when the area ratio S1 / S2 is 0.5 or more and 0.8 or less.
  • the thickness of the first circuit layer and the first metal layer is less than 0.2 mm, the stress buffering effect due to aluminum or an aluminum alloy is reduced, and when it exceeds 0.9 mm, there are large restrictions when forming a circuit pattern.
  • the second circuit layer is solid phase diffusion bonded to the upper surface of the first circuit layer
  • the second metal layer is solid phase bonded to the upper surface of the first metal layer. It is good to be diffusion bonded.
  • the thickness T1 of the second circuit layer is 1.0 mm or greater and 2.0 mm or less.
  • the area ratio S1 / S2 is 0.6 or more and 0.8 or less.
  • the thickness ratio T1 / T2 is 1.8 or more and 2.5 or less.
  • each thickness of the first circuit layer and the first metal layer is 0.2 mm or more and 0.6 mm or less.
  • the circuit pattern may have a circuit layer non-bonding portion having a width of 0.5 mm to 2.0 mm.
  • the thickness of the ceramic substrate is 0.2 mm to 1.2 mm.
  • FIG. 1 It is sectional drawing which shows the power module using the insulated circuit board which concerns on one Embodiment of this invention. It is the top view which looked at the insulated circuit board in the said embodiment from the circuit layer side. It is the top view which looked at the insulated circuit board in the said embodiment from the metal layer side. It is sectional drawing explaining the manufacturing method of the insulated circuit board shown in FIG. It is sectional drawing explaining the manufacturing method of the insulated circuit board shown in FIG. It is sectional drawing explaining the manufacturing method of the insulated circuit board shown in FIG. It is sectional drawing explaining the manufacturing method of the insulated circuit board shown in FIG. It is sectional drawing explaining the manufacturing method of the insulated circuit board shown in FIG. It is sectional drawing explaining the manufacturing method of the insulated circuit board shown in FIG. It is sectional drawing explaining the manufacturing method of the insulated circuit board shown in FIG. It is sectional drawing explaining the manufacturing method of the insulated circuit board shown in FIG.
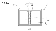
  • An insulated circuit board 1 manufactured by the method for manufacturing an insulated circuit board according to the present invention is a so-called power module board, as shown in FIG.
  • the element 30 is mounted as shown in FIG.
  • the element 30 is an electronic component including a semiconductor, and an IGBT (Insulated Gate Bipolar Transistor), a MOSFET (Metal Oxide Semiconductor Field Effect Transistor), a FWD (Free Wheeling Diode) element, or the like.
  • the element 30 is provided with an upper electrode part at the upper part, a lower electrode part is provided at the lower part, and the lower electrode part is joined to the upper surface of the circuit layer 12 by solder 31 or the like,
  • the element 30 is mounted on the upper surface of the circuit layer 12.
  • the upper electrode portion of the element 30 is connected to the circuit electrode portion or the like of the circuit layer 12 via a lead frame or the like joined with solder or the like.
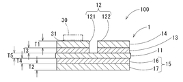
  • the insulated circuit board 1 includes a ceramic substrate 11, a circuit layer 12 bonded to one surface of the ceramic substrate 11, and a metal layer 15 bonded to the other surface of the ceramic substrate 11.
  • the ceramic substrate 11 is a rectangular plate-like insulating substrate that prevents electrical connection between the circuit layer 12 and the metal layer 15, and is, for example, aluminum nitride (AlN), silicon nitride (Si 3 N 4 ), zirconia reinforced alumina. It is formed of a substrate or the like, and its thickness T5 is 0.2 mm to 1.2 mm.
  • the ceramic substrate 11 of this embodiment is made of aluminum nitride, and has a size of 100 mm ⁇ 110 mm and a thickness T5 of 1.0 mm.
  • the circuit layer 12 includes two small circuit layers 121 and 122 that are separated from each other to form a circuit pattern.
  • the small circuit layers 121 and 122 are bonded to one surface of the ceramic substrate 11 with a space (for example, 0.5 mm to 2.0 mm) therebetween.
  • a blank portion Ar1 having a width of 0.5 mm to 2.0 mm where the metal of the circuit layer 12 is not joined is formed between the small circuit layers 121 and 122.
  • the circuit layer 12 includes a first circuit layer 13 bonded to the ceramic substrate 11 and a second circuit layer 14 bonded to the upper surface of the first circuit layer 13.
  • the first circuit layer 13 pure aluminum or aluminum alloy having a purity of 99% by mass or more is used.
  • the thickness of the first circuit layer 13 is 0.2 mm or more and 0.9 mm. This is because if the thickness of the first circuit layer 13 is less than 0.2 mm, the stress buffering effect by pure aluminum or an aluminum alloy is low, and if it exceeds 0.9 mm, restrictions on forming a circuit pattern increase.
  • the first circuit layer 13 of the present embodiment is made of pure aluminum having a purity of 99% by mass or more, and its thickness T3 is set to 0.6 mm.
  • the second circuit layer 14 is formed of copper such as oxygen-free copper or copper alloy such as zirconium-added copper alloy, and the thickness T1 is set to 0.65 mm or more and 2.0 mm or less.
  • the thickness T1 of the second circuit layer 14 is larger than the thickness T2 of the second metal layer 17 described later, and the thickness ratio T1 / T2 is set to 1.4 or more and 3.2 or less.
  • the second circuit layer 14 of the present embodiment is made of oxygen-free copper, and its thickness T1 is set to 1.0 mm.
  • the interval between the small circuit layers 121 and 122 is set to 1.0 mm.
  • the metal layer 15 includes a first metal layer 16 bonded to the ceramic substrate 11 and a second metal layer 17 bonded to the upper surface of the first metal layer 16.
  • the first metal layer 16 is formed using pure aluminum or aluminum alloy having a purity of 99% by mass or more, and the thickness T4 is 0.2 mm or more and 0.9 mm, similarly to the first circuit layer 13.
  • the second metal layer 17 is formed of copper such as oxygen-free copper or copper alloy such as zirconium-added copper alloy, and the thickness T2 is set to 0.4 mm or more and 1.4 mm or less.
  • the thickness T2 of the second metal layer 17 is smaller than the thickness T1 of the second circuit layer 14, and the thickness ratio T1 / T2 is set to 1.4 or more and 3.2 or less.
  • the second metal layer 17 of the present embodiment is made of oxygen-free copper, and its thickness T2 is set to 0.7 mm.
  • the bonding area of the circuit layer 12 to the ceramic substrate 11 is S1 (mm 2 ) and the bonding area of the metal layer 15 to the ceramic substrate 11 is S2 (mm 2 )
  • the area ratio S1 / S2 is adjusted to a relationship of 0.5 or more and 0.8 or less.
  • Each junction area S1, S2 is a value at 30 ° C.
  • the bonding area S1 of the circuit layer 12 is equal to the bonding area S11 of the small circuit layer 121 and the bonding area S12 of the small circuit layer 122 to the ceramic substrate 11. And the sum.
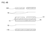
  • the method for manufacturing the insulated circuit board 1 includes the first circuit layer metal plate 130 made of aluminum or aluminum alloy to be the first circuit layer 13 and the first metal layer metal to be made of the first metal layer 16 made of aluminum or aluminum alloy.
  • a first circuit is formed by forming a circuit pattern on a first circuit layer metal plate 130 (first circuit layer precursor 13A) bonded by the first bonding step and the first bonding step of bonding the plate 150 to the ceramic substrate 11.
  • a first circuit layer metal plate 130 and a first metal layer metal plate 160 having the same thickness are bonded to the ceramic substrate 11 using an Al—Si based brazing material, respectively.
  • the first circuit layer metal plate 130 and the first metal layer metal plate 160 are laminated on the front and back surfaces of the ceramic substrate 11 with the Al—Si brazing material foil 18 interposed therebetween, respectively.
  • the ceramic substrate 11 is bonded to the first circuit layer metal plate 130 and the first metal layer metal plate 160 by heating the laminate in a vacuum while applying a load in the stacking direction.
  • 3B where the first circuit layer precursor 13A and the first metal layer 16 are bonded to the front surface and the back surface of the ceramic substrate 11 through the bonding portion (brazing portion).
  • the pressure in the stacking direction is 0.3 MPa to 1.5 MPa, and the temperature is preferably 630 ° C. or more and 655 ° C. or less.
  • the Al—Si based brazing foil may have a thickness of 5 ⁇ m to 15 ⁇ m.
  • an Al—Ge, Al—Cu, Al—Mg, Al—Mn, or Al—Si—Mg brazing material can also be used.
  • circuit pattern formation process Next, after a mask is printed on the surface of the first circuit layer precursor 13A, a circuit pattern is formed by etching using an acidic organic solvent or the like. This mask is provided so as to form a circuit pattern on the surface of the first circuit layer precursor 13A as necessary. Thereby, a circuit pattern is formed in the first circuit layer precursor 13A, and the first circuit layer 13 is bonded to the ceramic substrate 11 as shown in FIG. 3C.
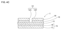
  • a rolled plate material (hereinafter referred to as a copper rolled material) formed of copper or a copper alloy is punched out by pressing, and the second circuit layer metal plate 140 and the second metal layer metal plate 170 are pressed.
  • the metal plate 170 for 2nd metal layers of a rectangular plate shape (for example, 95 mm x 100 mm) is formed by pressing the copper rolling material of thickness 0.4mm or more and 1.4mm or less.
  • two second circuit layer metals having a desired pattern shape in the example shown in FIGS. 4A to 4C, a rectangular plate shape).
  • a plate 140 is formed.
  • each second circuit layer metal plate 140 is bonded to the upper surface of the first circuit layer 13, and the second metal layer metal plate 170 is bonded to the upper surface of the first metal layer 16.
  • the second circuit layer metal plate 140 and the second metal are disposed on the upper surface of each first circuit layer 14 and the upper surface of the first metal layer 16 with an Ag-Cu-Ti brazing foil 18 interposed therebetween, respectively.
  • the layer metal plate 170 is laminated, these laminates are sandwiched between carbon plates, and heated in a vacuum while applying a load in the lamination direction, whereby the second circuit layer metal plate 140 is formed on the first circuit layer 13.
  • the second circuit layer 14 having the thickness T1 is formed by bonding, and the second metal layer metal plate 170 is bonded to the first metal layer 16 to form the second metal layer having the thickness T2.
  • the circuit layer 12 in which the first circuit layer 13 and the second circuit layer 14 are laminated on the surface of the ceramic substrate 11 is solid-phase diffused via the joint (brazing portion).
  • the pressure in the stacking direction is preferably 0.1 MPa to 1.0 MPa, and the heating temperature is 800 ° C. to 930 ° C.
  • the Ag—Cu—Ti brazing foil may have a thickness of 5 ⁇ m to 15 ⁇ m.
  • a Cu—P brazing material can also be used.
  • the thickness T1 of the second circuit layer 14 is 0.65 mm or more and 2.0 mm or less, and the area of the junction area S1 of the circuit layer 12 and the junction area S2 of the metal layer 15.
  • the ratio S1 / S2 is 0.5 or more and 0.8 or less, and the thickness ratio T1 / T2 between the thickness T1 of the second circuit layer 14 and the thickness T2 of the second metal layer 17 is 1.2 or more and 1.7 or less. It becomes.
  • the stress generated on the front and back surfaces of the ceramic substrate 11 becomes a compressive stress at the junction with the circuit layer 12 and the metal layer 15. Since the pattern is formed on the surface to which the circuit layer 12 is bonded, as shown in FIG. 2B, the circuit layer non-bonding portion Ar1 between the patterns (the region where the ceramic substrate 11 is exposed by forming the pattern) Compressive stress due to the metal layer 15 is generated on the back surface of Ar1), and tensile stress is generated on the surface. For this reason, the curvature which makes the circuit layer 12 side convex arises easily. In this case, the warp is more remarkable as the circuit layer 12 and the metal layer 15 are thicker.
  • the thickness T2 of the second metal layer 17 is equal to the thickness of the second circuit layer 14. Since it is thinner than T1, it is possible to maintain a balance between the surface on the circuit layer 12 side and the surface on the metal layer 15 side of the ceramic substrate 11. Therefore, it is possible to suppress a high-temperature warpage change during soldering.
  • the first circuit layer precursor 13A is etched to form the first circuit layer 13.
  • the present invention is not limited thereto, and a plurality of metal plates punched out by a press are bonded to the ceramic substrate 11. You may do it.
  • the insulating circuit board 1 can be used as various insulating boards such as a LED element board.
  • Each of the samples of Examples 1 to 7 and Comparative Examples 1 to 4 has a ceramic substrate made of aluminum nitride having a thickness of 1.0 mm and 100 mm ⁇ 110 mm, a first circuit layer made of pure aluminum and having a thickness of 0.6 mm, and no sample.
  • a first metal layer made of pure aluminum having a thickness of 0.6 mm and a second metal layer made of oxygen-free copper and having a thickness of T2 were joined. It is an insulated circuit board.
  • the thickness T1 of the second circuit layer, the thickness T2 of the second metal layer and the thickness ratio T1 / T2 the area ratio of the bonding area S1 of the circuit layer to the ceramic substrate and the bonding area S2 of the metal layer S1 / S2 is shown in Table 1.
  • the interval between the two small circuit layers constituting the circuit layer was 1.0 mm in all samples.
  • the circuit layer and the metal layer include only the second circuit layer and the second metal layer formed of oxygen-free copper, and do not include the aluminum layer (the first circuit layer and the first metal layer). It was supposed to be.
  • each constituent member was joined by the manufacturing method described in the above embodiment to prepare each sample of the insulated circuit board.
  • the amount of warpage (warpage during heating) at 285 ° C. and 285 ° C. was measured from the metal layer side.
  • the amount of warpage was also determined by measuring the change in the ceramic substrate in a rectangular range (75 mm ⁇ 85 mm range) in the center of the ceramic substrate with a moire type three-dimensional shape measuring machine. For each amount of warpage, the warp in which the metal layer has a concave shape is represented by “ ⁇ ”, and the warp in which the metal layer has a convex shape is represented by “+”.
  • the thickness ratio T1 / T2 is 1.4 or more and 3
  • Examples 1 to 7, which are less than or equal to 2 it was confirmed that an insulating circuit board having a small change amount of 1000 ⁇ m or less and a small warp amount at a high temperature such as soldering can be obtained.
  • each of the circuit layer and the metal layer is made of aluminum or an aluminum alloy. Since the circuit layer and the first metal layer were not provided, the ceramic substrate was cracked as a result of the temperature cycle test. Therefore, in order to suppress cracking of the ceramic substrate, each of the circuit layer and the metal layer includes a first circuit layer and a first metal layer made of aluminum or an aluminum alloy bonded to the ceramic substrate, and the first circuit layer. It was confirmed that it was effective to include the second circuit layer made of copper or copper alloy joined to the upper surface and the second metal layer made of copper or copper alloy joined to the upper surface of the first metal layer.

Landscapes

  • Engineering & Computer Science (AREA)
  • Microelectronics & Electronic Packaging (AREA)
  • Chemical & Material Sciences (AREA)
  • Ceramic Engineering (AREA)
  • Manufacturing & Machinery (AREA)
  • Materials Engineering (AREA)
  • Physics & Mathematics (AREA)
  • Organic Chemistry (AREA)
  • Structural Engineering (AREA)
  • Condensed Matter Physics & Semiconductors (AREA)
  • General Physics & Mathematics (AREA)
  • Computer Hardware Design (AREA)
  • Power Engineering (AREA)
  • Structure Of Printed Boards (AREA)
  • Parts Printed On Printed Circuit Boards (AREA)
  • Cooling Or The Like Of Semiconductors Or Solid State Devices (AREA)
PCT/JP2019/007268 2018-03-02 2019-02-26 絶縁回路基板 Ceased WO2019167931A1 (ja)

Priority Applications (3)

Application Number Priority Date Filing Date Title
EP19760099.2A EP3761351B1 (en) 2018-03-02 2019-02-26 Insulated circuit board
US16/977,269 US11013107B2 (en) 2018-03-02 2019-02-26 Insulated circuit board
CN201980015193.9A CN111771275B (zh) 2018-03-02 2019-02-26 绝缘电路基板

Applications Claiming Priority (2)

Application Number Priority Date Filing Date Title
JP2018037269A JP6614256B2 (ja) 2018-03-02 2018-03-02 絶縁回路基板
JP2018-037269 2018-03-02

Publications (1)

Publication Number Publication Date
WO2019167931A1 true WO2019167931A1 (ja) 2019-09-06

Family

ID=67805824

Family Applications (1)

Application Number Title Priority Date Filing Date
PCT/JP2019/007268 Ceased WO2019167931A1 (ja) 2018-03-02 2019-02-26 絶縁回路基板

Country Status (6)

Country Link
US (1) US11013107B2 (enExample)
EP (1) EP3761351B1 (enExample)
JP (1) JP6614256B2 (enExample)
CN (1) CN111771275B (enExample)
TW (1) TWI762771B (enExample)
WO (1) WO2019167931A1 (enExample)

Families Citing this family (3)

* Cited by examiner, † Cited by third party
Publication number Priority date Publication date Assignee Title
JP7467214B2 (ja) * 2020-04-22 2024-04-15 新光電気工業株式会社 配線基板、電子装置及び配線基板の製造方法
JP2023123133A (ja) * 2022-02-24 2023-09-05 三菱マテリアル株式会社 絶縁回路基板の製造方法及び絶縁回路基板用接合体
CN119153341B (zh) * 2024-09-14 2025-03-04 江苏富乐华半导体科技股份有限公司 一种提高直接键合铝铜陶瓷基板耐热循环可靠性的方法

Citations (6)

* Cited by examiner, † Cited by third party
Publication number Priority date Publication date Assignee Title
JP2004221547A (ja) 2002-12-27 2004-08-05 Mitsubishi Materials Corp 熱伝導性複層基板及びパワーモジュール用基板
JP2015216370A (ja) * 2014-04-25 2015-12-03 三菱マテリアル株式会社 ヒートシンク付きパワーモジュール用基板及びパワーモジュール
JP2017073483A (ja) * 2015-10-08 2017-04-13 三菱マテリアル株式会社 ヒートシンク付きパワーモジュール用基板及びパワーモジュール
JP2017139508A (ja) * 2017-05-23 2017-08-10 三菱マテリアル株式会社 パワーモジュール用基板製造のための接合体
JP2017228693A (ja) * 2016-06-23 2017-12-28 三菱マテリアル株式会社 接合体、パワーモジュール用基板、接合体の製造方法、及び、パワーモジュール用基板の製造方法
JP2018037269A (ja) 2016-08-31 2018-03-08 Tdk株式会社 端子台

Family Cites Families (5)

* Cited by examiner, † Cited by third party
Publication number Priority date Publication date Assignee Title
JP6621076B2 (ja) * 2013-03-29 2019-12-18 三菱マテリアル株式会社 パワーモジュール用基板、ヒートシンク付パワーモジュール用基板及びパワーモジュール
JP6384112B2 (ja) * 2014-04-25 2018-09-05 三菱マテリアル株式会社 パワーモジュール用基板及びヒートシンク付パワーモジュール用基板
CN106463477B (zh) * 2014-07-04 2019-03-12 三菱综合材料株式会社 功率模块用基板单元及功率模块
JP6488917B2 (ja) * 2014-07-04 2019-03-27 三菱マテリアル株式会社 放熱板付パワーモジュール用基板及びパワーモジュール
JP6613929B2 (ja) * 2016-02-01 2019-12-04 三菱マテリアル株式会社 Ag下地層付き金属部材、Ag下地層付き絶縁回路基板、半導体装置、ヒートシンク付き絶縁回路基板、及び、Ag下地層付き金属部材の製造方法

Patent Citations (6)

* Cited by examiner, † Cited by third party
Publication number Priority date Publication date Assignee Title
JP2004221547A (ja) 2002-12-27 2004-08-05 Mitsubishi Materials Corp 熱伝導性複層基板及びパワーモジュール用基板
JP2015216370A (ja) * 2014-04-25 2015-12-03 三菱マテリアル株式会社 ヒートシンク付きパワーモジュール用基板及びパワーモジュール
JP2017073483A (ja) * 2015-10-08 2017-04-13 三菱マテリアル株式会社 ヒートシンク付きパワーモジュール用基板及びパワーモジュール
JP2017228693A (ja) * 2016-06-23 2017-12-28 三菱マテリアル株式会社 接合体、パワーモジュール用基板、接合体の製造方法、及び、パワーモジュール用基板の製造方法
JP2018037269A (ja) 2016-08-31 2018-03-08 Tdk株式会社 端子台
JP2017139508A (ja) * 2017-05-23 2017-08-10 三菱マテリアル株式会社 パワーモジュール用基板製造のための接合体

Non-Patent Citations (1)

* Cited by examiner, † Cited by third party
Title
See also references of EP3761351A4

Also Published As

Publication number Publication date
US11013107B2 (en) 2021-05-18
EP3761351B1 (en) 2024-01-17
TW201938514A (zh) 2019-10-01
JP2019153670A (ja) 2019-09-12
CN111771275A (zh) 2020-10-13
EP3761351A4 (en) 2021-12-22
JP6614256B2 (ja) 2019-12-04
EP3761351A1 (en) 2021-01-06
TWI762771B (zh) 2022-05-01
CN111771275B (zh) 2024-04-26
US20210007217A1 (en) 2021-01-07

Similar Documents

Publication Publication Date Title
KR102300972B1 (ko) 파워 모듈용 기판 유닛 및 파워 모듈
JP6417834B2 (ja) 冷却器付パワーモジュール用基板及び冷却器付パワーモジュール用基板の製造方法
JP2013065918A5 (enExample)
WO2019189329A1 (ja) ヒートシンク付き絶縁回路基板
JP2018148064A (ja) ヒートシンク付パワーモジュール用基板
JP2019087586A (ja) 絶縁回路基板の製造方法、ヒートシンク付き絶縁回路基板の製造方法、及び、絶縁回路基板、ヒートシンク付き絶縁回路基板、並びに、絶縁回路基板の積層構造体の製造方法
WO2019167931A1 (ja) 絶縁回路基板
WO2019167942A1 (ja) 絶縁回路基板
JP2011071260A (ja) 積層材およびその製造方法、絶縁積層材およびその製造方法
JP2015070061A (ja) パワーモジュール用基板の製造方法
JP2017139508A (ja) パワーモジュール用基板製造のための接合体
JP7054073B2 (ja) ヒートシンク付き絶縁回路基板
JP6149655B2 (ja) パワーモジュール用基板およびその製造方法
JP7363583B2 (ja) 絶縁回路基板の製造方法
JP5303936B2 (ja) パワーモジュール用基板及びパワーモジュール並びにパワーモジュール用基板の製造方法
JP7467936B2 (ja) ヒートシンク付絶縁回路基板、電子部品及びヒートシンク付絶縁回路基板の製造方法
KR102363709B1 (ko) 구리/티탄/알루미늄 접합체, 절연 회로 기판, 히트싱크가 부착된 절연 회로 기판, 파워 모듈, led 모듈, 열전 모듈
WO2023204054A1 (ja) セラミックス回路基板、半導体装置、セラミックス回路基板の製造方法、及び半導体装置の製造方法
JP2016152383A (ja) パワーモジュール用基板及びパワーモジュール
HK1151627A (en) Substrate for power module with heat sink and method for producing the same, power module with heat sink, and substrate for power module

Legal Events

Date Code Title Description
121 Ep: the epo has been informed by wipo that ep was designated in this application

Ref document number: 19760099

Country of ref document: EP

Kind code of ref document: A1

NENP Non-entry into the national phase

Ref country code: DE

WWE Wipo information: entry into national phase

Ref document number: 2019760099

Country of ref document: EP