WO2019155707A1 - ダイシング装置及びダイシング方法並びにダイシングテープ - Google Patents

ダイシング装置及びダイシング方法並びにダイシングテープ Download PDF

Info

Publication number
WO2019155707A1
WO2019155707A1 PCT/JP2018/041727 JP2018041727W WO2019155707A1 WO 2019155707 A1 WO2019155707 A1 WO 2019155707A1 JP 2018041727 W JP2018041727 W JP 2018041727W WO 2019155707 A1 WO2019155707 A1 WO 2019155707A1
Authority
WO
WIPO (PCT)
Prior art keywords
dicing
blade
dicing tape
cutting
work table
Prior art date
Legal status (The legal status is an assumption and is not a legal conclusion. Google has not performed a legal analysis and makes no representation as to the accuracy of the status listed.)
Ceased
Application number
PCT/JP2018/041727
Other languages
English (en)
French (fr)
Japanese (ja)
Inventor
朋来 福家
翼 清水
真生 西山
Current Assignee (The listed assignees may be inaccurate. Google has not performed a legal analysis and makes no representation or warranty as to the accuracy of the list.)
Tokyo Seimitsu Co Ltd
Original Assignee
Tokyo Seimitsu Co Ltd
Priority date (The priority date is an assumption and is not a legal conclusion. Google has not performed a legal analysis and makes no representation as to the accuracy of the date listed.)
Filing date
Publication date
Application filed by Tokyo Seimitsu Co Ltd filed Critical Tokyo Seimitsu Co Ltd
Priority to CN202011396997.9A priority Critical patent/CN112536700B/zh
Priority to CN201880088934.1A priority patent/CN111699545B/zh
Priority to CN202110555098.7A priority patent/CN113290484B/zh
Publication of WO2019155707A1 publication Critical patent/WO2019155707A1/ja
Anticipated expiration legal-status Critical
Ceased legal-status Critical Current

Links

Images

Classifications

    • BPERFORMING OPERATIONS; TRANSPORTING
    • B24GRINDING; POLISHING
    • B24BMACHINES, DEVICES, OR PROCESSES FOR GRINDING OR POLISHING; DRESSING OR CONDITIONING OF ABRADING SURFACES; FEEDING OF GRINDING, POLISHING, OR LAPPING AGENTS
    • B24B27/00Other grinding machines or devices
    • B24B27/06Grinders for cutting-off
    • B24B27/0683Accessories therefor
    • BPERFORMING OPERATIONS; TRANSPORTING
    • B24GRINDING; POLISHING
    • B24BMACHINES, DEVICES, OR PROCESSES FOR GRINDING OR POLISHING; DRESSING OR CONDITIONING OF ABRADING SURFACES; FEEDING OF GRINDING, POLISHING, OR LAPPING AGENTS
    • B24B27/00Other grinding machines or devices
    • B24B27/06Grinders for cutting-off
    • BPERFORMING OPERATIONS; TRANSPORTING
    • B24GRINDING; POLISHING
    • B24BMACHINES, DEVICES, OR PROCESSES FOR GRINDING OR POLISHING; DRESSING OR CONDITIONING OF ABRADING SURFACES; FEEDING OF GRINDING, POLISHING, OR LAPPING AGENTS
    • B24B49/00Measuring or gauging equipment for controlling the feed movement of the grinding tool or work; Arrangements of indicating or measuring equipment, e.g. for indicating the start of the grinding operation
    • B24B49/12Measuring or gauging equipment for controlling the feed movement of the grinding tool or work; Arrangements of indicating or measuring equipment, e.g. for indicating the start of the grinding operation involving optical means
    • BPERFORMING OPERATIONS; TRANSPORTING
    • B24GRINDING; POLISHING
    • B24BMACHINES, DEVICES, OR PROCESSES FOR GRINDING OR POLISHING; DRESSING OR CONDITIONING OF ABRADING SURFACES; FEEDING OF GRINDING, POLISHING, OR LAPPING AGENTS
    • B24B51/00Arrangements for automatic control of a series of individual steps in grinding a workpiece
    • HELECTRICITY
    • H01ELECTRIC ELEMENTS
    • H01LSEMICONDUCTOR DEVICES NOT COVERED BY CLASS H10
    • H01L21/00Processes or apparatus adapted for the manufacture or treatment of semiconductor or solid state devices or of parts thereof
    • H01L21/02Manufacture or treatment of semiconductor devices or of parts thereof
    • H01L21/04Manufacture or treatment of semiconductor devices or of parts thereof the devices having potential barriers, e.g. a PN junction, depletion layer or carrier concentration layer
    • H01L21/18Manufacture or treatment of semiconductor devices or of parts thereof the devices having potential barriers, e.g. a PN junction, depletion layer or carrier concentration layer the devices having semiconductor bodies comprising elements of Group IV of the Periodic Table or AIIIBV compounds with or without impurities, e.g. doping materials
    • H01L21/30Treatment of semiconductor bodies using processes or apparatus not provided for in groups H01L21/20 - H01L21/26
    • H01L21/302Treatment of semiconductor bodies using processes or apparatus not provided for in groups H01L21/20 - H01L21/26 to change their surface-physical characteristics or shape, e.g. etching, polishing, cutting
    • H01L21/304Mechanical treatment, e.g. grinding, polishing, cutting
    • HELECTRICITY
    • H01ELECTRIC ELEMENTS
    • H01LSEMICONDUCTOR DEVICES NOT COVERED BY CLASS H10
    • H01L21/00Processes or apparatus adapted for the manufacture or treatment of semiconductor or solid state devices or of parts thereof
    • H01L21/67Apparatus specially adapted for handling semiconductor or electric solid state devices during manufacture or treatment thereof; Apparatus specially adapted for handling wafers during manufacture or treatment of semiconductor or electric solid state devices or components ; Apparatus not specifically provided for elsewhere
    • H01L21/67005Apparatus not specifically provided for elsewhere
    • H01L21/67242Apparatus for monitoring, sorting or marking
    • H01L21/67253Process monitoring, e.g. flow or thickness monitoring
    • HELECTRICITY
    • H01ELECTRIC ELEMENTS
    • H01LSEMICONDUCTOR DEVICES NOT COVERED BY CLASS H10
    • H01L21/00Processes or apparatus adapted for the manufacture or treatment of semiconductor or solid state devices or of parts thereof
    • H01L21/70Manufacture or treatment of devices consisting of a plurality of solid state components formed in or on a common substrate or of parts thereof; Manufacture of integrated circuit devices or of parts thereof
    • H01L21/77Manufacture or treatment of devices consisting of a plurality of solid state components or integrated circuits formed in, or on, a common substrate
    • H01L21/78Manufacture or treatment of devices consisting of a plurality of solid state components or integrated circuits formed in, or on, a common substrate with subsequent division of the substrate into plural individual devices
    • HELECTRICITY
    • H01ELECTRIC ELEMENTS
    • H01LSEMICONDUCTOR DEVICES NOT COVERED BY CLASS H10
    • H01L22/00Testing or measuring during manufacture or treatment; Reliability measurements, i.e. testing of parts without further processing to modify the parts as such; Structural arrangements therefor
    • H01L22/10Measuring as part of the manufacturing process
    • H01L22/12Measuring as part of the manufacturing process for structural parameters, e.g. thickness, line width, refractive index, temperature, warp, bond strength, defects, optical inspection, electrical measurement of structural dimensions, metallurgic measurement of diffusions

Definitions

  • the present invention relates to a dicing apparatus, a dicing method, and the like, and more particularly, to a dicing apparatus, a dicing method, and the like that divide a workpiece such as a wafer on which a semiconductor device or an electronic component is formed into individual chips.
  • a dicing apparatus that divides a workpiece such as a wafer on which a semiconductor device or an electronic component is formed into individual chips, a blade that is rotated at high speed by a spindle, a work table that holds and holds the workpiece, and a work table and a blade. And an X, Y, Z, and ⁇ driving unit that changes the relative position.
  • dicing processing cutting processing is performed by cutting the workpiece with the blade while relatively moving the blade and the workpiece with each driving unit.
  • Patent Document 2 proposes an optical cutter set device.
  • This optical cutter set device moves the blade in the Z-axis direction orthogonal to the optical axis between the light projecting means and the light receiving means, and gradually blocks the detection light with the blade, reaching a preset light reception amount.
  • the blade is positioned with reference to the center position of the blade.
  • the height H of the blade 90 (height from the work table surface to the center position of the blade 90) is the cutting depth D into the workpiece W. Is positioned to be larger than the thickness M of the workpiece W. Then, a work table (not shown) is cut and fed in the X direction with respect to the blade 90 rotated at a high speed, whereby a cutting groove 92 for one line is formed in the work W.
  • the dicing tape thickness K1 is smaller than the dicing tape thickness K shown in FIG.
  • the cut depth D1 is smaller than the cut depth D shown in FIG. That is, the blade 90 is shallowly cut with respect to the workpiece W. In this case, the blade 90 is not sufficiently cut into the workpiece W, which causes a cutting defect.
  • the cutting depth D2 into the workpiece W is the cutting depth D shown in FIG. Bigger than. That is, the blade 90 is deeply cut with respect to the workpiece W. In this case, the blade 90 cuts more than necessary into the dicing tape T. For this reason, the blade 90 is likely to be clogged by an adhesive or the like on the surface of the dicing tape, which becomes a factor that deteriorates the sharpness of the blade 90.
  • the blade width of the blade tends to become thinner as the number of chips per wafer increases.
  • the blade abrasive grains are reduced accordingly, and the blade is likely to be clogged by the adhesive on the surface of the dicing tape, and the above-described problem becomes more prominent.
  • the present invention has been made in view of such circumstances, and provides a dicing apparatus, a dicing method, and a dicing tape that can stabilize the processing quality without being affected by variations in the thickness of the dicing tape.
  • the purpose is to do.
  • a dicing apparatus is a dicing apparatus that performs dicing processing by relatively moving a blade rotated by a spindle and a work table in a state where the work is held on the work table via a dicing tape.
  • the depth of cut into the dicing tape is A control unit that controls the height of the blade so as to be constant.
  • a dicing apparatus is a dicing apparatus that performs dicing processing by relatively moving a blade rotated by a spindle and a work table in a state where the work is held on the work table via a dicing tape.
  • Cutting mark detection for detecting cutting mark information formed on the surface area of the dicing tape in which unevenness is provided periodically along the direction of relative movement between the blade and the work table when no workpiece is attached
  • a control unit that controls the height of the blade so that the cutting depth into the dicing tape is constant based on the cutting trace information detected by the cutting trace detection unit.
  • a dicing apparatus is the plate according to the second aspect, which is disposed between the work table and the dicing tape and has irregularities formed periodically along the relative movement direction of the blade and the work table. And a concave member formed on the surface area of the dicing tape by adsorbing the dicing tape to the work table via the plate member.
  • the dicing apparatus is the dicing apparatus according to the second aspect, wherein the surface of the work table is formed with irregularities periodically along the relative movement direction of the blade and the work table. By adsorbing to the table, irregularities are formed in the surface area of the dicing tape.
  • 5th aspect of this invention is a dicing tape used for the dicing apparatus of 2nd aspect, Comprising: It has the unevenness
  • the cutting trace detection unit calculates a cutting trace formation rate in the surface region of the dicing tape based on the cutting trace information
  • the control unit controls the height of the blade based on the cutting trace formation rate calculated by the cutting trace detection unit so that the cutting trace formation rate is within a certain range.
  • a dicing apparatus is a dicing apparatus that performs dicing by relatively moving a blade rotated by a spindle and a work table while holding the work on the work table via a dicing tape.
  • a cutting trace formation control unit that forms a cutting trace in the surface area of the dicing tape to which no workpiece is attached, and moves the blade away from the dicing tape as the blade and the work table move relative to each other.
  • the cutting trace detection unit Based on the cutting trace information detected by the cutting trace detection unit, the cutting trace detection unit that detects cutting trace information including information on the position of the cutting trace vanishing point, And a controller that controls the height of the blade so that the depth of cut into the dicing tape is constant.
  • a dicing apparatus is the dicing apparatus according to any one of the first to seventh aspects, comprising an imaging device disposed at a position opposed to the work table, and the cutting mark detection unit is imaged by the imaging device. Cutting mark information is detected based on the image data of the surface area of the dicing tape.
  • the imaging apparatus is constituted by an alignment camera in the eighth aspect.
  • a dicing apparatus is the dicing apparatus according to any one of the first to seventh aspects, comprising a distance measuring device disposed at a position opposed to the work table, and the cutting mark detection unit is measured by the distance measuring device. Cutting mark information is detected based on distance data indicating the distance to the surface area of the dicing tape.
  • a dicing method is a dicing method in which dicing is performed by relatively moving a blade rotated by a spindle and a work table while the work is held on the work table via a dicing tape.
  • the detection step for detecting cutting trace information formed on the surface area of the dicing tape to which the workpiece is not attached, and the cutting depth into the dicing tape are made constant based on the cutting trace information detected in the detection step.
  • a control step for controlling the height of the blade.
  • a dicing method is a dicing method in which dicing is performed by relatively moving a blade rotated by a spindle and a work table in a state where the work is held on a work table via a dicing tape.
  • a dicing method according to a fourteenth aspect of the present invention is the dicing method according to the thirteenth aspect, wherein unevenness is formed on the surface region of the dicing tape by providing unevenness on at least one of the base material and the adhesive layer of the dicing tape. It is.
  • the dicing method according to a fifteenth aspect of the present invention is the dicing method according to the thirteenth aspect, in which a plate-like member having irregularities formed periodically along the relative movement direction of the blade and the worktable is disposed between the worktable and the dicing tape.
  • the surface of the dicing tape is made uneven by adsorbing the dicing tape to the work table via the plate-like member.
  • the dicing method according to a sixteenth aspect of the present invention is the dicing method according to the thirteenth aspect, wherein the surface of the work table is formed with irregularities periodically along the relative movement direction of the blade and the work table, and the dicing tape is attached to the work piece. By adsorbing to the table, irregularities are formed in the surface area of the dicing tape.
  • a dicing method is a dicing method in which dicing is performed by relatively moving a blade rotated by a spindle and a work table while the work is held on the work table via a dicing tape.
  • the cutting trace is formed in the surface area of the dicing tape to which the workpiece is not attached, and the cutting trace disappears by moving the blade away from the dicing tape in accordance with the relative movement of the blade and the work table.
  • a dicing method is the dicing method according to the seventeenth aspect, further comprising a step of storing log data relating to the position of the blade at each time point when forming the cutting trace, and in the detection step, the cutting mark vanishing point is stored. The information regarding the position of is acquired from log data.
  • a cutting mark is formed in the dicing tape region on the cut-off side of the workpiece.
  • a dicing method according to a twentieth aspect of the present invention is the dicing method according to any one of the seventeenth to nineteenth aspects, wherein the forming step and the detecting step are performed at least every one processing line.
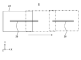
  • FIG. 1 is a schematic diagram illustrating a configuration of a dicing apparatus 10 according to the first embodiment.
  • the dicing apparatus 10 includes a work table 12, a ⁇ table 14, an X table 16, a blade 18, a spindle 20, a Y table (not shown), and a Z table (not shown).
  • the imaging device 22 and the control device 50 are provided.
  • the work table 12 holds the work W by suction.
  • the workpiece W is attached to the frame F via a dicing tape ⁇ having an adhesive on the surface, and is sucked and held on the workpiece table 12.
  • the frame F to which the dicing tape T is attached is held by a frame holding means (not shown) disposed on the work table 12.
  • FIG. 2 is a plan view showing the workpiece W.
  • processing lines (division lines) S are formed in a lattice pattern on the surface of the workpiece W, and devices are respectively formed in a plurality of regions (device forming regions) C partitioned by these processing lines S. Is formed.
  • the X table 16 is provided on the upper surface of the X base (not shown).
  • the X table 16 is configured to be movable in the X direction by an X drive unit (not shown) including a motor and a ball screw.
  • a ⁇ table 14 is placed on the X table 16, and a work table 12 is attached to the ⁇ table 14.
  • the ⁇ table 14 is configured to be rotatable in the ⁇ direction (rotation direction about the Z axis) by a rotation drive unit (not shown) including a motor and the like.
  • the Y table is provided on the side of the Y base (not shown).
  • the Y table is configured to be movable in the Y direction by a Y drive unit (not shown) including a motor and a ball screw.
  • a Z table (not shown) is attached to the Y table.
  • the Z table is configured to be movable in the Z direction by a Z driving unit (not shown) including a motor and a ball screw.
  • a high frequency motor built-in type spindle 20 with a blade 18 attached to the tip is fixed to the Z table.
  • the blade 18 is indexed in the Y direction and cut and fed in the Z direction.
  • the work table 12 is rotated in the ⁇ direction and cut and fed in the X direction.
  • the spindle 20 is rotated at a high speed, for example, at 30,000 rpm to 60,000 rpm.
  • the blade 18 is a cutting blade configured in a thin disk shape.
  • an electrodeposition blade obtained by electrodepositing diamond abrasive grains or CBN (Cubic BoronrideNitride) abrasive grains with nickel, a resin blade bonded with a resin, or the like is used.
  • the dimensions of the blade 18 are variously selected depending on the content of processing.
  • a blade having a diameter of about 50 mm and a thickness of about 30 ⁇ m is used.
  • the imaging device 22 is disposed at a position opposite to the work table 12.
  • the imaging device 22 images the surface of the workpiece W in order to evaluate the alignment and processing state of the workpiece W (kerf check).
  • the imaging device 22 is an example of the imaging device (alignment camera) of the present invention.
  • the imaging device 22 is configured by a microscope, a camera, and the like, and images the surface of the workpiece W at a high magnification (for example, 8.0 times) or a low magnification (for example, 1.0 times) by a method such as switching a lens of the microscope. It is possible.
  • An area sensor camera is used as the camera.
  • the imaging device 22 is fixed to the spindle 20 via the holding member 24, and can move in the Y direction and the Z direction integrally with the spindle 20.
  • the control device 50 controls the operation of each part of the dicing device 10.
  • the control device 50 is realized by a general-purpose computer such as a personal computer or a microcomputer.
  • the control device 50 includes a CPU (Central Processing Unit), a ROM (Read Only Memory), a RAM (Random Access Memory), a hard disk, and the like.
  • various programs such as a control program stored in the ROM are expanded in the RAM, and the programs expanded in the RAM are executed by the CPU, whereby each part shown in the control device 50 in FIG. The function is realized.
  • the control device 50 functions as a cutting mark detection unit 52, a storage unit 54, and a control unit 56.
  • the control unit 56 controls the operation of each unit of the control device 50. Specifically, the control unit 56 controls cutting feed in the X direction of the work table 12 via the X drive unit and rotation of the work table 12 in the ⁇ direction via the ⁇ drive unit. Further, the control unit 56 controls the Y-direction index feed of the spindle 20 via the Y drive unit and the Z-direction cut feed of the spindle 20 via the Z drive unit. The control unit 56 controls the rotation operation of the spindle 20 and the imaging operation of the imaging device 22.
  • the storage unit 54 stores various data necessary for the operation of the dicing apparatus 10.
  • the storage unit 54 includes data on the workpiece W, data on alignment, and the thickness of the dicing tape T.
  • the data relating to the workpiece W includes a product type number, material, external dimensions, thickness, chip size, and the like.
  • the storage unit 54 also stores a cutting mark formation rate Q and a correction table (see FIG. 6), which will be described later.
  • the cutting trace detection unit 52 receives image data captured by the imaging device 22 during dicing and detects cutting trace information to be described later by image processing or the like.
  • the work W attached to the frame F via the dicing tape ⁇ is transported by a transport means (not shown) and placed on the work table 12.
  • the workpiece W placed on the workpiece table 12 is imaged by the imaging device 22, and an alignment operation for performing relative alignment between the workpiece W and the blade 18 is started.
  • the spindle 20 is activated and the blade 18 rotates, and cutting water and cooling water are supplied from various nozzles (not shown) provided on a wheel cover (not shown) covering the blade 18.
  • the work table 12 is cut and fed in the X direction and the spindle 20 is cut and fed in the Z direction, and the work W is diced along the machining line S.
  • the spindle 20 is indexed in the Y direction.
  • the work table 12 is rotated 90 degrees and the work W is diced into a lattice shape.
  • a cutting mark detection operation and a blade height correction operation are performed for each processing line S.
  • the present invention is not limited to this, and for each processing line number specified by the user (for example, You may implement for every 5 processing lines.
  • you may implement in the process line S (For example, process lines S, such as the 1st line, the 5th line, the 7th line) designated by the user.
  • FIG. 3 is a schematic view showing a state in which dicing processing is performed on the workpiece W.
  • the blade 18 is dicing while moving relative to the workpiece W from the cutting start position P1 on one side to the cutting end position P4 on the other side with the workpiece W interposed therebetween. Processing is performed. At this time, the cutting groove 26 is formed in the workpiece W, and the cutting by the blade 18 is performed in the surface region R of the dicing tape T to which the workpiece W is not attached (hereinafter referred to as “dicing tape region R”). A mark 28 is formed.
  • the blade 18 is shallowly cut. It has become. In this case, the blade 18 is not sufficiently cut into the workpiece W, which causes a cutting defect.
  • the blade 18 when the cutting marks 28 in the dicing tape region R are continuously connected as a whole, the blade 18 is deeply cut. In this case, the blade 18 may become clogged due to clogging.
  • the present inventor corrected the height (Z-direction position) of the blade 18 based on the cutting mark formation rate Q in the dicing tape region R in order to stabilize the processing quality.
  • the cutting trace formation rate Q is the ratio of the area (length in the cutting feed direction) where the cutting trace 28 is formed in the dicing tape area R to the whole (the total length of the dicing tape area R in the cutting feed direction).
  • the dicing tape region R is imaged by the imaging device 22.
  • FIG. 4 is a schematic diagram showing how the imaging device 22 images the dicing tape region R.
  • the imaging device 22 images the dicing tape region R at a high magnification while shifting the position relative to the dicing tape region R in the X direction, and divides the dicing tape region R into a plurality of divided images. Capture the whole image. Image data captured by the imaging device 22 is output to the control device 50. Note that the imaging device 22 may image a wide range of the dicing tape region R at a time with a low magnification.
  • an area sensor camera is used as the camera that constitutes the imaging device 22.
  • the present invention is not limited to this.
  • a line sensor camera may be used.
  • FIG. 5 is a schematic view showing a state in which the line sensor camera 30 images the dicing tape region R.
  • the line sensor camera 30 has a plurality of light receiving elements (not shown) arranged in a line in the Y direction, and images the entire dicing tape region R while scanning in the X direction. It has become.
  • the cutting trace detection unit 52 detects the length of the cutting trace 28 formed in the dicing tape region R (the length in the cutting feed direction) by performing image processing on the image data captured by the imaging device 22 by a known method. To do. Further, the cutting trace detection unit 52 calculates the cutting trace formation rate Q in the dicing tape region R based on the detected length of the cutting trace 28.
  • the cutting traces 28 are respectively formed in the dicing tape region R1 between the cutting start position P1 and the workpiece entry position P2, and in the dicing tape region R2 between the workpiece withdrawal position P3 and the cutting end position P4.
  • the total lengths of the dicing tape regions R1 and R2 in the cutting feed direction (X direction) are L1 and L2, respectively, and the total length of the cutting marks 28 formed in the dicing tape regions R1 and R2 is l1, Let l2. For example, as shown in FIG. 3, when a plurality of cutting marks 28 are formed in the dicing tape region R1, the sum of the lengths of the respective cutting marks 28 is set to l1. The same applies to the dicing tape region R2.
  • the cutting trace detection unit 52 calculates the cutting trace formation rate Q by the following formula (1).
  • the cutting trace formation rate Q is stored in the storage unit 54 in association with processing line information (processing line number or the like) when the cutting trace 28 is formed.
  • the unit of the cutting mark formation rate Q is%.
  • the control unit 56 acquires the cutting mark formation rate Q of the reference line from the storage unit 54.
  • the reference line is a processing line S in which dicing is performed immediately before the current processing line S, and the cutting trace formation rate Q has already been calculated by the above-described cutting trace detection operation.
  • the control unit 56 further determines a blade height correction amount G corresponding to the cutting mark formation rate Q of the reference line according to a correction table (see FIG. 6) stored in the storage unit 54. Then, the control unit 56 controls the height (Z direction position) of the blade 18 based on the determined blade height correction amount G.
  • FIG. 6 is a diagram illustrating an example of the correction table.
  • the correction table shows the correspondence between the cutting mark formation rate Q and the blade height correction amount G.
  • This correction table also includes a target cutting mark formation rate (target formation rate) and an allowable range (target formation rate allowable range).
  • target formation rate target formation rate
  • allowable range target formation rate allowable range
  • Each numerical value of the correction table can be appropriately set by the user via an operation unit (not shown) connected to the control device 50.
  • the blade height correction amount G is a positive value
  • work W becomes shallow is shown.
  • FIG. 7 is a diagram showing a specific operation example in the present embodiment.
  • the four processing lines S1 to S4 along the cutting feed direction (X direction) are diced in the order of the line numbers.
  • the control unit 56 sets the blade height correction amount G to 0 and keeps the set value without correcting the height of the blade 18.
  • the cutting trace detection unit 52 calculates the cutting trace formation rate (23% in this example) of the first processing line S1 based on the image data captured by the imaging device 22, and stores the calculation result in the storage unit 54.
  • the control unit 56 acquires the cutting trace formation rate Q (23%) of the first processing line S1 that is the reference line from the storage unit 54. Then, the controller 56 determines the blade height correction amount G to be +0.006 mm, and controls the height of the blade 18 according to the blade height correction amount G. Further, the cutting trace detection unit 52 calculates the cutting trace formation rate (78% in this example) of the second processing line S ⁇ b> 2 based on the image data captured by the imaging device 22 and stores it in the storage unit 54.
  • the control unit 56 acquires the cutting mark formation rate (78%) of the second processing line S2 that is the reference line from the storage unit 54. At this time, since the cut mark formation rate (78%) exceeds the allowable range ( ⁇ 5%) of the target ratio (70%), the control unit 56 determines the blade height correction amount G to be ⁇ 0.001 mm. Then, the height of the blade 18 is controlled according to the blade height correction amount G. In addition, the cutting trace detection unit 52 calculates the cutting trace formation rate (73% in this example) of the third processing line S3 based on the image data captured by the imaging device 22, and stores the calculation result in the storage unit 54.
  • the control unit 56 acquires the cutting mark formation rate (73%) of the third processing line S3 that is the reference line from the storage unit 54. At this time, since the cut mark formation rate (73%) is within the allowable range ( ⁇ 5%) of the target ratio (70%), the control unit 56 determines the blade height correction amount G to be 0 mm, and the blade The height of the blade 18 is controlled according to the height correction amount G.
  • FIG. 8 is a diagram (photograph) showing an example of an image of cutting marks.
  • a plurality of cutting marks 28 are formed along the processing line S, and the cutting mark formation rate Q (Ratio in the figure) is 20%. Therefore, it can be seen that when the cutting marks 28 are formed, the lowest point in the Z direction of the blade 18 is on the + Z side of the average value of the thickness variation (unevenness) of the dicing tape T.
  • the control unit 56 determines the blade height correction amount G to be +0.01 mm from the cutting mark formation rate Q (20%) of the processing line S and the correction table, and the height of the blade 18 is determined according to the blade height correction amount G. To control.
  • FIG. 9 is a cross-sectional view showing a first example in which irregularities are provided on the surface of the dicing tape.
  • the base material B1 of the dicing tape T1 has irregularities.
  • the unevenness is periodically formed along the relative movement direction (X-axis direction) between the blade 18 and the work table 12, and extends in the Y direction.
  • An adhesive layer A1 having a certain thickness is formed on the surface of the base material B1.
  • the distance between the tops of the unevenness of the base material B1 (the difference in height between the tops of the peaks and the bottoms of the valleys) D1 is, for example, 5 ⁇ m to 10 ⁇ m.
  • the repetition period of the unevenness in the X direction is, for example, 800 ⁇ m to 1 mm.
  • the cross-sectional shape of the unevenness of the substrate B1 may be, for example, a curve (for example, a second-order or higher-order curve, a sine wave) or a triangular wave.
  • a curve for example, a second-order or higher-order curve, a sine wave
  • a triangular wave when the cross-sectional shape of the unevenness of the base material B1 (the shape with respect to the ZX plane) is a triangular wave, there is an advantage that the relationship between the height (cut depth) of the blade 18 and the cutting trace formation rate Q is linear. is there.
  • FIG. 10 is a cross-sectional view showing a second example in which unevenness is provided on the surface of the dicing tape.
  • the base material B2 of the dicing tape T2 has a constant thickness. Unevenness is periodically formed along the X-axis direction on the surface of the adhesive layer A2 formed on the surface of the base material B1.
  • FIG. 11 is a cross-sectional view showing a third example in which irregularities are provided on the surface of the dicing tape.
  • irregularities are periodically formed in the X-axis direction on the base material B3 of the dicing tape T3. Furthermore, irregularities are also periodically formed in the X-axis direction on the adhesive layer A3 formed on the surface of the base material B3.
  • the distance between the tops of the irregularities, the repetition period in the X direction, and the cross-sectional shape in the second and third examples can be the same as in the first example.
  • the dicing tapes T1 to T3 do not have to be uneven.
  • unevenness may be provided so as to surround the workpiece W only in a region where the workpiece W is not attached (at least one of the cutting side and cutting-out region of the blade 18).
  • FIG. 12 is a cross-sectional view showing a fourth example in which irregularities are provided on the surface of the dicing tape.
  • the thickness of the base material and the adhesive layer of the dicing tape T are both constant.
  • a plate-like member 70 is provided between the work table 12 and the dicing tape T. Unevenness is periodically formed on the surface of the plate-like member 70 along the X-axis direction.
  • the distance between the apexes of the unevenness of the plate-like member 70 (the difference in height between the apex of the peak and the apex of the valley bottom) is, for example, 5 ⁇ m to 10 ⁇ m, and the repetition period of the unevenness in the X direction is, for example, 800 ⁇ m to 1 mm.
  • the cross-sectional shape of the unevenness may be a curve or a triangular wave as in the first to third examples.
  • the plate member 70 is a porous member having a plurality of through holes (not shown) extending in the Z direction.
  • the work table 12 can adsorb and hold the dicing tape T through the through hole.
  • By adsorbing the dicing tape T through the plate-like member 70 in this way it becomes possible to cause unevenness on the surface of the dicing tape T. Thereby, it can prevent that the cutting trace formation rate Q fluctuates greatly according to the fluctuation of the height of the blade 18.
  • the plate-like member 70 can have a planar shape corresponding to a region where the workpiece W is not attached, for example, a shape surrounding the workpiece W.
  • FIG. 13 is a cross-sectional view showing a fifth example in which irregularities are provided on the surface of the dicing tape.
  • the thickness of the base material and the adhesive layer of the dicing tape T are both constant.
  • irregularities are periodically formed on the surface of the work table 12 along the X-axis direction.
  • the distance between the apexes of the unevenness of the work table 12 (the difference in height between the apex of the peak and the apex of the valley bottom) is, for example, 5 ⁇ m to 10 ⁇ m, and the repetition period of the unevenness in the X direction is, for example, 800 ⁇ m to 1 mm.
  • the cross-sectional shape of the unevenness may be a curve or a triangular wave as in the first to fourth examples.
  • the surface of the dicing tape T can be made uneven by adsorbing the dicing tape T to the surface of the work table 12 provided with the unevenness. Thereby, it can prevent that the cutting trace formation rate Q fluctuates greatly according to the fluctuation of the height of the blade 18.
  • the surface of the work table 12 may be provided with unevenness only in the region where the work W is not attached.
  • the unevenness is formed on the surface of the work table 12.
  • a suction porous on the surface of the work table 12 may be used as the concave portion.
  • FIG. 14 is a diagram (photograph) showing an example in which a cutting mark is imaged.
  • a solid line indicating the cross-sectional shape of the unevenness of the dicing tape T and a broken line indicating the locus of the lower end of the blade 18 are superimposed.
  • a plurality of cutting traces 28 are formed along the processing line S, and the cutting trace formation rate Q is 40%. Therefore, it can be seen that when the cutting marks 28 are formed, the lowest point in the Z direction of the blade 18 is on the + Z side of the average value of the thickness variation (unevenness) of the dicing tape T.
  • the control unit 56 determines the blade height correction amount G to be +0.006 mm from the cutting trace formation rate Q (40%) of the processing line S and the correction table, and the height of the blade 18 is determined according to the blade height correction amount G. To control.
  • FIG. 15 is a flowchart showing the flow of the cutting mark detection operation and the blade height correction operation of the present embodiment.
  • control unit 56 checks whether or not the cutting mark formation rate Q of the reference line is stored in the storage unit 54 (step S10).
  • Step S12 When the cutting trace formation rate Q of the reference line exists in the storage unit 54 (YES in step S10), the control unit 56 controls the height of the blade 18 based on the cutting trace formation rate Q of the reference line ( Step S12). Specifically, the control unit 56 refers to the correction table stored in the storage unit 54 and determines the blade height correction amount G corresponding to the cutting mark formation rate Q of the reference line. Then, the control unit 56 controls the height of the blade 18 according to the determined blade height correction amount G. Thereafter, the process proceeds to step S14.
  • Step S12 is an example of a control step of the present invention.
  • step S10 when the cutting mark formation rate Q of the reference line does not exist in the storage unit 54 (NO in step S10), the process proceeds to step S14.
  • control unit 56 dices the workpiece W with the blade 18 that rotates at high speed while relatively moving the blade 18 and the workpiece W along the current processing line S (step S14).
  • the dicing tape region R is imaged by the imaging device 22.
  • the cutting trace detection unit 52 acquires image data captured by the imaging device 22 and performs image processing on the image data by a known method, thereby information on the cutting trace 28 formed in the dicing tape region R ( Cutting information) is detected (step S16).
  • the cutting trace information includes at least information related to the length of the cutting trace 28 (length in the cutting feed direction).
  • Step S16 is an example of the detection step of the present invention.
  • the cutting trace detection unit 52 calculates the cutting trace formation rate Q in the dicing tape region R based on the detected cutting trace information (step S18).
  • the calculation method of the cutting trace formation rate Q is as described above (see formula (1)).
  • the cutting trace detection unit 52 stores the calculated cutting trace formation rate Q in the storage unit 54 in association with information (line information) regarding the machining line S (step S20).
  • control unit 56 determines whether or not all the processing lines S have been processed (step S22). If the machining of all the machining lines S has not been completed, the process moves to the next machining line S (step S24). And the process from step S10 to step S22 is repeated until the process of all the process lines S is complete
  • the blade based on the cutting trace information in the dicing tape region R (the surface region of the dicing tape T to which the workpiece W is not attached), the blade is set so that the cutting depth into the dicing tape T is constant.
  • the height of 18 is controlled. Accordingly, the depth at which the blade 18 cuts into the dicing tape T can be made relatively shallow and constant without being affected by variations in the thickness of the dicing tape T, thereby stabilizing the processing quality. be able to.
  • the cutting trace detection unit 52 detects the cutting trace information in the dicing tape region R based on the image data captured by the imaging device 22.
  • the image pickup device 22 is constituted by an alignment camera and is originally provided in the dicing device 10, so that problems such as a complicated device configuration and an increase in cost do not occur.
  • the cutting mark information is detected based on the image data captured by the imaging device 22, but the present invention is not limited thereto, and for example, a distance measuring device 32 (see FIG. 20) described later is used. It may be used to detect cutting trace information. Moreover, you may detect cutting trace information visually.
  • the blade height correction amount G is determined using the cutting trace formation rate Q with the immediately preceding machining line S as a reference line.
  • the adjacent processing line S means a processing line that is temporally or spatially adjacent to the current processing line S.
  • the adjacent processing line S means a processing line S in the range of several lines (for example, 1 to 5 lines) in time or space from the current processing line.
  • the reference line is not limited to one processing line S, and may be a plurality of processing lines S. In this case, for example, the blade height correction amount G may be determined based on the average value of the cutting trace formation rates Q corresponding to the plurality of processing lines S, respectively.
  • the lengths of both the cutting marks 28 in the dicing tape region R1 on the cut side and the dicing tape region R2 on the cutout side are measured.
  • the following actions can be considered.
  • FIG. 16 is a schematic view showing a state in which dicing is performed on the workpiece W.
  • the blade 18 is relative to the workpiece W from the cutting start position P1 (i) on one side to the cutting end position P2 (i) on the other side with the workpiece W interposed therebetween.
  • the dicing process is performed while moving (i is an integer of 1 or more).
  • a cutting groove 26 (i) is formed in the workpiece W, and the surface region R (hereinafter referred to as “dicing tape region R”) of the cut-out dicing tape T to which the workpiece W is not attached.
  • a cutting mark 28 (i) is formed by the blade 18.
  • the cutting trace 28 is formed by performing scanning control of the blade 18. Then, the height of the blade 18 is controlled according to the cut mark information.
  • FIG. 17 is a diagram showing a procedure for forming a cutting mark in the dicing tape region on the cut-out side.
  • FIG. 17A is a side view
  • FIG. 17B is a plan view (a view taken along arrow XVIIB in FIG. 17A).
  • the control unit 56 (cutting trace formation control unit) moves (lowers) the blade 18 in the ⁇ Z direction as indicated by an arrow A1. Then, cut into the dicing tape T. At this time, the position of the blade 18 in the ZX direction is adjusted so as not to contact the workpiece W.
  • the adjustment of the cutting depth of the blade 18 at the position of the arrow A1 may be performed manually by visually observing the surface of the dicing tape T with the imaging device 22 in real time.
  • a sensor for measuring the torque applied to the spindle 20 is provided so that the control unit 56 automatically adjusts the depth when the cutting marks 28 (i) are formed according to the change in the torque. Also good.
  • data relating to the relationship between the tape type (for example, material, thickness) and torque fluctuation is stored in the storage unit 54, and the control unit 56 determines the cutting depth of the blade 18 based on this data. It may be possible to determine.
  • control unit 56 continuously moves the blade 18 in the direction away from the dicing tape T (+ Z direction) while relatively moving the blade 18 and the workpiece W in the X direction as indicated by an arrow A2. (Raise). At this time, the magnitude of the moving (upward) speed of the blade 18 is made smaller than the magnitude of the moving speed when the blade 18 is lowered as indicated by the arrow A1.
  • the control unit 56 acquires log data regarding the relative positions of the blade 18 and the workpiece W in the ZX direction, and stores them in the storage unit 54.
  • the cutting trace 28 is not formed (disconnected) as shown in FIG.
  • the imaging device 22 captures an image of the cutting mark 28 is the cutting mark 28 includes a cutting trace vanishing point P E was interrupted (see FIGS. 5 to 7).
  • Control unit 56 detects the cutting mark vanishing point P E from the image, the coordinates of the center of the blade 18 corresponding to the cutting marks vanishing point P E (X E, Z E ) to create a cutting mark information including, storage Store in the unit 54.
  • the control unit 56 calculates the positional relationship between the lowest point in the Z direction of the blade 18 and the dicing tape T, and based on the cutting trace information when moving to the next processing line S (i). Then, the height of the blade 18 is controlled. At this time, the control unit 56 makes the cutting depth into the dicing tape T constant based on the diameter r B of the blade 18, the coordinates and thickness of the surface of the workpiece W, and the coordinates of the surface of the dicing tape T. The height of the blade 18 is controlled.
  • FIG. 18 is a plan view (photograph) showing cutting marks formed in the dicing tape region R on the cut-out side.
  • the cutting trace forming operation is performed in the processing lines S (j ⁇ k + 1) and S (j ⁇ (k + 1) +1), the cutting trace 28 is compared with the other processing lines. Is clearly formed. Thereby, the control part 56 can detect easily the position which the cutting trace 28 (i) interrupted from the image.
  • FIG. 19 is a flowchart showing a dicing method according to the second embodiment of the present invention.
  • step S30 when cutting of the first processing line S (1) is started (step S30), the control unit 56 controls the height of the blade 18 (step S32).
  • step S32 for example, the height of the blade 18 is controlled based on the design value of the diameter of the blade 18 stored in the storage unit 54 or the diameter of the blade 18 calculated by the previous dicing process.
  • step S34 dicing (cutting) is performed on the processing line S (1) (step S34).
  • step S40 When the cutting of the processing line S (1) is completed and the blade 18 moves to the cut-out dicing tape region R, the control unit 56 performs a cutting mark forming operation (step S40).
  • step S40 as shown in FIG. 17, in the dicing tape region R, the control unit 56 lowers the blade 18 and then gradually raises the cutting trace 28 while scanning in the X direction. Form.
  • the control unit 56 creates log data of the coordinates of the blade 18 at each time point and stores the log data in the storage unit 54.
  • Control unit 56 detects the cutting mark vanishing point P E cutting mark 28 from the image captured, it detects the cutting mark information including coordinates of the cutting marks vanishing point P E (Step S42).
  • the controller 56 calculates the diameter r B of the blade 18 based on the cutting trace information (step S44).
  • the diameter r B of the blade 18 is stored in the storage unit 54.
  • control unit 56 starts cutting the next processing line S (2), and moves the blade 18 to the processing line S (2) (step S46).
  • the control unit 56 controls the height of the blade 18 based on the diameter of the blade 18 calculated using the cutting mark information (step S48), and performs the cutting of the processing line S (2) (step S34).
  • step S48 the height of the blade 18 is controlled so that the cutting depth into the dicing tape T is constant.
  • steps S34 to S52 are repeated, and the machining line after S (3) is cut.
  • the height of the blade 18 is controlled on the basis of the cutting mark information every j lines.
  • Step S40 the process proceeds to Step S40, and the dicing tape on the cut-off side of the processing line S (i) In the region R, the cutting trace formation operation (step S40) and the cutting trace detection operation (step S42), the calculation of the diameter r B of the blade 18 based on the cutting trace information (step S44), and the next machining line S (i)
  • the height control of the blade 18 during cutting is performed.
  • step S44 the diameter r B of the blade 18 stored in the storage unit 54 is updated.
  • step S50 the height of the blade 18 is controlled (step S52).
  • the height of the blade 18 may be controlled based on the latest value of the diameter r B of the blade 18 stored in the storage unit 54.
  • the cutting depth into the dicing tape T is constant based on the cutting trace information in the dicing tape region R (the surface region of the cut-out dicing tape T to which the workpiece W is not attached).
  • the height of the blade 18 is controlled. Accordingly, the depth at which the blade 18 cuts into the dicing tape T can be made relatively shallow and constant without being affected by variations in the thickness of the dicing tape T, thereby stabilizing the processing quality. be able to.
  • the cutting marks 28 are formed and detected in the dicing tape region R on the cut-off side, but the present invention is not limited to this.
  • the cutting trace formation and detection operation may be performed in both the cut-side and cut-out side dicing tape regions, or may be performed only in the cut-side dicing tape region.
  • FIG. 20 is a schematic diagram illustrating a configuration of a dicing apparatus 10A according to another embodiment.
  • the same components as those in FIG. 1 are denoted by the same reference numerals, and the description thereof is omitted.
  • a dicing apparatus 10A includes a distance measuring device 32 in addition to the configuration of the dicing apparatus 10 according to the present embodiment.
  • the distance measuring device 32 is disposed at a position opposite to the work table 12.
  • the distance measuring device 32 measures the distance to the surface of the dicing tape region R, which is a measurement object, and includes, for example, a laser displacement meter or an interference microscope.
  • the measurement result of the distance measuring device 32 is output to the cutting mark detection unit 52 as distance data.
  • the distance measuring device 32 is fixed to the side surface of the imaging device 22 and can move in the Y direction and the Z direction integrally with the spindle 20 and the imaging device 22.
  • the distance measuring device 32 performs the cutting trace detection operation (first embodiment) or the cutting trace formation and detection operation (second embodiment) performed during dicing of the workpiece W on the dicing tape region R.
  • the distance to the dicing tape region R is measured while shifting the position in the X direction.
  • the distance data which is the measurement result of the distance measuring device 32, is output to the cutting mark detection unit 52.
  • the cutting mark detection unit 52 generates a height graph indicating a change in height (unevenness state) in the dicing tape region R based on the distance data acquired from the distance measuring device 32.
  • FIG. 21 is a diagram showing an example of a height graph generated by the cutting mark detection unit 52.
  • the cutting trace detection unit 52 determines an area lower than a predetermined threshold height (height indicated by a broken line in FIG. 21) in the generated height graph as a cutting trace formation area K (cutting trace). This is detected as a region where 28 is formed. Then, the cutting trace detection unit 52 calculates the cutting trace formation rate Q based on the detected cutting trace formation region K. Subsequent processing is the same as in this embodiment.
  • the cutting trace information in the dicing tape region R (the surface region of the dicing tape T to which the workpiece W is not attached) can be detected based on the measurement result of the distance measuring device 32, As with the above-described embodiment, it is possible to stabilize the processing quality.

Landscapes

  • Engineering & Computer Science (AREA)
  • Manufacturing & Machinery (AREA)
  • Mechanical Engineering (AREA)
  • Computer Hardware Design (AREA)
  • Microelectronics & Electronic Packaging (AREA)
  • Power Engineering (AREA)
  • Physics & Mathematics (AREA)
  • Condensed Matter Physics & Semiconductors (AREA)
  • General Physics & Mathematics (AREA)
  • Dicing (AREA)
  • Constituent Portions Of Griding Lathes, Driving, Sensing And Control (AREA)
  • Finish Polishing, Edge Sharpening, And Grinding By Specific Grinding Devices (AREA)
PCT/JP2018/041727 2018-02-08 2018-11-09 ダイシング装置及びダイシング方法並びにダイシングテープ Ceased WO2019155707A1 (ja)

Priority Applications (3)

Application Number Priority Date Filing Date Title
CN202011396997.9A CN112536700B (zh) 2018-02-08 2018-11-09 切割方法以及切割装置
CN201880088934.1A CN111699545B (zh) 2018-02-08 2018-11-09 切割装置以及切割方法
CN202110555098.7A CN113290484B (zh) 2018-02-08 2018-11-09 切割装置、切割方法以及切割带

Applications Claiming Priority (8)

Application Number Priority Date Filing Date Title
JP2018021222 2018-02-08
JP2018-021222 2018-02-08
JP2018-163614 2018-08-31
JP2018163615 2018-08-31
JP2018-163613 2018-08-31
JP2018-163615 2018-08-31
JP2018163613 2018-08-31
JP2018163614 2018-08-31

Publications (1)

Publication Number Publication Date
WO2019155707A1 true WO2019155707A1 (ja) 2019-08-15

Family

ID=67549577

Family Applications (1)

Application Number Title Priority Date Filing Date
PCT/JP2018/041727 Ceased WO2019155707A1 (ja) 2018-02-08 2018-11-09 ダイシング装置及びダイシング方法並びにダイシングテープ

Country Status (3)

Country Link
JP (3) JP6768185B2 (enExample)
CN (3) CN112536700B (enExample)
WO (1) WO2019155707A1 (enExample)

Cited By (2)

* Cited by examiner, † Cited by third party
Publication number Priority date Publication date Assignee Title
US20200185241A1 (en) * 2018-12-11 2020-06-11 Disco Corporation Cutting apparatus and wafer processing method using cutting apparatus
JP2022040746A (ja) * 2020-08-31 2022-03-11 株式会社ディスコ ウェーハの加工方法

Families Citing this family (3)

* Cited by examiner, † Cited by third party
Publication number Priority date Publication date Assignee Title
JP2022080757A (ja) * 2020-11-18 2022-05-30 株式会社ディスコ 切削ブレードの直径測定方法
CN114057384B (zh) * 2021-12-10 2024-06-11 青岛天仁微纳科技有限责任公司 一种扫描电镜辅助定位裂片装置及使用方法
CN117301328A (zh) * 2023-10-20 2023-12-29 北京中电科电子装备有限公司 一种晶片切割装置、划膜测高方法及切割方法

Citations (3)

* Cited by examiner, † Cited by third party
Publication number Priority date Publication date Assignee Title
JPH03227557A (ja) * 1990-02-01 1991-10-08 Mitsubishi Electric Corp ダイシング装置
JP2013041972A (ja) * 2011-08-15 2013-02-28 Disco Abrasive Syst Ltd 切削方法
JP2016192494A (ja) * 2015-03-31 2016-11-10 株式会社ディスコ ウエーハの分割方法

Family Cites Families (12)

* Cited by examiner, † Cited by third party
Publication number Priority date Publication date Assignee Title
JP2003124155A (ja) * 2001-10-12 2003-04-25 Disco Abrasive Syst Ltd 切削装置
JP2005203540A (ja) * 2004-01-15 2005-07-28 Disco Abrasive Syst Ltd ウエーハの切削方法
JP4554265B2 (ja) * 2004-04-21 2010-09-29 株式会社ディスコ 切削ブレードの位置ずれ検出方法
JP4748643B2 (ja) * 2005-01-28 2011-08-17 株式会社ディスコ 切削ブレードの基準位置検出方法
JP4943688B2 (ja) * 2005-10-21 2012-05-30 株式会社ディスコ 切削装置
JP5340808B2 (ja) * 2009-05-21 2013-11-13 株式会社ディスコ 半導体ウエーハのレーザ加工方法
JP5647510B2 (ja) * 2010-12-27 2014-12-24 株式会社小金井精機製作所 切削加工装置及び切削加工方法
JP6219628B2 (ja) * 2013-07-17 2017-10-25 株式会社ディスコ 切削ブレード先端形状検出方法
JP6228044B2 (ja) * 2014-03-10 2017-11-08 株式会社ディスコ 板状物の加工方法
JP2016019249A (ja) * 2014-07-11 2016-02-01 キヤノン株式会社 表示制御装置
JP2016063060A (ja) * 2014-09-18 2016-04-25 株式会社ディスコ ウエーハの加工方法
CN106334989A (zh) * 2016-11-02 2017-01-18 佛山市百思科铁芯制造有限公司 一种变压器铁芯专用切割机

Patent Citations (3)

* Cited by examiner, † Cited by third party
Publication number Priority date Publication date Assignee Title
JPH03227557A (ja) * 1990-02-01 1991-10-08 Mitsubishi Electric Corp ダイシング装置
JP2013041972A (ja) * 2011-08-15 2013-02-28 Disco Abrasive Syst Ltd 切削方法
JP2016192494A (ja) * 2015-03-31 2016-11-10 株式会社ディスコ ウエーハの分割方法

Cited By (3)

* Cited by examiner, † Cited by third party
Publication number Priority date Publication date Assignee Title
US20200185241A1 (en) * 2018-12-11 2020-06-11 Disco Corporation Cutting apparatus and wafer processing method using cutting apparatus
JP2022040746A (ja) * 2020-08-31 2022-03-11 株式会社ディスコ ウェーハの加工方法
JP7562230B2 (ja) 2020-08-31 2024-10-07 株式会社ディスコ ウェーハの加工方法

Also Published As

Publication number Publication date
JP6748892B2 (ja) 2020-09-02
JP2020037171A (ja) 2020-03-12
JP6768185B2 (ja) 2020-10-14
CN111699545A (zh) 2020-09-22
CN112536700B (zh) 2022-04-29
CN112536700A (zh) 2021-03-23
JP2020037169A (ja) 2020-03-12
CN113290484B (zh) 2023-04-25
JP2020037170A (ja) 2020-03-12
CN111699545B (zh) 2021-09-14
CN113290484A (zh) 2021-08-24
JP6748891B2 (ja) 2020-09-02

Similar Documents

Publication Publication Date Title
WO2019155707A1 (ja) ダイシング装置及びダイシング方法並びにダイシングテープ
JP6228044B2 (ja) 板状物の加工方法
JP5208644B2 (ja) 加工方法および加工装置
JP5214332B2 (ja) ウエーハの切削方法
TWI748082B (zh) 雷射加工方法
JP7596631B2 (ja) ダイシング装置及びダイシング方法
JP5762005B2 (ja) 加工位置調製方法及び加工装置
JP6229883B2 (ja) ダイシング装置及びその切削方法
KR101786123B1 (ko) 반도체 디바이스의 제조 방법 및 레이저 가공 장치
CN109249285B (zh) 修整板和修整方法
JP2011151117A (ja) 加工装置
JP5645692B2 (ja) 加工方法
JP2017038028A (ja) 切削ブレードの位置ずれ検出方法
JP2019075405A (ja) ウェーハの加工方法
JP6252838B2 (ja) ダイシング装置及びその切削方法
JP6478794B2 (ja) 角度付き切削ブレードの製造方法
JP2009126006A (ja) ワークの切削加工方法
US20250196385A1 (en) Measuring method, measuring apparatus, and workpiece processing method
JP2020116655A (ja) 切削装置及び切削ブレードのドレッシング方法
JP2024149216A (ja) パッケージ基板の分割方法
KR20240051044A (ko) 드레싱 보드 및 형상 판정 방법
JP2025102142A (ja) 切削ブレードの刃先位置検出方法
JP2022074236A (ja) ウェーハの切削方法、及び、切削装置

Legal Events

Date Code Title Description
121 Ep: the epo has been informed by wipo that ep was designated in this application

Ref document number: 18905855

Country of ref document: EP

Kind code of ref document: A1

NENP Non-entry into the national phase

Ref country code: DE

122 Ep: pct application non-entry in european phase

Ref document number: 18905855

Country of ref document: EP

Kind code of ref document: A1