WO2019039455A1 - ガスセンサ素子及びガスセンサ - Google Patents

ガスセンサ素子及びガスセンサ Download PDF

Info

Publication number
WO2019039455A1
WO2019039455A1 PCT/JP2018/030770 JP2018030770W WO2019039455A1 WO 2019039455 A1 WO2019039455 A1 WO 2019039455A1 JP 2018030770 W JP2018030770 W JP 2018030770W WO 2019039455 A1 WO2019039455 A1 WO 2019039455A1
Authority
WO
WIPO (PCT)
Prior art keywords
corner
gas sensor
protective layer
sensor element
water droplet
Prior art date
Legal status (The legal status is an assumption and is not a legal conclusion. Google has not performed a legal analysis and makes no representation as to the accuracy of the status listed.)
Ceased
Application number
PCT/JP2018/030770
Other languages
English (en)
French (fr)
Japanese (ja)
Inventor
友隆 毛利
将太 今田
亨 竹内
Current Assignee (The listed assignees may be inaccurate. Google has not performed a legal analysis and makes no representation or warranty as to the accuracy of the list.)
Denso Corp
Original Assignee
Denso Corp
Priority date (The priority date is an assumption and is not a legal conclusion. Google has not performed a legal analysis and makes no representation as to the accuracy of the date listed.)
Filing date
Publication date
Application filed by Denso Corp filed Critical Denso Corp
Priority to DE112018004731.8T priority Critical patent/DE112018004731T5/de
Priority to CN201880053981.2A priority patent/CN111051870B/zh
Publication of WO2019039455A1 publication Critical patent/WO2019039455A1/ja
Priority to US16/786,082 priority patent/US11714062B2/en
Anticipated expiration legal-status Critical
Ceased legal-status Critical Current

Links

Images

Classifications

    • GPHYSICS
    • G01MEASURING; TESTING
    • G01NINVESTIGATING OR ANALYSING MATERIALS BY DETERMINING THEIR CHEMICAL OR PHYSICAL PROPERTIES
    • G01N27/00Investigating or analysing materials by the use of electric, electrochemical, or magnetic means
    • G01N27/26Investigating or analysing materials by the use of electric, electrochemical, or magnetic means by investigating electrochemical variables; by using electrolysis or electrophoresis
    • G01N27/403Cells and electrode assemblies
    • G01N27/406Cells and probes with solid electrolytes
    • G01N27/407Cells and probes with solid electrolytes for investigating or analysing gases
    • G01N27/4077Means for protecting the electrolyte or the electrodes
    • GPHYSICS
    • G01MEASURING; TESTING
    • G01NINVESTIGATING OR ANALYSING MATERIALS BY DETERMINING THEIR CHEMICAL OR PHYSICAL PROPERTIES
    • G01N27/00Investigating or analysing materials by the use of electric, electrochemical, or magnetic means
    • G01N27/26Investigating or analysing materials by the use of electric, electrochemical, or magnetic means by investigating electrochemical variables; by using electrolysis or electrophoresis
    • G01N27/403Cells and electrode assemblies
    • G01N27/406Cells and probes with solid electrolytes
    • G01N27/4067Means for heating or controlling the temperature of the solid electrolyte
    • GPHYSICS
    • G01MEASURING; TESTING
    • G01NINVESTIGATING OR ANALYSING MATERIALS BY DETERMINING THEIR CHEMICAL OR PHYSICAL PROPERTIES
    • G01N27/00Investigating or analysing materials by the use of electric, electrochemical, or magnetic means
    • G01N27/26Investigating or analysing materials by the use of electric, electrochemical, or magnetic means by investigating electrochemical variables; by using electrolysis or electrophoresis
    • G01N27/403Cells and electrode assemblies
    • G01N27/406Cells and probes with solid electrolytes
    • G01N27/407Cells and probes with solid electrolytes for investigating or analysing gases
    • G01N27/4071Cells and probes with solid electrolytes for investigating or analysing gases using sensor elements of laminated structure
    • G01N27/4072Cells and probes with solid electrolytes for investigating or analysing gases using sensor elements of laminated structure characterized by the diffusion barrier
    • GPHYSICS
    • G01MEASURING; TESTING
    • G01NINVESTIGATING OR ANALYSING MATERIALS BY DETERMINING THEIR CHEMICAL OR PHYSICAL PROPERTIES
    • G01N27/00Investigating or analysing materials by the use of electric, electrochemical, or magnetic means
    • G01N27/26Investigating or analysing materials by the use of electric, electrochemical, or magnetic means by investigating electrochemical variables; by using electrolysis or electrophoresis
    • G01N27/403Cells and electrode assemblies
    • G01N27/406Cells and probes with solid electrolytes
    • G01N27/407Cells and probes with solid electrolytes for investigating or analysing gases
    • G01N27/409Oxygen concentration cells

Definitions

  • the present disclosure relates to a gas sensor element covered with a porous protective layer and a gas sensor provided with the gas sensor element.
  • a gas sensor for detecting a specific exhaust gas is disposed in an exhaust system of an automobile engine, and emission reduction is achieved by performing combustion control or the like based on the detection result of the gas sensor.
  • the gas sensor has a long plate-like gas sensor element housed in the cover body, and the gas sensor element is protected from the intrusion of water droplets and poisoning substances by a porous protective layer provided on the outer surface.
  • the gas sensor element is configured by incorporating a heater unit in an element main body provided with a gas detection unit.
  • the porous protective layer is usually formed by immersing the element body of the gas sensor element in a slurry-like protective layer material using a dip method or the like.
  • the protective layer formed in this manner surrounds the entire outer periphery of the element body with a substantially circular or elliptical outline and has a curved outer surface.
  • the thermal conductivity of the protective layer, and the physical property value indicating the relationship between the thermal conductivity, the density, and the specific heat are specified in order to enhance the water repellency of the protective layer and to suppress the penetration of water droplets. It is proposed to specify in the numerical range of
  • the protective layer covering the element body should be thin in order to enhance responsiveness, and the protective layer should be thick in order to enhance water resistance. Coexistence with water resistance is desired.
  • An object of the present disclosure is to provide a gas sensor element and a gas sensor provided with a protective layer capable of achieving both responsiveness and water resistance even in an environment in which water is more likely to be generated.
  • a gas sensor element (1) for detecting a specific gas component in a gas to be measured comprising: A long plate-like element body having a gas detection unit at an end on one end face side in the longitudinal direction; and a porous protective layer provided to cover the outer periphery of the end on the one end face side of the element body.
  • the outer surface of the protective layer has a corner portion in the cross section including two adjacent surfaces among the one end surface and the plurality of side surfaces connected to the one end surface, and the element corner portion where the two surfaces intersect It is a shape,
  • the corner has a ratio D / L between the assumed diameter D of water droplets contained in the gas to be measured in the use environment and the effective length L of the corner in the cross section including the two surfaces to be 1.5 or more
  • a gas sensor in which a gas to be measured is introduced into the cover through the through hole provided in the cover.
  • the protective layer covering the element body has a corner corresponding to the corner of the element, and the ratio of the effective length in a predetermined cross section representing the size of the corner to the assumed diameter of the water droplet is , Or less than a predetermined value. Specifically, it was found that when the ratio is 1.5 or more, the water droplet reaching the surface of the gas sensor element breaks in contact with the corner. As a result, when the split water droplets are separated from the corner, the amount of water droplets absorbed in the corner is greatly reduced, so that it is possible to suppress the water droplet from reaching the element corner located inside of the corner.
  • the water resistance stress of the protective layer can be reduced, and the water resistance can be improved without increasing the thickness of the protective layer.
  • the arrangement and size of the through holes of the cover body are not restricted for protection of the gas sensor element, and for example, the through hole diameter of the cover body is increased to introduce the gas It can be increased. Therefore, it becomes possible to detect the specific gas component in the gas to be measured in a responsive manner.
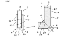
  • FIG. 1 is a schematic view of a gas sensor element and an enlarged view of a main part thereof in Embodiment 1;
  • FIG. 2 is an entire schematic view of a gas sensor element in Embodiment 1;
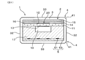
  • FIG. 3 is an overall cross-sectional view of a gas sensor provided with a gas sensor element according to Embodiment 1.
  • FIG. 4 is an enlarged perspective view showing a main part configuration of the gas sensor element in the first embodiment,
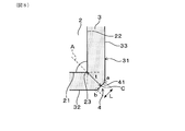
  • FIG. 5 is a schematic diagram for explaining the function and effect of the gas sensor element in Embodiment 1 in comparison with the conventional configuration, FIG.
  • FIG. 6 is a cross-sectional view showing the structure of the gas detection unit of the gas sensor element in Embodiment 1.
  • FIG. 7 is a schematic view showing a contact state between a protective layer and water droplets in a conventional gas sensor element
  • FIG. 8 is an enlarged sectional view of an essential part showing a configuration of a protective layer of a gas sensor element in Embodiment 1.
  • FIG. 9 is an enlarged sectional view of an essential part for explaining the function and effect of the protective layer of the gas sensor element in Embodiment 1.
  • FIG. 10 is a main part enlarged sectional view showing another example of the shape of the protective layer of the gas sensor element in the first embodiment, FIG.
  • FIG. 11 is a main part enlarged sectional view showing another example of the shape of the protective layer of the gas sensor element in Embodiment 1.
  • 12 is a manufacturing process diagram of a gas sensor element in Embodiment 1
  • FIG. 13 is an enlarged cross-sectional view of a main part of a gas sensor element for explaining a method of water immersion test in Test Example 1
  • FIG. 14 is an enlarged view of an essential part for explaining the configuration of the protective layer of the gas sensor element in Test Example 1
  • FIG. 15 is a diagram showing the relationship between L / t and the amount of dropped water droplets in Test Example 1
  • FIG. 16 is an enlarged sectional view of an essential part showing a configuration of a protective layer of a gas sensor element in Embodiment 2.
  • FIG. 17 is a main part enlarged cross-sectional view showing another example of the shape of the protective layer of the gas sensor element in Embodiment 2.
  • FIG. 18 is a main part enlarged sectional view showing another example of the shape of the protective layer of the gas sensor element in the second embodiment
  • FIG. 19 is a main part enlarged sectional view showing another example of the shape of the protective layer of the gas sensor element in the second embodiment
  • FIG. 20 is a manufacturing process diagram of a gas sensor element in Embodiment 2
  • FIG. 21 is an enlarged sectional view of an essential part showing a configuration of a protective layer of a gas sensor element in Embodiment 3.
  • the gas sensor element 1 shown in FIGS. 1 and 2 constitutes the main part of the gas sensor S shown in FIG. 3 and the outer periphery thereof is supported by the cylindrical housing H in a state of being inserted into the cylindrical insulator I. .
  • the gas sensor S can be applied to, for example, an exhaust gas purification system of an automobile engine, and the gas sensor element 1 detects a specific gas concentration in the exhaust gas which is a measurement gas. Specifically, it can be used for an oxygen sensor that detects an oxygen concentration, an air-fuel ratio sensor that detects an air-fuel ratio (that is, A / F) based on the oxygen concentration, or the like.
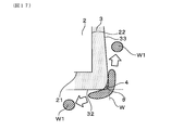
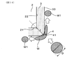
  • the gas sensor element 1 is provided with a long plate-like element body 2 and a porous protective layer 3 for protecting the surface of the element body 2.
  • the element body 2 is held on the inside with the axial direction of the insulator I as the longitudinal direction (ie, the vertical direction in FIG. 2) X, and the tip surface 21 side which is one end face of the longitudinal direction X (for example, FIG. A gas detection unit 20 is provided at the end of the reference).
  • the element body 2 can be in the shape of a rectangular parallelepiped having a rectangular cross section.
  • the protective layer 3 is provided so as to cover the outer periphery of the end portion on the tip surface 21 side of the element body 2 which protrudes from the insulator I in a layered manner.
  • the outer surface 31 of the protective layer 3 that faces the element corner 23 where the two surfaces intersect in a cross section including two adjacent surfaces among the end surface 21 and the end surface 21 of the element body 2.
  • a corner 4 of effective length L is provided on the outer surface 31 where it intersects 33.
  • the corner 4 of the protective layer 3 is located on the extension of the line A which bisects the element corner 23 of the element body 2.
  • the gas sensor S is attached to, for example, an exhaust gas pipe and used in an environment exposed to the exhaust gas as the gas to be measured, and the protective layer 3 covering the element body 2 of the gas sensor element 1 contains condensed water or poisoning contained in the exhaust gas.
  • the element body 2 is protected from the substance.
  • the shape and size of the corner 4 of the protective layer 3 are appropriately set, and in particular, with respect to the effective length L of the corner 4, the water droplets W contained in the exhaust gas in the use environment (see, eg, FIG. 5)
  • the ratio D / L of the assumed diameter D to be 1.5 or more, it is possible to break the water droplet W in contact and improve the water resistance.
  • the effective length L is L> 0.
  • the corner 4 has a water droplet contact surface 41 on the surface located outside the element corner 23.
  • the water droplet contact surface 41 is a surface including an intersection c of an extension line of a line A bisecting the element corner 23 and the outer surface 31 of the protective layer 3 in a cross section including two adjacent surfaces of the element body 2. And break the water droplet W in contact with the vicinity of the intersection point c.
  • the effective length L of the corner 4 can be the distance between both ends of the water droplet contact surface 41 in a cross section including two surfaces.
  • the gas sensor S has a cylindrical housing H whose axial direction is the longitudinal direction X of the gas sensor element 1 (that is, the vertical direction in the figure), and the gas sensor element 1 is inserted and held in the housing H .
  • one end side of the gas sensor element 1 having the gas detection unit 20 is a tip end side (that is, the lower end side in the drawing), and the opposite side is a base end side (that is, the upper end side in the drawing).
  • An element cover S1 as a cover body is attached to the front end side of the housing H, and the front end portion of the gas sensor element 1 protrudes from the housing H and is accommodated in the element cover S1.
  • the atmosphere side cover S2 is attached to the base end side (that is, the upper end side in the figure) of the housing H, and the base end of the gas sensor element 1 protrudes from the housing H and is accommodated in the atmosphere side cover S2. Be done.
  • the element cover S ⁇ b> 1 has a cylindrical shape with an inner and outer double bottom, and is disposed so as to surround the periphery of the tip of the gas sensor element 1.
  • the inner cover S11 and the outer cover S12 of the element cover S1 are provided with through holes S13 and S14 respectively serving as a lead-in / out hole of exhaust gas on the side surface and the bottom surface, respectively.
  • the cylindrical atmosphere side cover S2 is provided with a through hole S21 which is opened on the outer peripheral side surface and becomes an atmosphere hole, and takes in the atmosphere inside.
  • the outer periphery of the middle portion is held inside the cylindrical insulator I housed in the housing H, and the sealing glass I 1 is provided between the opening on the base end side of the insulator I and the gas sensor element 1. It is filled.
  • the insulator I an intermediate large diameter portion is supported on the stepped portion of the housing H, talc powder I2 is filled between the outer peripheral surface of the insulator I and the inner peripheral surface of the housing H, and the cylindrical insulating member I3 is interposed. It is fixed by caulking the proximal end thin portion of the housing H.
  • the gas sensor element 1 incorporates the heater unit 5 on the side of the front end surface 21 of the element body 2.
  • the heater unit 5 includes a heater electrode 51 and a lead unit 52 for energization, and generates heat from the heater electrode 51 by energization from the outside to activate a portion corresponding to the gas detection unit 20 of the element main body 2. Can be heated up.
  • the gas detection unit 20 of the gas sensor element 1 is provided, for example, on the surface of the solid electrolyte body 11 of oxide ion conductivity and the solid electrolyte body 11 on the measured gas side.
  • a measurement gas side electrode 12 into which a measurement gas is introduced and a reference gas side electrode 13 provided on the surface on the reference gas side of the solid electrolyte body 11 and facing the reference gas chamber 10 are provided.
  • the dense shielding layer 15 is stacked on the surface opposite to the solid electrolyte body 11, and the gas introduction port 16 exposed on the outer surface of the side portion is formed.
  • the heater substrate 53 is stacked on the surface opposite to the solid electrolyte body 11, and the heater electrode 51 is embedded in the heater substrate 53,
  • the heater unit 5 is configured.
  • the heater substrate 53, the reference gas chamber formation layer 17, the solid electrolyte body 11, the porous diffusion resistance layer 14, and the shielding layer 15 are sequentially stacked to form the element body 2.
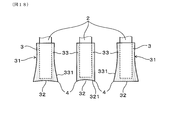
  • the element main body 2 has a rectangular cross-sectional shape, it may have a polygonal cross-sectional shape.
  • a hexagonal or octagonal surface may be used as an inclined surface that is inclined with respect to the stacking direction.
  • the cross-sectional shape of Also in such a case, the corner 4 of the protective layer 3 is formed corresponding to each element corner 23.
  • the protective layer 3 is made of a porous body in which a large number of pores are present between the ceramic particles, and is adjusted to have a desired porosity.
  • the ceramic particles are made of, for example, an insulating ceramic such as alumina.
  • the solid electrolyte body 11 is made of, for example, a zirconia-based solid electrolyte, and the heater substrate 18, the reference gas chamber forming layer 17, the solid electrolyte body 11, the porous diffusion resistance layer 14, and the shielding layer 15 are, for example, alumina, spinel, etc. Made of insulating ceramics.
  • the exhaust gas is introduced to the measurement gas side electrode 12 through the porous diffusion resistance layer 14, and between the reference gas side electrode 13 on the side of the reference gas chamber 10 where the atmosphere is introduced.
  • the sensor output exhibits a limiting current characteristic according to the oxygen concentration. Using this, an air-fuel ratio signal corresponding to the oxygen concentration in the exhaust gas can be obtained.
  • the protective layer 3 covers the outer periphery of the end on the tip surface 21 side of the element body 2 and is formed with a substantially uniform thickness. That is, the protective layer 3 covers the entire tip surface 21 in layers, and covers the ends of the plurality of side surfaces 22 connected thereto in layers, and an end surface 32 located on the tip side of the tip surface 21; The corner 4 is formed at a position where the side surface 33 located on the side of the plurality of side surfaces 22 is connected.
  • the outer shape of the protective layer 3 is approximately similar to the outer shape of the element body 2, and the protective layer 3 is larger than the element body 2 by the thickness thereof.
  • FIG. 4 with respect to the end face 32 of the protective layer 3 corresponding to the front end face 21 of the element main body 2 and a plurality of side faces 33 connected to the end face 32, arbitrary adjacent ones of the end face 32 and the side face 33 A corner 4 is formed between the two mating surfaces.
  • the rectangular end face 32 of the protective layer 3 it is orthogonal to the longitudinal direction X along the connection portion between the four sides of the outer peripheral edge and the side edges of the four side surfaces 33 connected to these four sides. In the direction, each has a corner 4 extending in a straight line.
  • the rectangular side surfaces 33 of the protective layer 3 have the corner portions 4 linearly extending in the longitudinal direction X along the connecting portions of the side edge portions of the two adjacent side surfaces.
  • the water droplet W is made to be small by making the water droplet contact surface 41 of the corner 4 sufficiently smaller than the water droplet W reaching the surface of the gas sensor element 1. It can be split at four. Specifically, when the ratio D / L of the assumed diameter D of the water droplet W to the effective length L of the corner 4 (for example, the distance between both ends of the water droplet contact surface 41) is 1.5 or more An effect is obtained. As a result, the water droplet W1 split from the water droplet W moves to the outside of the water droplet contact surface 41, and it is suppressed that the whole of the water droplet W is absorbed in the corner 4. Therefore, the water stress can be significantly reduced, and the element corner 23 which is the weakest against water can be protected and the effect of preventing the element cracking can be obtained.
  • the entire outer surface of the protective layer 30 is curved.
  • the contact area with the water droplet W reaching the outer surface of the protective layer 30 becomes large, and not only the water droplet W is easily absorbed, but also the layer thickness becomes thin at the portion corresponding to the element corner 23. Therefore, as shown in the left drawing of FIG. 7, when the diameter of the water droplet W attached to the protective layer 30 is small, even if the entire amount is absorbed, the element body 2 is not reached.
  • the diameter of the water droplet W becomes larger, the absorbed water droplet W easily reaches the element corner 23 having a thin layer thickness.
  • the heater portion 5 of the gas sensor element 1 shown in FIG. 4 is energized to heat up to the activation temperature of the gas detection portion 20, and the surface temperature of the protective layer 3 is, for example, 400.degree. It has become ° C.
  • the surface temperature of the protective layer 3 is, for example, 400.degree. It has become ° C.
  • the gas sensor element 1 covers the outside of the element corner 23 with the protective layer 3 having the corner 4, and preferably, on the extension of the line A bisecting the element corner 23, the corner 4 A drop contact surface 41 is arranged to break up the drop W.
  • the water droplet contact surface 41 may have a size corresponding to the assumed water droplet W, and by being arranged corresponding to the element corner 23 of the element main body 2, the element corner 23 can be protected with certainty.
  • a protective layer 3 can be manufactured by a molding method as described later.
  • the corner 4 of the protective layer 3 can have, for example, a C-plane shape.
  • the corner 4 is on the extension of the line A that bisects the element corner 23 located inside the corner 4 and is substantially planar including the intersection point c of the extension of the line A and the outer surface 31 of the protective layer 3
  • the surface of the water droplet contact surface 41 is.
  • the water droplet contact surface 41 has a shape change point a which is bent in a direction toward the side surface 22 of the element body 2 with the intersection point c as a reference, and has a shape change point b which is bent in a direction toward the tip surface 21 side. doing.
  • the shape change points a and b become points at both ends of the water droplet contact surface 41 in the vertical cross section shown in FIG. 8, and the linear distance between the shape change points a and b contacts the corner 4 and the water droplet W It becomes the effective length L of the time.
  • the effective length L becomes smaller and the corner 4 becomes smaller.
  • the intersection point c may coincide with the shape change point a or the shape change point b, or may be at a position substantially coinciding with both of the shape change points a and b. In that case, the effective length L of the corner 4 is extremely small.
  • the outer surface 31 of the protective layer 3 may have a shape having a plurality of shape change points from the intersection point c toward the end surface 32 side or the side surface 33 side of the protective layer 3.
  • the water droplet contact surface 41 is defined by the shape change points a and b closest to the intersection point c.
  • bending in the direction toward the distal end surface 21 or the side surface 22 is preferably when the bending angle is about 150 ° or less at a bending portion to which a plurality of flat surfaces are connected as shown in FIG. And the bent portion can be taken as a shape change point.
  • the outer surface 31 of the end face 32 or the side face 33 of the protective layer 3 may not necessarily be formed of only a flat surface.
  • FIG. 8 illustrates one cross section of the corner 4 where the end face 32 of the protective layer 3 and one side surface 33 intersect
  • the same water droplet contact surface is also seen in different cross sections of the continuous corner 4. 41 are formed.
  • the water droplet contact surface 41 of effective length L is similarly formed also in the corner 4 where the end surface 32 and the other side surface 33 or side surfaces 33 cross.
  • the effective length L of the water droplet contact surface 41 of any corner 4 is a ratio D / to the assumed diameter D of the water droplet W expected to reach the corner 4 together with the exhaust gas in the use environment.
  • L is set to be 1.5 or more.
  • the effective lengths L may be approximately constant or different.
  • the cross-sectional shape and the effective length L of one continuous corner 4 are approximately constant, they may be partially different.
  • the effect of splitting the water droplet W is obtained when the ratio D / L is 1.5 or more.
  • the ratio D / L is larger than 1.5, for example, when an assumed diameter D is set, the smaller the effective length L of the corner 4 is, the smaller the contact area with the water droplet W becomes.
  • the splitting effect is increased.
  • the smaller the water droplet contact surface 41 becomes with respect to the size of the water droplet W the amount of water droplets absorbed in the corner 4 decreases, and the water droplet W1 which is split and becomes smaller in diameter becomes Since the water droplet contact surface 41 is quickly separated, the amount of water can be greatly reduced.
  • the size of the water droplet W reaching the gas sensor element 1 is usually limited by the through holes S13 and S14 of the element cover S1 in which the gas sensor element 1 is accommodated. That is, the assumed diameter D of the water droplet W reaching the gas sensor element 1 is determined depending on the size of the hole diameter of the through holes S13 and S14 of the element cover S1 and the clearance between the inner cover S11 and the outer cover S12 It becomes larger than the minimum diameter of through-holes S13 and S14.
  • the diameters of the through holes S13 and S14 tend to be large, and the assumed diameter D is also large.
  • the assumed diameter D for each gas sensor S based on the predicted value or the test value of the average diameter or the maximum diameter of the water droplets W passing through the element cover S1 according to the usage environment.
  • the shape of the water droplet contact surface 41 of the corner 4 can be set so as to be a predetermined ratio D / L.
  • the ratio D / L is preferably 2.0 or more, and the effective length L of the corner 4 is preferably less than 1.0 mm.
  • the ratio D / L is 2.0 or more by forming the corner 4 so that the effective length L is less than 1.0 mm.
  • the protective layer 3 has an effective length L or a layer thickness such that a ratio L / t of the effective length L of the corner 4 to the layer thickness t of the protective layer 3 at the corner 4 is 6 or less. It is good to adjust t.
  • the layer thickness t at the corner 4 is the shortest distance between the corresponding element corner 23 and the outer surface 31 of the protective layer 3, that is, the intersection point c extending the line A bisecting the element corner 23 and the element angle It is represented by the distance between the part 23.
  • the ratio L / t is smaller than or equal to 6
  • the layer thickness t becomes relatively large with respect to the effective length L of the corner 4, and the water droplet W absorbed in the corner 4 reaches the element corner 23.
  • the effect of suppressing since the effective length L of the corner 4 is relatively smaller than the layer thickness t, the effect of splitting the water droplet W at the corner 4 is enhanced.
  • the corner 4 of the protective layer 3 can also be, for example, R-shaped.
  • the corner 4 is on the extension of the line A bisecting the element corner 23 located inside the corner 4 and includes the intersection c of the extension of the line A and the outer surface 31 of the protective layer 3
  • the curved surface is a water droplet contact surface 41.
  • the water droplet contact surface 41 has a shape change point a that changes rapidly in the direction toward the side surface 22 of the element body 2 with respect to the intersection point c, has a shape change point a, and changes in shape rapidly in the direction toward the tip surface 21 side It has point b.
  • the shape change points a and b are, for example, connection points between the curved water droplet contact surface 41 and the flat end surface 32 or the side surface 33 on the outer surface 31 of the protective layer 3 as illustrated. .
  • the shape change points a and b become points at both ends of the water droplet contact surface 41 in the vertical cross section shown in FIG. 10, and the linear distance between the shape change points a and b contacts the corner 4 and the water droplet W It becomes the effective length L of the time. Also in the case of the R-surface shape, the effective length L becomes smaller and the corner 4 becomes smaller as the shape change point a or the shape change point b approaches the intersection point c, as in the C surface shape. Further, the intersection point c may coincide with the shape change point a or the shape change point b, or may be at a position substantially coinciding with both of the shape change points a and b.
  • the water drop contact surface 41 is defined by the close shape change points a, b.
  • the corner 4 of the protective layer 3 may have a convex shape that protrudes outward beyond the end face 32 or the side face 33.
  • the corner 4 is an extension of the line A bisecting the element corner 23 located inside the corner 4 and can be defined in the same manner.
  • a planar surface including the intersection point c of the extension of the line A and the outer surface 31 of the protective layer 3 is the water droplet contact surface 41.
  • the water droplet contact surface 41 has a shape change point a which is bent in a direction toward the side surface 22 of the element body 2 with the intersection point c as a reference, and has a shape change point b which is bent in a direction toward the tip surface 21 side. doing.
  • the shape change points a and b become points at both ends of the water droplet contact surface 41 in the vertical cross section shown in FIG. 11, and the linear distance between the shape change points a and b contacts the corner 4 and the water droplet W It becomes the effective length L of the time.
  • the effective length L becomes smaller and the corner 4 becomes smaller.
  • the intersection point c may coincide with the shape change point a or the shape change point b, or may be at a position substantially coinciding with both of the shape change points a and b.
  • the outer surface 31 of the protective layer 3 may have a shape having a plurality of shape change points from the intersection point c toward the end surface 32 side or the side surface 33 side of the protective layer 3.
  • the corner 4 of the illustrated convex shape further includes a shape change point d which is bent inward in the direction from the shape change point a to the side surface 33.
  • the water drop contact surface 41 is similarly defined by the shape change points a and b closest to the intersection point c.
  • the water droplet contact surface 41 is formed such that the ratio D / L of the assumed diameter D to the effective length L of the water droplet W is 1.5 or more.
  • the same effect can be obtained by setting the effective length L and the layer thickness t with respect to the assumed diameter D so that the ratio L / t to the layer thickness t of the protective layer 3 is 6 or less. can get.
  • a molding method can be employed.
  • the slurry 200 containing the ceramic material constituting the protective layer 3 is injected into the container-like mold 100.
  • the forming die 100 is, for example, composed of two dies 101 and 102 having a split structure, and the hollow portion 103 formed in the abutment portion of the two dies 101 and 102 has a shape corresponding to the outer shape of the protective layer 3 ing.
  • the bottom inner peripheral edge portions of the two molds 101 and 102 are formed in a C-shape, and the corner portions 104 are formed to be inclined inward from the inner side surface toward the bottom surface.
  • the slurry 200 is a protective layer forming material configured by adding an inorganic binder, a coagulant and the like to a ceramic material to be the protective layer 3.
  • the element body 2 is inserted from the upper opening of the hollow portion into the mold 100 into which the slurry 200 has been injected, and is positioned and held by a jig not shown. Temporarily cure.
  • the two molds 101 and 102 are opened, the element body 2 covered with the temporarily cured slurry 200 is taken out, and baking is performed (for example, 1000 ° C.). Form.
  • a method of adding a curing agent such as a UV resin or a thermosetting resin to the slurry 200 and performing UV irradiation or heat curing can be used.
  • a curing agent such as a UV resin or a thermosetting resin
  • the corner 4 having a desired shape can be obtained.
  • the protective layer 3 can be formed with high accuracy.
  • Test Example 1 The influence of the shape of the corner 4 of the protective layer 3 on the water resistance was evaluated for the sample of the gas sensor element 1 manufactured by the method described above.
  • the gas sensor element 1 makes the corner 4 of the protective layer 3 C-shaped (for example, see FIG. 9), and manufactures a plurality of samples having different effective lengths L, and went.
  • the ratio D / L of the effective length L of the corner 4 to the assumed diameter D of the water droplet W was changed by combining with two types of water droplet amounts corresponding to the assumed diameter D of the water droplet W.
  • the gas sensor element 1 is fixed by a jig (not shown) so that the corner 4 of the protective layer 3 is positioned at the upper end, and the heater 5 is energized to perform predetermined control.
  • the control temperature by the heater 5, the layer thickness of the protective layer 3 of the gas sensor element 1, the longitudinal length of the protective layer 3, the bending angle at both ends of the water droplet contact surface 41 of the corner 4, the dimensions of the element body 2 are as follows.
  • Layer thickness of protective layer 3 0.15 mm
  • Longitudinal length of protective layer 3 10 mm
  • Bend angle of corner 4 150 °
  • Control temperature 750 ° C Longitudinal length of element body 2: about 50 mm
  • the drop amount of the water droplet W (that is, the water droplet amount) is 2 ⁇ L or 3 ⁇ L, and the presence or absence of the water droplet W breaks when the effective length L of the corner 4 is changed in the range of 0.82 mm to 1.22 mm.
  • the water droplet diameter corresponding to the water droplet amount is regarded as the assumed diameter D
  • the ratio D / L is calculated
  • the relationship with the division of the water droplet W is investigated, and the results are shown in Table 1 (ie, Example 1 to 3, Comparative Examples 1 to 2). In the determination, no division was made when all the water droplets W were absorbed by the protective layer 3, and division was made when some of the water droplets W were not absorbed by the protective layer 3.
  • Example 1-3 and Comparative Example 1-2 the IL change rate of the gas sensor element 1 before and after the water test was examined, and the results are also shown in Table 1.
  • the rate of change of IL measures the sensor current IL output from the gas detection unit 20 using a test gas having a predetermined gas composition from the gas sensor element 1, and calculates the rate of change of the sensor current IL before and after the water test. It was evaluated as follows. IL change rate more than 10%: not acceptable IL change rate more than 5% but not more than 10%: acceptable IL change rate less than 5%: good
  • the IL change rate is for determining the degree of element cracking due to water immersion .
  • the amount of gas inflow to the gas detection unit 20 increases and the sensor current IL increases.
  • the measurement variation of the sensor current IL is about 10% at the maximum.
  • the case where the IL change rate exceeds 10% is regarded as not possible.
  • the case where the IL change rate is 5% or less is considered as good, and the case where it is within the range of measurement variation is considered as possible.
  • Example 1 in which the effective length L of the corner 4 is 1.0 mm or more, the IL change rate is acceptable, and in Examples 2 and 3 in which the effective length L of the corner 4 is less than 1.0 mm, The rate of change became good.
  • the ratio D / L is 1.5 or more, the water droplet W can be split at the corner 4 and absorption of the water droplet W is suppressed even when the water droplet amount is relatively large, and the element is broken. It turns out that it is possible to prevent.
  • the effective length L of the corner 4 is less than 1.0 mm, it is possible to set the ratio D / L to around 2.0 or more, and promote the splitting of the water droplet W.
  • the water stress can be reduced and the IL change rate can be kept good.
  • the wet test was performed in the same manner as in Test Example 1 above, and the drop amount of the water droplet W was 3 ⁇ L, and the presence or absence of element breakage was determined from the IL change rate. Furthermore, if it is determined that there is no element breakage, the dripping amount is gradually increased, and the water deposition test is repeated until it is determined that the element breakage has occurred, that is, until the IL change rate becomes unacceptable. The results are shown in FIG.
  • the effective length L of the corner 4 and the layer thickness t of the protective layer 3 at the corner 4 may be adjusted so that the ratio L / t is 6 or less.
  • the ratio L / t is 6 or less.
  • the protective layer 3 has a rectangular outer shape that is substantially similar to the rectangular main body 2.
  • the two opposing surfaces may not necessarily be arranged in parallel.
  • the end face 32 or the side face 33 may be inclined with respect to the tip end face 21 or the side face 22 of the element main body 2, and the angle between the end face 32 and the side face 33 is not perpendicular.
  • the basic structure of the gas sensor element 1 and the gas sensor S in the present embodiment is the same as that of the first embodiment, and the description will be omitted.
  • symbol used in Embodiment 2 or subsequent ones represents the component similar to the thing in already-appeared embodiment, etc., unless shown.
  • both the end surface 32 and the side surface 33 of the protective layer 3 can be inclined with respect to the tip surface 21 and the side surface 22 of the element body 2.
  • the end surface 32 and the side surface 33 of the protective layer 3 are each an inclined surface which diverges in the direction away from the corner 4 and the angle ⁇ between the end surface 32 and the side surface 33 is an obtuse angle.
  • the same effect can be obtained by appropriately setting the effective length L of the corner 4 with respect to the assumed diameter D of the water droplet W.
  • one of the end surface 32 and the side surface 33 may be parallel to the opposing end surface 21 or side surface 22.
  • the end face 32 of the protective layer 3 is disposed in parallel with the front end face 21 of the element body 2, and the side face 33 of the protective layer 3 is an inclined face with respect to the side face 22 of the element body 2.
  • the side surface 33 of the protective layer 3 is an inclined surface that diverges toward the end surface 32 so that the angle ⁇ between the end surface 32 and the side surface 33 is an acute angle.
  • the water droplet W1 split at the corner 4 is easily separated from the end surface 32 or the side surface 33, and the probability of contacting the outer surface 31 of the protective layer 3 again decreases. Further, since the layer thickness of the protective layer 3 becomes thicker toward the end face 32, it is advantageous to increase the layer thickness t at the corner 4 and reduce the ratio L / t. Both the end surface 32 and the side surface 33 may be inclined surfaces which are diverged toward the corner 4 side.
  • the shape of the end face 32 or the side face 33 is not limited to a flat face or an inclined face, and may be a curved face, or a shape combining a plurality of them.
  • the end surface 32 in the left view of FIG. 18, in the protective layer 3, is a concave surface having a curved surface shape.
  • the outer surface 31 of the side surface 33 is a concave surface having a smooth curved surface shape at an end (in the lower end in the figure) 331 on the end surface 32 side.
  • the corner 4 is formed at the connecting portion of the curved end face 32 and the end 331 of the side face 33, and since it is positioned to project outward with respect to the end face 32 and the side face 33 It becomes easy to separate the dropped water droplet W1, and it becomes difficult to touch again.
  • the end face 32 may be a concave surface in which a flat surface and an inclined surface are combined.
  • the end portion 321 on the side surface 33 side is an inclined surface which diverges outward, and the corner 4 is formed at the connection portion with the side surface 33 which is a flat surface.
  • the end face 32 may be a flat surface, and the corner 4 may be formed at the connection with the end 331 of the curved side 33.
  • the two side surfaces 33 can also be curved concaves in the corner 4 formed at the connection portion with the two side surfaces 33.
  • the two side surfaces 33 can also be made into the concave surface which combined the flat surface and the inclined surface.
  • the corner 4 is formed at the connecting portion of the end 331 of the two side surfaces 33 which are inclined surfaces.
  • the corner 4 is formed. The broken water droplets W1 are easily separated and are less likely to be touched again.
  • the protective layer 3 has the same effect as long as the two surfaces connected to both sides of the corner 4 have an acute angle, even if the entire end surface 32 or side surface 33 is not inclined or concave. Is obtained. That is, a part of the end surface 32 or the side surface 33 to be the outer surface 31 of the protective layer 3 may be an inclined surface or a curved surface spreading outward toward the corner 4.
  • the gas sensor element 1 having such a shape can also be manufactured, for example, by a molding method as in the first embodiment.
  • the container-like mold 100 is formed of two molds 101 and 102 of a split structure and is formed at the abutment portion of the two molds 101 and 102.
  • the hollow portion 103 has a shape corresponding to the outer shape of the protective layer 3.
  • the inner side surface 105 of the two molds 101 and 102 is formed as an inclined surface which is diverged toward the bottom surface side, and the inner peripheral edge portion of the bottom surface is formed into a C-like shape. It has a shape of a corner 104 that is inclined toward the inside.
  • the slurry 200 containing the ceramic material constituting the protective layer 3 is injected, and then, in the process shown in (2), the element body 2 is inserted into the mold 100 into which the slurry 200 is injected.
  • the slurry 200 is temporarily cured by positioning and holding with a jig (not shown) or the like. Thereafter, in the step shown in (3), the two molds 101 and 102 are opened, the element body 2 covered with the temporarily cured slurry 200 is taken out, and baking is performed (for example, 1000 ° C.). It can be formed.
  • the wet test is carried out in the same manner as in Test Example 2 above, the drop amount of the water droplet W is gradually increased from 3 ⁇ L, the IL change rate is calculated, and element breakage does not occur (ie, the IL change rate is 5% or less The maximum amount of water drops judged to be) was examined. The results are shown in Table 2.
  • Example 4 in which the angle ⁇ between the two surfaces of the protective layer 3 is 110 ° and an obtuse angle, the effective length L of the corner 4 is reduced to about 0.9 mm, Even when the water droplet volume was as large as 3 ⁇ L (that is, the water droplet diameter: equivalent to 1.79 mm), the IL change rate could be suppressed to 5% or less. Further, in Example 5 in which the angle ⁇ is 85 ° and an acute angle, the IL change rate can be suppressed to 5% or less even when the water droplet amount is as large as 8 ⁇ L (that is, the water droplet diameter is equivalent to 2.48 mm). It can be seen that the effect of breaking up the water droplet W and reducing the amount of absorption is further enhanced. In addition, ratio D / L when the water droplet diameter in Example 3, 4 is made into the assumed diameter D becomes respectively 1.95 and 2.70.
  • Embodiment 3 which concerns on a gas sensor element and a gas sensor is described with reference to FIG.
  • the water resistance can be imparted to the protective layer 3 to further improve the water resistance.
  • the protective layer 3 has a structure capable of generating the Leidenfrost phenomenon, and further has a hydrophobic film on the surface. It is good also as composition.
  • the basic structure of the gas sensor element 1 and the gas sensor S in the present embodiment is the same as that of the first embodiment, and the description will be omitted.
  • the configuration of the protective layer 3 shown in FIG. 21 is the same as that of the second embodiment shown in FIG. 16 above, and the end face 32 and the side face 33 of the protective layer 3 diverge in the direction away from the corner 4
  • the angle ⁇ between the end face 32 and the side face 33 is an obtuse angle.
  • a hydrophobic film can be formed by applying a heat resistant fluorocarbon resin or the like on the surface of the protective layer 3 to form the water-repellent protective layer 3.
  • the layer of ceramic particles constituting the surface layer of the protective layer 3 a relatively dense layer to increase the thermal conductivity, it is possible to impart water repellency.
  • the thermal conductivity is preferably in the range of, for example, 0.2 to 5 W / mK.
  • Test Example 4 water repellence was imparted to the protective layer 3 of the sample of the gas sensor element 1 manufactured by the same method as that of the above-mentioned Test Example 3, and the influence on the element breakage was evaluated.
  • the sample of the gas sensor element 1 has the same shape as that of the fourth embodiment in the above test example 3, and the effective length L of the corner 4 is about 0.9 mm, and the angle ⁇ between the end face 32 of the protective layer 3 and the side face 33 It was an obtuse angle of °.
  • the layer thickness t of the protective layer 3 at the corner portion 4 was 0.15 mm, and a hydrophobic film was formed on the surface of the protective layer 3 by applying a heat resistant fluorocarbon resin to Example 6 .
  • the wet test is carried out in the same manner as in Test Example 3 above, the drop amount of the water droplet W is gradually increased from 3 ⁇ L, the IL change rate is calculated, and element breakage does not occur (that is, the IL change rate is 5% or less) The maximum amount of water drops judged to be) was examined.
  • the results are shown in Table 3.
  • the effective length L of the corner 4 was about 0.9 mm, and the angle ⁇ between the end face 32 of the protective layer 3 and the side face 33 was an obtuse angle of 110 °.
  • the layer thickness t of the protective layer 3 at the corner 4 was 0.15 mm.
  • Example 4 in which the protective layer 3 is rendered water repellent as to Example 4 in which the angle ⁇ between the two surfaces of the protective layer 3 is obtuse, the amount of water droplets is 3 ⁇ L (that is, Even when the water droplet amount was as large as 10 ⁇ L (that is, water droplet diameter: 2.68 mm) from the water droplet diameter: 1.79 mm, the IL change rate could be suppressed to 5% or less. Thereby, it turns out that the effect which makes the water droplet W split and the amount of absorption reduces is further enhanced because the protective layer 3 has water repellency.
  • the ratio D / L when the water droplet diameter is assumed to be the assumed diameter D is 2.90.
  • the present disclosure is not limited to only the embodiments, and different embodiments can be configured without departing from the scope of the invention.
  • the structures of the gas sensor element 1 and the gas sensor S are not limited to the structures shown in the above embodiment, and, for example, the structures of the element cover and other parts can be changed appropriately according to the application.
  • the gas to be measured is not limited to the exhaust gas from the automobile engine, and the specific gas component can also be an arbitrary gas component.

Landscapes

  • Chemical & Material Sciences (AREA)
  • Life Sciences & Earth Sciences (AREA)
  • Health & Medical Sciences (AREA)
  • Physics & Mathematics (AREA)
  • Chemical Kinetics & Catalysis (AREA)
  • Electrochemistry (AREA)
  • Molecular Biology (AREA)
  • Analytical Chemistry (AREA)
  • Biochemistry (AREA)
  • General Health & Medical Sciences (AREA)
  • General Physics & Mathematics (AREA)
  • Immunology (AREA)
  • Pathology (AREA)
  • Measuring Oxygen Concentration In Cells (AREA)
PCT/JP2018/030770 2017-08-22 2018-08-21 ガスセンサ素子及びガスセンサ Ceased WO2019039455A1 (ja)

Priority Applications (3)

Application Number Priority Date Filing Date Title
DE112018004731.8T DE112018004731T5 (de) 2017-08-22 2018-08-21 Gassensorelement und Gassensor
CN201880053981.2A CN111051870B (zh) 2017-08-22 2018-08-21 气体传感器元件及气体传感器
US16/786,082 US11714062B2 (en) 2017-08-22 2020-02-10 Gas sensor element and gas sensor

Applications Claiming Priority (2)

Application Number Priority Date Filing Date Title
JP2017-159692 2017-08-22
JP2017159692A JP6708184B2 (ja) 2017-08-22 2017-08-22 ガスセンサ素子及びガスセンサ

Related Child Applications (1)

Application Number Title Priority Date Filing Date
US16/786,082 Continuation US11714062B2 (en) 2017-08-22 2020-02-10 Gas sensor element and gas sensor

Publications (1)

Publication Number Publication Date
WO2019039455A1 true WO2019039455A1 (ja) 2019-02-28

Family

ID=65439330

Family Applications (1)

Application Number Title Priority Date Filing Date
PCT/JP2018/030770 Ceased WO2019039455A1 (ja) 2017-08-22 2018-08-21 ガスセンサ素子及びガスセンサ

Country Status (5)

Country Link
US (1) US11714062B2 (enExample)
JP (1) JP6708184B2 (enExample)
CN (1) CN111051870B (enExample)
DE (1) DE112018004731T5 (enExample)
WO (1) WO2019039455A1 (enExample)

Cited By (1)

* Cited by examiner, † Cited by third party
Publication number Priority date Publication date Assignee Title
US20210199617A1 (en) * 2019-12-26 2021-07-01 Ngk Insulators, Ltd. Sensor element for gas sensor

Families Citing this family (4)

* Cited by examiner, † Cited by third party
Publication number Priority date Publication date Assignee Title
JP7195996B2 (ja) * 2019-03-29 2022-12-26 日本碍子株式会社 ガスセンサのセンサ素子
WO2020203031A1 (ja) * 2019-03-29 2020-10-08 日本碍子株式会社 ガスセンサのセンサ素子
JP7486123B2 (ja) * 2020-07-02 2024-05-17 パナソニックIpマネジメント株式会社 ガスセンサ装置
JP7510847B2 (ja) * 2020-10-29 2024-07-04 日本特殊陶業株式会社 ガスセンサ

Citations (3)

* Cited by examiner, † Cited by third party
Publication number Priority date Publication date Assignee Title
JP2012093330A (ja) * 2010-09-27 2012-05-17 Denso Corp ガスセンサ素子及びガスセンサ
JP2012247293A (ja) * 2011-05-27 2012-12-13 Denso Corp ガスセンサ素子及びその製造方法、並びにガスセンサ
JP2016095287A (ja) * 2014-03-28 2016-05-26 日本碍子株式会社 ガスセンサの製造方法及びガスセンサ

Family Cites Families (12)

* Cited by examiner, † Cited by third party
Publication number Priority date Publication date Assignee Title
JP2007206082A (ja) * 2002-02-28 2007-08-16 Ngk Spark Plug Co Ltd セラミックヒータ、積層型ガスセンサ素子及びその製造方法、並びに積層型ガスセンサ素子を備えるガスセンサ
US8168053B2 (en) * 2006-01-23 2012-05-01 Denso Corporation Gas sensing member used for gas sensor and method of manufacturing the member
JP2008058297A (ja) * 2006-08-04 2008-03-13 Ngk Spark Plug Co Ltd ガスセンサ
JP5344675B2 (ja) * 2007-10-17 2013-11-20 日本特殊陶業株式会社 ガスセンサ
JP4996527B2 (ja) * 2008-04-14 2012-08-08 日本特殊陶業株式会社 積層型ガスセンサ素子及びガスセンサ
JP4762338B2 (ja) * 2008-12-22 2011-08-31 株式会社日本自動車部品総合研究所 ガスセンサ素子及びこれを備えたガスセンサ
JP5560296B2 (ja) * 2012-03-06 2014-07-23 日本特殊陶業株式会社 ガスセンサ
JP6530620B2 (ja) * 2014-03-28 2019-06-12 日本碍子株式会社 膜接合構造体の製法
JP6573767B2 (ja) 2014-03-28 2019-09-11 日本碍子株式会社 膜接合構造体の製法
JP6475074B2 (ja) 2014-07-18 2019-02-27 トヨタ自動車株式会社 ガスセンサ素子
JP6477022B2 (ja) 2015-03-02 2019-03-06 株式会社デンソー ガスセンサ素子の製造方法
JP2017159692A (ja) 2016-03-07 2017-09-14 トヨタ自動車株式会社 車両用入力装置

Patent Citations (3)

* Cited by examiner, † Cited by third party
Publication number Priority date Publication date Assignee Title
JP2012093330A (ja) * 2010-09-27 2012-05-17 Denso Corp ガスセンサ素子及びガスセンサ
JP2012247293A (ja) * 2011-05-27 2012-12-13 Denso Corp ガスセンサ素子及びその製造方法、並びにガスセンサ
JP2016095287A (ja) * 2014-03-28 2016-05-26 日本碍子株式会社 ガスセンサの製造方法及びガスセンサ

Cited By (1)

* Cited by examiner, † Cited by third party
Publication number Priority date Publication date Assignee Title
US20210199617A1 (en) * 2019-12-26 2021-07-01 Ngk Insulators, Ltd. Sensor element for gas sensor

Also Published As

Publication number Publication date
CN111051870B (zh) 2023-02-17
CN111051870A (zh) 2020-04-21
JP2019039692A (ja) 2019-03-14
JP6708184B2 (ja) 2020-06-10
US11714062B2 (en) 2023-08-01
US20200173957A1 (en) 2020-06-04
DE112018004731T5 (de) 2020-06-04

Similar Documents

Publication Publication Date Title
WO2019039455A1 (ja) ガスセンサ素子及びガスセンサ
EP2224221B1 (en) Temperature sensor
CN111699382B (zh) 传感器元件及气体传感器
JP6761369B2 (ja) ガスセンサ素子
JP5105488B2 (ja) ガスセンサ
JP6857051B2 (ja) ガスセンサ素子およびガスセンサ
CN111699383B (zh) 气体传感器
JP6308054B2 (ja) ガスセンサ素子組立体
WO2019039459A1 (ja) ガスセンサ素子及びガスセンサ
JP2001074686A (ja) ガスセンサのプロテクタ
US20170343505A1 (en) Gas sensor element
KR100370691B1 (ko) 센서소자
US20210055254A1 (en) Sensor element and gas sensor
US11921079B2 (en) Gas sensor
JP6885885B2 (ja) ガスセンサ素子およびガスセンサ
US9709522B2 (en) Solid electrolyte gas sensor element and gas sensor
JP6917923B2 (ja) ガスセンサ素子およびガスセンサ
JP2011247790A (ja) ガスセンサ
JP7068138B2 (ja) ガス検出素子およびガスセンサ
JP2006170715A (ja) ガスセンサ
WO2017183491A1 (ja) ガスセンサ
JP2023142051A (ja) ガスセンサ
CN118731138A (zh) 传感器元件以及气体传感器

Legal Events

Date Code Title Description
121 Ep: the epo has been informed by wipo that ep was designated in this application

Ref document number: 18847829

Country of ref document: EP

Kind code of ref document: A1

122 Ep: pct application non-entry in european phase

Ref document number: 18847829

Country of ref document: EP

Kind code of ref document: A1