WO2018047874A1 - 加減速制御システム、加減速制御方法 - Google Patents

加減速制御システム、加減速制御方法 Download PDF

Info

Publication number
WO2018047874A1
WO2018047874A1 PCT/JP2017/032158 JP2017032158W WO2018047874A1 WO 2018047874 A1 WO2018047874 A1 WO 2018047874A1 JP 2017032158 W JP2017032158 W JP 2017032158W WO 2018047874 A1 WO2018047874 A1 WO 2018047874A1
Authority
WO
WIPO (PCT)
Prior art keywords
acceleration
host vehicle
limit value
drive command
command value
Prior art date
Legal status (The legal status is an assumption and is not a legal conclusion. Google has not performed a legal analysis and makes no representation as to the accuracy of the status listed.)
Ceased
Application number
PCT/JP2017/032158
Other languages
English (en)
French (fr)
Japanese (ja)
Inventor
大治 渡部
平樹 松本
久哉 赤塚
Current Assignee (The listed assignees may be inaccurate. Google has not performed a legal analysis and makes no representation or warranty as to the accuracy of the list.)
Denso Corp
Original Assignee
Denso Corp
Priority date (The priority date is an assumption and is not a legal conclusion. Google has not performed a legal analysis and makes no representation as to the accuracy of the date listed.)
Filing date
Publication date
Application filed by Denso Corp filed Critical Denso Corp
Priority to US16/330,933 priority Critical patent/US20190232970A1/en
Publication of WO2018047874A1 publication Critical patent/WO2018047874A1/ja
Anticipated expiration legal-status Critical
Ceased legal-status Critical Current

Links

Images

Classifications

    • BPERFORMING OPERATIONS; TRANSPORTING
    • B60VEHICLES IN GENERAL
    • B60WCONJOINT CONTROL OF VEHICLE SUB-UNITS OF DIFFERENT TYPE OR DIFFERENT FUNCTION; CONTROL SYSTEMS SPECIALLY ADAPTED FOR HYBRID VEHICLES; ROAD VEHICLE DRIVE CONTROL SYSTEMS FOR PURPOSES NOT RELATED TO THE CONTROL OF A PARTICULAR SUB-UNIT
    • B60W50/00Details of control systems for road vehicle drive control not related to the control of a particular sub-unit, e.g. process diagnostic or vehicle driver interfaces
    • B60W50/02Ensuring safety in case of control system failures, e.g. by diagnosing, circumventing or fixing failures
    • B60W50/038Limiting the input power, torque or speed
    • BPERFORMING OPERATIONS; TRANSPORTING
    • B60VEHICLES IN GENERAL
    • B60WCONJOINT CONTROL OF VEHICLE SUB-UNITS OF DIFFERENT TYPE OR DIFFERENT FUNCTION; CONTROL SYSTEMS SPECIALLY ADAPTED FOR HYBRID VEHICLES; ROAD VEHICLE DRIVE CONTROL SYSTEMS FOR PURPOSES NOT RELATED TO THE CONTROL OF A PARTICULAR SUB-UNIT
    • B60W30/00Purposes of road vehicle drive control systems not related to the control of a particular sub-unit, e.g. of systems using conjoint control of vehicle sub-units
    • B60W30/14Adaptive cruise control
    • B60W30/143Speed control
    • BPERFORMING OPERATIONS; TRANSPORTING
    • B60VEHICLES IN GENERAL
    • B60TVEHICLE BRAKE CONTROL SYSTEMS OR PARTS THEREOF; BRAKE CONTROL SYSTEMS OR PARTS THEREOF, IN GENERAL; ARRANGEMENT OF BRAKING ELEMENTS ON VEHICLES IN GENERAL; PORTABLE DEVICES FOR PREVENTING UNWANTED MOVEMENT OF VEHICLES; VEHICLE MODIFICATIONS TO FACILITATE COOLING OF BRAKES
    • B60T8/00Arrangements for adjusting wheel-braking force to meet varying vehicular or ground-surface conditions, e.g. limiting or varying distribution of braking force
    • B60T8/17Using electrical or electronic regulation means to control braking
    • B60T8/1755Brake regulation specially adapted to control the stability of the vehicle, e.g. taking into account yaw rate or transverse acceleration in a curve
    • BPERFORMING OPERATIONS; TRANSPORTING
    • B60VEHICLES IN GENERAL
    • B60WCONJOINT CONTROL OF VEHICLE SUB-UNITS OF DIFFERENT TYPE OR DIFFERENT FUNCTION; CONTROL SYSTEMS SPECIALLY ADAPTED FOR HYBRID VEHICLES; ROAD VEHICLE DRIVE CONTROL SYSTEMS FOR PURPOSES NOT RELATED TO THE CONTROL OF A PARTICULAR SUB-UNIT
    • B60W10/00Conjoint control of vehicle sub-units of different type or different function
    • BPERFORMING OPERATIONS; TRANSPORTING
    • B60VEHICLES IN GENERAL
    • B60WCONJOINT CONTROL OF VEHICLE SUB-UNITS OF DIFFERENT TYPE OR DIFFERENT FUNCTION; CONTROL SYSTEMS SPECIALLY ADAPTED FOR HYBRID VEHICLES; ROAD VEHICLE DRIVE CONTROL SYSTEMS FOR PURPOSES NOT RELATED TO THE CONTROL OF A PARTICULAR SUB-UNIT
    • B60W10/00Conjoint control of vehicle sub-units of different type or different function
    • B60W10/04Conjoint control of vehicle sub-units of different type or different function including control of propulsion units
    • B60W10/06Conjoint control of vehicle sub-units of different type or different function including control of propulsion units including control of combustion engines
    • BPERFORMING OPERATIONS; TRANSPORTING
    • B60VEHICLES IN GENERAL
    • B60WCONJOINT CONTROL OF VEHICLE SUB-UNITS OF DIFFERENT TYPE OR DIFFERENT FUNCTION; CONTROL SYSTEMS SPECIALLY ADAPTED FOR HYBRID VEHICLES; ROAD VEHICLE DRIVE CONTROL SYSTEMS FOR PURPOSES NOT RELATED TO THE CONTROL OF A PARTICULAR SUB-UNIT
    • B60W10/00Conjoint control of vehicle sub-units of different type or different function
    • B60W10/10Conjoint control of vehicle sub-units of different type or different function including control of change-speed gearings
    • B60W10/11Stepped gearings
    • BPERFORMING OPERATIONS; TRANSPORTING
    • B60VEHICLES IN GENERAL
    • B60WCONJOINT CONTROL OF VEHICLE SUB-UNITS OF DIFFERENT TYPE OR DIFFERENT FUNCTION; CONTROL SYSTEMS SPECIALLY ADAPTED FOR HYBRID VEHICLES; ROAD VEHICLE DRIVE CONTROL SYSTEMS FOR PURPOSES NOT RELATED TO THE CONTROL OF A PARTICULAR SUB-UNIT
    • B60W10/00Conjoint control of vehicle sub-units of different type or different function
    • B60W10/18Conjoint control of vehicle sub-units of different type or different function including control of braking systems
    • B60W10/184Conjoint control of vehicle sub-units of different type or different function including control of braking systems with wheel brakes
    • BPERFORMING OPERATIONS; TRANSPORTING
    • B60VEHICLES IN GENERAL
    • B60WCONJOINT CONTROL OF VEHICLE SUB-UNITS OF DIFFERENT TYPE OR DIFFERENT FUNCTION; CONTROL SYSTEMS SPECIALLY ADAPTED FOR HYBRID VEHICLES; ROAD VEHICLE DRIVE CONTROL SYSTEMS FOR PURPOSES NOT RELATED TO THE CONTROL OF A PARTICULAR SUB-UNIT
    • B60W30/00Purposes of road vehicle drive control systems not related to the control of a particular sub-unit, e.g. of systems using conjoint control of vehicle sub-units
    • B60W30/18Propelling the vehicle
    • B60W30/188Controlling power parameters of the driveline, e.g. determining the required power
    • BPERFORMING OPERATIONS; TRANSPORTING
    • B60VEHICLES IN GENERAL
    • B60WCONJOINT CONTROL OF VEHICLE SUB-UNITS OF DIFFERENT TYPE OR DIFFERENT FUNCTION; CONTROL SYSTEMS SPECIALLY ADAPTED FOR HYBRID VEHICLES; ROAD VEHICLE DRIVE CONTROL SYSTEMS FOR PURPOSES NOT RELATED TO THE CONTROL OF A PARTICULAR SUB-UNIT
    • B60W40/00Estimation or calculation of non-directly measurable driving parameters for road vehicle drive control systems not related to the control of a particular sub unit, e.g. by using mathematical models
    • B60W40/02Estimation or calculation of non-directly measurable driving parameters for road vehicle drive control systems not related to the control of a particular sub unit, e.g. by using mathematical models related to ambient conditions
    • B60W40/06Road conditions
    • B60W40/072Curvature of the road
    • BPERFORMING OPERATIONS; TRANSPORTING
    • B60VEHICLES IN GENERAL
    • B60WCONJOINT CONTROL OF VEHICLE SUB-UNITS OF DIFFERENT TYPE OR DIFFERENT FUNCTION; CONTROL SYSTEMS SPECIALLY ADAPTED FOR HYBRID VEHICLES; ROAD VEHICLE DRIVE CONTROL SYSTEMS FOR PURPOSES NOT RELATED TO THE CONTROL OF A PARTICULAR SUB-UNIT
    • B60W40/00Estimation or calculation of non-directly measurable driving parameters for road vehicle drive control systems not related to the control of a particular sub unit, e.g. by using mathematical models
    • B60W40/10Estimation or calculation of non-directly measurable driving parameters for road vehicle drive control systems not related to the control of a particular sub unit, e.g. by using mathematical models related to vehicle motion
    • B60W40/105Speed
    • BPERFORMING OPERATIONS; TRANSPORTING
    • B60VEHICLES IN GENERAL
    • B60WCONJOINT CONTROL OF VEHICLE SUB-UNITS OF DIFFERENT TYPE OR DIFFERENT FUNCTION; CONTROL SYSTEMS SPECIALLY ADAPTED FOR HYBRID VEHICLES; ROAD VEHICLE DRIVE CONTROL SYSTEMS FOR PURPOSES NOT RELATED TO THE CONTROL OF A PARTICULAR SUB-UNIT
    • B60W40/00Estimation or calculation of non-directly measurable driving parameters for road vehicle drive control systems not related to the control of a particular sub unit, e.g. by using mathematical models
    • B60W40/10Estimation or calculation of non-directly measurable driving parameters for road vehicle drive control systems not related to the control of a particular sub unit, e.g. by using mathematical models related to vehicle motion
    • B60W40/107Longitudinal acceleration
    • GPHYSICS
    • G01MEASURING; TESTING
    • G01SRADIO DIRECTION-FINDING; RADIO NAVIGATION; DETERMINING DISTANCE OR VELOCITY BY USE OF RADIO WAVES; LOCATING OR PRESENCE-DETECTING BY USE OF THE REFLECTION OR RERADIATION OF RADIO WAVES; ANALOGOUS ARRANGEMENTS USING OTHER WAVES
    • G01S13/00Systems using the reflection or reradiation of radio waves, e.g. radar systems; Analogous systems using reflection or reradiation of waves whose nature or wavelength is irrelevant or unspecified
    • G01S13/02Systems using reflection of radio waves, e.g. primary radar systems; Analogous systems
    • G01S13/06Systems determining position data of a target
    • GPHYSICS
    • G08SIGNALLING
    • G08GTRAFFIC CONTROL SYSTEMS
    • G08G1/00Traffic control systems for road vehicles
    • G08G1/16Anti-collision systems
    • BPERFORMING OPERATIONS; TRANSPORTING
    • B60VEHICLES IN GENERAL
    • B60TVEHICLE BRAKE CONTROL SYSTEMS OR PARTS THEREOF; BRAKE CONTROL SYSTEMS OR PARTS THEREOF, IN GENERAL; ARRANGEMENT OF BRAKING ELEMENTS ON VEHICLES IN GENERAL; PORTABLE DEVICES FOR PREVENTING UNWANTED MOVEMENT OF VEHICLES; VEHICLE MODIFICATIONS TO FACILITATE COOLING OF BRAKES
    • B60T2230/00Monitoring, detecting special vehicle behaviour; Counteracting thereof
    • B60T2230/04Jerk, soft-stop; Anti-jerk, reduction of pitch or nose-dive when braking
    • BPERFORMING OPERATIONS; TRANSPORTING
    • B60VEHICLES IN GENERAL
    • B60WCONJOINT CONTROL OF VEHICLE SUB-UNITS OF DIFFERENT TYPE OR DIFFERENT FUNCTION; CONTROL SYSTEMS SPECIALLY ADAPTED FOR HYBRID VEHICLES; ROAD VEHICLE DRIVE CONTROL SYSTEMS FOR PURPOSES NOT RELATED TO THE CONTROL OF A PARTICULAR SUB-UNIT
    • B60W2520/00Input parameters relating to overall vehicle dynamics
    • B60W2520/12Lateral speed
    • B60W2520/125Lateral acceleration
    • BPERFORMING OPERATIONS; TRANSPORTING
    • B60VEHICLES IN GENERAL
    • B60WCONJOINT CONTROL OF VEHICLE SUB-UNITS OF DIFFERENT TYPE OR DIFFERENT FUNCTION; CONTROL SYSTEMS SPECIALLY ADAPTED FOR HYBRID VEHICLES; ROAD VEHICLE DRIVE CONTROL SYSTEMS FOR PURPOSES NOT RELATED TO THE CONTROL OF A PARTICULAR SUB-UNIT
    • B60W2540/00Input parameters relating to occupants
    • B60W2540/10Accelerator pedal position
    • BPERFORMING OPERATIONS; TRANSPORTING
    • B60VEHICLES IN GENERAL
    • B60WCONJOINT CONTROL OF VEHICLE SUB-UNITS OF DIFFERENT TYPE OR DIFFERENT FUNCTION; CONTROL SYSTEMS SPECIALLY ADAPTED FOR HYBRID VEHICLES; ROAD VEHICLE DRIVE CONTROL SYSTEMS FOR PURPOSES NOT RELATED TO THE CONTROL OF A PARTICULAR SUB-UNIT
    • B60W2540/00Input parameters relating to occupants
    • B60W2540/12Brake pedal position
    • BPERFORMING OPERATIONS; TRANSPORTING
    • B60VEHICLES IN GENERAL
    • B60WCONJOINT CONTROL OF VEHICLE SUB-UNITS OF DIFFERENT TYPE OR DIFFERENT FUNCTION; CONTROL SYSTEMS SPECIALLY ADAPTED FOR HYBRID VEHICLES; ROAD VEHICLE DRIVE CONTROL SYSTEMS FOR PURPOSES NOT RELATED TO THE CONTROL OF A PARTICULAR SUB-UNIT
    • B60W2540/00Input parameters relating to occupants
    • B60W2540/16Ratio selector position
    • BPERFORMING OPERATIONS; TRANSPORTING
    • B60VEHICLES IN GENERAL
    • B60WCONJOINT CONTROL OF VEHICLE SUB-UNITS OF DIFFERENT TYPE OR DIFFERENT FUNCTION; CONTROL SYSTEMS SPECIALLY ADAPTED FOR HYBRID VEHICLES; ROAD VEHICLE DRIVE CONTROL SYSTEMS FOR PURPOSES NOT RELATED TO THE CONTROL OF A PARTICULAR SUB-UNIT
    • B60W2552/00Input parameters relating to infrastructure
    • B60W2552/20Road profile, i.e. the change in elevation or curvature of a plurality of continuous road segments
    • BPERFORMING OPERATIONS; TRANSPORTING
    • B60VEHICLES IN GENERAL
    • B60WCONJOINT CONTROL OF VEHICLE SUB-UNITS OF DIFFERENT TYPE OR DIFFERENT FUNCTION; CONTROL SYSTEMS SPECIALLY ADAPTED FOR HYBRID VEHICLES; ROAD VEHICLE DRIVE CONTROL SYSTEMS FOR PURPOSES NOT RELATED TO THE CONTROL OF A PARTICULAR SUB-UNIT
    • B60W2552/00Input parameters relating to infrastructure
    • B60W2552/30Road curve radius
    • BPERFORMING OPERATIONS; TRANSPORTING
    • B60VEHICLES IN GENERAL
    • B60WCONJOINT CONTROL OF VEHICLE SUB-UNITS OF DIFFERENT TYPE OR DIFFERENT FUNCTION; CONTROL SYSTEMS SPECIALLY ADAPTED FOR HYBRID VEHICLES; ROAD VEHICLE DRIVE CONTROL SYSTEMS FOR PURPOSES NOT RELATED TO THE CONTROL OF A PARTICULAR SUB-UNIT
    • B60W2556/00Input parameters relating to data
    • B60W2556/45External transmission of data to or from the vehicle
    • B60W2556/50External transmission of data to or from the vehicle of positioning data, e.g. GPS [Global Positioning System] data
    • BPERFORMING OPERATIONS; TRANSPORTING
    • B60VEHICLES IN GENERAL
    • B60WCONJOINT CONTROL OF VEHICLE SUB-UNITS OF DIFFERENT TYPE OR DIFFERENT FUNCTION; CONTROL SYSTEMS SPECIALLY ADAPTED FOR HYBRID VEHICLES; ROAD VEHICLE DRIVE CONTROL SYSTEMS FOR PURPOSES NOT RELATED TO THE CONTROL OF A PARTICULAR SUB-UNIT
    • B60W2710/00Output or target parameters relating to a particular sub-units
    • B60W2710/06Combustion engines, Gas turbines
    • B60W2710/0666Engine torque
    • BPERFORMING OPERATIONS; TRANSPORTING
    • B60VEHICLES IN GENERAL
    • B60WCONJOINT CONTROL OF VEHICLE SUB-UNITS OF DIFFERENT TYPE OR DIFFERENT FUNCTION; CONTROL SYSTEMS SPECIALLY ADAPTED FOR HYBRID VEHICLES; ROAD VEHICLE DRIVE CONTROL SYSTEMS FOR PURPOSES NOT RELATED TO THE CONTROL OF A PARTICULAR SUB-UNIT
    • B60W2720/00Output or target parameters relating to overall vehicle dynamics
    • B60W2720/10Longitudinal speed

Definitions

  • This disclosure relates to a technique for controlling acceleration / deceleration of the host vehicle.
  • Patent Document 1 describes an acceleration / deceleration control system that calculates a target speed at each node using a turning radius at each node on the curve and a lateral acceleration setting value of the host vehicle.
  • the target acceleration in the front-rear direction of the host vehicle is calculated based on the calculated target speed and the current speed of the host vehicle.
  • the acceleration / deceleration control system is configured to obtain a drive command value to which a change amount limiter related to acceleration / deceleration in the front-rear direction of the host vehicle is added from the calculated target acceleration.
  • the acceleration / deceleration control system in Patent Document 1 is configured such that excessive centrifugal force in the lateral direction is less likely to be applied to the occupant of the host vehicle by using the lateral acceleration set value. Further, the acceleration / deceleration control system is configured so that an excessive acceleration / deceleration force in the front-rear direction is less likely to be applied to the occupant of the host vehicle by using a change amount limiter related to acceleration / deceleration.
  • the acceleration / deceleration control system is released, and then the acceleration / deceleration control system is restored by releasing the accelerator pedal.
  • the deceleration of the host vehicle that occurs in this case is performed after the driver accelerates by his / her own intention, and therefore, it is possible to give the driver a feeling of deceleration stronger than the deceleration by the normal acceleration / deceleration control system. There was sex.
  • An acceleration / deceleration control system that is one aspect of the present disclosure includes a command calculation unit and an output control unit.
  • the command calculation unit calculates a target speed at each point on the road ahead of the host vehicle based on the road shape ahead of the host vehicle and the current position of the host vehicle, and based on the target speed and the current speed of the host vehicle, Adjusting the drive command value using an acceleration limit value that limits the acceleration of the host vehicle or an acceleration limit value that limits the jerk of the host vehicle when calculating the longitudinal drive command value to be generated in the host vehicle Configured to do.
  • the restriction on acceleration / deceleration of the host vehicle is strengthened after driving operation and intervention by another control system, so that the behavior of the host vehicle becomes more stable. For this reason, when returning after the acceleration / deceleration control of the host vehicle is temporarily cancelled, it is possible to prevent the driver from feeling uncomfortable.
  • a vehicle 100 is equipped with an advanced driving system 1 including an acceleration / deceleration control unit 10 that controls acceleration / deceleration of the host vehicle.
  • the advanced operation system 1 corresponds to an acceleration / deceleration control system.
  • the vehicle 100 is equipped with various control systems such as a powertrain system 2, a brake system 3, a steering system 4, an antilock braking system 5 (hereinafter, ABS 5), and the like.
  • These control systems 2 to 5 and the advanced driving system 1 are connected to an in-vehicle local network (hereinafter referred to as an in-vehicle LAN) (not shown).
  • the control systems 2 to 5 and the advanced driving system 1 are configured to share control information such as control commands and control amounts with each other through communication via the in-vehicle LAN.
  • the advanced driving system 1 performs acceleration / deceleration control so that the vehicle 100 automatically travels without being operated by the driver in a state where the system is in operation, and in a state where the operation of the system is released, Delegate authority for driving operations to the driver or another control system. Further, as shown in FIG. 2, the advanced driving system 1 includes an acceleration / deceleration control unit 10 so that a deceleration zone at the time of entering a curve, a constant speed zone at the time of curve driving, and an acceleration zone at the end of the curve can be obtained appropriately. Thus, the acceleration / deceleration of the vehicle 100 is controlled.
  • the axis along the vehicle length direction (that is, the front-rear direction) of the vehicle 100 is the x axis
  • the vehicle width direction (that is, the lateral direction) of the vehicle 100 is aligned.
  • the axis is appropriately expressed as the y-axis
  • the axis along the vehicle height direction (ie, the vertical direction) of the vehicle 100 is appropriately expressed as the z-axis.
  • These x-axis, y-axis, and z-axis are axes orthogonal to each other.
  • a locator 6, an altitude map information storage unit 7, a sensor 8, an indoor display 9, a speaker 11, and an input device 12 are connected to the advanced driving system 1.
  • the sensor 8 includes a vehicle speed sensor, an acceleration sensor, a gyro sensor, an image sensor, a radar sensor, an accelerator position sensor, a brake position sensor, a shift position sensor, and a steering sensor (not shown).
  • the vehicle speed sensor is a sensor that detects the current speed of the vehicle 100.
  • the acceleration sensor is a sensor that detects an x-axis current acceleration Gx, a y-axis current acceleration Gy, and a z-axis current acceleration Gz in the vehicle 100, respectively.
  • the gyro sensor is a sensor that detects an angular velocity (that is, a yaw rate) that rotates each of the x, y, and z axes.
  • the image sensor and the radar sensor are sensors that detect various targets such as obstacles, other vehicles, pedestrians, signs, lane boundary lines, buildings, and the like that exist around the vehicle 100, road surface conditions, and the like.
  • the accelerator position sensor is a sensor that detects the depression position and depression speed of the accelerator pedal.
  • the brake position sensor is a sensor that detects the depression position and depression speed of the brake pedal.
  • the shift position sensor is a sensor that detects a shift lever position.
  • the steering sensor is a sensor that detects the steering angle of the steering wheel.
  • the locator 6 is a device that receives radio waves from the quasi-zenith satellite or GPS satellite and generates position information indicating the current position of the vehicle 100.
  • the current position indicated by the position information is supplemented using a detection result of at least one of a vehicle speed sensor, an acceleration sensor, a gyro sensor, an image sensor, and a radar sensor.
  • the altitude map information storage unit 7 is an apparatus that stores altitude map information in which environmental information including the current position of the vehicle 100 is associated with map information indicating a road shape including a road gradient and a radius of curvature.
  • the map information includes not only road information including nodes and links, but also three-dimensional coordinates indicated by each node, road width indicated by each link, road curvature radius, road gradient, etc.
  • the speed limit (that is, the legal speed) related to the is stored.
  • the node which road information shows is provided for every lane of each road, and many nodes are provided so that link length may become shorter than what is used with a general navigation apparatus. These nodes are also provided at the change points of the road gradient.
  • the indoor display 9 is an image display provided in the passenger compartment of the vehicle 100.
  • the indoor display 9 includes a meter display and a head-up display in addition to a liquid crystal display installed on a center console, a dashboard, and the like.
  • the head-up display displays a notification to notify the driver in advance or the road shape ahead of the host vehicle. Is done.
  • the speaker 11 is provided in the passenger compartment of the vehicle 100, and outputs a sound for notifying the driver of the start or stop of the operation of the advanced driving system 1 in addition to various voice guidances and alarms.
  • the powertrain system 2 controls the drive source and transmission of the vehicle 100 according to the drive command value output from the advanced driving system 1 when the advanced driving system 1 is operating.
  • the power train system 2 controls the opening degree of the throttle device and the fuel injection amount when an internal combustion engine is mounted as a drive source, and applies power to the motor when a motor is mounted as a drive source. Control the power supply. Further, the powertrain system 2 mainly performs control according to the detection values of the accelerator position sensor and the shift position sensor in a state where the operation of the advanced operation system 1 is released. However, the powertrain system 2 performs control according to the drive command value output from the TCS in a state where the TCS described later is operating.
  • the brake system 3 controls, for example, an actuator provided in a hydraulic circuit of a hydraulic brake in accordance with a drive command value output from the advanced operation system 1 when the advanced operation system 1 is in operation.
  • the brake system 3 may be configured to generate a braking force by regenerative braking by controlling power supplied to the motor.
  • the brake system 3 mainly performs control according to the detection value of the brake position sensor in a state where the operation of the advanced operation system 1 is released. However, the brake system 3 performs control according to the drive command value output from the TCS or ABS 5 while the TCS or ABS 5 is operating.
  • Steering system 4 controls the rotation direction and amount of the pinion gear provided in the steering mechanism in accordance with the steering command value output from advanced driving system 1 when advanced driving system 1 is in operation. Further, the steering system 4 mainly performs control according to the detected value of the steering sensor in a state where the operation of the advanced driving system 1 is released. Note that the steering system 4 may be configured to perform control according to the detected value of the steering sensor even when the advanced driving system 1 is operating. The steering system 4 performs steering assist control for generating torque for assisting the steering operation of the driver in accordance with the steering command value output from the advanced driving system 1 in a state where the advanced driving system 1 is in operation. It may be configured as follows.
  • ABS 5 is a well-known system that reduces the occurrence of sliding due to wheel locking when the host vehicle 100 is decelerated.
  • the ABS 5 controls the brake system 3 when it is determined that the rotation of the wheel exceeds a predetermined deceleration based on the detection result of the vehicle speed sensor.
  • the ABS 5 is configured to output information indicating the respective timings to the advanced driving system 1 at the start and end of the control of the brake system 3.
  • a traction control system (hereinafter, TCS) (not shown) is mounted in addition to the ABS 5.
  • the TCS monitors the ground contact state between the wheels and the road surface. For example, when the idling of the driving wheel is detected when the vehicle 100 is started or accelerated, the TCS controls the brake system 3 and the powertrain system 2 to thereby prevent the vehicle 100 from slipping. It is a well-known system for suppressing.
  • the TCS is also configured to output information indicating the respective timings to the advanced driving system 1 at the start and end of the control of the brake system 3 and the powertrain system 2.
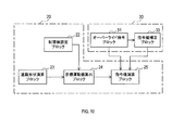
  • the advanced driving system 1 includes an acceleration / deceleration control unit 10, a steering control unit 15, and a human machine interface control unit 16 (hereinafter, HMI control unit 16).
  • Each of these control units 10, 15, and 16 is configured around a well-known microcomputer having a CPU 13 and a semiconductor memory (hereinafter referred to as a memory 14) such as a RAM, a ROM, and a flash memory.
  • a memory 14 such as a RAM, a ROM, and a flash memory.
  • Various functions of the control units 10, 15, and 16 are realized by the CPU 13 executing a program stored in a non-transitional physical recording medium.
  • the memory 14 corresponds to a non-transitional tangible recording medium that stores a program. Also, by executing this program, a method corresponding to the program is executed.
  • the number of microcomputers constituting each control unit 10, 15, 16 may be one or plural.
  • a plurality of control units 10, 15, and 16 may be configured by one microcomputer.
  • the HMI control unit 16 is a unit that performs control for notifying the driver of necessary information via the indoor display 9 and the speaker 11 based on inputs from the acceleration / deceleration control unit 10 and the steering control unit 15.
  • the front acquisition unit 17 is configured to acquire a road shape in front of the host vehicle. Specifically, the forward acquisition unit 17 is based on the current position of the vehicle 100 acquired by the position acquisition unit 18 and the road information around the current position of the vehicle 100 output from the altitude map information storage unit 7. A road shape including a road gradient in front of the host vehicle and a curvature radius of the road is acquired. Moreover, the front acquisition part 17 may be comprised so that the road shape ahead of the own vehicle may be correct
  • the position acquisition unit 18 is configured to acquire the current position of the host vehicle. Specifically, the position acquisition unit 18 acquires the current position of the vehicle 100 by correcting the current position indicated by the position information output from the locator 6 using the detection result of the sensor 8.
  • the state acquisition unit 19 is configured to acquire the traveling state of the host vehicle. Specifically, the state acquisition unit 19 mainly uses the current speed of the vehicle 100, the current acceleration Gx, Gy, Gz, the steering angle, and the yaw rate as the traveling state of the vehicle 100 based on the information output from the sensor 8. Etc.
  • the current accelerations Gx, Gy, and Gz represent acceleration of the vehicle 100 when they are positive values, and represent deceleration of the vehicle 100 when they are negative values.
  • the state acquisition unit 19 calculates jerks ⁇ Gx, ⁇ Gy, ⁇ Gz indicating the rate of change of acceleration per unit time based on the previous value and the current value regarding the current acceleration Gx, Gy, Gz.
  • the command calculation unit 20 includes a limit value setting block 22, a road shape calculation block 23, a target motion value calculation block 24, and a command value calculation block 25.
  • the limit value setting block 22 is configured to set a value that limits at least one of the speed, acceleration, and jerk of the host vehicle (hereinafter, limit value). Of these limit values, values previously input by the user (hereinafter referred to as user set values) are stored in the memory 14. For example, the limit value setting block 22 selects either the user set value or the legal speed related to the road on which the host vehicle is traveling as the speed limit value (hereinafter, speed limit value), and the selected speed. The limit value is output to the target motion value calculation block 24 as Vlim. Specifically, the limit value setting block 22 outputs the smaller speed limit value of the user set value and the legal speed as Vlim. The legal speed is read from the altitude map information storage unit 7.
  • the limit value setting block 22 uses at least one limit value among a limit value related to acceleration (hereinafter referred to as acceleration limit value) and a limit value related to jerk (hereinafter referred to as jerk limit value) as a target exercise value calculation block. 24.
  • the limit value setting block 22 outputs an acceleration limit value or jerk limit value input in advance as a user set value, together with the speed limit value Vlim, to the target motion value calculation block 24.
  • the acceleration limit value and the acceleration / deceleration limit value are values expressed as absolute values, and are set in advance for each of the x axis, the y axis, and the z axis.
  • the acceleration limit value for limiting the vertical acceleration of the host vehicle is Gzmax
  • the acceleration limit value for limiting the lateral acceleration of the host vehicle is Gymax
  • the acceleration in the front-rear direction of the host vehicle is set.
  • Gxmax be the acceleration limit value that limits
  • the acceleration / deceleration limit value for limiting the vertical acceleration of the host vehicle is ⁇ Gzmax
  • the acceleration / deceleration limit value for limiting the lateral acceleration of the host vehicle is ⁇ Gymax
  • the front / rear direction of the host vehicle A jerk limit value for limiting the jerk is ⁇ Gxmax.
  • the road shape calculation block 23 is configured to perform calculations related to the road shape ahead of the host vehicle. Specifically, the road shape calculation block 23 is configured to calculate the amount of change in road gradient at each node ahead of the host vehicle based on the road shape ahead of the host vehicle acquired by the front acquisition unit 17. The amount of change in road gradient at a node is represented by the difference in road gradient indicated by each of the two links connected to the node.
  • the target motion value calculation block 24 is configured to calculate the target motion value of the host vehicle. Specifically, the target motion value calculation block 24 is based on the road shape ahead of the host vehicle and the current position of the host vehicle, and at least one value of the target speed and target acceleration at each point on the road ahead of the host vehicle. Is calculated as a target exercise value. In the present embodiment, the target motion value calculation block 24 is configured to calculate a target speed at each node ahead of the host vehicle and to output the calculated target speed to the command value calculation block 25.
  • the command value calculation block 25 is configured to calculate a drive command value. Specifically, the command value calculation block 25 calculates the target acceleration at each node ahead of the host vehicle based on the target speed calculated by the target motion value calculation block 24 and the current speed of the host vehicle. Then, the command value calculation block 25 calculates a driving command value in the front-rear direction to be generated by the host vehicle based on the calculated target acceleration.
  • the target acceleration represents acceleration of the vehicle 100 when it is a positive value, and represents deceleration of the vehicle 100 when it is a negative value.
  • the command value calculation block 25 is configured to output the calculated drive command value to the powertrain system 2 and the brake system 3 via the command value output unit 21.
  • the output control unit 30 includes an override command block 31 and a limit value correction block 32.
  • the override command block 31 is configured to control the output of the drive command value by the command value output unit 21 based on an input from at least one of the operation of the driver of the host vehicle and another control system in the host vehicle.
  • the override command block 31 detects any one of an accelerator pedal, a brake pedal, and a shift lever as a driver's operation based on a detection result by the sensor 8.
  • the override command block 31 outputs a switching signal “0” to the command value calculation block 25, for example, when it is determined that the accelerator pedal or the brake pedal is depressed by a predetermined amount or more. Further, for example, the override command block 31 outputs a switching signal “0” to the command value calculation block 25 when it is determined that a shift down or a shift up related to the gear of the transmission has been made.
  • the override command block 31 outputs a switching signal “0” to the command value calculation block 25 when timing information related to the start of control is input from the ABS 5 or TSC as another control system.
  • the switching signal “0” is output in this way, the calculation of the drive command value by the command value calculation block 25 is stopped, and as a result, the output of the drive command value by the command value output unit 21 is stopped.
  • the operation of the advanced operation system 1 is released. That is, the driving authority is delegated from the advanced driving system 1 to the driver and other control systems.
  • the override command block 31 detects that all operations of the accelerator pedal, the brake pedal, and the shift lever are not performed, or when timing information related to the end of control is input from the ABS 5 or TSC,
  • the switching signal “1” is output to the value calculation block 25.
  • the switching signal “1” is output in this way, the calculation of the drive command value by the command value calculation block 25 is resumed.
  • the output of the drive command value by the command value output unit 21 is resumed.
  • the operation of the advanced operation system 1 is restored. That is, the driving authority is delegated from the driver or another control system to the advanced driving system 1.
  • the limit value correction block 32 is an acceleration limit value or acceleration that is output from the limit value setting block 22 when the output of the drive command value is stopped and then restarted by the output control of the drive command value by the override command block 31.
  • the limit value is configured to be temporarily reduced. Specifically, the limit value correction block 32 temporarily decreases the acceleration limit value when the limit value setting block 22 is configured to output the acceleration limit value. Further, the limit value correction block 32 temporarily decreases the acceleration / deceleration limit value when the limit value setting block 22 is configured to output the acceleration / deceleration limit value.
  • “decrease value” means “decrease absolute value”.
  • the limit value correction block 32 temporarily decreases the acceleration limit value as shown in FIG. After that, the limit value correction block 32 outputs a command for gradually increasing the acceleration limit value to the limit value setting block 22 to the reference value that is the acceleration limit value before being reduced.
  • the increase rate of the acceleration limit value may be linear or non-linear.
  • the limit value correction block 32 temporarily reduces the acceleration / deceleration limit value as shown in FIG. 6 when the operation of the advanced operation system 1 is restored. After the elapse of a predetermined period, the limit value correction block 32 outputs a command for returning the acceleration / deceleration limit value to the reference value, which is the acceleration / deceleration limit value before being reduced, to the limit value setting block 22.
  • Gmax indicates at least one acceleration limit value among Gzmax, Gymax, and Gxmax.
  • ⁇ Gmax indicates at least one acceleration / deceleration limit value among ⁇ Gzmax, ⁇ Gymax, and ⁇ Gxmax. That is, the limit value correction block 32 is configured to return at least one acceleration limit value of Gzmax, Gymax, and Gxmax or at least one acceleration limit value of ⁇ Gzmax, ⁇ Gymax, and ⁇ Gxmax when the advanced operation system 1 returns to operation. Is variably set. In the present embodiment, the limit value correction block 32 is configured to variably set Gxmax or ⁇ Gxmax when the operation of the advanced operation system 1 is restored.
  • the limit value correction block 32 variably sets Gxmax when the limit value setting block 22 is configured to output an acceleration limit value. Further, the limit value correction block 32 variably sets ⁇ Gxmax when the limit value setting block 22 is configured to output the acceleration / deceleration limit value.
  • the target motion value calculation process is a process for calculating a target speed at each node ahead of the host vehicle.
  • target nodes are extracted in order along the road shape from a node close to the current position of the vehicle 100, and a target speed at each extracted node (hereinafter, target node) is calculated. Further, the target exercise value calculation process is repeatedly executed while the advanced driving system 1 is in operation.
  • the target exercise value calculation block 24 is first configured in step (hereinafter referred to as S) 110 when the limit value setting block 22 is configured to output the acceleration / deceleration limit value. 22, ⁇ Gzmax, ⁇ Gymax, and ⁇ Gxmax are acquired as acceleration / deceleration limit values.
  • the target motion value calculation block 24 obtains Gzmax, Gymax, and Gxmax as acceleration limit values by multiplying the current accelerations Gz, Gy, Gx by ⁇ Gzmax, ⁇ Gymax, and ⁇ Gxmax, respectively, acquired in S110. .
  • the target motion value calculation block 24 is extracted this time by multiplying this acceleration limit value by the acceleration / deceleration limit value acquired in S110.
  • the acceleration limit value related to the target node is acquired. This calculation becomes unnecessary when the limit value setting block 22 is configured to output the acceleration limit value.
  • the target exercise value calculation block 24 can acquire Gzmax, Gymax, and Gxmax as the acceleration limit values from the limit value setting block 22.
  • the target motion value calculation block 24 acquires the curvature radius of the road, the change amount of the road gradient, and the inter-node distance calculated by the road shape calculation block 23.
  • the radius of curvature of the road at the target node is acquired from information related to one of the two links connected to the target node.
  • the inter-node distance is a distance (that is, a link length) between the target node extracted last time and the target node extracted this time.
  • the target motion value calculation block 24 calculates a speed limit value for limiting the target speed of the host vehicle based on Gymax acquired in S120 and the curvature radius of the road in the target node acquired in S130. Can be calculated. Note that the speed limit value calculated here is Vymax.
  • Vymax is calculated as follows. It is assumed that the vehicle 100 performs a steady circular turn in the xy plane as shown in FIG. A curve shown in FIG. 8 represents a curved road shape in front of the host vehicle. Further, each point on the curve shown in FIG. 8 represents each node in front of the host vehicle.
  • Vymax the maximum value of the vehicle speed V satisfying the inequality of the following equation (1) based on the definition of the centrifugal force applied to the vehicle 100 is calculated as Vymax as the following equation (2).
  • M represents the weight of the vehicle 100 and R represents the curvature radius of the road.
  • Vymax can be calculated based on Gymax and the radius of curvature of the road according to equation (2).
  • Vymax can also be calculated using the coordinate information of the node instead of the curvature radius of the road.
  • the angle of the direction of the vehicle 100 at the node extracted this time is determined from ⁇ n ⁇ 1 that indicates the direction of the vehicle 100 at the target node extracted in the previous angle in ⁇ t seconds, which is the time for the vehicle 100 to move between the nodes. It is assumed that the direction of the vehicle 100 has changed to ⁇ n indicated by. In this case, the yaw rate ⁇ of the vehicle 100 is expressed by the following equation (3). In equation (3), ⁇ n represents the amount of change in the direction of the vehicle 100.
  • equation (7) is obtained by substituting equation (6) into equation (1).
  • Vymax can be calculated based on Gymax, the amount of change in the direction of the vehicle 100, and the inter-node distance, as shown in Expression (7).
  • the amount of change in the direction of the vehicle 100 can be obtained from the coordinates of each node.
  • the target motion value calculation block 24 limits the target speed of the host vehicle using the Gzmax acquired in S120 and the change amount of the road gradient in the target node acquired in S130 in subsequent S150.
  • a speed limit value for calculating the speed is calculated. Note that the speed limit value calculated here is Vzmax.
  • Vzmax is calculated as in the following equation (8).
  • ⁇ Lz represents the distance between nodes in the xz plane
  • ⁇ n represents the amount of change in road gradient.
  • Vzmax can be calculated based on Gzmax, the amount of change in the road gradient, and the inter-node distance in the xz plane, as shown in Expression (8).
  • the target exercise value calculation block 24 acquires Vlim selected by the limit value setting block 22 in S160.
  • the target exercise value calculation block 24 selects the smallest value among Vymax calculated in S140, Vzmax calculated in S150, and Vlim acquired in S160.
  • the speed limit value selected here is assumed to be Vmax.
  • the target motion value calculation block 24 calculates a target speed that satisfies Vmax that is the speed limit value selected in S170 and Gxmax among the acceleration limit values acquired in S120 as constraints. Then, this process ends. Specifically, the target motion value calculation block 24 has a maximum value in a range where the speed of the target node extracted this time is equal to or lower than Vmax and the rate of change with respect to the speed of the target node extracted last time is equal to or lower than Gxmax. Calculate the speed. Thereby, the target motion value calculation block 24 calculates the optimized target speed.
  • limit value setting process Next, processing executed by the limit value setting block 22 (hereinafter, limit value setting process) will be described with reference to the flowchart of FIG.
  • the limit value setting process is repeatedly executed while the advanced operation system 1 is operating.
  • the limit value setting block 22 first acquires information indicating the road surface condition regarding the road ahead of the host vehicle and the weather around the host vehicle from the front acquisition unit 17 in S210. Then, the limit value setting block 22 reads the limit value stored as the user set value from the memory 14 in subsequent S220.
  • the limit values read from the memory 14 include an acceleration limit value, a jerk limit value, and a speed limit value.
  • the limit value setting block 22 corrects the limit value read in S220 based on at least one of the road surface condition and weather information acquired in S210 (hereinafter, limit value correction). Process). For example, in the limit value correction process, when the road surface is wet, when it is a snowy road surface, a frozen road surface, or when the weather is rain or snow, the acceleration limit value, acceleration limit value, and speed limit value are set. Reduce at least one of the limits. The limit value corrected in this way is used as a limit value output from the limit value setting block 22 to the target exercise value calculation block 24.
  • the limit value setting block 22 determines the presence / absence of a command from the limit value correction block 32. If it is determined that there is no command from the limit value correction block 32, the present process is terminated. On the other hand, when it is determined that there is a command from the limit value correction block 32, the limit value setting block 22 performs a limit value changing process according to the command in S250, and ends this process. In the limit value change process, the target motion value is calculated so that the acceleration limit value or acceleration / deceleration limit value is temporarily reduced, and then the acceleration limit value or acceleration / deceleration limit value is gradually increased to the reference value before reduction. This is a process of variably setting the limit value output to the block 24.
  • Vzmax calculated using Gzmax and the amount of change in road gradient is used for adjustment of the drive command value by the command calculation unit 20, an excessive acceleration / deceleration force in the vertical direction of the host vehicle is not applied.
  • the vehicle speed can be suitably obtained.
  • the output control unit 30 is configured to stop the output of the drive command value based on an input by at least one of an accelerator operation, a brake operation, and a shift operation as a driver's operation. Therefore, for example, the advanced driving system 1 can be suitably canceled when the driver depresses an accelerator pedal or a brake pedal or performs a downshift or upshift operation in order to accelerate or decelerate the host vehicle. Further, when the advanced driving system 1 returns, restrictions on acceleration / deceleration of the host vehicle are strengthened, so that it is possible to suppress the occurrence of strong acceleration / deceleration that does not follow the driver's feeling.
  • the output control unit 30 stops the output of the drive command value based on the input by the control system that prevents the wheels of the host vehicle from slipping. For this reason, for example, the advanced driving system 1 can be suitably canceled by the operation of the ABS 5 or the TCS. Further, when the advanced driving system 1 returns, the restriction on acceleration / deceleration of the host vehicle is strengthened, so that the behavior of the host vehicle becomes more stable. Therefore, it is possible to suppress the restart of the ABS 5 or the TCS. it can.
  • the limit value correction block 32 outputs a command for temporarily reducing the acceleration limit value or the acceleration / deceleration limit value to the limit value setting block 22.
  • the limit value correction block 32 outputs a command for temporarily reducing the drive command value to the command value calculation block 25. It is different from the embodiment.
  • the limit value correction block 32 is driven by the command value calculation block 25 when the output of the drive command value is stopped and then restarted by the output control of the drive command value by the override command block 31.
  • the command value is configured to be temporarily reduced.
  • the limit value correction block 32 variably sets a coefficient to be multiplied by the drive command value output from the command value calculation block 25 within the range of 0 to 1 when the advanced operation system 1 returns to operation.
  • the limit value correction block 32 can temporarily reduce the drive command value and then gradually increase the drive command value, for example, to the drive command value before being reduced. That is, as shown in FIG. 11, the limit value correction block 32 temporarily reduces the adjustment value (that is, the coefficient) by which the drive command value is multiplied when the operation of the advanced operation system 1 is restored.
  • the limit value correction block 32 is configured to gradually increase the coefficient to a reference value (that is, a value of “1”) that is a coefficient before the operation of the advanced operation system 1 is stopped after a predetermined period.
  • the limit value correction block 32 may be configured to temporarily reduce the drive command value by variably setting a coefficient by which the target acceleration calculated by the command value calculation block 25 is multiplied.
  • the target motion value calculation block 24 calculates the target speed
  • the command value calculation block 25 calculates the target acceleration based on the target speed.
  • the configuration for calculating the target acceleration is as follows. It is not limited to this.
  • the target motion value calculation block 24 may calculate both the target speed and the target acceleration
  • the command value calculation block 25 may calculate the drive command value based on the target acceleration.
  • a plurality of functions of one constituent element in the above embodiment may be realized by a plurality of constituent elements, or a single function of one constituent element may be realized by a plurality of constituent elements. . Further, a plurality of functions possessed by a plurality of constituent elements may be realized by one constituent element, or one function realized by a plurality of constituent elements may be realized by one constituent element. Moreover, you may abbreviate
  • at least a part of the configuration of the above embodiment may be added to or replaced with the configuration of the other embodiment.
  • all the aspects included in the technical idea specified from the wording described in the claims are embodiments related to one aspect of the present disclosure.
  • an in-vehicle system having the advanced operating system 1 as a constituent element an acceleration / deceleration control unit 10 constituting the advanced operating system 1, the advanced operating system 1, the in-vehicle system, or the One aspect of the present disclosure in various forms, such as a program for causing a computer to function as the acceleration / deceleration control unit 10, a non-transition actual recording medium such as a semiconductor memory storing the program, a driving support method, and an acceleration / deceleration control method Can also be realized.

Landscapes

  • Engineering & Computer Science (AREA)
  • Transportation (AREA)
  • Mechanical Engineering (AREA)
  • Chemical & Material Sciences (AREA)
  • Combustion & Propulsion (AREA)
  • Automation & Control Theory (AREA)
  • Physics & Mathematics (AREA)
  • Radar, Positioning & Navigation (AREA)
  • Remote Sensing (AREA)
  • Mathematical Physics (AREA)
  • General Physics & Mathematics (AREA)
  • Computer Networks & Wireless Communication (AREA)
  • Human Computer Interaction (AREA)
  • Control Of Driving Devices And Active Controlling Of Vehicle (AREA)
  • Regulating Braking Force (AREA)
  • Traffic Control Systems (AREA)
PCT/JP2017/032158 2016-09-08 2017-09-06 加減速制御システム、加減速制御方法 Ceased WO2018047874A1 (ja)

Priority Applications (1)

Application Number Priority Date Filing Date Title
US16/330,933 US20190232970A1 (en) 2016-09-08 2017-09-06 Acceleration and deceleration control system and acceleration and deceleration control method

Applications Claiming Priority (2)

Application Number Priority Date Filing Date Title
JP2016-175525 2016-09-08
JP2016175525A JP6597528B2 (ja) 2016-09-08 2016-09-08 加減速制御システム、加減速制御方法

Publications (1)

Publication Number Publication Date
WO2018047874A1 true WO2018047874A1 (ja) 2018-03-15

Family

ID=61562142

Family Applications (1)

Application Number Title Priority Date Filing Date
PCT/JP2017/032158 Ceased WO2018047874A1 (ja) 2016-09-08 2017-09-06 加減速制御システム、加減速制御方法

Country Status (3)

Country Link
US (1) US20190232970A1 (enExample)
JP (1) JP6597528B2 (enExample)
WO (1) WO2018047874A1 (enExample)

Cited By (4)

* Cited by examiner, † Cited by third party
Publication number Priority date Publication date Assignee Title
EP3770034A1 (fr) * 2019-07-25 2021-01-27 Renault S.A.S. Procédé de pilotage d'un véhicule automobile
CN113544033A (zh) * 2019-02-28 2021-10-22 标致雪铁龙汽车股份有限公司 在弯道中超车时的车辆速度调节
CN114789714A (zh) * 2021-01-08 2022-07-26 丰田自动车株式会社 车辆控制装置
US20240208498A1 (en) * 2022-12-27 2024-06-27 Toyota Motor Engineering & Manufacturing North America, Inc. Adaptive driveforce for speed limit control

Families Citing this family (15)

* Cited by examiner, † Cited by third party
Publication number Priority date Publication date Assignee Title
US11987229B2 (en) 2018-07-06 2024-05-21 Eagle Aerospace Ltd. Adaptive braking and directional control system (ABADCS)
FR3088590B1 (fr) * 2018-11-16 2020-10-23 Psa Automobiles Sa Regulation de la vitesse d’un vehicule, avec prise en compte de la volonte du conducteur dans un virage
CN111267853B (zh) * 2018-12-03 2021-06-18 广州汽车集团股份有限公司 一种自适应车辆弯道辅助控制方法、装置、计算机设备和存储介质
WO2021089134A1 (en) * 2019-11-06 2021-05-14 Volvo Truck Corporation A control device and a method for controlling vehicle speed
US11352004B2 (en) * 2019-12-04 2022-06-07 Hyundai Motor Company Vehicle travel control system and control method therefor
KR102791259B1 (ko) * 2019-12-06 2025-04-08 현대자동차주식회사 에어백 제어 장치 및 방법
JP7368206B2 (ja) * 2019-12-09 2023-10-24 トヨタ自動車株式会社 制御装置
IT202000000976A1 (it) * 2020-01-20 2021-07-20 Iveco France Sas Sistema e metodo per la regolazione dello strattone in un veicolo autonomo
JP7264086B2 (ja) * 2020-02-27 2023-04-25 トヨタ自動車株式会社 車両制御装置及び車両制御方法
JP7302545B2 (ja) * 2020-08-03 2023-07-04 トヨタ自動車株式会社 運転支援装置
KR20230111036A (ko) 2022-01-17 2023-07-25 현대자동차주식회사 가속도 제한 기능의 제한 완화 장치 및 방법
US20240051548A1 (en) * 2022-08-11 2024-02-15 GM Global Technology Operations LLC Supervisory electrical control architecture for av and manual driving
JP2024168770A (ja) * 2023-05-24 2024-12-05 日立Astemo株式会社 車両運動制御装置、車両運動制御方法
DE102024110169A1 (de) * 2024-04-11 2025-10-16 Bayerische Motoren Werke Aktiengesellschaft Fahrassistenzsystems für ein fahrzeug, verfahren zum betreiben eines fahrassistenzsystems, speichermedium, fahrzeug
DE102024110167A1 (de) * 2024-04-11 2025-10-16 Bayerische Motoren Werke Aktiengesellschaft Fahrassistenzsystems für ein fahrzeug, verfahren zum betreiben eines fahrassistenzsystems, speichermedium, fahrzeug

Citations (4)

* Cited by examiner, † Cited by third party
Publication number Priority date Publication date Assignee Title
JP2006347528A (ja) * 2005-05-16 2006-12-28 Xanavi Informatics Corp 自動車の走行制御装置及び方法
JP2009051487A (ja) * 2007-07-31 2009-03-12 Nissan Motor Co Ltd 車両用走行制御装置および車両用走行制御方法
JP2012051441A (ja) * 2010-08-31 2012-03-15 Toyota Motor Corp 自動運転車両制御装置
JP2015058890A (ja) * 2013-09-20 2015-03-30 株式会社デンソー 走行軌道生成装置、および走行軌道生成プログラム

Family Cites Families (1)

* Cited by examiner, † Cited by third party
Publication number Priority date Publication date Assignee Title
JP5417386B2 (ja) * 2011-07-01 2014-02-12 日立オートモティブシステムズ株式会社 車両運動制御装置

Patent Citations (4)

* Cited by examiner, † Cited by third party
Publication number Priority date Publication date Assignee Title
JP2006347528A (ja) * 2005-05-16 2006-12-28 Xanavi Informatics Corp 自動車の走行制御装置及び方法
JP2009051487A (ja) * 2007-07-31 2009-03-12 Nissan Motor Co Ltd 車両用走行制御装置および車両用走行制御方法
JP2012051441A (ja) * 2010-08-31 2012-03-15 Toyota Motor Corp 自動運転車両制御装置
JP2015058890A (ja) * 2013-09-20 2015-03-30 株式会社デンソー 走行軌道生成装置、および走行軌道生成プログラム

Cited By (7)

* Cited by examiner, † Cited by third party
Publication number Priority date Publication date Assignee Title
CN113544033A (zh) * 2019-02-28 2021-10-22 标致雪铁龙汽车股份有限公司 在弯道中超车时的车辆速度调节
EP3770034A1 (fr) * 2019-07-25 2021-01-27 Renault S.A.S. Procédé de pilotage d'un véhicule automobile
FR3099113A1 (fr) * 2019-07-25 2021-01-29 Renault S.A.S Procédé de pilotage d’un véhicule automobile
CN114789714A (zh) * 2021-01-08 2022-07-26 丰田自动车株式会社 车辆控制装置
CN114789714B (zh) * 2021-01-08 2024-03-05 丰田自动车株式会社 车辆控制装置
US20240208498A1 (en) * 2022-12-27 2024-06-27 Toyota Motor Engineering & Manufacturing North America, Inc. Adaptive driveforce for speed limit control
US12286109B2 (en) * 2022-12-27 2025-04-29 Toyota Motor Engineering & Manufacturing North America, Inc. Adaptive driveforce for speed limit control

Also Published As

Publication number Publication date
JP6597528B2 (ja) 2019-10-30
JP2018039401A (ja) 2018-03-15
US20190232970A1 (en) 2019-08-01

Similar Documents

Publication Publication Date Title
JP6597528B2 (ja) 加減速制御システム、加減速制御方法
JP6658414B2 (ja) 加減速制御システム、加減速制御方法
US11383698B2 (en) Device and method for controlling vehicle movement, and device and method for generating target course
JP4497231B2 (ja) 車両用速度制御装置
JP6961995B2 (ja) 運転支援装置
JP6322726B2 (ja) アクセルペダルからの要請により第一の目標速度から第二の目標速度に変更する際の加速のレートを制限する車両速度制御システム及び方法
CN106662021B (zh) 车辆控制装置和车辆控制方法
US20150336587A1 (en) Driving assist device
CN107428339B (zh) 行驶控制装置及行驶控制方法
JP5503260B2 (ja) 車両運動制御装置
JP2017056810A (ja) 車両の制御装置
JP2006297993A (ja) 駆動力制御装置
CN110431058B (zh) 行驶控制装置、车辆及行驶控制方法
JP4424387B2 (ja) 走行制御装置
JP2019127081A (ja) 車両の自動運転制御装置及び自動運転制御方法
JP2018090064A (ja) 走行制御装置、車両、走行制御装置の制御方法、プログラム
CN105593089B (zh) 车辆的行驶控制装置
CN115009277A (zh) 一种汽车自适应巡航系统下坡控制方法及系统
JP2020032893A (ja) 車両運動制御装置
CN110431297A (zh) 行驶控制装置、车辆及行驶控制方法
JP2019119298A (ja) 車両用制御装置
JP7268464B2 (ja) 車両制御装置
JP2004322729A (ja) 走行制御装置
JP2014000900A (ja) 車両制御装置
JP2009173104A (ja) 車両の運動制御装置

Legal Events

Date Code Title Description
121 Ep: the epo has been informed by wipo that ep was designated in this application

Ref document number: 17848812

Country of ref document: EP

Kind code of ref document: A1

NENP Non-entry into the national phase

Ref country code: DE

122 Ep: pct application non-entry in european phase

Ref document number: 17848812

Country of ref document: EP

Kind code of ref document: A1