WO2017199707A1 - アキュムレータおよび冷凍サイクル - Google Patents

アキュムレータおよび冷凍サイクル Download PDF

Info

Publication number
WO2017199707A1
WO2017199707A1 PCT/JP2017/016319 JP2017016319W WO2017199707A1 WO 2017199707 A1 WO2017199707 A1 WO 2017199707A1 JP 2017016319 W JP2017016319 W JP 2017016319W WO 2017199707 A1 WO2017199707 A1 WO 2017199707A1
Authority
WO
WIPO (PCT)
Prior art keywords
desiccant
refrigerant
pipe
accumulator
phase refrigerant
Prior art date
Legal status (The legal status is an assumption and is not a legal conclusion. Google has not performed a legal analysis and makes no representation as to the accuracy of the status listed.)
Ceased
Application number
PCT/JP2017/016319
Other languages
English (en)
French (fr)
Japanese (ja)
Inventor
幸彦 武田
Current Assignee (The listed assignees may be inaccurate. Google has not performed a legal analysis and makes no representation or warranty as to the accuracy of the list.)
Denso Corp
Original Assignee
Denso Corp
Priority date (The priority date is an assumption and is not a legal conclusion. Google has not performed a legal analysis and makes no representation as to the accuracy of the date listed.)
Filing date
Publication date
Application filed by Denso Corp filed Critical Denso Corp
Priority to DE112017002550.8T priority Critical patent/DE112017002550T5/de
Priority to CN201780030265.8A priority patent/CN109154462B/zh
Publication of WO2017199707A1 publication Critical patent/WO2017199707A1/ja
Priority to US16/192,055 priority patent/US11009274B2/en
Anticipated expiration legal-status Critical
Ceased legal-status Critical Current

Links

Images

Classifications

    • FMECHANICAL ENGINEERING; LIGHTING; HEATING; WEAPONS; BLASTING
    • F25REFRIGERATION OR COOLING; COMBINED HEATING AND REFRIGERATION SYSTEMS; HEAT PUMP SYSTEMS; MANUFACTURE OR STORAGE OF ICE; LIQUEFACTION SOLIDIFICATION OF GASES
    • F25BREFRIGERATION MACHINES, PLANTS OR SYSTEMS; COMBINED HEATING AND REFRIGERATION SYSTEMS; HEAT PUMP SYSTEMS
    • F25B43/00Arrangements for separating or purifying gases or liquids; Arrangements for vaporising the residuum of liquid refrigerant, e.g. by heat
    • F25B43/006Accumulators
    • FMECHANICAL ENGINEERING; LIGHTING; HEATING; WEAPONS; BLASTING
    • F25REFRIGERATION OR COOLING; COMBINED HEATING AND REFRIGERATION SYSTEMS; HEAT PUMP SYSTEMS; MANUFACTURE OR STORAGE OF ICE; LIQUEFACTION SOLIDIFICATION OF GASES
    • F25BREFRIGERATION MACHINES, PLANTS OR SYSTEMS; COMBINED HEATING AND REFRIGERATION SYSTEMS; HEAT PUMP SYSTEMS
    • F25B40/00Subcoolers, desuperheaters or superheaters
    • FMECHANICAL ENGINEERING; LIGHTING; HEATING; WEAPONS; BLASTING
    • F25REFRIGERATION OR COOLING; COMBINED HEATING AND REFRIGERATION SYSTEMS; HEAT PUMP SYSTEMS; MANUFACTURE OR STORAGE OF ICE; LIQUEFACTION SOLIDIFICATION OF GASES
    • F25BREFRIGERATION MACHINES, PLANTS OR SYSTEMS; COMBINED HEATING AND REFRIGERATION SYSTEMS; HEAT PUMP SYSTEMS
    • F25B43/00Arrangements for separating or purifying gases or liquids; Arrangements for vaporising the residuum of liquid refrigerant, e.g. by heat
    • FMECHANICAL ENGINEERING; LIGHTING; HEATING; WEAPONS; BLASTING
    • F25REFRIGERATION OR COOLING; COMBINED HEATING AND REFRIGERATION SYSTEMS; HEAT PUMP SYSTEMS; MANUFACTURE OR STORAGE OF ICE; LIQUEFACTION SOLIDIFICATION OF GASES
    • F25BREFRIGERATION MACHINES, PLANTS OR SYSTEMS; COMBINED HEATING AND REFRIGERATION SYSTEMS; HEAT PUMP SYSTEMS
    • F25B43/00Arrangements for separating or purifying gases or liquids; Arrangements for vaporising the residuum of liquid refrigerant, e.g. by heat
    • F25B43/003Filters
    • FMECHANICAL ENGINEERING; LIGHTING; HEATING; WEAPONS; BLASTING
    • F25REFRIGERATION OR COOLING; COMBINED HEATING AND REFRIGERATION SYSTEMS; HEAT PUMP SYSTEMS; MANUFACTURE OR STORAGE OF ICE; LIQUEFACTION SOLIDIFICATION OF GASES
    • F25BREFRIGERATION MACHINES, PLANTS OR SYSTEMS; COMBINED HEATING AND REFRIGERATION SYSTEMS; HEAT PUMP SYSTEMS
    • F25B43/00Arrangements for separating or purifying gases or liquids; Arrangements for vaporising the residuum of liquid refrigerant, e.g. by heat
    • F25B43/02Arrangements for separating or purifying gases or liquids; Arrangements for vaporising the residuum of liquid refrigerant, e.g. by heat for separating lubricants from the refrigerant
    • FMECHANICAL ENGINEERING; LIGHTING; HEATING; WEAPONS; BLASTING
    • F25REFRIGERATION OR COOLING; COMBINED HEATING AND REFRIGERATION SYSTEMS; HEAT PUMP SYSTEMS; MANUFACTURE OR STORAGE OF ICE; LIQUEFACTION SOLIDIFICATION OF GASES
    • F25BREFRIGERATION MACHINES, PLANTS OR SYSTEMS; COMBINED HEATING AND REFRIGERATION SYSTEMS; HEAT PUMP SYSTEMS
    • F25B2400/00General features or devices for refrigeration machines, plants or systems, combined heating and refrigeration systems or heat-pump systems, i.e. not limited to a particular subgroup of F25B
    • F25B2400/05Compression system with heat exchange between particular parts of the system
    • F25B2400/051Compression system with heat exchange between particular parts of the system between the accumulator and another part of the cycle

Definitions

  • the disclosure in this specification relates to accumulators and refrigeration cycles.
  • Patent Document 1 discloses one form of an accumulator that is used in a refrigeration cycle and contains a desiccant.
  • a part of the desiccant is located above the highest liquid level position of the liquid refrigerant in the tank when the compressor is stopped, and the desiccant is located at a position avoiding the liquid refrigerant drop path. Is arranged. With this configuration, the accumulator of Patent Document 1 can reduce the level of noise because the desiccant is not completely immersed in the liquid refrigerant when the compressor is started.
  • Patent Document 1 can reduce the level of abnormal noise, but there is room for improvement because abnormal noise can occur due to boiling of the refrigerant from some of the desiccant present in the liquid.
  • the desiccant is installed in the upper part of the tank so as not to be immersed in the liquid, there is a risk that a useless volume that does not function as a space capable of storing liquid in the tank increases.
  • An object of the present disclosure is to provide an accumulator and a refrigeration cycle that can suppress sudden boiling from a desiccant and an increase in tank size.
  • the accumulator includes a tank, a desiccant, and a suction pipe.
  • the tank separates the refrigerant flowing into the inside into a gas phase refrigerant and a liquid phase refrigerant, the liquid phase refrigerant is stored inside, and the gas phase refrigerant flows out to the suction side of the compressor.
  • the desiccant is contained in a container to remove moisture in the refrigerant.
  • the suction pipe is installed inside the tank and has a suction port for sucking the gas-phase refrigerant.
  • the desiccant is installed inside the suction pipe.
  • the desiccant installed inside the suction pipe is discharged from the liquid phase refrigerant. You will be exposed to the gas. As a result, the pressure inside the suction pipe decreases and the temperature also decreases, so that even a desiccant with a large heat capacity can be quickly cooled. In addition, even if a slight amount of liquid refrigerant remains in the desiccant, it is possible to prevent the liquid refrigerant from becoming overheated, so that it is possible to realize a state in which rapid boiling is unlikely to occur.
  • the desiccant is installed inside the suction pipe that can also be used as a liquid storage space where the refrigerant stagnates when the compressor is stopped, it can be configured so that the wasteful volume that does not function as a liquid storage space in the tank does not increase. According to the above, it is possible to provide an accumulator that can suppress sudden boiling from the desiccant and enlargement of the tank.
  • FIG. 3 is a cross-sectional view of the III-III cross section of FIG. 2 as viewed in the direction of the arrow. It is a figure which shows the structure of the desiccant of this indication. It is sectional drawing which shows the structure of the accumulator which concerns on 2nd Embodiment of this indication.
  • the disclosed accumulator can be applied to a vehicle or stationary refrigeration cycle.
  • the refrigeration cycle can be used for air conditioning for air-conditioning a predetermined target space such as a passenger compartment, a living room, or a test room.
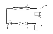
  • the refrigeration cycle 10 for air conditioning will be described.
  • the refrigeration cycle 10 includes at least a compressor 1, a condenser 2, a pressure reducing valve 3, an evaporator 4, and an accumulator 5, and a circuit in which these are annularly connected by piping.
  • the compressor 1 is a refrigerant driving device that is driven by a driving source such as an engine or a motor to suck in refrigerant and pump it.
  • the condenser 2 is an example of a heat exchanger for heat radiation because it releases the heat of the refrigerant to the outside.
  • the pressure reducing valve 3 depressurizes the liquid refrigerant condensed in the condenser 2 to form a mist-like gas-liquid two-phase state.
  • the pressure reducing valve 3 is a pressure reducing device that can be constituted by a fixed throttle such as an orifice and a nozzle, and a variable throttle that can change the passage opening.
  • the refrigerant depressurized by the pressure reducing valve 3 evaporates by absorbing heat from the air blown by the air conditioning blower in the evaporator 4.
  • the evaporator 4 is an example of a cooling heat exchanger that is installed in a case of an air conditioner and absorbs heat from outside into a refrigerant.
  • the air cooled by the evaporator 4 is adjusted to the target temperature and blown out to the air-conditioning target space.
  • the accumulator 5 functions to gas-liquid separate the refrigerant that has flowed out of the evaporator 4 and return the gas-phase refrigerant separated from the liquid-phase refrigerant to the compressor 1. Further, the accumulator 5 also functions to cause the compressor 1 to suck oil dissolved in the liquid refrigerant accumulated at the bottom of the tank 50.
  • FIG. 2 is a cross-sectional view showing the configuration of the accumulator 5.
  • the accumulator 5 separates the refrigerant that has flowed into the vapor phase refrigerant and the liquid phase refrigerant, stores the liquid phase refrigerant therein, and flows the vapor phase refrigerant to the suction side of the compressor.
  • a tank 50 is provided.
  • the arrow direction shown in FIGS. 2 and 3 indicates the direction in a state where the accumulator 5 is mounted on the refrigeration cycle 10.
  • the tank 50 includes a tank main body 502 having a space capable of storing liquid phase refrigerant therein, and a lid 501 fixed so as to cover the upper end opening of the tank main body 502. .
  • the tank body 502 and the lid 501 are made of a metal material.
  • the upper end of the tank body 502 and the lid 501 are integrated by welding.
  • the tank main body 502 has a bottomed cylindrical shape with an open upper end, and accommodates the umbrella-shaped member 51, the suction pipe 52, and the desiccant 55 therein.
  • the separated liquid phase refrigerant is stored, and the lubricating oil is stored in a state dissolved in the liquid phase refrigerant.
  • the suction pipe 52 includes an outer pipe 53 having a suction port 532 for sucking a gas-phase refrigerant, and an inner pipe 54 installed inside the outer pipe 53.
  • the lid portion 501 has a flat cylindrical shape having the same outer diameter as the tank main body portion 502.
  • the lid portion 501 is provided with a circular refrigerant inlet port 501a and a refrigerant outlet port 501b that respectively penetrate in the vertical direction.
  • the refrigerant inlet 501a is connected to the evaporator 4 through a connected pipe.
  • the refrigerant heat-exchanged by the evaporator 4 flows into the tank main body 502 through the piping and the refrigerant inlet 501a.
  • the refrigerant outlet 501b is connected to the compressor 1 through a connected pipe.
  • the gas-phase refrigerant separated inside the tank body 502 is sucked into the compressor 1 through the refrigerant outlet 501b and piping.
  • the umbrella-like member 51 is a member with which the refrigerant that has flowed vertically downward into the tank 50 from the refrigerant inlet 501a collides.
  • the umbrella-shaped member 51 has a cylindrical side wall part 511 extending in the vertical direction and a top wall part 510 that closes the upper end side of the side wall part 511, and has a shape in which the lower end side of the side wall part 511 is opened.
  • the umbrella-shaped member 51 is installed inside the tank 50 so that the top wall portion 510 exists vertically below the refrigerant inlet 501a.
  • a side wall portion 511 extending downward from the outer peripheral edge of the top wall portion 510 is located in the vicinity of the inner wall surface of the tank main body portion 502.
  • the umbrella-like member 51 is made of a metal material.
  • the inner pipe 54 in the suction pipe 52 which is a double pipe is press-fitted and fixed to a lower end 501c protruding downward with the upper end 541 fitted inside the refrigerant outlet 501b.
  • a portion facing the refrigerant inlet 501a is raised upward, and an opening is formed at a portion facing the refrigerant outlet 501b.
  • the peripheral edge forming the opening is located at a position corresponding to the refrigerant outlet 501b, and the large-diameter portion 542 and the lid portion 501 of the inner pipe 54 press-fitted and fixed to the lower end portion 501c of the lid portion 501.
  • the large-diameter portion 542 is a portion having an outer diameter dimension larger than that of the upper end portion 541 at a position below the upper end of the inner tube 54 by a predetermined length. Thus, it can be formed by being deformed so as to increase its diameter.
  • the large diameter portion 542 can be formed by resin molding using a mold.
  • the accumulator 5 separates the liquid-phase refrigerant and the gas-phase refrigerant after colliding the refrigerant introduced from the refrigerant inlet 501a with the umbrella-shaped member 51.
  • the refrigerant that has collided with the top wall portion 510 of the umbrella-shaped member 51 diffuses in the lateral direction inside the tank 50 and is guided outside the outer edge of the top wall portion 510 of the umbrella-shaped member 51 in the lateral direction of the tank 50.
  • the liquid phase refrigerant falls along the side wall portion 511 from the outer side of the outer edge of the umbrella-shaped member 51, and accumulates below the tank main body portion 502 through the inner wall of the tank main body portion 502.
  • the gas-phase refrigerant is sucked into the suction pipe 52 from the lower side of the umbrella-like member 51 through the suction port 532 at the upper end of the outer pipe 53.
  • Both the inner tube 54 and the outer tube 53 are formed by straight tubes whose axes are straight, and are accommodated in the tank body 502 in an upright posture.
  • the inner tube 54 and the outer tube 53 are installed so that their axes are coaxial.
  • the inner tube 54 is formed of a metal material including aluminum, for example.
  • the outer tube 53 is made of a material having higher heat insulation than the inner tube 54.
  • the outer tube 53 is formed of a resin material having excellent heat insulation.
  • the outer tube 53 is fixed to the inner tube 54.
  • a plurality of projecting portions 531 projecting inward from the inner wall surface are provided at the lower portion of the outer tube 53.
  • the lower portion of the inner tube 54 is press-fitted inside the plurality of protrusions 531, so that the outer tube 53 is integrated with the inner tube 54 with the plurality of protrusions 531 supporting the outer peripheral surface of the lower portion of the inner tube 54. It is fixed to.
  • the upper end opening that forms the gas-phase refrigerant suction port 532 enters a position above the lower end of the umbrella-shaped member 51 with a predetermined gap between the upper-end opening 510 and the top wall 510 of the umbrella-shaped member 51. It is installed to be in a state.
  • the outer pipe 53 is formed with an oil return hole 533 penetrating the lower end portion. Therefore, the lower end portion of the outer tube 53 is closed except for the oil return hole 533.
  • the oil return hole 533 is located at a position facing the lower end opening 540 of the inner tube 54.
  • the oil return hole 533 sucks the lubricating oil stored in the lower part of the tank main body 502 by the gas-phase refrigerant flowing into the inner pipe 54 and passes it through the inner pipe 54 together with the gas-phase refrigerant so as to be outside the accumulator 5. It is an oil return passage for sending to.
  • the oil return hole 533 contributes to ensuring the amount of oil circulation in the refrigeration cycle 10.
  • the outer pipe 53 has a plurality of supports that protrude inward on the inner surface and have a vertical length that contacts most of the vertical length of the desiccant 55.
  • a part 530 is provided.
  • the support portion 530 is a portion integrally formed with the outer tube 53 and is formed of a resin material.
  • the support part 530 is configured by a rib having a rectangular cross section.
  • the plurality of support portions 530 are arranged at intervals in the circumferential direction inside the outer tube 53.
  • the desiccant 55 is installed in a state of being interposed between the plurality of support portions 530 and the outer surface of the inner tube 54.
  • the desiccant 55 is pressed against the inner tube 54 side by the circumferential length in which the plurality of support portions 530 are arranged in the circumferential direction. A sufficient area can be secured.
  • the desiccant 55 is installed in contact with both the inner tube 54 and the outer tube 53 while being supported by the plurality of support portions 530.
  • the plurality of support portions 530 hold the desiccant 55 so as not to move in the radial direction with the desiccant 55 sandwiched between the inner tube 54.
  • the support portion 530 is formed in a shape that is inclined with respect to the side surface of the inner tube 54 so that the lower end surface is located on the inner side as it goes downward, that is, closer to the inner tube 54. With this configuration, the lower inclined end surface supports the bottom of the desiccant 55, and the downward movement of the desiccant 55 can be suppressed. Further, the support portion 530 may be configured to have a stepped portion having a protruding dimension larger from the inner surface of the outer tube 53 in the lower portion than in the upper portion so as to support the bottom portion of the desiccant 55. With this configuration, a portion having a large downward projecting dimension can support the bottom of the desiccant 55 and prevent the desiccant 55 from slipping downward.
  • the support portion 530 is formed in a shape that is inclined with respect to the side surface of the inner tube 54 so that the upper end surface is located on the outer side in the radial direction, that is, away from the inner tube 54.
  • the accumulator 5 In manufacturing the accumulator 5, first, with the umbrella-shaped member 51 set, the upper end portion 541 of the inner tube 54 is inserted into the lower portion of the lid portion 501, expanded and fixed, and the lid portion 501 and the suction tube 52 are integrated. To make goods. When the outer tube 53 is press-fitted and fixed to the integrated product, a desiccant 55 is installed between the plurality of support portions 530 and the inner tube 54. Next, the lid 501 and the upper end of the tank main body 502 are welded and joined with the suction pipe 52 positioned in the tank main body 502. Thereby, the accumulator 5 which incorporates the desiccant 55, the suction pipe 52, and the umbrella-shaped member 51 can be manufactured.
  • the desiccant 55 is for removing moisture in the refrigerant in the refrigeration cycle 10, and is particles of zeolite or the like as shown in FIG. 4 and is accommodated in a bag-like container 550.
  • the container 550 is made of a cloth such as ferrite, and has flexibility and functions as a filter. Since the shape of the container 550 is easily deformed, the container 550 is easily deformed into a shape that follows the outer peripheral surface of the inner tube 54 when installed between the plurality of support portions 530 and the inner tube 54.
  • the refrigerant that has flowed out of the evaporator 4 flows into the tank body 502 from the refrigerant inlet 501a.
  • the refrigerant flowing into the tank main body 502 is separated into gas and liquid by being guided to the inner wall of the tank main body 502 by the umbrella-like member 51, and the liquid phase refrigerant is separated from the gas-phase refrigerant and separated from the tank main body 502. Gather at the bottom of The gas-phase refrigerant passes through the desiccant 55 inside the outer pipe 53, then passes through the inside of the inner pipe 54, and flows out from the refrigerant outlet 501b to the compressor 1 side.
  • the accumulator 5 includes a tank 50 in which the refrigerant flowing into the interior is separated into a gas phase refrigerant and a liquid phase refrigerant, the liquid phase refrigerant is stored inside, and the gas phase refrigerant flows out to the suction side of the compressor 1; And a suction pipe 52 that is installed in the tank 50 and sucks the gas-phase refrigerant.
  • the desiccant 55 is installed inside the suction pipe 52.
  • the liquid phase refrigerant in the suction pipe 52 is quickly discharged from the accumulator 5, so that the liquid phase refrigerant in the suction pipe 52 that has been sleeping when the compressor 1 is stopped is It is discharged outside the accumulator 5. Therefore, the desiccant 55 in the suction pipe 52 is exposed to the gas. That is, when the compressor is started, the desiccant 55 is not immediately applied to the liquid refrigerant. As described above, since the pressure in the suction pipe 52 is lowered and the temperature is lowered by the discharge of the liquid-phase refrigerant by the operation of the compressor 1, the drying agent 55 having a large heat capacity can be quickly cooled. Thereby, it is possible to suppress sudden boiling without causing the desiccant 55 to be submerged when the compressor 1 is started.
  • the desiccant 55 is present in the suction pipe 52 that can be used as a liquid storage space in which the refrigerant stagnates when the compressor 1 is stopped, the interior of the tank 50 is prevented so that a useless volume that does not function as a liquid storage available space does not increase.
  • a space can be configured.
  • the accumulator 5 reduces the volume in which the desiccant is immersed in the liquid refrigerant in order to reduce the size of the noise caused by boiling, and the tank volume opposite to this. Realize a configuration that does not suffer from the dilemma of suppressing the increase. According to the above, the accumulator 5 can suppress sudden boiling from the desiccant 55 and an increase in the size of the tank 50.
  • the suction pipe 52 includes an outer pipe 53 having a suction port 532 and an inner pipe 54 installed inside the outer pipe 53.
  • the desiccant 55 can be installed in the inner space of the inner tube 54 or in the space formed between the inner surface of the outer tube 53 and the outer surface of the inner tube 54. Regardless of where the desiccant 55 is installed, the desiccant 55 that can be exposed to the liquid refrigerant by the stagnation of the refrigerant when the compressor 1 is stopped is immediately exposed to the gas-phase refrigerant by the suction input when the compressor 1 is started. Can be put into a state. In this way, the configuration of the accumulator 5 that suppresses sudden boiling can be realized regardless of the installation location of the desiccant 55 in the suction pipe 52.
  • the desiccant 55 is installed inside the outer tube 53 and outside the inner tube 54. According to this configuration, the desiccant 55 can be installed so as to be sandwiched between the inner surface of the outer tube 53 and the outer surface of the inner tube 54, and a structure in which the holding force and assemblability of the desiccant 55 can be easily secured can be provided.
  • the inner tube 54 is made of a metal material having thermal conductivity.
  • the desiccant 55 is installed inside the suction pipe 52 in contact with the inner pipe 54. According to this configuration, when the compressor 1 is started, the liquid phase refrigerant in the suction pipe 52 is discharged and the pressure is lowered, so that the ambient temperature of the desiccant is lowered and the inner pipe 54 is cooled. By cooling the inner tube 54, the temperature of the desiccant 55 can be quickly reduced. Thereby, since the temperature drop of the desiccant 55 is not greatly delayed with respect to the pressure drop, the refrigerant adhering to the desiccant 55 is not overheated. Therefore, even when the liquid refrigerant is slightly left inside the desiccant 55, the occurrence of a sudden boiling can be suppressed.
  • the inner tube 54 is made of a metal material having thermal conductivity.
  • the outer tube 53 is made of a material having higher heat insulation than the inner tube 54.
  • the desiccant 55 is placed in contact with both the inner tube 54 and the outer tube 53. According to this configuration, since the desiccant 55 is also in contact with the outer tube 53 in addition to the operation and effect when the desiccant 55 is installed in contact with the inner tube 54 as described above, It can be reduced that the heat of the liquid refrigerant in contact with the outer surface of the outer tube 53 is transferred to the desiccant 55. Thereby, since the heat transfer from the liquid refrigerant to the desiccant 55 is suppressed and the heat transfer from the desiccant 55 to the inner pipe 54 is promoted, a rapid temperature drop of the desiccant 55 can be realized.
  • the outer tube 53 has a plurality of support portions 530 that protrude inward on the inner surface.
  • the desiccant 55 is in contact with the inner tube 54 while being supported by the plurality of support portions 530. According to this configuration, since the desiccant 55 can be pressed against the inner tube 54 by the plurality of support portions 530, the contact area between the desiccant 55 and the outer surface of the inner tube 54 can be increased, and a reliable contact state can be provided. Furthermore, since the desiccant 55 comes into contact with the plurality of support portions 530, the contact area between the desiccant 55 and the outer tube 53 can be reduced. Thereby, since the heat transfer from the liquid phase refrigerant to the desiccant 55 is suppressed and the heat transfer from the desiccant 55 to the inner tube 54 is promoted, a rapid temperature drop of the desiccant 55 can be reliably realized.
  • the refrigeration cycle 10 also decompresses the accumulator 5, the compressor 1 that circulates the refrigerant, the condenser 2 that releases the heat of the refrigerant discharged from the compressor 1, and the refrigerant that flows out of the condenser 2.
  • the pressure reducing valve 3 and the evaporator 4 that absorbs heat by the refrigerant decompressed by the pressure reducing valve 3 are provided.
  • the accumulator 5 described above since the accumulator 5 described above is provided, the liquid-phase refrigerant in the suction pipe 52 can be quickly discharged out of the accumulator 5 when the compressor 1 is started, and is installed in the suction pipe 52.
  • the desiccant 55 that has been applied can be exposed to the gas.
  • the pressure inside the suction pipe 52 is lowered and the temperature is also lowered. Therefore, even the desiccant 55 having a large heat capacity can be quickly cooled, and a sudden boiling can hardly occur inside the desiccant 55. . Furthermore, since the desiccant 55 is installed in the suction pipe 52, it can be used as a liquid storage space in which the refrigerant stagnates when the compressor 1 is stopped, and the useless volume that cannot be stored in the accumulator 5 can be prevented from increasing. By providing the accumulator 5 having the above effects, it is possible to provide the refrigeration cycle 10 that can suppress sudden boiling from the desiccant 55 and an increase in the size of the tank 50 of the accumulator 5.
  • the accumulator 105 of the second embodiment is different from the accumulator 5 of the first embodiment in the configuration of the suction pipe.
  • the suction pipe of the accumulator 105 includes an end portion 152 a provided with the suction port 1532 and another end portion 152 b communicating with the refrigerant outlet 501 b through which the gas-phase refrigerant flows out to the suction side of the compressor 1.
  • tube 152 which has.
  • the single tube 152 has a shape that bends in a U shape from one end 152a to the other end 152b.
  • the one end 152a may be a first end, and the other end 152b may be a second end.
  • the desiccant 55 is held by a holding member 1530 installed on the one end 152 a side inside the single tube 152.
  • the desiccant 55 is installed in the single tube 152 in a state of being curved in a C shape or a donut shape. Further, the cross-sectional area of the part where the desiccant 55 is installed in the single pipe 152 is formed larger than the other parts in the single pipe 152.
  • the holding member 1530 is provided with an opening that communicates with the suction port 1532 or that corresponds to the suction port 1532.
  • the gas-phase refrigerant sucked into the single pipe 152 from the suction port 1532 passes through the desiccant 55, flows down in the single pipe 152 toward the refrigerant outlet 501b, and is discharged toward the compressor 1 side. .
  • the flow of the refrigerant generated when the compressor 1 is started in the accumulator 105 is the same as that described in the first embodiment. Accordingly, also in the accumulator 105, the pressure in the single pipe 152 is lowered and the temperature is also lowered by the discharge of the liquid phase refrigerant, so that the desiccant 55 can be cooled quickly. Thereby, in the accumulator 105, it is possible to suppress sudden boiling without causing the desiccant 55 to be submerged when the compressor 1 is started.
  • the desiccant 55 is installed inside the single tube 152.
  • the desiccant 55 can be installed by being inserted into the single tube 152 from the one end portion 152a side, and a structure in which assembling property of the desiccant 55 can be easily secured can be provided.
  • the single pipe 152 includes an oil return hole 533 that allows the inside and the outside of the single pipe 152 to communicate with each other.
  • the desiccant 55 is installed inside the single pipe 152 between the oil return hole 533 and the suction port 1532. According to this configuration, since the desiccant 55 is not provided in a place where the oil returns from the liquid refrigerant accumulated at the bottom of the tank main body 502 into the single pipe 152, the refrigerant is easily discharged from the desiccant 55. There is an effect.
  • this accumulator 105 contributes to quickly cooling the desiccant 55.
  • the disclosure of this specification is not limited to the illustrated embodiments.
  • the disclosure encompasses the illustrated embodiments and variations by those skilled in the art based thereon.
  • the disclosure is not limited to the combination of components and elements shown in the embodiments, and various modifications can be made.
  • the disclosure can be implemented in various combinations.
  • the disclosure may have additional parts that can be added to the embodiments.
  • the disclosure includes those in which the components and elements of the embodiment are omitted.
  • the disclosure encompasses parts, element replacements, or combinations between one embodiment and another.
  • the technical scope disclosed is not limited to the description of the embodiments.
  • the refrigerant inlet and the refrigerant outlet in the above-described embodiment are not limited to the form provided in the ceiling portion of the tank 50.
  • the refrigerant inlet may be provided in the upper part of the tank 50, and the refrigerant outlet may be provided in the lower part of the tank 50.
  • coolant outflow port may connect with the channel
  • path which penetrates a side wall in the tank 50 may be sufficient.
  • the accumulators 5 and 105 described above are not limited to being applied only to the refrigeration cycle 10 described in the above embodiment.
  • the accumulators 5 and 105 can be applied to a refrigerant cycle having components and circuit configurations different from those of the refrigeration cycle 10.
  • a filter for removing sludge and the like contained in oil may be installed in the oil return passage in the above-described embodiment.
  • the desiccant 55 in the first embodiment described above may be installed inside the inner tube 54.

Landscapes

  • Engineering & Computer Science (AREA)
  • Physics & Mathematics (AREA)
  • Mechanical Engineering (AREA)
  • Thermal Sciences (AREA)
  • General Engineering & Computer Science (AREA)
  • Chemical & Material Sciences (AREA)
  • Analytical Chemistry (AREA)
  • Power Engineering (AREA)
  • Compressor (AREA)
  • Air-Conditioning For Vehicles (AREA)
PCT/JP2017/016319 2016-05-19 2017-04-25 アキュムレータおよび冷凍サイクル Ceased WO2017199707A1 (ja)

Priority Applications (3)

Application Number Priority Date Filing Date Title
DE112017002550.8T DE112017002550T5 (de) 2016-05-19 2017-04-25 Speicher und kältemittelkreislauf
CN201780030265.8A CN109154462B (zh) 2016-05-19 2017-04-25 储液器和制冷循环
US16/192,055 US11009274B2 (en) 2016-05-19 2018-11-15 Accumulator, and refrigeration cycle

Applications Claiming Priority (2)

Application Number Priority Date Filing Date Title
JP2016100779A JP6500839B2 (ja) 2016-05-19 2016-05-19 アキュムレータおよび冷凍サイクル
JP2016-100779 2016-05-19

Related Child Applications (1)

Application Number Title Priority Date Filing Date
US16/192,055 Continuation US11009274B2 (en) 2016-05-19 2018-11-15 Accumulator, and refrigeration cycle

Publications (1)

Publication Number Publication Date
WO2017199707A1 true WO2017199707A1 (ja) 2017-11-23

Family

ID=60326565

Family Applications (1)

Application Number Title Priority Date Filing Date
PCT/JP2017/016319 Ceased WO2017199707A1 (ja) 2016-05-19 2017-04-25 アキュムレータおよび冷凍サイクル

Country Status (5)

Country Link
US (1) US11009274B2 (enExample)
JP (1) JP6500839B2 (enExample)
CN (1) CN109154462B (enExample)
DE (1) DE112017002550T5 (enExample)
WO (1) WO2017199707A1 (enExample)

Families Citing this family (9)

* Cited by examiner, † Cited by third party
Publication number Priority date Publication date Assignee Title
CN108426392A (zh) * 2018-05-05 2018-08-21 珠海格力电器股份有限公司 冷媒提纯装置
CN108759196A (zh) * 2018-06-13 2018-11-06 苏州逸新和电子有限公司 一种过滤性能好的储液器
CN108826769B (zh) * 2018-08-15 2024-02-20 珠海凌达压缩机有限公司 一种容积可变的储液器及空调系统
JP7192347B2 (ja) * 2018-09-21 2022-12-20 株式会社富士通ゼネラル 冷凍サイクル装置
CN112013580A (zh) * 2019-05-30 2020-12-01 株式会社不二工机 储液器及其组装方法
CN112013581A (zh) * 2019-05-30 2020-12-01 株式会社不二工机 储液器及其组装方法
JP7475061B2 (ja) 2021-08-24 2024-04-26 株式会社不二工機 アキュームレータ
CN119998602A (zh) * 2022-11-30 2025-05-13 株式会社爱信 歧管
CN116499155A (zh) * 2023-03-13 2023-07-28 岚图汽车科技有限公司 一种带能量回收的气液分离器及空调系统

Citations (3)

* Cited by examiner, † Cited by third party
Publication number Priority date Publication date Assignee Title
JP2000088402A (ja) * 1998-07-13 2000-03-31 Showa Alum Corp アキュムレ―タ
JP2008164272A (ja) * 2006-12-05 2008-07-17 Calsonic Kansei Corp 貯液器
JP5849909B2 (ja) * 2012-09-07 2016-02-03 株式会社デンソー アキュムレータ

Family Cites Families (7)

* Cited by examiner, † Cited by third party
Publication number Priority date Publication date Assignee Title
JPS5849909B2 (ja) 1978-09-29 1983-11-07 日本アビオニクス株式会社 連続用紙のマ−ク自動読取りさん孔機
US4768355A (en) * 1987-01-27 1988-09-06 Ford Motor Company Accumulator with refrigerant processing cartridge for automotive air conditioning system
US6389842B1 (en) * 2001-01-23 2002-05-21 Delphi Technologies, Inc. Accumulator-dehydrator assembly with anti-bump expansion chamber “J”-tube
JP5760993B2 (ja) 2011-11-29 2015-08-12 株式会社デンソー アキュムレータ
CN103712385B (zh) * 2012-10-02 2017-09-19 株式会社不二工机 储存器
JP5991496B2 (ja) 2014-11-21 2016-09-14 株式会社NttデータSms 監視システム、監視方法、及びプログラム
JP6537911B2 (ja) * 2015-07-17 2019-07-03 株式会社不二工機 アキュームレータ

Patent Citations (3)

* Cited by examiner, † Cited by third party
Publication number Priority date Publication date Assignee Title
JP2000088402A (ja) * 1998-07-13 2000-03-31 Showa Alum Corp アキュムレ―タ
JP2008164272A (ja) * 2006-12-05 2008-07-17 Calsonic Kansei Corp 貯液器
JP5849909B2 (ja) * 2012-09-07 2016-02-03 株式会社デンソー アキュムレータ

Also Published As

Publication number Publication date
JP6500839B2 (ja) 2019-04-17
CN109154462B (zh) 2020-11-10
US20190086131A1 (en) 2019-03-21
DE112017002550T5 (de) 2019-02-14
CN109154462A (zh) 2019-01-04
US11009274B2 (en) 2021-05-18
JP2017207251A (ja) 2017-11-24

Similar Documents

Publication Publication Date Title
WO2017199707A1 (ja) アキュムレータおよび冷凍サイクル
JP5849909B2 (ja) アキュムレータ
JP3925158B2 (ja) 冷媒凝縮器
JP6537911B2 (ja) アキュームレータ
JP2003090643A (ja) 冷凍サイクル装置
JP6430465B2 (ja) 気液分離器
JP2017207251A5 (enExample)
US6341647B1 (en) Separator-integrated condenser for vehicle air conditioner
JP2008249242A (ja) 冷凍サイクル用アキュムレータ
US10712064B2 (en) Apparatus for separating and storing liquid refrigerant in refrigerant circuit
CN109073298B (zh) 制冷剂容器
JP6514981B2 (ja) アキュームレータ
JP6815036B2 (ja) アキュームレータ
EP3293471B1 (en) Accumulator
JP2017198408A (ja) アキュムレータ
JP2003042601A (ja) 受液器
EP3293472B1 (en) Accumulator
JP2000074527A (ja) 受液器一体型冷媒凝縮器
CN110857825B (zh) 存储制冷剂循环回路的制冷剂的设备及运行该设备的方法
JP4897464B2 (ja) 蒸気圧縮式冷凍サイクル
JP2007071511A (ja) アキュームレータ構造
JP6924438B2 (ja) 貯液器
KR20120002107A (ko) 자동차 공기조화장치용 리시버 드라이어
WO2018088127A1 (ja) アキュムレータ
EP4656974A1 (en) Accumulator

Legal Events

Date Code Title Description
121 Ep: the epo has been informed by wipo that ep was designated in this application

Ref document number: 17799137

Country of ref document: EP

Kind code of ref document: A1

122 Ep: pct application non-entry in european phase

Ref document number: 17799137

Country of ref document: EP

Kind code of ref document: A1