WO2017170766A1 - 走行支援装置 - Google Patents

走行支援装置 Download PDF

Info

Publication number
WO2017170766A1
WO2017170766A1 PCT/JP2017/013054 JP2017013054W WO2017170766A1 WO 2017170766 A1 WO2017170766 A1 WO 2017170766A1 JP 2017013054 W JP2017013054 W JP 2017013054W WO 2017170766 A1 WO2017170766 A1 WO 2017170766A1
Authority
WO
WIPO (PCT)
Prior art keywords
travel
vehicle
region
support device
setting unit
Prior art date
Legal status (The legal status is an assumption and is not a legal conclusion. Google has not performed a legal analysis and makes no representation as to the accuracy of the status listed.)
Ceased
Application number
PCT/JP2017/013054
Other languages
English (en)
French (fr)
Japanese (ja)
Inventor
洋章 新野
政雄 大岡
隆大 成田
Current Assignee (The listed assignees may be inaccurate. Google has not performed a legal analysis and makes no representation or warranty as to the accuracy of the list.)
Denso Corp
Original Assignee
Denso Corp
Priority date (The priority date is an assumption and is not a legal conclusion. Google has not performed a legal analysis and makes no representation as to the accuracy of the date listed.)
Filing date
Publication date
Application filed by Denso Corp filed Critical Denso Corp
Priority to US16/089,988 priority Critical patent/US10661794B2/en
Publication of WO2017170766A1 publication Critical patent/WO2017170766A1/ja
Anticipated expiration legal-status Critical
Ceased legal-status Critical Current

Links

Images

Classifications

    • BPERFORMING OPERATIONS; TRANSPORTING
    • B60VEHICLES IN GENERAL
    • B60TVEHICLE BRAKE CONTROL SYSTEMS OR PARTS THEREOF; BRAKE CONTROL SYSTEMS OR PARTS THEREOF, IN GENERAL; ARRANGEMENT OF BRAKING ELEMENTS ON VEHICLES IN GENERAL; PORTABLE DEVICES FOR PREVENTING UNWANTED MOVEMENT OF VEHICLES; VEHICLE MODIFICATIONS TO FACILITATE COOLING OF BRAKES
    • B60T7/00Brake-action initiating means
    • B60T7/12Brake-action initiating means for automatic initiation; for initiation not subject to will of driver or passenger
    • BPERFORMING OPERATIONS; TRANSPORTING
    • B60VEHICLES IN GENERAL
    • B60TVEHICLE BRAKE CONTROL SYSTEMS OR PARTS THEREOF; BRAKE CONTROL SYSTEMS OR PARTS THEREOF, IN GENERAL; ARRANGEMENT OF BRAKING ELEMENTS ON VEHICLES IN GENERAL; PORTABLE DEVICES FOR PREVENTING UNWANTED MOVEMENT OF VEHICLES; VEHICLE MODIFICATIONS TO FACILITATE COOLING OF BRAKES
    • B60T7/00Brake-action initiating means
    • B60T7/12Brake-action initiating means for automatic initiation; for initiation not subject to will of driver or passenger
    • B60T7/22Brake-action initiating means for automatic initiation; for initiation not subject to will of driver or passenger initiated by contact of vehicle, e.g. bumper, with an external object, e.g. another vehicle, or by means of contactless obstacle detectors mounted on the vehicle
    • BPERFORMING OPERATIONS; TRANSPORTING
    • B60VEHICLES IN GENERAL
    • B60TVEHICLE BRAKE CONTROL SYSTEMS OR PARTS THEREOF; BRAKE CONTROL SYSTEMS OR PARTS THEREOF, IN GENERAL; ARRANGEMENT OF BRAKING ELEMENTS ON VEHICLES IN GENERAL; PORTABLE DEVICES FOR PREVENTING UNWANTED MOVEMENT OF VEHICLES; VEHICLE MODIFICATIONS TO FACILITATE COOLING OF BRAKES
    • B60T8/00Arrangements for adjusting wheel-braking force to meet varying vehicular or ground-surface conditions, e.g. limiting or varying distribution of braking force
    • BPERFORMING OPERATIONS; TRANSPORTING
    • B60VEHICLES IN GENERAL
    • B60TVEHICLE BRAKE CONTROL SYSTEMS OR PARTS THEREOF; BRAKE CONTROL SYSTEMS OR PARTS THEREOF, IN GENERAL; ARRANGEMENT OF BRAKING ELEMENTS ON VEHICLES IN GENERAL; PORTABLE DEVICES FOR PREVENTING UNWANTED MOVEMENT OF VEHICLES; VEHICLE MODIFICATIONS TO FACILITATE COOLING OF BRAKES
    • B60T8/00Arrangements for adjusting wheel-braking force to meet varying vehicular or ground-surface conditions, e.g. limiting or varying distribution of braking force
    • B60T8/17Using electrical or electronic regulation means to control braking
    • BPERFORMING OPERATIONS; TRANSPORTING
    • B60VEHICLES IN GENERAL
    • B60TVEHICLE BRAKE CONTROL SYSTEMS OR PARTS THEREOF; BRAKE CONTROL SYSTEMS OR PARTS THEREOF, IN GENERAL; ARRANGEMENT OF BRAKING ELEMENTS ON VEHICLES IN GENERAL; PORTABLE DEVICES FOR PREVENTING UNWANTED MOVEMENT OF VEHICLES; VEHICLE MODIFICATIONS TO FACILITATE COOLING OF BRAKES
    • B60T8/00Arrangements for adjusting wheel-braking force to meet varying vehicular or ground-surface conditions, e.g. limiting or varying distribution of braking force
    • B60T8/17Using electrical or electronic regulation means to control braking
    • B60T8/1755Brake regulation specially adapted to control the stability of the vehicle, e.g. taking into account yaw rate or transverse acceleration in a curve
    • B60T8/17558Brake regulation specially adapted to control the stability of the vehicle, e.g. taking into account yaw rate or transverse acceleration in a curve specially adapted for collision avoidance or collision mitigation
    • BPERFORMING OPERATIONS; TRANSPORTING
    • B60VEHICLES IN GENERAL
    • B60WCONJOINT CONTROL OF VEHICLE SUB-UNITS OF DIFFERENT TYPE OR DIFFERENT FUNCTION; CONTROL SYSTEMS SPECIALLY ADAPTED FOR HYBRID VEHICLES; ROAD VEHICLE DRIVE CONTROL SYSTEMS FOR PURPOSES NOT RELATED TO THE CONTROL OF A PARTICULAR SUB-UNIT
    • B60W10/00Conjoint control of vehicle sub-units of different type or different function
    • B60W10/04Conjoint control of vehicle sub-units of different type or different function including control of propulsion units
    • BPERFORMING OPERATIONS; TRANSPORTING
    • B60VEHICLES IN GENERAL
    • B60WCONJOINT CONTROL OF VEHICLE SUB-UNITS OF DIFFERENT TYPE OR DIFFERENT FUNCTION; CONTROL SYSTEMS SPECIALLY ADAPTED FOR HYBRID VEHICLES; ROAD VEHICLE DRIVE CONTROL SYSTEMS FOR PURPOSES NOT RELATED TO THE CONTROL OF A PARTICULAR SUB-UNIT
    • B60W10/00Conjoint control of vehicle sub-units of different type or different function
    • B60W10/18Conjoint control of vehicle sub-units of different type or different function including control of braking systems
    • BPERFORMING OPERATIONS; TRANSPORTING
    • B60VEHICLES IN GENERAL
    • B60WCONJOINT CONTROL OF VEHICLE SUB-UNITS OF DIFFERENT TYPE OR DIFFERENT FUNCTION; CONTROL SYSTEMS SPECIALLY ADAPTED FOR HYBRID VEHICLES; ROAD VEHICLE DRIVE CONTROL SYSTEMS FOR PURPOSES NOT RELATED TO THE CONTROL OF A PARTICULAR SUB-UNIT
    • B60W10/00Conjoint control of vehicle sub-units of different type or different function
    • B60W10/20Conjoint control of vehicle sub-units of different type or different function including control of steering systems
    • BPERFORMING OPERATIONS; TRANSPORTING
    • B60VEHICLES IN GENERAL
    • B60WCONJOINT CONTROL OF VEHICLE SUB-UNITS OF DIFFERENT TYPE OR DIFFERENT FUNCTION; CONTROL SYSTEMS SPECIALLY ADAPTED FOR HYBRID VEHICLES; ROAD VEHICLE DRIVE CONTROL SYSTEMS FOR PURPOSES NOT RELATED TO THE CONTROL OF A PARTICULAR SUB-UNIT
    • B60W30/00Purposes of road vehicle drive control systems not related to the control of a particular sub-unit, e.g. of systems using conjoint control of vehicle sub-units
    • B60W30/08Active safety systems predicting or avoiding probable or impending collision or attempting to minimise its consequences
    • B60W30/095Predicting travel path or likelihood of collision
    • B60W30/0953Predicting travel path or likelihood of collision the prediction being responsive to vehicle dynamic parameters
    • BPERFORMING OPERATIONS; TRANSPORTING
    • B60VEHICLES IN GENERAL
    • B60WCONJOINT CONTROL OF VEHICLE SUB-UNITS OF DIFFERENT TYPE OR DIFFERENT FUNCTION; CONTROL SYSTEMS SPECIALLY ADAPTED FOR HYBRID VEHICLES; ROAD VEHICLE DRIVE CONTROL SYSTEMS FOR PURPOSES NOT RELATED TO THE CONTROL OF A PARTICULAR SUB-UNIT
    • B60W30/00Purposes of road vehicle drive control systems not related to the control of a particular sub-unit, e.g. of systems using conjoint control of vehicle sub-units
    • B60W30/08Active safety systems predicting or avoiding probable or impending collision or attempting to minimise its consequences
    • B60W30/095Predicting travel path or likelihood of collision
    • B60W30/0956Predicting travel path or likelihood of collision the prediction being responsive to traffic or environmental parameters
    • BPERFORMING OPERATIONS; TRANSPORTING
    • B60VEHICLES IN GENERAL
    • B60WCONJOINT CONTROL OF VEHICLE SUB-UNITS OF DIFFERENT TYPE OR DIFFERENT FUNCTION; CONTROL SYSTEMS SPECIALLY ADAPTED FOR HYBRID VEHICLES; ROAD VEHICLE DRIVE CONTROL SYSTEMS FOR PURPOSES NOT RELATED TO THE CONTROL OF A PARTICULAR SUB-UNIT
    • B60W30/00Purposes of road vehicle drive control systems not related to the control of a particular sub-unit, e.g. of systems using conjoint control of vehicle sub-units
    • B60W30/10Path keeping
    • BPERFORMING OPERATIONS; TRANSPORTING
    • B60VEHICLES IN GENERAL
    • B60WCONJOINT CONTROL OF VEHICLE SUB-UNITS OF DIFFERENT TYPE OR DIFFERENT FUNCTION; CONTROL SYSTEMS SPECIALLY ADAPTED FOR HYBRID VEHICLES; ROAD VEHICLE DRIVE CONTROL SYSTEMS FOR PURPOSES NOT RELATED TO THE CONTROL OF A PARTICULAR SUB-UNIT
    • B60W30/00Purposes of road vehicle drive control systems not related to the control of a particular sub-unit, e.g. of systems using conjoint control of vehicle sub-units
    • B60W30/14Adaptive cruise control
    • B60W30/143Speed control
    • BPERFORMING OPERATIONS; TRANSPORTING
    • B60VEHICLES IN GENERAL
    • B60WCONJOINT CONTROL OF VEHICLE SUB-UNITS OF DIFFERENT TYPE OR DIFFERENT FUNCTION; CONTROL SYSTEMS SPECIALLY ADAPTED FOR HYBRID VEHICLES; ROAD VEHICLE DRIVE CONTROL SYSTEMS FOR PURPOSES NOT RELATED TO THE CONTROL OF A PARTICULAR SUB-UNIT
    • B60W60/00Drive control systems specially adapted for autonomous road vehicles
    • B60W60/001Planning or execution of driving tasks
    • BPERFORMING OPERATIONS; TRANSPORTING
    • B62LAND VEHICLES FOR TRAVELLING OTHERWISE THAN ON RAILS
    • B62DMOTOR VEHICLES; TRAILERS
    • B62D15/00Steering not otherwise provided for
    • B62D15/02Steering position indicators ; Steering position determination; Steering aids
    • B62D15/025Active steering aids, e.g. helping the driver by actively influencing the steering system after environment evaluation
    • B62D15/0265Automatic obstacle avoidance by steering
    • GPHYSICS
    • G08SIGNALLING
    • G08GTRAFFIC CONTROL SYSTEMS
    • G08G1/00Traffic control systems for road vehicles
    • G08G1/16Anti-collision systems
    • BPERFORMING OPERATIONS; TRANSPORTING
    • B60VEHICLES IN GENERAL
    • B60TVEHICLE BRAKE CONTROL SYSTEMS OR PARTS THEREOF; BRAKE CONTROL SYSTEMS OR PARTS THEREOF, IN GENERAL; ARRANGEMENT OF BRAKING ELEMENTS ON VEHICLES IN GENERAL; PORTABLE DEVICES FOR PREVENTING UNWANTED MOVEMENT OF VEHICLES; VEHICLE MODIFICATIONS TO FACILITATE COOLING OF BRAKES
    • B60T2201/00Particular use of vehicle brake systems; Special systems using also the brakes; Special software modules within the brake system controller
    • B60T2201/02Active or adaptive cruise control system; Distance control
    • B60T2201/022Collision avoidance systems
    • BPERFORMING OPERATIONS; TRANSPORTING
    • B60VEHICLES IN GENERAL
    • B60WCONJOINT CONTROL OF VEHICLE SUB-UNITS OF DIFFERENT TYPE OR DIFFERENT FUNCTION; CONTROL SYSTEMS SPECIALLY ADAPTED FOR HYBRID VEHICLES; ROAD VEHICLE DRIVE CONTROL SYSTEMS FOR PURPOSES NOT RELATED TO THE CONTROL OF A PARTICULAR SUB-UNIT
    • B60W2554/00Input parameters relating to objects
    • BPERFORMING OPERATIONS; TRANSPORTING
    • B60VEHICLES IN GENERAL
    • B60WCONJOINT CONTROL OF VEHICLE SUB-UNITS OF DIFFERENT TYPE OR DIFFERENT FUNCTION; CONTROL SYSTEMS SPECIALLY ADAPTED FOR HYBRID VEHICLES; ROAD VEHICLE DRIVE CONTROL SYSTEMS FOR PURPOSES NOT RELATED TO THE CONTROL OF A PARTICULAR SUB-UNIT
    • B60W2554/00Input parameters relating to objects
    • B60W2554/40Dynamic objects, e.g. animals, windblown objects
    • B60W2554/404Characteristics
    • B60W2554/4041Position
    • BPERFORMING OPERATIONS; TRANSPORTING
    • B60VEHICLES IN GENERAL
    • B60WCONJOINT CONTROL OF VEHICLE SUB-UNITS OF DIFFERENT TYPE OR DIFFERENT FUNCTION; CONTROL SYSTEMS SPECIALLY ADAPTED FOR HYBRID VEHICLES; ROAD VEHICLE DRIVE CONTROL SYSTEMS FOR PURPOSES NOT RELATED TO THE CONTROL OF A PARTICULAR SUB-UNIT
    • B60W2554/00Input parameters relating to objects
    • B60W2554/80Spatial relation or speed relative to objects
    • B60W2554/802Longitudinal distance
    • BPERFORMING OPERATIONS; TRANSPORTING
    • B60VEHICLES IN GENERAL
    • B60WCONJOINT CONTROL OF VEHICLE SUB-UNITS OF DIFFERENT TYPE OR DIFFERENT FUNCTION; CONTROL SYSTEMS SPECIALLY ADAPTED FOR HYBRID VEHICLES; ROAD VEHICLE DRIVE CONTROL SYSTEMS FOR PURPOSES NOT RELATED TO THE CONTROL OF A PARTICULAR SUB-UNIT
    • B60W2554/00Input parameters relating to objects
    • B60W2554/80Spatial relation or speed relative to objects
    • B60W2554/804Relative longitudinal speed
    • BPERFORMING OPERATIONS; TRANSPORTING
    • B60VEHICLES IN GENERAL
    • B60WCONJOINT CONTROL OF VEHICLE SUB-UNITS OF DIFFERENT TYPE OR DIFFERENT FUNCTION; CONTROL SYSTEMS SPECIALLY ADAPTED FOR HYBRID VEHICLES; ROAD VEHICLE DRIVE CONTROL SYSTEMS FOR PURPOSES NOT RELATED TO THE CONTROL OF A PARTICULAR SUB-UNIT
    • B60W2554/00Input parameters relating to objects
    • B60W2554/80Spatial relation or speed relative to objects
    • B60W2554/805Azimuth angle
    • BPERFORMING OPERATIONS; TRANSPORTING
    • B60VEHICLES IN GENERAL
    • B60WCONJOINT CONTROL OF VEHICLE SUB-UNITS OF DIFFERENT TYPE OR DIFFERENT FUNCTION; CONTROL SYSTEMS SPECIALLY ADAPTED FOR HYBRID VEHICLES; ROAD VEHICLE DRIVE CONTROL SYSTEMS FOR PURPOSES NOT RELATED TO THE CONTROL OF A PARTICULAR SUB-UNIT
    • B60W2710/00Output or target parameters relating to a particular sub-units
    • B60W2710/20Steering systems
    • BPERFORMING OPERATIONS; TRANSPORTING
    • B60VEHICLES IN GENERAL
    • B60WCONJOINT CONTROL OF VEHICLE SUB-UNITS OF DIFFERENT TYPE OR DIFFERENT FUNCTION; CONTROL SYSTEMS SPECIALLY ADAPTED FOR HYBRID VEHICLES; ROAD VEHICLE DRIVE CONTROL SYSTEMS FOR PURPOSES NOT RELATED TO THE CONTROL OF A PARTICULAR SUB-UNIT
    • B60W2720/00Output or target parameters relating to overall vehicle dynamics
    • B60W2720/10Longitudinal speed
    • B60W2720/106Longitudinal acceleration

Definitions

  • This disclosure relates to a technique for driving a vehicle while avoiding surrounding objects.
  • Patent Document 1 A technique for controlling the traveling of a vehicle so as to avoid collision with the object when an object exists around the vehicle is known.
  • an avoidance point is set on each of a plurality of straight lines connecting the object detection point and the vehicle so that the vehicle does not approach the object. Is described. The avoidance point is set closer to the vehicle as the relative speed of the vehicle with respect to the object is higher.
  • Patent Document 1 a virtual white line is set on the vehicle side from the avoidance point, and a target lane on which the vehicle travels is estimated based on the virtual white line and an actually detected white line or another virtual white line. Is described. According to the technique described in Patent Document 1, the vehicle tries to avoid an object existing ahead by controlling the traveling of the vehicle so as not to deviate from the estimated target lane.
  • the virtual straight line is set on the vehicle side further than the avoidance point set on the vehicle side with respect to the object detection point.
  • the inventor's detailed examination has found that the target lane estimated based on the virtual white line, that is, the region where the vehicle is allowed to travel is narrowed.
  • the travel support apparatus includes a recognition unit, a region setting unit, a travel setting unit, and a travel control unit.
  • the recognition unit recognizes the object and the traveling path based on detection information acquired from a sensor that detects an object around the vehicle and a traveling path on which the vehicle travels.
  • the region setting unit sets a non-travelable region in which vehicle entry is prohibited around the object on the basis of the relative speed of the vehicle with respect to the object recognized by the recognition unit, and further, the region excluding the non-travelable region on the travel path Is set as a travel permission area where the vehicle travels.
  • the travel setting unit sets at least one of the target vehicle speed and the target travel locus of the vehicle traveling in the travel permission region set by the region setting unit.
  • the travel control unit controls the travel of the vehicle based on at least one of the target vehicle speed and the target travel locus set by the travel setting unit.
  • the travel prohibition area that prohibits entry of the vehicle around the object is set, and the area other than the travel prohibition area on the travel path is set as the travel permission area in which the vehicle travels. It is possible to widen the travel permission area for avoiding travel as much as possible. Thereby, the freedom degree when controlling driving
  • the schematic diagram explaining the setting of a travel impossible area The characteristic view which shows the relationship between relative speed, an object, and a driving impossible area.
  • the main flowchart which shows a driving assistance process The flowchart which shows the setting process of a target vehicle speed and a target travel locus.
  • the other schematic diagram explaining the setting of a travel impossible area The other schematic diagram explaining the setting of a travel impossible area.
  • the other schematic diagram explaining the setting of a travel impossible area The other schematic diagram explaining the setting of a travel impossible area.
  • the other schematic diagram explaining the setting of a travel impossible area The other schematic diagram explaining the setting of a travel impossible area.
  • the in-vehicle travel support system 2 shown in FIG. 1 includes a camera 10, a millimeter wave radar 12, a steering angle sensor 14, a vehicle speed sensor 16, a support switch 18, a travel support device 20, a powertrain system 40, A brake system 42 and a steering system 44 are provided.
  • the camera 10 is attached to each of the front side and the rear side of the vehicle, and outputs image data obtained by imaging the periphery of the vehicle 100 to the driving support device 20 as detection information.
  • the millimeter wave radar 12 is attached to each of the front side and the rear side of the vehicle, and the transmitted millimeter wave is received until a reflected wave reflected by an object such as another vehicle and a pedestrian around the vehicle is received. Based on the time, the distance to the object is calculated. Furthermore, the azimuth, that is, the angle of the object with respect to the vehicle is determined by the reception direction of the reflected wave. The millimeter wave radar 12 outputs the calculated distance and angle to the driving support device 20 as detection information.
  • the steering angle sensor 14 detects the steering angle of the vehicle.
  • the vehicle speed sensor 16 detects the vehicle speed of the vehicle 100.
  • the driving support device 20 includes a microcomputer including a CPU and a semiconductor memory such as a RAM, a ROM, and a flash memory.
  • the driving support device 20 may be equipped with one microcomputer or a plurality of microcomputers.
  • Each function of the driving support device 20 is realized by the CPU executing a program stored in a non-transitional physical recording medium such as a ROM or a flash memory. By executing this program, a method corresponding to the program is executed.
  • the travel support device 20 includes a control determination unit 22, a recognition unit 24, a region setting unit 26, a travel setting unit 28, and a travel control unit 30 as functions configured by the CPU executing a program. It has.
  • the method for realizing these elements constituting the driving support device 20 is not limited to software, and some or all of the elements are realized by using hardware combining logic circuits, analog circuits, and the like. Also good.
  • the control determination unit 22 permits the travel support device 20 to control the travel of the vehicle if the support switch 18 is on, and prohibits the travel support device 20 from controlling the travel of the vehicle if the support switch 18 is off.
  • the recognition unit 24 Based on detection information acquired from the camera 10 and the millimeter wave radar 12 that detect an object around the vehicle and a travel path along which the vehicle travels, the recognition unit 24 travels around the object around the vehicle and the vehicle. Recognize the road.
  • the recognizing unit 24 uses the left and right white lines 202 and 204 of the road 200 on which the vehicle 100 travels based on image data of the vehicle 100 in front of and behind the travel direction acquired from the camera 10.
  • the lane width indicated by the distance between the white lines, the curvature of the white line, and the like are calculated as the position of the road and the width of the travel path.
  • the recognition unit 24 recognizes the travel lane 210 as a travel path on which the vehicle 100 travels by recognizing the white lines 202 and 204.
  • the recognition unit 24 captures the relative position of the vehicle 100 with respect to the left and right white lines 202 and 204 that define the travel lane 210, that is, the position of the vehicle 100 in the lane width direction of the travel lane 210, for example. Recognition based on the angle of the white lines 202 and 204 to be recognized.
  • the recognition unit 24 recognizes an object existing around the vehicle 100 based on detection information on the front side and the rear side in the traveling direction of the vehicle 100 acquired from the camera 10 and the millimeter wave radar 12. For example, the recognizing unit 24 recognizes the stationary object 110 existing in the travel lane 210 on which the vehicle 100 travels, another vehicle (not shown) traveling in the same travel lane 210, the adjacent lane and the opposite lane adjacent to the travel lane 210, respectively. Recognize other vehicle (not shown) traveling.
  • the recognizing unit 24 calculates the position of the object around the vehicle 100 and the moving speed of the object from the amount of change in the position of the vehicle based on the image data in the front and rear of the vehicle acquired from the camera 10. To do. Further, the recognition unit 24 determines the position of the object around the vehicle 100, the relative speed of the vehicle with respect to the object, and the like based on the detection information of the vehicle 100 in the traveling direction and the traveling direction rear obtained from the millimeter wave radar 12. calculate.
  • the region setting unit 26 sets a non-travelable region that prohibits entry of the vehicle around the object based on the travel lane of the vehicle recognized by the recognition unit 24 and the recognition result of the object around the vehicle.
  • An area excluding the travel impossible area is set as a travel permission area in which the vehicle travels.
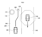
  • the recognition unit 24 when the recognition unit 24 recognizes a stationary object 110 such as a road construction place or a parked vehicle as an object that exists in front of the vehicle 100 in the traveling direction, the region setting unit 26 An untravelable area 112 that prohibits entry of the vehicle 100 is set.
  • the area setting unit 26 sets an area between the white line 204 having a longer distance from the non-travelable area 112 of the white lines 202 and 204 on both sides of the travel lane 210 and the non-travelable area 112 as the travel permission area 220.
  • the travel permission area 220 is an area where the vehicle 100 travels in the travel lane 210 except for the travel impossible area 112.
  • the travel setting unit 28 sets the target vehicle speed so that the size of the travel impossible region 112 set by the region setting unit 26 is such that the vehicle 100 can travel in the travel permitted region 220 while avoiding the travel impossible region 112. To do.
  • the target vehicle speed By setting the target vehicle speed, the relative speed of the vehicle 100 with respect to objects around the vehicle 100 is adjusted.
  • the travel setting unit 28 sets the center position of the travel permission area 220 in the lane width direction along the travel direction of the vehicle 100 as the target travel locus 300 on which the vehicle 100 travels. That is, the target travel locus 300 is set such that the distance between each of the travel impossible area 112 that defines the travel permission region 220 and the white line 204 and the target travel locus 300 is equal.
  • the traveling trajectory of the vehicle 100 represents a trajectory in which the position of a specific portion of the vehicle 100 changes in time series as the vehicle 100 travels.
  • the specific location of the vehicle 100 is the position of the center of gravity of the vehicle 100, the center of the front end of the vehicle 100 in the vehicle width direction, the center of the rear end of the vehicle 100 in the vehicle width direction, or the like.
  • the width of the travel lane 210 is the travel permission area.
  • the travel setting unit 28 sets the center position in the width direction of the travel lane 210 along the travel direction of the vehicle 100 as the target travel locus 300 through which the vehicle 100 passes. That is, the target travel locus 300 is set so that the distance between each of the white lines 202 and 204 and the target travel locus 300 is equal.
  • the travel setting unit 28 sets the current vehicle speed as the target vehicle speed of the vehicle 100 traveling in the travel permission area 220 when the vehicle 100 can travel in the travel permission area 220 while avoiding the travel prohibition area 112.
  • the travel setting unit 28 reduces the target vehicle speed below the current vehicle speed when the vehicle 100 cannot travel in the travel permission region 220 while avoiding the travel disabled region 112.
  • the travel setting unit 28 determines that the vehicle 100 can travel in the travel permission area 220 while avoiding the travel impossible area 112.
  • the travel setting unit 28 determines that the vehicle 100 cannot travel in the travel permitted area 220 while avoiding the travel disabled area 112 when the width of the travel permitted area 220 in the lane width direction is narrower than the vehicle width of the vehicle 100.
  • whether or not the vehicle 100 can travel in the travel permission area 220 may be determined by whether or not the width of the travel permission area 220 in the lane width direction satisfies the following expression (1).
  • W1 is the vehicle width of the vehicle 100
  • W2 is the width of the travel permission region 220 in the lane width direction
  • ⁇ W is a margin for the vehicle 100 to pass through the travel permission region 220.
  • the travel setting unit 28 determines that the vehicle 100 can travel in the travel permission area 220 if the width W2 of the travel permission area 220 satisfies the expression (1), and the width W2 of the travel permission area 220 is equal to the expression (1). If not, vehicle 100 determines that it cannot travel in travel permission area 220.
  • the region setting unit 26 reduces the non-travelable region 112 when the relative speed of the vehicle 100 with respect to the stationary object 110 decreases.
  • the travel-permitted area 220 becomes larger, so that the vehicle 100 can travel in the travel-permitted area 220 while avoiding the travel-unavailable area 112 without entering the travel-unavailable area 112.
  • the area setting unit 26 moves in a non-travelable area set around a stationary object such as a road construction site or a parked vehicle, as in other vehicles traveling around the vehicle. It is desirable to make it larger than the untravelable area set around the object. This is because when the stationary object is a movable object such as a parked vehicle, there is a possibility that the movement suddenly starts.
  • the travel control unit 30 controls the powertrain system 40, the brake system 42, and the steering system 44 so that the vehicle 100 travels on the target travel locus 300 at the target vehicle speed set by the travel setting unit 28. That is, the traveling control unit 30 controls the vehicle speed and the steering angle of the vehicle.
  • the powertrain system 40 controls the opening degree of the throttle device and the fuel injection amount in accordance with the drive output commanded from the travel control unit 30, and the motor is used as the drive source. If it is installed, the power supplied to the motor is controlled.
  • the brake system 42 controls an actuator provided in the hydraulic circuit of the hydraulic brake according to the braking force commanded from the traveling control unit 30.
  • the brake system 42 controls the power supplied to the motor according to the braking force commanded from the travel control unit 30 to generate the braking force by the regenerative braking. May be.
  • the steering system 44 drives the steering handle according to the torque commanded from the travel control unit 30 to steer the vehicle.
  • the driving support process executed by the driving support device 20 will be described based on the flowcharts of FIGS. 4 and 5.
  • the flowchart of FIG. 4 is always executed at predetermined time intervals.
  • control determination unit 22 determines whether or not the output of the support switch 18 is on. When the determination in S400 is No and the support switch 18 is off, the driving support device 20 is prohibited from executing the driving support control, and thus this process ends.
  • the travel support device 20 When the determination in S400 is Yes and the support switch 18 is on, the travel support device 20 is permitted to execute the travel support control.
  • the recognition unit 24 recognizes an object around the vehicle and a travel path on which the vehicle travels based on detection information acquired from the camera 10 and the millimeter wave radar 12.
  • the recognition unit 24 determines whether an object exists around the vehicle. If the determination in S404 is No and there is no object around the vehicle, the travel setting unit 28 determines in S406 based on the recognition result recognized by the recognition unit 24 in the state where no object exists around the vehicle. The target vehicle speed and the target travel locus are set, and the process proceeds to S412.
  • the travel setting unit 28 sets, for example, a vehicle speed set in advance by cruise control or the like as the target vehicle speed, and sets the center position in the width direction of the travel path along the travel direction of the vehicle 100 as the target travel locus.
  • the area setting unit 26 sets a non-running area forbidding the vehicle around the object. Further, the area setting unit 26 sets an area excluding the travel impossible area on the travel path as a travel permission area in which the vehicle travels.
  • the travel setting unit 28 sets the target vehicle speed of the vehicle so that the size of the travel impossible region becomes a size that allows the vehicle to travel in the travel permitted region while avoiding the travel disabled region. Then, a target travel locus of the vehicle traveling in the travel permission area is set. Details of the processing of S410 will be described later.
  • the traveling control unit 30 controls the powertrain system 40, the brake system 42, and the steering system 44 based on the target vehicle speed and the target traveling locus set in S406 or S410.
  • Target vehicle speed and target travel locus setting process The process executed in S410 of FIG. 4 will be described based on the flowchart of FIG.
  • the travel setting unit 28 determines whether there is an area in which the vehicle can travel while avoiding the travel impossible area, that is, whether the vehicle can travel in the travel permitted area.
  • the travel setting unit 28 sets the current vehicle speed to the target vehicle speed in S422. And the process proceeds to S426.
  • the travel setting unit 28 determines whether to decrease or increase the target vehicle speed from the current vehicle speed. As a result, the relative speed of the vehicle with respect to the object decreases, and the non-running region set around the object becomes small. As a result, the travel permission area increases. After execution of S424, the process proceeds to S426.
  • FIG. 6 An example in which the determination in S420 is No and the vehicle cannot travel in the travel permission area while avoiding the travel unallowable area is shown in the upper part of FIG. 6 and the upper part of FIG.
  • the other vehicle 120 is traveling in front of the vehicle 100 in both the left and right adjacent lanes 230 and 234 adjacent to the travel lane 232 of the vehicle 100. Since the vehicle speed of the vehicle 100 is faster than the vehicle speed of the other vehicle 120, the left and right non-travelable regions 122 set by the region setting unit 26 around the other vehicle 120 based on the current relative speed of the vehicle 100 with respect to the other vehicle 120 are There is no area where 100 can avoid and run.
  • the travel setting unit 28 decreases the vehicle speed of the vehicle 100 and decreases the relative speed of the vehicle 100 with respect to the other vehicle 120.
  • the non-running region 124 set by the region setting unit 26 around the other vehicle 120 is shown in FIG. It becomes smaller than the upper travel impossible area 122.
  • a travel permission area 220 is set between the left and right travel impossible areas 124.
  • the travel prohibition area 124 is set based on the relative speed of the vehicle 100 with respect to the other vehicle 120 lowered by the travel setting unit 28, and the travel permission area 220 is set between the left and right travel prohibition areas 124. This is the next time S408 in FIG. 4 is executed. Therefore, even if the relative speed of the vehicle 100 with respect to the other vehicle 120 decreases this time, the non-travelable region 112 remains in the upper stage of FIG.
  • the travel setting unit 28 sets the travel permission area 220 in the lane width direction along the travel direction of the vehicle 100.
  • the center position is set as the target travel locus 300.
  • the travel setting unit 28 accelerates the vehicle speed of the vehicle 100 and decreases the relative speed of the vehicle 100 with respect to the other vehicle 120.
  • the non-running region 124 set by the region setting unit 26 around the other vehicle 120 as shown in the lower part of FIG. Smaller than.
  • the travel permission area 222 is larger than the travel permission area 220.
  • the vehicle 100 can travel in the travel permission area 222 while avoiding the travel impossible area 124.
  • the travel prohibition area 124 is set based on the reduced relative speed, and the travel permission area 222 larger than the travel permission area 220 is set next time. This is a time when S408 of No. 4 is executed. Therefore, even if the relative speed is decreased this time, the travel impossible area 112 remains in the upper stage of FIG.
  • the vehicle 100 may determine that it is not necessary to avoid the other vehicle 120.
  • the region setting unit 26 sets the travel permission region 220 of the vehicle 100 based only on the travel impossible region 112 that is set around the stationary object 110 that exists in front of the travel direction of the vehicle 100 in the travel lane 210.
  • the travel setting unit 28 sets the center position in the lane width direction along the travel direction of the vehicle 100 in the travel permission area set in S408 of FIG. 4 as the target travel locus. [3. effect] In the embodiment described above, the following effects can be obtained.
  • the non-running region is set larger than when the object is moving. Therefore, even if the stationary object moves suddenly, the vehicle 100 avoids the object. Can run.
  • the non-travelable region is set larger than when there is no location where it cannot be detected. Thereby, even if another object appears behind the stationary object, the vehicle 100 can travel avoiding the appearing object.
  • the camera 10 and the millimeter wave radar 12 correspond to sensors
  • the stationary object 110 and the other vehicle 120 correspond to objects around the vehicle
  • the traveling lanes 210, 232, and 240 correspond to the vehicles. Corresponds to the traveling road.
  • S402 corresponds to the processing as the recognition unit 24
  • S408 corresponds to the processing as the region setting unit 26
  • S406, S410, and S420 to S426 correspond to the processing as the travel setting unit 28.
  • S412 corresponds to the processing as the traveling control unit 30.
  • the traveling lane divided by the white line was illustrated as a traveling path where the vehicle 100 drive
  • a road surface that is partitioned by a step indicating a boundary between the road and the outside of the road, a non-paved surface, a wall, or the like may be used as the traveling road.
  • the driving support device 20 may set the size of the non-driving area according to the type of the object. For example, when the object is a human, the driving support device 20 sets the non-driving region larger than that when the object is not a human.
  • the driving support device 20 sets the non-driving regions 122 and 124 around the other vehicle 120 that travels in the adjacent lanes 230 and 234 of the vehicle 100 in the same direction as the vehicle 100. Further, in FIG. 7, the travel support device 20 sets the travel impossible regions 122 and 124 around the other vehicle 120 that travels in the adjacent lane 212 of the vehicle 100 in the same direction as the vehicle 100.
  • the driving support device 20 determines that there is no need to travel avoiding the other vehicle 120 that travels in a lane different from the travel lane of the vehicle 100, and does not need to set the travel impossibility region.
  • the travel support device 20 may set at least one of the target vehicle speed and the target travel locus of the vehicle so that the vehicle can travel in the travel permission region while avoiding the travel disabled region.
  • the vehicle 100 can travel in the travel permission area 220 set based on the current vehicle speed of the vehicle 100. Therefore, the driving support device 20 only needs to set the target travel locus 300 of the vehicle 100 that travels in the travel permission area 220 in order to avoid the stationary object 110 without changing the target vehicle speed.
  • the driving support device 20 does not change the target travel locus of the vehicle 100 and sets a travel permission area 220 in which the vehicle 100 can travel by reducing only the target vehicle speed from the current vehicle speed. it can.
  • the camera 10 and the millimeter wave radar 12 are used as sensors.
  • the sensor may be only one of the camera 10 or the millimeter wave radar 12, for example. Further, as the sensor, another sensor may be added to the camera 10 and the millimeter wave radar 12, or another sensor other than the camera 10 and the millimeter wave radar 12 may be used.
  • a plurality of functions of one constituent element in the above embodiment may be realized by a plurality of constituent elements, or a single function of one constituent element may be realized by a plurality of constituent elements.
  • a plurality of functions possessed by a plurality of constituent elements may be realized by one constituent element, or a single function realized by a plurality of constituent elements may be realized by one constituent element.
  • at least a part of the configuration of the above embodiment may be added to or replaced with the configuration of the other embodiment.
  • all the aspects contained in the technical thought specified only by the wording described in the claim are embodiment of this indication.
  • a travel support system 2 including the travel support device 20 as a constituent element, a travel support program for causing a computer to function as the travel support device 20, and the travel support program are recorded.
  • the present disclosure can also be realized in various forms such as a recording medium and a driving support method.

Landscapes

  • Engineering & Computer Science (AREA)
  • Transportation (AREA)
  • Mechanical Engineering (AREA)
  • Chemical & Material Sciences (AREA)
  • Combustion & Propulsion (AREA)
  • Automation & Control Theory (AREA)
  • Physics & Mathematics (AREA)
  • General Physics & Mathematics (AREA)
  • Human Computer Interaction (AREA)
  • Traffic Control Systems (AREA)
  • Steering Control In Accordance With Driving Conditions (AREA)
  • Control Of Driving Devices And Active Controlling Of Vehicle (AREA)
  • Regulating Braking Force (AREA)
PCT/JP2017/013054 2016-04-01 2017-03-29 走行支援装置 Ceased WO2017170766A1 (ja)

Priority Applications (1)

Application Number Priority Date Filing Date Title
US16/089,988 US10661794B2 (en) 2016-04-01 2017-03-29 Driving assistance device

Applications Claiming Priority (2)

Application Number Priority Date Filing Date Title
JP2016074264A JP6668895B2 (ja) 2016-04-01 2016-04-01 走行支援装置
JP2016-074264 2016-04-01

Publications (1)

Publication Number Publication Date
WO2017170766A1 true WO2017170766A1 (ja) 2017-10-05

Family

ID=59964673

Family Applications (1)

Application Number Title Priority Date Filing Date
PCT/JP2017/013054 Ceased WO2017170766A1 (ja) 2016-04-01 2017-03-29 走行支援装置

Country Status (3)

Country Link
US (1) US10661794B2 (enExample)
JP (1) JP6668895B2 (enExample)
WO (1) WO2017170766A1 (enExample)

Cited By (5)

* Cited by examiner, † Cited by third party
Publication number Priority date Publication date Assignee Title
EP3725630A1 (en) * 2019-04-19 2020-10-21 Mazda Motor Corporation Vehicle control device
EP3725629A1 (en) * 2019-04-19 2020-10-21 Mazda Motor Corporation Vehicle control device
EP3725628A1 (en) * 2019-04-19 2020-10-21 Mazda Motor Corporation Vehicle control device
EP3730368A1 (en) * 2019-04-24 2020-10-28 Mazda Motor Corporation Vehicle control device, method and computer program product
EP3730367A1 (en) * 2019-04-24 2020-10-28 Mazda Motor Corporation Vehicle control device, method and computer program product

Families Citing this family (15)

* Cited by examiner, † Cited by third party
Publication number Priority date Publication date Assignee Title
US10982961B2 (en) * 2015-10-16 2021-04-20 Hitachi Automotive Systems, Ltd. Vehicle control system and vehicle control device
JP6668895B2 (ja) * 2016-04-01 2020-03-18 株式会社デンソー 走行支援装置
EP3640919A4 (en) * 2017-06-15 2021-01-27 Veoneer Sweden AB Driving assistance device, driving assistance method, and computer program
JP2019142303A (ja) * 2018-02-19 2019-08-29 マツダ株式会社 車両制御装置
US11353872B2 (en) * 2018-07-30 2022-06-07 Pony Ai Inc. Systems and methods for selectively capturing and filtering sensor data of an autonomous vehicle
US11110922B2 (en) 2018-11-05 2021-09-07 Zoox, Inc. Vehicle trajectory modification for following
JP7215391B2 (ja) * 2019-10-15 2023-01-31 トヨタ自動車株式会社 自動運転車両の車両制御システム及び車両制御装置
WO2021234427A1 (ja) * 2020-05-22 2021-11-25 日産自動車株式会社 走行支援方法及び走行支援装置
KR20220064470A (ko) * 2020-11-11 2022-05-19 현대자동차주식회사 교차로 대향차 충돌방지 보조 장치 및 그 방법
JP7367660B2 (ja) * 2020-11-24 2023-10-24 トヨタ自動車株式会社 運転支援システム
JP7590863B2 (ja) * 2020-12-21 2024-11-27 イビデン株式会社 エレクトレットの製造方法
US11891061B2 (en) * 2021-06-17 2024-02-06 Ford Global Technologies, Llc Target vehicle detection
JP7706815B2 (ja) * 2021-08-25 2025-07-14 馭勢科技(北京)有限公司 車両意思決定計画方法、装置、デバイスおよび媒体
JP7635106B2 (ja) * 2021-09-30 2025-02-25 本田技研工業株式会社 運転支援装置、運転支援方法、およびプログラム
JP7768164B2 (ja) * 2023-02-15 2025-11-12 トヨタ自動車株式会社 車両制御装置

Citations (4)

* Cited by examiner, † Cited by third party
Publication number Priority date Publication date Assignee Title
JPH0261798A (ja) * 1988-08-26 1990-03-01 Fujitsu Ten Ltd 車間距離制御装置
JP2003205764A (ja) * 2002-01-16 2003-07-22 Nissan Motor Co Ltd 車両用走行制御装置
JP2007257519A (ja) * 2006-03-24 2007-10-04 Mazda Motor Corp 車両用走行支援装置
JP2015203972A (ja) * 2014-04-14 2015-11-16 株式会社日本自動車部品総合研究所 走行経路生成装置

Family Cites Families (15)

* Cited by examiner, † Cited by third party
Publication number Priority date Publication date Assignee Title
JP3477142B2 (ja) * 2000-03-29 2003-12-10 三菱電機株式会社 Dsrc車載器
JP2002061789A (ja) * 2000-08-17 2002-02-28 Ishikawajima Harima Heavy Ind Co Ltd マルチストレーナ
JP4654796B2 (ja) 2005-06-29 2011-03-23 トヨタ自動車株式会社 車両用運転支援装置
ITTO20060214A1 (it) * 2006-03-22 2007-09-23 Kria S R L Sistema di rilevamento di veicoli
CN101878122B (zh) * 2007-11-30 2013-05-22 沃尔沃拉斯特瓦格纳公司 识别车轮模块的位置的方法
JP5896505B2 (ja) 2010-12-17 2016-03-30 アルパイン株式会社 車両運転支援装置
US10089537B2 (en) * 2012-05-18 2018-10-02 Magna Electronics Inc. Vehicle vision system with front and rear camera integration
BR112015001745B1 (pt) * 2012-07-27 2021-11-23 Nissan Motor Co., Ltd Dispositivo de detecção de objeto tridimensional e método de detecção de objeto tridimensional
JP6052865B2 (ja) * 2012-10-29 2016-12-27 アルパイン株式会社 車載表示制御装置および車載表示制御方法
US8868328B1 (en) * 2013-06-04 2014-10-21 The Boeing Company System and method for routing decisions in a separation management system
US9448250B2 (en) * 2013-06-08 2016-09-20 Apple Inc. Detecting mount angle of mobile device in vehicle using motion sensors
US9988047B2 (en) * 2013-12-12 2018-06-05 Magna Electronics Inc. Vehicle control system with traffic driving control
EP3162648B1 (en) * 2014-06-25 2019-04-24 Nissan Motor Co., Ltd. Vehicle control device
JP6668895B2 (ja) * 2016-04-01 2020-03-18 株式会社デンソー 走行支援装置
JP6380919B2 (ja) * 2016-09-01 2018-08-29 マツダ株式会社 車両制御装置

Patent Citations (4)

* Cited by examiner, † Cited by third party
Publication number Priority date Publication date Assignee Title
JPH0261798A (ja) * 1988-08-26 1990-03-01 Fujitsu Ten Ltd 車間距離制御装置
JP2003205764A (ja) * 2002-01-16 2003-07-22 Nissan Motor Co Ltd 車両用走行制御装置
JP2007257519A (ja) * 2006-03-24 2007-10-04 Mazda Motor Corp 車両用走行支援装置
JP2015203972A (ja) * 2014-04-14 2015-11-16 株式会社日本自動車部品総合研究所 走行経路生成装置

Cited By (8)

* Cited by examiner, † Cited by third party
Publication number Priority date Publication date Assignee Title
EP3725630A1 (en) * 2019-04-19 2020-10-21 Mazda Motor Corporation Vehicle control device
EP3725629A1 (en) * 2019-04-19 2020-10-21 Mazda Motor Corporation Vehicle control device
EP3725628A1 (en) * 2019-04-19 2020-10-21 Mazda Motor Corporation Vehicle control device
CN111824089A (zh) * 2019-04-19 2020-10-27 马自达汽车株式会社 车辆控制装置
CN111824088A (zh) * 2019-04-19 2020-10-27 马自达汽车株式会社 车辆控制装置
JP7497789B2 (ja) 2019-04-19 2024-06-11 マツダ株式会社 車両制御装置
EP3730368A1 (en) * 2019-04-24 2020-10-28 Mazda Motor Corporation Vehicle control device, method and computer program product
EP3730367A1 (en) * 2019-04-24 2020-10-28 Mazda Motor Corporation Vehicle control device, method and computer program product

Also Published As

Publication number Publication date
US20190118809A1 (en) 2019-04-25
JP2017187844A (ja) 2017-10-12
US10661794B2 (en) 2020-05-26
JP6668895B2 (ja) 2020-03-18

Similar Documents

Publication Publication Date Title
WO2017170766A1 (ja) 走行支援装置
US10676093B2 (en) Vehicle control system, vehicle control method, and storage medium
JP6493272B2 (ja) 走行支援装置
JP6152673B2 (ja) 車線変更支援装置
CN108622088B (zh) 碰撞避免装置
CN108778886B (zh) 行驶辅助装置
JP5426427B2 (ja) 走行支援装置
JP7119428B2 (ja) 運転支援装置
JP2019043313A (ja) 車両制御装置
JP7497789B2 (ja) 車両制御装置
CN107000745A (zh) 车辆的行驶控制装置以及行驶控制方法
JP6350385B2 (ja) 運転支援装置
JP2017100681A (ja) 走行制御装置
WO2013186925A1 (ja) 追従制御装置
WO2016052586A1 (ja) 運転支援装置
JP2007269312A (ja) 車両用運転操作補助装置
JP2023105692A (ja) 車両の運転支援装置
JP6535537B2 (ja) 車両の運転支援装置
WO2023054195A1 (ja) 車両制御装置及び車両制御プログラム
US12304465B2 (en) Driving assistance device, driving assistance method, and storage medium
JP7619921B2 (ja) 車両衝突回避支援装置及び車両衝突回避支援プログラム
JP2025080950A (ja) 車両の制御装置及び、制御方法
JP7304378B2 (ja) 運転支援装置、運転支援方法、およびプログラム
CN110576858B (zh) 车辆控制装置、车辆控制方法和记录介质
JP2019020351A (ja) 物標認識装置、物標認識装置を備えた車両制御装置、及び物標認識方法

Legal Events

Date Code Title Description
NENP Non-entry into the national phase

Ref country code: DE

121 Ep: the epo has been informed by wipo that ep was designated in this application

Ref document number: 17775300

Country of ref document: EP

Kind code of ref document: A1

122 Ep: pct application non-entry in european phase

Ref document number: 17775300

Country of ref document: EP

Kind code of ref document: A1