WO2017126352A1 - 表示装置 - Google Patents

表示装置 Download PDF

Info

Publication number
WO2017126352A1
WO2017126352A1 PCT/JP2017/000379 JP2017000379W WO2017126352A1 WO 2017126352 A1 WO2017126352 A1 WO 2017126352A1 JP 2017000379 W JP2017000379 W JP 2017000379W WO 2017126352 A1 WO2017126352 A1 WO 2017126352A1
Authority
WO
WIPO (PCT)
Prior art keywords
image
display
pedestrian
superimposed
displayed
Prior art date
Legal status (The legal status is an assumption and is not a legal conclusion. Google has not performed a legal analysis and makes no representation as to the accuracy of the status listed.)
Ceased
Application number
PCT/JP2017/000379
Other languages
English (en)
French (fr)
Japanese (ja)
Inventor
研一 笠澄
森 俊也
久保田 孝介
正人 尾形
Current Assignee (The listed assignees may be inaccurate. Google has not performed a legal analysis and makes no representation or warranty as to the accuracy of the list.)
Panasonic Intellectual Property Management Co Ltd
Original Assignee
Panasonic Intellectual Property Management Co Ltd
Priority date (The priority date is an assumption and is not a legal conclusion. Google has not performed a legal analysis and makes no representation as to the accuracy of the date listed.)
Filing date
Publication date
Application filed by Panasonic Intellectual Property Management Co Ltd filed Critical Panasonic Intellectual Property Management Co Ltd
Priority to US16/068,393 priority Critical patent/US10571701B2/en
Priority to DE112017000437.3T priority patent/DE112017000437B4/de
Publication of WO2017126352A1 publication Critical patent/WO2017126352A1/ja
Anticipated expiration legal-status Critical
Ceased legal-status Critical Current

Links

Images

Classifications

    • GPHYSICS
    • G02OPTICS
    • G02BOPTICAL ELEMENTS, SYSTEMS OR APPARATUS
    • G02B27/00Optical systems or apparatus not provided for by any of the groups G02B1/00 - G02B26/00, G02B30/00
    • G02B27/01Head-up displays
    • G02B27/0179Display position adjusting means not related to the information to be displayed
    • BPERFORMING OPERATIONS; TRANSPORTING
    • B60VEHICLES IN GENERAL
    • B60KARRANGEMENT OR MOUNTING OF PROPULSION UNITS OR OF TRANSMISSIONS IN VEHICLES; ARRANGEMENT OR MOUNTING OF PLURAL DIVERSE PRIME-MOVERS IN VEHICLES; AUXILIARY DRIVES FOR VEHICLES; INSTRUMENTATION OR DASHBOARDS FOR VEHICLES; ARRANGEMENTS IN CONNECTION WITH COOLING, AIR INTAKE, GAS EXHAUST OR FUEL SUPPLY OF PROPULSION UNITS IN VEHICLES
    • B60K35/00Instruments specially adapted for vehicles; Arrangement of instruments in or on vehicles
    • B60K35/20Output arrangements, i.e. from vehicle to user, associated with vehicle functions or specially adapted therefor
    • B60K35/21Output arrangements, i.e. from vehicle to user, associated with vehicle functions or specially adapted therefor using visual output, e.g. blinking lights or matrix displays
    • B60K35/211Output arrangements, i.e. from vehicle to user, associated with vehicle functions or specially adapted therefor using visual output, e.g. blinking lights or matrix displays producing three-dimensional [3D] effects, e.g. stereoscopic images
    • BPERFORMING OPERATIONS; TRANSPORTING
    • B60VEHICLES IN GENERAL
    • B60KARRANGEMENT OR MOUNTING OF PROPULSION UNITS OR OF TRANSMISSIONS IN VEHICLES; ARRANGEMENT OR MOUNTING OF PLURAL DIVERSE PRIME-MOVERS IN VEHICLES; AUXILIARY DRIVES FOR VEHICLES; INSTRUMENTATION OR DASHBOARDS FOR VEHICLES; ARRANGEMENTS IN CONNECTION WITH COOLING, AIR INTAKE, GAS EXHAUST OR FUEL SUPPLY OF PROPULSION UNITS IN VEHICLES
    • B60K35/00Instruments specially adapted for vehicles; Arrangement of instruments in or on vehicles
    • B60K35/20Output arrangements, i.e. from vehicle to user, associated with vehicle functions or specially adapted therefor
    • B60K35/21Output arrangements, i.e. from vehicle to user, associated with vehicle functions or specially adapted therefor using visual output, e.g. blinking lights or matrix displays
    • B60K35/23Head-up displays [HUD]
    • BPERFORMING OPERATIONS; TRANSPORTING
    • B60VEHICLES IN GENERAL
    • B60KARRANGEMENT OR MOUNTING OF PROPULSION UNITS OR OF TRANSMISSIONS IN VEHICLES; ARRANGEMENT OR MOUNTING OF PLURAL DIVERSE PRIME-MOVERS IN VEHICLES; AUXILIARY DRIVES FOR VEHICLES; INSTRUMENTATION OR DASHBOARDS FOR VEHICLES; ARRANGEMENTS IN CONNECTION WITH COOLING, AIR INTAKE, GAS EXHAUST OR FUEL SUPPLY OF PROPULSION UNITS IN VEHICLES
    • B60K35/00Instruments specially adapted for vehicles; Arrangement of instruments in or on vehicles
    • B60K35/20Output arrangements, i.e. from vehicle to user, associated with vehicle functions or specially adapted therefor
    • B60K35/28Output arrangements, i.e. from vehicle to user, associated with vehicle functions or specially adapted therefor characterised by the type of the output information, e.g. video entertainment or vehicle dynamics information; characterised by the purpose of the output information, e.g. for attracting the attention of the driver
    • BPERFORMING OPERATIONS; TRANSPORTING
    • B60VEHICLES IN GENERAL
    • B60KARRANGEMENT OR MOUNTING OF PROPULSION UNITS OR OF TRANSMISSIONS IN VEHICLES; ARRANGEMENT OR MOUNTING OF PLURAL DIVERSE PRIME-MOVERS IN VEHICLES; AUXILIARY DRIVES FOR VEHICLES; INSTRUMENTATION OR DASHBOARDS FOR VEHICLES; ARRANGEMENTS IN CONNECTION WITH COOLING, AIR INTAKE, GAS EXHAUST OR FUEL SUPPLY OF PROPULSION UNITS IN VEHICLES
    • B60K35/00Instruments specially adapted for vehicles; Arrangement of instruments in or on vehicles
    • B60K35/20Output arrangements, i.e. from vehicle to user, associated with vehicle functions or specially adapted therefor
    • B60K35/29Instruments characterised by the way in which information is handled, e.g. showing information on plural displays or prioritising information according to driving conditions
    • BPERFORMING OPERATIONS; TRANSPORTING
    • B60VEHICLES IN GENERAL
    • B60KARRANGEMENT OR MOUNTING OF PROPULSION UNITS OR OF TRANSMISSIONS IN VEHICLES; ARRANGEMENT OR MOUNTING OF PLURAL DIVERSE PRIME-MOVERS IN VEHICLES; AUXILIARY DRIVES FOR VEHICLES; INSTRUMENTATION OR DASHBOARDS FOR VEHICLES; ARRANGEMENTS IN CONNECTION WITH COOLING, AIR INTAKE, GAS EXHAUST OR FUEL SUPPLY OF PROPULSION UNITS IN VEHICLES
    • B60K35/00Instruments specially adapted for vehicles; Arrangement of instruments in or on vehicles
    • B60K35/50Instruments characterised by their means of attachment to or integration in the vehicle
    • B60K35/53Movable instruments, e.g. slidable
    • BPERFORMING OPERATIONS; TRANSPORTING
    • B60VEHICLES IN GENERAL
    • B60KARRANGEMENT OR MOUNTING OF PROPULSION UNITS OR OF TRANSMISSIONS IN VEHICLES; ARRANGEMENT OR MOUNTING OF PLURAL DIVERSE PRIME-MOVERS IN VEHICLES; AUXILIARY DRIVES FOR VEHICLES; INSTRUMENTATION OR DASHBOARDS FOR VEHICLES; ARRANGEMENTS IN CONNECTION WITH COOLING, AIR INTAKE, GAS EXHAUST OR FUEL SUPPLY OF PROPULSION UNITS IN VEHICLES
    • B60K35/00Instruments specially adapted for vehicles; Arrangement of instruments in or on vehicles
    • B60K35/60Instruments characterised by their location or relative disposition in or on vehicles
    • BPERFORMING OPERATIONS; TRANSPORTING
    • B60VEHICLES IN GENERAL
    • B60KARRANGEMENT OR MOUNTING OF PROPULSION UNITS OR OF TRANSMISSIONS IN VEHICLES; ARRANGEMENT OR MOUNTING OF PLURAL DIVERSE PRIME-MOVERS IN VEHICLES; AUXILIARY DRIVES FOR VEHICLES; INSTRUMENTATION OR DASHBOARDS FOR VEHICLES; ARRANGEMENTS IN CONNECTION WITH COOLING, AIR INTAKE, GAS EXHAUST OR FUEL SUPPLY OF PROPULSION UNITS IN VEHICLES
    • B60K35/00Instruments specially adapted for vehicles; Arrangement of instruments in or on vehicles
    • B60K35/80Arrangements for controlling instruments
    • B60K35/81Arrangements for controlling instruments for controlling displays
    • GPHYSICS
    • G02OPTICS
    • G02BOPTICAL ELEMENTS, SYSTEMS OR APPARATUS
    • G02B27/00Optical systems or apparatus not provided for by any of the groups G02B1/00 - G02B26/00, G02B30/00
    • G02B27/01Head-up displays
    • G02B27/0101Head-up displays characterised by optical features
    • GPHYSICS
    • G09EDUCATION; CRYPTOGRAPHY; DISPLAY; ADVERTISING; SEALS
    • G09GARRANGEMENTS OR CIRCUITS FOR CONTROL OF INDICATING DEVICES USING STATIC MEANS TO PRESENT VARIABLE INFORMATION
    • G09G3/00Control arrangements or circuits, of interest only in connection with visual indicators other than cathode-ray tubes
    • G09G3/02Control arrangements or circuits, of interest only in connection with visual indicators other than cathode-ray tubes by tracing or scanning a light beam on a screen
    • GPHYSICS
    • G09EDUCATION; CRYPTOGRAPHY; DISPLAY; ADVERTISING; SEALS
    • G09GARRANGEMENTS OR CIRCUITS FOR CONTROL OF INDICATING DEVICES USING STATIC MEANS TO PRESENT VARIABLE INFORMATION
    • G09G5/00Control arrangements or circuits for visual indicators common to cathode-ray tube indicators and other visual indicators
    • G09G5/36Control arrangements or circuits for visual indicators common to cathode-ray tube indicators and other visual indicators characterised by the display of a graphic pattern, e.g. using an all-points-addressable [APA] memory
    • G09G5/37Details of the operation on graphic patterns
    • G09G5/377Details of the operation on graphic patterns for mixing or overlaying two or more graphic patterns
    • BPERFORMING OPERATIONS; TRANSPORTING
    • B60VEHICLES IN GENERAL
    • B60KARRANGEMENT OR MOUNTING OF PROPULSION UNITS OR OF TRANSMISSIONS IN VEHICLES; ARRANGEMENT OR MOUNTING OF PLURAL DIVERSE PRIME-MOVERS IN VEHICLES; AUXILIARY DRIVES FOR VEHICLES; INSTRUMENTATION OR DASHBOARDS FOR VEHICLES; ARRANGEMENTS IN CONNECTION WITH COOLING, AIR INTAKE, GAS EXHAUST OR FUEL SUPPLY OF PROPULSION UNITS IN VEHICLES
    • B60K2360/00Indexing scheme associated with groups B60K35/00 or B60K37/00 relating to details of instruments or dashboards
    • B60K2360/16Type of output information
    • B60K2360/177Augmented reality
    • BPERFORMING OPERATIONS; TRANSPORTING
    • B60VEHICLES IN GENERAL
    • B60KARRANGEMENT OR MOUNTING OF PROPULSION UNITS OR OF TRANSMISSIONS IN VEHICLES; ARRANGEMENT OR MOUNTING OF PLURAL DIVERSE PRIME-MOVERS IN VEHICLES; AUXILIARY DRIVES FOR VEHICLES; INSTRUMENTATION OR DASHBOARDS FOR VEHICLES; ARRANGEMENTS IN CONNECTION WITH COOLING, AIR INTAKE, GAS EXHAUST OR FUEL SUPPLY OF PROPULSION UNITS IN VEHICLES
    • B60K2360/00Indexing scheme associated with groups B60K35/00 or B60K37/00 relating to details of instruments or dashboards
    • B60K2360/20Optical features of instruments
    • B60K2360/33Illumination features
    • B60K2360/334Projection means
    • GPHYSICS
    • G01MEASURING; TESTING
    • G01CMEASURING DISTANCES, LEVELS OR BEARINGS; SURVEYING; NAVIGATION; GYROSCOPIC INSTRUMENTS; PHOTOGRAMMETRY OR VIDEOGRAMMETRY
    • G01C21/00Navigation; Navigational instruments not provided for in groups G01C1/00 - G01C19/00
    • G01C21/26Navigation; Navigational instruments not provided for in groups G01C1/00 - G01C19/00 specially adapted for navigation in a road network
    • G01C21/34Route searching; Route guidance
    • G01C21/36Input/output arrangements for on-board computers
    • G01C21/3626Details of the output of route guidance instructions
    • G01C21/3632Guidance using simplified or iconic instructions, e.g. using arrows
    • GPHYSICS
    • G02OPTICS
    • G02BOPTICAL ELEMENTS, SYSTEMS OR APPARATUS
    • G02B27/00Optical systems or apparatus not provided for by any of the groups G02B1/00 - G02B26/00, G02B30/00
    • G02B27/01Head-up displays
    • G02B27/0101Head-up displays characterised by optical features
    • G02B2027/0141Head-up displays characterised by optical features characterised by the informative content of the display
    • GPHYSICS
    • G02OPTICS
    • G02BOPTICAL ELEMENTS, SYSTEMS OR APPARATUS
    • G02B27/00Optical systems or apparatus not provided for by any of the groups G02B1/00 - G02B26/00, G02B30/00
    • G02B27/01Head-up displays
    • G02B27/0179Display position adjusting means not related to the information to be displayed
    • G02B2027/0185Displaying image at variable distance
    • GPHYSICS
    • G09EDUCATION; CRYPTOGRAPHY; DISPLAY; ADVERTISING; SEALS
    • G09GARRANGEMENTS OR CIRCUITS FOR CONTROL OF INDICATING DEVICES USING STATIC MEANS TO PRESENT VARIABLE INFORMATION
    • G09G2380/00Specific applications
    • G09G2380/10Automotive applications

Definitions

  • FIG. 5 is a graph showing temporal changes in positions of a first end and a second end of a movable screen in a display device according to an embodiment. It is a figure which shows an example of the 1st vertical image displayed by the display apparatus in the example 1 of a display. It is a figure which shows an example of the 2nd vertical image displayed by the display apparatus in the example 1 of a display. 12 is a flowchart showing a flow of operations of the display device in display example 1; 11 is a diagram for explaining the operation of the display device in display example 1. FIG. It is a figure which shows an example of the reference pattern and pedestrian image which are displayed with a display apparatus in the example 2 of a display.
  • the reference pattern superimposed on the target existing in the space is displayed in correspondence with the position of the target, for example, a marker indicating an object in front of the display medium is superimposed on the reference pattern. Based on the reference pattern, the distance from the display medium to the front object can be easily grasped.
  • the control unit 34 displays the display unit 35 so as to display the first vertical image 18a and the second vertical image 18b in a time-sharing manner based on the image data acquired from the image data generation unit (not shown).
  • the image data is data in which odd frames and even frames are alternately displayed at 60 frames / sec, for example.
  • the control unit 34 displays the first vertical image 18a in the odd frame and the second vertical image 18b in the even frame. Thereby, the first vertical image 18a and the second vertical image 18b are displayed in a time division manner.
  • the method of displaying at different distances using the movable screen 28 has been described, but instead of such a method, the first vertical image 18a and the second image can be displayed by using a method of displaying at different distances using a parallax image.
  • the vertical image 18b may be displayed.
  • the reference pattern 62 is displayed as the above-described depth image so as to be superimposed on the road 24 existing in front of the automobile 4 so that the plurality of guard rail images 60 are superimposed on the plurality of guard rails 64 (that is, the plurality of guard rails 64 Displayed to correspond to each position).
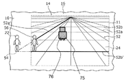
  • FIG. 16 is a diagram illustrating an example of the reference pattern 72 and the pedestrian images 56a and 56b displayed by the display device 2 in the display example 6.

Landscapes

  • Engineering & Computer Science (AREA)
  • Chemical & Material Sciences (AREA)
  • Combustion & Propulsion (AREA)
  • Transportation (AREA)
  • Mechanical Engineering (AREA)
  • Physics & Mathematics (AREA)
  • General Physics & Mathematics (AREA)
  • Computer Hardware Design (AREA)
  • Theoretical Computer Science (AREA)
  • Optics & Photonics (AREA)
  • Instrument Panels (AREA)
  • Fittings On The Vehicle Exterior For Carrying Loads, And Devices For Holding Or Mounting Articles (AREA)
PCT/JP2017/000379 2016-01-20 2017-01-10 表示装置 Ceased WO2017126352A1 (ja)

Priority Applications (2)

Application Number Priority Date Filing Date Title
US16/068,393 US10571701B2 (en) 2016-01-20 2017-01-10 Display device
DE112017000437.3T DE112017000437B4 (de) 2016-01-20 2017-01-10 Anzeigevorrichtung

Applications Claiming Priority (2)

Application Number Priority Date Filing Date Title
JP2016-009270 2016-01-20
JP2016009270A JP6512449B2 (ja) 2016-01-20 2016-01-20 表示装置

Publications (1)

Publication Number Publication Date
WO2017126352A1 true WO2017126352A1 (ja) 2017-07-27

Family

ID=59361747

Family Applications (1)

Application Number Title Priority Date Filing Date
PCT/JP2017/000379 Ceased WO2017126352A1 (ja) 2016-01-20 2017-01-10 表示装置

Country Status (4)

Country Link
US (1) US10571701B2 (enExample)
JP (1) JP6512449B2 (enExample)
DE (1) DE112017000437B4 (enExample)
WO (1) WO2017126352A1 (enExample)

Cited By (1)

* Cited by examiner, † Cited by third party
Publication number Priority date Publication date Assignee Title
JP2023127227A (ja) * 2022-03-01 2023-09-13 福井県 映像投影装置

Families Citing this family (11)

* Cited by examiner, † Cited by third party
Publication number Priority date Publication date Assignee Title
JP6569999B2 (ja) * 2016-09-14 2019-09-04 パナソニックIpマネジメント株式会社 表示装置
US11130404B2 (en) * 2017-03-31 2021-09-28 Konica Minolta, Inc. Head-up display apparatus
JP6846638B2 (ja) * 2017-06-12 2021-03-24 パナソニックIpマネジメント株式会社 画像表示装置
JP6855350B2 (ja) * 2017-08-08 2021-04-07 アルパイン株式会社 ヘッドアップディスプレイ装置、ナビゲーション装置、表示方法
JP6626069B2 (ja) * 2017-11-10 2019-12-25 矢崎総業株式会社 車両用表示装置
DE102019217250A1 (de) * 2019-11-07 2021-05-12 Volkswagen Aktiengesellschaft Identifikation eines durchzuführenden Fahrmanövers mittels zusätzlicher Bodenmarkierung
CN111076742A (zh) * 2019-12-17 2020-04-28 百度国际科技(深圳)有限公司 一种ar导航的显示方法、装置、电子设备及存储介质
DE102020211298A1 (de) 2020-09-09 2022-03-10 Volkswagen Aktiengesellschaft Verfahren zur Darstellung eines virtuellen Elements
JP7515384B2 (ja) * 2020-11-30 2024-07-12 本田技研工業株式会社 表示方法、及びシステム
JP7625452B2 (ja) * 2021-03-17 2025-02-03 ローム株式会社 ヘッドアップディスプレイ、映像補正方法及び映像補正プログラム
US20230100857A1 (en) * 2021-09-25 2023-03-30 Kipling Martin Vehicle remote control system

Citations (4)

* Cited by examiner, † Cited by third party
Publication number Priority date Publication date Assignee Title
JPH08175228A (ja) * 1994-12-26 1996-07-09 Honda Motor Co Ltd 運転支援装置
JP2006118963A (ja) * 2004-10-21 2006-05-11 Nippon Seiki Co Ltd 車両用表示装置
JP2007030673A (ja) * 2005-07-26 2007-02-08 Fujitsu Ten Ltd 車両用表示装置
JP2015219782A (ja) * 2014-05-19 2015-12-07 株式会社リコー 画像表示装置、画像表示方法及び画像表示制御プログラム

Family Cites Families (5)

* Cited by examiner, † Cited by third party
Publication number Priority date Publication date Assignee Title
WO2013113500A1 (de) 2012-02-02 2013-08-08 Audi Ag Fahrerassistenzsystem und verfahren zur virtuellen darstellung eines strassenverlaufs bei verdeckung und/oder schlechten sichtverhältnissen
JP5999032B2 (ja) 2013-06-14 2016-09-28 株式会社デンソー 車載表示装置およびプログラム
JP6232994B2 (ja) * 2013-12-16 2017-11-22 ソニー株式会社 画像処理装置、および画像処理方法、並びにプログラム
JP6440115B2 (ja) 2014-03-06 2018-12-19 パナソニックIpマネジメント株式会社 表示制御装置、表示制御方法、および表示制御プログラム
JP6273976B2 (ja) 2014-03-31 2018-02-07 株式会社デンソー 車両用表示制御装置

Patent Citations (4)

* Cited by examiner, † Cited by third party
Publication number Priority date Publication date Assignee Title
JPH08175228A (ja) * 1994-12-26 1996-07-09 Honda Motor Co Ltd 運転支援装置
JP2006118963A (ja) * 2004-10-21 2006-05-11 Nippon Seiki Co Ltd 車両用表示装置
JP2007030673A (ja) * 2005-07-26 2007-02-08 Fujitsu Ten Ltd 車両用表示装置
JP2015219782A (ja) * 2014-05-19 2015-12-07 株式会社リコー 画像表示装置、画像表示方法及び画像表示制御プログラム

Cited By (2)

* Cited by examiner, † Cited by third party
Publication number Priority date Publication date Assignee Title
JP2023127227A (ja) * 2022-03-01 2023-09-13 福井県 映像投影装置
JP7685724B2 (ja) 2022-03-01 2025-05-30 福井県 映像投影装置

Also Published As

Publication number Publication date
JP2017128234A (ja) 2017-07-27
DE112017000437B4 (de) 2021-12-30
US20190018250A1 (en) 2019-01-17
DE112017000437T5 (de) 2018-10-11
US10571701B2 (en) 2020-02-25
JP6512449B2 (ja) 2019-05-15

Similar Documents

Publication Publication Date Title
JP6512449B2 (ja) 表示装置
JP6562356B2 (ja) 表示装置
JP6569999B2 (ja) 表示装置
JP7276383B2 (ja) Hud装置、車両装置、情報表示方法。
JP6489371B2 (ja) 表示装置
JP6516223B2 (ja) 表示装置
JP7065383B2 (ja) 表示システム、情報提示システム、表示システムの制御方法、プログラム、及び移動体
JP6930120B2 (ja) 表示装置、移動体装置及び表示方法。
KR102222091B1 (ko) 표시 장치, 이동체 장치, 표시 장치의 제조 방법, 및 표시 방법
JP6610887B2 (ja) フレネルレンズ及びヘッドアップディスプレイ
JP6972549B2 (ja) Hud装置、車両装置及び表示方法
JP2019011017A (ja) 表示システム、情報提示システム、表示システムの制御方法、プログラム、及び移動体
JP2019030004A (ja) イメージ処理方法、イメージ処理装置、コンピュータ・プログラム及び記録媒体
WO2019004244A1 (ja) 表示システム、情報提示システム、表示システムの制御方法、プログラム、及び移動体
JP6628137B2 (ja) ヘッドアップディスプレイ
JP6726883B2 (ja) 表示システム、移動体、及び表示システムの制御方法
JP6925916B2 (ja) ヘッドアップディスプレイ
JP7266257B2 (ja) 表示システム、及び表示システムの制御方法

Legal Events

Date Code Title Description
121 Ep: the epo has been informed by wipo that ep was designated in this application

Ref document number: 17741232

Country of ref document: EP

Kind code of ref document: A1

WWE Wipo information: entry into national phase

Ref document number: 112017000437

Country of ref document: DE

122 Ep: pct application non-entry in european phase

Ref document number: 17741232

Country of ref document: EP

Kind code of ref document: A1