WO2017073327A1 - 複列円すいころ軸受、軌道輪および複列円すいころ軸受の製造方法 - Google Patents

複列円すいころ軸受、軌道輪および複列円すいころ軸受の製造方法 Download PDF

Info

Publication number
WO2017073327A1
WO2017073327A1 PCT/JP2016/080240 JP2016080240W WO2017073327A1 WO 2017073327 A1 WO2017073327 A1 WO 2017073327A1 JP 2016080240 W JP2016080240 W JP 2016080240W WO 2017073327 A1 WO2017073327 A1 WO 2017073327A1
Authority
WO
WIPO (PCT)
Prior art keywords
ring
molded body
groove
tapered roller
row tapered
Prior art date
Legal status (The legal status is an assumption and is not a legal conclusion. Google has not performed a legal analysis and makes no representation as to the accuracy of the status listed.)
Ceased
Application number
PCT/JP2016/080240
Other languages
English (en)
French (fr)
Japanese (ja)
Inventor
径生 堀
鳥澤 秀斗
敬史 結城
大木 力
和寛 八木田
Current Assignee (The listed assignees may be inaccurate. Google has not performed a legal analysis and makes no representation or warranty as to the accuracy of the list.)
NTN Corp
Original Assignee
NTN Corp
NTN Toyo Bearing Co Ltd
Priority date (The priority date is an assumption and is not a legal conclusion. Google has not performed a legal analysis and makes no representation as to the accuracy of the date listed.)
Filing date
Publication date
Application filed by NTN Corp, NTN Toyo Bearing Co Ltd filed Critical NTN Corp
Priority to US15/771,723 priority Critical patent/US10378076B2/en
Priority to CN201680062825.3A priority patent/CN108368877A/zh
Priority to EP16859563.5A priority patent/EP3369950A4/en
Publication of WO2017073327A1 publication Critical patent/WO2017073327A1/ja
Anticipated expiration legal-status Critical
Ceased legal-status Critical Current

Links

Images

Classifications

    • CCHEMISTRY; METALLURGY
    • C21METALLURGY OF IRON
    • C21DMODIFYING THE PHYSICAL STRUCTURE OF FERROUS METALS; GENERAL DEVICES FOR HEAT TREATMENT OF FERROUS OR NON-FERROUS METALS OR ALLOYS; MAKING METAL MALLEABLE, e.g. BY DECARBURISATION OR TEMPERING
    • C21D9/00Heat treatment, e.g. annealing, hardening, quenching or tempering, adapted for particular articles; Furnaces therefor
    • C21D9/40Heat treatment, e.g. annealing, hardening, quenching or tempering, adapted for particular articles; Furnaces therefor for rings; for bearing races
    • CCHEMISTRY; METALLURGY
    • C21METALLURGY OF IRON
    • C21DMODIFYING THE PHYSICAL STRUCTURE OF FERROUS METALS; GENERAL DEVICES FOR HEAT TREATMENT OF FERROUS OR NON-FERROUS METALS OR ALLOYS; MAKING METAL MALLEABLE, e.g. BY DECARBURISATION OR TEMPERING
    • C21D1/00General methods or devices for heat treatment, e.g. annealing, hardening, quenching or tempering
    • C21D1/06Surface hardening
    • C21D1/09Surface hardening by direct application of electrical or wave energy; by particle radiation
    • C21D1/10Surface hardening by direct application of electrical or wave energy; by particle radiation by electric induction
    • CCHEMISTRY; METALLURGY
    • C21METALLURGY OF IRON
    • C21DMODIFYING THE PHYSICAL STRUCTURE OF FERROUS METALS; GENERAL DEVICES FOR HEAT TREATMENT OF FERROUS OR NON-FERROUS METALS OR ALLOYS; MAKING METAL MALLEABLE, e.g. BY DECARBURISATION OR TEMPERING
    • C21D1/00General methods or devices for heat treatment, e.g. annealing, hardening, quenching or tempering
    • C21D1/18Hardening; Quenching with or without subsequent tempering
    • FMECHANICAL ENGINEERING; LIGHTING; HEATING; WEAPONS; BLASTING
    • F16ENGINEERING ELEMENTS AND UNITS; GENERAL MEASURES FOR PRODUCING AND MAINTAINING EFFECTIVE FUNCTIONING OF MACHINES OR INSTALLATIONS; THERMAL INSULATION IN GENERAL
    • F16CSHAFTS; FLEXIBLE SHAFTS; ELEMENTS OR CRANKSHAFT MECHANISMS; ROTARY BODIES OTHER THAN GEARING ELEMENTS; BEARINGS
    • F16C19/00Bearings with rolling contact, for exclusively rotary movement
    • F16C19/22Bearings with rolling contact, for exclusively rotary movement with bearing rollers essentially of the same size in one or more circular rows, e.g. needle bearings
    • F16C19/34Bearings with rolling contact, for exclusively rotary movement with bearing rollers essentially of the same size in one or more circular rows, e.g. needle bearings for both radial and axial load
    • F16C19/38Bearings with rolling contact, for exclusively rotary movement with bearing rollers essentially of the same size in one or more circular rows, e.g. needle bearings for both radial and axial load with two or more rows of rollers
    • FMECHANICAL ENGINEERING; LIGHTING; HEATING; WEAPONS; BLASTING
    • F16ENGINEERING ELEMENTS AND UNITS; GENERAL MEASURES FOR PRODUCING AND MAINTAINING EFFECTIVE FUNCTIONING OF MACHINES OR INSTALLATIONS; THERMAL INSULATION IN GENERAL
    • F16CSHAFTS; FLEXIBLE SHAFTS; ELEMENTS OR CRANKSHAFT MECHANISMS; ROTARY BODIES OTHER THAN GEARING ELEMENTS; BEARINGS
    • F16C19/00Bearings with rolling contact, for exclusively rotary movement
    • F16C19/22Bearings with rolling contact, for exclusively rotary movement with bearing rollers essentially of the same size in one or more circular rows, e.g. needle bearings
    • F16C19/34Bearings with rolling contact, for exclusively rotary movement with bearing rollers essentially of the same size in one or more circular rows, e.g. needle bearings for both radial and axial load
    • F16C19/38Bearings with rolling contact, for exclusively rotary movement with bearing rollers essentially of the same size in one or more circular rows, e.g. needle bearings for both radial and axial load with two or more rows of rollers
    • F16C19/383Bearings with rolling contact, for exclusively rotary movement with bearing rollers essentially of the same size in one or more circular rows, e.g. needle bearings for both radial and axial load with two or more rows of rollers with tapered rollers, i.e. rollers having essentially the shape of a truncated cone
    • F16C19/385Bearings with rolling contact, for exclusively rotary movement with bearing rollers essentially of the same size in one or more circular rows, e.g. needle bearings for both radial and axial load with two or more rows of rollers with tapered rollers, i.e. rollers having essentially the shape of a truncated cone with two rows, i.e. double-row tapered roller bearings
    • FMECHANICAL ENGINEERING; LIGHTING; HEATING; WEAPONS; BLASTING
    • F16ENGINEERING ELEMENTS AND UNITS; GENERAL MEASURES FOR PRODUCING AND MAINTAINING EFFECTIVE FUNCTIONING OF MACHINES OR INSTALLATIONS; THERMAL INSULATION IN GENERAL
    • F16CSHAFTS; FLEXIBLE SHAFTS; ELEMENTS OR CRANKSHAFT MECHANISMS; ROTARY BODIES OTHER THAN GEARING ELEMENTS; BEARINGS
    • F16C19/00Bearings with rolling contact, for exclusively rotary movement
    • F16C19/22Bearings with rolling contact, for exclusively rotary movement with bearing rollers essentially of the same size in one or more circular rows, e.g. needle bearings
    • F16C19/34Bearings with rolling contact, for exclusively rotary movement with bearing rollers essentially of the same size in one or more circular rows, e.g. needle bearings for both radial and axial load
    • F16C19/38Bearings with rolling contact, for exclusively rotary movement with bearing rollers essentially of the same size in one or more circular rows, e.g. needle bearings for both radial and axial load with two or more rows of rollers
    • F16C19/383Bearings with rolling contact, for exclusively rotary movement with bearing rollers essentially of the same size in one or more circular rows, e.g. needle bearings for both radial and axial load with two or more rows of rollers with tapered rollers, i.e. rollers having essentially the shape of a truncated cone
    • F16C19/385Bearings with rolling contact, for exclusively rotary movement with bearing rollers essentially of the same size in one or more circular rows, e.g. needle bearings for both radial and axial load with two or more rows of rollers with tapered rollers, i.e. rollers having essentially the shape of a truncated cone with two rows, i.e. double-row tapered roller bearings
    • F16C19/386Bearings with rolling contact, for exclusively rotary movement with bearing rollers essentially of the same size in one or more circular rows, e.g. needle bearings for both radial and axial load with two or more rows of rollers with tapered rollers, i.e. rollers having essentially the shape of a truncated cone with two rows, i.e. double-row tapered roller bearings in O-arrangement
    • FMECHANICAL ENGINEERING; LIGHTING; HEATING; WEAPONS; BLASTING
    • F16ENGINEERING ELEMENTS AND UNITS; GENERAL MEASURES FOR PRODUCING AND MAINTAINING EFFECTIVE FUNCTIONING OF MACHINES OR INSTALLATIONS; THERMAL INSULATION IN GENERAL
    • F16CSHAFTS; FLEXIBLE SHAFTS; ELEMENTS OR CRANKSHAFT MECHANISMS; ROTARY BODIES OTHER THAN GEARING ELEMENTS; BEARINGS
    • F16C33/00Parts of bearings; Special methods for making bearings or parts thereof
    • F16C33/30Parts of ball or roller bearings
    • F16C33/58Raceways; Race rings
    • FMECHANICAL ENGINEERING; LIGHTING; HEATING; WEAPONS; BLASTING
    • F16ENGINEERING ELEMENTS AND UNITS; GENERAL MEASURES FOR PRODUCING AND MAINTAINING EFFECTIVE FUNCTIONING OF MACHINES OR INSTALLATIONS; THERMAL INSULATION IN GENERAL
    • F16CSHAFTS; FLEXIBLE SHAFTS; ELEMENTS OR CRANKSHAFT MECHANISMS; ROTARY BODIES OTHER THAN GEARING ELEMENTS; BEARINGS
    • F16C33/00Parts of bearings; Special methods for making bearings or parts thereof
    • F16C33/30Parts of ball or roller bearings
    • F16C33/58Raceways; Race rings
    • F16C33/583Details of specific parts of races
    • FMECHANICAL ENGINEERING; LIGHTING; HEATING; WEAPONS; BLASTING
    • F16ENGINEERING ELEMENTS AND UNITS; GENERAL MEASURES FOR PRODUCING AND MAINTAINING EFFECTIVE FUNCTIONING OF MACHINES OR INSTALLATIONS; THERMAL INSULATION IN GENERAL
    • F16CSHAFTS; FLEXIBLE SHAFTS; ELEMENTS OR CRANKSHAFT MECHANISMS; ROTARY BODIES OTHER THAN GEARING ELEMENTS; BEARINGS
    • F16C33/00Parts of bearings; Special methods for making bearings or parts thereof
    • F16C33/30Parts of ball or roller bearings
    • F16C33/58Raceways; Race rings
    • F16C33/583Details of specific parts of races
    • F16C33/585Details of specific parts of races of raceways, e.g. ribs to guide the rollers
    • FMECHANICAL ENGINEERING; LIGHTING; HEATING; WEAPONS; BLASTING
    • F16ENGINEERING ELEMENTS AND UNITS; GENERAL MEASURES FOR PRODUCING AND MAINTAINING EFFECTIVE FUNCTIONING OF MACHINES OR INSTALLATIONS; THERMAL INSULATION IN GENERAL
    • F16CSHAFTS; FLEXIBLE SHAFTS; ELEMENTS OR CRANKSHAFT MECHANISMS; ROTARY BODIES OTHER THAN GEARING ELEMENTS; BEARINGS
    • F16C33/00Parts of bearings; Special methods for making bearings or parts thereof
    • F16C33/30Parts of ball or roller bearings
    • F16C33/58Raceways; Race rings
    • F16C33/60Raceways; Race rings divided or split, e.g. comprising two juxtaposed rings
    • F16C33/605Raceways; Race rings divided or split, e.g. comprising two juxtaposed rings with a separate retaining member, e.g. flange, shoulder, guide ring, secured to a race ring, adjacent to the race surface, so as to abut the end of the rolling elements, e.g. rollers, or the cage
    • FMECHANICAL ENGINEERING; LIGHTING; HEATING; WEAPONS; BLASTING
    • F16ENGINEERING ELEMENTS AND UNITS; GENERAL MEASURES FOR PRODUCING AND MAINTAINING EFFECTIVE FUNCTIONING OF MACHINES OR INSTALLATIONS; THERMAL INSULATION IN GENERAL
    • F16CSHAFTS; FLEXIBLE SHAFTS; ELEMENTS OR CRANKSHAFT MECHANISMS; ROTARY BODIES OTHER THAN GEARING ELEMENTS; BEARINGS
    • F16C33/00Parts of bearings; Special methods for making bearings or parts thereof
    • F16C33/30Parts of ball or roller bearings
    • F16C33/58Raceways; Race rings
    • F16C33/64Special methods of manufacture
    • FMECHANICAL ENGINEERING; LIGHTING; HEATING; WEAPONS; BLASTING
    • F16ENGINEERING ELEMENTS AND UNITS; GENERAL MEASURES FOR PRODUCING AND MAINTAINING EFFECTIVE FUNCTIONING OF MACHINES OR INSTALLATIONS; THERMAL INSULATION IN GENERAL
    • F16CSHAFTS; FLEXIBLE SHAFTS; ELEMENTS OR CRANKSHAFT MECHANISMS; ROTARY BODIES OTHER THAN GEARING ELEMENTS; BEARINGS
    • F16C43/00Assembling bearings
    • F16C43/04Assembling rolling-contact bearings
    • CCHEMISTRY; METALLURGY
    • C21METALLURGY OF IRON
    • C21DMODIFYING THE PHYSICAL STRUCTURE OF FERROUS METALS; GENERAL DEVICES FOR HEAT TREATMENT OF FERROUS OR NON-FERROUS METALS OR ALLOYS; MAKING METAL MALLEABLE, e.g. BY DECARBURISATION OR TEMPERING
    • C21D2221/00Treating localised areas of an article
    • CCHEMISTRY; METALLURGY
    • C21METALLURGY OF IRON
    • C21DMODIFYING THE PHYSICAL STRUCTURE OF FERROUS METALS; GENERAL DEVICES FOR HEAT TREATMENT OF FERROUS OR NON-FERROUS METALS OR ALLOYS; MAKING METAL MALLEABLE, e.g. BY DECARBURISATION OR TEMPERING
    • C21D2221/00Treating localised areas of an article
    • C21D2221/01End parts (e.g. leading, trailing end)
    • CCHEMISTRY; METALLURGY
    • C21METALLURGY OF IRON
    • C21DMODIFYING THE PHYSICAL STRUCTURE OF FERROUS METALS; GENERAL DEVICES FOR HEAT TREATMENT OF FERROUS OR NON-FERROUS METALS OR ALLOYS; MAKING METAL MALLEABLE, e.g. BY DECARBURISATION OR TEMPERING
    • C21D2221/00Treating localised areas of an article
    • C21D2221/02Edge parts
    • CCHEMISTRY; METALLURGY
    • C21METALLURGY OF IRON
    • C21DMODIFYING THE PHYSICAL STRUCTURE OF FERROUS METALS; GENERAL DEVICES FOR HEAT TREATMENT OF FERROUS OR NON-FERROUS METALS OR ALLOYS; MAKING METAL MALLEABLE, e.g. BY DECARBURISATION OR TEMPERING
    • C21D2221/00Treating localised areas of an article
    • C21D2221/10Differential treatment of inner with respect to outer regions, e.g. core and periphery, respectively
    • FMECHANICAL ENGINEERING; LIGHTING; HEATING; WEAPONS; BLASTING
    • F16ENGINEERING ELEMENTS AND UNITS; GENERAL MEASURES FOR PRODUCING AND MAINTAINING EFFECTIVE FUNCTIONING OF MACHINES OR INSTALLATIONS; THERMAL INSULATION IN GENERAL
    • F16CSHAFTS; FLEXIBLE SHAFTS; ELEMENTS OR CRANKSHAFT MECHANISMS; ROTARY BODIES OTHER THAN GEARING ELEMENTS; BEARINGS
    • F16C2223/00Surface treatments; Hardening; Coating
    • F16C2223/10Hardening, e.g. carburizing, carbo-nitriding
    • F16C2223/18Hardening, e.g. carburizing, carbo-nitriding with induction hardening
    • FMECHANICAL ENGINEERING; LIGHTING; HEATING; WEAPONS; BLASTING
    • F16ENGINEERING ELEMENTS AND UNITS; GENERAL MEASURES FOR PRODUCING AND MAINTAINING EFFECTIVE FUNCTIONING OF MACHINES OR INSTALLATIONS; THERMAL INSULATION IN GENERAL
    • F16CSHAFTS; FLEXIBLE SHAFTS; ELEMENTS OR CRANKSHAFT MECHANISMS; ROTARY BODIES OTHER THAN GEARING ELEMENTS; BEARINGS
    • F16C2240/00Specified values or numerical ranges of parameters; Relations between them
    • F16C2240/30Angles, e.g. inclinations
    • FMECHANICAL ENGINEERING; LIGHTING; HEATING; WEAPONS; BLASTING
    • F16ENGINEERING ELEMENTS AND UNITS; GENERAL MEASURES FOR PRODUCING AND MAINTAINING EFFECTIVE FUNCTIONING OF MACHINES OR INSTALLATIONS; THERMAL INSULATION IN GENERAL
    • F16CSHAFTS; FLEXIBLE SHAFTS; ELEMENTS OR CRANKSHAFT MECHANISMS; ROTARY BODIES OTHER THAN GEARING ELEMENTS; BEARINGS
    • F16C2360/00Engines or pumps
    • F16C2360/31Wind motors
    • FMECHANICAL ENGINEERING; LIGHTING; HEATING; WEAPONS; BLASTING
    • F16ENGINEERING ELEMENTS AND UNITS; GENERAL MEASURES FOR PRODUCING AND MAINTAINING EFFECTIVE FUNCTIONING OF MACHINES OR INSTALLATIONS; THERMAL INSULATION IN GENERAL
    • F16CSHAFTS; FLEXIBLE SHAFTS; ELEMENTS OR CRANKSHAFT MECHANISMS; ROTARY BODIES OTHER THAN GEARING ELEMENTS; BEARINGS
    • F16C33/00Parts of bearings; Special methods for making bearings or parts thereof
    • F16C33/30Parts of ball or roller bearings
    • F16C33/46Cages for rollers or needles
    • F16C33/52Cages for rollers or needles with no part entering between, or touching, the bearing surfaces of the rollers
    • F16C33/523Cages for rollers or needles with no part entering between, or touching, the bearing surfaces of the rollers with pins extending into holes or bores on the axis of the rollers
    • F16C33/526Cages for rollers or needles with no part entering between, or touching, the bearing surfaces of the rollers with pins extending into holes or bores on the axis of the rollers extending through the rollers and joining two lateral cage parts
    • YGENERAL TAGGING OF NEW TECHNOLOGICAL DEVELOPMENTS; GENERAL TAGGING OF CROSS-SECTIONAL TECHNOLOGIES SPANNING OVER SEVERAL SECTIONS OF THE IPC; TECHNICAL SUBJECTS COVERED BY FORMER USPC CROSS-REFERENCE ART COLLECTIONS [XRACs] AND DIGESTS
    • Y02TECHNOLOGIES OR APPLICATIONS FOR MITIGATION OR ADAPTATION AGAINST CLIMATE CHANGE
    • Y02PCLIMATE CHANGE MITIGATION TECHNOLOGIES IN THE PRODUCTION OR PROCESSING OF GOODS
    • Y02P10/00Technologies related to metal processing
    • Y02P10/25Process efficiency
    • YGENERAL TAGGING OF NEW TECHNOLOGICAL DEVELOPMENTS; GENERAL TAGGING OF CROSS-SECTIONAL TECHNOLOGIES SPANNING OVER SEVERAL SECTIONS OF THE IPC; TECHNICAL SUBJECTS COVERED BY FORMER USPC CROSS-REFERENCE ART COLLECTIONS [XRACs] AND DIGESTS
    • Y10TECHNICAL SUBJECTS COVERED BY FORMER USPC
    • Y10TTECHNICAL SUBJECTS COVERED BY FORMER US CLASSIFICATION
    • Y10T29/00Metal working
    • Y10T29/49Method of mechanical manufacture
    • Y10T29/49636Process for making bearing or component thereof
    • Y10T29/49643Rotary bearing
    • Y10T29/49679Anti-friction bearing or component thereof
    • Y10T29/49682Assembling of race and rolling anti-friction members
    • Y10T29/49684Assembling of race and rolling anti-friction members with race making

Definitions

  • This invention relates to a method for manufacturing a double row tapered roller bearing, a raceway ring, and a double row tapered roller bearing.
  • a bearing for a wind power generator for example, a main bearing that supports a shaft that transmits the rotational power of the blade, in addition to the load component caused by the weight of the blade and the rotor, the load component caused by the wind load also acts. That is, an axial load acts on the bearing in addition to the radial load. Therefore, it has been conventionally proposed to use a double-row tapered roller bearing as a bearing for a wind power generator (see, for example, JP-T-2008-546948).
  • a plurality of bolt holes are formed in the outer ring of a double row tapered roller bearing applied to a wind power generator, and the bolt holes are inserted through the outer ring. It is fixed to surrounding parts such as a wind power generator housing with bolts. Similarly, a bolt hole may be formed on the inner ring of the double row tapered roller bearing.
  • the plurality of bolt holes formed in the outer ring or the like requires high positional accuracy in order to accurately fix the double row tapered roller bearing to the surrounding parts. Therefore, if the bolt hole is formed after the heat treatment for the outer ring or the like is completed, there is no need to consider the deformation of the outer ring accompanying the heat treatment as in the case of forming the bolt hole before the heat treatment, and the work efficiency is also improved. Can be made. On the other hand, if the hardness of the outer ring or the like is increased by heat treatment, the machinability is lowered and machining becomes difficult. That is, when bearing steel is used as a material for an outer ring or the like and general quenching is performed as a heat treatment, there is a problem that it is difficult to process the above-described bolt hole.
  • the present invention has been made to solve the above-described problems, and an object of the present invention is to provide a double-row tapered roller bearing with reduced manufacturing costs.
  • the double-row tapered roller bearing according to the present disclosure includes an outer ring that is a raceway having an annular shape, an inner ring that is disposed on the inner peripheral side of the outer ring and has a ring shape, and rollers.
  • the inner ring has two rows of grooves with the bottom surface serving as a rolling surface on the outer peripheral surface facing the outer ring.
  • the roller is a conical roller that is disposed in the groove so as to be in contact with the rolling surface of the inner ring and is in contact with the outer ring.
  • the region adjacent to the groove is a hardened region extending from the inner peripheral surface of the groove to the region, and is disposed at a position farther from the groove than the hardened region and has a lower hardness than the hardened region. And a cured region.
  • a method of manufacturing a bearing ring according to the present disclosure is a method of manufacturing a bearing ring of a double row tapered roller bearing, the step of preparing a molded body, the step of forming a heating region, the step of cooling, and the step of removing With.
  • a formed body is prepared, which is made of steel and has an annular groove formed on the outer peripheral surface, the bottom surface of which should be the rolling surface of the race.
  • the heating region including the bottom surface of the groove and heated to a temperature of A 1 point or higher is formed by induction heating of the molded body.
  • the entire heating region is simultaneously cooled to a temperature below the M s point.
  • a region adjacent to the groove in the molded body includes a surplus portion extending outward from a position to be the outer peripheral surface of the race.
  • the surplus portion is removed from the molded body after the cooling step.
  • a method of manufacturing a double-row tapered roller bearing according to the present disclosure includes a step of preparing a bearing ring, a step of preparing a tapered roller, and a step of assembling a double-row tapered roller bearing by combining the bearing ring place. .
  • the bearing ring is manufactured by the above-described manufacturing method of the bearing ring.
  • FIG. 2 is a partial schematic cross-sectional view taken along line II-II shown in FIG. It is a schematic diagram for demonstrating the wind power generator to which the double row tapered roller bearing shown in FIG. 1 is applied. It is a flowchart which shows the outline of the manufacturing method of the race of the double row tapered roller bearing shown in FIG. 1, and a double row tapered roller bearing. It is a cross-sectional schematic diagram of a molded object. It is a partial cross section schematic diagram of a molded object. It is a schematic diagram for demonstrating a hardening hardening process.
  • FIG. 8 is a schematic sectional view taken along line VIII-VIII in FIG. It is a schematic diagram for demonstrating a finishing process. It is a partial cross-section schematic diagram of the bearing ring as a comparative example.
  • the double-row tapered roller bearing shown in FIG. 1 and FIG. 2 includes an outer ring 2 that is a race ring having an annular shape, and an inner ring 5 that is disposed on the inner peripheral side of the outer ring 2 and is a race ring having an annular shape.
  • a plurality of rollers 6 as rolling elements and a cage 7 that prescribes the arrangement of the plurality of rollers 6 are mainly provided.
  • Bolt holes 8 are formed in the outer ring 2.
  • the bolt hole 8 is formed to extend along the thrust direction of the double row tapered roller bearing.
  • the outer ring 2 is formed with two rolling surfaces on the inner peripheral surface thereof.
  • the two rolling surfaces include a hardened region 15. Further, the portion other than the portion where the hardened region 15 is formed in the outer ring 2 is a non-hardened region 18 having a hardness lower than that of the hardened region 15.
  • the inner ring 5 includes two inner ring members 3 a and 3 b and an inner ring spacer 4.
  • the two inner ring members 3a and 3b each have an annular shape.
  • the inner ring spacer 4 has an annular shape and is disposed between the inner ring members 3a and 3b.
  • the inner ring spacer 4 may not be provided.
  • a groove 19 having a bottom surface serving as a rolling surface is formed on the outer peripheral surface 16 facing the outer ring 2. That is, the inner ring 5 is formed with two rows of grooves 19.
  • the outer peripheral surface 16 means a surface portion extending along the central axis of the roller 6 in the inner ring members 3a and 3b.
  • the roller 6 is disposed inside the groove 19 so as to be in contact with the rolling surface of the inner ring 5 and is in contact with the outer ring 2.
  • the roller 6 is a conical roller.
  • a non-cured region 18 having a lower hardness than the cured region 15.
  • the region adjacent to the groove 19 on the outer peripheral surface 16 of the inner ring 5 shown in FIG. 2 is a region that sandwiches the groove 19 in the direction along the central axis 25 of the inner ring 5 and extends along the central axis of the roller 6.
  • the outer peripheral surface 16 of the inner ring 5 is adjacent to the annular groove 19 and has a hardened region 15 formed along the groove 19.
  • the boundary 17 between the hardened region 15 and the non-hardened region 18 is annularly arranged along the groove 19.
  • the hardened region 15 is formed so as to extend from the bottom and side surfaces of the groove 19 to the outer peripheral surface 16.
  • the angle ⁇ between the bottom surface of the groove 19 which is a rolling surface and the central axis 25 of the inner ring 5 is 40 ° or more and 50 ° or less. Further, the angle ⁇ may be 45 °.
  • the outer peripheral surface 16 of the inner ring 5 includes the non-cured region 18, so that machining such as drilling can be easily performed on the non-cured region 18. It can be carried out.
  • wheel 2 similarly has the non-hardening area
  • the angle ⁇ between the bottom surface of the groove 19 that is a rolling surface and the central shaft 25 of the inner ring 5 is 40 ° or more and 50 ° or less, and therefore only the double row tapered roller bearing 1.
  • a large working point distance can be obtained. For this reason, by applying the double-row tapered roller bearing 1 as a main shaft bearing of a wind power generator, a plurality of cylindrical roller bearings are applied as main shaft bearings. The size of the bearing portion can be reduced.
  • the wind power generator 10 mainly includes a main shaft 22, a blade 30, a speed increaser 40, a generator 50, and a main bearing 60.
  • the speed increaser 40, the generator 50 and the main bearing 60 are stored in the nacelle 90.
  • the nacelle 90 is supported by the tower 100. That is, the nacelle 90 is provided in the upper end part of the tower 100 of a wind power generator.
  • a plurality of blades 30 are attached to the rotor head 20 connected to the tip of the main shaft 22.
  • the main shaft 22 is supported inside the nacelle 90. The rotation of the main shaft 22 is transmitted to the generator 50 via the speed increaser 40.
  • the main shaft 22 enters the nacelle 90 from the rotor head 20 and is connected to the input shaft of the gearbox 40.
  • the main shaft 22 is rotatably supported by a main bearing 60.
  • the main shaft 22 transmits the rotational torque generated by the blade 30 receiving wind force to the input shaft of the speed increaser 40.
  • the blade 30 converts wind force into rotational torque and transmits it to the main shaft 22.
  • the main bearing 60 is fixed in the nacelle 90 and rotatably supports the main shaft 22.
  • the main bearing 60 is constituted by the double row tapered roller bearing 1 shown in FIGS. 1 and 2. Further, the double row tapered roller bearing 1 shown in FIGS. 1 and 2 used as the main bearing 60 is fixed to the nacelle 90 by a bolt inserted into the bolt hole 8 of the outer ring 2 shown in FIG.
  • the speed increaser 40 is provided between the main shaft 22 and the generator 50, and increases the rotational speed of the main shaft 22 to output to the generator 50.
  • the speed increaser 40 is configured by a gear speed increasing mechanism including a planetary gear, an intermediate shaft, a high speed shaft, and the like.
  • the generator 50 is connected to the output shaft 61 of the speed increaser 40, and generates power by the rotational torque received from the speed increaser 40.
  • the generator 50 is constituted by, for example, an induction generator.
  • the wind power generator is configured to be able to perform a yaw motion that rotates the nacelle 90 according to the wind direction with respect to the tower 100 fixed on the ground.
  • the nacelle 90 is rotated so that the blade 30 side is located on the windward side.
  • the wind power generator 10 may be configured to obtain an appropriate rotation by changing the angle (hereinafter referred to as pitch) of the blade 30 with respect to the wind direction according to the strength of the wind force.
  • pitch may be controlled.
  • each blade 30 may be controlled to swing several degrees even during one rotation of the main shaft 22. In this way, the amount of energy that can be obtained from the wind can be adjusted.
  • the wind receiving surface also referred to as a blade surface or a blade surface
  • the wind receiving surface of the blade is made parallel to the wind direction in order to suppress the rotation of the windmill.
  • a molded body preparation step is first performed as a step (S10).
  • a steel material having an arbitrary component composition suitable for induction hardening is prepared, and by performing processing such as forging and turning, forming having a shape corresponding to the shape of a desired inner ring.
  • a body is made. More specifically, as shown in FIGS. 5 and 6, a molded body corresponding to the shape of the inner ring having an inner diameter of 1000 mm or more is produced.
  • the molded body is made of steel, and an annular groove 19 whose bottom surface is to be the rolling surface 11 of the race is formed on the outer peripheral surface.
  • the region adjacent to the groove 19 includes surplus portions 12 and 13 that extend outward from the position indicated by the dotted line 14 that should be the outer peripheral surface of the raceway ring (inner ring member 3b).
  • the thickness of the surplus portion 12 in the direction along the central axis of the molded body can be set to, for example, 1 mm or more and 5 mm or less.
  • the thickness of the surplus part 13 in the radial direction perpendicular to the central axis of the molded body can be set to, for example, 1 mm or more and 5 mm or less.
  • a normalizing step is performed as a step (S20).
  • the cooling rate at the time of cooling in the normalizing process may be a cooling rate at which the steel constituting the formed body is not transformed into martensite, that is, a cooling rate lower than the critical cooling rate.
  • the hardness of the molded body after the normalizing treatment is high when the cooling rate is large, and is low when the cooling rate is small. Therefore, desired hardness can be imparted to the molded body by adjusting the cooling rate.
  • This quench hardening process includes an induction heating process performed as the process (S30) and a cooling process performed as the process (S40).
  • the coil 121 as the induction heating coil is formed on a part of the rolling surface 11 (annular region) that is a surface on which the rolling element should roll in the molded body. Arranged to face.
  • the shape of the coil 121 can be any shape.
  • the compact is rotated around the central axis, specifically in the direction of the arrow ⁇ , and a high frequency current is supplied to the coil 121 from a power source (not shown).
  • a high frequency current is supplied to the coil 121 from a power source (not shown).
  • the surface layer region including the rolling surface 11 of the formed body is induction-heated to a temperature of A 1 point or more, and an annular heating region along the rolling surface 11 is formed.
  • the temperature of the surface of the rolling surface 11 is measured and managed by a thermometer 122 such as a radiation thermometer.
  • step (S40) for example, water as a cooling liquid is sprayed on the entire formed body including the heating region formed in the step (S30), so that the entire heating region is equal to or lower than the MS point. At the same time to be cooled. Thereby, a heating area
  • induction hardening is performed and the quench hardening process is completed.
  • a tempering step is performed as a step (S50).
  • the molded body quenched and hardened in steps (S30) and (S40) is charged into, for example, a furnace, heated to a temperature of A 1 point or less, and held for a predetermined time.
  • the tempering process is performed.
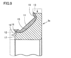
  • a finishing step is performed as a step (S60).
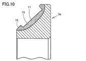
  • the shape of the inner ring member 3a is adjusted by removing the surplus portions 12 and 13 of the molded body as shown in FIG. 9, and other necessary processing, for example, polishing processing for the rolling surface 11 is performed. Finishing processing such as is carried out.
  • the inner ring member 3a constituting the inner ring of the double row tapered roller bearing is completed.
  • the inner ring member 3a has an inner diameter of 1000 mm or more, and a hardened and hardened layer is uniformly formed along the entire rolling surface 11 by induction hardening.
  • the inner ring member 3a is removed from the groove 19 on the outer peripheral surface 16 of the inner ring member 3a by removing the surplus portions 12 and 13 after heat treatment as described above (in FIG. 9, from the groove 19 on the outer peripheral surface 16).
  • the hardened region 15 and the non-hardened region 18 are exposed in a region located near the center axis of the inner ring member 3a. Therefore, by detecting that the hardened region 15 and the non-hardened region 18 are formed on the outer peripheral surface 16 of the inner ring member 3a, the inner ring member 3a uses the raceway manufacturing method according to the present disclosure described above. It is possible to easily detect whether or not the product is manufactured.
  • the width of the cured region 15 on the outer peripheral surface 16, that is, the distance from the opening end of the groove 19 to the end of the cured region 15 can be 1 mm or more and 10 mm or less.
  • both the hardened region 15 and the non-hardened region 18 are formed only in the region located near the central axis of the inner ring member 3 a when viewed from the groove 19 on the outer peripheral surface 16. Only the cured region 15 is exposed in the region located on the outer peripheral side as viewed from 19.
  • both the cured region 15 and the non-cured region 18 may be exposed only in the region on the outer peripheral side of the inner ring member 3 a as viewed from the groove 19. Both the area on the outer peripheral side as viewed from 19 and the area located near the central axis may be used.
  • an assembly process is performed as a process (S70).
  • the inner ring member 3a produced as described above and the inner ring member 3b and the outer ring 2 produced in the same manner as the inner ring member 3a are separately prepared as rollers 6 (FIG. 2), a cage 7 (see FIG. 2), an inner ring spacer 4 (see FIG. 2), and the like, thereby assembling the double row tapered roller bearing 1 as shown in FIGS.
  • the manufacturing method of the double row tapered roller bearing in the present embodiment is completed. From a different point of view, the manufacturing method of the double-row tapered roller bearing 1 shown in FIGS.
  • the bearing rings (inner ring members 3a, 3b) are manufactured by the above-described manufacturing method of the bearing rings.
  • the molded body is heated by relatively rotating the coil 121 arranged so as to face a part of the rolling surface 11 of the molded body along the circumferential direction. A region is formed. Therefore, it is possible to employ a small coil 121 with respect to the outer shape of the molded body, and the manufacturing cost of the quenching apparatus can be suppressed even when a large molded body is hardened by hardening. Moreover, in this Embodiment, the whole heating area
  • region 15 which is a cyclic
  • the coil 121 having an arbitrary shape can be applied as long as the formed body can be heated by induction heating.
  • the normalizing process implemented as said process (S20) is not an essential process in the manufacturing method of the bearing ring of this invention, However, By implementing this, it suppresses generation
  • shot blasting may be performed while the molded body is cooled by spraying hard particles together with gas on the molded body.
  • the shot blast process can be performed simultaneously with the blast cooling during the normalizing process, the scale generated in the surface layer portion of the molded body is removed, and the characteristics of the inner ring member 3a resulting from the generation of the scale.
  • the decrease in thermal conductivity due to the decrease and scale generation is suppressed.
  • grains projection material
  • grains which consist of steel, cast iron, etc. are employable, for example.
  • the method for manufacturing a bearing ring according to the present disclosure shown in FIGS. 4 to 9 is a method for manufacturing a bearing ring of a double-row tapered roller bearing, and includes a step of preparing a molded body as described above (S10), and heating. A step of forming a region (S30), a step of cooling (S40), and a step of removing (S60) are provided.
  • a formed body is prepared which is made of steel and has a bottom surface formed with an annular groove 19 to be the rolling surface 11 of the race.
  • the formed body is induction-heated to form a heating region including the bottom surface of the groove 19 and heated to a temperature of A 1 point or higher.
  • the cooling step (S40) the entire heating region is simultaneously cooled to a temperature not higher than the Ms point.
  • the region adjacent to the groove 19 in the molded body includes surplus portions 12 and 13 that extend outward from the position that should be the outer peripheral surface of the race.
  • the removing step (S60) after the cooling step (S40), the surplus portions 12, 13 are removed from the molded body.
  • the manufacturing process of the bearing ring can be simplified and the time required for the process can be shortened as compared with the case where the accompanying carburizing heat treatment is performed. For this reason, the manufacturing cost of a bearing ring can be reduced.
  • the quenching process is performed in a state where the surplus portions 12 and 13 are present adjacent to the groove 19 to be heated, the opening end portion of the groove 19 when there is no surplus portions 12 and 13, that is, the groove
  • the connection part (corner part) between the inner peripheral surface of 19 and the outer peripheral surface of the inner ring member 3a as a raceway ring is overheated or cooled down, thereby reducing the possibility of occurrence of defects such as burning cracks in the part. . That is, the above-described surplus portions 12 and 13 are formed, so that the heating state and the cooling state around the groove 19 in the heating region forming step (S30) and the cooling step (S40) are made uniform. be able to. If it says from a different viewpoint, generation
  • the molded body may have an annular shape as shown in FIG.
  • the surplus portions 12 and 13 of the molded body may be arranged in an annular shape so as to sandwich the groove 19 in the central axis direction of the molded body.
  • the surplus portions 12 and 13 are disposed so as to be adjacent to the entire circumference of the groove 19, it is possible to suppress the occurrence of uneven quenching of the entire groove 19.
  • an angle ⁇ (see FIG. 2) formed by the bottom surface of the groove 19 of the molded body and the central axis may be 40 ° or more and 50 ° or less.
  • the portion adjacent to the groove 19 and the groove on the outer circumferential surface of the raceway ring is in the numerical range as described above. Differences easily occur in the heating state and cooling state during the quenching process between the portion connected to the bottom surface of 19. Therefore, the track ring manufacturing method according to the present disclosure is particularly effective.
  • the double row tapered roller bearing manufacturing method shown in FIG. 1 and FIG. 2 assembles a double row tapered roller bearing by combining the step of preparing the race ring, the step of preparing the tapered roller, and the race ring place.
  • the inner ring members 3a and 3b constituting the bearing ring are manufactured by the method for manufacturing the bearing ring. In this way, it is possible to obtain the double-row tapered roller bearing 1 including the inner ring members 3a and 3b having sufficient characteristics without causing defects such as burning cracks and without increasing the manufacturing cost. .
  • This embodiment is particularly advantageously applied to a double-row tapered roller bearing applied to a wind power generator.

Landscapes

  • Engineering & Computer Science (AREA)
  • General Engineering & Computer Science (AREA)
  • Chemical & Material Sciences (AREA)
  • Mechanical Engineering (AREA)
  • Thermal Sciences (AREA)
  • Crystallography & Structural Chemistry (AREA)
  • Materials Engineering (AREA)
  • Metallurgy (AREA)
  • Organic Chemistry (AREA)
  • Physics & Mathematics (AREA)
  • Manufacturing & Machinery (AREA)
  • Rolling Contact Bearings (AREA)
  • Mounting Of Bearings Or Others (AREA)
  • Heat Treatment Of Articles (AREA)
PCT/JP2016/080240 2015-10-29 2016-10-12 複列円すいころ軸受、軌道輪および複列円すいころ軸受の製造方法 Ceased WO2017073327A1 (ja)

Priority Applications (3)

Application Number Priority Date Filing Date Title
US15/771,723 US10378076B2 (en) 2015-10-29 2016-10-12 Double row tapered roller bearing, bearing ring, and method for producing double row tapered roller bearing
CN201680062825.3A CN108368877A (zh) 2015-10-29 2016-10-12 双列圆锥滚子轴承、轴承环以及生产双列圆锥滚子轴承的方法
EP16859563.5A EP3369950A4 (en) 2015-10-29 2016-10-12 MULTI-ROW TAPERED ROLLER BEARING AND METHOD OF MANUFACTURING MULTI-ROW TAPERED BEARING RING AND BEARING RING BEARING

Applications Claiming Priority (2)

Application Number Priority Date Filing Date Title
JP2015-213092 2015-10-29
JP2015213092A JP2017082945A (ja) 2015-10-29 2015-10-29 複列円すいころ軸受、軌道輪および複列円すいころ軸受の製造方法

Publications (1)

Publication Number Publication Date
WO2017073327A1 true WO2017073327A1 (ja) 2017-05-04

Family

ID=58630254

Family Applications (1)

Application Number Title Priority Date Filing Date
PCT/JP2016/080240 Ceased WO2017073327A1 (ja) 2015-10-29 2016-10-12 複列円すいころ軸受、軌道輪および複列円すいころ軸受の製造方法

Country Status (5)

Country Link
US (1) US10378076B2 (enExample)
EP (1) EP3369950A4 (enExample)
JP (1) JP2017082945A (enExample)
CN (1) CN108368877A (enExample)
WO (1) WO2017073327A1 (enExample)

Families Citing this family (5)

* Cited by examiner, † Cited by third party
Publication number Priority date Publication date Assignee Title
CN108412894B (zh) * 2018-03-15 2019-09-17 南昌工程学院 一种新型磁流体轴承及其制造方法
TWI859605B (zh) * 2022-10-17 2024-10-21 銀泰科技股份有限公司 滾子軸承及該滾子軸承之保持器
TWI859604B (zh) * 2022-10-17 2024-10-21 銀泰科技股份有限公司 滾子軸承及其保持器
TWI864458B (zh) * 2022-10-17 2024-12-01 銀泰科技股份有限公司 具有軸向型態之保持器的滾子軸承及該保持器
TWI859626B (zh) * 2022-11-04 2024-10-21 銀泰科技股份有限公司 滾子軸承及結合有防塵部之保持器

Citations (3)

* Cited by examiner, † Cited by third party
Publication number Priority date Publication date Assignee Title
JP2006097809A (ja) * 2004-09-30 2006-04-13 Nsk Ltd 高精度リングの製造方法
JP2007024294A (ja) * 2005-07-21 2007-02-01 Ntn Corp 円錐ころ軸受および風力発電機の主軸支持構造
JP2009019713A (ja) * 2007-07-12 2009-01-29 Nsk Ltd 転がり軸受

Family Cites Families (29)

* Cited by examiner, † Cited by third party
Publication number Priority date Publication date Assignee Title
US2274187A (en) * 1941-09-26 1942-02-24 Timken Roller Bearing Co Roller bearing axle construction
JP2926240B2 (ja) 1989-05-02 1999-07-28 株式会社日立製作所 摺動材およびその表面処理方法
US5861067A (en) * 1995-08-08 1999-01-19 The Timken Company Steel machine component having refined surface microstructure and process for forming the same
US6224266B1 (en) * 1998-09-18 2001-05-01 Ntn Corporation Wheel bearing device
JP2000211310A (ja) * 1999-01-21 2000-08-02 Ntn Corp 車輪の支持構造
DE60131043T2 (de) * 2000-03-03 2008-10-30 Jtekt Corp. Lagervorrichtung
DE10228333C1 (de) * 2002-06-26 2003-09-25 Rothe Erde Gmbh Verfahren zum Herstellen von Lagerringen für Großwälzlager
JP4268793B2 (ja) * 2002-10-29 2009-05-27 株式会社ジェイテクト 円すいころ軸受用内輪部材の製造方法、円すいころ軸受用内輪部材、車軸用円すいころ軸受装置
JP2006009891A (ja) * 2004-06-24 2006-01-12 Nsk Ltd ころ軸受
US20080089631A1 (en) 2004-09-22 2008-04-17 Nsk Ltd Raceway Ring for Radial Ball Bearing and Manufacturing Method Thereof, and Manufacturing Method of High Accurate Ring and Manufacturing Apparatus Thereof
JP2006291247A (ja) 2005-04-06 2006-10-26 Ntn Corp 熱処理方法、軸受用薄肉部材の製造方法、軸受用薄肉部材およびスラスト軸受
KR100752510B1 (ko) 2006-04-14 2007-08-29 유니슨 주식회사 단일 메인베어링을 갖는 풍력 발전기
JP5354849B2 (ja) * 2006-09-08 2013-11-27 Ntn株式会社 風力発電機の主軸支持構造
ES2455015T3 (es) * 2006-09-08 2014-04-14 Ntn Corporation Rodamiento de rodillos y estructura de soporte de árbol principal de generador de energía eólica
DE112007002699B4 (de) * 2006-11-14 2021-10-07 Ntn Corporation Radlagervorrichtung für ein Fahrzeug
CN101215670A (zh) 2007-01-04 2008-07-09 江苏省交通工程有限公司 一种船闸蘑菇头和蘑菇头帽及其加工方法
CN103773937B (zh) 2007-11-12 2015-10-28 都美工业株式会社 圆柱状部件的热处理方法
JP5045461B2 (ja) * 2008-01-30 2012-10-10 株式会社ジェイテクト 車両用ハブユニット
JP2009197137A (ja) * 2008-02-21 2009-09-03 Nsk Ltd プラスチック保持器用材料、転がり軸受用プラスチック保持器及び転がり軸受
JP5183358B2 (ja) * 2008-08-22 2013-04-17 Ntn株式会社 車輪用軸受装置
JP5534403B2 (ja) * 2009-12-01 2014-07-02 Ntn株式会社 軌道輪および転がり軸受
EP2458023B1 (en) 2009-07-22 2016-02-10 NTN Corporation Method for heat-treating a ring-shaped member, method for producing a ring-shaped member, ring-shaped member, bearing ring, rolling bearing, and method for producing a bearing ring
JP5560090B2 (ja) * 2010-05-17 2014-07-23 Ntn株式会社 車輪用軸受装置
US9487843B2 (en) 2011-01-21 2016-11-08 Ntn Corporation Method for producing a bearing ring
PT2495466E (pt) * 2011-12-22 2014-07-17 Imo Holding Gmbh Conjunto de rolamento com áreas temperadas que se prolongam de forma inclinada
CN104232874A (zh) 2013-06-16 2014-12-24 天津市正瀚石油设备制造有限公司 一种卡瓦牙的淬火方法
US9360045B2 (en) * 2013-06-26 2016-06-07 The Timken Company Double row tapered roller thrust bearing for improved loading capacity
JP2015031343A (ja) * 2013-08-02 2015-02-16 日本精工株式会社 ころ軸受及びころ軸受の製造方法
CN204152957U (zh) * 2014-10-18 2015-02-11 湖州铧星轴承有限公司 高载荷电梯曳引轮专用轴承

Patent Citations (3)

* Cited by examiner, † Cited by third party
Publication number Priority date Publication date Assignee Title
JP2006097809A (ja) * 2004-09-30 2006-04-13 Nsk Ltd 高精度リングの製造方法
JP2007024294A (ja) * 2005-07-21 2007-02-01 Ntn Corp 円錐ころ軸受および風力発電機の主軸支持構造
JP2009019713A (ja) * 2007-07-12 2009-01-29 Nsk Ltd 転がり軸受

Non-Patent Citations (1)

* Cited by examiner, † Cited by third party
Title
See also references of EP3369950A4 *

Also Published As

Publication number Publication date
US10378076B2 (en) 2019-08-13
EP3369950A4 (en) 2019-03-27
EP3369950A1 (en) 2018-09-05
US20180347005A1 (en) 2018-12-06
JP2017082945A (ja) 2017-05-18
CN108368877A (zh) 2018-08-03

Similar Documents

Publication Publication Date Title
WO2017073327A1 (ja) 複列円すいころ軸受、軌道輪および複列円すいころ軸受の製造方法
WO2012098988A1 (ja) 軌道輪の製造方法、軌道輪および転がり軸受
JP5665564B2 (ja) 軌道輪の製造方法
JP5773348B2 (ja) 軌道輪の製造方法、軌道輪および転がり軸受
WO2017073325A1 (ja) 軌道輪の製造方法、複列円すいころ軸受およびその製造方法
JP5773349B2 (ja) 軌道輪および転がり軸受の製造方法
JP5534403B2 (ja) 軌道輪および転がり軸受
JP5455031B2 (ja) 軌道輪の製造方法および転がり軸受の製造方法
JP5557235B2 (ja) リング状部材の熱処理方法、リング状部材の製造方法
JP6023493B2 (ja) 軌道輪の製造方法、軌道輪および転がり軸受
JP2015180783A (ja) 軌道輪および転がり軸受の製造方法
WO2017203915A1 (ja) リング状部材の熱処理方法、リング状部材の製造方法、転がり軸受の軌道輪および転がり軸受
WO2017073326A1 (ja) 軌道輪の製造方法および複列円すいころ軸受の製造方法
JP6072145B2 (ja) 軌道輪の製造方法
JP2017082300A (ja) 軌道輪の製造方法および複列円すいころ軸受
JP2017082943A (ja) 軌道輪の製造方法および複列円すいころ軸受の製造方法
JP2014095154A (ja) リング状部材の熱処理方法、リング状部材の製造方法、リング状部材、転がり軸受の軌道輪および転がり軸受
JP2015193936A (ja) 軌道輪および転がり軸受の製造方法
JP6178365B2 (ja) 軌道輪、円筒ころ軸受および円すいころ軸受の製造方法
WO2017199872A1 (ja) リング状部材の熱処理方法、リング状部材の製造方法、転がり軸受の軌道輪および転がり軸受
JP2015187310A (ja) 軌道輪の製造方法、軌道輪および転がり軸受
JP2014025097A (ja) 軌道輪の製造方法、軌道輪および転がり軸受
JP2012149757A (ja) 軌道輪および転がり軸受
JP5665565B2 (ja) 軌道輪の製造方法
JP2015187311A (ja) 軌道輪の製造方法、軌道輪および転がり軸受

Legal Events

Date Code Title Description
121 Ep: the epo has been informed by wipo that ep was designated in this application

Ref document number: 16859563

Country of ref document: EP

Kind code of ref document: A1

NENP Non-entry into the national phase

Ref country code: DE

WWE Wipo information: entry into national phase

Ref document number: 2016859563

Country of ref document: EP