WO2016204051A1 - 導電膜付き基板、多層反射膜付き基板、反射型マスクブランク、反射型マスク及び半導体装置の製造方法 - Google Patents
導電膜付き基板、多層反射膜付き基板、反射型マスクブランク、反射型マスク及び半導体装置の製造方法 Download PDFInfo
- Publication number
- WO2016204051A1 WO2016204051A1 PCT/JP2016/067134 JP2016067134W WO2016204051A1 WO 2016204051 A1 WO2016204051 A1 WO 2016204051A1 JP 2016067134 W JP2016067134 W JP 2016067134W WO 2016204051 A1 WO2016204051 A1 WO 2016204051A1
- Authority
- WO
- WIPO (PCT)
- Prior art keywords
- film
- substrate
- conductive film
- reflective
- mask blank
- Prior art date
- Legal status (The legal status is an assumption and is not a legal conclusion. Google has not performed a legal analysis and makes no representation as to the accuracy of the status listed.)
- Ceased
Links
Images
Classifications
-
- G—PHYSICS
- G03—PHOTOGRAPHY; CINEMATOGRAPHY; ANALOGOUS TECHNIQUES USING WAVES OTHER THAN OPTICAL WAVES; ELECTROGRAPHY; HOLOGRAPHY
- G03F—PHOTOMECHANICAL PRODUCTION OF TEXTURED OR PATTERNED SURFACES, e.g. FOR PRINTING, FOR PROCESSING OF SEMICONDUCTOR DEVICES; MATERIALS THEREFOR; ORIGINALS THEREFOR; APPARATUS SPECIALLY ADAPTED THEREFOR
- G03F1/00—Originals for photomechanical production of textured or patterned surfaces, e.g., masks, photo-masks, reticles; Mask blanks or pellicles therefor; Containers specially adapted therefor; Preparation thereof
- G03F1/38—Masks having auxiliary features, e.g. special coatings or marks for alignment or testing; Preparation thereof
- G03F1/40—Electrostatic discharge [ESD] related features, e.g. antistatic coatings or a conductive metal layer around the periphery of the mask substrate
-
- G—PHYSICS
- G03—PHOTOGRAPHY; CINEMATOGRAPHY; ANALOGOUS TECHNIQUES USING WAVES OTHER THAN OPTICAL WAVES; ELECTROGRAPHY; HOLOGRAPHY
- G03F—PHOTOMECHANICAL PRODUCTION OF TEXTURED OR PATTERNED SURFACES, e.g. FOR PRINTING, FOR PROCESSING OF SEMICONDUCTOR DEVICES; MATERIALS THEREFOR; ORIGINALS THEREFOR; APPARATUS SPECIALLY ADAPTED THEREFOR
- G03F1/00—Originals for photomechanical production of textured or patterned surfaces, e.g., masks, photo-masks, reticles; Mask blanks or pellicles therefor; Containers specially adapted therefor; Preparation thereof
- G03F1/22—Masks or mask blanks for imaging by radiation of 100nm or shorter wavelength, e.g. X-ray masks, extreme ultraviolet [EUV] masks; Preparation thereof
- G03F1/24—Reflection masks; Preparation thereof
-
- G—PHYSICS
- G03—PHOTOGRAPHY; CINEMATOGRAPHY; ANALOGOUS TECHNIQUES USING WAVES OTHER THAN OPTICAL WAVES; ELECTROGRAPHY; HOLOGRAPHY
- G03F—PHOTOMECHANICAL PRODUCTION OF TEXTURED OR PATTERNED SURFACES, e.g. FOR PRINTING, FOR PROCESSING OF SEMICONDUCTOR DEVICES; MATERIALS THEREFOR; ORIGINALS THEREFOR; APPARATUS SPECIALLY ADAPTED THEREFOR
- G03F1/00—Originals for photomechanical production of textured or patterned surfaces, e.g., masks, photo-masks, reticles; Mask blanks or pellicles therefor; Containers specially adapted therefor; Preparation thereof
- G03F1/50—Mask blanks not covered by G03F1/20 - G03F1/34; Preparation thereof
-
- G—PHYSICS
- G03—PHOTOGRAPHY; CINEMATOGRAPHY; ANALOGOUS TECHNIQUES USING WAVES OTHER THAN OPTICAL WAVES; ELECTROGRAPHY; HOLOGRAPHY
- G03F—PHOTOMECHANICAL PRODUCTION OF TEXTURED OR PATTERNED SURFACES, e.g. FOR PRINTING, FOR PROCESSING OF SEMICONDUCTOR DEVICES; MATERIALS THEREFOR; ORIGINALS THEREFOR; APPARATUS SPECIALLY ADAPTED THEREFOR
- G03F1/00—Originals for photomechanical production of textured or patterned surfaces, e.g., masks, photo-masks, reticles; Mask blanks or pellicles therefor; Containers specially adapted therefor; Preparation thereof
- G03F1/54—Absorbers, e.g. of opaque materials
-
- H—ELECTRICITY
- H01—ELECTRIC ELEMENTS
- H01L—SEMICONDUCTOR DEVICES NOT COVERED BY CLASS H10
- H01L21/00—Processes or apparatus adapted for the manufacture or treatment of semiconductor or solid state devices or of parts thereof
- H01L21/02—Manufacture or treatment of semiconductor devices or of parts thereof
- H01L21/027—Making masks on semiconductor bodies for further photolithographic processing not provided for in group H01L21/18 or H01L21/34
Definitions
- the present invention relates to a substrate with a conductive film, a substrate with a multilayer reflective film, a reflective mask blank, a reflective mask, and a method for manufacturing a semiconductor device for use in EUV lithography.
- EUV lithography which is an exposure technique using extreme ultraviolet (hereinafter referred to as “EUV”) light
- EUV light refers to light in the wavelength band of the soft X-ray region or the vacuum ultraviolet region, and specifically refers to light having a wavelength of about 0.2 to 100 nm.
- a reflection mask has been proposed as a transfer mask used in this EUV lithography. In such a reflective mask, a multilayer reflective film that reflects exposure light is formed on a substrate, and an absorber film that absorbs exposure light is formed in a pattern on the multilayer reflective film.
- the reflective mask includes an absorber film formed from a reflective mask blank having a substrate, a multilayer reflective film formed on the substrate, and an absorber film formed on the multilayer reflective film by a photolithography method or the like. Manufactured by forming a pattern.
- the multilayer reflective film and the absorption layer are generally formed using a film formation method such as sputtering.
- a film formation method such as sputtering.
- the reflective mask blank substrate is supported by the supporting means in the film forming apparatus.
- An electrostatic chuck is used as a substrate support means. Therefore, in order to promote the fixing of the substrate by the electrostatic chuck on the back surface (surface opposite to the surface on which the multilayer reflective film or the like is formed) of the insulating reflective mask blank substrate such as a glass substrate, A conductive film (back conductive film) is formed.
- Patent Document 1 discloses a substrate with a conductive film used for manufacturing a reflective mask blank for EUV lithography, and the conductive film contains chromium (Cr) and nitrogen (N).
- the average concentration of N in the conductive film is not less than 0.1 at% and less than 40 at%, the crystalline state of at least the surface of the conductive film is amorphous, and the surface roughness (rms) of the conductive film is 0.5 nm.
- the gradient composition film in which the N concentration in the conductive film changes along the thickness direction of the conductive film so that the N concentration on the substrate side is low and the N concentration on the surface side is high A substrate with a conductive film is described.
- Patent Document 2 discloses a substrate with a conductive film used for manufacturing a reflective mask blank for EUV lithography, and the main material of the conductive film is selected from the group consisting of Cr, Ti, Zr, Nb, Ni, and V.
- the conductive film contains B (boron) at an average concentration of 1 to 70 at%, and the conductive film has a low B average concentration on the substrate side and a high B average concentration on the surface side.
- B boron
- Patent Document 3 describes a friction coefficient measuring device including a frictional force generating means and a compressive load generating means for generating a compressive load.
- a reflective mask mounted on the exposure machine In an exposure machine that performs pattern transfer, light incident on a reflective mask mounted on the exposure machine is absorbed in a portion where the absorber film pattern is present, and is reflected by a multilayer reflective film in a portion where there is no absorber film pattern.
- the reflected light image is transferred onto a semiconductor substrate such as a silicon wafer through a reflection optical system.
- the transfer method of a pattern transfer device equipped with a reflective mask (reticle) is a step-and-repeat method in which a pattern is exposed repeatedly while shifting the transfer area on the semiconductor substrate one after another, or the reticle and wafer are used as a projection optical system.
- a step-and-scan method in which synchronous scanning is performed and a repetitive pattern is projected and exposed has become the mainstream.
- the reflective mask will be misaligned during pattern transfer, allowing highly accurate pattern transfer. There may be a problem of not.
- an object of the present invention is to provide a reflective mask that can prevent the displacement of the reflective mask during pattern transfer when the movement speed of the stage on which the reflective mask is mounted is increased in the pattern transfer apparatus. And It is another object of the present invention to obtain a reflective mask blank, a substrate with a multilayer reflective film, and a substrate with a conductive film for manufacturing a reflective mask that can prevent the displacement of the reflective mask during pattern transfer. .
- the present invention provides a method for manufacturing a semiconductor device capable of suppressing positional deviation of the reflective mask during pattern transfer when the movement speed of the stage on which the reflective mask is mounted is increased in the pattern transfer apparatus. For the purpose.
- the pattern transfer device usually includes an electrostatic chuck for fixing a reflective mask mounted on the stage.
- the back surface conductive film formed on the back surface of the reflective mask is fixed to the stage of the pattern transfer apparatus by an electrostatic chuck.
- the present inventors pay attention to the static friction coefficient of the conductive film surface (back conductive film surface) of the reflective mask that is attracted to the stage by the electrostatic chuck, and by setting the static friction coefficient of the conductive film surface to a predetermined value or more, The present inventors have found that it is possible to suppress the displacement of the reflective mask during pattern transfer, and have reached the present invention.
- the present invention has the following configuration.
- the present invention includes a substrate with a conductive film having the following constitutions 1 to 4, a substrate with a multilayer reflective film having the following constitutions 5 to 6, a reflective mask blank having the following constitution 7, and a reflective mask having the following constitution 8 And a method of manufacturing a semiconductor device having the configuration 9 below.
- Configuration 1 of the present invention is a substrate with a conductive film in which a conductive film is formed on one surface on the main surface of a mask blank substrate used for lithography, and the static friction coefficient of the conductive film surface is 0. It is a board
- a reflective mask can be manufactured using the substrate with a conductive film according to Configuration 1 of the present invention. Since the static friction coefficient on the surface of the conductive film according to Configuration 1 of the present invention is a value within a predetermined range, even if the movement speed of the stage on which the reflective mask is mounted is increased in the pattern transfer apparatus, the pattern transfer The positional deviation of the reflective mask at the time can be suppressed.
- Configuration 2 of the present invention is the substrate with a conductive film according to Configuration 1, wherein the conductive film is made of a material containing at least one selected from tantalum and chromium.
- the conductive film is made of a material containing at least one selected from tantalum and chromium, and thus has electrical characteristics (sheet resistance) required for the back conductive film of the reflective mask.
- a membrane can be obtained.
- a third aspect of the present invention is the substrate with a conductive film according to the first aspect, wherein the conductive film is made of a material containing tantalum and boron.
- the conductive film is made of a material containing tantalum and boron, a conductive film having wear resistance and chemical resistance can be obtained.
- Structure 4 of the present invention is the substrate with a conductive film according to any one of structures 1 to 3, wherein the conductive film has a surface roughness (Rms) of 0.60 nm or less.
- Configuration 5 of the present invention includes a high refractive index layer and a low refractive index layer on the main surface of the substrate with a conductive film according to any one of Configurations 1 to 4 opposite to the side on which the conductive film is formed. Is a substrate with a multilayer reflective film, wherein a multilayer reflective film is formed by alternately laminating and.
- EUV light having a predetermined wavelength can be reflected by a predetermined multilayer reflective film.
- a sixth aspect of the present invention is the substrate with a multilayer reflective film according to the fifth aspect, wherein a protective film is formed on the multilayer reflective film.
- an absorber film is formed on the multilayer reflective film of the substrate with the multilayer reflective film described in Structure 5 or on the protective film described in Structure 6. It is a mold mask blank.
- the absorber film of the reflective mask blank can absorb EUV light
- the reflective mask (EUV mask) is formed by patterning the absorber film of the reflective mask blank. Can be manufactured.
- Configuration 8 of the present invention is a reflective mask characterized in that the absorber film of the reflective mask blank described in Configuration 7 is patterned to have an absorber pattern on the multilayer reflective film.
- “having an absorber pattern on the multilayer reflective film” includes a case where a protective film on the multilayer reflective film is interposed. That is, the case where a protective film is formed on the multilayer reflective film and the absorber pattern is provided on the protective film is included.
- the reflective mask of Configuration 8 of the present invention by having the absorber pattern on the multilayer reflective film, it is possible to transfer a predetermined pattern to the transfer target using EUV light. Further, in the pattern transfer apparatus, even when the moving speed of the stage on which the reflective mask is mounted is increased, the positional deviation of the reflective mask during pattern transfer can be suppressed.
- a semiconductor device comprising a step of performing a lithography process using an exposure apparatus using the reflective mask according to the eighth aspect and forming a transfer pattern on a transfer target. It is a manufacturing method.
- a semiconductor device having the structure 9 of the present invention since the positional deviation of the reflective mask during pattern transfer can be suppressed, a semiconductor device having a fine and highly accurate transfer pattern is manufactured. Can do.
- the pattern transfer apparatus when the moving speed of the stage on which the reflective mask is mounted is increased, it is possible to obtain a reflective mask that can suppress the displacement of the reflective mask during pattern transfer. it can. Further, according to the present invention, there is provided a reflective mask blank, a substrate with a multilayer reflective film, and a substrate with a conductive film for manufacturing a reflective mask capable of suppressing a positional shift of the reflective mask during pattern transfer. Obtainable.
- the present invention provides a method for manufacturing a semiconductor device capable of suppressing positional deviation of the reflective mask during pattern transfer when the movement speed of the stage on which the reflective mask is mounted is increased in the pattern transfer apparatus. be able to.
- FIG. 1A is a perspective view showing a mask blank substrate.
- FIG. 1B is a schematic cross-sectional view showing a mask blank substrate. It is a cross-sectional schematic diagram which shows an example of a structure of the board
- the present invention is a substrate with a conductive film in which a conductive film is formed on one surface on the main surface of the mask blank substrate.
- a conductive film also referred to as “back conductive film”.
- back surface the main surface on which a conductive film (also referred to as “back conductive film”) is formed.
- a high refractive index layer and a low refractive index layer are alternately stacked on a main surface of a substrate with a conductive film where a conductive film is not formed (sometimes simply referred to as “surface”).
- This is a substrate with a multilayer reflective film on which the multilayer reflective film is formed.
- the present invention also provides a reflective mask blank having a multilayer film for a mask blank including an absorber film on the multilayer reflective film of the substrate with the multilayer reflective film.
- FIG. 2 is a schematic view showing an example of the substrate 50 with a conductive film of the present invention.
- the substrate 50 with conductive film of the present invention has a structure in which a back conductive film 23 is formed on the back surface of the mask blank substrate 10.
- the substrate 50 with a conductive film is a substrate in which the back conductive film 23 is formed at least on the back surface of the mask blank substrate 10, and the multilayer reflective film 21 is formed on the other main surface.
- Also included in the substrate 50 with a conductive film are a substrate (with a multilayer reflective film 20) and a substrate with a further absorber film 24 (reflective mask blank 30).
- the back conductive film 23 may be simply referred to as the conductive film 23.
- FIG. 7 is a schematic diagram showing an example of the reflective mask blank 30 of the present invention.
- the reflective mask blank 30 of the present invention has a mask blank multilayer film 26 on the main surface of the mask blank substrate 10.
- the mask blank multilayer film 26 includes a multilayer reflective film 21 and an absorber film 24 formed on the main surface of the mask blank substrate 10 in the reflective mask blank 30. It is a plurality of films.
- the mask blank multilayer film 26 may further include a protective film 22 formed between the multilayer reflective film 21 and the absorber film 24 and / or an etching mask film 25 formed on the surface of the absorber film 24. it can.
- the mask blank multilayer film 26 on the main surface of the mask blank substrate 10 includes the multilayer reflective film 21, the protective film 22, the absorber film 24, and the etching mask film. 25.
- the etching mask film 25 may be peeled off after a transfer pattern is formed on the absorber film 24 as will be described later.
- the absorber film 24 has a laminated structure of a plurality of layers, and the materials constituting the plurality of layers have different etching characteristics so that the etching mask function is achieved.
- a reflective mask blank 30 may be used as the absorber film 24 held.
- the reflective mask blank 30 of the present invention includes a back conductive film 23 on the back surface thereof. Therefore, the reflective mask blank 30 shown in FIG. 7 is a kind of the substrate 50 with a conductive film.
- “having the mask blank multilayer film 26 on the main surface of the mask blank substrate 10” means that the mask blank multilayer film 26 is disposed in contact with the surface of the mask blank substrate 10. In addition to the case where it means, the case where it means that another film is provided between the mask blank substrate 10 and the mask blank multilayer film 26 is also included. The same applies to other films. Further, in this specification, for example, “the film A is disposed in contact with the surface of the film B” means that the film A and the film B are not interposed between the film A and the film B, It means that it is arranged so that it touches directly.
- FIG. 5 is a schematic view showing another example of the reflective mask blank 30 of the present invention.
- the mask blank multilayer film 26 includes the multilayer reflective film 21, the protective film 22, and the absorber film 24, but does not include the etching mask film 25.
- the reflective mask blank 30 of FIG. 5 includes a back surface conductive film 23 on the back surface thereof. Therefore, the reflective mask blank 30 shown in FIG. 5 is a kind of substrate 50 with a conductive film.
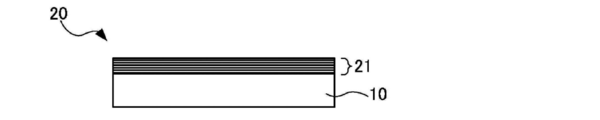
- FIG. 3 shows an example of the multilayer reflective film-coated substrate 20.
- a multilayer reflective film 21 is formed on the main surface of the multilayer reflective film-coated substrate 20 shown in FIG.
- FIG. 4 shows a substrate 20 with a multilayer reflective film in which a back conductive film 23 is formed on the back.
- the substrate 20 with a multilayer reflective film shown in FIG. 4 is a kind of substrate 50 with a conductive film because it includes a back conductive film 23 on the back surface.
- the present invention is a substrate 50 with a conductive film in which a conductive film 23 (back conductive film 23) is formed on one surface (back surface) on the main surface of a mask blank substrate 10 used for lithography.
- the substrate 50 with a conductive film of the present invention is characterized in that the surface has a static friction coefficient of 0.25 or more, preferably 0.30 or more.
- the upper limit of the static friction coefficient on the surface of the conductive film 23 is not particularly limited.
- the reflective mask 40 can be manufactured using the substrate 50 with a conductive film of the present invention.
- the coefficient of static friction of the surface of the conductive film 23 of the substrate 50 with a conductive film of the present invention is a value within a predetermined range. For this reason, in the pattern transfer apparatus, even when the moving speed of the stage on which the reflective mask 40 is mounted is increased, the positional deviation of the reflective mask 40 during pattern transfer can be suppressed. A method for measuring the static friction coefficient of the surface of the conductive film 23 will be described later.
- the static friction coefficient of the surface of the conductive film 23 can be controlled by changing the film formation conditions of the conductive film 23.
- the conductive film 23 can be formed by a sputtering method.
- the static friction coefficient of the surface of the conductive film 23 can be controlled by controlling the type and pressure of the gas during sputtering film formation.
- the surface of the conductive film 23 is obtained by using krypton (Kr) and / or xenon (Xe) having an atomic weight larger than that of argon (Ar).
- the true contact area can be increased and the coefficient of static friction can be increased. Thereby, the frictional force between the surface of the conductive film 23 and the suction holding surface of the electrostatic chuck can be increased, and the displacement of the reflective mask 40 during pattern transfer can be suppressed.
- the coefficient of static friction on the surface of the conductive film 23 can be controlled by controlling the gas flow ratio (when using multiple types of gases), gas pressure, and the like. It is. Further, by controlling the film thickness of the conductive film 23, the static friction coefficient of the surface of the conductive film 23 can be controlled.
- the static friction coefficient of the surface of the conductive film 23 can be controlled. That is, by appropriately selecting the material of the mask blank substrate 10, processing conditions and processing method of the substrate surface such as polishing of the main surface, the surface form of the main surface is controlled, and the static friction coefficient of the surface of the conductive film 23 is controlled. Is possible.
- the static friction coefficient of the surface of the conductive film 23 can be controlled. That is, the intermediate film is controlled by appropriately selecting the composition of the intermediate film, the film thickness, the type of gas during the sputtering film formation, the gas flow ratio, the gas pressure, etc., and the surface of the conductive film 23 formed on the intermediate film It is possible to control the static friction coefficient.
- the intermediate film is controlled by appropriately selecting the composition of the intermediate film, the film thickness, the type of gas during the sputtering film formation, the gas flow ratio, the gas pressure, etc., and the surface of the conductive film 23 formed on the intermediate film It is possible to control the static friction coefficient.
- Rms (Root means ⁇ square), which is a representative surface roughness index, is a root mean square roughness, which is a square root of a value obtained by averaging the squares of deviations from the mean line to the measurement curve. Rms is expressed by the following formula (1).
- Equation (1) l is the reference length, and Z is the height from the average line to the measurement curve.
- Rms is conventionally used for managing the surface roughness of the mask blank substrate 10, and the surface roughness can be grasped numerically.
- the root mean square roughness (Rms) obtained by measuring a 1 ⁇ m ⁇ 1 ⁇ m region of the surface of the back conductive film 23 with an atomic force microscope is preferably 0.60 nm or less, and more preferably 0.40 nm or less. preferable.
- the static friction coefficient of the back surface conductive film 23 can be measured by the method and apparatus described below.
- FIG. 8 is an explanatory diagram of the friction coefficient measurement.
- the measurement object 101 or the measurement object is measured in a state where the measuring element 103 is pressed against the surface of the conductive film 23 (back surface conductive film 23) of the substrate 50 with conductive film (measurement object 101).
- the coefficient of friction is measured by sliding at least one of the children 103 relative to the other.
- the measurement object 101 may be slid with respect to the measurement object 103, and the measurement element 103 may be slid with respect to the measurement object 101.
- the film (conductive film 23) to be measured for the friction coefficient is also referred to as “measurement target film”.
- the frictional force that acts when trying to move a stationary object is called static frictional force, and the friction coefficient related to static frictional force is called static friction coefficient. In the present invention, the static friction coefficient is measured.
- FIG. 9 is a schematic diagram of a friction coefficient measuring apparatus that is preferably used in the present invention.
- the apparatus shown in FIG. 9 includes a frictional force generating means and a compressive load generating means for generating a compressive load. Details of each means will be described below.
- the frictional force generating means serves as a sample holder for fixing and holding a sample having the measurement target film on the outermost surface and as a moving table for moving the sample in an arbitrary direction.
- the frictional force can be generated by moving the sample in the horizontal direction (Y direction in FIG. 9) with respect to the measurement target surface in a state where the measuring element 103 is pressed against the measurement target surface.
- the frictional force generating means reciprocally move in an arbitrary direction, for example, the Y direction in FIG. 9, the probe 103 can be repeatedly slid on the measurement target surface.
- the shearing Y stage 102 is moved back and forth in the Y direction in a state where the measuring element 103 is pressed against the measurement target surface of the object to be measured 101 fixedly held on the sample support 104.
- the measuring element 103 can be repeatedly slid on the measurement target surface.
- the compressive load generating means has a configuration capable of reciprocating in an arbitrary direction, for example, the X direction in FIG. 9, so that the measuring element 103 can be pressed against the surface to be measured, or the pressing can be released.
- the upper surface pressure application X stage 105 is a fine movement (fine adjustment) stage
- the lower surface pressure application X stage 105 is a coarse movement (rough movement) stage.
- the compressive load generating means can fix the measuring element 103 via the X-direction elastic deformation member and the Y-direction elastic deformation member.
- both elastic deformation members can be configured as a single sheet, it is preferable to employ a member made up of a pair of leaf springs. This is because that a pair of leaf springs can avoid torsion of the elastically deformable member due to vertical compressive stress and shear stress.
- the surface pressure displacement leaf spring 106 corresponds to a pair of leaf springs as X-direction elastic deformation members
- the frictional force displacement leaf spring 108 corresponds to a pair of leaf springs as Y-direction elastic deformation members.
- the measuring element 103 it is preferable to use a part made of the same material as that used for the surface on which the reflective mask 40 is electrostatically chucked in the exposure apparatus, in the portion that contacts the measurement target film when pressed. This is because the coefficient of static friction can be measured in a state closer to the state in which the reflective mask 40 is placed on the exposure apparatus.
- the material of the portion of the probe 103 that contacts the measurement target film when pressed can be a TiN thin film formed on the surface of the quartz plano-convex lens. Also in the examples described later, a TiN thin film (thickness: 2.3 ⁇ m) is used as a material of a portion that abuts on the measurement target film when the measuring element 103 is pressed.
- the shape of the portion where the measuring element 103 contacts the measurement target film is a spherical surface having a curvature radius of 322 mm.
- the measurement target film of the DUT 101 is the conductive film 23 (back conductive film 23) formed on the surface of the mask blank substrate 10.
- the apparatus of FIG. 9 from the viewpoint of simplification of friction coefficient measurement (in FIG. 9, simplification of measurement of friction force generated by applying a compressive load in the X direction and movement in the Y direction of the probe 103). It is preferable to measure the friction coefficient of the sample film formed on the plane. Since the mask blank substrate 10 is flat, the friction coefficient measurement can be simplified.
- a displacement sensor capable of measuring the amount of displacement can be disposed in each of the elastic deformation members in the X and Y directions.
- the displacement amount of each elastically deformable member is detected by a displacement sensor, and the vertical compression stress applied to the measurement target surface and the generated shear stress, that is, the friction force, are measured by a calibration curve (correlation data between the displacement amount and the stress). it can.
- the vertical compressive stress and the frictional force can be measured by using a strain measuring device such as a load cell.
- a displacement sensor 107 for detecting surface pressure and a displacement sensor 109 for detecting frictional force correspond to the displacement sensor.
- the relative movement speed at the time of sliding between the measurement target film and the probe 103 can be controlled by using a servo motor or the like.
- the sample (the object to be measured 101 having the conductive film 23 such as the conductive film-equipped substrate 50) is fixed and held in the friction coefficient measuring apparatus shown in FIG.
- the compression load generating means is adjusted so that the measuring element 103 comes into contact with a desired position of the sample.
- the compressive stress applied to the measurement target film when the measuring element 103 is pressed is determined based on the surface pressure generated in the measurement target film (conductive film 23) of the object 101 to be measured.
- the upper limit is preferably up to about 1 mm / sec.
- the lower limit of the relative movement speed setting speed can be measured if there is a relative movement speed during sliding (if it is not 0).
- the relative movement speed is set to 0.1 mm / sec.
- the load for applying the vertical compressive stress is set to 10 mN in the present invention.
- the environment for measuring the coefficient of friction according to the present invention is an atmosphere having a temperature of 20 to 23 ° C. and humidity (RH) of 20 to 30%.
- the measuring element 103 After determining the measurement conditions at the time of measuring the friction coefficient, the measuring element 103 is pressed against the measurement target surface so that the determined compressive stress is applied in a direction perpendicular to the measurement target surface (X direction in FIG. 9). In this state, a frictional force is generated (for example, in the Y direction in FIG. 9) by reciprocating the probe 103 on the measurement target surface at the determined relative movement speed.
- the frictional force generated here can be calculated, for example, by multiplying the spring constant of the leaf spring by the amount of bending obtained by the displacement sensor.
- the static friction coefficient can be obtained from the frictional force when the probe 103 moves relative to the measurement target surface. Specifically, as shown in FIG. 10, the peak of the spike in a spike-like waveform after a linear increase (maximum value just before turning to decrease after a monotonic increase in the vicinity of time 1 second) is obtained.
- the coefficient of static friction is used.
- the static friction coefficient obtained by the measurement shown in FIG. 10 is 0.366 for the first measurement (A in FIG. 10), 0.310 for the second measurement (B in FIG. 10), and the third measurement (in FIG. 10).
- C) is 0.352
- the average of three measurements is 0.343.
- the average value of the measurement result of three times of a static friction coefficient is taken, and it is set as the static friction coefficient of the measurement. Therefore, the static friction coefficient of the example shown in FIG. 10 is 0.343.
- the substrate 50 with a conductive film, the substrate 20 with a multilayer reflective film, the reflective mask blank 30 and the reflective mask 40 of the present invention will be specifically described.
- FIG. 1A is a perspective view showing an example of a mask blank substrate 10 that can be used for manufacturing the conductive film-equipped substrate 50 of the present invention.
- FIG. 1B is a schematic cross-sectional view of the mask blank substrate 10 shown in FIG.
- the mask blank substrate 10 (or may be simply referred to as a substrate 10) is a rectangular plate-like body, and has two opposing main surfaces 2 and an end surface 1.
- the two opposing main surfaces 2 are the upper surface and the lower surface of this plate-like body, and are formed so as to oppose each other. At least one of the two opposing main surfaces 2 is a main surface on which a transfer pattern is to be formed.
- the end face 1 is a side face of the plate-like body and is adjacent to the outer edge of the opposing main surface 2.
- the end surface 1 has a planar end surface portion 1d and a curved end surface portion 1f.
- the planar end surface portion 1d is a surface that connects the side of one opposing main surface 2 and the side of the other opposing main surface 2, and includes a side surface portion 1a and a chamfered slope portion 1b.
- the side surface portion 1a is a portion (T surface) substantially perpendicular to the opposing main surface 2 in the planar end surface portion 1d.
- the chamfered slope portion 1b is a chamfered portion (C surface) between the side surface portion 1a and the opposing main surface 2, and is formed between the side surface portion 1a and the opposing main surface 2.
- the curved end surface portion 1f is a portion (R portion) adjacent to the vicinity of the corner portion 10a of the substrate 10 when the substrate 10 is viewed in plan, and includes a side surface portion 1c and a chamfered slope portion 1e.
- the plan view of the substrate 10 refers to, for example, viewing the substrate 10 from a direction perpendicular to the opposing main surface 2.
- substrate 10 is the intersection vicinity of two sides in the outer edge of the opposing main surface 2, for example. The intersection of two sides may be the intersection of the extension lines of the two sides.
- the curved end surface portion 1 f is formed in a curved shape by rounding the corner 10 a of the substrate 10.
- the main surface of the mask blank substrate 10 is preferably a surface processed by catalyst-based etching.
- Catalyst-based etching (hereinafter referred to as “CARE”) means that the workpiece (mask blank substrate 10) and the catalyst are arranged in the processing liquid, or the processing liquid is placed between the workpiece and the catalyst.
- CARE Catalyst-based etching
- This is a surface processing method in which a workpiece is brought into contact with a catalyst, and the workpiece is processed by active species generated from molecules in the treatment liquid adsorbed on the catalyst at that time.
- the treatment liquid is water
- the workpiece and the catalyst are brought into contact with each other in the presence of water, and the catalyst and the workpiece surface are moved relative to each other. By doing so, the decomposition product by hydrolysis is removed from the surface of the workpiece and processed.
- the main surface of the mask blank substrate 10 is selectively surface-processed by the catalyst reference etching from the convex portions that are in contact with the catalyst surface as the reference surface. Therefore, the unevenness (surface roughness) constituting the main surface has a very uniform surface form while maintaining very high smoothness, and moreover, the ratio of forming the recesses rather than the protrusions with respect to the reference surface Many surface forms. Therefore, when a plurality of thin films are stacked on the main surface, the defect size of the main surface tends to be small, and therefore surface treatment by catalyst-based etching is preferable in terms of defect quality. In particular, the effect is exhibited particularly when a multilayer reflective film 21 and a back conductive film 23 described later are formed on the main surface.
- the catalyst at least one material selected from the group consisting of platinum, gold, transition metals, and alloys containing at least one of them can be used.
- the treatment liquid at least one kind of treatment liquid selected from the group consisting of pure water, functional water such as ozone water and hydrogen water, a low concentration alkaline aqueous solution, and a low concentration acidic aqueous solution can be used.
- the mask blank substrate 10 used for the back surface conductive film 23 of the present invention is subjected to surface processing so that the main surface on the side where the transfer pattern is formed has high flatness from the viewpoint of obtaining at least pattern transfer accuracy and position accuracy. Preferably it is.
- the flatness is 0.1 ⁇ m or less in the 132 mm ⁇ 132 mm region or 142 mm ⁇ 142 mm region of the main surface on the side where the transfer pattern of the substrate 10 is formed. Is particularly preferably 0.05 ⁇ m or less. More preferably, the flatness is 0.03 ⁇ m or less in the region of the main surface 132 mm ⁇ 132 mm on the side where the transfer pattern of the substrate 10 is formed.
- the main surface opposite to the side on which the transfer pattern is formed is a surface to be electrostatically chucked when being set in the exposure apparatus, and in a 142 mm ⁇ 142 mm region, the flatness is 1 ⁇ m or less, particularly preferably. 0.5 ⁇ m or less.
- any material may be used for the reflective mask blank substrate 10 for EUV exposure as long as it has low thermal expansion characteristics.
- SiO 2 —TiO 2 glass having characteristics of low thermal expansion binary system (SiO 2 —TiO 2 ) and ternary system (SiO 2 —TiO 2 —SnO 2 etc.)
- SiO 2 —Al 2 O A so-called multicomponent glass such as a 3- Li 2 O-based crystallized glass can be used.
- a substrate 10 such as silicon or metal can be used.
- the metal substrate 10 include an Invar alloy (Fe—Ni alloy).
- the smoothness of the underlying surface immediately below the multilayer reflective film 21 needs to be made extremely high. This is because the reflective mask 40 has a problem that the phase defect does not exist in the transmissive optical mask. If there are minute irregularities on the underlying surface immediately below the multilayer reflective film 21, the multilayer reflective film layer 21 formed thereon becomes turbulent (swelled) and causes a phase difference partially. This is because the reflectivity of the EUV light may change partially and become a fatal defect source. In order to reduce defects in the multilayer reflective film 21, it is necessary to inspect the defects in the multilayer reflective film 21 with extremely high sensitivity. For this purpose, it is necessary to reduce noise and pseudo defects during inspection, and the surface of the multilayer reflective film 21 is required to have high smoothness.
- a base film is formed on the surface of the substrate 10 for the purpose of preventing charge-up at the time of the mask pattern defect inspection by the electron beam and reducing the phase defects of the multilayer reflective film 21 and obtaining high surface smoothness.
- a material for such a base film a material containing ruthenium or tantalum as a main component is preferably used.
- Ru metal alone or Ta metal alone may be used, and Ru or Ta may be titanium (Ti), niobium (Nb), molybdenum (Mo), zirconium (Zr), yttrium (Y), boron (B), lanthanum (La ), Cobalt (Co), rhenium (Re), or the like.
- the film thickness of the base film is preferably in the range of 1 nm to 10 nm, for example.
- FIG. 3 is a schematic diagram showing an example of the multilayer reflective film-coated substrate 20 that can be used for the back conductive film 23 and the reflective mask blank 30 of the present invention.
- FIG. 4 shows a schematic diagram of another example of the multilayer reflective film-coated substrate 20 of the present invention.
- the substrate 20 with a multilayer reflective film has a predetermined back surface conductive film 23
- the substrate 20 with a multilayer reflective film is a kind of the back surface conductive film 23 of the present invention.
- the multilayer reflective film-coated substrate 20 shown in both FIG. 3 and FIG. 4 is referred to as the multilayer reflective film-coated substrate 20 of the present embodiment.
- the substrate 20 with a multilayer reflective film of the present invention has a multilayer reflective film 21 in which high refractive index layers and low refractive index layers are alternately laminated on the main surface opposite to the side on which the back conductive film 23 is formed. Is formed.
- the substrate 20 with a multilayer reflective film of the present invention has a predetermined multilayer reflective film 21 so that EUV light having a predetermined wavelength can be reflected.
- the multilayer reflective film 21 can be formed before the back conductive film 23 is formed.
- the back conductive film 23 may be formed as shown in FIG. 2, and then the multilayer reflective film 21 may be formed as shown in FIG.
- the multilayer reflective film 21 is provided with a function of reflecting EUV light in the reflective mask 40 for EUV lithography, and has a configuration of the multilayer reflective film 21 in which elements having different refractive indexes are periodically stacked.
- the material of the multilayer reflective film 21 is not particularly limited as long as it reflects EUV light. However, the reflectance of the multilayer reflective film 21 is usually 65% or more, and the upper limit is usually 73%.
- the multilayer reflective film 21 includes 40 thin films (high refractive index layer) made of a high refractive index material and 40 thin films made of a low refractive index material (low refractive index layer) alternately. A multilayer reflective film 21 having about 60 cycles can be formed.
- the multilayer reflective film 21 for EUV light having a wavelength of 13 to 14 nm is preferably a Mo / Si periodic multilayer film in which Mo films and Si films are alternately stacked for about 40 periods.
- Ru / Si periodic multilayer film, Mo / Be periodic multilayer film, Mo compound / Si compound periodic multilayer film, Si / Nb periodic multilayer film, Si / Mo / A Ru periodic multilayer film, a Si / Mo / Ru / Mo periodic multilayer film, a Si / Ru / Mo / Ru periodic multilayer film, or the like can be used.
- the method for forming the multilayer reflective film 21 is known in the art, but can be formed by depositing each layer by, for example, a magnetron sputtering method or an ion beam sputtering method.
- a magnetron sputtering method or an ion beam sputtering method for example, an Si film having a thickness of several nanometers is first formed on the substrate 10 using an Si target by an ion beam sputtering method, and then thickened using a Mo target. A Mo film having a thickness of about several nanometers is formed, and this is taken as one period, and laminated for 40 to 60 periods to form the multilayer reflective film 21.
- the multilayer reflective film 21 irradiates a sputtering target of a high refractive index material and a sputtering target of a low refractive index material alternately with an ion beam, thereby performing an ion beam sputtering method. It is preferably formed by.
- the multilayer reflective film 21 By forming the multilayer reflective film 21 by a predetermined ion beam sputtering method, it is possible to reliably obtain the multilayer reflective film 21 having good reflectance characteristics with respect to EUV light.
- the multilayer reflective film-coated substrate 20 of the present embodiment includes a protective film 22 in which the mask blank multilayer film 26 is disposed in contact with the surface of the multilayer reflective film 21 opposite to the mask blank substrate 10. Furthermore, it is preferable to include.
- the protective film 22 (see FIG. 5) is used to protect the multilayer reflective film 21 from dry etching or wet cleaning in the manufacturing process of the reflective mask 40 for EUV lithography. ) Can be formed.
- substrate 10 for mask blanks can also be set as the board
- the protective film 22 is formed on the multilayer reflective film 21, so that when the reflective mask 40 (EUV mask) is manufactured using the substrate 20 with the multilayer reflective film. Since damage to the surface of the multilayer reflective film 21 can be suppressed, the reflectance characteristic with respect to EUV light becomes good.
- the material of the protective film 22 examples include Ru, Ru— (Nb, Zr, Y, B, Ti, La, Mo), Si— (Ru, Rh, Cr, B), Si, Zr, Although materials such as Nb, La, and B can be used, the reflectance characteristics of the multilayer reflective film 21 become better when a material containing ruthenium (Ru) is applied.
- the material of the protective film 22 is preferably Ru or Ru— (Nb, Zr, Y, B, Ti, La, Mo).
- Such a protective film 22 is particularly effective when the absorber film 24 is made of a Ta-based material and the absorber film 24 is patterned by dry etching with a Cl-based gas.
- the high refractive index layer it is preferable to form a film by a sputtering method so that the low refractive index layer is deposited. More specifically, the incident angle of the sputtered particles for forming the low refractive index layer such as Mo and the incident angle of the sputtered particles for forming the high refractive index layer such as Si are over 0 degree 45. It is preferable to form a film at a temperature below. More preferably, it is more than 0 degree and 40 degree or less, more preferably more than 0 degree and 30 degree or less.
- the protective film 22 formed on the multilayer reflective film 21 is also ionized so that the protective film 22 is deposited obliquely with respect to the normal of the main surface of the substrate 10 after the multilayer reflective film 21 is formed. It is preferable to form by a beam sputtering method.
- a base layer may be formed between the substrate 10 and the multilayer reflective film 21.
- the underlayer can be formed for the purpose of improving the smoothness of the main surface of the substrate 10, the purpose of reducing defects, the purpose of enhancing the reflectivity of the multilayer reflective film 21, and the purpose of correcting the stress of the multilayer reflective film 21.
- substrate 50 with an electrically conductive film of this invention is demonstrated.
- the substrate 20 with a multilayer reflective film shown in FIG. 3 a predetermined back surface conductive film 23 is formed on the surface opposite to the surface in contact with the multilayer reflective film 21 of the substrate 10, whereby the present invention as shown in FIG. A substrate 50 with a conductive film can be obtained.
- substrate 50 with an electrically conductive film of this invention does not necessarily need to have a multilayer reflective film.
- the conductive film-provided substrate 50 of the present invention can be obtained by forming a predetermined back surface conductive film 23 on one surface on the main surface of the mask blank substrate 10.
- the substrate 50 with a conductive film of the present invention is characterized in that the static friction coefficient of the surface of the conductive film 23 is a value within a predetermined range.
- the formation method of the back surface conductive film 23 is well-known, for example, can be formed by magnetron sputtering method or ion beam sputtering method, using a metal or alloy target such as Cr or Ta.
- the conductive film 23 is preferably made of a material containing at least one selected from tantalum and chromium.
- the conductive film 23 is made of a material containing at least one selected from tantalum and chromium, so that electrical characteristics (sheets) required as the back conductive film 23 of the reflective mask 40 are obtained. Resistance) conductive film 23 can be obtained.
- Ta tantalum
- Ta tantalum
- an alloy containing Ta or a Ta compound containing at least one of boron, nitrogen, oxygen, and carbon is used.
- Ta compounds include TaB, TaN, TaO, TaON, TaCON, TaBN, TaBO, TaBON, TaBCON, TaHf, TaHfO, TaHfN, TaHfON, TaHfCON, TaSi, TaSiO, TaSiN, TaSiON, and TaSiCON. it can.
- the material containing chromium (Cr) of the conductive film 23 is preferably a Cr compound containing at least one selected from boron, nitrogen, oxygen, and carbon in Cr.
- the Cr compound include CrN, CrON, CrC, CrCN, CrCO, CrCON, CrBN, CrBO, CrBON, CrBC, CrBCN, CrBOC, and CrBOCN.
- the material containing tantalum (Ta) or chromium (Cr) preferably has a small amount of nitrogen (N) present in the surface layer.
- the content of nitrogen in the surface layer of the conductive film 23 made of a material containing tantalum (Ta) or chromium (Cr) is preferably less than 5 atomic%, and substantially does not contain nitrogen in the surface layer. Is more preferable. This is because, in the conductive film 23 made of a material containing tantalum (Ta) or chromium (Cr), the smaller the surface nitrogen content, the higher the static friction coefficient or the wear resistance.
- the conductive film 23 preferably has a low nitrogen content at least in a portion having a thickness of 10 nm from the surface, and more preferably has a low nitrogen content in a portion having a thickness of 30 nm from the surface. Further, in the conductive film 23 made of a material containing tantalum (Ta) or chromium (Cr), it is more preferable that the entire film does not contain nitrogen from the viewpoint of the static friction coefficient.
- the nitrogen content in the conductive film 23 changes along the thickness direction of the conductive film 23 so that the nitrogen content on the substrate 10 side is large and the nitrogen content on the surface side is small.
- An inclined composition film may be used.
- the conductive film 23 is preferably made of a material containing tantalum and boron.
- the conductive film 23 having wear resistance and chemical resistance can be obtained.
- the B content is preferably 5 to 30 atomic%.
- the ratio of Ta and B (Ta: B) in the sputtering target used for forming the conductive film 23 is preferably 95: 5 to 70:30.
- the sheet resistance of the conductive film 23 is preferably 200 ⁇ / ⁇ or less, more preferably 100 ⁇ / ⁇ or less, still more preferably 75 ⁇ / ⁇ or less, and particularly preferably 50 ⁇ / ⁇ or less. be able to.
- the sheet resistance can be obtained by adjusting the composition and film thickness of the conductive film 23 to obtain the conductive film 23 having an appropriate sheet resistance.
- the film thickness of the conductive film 23 can be appropriately controlled as long as the above-described sheet resistance can be obtained.
- the film thickness of the conductive film 23 is preferably 10 nm or more, and more preferably 20 nm or more. From the viewpoint of surface roughness, the thickness of the conductive film 23 is preferably 200 nm or less, and more preferably 100 nm or less.
- the back conductive film 23 As a method for forming the back conductive film 23, it is preferable to perform sputtering film formation using a sputtering target containing a metal which is a conductive film material. Specifically, the deposition surface of the substrate 10 for forming the back surface conductive film 23 is turned upward, the substrate 10 is rotated on a horizontal plane, and passes through the central axis of the substrate 10 and the center of the sputtering target.
- the back conductive film 23 is preferably formed by sputtering a sputtering target that is inclined at a predetermined angle with respect to the film formation surface at a position deviating from a straight line parallel to the central axis 10.
- the predetermined angle is preferably an angle at which the inclination angle of the sputtering target is not less than 5 degrees and not more than 30 degrees.
- the gas pressure during the sputtering film formation is preferably 0.03 Pa or more and 0.5 Pa or less.
- the real contact area of the surface of the conductive film 23 is increased by using krypton (Kr) and xenon (Xe) having an atomic weight larger than that of argon (Ar).
- Kr krypton
- Xe xenon
- the coefficient of static friction can be increased.
- the frictional force (static friction coefficient) between the surface of the conductive film 23 and the suction holding surface of the electrostatic chuck of the exposure apparatus can be increased, and the positional deviation of the reflective mask 40 during pattern transfer can be reduced. Can be suppressed.
- the substrate 50 with a conductive film, the substrate 20 with a multilayer reflective film, and the reflective mask blank 30 of the present invention are provided between a glass substrate that is a mask blank substrate 10 and a conductive film 23 containing tantalum or chromium. It is preferable to provide a hydrogen intrusion suppression film that suppresses hydrogen from entering the conductive film 23 from the (glass substrate). Due to the presence of the hydrogen intrusion suppression film, hydrogen can be prevented from being taken into the conductive film 23 and an increase in the compressive stress of the conductive film 23 can be suppressed.
- the material of the hydrogen intrusion suppression film may be any kind as long as it is difficult for hydrogen to permeate and can suppress the intrusion of hydrogen from the substrate 10 (glass substrate) into the conductive film 23.
- Specific examples of the material for the hydrogen intrusion suppressing film include Si, SiO 2 , SiON, SiCO, SiCON, SiBO, SiBON, Cr, CrN, CrON, CrC, CrCN, CrCO, CrCON, Mo, MoSi, and MoSiN. , MoSiO, MoSiCO, MoSiON, MoSiCON, TaO, and TaON.
- the hydrogen intrusion suppression film may be a single layer of these materials, or may be a multiple layer and a composition gradient film.
- the hydrogen penetration inhibiting film of the substrate 20 with a multilayer reflective film of the present invention is a material containing at least one selected from silicon, chromium and molybdenum, or at least one selected from oxygen, nitrogen and carbon in addition to these elements. It is preferable that it consists of material which contains hydrogen and does not contain hydrogen substantially. Since the hydrogen intrusion suppression film is made of the above material, hydrogen permeation of the hydrogen intrusion suppression film can be reduced. Therefore, hydrogen can be prevented from entering the conductive film 23 from the substrate 10 (glass substrate).
- the substrate 20 with a multilayer reflective film of the present invention it is possible to obtain the substrate 20 with a multilayer reflective film for EUV lithography (substrate 50 with a conductive film) in which the flatness is further suppressed from changing with time. it can.
- the hydrogen intrusion suppression film may be formed of a material containing silicon and oxygen.
- the ratio of silicon to oxygen in the material is preferably 1: 1 to 1: 2.
- the ratio of oxygen is larger than that of silicon in the material, the ratio of oxygen and silicon in an unbonded state is high, and it is difficult to obtain the effect of suppressing hydrogen penetration.
- a hydrogen intrusion suppression film made of a material containing silicon and oxygen is formed by a sputtering method, defects are likely to occur in the formed hydrogen intrusion suppression film because the conductivity of the sputtering target is low. In consideration of this point, it is preferable to form the hydrogen intrusion suppression film by an RF sputtering method or an ion beam sputtering method.
- the material of the hydrogen intrusion suppression film is preferably a material containing tantalum and oxygen.
- Preferred materials for the hydrogen intrusion suppression film include TaO, TaON, and TaBO.
- the material of the hydrogen intrusion suppression film is a material selected from TaO, TaON and TaBO, and more preferably a material having an oxygen content of 50 atomic% or more.
- the hydrogen intrusion suppression film may be a single layer of these materials, or may be a multiple layer and a composition gradient film.
- the hydrogen intrusion suppression film is desired to have a crystal structure of microcrystals, preferably amorphous.
- the crystal structure in the hydrogen intrusion suppression film is unlikely to be a single structure, and a plurality of crystal structures are likely to be mixed.
- the hydrogen intrusion suppression film tends to be in a state (mixed crystal state) in which oxygen and unbonded Ta, TaO bonds, Ta 2 O 3 bonds, TaO 2 bonds, and Ta 2 O 5 bonds are mixed.
- As the abundance ratio of oxygen and unbonded Ta in the film increases it becomes easier for hydrogen to be taken in and hydrogen to easily pass through the film.
- the hydrogen intrusion suppression film By containing 50 atomic% or more of oxygen in the hydrogen intrusion suppression film, theoretically, all tantalum in the film is bonded to oxygen. Moreover, even in the mixed crystal state as described above, it is considered that the ratio of oxygen and unbonded tantalum can be significantly reduced. Therefore, in order to more reliably suppress hydrogen intrusion from the substrate 10 (glass substrate) into the conductive film 23, the hydrogen intrusion suppression film preferably contains 50 atomic% or more of oxygen.
- the thickness of the hydrogen intrusion suppression film is preferably 1 nm or more, more preferably 5 nm or more, and even more preferably 10 nm or more.
- the thickness of the hydrogen intrusion suppression film is less than 1 nm, the hydrogen intrusion suppression film is too thin to expect an effect of preventing hydrogen intrusion.
- the thickness of the hydrogen intrusion suppression film is less than 1 nm, a film having a substantially uniform film thickness and a substantially uniform film composition on the main surface 71 of the substrate 10 (glass substrate) even by the sputtering method. It is not easy to form.
- hydrogen is formed in a region that is the same as or larger than the formation region of the conductive film 23 on the main surface 71 of the substrate 10 (glass substrate). It is preferable that an intrusion suppression film is formed.
- FIG. 5 is a schematic diagram showing an example of the reflective mask blank 30 of the present invention.
- the reflective mask blank 30 of the present invention has a structure in which an absorber film 24 serving as a transfer pattern is formed on the multilayer reflective film 21 or the protective film 22 of the substrate 20 with a multilayer reflective film described above.
- the reflective mask 40 (EUV mask) can be manufactured by patterning the absorber film 24 of the reflective mask blank 30. it can.
- the absorber film 24 has a function of absorbing EUV light as exposure light.
- the absorber film 24 is formed by the multilayer reflective film 21 and the protective film 22. What is necessary is just to have a desired reflectance difference between reflected light and the reflected light by the absorber pattern 27.
- the reflectance of the absorber film 24 with respect to EUV light is set between 0.1% and 40%.
- a desired phase difference may be provided between the reflected light from the multilayer reflective film 21 and the protective film 22 and the reflected light from the absorber pattern 27.
- membrane 24 in the reflective mask blank 30 may be called a phase shift film.
- the phase difference is preferably set in a range of 180 degrees ⁇ 10 degrees, and the absorber film 24
- the reflectance of the absorber film 24 with respect to the surface of the multilayer reflective film 21 and / or the protective film 22 is preferably set to 2% to 40%.
- the absorber film 24 may be a single layer or a laminated structure. In the case of a laminated structure, either a laminated film of the same material or a laminated film of different materials may be used.
- the laminated film may have a material or composition that is changed stepwise and / or continuously in the film thickness direction.
- the material of the absorber film 24 is not particularly limited. For example, it has a function of absorbing EUV light, and it is preferable to use a material containing Ta (tantalum) alone or Ta as a main component.
- the material mainly composed of Ta is usually an alloy of Ta.
- the absorber film 24 preferably has an amorphous or microcrystalline structure in terms of smoothness and flatness.
- Examples of the material containing Ta as a main component include a material containing Ta and B, a material containing Ta and N, a material containing Ta and B, and further containing at least one of O and N, and a material containing Ta and Si.
- a material selected from a material containing Ta, Si and N, a material containing Ta and Ge, a material containing Ta, Ge and N can be used. Further, for example, by adding B, Si and / or Ge or the like to Ta, an amorphous structure can be easily obtained and the smoothness can be improved. Furthermore, if N and / or O is added to Ta, the resistance to oxidation is improved, so that the stability over time can be improved.
- the absorber film 24 preferably has a microcrystalline structure or an amorphous structure. The crystal structure can be confirmed by an X-ray diffractometer (XRD).
- tantalum contains one or more elements selected from nitrogen, oxygen, boron, and carbon, and substantially contains hydrogen.
- the material etc. which are not contained in are mentioned.
- Ta, TaN, TaON, TaBN, TaBON, TaCN, TaCON, TaBCN, TaBOCN and the like can be mentioned.
- the absorber film 24 can be easily controlled to have an amorphous structure (amorphous).
- the absorber film 24 of the reflective mask blank 30 of the present invention is preferably formed of a material containing tantalum and nitrogen.
- the nitrogen content in the absorber film 24 is preferably 30 atomic percent or less, more preferably 25 atomic percent or less, and even more preferably 20 atomic percent or less.
- the nitrogen content in the absorber film 24 is preferably 5 atomic% or more.
- the absorber film 24 preferably contains tantalum and nitrogen, and the nitrogen content is preferably 10 atomic% or more and 50 atomic% or less.
- the absorber film 24 contains tantalum and nitrogen and the nitrogen content is 10 atomic% or more and 50 atomic% or less, the crystal grains constituting the absorber film 24 are enlarged on the surface of the absorber film 24. Therefore, the pattern edge roughness when the absorber film 24 is patterned can be reduced.
- the thickness of the absorber film 24 has a desired reflectance difference between the reflected light from the multilayer reflective film 21 or the protective film 22 and the reflected light from the absorber pattern 27.
- the film thickness is set to a value necessary for the purpose.
- the film thickness of the absorber film 24 is preferably 60 nm or less in order to reduce the shadowing effect.
- the absorber film 24 has a desired phase difference between the reflected light from the multilayer reflective film 21 or the protective film 22 and the reflected light from the absorber pattern 27.
- a phase shift function can be provided.
- a reflective mask blank 30 that is a master for the reflective mask 40 with improved transfer resolution by EUV light is obtained.
- the necessary film thickness of the absorber film 24 can be made thinner than the conventional film in order to achieve a phase shift effect necessary for obtaining a desired transfer resolution, the reflection type with a reduced shadowing effect.
- a mask blank 30 is obtained.
- the material of the absorber film 24 having a phase shift function is not particularly limited.
- the above Ta alone or a material mainly composed of Ta can be used, or other materials may be used.
- materials other than Ta include Ti, Cr, Nb, Mo, Ru, Rh, and W.
- it can be set as the alloy containing 2 or more elements among Ta, Ti, Cr, Nb, Mo, Ru, Rh, and W, or the laminated film of these elements.
- these materials may contain one or more elements selected from nitrogen, oxygen, and carbon.
- the absorber film 24 When the absorber film 24 is a laminated film, it may be a laminated film of the same material layer or a different material layer. When the absorber film 24 is a laminated film of layers of different materials, the material constituting the plurality of layers may be made of materials having different etching characteristics to form the absorber film 24 having an etching mask function.
- the reflective mask blank 30 of the present invention is not limited to the configuration shown in FIG.
- a resist film serving as a mask for patterning the absorber film 24 can be formed on the absorber film 24, and the reflective mask blank 30 with a resist film is also used as the reflective mask blank 30 of the present invention. It can be.
- the resist film formed on the absorber film 24 may be a positive type or a negative type.
- the resist film may be used for electron beam drawing or laser drawing.
- a so-called hard mask film (etching mask film 25) can be formed between the absorber film 24 and the resist film, and this aspect can also be used as the reflective mask blank 30 in the present invention.
- the reflective mask blank 30 according to the present invention further includes an etching mask film 25 in which the mask blank multilayer film 26 is disposed in contact with the surface of the absorber film 24 opposite to the mask blank substrate 10. It is preferable to include.
- the mask blank multilayer film 26 on the main surface of the mask blank substrate 10 is added to the multilayer reflective film 21, the protective film 22, and the absorber film 24. Further, an etching mask film 25 is provided.
- the reflective mask blank 30 of the present invention can further have a resist film on the outermost surface of the mask blank multilayer film 26 of the reflective mask blank 30 shown in FIG.
- the reflective mask blank 30 of the present invention is made of a material containing chromium on the absorber film 24 when the material of the absorber film 24 is Ta alone or a material mainly containing Ta. It is preferable that the etching mask film 25 to be formed has a structure.
- the etching mask film 25 is peeled off by dry etching using a mixed gas of chlorine-based gas and oxygen gas.
- the reflective mask 40 in which the absorber pattern 27 has good optical characteristics.
- the material containing chromium that forms the etching mask film 25 examples include a material containing one or more elements selected from nitrogen, oxygen, carbon, and boron in chromium.
- the material containing chromium that forms the etching mask film 25 includes CrN, CrON, CrCN, CrCON, CrBN, CrBON, CrBCN, and CrBOCN.
- the film thickness of the etching mask film 25 is desirably 3 nm or more from the viewpoint of obtaining a function as an etching mask for accurately forming a transfer pattern on the absorber film 24.
- the thickness of the etching mask film 25 is desirably 15 nm or less from the viewpoint of reducing the thickness of the resist film.
- the manufacturing method of the reflective mask blank 30 of the present invention will be described using the multilayer reflective film-coated substrate 20 shown in FIG. 4 as a starting material.
- the absorber film 24 is formed on the multilayer reflective film 21 formed on the main surface of the mask blank substrate 10.
- a predetermined back surface conductive film 23 is further formed on the back surface of the substrate 10 as described above.
- the absorber film 24 is formed by a reactive sputtering method using a sputtering target made of a material included in the absorber film 24.
- the absorber film 24 is preferably formed so as to contain components included in the atmospheric gas during reactive sputtering.
- the surface shape can be adjusted to a predetermined shape by adjusting the flow rate of the atmospheric gas.
- the atmospheric gas is preferably a mixed gas containing an inert gas and a nitrogen gas.
- the absorber film 24 having an appropriate composition can be obtained.
- the absorber film 24 is preferably formed using a sputtering target made of a material containing tantalum. As a result, the absorber film 24 containing tantalum and appropriately absorbing light can be formed.
- the manufacturing method of the reflective mask blank 30 of the present invention preferably further includes a step of forming a protective film 22 disposed in contact with the surface of the multilayer reflective film 21.
- a protective film 22 disposed in contact with the surface of the multilayer reflective film 21.
- the protective film 22 is preferably formed by an ion beam sputtering method in which an ion beam is irradiated onto a sputtering target made of the material of the protective film 22. Since the surface of the protective film 22 is smoothed by the ion beam sputtering method, the surface of the absorber film 24 formed on the protective film 22 and the surface of the etching mask film 25 further formed on the absorber film 24 are smoothed. It can be made.
- the manufacturing method of the reflective mask blank 30 of the present invention preferably further includes a step of forming an etching mask film 25 disposed in contact with the surface of the absorber film 24.
- a highly accurate transfer pattern can be formed when the transfer pattern is formed on the absorber film 24.
- FIG. 6 is a schematic diagram showing the reflective mask 40 of the present embodiment.
- the reflective mask 40 of the present invention has a structure in which the absorber film 24 in the reflective mask blank 30 is patterned to form the absorber pattern 27 on the multilayer reflective film 21 or the protective film 22.
- exposure light such as EUV light
- the exposure light is absorbed in a portion of the absorber film 24 on the surface of the reflective mask 40, and the other absorber film 24 is removed.
- the exposed light is reflected by the exposed protective film 22 and multilayer reflective film 21 at the exposed portion, so that it can be used as a reflective mask 40 for lithography.
- the reflective mask 40 of the present invention by having the absorber pattern 27 on the multilayer reflective film 21 (or on the protective film 22), it is possible to transfer a predetermined pattern to the transfer target using EUV light. it can. Further, in the pattern transfer apparatus, even when the moving speed of the stage on which the reflective mask 40 is mounted is increased, the positional deviation of the reflective mask 40 during pattern transfer can be suppressed.
- the present invention is a method for manufacturing a semiconductor device including a step of performing a lithography process using an exposure apparatus using the reflective mask 40 described above to form a transfer pattern on a transfer target.
- a semiconductor device having a fine and highly accurate transfer pattern can be manufactured.
- the multilayer reflective film 21 was formed on the surface of the mask blank substrate 10 for EUV exposure as described below, and the substrates with conductive films 50 of Examples 1 to 5 and Comparative Example 1 were manufactured.
- the mask blank substrate 10 used for manufacturing the conductive film-coated substrate 50 of Examples 1 to 5 and Comparative Example 1 was manufactured as follows.
- a SiO 2 —TiO 2 glass substrate having a size of 152 mm ⁇ 152 mm and a thickness of 6.35 mm is prepared as a mask blank substrate 10, and the front and back surfaces of the glass substrate are oxidized using a double-side polishing apparatus. After polishing stepwise with cerium abrasive grains or colloidal silica abrasive grains, surface treatment was performed with a low concentration of silicic acid. When the surface roughness of the glass substrate surface thus obtained was measured with an atomic force microscope, the root mean square roughness (Rms) was 0.5 nm.
- the surface shape (surface morphology, flatness) and TTV (plate thickness variation) of a region of 148 mm ⁇ 148 mm on the front and back surfaces of the glass substrate were measured with a wavelength shift interferometer using a wavelength modulation laser.
- the flatness of the front and back surfaces of the glass substrate was 290 nm (convex shape).
- the measurement result of the surface shape (flatness) of the glass substrate surface is stored in a computer as height information with respect to a reference surface at each measurement point, and the reference value of the surface flatness required for the glass substrate is 50 nm (convex shape).
- the difference was calculated by a computer in comparison with the reference value 50 nm for the back flatness.
- processing conditions for local surface processing according to the required removal amount were set for each processing spot shape region in the glass substrate surface.
- the dummy substrate is processed with a spot without moving the substrate for a certain period of time in the same way as in actual processing, and the shape is converted to the same measuring machine as the apparatus for measuring the surface shape of the front and back surfaces.
- the spot processing volume per unit time is calculated. Then, according to the necessary removal amount obtained from the spot information and the surface shape information of the glass substrate, the scanning speed for raster scanning the glass substrate was determined.
- the front and back flatness of the glass substrate will be below the above reference value by the magnetic viscoelastic fluid polishing (Magneto Rheological Finishing: MRF) processing method using the substrate finishing device with magnetic viscoelastic fluid
- MRF Magnetic Rheological Finishing
- the surface shape was adjusted by local surface processing.
- the magnetic viscoelastic fluid used at this time contained an iron component, and the polishing slurry used was an alkaline aqueous solution containing about 2 wt% of cerium oxide as an abrasive.
- the glass substrate was immersed in a cleaning tank containing a hydrochloric acid aqueous solution having a concentration of about 10% (temperature: about 25 ° C.) for about 10 minutes, and then rinsed with pure water and isopropyl alcohol (IPA) dried.
- a hydrochloric acid aqueous solution having a concentration of about 10% (temperature: about 25 ° C.) for about 10 minutes, and then rinsed with pure water and isopropyl alcohol (IPA) dried.
- IPA isopropyl alcohol
- the flatness of the front and back surfaces was about 40 to 50 nm. Further, when the surface roughness of the glass substrate surface was measured using an atomic force microscope in a 1 ⁇ m ⁇ 1 ⁇ m region at an arbitrary position of the transfer pattern formation region (132 mm ⁇ 132 mm), the root mean square roughness (Rms) ) was 0.37 nm, which was rougher than the surface roughness before local surface processing by MRF.
- Processing fluid Alkaline aqueous solution (NaOH) + abrasive (concentration: about 2 wt%)
- Abrasive colloidal silica, average particle size: about 70 nm Polishing platen rotation speed: about 1-50rpm
- Processing pressure about 0.1-10 kPa Polishing time: about 1-10 minutes
- the glass substrate was washed with an alkaline aqueous solution (NaOH) to obtain a mask blank substrate 10 for EUV exposure.
- an alkaline aqueous solution NaOH
- the front and back surface flatness of the front and back surfaces of the obtained mask blank substrate 10 were measured, the front and back surface flatness was about 40 nm, which was good because the state before processing by the double-side polishing apparatus was maintained or improved. .
- the surface roughness (Rms) is It was 0.13 nm.
- the local processing method of the mask blank substrate 10 in the present invention is not limited to the above-described magnetic viscoelastic fluid polishing processing method.
- a processing method using a gas cluster ion beam (Gas Cluster Ion Beams: GCIB) or local plasma may be used.
- the mask blank substrate 10 used in Examples 1 to 5 and Comparative Example 1 was manufactured.
- the back surface is formed by DC magnetron sputtering as follows.
- a conductive film 23 was formed.
- Table 1 shows the composition, film forming conditions, film thickness, and the like of the back surface conductive film 23 formed.
- a hydrogen penetration suppressing film having the composition shown in Table 2 was formed by DC magnetron sputtering.
- Example 5 and Comparative Example 1 no hydrogen penetration inhibiting film was formed.
- the back conductive films 23 of Examples 1 to 5 and Comparative Example 1 were formed as follows. That is, sputtering (or reactive sputtering) is performed using a target having the composition shown in Table 1 facing the back surface (one surface) of the mask blank substrate 10 and using a predetermined gas shown in Table 1 as a film forming gas. It was.
- the film thickness of the back surface conductive film 23 was set to 70 nm by adjusting the film formation time of the back surface conductive film 23. In this way, a substrate 50 with a conductive film having the structure shown in FIG. 2 was produced.
- the substrate with conductive film 50 of Examples 1 to 5 and Comparative Example 1 was arranged as an object to be measured 101.
- the measuring element 103 a quartz plano-convex lens having a curvature radius of 322 mm and a TiN thin film (thickness 2.3 ⁇ m) formed on the surface thereof was used.
- the setting speed of the relative movement speed between the measurement target film (conductive film 23) of the DUT 101 and the measuring element 103 was set to 0.1 mm / sec.
- the load for applying the vertical compressive stress was set to 10 mN.
- FIG. 10 shows the measurement results of the static friction coefficient of the substrate 50 with conductive film (TaN conductive film 23) of Example 3.
- the friction coefficient of the maximum value immediately before the decrease from monotonically increasing from 0 seconds is taken as the static friction coefficient of the measurement.
- Three measurements were performed per sample, and the average value was taken as the static friction coefficient of the sample.
- Table 1 shows the coefficient of static friction and the surface roughness (Rms) of the obtained conductive film-equipped substrates 50 of Examples 1 to 5 and Comparative Example 1.
- the static friction coefficients of the samples of Examples 1 to 5 were 0.25 or more.
- the coefficient of static friction of the sample of Comparative Example 1 was less than 0.25.
- Example 1 when the measurement was performed using an atomic force microscope in an area of 1 ⁇ m ⁇ 1 ⁇ m in an arbitrary portion of the 142 mm ⁇ 142 mm region, which was a surface to be electrostatically chucked when set in the exposure apparatus, Example 1 was obtained.
- the surface roughness (Rms) of the samples of ⁇ 5 and Comparative Example 1 was 0.60 nm or less.
- the calculation method of the specific wear amount is as follows. First, the indenter was pressed against a flat measurement target (substrate 50 with a conductive film) with a constant load, and reciprocating sliding at a constant distance was repeated. The wear area and the wear depth of the sliding part on the surface to be measured were measured, and the wear accumulation was calculated. The value obtained by dividing the wear accumulation by the load and the total sliding distance is the specific wear amount. That is, the specific wear amount is the wear accumulation per unit load and unit distance.
- Table 1 shows specific abrasion amounts of the obtained substrates 50 with conductive films of Examples 1 to 5 and Comparative Example 1.
- the specific wear amount of the samples of Examples 1 to 3 and 5 was 0.00 ⁇ 10 ⁇ 7 mm 3 / Nmm, and the wear resistance was high.
- the specific wear rate of the samples of Example 4 and Comparative Example 1 are each 5.00 ⁇ 10 -7 mm 3 /Nmm,5.50 ⁇ 10 -7 mm 3 / Nmm, Example 1 Compared with -3, 5 and 5, the wear resistance was lower.
- the multilayer reflective film-coated substrate 20 of Examples 1 to 5 and Comparative Example 1 was produced.
- the mask blank substrate 10 was the same as the mask blank substrate 10 used in the manufacture of the conductive film-coated substrate 50 of Examples 1 to 5 and Comparative Example 1 described above.
- a multilayer reflective film 21 was formed on the front surface of the mask blank substrate 10, and then a conductive film 23 was formed on the back surface.
- the multilayer reflective film 21 of the multilayer reflective film-coated substrate 20 of Examples 1 to 5 and Comparative Example 1 was formed as follows. That is, using a Mo target and a Si target, Mo layers (low refractive index layer, thickness 2.8 nm) and Si layers (high refractive index layer, thickness 4.2 nm) are alternately laminated by ion beam sputtering (lamination).
- the multilayer reflective film 21 was formed on the mask blank substrate 10 described above.
- the incident angles of the Mo and Si sputtered particles with respect to the normal of the main surface of the mask blank substrate 10 in the ion beam sputtering method are 30 degrees, and the gas flow rate of the ion source is 8 sccm.
- a Ru protective film 22 (film thickness 2.5 nm) was continuously formed on the multilayer reflective film 21 by an ion beam sputtering method to obtain a substrate 20 with a multilayer reflective film.
- the incident angle of Ru sputtered particles with respect to the normal of the main surface of the substrate 10 was 40 degrees, and the gas flow rate of the ion source was 8 sccm.
- the multilayer reflective film-coated substrate 20 of Examples 1 to 5 and Comparative Example 1 was manufactured.
- the absorber film 24 was formed on the surface of the protective film 22 of the multilayer reflective film-coated substrate 20 of Examples 1 to 5 and Comparative Example 1 described above by DC magnetron sputtering.
- the absorber film 24 was a laminated absorber film 24 composed of two layers, a TaBN film as an absorption layer and a TaBO film as a low reflection layer.
- the method for forming the absorber film 24 of Examples 1 to 5 and Comparative Example 1 is as follows.
- a TaBN film was formed as an absorption layer on the surface of the protective film 22 of the substrate 20 with a multilayer reflective film described above by DC magnetron sputtering.
- Table 3 shows film forming conditions such as the flow rates of Ar gas and N 2 gas when forming the TaBN film.
- the elemental composition of the TaBN film was measured by X-ray photoelectron spectroscopy (XPS method).
- Table 3 shows the elemental composition of the TaBN film measured by the XPS method together with the film thickness of the TaBN film.
- XRD X-ray diffractometer
- XPS method X-ray photoelectron spectroscopy
- Table 3 shows the elemental composition of the TaBO film measured by the XPS method together with the film thickness of the TaBO film.
- XRD X-ray diffractometer
- a resist was applied to the surface of the absorber film 24 of the reflective mask blank 30 of Examples 1 to 5 and Comparative Example 1 by spin coating, and a resist film having a thickness of 150 nm was formed through heating and cooling processes. .
- a resist pattern was formed through a drawing and developing process of a desired pattern.
- the absorber film 24 was patterned by predetermined dry etching to form the absorber pattern 27 on the protective film 22.
- dry etching can be performed with a mixed gas of Cl 2 and He.
- the absorber film 24 is a laminated film composed of two layers of TaBN film and TaBO film, a mixed gas of chlorine (Cl 2) and oxygen (O 2) (chlorine (Cl 2) and oxygen (O 2 ) Can be dry-etched by a mixing ratio (flow rate ratio) of 8: 2).
- the reflective masks 40 of Examples 1 to 5 and Comparative Example 1 thus manufactured have a flatness of a convex surface of 200 nm as a result of measuring the flatness of the back surface of the mask using a flatness measuring device using optical interference. It was confirmed.
- pattern transfer onto a semiconductor substrate was performed by a pattern transfer apparatus 200 having a configuration as shown in FIG. As shown in FIG. 11, EUV light (soft X-rays) obtained from a laser plasma X-ray source 231 is incident on a reflective mask 40, and the light reflected here passes through a small optical system 232, for example, a Si wafer substrate. Transfer to 233.
- EUV light soft X-rays
- the reduction optical system 232 an X-ray reflection mirror can be used.
- the pattern reflected by the reflective mask 40 by the reduction optical system is usually reduced to about 1 ⁇ 4.
- the transfer of the pattern of the Si wafer to the Si substrate 233 can be performed by exposing the pattern to a resist film formed on the Si substrate 233 and developing the pattern.
- the wavelength band of 13 to 14 nm is used as the exposure wavelength, transfer is usually performed so that the optical path is in a vacuum.
Landscapes
- Physics & Mathematics (AREA)
- General Physics & Mathematics (AREA)
- Engineering & Computer Science (AREA)
- Condensed Matter Physics & Semiconductors (AREA)
- Manufacturing & Machinery (AREA)
- Computer Hardware Design (AREA)
- Microelectronics & Electronic Packaging (AREA)
- Power Engineering (AREA)
- Preparing Plates And Mask In Photomechanical Process (AREA)
- Exposure And Positioning Against Photoresist Photosensitive Materials (AREA)
- Exposure Of Semiconductors, Excluding Electron Or Ion Beam Exposure (AREA)
Priority Applications (6)
| Application Number | Priority Date | Filing Date | Title |
|---|---|---|---|
| JP2017525171A JP6815995B2 (ja) | 2015-06-17 | 2016-06-08 | 導電膜付き基板、多層反射膜付き基板、反射型マスクブランク、反射型マスク及び半導体装置の製造方法 |
| SG11201710317RA SG11201710317RA (en) | 2015-06-17 | 2016-06-08 | Substrate with electrically conductive film, substrate with multilayer reflective film, reflective mask blank, reflective mask, and method of manufacturing semiconductor device |
| US15/580,331 US10606166B2 (en) | 2015-06-17 | 2016-06-08 | Substrate with electrically conductive film, substrate with multilayer reflective film, reflective mask blank, reflective mask, and method of manufacturing semiconductor device |
| KR1020177035098A KR102653351B1 (ko) | 2015-06-17 | 2016-06-08 | 도전막 부착 기판, 다층 반사막 부착 기판, 반사형 마스크 블랭크, 반사형 마스크 및 반도체 장치의 제조 방법 |
| KR1020247010348A KR102870729B1 (ko) | 2015-06-17 | 2016-06-08 | 도전막 부착 기판, 다층 반사막 부착 기판, 반사형 마스크 블랭크, 반사형 마스크 및 반도체 장치의 제조 방법 |
| US16/796,395 US10996554B2 (en) | 2015-06-17 | 2020-02-20 | Substrate with an electrically conductive film, substrate with a multilayer reflective film, reflective mask blank, reflective mask and method of manufacturing semiconductor device |
Applications Claiming Priority (2)
| Application Number | Priority Date | Filing Date | Title |
|---|---|---|---|
| JP2015-121712 | 2015-06-17 | ||
| JP2015121712 | 2015-06-17 |
Related Child Applications (2)
| Application Number | Title | Priority Date | Filing Date |
|---|---|---|---|
| US15/580,331 A-371-Of-International US10606166B2 (en) | 2015-06-17 | 2016-06-08 | Substrate with electrically conductive film, substrate with multilayer reflective film, reflective mask blank, reflective mask, and method of manufacturing semiconductor device |
| US16/796,395 Continuation US10996554B2 (en) | 2015-06-17 | 2020-02-20 | Substrate with an electrically conductive film, substrate with a multilayer reflective film, reflective mask blank, reflective mask and method of manufacturing semiconductor device |
Publications (1)
| Publication Number | Publication Date |
|---|---|
| WO2016204051A1 true WO2016204051A1 (ja) | 2016-12-22 |
Family
ID=57545764
Family Applications (1)
| Application Number | Title | Priority Date | Filing Date |
|---|---|---|---|
| PCT/JP2016/067134 Ceased WO2016204051A1 (ja) | 2015-06-17 | 2016-06-08 | 導電膜付き基板、多層反射膜付き基板、反射型マスクブランク、反射型マスク及び半導体装置の製造方法 |
Country Status (6)
| Country | Link |
|---|---|
| US (2) | US10606166B2 (enExample) |
| JP (3) | JP6815995B2 (enExample) |
| KR (2) | KR102870729B1 (enExample) |
| SG (2) | SG11201710317RA (enExample) |
| TW (2) | TWI755085B (enExample) |
| WO (1) | WO2016204051A1 (enExample) |
Cited By (11)
| Publication number | Priority date | Publication date | Assignee | Title |
|---|---|---|---|---|
| WO2018135467A1 (ja) * | 2017-01-17 | 2018-07-26 | Hoya株式会社 | 反射型マスクブランク、反射型マスク及びその製造方法、並びに半導体装置の製造方法 |
| US10553428B2 (en) * | 2017-08-22 | 2020-02-04 | Taiwan Semiconductor Manufacturing Company, Ltd. | Reflection mode photomask and fabrication method therefore |
| JPWO2020196555A1 (enExample) * | 2019-03-28 | 2020-10-01 | ||
| JPWO2019225737A1 (ja) * | 2018-05-25 | 2021-06-10 | Hoya株式会社 | 反射型マスクブランク、反射型マスク、並びに反射型マスク及び半導体装置の製造方法 |
| US11036127B2 (en) * | 2017-08-15 | 2021-06-15 | AGC Inc. | Reflective mask blank and reflective mask |
| WO2021161792A1 (ja) * | 2020-02-12 | 2021-08-19 | Hoya株式会社 | 反射型マスクブランク、反射型マスク、及び半導体装置の製造方法 |
| US20220066310A1 (en) * | 2020-09-02 | 2022-03-03 | S&S Tech Co., Ltd. | Blankmask with backside conductive layer, and photomask manufactured with the same |
| WO2022181310A1 (ja) * | 2021-02-25 | 2022-09-01 | Hoya株式会社 | マスクブランク、反射型マスク、および半導体デバイスの製造方法 |
| WO2025115566A1 (ja) * | 2023-11-29 | 2025-06-05 | Agc株式会社 | 反射型マスクブランク、反射型マスク、反射型マスクブランクの製造方法、及び反射型マスクの製造方法 |
| TWI888228B (zh) * | 2020-04-21 | 2025-06-21 | 日商Agc股份有限公司 | Euv微影用反射型光罩基底 |
| TWI901850B (zh) | 2021-02-25 | 2025-10-21 | 日商Hoya股份有限公司 | 光罩基底、反射型光罩、及半導體裝置之製造方法 |
Families Citing this family (12)
| Publication number | Priority date | Publication date | Assignee | Title |
|---|---|---|---|---|
| WO2016204051A1 (ja) | 2015-06-17 | 2016-12-22 | Hoya株式会社 | 導電膜付き基板、多層反射膜付き基板、反射型マスクブランク、反射型マスク及び半導体装置の製造方法 |
| US11048159B2 (en) * | 2016-03-31 | 2021-06-29 | Hoya Corporation | Method for manufacturing reflective mask blank, reflective mask blank, method for manufacturing reflective mask, reflective mask, and method for manufacturing semiconductor device |
| US10768534B2 (en) * | 2018-08-14 | 2020-09-08 | Taiwan Semiconductor Manufacturing Co., Ltd. | Photolithography apparatus and method and method for handling wafer |
| KR20220024004A (ko) * | 2019-06-27 | 2022-03-03 | 호야 가부시키가이샤 | 박막 부착 기판, 다층 반사막 부착 기판, 반사형 마스크 블랭크, 반사형 마스크 및 반도체 장치의 제조 방법 |
| JP7350571B2 (ja) * | 2019-08-30 | 2023-09-26 | Hoya株式会社 | 導電膜付基板、反射型マスクブランク及び反射型マスク、並びに半導体デバイスの製造方法 |
| US11111176B1 (en) * | 2020-02-27 | 2021-09-07 | Applied Materials, Inc. | Methods and apparatus of processing transparent substrates |
| US20210333717A1 (en) * | 2020-04-23 | 2021-10-28 | Taiwan Semiconductor Manufacturing Co., Ltd. | Extreme ultraviolet mask and method of manufacturing the same |
| US20220283491A1 (en) * | 2021-03-03 | 2022-09-08 | Shin-Etsu Chemical Co., Ltd. | Reflective mask blank, and method for manufacturing thereof |
| JP7567742B2 (ja) * | 2021-10-01 | 2024-10-16 | 信越化学工業株式会社 | 反射型マスクブランク用膜付き基板、反射型マスクブランク、及び反射型マスクの製造方法 |
| JP7669321B2 (ja) * | 2022-09-01 | 2025-04-28 | 信越化学工業株式会社 | 反射型マスクブランクおよび反射型マスクの製造方法 |
| JPWO2024071026A1 (enExample) * | 2022-09-28 | 2024-04-04 | ||
| JP7697609B1 (ja) * | 2023-09-29 | 2025-06-24 | Agc株式会社 | 反射型マスクブランク、反射型マスクブランクの製造方法、反射型マスク、反射型マスクの製造方法 |
Citations (2)
| Publication number | Priority date | Publication date | Assignee | Title |
|---|---|---|---|---|
| WO2009116348A1 (ja) * | 2008-03-18 | 2009-09-24 | 旭硝子株式会社 | Euvリソグラフィ用反射型マスクブランク |
| JP2014532313A (ja) * | 2011-10-14 | 2014-12-04 | フンダシオ インスティテュート デ サイエンセズ フォトニクス | 光透過性導電性コーティング及び基板上へのそれらの堆積の方法 |
Family Cites Families (25)
| Publication number | Priority date | Publication date | Assignee | Title |
|---|---|---|---|---|
| JPS526730Y2 (enExample) | 1972-10-30 | 1977-02-12 | ||
| JPS5228892Y2 (enExample) | 1972-12-04 | 1977-07-01 | ||
| JPS5082857U (enExample) | 1973-11-30 | 1975-07-16 | ||
| JPS5596951A (en) * | 1979-01-17 | 1980-07-23 | Mitsubishi Electric Corp | Negative for photomask |
| JP2001358055A (ja) | 2000-06-15 | 2001-12-26 | Nikon Corp | 露光装置及びデバイス製造方法 |
| US20050238922A1 (en) | 2003-12-25 | 2005-10-27 | Hoya Corporation | Substrate with a multilayer reflection film, reflection type mask blank for exposure, reflection type mask for exposure and methods of manufacturing them |
| JP2005210093A (ja) * | 2003-12-25 | 2005-08-04 | Hoya Corp | 多層反射膜付き基板、露光用反射型マスクブランクス及び露光用反射型マスク、並びにそれらの製造方法 |
| EP1962326B1 (en) | 2005-12-12 | 2012-06-06 | Asahi Glass Company, Limited | Reflection-type mask blank for euv lithography, and substrate with electrically conductive film for the mask blank |
| US7678511B2 (en) * | 2006-01-12 | 2010-03-16 | Asahi Glass Company, Limited | Reflective-type mask blank for EUV lithography |
| WO2008072706A1 (ja) | 2006-12-15 | 2008-06-19 | Asahi Glass Company, Limited | Euvリソグラフィ用反射型マスクブランク、および該マスクブランク用の機能膜付基板 |
| JP4372178B2 (ja) * | 2007-04-27 | 2009-11-25 | 株式会社東芝 | 光反射型マスクと光反射型マスクの作製方法及び半導体装置の製造方法 |
| JP4994405B2 (ja) | 2009-03-05 | 2012-08-08 | Hoya株式会社 | プレス成形型の離型膜の良否判定方法および光学素子の製造方法 |
| JP5515773B2 (ja) * | 2010-01-21 | 2014-06-11 | 大日本印刷株式会社 | 遮光枠を有する反射型マスクおよびその製造方法 |
| TWI399456B (zh) * | 2010-01-25 | 2013-06-21 | Sun Well Solar Corp | 導電膜製作設備及用於在其中處理基板之方法 |
| PH12013500757A1 (en) * | 2010-12-16 | 2013-06-03 | Resonac Corp | Photosensitive element, method for forming resist pattern, and method for producing printed circuit board |
| KR20130013515A (ko) * | 2011-07-28 | 2013-02-06 | 삼성디스플레이 주식회사 | 유기 발광 표시 장치 |
| JP6157874B2 (ja) * | 2012-03-19 | 2017-07-05 | Hoya株式会社 | Euvリソグラフィー用多層反射膜付き基板及びeuvリソグラフィー用反射型マスクブランク、並びにeuvリソグラフィー用反射型マスク及び半導体装置の製造方法 |
| JP5575169B2 (ja) * | 2012-03-22 | 2014-08-20 | 株式会社ニューフレアテクノロジー | 荷電粒子ビーム描画装置および荷電粒子ビーム描画方法 |
| JP5993779B2 (ja) * | 2013-03-29 | 2016-09-14 | 富士フイルム株式会社 | 導電膜形成用組成物、導電膜、配線基板 |
| KR102109129B1 (ko) * | 2013-07-02 | 2020-05-08 | 삼성전자주식회사 | 반사형 포토마스크 블랭크 및 반사형 포토마스크 |
| JP6186996B2 (ja) | 2013-07-30 | 2017-08-30 | 旭硝子株式会社 | Euvリソグラフィ用反射型マスクブランク、および、euvリソグラフィ用反射型マスク |
| SG10201805079YA (en) * | 2013-09-27 | 2018-07-30 | Hoya Corp | Conductive film coated substrate, multilayer reflectivefilm coated substrate, reflective mask blank, reflectivemask, and semiconductor device manufacturing method |
| JP2015126127A (ja) | 2013-12-26 | 2015-07-06 | キヤノン株式会社 | 保持装置、露光装置、および物品の製造方法 |
| JP6257428B2 (ja) * | 2014-04-15 | 2018-01-10 | 株式会社ジャパンディスプレイ | 電極基板、表示装置、入力装置および電極基板の製造方法 |
| WO2016204051A1 (ja) | 2015-06-17 | 2016-12-22 | Hoya株式会社 | 導電膜付き基板、多層反射膜付き基板、反射型マスクブランク、反射型マスク及び半導体装置の製造方法 |
-
2016
- 2016-06-08 WO PCT/JP2016/067134 patent/WO2016204051A1/ja not_active Ceased
- 2016-06-08 JP JP2017525171A patent/JP6815995B2/ja active Active
- 2016-06-08 SG SG11201710317RA patent/SG11201710317RA/en unknown
- 2016-06-08 US US15/580,331 patent/US10606166B2/en active Active
- 2016-06-08 SG SG10201911400WA patent/SG10201911400WA/en unknown
- 2016-06-08 KR KR1020247010348A patent/KR102870729B1/ko active Active
- 2016-06-08 KR KR1020177035098A patent/KR102653351B1/ko active Active
- 2016-06-16 TW TW109134273A patent/TWI755085B/zh active
- 2016-06-16 TW TW105118976A patent/TWI708993B/zh active
-
2020
- 2020-02-20 US US16/796,395 patent/US10996554B2/en active Active
- 2020-10-30 JP JP2020182324A patent/JP7296358B2/ja active Active
-
2022
- 2022-03-18 JP JP2022043344A patent/JP7296499B2/ja active Active
Patent Citations (2)
| Publication number | Priority date | Publication date | Assignee | Title |
|---|---|---|---|---|
| WO2009116348A1 (ja) * | 2008-03-18 | 2009-09-24 | 旭硝子株式会社 | Euvリソグラフィ用反射型マスクブランク |
| JP2014532313A (ja) * | 2011-10-14 | 2014-12-04 | フンダシオ インスティテュート デ サイエンセズ フォトニクス | 光透過性導電性コーティング及び基板上へのそれらの堆積の方法 |
Cited By (22)
| Publication number | Priority date | Publication date | Assignee | Title |
|---|---|---|---|---|
| US11249385B2 (en) | 2017-01-17 | 2022-02-15 | Hoya Corporation | Reflective mask blank, reflective mask, method of manufacturing same, and method of manufacturing semiconductor device |
| JPWO2018135467A1 (ja) * | 2017-01-17 | 2019-01-31 | Hoya株式会社 | 反射型マスクブランク、反射型マスク及びその製造方法、並びに半導体装置の製造方法 |
| KR20190026926A (ko) * | 2017-01-17 | 2019-03-13 | 호야 가부시키가이샤 | 반사형 마스크 블랭크, 반사형 마스크 및 그 제조 방법, 및 반도체 장치의 제조 방법 |
| KR102002441B1 (ko) | 2017-01-17 | 2019-07-23 | 호야 가부시키가이샤 | 반사형 마스크 블랭크, 반사형 마스크 및 그 제조 방법, 및 반도체 장치의 제조 방법 |
| WO2018135467A1 (ja) * | 2017-01-17 | 2018-07-26 | Hoya株式会社 | 反射型マスクブランク、反射型マスク及びその製造方法、並びに半導体装置の製造方法 |
| TWI781133B (zh) * | 2017-01-17 | 2022-10-21 | 日商Hoya股份有限公司 | 反射型光罩基底、反射型光罩及其製造方法、與半導體裝置之製造方法 |
| TWI788396B (zh) * | 2017-08-15 | 2023-01-01 | 日商Agc股份有限公司 | 反射型光罩基底、及反射型光罩 |
| US11036127B2 (en) * | 2017-08-15 | 2021-06-15 | AGC Inc. | Reflective mask blank and reflective mask |
| US10553428B2 (en) * | 2017-08-22 | 2020-02-04 | Taiwan Semiconductor Manufacturing Company, Ltd. | Reflection mode photomask and fabrication method therefore |
| US12105413B2 (en) | 2018-05-25 | 2024-10-01 | Hoya Corporation | Reflective mask blank, reflective mask, method of manufacturing reflective mask, and method of manufacturing semiconductor device |
| JPWO2019225737A1 (ja) * | 2018-05-25 | 2021-06-10 | Hoya株式会社 | 反射型マスクブランク、反射型マスク、並びに反射型マスク及び半導体装置の製造方法 |
| JPWO2020196555A1 (enExample) * | 2019-03-28 | 2020-10-01 | ||
| JP7354005B2 (ja) | 2020-02-12 | 2023-10-02 | Hoya株式会社 | 反射型マスクブランク、反射型マスク、及び半導体装置の製造方法 |
| JP2021128197A (ja) * | 2020-02-12 | 2021-09-02 | Hoya株式会社 | 反射型マスクブランク、反射型マスク、及び半導体装置の製造方法 |
| WO2021161792A1 (ja) * | 2020-02-12 | 2021-08-19 | Hoya株式会社 | 反射型マスクブランク、反射型マスク、及び半導体装置の製造方法 |
| TWI888228B (zh) * | 2020-04-21 | 2025-06-21 | 日商Agc股份有限公司 | Euv微影用反射型光罩基底 |
| US20220066310A1 (en) * | 2020-09-02 | 2022-03-03 | S&S Tech Co., Ltd. | Blankmask with backside conductive layer, and photomask manufactured with the same |
| JP2022129534A (ja) * | 2021-02-25 | 2022-09-06 | Hoya株式会社 | マスクブランク、反射型マスク、および半導体デバイスの製造方法 |
| WO2022181310A1 (ja) * | 2021-02-25 | 2022-09-01 | Hoya株式会社 | マスクブランク、反射型マスク、および半導体デバイスの製造方法 |
| JP7633832B2 (ja) | 2021-02-25 | 2025-02-20 | Hoya株式会社 | マスクブランク、反射型マスク、および半導体デバイスの製造方法 |
| TWI901850B (zh) | 2021-02-25 | 2025-10-21 | 日商Hoya股份有限公司 | 光罩基底、反射型光罩、及半導體裝置之製造方法 |
| WO2025115566A1 (ja) * | 2023-11-29 | 2025-06-05 | Agc株式会社 | 反射型マスクブランク、反射型マスク、反射型マスクブランクの製造方法、及び反射型マスクの製造方法 |
Also Published As
| Publication number | Publication date |
|---|---|
| JP2021015295A (ja) | 2021-02-12 |
| KR102653351B1 (ko) | 2024-04-02 |
| TWI755085B (zh) | 2022-02-11 |
| JP2022069683A (ja) | 2022-05-11 |
| KR20240046293A (ko) | 2024-04-08 |
| US10606166B2 (en) | 2020-03-31 |
| KR102870729B1 (ko) | 2025-10-15 |
| SG11201710317RA (en) | 2018-01-30 |
| US10996554B2 (en) | 2021-05-04 |
| TWI708993B (zh) | 2020-11-01 |
| TW202109173A (zh) | 2021-03-01 |
| TW201706709A (zh) | 2017-02-16 |
| JPWO2016204051A1 (ja) | 2018-04-05 |
| KR20180018526A (ko) | 2018-02-21 |
| JP7296358B2 (ja) | 2023-06-22 |
| SG10201911400WA (en) | 2020-02-27 |
| US20180149962A1 (en) | 2018-05-31 |
| JP6815995B2 (ja) | 2021-01-20 |
| US20200192213A1 (en) | 2020-06-18 |
| JP7296499B2 (ja) | 2023-06-22 |
Similar Documents
| Publication | Publication Date | Title |
|---|---|---|
| JP7296499B2 (ja) | 導電膜付き基板、多層反射膜付き基板、反射型マスクブランク、反射型マスク及び半導体装置の製造方法 | |
| JP6630005B2 (ja) | 導電膜付き基板、多層反射膜付き基板、反射型マスクブランク及び反射型マスク、並びに半導体装置の製造方法 | |
| JP6388841B2 (ja) | 反射型マスクブランク、反射型マスクブランクの製造方法、反射型マスク及び半導体装置の製造方法 | |
| JP6195880B2 (ja) | マスクブランク用基板の製造方法、多層反射膜付き基板の製造方法、反射型マスクブランクの製造方法、反射型マスクの製造方法、透過型マスクブランクの製造方法、透過型マスクの製造方法、及び半導体装置の製造方法 | |
| JP6348116B2 (ja) | 多層反射膜付き基板、マスクブランク、転写用マスク及び半導体装置の製造方法 | |
| JP6678269B2 (ja) | 反射型マスクブランク及び反射型マスク | |
| KR101875790B1 (ko) | 반사형 마스크 블랭크 및 그 제조방법, 반사형 마스크 그리고 반도체 장치의 제조방법 | |
| WO2014050831A1 (ja) | 多層反射膜付き基板の製造方法 | |
| JP2015088592A (ja) | 多層反射膜付き基板の製造方法、反射型マスクブランクの製造方法、及び反射型マスクの製造方法 |
Legal Events
| Date | Code | Title | Description |
|---|---|---|---|
| 121 | Ep: the epo has been informed by wipo that ep was designated in this application |
Ref document number: 16811526 Country of ref document: EP Kind code of ref document: A1 |
|
| ENP | Entry into the national phase |
Ref document number: 2017525171 Country of ref document: JP Kind code of ref document: A |
|
| ENP | Entry into the national phase |
Ref document number: 20177035098 Country of ref document: KR Kind code of ref document: A |
|
| WWE | Wipo information: entry into national phase |
Ref document number: 15580331 Country of ref document: US |
|
| WWE | Wipo information: entry into national phase |
Ref document number: 11201710317R Country of ref document: SG |
|
| NENP | Non-entry into the national phase |
Ref country code: DE |
|
| 122 | Ep: pct application non-entry in european phase |
Ref document number: 16811526 Country of ref document: EP Kind code of ref document: A1 |
|
| WWR | Wipo information: refused in national office |
Ref document number: 1020247010348 Country of ref document: KR |
|
| WWR | Wipo information: refused in national office |
Ref document number: 1020247010348 Country of ref document: KR |
|
| WWC | Wipo information: continuation of processing after refusal or withdrawal |
Ref document number: 1020247010348 Country of ref document: KR |