WO2016158096A1 - 差動型磁気センサ - Google Patents

差動型磁気センサ Download PDF

Info

Publication number
WO2016158096A1
WO2016158096A1 PCT/JP2016/055247 JP2016055247W WO2016158096A1 WO 2016158096 A1 WO2016158096 A1 WO 2016158096A1 JP 2016055247 W JP2016055247 W JP 2016055247W WO 2016158096 A1 WO2016158096 A1 WO 2016158096A1
Authority
WO
WIPO (PCT)
Prior art keywords
magnetic
differential
magnetic field
detection
signal
Prior art date
Legal status (The legal status is an assumption and is not a legal conclusion. Google has not performed a legal analysis and makes no representation as to the accuracy of the status listed.)
Ceased
Application number
PCT/JP2016/055247
Other languages
English (en)
French (fr)
Japanese (ja)
Inventor
剛健 河野
均 青山
道治 山本
英男 荒川
Current Assignee (The listed assignees may be inaccurate. Google has not performed a legal analysis and makes no representation or warranty as to the accuracy of the list.)
Aichi Micro Intelligent Corp
Aichi Steel Corp
Original Assignee
Aichi Micro Intelligent Corp
Aichi Steel Corp
Priority date (The priority date is an assumption and is not a legal conclusion. Google has not performed a legal analysis and makes no representation as to the accuracy of the date listed.)
Filing date
Publication date
Family has litigation
First worldwide family litigation filed litigation Critical https://patents.darts-ip.com/?family=57004157&utm_source=google_patent&utm_medium=platform_link&utm_campaign=public_patent_search&patent=WO2016158096(A1) "Global patent litigation dataset” by Darts-ip is licensed under a Creative Commons Attribution 4.0 International License.
Application filed by Aichi Micro Intelligent Corp, Aichi Steel Corp filed Critical Aichi Micro Intelligent Corp
Priority to EP16771980.6A priority Critical patent/EP3264122B1/en
Priority to US15/561,744 priority patent/US10509080B2/en
Publication of WO2016158096A1 publication Critical patent/WO2016158096A1/ja
Anticipated expiration legal-status Critical
Ceased legal-status Critical Current

Links

Images

Classifications

    • GPHYSICS
    • G01MEASURING; TESTING
    • G01RMEASURING ELECTRIC VARIABLES; MEASURING MAGNETIC VARIABLES
    • G01R33/00Arrangements or instruments for measuring magnetic variables
    • G01R33/02Measuring direction or magnitude of magnetic fields or magnetic flux
    • G01R33/06Measuring direction or magnitude of magnetic fields or magnetic flux using galvano-magnetic devices
    • G01R33/063Magneto-impedance sensors; Nanocristallin sensors
    • GPHYSICS
    • G01MEASURING; TESTING
    • G01RMEASURING ELECTRIC VARIABLES; MEASURING MAGNETIC VARIABLES
    • G01R33/00Arrangements or instruments for measuring magnetic variables
    • G01R33/02Measuring direction or magnitude of magnetic fields or magnetic flux
    • G01R33/06Measuring direction or magnitude of magnetic fields or magnetic flux using galvano-magnetic devices
    • HELECTRICITY
    • H10SEMICONDUCTOR DEVICES; ELECTRIC SOLID-STATE DEVICES NOT OTHERWISE PROVIDED FOR
    • H10NELECTRIC SOLID-STATE DEVICES NOT OTHERWISE PROVIDED FOR
    • H10N50/00Galvanomagnetic devices
    • H10N50/80Constructional details
    • GPHYSICS
    • G01MEASURING; TESTING
    • G01RMEASURING ELECTRIC VARIABLES; MEASURING MAGNETIC VARIABLES
    • G01R33/00Arrangements or instruments for measuring magnetic variables
    • G01R33/0023Electronic aspects, e.g. circuits for stimulation, evaluation, control; Treating the measured signals; calibration
    • G01R33/0029Treating the measured signals, e.g. removing offset or noise
    • GPHYSICS
    • G01MEASURING; TESTING
    • G01RMEASURING ELECTRIC VARIABLES; MEASURING MAGNETIC VARIABLES
    • G01R33/00Arrangements or instruments for measuring magnetic variables
    • G01R33/0023Electronic aspects, e.g. circuits for stimulation, evaluation, control; Treating the measured signals; calibration
    • G01R33/0041Electronic aspects, e.g. circuits for stimulation, evaluation, control; Treating the measured signals; calibration using feed-back or modulation techniques

Definitions

  • the present invention eliminates a background magnetic field component common to two points by using two magneto-impedance sensors arranged at two distant points, and enables detection of a local weak magnetic field by one of the magneto-impedance sensors.
  • the present invention relates to a magnetic sensor.
  • the differential type magnetic sensor uses magnetic detection means composed of two magnetic impedance sensors, one magnetic sensor is brought close to a measurement object such as iron powder, and the other magnetic sensor is a measurement object such as iron powder.
  • calculating the difference between the magnetic field signals of the magnetic sensors at each point eliminates the background magnetic field component common to the two points, that is, the background noise component (geomagnetic field, etc.), iron powder, etc. It is possible to extract a local weak magnetic field such as a magnetic field generated only from the measurement object.
  • the magneto-impedance sensor can form a magneto-impedance element using an amorphous wire or a thin film body as a magnetic sensitive body.
  • an example using an amorphous wire will be mainly described. That is, as shown in Patent Document 1, the magneto-impedance sensor causes a magneto-impedance effect to appear in an amorphous wire by passing a pulse current or a high-frequency current through a magnetosensitive material such as an amorphous wire, and generates an external magnetic field (amorphous).
  • AC voltage corresponding to the magnetic field around the wire is taken out from both ends of the amorphous wire or both ends of the detection coil wound around the amorphous wire, and a magnetic or magnetic field signal is obtained by a sample hold circuit or other signal processing circuit. It is output as a voltage.
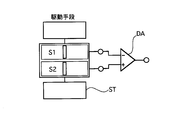
  • the conventional differential magnetic sensor has two magnetic detection means S1 having equal detection sensitivities in the environments of magnetic fields H1 and H2 at two points separated by a distance L [m].
  • S2 and the differential operation means DA for obtaining the difference between the magnetic field signals obtained from the magnetic sensing means outputs the difference H1-H2 between the magnetic field signals obtained from the two magnetic sensing means.
  • the magnetic field of iron powder having a diameter of 0.1 mm is an extremely small magnetic field of about 1 nT
  • the background magnetic field that causes noise is, for example, tens of thousands nT, taking geomagnetism as an example. It can be very large compared to a magnetic field.
  • even background magnetic noise emitted from motors, lighting equipment, etc. in factories, workplaces, laboratories, etc., which have a magnetic field level lower than this, may be several hundred nT or more.
  • the result of differential operation that is, the residual magnetic field component corresponding to H1-H2 remains as a background magnetic field of several nT, which is indistinguishable from 1 nT of the magnetic field component due to the iron powder. Occurs.
  • the influence of the sensitivity difference is further increased. Therefore, in order to accurately extract such a weak magnetic field that exists locally, it is necessary to make the difference in detection sensitivity between the two magnetic detection means as small as possible and ideally to substantially match. It is necessary to match the detection sensitivity accurately before two magnetic signals are input to the differential operation means.
  • the inventors have added a signal adjustment means to the magnetic impedance sensor, thereby varying the sensitivity characteristics of the magnetic impedance element.
  • the present invention adjusts the detected magnetic field signal voltage until the detected magnetic field signal voltage is input to the differential arithmetic means even if there is a difference between the two magnetic detection means so that the detection sensitivities of the two magnetic detection means can be regarded as equal as much as possible.
  • the first technical idea is focused on.
  • the present inventors further adjust the driving current supplied from the driving means by the signal adjusting means in response to the difference in detection sensitivity between the two magnetic impedance sensors having different detection sensitivities.
  • the third technical idea of the present invention in which the gain of the signal processing means connected to the two magnetic impedance elements is adjusted by the signal adjusting means. That is, as described above, when a local magnetic field such as iron powder is measured with a differential magnetic sensor, it is necessary to make the detection sensitivities of the two magnetoimpedance elements substantially coincide with each other. Even if an attempt is made to provide a magneto-impedance element having the same detection sensitivity due to variations in the detection sensitivity, there may be a difference in detection sensitivity as a result. In the present invention, even in such a case, by providing a signal adjustment means and adjusting the drive current or the gain of the signal processing means in accordance with the difference in detection sensitivity, it is possible to accurately measure a local minute magnetic field. can do.
  • the differential magnetic sensor of the present invention (first invention according to claim 1) obtained as a result of the above examination is A driving means for outputting a driving current; and two magneto-impedance elements each having two magnetosensitive elements to which the driving current is applied, arranged at two points away from each other.
  • Two magnetic sensing means for outputting corresponding magnetic field signal voltages;
  • a differential magnetic unit comprising a differential calculation unit that outputs a signal of a difference in magnetic field strength between the two points by calculating a difference between two magnetic field signal voltages output from the two magnetic detection units;
  • the two magnetic detection means having the two magnetic impedance elements having different detection sensitivities are at the same level if the peripheral magnetic field strength is the same.
  • Signal adjusting means for adjusting the output signal so as to output the magnetic field signal voltage is provided.
  • the differential magnetic sensor of the present invention (the second invention according to claim 2) is:
  • the signal adjustment means is configured to adjust the drive current supplied from the drive means in accordance with a difference in detection sensitivity of the magnetosensitive bodies constituting the two magnetic impedance elements. is there.
  • the differential magnetic sensor of the present invention (the third invention according to claim 3) is In the first invention, As the signal adjusting means, the gain of the signal processing means constituting the magnetic sensing means connected to the two magnetic impedance elements corresponding to the difference in detection sensitivity of the magnetic sensitive bodies constituting the two magnetic impedance sensors. Is configured to be adjusted.
  • the differential magnetic sensor according to the first aspect of the present invention having the above-described configuration includes two magnetic elements including a driving unit that outputs a driving current and two magnetosensitive bodies to which the driving current is applied at two points apart.
  • An impedance element is provided, and two magnetic detection means for outputting a magnetic field signal voltage corresponding to the magnetic field strength around the magnetic sensitive body and a difference between the two magnetic field signal voltages output from the two magnetic detection means are calculated.
  • a differential magnetic sensor comprising a differential calculation means for outputting a signal of a difference in magnetic field strength between the two points
  • the differential means provided between the drive means and the differential calculation means
  • the output signal is output so as to output the magnetic field signal voltage at the same level. Output the output signal so that it can be considered that the detection sensitivity of the magnetic detection means is substantially the same, so that the background magnetic field component common to the two points is erased and the local weak magnetic field is detected. It has the effect of making it possible.
  • the differential magnetic sensor according to the second aspect of the present invention having the above-described configuration is characterized in that, as the signal adjusting means in the first aspect, the driving is performed in accordance with a difference in detection sensitivity of the magnetic sensitive members constituting the two magnetic impedance elements. Since the drive current supplied from the means is adjusted, the magnetic field signal voltage corresponding to the magnetic field strength around the amorphous wire even if the two magnetic impedance elements have different detection sensitivities. Is output after being adjusted to a magnetic field signal voltage so that the detection sensitivities are substantially the same, so that the background magnetic field component common to the two points is erased, and the local weak magnetic field is accurate. The effect is to enable detection.
  • the differential magnetic sensor according to a third aspect of the present invention having the above-described configuration is configured such that the signal adjusting unit is arranged on the two magnetic impedance elements in response to a difference in detection sensitivity between the magnetic sensitive bodies constituting the two magnetic impedance elements. Since the gain of each of the signal processing means to be connected is adjusted, even if the two magnetoimpedance elements having different detection sensitivities are used, the input until the differential operation means is input. Since the gain of the signal processing means can be adjusted so as to have substantially the same sensitivity to each other, the background magnetic field component common to the two points can be eliminated, and the local weak magnetic field can be accurately detected. There is an effect.
  • the differential magnetic sensor includes two magnetic detection means S1 and S2 including a magnetic impedance element including amorphous wires as two magnetic sensitive bodies, and a differential calculation means DA.
  • the amorphous wire of the two magnetic impedance elements is interposed between the magnetic detection means S1 and S2 and the differential operation means DA.
  • a signal adjusting unit ST is provided for adjusting the output signal so that the same magnetic field signal voltage is output if the surrounding magnetic field strength is the same according to the difference in detection sensitivity.
  • the signal adjusting unit ST adjusts a signal according to the detection sensitivity of the two magnetic impedance elements. Even if there is a difference in detection sensitivity, if the magnetic field strength around the two magneto-impedance elements is the same, the signal voltage is adjusted so that it can be considered that the same magnetic field signal voltage is output. . Therefore, the differential arithmetic means DA cancels out the background magnetic field component common to the two points, and the local weak magnetic field can be detected.
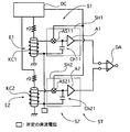
  • the two magnetic impedance sensors S1 and S2 are magnetic impedance elements E1 and E2 made of the amorphous wire.
  • the magnetic impedance element E1 includes a drive circuit DC that outputs a pulse current, and the products of the detection sensitivities of the magnetic impedance elements E1 and E2 and the drive current applied to the magnetic impedance elements are substantially equal to each other.
  • resistor circuits r1 and r2 are inserted as the signal adjusting means ST between E2 and the drive circuit DC.
  • the resistance values of the resistance circuits r1 and r2 inserted in the drive circuit DC are equal to the ratio of the detection sensitivity of the two magnetic impedance elements E1 and E2. Since the corresponding drive current is set to be applied, an AC voltage corresponding to the magnetic field strength around the two magnetic impedance elements E1 and E2 is output via the detection coils KC1 and KC2 and the drive is performed.
  • the signal is converted into a magnetic field signal by the sample and hold circuits SH1 and SH2 including the analog switches AS11 and AS21 and the capacitors Ch11 and Ch21 which are operated by another pulse output of the circuit DC, and the background common to the two points by the differential operation means DA. Accurate detection of weak local magnetic field based on fine iron powder, etc. by canceling out magnetic field components An effect of enabling.
  • the two magnetic impedance sensors S1 and S2 include sample and hold circuits SH1 and SH2 including amplifier circuits A1 and A2, respectively.
  • the signal adjustment is performed so that the products of the detection sensitivities of the magnetic impedance elements E1 and E2 made of a magnetic material and the gains of the sample hold circuits SH1 and SH2 as signal processing means connected to the respective magnetic impedance elements are substantially equal to each other.
  • a resistance circuit (not shown) is inserted as means ST, and the amplification degree of the amplification circuits A1 and A2 of the sample and hold circuits SH1 and SH2 is set.
  • the amplification degree of the amplification circuits A1 and A2 of the sample and hold circuits SH1 and SH2 is equal to the ratio of the detection sensitivity of the two magnetic impedance elements E1 and E2. Therefore, if the magnetic field strength around the two magnetoimpedance elements E1 and E2 is the same, the amplified output based on the corresponding magnetic field signal voltage is adjusted to be regarded as the same value, By outputting to the differential operation means DA, the background magnetic field component common to the two points is canceled by the operation of the differential operation means DA, and the weak magnetic field based on the local fine iron powder is accurately detected. The effect of making it possible.
  • the sensitivity is matched by adjusting the drive currents passed through the two amorphous wires according to the detection sensitivity, and the two external magnetic field strengths H1 and H2 are matched.
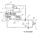
  • This is an embodiment based on the first and second aspects of the present invention, which constructs a differential magnetic sensor that measures the difference of the magnetic field, that is, the difference in magnetic field (H1-H2), that is, a highly sensitive magnetic inclinometer.
  • the differential magnetic sensor of the first embodiment includes first and second amorphous wires 11 and 21 as magnetic bodies around which detection coils 12 and 22 are wound, and two pulses P1.
  • the pulse oscillation circuit 10 that outputs P2
  • the drive circuit 2 that outputs the drive current for driving the first and second amorphous wires 11 and 21 constituting the two magneto-impedance elements E10 and E20
  • the first And a signal adjustment circuit 3 that adjusts the drive current according to the detection sensitivity of the second amorphous wires 11 and 21, and first and second external magnetic field signals output from the first and second detection coils 21 and 22
  • the signal processing means 4 comprising the second sample and hold circuits 41 and 42 and a differential for calculating the difference (H1-H2) between the external magnetic fields Consists of calculation means 5.
  • the two magneto-impedance elements E10 and E20 made of the amorphous wires 11 and 21 constituting the magnetic sensitive body are arranged apart by a distance L as shown in FIG.
  • This L usually has many needs of about 0.01 to 10 m, but there are other needs.
  • the amorphous wire 11 is made of an FeCoSiB alloy having an outer diameter of 10 ⁇ m and a length of 6 mm, and is disposed at a certain point where an external magnetic field H1 acts, and one end of one of resistors r11 and r21 connected in series, which will be described later. The other end is connected to one end of the resistor r11, the other end is grounded, and the detection coil 12 is wound around it.
  • the amorphous wire 21 is made of a FeCoSiB-based alloy having an outer diameter of 10 ⁇ m and a length of 6 mm, and is disposed at a point where an external magnetic field H2 that is L meters (m) away from the certain point acts. Connected to one end of the other resistor r21 of the connected resistors r11, r21, the other end is grounded, and the detection coil 22 is wound around.
  • the pulse oscillation circuit 10 (detailed illustration is omitted) includes two logic elements connected in series, a resistor and a capacitor, a first output terminal 10A for outputting a pulse output P1 having a constant pulse width, and the pulse A second output terminal 10B that outputs a pulse P2 that is narrower than the pulse width of the output P1 in synchronization is provided.
  • the drive circuit 2 has a voltage source E that outputs a predetermined direct current, and one end connected to the positive end of the voltage source E, and the voltage P1 from the pulse oscillation circuit 11 is output to the control end. And an electronic switch DS for controlling to supply a direct current output from the source E.
  • the signal adjustment circuit 3 includes first and second resistors r11 and r21 connected in series, and a connection point rc between the first resistor r11 and the second resistor r21 is the driving circuit 2 of the drive circuit 2.
  • the connecting point is connected to the other end of the electronic switch DS, and the DC current from the voltage source E is applied to the connection point while the pulse output P1 is applied to the control end of the electronic switch DS. ing.
  • the first detection coil 12 has one end 121 connected to a DC power source (not shown) having a predetermined DC potential, the other end 122 connected to the analog switch AS11 of the sample hold circuit 41, and the amorphous between the both ends.
  • An AC voltage corresponding to the external magnetic field H1 around which the wire 11 is placed is generated and output.
  • One end 221 of the second detection coil 22 is connected to a DC power source (not shown) having a predetermined DC potential, the other end 222 is connected to the analog switch AS21 of the sample hold circuit, and between the both ends 221 and 222.
  • a driving current is applied to the amorphous wire 21 via the second resistor r21 of the signal adjustment circuit 3
  • an alternating voltage corresponding to the external magnetic field H2 around the amorphous wire 21 is applied. Generated and configured to output.
  • the signal processing means 4 includes a first sample hold circuit 41 connected to the first detection coil and a second sample hold circuit 42 connected to the second detection coil. Consists of.
  • the first sample-and-hold circuit 41 has a first end connected to the other end 122 of the first detection coil 12 and a control end connected to the second output end 10B of the pulse oscillation circuit 10.
  • the analog switch AS11 and a hold capacitor Ch11 having one end connected to the other end of the first analog switch AS11 and the other end connected to the DC power source (not shown).
  • a first buffer amplifier A11 connected to the other end of the AS 11 and amplifies and outputs a voltage corresponding to the held magnetic field H1 is provided.
  • the second sample and hold circuit 42 has one end connected to the other end 222 of the second detection coil 22 and a control end connected to the second output end 10B of the pulse oscillation circuit 10.
  • the second analog switch AS21, and a hold capacitor Ch21 having one end connected to the other end of the second analog switch AS21 and the other end connected to the DC power source (not shown).
  • a second buffer amplifier A21 is connected to the other end of the switch AS21 and amplifies and outputs a voltage corresponding to the held magnetic field H2.
  • the differential operation means 5 has a positive input terminal connected to the output terminal P11 of the first buffer amplifier A11 and a negative input terminal connected to the output terminal P21 of the second buffer amplifier A21.
  • the differential amplifier A31 is configured to output a voltage difference between output voltages from the first and second buffer amplifier circuits A11 and A21.
  • the detection sensitivity as a magnetic impedance element when the same predetermined pulse current is passed through the amorphous wires 11 and 21 based on the pulse P1 is k1 and k2, there is a difference in sensitivity between the two elements. Normally, the detection sensitivities k1 and k2 do not become the same value as shown in the following equation (1).
  • the outputs H0 ⁇ k1 and H0 ⁇ k2 of the output terminals P11 and P21 are As shown in the following equation 2, the same output is not obtained.
  • the difference in detection sensitivity due to manufacturing variations is often a small difference and may not be a large difference. However, as described above, for example, a magnetic field of a very small iron powder of several nT level is used. In the case of measurement, such a difference in detection sensitivity causes a fatal decrease in accuracy.
  • the output terminals P11 and P21 also serve as input terminals of the differential amplifier A31 as the differential operation means 5, and therefore the outputs of the two magnetic detection means at the input terminals of the differential operation means 5 are different.
  • it since it is not a differential magnetic sensor that enables accurate magnetic field detection, it is necessary to adjust detection sensitivity.
  • the detection sensitivities k1 and k2 of the two magneto-impedance elements are approximately proportional to the magnitude of the current passed through the amorphous wires 11 and 21 by the drive circuit 2 based on the pulse P1, so that the two amorphous wires 11 , 21 can be adjusted to adjust the detection sensitivity as a magnetic impedance element.
  • a larger pulse current is allowed to flow to the amorphous wire of the magnetic impedance element on the low detection sensitivity side, or on the high detection sensitivity side. This can be achieved by reducing the pulse current for the amorphous wire.
  • the detection sensitivities of the two magneto-impedance elements are made substantially the same. Can do it.
  • the pulse currents i11 and i21 flowing through the two amorphous wires 11 and 12 are expressed by the following formulas 5 and 6, where w11 and w21 are resistance values of the two amorphous wires and Ed is a voltage of the power source E of the drive circuit 2. It becomes like this.
  • r21, r22, etc. which are described below as the description of the resistor are described in the meaning of serving as both a resistor symbol and a resistance value.
  • a resistor r11 having a resistance value capable of applying a drive current for giving a desired detection sensitivity to one magneto-impedance element is determined, and a resistor for obtaining the same sensitivity as the other magneto-impedance element.
  • the resistance value of the resistor r21 is determined by the above equation 7, and the drive current is adjusted by inserting a resistor circuit comprising the resistors r11 and r21 into the drive circuit 2 as the signal adjusting means 3.
  • the total detection sensitivity of the two magnetic detection means can be adjusted so as to be regarded as substantially the same.
  • the differential magnetic sensor according to the first embodiment having the above-described configuration and adjusted as described above includes the two magnetic impedance sensors as two magnetic detection means and one differential calculation means,
  • the impedance sensor includes a common pulse oscillation circuit 10 and an amorphous wire driving circuit 2 for driving the amorphous wires 11 and 21 in pulses.
  • the pulse oscillating circuit 10 outputs pulses P1 and P2 having a predetermined period in synchronization with each other from the two output terminals 10A and 10B.
  • the control terminal of the electronic switch DS is connected to the output terminal 10 ⁇ / b> A that outputs the pulse P ⁇ b> 1 of the pulse oscillation circuit 10, and the contact is controlled to open and close.
  • One contact electrode of the electronic switch DS is connected to the voltage source E, and the other contact electrode is connected to resistors r11 and r21 connected in series to the amorphous wires 11 and 21, respectively. Accordingly, pulse currents i11 and i21 are applied to the amorphous wires 11 and 21, respectively, corresponding to the on / off of the pulse P1.
  • the amorphous wires 11 and 21 develop a magneto-impedance effect, and are applied to the surrounding external magnetic fields H1 and H2 where the amorphous wires 11 and 21 are placed between the terminals of the detection coils 12 and 22, respectively. Corresponding AC voltage is generated.
  • the AC voltage is sampled at a predetermined timing on the basis of the pulse P2 by two sample and hold circuits 41 and 42 including analog switches AS11 and AS21, a hold capacitor Ch11, Ch21 and a buffer amplifier A11 and A21, and the hold capacitor Ch11.
  • Ch21 are held as voltages and output from the buffer amplifiers A11 and A21, respectively.
  • the outputs output from the output terminals P11 and P21 of the buffer amplifiers A11 and A21 correspond to the magnetic fields H1 and H2 and are adjusted to outputs that can be considered to have the same detection sensitivity. It has become.
  • the differential magnetic sensor of the first embodiment provides an output that makes the detection sensitivities of the two magnetic detection means equal as much as possible before being input to the differential amplifier A31 constituting the differential calculation means 5. Therefore, there is no need to search for a combination of magneto-impedance elements with the same sensitivity as in the past, and all the produced magneto-impedance elements can be used effectively to produce a weak magnetic field such as fine iron powder at low cost. This makes it possible to realize a highly sensitive and highly accurate detection, and to realize a highly sensitive and highly accurate differential magnetic sensor.
  • the differential magnetic sensor of the second embodiment adds a variable resistor r32 to the signal adjusting means 3 in the differential magnetic sensor of the first embodiment described above.
  • the difference will be mainly described.
  • a variable resistor is used for the selection process of the resistor for adjusting the current.
  • the fixed resistors r12 and r22 have the same resistance value
  • the variable resistor r32 Assuming that the resistance value between one electrode and the slider is ra and the resistance value between the other electrode and the slider is rb, the pulse currents i11 and i21 are as shown in the following equations 8 and 9. Can be set.
  • the signal adjusting means 3 is provided with a resistor circuit 32 of resistors r12, ra and r22, rb interposed between the drive circuit 2 and the amorphous wires 11 and 21, so that the total of the two magnetic detectors can be obtained.
  • the detection sensitivity can be adjusted so as to be regarded as substantially the same.
  • the resistance values ra and rb can be continuously set with high accuracy by the variable resistor r32, so that the fixed resistor in the first embodiment described above can be replaced.
  • the productivity of the process for making the sensitivity the same can be remarkably improved, and even if the balance of the detection sensitivity changes during the inspection, there is an effect that it can be quickly adjusted and dealt with.
  • the differential amplifier in the first embodiment is omitted by differentially connecting the detection coils 12 and 22 of the magnetic impedance elements E10 and E20 from the viewpoint of simplifying the electronic circuit. It is.
  • the winding end electrodes b and d of the detection coils 12 and 22 are connected to each other, and the voltage between the winding start electrodes a and c, that is, the detection coil 12 is connected.
  • 22 is sampled and held by only one sample and hold circuit consisting of the analog switch AS31 and the hold capacitor Ch31 and omitting the buffer amplifier. Since the magnetic field signal of the difference from H2 is output from the output terminal of the high input impedance amplifier A32 as the differential operation means 5 which also functions as a buffer amplifier, the electronic circuit can be simplified to reduce the cost. As a result, it is possible to accurately detect a weak magnetic field.
  • the high input impedance amplifier A32 can also realize a high input impedance amplifier circuit using a normal OP amplifier (operational amplifier). There is an effect that the differential magnetic sensor is realized at a lower cost.
  • the differential magnetic sensor of the third embodiment is an embodiment based on the third invention in which the gain is adjusted in the sample and hold circuit in the signal processing means.
  • the following description will focus on differences from the first embodiment described above. To do.
  • the differential magnetic sensor of the third embodiment does not adjust the sensitivity by adjusting the drive current applied to the amorphous wire.
  • the two amorphous wires 11 and 21 are driven with the same pulse current through the resistor r0 having the same resistance value as in the conventional differential magnetic sensor. Accordingly, when the detection sensitivities of the two magnetoimpedance elements E10 and E20 are different due to variations in manufacturing processes, the outputs from the two magnetoimpedance elements are different from each other.
  • the detection sensitivity of the magneto-impedance element is adjusted by inserting resistance circuits 331 and 332 as the signal adjusting means 3 into the sample and hold circuit as the signal processing means 4 to 1 or less.
  • the gain is adjusted by adjusting the attenuation factor.
  • resistors r11 and r12 connected in series between the output terminals of the followers A11 and A21 having an amplification factor of 1 by an OP amplifier as a buffer amplifier and the output terminals P11 and P21, one end of which is a direct current.
  • a first resistor circuit 331 is connected in series with a source (not shown) and the other end connected to the output end of the follower A11, and the connection point of the resistors r11 and r12 is connected to the output terminal P11.
  • the resistors r21 and r22 are connected, one end is connected to a direct current source (not shown), the other end is connected to the output terminal of the follower A21, and the connection point of the resistors r21 and r22 is the output terminal.
  • a second resistance circuit 332 connected to P21 is inserted.
  • the attenuation rates of the first and second resistance circuits are: r11 / (r11 + r12) and r21 / (r21 + r22).
  • the output signal can be adjusted so that the detection sensitivities of the two magneto-impedance elements can be regarded as being substantially equal before being input to the differential amplifier A33 constituting the differential operation means 5. It can be done.
  • the resistance values of the resistors r11, r12, and r21 are determined in advance, and the resistance value of r22 is calculated based on the following equation 12 and applied to the resistor circuit. To do.
  • the resistors r11 and r21 are, for example, normally 1 k ⁇ or more which does not cause a large load on the buffer amplifiers A12 and A21.
  • the resistor r12 has a damping ratio of, for example, about 10% in comparison with the resistor r11. It was 1 k ⁇ . This is because the variation of the detection sensitivity of the magneto-impedance element is at most several percent, so that it is possible to calculate the resistance value of r22 that enables signal adjustment for any variation within this range. Note that variable resistors may be employed as the resistors r11, r12, r21, r22.
  • the differential magnetic sensor according to the third embodiment having the above-described configuration is provided in the sample and hold circuits 41 and 42 even when a difference occurs in the detection sensitivity between the two magnetic impedance elements due to manufacturing variations.
  • the output signal input to the differential amplifier A33 constituting the differential operation means 5 is the final of the magnetic detection means. Since it can be adjusted to an output signal that can be considered that the detection sensitivities are substantially the same, the background magnetic field component common to the two points is canceled out, and the local signal based on the fine iron powder or the like to be detected The effect of enabling accurate detection of a weak magnetic field is achieved.
  • the differential type magnetic sensor of the fourth embodiment corresponds to the differential operation means 5 in the above-described third embodiment as shown in FIG. 8 in order to reduce the price.
  • the high-impedance differential amplifier A34 is used, and the buffer amplifiers A11 and A21 of the sample-and-hold circuits 41 and 42 as the signal processing means 4 are omitted.
  • Resistors inserted as the signal adjustment means 3 between the hold capacitors Ch1 and Ch2 of the sample hold circuits 41 and 42 and the input terminals P11 and P21 of the high input impedance differential amplifier A34 as the differential operation means 5
  • An attenuating circuit including resistance circuits 331 and 332 composed of r11, r12 and resistors r21 and r22 is inserted.
  • Equation 12 the conditions for making the detection sensitivities of the two magneto-impedance elements the same are the same as in FIG. 7, and r22 is calculated based on Equation 12 already described.
  • the discharge time constants t1 and t2 determined by the product of the resistors r11 and r21 and the hold capacitors Ch1 and Ch2 of the sample and hold circuits 41 and 42 are expressed by the following equations (13) and (14).
  • the update of the magnetic signal by the sample hold circuits 41 and 42 is also performed with the period T. If the discharge time constants t1 and t2 are the same as or larger than the period T, that is, satisfying the following formula 15, the voltage of the sampled and held capacitor, that is, the detected magnetic field signal is It is possible to hold with a predetermined accuracy until a new sample hold timing.
  • the buffer amplifiers A11 and A21 shown in FIG. 7 can be omitted.
  • the repetition period T of the pulses P1 and P2 is 1 ⁇ s (microseconds), and the resistors r11 and r21 of the resistor of the attenuation circuit constituted by the resistor circuits 331 and 332 are 300 k ⁇ as an example.
  • the capacitors Ch1 and Ch2 were set to 100 pF (picofarad).
  • the sensitivity of the two signal detection means can be adjusted with high accuracy by the attenuation circuit comprising the resistor circuits 331 and 332 comprising the resistors r11 and r12 and the r21 and r22 as the signal adjustment means 3. is there.
  • the differential magnetic sensor of the fourth embodiment does not require the use of a follower circuit of an OP amplifier as a buffer amplifier in the above-described third embodiment, so that the cost can be further reduced. There is an effect.
  • variable resistors can be adopted as the resistors r11, r12, r21, r22.
  • the buffer amplifiers A12 and A22 of the sample and hold circuits 41 and 42 are realized as the signal adjusting means 3 by non-inverting amplifiers using OP amplifiers and resistor circuits 351 and 352. And output to the differential arithmetic unit A35.
  • the gains of two non-inverting amplifiers including an OP amplifier A12, resistors r13 and r14, an OP amplifier A22, and resistors r23 and r24 can be set as follows. (1+ r14 / r13) (1+ r24 / r23)
  • the differential operation means is set by setting the resistance values of the resistors r13, r14, r23, and r24 so that The detection sensitivities of the two magnetoimpedance elements can be adjusted to be substantially equal until they are input to A35.
  • r24 r23 / k2 * (k2-k1-k1 * r14 / r13)
  • the resistors r13, r14, r23, r24 can be constituted by variable resistors.
  • the buffer amplifiers A12 and A22 of the sample and hold circuits 41 and 42 are realized as the signal adjusting means 3 by non-inverting amplifiers including OP amplifiers and resistor circuits 351 and 352. Therefore, by setting the resistance values of the resistance circuits 351 and 352, the final detection sensitivity of the magnetic detection means is substantially increased while the gain is amplified by 1 or more. Output voltages that can be regarded as identical to each other can be obtained, so that an effect of realizing a differential magnetic sensor with higher sensitivity is achieved.
  • the distance between the two magnetic impedance sensor elements of the two magnetic detection means is set to 30 mm, and one is arranged near the upper part of the passage of the iron powder having a diameter of 0.3 mm that is passed by the belt conveyor, and the other is made therefrom. Also, the measurement was carried out by shifting to the upper part.
  • a and b indicate waveforms of outputs from the output terminals P11 and P21 of each magnetic detection means. “a” and “b” are substantially the same waveforms, and are displayed with being shifted up and down in FIG. Although the waveform of a includes a weak magnetic signal that passes through iron powder, the background magnetic field component that causes noise is about 80 nT at the maximum, so the magnetic signal when passing through a minute iron powder remains as it is. However, it is hidden behind the background magnetic field component and cannot be clearly seen.
  • c is an output of the differential operation of the differential operation unit A35.
  • the background noise of both outputs is reduced to about 1/400 by the differential operation effect, and the magnetic field fluctuation waveform due to the passage of iron powder having a peak value of 1.2 nT. was able to be observed.
  • the waveform of c is displayed with the scale of the vertical axis enlarged in comparison with a and b in order to make the magnetic field fluctuation easier to see.
  • the experiment is performed by using a filter that removes low frequencies so that the measurement result is not affected.
  • a waveform d shown in FIG. 10B is an output waveform after differential calculation in a comparative example in which the same measurement as described above was performed without applying the signal adjustment means that is the feature of the fifth embodiment.
  • the background noise is not sufficiently reduced, and as a result, the iron powder passing waveform that should be seen at the position indicated by the arrow is hidden.
  • an example in which an external magnetic field is detected by a detection coil wound around an amorphous wire as a magnetic sensitive body has been described.
  • the present invention is not limited thereto.
  • An example in which an external magnetic field is detected based on output voltages at both ends of an amorphous wire as a magnetic sensitive body can be adopted.
  • a signal is output so that the same magnetic field signal voltage is output if the surrounding magnetic field strength is the same.
  • the present invention is not limited to this, but the signal is adjusted so as to compensate for the difference in detection sensitivity between the two magnetic impedance elements, and the level of the magnetic field signal voltage is adjusted.

Landscapes

  • Physics & Mathematics (AREA)
  • Condensed Matter Physics & Semiconductors (AREA)
  • General Physics & Mathematics (AREA)
  • Chemical & Material Sciences (AREA)
  • Engineering & Computer Science (AREA)
  • Nanotechnology (AREA)
  • Measuring Magnetic Variables (AREA)
PCT/JP2016/055247 2015-03-27 2016-02-23 差動型磁気センサ Ceased WO2016158096A1 (ja)

Priority Applications (2)

Application Number Priority Date Filing Date Title
EP16771980.6A EP3264122B1 (en) 2015-03-27 2016-02-23 Differential magnetic sensor
US15/561,744 US10509080B2 (en) 2015-03-27 2016-02-23 Differential type magnetic sensor

Applications Claiming Priority (2)

Application Number Priority Date Filing Date Title
JP2015-066524 2015-03-27
JP2015066524A JP6414498B2 (ja) 2015-03-27 2015-03-27 差動型磁気センサ

Publications (1)

Publication Number Publication Date
WO2016158096A1 true WO2016158096A1 (ja) 2016-10-06

Family

ID=57004157

Family Applications (1)

Application Number Title Priority Date Filing Date
PCT/JP2016/055247 Ceased WO2016158096A1 (ja) 2015-03-27 2016-02-23 差動型磁気センサ

Country Status (4)

Country Link
US (1) US10509080B2 (enExample)
EP (1) EP3264122B1 (enExample)
JP (1) JP6414498B2 (enExample)
WO (1) WO2016158096A1 (enExample)

Cited By (3)

* Cited by examiner, † Cited by third party
Publication number Priority date Publication date Assignee Title
WO2019198602A1 (ja) * 2018-04-12 2019-10-17 愛知製鋼株式会社 マーカ検出システム、及びマーカ検出システムの運用方法
WO2019198603A1 (ja) * 2018-04-12 2019-10-17 愛知製鋼株式会社 磁気計測システム、及び磁気センサの校正方法
WO2025182369A1 (ja) * 2024-02-27 2025-09-04 愛知製鋼株式会社 磁気センサ装置

Families Citing this family (1)

* Cited by examiner, † Cited by third party
Publication number Priority date Publication date Assignee Title
JP6661570B2 (ja) * 2017-05-11 2020-03-11 矢崎総業株式会社 磁界検出センサ

Citations (3)

* Cited by examiner, † Cited by third party
Publication number Priority date Publication date Assignee Title
JPS59202057A (ja) * 1983-04-30 1984-11-15 Shimadzu Corp 磁気探傷方法
JPH1152036A (ja) * 1997-08-04 1999-02-26 Murata Mfg Co Ltd 磁界検出素子の感度校正方法およびその感度校正方法を用いる磁界検出素子の感度校正装置
JP2000098009A (ja) * 1998-09-24 2000-04-07 Koyo Electronics Ind Co Ltd 磁気検出センサ

Family Cites Families (13)

* Cited by examiner, † Cited by third party
Publication number Priority date Publication date Assignee Title
US2260589A (en) * 1939-07-24 1941-10-28 George S Smith Magnetic flux meter
JP2566687B2 (ja) 1991-03-27 1996-12-25 株式会社クボタ トルク測定装置の温度補償装置
JPH0980132A (ja) 1995-09-18 1997-03-28 Kokusai Denshin Denwa Co Ltd <Kdd> 差動型交流磁気センサ
DE19615254C2 (de) * 1996-04-18 1999-03-11 Diagnostikforschung Inst Gerät zur höchstempfindlichen magnetischen Detektion von Analyten
US6229307B1 (en) * 1998-08-12 2001-05-08 Minebea Co., Ltd. Magnetic sensor
JP2002071770A (ja) * 2000-08-31 2002-03-12 Aichi Steel Works Ltd 磁場検出装置
DE10224747B4 (de) * 2002-06-04 2004-05-13 Infineon Technologies Ag Sensorschaltung und Verfahren zur Herstellung derselben
JP2004301545A (ja) 2003-03-28 2004-10-28 Seiko Instruments Inc 高分解能差動型磁気センサ及びその駆動装置
WO2005033716A1 (en) * 2003-10-01 2005-04-14 Eaton Corporation System and method for current sensing using anti-differential, error correcting current sensing
EP2562550B1 (en) * 2010-03-26 2019-02-13 Canon Denshi Kabushiki Kaisha Method for detecting magnetic field generated by a current to estimate the amount of current
US20120249126A1 (en) 2011-03-31 2012-10-04 Allegro Microsystems, Inc. Circuits and methods for motion detection
JP2014190774A (ja) 2013-03-26 2014-10-06 Nagoya Univ 磁気計測装置
JP6163874B2 (ja) * 2013-05-23 2017-07-19 株式会社リコー 回転角度検出装置、画像処理装置及び回転角度検出方法

Patent Citations (3)

* Cited by examiner, † Cited by third party
Publication number Priority date Publication date Assignee Title
JPS59202057A (ja) * 1983-04-30 1984-11-15 Shimadzu Corp 磁気探傷方法
JPH1152036A (ja) * 1997-08-04 1999-02-26 Murata Mfg Co Ltd 磁界検出素子の感度校正方法およびその感度校正方法を用いる磁界検出素子の感度校正装置
JP2000098009A (ja) * 1998-09-24 2000-04-07 Koyo Electronics Ind Co Ltd 磁気検出センサ

Non-Patent Citations (1)

* Cited by examiner, † Cited by third party
Title
See also references of EP3264122A4 *

Cited By (5)

* Cited by examiner, † Cited by third party
Publication number Priority date Publication date Assignee Title
WO2019198602A1 (ja) * 2018-04-12 2019-10-17 愛知製鋼株式会社 マーカ検出システム、及びマーカ検出システムの運用方法
WO2019198603A1 (ja) * 2018-04-12 2019-10-17 愛知製鋼株式会社 磁気計測システム、及び磁気センサの校正方法
US11143731B2 (en) 2018-04-12 2021-10-12 Aichi Steel Corporation Magnetic measurement system and method of calibrating magnetic sensor
US12038757B2 (en) 2018-04-12 2024-07-16 Aichi Steel Corporation Marker detection system and method of operating marker detection system
WO2025182369A1 (ja) * 2024-02-27 2025-09-04 愛知製鋼株式会社 磁気センサ装置

Also Published As

Publication number Publication date
EP3264122A1 (en) 2018-01-03
JP2016186451A (ja) 2016-10-27
JP6414498B2 (ja) 2018-10-31
EP3264122B1 (en) 2020-04-01
US20180106872A1 (en) 2018-04-19
EP3264122A4 (en) 2018-12-05
US10509080B2 (en) 2019-12-17

Similar Documents

Publication Publication Date Title
Devices Analog Devices
KR100566547B1 (ko) 자기검출기
US9739849B2 (en) Magnetic field detecting device
JP6414498B2 (ja) 差動型磁気センサ
JP2011528109A (ja) 流動媒体の導電率を誘電測定する入力回路
CN103412009B (zh) 一种测量流体电导率的装置和方法
US10345419B2 (en) On-line calibration and compensation of a current transformer
JP5811210B2 (ja) 磁気検出器
CN103235189A (zh) 一种基于双电流电压比率法的微电阻高精度测量方法及实现该方法的测量系统
JP5116433B2 (ja) 変動磁場検出用磁気検出器
JP2009186433A (ja) 渦電流式試料測定方法と、渦電流センサと、渦電流式試料測定システム
JP2017062122A (ja) 磁界検出装置
US9372217B2 (en) Cable detector
JP6952986B2 (ja) 勾配磁界センサ
JP4961623B2 (ja) 磁気センサ
CN104040362A (zh) 电流传感器
EP3255445B1 (en) Magneto-impedance (mi) magnetic sensor
JP6460079B2 (ja) Mi磁気センサ
EP2230523A1 (en) Physical quantity measuring unit and device for measuring a voltage and an electric field
JP2020183878A (ja) 高速高感度磁気センサ
RU2229141C1 (ru) Измеритель параметров двухполюсников
JP2020041945A (ja) 磁界検出センサ
Petinrin et al. Development of a Multi-Range Microcontroller Based Lock-In Digital Milliohm Meter
Riveros et al. High sensitivity GMI gradiometer with an active interference compensation system
EP3232210A1 (en) Magnetic field sensor and apparatus for measuring magnetic field

Legal Events

Date Code Title Description
121 Ep: the epo has been informed by wipo that ep was designated in this application

Ref document number: 16771980

Country of ref document: EP

Kind code of ref document: A1

REEP Request for entry into the european phase

Ref document number: 2016771980

Country of ref document: EP

WWE Wipo information: entry into national phase

Ref document number: 15561744

Country of ref document: US

NENP Non-entry into the national phase

Ref country code: DE