WO2016143448A1 - 車両用シート - Google Patents
車両用シート Download PDFInfo
- Publication number
- WO2016143448A1 WO2016143448A1 PCT/JP2016/053738 JP2016053738W WO2016143448A1 WO 2016143448 A1 WO2016143448 A1 WO 2016143448A1 JP 2016053738 W JP2016053738 W JP 2016053738W WO 2016143448 A1 WO2016143448 A1 WO 2016143448A1
- Authority
- WO
- WIPO (PCT)
- Prior art keywords
- seat
- urethane pad
- groove
- opening
- vehicle seat
- Prior art date
- Legal status (The legal status is an assumption and is not a legal conclusion. Google has not performed a legal analysis and makes no representation as to the accuracy of the status listed.)
- Ceased
Links
Images
Classifications
-
- B—PERFORMING OPERATIONS; TRANSPORTING
- B60—VEHICLES IN GENERAL
- B60N—SEATS SPECIALLY ADAPTED FOR VEHICLES; VEHICLE PASSENGER ACCOMMODATION NOT OTHERWISE PROVIDED FOR
- B60N2/00—Seats specially adapted for vehicles; Arrangement or mounting of seats in vehicles
- B60N2/56—Heating or ventilating devices
- B60N2/5607—Heating or ventilating devices characterised by convection
- B60N2/5621—Heating or ventilating devices characterised by convection by air
- B60N2/5657—Heating or ventilating devices characterised by convection by air blown towards the seat surface
-
- B—PERFORMING OPERATIONS; TRANSPORTING
- B60—VEHICLES IN GENERAL
- B60N—SEATS SPECIALLY ADAPTED FOR VEHICLES; VEHICLE PASSENGER ACCOMMODATION NOT OTHERWISE PROVIDED FOR
- B60N2/00—Seats specially adapted for vehicles; Arrangement or mounting of seats in vehicles
- B60N2/56—Heating or ventilating devices
-
- B—PERFORMING OPERATIONS; TRANSPORTING
- B60—VEHICLES IN GENERAL
- B60N—SEATS SPECIALLY ADAPTED FOR VEHICLES; VEHICLE PASSENGER ACCOMMODATION NOT OTHERWISE PROVIDED FOR
- B60N2/00—Seats specially adapted for vehicles; Arrangement or mounting of seats in vehicles
- B60N2/56—Heating or ventilating devices
- B60N2/5607—Heating or ventilating devices characterised by convection
- B60N2/5621—Heating or ventilating devices characterised by convection by air
- B60N2/565—Heating or ventilating devices characterised by convection by air sucked from the seat surface
-
- A—HUMAN NECESSITIES
- A47—FURNITURE; DOMESTIC ARTICLES OR APPLIANCES; COFFEE MILLS; SPICE MILLS; SUCTION CLEANERS IN GENERAL
- A47C—CHAIRS; SOFAS; BEDS
- A47C7/00—Parts, details, or accessories of chairs or stools
- A47C7/62—Accessories for chairs
- A47C7/72—Adaptations for incorporating lamps, radio sets, bars, telephones, ventilation, heating or cooling arrangements or the like
- A47C7/74—Adaptations for incorporating lamps, radio sets, bars, telephones, ventilation, heating or cooling arrangements or the like for ventilation, heating or cooling
-
- B—PERFORMING OPERATIONS; TRANSPORTING
- B60—VEHICLES IN GENERAL
- B60N—SEATS SPECIALLY ADAPTED FOR VEHICLES; VEHICLE PASSENGER ACCOMMODATION NOT OTHERWISE PROVIDED FOR
- B60N2/00—Seats specially adapted for vehicles; Arrangement or mounting of seats in vehicles
- B60N2/56—Heating or ventilating devices
- B60N2/5607—Heating or ventilating devices characterised by convection
- B60N2/5621—Heating or ventilating devices characterised by convection by air
Definitions
- the present invention relates to a vehicle seat, and more particularly to a vehicle seat having a function of blowing air from the seat surface.
- Patent Document 1 discloses a structure in which a seat surface of a vehicle seat is provided with an air blowing function, and an introduction passage formed in a main seat material with air sent from an air blowing unit.
- Patent Document 2 air forcedly blown from the blower unit is supplied from the introduction passage to the plurality of air distribution passages extending along the sheet surface through the communication port.
- the air distribution passage formed on the side of the seat back extends substantially linearly to both ends in the vertical direction of the seat back, and at least one end is open to the end surface of the seat. It is described that it is provided in the part which receives the back of the person as a seating pressure.
- a through-hole having a long hole-like opening having a size larger than the width of the air distribution passage is formed in the sub-sheet material, and between the seat portion sheet material and the skin.
- a cover pad having high air permeability for relieving an initial touch feeling when sitting is inserted.
- a relatively expensive cover pad must be formed thick, which increases the cost of the vehicle seat. It becomes a cause.
- An object of the present invention is to provide a vehicle seat having a good seating feeling that makes it possible for the occupant to feel the depression of the opening of the air blowing groove.
- a seat cushion on which an occupant sits a seat back on which an occupant sitting on the seat cushion leans back, a blower, and a blower connected to the blower from the blower to the seat cushion or the seat back
- the seat cushion has a urethane pad and a seat cover that covers the surface of the urethane pad, and the urethane pad has a through-hole that is connected to the duct at one end.
- a groove portion having an opening along the surface covered with the seat cover and connected to the other end of the through hole is formed, and the groove portion is formed from a space portion inside the groove portion inside the urethane pad.
- a seat cushion on which an occupant sits a seat back on which an occupant sitting on the seat cushion is turned, a blower, and a blower connected to the seat cushion or
- the seat back has a urethane pad and a seat cover that covers the surface of the urethane pad, and one end of the urethane pad is connected to the duct.
- a hole and a groove having an opening along the surface covered with the seat cover and connected to the other end of the through hole are formed, and the groove is a space inside the groove inside the urethane pad. It was formed to have a cross-sectional shape narrower than the portion.
- a seat cushion on which an occupant sits a seat back on which an occupant sitting on the seat cushion turns, a blower, and a blower connected to the blower from the blower
- the seat cushion has a urethane pad and a seat cover that covers the surface of the urethane pad, and the seat back covers the surface of the urethane pad and the urethane pad.
- the urethane pad of the seat cushion and the urethane pad of the seat back has a through hole with one end connected to the duct and an opening along the surface covered with the seat cover.
- a groove portion is formed to connect to the other end, and the groove portion has a urethane cushion with an opening at the seat cushion. And it was formed to have a narrower cross-section than the internal space portion of the groove of the inner urethane pads of the seat back.
- an opening portion of a groove for blowing air to a seated passenger while maintaining high air blowing efficiency to the seat surface without increasing the unit price of the seat is provided.
- FIG. 1 is a perspective view of a vehicle seat according to an embodiment of the present invention. It is a perspective view of the urethane pad of the seat cushion in the vehicle seat according to the embodiment of the present invention. It is a perspective view of the urethane pad of the seat back in the vehicle seat which concerns on the Example of this invention. It is sectional drawing of the seat back of the structure which inhales from the seat cover side in the vehicle seat which concerns on the Example of this invention. It is sectional drawing of the seat back of the structure which exhausts to the seat cover side in the vehicle seat which concerns on the Example of this invention.
- FIG. 1 is a cross-sectional view of a vehicle seat according to an embodiment of the present invention, wherein the vehicle seat is configured to simultaneously intake or exhaust air from a seat cushion and a seat cover by a blower disposed at a lower portion of the seat cushion.
- It is a vehicle seat which concerns on the Example of this invention, Comprising: It is sectional drawing of the urethane pad in which the groove part which a cross section has a shape close
- 1 is a vehicle seat according to an embodiment of the present invention, and illustrates a state in which a portion having a large opening dimension is formed along a longitudinal direction of a groove at an opening of a groove formed in a urethane pad of a seat cushion. It is a perspective view of a pad. 1 is a partial cross-sectional view of a seat cushion showing a state in which a diffusion layer is formed between a urethane pad of a seat cushion and a seat cover, which is a vehicle seat according to an embodiment of the present invention.
- the present invention relates to a vehicle seat having a ventilation function, in a cross-sectional shape of a groove portion for ventilation formed on a urethane pad covered with a seat cover on the surface of a seat cushion and a seat back, on the side in contact with the seat cover on the upper portion of the groove portion
- the urethane pads on both sides of the opening provided on the door are shaped so that the thickness gradually decreases from the outside, so that when the occupant is seated and a load is applied to the urethane pad, the opening with a small thickness is formed. It is easy to deform in the direction that the opening width becomes narrower. As a result, even if no cushioning material is provided between the urethane pad and the seat cover, it is possible to reliably blow air to the occupant seated from a wider area of the seat cover. Can be suppressed.
- FIG. 1 is a perspective view of a vehicle seat 1 according to the present invention.
- a vehicle seat 1 according to the present invention has a seat cushion 2 on which an occupant is seated, side supports 5 on both sides of the seat cushion 2, a seat back 3 on which the occupant seated on the seat cushion 2 is seated, and a seat back 3.
- a headrest 4 for supporting the head of the occupant.
- FIG. 2A is a perspective view of the urethane pad 21 constituting the seat cushion 2 in a state before the seat cover composed of the outer skin, the cushioning material, and the back fabric is attached to the surface of the seat cushion 2.
- the urethane pad 21 is formed with a through hole 22 penetrating to the back surface and a groove 23 extending linearly from the through hole 22 on the front surface side of the urethane pad 21.
- FIG. 2B is a perspective view of the urethane pad 31 constituting the seat back 3 in a state before the seat cover constituted by the skin, the cushioning material, and the back fabric is attached to the surface of the seat back 3.
- the urethane pad 31 is also formed with a through hole 32 that penetrates to the back surface and a groove 33 that extends linearly from the through hole 32 on the front surface side of the urethane pad 31.
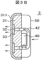
- FIG. 3A shows a cross-sectional structure of the seat back 3 side having a blowing function.
- the seat back 3 includes a urethane pad 31, a seat cover 311 that covers the surface of the urethane pad 31, a back cover 50 that covers the space on the back surface of the urethane pad 31, and a blower 40 that is disposed in a space covered by the back cover 50 on the back surface of the urethane pad 31.
- a duct 41 connected to the intake side of the blower 40 is provided.
- a sirocco fan is used as the blower 40. Both end portions of the duct 41 are inserted into ventilation holes 32 formed in the urethane pad 31.
- the through hole 32 communicates with a groove portion 33 formed on the surface of the urethane pad 31 on the side in contact with the seat cover 311.
- the seat cover 311 is composed of a skin material, a cushion material having air permeability, and a back fabric, and the skin has a large number of minute holes for providing air permeability, and has air permeability as a whole.
- the through hole 32 in FIG. 3A corresponds to the through hole 32 of the seat back 3 described in FIG. 2B
- the groove portion 33 in FIG. 3A corresponds to the groove portion 33 in FIG. 2B.
- the duct 41 is connected to the intake side of the blower 40.
- the blower 40 sucks air from the surface of the seat cover 311 through the duct 41, the through hole 32, and the groove portion 33 as indicated by an arrow, and the rear surface of the urethane pad 31. It is discharged into the space covered with the back cover 50.
- FIG. 3B is also a diagram showing a cross-sectional structure on the side of the seat back 3 having a blowing function, and the connection between the blower 40 and the duct 42 is different from the configuration described in FIG. 3A. That is, in the configuration shown in FIG. 3B, the duct 42 is connected to the exhaust side of the blower 40, and the air sucked from the space covered by the back cover 50 on the back surface of the urethane pad 31 by the blower 40 is the duct 42. From the surface of the seat cover 311 to the outside as indicated by the arrow.
- FIG. 3A and 3B show an example of the seat back 3, but the side of the seat cushion 2 is also provided with the blower 40 described in FIG. 3A and FIG. 3B and a duct corresponding to the duct 42 or 42. It is possible to blow or exhaust air to the surface of the seat cushion 2 in the same manner as described above.
- FIG. 4 shows a configuration in the case where the seat cushion 2 side and the seat back 3 side are blown or exhausted using a single blower 10.
- a duct 411 connected to the seat cushion 2 and an exhaust duct 412 connected to the seat back 3 side are connected to the exhaust side of the blower 410 provided in the lower portion of the seat cushion 2.
- the front end portion of the duct 411 is inserted into a through hole 22 formed in the urethane pad 21 of the seat cushion 2.
- the front end portion of the duct 412 is inserted into a through hole 32 formed in the urethane pad 31 of the seat back 3.
- the blower 410 When the blower 410 is operated in such a configuration, the blower 410 sucks air from the outside and discharges air to the duct 411 and the duct 412 side.
- the air discharged to the duct 411 side is introduced into the groove 23 formed in the urethane pad 21 through the through hole 22, and is discharged to the outside through the sheet cover 211 covering the surface from the groove 23.
- the air discharged to the duct 412 side is introduced into the groove portion 33 formed in the urethane pad 31 through the through hole 32, and is discharged to the outside from the groove portion 33 through the sheet cover 311 covering the surface.
- the groove 231 is shown in FIG. 5A. Since the groove 23 formed in the urethane pad 31 of the seat back 3 also has the same cross-sectional shape, the cross-sectional shape of the groove 23 formed in the urethane pad 21 on the seat cushion 2 side will be described below.
- FIG. 5A is the cross-sectional shape of the groove part 231 formed in the urethane pad 212 by the side of the seat cushion 2 in a no-load state.
- the groove portion 231 has a shape close to a trapezoid whose base 251 has a larger size than the upper opening 241. That is, the groove 231 has a cross-sectional shape in which the opening 241 is narrower than the space portion inside the groove 231 inside the urethane pad 212.
- the surface of the urethane pad 212 is covered with a seat cover 211 composed of an outer skin, a cushion material, and a back fabric.
- the flexible urethane pad 212 is compressed and deformed by receiving a load in the direction indicated by the arrow in FIG. 5A, and a groove formed in the urethane pad 212. 2311 is also deformed. At this time, the groove 2311 has a cross-sectional shape in an unloaded state in which the upper part (opening) 241 is narrower than the bottom 251 like the groove 231 in FIG. When a load is applied as in (b), the cross-sectional shape is deformed like a groove 2311.
- the width of the opening 2411 decreases in the direction in which the width of the opening 2411 decreases when a load is applied in the direction of the arrow in the figure. It is easy to deform
- the opening 2411 is deformed in a direction in which the opening dimension (width) is reduced when a load is applied.
- the opening dimension at the time of deformation is such that the seated passenger does not feel a dent.
- FIG. 5B is an example in which the cross-sectional shape of the groove 232 is changed with respect to FIG. 5A.
- the cross-sectional shape of the groove 232 is a shape in which the thickness is gradually reduced from both sides and an opening 242 is formed in the center in the upper part of the rectangular space. That is, the groove 232 has a cross-sectional shape in which the opening 242 is narrower than the space portion inside the groove 232 inside the urethane pad 212.
- (C) of FIG. 5B shows a no-load state, and (d) shows a state where a passenger is seated and a load is applied.
- the opening 2421 is greatly deformed in the direction of narrowing.
- the bottom portion 252 of the groove portion 2321 hardly changes in size as compared with the case of no load.
- the groove 2311 secures a space for air to pass even under load, so that air can be supplied to the tip of the groove 2311.
- the opening 2421 is deformed in a direction in which the opening dimension (width) is reduced when a load is applied.
- the opening dimension at the time of deformation is such that the seated passenger does not feel a dent.
- FIG. 5C is an example in which the cross-sectional shape of the groove portion 231 is changed with respect to FIG. 5A.
- the cross-sectional shape of the groove 233 in FIG. 5C is a shape in which the thickness is gradually reduced from both sides and an opening 243 is formed in the center in the upper part of the space of the circular cross section. That is, the groove portion 233 has a cross-sectional shape in which the opening 243 is narrower than the widest portion of the space portion inside the groove portion 233 inside the urethane pad 212.
- (E) of FIG. 5C shows a no-load state
- (f) shows a state where a passenger is seated and a load is applied.
- the opening 2431 is deformed in a direction in which the opening dimension (width) is reduced when a load is applied.
- the opening dimension at the time of deformation is such that the seated passenger does not feel a dent.
- the thickness of the cross-sectional shape of the opening provided on the side in contact with the seat cover 211 on the upper portion of the groove portion 23 gradually decreases from the outside.
- the degree of deformation of the grooves 2311, 231, 2331 varies depending on the load, that is, the weight of the seated occupant, the seating position, and the like. In places where a large load is applied, the grooves 2311, 2321, 2331 are greatly deformed and the opening 2411 is formed. , 2421, 2431 are narrowed, and in places where the load is small, the deformation of the grooves 2311, 2231, 2331 is small, and the opening dimensions of the openings 2411, 2421, 2431 are not so narrow.
- the distribution of the amount of air blown out from the openings 2411, 2421, 2431 occurs, and in places where a large load is applied, the amount of air blown out from the openings 2411, 2421, 2431 is small, and the load is relatively low. In a small place, the amount of air blown out from the openings 2411, 2421 and 2431 increases.
- the amount of air blown from the openings 2411, 2421, and 2431 in a place where the load is relatively small can increase the refreshing feeling of the seated occupant and improve the feeling. .
- the air passage space is secured as described above, so that the air sent from the blower 40 or 410 has a large resistance. It can be spread over the entire groove 2411. Therefore, even if an axial fan is used as the blower 40 or 410 instead of the sirocco fan, a sufficient air volume can be secured over the entire groove 2311.
- the opening 2411 is deformed in a direction in which the opening dimension (width) is reduced when a load is applied.
- the opening dimension at the time of deformation is such that the seated passenger does not feel a dent.
- FIG. 6 shows a modification of the shape of the groove 231 described with reference to FIG. 5A.
- FIG. 6 is a perspective view of the urethane pad 212 in which the groove portion 231 is formed.
- the opening portion 241 of the groove portion 231 there are discrete portions 2411 having large semicircular opening dimensions on both sides of the opening portion 241 along the longitudinal direction. Is formed.
- the shape of the portion 2411 having a large opening dimension formed in the opening 241 of the groove 231 is not limited to a semicircular shape, and may be a triangle, a quadrangle, an ellipse, or the like. Moreover, you may form not only object on the right and left of a groove part, but only in one side, or right and left alternately.
- FIG. 7 shows a modification of this embodiment.
- a layer of a flexible material for example, foamed urethane, sponge, etc.
- a seat cover is formed thereon. It was configured to cover with 211.
- the configuration in which the urethane pad 212 and the seat cover 211 are connected via the diffusion layer 25 allows the opening 241 even if the opening 241 of the groove 231 is deformed and the opening width becomes narrow due to the passenger sitting.
- the air exhausted from the opening 241 by the diffusion layer 25 is diffused between the seat cover 211 and the seat cover 211, spreads to the opening 241 beyond the width, reaches the seat cover 211, and is discharged from the seat cover 211. Air can be sent over a wider area to the occupant seated in 2.
Landscapes
- Engineering & Computer Science (AREA)
- Aviation & Aerospace Engineering (AREA)
- Transportation (AREA)
- Mechanical Engineering (AREA)
- Chair Legs, Seat Parts, And Backrests (AREA)
- Seats For Vehicles (AREA)
Priority Applications (1)
| Application Number | Priority Date | Filing Date | Title |
|---|---|---|---|
| US15/556,033 US10358062B2 (en) | 2015-03-06 | 2016-02-09 | Vehicle seat |
Applications Claiming Priority (2)
| Application Number | Priority Date | Filing Date | Title |
|---|---|---|---|
| JP2015-044562 | 2015-03-06 | ||
| JP2015044562A JP6480215B2 (ja) | 2015-03-06 | 2015-03-06 | 車両用シート |
Publications (1)
| Publication Number | Publication Date |
|---|---|
| WO2016143448A1 true WO2016143448A1 (ja) | 2016-09-15 |
Family
ID=56876020
Family Applications (1)
| Application Number | Title | Priority Date | Filing Date |
|---|---|---|---|
| PCT/JP2016/053738 Ceased WO2016143448A1 (ja) | 2015-03-06 | 2016-02-09 | 車両用シート |
Country Status (3)
| Country | Link |
|---|---|
| US (1) | US10358062B2 (enExample) |
| JP (1) | JP6480215B2 (enExample) |
| WO (1) | WO2016143448A1 (enExample) |
Families Citing this family (9)
| Publication number | Priority date | Publication date | Assignee | Title |
|---|---|---|---|---|
| CN108367695A (zh) * | 2015-12-22 | 2018-08-03 | 株式会社塔捷斯 | 车辆用座椅 |
| CN115447457B (zh) | 2017-03-01 | 2025-02-25 | 提爱思科技股份有限公司 | 车辆座椅 |
| US11167672B2 (en) * | 2017-07-31 | 2021-11-09 | Ts Tech Co., Ltd. | Vehicle seat |
| US10688897B2 (en) * | 2017-09-26 | 2020-06-23 | Ford Global Technologies, Llc | Integrated bladeless fan for automotive seat |
| JP7262935B2 (ja) * | 2018-06-11 | 2023-04-24 | 株式会社タチエス | 車両用シート |
| CN110001478B (zh) * | 2019-03-02 | 2020-11-10 | 诸暨市鸿畴智能科技有限公司 | 一种磁干扰分流的汽车通风座椅 |
| US11535131B1 (en) * | 2021-07-30 | 2022-12-27 | Rivian Ip Holdings, Llc | Ventilated seat integrated into vehicle heating, ventilation, and air conditioning (HVAC) system |
| US12409762B2 (en) * | 2021-10-19 | 2025-09-09 | Rivian Ip Holdings, Llc | Vehicle seat with airflow outlets |
| CN219584009U (zh) * | 2023-04-20 | 2023-08-25 | 宁波宝贝第一母婴用品有限公司 | 一种座椅上的循环风结构及儿童安全座椅 |
Citations (4)
| Publication number | Priority date | Publication date | Assignee | Title |
|---|---|---|---|---|
| JP2002065397A (ja) * | 2000-08-28 | 2002-03-05 | T S Tec Kk | 車両用シート装置 |
| JP2005287532A (ja) * | 2004-03-31 | 2005-10-20 | T S Tec Kk | 車両用シート |
| JP2008273404A (ja) * | 2007-04-27 | 2008-11-13 | Denso Corp | シート空調装置 |
| JP2010052494A (ja) * | 2008-08-26 | 2010-03-11 | Denso Corp | シート送風装置 |
Family Cites Families (47)
| Publication number | Priority date | Publication date | Assignee | Title |
|---|---|---|---|---|
| US3331089A (en) * | 1965-04-14 | 1967-07-18 | Int Harvester Co | Seat construction |
| US5597200A (en) * | 1993-11-22 | 1997-01-28 | Amerigon, Inc. | Variable temperature seat |
| JP3633777B2 (ja) * | 1997-06-03 | 2005-03-30 | 株式会社デンソー | 車両用シート空調装置 |
| DE19830797B4 (de) * | 1997-07-14 | 2007-10-04 | Denso Corp., Kariya | Fahrzeugsitz-Klimaanlage |
| JP3956513B2 (ja) | 1998-11-19 | 2007-08-08 | 株式会社デンソー | 車両用シート空調装置 |
| US6179706B1 (en) | 1998-06-19 | 2001-01-30 | Denso Corporation | Seat air conditioner for vehicle |
| JP3861674B2 (ja) * | 2001-11-30 | 2006-12-20 | 株式会社デンソー | 車両用シート空調装置および空調装置内蔵型車両用シート |
| JP3835329B2 (ja) * | 2002-03-28 | 2006-10-18 | 株式会社デンソー | 車両用シート空調装置 |
| US6857697B2 (en) * | 2002-08-29 | 2005-02-22 | W.E.T. Automotive Systems Ag | Automotive vehicle seating comfort system |
| DE10259648B4 (de) * | 2002-12-18 | 2006-01-26 | W.E.T. Automotive Systems Ag | Klimatisierter Sitz und Klimatisierungseinrichtung für einen ventilierten Sitz |
| JP3853329B2 (ja) | 2004-03-31 | 2006-12-06 | 株式会社コナミデジタルエンタテインメント | ゲームプログラム及びゲーム装置 |
| US20060214480A1 (en) * | 2005-03-23 | 2006-09-28 | John Terech | Vehicle seat with thermal elements |
| US7827805B2 (en) * | 2005-03-23 | 2010-11-09 | Amerigon Incorporated | Seat climate control system |
| KR20060106507A (ko) * | 2005-04-09 | 2006-10-12 | 한라공조주식회사 | 차량용 시트 공조장치 |
| US20060232118A1 (en) * | 2005-04-14 | 2006-10-19 | Nmhg Oregon, Llc | Operator seat for an industrial vehicle |
| WO2006124835A1 (en) * | 2005-05-16 | 2006-11-23 | Amerigon, Inc. | Ventilated headrest |
| FR2887193B1 (fr) * | 2005-06-15 | 2007-09-21 | Cera | Siege ventile comprenant un medaillon recouvrant la zone interne dela matelassure de siege |
| EP1907238A1 (de) * | 2005-07-27 | 2008-04-09 | Daimler AG | Kraftfahrzeugsitz mit einer belüftungseinrichtung |
| US20070040421A1 (en) * | 2005-08-22 | 2007-02-22 | Lear Corporation | Seat assembly having an air plenum member |
| JP2007150231A (ja) * | 2005-10-27 | 2007-06-14 | Denso Corp | 熱電変換装置 |
| JP2007126047A (ja) * | 2005-11-04 | 2007-05-24 | Denso Corp | 車両用シート空調装置 |
| JP2007297034A (ja) * | 2006-04-07 | 2007-11-15 | Denso Corp | 加熱冷却装置 |
| US7591507B2 (en) * | 2006-04-13 | 2009-09-22 | Amerigon Incorporated | Tie strap for climate controlled seat |
| JP5103114B2 (ja) * | 2007-09-25 | 2012-12-19 | トヨタ紡織株式会社 | 空調シート |
| WO2010036626A1 (en) * | 2008-09-23 | 2010-04-01 | Lear Corporation | Ventilated seat assembly and a method of control |
| DE202009017046U1 (de) * | 2008-12-21 | 2010-05-12 | W.E.T. Automotive Systems Ag | Belüftungseinrichtung |
| JP5556156B2 (ja) * | 2009-12-08 | 2014-07-23 | トヨタ紡織株式会社 | 車両用シート |
| FR2954208B1 (fr) * | 2009-12-18 | 2012-03-16 | Cera | Procede de realisation d'une matelassure de vehicule automobile |
| US8827372B2 (en) * | 2010-07-07 | 2014-09-09 | Frontis Corp. | Blowing system |
| US20120080911A1 (en) * | 2010-08-27 | 2012-04-05 | Amerigon Incorporated | Fluid distribution features for climate controlled seating assemblies |
| JP5765039B2 (ja) * | 2011-04-20 | 2015-08-19 | トヨタ紡織株式会社 | 車両用シート |
| CN104640740B (zh) * | 2012-06-29 | 2017-04-12 | 株式会社塔捷斯 | 车辆用座椅 |
| JP5976511B2 (ja) * | 2012-11-26 | 2016-08-23 | 東洋ゴム工業株式会社 | シートパッド |
| KR101528583B1 (ko) * | 2012-12-31 | 2015-06-15 | 갑을오토텍(주) | 채널이 구비된 차량용 시트 |
| US9440572B2 (en) * | 2013-05-20 | 2016-09-13 | David R. Hall | Heating, ventilation, and air conditioning seat assembly |
| JP6336989B2 (ja) * | 2013-08-30 | 2018-06-06 | テイ・エス テック株式会社 | シート |
| JP6167857B2 (ja) * | 2013-11-04 | 2017-07-26 | 株式会社デンソー | 車両用シート空調装置 |
| DE112014005563T5 (de) * | 2013-12-05 | 2016-11-24 | Gentherm Incorporated | Systeme und Verfahren für klimatisierte Sitze |
| DE112015000816T5 (de) * | 2014-02-14 | 2016-11-03 | Gentherm Incorporated | Leitfähiger, konvektiver klimatisierter Sitz |
| DE112015002175T5 (de) * | 2014-05-09 | 2017-01-19 | Gentherm Incorporated | Klimatisierungseinrichtung |
| JP6243292B2 (ja) * | 2014-05-19 | 2017-12-06 | 株式会社ブリヂストン | 目止め部材及び該目止め部材を用いたシートパッドの製造方法 |
| JP6311491B2 (ja) * | 2014-06-30 | 2018-04-18 | 株式会社デンソー | 車両用シート空調装置 |
| KR101637704B1 (ko) * | 2014-10-28 | 2016-07-07 | 현대자동차주식회사 | 자동차용 통풍 시트 |
| JP6749073B2 (ja) * | 2014-12-26 | 2020-09-02 | 国立大学法人千葉大学 | 送風シート |
| US10065544B2 (en) * | 2015-05-07 | 2018-09-04 | Faurecia Automotive Seating, Llc | Vehicle seat with thermal device |
| JP6458644B2 (ja) * | 2015-05-26 | 2019-01-30 | トヨタ紡織株式会社 | 乗物用空調シート |
| KR20180037679A (ko) * | 2016-10-05 | 2018-04-13 | 현대자동차주식회사 | 자동차용 통풍 시트 |
-
2015
- 2015-03-06 JP JP2015044562A patent/JP6480215B2/ja active Active
-
2016
- 2016-02-09 WO PCT/JP2016/053738 patent/WO2016143448A1/ja not_active Ceased
- 2016-02-09 US US15/556,033 patent/US10358062B2/en active Active
Patent Citations (4)
| Publication number | Priority date | Publication date | Assignee | Title |
|---|---|---|---|---|
| JP2002065397A (ja) * | 2000-08-28 | 2002-03-05 | T S Tec Kk | 車両用シート装置 |
| JP2005287532A (ja) * | 2004-03-31 | 2005-10-20 | T S Tec Kk | 車両用シート |
| JP2008273404A (ja) * | 2007-04-27 | 2008-11-13 | Denso Corp | シート空調装置 |
| JP2010052494A (ja) * | 2008-08-26 | 2010-03-11 | Denso Corp | シート送風装置 |
Also Published As
| Publication number | Publication date |
|---|---|
| US20180043807A1 (en) | 2018-02-15 |
| JP6480215B2 (ja) | 2019-03-06 |
| JP2016164028A (ja) | 2016-09-08 |
| US10358062B2 (en) | 2019-07-23 |
Similar Documents
| Publication | Publication Date | Title |
|---|---|---|
| JP6480215B2 (ja) | 車両用シート | |
| WO2017110529A1 (ja) | 車両用シート | |
| JP4335008B2 (ja) | 布張り部の通気システム | |
| JP2004161137A (ja) | 車両用シート空調装置 | |
| US7287812B2 (en) | Vehicle seat | |
| KR20110051693A (ko) | 냉·난방을 위한 차량용 시트 | |
| JP2004215810A (ja) | 車両用シート空調装置 | |
| JP2016164028A5 (enExample) | ||
| US11110773B2 (en) | Seat air-conditioning device | |
| JP6423732B2 (ja) | 車両用シート | |
| JP2019162948A (ja) | 車両用シート | |
| JP2010006174A (ja) | 車両用シート | |
| JP5033402B2 (ja) | 内装具 | |
| JP5176588B2 (ja) | シート送風装置 | |
| JP3160686U (ja) | 自動車のシート用冷却装置 | |
| JP2017154680A (ja) | 車両用シート | |
| JP7428885B2 (ja) | 乗物用シート | |
| JP2017114214A (ja) | 車両用シート | |
| JP6434818B2 (ja) | 車両用シート | |
| JP7728209B2 (ja) | シートパッド及び車両用シート | |
| JP7409238B2 (ja) | シート空調装置 | |
| JP2008125723A (ja) | シート用送風装置 | |
| TWI711411B (zh) | 充氣墊體 | |
| JP2025121059A (ja) | シートクッション | |
| JP2025121060A (ja) | シートクッション |
Legal Events
| Date | Code | Title | Description |
|---|---|---|---|
| 121 | Ep: the epo has been informed by wipo that ep was designated in this application |
Ref document number: 16761420 Country of ref document: EP Kind code of ref document: A1 |
|
| WWE | Wipo information: entry into national phase |
Ref document number: 15556033 Country of ref document: US |
|
| NENP | Non-entry into the national phase |
Ref country code: DE |
|
| 122 | Ep: pct application non-entry in european phase |
Ref document number: 16761420 Country of ref document: EP Kind code of ref document: A1 |