WO2016136981A1 - 包装材料及びその製造方法 - Google Patents

包装材料及びその製造方法 Download PDF

Info

Publication number
WO2016136981A1
WO2016136981A1 PCT/JP2016/055920 JP2016055920W WO2016136981A1 WO 2016136981 A1 WO2016136981 A1 WO 2016136981A1 JP 2016055920 W JP2016055920 W JP 2016055920W WO 2016136981 A1 WO2016136981 A1 WO 2016136981A1
Authority
WO
WIPO (PCT)
Prior art keywords
layer
heat seal
packaging material
seal layer
particles
Prior art date
Legal status (The legal status is an assumption and is not a legal conclusion. Google has not performed a legal analysis and makes no representation as to the accuracy of the status listed.)
Ceased
Application number
PCT/JP2016/055920
Other languages
English (en)
French (fr)
Japanese (ja)
Inventor
侑哉 寺澤
啓司 麻植
浩之 西川
関口 朋伸
藤本 和也
Current Assignee (The listed assignees may be inaccurate. Google has not performed a legal analysis and makes no representation or warranty as to the accuracy of the list.)
Toyo Aluminum KK
Original Assignee
Toyo Aluminum KK
Priority date (The priority date is an assumption and is not a legal conclusion. Google has not performed a legal analysis and makes no representation as to the accuracy of the date listed.)
Filing date
Publication date
Application filed by Toyo Aluminum KK filed Critical Toyo Aluminum KK
Priority to KR1020177025906A priority Critical patent/KR102546506B1/ko
Priority to CN201680011252.1A priority patent/CN107249998B/zh
Priority to EP16755725.5A priority patent/EP3263477B1/en
Publication of WO2016136981A1 publication Critical patent/WO2016136981A1/ja
Anticipated expiration legal-status Critical
Ceased legal-status Critical Current

Links

Images

Classifications

    • BPERFORMING OPERATIONS; TRANSPORTING
    • B65CONVEYING; PACKING; STORING; HANDLING THIN OR FILAMENTARY MATERIAL
    • B65DCONTAINERS FOR STORAGE OR TRANSPORT OF ARTICLES OR MATERIALS, e.g. BAGS, BARRELS, BOTTLES, BOXES, CANS, CARTONS, CRATES, DRUMS, JARS, TANKS, HOPPERS, FORWARDING CONTAINERS; ACCESSORIES, CLOSURES, OR FITTINGS THEREFOR; PACKAGING ELEMENTS; PACKAGES
    • B65D65/00Wrappers or flexible covers; Packaging materials of special type or form
    • B65D65/38Packaging materials of special type or form
    • B65D65/40Applications of laminates for particular packaging purposes
    • BPERFORMING OPERATIONS; TRANSPORTING
    • B32LAYERED PRODUCTS
    • B32BLAYERED PRODUCTS, i.e. PRODUCTS BUILT-UP OF STRATA OF FLAT OR NON-FLAT, e.g. CELLULAR OR HONEYCOMB, FORM
    • B32B7/00Layered products characterised by the relation between layers; Layered products characterised by the relative orientation of features between layers, or by the relative values of a measurable parameter between layers, i.e. products comprising layers having different physical, chemical or physicochemical properties; Layered products characterised by the interconnection of layers
    • B32B7/04Interconnection of layers
    • B32B7/12Interconnection of layers using interposed adhesives or interposed materials with bonding properties
    • BPERFORMING OPERATIONS; TRANSPORTING
    • B32LAYERED PRODUCTS
    • B32BLAYERED PRODUCTS, i.e. PRODUCTS BUILT-UP OF STRATA OF FLAT OR NON-FLAT, e.g. CELLULAR OR HONEYCOMB, FORM
    • B32B27/00Layered products comprising a layer of synthetic resin
    • B32B27/06Layered products comprising a layer of synthetic resin as the main or only constituent of a layer, which is next to another layer of the same or of a different material
    • B32B27/10Layered products comprising a layer of synthetic resin as the main or only constituent of a layer, which is next to another layer of the same or of a different material of paper or cardboard
    • BPERFORMING OPERATIONS; TRANSPORTING
    • B32LAYERED PRODUCTS
    • B32BLAYERED PRODUCTS, i.e. PRODUCTS BUILT-UP OF STRATA OF FLAT OR NON-FLAT, e.g. CELLULAR OR HONEYCOMB, FORM
    • B32B27/00Layered products comprising a layer of synthetic resin
    • B32B27/18Layered products comprising a layer of synthetic resin characterised by the use of special additives
    • B32B27/20Layered products comprising a layer of synthetic resin characterised by the use of special additives using fillers, pigments, thixotroping agents
    • BPERFORMING OPERATIONS; TRANSPORTING
    • B32LAYERED PRODUCTS
    • B32BLAYERED PRODUCTS, i.e. PRODUCTS BUILT-UP OF STRATA OF FLAT OR NON-FLAT, e.g. CELLULAR OR HONEYCOMB, FORM
    • B32B27/00Layered products comprising a layer of synthetic resin
    • B32B27/36Layered products comprising a layer of synthetic resin comprising polyesters
    • BPERFORMING OPERATIONS; TRANSPORTING
    • B32LAYERED PRODUCTS
    • B32BLAYERED PRODUCTS, i.e. PRODUCTS BUILT-UP OF STRATA OF FLAT OR NON-FLAT, e.g. CELLULAR OR HONEYCOMB, FORM
    • B32B29/00Layered products comprising a layer of paper or cardboard
    • B32B29/002Layered products comprising a layer of paper or cardboard as the main or only constituent of a layer, which is next to another layer of the same or of a different material
    • BPERFORMING OPERATIONS; TRANSPORTING
    • B65CONVEYING; PACKING; STORING; HANDLING THIN OR FILAMENTARY MATERIAL
    • B65DCONTAINERS FOR STORAGE OR TRANSPORT OF ARTICLES OR MATERIALS, e.g. BAGS, BARRELS, BOTTLES, BOXES, CANS, CARTONS, CRATES, DRUMS, JARS, TANKS, HOPPERS, FORWARDING CONTAINERS; ACCESSORIES, CLOSURES, OR FITTINGS THEREFOR; PACKAGING ELEMENTS; PACKAGES
    • B65D85/00Containers, packaging elements or packages, specially adapted for particular articles or materials
    • B65D85/70Containers, packaging elements or packages, specially adapted for particular articles or materials for materials not otherwise provided for
    • B65D85/72Containers, packaging elements or packages, specially adapted for particular articles or materials for materials not otherwise provided for for edible or potable liquids, semiliquids, or plastic or pasty materials
    • BPERFORMING OPERATIONS; TRANSPORTING
    • B32LAYERED PRODUCTS
    • B32BLAYERED PRODUCTS, i.e. PRODUCTS BUILT-UP OF STRATA OF FLAT OR NON-FLAT, e.g. CELLULAR OR HONEYCOMB, FORM
    • B32B2250/00Layers arrangement
    • B32B2250/022 layers
    • BPERFORMING OPERATIONS; TRANSPORTING
    • B32LAYERED PRODUCTS
    • B32BLAYERED PRODUCTS, i.e. PRODUCTS BUILT-UP OF STRATA OF FLAT OR NON-FLAT, e.g. CELLULAR OR HONEYCOMB, FORM
    • B32B2255/00Coating on the layer surface
    • B32B2255/10Coating on the layer surface on synthetic resin layer or on natural or synthetic rubber layer
    • BPERFORMING OPERATIONS; TRANSPORTING
    • B32LAYERED PRODUCTS
    • B32BLAYERED PRODUCTS, i.e. PRODUCTS BUILT-UP OF STRATA OF FLAT OR NON-FLAT, e.g. CELLULAR OR HONEYCOMB, FORM
    • B32B2255/00Coating on the layer surface
    • B32B2255/20Inorganic coating
    • B32B2255/205Metallic coating
    • BPERFORMING OPERATIONS; TRANSPORTING
    • B32LAYERED PRODUCTS
    • B32BLAYERED PRODUCTS, i.e. PRODUCTS BUILT-UP OF STRATA OF FLAT OR NON-FLAT, e.g. CELLULAR OR HONEYCOMB, FORM
    • B32B2255/00Coating on the layer surface
    • B32B2255/26Polymeric coating
    • BPERFORMING OPERATIONS; TRANSPORTING
    • B32LAYERED PRODUCTS
    • B32BLAYERED PRODUCTS, i.e. PRODUCTS BUILT-UP OF STRATA OF FLAT OR NON-FLAT, e.g. CELLULAR OR HONEYCOMB, FORM
    • B32B2255/00Coating on the layer surface
    • B32B2255/28Multiple coating on one surface
    • BPERFORMING OPERATIONS; TRANSPORTING
    • B32LAYERED PRODUCTS
    • B32BLAYERED PRODUCTS, i.e. PRODUCTS BUILT-UP OF STRATA OF FLAT OR NON-FLAT, e.g. CELLULAR OR HONEYCOMB, FORM
    • B32B2264/00Composition or properties of particles which form a particulate layer or are present as additives
    • B32B2264/02Synthetic macromolecular particles
    • B32B2264/0214Particles made of materials belonging to B32B27/00
    • B32B2264/025Acrylic resin particles, e.g. polymethyl methacrylate or ethylene-acrylate copolymers
    • BPERFORMING OPERATIONS; TRANSPORTING
    • B32LAYERED PRODUCTS
    • B32BLAYERED PRODUCTS, i.e. PRODUCTS BUILT-UP OF STRATA OF FLAT OR NON-FLAT, e.g. CELLULAR OR HONEYCOMB, FORM
    • B32B2264/00Composition or properties of particles which form a particulate layer or are present as additives
    • B32B2264/02Synthetic macromolecular particles
    • B32B2264/0214Particles made of materials belonging to B32B27/00
    • B32B2264/0257Polyolefin particles, e.g. polyethylene or polypropylene homopolymers or ethylene-propylene copolymers
    • BPERFORMING OPERATIONS; TRANSPORTING
    • B32LAYERED PRODUCTS
    • B32BLAYERED PRODUCTS, i.e. PRODUCTS BUILT-UP OF STRATA OF FLAT OR NON-FLAT, e.g. CELLULAR OR HONEYCOMB, FORM
    • B32B2264/00Composition or properties of particles which form a particulate layer or are present as additives
    • B32B2264/10Inorganic particles
    • B32B2264/102Oxide or hydroxide
    • BPERFORMING OPERATIONS; TRANSPORTING
    • B32LAYERED PRODUCTS
    • B32BLAYERED PRODUCTS, i.e. PRODUCTS BUILT-UP OF STRATA OF FLAT OR NON-FLAT, e.g. CELLULAR OR HONEYCOMB, FORM
    • B32B2264/00Composition or properties of particles which form a particulate layer or are present as additives
    • B32B2264/12Mixture of at least two particles made of different materials
    • BPERFORMING OPERATIONS; TRANSPORTING
    • B32LAYERED PRODUCTS
    • B32BLAYERED PRODUCTS, i.e. PRODUCTS BUILT-UP OF STRATA OF FLAT OR NON-FLAT, e.g. CELLULAR OR HONEYCOMB, FORM
    • B32B2307/00Properties of the layers or laminate
    • B32B2307/30Properties of the layers or laminate having particular thermal properties
    • B32B2307/31Heat sealable
    • BPERFORMING OPERATIONS; TRANSPORTING
    • B32LAYERED PRODUCTS
    • B32BLAYERED PRODUCTS, i.e. PRODUCTS BUILT-UP OF STRATA OF FLAT OR NON-FLAT, e.g. CELLULAR OR HONEYCOMB, FORM
    • B32B2307/00Properties of the layers or laminate
    • B32B2307/50Properties of the layers or laminate having particular mechanical properties
    • B32B2307/554Wear resistance
    • BPERFORMING OPERATIONS; TRANSPORTING
    • B32LAYERED PRODUCTS
    • B32BLAYERED PRODUCTS, i.e. PRODUCTS BUILT-UP OF STRATA OF FLAT OR NON-FLAT, e.g. CELLULAR OR HONEYCOMB, FORM
    • B32B2307/00Properties of the layers or laminate
    • B32B2307/70Other properties
    • B32B2307/73Hydrophobic
    • BPERFORMING OPERATIONS; TRANSPORTING
    • B32LAYERED PRODUCTS
    • B32BLAYERED PRODUCTS, i.e. PRODUCTS BUILT-UP OF STRATA OF FLAT OR NON-FLAT, e.g. CELLULAR OR HONEYCOMB, FORM
    • B32B2435/00Closures, end caps, stoppers
    • B32B2435/02Closures, end caps, stoppers for containers
    • BPERFORMING OPERATIONS; TRANSPORTING
    • B32LAYERED PRODUCTS
    • B32BLAYERED PRODUCTS, i.e. PRODUCTS BUILT-UP OF STRATA OF FLAT OR NON-FLAT, e.g. CELLULAR OR HONEYCOMB, FORM
    • B32B2439/00Containers; Receptacles
    • B32B2439/40Closed containers
    • B32B2439/46Bags
    • BPERFORMING OPERATIONS; TRANSPORTING
    • B32LAYERED PRODUCTS
    • B32BLAYERED PRODUCTS, i.e. PRODUCTS BUILT-UP OF STRATA OF FLAT OR NON-FLAT, e.g. CELLULAR OR HONEYCOMB, FORM
    • B32B2439/00Containers; Receptacles
    • B32B2439/70Food packaging
    • BPERFORMING OPERATIONS; TRANSPORTING
    • B32LAYERED PRODUCTS
    • B32BLAYERED PRODUCTS, i.e. PRODUCTS BUILT-UP OF STRATA OF FLAT OR NON-FLAT, e.g. CELLULAR OR HONEYCOMB, FORM
    • B32B2439/00Containers; Receptacles
    • B32B2439/80Medical packaging
    • BPERFORMING OPERATIONS; TRANSPORTING
    • B65CONVEYING; PACKING; STORING; HANDLING THIN OR FILAMENTARY MATERIAL
    • B65DCONTAINERS FOR STORAGE OR TRANSPORT OF ARTICLES OR MATERIALS, e.g. BAGS, BARRELS, BOTTLES, BOXES, CANS, CARTONS, CRATES, DRUMS, JARS, TANKS, HOPPERS, FORWARDING CONTAINERS; ACCESSORIES, CLOSURES, OR FITTINGS THEREFOR; PACKAGING ELEMENTS; PACKAGES
    • B65D77/00Packages formed by enclosing articles or materials in preformed containers, e.g. boxes, cartons, sacks or bags
    • B65D77/10Container closures formed after filling
    • B65D77/20Container closures formed after filling by applying separate lids or covers, i.e. flexible membrane or foil-like covers
    • B65D77/2024Container closures formed after filling by applying separate lids or covers, i.e. flexible membrane or foil-like covers the cover being welded or adhered to the container

Definitions

  • the present invention relates to a packaging material and a method for producing the packaging material. More specifically, the present invention relates to a packaging material for packaging foods, beverages, cosmetics, pharmaceuticals, and the like.
  • packaging materials are used for packaging the contents.
  • these packaging materials in addition to sealing properties, thermal adhesiveness, light shielding properties, heat resistance, durability and the like are required.
  • the heat seal layer is at least one of a nonionic surfactant or a hydrophobic additive having an adhesion preventing effect.
  • a filler adhesion prevention lid material characterized in that it has a thickness of more than 10 ⁇ m, and an intermediate layer made of polyolefin is provided between the adhesive layer and the heat seal layer.
  • Patent Documents 2 to 4 have developed packaging materials in which an adhesion preventing layer is formed on the heat seal layer in order to further improve non-adhesion. Has already been distributed to the market and used in various areas.
  • yogurt can be cited as a representative example.
  • the domestic production of fermented milk such as yogurt in Japan exceeds 1 million kiloliters per year, and the production line is almost 365 days in operation at the yogurt factory.
  • Many of the products distributed on the market are yogurts filled in plastic or paper poly containers, and the openings are sealed with heat seal lids. Since such products are produced in hundreds of thousands or more packs per day, the heat sealing time required per product is also limited, and the heat sealing usually has to be completed within a few seconds.
  • JP 2002-37310 A JP 2010-184454 JP2011-73219 JP2011-93315
  • the anti-adhesion layer is formed on the heat seal layer, so that it can be reliably heat sealed in a short time of about several seconds. It can be difficult.
  • the main object of the present invention is to provide a packaging material that can exhibit more excellent hot tack property in a packaging material in which an adhesion preventing layer is laminated on the surface of a heat seal layer.
  • the present inventor has found that the above object can be achieved by adopting a specific layer structure, and has completed the present invention.
  • a packaging material comprising at least a) a base material layer, b) a heat seal layer, and c) an adhesion preventing layer in order, (1)
  • the heat seal layer includes filler particles, and has a dense region where the filler particles are dense and a depopulated region where the filler particles are sparsely dispersed, (2)
  • the dense region and the depopulated region each have a substantially band-like planar shape, (3)
  • the dense region and the depopulated region are alternately and continuously disposed so as to form a stripe shape as the entire heat seal layer.
  • a packaging material characterized by that. 2.
  • Item 2 The packaging material according to Item 1, wherein the heat seal layer is formed so as to cover the entire base material layer. 3.
  • Item 2. The packaging material according to Item 1, wherein the adhesion preventing layer is formed so as to cover substantially all of the dense region and the depopulated region in the heat seal layer. 4).
  • Item 2. The packaging material according to Item 1, wherein the adhesion preventing layer comprises hydrophobic fine particles. 5.
  • Item 2. The packaging material according to Item 1, wherein the average particle size of the filler particles is 0.1 to 50 ⁇ m. 6).
  • a method for producing a packaging material comprising at least a) a base material layer, b) a heat seal layer, and c) an adhesion preventing layer in order, (1) A step of forming a heat seal layer on one surface of a base material layer by applying an ink containing a heat seal component and filler particles using a gravure printing method using a diagonal plate, (2) A step of forming an adhesion preventing layer by applying a dispersion liquid in which hydrophobic particles are dispersed in a solvent, on the surface of the obtained heat seal layer, A method for producing a packaging material, comprising:
  • an excellent hot tack property can be exhibited even though the adhesion preventing layer is laminated on the surface of the heat seal layer. More specifically, since the heat sealing layer having a specific structure is formed in the packaging material of the present invention, the desired heat sealing is performed within a few seconds (preferably within 2 seconds, more preferably within 1.5 seconds). An effect can be obtained. As a result, excellent non-adhesive properties (water repellency, yogurt repellency, etc.) and excellent hot tack properties can be achieved.
  • the packaging material of the present invention even when a liquid food or beverage (for example, yogurt) containing moisture and fat is used as a content, a more excellent adhesion preventing effect can be achieved. That is, even when yogurt or the like contains a relatively large amount of fat (milk fat), an excellent anti-adhesion effect can be achieved.
  • yogurt of a type containing a relatively large amount of milk fat in yogurt particularly, 3% or more of milk fat
  • the water repellency is greatly reduced. .
  • the liquid food or beverage for example, yogurt
  • a fat content milk fat content
  • milk fat content 3% or more (particularly 3 to 10%, more preferably 3 to 8%)
  • desired adhesion preventing effect water repellency, yogurt repellency
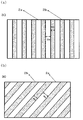
  • FIG. 1 It is a schematic diagram which shows the cross-sectional structure of the packaging material of this invention. It is a schematic diagram which shows the planar structure of the packaging material of this invention. The schematic diagram of the cross-sectional structure of the package produced using the packaging material of this invention as a cover material of a container is shown. The result of having investigated the peeling distance of the seal
  • the packaging material of the present invention is a packaging material comprising at least a) a base material layer, b) a heat seal layer, and c) an adhesion preventing layer in this order, (1)
  • the heat seal layer includes filler particles, and has a dense region where the filler particles are dense and a depopulated region where the filler particles are sparsely dispersed, (2)
  • the dense region and the depopulated region each have a substantially band-like planar shape, (3)
  • the dense region and the depopulated region are alternately and continuously disposed so as to form a stripe shape as the entire heat seal layer. It is characterized by that.
  • FIG. 1 the schematic diagram of the cross section of the sheet-like packaging material which concerns on this invention is shown.
  • the packaging material 30 of the present invention has a base layer 1, a heat seal layer 2, and an adhesion prevention layer 3 as a basic configuration.
  • the base material layer 1, the heat seal layer 2 and the adhesion preventing layer 3 may be laminated so as to be in direct contact with each other.
  • One layer or two or more layers may be interposed.
  • the filler particles 6 are included in the heat seal layer 2.
  • the heat seal layer has a dense region where packed particles are dense and a depopulated region where filled particles are sparsely dispersed. That is, in the present invention, it is sufficient that (the density of packed particles in a dense region)> (the density of packed particles in a sparse region), and each density is not only the particle size of the packed particles but also the diagonal plate cell used in gravure printing. It can be appropriately adjusted depending on the shape and size.
  • the dense region and the sparsely populated region can be identified and determined by observation with an optical microscope, as shown in the examples described later. In the present invention, the case where almost no filler particles are present in the depopulated region is included.
  • the planar state of the dense area and the depopulated area is such that each area has a substantially band shape (substantially rectangular shape, linear stripe), and these are adjacent to each other alternately and continuously.
  • a stripe pattern is formed by both regions, it is not limited.
  • FIG. 2A a mode in which a vertical stripe pattern composed of a dense region 2a and a sparsely populated region 2b is formed may be used.
  • FIG. 2B composed of the dense region 2a and the sparsely populated region 2b
  • an oblique stripe pattern may be formed.
  • the individual band-like regions may be linear as shown in FIG. 2, but may be substantially curved, meandering, or the like.
  • the width Wa of the dense region 2a and the width Wb of the depopulated region 2b are not particularly limited, and are normally set appropriately within the range of about 0.05 to 5 mm, particularly 0.1 to 0.8 mm, respectively. Can do. Further, the widths of both regions may be the same or different from each other.
  • the width Wa indicates a value obtained by selecting ten arbitrary dense regions in an optical microscope and arithmetically averaging the individual widths Wa 1 , Wa 2 ,... Wa 10 .
  • the width Wb in the observation with an optical microscope, the width of any sparsely populated regions elect 10 shows values obtained by each width Wb 1, Wb 2, the ⁇ ⁇ ⁇ Wb 10 and the arithmetic mean.
  • each width in the plurality of dense regions may be the same or different from each other, but it is usually desirable that the widths are substantially the same.
  • the widths of the plurality of depopulated regions may be the same or different from each other, but it is usually desirable that the widths are substantially the same.
  • the heat seal layer is preferably formed so as to cover the entire base material layer. This makes it possible to perform heat sealing at any location of the packaging material.
  • the adhesion preventing layer 3 is the outermost surface of the heat seal layer 2 as the outermost layer of the laminate including the base material layer 1 and the heat seal layer 2 (on the side that is not adhered to the base material layer (on the side opposite to the base material layer). ) Surface).
  • the adhesion preventing layer 3 is preferably composed of hydrophobic particles (notation of individual particles is omitted in FIG. 1). That is, the hydrophobic particles adhere to the heat seal layer 2 and are fixed.
  • the hydrophobic particles may contain primary particles, but it is desirable that the hydrophobic particles contain many aggregates (secondary particles).
  • the porous layer which has a three-dimensional network structure is formed, the said porous layer becomes the outermost layer in a packaging material.
  • the adhesion preventing layer is preferably formed continuously in both the dense region and the depopulated region in the heat seal layer.
  • the adhesion preventing layer is preferably formed continuously in both the dense region and the depopulated region in the heat seal layer.
  • this non-adhesive layer maintains good non-adhesiveness for a long period of time.
  • the reason for this is considered that hydrophobic particles are fixed particularly in the dense region of the heat seal layer 2. That is, even when the packaging material comes into contact with the contents or the equipment or apparatus in the process, the hydrophobic particles fixed in the gaps (valleys) between the packed particles in the dense region are less likely to come into contact with the contents. Therefore, the falling off of the hydrophobic particles can be effectively suppressed or prevented. As a result, it is considered that excellent non-adhesiveness can be exhibited continuously. In other words, it can be said that good non-adhesiveness can be exhibited over a relatively long period of time.
  • the packaging material of the present invention is at least partially heat-sealed during use. That is, part or all of the packaging material is heat-sealed through the heat seal layer 2.
  • a heat seal layer is formed on the entire surface of the lid, and the portion to be heat sealed with the container (for example, the flange of the opening of the container) ) Will be heat sealed.
  • the mating member (adhered body) to which the packaging material of the present invention is heat-sealed is not limited.
  • the packaging of the present invention The case where a bag etc.
  • heat-sealing materials is also included.
  • heat-sealing using the packaging material of the present invention hydrophobic particles adhering to the heat-sealing layer will be embedded in the heat-sealing layer at the time of use, so that the heat-sealing is not substantially hindered.
  • Heat sealing can be reliably performed with a member (adhered body) to be heat sealed. That is, good heat sealing performance can be exhibited despite the presence of hydrophobic particles between the heat sealing layer and the adherend.
  • FIG. 3 shows a schematic diagram of a cross-sectional structure of a package produced using the packaging material of the present invention as a container lid.
  • the notation of the hydrophobic particles 3 and the packed particles 6 is omitted.
  • the container 4 is filled with the contents 5 and sealed in a state where the flange of the opening and the heat seal layer 2 of the packaging material (laminate) are in contact with each other. That is, the packaging material of the present invention is used in a state in which the hydrophobic particles attached to the heat seal layer 2 can come into contact with the contents 5.
  • a part of the hydrophobic particles 3 (or the porous layer made of hydrophobic particles) is in a state of entering into the recesses or gaps formed by the filler particles, so that physical contact with the contents, vibration during transportation As a result, it is possible to effectively prevent the hydrophobic particles 3 (or the porous layer made of hydrophobic particles) from being peeled / dropped off due to, for example, excellent non-adhesiveness can be exhibited for a long period of time.
  • a material of the container 4 it can select suitably from a metal, a synthetic resin, glass, paper, those composite materials etc., for example, The kind of a heat seal layer, a component, etc. can be adjusted suitably according to the material.
  • Base material layer As the base material layer, a known material can be adopted. For example, simple substance such as paper, synthetic paper, resin film, resin film with vapor deposition layer, aluminum foil, other metal foil, or a composite material / laminated material thereof can be suitably used.
  • the method for laminating the base material layer and the method for laminating the base material layer and the heat seal layer are not limited.
  • a known method such as a dry laminating method, an extrusion laminating method, a wet laminating method or a heat laminating method should be adopted. Can do.
  • the thickness of the base material layer is not particularly limited, but a range used for known packaging materials can be set, and for example, it is usually preferably about 1 to 500 ⁇ m.
  • Heat seal layer The heat seal layer is disposed on the outermost layer (outermost surface) of the laminate.
  • the heat seal layer contains filled particles, and a known heat seal component can be adopted as a component (also referred to as a main component) other than the filled particles.
  • a known heat seal component can be adopted as a component (also referred to as a main component) other than the filled particles.
  • components used for adhesives such as lacquer type adhesives, easy peel adhesives and hot melt adhesives can be employed.
  • the main component of the heat seal layer is not limited.
  • low density polyethylene medium density polyethylene, high density polyethylene, linear (linear) low density polyethylene, polypropylene, ethylene-vinyl acetate copolymer, ionomer resin , Ethylene-acrylic acid copolymer, ethylene-ethyl acrylate copolymer, ethylene-methacrylic acid copolymer, ethylene-methyl methacrylate copolymer, ethylene-propylene copolymer, methylpentene polymer, polybutene polymer
  • An acid-modified polyolefin resin obtained by modifying a polyolefin resin such as polyethylene or polypropylene with an unsaturated carboxylic acid such as acrylic acid, methacrylic acid, maleic acid, maleic anhydride, fumaric acid, itaconic acid, a polyvinyl acetate resin, Poly (meth) acrylic resin, Polyac Ronitoriru resins, polyvinyl chloride
  • the thickness of the heat seal layer is not particularly limited, but is preferably about 5 to 100 ⁇ m, more preferably about 10 to 50 ⁇ m from the viewpoint of productivity, cost, etc. in a dense region.
  • the depopulated region it is preferably about 1 to 50 ⁇ m, and more preferably about 1 to 30 ⁇ m.
  • the packaging material of the present invention when heat bonding is performed, hydrophobic particles existing on the heat bonded region are embedded in the heat seal layer, and the resin component of the heat seal layer becomes the outermost surface to perform heat bonding. be able to. For this reason, it is desirable to set the thickness within the above thickness range so that as many hydrophobic particles as possible can be embedded in the heat seal layer.
  • the heat seal layer is provided so that the belt-like dense regions and the belt-like depopulated regions are alternately arranged.
  • the band-shaped dense regions and the band-shaped depopulated regions are preferably provided so as to be alternately arranged at a pitch of 100 to 400 ⁇ m, and particularly preferably provided so as to be alternately arranged at a pitch of 200 to 300 ⁇ m.
  • pitch means a total in plan view of the width Wa of the dense region and the width Wb of the depopulated region in the direction perpendicular to the band direction.
  • the base material layer may include other layers. That is, as long as the effects of the present invention are not hindered, known packaging materials are provided for the purpose of imparting various properties (moisture permeability resistance, oxygen permeability resistance, light shielding properties, heat insulation properties, impact resistance, etc.) as necessary.
  • Each layer employed in (1) may be laminated at an arbitrary position.
  • a printing layer a printing protective layer (so-called OP layer), a colored layer, an adhesive layer, an adhesion reinforcing layer, a primer coat layer, an anchor coat layer, an anti-slip agent layer, a lubricant layer, an anti-fogging agent layer and the like can be mentioned.
  • Adhesion prevention layer In the packaging material of the present invention, an adhesion prevention layer is formed so as to be in contact with the heat seal layer.
  • an adhesion prevention layer a layer composed of hydrophobic particles can be suitably employed.
  • hydrophobic particles are not particularly limited as long as they have hydrophobicity, and specifically, oxide fine particles having hydrophobicity can be used. Further, it may be hydrophobized by surface treatment. For example, fine particles in which hydrophilic oxide fine particles are subjected to a surface treatment with a silane coupling agent or the like to make the surface state hydrophobic can also be used.
  • silica silicon dioxide
  • alumina alumina
  • titania titania
  • the oxide fine particles can be suitably used as the oxide fine particles.
  • silica product names “AEROSIL R972”, “AEROSIL R972V”, “AEROSIL R972CF”, “AEROSIL R974”, “AEROSIL RX200”, “AEROSIL RY200” (above, manufactured by Nippon Aerosil Co., Ltd.), “AEROSIL R202” "AEROSIL R805", "AEROSIL R812", “AEROSIL R812S” (above, manufactured by Evonik Degussa), "Silo Hovic 100", “Silo Hovic 200", “Silo Hovic 603” (above, Fuji Silysia Chemical) Etc.).
  • titania examples include “AEROXIDE TiO 2 T805” (manufactured by Evonik Degussa).
  • alumina examples include fine particles in which the product name “AEROXIDE Alu C” (manufactured by Evonik Degussa) is treated with a silane coupling agent to make the particle surface hydrophobic.
  • hydrophobic silica fine particles can be preferably used.
  • hydrophobic silica fine particles having a trimethylsilyl group on the surface are preferable in that better non-adhesiveness can be obtained.
  • commercially available products corresponding to this include “AEROSIL® R812” and “AEROSIL® R812S” (both manufactured by Evonik® Degussa).
  • the amount of hydrophobic particles attached to the surface of the packaging material is not limited, but is usually preferably 0.01 to 10 g / m 2, and preferably 0.2 to 1.5 g / m 2. More preferably, it is most preferably 0.2 to 1 g / m 2 .
  • the hydrophobic particles adhering to the surface of the packaging material preferably form a porous layer having a three-dimensional network structure, and the thickness is preferably about 0.1 to 5 ⁇ m, preferably 0.2 to 2.5 ⁇ m. The degree is further preferred. By adhering in such a porous layer state, the layer can contain a lot of air, and more excellent non-adhesiveness can be exhibited.
  • the average primary particle diameter of the hydrophobic particles is preferably about 3 nm to 20 ⁇ m, more preferably 3 to 100 nm, and most preferably 5 to 50 nm.
  • the average primary particle diameter can be measured with a scanning electron microscope (SEM, FE-SEM). When the resolution of the scanning electron microscope is low, another electron such as a transmission electron microscope is used. You may carry out together with a microscope. Specifically, when the particle shape is spherical, the diameter is considered as the diameter, and when the particle shape is non-spherical, the average value of the longest diameter and the shortest diameter is regarded as the diameter, and 50 arbitrarily selected by observation with a scanning electron microscope or the like. The average diameter of the particles is defined as the average primary particle diameter.
  • the hydrophobic particles may adhere to the entire surface of the heat seal layer side (the entire surface on the side opposite to the base material layer side), or a region where the heat seal layer is thermally bonded (so-called adhesive margin). You may adhere to the area
  • Filled particles are contained in the heat seal layer.
  • the filler particles By including the filler particles in the heat seal layer, it is possible to impart more excellent wear resistance and the like to the packaging material and to maintain the wear resistance for a long time. Aqueous yogurt repellency) can be further maintained.
  • filler particles containing at least one of an organic component and an inorganic component can be employed.
  • inorganic components include 1) metals such as aluminum, copper, iron, titanium, silver, and calcium, or alloys or intermetallic compounds containing these metals, and 2) silicon oxide, aluminum oxide, zirconium oxide, titanium oxide, iron oxide, and the like. Oxides, 3) inorganic acid salts or organic acid salts such as calcium phosphate and calcium stearate, 4) glass, 5) ceramics such as aluminum nitride, boron nitride, silicon carbide and silicon nitride can be suitably used.
  • organic components examples include acrylic resins, urethane resins, melamine resins, amino resins, epoxy resins, polyethylene resins, polystyrene resins, polypropylene resins, polyester resins, cellulose resins, vinyl chloride resins, and polyvinyl resins.
  • Organic polymer components such as alcohol, ethylene-vinyl acetate copolymer, ethylene-vinyl alcohol copolymer, ethylene-ethyl acrylate copolymer, polyacrylonitrile, and polyamide can be suitably used.
  • particles containing an organic component are preferable, and it is more preferable to employ resin beads.
  • the shape of the filled particles is not limited, and may be any of spherical shape, spheroid shape, indefinite shape, teardrop shape, flat shape, hollow shape, porous shape, and the like.
  • the average particle diameter of the filler particles is not particularly limited, and can be appropriately set within a range of, for example, 0.1 to 50 ⁇ m, preferably 1 to 30 ⁇ m. However, it is preferable to make the average particle size of the packed particles larger than the average particle size of the primary particles of the hydrophobic particles because the gap between the packed particles is actively used.
  • the melting point of the resin beads is desirably lower than the melting point of the heat seal layer, and is usually more preferably 160 ° C. or lower.
  • the resin beads are preferably made of polyolefin resin, and for example, at least one of polyethylene resin, polypropylene resin, polybutene resin and the like can be suitably used.
  • the average particle size of the packed particles may be measured with a laser diffraction particle size distribution meter, but when measurement with a laser diffraction particle size distribution meter is difficult, observation with a microscope, such as a scanning electron microscope (Or photography), and when the particle shape is spherical, the diameter is considered to be the average, and when the particle shape is non-spherical, the average value of the longest diameter and the shortest diameter is regarded as the diameter and arbitrarily selected by observation with a scanning electron microscope or the like 50
  • the average particle diameter may be the average particle diameter.
  • the content of the filler particles in the heat seal layer of the present invention can be appropriately changed according to the kind of the filler particles, the average particle diameter, etc., but is usually 1 to 80% based on the solid content weight, and 5 to 50 % Is more preferable, and further 10 to 30% is most preferable.
  • the packaging material of the present invention can be suitably produced, for example, by the following method. That is, a method for producing a packaging material including at least a) a base material layer, b) a heat seal layer, and c) an adhesion preventing layer in order, (1) A step of forming a heat seal layer on one surface of the base material layer by applying an ink containing a heat seal component and filler particles according to a gravure printing method using a diagonal plate (heat seal layer forming step), (2) A step of forming an adhesion preventing layer (coating film) by applying a dispersion liquid in which hydrophobic particles are dispersed in a solvent on the surface of the obtained heat seal layer (an adhesion preventing layer forming step),
  • the packaging material of the present invention can be suitably produced by a production method including
  • Heat seal layer forming step In the heat seal layer forming step, a heat seal layer is formed on one surface of the base material layer by applying an ink containing a heat seal component and filler particles according to a gravure printing method using a diagonal plate. .
  • the gravure plate generally used is engraved with a small hole-like depression called a cell, and ink is temporarily held in the cell, and the surface to be printed (one surface of the base material layer in the present invention) Gravure printing is carried out by transferring the navel ink.
  • the hatched plate used in the present invention has a shape in which each cell is elongated in one direction. That is, in the present invention, a gravure plate in which a plurality of linear grooves (recesses) are formed on a roll (cylinder) is used. When gravure printing is performed using this, the ink is held in the linear groove portion of the gravure plate, but the filled particles in the ink are concentrated in the groove portion (cell). When ink is transferred to the printing surface in such a state, a belt-like dense region is formed by the region corresponding to the groove portion, and a belt-like depopulated region is formed by a region corresponding to a portion other than the groove portion.
  • ink is transferred to a portion corresponding to the groove at the time of transfer, but a part of the ink flows and spreads immediately after transfer.
  • a heat seal layer in which a dense region centering on a portion corresponding to the groove and a depopulated region formed by ink flow are alternately arranged.
  • the dense region generally has a shape corresponding to the region of the linear groove portion of the oblique line plate
  • the depopulated region has a shape corresponding to the region other than the groove portion.
  • the density of the filler particles in the dense region and the depopulated region can also be set in a range according to the shape, width, and depth of the groove portion (cell) of the obliquely used plate. For example, the density of the packed particles in the dense region can be increased as the depth of the hatched cell is deeper. Further, for example, the density of the packed particles in the dense region can be increased as the width of the hatched cell is narrower.
  • the specifications of the hatched version are not particularly limited, but are preferably set as follows from the viewpoint of obtaining excellent hot tack properties and adhesion prevention effects more reliably.
  • the angle of the oblique line of the oblique line plate is preferably 10 to 80 degrees and more preferably 30 to 60 degrees with respect to the printing direction.
  • the number of diagonal lines (the number of grooves) is preferably 50 to 200 lines / inch, and more preferably 100 to 150 lines / inch.
  • the oblique line plate includes not only a flat planographic plate but also a roll-shaped roll plate.
  • an ink containing a heat seal component and filled particles is used as the ink used in gravure printing.
  • any of a dispersion in which the heat seal component is dispersed in a solvent, a solution in which the heat seal component is dissolved in the solvent, and the like can be used.
  • the solvent the same solvent as that contained in the ink used in normal gravure printing can be used, and the same solvent as that used in the dispersion liquid in the adhesion preventing layer forming step described later can be used. it can.
  • the filler particles may be mixed and dispersed in the ink.
  • the gravure printing method is not particularly limited, and for example, any of direct gravure, offset gravure, micro gravure, reverse gravure, reverse coater and the like can be employed. These can be carried out using a known or commercially available apparatus. In addition, after implementing gravure printing, you may implement a drying process in order to accelerate
  • Anti-adhesion layer forming step In the anti-adhesion layer forming step, a coating film (coating film as an anti-adhesion layer) is applied on the surface of the obtained heat seal layer by applying a dispersion in which hydrophobic particles are dispersed in a solvent.
  • a coating film coating film as an anti-adhesion layer
  • an adhesion preventing layer is formed by applying a dispersion in which hydrophobic particles are dispersed in a solvent to a part or all of the outermost surface of the heat seal layer in the laminate in which the heat seal layer is disposed as the outermost layer. It is desirable.
  • the laminate As the laminate, the above 1. Those described in the above can be used. That is, the base material layer, the heat seal layer, and other layers are the same as those in the above 1. The same can be adopted.
  • a dispersion in which hydrophobic particles are dispersed in a solvent may be used.
  • the hydrophobic particles in this case are the above-mentioned 1. Each of the above can be used.
  • the solvent is not particularly limited.
  • organic solvents such as alcohol (ethanol), cyclohexane, toluene, acetone, IPA, propylene glycol, hexylene glycol, butyl diglycol, pentamethylene glycol, normal pentane, normal hexane, hexyl alcohol and the like.
  • the amount of hydrophobic particles dispersed in the solvent is usually preferably about 10 to 100 g / L.
  • other additives can be appropriately blended in the dispersion as needed within a range not impeding the effects of the present invention.
  • a dispersant, a colorant, an anti-settling agent, a viscosity modifier, and the like can be blended.
  • the adhesion preventing layer forming step can be carried out by forming a coating film on the heat seal layer using a dispersion obtained by dispersing hydrophobic particles in a solvent.
  • the drying method may be either natural drying or forced (heating) drying.
  • the packaging material thus obtained can be used as it is or after being processed.
  • the same method as in the case of a known packaging material can be adopted.
  • embossing, half-cutting, notching, etc. may be performed.
  • the packaging material of the present invention can be suitably used not only for lid materials but also for bags such as molded containers, wrapping paper, trays, tubes, and pillow bags, gusset bags, pouches, and the like. More specifically, a bag can be suitably manufactured by heat-sealing the packaging materials of the present invention in the vicinity of each other with the heat-seal layers facing each other. Such a bag can be used for a retort pack or the like.
  • Example 1 A packaging material sample was prepared according to the following procedures (1) to (3).
  • a laminate of paper / D / VM-PET was prepared by laminating with an aluminum vapor deposition layer of a polyethylene terephthalate film (abbreviated as VM-PET).
  • OP main component: coating amount after drying of nitrocellulose: 1 g / m 2 ; abbreviated as OP) was applied to the paper surface of this laminate.
  • the prepared heat sealant was applied to the PET surface of the substrate by a direct gravure method using a diagonal plate (number of lines 100 / inch, depth 60 ⁇ m, angle: 45 °) cylinder (roll), and the substrate layer and heat A laminate of seal layers was obtained.
  • the target application amount of the heat sealing agent with resin beads was 3.5 g / m 2 by weight after drying.
  • the pitch between the dense region and the depopulated region of the heat seal layer was 250 ⁇ m.
  • Example 2 A packaging material sample was prepared in the same manner as in Example 1 except that the amount of the hydrophobic oxide fine particles (3) dispersed in ethanol was 3 g and the coating amount was changed to 0.5 g / m 2 by weight after drying. Produced.
  • Example 3 A packaging material sample was prepared in the same manner as in Example 1 except that the dispersion amount of the hydrophobic oxide fine particles (3) in ethanol was 4 g and the coating amount was changed to 0.8 g / m 2 after drying. Produced.
  • Comparative Example 1 A packaging material sample was produced in the same manner as in Example 1 except that the oblique printing cylinder (2) was changed to a gravure cell printing cylinder (length and width # 100 mesh, depth 60 ⁇ m).
  • Comparative Example 2 A packaging material sample was produced in the same manner as in Example 2 except that the oblique printing cylinder (2) was changed to a gravure cell printing cylinder (length and width # 100 mesh, depth 60 ⁇ m).
  • Comparative Example 3 A packaging material sample was produced in the same manner as in Example 3 except that the oblique printing cylinder (2) was changed to a gravure cell printing cylinder (length and width # 100 mesh, depth 60 ⁇ m).
  • Test example 1 A hot tack tester (“TP-701S” manufactured by Tester Sangyo Co., Ltd.) was used to measure the hot tack properties of the packaging material samples prepared in the above examples and comparative examples under the following conditions. Specifically, a test sample is produced by cutting out from each packaging material sample (length 700 mm ⁇ width 35 mm), and an impact-resistant polystyrene sheet (HIPS, thickness: 0.5 mm) having the same size as the sample as an adherend. was prepared and superimposed on the surface of the test sample on the heat seal layer (adhesion prevention layer) side.
  • TP-701S manufactured by Tester Sangyo Co., Ltd.
  • FIG. 5 a schematic diagram of the hot tack tester used in Test Example 1 is shown in FIG.
  • reference numerals 10, 11, 12, and 13 are guide rolls
  • reference numeral 1 is a test sample
  • reference numeral 20 is an adherend
  • reference numerals 21 and 22 are an upper bar and a lower bar for heat sealing, respectively.
  • 20 as shown in the figure, weights (45 g each) were loaded on the ends of each sample, and immediately after the samples 1 and 20 were sealed with the upper bar 21 and the lower bar 22 (after 1.2 seconds) The bars 21 and 22 are separated from each other, and the distance at which the seal is peeled off instantaneously is measured.
  • Test example 2 A package was produced using a lid material cut out from each packaging material sample into a lid shape (rectangular length 62 mm ⁇ width 67 mm). Specifically, two types of commercially available yogurt (((flange width 4 mm, flange outer diameter 60 mm ⁇ 65 mm ⁇ , height 48 mm, inner volume approximately 100 cm 3 )) a) Product name “Biidas Aloe Yogurt” manufactured by Morinaga Milk Industry Co., Ltd.
  • Each package was created using a vibration tester (TRANSPORTATION TESTER BF-30U manufactured by IDEX Co., Ltd.) for 1 minute 40 seconds (10 Hz-10 seconds, 15 Hz-10 seconds, 20 Hz-10 seconds, 25 Hz-10 seconds, 30 Hz) -10 seconds 2 times, up and down reciprocating vibration) After vibrating under the conditions of 2.2 mm amplitude (vertical direction) and acceleration of about 2 G, the lid material was opened with fingers and the yogurt adhering to each lid material The amount (attached area) was determined visually. The criterion was the ratio of the adhesion area to the contact area. The results are shown in Table 1.
  • Test example 3 The sealing strength of the packaging material samples obtained in each example and comparative example was examined.
  • a package was produced using a lid material cut out from each packaging material sample into a lid shape (rectangular length 62 mm ⁇ width 67 mm). Specifically, the lid material is heated on the flange of a flanged polystyrene container (formed with a flange width of 4 mm, a flange outer diameter of 60 mm ⁇ 65 mm ⁇ , a height of about 48 mm, and an internal volume of about 100 cm 3 ).
  • Each package was produced by sealing.
  • the heat seal condition was a ring (concave) seal having a width of 1 mm per second at a temperature of 210 ° C.
  • Test Example 5 The contact angle measuring device (solid-liquid interface analyzer “DropMaster 300” manufactured by Kyowa Interface Science Co., Ltd.) was used to measure the contact angle of pure water using the heat seal layer (adhesion prevention layer) side of each packaging material sample as the test surface. . The results are shown in Table 1.
  • Test Example 6 Each packaging material sample has the heat seal layer (adhesion prevention layer) side as the test surface, and this surface is used as the top surface and fixed to a horizontal flat plate with a clip.
  • Commercial yogurt product name “Bihidas Aloe Yogurt” soft yogurt, Morinaga Milk Co., Ltd.
  • 1 drop made by company: about 0.4 g was dropped from a close distance, the horizontal flat was tilted, and the angle when the yogurt liquid droplet fell was determined. The results are shown in Table 1.
  • Comparative Examples 1 to 3 exhibited almost no yogurt repellency with yogurt having a milk fat content of 3.5%, whereas the samples of Examples 1 to 3 had yogurt with a milk fat content of 3.5%. Even so, it can be seen that the desired yogurt repellency is achieved.
  • Test Example 7 The surface of the packaging material sample on the heat seal layer (adhesion prevention layer) side was observed.
  • the heat seal layer (adhesion prevention layer) side surface of the packaging material samples of Example 1 and Comparative Example 1 was observed with an optical microscope. These photographs are shown in FIGS. Although the direction of Example 1 is one direction from the photograph, it can be seen that the filler particles are more dispersedly applied. In Comparative Example 1, there are many places where the filler particles are not dispersed, and it is estimated that this difference may have a difference in evaluation values such as hot tackiness.

Landscapes

  • Engineering & Computer Science (AREA)
  • Mechanical Engineering (AREA)
  • Wrappers (AREA)
  • Laminated Bodies (AREA)
PCT/JP2016/055920 2015-02-28 2016-02-26 包装材料及びその製造方法 Ceased WO2016136981A1 (ja)

Priority Applications (3)

Application Number Priority Date Filing Date Title
KR1020177025906A KR102546506B1 (ko) 2015-02-28 2016-02-26 포장재료 및 그 제조방법
CN201680011252.1A CN107249998B (zh) 2015-02-28 2016-02-26 包装材料及其制造方法
EP16755725.5A EP3263477B1 (en) 2015-02-28 2016-02-26 Packaging material and method for manufacturing same

Applications Claiming Priority (2)

Application Number Priority Date Filing Date Title
JP2015039705A JP6232006B2 (ja) 2015-02-28 2015-02-28 包装材料及びその製造方法
JP2015-039705 2015-02-28

Publications (1)

Publication Number Publication Date
WO2016136981A1 true WO2016136981A1 (ja) 2016-09-01

Family

ID=56788712

Family Applications (1)

Application Number Title Priority Date Filing Date
PCT/JP2016/055920 Ceased WO2016136981A1 (ja) 2015-02-28 2016-02-26 包装材料及びその製造方法

Country Status (5)

Country Link
EP (1) EP3263477B1 (enExample)
JP (1) JP6232006B2 (enExample)
KR (1) KR102546506B1 (enExample)
CN (1) CN107249998B (enExample)
WO (1) WO2016136981A1 (enExample)

Cited By (2)

* Cited by examiner, † Cited by third party
Publication number Priority date Publication date Assignee Title
CN111629978A (zh) * 2018-01-19 2020-09-04 麦克夫股份有限公司 盘单元和用于对部分地制备的食物进行密封的方法
WO2023196073A3 (en) * 2022-04-06 2023-11-16 Interlam Corporation Decorative surface laminate and method of manufacturing a decorative surface laminate

Families Citing this family (5)

* Cited by examiner, † Cited by third party
Publication number Priority date Publication date Assignee Title
JP7095976B2 (ja) * 2017-03-30 2022-07-05 東洋アルミニウム株式会社 包装体
CN114572479A (zh) * 2020-12-01 2022-06-03 内蒙古蒙牛乳业(集团)股份有限公司 一种具有疏水涂层的盖膜的封合工艺
CN112693199B (zh) * 2020-12-21 2023-08-01 张家港永和包装印务有限公司 一种包装纸容器的易掲盖膜及其热封层
JP7640336B2 (ja) * 2021-03-31 2025-03-05 東洋アルミニウム株式会社 包装材料
EP4427927A1 (de) 2023-03-10 2024-09-11 Constantia Teich GmbH Folie aus zumindest zwei schichten

Citations (9)

* Cited by examiner, † Cited by third party
Publication number Priority date Publication date Assignee Title
JP2003267433A (ja) * 2002-03-18 2003-09-25 Toppan Printing Co Ltd 外装用包装材料
JP2004001876A (ja) * 2002-03-01 2004-01-08 Dainippon Ink & Chem Inc 密着防止層を有するキャリアテープ用カバーテープ
JP2004026299A (ja) * 2001-12-12 2004-01-29 Dainippon Ink & Chem Inc キャリアテープ用カバーテープ
JP2013071779A (ja) * 2011-09-29 2013-04-22 Toppan Printing Co Ltd 蓋材
JP2013159344A (ja) * 2012-02-01 2013-08-19 Showa Denko Packaging Co Ltd 内容物付着防止蓋材
JP2013208816A (ja) * 2012-03-30 2013-10-10 Toppan Printing Co Ltd 熱シール性フィルム
JP2014024188A (ja) * 2012-07-24 2014-02-06 Toppan Printing Co Ltd 撥水性包装材料及び包装体
JP2014213937A (ja) * 2013-04-30 2014-11-17 大日本印刷株式会社 包装材、包装容器、及び包装材の製造方法
JP2015034038A (ja) * 2013-08-09 2015-02-19 凸版印刷株式会社 内容物非付着性包材

Family Cites Families (6)

* Cited by examiner, † Cited by third party
Publication number Priority date Publication date Assignee Title
WO2001066433A1 (fr) * 2000-03-08 2001-09-13 Dai Nippon Printing Co., Ltd. Materiau d'emballage pour cellule polymere et son procede de fabrication
JP2002037310A (ja) 2000-07-28 2002-02-06 Mitsubishi Alum Co Ltd 充填物付着防止蓋材およびその製造方法
JP4348401B1 (ja) 2009-02-13 2009-10-21 東洋アルミニウム株式会社 蓋材
JP5498749B2 (ja) 2009-09-29 2014-05-21 東洋アルミニウム株式会社 包装材料
JP5674221B2 (ja) 2009-09-29 2015-02-25 東洋アルミニウム株式会社 積層体及び包装材料
JP5890952B2 (ja) * 2011-09-30 2016-03-22 東洋アルミニウム株式会社 包装材料

Patent Citations (9)

* Cited by examiner, † Cited by third party
Publication number Priority date Publication date Assignee Title
JP2004026299A (ja) * 2001-12-12 2004-01-29 Dainippon Ink & Chem Inc キャリアテープ用カバーテープ
JP2004001876A (ja) * 2002-03-01 2004-01-08 Dainippon Ink & Chem Inc 密着防止層を有するキャリアテープ用カバーテープ
JP2003267433A (ja) * 2002-03-18 2003-09-25 Toppan Printing Co Ltd 外装用包装材料
JP2013071779A (ja) * 2011-09-29 2013-04-22 Toppan Printing Co Ltd 蓋材
JP2013159344A (ja) * 2012-02-01 2013-08-19 Showa Denko Packaging Co Ltd 内容物付着防止蓋材
JP2013208816A (ja) * 2012-03-30 2013-10-10 Toppan Printing Co Ltd 熱シール性フィルム
JP2014024188A (ja) * 2012-07-24 2014-02-06 Toppan Printing Co Ltd 撥水性包装材料及び包装体
JP2014213937A (ja) * 2013-04-30 2014-11-17 大日本印刷株式会社 包装材、包装容器、及び包装材の製造方法
JP2015034038A (ja) * 2013-08-09 2015-02-19 凸版印刷株式会社 内容物非付着性包材

Cited By (2)

* Cited by examiner, † Cited by third party
Publication number Priority date Publication date Assignee Title
CN111629978A (zh) * 2018-01-19 2020-09-04 麦克夫股份有限公司 盘单元和用于对部分地制备的食物进行密封的方法
WO2023196073A3 (en) * 2022-04-06 2023-11-16 Interlam Corporation Decorative surface laminate and method of manufacturing a decorative surface laminate

Also Published As

Publication number Publication date
JP2016159948A (ja) 2016-09-05
KR102546506B1 (ko) 2023-06-21
EP3263477A4 (en) 2018-11-14
CN107249998A (zh) 2017-10-13
EP3263477A1 (en) 2018-01-03
KR20180004708A (ko) 2018-01-12
JP6232006B2 (ja) 2017-11-15
CN107249998B (zh) 2019-07-26
EP3263477B1 (en) 2020-10-14

Similar Documents

Publication Publication Date Title
JP6232006B2 (ja) 包装材料及びその製造方法
JP5890952B2 (ja) 包装材料
JP5995463B2 (ja) 包装材料及びその製造方法
JP4348401B1 (ja) 蓋材
EP2666627B1 (en) A package body
JP5674221B2 (ja) 積層体及び包装材料
JP5966519B2 (ja) 撥水性積層体及び撥水性積層体の製造方法
JP5994338B2 (ja) 熱シール性フィルム及び熱シール性フィルムの製造方法
JPWO2018003978A1 (ja) 包装シート及び包装体
JP2014069557A (ja) 熱シール性フィルム
JP6932566B2 (ja) 包装材料
JP5647774B2 (ja) 包装材料
JP6064453B2 (ja) 包装材料およびそれを用いた包装容器
JP2018115008A (ja) 包装材料及び包装容器
JP5499128B2 (ja) 包装材料の製造方法
JP5990950B2 (ja) 蓋材及び蓋材の製造方法
JP2017024740A (ja) 蓋材用撥水性積層体および蓋材
JP2017209874A (ja) 蓋材用撥水性積層体、蓋材および容器
JP5499127B2 (ja) 包装体
JP6268886B2 (ja) 積層体
JP2015037974A (ja) 包装材料

Legal Events

Date Code Title Description
121 Ep: the epo has been informed by wipo that ep was designated in this application

Ref document number: 16755725

Country of ref document: EP

Kind code of ref document: A1

NENP Non-entry into the national phase

Ref country code: DE

ENP Entry into the national phase

Ref document number: 20177025906

Country of ref document: KR

Kind code of ref document: A