WO2015098411A1 - 排気ダクト及びボイラ - Google Patents

排気ダクト及びボイラ Download PDF

Info

Publication number
WO2015098411A1
WO2015098411A1 PCT/JP2014/081310 JP2014081310W WO2015098411A1 WO 2015098411 A1 WO2015098411 A1 WO 2015098411A1 JP 2014081310 W JP2014081310 W JP 2014081310W WO 2015098411 A1 WO2015098411 A1 WO 2015098411A1
Authority
WO
WIPO (PCT)
Prior art keywords
hopper
exhaust gas
baffle plate
flow direction
exhaust duct
Prior art date
Legal status (The legal status is an assumption and is not a legal conclusion. Google has not performed a legal analysis and makes no representation as to the accuracy of the status listed.)
Ceased
Application number
PCT/JP2014/081310
Other languages
English (en)
French (fr)
Japanese (ja)
Inventor
学 小田
心平 戸▲高▼
串岡 清則
正志 清澤
Current Assignee (The listed assignees may be inaccurate. Google has not performed a legal analysis and makes no representation or warranty as to the accuracy of the list.)
Mitsubishi Heavy Industries Ltd
Original Assignee
Mitsubishi Heavy Industries Ltd
Priority date (The priority date is an assumption and is not a legal conclusion. Google has not performed a legal analysis and makes no representation as to the accuracy of the date listed.)
Filing date
Publication date
Application filed by Mitsubishi Heavy Industries Ltd filed Critical Mitsubishi Heavy Industries Ltd
Priority to CN201480060849.6A priority Critical patent/CN105705865B/zh
Priority to US15/100,100 priority patent/US10190771B2/en
Publication of WO2015098411A1 publication Critical patent/WO2015098411A1/ja
Anticipated expiration legal-status Critical
Ceased legal-status Critical Current

Links

Images

Classifications

    • FMECHANICAL ENGINEERING; LIGHTING; HEATING; WEAPONS; BLASTING
    • F23COMBUSTION APPARATUS; COMBUSTION PROCESSES
    • F23JREMOVAL OR TREATMENT OF COMBUSTION PRODUCTS OR COMBUSTION RESIDUES; FLUES 
    • F23J15/00Arrangements of devices for treating smoke or fumes
    • F23J15/02Arrangements of devices for treating smoke or fumes of purifiers, e.g. for removing noxious material
    • F23J15/022Arrangements of devices for treating smoke or fumes of purifiers, e.g. for removing noxious material for removing solid particulate material from the gasflow
    • FMECHANICAL ENGINEERING; LIGHTING; HEATING; WEAPONS; BLASTING
    • F23COMBUSTION APPARATUS; COMBUSTION PROCESSES
    • F23JREMOVAL OR TREATMENT OF COMBUSTION PRODUCTS OR COMBUSTION RESIDUES; FLUES 
    • F23J2217/00Intercepting solids
    • F23J2217/20Intercepting solids by baffles

Definitions

  • the present invention relates to an exhaust duct applied to a boiler for generating steam for power generation or factory use, and a boiler having the exhaust duct.
  • a conventional pulverized coal burning boiler has a hollow furnace and has a vertically installed furnace, and a plurality of combustion burners are disposed along the circumferential direction on the furnace wall, and a plurality of stages in the vertical direction are provided. Are placed across.
  • the combustion burner is supplied with an air-fuel mixture of pulverized coal (fuel) and conveying air (primary air) from which coal has been crushed, and is supplied with high-temperature secondary air, and the air-fuel mixture and the secondary air Is injected into the furnace to form a flame, and combustion gas can be generated in the furnace.
  • a flue is connected to the upper part of the furnace, and a superheater, a reheater, a economizer, etc.
  • an exhaust gas passage is connected, a denitration device, an electrostatic precipitator, a desulfurization device and the like are provided in the exhaust gas passage, and a chimney is provided at a downstream end.
  • popcorn ash (bulk ash) is mixed in the exhaust gas. Since this popcorn ash is a lump of ash, it adheres particularly to a screen or a denitrification device provided in the exhaust gas passage. As a result, the screen wears and needs replacement, which increases the maintenance cost. Moreover, if it deposits on a screen or a denitrification device, the pressure loss will rise and cause performance degradation.
  • An object of the present invention is to solve the problems described above, and it is an object of the present invention to provide an exhaust duct and a boiler that can properly collect solid particles in exhaust gas.
  • the solid particles are separated from the exhaust gas and collected in the hopper.
  • the solid particles have an inertial force, they are likely to collide with the inner wall surface of the hopper and to flow out, but the solid particles flowing to the outside collide with the resistance member to prevent the flow.
  • solid particles in the exhaust gas can be properly collected in the hopper, and the collection efficiency can be improved.
  • the resistance member is characterized in that it has a baffle plate disposed in the upper part of the hopper along the horizontal direction intersecting with the flow direction of the exhaust gas.
  • the baffle plate is disposed along the horizontal direction intersecting the flow direction of the exhaust gas, the solid particles flowing in the entire area of the exhaust duct can be properly collected in the hopper.
  • the baffle plate is characterized by having a first baffle plate disposed at the upper end of the hopper and at the downstream end in the flow direction of the exhaust gas.
  • the solid particles separated from the exhaust gas collide with the inner wall after entering the hopper and try to flow out, but the solid particles which are going to flow out are the downstream end in the flow direction of the exhaust gas
  • the first baffles disposed at the bottom of the frame effectively block the outflow of solid particles.
  • the first baffle plate is characterized in that the collision surface of the solid particles facing in the flow direction of the exhaust gas is directed to the bottom side of the hopper.
  • the collision surface of the first baffle plate faces the bottom side of the hopper, the solid particles which are going to flow out to the outside are guided to the bottom side of the hopper after colliding with the collision surface, which is effective. Solid particles can be recovered.
  • the baffle plate is characterized by having a second baffle plate disposed at an upper position of the hopper and at an intermediate position in the flow direction of the exhaust gas.
  • the solid particles separated from the exhaust gas are guided into the hopper while moving along the inner wall surface of the exhaust gas passage, and collide with the inner wall surface of the hopper to try to flow out, but the solid guided into the hopper
  • the second baffle plate is characterized in that the lower end portion in the vertical direction is inclined toward the downstream side in the flow direction of the exhaust gas.
  • the solid particles guided into the hopper are guided to the bottom side of the hopper after colliding with the second baffle plate, and the solid particles are effectively It can be recovered.
  • the hopper is formed in a concave shape downward in the vertical direction from the exhaust gas passage, and the resistance member is disposed so as not to protrude into the exhaust gas passage in the hopper. It is characterized by
  • the resistance member since the resistance member is disposed in the hopper, the resistance member does not obstruct the flow of the exhaust gas in the exhaust gas passage, and solid particles can be properly separated from the exhaust gas and collected in the hopper.
  • the exhaust duct of the present invention is characterized in that a low repulsion portion having a smaller coefficient of restitution than the inner wall surface of the exhaust gas passage is provided on the upstream or downstream side in the flow direction of the exhaust gas with respect to the hopper.
  • the solid particles contained in the exhaust gas have a reduced amount of repulsion after colliding with the low repulsion portion, so that the solid particles can be properly collected in the hopper.
  • the low repulsion portion is on the upstream side of the flow direction of the exhaust gas in the hopper, the solid particles collide with the low repulsion portion before the hopper to reduce the inertial force and easily enter the hopper.
  • the amount of solid particles that fly out and fly downstream is reduced.
  • the low repulsion portion is on the downstream side of the flow direction of the exhaust gas in the hopper, the solid particles pass over the hopper and then collide with the low repulsion portion to reduce the inertial force and easily enter the hopper.
  • the amount of solid particles that fly over the hopper and fly to the downstream side decreases.
  • the boiler according to the present invention may be a hollow furnace having a furnace installed along the vertical direction, a combustion apparatus for blowing fuel into the furnace for combustion, and a downstream side of the flow direction of the exhaust gas in the furnace. And a heat recovery part provided in the exhaust duct and capable of recovering the heat in the exhaust gas.
  • a flame is formed by blowing fuel into the furnace by the combustion device, and the generated combustion gas flows into the exhaust duct, and the heat recovery unit recovers the heat in the exhaust gas, while the solid particles are separated from the exhaust gas and the hopper To be collected.
  • the solid particles have an inertial force, they are likely to collide with the inner wall surface of the hopper and to flow out, but the solid particles flowing to the outside collide with the resistance member to prevent the flow.
  • solid particles in the exhaust gas can be properly collected in the hopper, and the collection efficiency can be improved.
  • the resistance member capable of preventing the outflow of solid particles is provided in the hopper of the exhaust gas passage, the solid particles in the exhaust gas can be properly collected in the hopper. Can be improved.
  • FIG. 1 is a side view showing the exhaust duct of the first embodiment.
  • FIG. 2 is a plan view showing the exhaust duct of the first embodiment.
  • FIG. 3 is a schematic configuration view showing a pulverized coal burning boiler to which the exhaust duct of the first embodiment is applied.
  • FIG. 4 is a schematic view showing a modification of the exhaust duct.
  • FIG. 5 is a schematic view showing a modification of the exhaust duct.
  • FIG. 6 is a schematic view showing a modification of the exhaust duct.
  • FIG. 7 is a side view showing the exhaust duct of the second embodiment.
  • FIG. 8 is a perspective view showing a low repulsion structure provided in the exhaust duct.
  • FIG. 9 is a schematic view illustrating the action of the low resilience structure.
  • FIG. 10 is a schematic view showing the operation of the low resilience structure.
  • FIG. 11 is a side view showing the exhaust duct of the third embodiment.
  • FIG. 1 is a side view showing the exhaust duct of the first embodiment
  • FIG. 2 is a plan view showing the exhaust duct of the first embodiment
  • FIG. 3 is a pulverized coal fired to which the exhaust duct of the first embodiment is applied. It is a schematic block diagram showing a boiler.
  • the pulverized coal burning boiler to which the exhaust duct of the first embodiment is applied uses the pulverized coal obtained by pulverizing coal as a solid fuel, burns the pulverized coal by a combustion burner, and recovers the heat generated by the combustion It is a possible boiler.
  • the pulverized-coal-fired boiler was applied and demonstrated here, this invention is not limited to the boiler of this type, A fuel is not limited to coal, either.
  • the pulverized coal burning boiler 10 is a conventional boiler, and has a furnace 11 and a combustion apparatus 12.
  • the furnace 11 has a hollow shape of a square cylinder and is installed along the vertical direction, and the combustion apparatus 12 is provided at the lower part of the furnace wall constituting the furnace 11.
  • the combustion apparatus 12 has a plurality of combustion burners 21, 22, 23, 24, 25 mounted on the furnace wall.
  • four combustion burners 21, 22, 23, 24, 25 are disposed at equal intervals along the circumferential direction, and five sets along the vertical direction, that is, as one set. Five stages are arranged.
  • each combustion burner 21,22,23,24,25 is connected with pulverized coal machine (mill) 31,32,33,34,35 via pulverized coal supply pipe 26,27,28,29,30 ing.
  • the pulverized coal machine 31, 32, 33, 34, 35 is not shown, but the pulverizing table is rotatably supported within the housing with a rotational axis along the vertical direction, and is opposed to the upper side of the pulverizing table A plurality of grinding rollers are rotatably supported in association with the rotation of the grinding table.
  • the pulverized coal which has been pulverized to a predetermined size and classified by the carrier air is divided into pulverized coal supply pipes 26, 27. , 28, 29, 30 to the combustion burners 21, 22, 23, 24, 25 can be supplied.
  • a wind box 36 is provided at the mounting position of each of the combustion burners 21, 22, 23, 24, 25 and one end of an air duct 37 is connected to the wind box 36.
  • a blower 38 is mounted at the other end. Therefore, the combustion air (secondary air, tertiary air) sent by the blower 38 is supplied from the air duct 37 to the air box 36, and the air box 36 supplies the combustion burners 21, 22, 23, 24, 25. Can be supplied.
  • the combustion burners 21, 22, 23, 24, 25 can blow a pulverized fuel mixture (fuel gas) obtained by mixing pulverized coal and primary air into the furnace 11.
  • the secondary air can be blown into the furnace 11, and a flame can be formed by igniting the pulverized fuel mixture with an ignition torch (not shown).
  • each of the combustion burners 21, 22, 23, 24, 25 injects oil fuel into the furnace 11 to form a flame.
  • the flue 40 is connected to the upper part of the furnace 11 and superheaters (superheaters) 41 and 42 for recovering the heat of the exhaust gas as a convection heat transfer part (heat recovery part) are connected to the flue 40.
  • Heaters (reheaters) 43, 44 and economizers (economizers) 45, 46, 47 are provided, and heat exchange is performed between the exhaust gas generated by the combustion in the furnace 11 and water.
  • the flue 40 is connected downstream with an exhaust gas pipe (exhaust gas passage) 48 through which the exhaust gas subjected to heat exchange is discharged.
  • the exhaust gas pipe 48 is provided with an air heater 49 between it and the air duct 37, and performs heat exchange between the air flowing through the air duct 37 and the exhaust gas flowing through the exhaust gas pipe 48, and the combustion burners 21, 22, 23, The temperature of the combustion air supplied to 24, 25 can be raised.
  • the selective reduction type catalyst 50 is provided at a position upstream of the air heater 49, and at a position downstream of the air heater 49, a dust processing apparatus (electric precipitator, desulfurizing apparatus) 51 and an induction fan 52 are provided.
  • a chimney 53 is provided at the downstream end.
  • the selective reduction catalyst 50 and the electric dust processing device 51 function as a harmful substance removing unit.
  • the pulverized coal machine 31, 32, 33, 34, 35 is driven, the pulverized coal produced together with the transfer air passes through the pulverized coal supply pipe 26, 27, 28, 29, 30 and the combustion burners 21, 22, 23, 23, 24 and 25 are supplied. Further, the heated combustion air is supplied from the air duct 37 to the combustion burners 21, 22, 23, 24, 25 via the air box 36. Then, the combustion burners 21, 22, 23, 24, 25 blow the pulverized fuel mixture of the pulverized coal and the conveying air into the furnace 11 and also the combustion air into the furnace 11 and ignite at this time. Can form a flame.
  • the pulverized fuel mixture and the combustion air are burned to generate a flame, and when a flame is generated in the lower part in the furnace 11, the combustion gas (exhaust gas) ascends in the furnace 11 and the flue It is discharged to 40.
  • the inside is maintained in a reducing atmosphere by setting the amount of supplied air to be less than the theoretical amount of air with respect to the supplied amount of pulverized coal. Then, the NOx generated by the combustion of the pulverized coal is reduced by the furnace 11, and after that, additional air is additionally supplied to complete the oxidation combustion of the pulverized coal, and the amount of NOx generated by the combustion of the pulverized coal is reduced. .
  • water supplied from a water supply pump (not shown) is preheated by economizers 45, 46 and 47 and then supplied to a steam drum (not shown) and supplied to water pipes (not shown) of the furnace wall. It is heated to become saturated steam and is fed to a steam drum (not shown). Furthermore, saturated steam of a steam drum (not shown) is introduced into the superheaters 41 and 42 and is overheated by the combustion gas. The superheated steam generated by the superheaters 41 and 42 is supplied to a power plant (for example, a turbine etc.) not shown. Further, the steam taken out in the middle of the expansion process in the turbine is introduced into the reheaters 43 and 44, and is again overheated and returned to the turbine.
  • the furnace 11 was demonstrated as a drum type (steam drum), it is not limited to this structure.
  • the exhaust gas passing through the economizers 45, 46, 47 of the flue 40 is subjected to the selective reduction catalyst 50 to remove harmful substances such as NOx in the exhaust gas pipe 48, and the particulate matter is After the sulfur content is removed as well as being removed, it is exhausted from the chimney 53 to the atmosphere.
  • the downstream side (flue 40) from the furnace 11 functions as an exhaust duct of the first embodiment.
  • this flue 40 is the 1st horizontal flue part 40a, the 1st vertical flue part 40b, the 2nd horizontal flue part 40c, the 2nd vertical flue part 40d, the 3rd horizontal flue part 40e, the 3rd.
  • a vertical flue 40f and a fourth horizontal flue 40g are continuously provided.
  • the kicker 54 which follows the horizontal direction is provided inside the connection part of the 1st vertical flue part 40b and the 2nd horizontal flue part 40c.
  • the first hopper 61 is installed at the lower end of the first vertical flue portion 40b through which the exhaust gas having a downward velocity component flows, and the second vertical flue portion flows through the exhaust gas having an upward velocity component
  • a second hopper 62 is installed at the lower end of 40d.
  • the selective reduction catalyst 50 is installed in the third vertical flue portion 40f in which the exhaust gas flows downward.
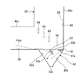
  • the exhaust duct according to the first embodiment includes a flue (exhaust gas passage) 40 capable of flowing exhaust gas, a first hopper 61 provided in the flue 40 and capable of recovering PA (solid particles) in the exhaust gas, And a resistance member capable of blocking the outflow of PA from the hopper 61.
  • the first baffle plate 71 and the second baffle plate 72 are provided as the resistance members.
  • the first hopper 61 mainly recovers popcorn ash (hereinafter, PA) of large diameter ash as solid particles contained in exhaust gas. Storage.
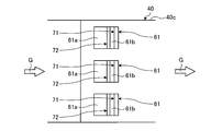
  • the first hopper 61 is provided at a bottom portion on the upstream side in the flow direction of the exhaust gas in the second horizontal flue portion 40c at a plurality of (three in this embodiment) at predetermined intervals in the width direction of the second horizontal flue portion 40c. It is done.
  • Each first hopper 61 has the same shape.
  • the first hopper 61 has a first inclined surface 61a and a second inclined surface 61b facing in the flow direction of the exhaust gas so that the area becomes smaller downward, and the lower ends of the inclined surfaces 61a and 61b are connected
  • the storage portion 61c is provided at the bottom position where the In the first hopper 61, an opening which can be opened and closed by an on-off valve (not shown) is provided in the storage portion 61c, and the stored PA can be discharged downward by opening the opening.
  • the first hopper 61 is provided in the second horizontal flue portion 40c, and the inclined inner wall surface 63 and the first horizontal inner wall surface 64 are disposed upstream of the first hopper 61 in the flow direction of the exhaust gas.
  • the second horizontal inner wall surface 65 is provided downstream of the first hopper 61 in the flow direction of the exhaust gas.
  • the inclined inner wall surface 63 is set to be at least the repose angle at which the PA can drop.
  • the first horizontal inner wall surface 64 is continuous with the first inclined surface 61a, and the second horizontal inner wall surface 65 is continuous with the second inclined surface 61b.
  • the first baffle plate 71 and the second baffle plate 72 are disposed along the horizontal direction (the direction perpendicular to the paper surface of FIG. 1, the vertical direction of the paper surface of FIG. 2) intersecting the flow direction of the exhaust gas at the top of the first hopper 61 It is done.
  • the first hopper 61 is formed so as to be recessed downward from the bottom surface of the second horizontal flue portion 40c in the vertical direction, and each baffle plate 71, 72 is formed of the first hopper 61.
  • the hopper 61 is disposed so as not to project into the exhaust gas passage in the second horizontal flue portion 40c.
  • the first baffle plate 71 is disposed at the upper portion of the first hopper 61 and at the downstream end in the flow direction of the exhaust gas.
  • the first baffle plate 71 is horizontally fixed along the upper opening edge E1 of the first hopper 61.
  • the first baffle plate 71 has a flat plate shape having a predetermined width and a predetermined length, and the width is set to the same dimension as the width of the opening edge E1 of the first hopper 61. That is, the first baffle plate 71 closes the downstream end of the flow direction of the exhaust gas at the opening of the first hopper 61 by a predetermined length.
  • the first baffle plate 71 is formed with a collision surface 71a of solid particles facing in the flow direction of the exhaust gas, and the collision surface 71a faces the bottom (storage portion 61c) side of the first hopper 61.
  • the second baffle plate 72 is disposed above the first hopper 61 and at an intermediate position in the flow direction of the exhaust gas.
  • the second baffle plate 72 is fixed in the vicinity of the opening edge E1 of the upper portion of the first hopper 61 so as to be inclined downward by a predetermined angle.
  • the second baffle plate 72 is disposed such that the lower end portion in the vertical direction is inclined by a predetermined angle ⁇ toward the downstream side in the flow direction of the exhaust gas.
  • the second baffle plate 72 has a flat plate shape having a predetermined width and a predetermined length, and the width is set to the same dimension as the width of the opening edge E1 of the first hopper 61.
  • the second baffle plate 72 blocks the middle position of the flow direction of the exhaust gas at the opening of the first hopper 61 by a predetermined length.
  • the second baffle plate 72 is formed with a first collision surface 72a of solid particles facing in the flow direction of the exhaust gas, and the first collision surface 72a is a bottom portion (first inclined surface 61a) of the first hopper 61. I'm facing the side.
  • the second baffle plate 72 is formed with a second collision surface 72 b of solid particles not opposed to the flow direction of the exhaust gas, and the second collision surface 72 b is above the first hopper 61 and downstream in the flow direction of the exhaust gas. Is facing
  • the first opening P 1 is formed between the first horizontal inner wall surface 64 and the second baffle plate 72
  • the second hopper 61 is formed between the second baffle plate 72 and the first baffle plate 71.
  • the opening P2 is to be formed.
  • the exhaust gas G recovers heat in the heat recovery part (superheaters 41 and 42, reheaters 43 and 44, economizers 45, 46 and 47) of the flue 40, and then the first vertical flue part 40b It descends, bends substantially at right angles, and flows into the second horizontal flue 40c. At this time, the contained PA of the exhaust gas G is freely dropped and stored in the first hopper 61.
  • the PA 1 falling along the inclined inner wall surface 63 enters the first hopper 61 from the first horizontal inner wall surface 64 and is collected.
  • the PA 1 receives kinetic energy from the exhaust gas and enters the first hopper 61 at a predetermined speed by inertial force (centrifugal force). Therefore, the PA 1 which has entered the first hopper 61 may collide with the inclined surfaces 61 a and 61 b, and may come out of the first hopper 61 due to the repulsive force.
  • the second baffle plate 72 is provided. Therefore, when this PA1 enters the first hopper 61, it is collected by colliding with the first collision surface 72a of the second baffle plate 72 and moving toward the storage portion 61c, and the outflow of PA1 from the first hopper 61 Is blocked.
  • PA2 which falls on the first vertical flue portion 40b together with the exhaust gas G directly enters the first hopper 61 and is recovered.
  • the PA2 entering the first hopper 61 collides with the inclined surfaces 61a and 61b, and leaves the first hopper 61 due to its repulsive force.
  • the collision with the second collision surface 72b of the second baffle plate 72 occurs when the PA 2 enters the first hopper 61.
  • PA2 which drops the first vertical flue portion 40b together with exhaust gas does not collide with the second collision surface 72b of the second baffle plate 72, it directly enters the first hopper 61 from the openings P1 and P2, PA2 It may collide with the inclined surfaces 61a and 61b, and it may be out of the first hopper 61 due to its repulsive force. However, even if PA2 directly enters the first hopper 61 and collides against the inclined surfaces 61a, 61b and rebounds, it collides with the collision surfaces 71a, 72a of the baffle plates 71, 72 and moves toward the storage portion 61c. To prevent the outflow of PA 2 from the first hopper 61.
  • the flue 40 capable of flowing the exhaust gas, and the first hopper 61 provided in the flue 40 and capable of recovering PA (solid particles) in the exhaust gas;
  • a first baffle plate 71 and a second baffle plate 72 as resistance members capable of blocking the outflow of PA from the first hopper 61 are provided.
  • the PA when the exhaust gas G containing PA flows through the flue 40, the PA is separated from the exhaust gas G and collected in the first hopper 61.
  • PA since PA has an inertial force, it collides with inclined surfaces 61a and 61b of the first hopper 61, repels easily and flows out, but PA which is going to flow out to the outside is the first baffle plate 71 or the first 2 The collision with the baffle plate 72 prevents the outflow.
  • PA in the exhaust gas G can be properly collected in the first hopper 61, and the collection efficiency of PA can be improved.
  • the first baffle plate 71 and the second baffle plate 72 are disposed in the upper part of the first hopper 61 along the horizontal direction intersecting the flow direction of the exhaust gas G. Therefore, the first hopper 61 can properly collect the PA flowing through the entire area in the width direction of the flue 40.
  • the first baffle plate 71 is disposed at the upper portion of the first hopper 61 and at the downstream end in the flow direction of the exhaust gas G. Therefore, the PA separated from the exhaust gas G collides with the inclined surfaces 61a and 61b after entering into the first hopper 61 and tries to flow out to the outside. Since the first baffle plate 71 disposed at the downstream end in the flow direction collides with the first baffle plate 71, the outflow of PA can be effectively prevented.
  • the first baffle plate 71 is disposed with the collision surface 71 a of the PA facing in the flow direction of the exhaust gas G facing the storage portion 61 c of the first hopper 61. Therefore, after PA which is going to flow out to the outside collides with the collision surface 71a, it is guided to the storage portion 61c of the first hopper 61, and PA can be recovered effectively.
  • the second baffle plate 72 is disposed above the first hopper 61 and at an intermediate position in the flow direction of the exhaust gas G. Accordingly, PA separated from the exhaust gas G is guided into the first hopper 61 while moving along the inclined inner wall surface 63 of the flue 40, collides with the inclined surfaces 61a and 61b of the first hopper 61, and flows out. However, since the PA guided into the first hopper 61 collides with the second baffle plate 72 disposed at the middle position in the flow direction of the exhaust gas G, the PA is effectively introduced into the first hopper 61. It can be recovered to prevent external spills.
  • the lower end portion of the second baffle plate 72 in the vertical direction is disposed to be inclined toward the downstream side in the flow direction of the exhaust gas G. Therefore, after the PA guided into the first hopper 61 collides with the second baffle plate 72, it is guided to the storage portion 61c of the first hopper 61, and the PA can be effectively recovered.
  • the first baffle plate 71 and the second baffle plate 72 are disposed so as not to protrude into the flue 40 in the first hopper 61. Therefore, the first baffle plate 71 and the second baffle plate 72 do not inhibit the flow of the exhaust gas G in the flue 40, and PA can be properly separated from the exhaust gas G and collected in the first hopper 61. .
  • the furnace 11 having a hollow shape and installed along the vertical direction, the combustion apparatus 12 for blowing fuel gas into the furnace 11 for combustion, and the furnace 11
  • a heat recovery unit (superheaters 41 and 42, reheaters 43 and 44, an economizer installed in the exhaust duct and capable of recovering the heat in the exhaust gas) 45, 46, 47).
  • a flame is formed by blowing fuel gas into the furnace 11 by the combustion device 12, and the generated combustion gas flows into the exhaust duct, and the heat recovery unit recovers the heat in the exhaust gas, while the PA is separated from the exhaust gas G It is collected in the first hopper 61.
  • PA has an inertial force, it easily collides with the inclined surfaces 61a and 61b of the first hopper 61 and flows out, but the PA flowing out to the outside is the first baffle plate 71 or the second baffle plate The collision with 72 prevents the outflow.
  • PA in the exhaust gas G can be properly collected in the first hopper 61, and the collection efficiency of PA can be improved.
  • each baffle plate (resistance member) 71, 72 provided in the first hopper 61 is not limited to this shape or arrangement.
  • 4 to 6 are schematic views showing modified examples of the exhaust duct.
  • the resistance member of the present invention is composed of a first baffle plate 73 and a second baffle plate 74.
  • the first baffle plate 73 and the second baffle plate 74 are disposed in the upper part of the first hopper 61 along the horizontal direction intersecting with the flow direction of the exhaust gas.
  • Each baffle plate 73, 74 is disposed so as to protrude from the inside of the first hopper 61 to the exhaust gas passage in the second horizontal flue portion 40c.
  • the first baffle plate 73 is disposed at the upper portion of the first hopper 61 and at the downstream end in the flow direction of the exhaust gas.
  • the first baffle plate 73 is fixed in the vicinity of the opening edge E1 of the upper portion of the first hopper 61 by being inclined at a predetermined angle.
  • the first baffle plate 73 is disposed such that the lower end portion in the vertical direction is inclined by a predetermined angle toward the downstream side in the flow direction of the exhaust gas.
  • the first baffle plate 73 is formed with a collision surface 73a of solid particles facing in the flow direction of the exhaust gas, and the collision surface 73a faces the bottom (storage portion 61c) side of the first hopper 61.
  • the second baffle plate 74 is disposed above the first hopper 61 and at an intermediate position in the flow direction of the exhaust gas.
  • the second baffle plate 74 is fixed in the vicinity of the opening edge E1 of the upper portion of the first hopper 61 by being inclined at a predetermined angle.
  • the second baffle plate 74 is disposed such that the lower end in the vertical direction is inclined by a predetermined angle toward the downstream side in the flow direction of the exhaust gas.
  • the second baffle plate 74 is formed with a first collision surface 74a of solid particles facing in the flow direction of the exhaust gas, and the first collision surface 74a is a bottom (first inclined surface 61a) of the first hopper 61. I'm facing the side.
  • the second baffle plate 74 is formed with a second collision surface 74 b of solid particles not opposed to the flow direction of the exhaust gas, and the second collision surface 74 b is above the first hopper 61 and downstream in the flow direction of the exhaust gas. Is facing
  • first baffle plate 73 and the second baffle plate 74 are basically the same as the first baffle plate 71 and the second baffle plate 72, but both the first baffle plate 73 and the second baffle plate 74 Since the first hopper 61 protrudes from the first hopper 61 to the exhaust gas passage in the second horizontal flue portion 40 c and is inclined, PA flowing with the exhaust gas G easily collides with the baffle plates 73 and 74. It is possible to efficiently block the outflow of PA.
  • the resistance member of the present invention is composed of a first baffle plate 75 and a second baffle plate 72.
  • the first baffle plate 75 and the second baffle plate 72 are disposed in the upper part of the first hopper 61 along the horizontal direction intersecting the flow direction of the exhaust gas.
  • Each baffle plate 75, 72 is disposed so as not to project from the inside of the first hopper 61 into the exhaust gas passage in the second horizontal flue 40c.
  • the first baffle plate 75 is disposed at the upper portion of the first hopper 61 and at the downstream end in the flow direction of the exhaust gas.
  • the first baffle plate 75 is fixed in the vicinity of the opening edge E1 of the upper portion of the first hopper 61 by being inclined at a predetermined angle.
  • the first baffle plate 75 is disposed such that the tip end on the upstream side in the flow direction of the exhaust gas is inclined downward by a predetermined angle in the horizontal direction.
  • the first baffle plate 75 is formed with a collision surface 75a of solid particles facing in the flow direction of the exhaust gas, and the collision surface 75a faces the bottom (storage portion 61c) side of the first hopper 61.
  • the second baffle plate 72 is similar to that described above.
  • the function of the first baffle plate 75 is basically substantially the same as that of the first baffle plate 71, but since the first baffle plate 75 is inclined downward, the PA which has entered the first hopper 61 is (1) It is easy to collide with the baffle plate 75, and the outflow of PA from the first hopper 61 can be efficiently blocked.
  • the resistance member of the present invention is composed of the first baffle plate 71 and the second baffle plate 76.
  • the first baffle plate 71 and the second baffle plate 76 are disposed in the upper part of the first hopper 61 along the horizontal direction intersecting with the flow direction of the exhaust gas.
  • Each baffle plate 71, 76 is disposed so as not to project from the inside of the first hopper 61 into the exhaust gas passage in the second horizontal flue portion 40c.
  • the first baffle plate 71 is similar to that described above.
  • the second baffle plate 76 is disposed above the first hopper 61 and on the upstream side in the flow direction of the exhaust gas.
  • the second baffle plate 76 is fixed in the vicinity of the opening edge E1 of the upper portion of the first hopper 61 by being inclined at a predetermined angle.
  • the second baffle plate 76 is disposed such that the lower end in the vertical direction is inclined by a predetermined angle toward the downstream side in the flow direction of the exhaust gas.
  • the second baffle plate 76 is formed with a first collision surface 76a of solid particles facing in the flow direction of the exhaust gas, and the first collision surface 76a is a bottom (first inclined surface 61a) of the first hopper 61.
  • the second baffle plate 76 is formed with a second collision surface 76 b of solid particles not opposed to the flow direction of the exhaust gas, and the second collision surface 76 b is above the first hopper 61 and downstream in the flow direction of the exhaust gas. Is facing
  • the function of the second baffle plate 76 is basically substantially the same as that of the second baffle plate 72, but since the second baffle plate 76 is disposed on the upstream side in the flow direction of the exhaust gas in the first hopper 61, The PA 1 falling along the inclined inner wall surface 63 easily collides with the second baffle plate 76, and the outflow of PA from the first hopper 61 can be efficiently blocked.
  • the second baffle plate 76 may be disposed so as to protrude from the inside of the first hopper 61 to the exhaust gas passage in the second horizontal flue portion 40c.
  • baffles 71, 72, 73, 74, 75, 76 have been described here, the combination of the baffles 71, 72, 73, 74, 75, 76 is limited to this embodiment. It is not a thing but you may combine an appropriate thing suitably. Further, the number of baffles 71, 72, 73, 74, 75, 76 mounted to the first hopper 61 is not limited to two, and may be one or three or more.
  • FIG. 7 is a side view showing an exhaust duct according to a second embodiment
  • FIG. 8 is a perspective view showing a low repulsion structure provided in the exhaust duct
  • FIGS. 9 and 10 show the action of the low repulsion structure.
  • FIG. The members having the same functions as those in the above-described embodiment are denoted by the same reference numerals, and detailed descriptions thereof will be omitted.
  • the exhaust duct is provided in a flue (exhaust gas passage) 40 capable of flowing the exhaust gas, and the flue 40 so as to recover PA in the exhaust gas.
  • a flue (exhaust gas passage) 40 capable of flowing the exhaust gas, and the flue 40 so as to recover PA in the exhaust gas.
  • the first baffle plate 71 and the second baffle plate 72 are disposed in the upper portion of the first hopper 61 along the horizontal direction intersecting the flow direction of the exhaust gas, as in the first embodiment.
  • the first baffle plate 71 is disposed above the first hopper 61 and horizontally at the downstream end in the flow direction of the exhaust gas.
  • the second baffle plate 72 is disposed above the first hopper 61 and at an intermediate position in the flow direction of the exhaust gas.
  • the second baffle plate 72 is fixed in the vicinity of the opening edge E1 of the upper portion of the first hopper 61 so as to be inclined downward by a predetermined angle.
  • the flue 40 is provided with a sloped inner wall surface 63, and the sloped inner wall surface 63 is set at an angle so as to be equal to or more than a repose angle at which PA falls.
  • the low repulsion portion 81 is fixed to the inclined inner wall surface 63, and has a coefficient of restitution more than that of the inclined inner wall surface 63 (for example, an iron plate) in order to effectively improve the collection rate of PA in the first hopper 61. It is comprised by the small member. Therefore, when PA falls along the inclined inner wall surface 63, it falls while contacting with the low resilience portion 81, so when it collides with the low rebound portion 81, the amount of rebound is suppressed.
  • the PA 3 which has fallen with the exhaust gas flow downward has a repulsion lower than the amount of repulsion when it directly collides with the conventional inclined inner wall surface 63 which is an iron plate.
  • the probability of scattering to the wall surface 65 is reduced, and the PA collection rate in the first hopper 61 is improved.
  • the low repulsion portion 81 is obtained by arranging a wire mesh (low repulsion portion forming member) 82 on the inclined inner wall surface 63 of the iron plate duct with a space portion 83 therebetween.
  • the wire mesh 82 is provided with a large number of openings 82a which become passages of PA. Therefore, as shown in FIG. 9, PA that has passed through the opening 82a of the wire mesh 82 collides with the inclined inner wall surface 63 and repels, but then the probability of collision again with the back side of the wire mesh 82 is high. As a result, the PA that has collided with the back side of the wire mesh 82 falls along the sloped inner wall surface 63 and is finally collected in the first hopper 61.
  • the low repulsion part 81 was used as the metal mesh 82, it is not limited to this structure.
  • a lattice-like member having a large number of openings through which PA can pass such as gratings, perforated plates, weir structures (sealed doors), etc.
  • the collision energy of PA is absorbed efficiently by elastic deformation and the amount of repulsion is achieved. It becomes possible to reduce.
  • a heat insulating material, a rubber-based material, a plastic material or the like can be adopted as the low repulsion portion 81.
  • the low rebound portion 81 having a smaller coefficient of restitution than the inclined inner wall surface 63 is provided on the upstream side of the first hopper 61 in the flow direction of the exhaust gas G. Therefore, the amount of repulsion of the PA contained in the exhaust gas G decreases after colliding with the low repulsion portion 81, so that the PA can be properly collected in the first hopper 61.
  • the low rebound portion 81 is on the upstream side in the flow direction of the exhaust gas G in the first hopper 61, the collision of the PA with the low rebound portion 81 in front of the first hopper 61 reduces the inertial force. Since it is easy to enter the first hopper 61, the amount of PA that flies over the first hopper 61 and scatters to the downstream side decreases.
  • FIG. 11 is a side view showing the exhaust duct of the third embodiment.
  • the members having the same functions as those in the above-described embodiment are denoted by the same reference numerals, and detailed descriptions thereof will be omitted.
  • the second hopper 62 is provided with a first baffle 91 and a second baffle 92 as resistance members. That is, the second hopper 62 has a first inclined surface 62a and a second inclined surface 62b opposed to the flowing direction of the exhaust gas so that the area becomes smaller downward, and the lower end portions of the inclined surfaces 62a and 62b are A reservoir 62c is provided at the bottom position to be connected.
  • an opening portion which can be opened and closed by an on-off valve (not shown) is provided in the storage portion 62c, and the stored PA can be discharged downward by opening the opening portion.
  • a second hopper 62 is provided in the second horizontal flue portion 40c, and a second horizontal inner wall surface 65 is continuously provided upstream of the second hopper 62 in the flow direction of the exhaust gas, A vertically inner wall surface 66 is provided downstream of the second hopper 62 in the flow direction of the exhaust gas.
  • the second horizontal inner wall surface 65 is continuous with the first inclined surface 62a, and the vertical inner wall surface 66 is continuous with the second inclined surface 62b.
  • the first baffle plate 91 and the second baffle plate 92 are disposed in the upper part of the second hopper 62 along the horizontal direction (the direction orthogonal to the paper surface of FIG. 11) intersecting with the flow direction of the exhaust gas.
  • the first baffle plate 91 is disposed at the upper portion of the second hopper 62 and at the downstream end in the flow direction of the exhaust gas.
  • the first baffle plate 91 is horizontally fixed along the upper opening edge of the second hopper 62.
  • the second baffle plate 92 is disposed above the second hopper 62 and at an intermediate position in the flow direction of the exhaust gas.
  • the second baffle plate 92 is fixed in the vicinity of the upper opening edge of the second hopper 62 at a predetermined angle.
  • the first baffle 91 and the second baffle 92 have basically the same structure as the first baffle 71 and the second baffle 72 described in the first embodiment.
  • the exhaust gas flows horizontally through the second horizontal flue 40c, bends substantially at right angles, and ascends the second vertical flue 40d.
  • the contained PA is freely dropped to the second hopper 62 and stored as the exhaust gas.
  • the PA flowing along the second horizontal inner wall surface 65 enters the second hopper 62 and is collected.
  • the PA which has entered the second hopper 62 may collide with the inclined surfaces 62a and 62b, and may come out of the second hopper 62 due to the repulsive force.
  • the second baffle plate 92 since the second baffle plate 92 is provided, when the PA enters the second hopper 62, it collides with the first collision surface 92a of the second baffle plate 92 and the storage portion 62c side The movement of the second hopper 62 prevents the outflow of PA from the second hopper 62.
  • PA4 which has directly entered the second hopper 62 collides with the second collision surface 92b of the second baffle plate 92, moves toward the second inclined surface 62b, and collides with the second inclined surface 62b, and then outwards. It is collected by colliding with the collision surface 91a of the first baffle plate 91 and moving to the storage portion 62c side, and the outflow of PA from the second hopper 62 is blocked.
  • the PA 4 which has directly entered the second hopper 62 collides with the respective inclined surfaces 62a, 62b and then collides with the respective collision surfaces 91a, 92a of the respective baffle plates 91, 92 and moves toward the storage portion 62c. , And the outflow of PA from the second hopper 62 is prevented.
  • the flue 40 capable of flowing the exhaust gas, and the second hopper 62 provided in the flue 40 and capable of recovering PA (solid particles) in the exhaust gas;
  • a first baffle plate 91 and a second baffle plate 92 as resistance members capable of blocking the outflow of PA from the second hopper 62 are provided.
  • the PA when the exhaust gas containing PA flows through the flue 40, the PA is separated from the exhaust gas and collected in the second hopper 62.
  • PA since PA has an inertial force, it collides with inclined surfaces 62a and 62b of the second hopper 62 and is likely to repel and flow out, but PA which is going to flow out to the outside is the first baffle plate 91 or the first The collision with the baffle plate 92 prevents the outflow.
  • PA in the exhaust gas can be properly collected in the second hopper 62, and the collection efficiency of PA can be improved.
  • a low rebound portion having a smaller coefficient of restitution than the inner wall surface of the flue 40 is provided downstream of the second hopper 62 in the flow direction of the exhaust gas. It is also good.
  • the low repulsive portion 93 is provided on the vertical inner wall surface 66 where the PA collides on the downstream side of the second hopper 62.
  • the PA repelled by this collision has a reduced coefficient of restitution, so that the proportion reaching the center of the flow channel at a high flow velocity and its vicinity is reduced, and it is dropped into the second hopper 62 and collected, and the PA is collected Improve the rate.
  • a plurality of low repelling parts 94 are provided in the flow path part on the downstream side of the second hopper 62.
  • the low repulsion portion 94 has, for example, a weir structure composed of a plurality of faces facing air flow in the horizontal direction, and PA colliding with the face of the weir structure stalls and falls into the second hopper 62 and is collected. PA collection rate is improved.
  • the exhaust duct of the present invention has been described as applied to a pulverized coal-fired boiler, but the present invention is not limited to this type of boiler. Moreover, if it flows not only a boiler but the waste gas in which solid particles are contained, you may apply to any exhaust duct.

Landscapes

  • Engineering & Computer Science (AREA)
  • Mechanical Engineering (AREA)
  • General Engineering & Computer Science (AREA)
  • Incineration Of Waste (AREA)
  • Separating Particles In Gases By Inertia (AREA)
  • Chimneys And Flues (AREA)
  • Exhaust Gas Treatment By Means Of Catalyst (AREA)
PCT/JP2014/081310 2013-12-25 2014-11-27 排気ダクト及びボイラ Ceased WO2015098411A1 (ja)

Priority Applications (2)

Application Number Priority Date Filing Date Title
CN201480060849.6A CN105705865B (zh) 2013-12-25 2014-11-27 排气导管及锅炉
US15/100,100 US10190771B2 (en) 2013-12-25 2014-11-27 Exhaust duct and boiler

Applications Claiming Priority (2)

Application Number Priority Date Filing Date Title
JP2013-267997 2013-12-25
JP2013267997A JP5972857B2 (ja) 2013-12-25 2013-12-25 排気ダクト及びボイラ

Publications (1)

Publication Number Publication Date
WO2015098411A1 true WO2015098411A1 (ja) 2015-07-02

Family

ID=53478281

Family Applications (1)

Application Number Title Priority Date Filing Date
PCT/JP2014/081310 Ceased WO2015098411A1 (ja) 2013-12-25 2014-11-27 排気ダクト及びボイラ

Country Status (5)

Country Link
US (1) US10190771B2 (enExample)
JP (1) JP5972857B2 (enExample)
CN (1) CN105705865B (enExample)
TW (1) TWI585344B (enExample)
WO (1) WO2015098411A1 (enExample)

Cited By (2)

* Cited by examiner, † Cited by third party
Publication number Priority date Publication date Assignee Title
EP3217096A4 (en) * 2014-12-12 2017-11-15 Mitsubishi Hitachi Power Systems, Ltd. Exhaust duct and boiler
CN117167746A (zh) * 2023-10-17 2023-12-05 徐州燃烧控制研究院有限公司 一种火炬系统余热回收用烟气处理设备及方法

Families Citing this family (4)

* Cited by examiner, † Cited by third party
Publication number Priority date Publication date Assignee Title
JP6005015B2 (ja) * 2013-09-04 2016-10-12 三菱日立パワーシステムズ株式会社 ダクト壁面構造
JP6785046B2 (ja) * 2016-02-26 2020-11-18 三菱パワー株式会社 排気ダクト及びボイラ並びに固体粒子の除去方法
KR102015928B1 (ko) * 2017-11-13 2019-08-29 두산중공업 주식회사 플라이 애쉬 포집 장치
JP7075257B2 (ja) * 2018-03-28 2022-05-25 三菱重工業株式会社 被処理水の乾燥装置及びそれを備えるボイラシステム

Citations (12)

* Cited by examiner, † Cited by third party
Publication number Priority date Publication date Assignee Title
JPS49126185A (enExample) * 1973-04-05 1974-12-03
JPS52137330U (enExample) * 1976-04-14 1977-10-18
JPS53141942A (en) * 1977-05-17 1978-12-11 Mitsubishi Heavy Ind Ltd Duct for fluid
JPH01129548U (enExample) * 1988-02-26 1989-09-04
JPH0314549U (enExample) * 1989-06-14 1991-02-14
JPH0525134U (ja) * 1991-09-05 1993-04-02 石川島播磨重工業株式会社 ホツパ
JP2724176B2 (ja) * 1988-09-30 1998-03-09 バブコツク日立株式会社 排ガス脱硝装置
JPH10165734A (ja) * 1996-12-16 1998-06-23 Hitachi Ltd 灰粒子の捕集装置
JP2002138284A (ja) * 2000-11-06 2002-05-14 Nippon Steel Corp コークス乾式消火設備における除塵器の衝突壁の構造
JP2002210315A (ja) * 2001-01-23 2002-07-30 Kurimoto Ltd 飛灰除去装置
US20080028935A1 (en) * 2004-05-21 2008-02-07 Rune Andersson Method and Device for the Separation of Dust Particles
JP2011161385A (ja) * 2010-02-10 2011-08-25 Nippon Steel Corp フライアッシュ回収システム、金属片除去装置及び金属片除去方法

Family Cites Families (12)

* Cited by examiner, † Cited by third party
Publication number Priority date Publication date Assignee Title
US2244936A (en) * 1940-03-04 1941-06-10 Bird Charles Draft control and fly ash separator
US3503348A (en) * 1968-08-30 1970-03-31 Hagan Ind Inc Incinerator
US3656440A (en) * 1970-10-26 1972-04-18 Morse Boulger Inc Incinerator having means for treating combustion gases
JPS608536B2 (ja) 1976-05-13 1985-03-04 オリンパス光学工業株式会社 光学式記録再生装置における光ビ−ム制御装置
US4285282A (en) * 1977-12-22 1981-08-25 Russell E. Stadt Rubbish and refuse incinerator
JPH01129548A (ja) * 1987-11-13 1989-05-22 Matsushita Electric Ind Co Ltd 通信制御装置
DE68928932T2 (de) 1988-12-27 1999-07-29 Perseptive Biosystems, Inc., Framingham, Mass. Racemisierungsfreies Verfahren zum Aufhängen von Aminosäuren auf einer Festphase
JP3057820B2 (ja) 1991-07-16 2000-07-04 大日本インキ化学工業株式会社 ピリジン誘導体とそれを含む強誘電性液晶組成物
JPH10183354A (ja) * 1996-12-25 1998-07-14 Canon Inc 堆積膜形成装置及び堆積膜形成方法
DE10227639B4 (de) 2002-06-20 2006-06-22 Steag Encotec Gmbh Kohlekraftwerk
CN101144396A (zh) * 2006-09-15 2008-03-19 马龙根 双燃料助燃型燃气-蒸汽联合循环系统
JP2008241061A (ja) 2007-03-26 2008-10-09 Babcock Hitachi Kk 排煙処理設備

Patent Citations (12)

* Cited by examiner, † Cited by third party
Publication number Priority date Publication date Assignee Title
JPS49126185A (enExample) * 1973-04-05 1974-12-03
JPS52137330U (enExample) * 1976-04-14 1977-10-18
JPS53141942A (en) * 1977-05-17 1978-12-11 Mitsubishi Heavy Ind Ltd Duct for fluid
JPH01129548U (enExample) * 1988-02-26 1989-09-04
JP2724176B2 (ja) * 1988-09-30 1998-03-09 バブコツク日立株式会社 排ガス脱硝装置
JPH0314549U (enExample) * 1989-06-14 1991-02-14
JPH0525134U (ja) * 1991-09-05 1993-04-02 石川島播磨重工業株式会社 ホツパ
JPH10165734A (ja) * 1996-12-16 1998-06-23 Hitachi Ltd 灰粒子の捕集装置
JP2002138284A (ja) * 2000-11-06 2002-05-14 Nippon Steel Corp コークス乾式消火設備における除塵器の衝突壁の構造
JP2002210315A (ja) * 2001-01-23 2002-07-30 Kurimoto Ltd 飛灰除去装置
US20080028935A1 (en) * 2004-05-21 2008-02-07 Rune Andersson Method and Device for the Separation of Dust Particles
JP2011161385A (ja) * 2010-02-10 2011-08-25 Nippon Steel Corp フライアッシュ回収システム、金属片除去装置及び金属片除去方法

Cited By (4)

* Cited by examiner, † Cited by third party
Publication number Priority date Publication date Assignee Title
EP3217096A4 (en) * 2014-12-12 2017-11-15 Mitsubishi Hitachi Power Systems, Ltd. Exhaust duct and boiler
US10323844B2 (en) 2014-12-12 2019-06-18 Mitsubishi Hitachi Power Systems, Ltd. Exhaust duct and boiler
CN117167746A (zh) * 2023-10-17 2023-12-05 徐州燃烧控制研究院有限公司 一种火炬系统余热回收用烟气处理设备及方法
CN117167746B (zh) * 2023-10-17 2024-05-14 徐州燃烧控制研究院有限公司 一种火炬系统余热回收用烟气处理设备及方法

Also Published As

Publication number Publication date
CN105705865A (zh) 2016-06-22
TW201537113A (zh) 2015-10-01
JP2015124913A (ja) 2015-07-06
JP5972857B2 (ja) 2016-08-17
CN105705865B (zh) 2017-09-22
TWI585344B (zh) 2017-06-01
US20170038066A1 (en) 2017-02-09
US10190771B2 (en) 2019-01-29

Similar Documents

Publication Publication Date Title
JP6385266B2 (ja) 排気ダクト及びボイラ
JP5972857B2 (ja) 排気ダクト及びボイラ
TWI503508B (zh) Exhaust treatment device
JP2012122653A (ja) 燃焼バーナ
JP5762255B2 (ja) 排ガス処理装置
JP2016198701A (ja) 排ガス処理装置
WO2019168059A1 (ja) 排ガス処理装置
JP6785046B2 (ja) 排気ダクト及びボイラ並びに固体粒子の除去方法
JP5762326B2 (ja) 排ガス処理装置
JP5854863B2 (ja) 排ガス処理装置
JP6869106B2 (ja) ホッパ構造物、排気ダクト、及びボイラ
JP6429681B2 (ja) 排気ダクト及びボイラ
KR100635764B1 (ko) 가스 중의 분체를 분리하는 기구를 이용한 고체 연료 연소장치의 전열관 마모 방지 장치
JP5762325B2 (ja) 排ガス処理装置
JP7051449B2 (ja) 黒液燃焼装置及びこれを備えたソーダ回収ボイラ並びに黒液燃焼装置の制御方法

Legal Events

Date Code Title Description
121 Ep: the epo has been informed by wipo that ep was designated in this application

Ref document number: 14874700

Country of ref document: EP

Kind code of ref document: A1

WWE Wipo information: entry into national phase

Ref document number: 15100100

Country of ref document: US

NENP Non-entry into the national phase

Ref country code: DE

122 Ep: pct application non-entry in european phase

Ref document number: 14874700

Country of ref document: EP

Kind code of ref document: A1