WO2015087515A2 - Solid state imaging device, manufacturing method of the same, and electronic equipment - Google Patents

Solid state imaging device, manufacturing method of the same, and electronic equipment Download PDF

Info

Publication number
WO2015087515A2
WO2015087515A2 PCT/JP2014/006045 JP2014006045W WO2015087515A2 WO 2015087515 A2 WO2015087515 A2 WO 2015087515A2 JP 2014006045 W JP2014006045 W JP 2014006045W WO 2015087515 A2 WO2015087515 A2 WO 2015087515A2
Authority
WO
WIPO (PCT)
Prior art keywords
pixel
light shielding
solid state
imaging
phase difference
Prior art date
Legal status (The legal status is an assumption and is not a legal conclusion. Google has not performed a legal analysis and makes no representation as to the accuracy of the status listed.)
Ceased
Application number
PCT/JP2014/006045
Other languages
English (en)
French (fr)
Other versions
WO2015087515A3 (en
Inventor
Hiroshi Tayanaka
Yuuji Inoue
Masashi Nakata
Current Assignee (The listed assignees may be inaccurate. Google has not performed a legal analysis and makes no representation or warranty as to the accuracy of the list.)
Sony Corp
Original Assignee
Sony Corp
Priority date (The priority date is an assumption and is not a legal conclusion. Google has not performed a legal analysis and makes no representation as to the accuracy of the date listed.)
Filing date
Publication date
Application filed by Sony Corp filed Critical Sony Corp
Priority to CN202110637271.8A priority Critical patent/CN113542639B/zh
Priority to KR1020157020178A priority patent/KR102352333B1/ko
Priority to CN201480007227.7A priority patent/CN104969540A/zh
Priority to US14/764,685 priority patent/US9780139B2/en
Publication of WO2015087515A2 publication Critical patent/WO2015087515A2/en
Publication of WO2015087515A3 publication Critical patent/WO2015087515A3/en
Anticipated expiration legal-status Critical
Priority to US15/722,960 priority patent/US10680022B2/en
Priority to US16/867,141 priority patent/US11211415B2/en
Priority to US17/496,545 priority patent/US11791353B2/en
Ceased legal-status Critical Current

Links

Images

Classifications

    • HELECTRICITY
    • H10SEMICONDUCTOR DEVICES; ELECTRIC SOLID-STATE DEVICES NOT OTHERWISE PROVIDED FOR
    • H10FINORGANIC SEMICONDUCTOR DEVICES SENSITIVE TO INFRARED RADIATION, LIGHT, ELECTROMAGNETIC RADIATION OF SHORTER WAVELENGTH OR CORPUSCULAR RADIATION
    • H10F39/00Integrated devices, or assemblies of multiple devices, comprising at least one element covered by group H10F30/00, e.g. radiation detectors comprising photodiode arrays
    • H10F39/80Constructional details of image sensors
    • H10F39/802Geometry or disposition of elements in pixels, e.g. address-lines or gate electrodes
    • H10F39/8027Geometry of the photosensitive area
    • HELECTRICITY
    • H04ELECTRIC COMMUNICATION TECHNIQUE
    • H04NPICTORIAL COMMUNICATION, e.g. TELEVISION
    • H04N25/00Circuitry of solid-state image sensors [SSIS]; Control thereof
    • H04N25/70SSIS architectures; Circuits associated therewith
    • H04N25/71Charge-coupled device [CCD] sensors; Charge-transfer registers specially adapted for CCD sensors
    • H04N25/75Circuitry for providing, modifying or processing image signals from the pixel array
    • HELECTRICITY
    • H04ELECTRIC COMMUNICATION TECHNIQUE
    • H04NPICTORIAL COMMUNICATION, e.g. TELEVISION
    • H04N25/00Circuitry of solid-state image sensors [SSIS]; Control thereof
    • H04N25/70SSIS architectures; Circuits associated therewith
    • H04N25/76Addressed sensors, e.g. MOS or CMOS sensors
    • HELECTRICITY
    • H04ELECTRIC COMMUNICATION TECHNIQUE
    • H04NPICTORIAL COMMUNICATION, e.g. TELEVISION
    • H04N25/00Circuitry of solid-state image sensors [SSIS]; Control thereof
    • H04N25/70SSIS architectures; Circuits associated therewith
    • H04N25/76Addressed sensors, e.g. MOS or CMOS sensors
    • H04N25/78Readout circuits for addressed sensors, e.g. output amplifiers or A/D converters
    • HELECTRICITY
    • H04ELECTRIC COMMUNICATION TECHNIQUE
    • H04NPICTORIAL COMMUNICATION, e.g. TELEVISION
    • H04N9/00Details of colour television systems
    • H04N9/01Circuitry for demodulating colour component signals modulated spatially by colour striped filters by phase separation
    • HELECTRICITY
    • H10SEMICONDUCTOR DEVICES; ELECTRIC SOLID-STATE DEVICES NOT OTHERWISE PROVIDED FOR
    • H10FINORGANIC SEMICONDUCTOR DEVICES SENSITIVE TO INFRARED RADIATION, LIGHT, ELECTROMAGNETIC RADIATION OF SHORTER WAVELENGTH OR CORPUSCULAR RADIATION
    • H10F39/00Integrated devices, or assemblies of multiple devices, comprising at least one element covered by group H10F30/00, e.g. radiation detectors comprising photodiode arrays
    • H10F39/011Manufacture or treatment of image sensors covered by group H10F39/12
    • H10F39/014Manufacture or treatment of image sensors covered by group H10F39/12 of CMOS image sensors
    • HELECTRICITY
    • H10SEMICONDUCTOR DEVICES; ELECTRIC SOLID-STATE DEVICES NOT OTHERWISE PROVIDED FOR
    • H10FINORGANIC SEMICONDUCTOR DEVICES SENSITIVE TO INFRARED RADIATION, LIGHT, ELECTROMAGNETIC RADIATION OF SHORTER WAVELENGTH OR CORPUSCULAR RADIATION
    • H10F39/00Integrated devices, or assemblies of multiple devices, comprising at least one element covered by group H10F30/00, e.g. radiation detectors comprising photodiode arrays
    • H10F39/011Manufacture or treatment of image sensors covered by group H10F39/12
    • H10F39/024Manufacture or treatment of image sensors covered by group H10F39/12 of coatings or optical elements
    • HELECTRICITY
    • H10SEMICONDUCTOR DEVICES; ELECTRIC SOLID-STATE DEVICES NOT OTHERWISE PROVIDED FOR
    • H10FINORGANIC SEMICONDUCTOR DEVICES SENSITIVE TO INFRARED RADIATION, LIGHT, ELECTROMAGNETIC RADIATION OF SHORTER WAVELENGTH OR CORPUSCULAR RADIATION
    • H10F39/00Integrated devices, or assemblies of multiple devices, comprising at least one element covered by group H10F30/00, e.g. radiation detectors comprising photodiode arrays
    • H10F39/10Integrated devices
    • H10F39/12Image sensors
    • H10F39/15Charge-coupled device [CCD] image sensors
    • H10F39/151Geometry or disposition of pixel elements, address lines or gate electrodes
    • H10F39/1515Optical shielding
    • HELECTRICITY
    • H10SEMICONDUCTOR DEVICES; ELECTRIC SOLID-STATE DEVICES NOT OTHERWISE PROVIDED FOR
    • H10FINORGANIC SEMICONDUCTOR DEVICES SENSITIVE TO INFRARED RADIATION, LIGHT, ELECTROMAGNETIC RADIATION OF SHORTER WAVELENGTH OR CORPUSCULAR RADIATION
    • H10F39/00Integrated devices, or assemblies of multiple devices, comprising at least one element covered by group H10F30/00, e.g. radiation detectors comprising photodiode arrays
    • H10F39/10Integrated devices
    • H10F39/12Image sensors
    • H10F39/18Complementary metal-oxide-semiconductor [CMOS] image sensors; Photodiode array image sensors
    • H10F39/182Colour image sensors
    • HELECTRICITY
    • H10SEMICONDUCTOR DEVICES; ELECTRIC SOLID-STATE DEVICES NOT OTHERWISE PROVIDED FOR
    • H10FINORGANIC SEMICONDUCTOR DEVICES SENSITIVE TO INFRARED RADIATION, LIGHT, ELECTROMAGNETIC RADIATION OF SHORTER WAVELENGTH OR CORPUSCULAR RADIATION
    • H10F39/00Integrated devices, or assemblies of multiple devices, comprising at least one element covered by group H10F30/00, e.g. radiation detectors comprising photodiode arrays
    • H10F39/80Constructional details of image sensors
    • H10F39/803Pixels having integrated switching, control, storage or amplification elements
    • H10F39/8037Pixels having integrated switching, control, storage or amplification elements the integrated elements comprising a transistor
    • HELECTRICITY
    • H10SEMICONDUCTOR DEVICES; ELECTRIC SOLID-STATE DEVICES NOT OTHERWISE PROVIDED FOR
    • H10FINORGANIC SEMICONDUCTOR DEVICES SENSITIVE TO INFRARED RADIATION, LIGHT, ELECTROMAGNETIC RADIATION OF SHORTER WAVELENGTH OR CORPUSCULAR RADIATION
    • H10F39/00Integrated devices, or assemblies of multiple devices, comprising at least one element covered by group H10F30/00, e.g. radiation detectors comprising photodiode arrays
    • H10F39/80Constructional details of image sensors
    • H10F39/805Coatings
    • H10F39/8053Colour filters
    • HELECTRICITY
    • H10SEMICONDUCTOR DEVICES; ELECTRIC SOLID-STATE DEVICES NOT OTHERWISE PROVIDED FOR
    • H10FINORGANIC SEMICONDUCTOR DEVICES SENSITIVE TO INFRARED RADIATION, LIGHT, ELECTROMAGNETIC RADIATION OF SHORTER WAVELENGTH OR CORPUSCULAR RADIATION
    • H10F39/00Integrated devices, or assemblies of multiple devices, comprising at least one element covered by group H10F30/00, e.g. radiation detectors comprising photodiode arrays
    • H10F39/80Constructional details of image sensors
    • H10F39/805Coatings
    • H10F39/8057Optical shielding
    • HELECTRICITY
    • H10SEMICONDUCTOR DEVICES; ELECTRIC SOLID-STATE DEVICES NOT OTHERWISE PROVIDED FOR
    • H10FINORGANIC SEMICONDUCTOR DEVICES SENSITIVE TO INFRARED RADIATION, LIGHT, ELECTROMAGNETIC RADIATION OF SHORTER WAVELENGTH OR CORPUSCULAR RADIATION
    • H10F39/00Integrated devices, or assemblies of multiple devices, comprising at least one element covered by group H10F30/00, e.g. radiation detectors comprising photodiode arrays
    • H10F39/80Constructional details of image sensors
    • H10F39/809Constructional details of image sensors of hybrid image sensors

Definitions

  • the present disclosure relates to a solid state imaging device, a manufacturing method of the same, and electronic equipment.
  • the present disclosure relates to a solid state imaging device, a manufacturing method of the same, and electronic equipment which enable the suppression of color mixing and the suppression of sensitivity reduction in pixels for phase difference detection.
  • CMOS Complementary Metal-Oxide Semiconductor
  • phase difference detection type autofocus also referred to herein as "automatic focus”
  • automatic focus without using a dedicated automatic focus detection sensor by adding a phase difference detection function to a solid state imaging device in the related art (for example, refer to PTL 1 and PTL 2).
  • the solid state imaging device which has the phase difference detection function is configured to include pixels for phase difference detection and pixels for imaging, and a portion of the pixels for phase difference detection form an optical black region.
  • a solid state imaging device which includes a phase difference detection pixel which is a pixel for phase difference detection; a first imaging pixel which is a pixel for imaging and is adjacent to the phase difference detection pixel; and a second imaging pixel which is a pixel for imaging other than the first imaging pixel, and an area of a color filter of the first imaging pixel is smaller than an area of a color filter of the second imaging pixel.
  • the first color filter is aligned with the first imaging pixel and the second color filter is aligned with the second imaging pixel.
  • the solid state imaging device is configured to include a phase difference detection pixel which is a pixel for phase difference detection; a first imaging pixel which is a pixel for imaging and is adjacent to the phase difference detection pixel; and a second imaging pixel which is a pixel for imaging other than the first imaging pixel.
  • An area of a color filter of the first imaging pixel is smaller than an area of a color filter of the second imaging pixel.
  • a manufacturing method of a solid state imaging device including forming a solid state imaging device which includes a phase difference detection pixel which is a pixel for phase difference detection; a first imaging pixel which is a pixel for imaging and is adjacent to the phase difference detection pixel; and a second imaging pixel which is a pixel for imaging other than the first imaging pixel.
  • An area of a color filter of the first imaging pixel is smaller than an area of a color filter of the second imaging pixel.
  • a solid state imaging device is formed, which is configured to include a phase difference detection pixel which is a pixel for phase difference detection; a first imaging pixel which is a pixel for imaging and is adjacent to the phase difference detection pixel; and a second imaging pixel which is a pixel for imaging other than the first imaging pixel.
  • An area of a color filter of the first imaging pixel is smaller than an area of a color filter of the second imaging pixel.
  • a phase difference detection pixel which is a pixel for phase difference detection
  • a first imaging pixel which is a pixel for imaging and is adjacent to the phase difference detection pixel
  • a second imaging pixel which is a pixel for imaging other than the first imaging pixel.
  • An area of a color filter of the first imaging pixel is smaller than an area of a color filter of the second imaging pixel.
  • the electronic equipment is configured to include a phase difference detection pixel which is a pixel for phase difference detection; a first imaging pixel which is a pixel for imaging and is adjacent to the phase difference detection pixel; and a second imaging pixel which is a pixel for imaging other than the first imaging pixel.
  • An area of a color filter of the first imaging pixel is smaller than an area of a color filter of the second imaging pixel.
  • a solid state imaging device which includes a phase difference detection pixel which is a pixel for phase difference detection; a first imaging pixel which is a pixel for imaging and is adjacent to the phase difference detection pixel; and a second imaging pixel which is a pixel for imaging other than the first imaging pixel.
  • An area of a light shielding film of the first imaging pixel is greater than an area of a light shielding film of the second imaging pixel.
  • the solid state imaging device is configured to include a phase difference detection pixel which is a pixel for phase difference detection; a first imaging pixel which is a pixel for imaging and is adjacent to the phase difference detection pixel; and a second imaging pixel which is a pixel for imaging other than the first imaging pixel.
  • An area of a light shielding film of the first imaging pixel is greater than an area of a light shielding film of the second imaging pixel.
  • a manufacturing method of a solid state imaging device including forming a solid state imaging device which includes a phase difference detection pixel which is a pixel for phase difference detection; a first imaging pixel which is a pixel for imaging and is adjacent to the phase difference detection pixel; and a second imaging pixel which is a pixel for imaging other than the first imaging pixel.
  • An area of a light shielding film of the first imaging pixel is greater than an area of a light shielding film of the second imaging pixel.
  • a solid state imaging device which includes a phase difference detection pixel which is a pixel for phase difference detection; a first imaging pixel which is a pixel for imaging and is adjacent to the phase difference detection pixel; and a second imaging pixel which is a pixel for imaging other than the first imaging pixel.
  • An area of a light shielding film of the first imaging pixel is greater than an area of a light shielding film of the second imaging pixel.
  • a phase difference detection pixel which is a pixel for phase difference detection
  • a first imaging pixel which is a pixel for imaging and is adjacent to the phase difference detection pixel
  • a second imaging pixel which is a pixel for imaging other than the first imaging pixel.
  • An area of a light shielding film of the first imaging pixel is greater than an area of a light shielding film of the second imaging pixel.
  • the electronic equipment is configured to include a phase difference detection pixel which is a pixel for phase difference detection; a first imaging pixel which is a pixel for imaging and is adjacent to the phase difference detection pixel; and a second imaging pixel which is a pixel for imaging other than the first imaging pixel.
  • An area of a light shielding film of the first imaging pixel is greater than an area of a light shielding film of the second imaging pixel.
  • the present disclosure it is possible to detect a phase difference. According to the present disclosure, it is possible to suppress the color mixing and the sensitivity reduction in the pixels for phase difference detection. Further, according to the present disclosure, it is possible to suppress the color mixing in pixels which are adjacent to the pixels for phase difference detection.
  • Fig. 1 is a block diagram showing an illustrative configuration example of an embodiment of a solid state imaging device to which the present technology is applied.
  • Fig. 2 is a diagram showing an equivalent circuit of an illustrative first configuration example of a pixel.
  • Fig. 3A is a diagram showing an illustrative first structure example of a pixel array unit.
  • Fig. 3B is an illustrative diagram showing the first structure example of the pixel array unit.
  • Fig. 4A is an illustrative diagram showing the first structure example of the pixel array unit when process variation occurs.
  • Fig. 4B is an illustrative diagram showing the first structure example of the pixel array unit when process variation occurs.
  • Fig. 1 is a block diagram showing an illustrative configuration example of an embodiment of a solid state imaging device to which the present technology is applied.
  • Fig. 2 is a diagram showing an equivalent circuit of an illustrative first configuration example of a pixel.
  • FIG. 5A is an illustrative schematic top surface diagram showing an example of the shape of a light shielding film in the pixel array unit of Figs. 3A and 3B.
  • Fig. 5B is an illustrative schematic top surface diagram showing an example of the shape of the light shielding film in the pixel array unit of Figs. 3A and 3B.
  • Fig. 6A is an illustrative diagram for illustrating the manufacturing method of the pixel array unit of Figs. 3A and 3B.
  • Fig. 6B is an illustrative diagram for illustrating the manufacturing method of the pixel array unit of Figs. 3A and 3B.
  • Fig. 6C is an illustrative diagram for illustrating the manufacturing method of the pixel array unit of Figs.
  • Fig. 6D is an illustrative diagram for illustrating the manufacturing method of the pixel array unit of Figs. 3A and 3B.
  • Fig. 6E is an illustrative diagram for illustrating the manufacturing method of the pixel array unit of Figs. 3A and 3B.
  • Fig. 6F is an illustrative diagram for illustrating the manufacturing method of the pixel array unit of Figs. 3A and 3B.
  • Fig. 7A is a diagram showing an illustrative second structure example of a pixel array unit.
  • Fig. 7B is an illustrative diagram showing the second structure example of the pixel array unit.
  • Fig. 7A is a diagram showing an illustrative second structure example of a pixel array unit.
  • FIG. 8 is a schematic top surface diagram showing an illustrative third structure example of a pixel array unit.
  • Fig. 9 is a diagram showing another illustrative example of the arrangement of an opening region.
  • Fig. 10A is a schematic top surface diagram showing an illustrative fourth structure example of a pixel array unit.
  • Fig. 10B is an illustrative schematic diagram showing the fourth structure example of the pixel array unit.
  • Fig. 11A is a diagram showing an illustrative fifth structure example of a pixel array unit.
  • Fig. 11B is an illustrative diagram showing the fifth structure example of the pixel array unit.
  • Fig. 12A is an illustrative diagram showing another example of the fifth structure example of a pixel array unit.
  • Fig. 12A is an illustrative diagram showing another example of the fifth structure example of a pixel array unit.
  • Fig. 12B is an illustrative diagram showing another example of the fifth structure example of the pixel array unit.
  • Fig. 13A is a diagram showing an illustrative sixth structure example of a pixel array unit.
  • Fig. 13B is an illustrative diagram showing the sixth structure example of the pixel array unit.
  • Fig. 14A is an illustrative diagram showing another example of the sixth structure example of a pixel array unit.
  • Fig. 14B is an illustrative diagram showing another example of the sixth structure example of a pixel array unit.
  • Fig. 15A is an illustrative diagram showing the first structure example of the pixel array unit when a 2 x 2 pixel array is used.
  • Fig. 15A is an illustrative diagram showing the first structure example of the pixel array unit when a 2 x 2 pixel array is used.
  • Fig. 15A is an illustrative diagram showing the first structure example of the pixel array unit when a 2
  • FIG. 15B is an illustrative diagram showing the first structure example of the pixel array unit when the 2 x 2 pixel array is used.
  • Fig. 16A is an illustrative diagram showing the second structure example of the pixel array unit when a 2 x 2 pixel array is used.
  • Fig. 16B is an illustrative diagram showing the second structure example of the pixel array unit when a 2 x 2 pixel array is used.
  • Fig. 17A is an illustrative diagram showing the third structure example of the pixel array unit when a 2 x 2 pixel array is used.
  • Fig. 17B is an illustrative diagram showing the third structure example of the pixel array unit when the 2 x 2 pixel array is used.
  • FIG. 18A is an illustrative diagram showing the fourth structure example of the pixel array unit when a 2 x 2 pixel array is used.
  • Fig. 18B is an illustrative diagram showing the fourth structure example of the pixel array unit when the 2 x 2 pixel array is used.
  • Fig. 19A is an illustrative diagram showing an example of electrical wiring between the pixels when a 2 x 2 pixel array is used.
  • Fig. 19B is an illustrative diagram showing an example of electrical wiring between the pixels when the 2 x 2 pixel array is used.
  • Fig. 19C is an illustrative diagram showing an example of electrical wiring between the pixels when the 2 x 2 pixel array is used.
  • Fig. 19A is an illustrative diagram showing an example of electrical wiring between the pixels when a 2 x 2 pixel array is used.
  • Fig. 19B is an illustrative diagram showing an example of electrical wiring between the pixels when the 2 x 2 pixel array is
  • FIG. 19D is an illustrative diagram showing an example of electrical wiring between the pixels when the 2 x 2 pixel array is used.
  • Fig. 19E is an illustrative diagram showing an example of electrical wiring between the pixels when the 2 x 2 pixel array is used.
  • Fig. 20A is an illustrative diagram showing another example of the first structure of the pixel array unit when a 2 x 2 pixel array is used.
  • Fig. 20B is an illustrative diagram showing another example of the first structure of the pixel array unit when a 2 x 2 pixel array is used.
  • Fig. 21A is an illustrative diagram showing another example of the second structure of the pixel array unit when a 2 x 2 pixel array is used.
  • Fig. 21A is an illustrative diagram showing another example of the second structure of the pixel array unit when a 2 x 2 pixel array is used.
  • FIG. 21B is an illustrative diagram showing another example of the second structure of the pixel array unit when a 2 x 2 pixel array is used.
  • Fig. 22A is an illustrative diagram showing another example of the third structure of the pixel array unit when a 2 x 2 pixel array is used.
  • Fig. 22B is an illustrative diagram showing another example of the third structure of the pixel array unit when a 2 x 2 pixel array is used.
  • Fig. 23A is an illustrative diagram showing another example of the fourth structure of the pixel array unit when a 2 x 2 pixel array is used.
  • Fig. 23B is an illustrative diagram showing another example of the fourth structure of the pixel array unit when a 2 x 2 pixel array is used.
  • Fig. 24A is an illustrative diagram showing the fifth structure example of the pixel array unit when a 2 x 2 pixel array is used.
  • Fig. 24B is an illustrative diagram showing the fifth structure example of the pixel array unit when a 2 x 2 pixel array is used.
  • Fig. 25A is an illustrative diagram showing another example of the fifth structure of the pixel array unit when a 2 x 2 pixel array is used.
  • Fig. 25B is an illustrative diagram showing another example of the fifth structure of the pixel array unit when a 2 x 2 pixel array is used.
  • Fig. 26A is an illustrative diagram showing the eighth structure example of a pixel array unit.
  • Fig. 24A is an illustrative diagram showing the fifth structure example of the pixel array unit when a 2 x 2 pixel array is used.
  • Fig. 24B is an illustrative diagram showing the fifth structure example of the pixel array unit when a
  • FIG. 26B is an illustrative diagram showing the eighth structure example of a pixel array unit.
  • Fig. 27 is an illustrative diagram showing a ninth structure example of a pixel array unit.
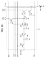
  • Fig. 28 shows an equivalent circuit of an illustrative second configuration of the pixels.
  • Fig. 29A is a diagram showing an illustrative arrangement example of the components of the solid state imaging device.
  • Fig. 29B is a diagram showing an illustrative arrangement example of the components of the solid state imaging device.
  • Fig. 29C is a diagram showing an illustrative arrangement example of the components of the solid state imaging device.
  • Fig. 30 is a diagram that shows a configuration example of an illustrative imaging apparatus as the electronic equipment to which the present disclosure is applied.
  • FIG. 1 is a block diagram showing an illustrative configuration example of an embodiment of a solid state imaging device to which the present technology is applied.
  • a solid state imaging device 41 of Fig. 1 is configured to include, on a semiconductor substrate which is not shown, a timing control unit 42, a vertical scanning circuit 43, a pixel array unit 44, a constant current source circuit unit 45, a reference signal generation unit 46, a column AD conversion unit 47, a horizontal scanning circuit 48, a horizontal output line 49, and an output circuit 50.
  • the timing control unit 42 supplies a clock signal or a timing signal, which is necessary for predetermined operations, to the vertical scanning circuit 43 and the horizontal scanning circuit 48 on the basis of a master clock of a predetermined frequency.
  • the timing control unit 42 supplies a timing signal of a shutter operation or a read operation of pixels 51 to the vertical scanning circuit 43 and the horizontal scanning circuit 48. While omitted from the drawings, the timing control unit 42 also supplies the clock signal or the timing signal, which is necessary for predetermined operations, to the reference signal generation unit 46 and the column AD conversion unit 47.
  • the vertical scanning circuit 43 supplies a signal which controls the output of the pixel signal to each of the pixels 51 which are lined up in a vertical direction of the pixel array unit 44, in order at a predetermined timing.
  • the plurality of pixels 51 is arranged in a two-dimensional array pattern (a matrix pattern) in the pixel array unit 44.
  • the plurality of pixels 51 which are arranged in a two-dimensional array pattern are connected to the vertical scanning circuit 43 by horizontal signal lines 52 in row units.
  • the plurality of pixels 51 which are arranged in the same row within the pixel array unit 44 are connected to the vertical scanning circuit 43 by the same single horizontal signal line 52.
  • the horizontal signal lines 52 are shown as single wiring; however, they are not limited to single wiring.
  • the plurality of pixels 51 which are arranged in a two-dimensional array pattern are connected to the horizontal scanning circuit 48 by vertical signal lines 53 in column units.
  • the plurality of pixels 51 which are arranged in the same column within the pixel array unit 44 are connected to the horizontal scanning circuit 48 by the same single vertical signal line 53.
  • Each of the pixels 51 within the pixel array unit 44 outputs a pixel signal corresponding to a charge accumulated in the inner portion thereof to the vertical signal line 53 according to the signal which is supplied from the vertical scanning circuit 43 via the horizontal signal line 52.
  • the pixels 51 function as the pixels for imaging or the pixels for phase difference detection. The detailed configuration of the pixels 51 will be described later with reference to Fig. 2 and the like.
  • the constant current source circuit unit 45 includes a plurality of load MOSs 54, and one of the load MOSs 54 is connected to each of the vertical signal lines 53.
  • a bias voltage is applied to the gate and a source is grounded.
  • the load MOS 54 forms a source follower circuit with the transistors within the pixels 51 which are connected via the vertical signal line 53.
  • the reference signal generation unit 46 is configured to include a Digital to Analog Converter (DAC) 46a, generates a ramp waveform reference signal and supplies the reference signal to the column AD conversion unit 47 according to the clock signal from the timing control unit 42.
  • DAC Digital to Analog Converter
  • the column AD conversion unit 47 includes a plurality of Analog to Digital Converters (ADCs) 55, one of which is provided for every column of the pixel array unit 44. Therefore, a plurality of the pixels 51, one of the load MOSs 54, and one of the ADCs 55 are connected to one of the vertical signal lines 53.
  • ADCs Analog to Digital Converters
  • the ADC 55 subjects the pixel signals which are supplied from the pixels 51 of the same column via the vertical signal line 53 to a Correlated Double Sampling (CDS) process, and further performs an AD conversion process thereon.
  • CDS Correlated Double Sampling
  • Each of the ADCs 55 temporarily stores the post-AD conversion pixel data and outputs the data to the horizontal output line 49 according to the control of the horizontal scanning circuit 48.
  • the horizontal scanning circuit 48 outputs the pixel data which is stored in the plurality of ADCs 55 to the horizontal output line 49, in order at a predetermined timing.
  • the horizontal output line 49 is connected to the output circuit (the amplifier circuit) 50, and the post-AD conversion pixel data which is output from the ADCs 55 is output to the outside of a solid state imaging device 41 from the output circuit 50 via the horizontal output line 49.
  • the output circuit 50 the signal processing unit
  • the output circuit 50 performs various digital signal processing such as black level adjustment and column variation correction.
  • the solid state imaging device 41 which is configured as described above is a CMOS image sensor referred to as a column AD type, in which the ADC 55 which performs the CDS processing and the AD conversion processing is arranged for each vertical column.
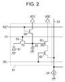
  • Fig. 2 shows an illustrative equivalent circuit of the first configuration example of the pixel 51.
  • the pixel 51 includes a photodiode 61 as a photoelectric conversion element, a transfer transistor 62, a floating diffusion region (FD) 63, a reset transistor 64, an amplification transistor 65, and a selection transistor 66.
  • the photodiode 61 is a photoelectric conversion unit which generates and accumulates a charge (a signal charge) corresponding to an amount of received light.
  • the anode terminal is grounded and the cathode terminal is connected to the FD 63 via the transfer transistor 62.
  • the transfer transistor 62 When the transfer transistor 62 is turned on by a transfer signal TX, the transfer transistor 62 reads the charge that is generated by the photodiode 61 and transfers the charge to the FD 63.
  • the FD 63 holds the charge which is read from the photodiode 61.
  • the reset transistor 64 When the reset transistor 64 is turned on by a reset signal RST, the reset transistor 64 resets the potential of the FD 63 by allowing the charge which is accumulated in the FD 63 to be discharged to the constant voltage source VDD.
  • the amplification transistor 65 outputs a pixel signal corresponding to the potential of the FD 63.
  • the amplification transistor 65 forms a source follower circuit with the load MOS 54 which is the constant current source, and a pixel signal that indicates a level corresponding to the current which is accumulated in the FD 63 is output from the amplification transistor 65 to the ADC 55 via the selection transistor 66.
  • the selection transistor 66 is turned on when the pixel 51 is selected by a selection signal SEL, and the selection transistor 66 outputs the pixel signal of the pixel 51 to the ADC 55 via the vertical signal line 53.
  • the transfer signal TX, the reset signal RST, and the selection signal SEL are supplied from the vertical scanning circuit 43 via the horizontal signal line 52 (Fig. 1).
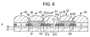
  • FIGs. 3A and 3B are illustrative diagrams showing the first structure example of the pixel array unit 44.
  • Fig. 3A is a schematic top surface diagram showing the first structure example of the pixel array unit 44
  • Fig. 3B is a cross sectional view taken along the line A-A' of Fig. 3A. Note that, in Figs. 3A and 3B, only a region of the photodiode 61 of 5 x 6 of the pixels 51 of the pixel array unit 44 is depicted. The same applies to Figs. 4A, 4B, 7A to 8B, 10A to 18B, and 20A to 26B, which are described later. In Fig. 3A, the on-chip lenses are not depicted. The same applies to Figs. 4A, 4B, 7A to 18B, and 20A to 27, which are described later.
  • each of the pixels 51 of the pixel array unit 44 is generally a pixel for imaging of a Bayer array, and a portion of the pixels for imaging have been replaced by pixels for phase difference detection. Note that, hereinafter, when particularly distinguishing the pixels for phase difference detection of the pixels 51, the term phase difference detection pixels 81 will be used.
  • the photodiode 61 of the phase difference detection pixel 81 is configured to include an optical black region 81a and an opening region 81b which images white (W) light.
  • the image data corresponding to the pixel signal which is obtained as a result of the imaging using the opening region 81b is used in the detection of a phase difference in an external apparatus (not shown).
  • the detected phase difference is used in focus determination or the like.
  • the term first imaging pixel 82 when particularly distinguishing the pixel for imaging, of the pixels 51, which is adjacent to the side which opposes the side at which the optical black region 81a of the phase difference detection pixel 81 is arranged, that is, adjacent to the side at which the opening region 81b is arranged (the right side of the center in Fig. 3B), the term first imaging pixel 82 will be used.
  • the term second imaging pixel 83 When particularly distinguishing the pixels for imaging other than the first imaging pixel 82, of the pixels 51, the term second imaging pixel 83 will be used.
  • a transparent film 90 is formed on the photodiodes 61 of the pixels 51.
  • the material formed on the transparent film 90 differs according to the type of the pixel 51.
  • a light shielding film 91a, and a light shielding film 91b are respectively formed in regions corresponding to the entire surface of the optical black region 81a on the transparent film 90 of the phase difference detection pixel 81, and a portion within the opening region 81b that forms a boundary with another pixel 51.
  • An on-chip lens 92 is formed to cover the transparent film 90 of the phase difference detection pixel 81 on which the light shielding film 91a and the light shielding film 91b are formed.
  • the on-chip lens 92 functions as a white color filter in addition to having a function of condensing the light from outside onto the photodiode 61 of the phase difference detection pixel 81.
  • the on-chip lens 92 also functions as a white color filter; however, white color filters other than the on-chip lens 92 may be provided.
  • a light shielding film 93 is formed on a portion on the transparent film 90 of the first imaging pixel 82 that forms a boundary with another pixel 51.
  • a color filter 94 which is red, green, or blue (red in Fig. 3B) is further formed on the transparent film 90 of the first imaging pixel 82 on which the light shielding film 93 is formed.
  • An on-chip lens 95 is formed to cover the transparent film 90 of the first imaging pixel 82 on which the light shielding film 93 and the color filter 94 are formed. The on-chip lens 95 condenses the light from outside onto the photodiode 61 of the first imaging pixel 82.
  • a light shielding film 96 is formed on a portion on the transparent film 90 of the second imaging pixel 83 that forms a boundary with another pixel 51.
  • a color filter 97 which is red, green, or blue (red or green in Fig. 3B) is further formed on the transparent film 90 of the second imaging pixel 83 on which the light shielding film 96 is formed.
  • An on-chip lens 98 is formed to cover the transparent film 90 of the second imaging pixel 83 on which the light shielding film 96 and the color filter 97 are formed. The on-chip lens 98 condenses the light from outside onto the photodiode 61 of the second imaging pixel 83.
  • the area of the color filter 94 is smaller than the area of the color filter 97.
  • a width L1 in the horizontal direction of the color filter 94 of the first imaging pixel 82 which is the direction in which the phase difference detection pixel 81 is adjacent to the first imaging pixel 82, is short in comparison to a width L1' of the color filter 97 of the second imaging pixel 83. It is possible to set the difference between the width L1 and the width L1' to a value obtained by adding three times standard deviation (sigma) to the mean value of the process variation of the color filters 94 or greater, for example (hereinafter referred to as the variation value).
  • the process variation of the color filters 94 arises from the lithography process (the photo-lithography) of the color filters 94 (97) and depends on the apparatus that performs the lithography process, the wavelength of the light source used in the lithography process and the like. For example, when an i-beam is used as the light source of the lithography process, the variation value is from several dozen nm to several hundred nm, approximately. In addition to the i-beam, KrF, ArF and the like may also be used as the light source of the lithography process.
  • the position of the side (the right side in Fig. 3B) of the color filter 94 of the first imaging pixel 82 which opposes the side which is adjacent to the phase difference detection pixel 81 is the same as that of the color filter 97 of the second imaging pixel 83 which is lined up in the vertical direction (for example, the green second imaging pixel 83 below the red first imaging pixel 82 of Fig. 3A).
  • the area of the light shielding film 93 is greater than the area of the light shielding film 96.
  • a width L2 in the horizontal direction of the side within the light shielding film 93 of the first imaging pixel 82 which is adjacent to the phase difference detection pixel 81 is long in comparison to a width L2' of the light shielding film 96 of the second imaging pixel 83.
  • the difference between the width L2 and the width L2' can be set to the variation value or greater, for example.
  • the area of the light shielding film 93 is greater than the area of the light shielding film 96, the area of the color filter 94 is smaller than the area of the color filter 97; therefore, it is possible to prevent the light that does not pass through the color filter 94 from being incident to the photodiode 61 of the first imaging pixel 82.
  • the area of the color filter 94 is small in comparison to that of the color filter 97. Therefore, as shown in Figs. 4A and 4B, even when the red color filters 94 and 97 are shifted diagonally to the lower left in Fig. 4A due to process variation, it is possible to prevent the light that passes through the color filter 94 from being incident to the opening region 81b.
  • Fig. 4A is an illustrative schematic top surface diagram of the pixel array unit 44 of Figs. 3A and 3B when the red color filters 94 and 97 are shifted diagonally to the lower left due to the process variation
  • Fig. 4B is a cross sectional view taken along the line A-A' in Fig. 4A.
  • the red color filter 97 When the red color filter 97 is shifted diagonally to the lower left in Fig. 4A due to the process variation, as illustratively shown in Fig. 4B, the red color filter 97 is also formed on a region in which the light shielding film 96 of the adjacent green color filter 97 is not formed. Therefore, in addition to the light that passes through the green color filter 97, the light that passes through both the red color filter 97 and the green color filter 97 is incident to the photodiode 61 of the green second imaging pixel 83.
  • the width L1 of the color filter 94 is small in comparison to the width L1' of the color filter 97, even if the red color filter 94 moves diagonally to the lower left in Fig. 4A, the red color filter 94 is not formed on a region in which the light shielding film 91b is not formed. Therefore, since the light that passes through the on-chip lens 92 enters the opening region 81b as it is without being blocked by the red color filter 94, a reduction in sensitivity is suppressed. The light that passes through the red color filter 94 is not incident on the opening region 81b, and color mixing is suppressed.
  • the area of the opening region 81b is small in comparison to a region of the second imaging pixel 83 in which the light shielding film 96 is not formed. Therefore, when the area of the color filter of each of the pixels 51 is simply reduced in size, the sensitivity of the phase difference detection pixel 81 is reduced and the phase difference detection precision deteriorates. Therefore, in the solid state imaging device 41, only the area of the color filter 94 of the first imaging pixel 82 is reduced in size. Accordingly, it is possible to suppress the color mixing in the phase difference detection pixel 81 without reducing the sensitivity of the phase difference detection pixel 81.
  • the color filter of the phase difference detection pixel 81 is white. Therefore, when the light that passes through both the on-chip lens 92 and the red color filter 94 reaches the photodiode 61, the amount of the light that reaches the photodiode 61 is great and the influence of the color mixing is great in comparison to a case in which the light passes through both the red color filter 97 and the green color filter 97 and reaches the photodiode 61.
  • the output circuit 50 multiplies the pixel data which is obtained by the first imaging pixel 82 with a gain (performs gain correction) such that, when the light which is concentrated by the on-chip lens 95 and the on-chip lens 98 is the same, the pixel data of the first imaging pixel 82 and the second imaging pixel 83 is the same.
  • the output circuit 50 subjects the pixel data of the first imaging pixel 82 to color mixing correction.
  • Figs. 5A and 5B are schematic top surface diagrams showing examples of the shapes of the light shielding films 91a, 91b, 93, and 96 in the pixel array unit 44 of Figs. 3A and 3B.
  • Figs. 5A and 5B represent the light shielding film of the 5 x 1 pixels of the position of the A-A' line of Fig. 3A.
  • the light shielding films 91a and 91b of the phase difference detection pixel 81 of the pixel array unit 44 of Figs. 3A and 3B are formed such that an opening portion 101 in which the light shielding film is not formed is rectangular.
  • the light shielding film 93 is formed such that an opening portion 102 in which the light shielding film is not formed is rectangular
  • the light shielding film 96 is formed such that an opening portion 103 in which the light shielding film is not formed is rectangular.
  • the light shielding films 91a, 91b, 93, and 96 may be formed such that the opening portion 101 and the opening portion 102 have elliptical shapes, and the opening portion 103 has a circular shape.
  • the shapes of the opening portions 101 to 103 are not limited to the shapes of Figs. 5A and 5B, and may be trapezoidal, triangular or the like.
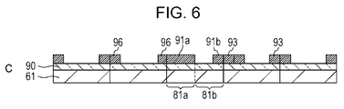
  • FIGs. 6A to 6F are illustrative diagrams for showing the manufacturing method of the photodiodes 61 within the pixel array unit 44 of Figs. 3A and 3B.
  • the photodiode 61 with a waveguide (not shown) is formed on a semiconductor substrate.
  • an inorganic film with a high transmittance such as a SiO 2 film, a SiN film, or a TIOx film is formed on the photodiodes 61 as the transparent film 90.
  • the transparent film 90 may be an organic film.
  • the organic material of the color filters 94 (97) and the on-chip lenses 92 (95, 98) may be siloxane or the like.
  • the light shielding films 91a, 91b, 93, and 96 are formed on the transparent film 90 using photo-lithography and dry etching.
  • the green color filters 94 and 97 are formed on the transparent film 90 using photo-lithography and dry etching.
  • the red color filters 94 and 97 are formed on the transparent film 90; and, subsequently, the blue color filters 94 and 97 are formed on the transparent film 90 using photo-lithography and dry etching.
  • the on-chip lenses 92, 95, and 98 are formed to cover the transparent film 90 of the pixels 51.
  • the area of the color filter 94 of the first imaging pixel 82 is smaller than the area of the color filter 97 of the second imaging pixel 83. Therefore, it is possible to suppress the color mixing and the sensitivity reduction in the pixels for phase difference detection when the color filters 94 are shifted due to the process variation of the color filters 94.
  • the pixel 51 which is adjacent to the side of the phase difference detection pixel 81 at which the opening region 81b is arranged was set to the first imaging pixel 82; however, it is possible to set the pixel 51 which is adjacent to the phase difference detection pixel 81 in the vertical direction to the first imaging pixel 82.
  • the color filter 94 is arranged such that the position of the side of the color filter 94 of the first imaging pixel 82 which is not adjacent to the phase difference detection pixel 81 is the same as that of the second imaging pixel 83 which is lined up in the horizontal direction.
  • the width of the color filter 94 of the first imaging pixel 82 in a direction in which the first imaging pixel 82 is adjacent to the phase difference detection pixel 81 is small in comparison to that of the color filter 97. Accordingly, it is possible to suppress the reduction in sensitivity and the color mixing of the phase difference detection pixel 81 due to the process variation of the color filter 94 of the first imaging pixel 82 which is adjacent to the phase difference detection pixel 81 in the vertical direction.
  • Both the pixel 51 which is adjacent to the side of the phase difference detection pixel 81 at which the opening region 81b is arranged, and the pixel 51 which is adjacent to the phase difference detection pixel 81 in the vertical direction can be set to the first imaging pixel 82.
  • FIGs. 7A and 7B are illustrative diagrams showing the second structure example of the pixel array unit 44.
  • the configuration of the pixel array unit 44 of Figs. 7A and 7B differs from the configuration of Figs. 3A and 3B in that a light shielding film 111 is provided instead of the light shielding film 91b.
  • the color mixing in the first imaging pixel 82 is suppressed by providing the light shielding film 111, which has a greater area than the light shielding film 91b.
  • the light shielding film 111 is formed in a region corresponding to a portion within the opening region 81b on the transparent film 90 of the phase difference detection pixel 81 that forms a boundary with another pixel 51.
  • the area of the light shielding film 111 is greater than that of the light shielding film 91b.
  • the width in the horizontal direction of the light shielding film 111 is large in comparison to the width in the horizontal direction of the side of the light shielding film 96 which is adjacent to the phase difference detection pixel 81.
  • the light shielding film 111 blocks the light which is reflected irregularly in a region on the transparent film 90 of the phase difference detection pixel 81 in which the light shielding film is not formed, and prevents the light from being incident on the photodiode 61 of the first imaging pixel 82. As a result, it is possible to suppress the color mixing in the first imaging pixel 82.
  • Fig. 8 is an illustrative schematic top surface diagram showing the third structure example of the pixel array unit 44.
  • the configuration of the pixel array unit 44 of Fig. 8 differs from the configuration of Figs. 3A and 3B in that an optical black region 111a, an opening region 111b, a color filter 112, and a light shielding film 112a are provided instead of the optical black region 81a, the opening region 81b, the color filter 94, and the light shielding film 93, respectively.
  • the opening region 111b has a square shape when viewed from above, and the pixels 51 which are adjacent to the phase difference detection pixel 81 in the horizontal direction and the vertical direction become the first imaging pixels 82.
  • the opening region 111b is one region that is obtained by dividing the region of the photodiode 61 of the phase difference detection pixel 81 into four, and the optical black region 111a is the remaining three regions.
  • the color filter 112 is arranged on the bottom side of the photodiode 61 of the first imaging pixel 82.
  • the color filter 112 is arranged on the top side of the photodiode 61 of the first imaging pixel 82.
  • the color filter 112 is arranged on the left side of the photodiode 61 of the first imaging pixel 82.
  • the color filter 112 is arranged on the right side of the photodiode 61 of the first imaging pixel 82.
  • the width of the color filter 112 in a direction in which the color filter 112 is adjacent to the phase difference detection pixel 81 is short in comparison to that of the color filter 94 of the second imaging pixel 83.
  • the position of the side of the color filter 112 which opposes the side which is adjacent to the phase difference detection pixel 81 is the same as that of the color filter 94 of the second imaging pixel 83 which is lined up in a direction perpendicular to the direction adjacent to the phase difference detection pixel 81.
  • the positions in the vertical direction of the opening regions 111b that are lined up in the vertical direction are the same, and the positions in the horizontal direction are different; however, as illustratively shown in Fig. 9, the positions in the horizontal direction of the opening regions 111b that are lined up in the vertical direction may be the same, and the positions in the vertical direction may differ. In this case, for example, as shown in Fig. 9, the positions in the vertical direction of the opening regions 111b that line up in the horizontal direction are the same, and the positions in the horizontal direction are set to be different.
  • FIGs. 10A and 10B are illustrative diagrams showing the fourth structure example of the pixel array unit 44.
  • the configuration of the pixel array unit 44 of Figs. 10A and 10B differs from the configuration of Figs. 3A and 3B in that the phase difference detection pixel 81 is provided with a color filter 121.
  • the phase difference detection pixel 81 is used as a pixel for imaging in addition to being used as a pixel for phase difference detection.
  • the color filter 121 is formed on the transparent film 90 corresponding to the opening region 81b in which the light shielding film 91a and the light shielding film 91b are formed.
  • the color filter 121 is green (G). Accordingly, the pixel data of the phase difference detection pixel 81 can be used as the pixel data of the green pixel for imaging in addition to being used for the phase difference detection.
  • the opening portion 101 is small in comparison to the opening portion 102 or the opening portion 103, the sensitivity of the phase difference detection pixel 81 is low in comparison to the first imaging pixel 82 or the second imaging pixel 83. Therefore, when the pixel data which is obtained by the phase difference detection pixel 81 is used as it is as the pixel data of the green pixel for imaging, there is a case in which the pixel data may not be obtained precisely during photography in a dark place.
  • the output circuit 50 may multiply the pixel data which is obtained by the phase difference detection pixel 81 with a gain (perform gain correction) such that, when the light which is concentrated by the on-chip lens 92 and the on-chip lens 98 is the same, the pixel data of the phase difference detection pixel 81 and the second imaging pixel 83 is the same.
  • the color filter 121 is green; however, the color filter 121 may be red or blue.
  • FIGs. 11A and 11B are illustrative diagrams showing the fifth structure example of the pixel array unit 44.
  • the configuration of the pixel array unit 44 of Figs. 11A and 11B differs from the configuration of Figs. 3A and 3B in that an insulating film 141 and a light shielding film 142 are provided below the light shielding film 96 (91a, 91b, and 93).
  • the insulating film 141 is provided to cover the light shielding film 142.
  • the light shielding film 142 is provided below the light shielding film 96 (91a, 91b, and 93) of the boundary of the pixels 51 to penetrate the transparent film 90 and the photodiode 61. Therefore, the light shielding film 142 and the light shielding film 96 (91a, 91b, and 93) are connected to one another via the insulating film 141.
  • the light shielding film 142 may be provided to penetrate only the photodiode 61, and the light shielding film 142 and the light shielding film 96 (91a, 91b, and 93) may be divided.
  • the light shielding film 142 may not be provided.
  • FIGS. 13A and 13B are illustrative diagrams showing the sixth structure example of the pixel array unit 44.
  • the configuration of the pixel array unit 44 of Figs. 13A and 13B differs from the configuration of Figs. 3A and 3B in that a light shielding film 161 or 162 is provided below the light shielding film 96 (91a, 91b, and 93).
  • the light shielding film 161 is provided on the boundary between the second imaging pixels 83, and on the boundary between the second imaging pixel 83 and the phase difference detection pixel 81 to penetrate the transparent film 90 and the photodiode 61. Meanwhile, the light shielding film 162 is provided on the boundary between the phase difference detection pixel 81 and the first imaging pixel 82 to penetrate the transparent film 90 and the photodiode 61.
  • a width L12 in the horizontal direction of the light shielding film 162 is large in comparison to a width L11 in the horizontal direction of the light shielding film 161.
  • the width in the horizontal direction of the light shielding film 162 below the light shielding film 91b is the same as the width in the horizontal direction of the light shielding film 161 below the light shielding film 96 (91a and 93); however, the width in the horizontal direction of the light shielding film 162 below the light shielding film 93 is greater than the width in the horizontal direction of the light shielding film 161 below the light shielding film 96 (91a and 93).
  • the width in the horizontal direction of the light shielding film 162 below the light shielding film 93 is the same as the width in the horizontal direction of the light shielding film 161 below the light shielding film 96 (91a and 93); however, the width in the horizontal direction of the light shielding film 162 below the light shielding film 91b is greater than the width in the horizontal direction of the light shielding film 161 below the light shielding film 96 (91a and 93); thus, the width L12 in the horizontal direction of the light shielding film 162 may be greater than the width L11 in the horizontal direction of the light shielding film 161.
  • the light shielding film 161 (162) may be covered by an insulating film.
  • the array of the pixels 51 of the pixel array unit 44 is a Bayer array; however, the array of the pixels 51 of the pixel array unit 44 is not limited to the Bayer array.
  • the array of the pixels 51 of the pixel array unit 44 may be an array in which the same color is allocated to every 2 x 2 pixels 51 (hereinafter referred to as a 2 x 2 pixel array).
  • FIGs. 15A and 15B are illustrative diagrams showing the first structure example of the pixel array unit 44 when the array of the pixels 51 is a 2 x 2 pixel array.
  • Figs. 15A and 15B components which are the same as those in Figs. 3A, 3B, 11A and 11B are given the same reference numerals. Redundant description will be omitted as appropriate.
  • Fig. 15A when the array of the pixels 51 is a 2 x 2 pixel array, for example, one of the pixels 51 of the 2 x 2 green pixels 51 is replaced with a phase difference detection pixel 181 which is used for both phase difference detection and imaging.
  • the green pixel which is adjacent to the phase difference detection pixel 181 is set to the first imaging pixel 182.
  • the pixels 51 other than the phase difference detection pixel 181 and the first imaging pixel 182, and the red and the blue pixels 51 are set to second imaging pixels 183.
  • the configurations of the phase difference detection pixel 181, the first imaging pixel 182, and the second imaging pixel 183 are the same as the respective configurations of the phase difference detection pixel 81, the first imaging pixel 82, and the second imaging pixel 83 of Figs. 11A and 11B except in that a color filter 191 is shared between the adjacent pixels 51 of the same color, and except in that the insulating film 141, the light shielding film 142, and the light shielding film 96 are not provided at the boundaries of the second imaging pixels 183.
  • the area of the light shielding film 93 of the first imaging pixel 182 is greater than the area of the light shielding film 96 of the second imaging pixel 183. Accordingly, it is possible to suppress the color mixing between the phase difference detection pixel 181 and the first imaging pixel 182, and to improve the signal-to-noise ratio. As a result, it is possible to suppress a reduction in the sensitivity of the solid state imaging device.
  • the light shielding film 142 is provided at the boundary between the phase difference detection pixel 181 and the first imaging pixel 182, the light which corresponds to the first imaging pixel 182 is received in the phase difference detection pixel 181, and it is possible to suppress the occurrence of the color mixing.
  • the phase difference detection pixel 181 was used for both the phase difference detection and the imaging; however, as shown illustratively in Figs. 16A and 16B, the phase difference detection pixel 181 may be used in only the phase difference detection. In this case, the phase difference detection pixel 181 is not provided with the color filter 191. In other words, the phase difference detection pixel 181 images white light.
  • the green pixels 51 were set to the phase difference detection pixels 181; however, as shown illustratively in Figs. 17A and 17B, the red pixels 51 may be set to the phase difference detection pixels 181. In this case, the red pixel 51 which is adjacent to the phase difference detection pixel 181 is set to the first imaging pixel 182. Similarly, in the example of Figs. 15A and 15B, the red pixels 51 may be set to the phase difference detection pixels 181.
  • two of the pixels 51 which are lined up in the vertical direction of the 2 x 2 green pixels 51 may be replaced with the phase difference detection pixel 181 which is used for both phase difference detection and imaging.
  • the remaining two green pixels 51 are set to the first imaging pixels 182.
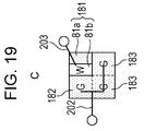
  • FIGs. 19A to 19E are illustrative diagrams showing an example of the electrical wiring between the pixels 51 when the array of the pixels 51 is a 2 x 2 pixel array.
  • the second imaging pixels 183 are connected to one another electrical wiring 201.
  • the structure of the pixel array unit 44 is the structure of Figs. 15A to 16B, as shown in Figs. 19B and 19C, the first imaging pixel 182 and the second imaging pixels 183 are connected to one another by electrical wiring 202; however, the phase difference detection pixel 181 is independently provided with electrical wiring 203.
  • the first imaging pixels 182 and the phase difference detection pixels 181 are connected to one another by the electrical wirings 204 and 205, respectively.
  • the electrical wiring is divided between the phase difference detection pixel 181 and components other than the phase difference detection pixel 181.
  • an on-chip lens was provided for each of the pixels 51; however, the on-chip lenses may be shared between the adjacent pixels 51 of the same color.
  • the on-chip lens 211 is shared by the 2 x 2 pixels 51 of the same color or white.
  • the on-chip lens 211 is shared by the 2 x 2 pixels 51 of the same color.
  • An on-chip lens 212 is shared by three of the red pixels 51 of the 2 x 2 red or white pixels 51.
  • the phase difference detection pixel 181 includes the on-chip lens 92 individually.
  • an on-chip lens 213 is shared by two of the pixels 51 which are adjacent in the horizontal direction of the 2 x 2 pixels 51 of the same color.
  • the on-chip lens 213 is shared by two of the second imaging pixels 183 which are adjacent in the horizontal direction of the 2 x 2 second imaging pixels 183 of the same color.
  • the 2 x 2 green pixels 51 formed of two of the phase difference detection pixels 181 and two of the first imaging pixels 182 include the on-chip lens 92 (95) individually.
  • the on-chip lens 213 may be shared by two of the pixels 51 which are adjacent in the horizontal direction of the 2 x 2 pixels 51 of the same color or white.
  • the sharing of the on-chip lenses described above are examples, and the combination of the pixels 51 which share the on-chip lenses are not limited to the examples described above.
  • the array of the pixels 51 of the pixel array unit 44 may be an array in which the green, the red, the blue, and the white are arranged in a checkered pattern.
  • the phase difference detection pixel 81 is used for both phase difference detection and imaging.
  • the light shielding film 142 of Figs. 15A to 18, 26A and 26B may not be provided.
  • the array of the pixels 51 of the pixel array unit 44 may be a ClearVid array in which the array direction is rotated by 45 degrees in relation to the normal array direction.
  • the pixels 51 on all four sides of the phase difference detection pixel 181 are the same color, the color mixing in the phase difference detection pixel 181 is extremely little.
  • Fig. 28 illustratively shows an equivalent circuit of the second configuration of the pixel 51.
  • the pixel 51 of Fig. 28 is a pixel which realizes an electronic global shutter function.
  • parts corresponding to those in Fig. 2 are given the same reference numerals, and description thereof will be omitted as appropriate.
  • the transfer transistor 62 When the pixel 51 of the second configuration is compared to the pixel 51 of the first configuration described above, one more transfer transistor 231 which transfers a charge, and a memory unit (MEM) 232 which temporarily holds a charge before transferring the charge to the FD 63 are further provided between the transfer transistor 62 and the FD 63.
  • the transfer transistor 62 will be referred to as the first transfer transistor 62
  • the transfer transistor 231 will be referred to as the second transfer transistor 231.
  • a discharge transistor 233 for discharging an unnecessary charge is newly connected to the photodiode 61.
  • the discharge transistor 233 is turned on by a high level discharge signal OFG being supplied to the discharge transistor 233, the charge which is accumulated in the photodiode 61 is discharged to the constant voltage source VDD, and the photodiode 61 is reset.
  • the first transfer transistor 62 When a predetermined exposure time has passed, the first transfer transistor 62 is turned on by a first transfer signal TX1 in all the pixels of the pixel array unit 44, and the charge which is accumulated in the photodiode 61 is transferred to the memory unit 232.
  • the charges which are held by the memory unit 232 of the pixels 51 are read to the ADC 55 in order in row units.
  • the read operation is the same as in the first configuration described above, the second transfer transistor 231 of the pixel 51 of the row being read is turned on by a second transfer signal TX2, and the charge being held in the memory unit 232 is transferred to the FD 63.
  • a signal which indicates a level corresponding to the charge which is accumulated in the FD 63 is output from the amplification transistor 65 to the ADC 55 via the selection transistor 66 by the selection transistor 66 being turned on by the selection signal SEL.
  • FIGs. 29A to 29C are illustrative diagrams showing arrangement examples of the components of the solid state imaging device 41.
  • the pixel array unit 44, a control circuit 251, and a logic circuit 252 of the solid state imaging device 41 are provided on a semiconductor substrate in one of the first to the third arrangements shown in Figs. 29A to 29C, for example.
  • the control circuit 251 is a circuit formed of the timing control unit 42, the vertical scanning circuit 43, the constant current source circuit unit 45, the reference signal generation unit 46, the column AD conversion unit 47, and the horizontal scanning circuit 48, for example.
  • the logic circuit 252 is a circuit formed of the output circuit 50, for example.
  • the pixel array unit 44, the control circuit 251, and the logic circuit 252 are all arranged on a same semiconductor substrate 261.
  • the pixel array unit 44 and the control circuit 251 are arranged on one of a semiconductor substrate 262 and a semiconductor substrate 263, the two of which are laminated together, and the logic circuit 252 is arranged on the other.
  • the pixel array unit 44 and the control circuit 251 are arranged on the semiconductor substrate 262, and the logic circuit 252 is arranged on the semiconductor substrate 263.
  • the pixel array unit 44 is arranged on one of a semiconductor substrate 264 and a semiconductor substrate 265, the two of which are laminated together, and the control circuit 251 and the logic circuit 252 are arranged on the other.
  • the pixel array unit 44 is arranged on the semiconductor substrate 264, and the control circuit 251 and the logic circuit 252 are arranged on the semiconductor substrate 265.
  • the number of layers of semiconductor substrates of the solid state imaging device 41 was one or two; however, the number may be two or more.
  • the sizes of the light shielding films 91a and 91b (111) of the phase difference detection pixel 81 may change in stages as the position within the pixel array unit 44 of the phase difference detection pixel 81 goes from the center toward the periphery.
  • the sizes of the light shielding films 91a and 91b (111) may be caused to change in stages with the image height.
  • the size of the on-chip lens 92 which functions as a white color filter may also be caused to change in stages with the image height, in the same manner.
  • the sizes of the light shielding film 93 of the first imaging pixel 82, the light shielding film 96 of the second imaging pixel 83, the color filter 94, and the color filter 97 may also be caused to change in stages with the image height, in the same manner.
  • Fig. 30 is an illustrative block diagram that shows a configuration example of an imaging apparatus as the electronic equipment to which the present disclosure is applied.
  • An imaging apparatus 900 of Fig. 30 is a video camera, a digital still camera or the like.
  • the imaging apparatus 900 is formed of a lens group 901, a solid state imaging device 902, a DSP circuit 903, a frame memory 904, a display unit 905, a recording unit 906, an operation unit 907, and a power supply unit 908.
  • the DSP circuit 903, the frame memory 904, the display unit 905, the recording unit 906, the operation unit 907, and the power supply unit 908 are connected to one another via a bus line 909.
  • the lens group 901 captures incident light (image light) from an object and forms an image on an imaging surface of the solid state imaging device 902.
  • the solid state imaging device 902 is formed of the solid state imaging device 41 described above.
  • the solid state imaging device 902 converts the amount of incident light forming an image on the imaging surface due to the lens group 901 into an electrical signal in pixel units and supplies the electrical signal to the DSP circuit 903 as a pixel signal.
  • the DSP circuit 903 performs predetermined image processing on the pixel signal which is supplied from the solid state imaging device 902, supplies the post-image processing image signal to the frame memory 904 in frame units, and causes the frame memory 904 to temporarily store the image signal.
  • the display unit 905 is formed of a panel-type display apparatus such as a liquid crystal panel or an organic Electro Luminescence (EL) panel, for example, and displays an image based on the pixel signal of frame units which is temporarily stored in the frame memory 904.
  • a panel-type display apparatus such as a liquid crystal panel or an organic Electro Luminescence (EL) panel, for example, and displays an image based on the pixel signal of frame units which is temporarily stored in the frame memory 904.
  • the recording unit 906 is formed of a Digital Versatile Disc (DVD), flash memory or the like, reads the pixel signal of frame units which is temporarily stored in the frame memory 904 and records the pixel signal.
  • DVD Digital Versatile Disc
  • the operation unit 907 gives operation commands relating to the various functions implemented by the imaging apparatus 900 on the basis of operation by the user.
  • the power supply unit 908 supplies power to the DSP circuit 903, the frame memory 904, the display unit 905, the recording unit 906, and the operation unit 907, as appropriate.
  • the electronic equipment to which the present technology is applied may be electronic equipment which uses a solid state imaging device for an image capturing unit (a photoelectric conversion unit), and in addition to the imaging apparatus 900, there are a portable terminal apparatus with an imaging function, a copier which uses a solid state imaging device for an image reading unit, and the like.
  • solid state imaging device 41 may be embodied by being formed as one chip, and may also be embodied in module form with an imaging function which is packaged to include an optical portion and the like.
  • the present technology can be applied to a back-illuminated CMOS sensor, and to a front-illuminated CMOS sensor.
  • the present technology is particularly effective in high definition solid state imaging devices.
  • the magnitude of the process variation of the color filters 94 is great in relation to the magnitude of the opening regions 81b.
  • the size of the pixel 51 is 1.0 microns x 1.0 microns
  • the variation value accounts for a proportion of the size of the pixel 51 from several percent to several dozen percent. Therefore, the influence of the color mixing and the reduction in sensitivity of the phase difference detection pixel 81 due to the process variation of the color filters 94 is great, and the effect of the present technology is great.
  • the color filter 94, the color filter 97, and the color filter 121 is one of red, green, or blue; however, the colors thereof may be white, cyan, magenta or the like.
  • an organic photoelectric conversion film may be used as the photoelectric conversion element.
  • an organic photoelectric conversion film may be used instead of the color filter.
  • the organic photoelectric conversion film is described in detail in Japanese Unexamined Patent Application Publication No. 2011-29337, which has already been applied for by the present applicant.
  • a solid state imaging device includes a phase difference detection pixel which is a pixel for phase difference detection; a first imaging pixel which is a pixel for imaging and is adjacent to the phase difference detection pixel; and a second imaging pixel which is a pixel for imaging other than the first imaging pixel.
  • An area of a color filter of the first imaging pixel is smaller than an area of a color filter of the second imaging pixel.
  • a position of a side of the color filter of the first imaging pixel which opposes a side which is adjacent to the phase difference detection pixel is same as that of the color filter of the second imaging pixel which is lined up in a direction perpendicular to a direction adjacent to the phase difference detection pixel.
  • a width of the color filter of the first imaging pixel in a direction in which the color filter is adjacent to the phase difference detection pixel is short in comparison to that of the color filter of the second imaging pixel by a value or greater where the value is obtained by adding three times standard deviation to a mean value of process variation of the color filter.
  • a light shielding film is formed on a portion of the first imaging pixel and the second imaging pixel, and an area of the light shielding film of the first imaging pixel is greater than an area of the light shielding film of the second imaging pixel.
  • A5 In the solid state imaging device according to (A4), a width of a side of the light shielding film of the first imaging pixel which is adjacent to the phase difference detection pixel in a direction in which the light shielding film is adjacent to the phase difference detection pixel is great in comparison to that of the light shielding film of the second imaging pixel.
  • a width of a side of the light shielding film of the first imaging pixel which is adjacent to the phase difference pixel in a direction in which the light shielding film is adjacent to the phase difference detection pixel is long in comparison to that of the light shielding film of the second imaging pixel by a value or greater where the value is obtained by adding three times standard deviation to a mean value of process variation of the color filter.
  • an optical black region is arranged in the phase difference detection pixel, and the first imaging pixel is adjacent to a side opposing a side in which the optical black region is arranged.
  • the solid state imaging device according to (A7), a light shielding film is formed on a portion of the second imaging pixel and the phase difference detection pixel, and a width of a side of the light shielding film of the phase difference detection pixel which is adjacent to the first imaging pixel in a direction in which the light shielding film is adjacent to the first imaging pixel is great in comparison to that of the light shielding film of the second imaging pixel.
  • the solid state imaging device according to any one of (A1) to (A8) further includes a signal processing unit which processes a pixel signal obtained in the first imaging pixel.
  • the signal processing unit performs gain correction on the pixel signal.
  • the signal processing unit corrects color mixing of the pixel signal.
  • a manufacturing method of a solid state imaging device including forming a solid state imaging device which includes a phase difference detection pixel which is a pixel for phase difference detection; a first imaging pixel which is a pixel for imaging and is adjacent to the phase difference detection pixel; and a second imaging pixel which is a pixel for imaging other than the first imaging pixel.
  • An area of a color filter of the first imaging pixel is smaller than an area of a color filter of the second imaging pixel.
  • A13 Electronic equipment includes a phase difference detection pixel which is a pixel for phase difference detection; a first imaging pixel which is a pixel for imaging and is adjacent to the phase difference detection pixel; and a second imaging pixel which is a pixel for imaging other than the first imaging pixel.
  • An area of a color filter of the first imaging pixel is smaller than an area of a color filter of the second imaging pixel.
  • a solid state imaging device includes a phase difference detection pixel which is a pixel for phase difference detection; a first imaging pixel which is a pixel for imaging and is adjacent to the phase difference detection pixel; and a second imaging pixel which is a pixel for imaging other than the first imaging pixel.
  • An area of a light shielding film of the first imaging pixel is greater than an area of a light shielding film of the second imaging pixel.
  • an insulating film is formed on a boundary between the first imaging pixel and another pixel, and on a boundary between the second imaging pixel and another pixel.
  • a light shielding film is formed on a boundary between the first imaging pixel and another pixel, and on a boundary between the second imaging pixel and another pixel.
  • a width of the light shielding film provided on the boundary between the first imaging pixel and the phase difference detection pixel is greater than a width of the other light shielding film.
  • a manufacturing method of a solid state imaging device including forming a solid state imaging device which includes a phase difference detection pixel which is a pixel for phase difference detection; a first imaging pixel which is a pixel for imaging and is adjacent to the phase difference detection pixel; and a second imaging pixel which is a pixel for imaging other than the first imaging pixel.
  • An area of a light shielding film of the first imaging pixel is greater than an area of a light shielding film of the second imaging pixel.
  • (A19) Electronic equipment includes a phase difference detection pixel which is a pixel for phase difference detection; a first imaging pixel which is a pixel for imaging and is adjacent to the phase difference detection pixel; and a second imaging pixel which is a pixel for imaging other than the first imaging pixel.
  • An area of a light shielding film of the first imaging pixel is greater than an area of a light shielding film of the second imaging pixel.
  • a solid state imaging device including: a phase difference detection pixel; a first imaging pixel adjacent to the phase difference detection pixel; a first color filter aligned with the first imaging pixel; a second imaging pixel; and a second color filter aligned with the second imaging pixel; where an area of the first color filter is smaller than an area of the second color filter, and where an area of a light shielding film of the first imaging pixel is greater than an area of a light shielding film of the second imaging pixel.
  • (B2) The solid state imaging device according to (B1), where a position of a side of the first color filter that opposes a side that is adjacent to the phase difference detection pixel is a same position as a side of the second color filter that is lined up in a vertical direction.
  • (B3) The solid state imaging device according to (B1), further including an insulating film and an additional light shielding film that are provided below at least one of the light shielding film of the first imaging pixel and the light shielding film of the second imaging pixel.
  • (B4) The solid state imaging device according to (B3), where the insulating film and the additional light shielding film are provided to penetrate only a photodiode.
  • the solid state imaging device according to (B1), further including a first additional light shielding film that is provided below the light shielding film of the first imaging pixel and a second additional light shielding film that is provided below the light shielding film of the second imaging pixel, the first and second additional light shielding films having different widths.
  • B6 The solid state imaging device according to (B5), where a width of the first additional light shielding film is greater than a width of the second additional light shielding film.
  • B7 The solid state imaging device according to (B1), where the solid state imaging device includes a pixel array unit of a 2x2 pixel arrays, and where the phase difference detection pixel and the first imaging pixel are of a same color.
  • the solid state imaging device according to (B1), where the solid state imaging device includes a pixel array unit of 2x2 pixel arrays, where the phase difference detection pixel and the first imaging pixel are of a same color, and where the phase difference detection pixel is also an imaging pixel.
  • the solid state imaging device according to (B8), further including an insulating film and an additional light shielding film that are provided below at least one of the light shielding film of the first imaging pixel and the light shielding film of the second imaging pixel.
  • (B14) The solid state imaging device according to (B1), where the solid state imaging device includes a pixel array unit, a control circuit, and a logic circuit; the pixel array unit and the control circuit being arranged on a first semiconductor substrate; the logic circuit being arranged on a second semiconductor substrate; and the first semiconductor substrate being laminated to the second semiconductor substrate.
  • (B15) The solid state imaging device according to (B1), where the solid state imaging device includes a pixel array unit, a control circuit, and a logic circuit; the pixel array unit being arranged on a first semiconductor substrate; the logic circuit and the control circuit being arranged on a second semiconductor substrate; and the first semiconductor substrate being laminated to the second semiconductor substrate.
  • a method of manufacturing a solid state imaging device including: forming a phase difference detection pixel; forming a first imaging pixel adjacent to the phase difference detection pixel; and forming a second imaging pixel; where an area of a color filter of the first imaging pixel is smaller than an area of a color filter of the second imaging pixel, and where an area of a light shielding film of the first imaging pixel is greater than an area of a light shielding film of the second imaging pixel.
  • An electronic apparatus including: a solid state imaging device including: a phase difference detection pixel; a first imaging pixel adjacent to the phase difference detection pixel; a first color filter aligned with the first imaging pixel; a second imaging pixel; and a second color filter aligned with the second imaging pixel; where an area of the first color filter is smaller than an area of the second color filter, and where an area of a light shielding film of the first imaging pixel is greater than an area of a light shielding film of the second imaging pixel.
  • Solid state imaging device 50 Output circuit 81 Phase difference detection pixel 81a Optical black region 82 First imaging pixel 83 Second imaging pixel 93 Light shielding film 94 Color filter 96 Light shielding film 97, 121 Color filter 141 Insulating film 142 Light shielding film

Landscapes

  • Engineering & Computer Science (AREA)
  • Multimedia (AREA)
  • Signal Processing (AREA)
  • Solid State Image Pick-Up Elements (AREA)
  • Transforming Light Signals Into Electric Signals (AREA)
  • Color Television Image Signal Generators (AREA)
PCT/JP2014/006045 2013-12-12 2014-12-03 Solid state imaging device, manufacturing method of the same, and electronic equipment Ceased WO2015087515A2 (en)

Priority Applications (7)

Application Number Priority Date Filing Date Title
CN202110637271.8A CN113542639B (zh) 2013-12-12 2014-12-03 固态成像器件、固态成像器件的制造方法和电子设备
KR1020157020178A KR102352333B1 (ko) 2013-12-12 2014-12-03 고체 촬상 장치 및 그 제조 방법, 및 전자 기기
CN201480007227.7A CN104969540A (zh) 2013-12-12 2014-12-03 固态成像器件、固态成像器件的制造方法和电子设备
US14/764,685 US9780139B2 (en) 2013-12-12 2014-12-03 Solid state imaging device, manufacturing method of the same, and electronic equipment
US15/722,960 US10680022B2 (en) 2013-12-12 2017-10-02 Solid state imaging device, manufacturing method of the same, and electronic equipment
US16/867,141 US11211415B2 (en) 2013-12-12 2020-05-05 Solid state imaging device, manufacturing method of the same, and electronic equipment
US17/496,545 US11791353B2 (en) 2013-12-12 2021-10-07 Solid state imaging device, manufacturing method of the same, and electronic equipment

Applications Claiming Priority (4)

Application Number Priority Date Filing Date Title
JP2013-257294 2013-12-12
JP2013257294 2013-12-12
JP2014-109412 2014-05-27
JP2014109412A JP6233188B2 (ja) 2013-12-12 2014-05-27 固体撮像素子およびその製造方法、並びに電子機器

Related Child Applications (2)

Application Number Title Priority Date Filing Date
US14/764,685 A-371-Of-International US9780139B2 (en) 2013-12-12 2014-12-03 Solid state imaging device, manufacturing method of the same, and electronic equipment
US15/722,960 Continuation US10680022B2 (en) 2013-12-12 2017-10-02 Solid state imaging device, manufacturing method of the same, and electronic equipment

Publications (2)

Publication Number Publication Date
WO2015087515A2 true WO2015087515A2 (en) 2015-06-18
WO2015087515A3 WO2015087515A3 (en) 2015-08-13

Family

ID=52144799

Family Applications (1)

Application Number Title Priority Date Filing Date
PCT/JP2014/006045 Ceased WO2015087515A2 (en) 2013-12-12 2014-12-03 Solid state imaging device, manufacturing method of the same, and electronic equipment

Country Status (6)

Country Link
US (1) US9780139B2 (enExample)
JP (1) JP6233188B2 (enExample)
KR (1) KR102352333B1 (enExample)
CN (3) CN113794848A (enExample)
TW (1) TWI713442B (enExample)
WO (1) WO2015087515A2 (enExample)

Cited By (8)

* Cited by examiner, † Cited by third party
Publication number Priority date Publication date Assignee Title
EP3133647A3 (en) * 2015-07-24 2017-04-19 Samsung Electronics Co., Ltd. Image sensor and signal processing method thereof
US10999543B2 (en) 2016-06-28 2021-05-04 Sony Corporation Solid-state imaging device, electronic apparatus, lens control method, and vehicle
US11233957B2 (en) 2017-04-25 2022-01-25 Sony Corporation Solid state image sensor and electronic equipment
US11493729B2 (en) 2015-09-16 2022-11-08 Canon Kabushiki Kaisha Image sensor capable of reducing readout time and image capturing apparatus
US11563050B2 (en) 2016-03-10 2023-01-24 Sony Corporation Imaging device and electronic device
US11719908B2 (en) 2015-09-16 2023-08-08 Canon Kabushiki Kaisha Image sensor and image capturing apparatus
US11804504B2 (en) 2019-02-13 2023-10-31 Samsung Electronics Co., Ltd. Image sensor
US12382743B2 (en) 2020-01-16 2025-08-05 Sony Semiconductor Solutions Corporation Solid-state imaging device with enhanced pixel structure and light shielding region for improving image quality

Families Citing this family (46)

* Cited by examiner, † Cited by third party
Publication number Priority date Publication date Assignee Title
US10680022B2 (en) * 2013-12-12 2020-06-09 Sony Corporation Solid state imaging device, manufacturing method of the same, and electronic equipment
WO2017039038A1 (ko) * 2015-09-04 2017-03-09 재단법인 다차원 스마트 아이티 융합시스템 연구단 다중 필팩터가 적용된 이미지 센서
US10002899B2 (en) * 2015-09-16 2018-06-19 Taiwan Semiconductor Manufacturing Co., Ltd. Microlens for a phase detection auto focus (PDAF) pixel of a composite grid structure
JP6758747B2 (ja) 2015-09-18 2020-09-23 ソニーセミコンダクタソリューションズ株式会社 固体撮像装置および電子機器
KR102536344B1 (ko) * 2015-12-31 2023-05-25 엘지디스플레이 주식회사 표시장치
US9832399B2 (en) * 2016-01-29 2017-11-28 Taiwan Semiconductor Manufacturing Co., Ltd. Image sensor and method for manufacturing the same
JP2017157804A (ja) * 2016-03-04 2017-09-07 キヤノン株式会社 撮像装置
JP2017162985A (ja) * 2016-03-09 2017-09-14 キヤノン株式会社 撮像装置
JP2017195342A (ja) * 2016-04-22 2017-10-26 株式会社ニコン 撮像素子および電子機器
JP2017220616A (ja) * 2016-06-09 2017-12-14 キヤノン株式会社 撮像装置および放射線撮像システム
US20180026065A1 (en) * 2016-07-21 2018-01-25 Visera Technologies Company Limited Image-sensor structures
US10103194B2 (en) * 2016-09-26 2018-10-16 Omnivision Technologies, Inc. Self-aligned optical grid on image sensor
US10616516B2 (en) * 2016-09-30 2020-04-07 Planet Labs Inc. Systems and methods for implementing time delay integration imaging techniques in conjunction with distinct imaging regions on a monolithic charge-coupled device image sensor
WO2018070666A1 (ko) * 2016-10-11 2018-04-19 주식회사 루멘스 Led 디스플레이 모듈 및 그 제조방법
US10187600B2 (en) * 2017-06-15 2019-01-22 SmartSens Technology (U.S.), Inc. Four shared pixel with phase detection and full array readout modes
JP2019012968A (ja) 2017-06-30 2019-01-24 ソニーセミコンダクタソリューションズ株式会社 固体撮像装置、及び電子機器
KR102431210B1 (ko) 2017-07-28 2022-08-11 에스케이하이닉스 주식회사 위상차 검출 픽셀을 구비한 이미지 센서
JP7171199B2 (ja) * 2017-08-03 2022-11-15 ソニーセミコンダクタソリューションズ株式会社 固体撮像装置、及び電子機器
KR102375989B1 (ko) * 2017-08-10 2022-03-18 삼성전자주식회사 화소 사이의 신호 차이를 보상하는 이미지 센서
US10510787B2 (en) * 2017-10-19 2019-12-17 Semiconductor Components Industries, Llc Structures and methods of creating clear pixels
CN115037888B (zh) 2017-11-22 2024-05-17 索尼半导体解决方案公司 固态摄像元件和电子设备
JP6736539B2 (ja) 2017-12-15 2020-08-05 キヤノン株式会社 撮像装置及びその駆動方法
KR102520487B1 (ko) * 2018-02-21 2023-04-12 에스케이하이닉스 주식회사 이미지 센싱 장치
CN108400143A (zh) * 2018-02-28 2018-08-14 德淮半导体有限公司 图像传感器及其形成方法
KR102541294B1 (ko) 2018-03-26 2023-06-12 에스케이하이닉스 주식회사 라이닝 층을 가진 위상차 검출 픽셀을 포함하는 이미지 센서
KR102507207B1 (ko) * 2018-04-11 2023-03-09 에스케이하이닉스 주식회사 낮은 굴절률을 갖는 패싱 필터를 포함하는 이미지 센서
US10529763B2 (en) * 2018-04-19 2020-01-07 Semiconductor Components Industries, Llc Imaging pixels with microlenses
CN115767295B (zh) * 2018-07-09 2023-09-15 索尼半导体解决方案公司 摄像元件和相机
CN108965704B (zh) * 2018-07-19 2020-01-31 维沃移动通信有限公司 一种图像传感器、移动终端及图像拍摄方法
CN109036257B (zh) * 2018-10-24 2022-04-29 上海天马微电子有限公司 一种显示面板及其驱动方法和显示装置
FR3087939A1 (fr) * 2018-10-30 2020-05-01 Stmicroelectronics (Grenoble 2) Sas Capteur de lumiere
KR102532003B1 (ko) 2018-10-31 2023-05-15 에스케이하이닉스 주식회사 하나의 포토다이오드를 공유하는 두 색의 컬러 필터들을 가진 이미지 센서
JP7281895B2 (ja) 2018-12-06 2023-05-26 ソニーセミコンダクタソリューションズ株式会社 撮像素子および電子機器
KR102674883B1 (ko) 2018-12-21 2024-06-14 에스케이하이닉스 주식회사 적층된 셀 트랜지스터들을 포함하는 비휘발성 메모리 소자 및 상기 비휘발성 메모리 소자의 동작 방법
CN110222600A (zh) * 2019-05-22 2019-09-10 武汉华星光电技术有限公司 显示面板和电子设备
JP2021040088A (ja) * 2019-09-05 2021-03-11 ソニーセミコンダクタソリューションズ株式会社 固体撮像装置及び電子機器
JPWO2021117511A1 (enExample) * 2019-12-10 2021-06-17
US11362121B2 (en) * 2020-01-28 2022-06-14 Omnivision Technologies, Inc. Light attenuation layer fabrication method and structure for image sensor
KR102801630B1 (ko) * 2020-06-18 2025-04-29 에스케이하이닉스 주식회사 이미지 센싱 장치
US11765470B2 (en) * 2020-10-26 2023-09-19 Samsung Electronics Co., Ltd. Pixel array including evenly arranged phase detection pixels and image sensor including the pixel array
KR102889849B1 (ko) 2020-11-24 2025-11-27 삼성전자주식회사 이미지 센서
JP7180664B2 (ja) * 2020-12-09 2022-11-30 株式会社ニコン 撮像素子および撮像装置
KR20220144222A (ko) * 2021-04-19 2022-10-26 삼성전자주식회사 이미지 센서
KR20230056409A (ko) * 2021-10-20 2023-04-27 삼성전자주식회사 이미지 센서
CN118715783A (zh) * 2022-03-25 2024-09-27 索尼半导体解决方案公司 摄像元件和摄像装置
US12426394B2 (en) * 2022-09-23 2025-09-23 Taiwan Semiconductor Manufacturing Company, Ltd. CMOS image sensor

Citations (4)

* Cited by examiner, † Cited by third party
Publication number Priority date Publication date Assignee Title
JP2000156823A (ja) 1998-08-20 2000-06-06 Canon Inc 固体撮像装置及びその制御方法及び撮像装置及び光電変換セルの基本配列及び記憶媒体
JP2007147738A (ja) 2005-11-24 2007-06-14 Fujifilm Corp カラーフィルタ、その製造方法、これを用いた固体撮像素子、およびその製造方法
JP2009244862A (ja) 2008-03-11 2009-10-22 Canon Inc 焦点検出装置およびそれを有する撮像装置
JP2011029337A (ja) 2009-07-23 2011-02-10 Sony Corp 固体撮像装置とその製造方法、及び電子機器

Family Cites Families (29)

* Cited by examiner, † Cited by third party
Publication number Priority date Publication date Assignee Title
JPWO2005013369A1 (ja) * 2003-08-01 2006-09-28 松下電器産業株式会社 固体撮像装置、固体撮像装置の製造方法及びこれを用いたカメラ
JP4760264B2 (ja) * 2005-09-28 2011-08-31 ブラザー工業株式会社 画像形成装置
JP5167799B2 (ja) * 2007-12-18 2013-03-21 ソニー株式会社 固体撮像装置およびカメラ
JP5262180B2 (ja) * 2008-02-26 2013-08-14 ソニー株式会社 固体撮像装置及びカメラ
JP2012027046A (ja) * 2008-11-21 2012-02-09 Sharp Corp 液晶表示装置
KR101776955B1 (ko) * 2009-02-10 2017-09-08 소니 주식회사 고체 촬상 장치와 그 제조 방법, 및 전자 기기
JP5662667B2 (ja) * 2009-10-08 2015-02-04 キヤノン株式会社 撮像装置
JP5526980B2 (ja) * 2010-04-26 2014-06-18 株式会社ニコン 撮像装置および撮像素子
JP5680333B2 (ja) * 2010-05-01 2015-03-04 株式会社ササキコーポレーション 刈取り作業機
WO2012008209A1 (ja) * 2010-07-12 2012-01-19 富士フイルム株式会社 固体撮像装置
JP5513623B2 (ja) * 2010-08-24 2014-06-04 富士フイルム株式会社 固体撮像装置
JP5204192B2 (ja) 2010-10-26 2013-06-05 株式会社東芝 基地局装置、端末移動推定方法及びプログラム
JP5589760B2 (ja) * 2010-10-27 2014-09-17 ソニー株式会社 画像処理装置、撮像装置、画像処理方法およびプログラム。
JP5736755B2 (ja) * 2010-12-09 2015-06-17 ソニー株式会社 固体撮像装置とその製造方法、及び電子機器
JP5810551B2 (ja) * 2011-02-25 2015-11-11 ソニー株式会社 固体撮像装置、および、その製造方法、電子機器
JP2012191136A (ja) * 2011-03-14 2012-10-04 Sony Corp 固体撮像装置、固体撮像装置の製造方法、電子機器
US8742525B2 (en) * 2011-03-14 2014-06-03 Sony Corporation Solid-state imaging device, method of manufacturing solid-state imaging device, and electronic apparatus
EP2690874A4 (en) * 2011-03-24 2014-09-03 Fujifilm Corp COLOR IMAGE SENSOR, IMAGING DEVICE AND CONTROL PLAN FOR THE IMAGING APPARATUS
JP5935237B2 (ja) * 2011-03-24 2016-06-15 ソニー株式会社 固体撮像装置および電子機器
JP5825817B2 (ja) * 2011-04-01 2015-12-02 キヤノン株式会社 固体撮像素子及び撮像装置
KR20130038035A (ko) * 2011-10-07 2013-04-17 삼성전자주식회사 촬상소자
CN102564586B (zh) * 2012-01-09 2013-08-07 南京邮电大学 衍射孔阵列结构微型光谱仪及其高分辨率光谱复原方法
JP2013145779A (ja) * 2012-01-13 2013-07-25 Sony Corp 固体撮像装置及び電子機器
JP2013172210A (ja) * 2012-02-17 2013-09-02 Canon Inc 撮像装置
JP2013175529A (ja) * 2012-02-24 2013-09-05 Sony Corp 固体撮像装置、及び電子機器
JP5733471B2 (ja) * 2012-03-29 2015-06-10 村田機械株式会社 非接触給電システム及び非接触給電方法
IN2014DN08388A (enExample) 2012-03-30 2015-05-08 Nikon Corp
JP5750394B2 (ja) * 2012-03-30 2015-07-22 富士フイルム株式会社 固体撮像素子及び撮像装置
US9270906B2 (en) * 2012-05-02 2016-02-23 Semiconductor Components Industries, Llc Exposure time selection using stacked-chip image sensors

Patent Citations (4)

* Cited by examiner, † Cited by third party
Publication number Priority date Publication date Assignee Title
JP2000156823A (ja) 1998-08-20 2000-06-06 Canon Inc 固体撮像装置及びその制御方法及び撮像装置及び光電変換セルの基本配列及び記憶媒体
JP2007147738A (ja) 2005-11-24 2007-06-14 Fujifilm Corp カラーフィルタ、その製造方法、これを用いた固体撮像素子、およびその製造方法
JP2009244862A (ja) 2008-03-11 2009-10-22 Canon Inc 焦点検出装置およびそれを有する撮像装置
JP2011029337A (ja) 2009-07-23 2011-02-10 Sony Corp 固体撮像装置とその製造方法、及び電子機器

Cited By (11)

* Cited by examiner, † Cited by third party
Publication number Priority date Publication date Assignee Title
EP3133647A3 (en) * 2015-07-24 2017-04-19 Samsung Electronics Co., Ltd. Image sensor and signal processing method thereof
US10404952B2 (en) 2015-07-24 2019-09-03 Samsung Electronics Co., Ltd. Image sensor and signal processing method thereof
US11493729B2 (en) 2015-09-16 2022-11-08 Canon Kabushiki Kaisha Image sensor capable of reducing readout time and image capturing apparatus
US11719908B2 (en) 2015-09-16 2023-08-08 Canon Kabushiki Kaisha Image sensor and image capturing apparatus
US11563050B2 (en) 2016-03-10 2023-01-24 Sony Corporation Imaging device and electronic device
US10999543B2 (en) 2016-06-28 2021-05-04 Sony Corporation Solid-state imaging device, electronic apparatus, lens control method, and vehicle
US11233957B2 (en) 2017-04-25 2022-01-25 Sony Corporation Solid state image sensor and electronic equipment
US11637975B2 (en) 2017-04-25 2023-04-25 Sony Group Corporation Solid state image sensor and electronic equipment
US12184999B2 (en) 2017-04-25 2024-12-31 Sony Group Corporation Solid state image sensor and electronic equipment for improving image quality
US11804504B2 (en) 2019-02-13 2023-10-31 Samsung Electronics Co., Ltd. Image sensor
US12382743B2 (en) 2020-01-16 2025-08-05 Sony Semiconductor Solutions Corporation Solid-state imaging device with enhanced pixel structure and light shielding region for improving image quality

Also Published As

Publication number Publication date
US20160276396A1 (en) 2016-09-22
JP6233188B2 (ja) 2017-11-22
KR102352333B1 (ko) 2022-01-18
WO2015087515A3 (en) 2015-08-13
TWI713442B (zh) 2020-12-21
KR20160097121A (ko) 2016-08-17
CN113542639A (zh) 2021-10-22
US9780139B2 (en) 2017-10-03
CN113542639B (zh) 2024-05-14
CN104969540A (zh) 2015-10-07
CN113794848A (zh) 2021-12-14
JP2015133469A (ja) 2015-07-23
TW201523861A (zh) 2015-06-16

Similar Documents

Publication Publication Date Title
US9780139B2 (en) Solid state imaging device, manufacturing method of the same, and electronic equipment
US11791353B2 (en) Solid state imaging device, manufacturing method of the same, and electronic equipment
US11676984B2 (en) Solid-state imaging device, method of manufacturing the same, and electronic device
US9450008B2 (en) Solid-state imaging apparatus, method of manufacturing the same, and electronic apparatus
CN102208421B (zh) 固体摄像装置和电子设备
US9276032B2 (en) Solid-state imaging device, method of manufacturing a solid-state imaging device, and electronic apparatus
US8779541B2 (en) Solid-state imaging device with pixels having white filter, microlens and planarizing film refractive indices in predetermined relationship
US9735190B2 (en) Solid-state imaging device, manufacturing method thereof, and electronic apparatus
CN101673747A (zh) 光电转换设备和成像系统
US20170201726A1 (en) Solid state imaging device, electronic apparatus, and method for manufacturing solid state imaging device
KR102223515B1 (ko) 고체 촬상 장치 및 전자 기기
CN101908549A (zh) 固体摄像器件、固体摄像器件制造方法及电子装置
CN114650374A (zh) 具有黑电平校正的图像传感器
KR20240167046A (ko) 광 검출 소자 및 전자 기기
JP2017054951A (ja) 固体撮像装置
JP6079804B2 (ja) 固体撮像装置、および、その製造方法、電子機器

Legal Events

Date Code Title Description
ENP Entry into the national phase

Ref document number: 20157020178

Country of ref document: KR

Kind code of ref document: A

121 Ep: the epo has been informed by wipo that ep was designated in this application

Ref document number: 14816427

Country of ref document: EP

Kind code of ref document: A2

WWE Wipo information: entry into national phase

Ref document number: 14764685

Country of ref document: US

NENP Non-entry into the national phase

Ref country code: DE

122 Ep: pct application non-entry in european phase

Ref document number: 14816427

Country of ref document: EP

Kind code of ref document: A2