WO2015080096A1 - 表示装置および表示方法 - Google Patents

表示装置および表示方法 Download PDF

Info

Publication number
WO2015080096A1
WO2015080096A1 PCT/JP2014/081091 JP2014081091W WO2015080096A1 WO 2015080096 A1 WO2015080096 A1 WO 2015080096A1 JP 2014081091 W JP2014081091 W JP 2014081091W WO 2015080096 A1 WO2015080096 A1 WO 2015080096A1
Authority
WO
WIPO (PCT)
Prior art keywords
display
video signal
display unit
display device
unit
Prior art date
Legal status (The legal status is an assumption and is not a legal conclusion. Google has not performed a legal analysis and makes no representation as to the accuracy of the status listed.)
Ceased
Application number
PCT/JP2014/081091
Other languages
English (en)
French (fr)
Japanese (ja)
Inventor
圭祐 戸田
裕貴 浅田
洋司 成澤
Current Assignee (The listed assignees may be inaccurate. Google has not performed a legal analysis and makes no representation or warranty as to the accuracy of the list.)
Individual
Original Assignee
Individual
Priority date (The priority date is an assumption and is not a legal conclusion. Google has not performed a legal analysis and makes no representation as to the accuracy of the date listed.)
Filing date
Publication date
Application filed by Individual filed Critical Individual
Publication of WO2015080096A1 publication Critical patent/WO2015080096A1/ja
Priority to US15/164,397 priority Critical patent/US10182226B2/en
Anticipated expiration legal-status Critical
Ceased legal-status Critical Current

Links

Images

Classifications

    • HELECTRICITY
    • H04ELECTRIC COMMUNICATION TECHNIQUE
    • H04NPICTORIAL COMMUNICATION, e.g. TELEVISION
    • H04N13/00Stereoscopic video systems; Multi-view video systems; Details thereof
    • H04N13/30Image reproducers
    • H04N13/332Displays for viewing with the aid of special glasses or head-mounted displays [HMD]
    • H04N13/341Displays for viewing with the aid of special glasses or head-mounted displays [HMD] using temporal multiplexing
    • HELECTRICITY
    • H04ELECTRIC COMMUNICATION TECHNIQUE
    • H04NPICTORIAL COMMUNICATION, e.g. TELEVISION
    • H04N13/00Stereoscopic video systems; Multi-view video systems; Details thereof
    • H04N13/30Image reproducers
    • H04N13/302Image reproducers for viewing without the aid of special glasses, i.e. using autostereoscopic displays
    • H04N13/305Image reproducers for viewing without the aid of special glasses, i.e. using autostereoscopic displays using lenticular lenses, e.g. arrangements of cylindrical lenses
    • HELECTRICITY
    • H04ELECTRIC COMMUNICATION TECHNIQUE
    • H04NPICTORIAL COMMUNICATION, e.g. TELEVISION
    • H04N13/00Stereoscopic video systems; Multi-view video systems; Details thereof
    • H04N13/30Image reproducers
    • H04N13/302Image reproducers for viewing without the aid of special glasses, i.e. using autostereoscopic displays
    • H04N13/31Image reproducers for viewing without the aid of special glasses, i.e. using autostereoscopic displays using parallax barriers
    • HELECTRICITY
    • H04ELECTRIC COMMUNICATION TECHNIQUE
    • H04NPICTORIAL COMMUNICATION, e.g. TELEVISION
    • H04N13/00Stereoscopic video systems; Multi-view video systems; Details thereof
    • H04N13/30Image reproducers
    • H04N13/324Colour aspects

Definitions

  • the present invention relates to a display device for displaying an image and a display method used in such a display device.
  • see-through displays In recent years, so-called see-through displays have been developed in which the display section is made of a transparent material. Unlike a normal display device, a display device having such a transmissive display unit can display characters and images superimposed on an actual landscape. Such a display device is expected to be used for various purposes such as AR (Augmented Reality).
  • AR Augmented Reality
  • Such a transmissive display unit has been developed using, for example, an organic EL (Electro Luminescence) element, an inorganic EL element, a liquid crystal element, or the like.
  • Patent Document 1 discloses a display device in which a transmissive display unit is configured using an organic EL element.
  • Non-Patent Document 1 discloses a transparent conductive material that can be used for such an organic EL element.
  • the visibility may be lowered depending on, for example, display contents and the environment in which the display device is used.
  • a transmissive display unit is configured using an organic EL element and a dark image is displayed in a bright environment, a dark portion of the image is transmitted, so that the user originally displays a dark image. Observe the scenery in a bright environment where it should be.
  • a transmissive display unit is configured using a liquid crystal element and a bright image is displayed in a dark environment, a bright part of the image is transmitted. A scene in a dark environment is observed in a portion to be displayed.
  • an object of the present invention is to provide a display device and a display method capable of improving visibility regardless of display contents and an environment in which the display device is used.
  • the display device includes a first display unit and a second display unit.
  • the first display unit performs video display according to the video signal for the pixels in the partial area corresponding to a part of the image portion of the frame image indicated by the video signal, and transmits the pixels in the area other than the partial area. It is a sex display.
  • the second display unit is disposed on the back side of the first display unit, and displays a uniform or non-uniform dummy image for the pixels in the partial region, and transmissive display for the pixels in the region other than the partial region. Is to do.
  • video display according to the video signal includes not only displaying the partial image indicated by the video signal as it is, but also displaying the partial image with a slightly increased degree of light transmission.
  • Transparent display is not limited to complete transparent display, but also includes display in which the degree of light transmission is slightly reduced.
  • the display of the “dummy image” is not limited to display in a completely opaque state, but includes display with a slightly increased degree of light transmission.
  • the first display unit performs video display according to the video signal for pixels in a partial region corresponding to a partial image portion of the frame image indicated by the video signal.
  • a transparent image is displayed for pixels in areas other than the partial area, and a dummy image in which the pixels in the partial area are uniform or non-uniform in the second display section disposed on the back side of the first display section. Is displayed, and the transmissive display is performed for the pixels in the region other than the partial region.
  • display is performed on the first display unit and the second display unit.
  • first display unit video display according to the video signal is performed for the pixels in the partial area corresponding to the image portion, and transmissive display is performed for the pixels in the area other than the partial area.
  • second display unit a uniform or non-uniform dummy image is displayed for pixels in a region corresponding to the partial region, and transmissive display is performed for pixels in a region other than the partial region.
  • the first display unit and the second display unit perform transmissive display based on a transmission video signal indicating the light transmission degree in units of pixels.
  • the transmission video signal includes a light transmission degree in the partial area and a light transmission degree in an area other than the partial area
  • the first display unit performs video display based on the light transmission degree in the partial area.
  • the second display unit displays a dummy image based on the light transmission degree in the partial area, and displays the dummy image based on the light transmission degree in the area other than the partial area.
  • transmissive display may be performed.
  • the average light transmission degree indicated by the transmission video signal in the partial area is lower than the average light transmission degree indicated by the transmission video signal in the area other than the partial area.
  • the light transmittance may not be uniform in a region other than the partial region, or may be uniform.
  • a filter unit that performs a filtering process on the transmission video signal is further provided, and the first display unit and the second display unit perform a transmissive display based on the transmission video signal on which the filtering process has been performed. You may do it.
  • the video signal and the transmission video signal may be multiplexed with each other, and an input unit that receives the multiplexed video signal and the transmission video signal may be further provided.
  • a first input unit that receives a video signal and a second input unit that receives a transmission video signal may be further provided.
  • the second input unit can be configured using a network interface, and the transmitted video signal can be supplied via the Internet.
  • the first display unit and the second display unit can be configured as follows, for example. That is, the first display unit can be configured using a self-luminous display unit, and the second display unit can be configured using a non-luminous display unit. Alternatively, the first display unit may be configured using a non-luminous display unit, and the second display unit may be configured using a self-luminous display unit. Further, the first display unit may be configured using a non-light emitting display unit, and the second display unit may be configured using a selective reflection type display unit.
  • the selective reflection type display unit is configured to reflect, for example, light incident from the display surface in units of pixels. Further, for example, the first display unit and the second display unit may be integrally formed.
  • a third display unit that is arranged on the back side of the second display unit, performs video display according to the video signal for the partial region, and performs transmissive display for the pixels in the region other than the partial region. You may make it provide further.
  • the first display unit may further include a viewpoint image separation unit for displaying a plurality of viewpoint images and allowing the user to separate and observe each of the plurality of viewpoint images.
  • the first display unit may display a plurality of viewpoint images in a space division manner, and the viewpoint image separation unit may be a parallax barrier or a lenticular lens.
  • the first display unit displays a plurality of viewpoint images in a time-sharing manner, and includes a left eye shutter and a right eye shutter that can be transmitted or blocked in synchronization with the display operation of the first display unit. You may further provide the control part which transmits a control signal with respect to spectacles.
  • the display device since the first display unit and the second display unit are provided, the display device can be visually recognized regardless of the display contents and the environment in which the display device is used. Can increase the sex.
  • FIG. 2 is an explanatory diagram illustrating a configuration example of the display device illustrated in FIG. 1. It is explanatory drawing showing an example of a frame image. It is explanatory drawing showing an example of a permeation
  • FIG. 14 is a schematic diagram illustrating an operation example of the display device illustrated in FIG. 13.
  • FIG. 19 is an explanatory diagram illustrating a configuration example of the display device illustrated in FIG. 18. It is a block diagram showing the example of 1 structure of the display apparatus which concerns on another modification. It is explanatory drawing showing the example of 1 structure of the display apparatus which concerns on another modification. It is explanatory drawing showing an example of the observation image which concerns on 2nd Embodiment.
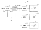
  • FIG. 1 illustrates a configuration example of a display device according to the first embodiment.
  • the display device 1 is a so-called see-through display in which a display surface is made of a transparent material and characters and images can be superimposed and displayed on an actual landscape.
  • the display method according to the embodiment of the present invention is embodied by the present embodiment, and will be described together.
  • the display device 1 includes an input unit 11, a luminance information generation unit 12, a drive unit 13, a display unit 14, a drive unit 23, and a display unit 24.
  • the display device 1 performs display based on a signal Sin in which a video signal Sdisp and a transmission video signal Sa are multiplexed.
  • the video signal Sdisp includes red (R) luminance information IR, green (G) luminance information IG, and blue (B) luminance information IB.
  • the luminance information IR, IG, and IB indicate values of “0” or more and “1” or less, respectively.
  • the value “0” indicates the minimum luminance (that is, black display), and the value “1” indicates the maximum luminance.
  • the transmission video signal Sa includes transmission degree information ⁇ indicating the light transmission degree for each pixel.
  • the transparency information ⁇ indicates a value not less than “0” and not more than “1”.
  • the value “0” indicates non-transmission
  • the value “1” indicates transmission.
  • the value of the transmittance information ⁇ is set so that the light transmittance is low in a region corresponding to an image portion A in the frame image F indicated by the video signal Sdisp, as will be described later.
  • the light transmission degree is set to be high in a region other than the region corresponding to the portion A.
  • the input unit 11 is an input interface that receives the signal Sin.
  • the input unit 11 separates the video signal Sdisp and the transmission video signal Sa from the signal Sin, supplies the video signal Sdisp to the luminance information generation unit 12, and transmits the transmission video signal Sa to the luminance information generation unit 12 and the driving unit.
  • 23 also has a function of supplying to the terminal 23.
  • the luminance information generation unit 12 generates the video signal Sdisp2 based on the video signal Sdisp and the transmission video signal Sa. Specifically, the luminance information generation unit 12 generates the luminance information IR2, IG2, IB2 based on the luminance information IR, IG, IB in a certain pixel and the transparency information ⁇ in the pixel, respectively. At that time, the luminance information generation unit 12 uses the luminance information IR, IG, IB as the luminance information IR2, IG2, IB2 as it is for a pixel having a sufficiently low value of the transmittance information ⁇ (a pixel having a sufficiently low light transmittance).
  • the luminance information IR2, IG2, IB2 is generated by decreasing the values of the luminance information IR, IG, IB. That is, since the display unit 14 is a self-luminous device and a transmissive device as will be described later, the value of the luminance information is obtained in a pixel having a high value of the transmittance information ⁇ (a pixel having a high light transmittance). By reducing the value, the light transmission degree in the pixel P (described later) of the display unit 14 is increased.
  • the luminance information generation unit 12 outputs the luminance information IR2, IG2, IB2 generated in this way as a video signal Sdisp2.
  • the driving unit 13 drives the display unit 14 based on the video signal Sdisp2. Specifically, the drive unit 13 drives each pixel P (described later) of the display unit 14 by line-sequential scanning based on the video signal Sdisp2, and causes the display unit 14 to display based on the video signal Sdisp2. It has become.
  • the display unit 14 is a so-called transmissive type in which the display area is configured to be transparent, and displays an image by self-emission based on driving by the driving unit 13.
  • a display part 14 can be comprised using an organic EL element, an inorganic EL element, etc., for example.
  • the display unit 14 is disposed in front of the display unit 24 so as to overlap the display unit 24.
  • each pixel P includes a red (R) sub-pixel PsubR, a green (G) sub-pixel PsubG, and a blue (B) sub-pixel PsubB in this example.
  • the display unit 14 displays an image by the sub pixels PsubR, PsubG, and PsubB emitting light with luminance corresponding to the luminance information IR2, IG2, and IB2.
  • the drive unit 23 drives the display unit 24 based on the transmission video signal Sa. Specifically, the drive unit 23 drives each pixel Q (described later) of the display unit 24 by line-sequential scanning based on the transmission video signal Sa, and causes the display unit 24 to display based on the transmission video signal Sa. It is like that.
  • the display unit 24 is a so-called transmission type in which the display area is configured to be transparent, and sets the light transmission degree based on the drive by the drive unit 23.
  • a display part 24 can be comprised using a liquid crystal element, for example.
  • the display unit 24 is disposed on the back side of the display unit 14 so as to overlap the display unit 14.
  • the pixels Q are arranged in a matrix. Each pixel Q can set the light transmittance based on the transmittance information ⁇ . At that time, it is desirable that the pixel Q has a dark color such as black when the light transmission is sufficiently low. That is, in the pixel Q, the higher the value of the transmittance information ⁇ , the higher the light transmittance. The lower the value of the transmittance information ⁇ , the lower the light transmittance and the black color.
  • FIG. 2 shows the arrangement with the display units 14 and 24.
  • the display unit 14 and the display unit 24 are arranged so as to overlap each other.
  • the display unit 14 is arranged on the display surface side observed by the user 9, and the display unit 24 is arranged on the back side of the display unit 14.
  • the display unit 14 and the display unit 24 which are provided separately are arranged so as to overlap each other.
  • each pixel Q in the display unit 24 corresponds to each pixel P in the display unit 14.
  • the present invention is not limited to this, and instead, for example, each pixel Q in the display unit 24 may correspond to each of the plurality of pixels P in the display unit 14.
  • the display device 1 can display characters and images superimposed on the scenery (such as house 8 in the example of FIG. 2) in the display areas of the display units 14 and 24. At that time, the display device 1 sets the luminance in each pixel P of the display unit 14 and sets the light transmittance in each pixel Q of the display unit 24 based on the transmittance information ⁇ . As a result, the display device 1 can improve the visibility regardless of the display contents and the environment in which the display device is used, as will be described later.
  • the display unit 14 corresponds to a specific example of “first display unit” in the present disclosure.
  • the display unit 24 corresponds to a specific example of “second display unit” in the present disclosure.
  • the video signal Sdisp corresponds to a specific example of “video signal” in the present disclosure.
  • the input unit 11 separates the video signal Sdisp and the transmission video signal Sa from the signal Sin, supplies the video signal Sdisp to the luminance information generation unit 12, and transmits the transmission video signal Sa to the luminance information generation unit 12 and the drive unit 23.
  • the luminance information generator 12 generates a video signal Sdisp2 based on the video signal Sdisp and the transmitted video signal Sa.
  • the drive unit 13 drives the display unit 14 based on the video signal Sdisp2.
  • the display unit 14 displays an image by self-emission based on driving by the driving unit 13.
  • the drive unit 23 drives the display unit 24 based on the transmission video signal Sa.
  • the display unit 24 sets the light transmission degree for each pixel Q based on the drive by the drive unit 23.
  • the display device 1 performs display based on a signal Sin obtained by multiplexing the video signal Sdisp and the transmission video signal Sa. At that time, the display device 1 sets the luminance in each pixel P of the display unit 14 and sets the light transmittance in each pixel Q of the display unit 24 based on the transmittance information ⁇ . The detailed operation of the display device 1 will be described below.
  • FIG. 3 shows an example of the frame image F indicated by the video signal Sdisp.
  • a striped horse is arranged near the center, and a portion other than the striped horse is represented in black.
  • a portion where the striped horse is arranged in the frame image F will be described as an image portion A.
  • FIG. 4 shows an example of map data MAP ⁇ of the transparency information ⁇ indicated by the transmission video signal Sa.
  • a portion represented by white indicates that the value of the transparency information ⁇ is “0” (non-transparent), and a portion represented by black has a value of the transparency information ⁇ of “1” (transparent). ).
  • the value of the transparency information ⁇ in the area corresponding to the image portion A is set to “0” (non-transparent).
  • the value “1” and the value “0” of the transparency information ⁇ are set in a predetermined pattern.
  • the average value of the light transmittance in the region other than the region corresponding to the image portion A is the area of the region where the value of the transmittance information ⁇ is “1” (transmitted) and the value of the transmittance information ⁇ is “0”. It becomes a value corresponding to the area ratio with the area of the region that is “non-transparent”.
  • the transmittance information ⁇ is set so that the light transmittance is low in the region corresponding to the image portion A, and the light transmittance is high in the region other than the region corresponding to the image portion A. It is set as follows.
  • the value of the transparency information ⁇ is set to “0” (non-transparent) in the area corresponding to the image part A, but the present invention is not limited to this, and the value in the area corresponding to the image part A is not limited thereto.
  • Various settings can be made such that the light transmittance is lower than the light transmittance in a region other than the region corresponding to the image portion A.
  • the value of the transparency information ⁇ may be a value indicating semi-transparency (for example, “0.2”), or the value “1” of the transparency information ⁇ . “0” may be set in a predetermined pattern.
  • the value “1” and the value “0” of the transparency information ⁇ are set in a predetermined pattern in a region other than the region corresponding to the image portion A.
  • the present invention is not limited to this.
  • Various settings can be made such that the light transmittance in the region other than the region corresponding to the image portion A is higher than the light transmittance in the region corresponding to the image portion A.
  • the pattern of the value “1” and the value “0” of the transparency information ⁇ may be different for each frame image F.
  • the portions can be different.
  • the value of the transparency information ⁇ is uniformly set to a value indicating semi-transparency (for example, “0.8”) or a value “1” (transmission). ) May be set.
  • the luminance information generation unit 12 generates luminance information IR2, IG2, IB2 based on the luminance information IR, IG, IB included in the video signal Sdisp and the transparency information ⁇ included in the transmitted video signal Sa. Specifically, the luminance information generation unit 12 uses the luminance information IR, IG, and IB as the luminance information IR2, IG2, and IB2 as they are for the pixel having the low value of the transmittance information ⁇ (the pixel having the low light transmission degree), In a pixel having a high information ⁇ value (a pixel having a high light transmittance), the luminance information IR2, IG2, and IB2 are generated by decreasing the luminance information IR, IG, and IB, respectively.
  • the display unit 14 is a self-luminous device and a transmissive device, the luminance information value is reduced in a pixel having a high value of the transmittance information ⁇ (a pixel having a high light transmittance).
  • the light transmission degree in the pixel P of the display unit 14 is to be increased.
  • the luminance information generation unit 12 generates the luminance information IR2, IG2, IB2 based on the luminance information IR, IG, IB and the transparency information ⁇ , and outputs it as the video signal Sdisp2.
  • the driving unit 13 drives the display unit 14 based on the video signal Sdisp2, and the display unit 14 displays an image by self-light emission.
  • the drive unit 23 drives the display unit 24 based on the transmission video signal Sa, and the display unit 24 sets the light transmission degree for each pixel Q.
  • FIG. 5A shows an observation image G observed by the user 9 in a bright environment such as daytime.
  • the user 9 can observe the striped horse in the portion where the striped horse is arranged (image portion A), and the portion other than the portion where the striped horse is arranged (part other than the image portion A).
  • the scenery on the other side of the display device 1 in this example, the house 8 in a bright environment
  • the display unit 14 displays the luminance information included in the video signal Sdisp.
  • Display is performed based on luminance information IR2, IG2, and IB2 equivalent to IR, IG, and IB, and the display unit 24 displays black by reducing the light transmission degree in this portion. Accordingly, the user 9 observes an image equivalent to the image indicated by the video signal Sdisp in the image portion A.
  • the transmittance information ⁇ is high (the light transmittance is high), so the display units 14 and 24 transmit light in this portion. Increase the degree.
  • the user 9 observes the scenery beyond the display device 1 (in this example, the house 8 in a bright environment) other than the image part A.
  • FIG. 5B shows an observation image G observed by the user 9 in a dark environment such as evening.
  • the user 9 can observe the striped horse at the portion where the striped horse is arranged (image portion A), and the portion other than the portion where the striped horse is arranged (part other than the image portion A).
  • the scenery beyond the display device 1 in this example, the house 8 in a dark environment
  • the display unit 14 displays the luminance information included in the video signal Sdisp.
  • Display is performed based on luminance information IR2, IG2, and IB2 equivalent to IR, IG, and IB, and the display unit 24 displays black by reducing the light transmission degree in this portion. Accordingly, the user 9 observes an image equivalent to the image indicated by the video signal Sdisp in the image portion A.
  • the transmittance information ⁇ is high (the light transmittance is high), so the display units 14 and 24 transmit light in this portion. Increase the degree.
  • the user 9 observes the scenery beyond the display device 1 (in this example, the house 8 in a dark environment) other than the image part A.
  • the luminance at each pixel P of the display unit 14 is set and the light transmittance at each pixel Q of the display unit 24 is set based on the transmittance information ⁇ .
  • the user 9 can observe an image equivalent to the image indicated by the video signal Sdisp in the image portion A, and can observe a landscape beyond the display device 1 in a portion other than the image portion A. Visibility can be improved compared with the case of the comparative example shown below.
  • the display device 1 can perform display only by supplying the transmitted video signal Sa in addition to the video signal Sdisp, when video content is produced, various past video resources are effectively used. be able to. That is, the transmitted video signal Sa has a smaller amount of data than the video signal Sdisp and is simple, and can be easily created based on the video signal Sdisp. Therefore, when the video content to be displayed on the display device 1 is produced, the transmission video signal Sa can be easily prepared based on various past video resources, so that these video resources can be used effectively. can do. Further, since the transmitted video signal Sa is simple with a small amount of data as described above, it can be produced with almost no burden when a new video content is produced.
  • the display device 1 can express the characters and images so as to be merged with the scenery of the place by superimposing the characters and images on the actual landscape. It can provide unprecedented surprises.
  • FIG. 6 illustrates a configuration example of the display device 1R according to the comparative example.
  • the display device 1 ⁇ / b> R includes an input unit 11 ⁇ / b> R, a drive unit 13, and a display unit 14.
  • the input unit 11 ⁇ / b> R is an input interface that receives the video signal Sdisp, and supplies the video signal Sdisp to the drive unit 13. That is, the display device 1R according to this comparative example is obtained by omitting the luminance information generation unit 12, the drive unit 23, and the display unit 24 from the display device 1 according to the present embodiment, and uses the transmission video signal Sa. Instead, display is performed based only on the video signal Sdisp.
  • FIG. 7 shows an observation image G observed by the user 9 in a bright environment such as daytime.
  • display is performed based on the luminance information IR, IG, IB included in the video signal Sdisp.
  • the black portion of the frame image F (FIG. 3)
  • the display unit 14 which is a transmissive device
  • the light transmission degree in these parts is high. Therefore, the user 9 observes the scenery on the other side of the display device 1 (in this example, the house 8 in a bright environment).
  • the display unit 14 displays white by self-light emission. To do.
  • the user 9 may not easily see the striped horse. That is, in this portion, the user 9 observes the white color due to the light emission of the display unit 14 in the white portion of the striped pattern of the striped horse. Moreover, since the display part 14 permeate
  • the user 9 may have difficulty in visually checking the striped horse. That is, in this portion, the user 9 observes the white color due to the light emission of the display unit 14 in the white portion of the striped pattern of the striped horse. Moreover, since the display part 14 permeate
  • the luminance at each pixel P of the display unit 14 is set and the light transmission level at each pixel Q of the display unit 24 is set based on the transmittance information ⁇ . I made it.
  • the display unit 14 displays an image equivalent to the image indicated by the video signal Sdisp, and the display unit 24 reduces the light transmission degree.
  • the display units 14 and 24 increase the light transmission degree.
  • the user 9 can visually recognize the white and black striped pattern of the striped horse even in a bright environment such as the daytime.
  • the display device 1 can improve the visibility regardless of the display contents and the environment in which the display device is used.
  • the two display units 14 and 24 are provided, an image is displayed on the display unit 14, and the light transmission degree is set for each pixel in the display unit 24. Visibility can be enhanced regardless of the environment in which the is used.
  • the visibility in each pixel of the display unit 14 is set and the light transmittance in each pixel of the display unit 24 is set based on the transmittance information, the visibility is improved. it can.
  • display can be performed simply by supplying a transparent video signal in addition to a video signal. Therefore, various video resources in the past can be used effectively when producing video content. be able to.
  • the portion where the striped horse is arranged is the image portion A, but the present invention is not limited to this, and the image portion A can be arbitrarily set. Below, an example of this modification is demonstrated in detail.
  • FIG. 8 shows an example of map data MAP ⁇ of the transparency information ⁇ indicated by the transmitted video signal Sa.
  • a wider part including the part where the striped horse is arranged is set as the image part A.
  • the image portion A not only the portion where the striped horse is arranged but also the portion around the leg of the striped horse is set as the image portion A.
  • FIG. 9A shows the observation image G observed by the user 9 in a bright environment
  • FIG. 9B shows the observation image G observed by the user 9 in a dark environment.
  • the user 9 can observe the display based on the video signal Sdisp in the vicinity of the striped horse and the legs of the striped horse, and in other parts, observe the landscape on the other side of the display device. Can do.
  • the wider part including the part where the striped horse is arranged is set as the image part A.
  • the present invention is not limited to this.
  • only a part (for example, a face) of the striped horse is used instead. May be set as the image portion A.
  • the luminance information generation unit 12 generates the video signal Sdisp2 based on the transmission video signal Sa, and the drive unit 23 drives the display unit 24 based on the transmission video signal Sa. Not what you want.
  • a filter unit 15B that performs a filtering process on the transmitted video signal Sa to generate the transmitted video signal Sb is provided.
  • the video signal Sdisp2 may be generated based on the video signal Sdisp and the transmission video signal Sb, and the drive unit 23 may drive the display unit 24 based on the transmission video signal Sb.
  • the filter unit 15B performs a smoothing process (so-called anti-aliasing process) on the map data MAP ⁇ indicated by the transmission video signal Sa, and transmits the transparency information between the image part A and other parts. ⁇ can be changed smoothly.
  • the filter unit 15B can be configured using, for example, a FIR (Finite Impulse Response) filter.
  • the filter unit 15B is provided in the display device 1B.
  • the present invention is not limited to this.
  • the display device is configured without the filter unit 15B, and such filter processing is performed.
  • the transmission video signal Sb may be multiplexed with the video signal Sdisp and supplied to the display device.
  • FIG. 11 shows one configuration example of the display device 1C according to this modification.
  • the display device 1C performs display based on the video signal Ssisp and the transmission video signal Sa supplied separately.
  • the display device 1C includes an input unit 11C and a network interface 16C.
  • the input unit 11 ⁇ / b> C is an input interface that receives the video signal Sdisp, and supplies the received video signal Sdisp to the luminance information generation unit 12.
  • the network interface 16C is a LAN (Local Area Network) interface, and is connected to the Internet.
  • a video signal Sdisp is supplied from a DVD (registered trademark) player.
  • the display device 1C acquires a transmission video signal Sa corresponding to the video signal Sdisp from a server on the Internet. Then, the display device 1C performs display based on the video signal Ssisp and the transmission video signal Sa acquired in this way.
  • FIG. 12 shows a configuration example of another display device 1D according to this modification.
  • the display device 1D includes a transmission video signal generation unit 17D.
  • the transmission video signal generation unit 17D generates the transmission video signal Sa based on the video signal Sdisp supplied from the input unit 11C, and supplies the transmission video signal Sa to the luminance information generation unit 12 and the drive unit 23. is there.
  • the transmission video signal generation unit 17D detects, for example, pattern recognition or the like in the frame image F indicated by the video signal Sdisp, for example, the main display object in the frame image F such as a person or an animal. Then, the transmission video signal generation unit 17D sets a portion where the display object is arranged in the frame image F as an image portion A, and generates a transmission video signal Sa.
  • the transmission video signal generation unit 17D sets the value of the transmittance information ⁇ so that the light transmittance is low in the region corresponding to the image portion A, and the region other than the region corresponding to the image portion A. Is set so that the light transmittance is high.
  • the display device 1D can generate the transmission video signal Sa based on the video signal Sdisp even when the transmission video signal Sa is not supplied. The effect of can be obtained. Thereby, in the display device 1D, various past video resources can be used as they are.
  • FIG. 13 shows a configuration example of the display device 1E according to this modification.
  • the display device 1E is an active shutter type stereoscopic display device.
  • the display device 1E includes an input unit 11E, a shutter control unit 18E, and shutter glasses 19E. Similar to the input unit 11, the input unit 11E is an input interface that receives the signal Sin, and separates the video signal Sdisp and the transmitted video signal Sa from the signal Sin.
  • the video signal Sdisp includes luminance information IR, IG, IB relating to the left eye image FL and luminance information IR, IG, IB relating to the right eye image FR, and the transmitted video signal Sa.
  • Map data MAP ⁇ corresponding to the left eye image FL and map data MAP ⁇ corresponding to the right eye image FL.
  • the input unit 11E also has a function of supplying a control signal to the shutter control unit 18E.
  • the shutter control unit 18E generates a shutter control signal CTL based on the control signal supplied from the input unit 11E, and supplies the shutter control signal CTL to the shutter glasses 19E through wireless communication.
  • the shutter control unit 18E supplies the shutter control signal CTL by wireless communication.
  • the present invention is not limited to this, and may be supplied by wired communication, for example.
  • the shutter glasses 19E are eyeglass-type shutter devices, and enable stereoscopic viewing when used by a user 9 (not shown).
  • the shutter glasses 19E have a left eye shutter 9L and a right eye shutter 9R.
  • the left eye shutter 9L and the right eye shutter 9R are constituted by, for example, liquid crystal shutters.
  • the transmission state (open state) and light shielding state (closed state) of the left eye shutter 9L and right eye shutter 9R are controlled by a shutter control signal CTL supplied from the shutter control unit 18E.
  • FIG. 14 schematically shows the stereoscopic display operation in the display device 1E.
  • the display units 14 and 24 alternately display the left eye image FL and the right eye image FR on the time axis.
  • the left eye shutter 9L is opened and the right eye shutter 9R is closed.
  • the user 9 observes the left eye image FL with the left eye.
  • the display units 14 and 24 display the right eye image FR
  • the left eye shutter 9L is closed and the right eye shutter 9R is opened.
  • the user 9 observes the right eye image FR with the right eye. If these operations are repeated alternately, there is a parallax between the left eye image FL and the right eye image FR, and thus the user recognizes a video composed of these series of images as a stereoscopic video with depth. be able to.
  • FIG. 15 illustrates a configuration example of another display device 1F according to the present modification
  • FIG. 16 schematically illustrates a stereoscopic display operation in the display device 1F.
  • the display device 1F is a lenticular lens type stereoscopic display device.
  • the display device 1F includes a lenticular sheet 31 as shown in FIG.
  • the lenticular sheet 31 is disposed in front of the display unit 14.
  • the lenticular sheet 31 has convex lenses (lenticular lenses LL) curved in the horizontal direction arranged in parallel in the horizontal direction.
  • Each lenticular lens LL in the lenticular sheet 31 is provided so as to correspond to the two pixels P in the display unit 14 in the horizontal direction.
  • Each pixel P of the display unit 14 alternately performs display based on the luminance information IFL related to the left eye image FL and display based on the luminance information IFR related to the right eye image FR in the horizontal direction.
  • each pixel Q of the display unit 24 includes a display based on the transmittance information ⁇ FL related to the left eye image FL and a display based on the transmittance information ⁇ FR related to the right eye image FR in the horizontal direction. Alternately. With this configuration, light based on the luminance information IFL is refracted by the lenticular lens LL and proceeds in the lower left direction in FIG.
  • the user 9 observes the light based on the luminance information IFL with the left eye as the left eye image FL, and observes the light based on the luminance information IFR with the right eye as the right eye image FR.
  • the user 9 can recognize the video displayed on the display device 1F as a stereoscopic video.
  • FIG. 17 schematically illustrates an operation of stereoscopic display in the other display device 1G according to the present modification.
  • the display device 1G is a parallax barrier type stereoscopic display device.
  • the stereoscopic display device 1G includes a parallax barrier 32 as shown in FIG.
  • the ballax barrier 32 is disposed in front of the display unit 14.
  • the parallax barrier 32 includes barriers BB that do not allow light to pass in parallel in the horizontal direction.
  • Each barrier BB in the parallax barrier 32 is provided so as to correspond to the two pixels P in the display unit 14 in the horizontal direction.
  • Each pixel P of the display unit 14 alternately performs display based on the luminance information IFL related to the left eye image FL and display based on the luminance information IFR related to the right eye image FR in the horizontal direction.
  • each pixel Q of the display unit 24 includes a display based on the transmittance information ⁇ FL related to the left eye image FL and a display based on the transmittance information ⁇ FR related to the right eye image FR in the horizontal direction. Alternately. With this configuration, the light based on the luminance information IFL travels in the lower left direction in FIG. 17 with the travel direction being restricted by the barrier BB, and the light based on the brightness information IFR is traveled in the right direction in FIG. Proceed downward.
  • the user 9 observes the light based on the luminance information IFL with the left eye as the left eye image FL, and observes the light based on the luminance information IFR with the right eye as the right eye image FR.
  • the user 9 can recognize the video displayed on the display device 1G as a stereoscopic video.
  • the display device 1 is configured using the two display units 14 and 24.
  • the display device 1 is not limited to this, and instead, for example, the display device 1H is configured using three display units. May be configured. Below, this modification is demonstrated in detail.
  • FIG. 18 illustrates a configuration example of the display device 1H.
  • the display device 1H includes a display unit 34 and a drive unit 33.
  • FIG. 19 shows the arrangement of the display units 14, 24, and 34 in the display device 1H.
  • the display unit 34 is a so-called transmissive type whose display area is configured to be transparent, like the display unit 14, and displays an image by self-emission based on driving by the driving unit 33.
  • the display unit 34 is disposed on the other side of the display unit 24 so as to overlap the display unit 24. That is, the display device 1H is configured such that the user 9A on the display unit 14 side can observe the image and the user 9B on the display unit 34 side can observe the image.
  • the display unit 34 has pixels R arranged in a matrix. In this example, each pixel R in the display unit 34 corresponds to each pixel Q in the display unit 24.
  • the display unit 34 corresponds to a specific example of “third display unit” in the present disclosure.
  • the drive unit 33 drives the display unit 34 based on the video signal Sdisp2. Specifically, the drive unit 33 drives each pixel R of the display unit 34 by line sequential scanning based on the video signal Sdisp2, and causes the display unit 34 to display based on the video signal Sdisp2. . At that time, the drive unit 33 causes the display unit 34 to display an image obtained by inverting the image displayed on the display unit 14 in the horizontal direction. As a result, the image observed by the user 9A is obtained by inverting the image observed by the user 9B in the horizontal direction.
  • the visibility can be improved regardless of the display contents and the environment in which the display device is used, and the user can observe images from both sides.
  • the display units 14 and 34 display images that are reversed with each other.
  • the present invention is not limited to this, and may be configured to display different images.
  • two images obtained by shooting a subject from different directions can be displayed on the display units 14 and 34, respectively.
  • the display unit 14 displays an image of the person viewed from the front
  • the display unit 34 displays an image of the person viewed from the back.
  • the display device 1H can perform display with higher reality.
  • the display units 14 and 24 perform display based on the transmission video signal Sa supplied from the outside.
  • the present invention is not limited to this.
  • a display mode M may be provided so that the display operation can be changed. Below, this modification is demonstrated in detail.
  • FIG. 20 illustrates a configuration example of the display device 1J according to the present modification.
  • the display device 1J includes a display mode setting unit 35J and an input unit 11J.
  • the display device 1J has two display modes M1 and M2.
  • the display mode setting unit 35 selects one of the display modes M1 and M2 based on an operation by the user, and transmits the selection result to the input unit 11J.
  • the input unit 11J separates the video signal Sdisp and the transmitted video signal Sa from the signal Sin and generates the luminance information of the video signal Sdisp as in the case of the above embodiment.
  • the transmission video signal Sa is supplied to the luminance information generation unit 12 and the driving unit 23.
  • the input unit 11J separates the video signal Sdisp and the transmission video signal Sa from the signal Sin, and supplies the video signal Sdisp to the luminance information generation unit 12 to transmit the transmission video.
  • All the values of the transparency information ⁇ in the signal Sa are replaced with “0” (non-transparent), and the replaced transmission video signal Sa is supplied to the luminance information generating unit 12 and the driving unit 23.
  • the display unit 14 performs display based on the luminance information IR2, IG2, and IB2 equivalent to the luminance information IR, IG, and IB included in the video signal Sdisp, and the display unit 24 displays the entire screen in a non-transparent state.
  • the user 9 can observe an image equivalent to the frame image F indicated by the video signal Sdisp (for example, the frame image F in FIG. 3) on the entire display screen.
  • the luminance information generation unit 12 is provided to generate the video signal Sdisp2 based on the video signal Sdisp and the transmission video signal Sa.
  • the present invention is not limited to this, and instead, for example, the luminance information generation unit 12 may be omitted, and the driving unit 13 may be configured to operate based on the video signal Sdisp.
  • the display part 14 and the display part 24 were comprised as a different body, respectively, and arrange
  • a display unit 60A corresponding to the display unit 14 and a display unit 60B corresponding to the display unit 24 are integrally formed.
  • the pixel P and the pixel Q are stacked.
  • the display device 2 according to the second embodiment will be described.
  • the display unit on the user 9 side of the two display units is configured as a non-light emitting display unit.
  • symbol is attached
  • the display device 2 includes a display unit 44, a display unit 54, and a luminance information generation unit 42.
  • the display unit 44 is a so-called transmission type whose display area is configured to be transparent, and displays an image by setting the light transmission degree based on the drive by the drive unit 13.
  • a display part 44 can be comprised using a liquid crystal element, for example.
  • the display unit 44 is disposed in front of the display unit 54 so as to overlap the display unit 54.
  • the pixels P are arranged in a matrix.
  • each pixel P includes a red (R) sub-pixel PsubR, a green (G) sub-pixel PsubG, and a blue (B) sub-pixel PsubB in this example.
  • the subpixel PsubR has a red color filter
  • the subpixel PsubG has a green color filter
  • the subpixel PsubB has a blue color filter.
  • the display unit 44 displays an image by setting the light transmittance in these sub-pixels PsubR, PsubG, and PsubB according to the luminance information IR2, IG2, and IB2.
  • the display unit 54 is a so-called transmission type whose display region is configured to be transparent, and emits white light based on driving by the driving unit 23.
  • a display part 54 can be comprised using an organic EL element, an inorganic EL element, etc., for example.
  • the present invention is not limited to this, and any transmissive type that can emit white light may be used.
  • a technique used in a field emission display (FED) Etc. may be applied.
  • a white light can be displayed by further providing a light source and irregularly reflecting the light emitted from the light source by the light control sheet.
  • the phosphor that emits white light for example, a phosphor that includes a phosphor capable of emitting light in a wide wavelength range near blue and a phosphor capable of emitting light in a wide wavelength range near yellow is used. it can.
  • the display unit 54 is disposed on the back side of the display unit 44 so as to overlap the display unit 44.
  • pixels Q are arranged in a matrix. Each pixel Q can set the brightness of white light based on the transmittance information ⁇ . That is, in the pixel Q, the higher the value of the transmittance information ⁇ , the lower the luminance and the higher the light transmittance, and the lower the value of the transmittance information ⁇ , the higher the luminance of white light.
  • the luminance information generation unit 42 generates the video signal Sdisp2 based on the video signal Sdisp and the transmission video signal Sa, similarly to the luminance information generation unit 12 according to the first embodiment. Specifically, the luminance information generation unit 42 generates luminance information IR2, IG2, IB2 based on the luminance information IR, IG, IB in a certain pixel and the transparency information ⁇ in the pixel, respectively.
  • the luminance information generation unit 42 uses the luminance information IR, IG, IB as the luminance information IR2, IG2, IB2 as it is for a pixel having a sufficiently low value of the transmittance information ⁇ (a pixel having a sufficiently low light transmittance), In a pixel having a high value of the transmittance information ⁇ (a pixel having a high light transmittance), the luminance information IR2, IG2, IB2 is generated by increasing the values of the luminance information IR, IG, IB.
  • the display unit 44 is a device configured to be able to change the light transmittance, by increasing the value of the luminance information in a pixel having a high value of the transmittance information ⁇ (a pixel having a high light transmittance).
  • the light transmission degree in the pixel P of the display unit 44 is to be increased.
  • the luminance information generation unit 42 outputs the luminance information IR2, IG2, IB2 generated in this way as a video signal Sdisp2.
  • the display unit 44 corresponds to a specific example of “first display unit” in the present disclosure.
  • the display unit 54 corresponds to a specific example of “second display unit” in the present disclosure.
  • the display device 2 performs display based on the signal Sin in which the video signal Sdisp and the transmission video signal Sa are multiplexed. At that time, the display device 2 sets the light transmittance in each pixel P of the display unit 44 and sets the luminance of white light in each pixel Q of the display unit 54 based on the transmittance information ⁇ .
  • the display device 2 sets the light transmittance in each pixel P of the display unit 44 and sets the luminance of white light in each pixel Q of the display unit 54 based on the transmittance information ⁇ .
  • FIG. 22A shows an observation image G observed by the user 9 in a bright environment such as daytime.
  • the user 9 can observe the striped horse in the portion where the striped horse is arranged (image portion A), and the portion other than the portion where the striped horse is arranged (part other than the image portion A).
  • the scenery beyond the display device 2 in this example, the house 8 in a bright environment
  • the display unit 44 displays the luminance information included in the video signal Sdisp.
  • Display is performed based on luminance information IR2, IG2, and IB2 equivalent to IR, IG, and IB, and the display unit 54 increases the luminance of white light in this portion. Accordingly, the user 9 observes an image equivalent to the image indicated by the video signal Sdisp in the image portion A.
  • the portion other than the portion where the striped horse is arranged has a high value of the transmittance information ⁇ (the light transmittance is high). Increase the degree. Thereby, the user 9 observes the scenery beyond the display device 2 (in this example, the house 8 in a bright environment) other than the image part A.
  • FIG. 22B shows an observation image G observed by the user 9 in a dark environment such as evening.
  • the user 9 can observe the striped horse at the portion where the striped horse is arranged (image portion A), and the portion other than the portion where the striped horse is arranged (part other than the image portion A).
  • a landscape beyond the display device 2 in this example, a house 8 in a dark environment
  • the display unit 44 displays the luminance information included in the video signal Sdisp.
  • Display is performed based on luminance information IR2, IG2, and IB2 equivalent to IR, IG, and IB, and the display unit 54 increases the luminance of white light in this portion. Accordingly, the user 9 observes an image equivalent to the image indicated by the video signal Sdisp in the image portion A.
  • the display units 44 and 54 transmit light in this portion. Increase the degree. Thereby, the user 9 observes the scenery beyond the display device 2 (in this example, the house 8 in a dark environment) other than the image part A.
  • the luminance at each pixel P of the display unit 44 is set and the light transmission level at each pixel Q of the display unit 54 is set based on the transmittance information ⁇ .
  • the user 9 can observe an image equivalent to the image indicated by the video signal Sdisp in the image portion A, and can observe a landscape beyond the display device 2 in a portion other than the image portion A. Visibility can be improved compared with the case of the comparative example shown below.
  • the display device 2 ⁇ / b> R according to the comparative example includes an input unit 11 ⁇ / b> R, a drive unit 13, and a display unit 44.
  • the display device 2R according to the comparative example is obtained by omitting the luminance information generation unit 42, the drive unit 23, and the display unit 54 from the display device 2 according to the present embodiment, and without using the transmission video signal Sa. The display is performed based only on the video signal Sdisp.
  • FIG. 23 shows an observation image G observed by the user 9 in a dark environment such as evening.
  • display is performed based on the luminance information IR, IG, IB included in the video signal Sdisp.
  • the white part of the frame image F (FIG. 3)
  • the brightness information IR, IG, and IB are high, so that the light transmission degree can be changed.
  • the display unit 44 which is a device
  • the light transmission degree in these parts becomes high. Therefore, the user 9 observes the scenery on the other side of the display device 2 (in this example, the house 8 in a dark environment).
  • the black portion of the frame image F (FIG. 3), that is, the black portion in the striped pattern of the striped horse and the portion other than the striped horse, the values of the luminance information IR, IG, IB are low. The light transmission is lowered and black is displayed.
  • the user 9 may not easily see the striped horse. That is, in this portion, in the black portion of the striped pattern of the striped horse, the user 9 observes the black color due to the low light transmittance in the display unit 44. In the white portion of the striped pattern of the striped horse, the user 9 observes the scenery (house 8) on the other side of the display device 2 through the display unit 44. At this time, since the difference between the black color displayed on the display unit 44 and the black color of the environment is small, the user 9 may not easily see the striped horse.
  • the user 9 may not easily see the striped horse. That is, in this portion, in the black portion of the striped pattern of the striped horse, the user 9 observes the black color due to the low light transmittance in the display unit 44. Moreover, since the display part 44 permeate
  • the light transmission degree in each pixel P of the display unit 44 is set based on the transmittance information ⁇ , and the luminance of white light in each pixel Q of the display unit 54 is set. I set it.
  • the display unit 44 displays an image equivalent to the image indicated by the video signal Sdisp, and the display unit 54 displays the brightness of the white light. Make it high.
  • the display units 44 and 54 increase the light transmission degree in portions other than the portion where the striped horse is arranged. Thereby, as shown in FIG. 22B, the user 9 can visually recognize the white and black striped pattern of the striped horse even in a dark environment such as evening.
  • the display device 2 can improve the visibility regardless of the display contents and the environment in which the display device is used.
  • the light transmission degree in each pixel P of the display unit 44 is set based on the transmittance information, and the luminance of white light in each pixel Q of the display unit 54 is set. Therefore, visibility can be improved regardless of the display content and the environment in which the display device is used. Other effects are the same as in the case of the first embodiment.
  • each pixel Q of the display unit 54 emits light.
  • each pixel Q is configured to reflect light. May be.
  • the pixel Q can be configured such that the light reflection degree can be changed according to the value of the transmittance information ⁇ . In this case, in the pixel Q, the higher the value of the transmission information ⁇ , the lower the light reflection degree and the higher the light transmission degree, and the lower the value of the transmission information ⁇ , the higher the light reflection degree.
  • an electrochemical solution containing silver ions between an ITO (Indium Tin Oxide) film having a flat surface and an ITO film having a rough surface As a device capable of changing the light transmission degree and the light reflection degree as described above, for example, an electrochemical solution containing silver ions between an ITO (Indium Tin Oxide) film having a flat surface and an ITO film having a rough surface.
  • positioned is mentioned.
  • the display device displays an image equivalent to the image indicated by the video signal Sdisp in the image portion A, as in the so-called reflective display device. Therefore, the user 9 can observe an image equivalent to the image indicated by the video signal Sdisp in the image portion A, and can observe a landscape beyond the display device 2 in a portion other than the image portion A. it can.
  • FIG. 24 illustrates an operation example of the television device 100 to which the display device of the above-described embodiment or the like is applied.
  • the television apparatus 100 is configured as a window glass of a building.
  • the television device 100 has two display modes N1 and N2.
  • the operation will be described by taking the case where the display device 1 is applied as an example.
  • the television device 100 displays the curtain 110, for example, as shown in FIG.
  • the curtain 110 is set as the image portion A.
  • both the display parts 14 and 24 will be in a transmissive state. That is, in a portion other than the image portion A, the television device 100 functions as a normal window glass.
  • the television device 100 displays the broadcast video.
  • the display unit 14 performs display based on luminance information IR2, IG2, IB2 equivalent to the luminance information IR, IG, IB included in the broadcast video signal Sdisp, and the display unit 24 includes: Black color is displayed by making the entire screen opaque.
  • the user 9 can observe an image equivalent to the frame image F (for example, the frame image F in FIG. 3) indicated by the broadcast video signal Sdisp on the entire display screen.
  • the curtain 110 can be opened and closed by providing a touch panel in the television device 100 and sliding the finger while the finger is touching the touch panel in the display mode N1. At that time, when the curtain 110 is closed, the color of the curtain 110 may be set to a slightly dark color. Thus, in the television apparatus 100, the shape and color of the curtain can be freely changed by the user operating the touch panel.
  • the pixels other than the curtain 110 may be caused to emit light so as to function as an illumination device.
  • the user can feel like a bright and clear day even on a dark rainy day, and can feel like a daytime even in the evening.
  • the curtain 110 is displayed.
  • the present invention is not limited to this.
  • a blind or a roll screen may be displayed.
  • the television device is configured as a window glass of a building.
  • the present invention is not limited to this.
  • the television device may be configured as a window glass of a car.
  • FIG. 25 shows the appearance of a head mounted display to which the display device of the above-described embodiment or the like is applied.
  • the head mounted display includes, for example, a main body unit 200 and a display screen unit 210.
  • the display screen unit 210 is configured using the display device according to the above-described embodiment and the like.
  • the display devices of the above-described embodiments are electronic devices in all fields such as computer displays, video monitors, home cinema displays, flexible displays, commercial displays, industrial displays, head-up displays, watches, electronic billboards, etc. It can be applied to equipment.
  • the display device according to the above embodiment and the like can be applied to electronic devices in all fields that display images.
  • the display device 1 and the like perform display based on the signal Sin obtained by multiplexing the video signal Sdisp and the transmission video signal Sa. It may be recorded on a recording medium. Further, when the display device 1 or the like is applied to a television device, the signal Sin may be supplied by a broadcast wave.

Landscapes

  • Engineering & Computer Science (AREA)
  • Multimedia (AREA)
  • Signal Processing (AREA)
  • Control Of Indicators Other Than Cathode Ray Tubes (AREA)
  • Testing, Inspecting, Measuring Of Stereoscopic Televisions And Televisions (AREA)
  • Devices For Indicating Variable Information By Combining Individual Elements (AREA)
  • Electroluminescent Light Sources (AREA)
  • Transforming Electric Information Into Light Information (AREA)
PCT/JP2014/081091 2013-11-26 2014-11-25 表示装置および表示方法 Ceased WO2015080096A1 (ja)

Priority Applications (1)

Application Number Priority Date Filing Date Title
US15/164,397 US10182226B2 (en) 2013-11-26 2016-05-25 Display unit, display system, and display method

Applications Claiming Priority (2)

Application Number Priority Date Filing Date Title
JP2013-244226 2013-11-26
JP2013244226A JP6326219B2 (ja) 2013-11-26 2013-11-26 表示装置および表示方法

Related Child Applications (1)

Application Number Title Priority Date Filing Date
US15/164,397 Continuation US10182226B2 (en) 2013-11-26 2016-05-25 Display unit, display system, and display method

Publications (1)

Publication Number Publication Date
WO2015080096A1 true WO2015080096A1 (ja) 2015-06-04

Family

ID=53199036

Family Applications (1)

Application Number Title Priority Date Filing Date
PCT/JP2014/081091 Ceased WO2015080096A1 (ja) 2013-11-26 2014-11-25 表示装置および表示方法

Country Status (3)

Country Link
US (1) US10182226B2 (enExample)
JP (1) JP6326219B2 (enExample)
WO (1) WO2015080096A1 (enExample)

Families Citing this family (4)

* Cited by examiner, † Cited by third party
Publication number Priority date Publication date Assignee Title
JP3375304B2 (ja) 1999-06-30 2003-02-10 株式会社ピコイ ドレン
US9666118B2 (en) * 2015-10-01 2017-05-30 Chunghwa Picture Tubes, Ltd. Transparent display apparatus
JP2019152794A (ja) * 2018-03-05 2019-09-12 ソニー株式会社 情報処理装置、情報処理方法およびプログラム
WO2020183893A1 (ja) * 2019-03-14 2020-09-17 ソニー株式会社 情報処理装置及び情報処理方法、並びに移動体装置

Citations (9)

* Cited by examiner, † Cited by third party
Publication number Priority date Publication date Assignee Title
JPH08160340A (ja) * 1994-12-05 1996-06-21 Canon Inc 画像観察装置
JPH1090719A (ja) * 1996-09-13 1998-04-10 Toshiba Corp 液晶表示装置
JPH10161802A (ja) * 1996-11-29 1998-06-19 Canon Inc 画像表示方法及び装置
JP2007108290A (ja) * 2005-10-12 2007-04-26 Matsushita Electric Ind Co Ltd 擬似階調表示回路
WO2009157224A1 (ja) * 2008-06-27 2009-12-30 シャープ株式会社 液晶表示装置の制御装置、液晶表示装置、液晶表示装置の制御方法、プログラムおよび記録媒体
JP2011259354A (ja) * 2010-06-11 2011-12-22 Sharp Corp 視聴環境制御システム、送信装置、受信装置
JP2012155320A (ja) * 2011-01-07 2012-08-16 Semiconductor Energy Lab Co Ltd 表示装置
JP2013109056A (ja) * 2011-11-18 2013-06-06 Semiconductor Energy Lab Co Ltd 表示装置
JP2013210643A (ja) * 2013-04-26 2013-10-10 Sony Corp 表示装置、表示方法

Family Cites Families (30)

* Cited by examiner, † Cited by third party
Publication number Priority date Publication date Assignee Title
US6157382A (en) 1996-11-29 2000-12-05 Canon Kabushiki Kaisha Image display method and apparatus therefor
JPH1190719A (ja) 1997-09-11 1999-04-06 Mitsubishi Electric Corp 面取り工具
JP2002090782A (ja) * 2000-09-12 2002-03-27 Canon Inc 表示装置、及び該表示装置の駆動方法
JP2002296375A (ja) * 2001-03-29 2002-10-09 Seiko Epson Corp 情報表示装置、腕時計および携帯型情報機器
JP2003142146A (ja) * 2001-10-31 2003-05-16 Japan Storage Battery Co Ltd 電 池
JP4218249B2 (ja) * 2002-03-07 2009-02-04 株式会社日立製作所 表示装置
KR20050045433A (ko) * 2003-11-11 2005-05-17 삼성전자주식회사 표시장치
JP2005208125A (ja) * 2004-01-20 2005-08-04 Toshiba Lsi System Support Kk 画像表示装置およびそれを搭載した電子機器
FR2871110B1 (fr) * 2004-06-03 2006-09-22 Peugeot Citroen Automobiles Sa Element de transmission pour une chaine de traction de type hybride parallele
JP4399789B2 (ja) * 2004-06-21 2010-01-20 日本ビクター株式会社 3次元画像鑑賞メガネ
US7164095B2 (en) * 2004-07-07 2007-01-16 Noritsu Koki Co., Ltd. Microwave plasma nozzle with enhanced plume stability and heating efficiency
US7609230B2 (en) * 2004-09-23 2009-10-27 Hewlett-Packard Development Company, L.P. Display method and system using transmissive and emissive components
JP2006162680A (ja) * 2004-12-02 2006-06-22 Nec Corp 液晶表示装置及び移動体通信端末
JP2008083510A (ja) * 2006-09-28 2008-04-10 Toppan Printing Co Ltd 表示装置及び表示方法
US8228272B2 (en) * 2006-12-22 2012-07-24 Hong Kong Applied Science And Technlogy Research Institute Company Limited Backlight device and liquid crystal display incorporating the backlight device
US8207931B2 (en) * 2007-05-31 2012-06-26 Hong Kong Applied Science and Technology Research Institute Company Limited Method of displaying a low dynamic range image in a high dynamic range
US10209015B2 (en) * 2009-07-17 2019-02-19 Lockheed Martin Corporation Heat exchanger and method for making
JP5306097B2 (ja) 2009-07-29 2013-10-02 双葉電子工業株式会社 透過型有機el表示装置
US20120249610A1 (en) * 2009-09-28 2012-10-04 Sharp Kabushiki Kaisha Display device and display method therefor
TWI436131B (zh) * 2009-11-19 2014-05-01 Innolux Corp 影像顯示系統
JP2011252943A (ja) * 2010-05-31 2011-12-15 Sony Corp 立体表示システム
TWI490738B (zh) * 2010-07-23 2015-07-01 Hon Hai Prec Ind Co Ltd 觸控面板及觸控液晶顯示裝置
US20120026836A1 (en) * 2010-08-02 2012-02-02 Lucian Scripca Proximity timer switch
KR20120088100A (ko) * 2011-01-31 2012-08-08 삼성전자주식회사 디스플레이 컨트롤러 및 디스플레이 시스템
JP5782787B2 (ja) * 2011-04-01 2015-09-24 ソニー株式会社 表示装置および表示方法
EP2515610A1 (en) * 2011-04-19 2012-10-24 Samsung LED Co., Ltd. Method, system and apparatus for controlling light
JP2013041099A (ja) * 2011-08-15 2013-02-28 Panasonic Corp 透明ディスプレイ装置
JP2013104912A (ja) * 2011-11-10 2013-05-30 Sony Corp 表示装置および表示方法
JP2013142804A (ja) * 2012-01-11 2013-07-22 Semiconductor Energy Lab Co Ltd 表示装置及び表示装置の駆動方法。
JP5942668B2 (ja) * 2012-07-25 2016-06-29 ソニー株式会社 表示装置、表示駆動回路、および表示駆動方法

Patent Citations (9)

* Cited by examiner, † Cited by third party
Publication number Priority date Publication date Assignee Title
JPH08160340A (ja) * 1994-12-05 1996-06-21 Canon Inc 画像観察装置
JPH1090719A (ja) * 1996-09-13 1998-04-10 Toshiba Corp 液晶表示装置
JPH10161802A (ja) * 1996-11-29 1998-06-19 Canon Inc 画像表示方法及び装置
JP2007108290A (ja) * 2005-10-12 2007-04-26 Matsushita Electric Ind Co Ltd 擬似階調表示回路
WO2009157224A1 (ja) * 2008-06-27 2009-12-30 シャープ株式会社 液晶表示装置の制御装置、液晶表示装置、液晶表示装置の制御方法、プログラムおよび記録媒体
JP2011259354A (ja) * 2010-06-11 2011-12-22 Sharp Corp 視聴環境制御システム、送信装置、受信装置
JP2012155320A (ja) * 2011-01-07 2012-08-16 Semiconductor Energy Lab Co Ltd 表示装置
JP2013109056A (ja) * 2011-11-18 2013-06-06 Semiconductor Energy Lab Co Ltd 表示装置
JP2013210643A (ja) * 2013-04-26 2013-10-10 Sony Corp 表示装置、表示方法

Also Published As

Publication number Publication date
JP6326219B2 (ja) 2018-05-16
US20160269721A1 (en) 2016-09-15
JP2015104014A (ja) 2015-06-04
US10182226B2 (en) 2019-01-15

Similar Documents

Publication Publication Date Title
US8711061B2 (en) Multiplanar image displays and media formatted to provide 3D imagery without 3D glasses
US8976323B2 (en) Switching dual layer display with independent layer content and a dynamic mask
CN107924059B (zh) 在头戴式显示器中显示双眼重叠图像
JP4468370B2 (ja) 三次元表示方法、装置およびプログラム
JP5722106B2 (ja) 表示パネル、表示装置および電子機器
US20100149317A1 (en) Method of improved three dimensional display technique
JP2010072632A (ja) 2次元と3次元兼用映像表示装置および方法
US10037746B2 (en) System and method for displaying layered images
KR20060124988A (ko) 다층 유기발광소자를 이용한 체적형 3차원 디스플레이시스템
US10535291B2 (en) Display device and control method thereof, and display system
JP2015127799A (ja) 表示装置、及び表示装置用枠
US10642061B2 (en) Display panel and display apparatus
JP6326219B2 (ja) 表示装置および表示方法
JP2006330610A (ja) 三次元表示装置
JP5157231B2 (ja) 表示装置および電子機器
CN105467604B (zh) 一种3d显示装置及其驱动方法
CN104360515A (zh) 一种新型3d液晶显示器
US20170357099A1 (en) Overlay Display
US20130057545A1 (en) Display device and display method and
JP2004226857A (ja) 表示装置及び表示デバイス
JP6513376B2 (ja) 表示装置、及び表示装置用枠
CN108388020A (zh) 显示器及显示系统
CN108469684B (zh) 一种透明显示器及一种显示系统
JP2012109763A (ja) シャッター眼鏡、及び画像表示システム
JP2005099425A (ja) 三次元表示装置

Legal Events

Date Code Title Description
121 Ep: the epo has been informed by wipo that ep was designated in this application

Ref document number: 14866468

Country of ref document: EP

Kind code of ref document: A1

NENP Non-entry into the national phase

Ref country code: DE

122 Ep: pct application non-entry in european phase

Ref document number: 14866468

Country of ref document: EP

Kind code of ref document: A1