WO2014155880A1 - プリンターの用紙切断装置 - Google Patents

プリンターの用紙切断装置 Download PDF

Info

Publication number
WO2014155880A1
WO2014155880A1 PCT/JP2013/084730 JP2013084730W WO2014155880A1 WO 2014155880 A1 WO2014155880 A1 WO 2014155880A1 JP 2013084730 W JP2013084730 W JP 2013084730W WO 2014155880 A1 WO2014155880 A1 WO 2014155880A1
Authority
WO
WIPO (PCT)
Prior art keywords
push button
printer
paper
platen roller
paper cutting
Prior art date
Legal status (The legal status is an assumption and is not a legal conclusion. Google has not performed a legal analysis and makes no representation as to the accuracy of the status listed.)
Ceased
Application number
PCT/JP2013/084730
Other languages
English (en)
French (fr)
Japanese (ja)
Inventor
健 小原
Current Assignee (The listed assignees may be inaccurate. Google has not performed a legal analysis and makes no representation or warranty as to the accuracy of the list.)
Sato Corp
Original Assignee
Sato Holdings Corp
Priority date (The priority date is an assumption and is not a legal conclusion. Google has not performed a legal analysis and makes no representation as to the accuracy of the date listed.)
Filing date
Publication date
Application filed by Sato Holdings Corp filed Critical Sato Holdings Corp
Priority to CN201380075028.5A priority Critical patent/CN105050823B/zh
Publication of WO2014155880A1 publication Critical patent/WO2014155880A1/ja
Anticipated expiration legal-status Critical
Ceased legal-status Critical Current

Links

Images

Classifications

    • BPERFORMING OPERATIONS; TRANSPORTING
    • B41PRINTING; LINING MACHINES; TYPEWRITERS; STAMPS
    • B41JTYPEWRITERS; SELECTIVE PRINTING MECHANISMS, i.e. MECHANISMS PRINTING OTHERWISE THAN FROM A FORME; CORRECTION OF TYPOGRAPHICAL ERRORS
    • B41J11/00Devices or arrangements  of selective printing mechanisms, e.g. ink-jet printers or thermal printers, for supporting or handling copy material in sheet or web form
    • B41J11/66Applications of cutting devices
    • B41J11/70Applications of cutting devices cutting perpendicular to the direction of paper feed
    • BPERFORMING OPERATIONS; TRANSPORTING
    • B26HAND CUTTING TOOLS; CUTTING; SEVERING
    • B26DCUTTING; DETAILS COMMON TO MACHINES FOR PERFORATING, PUNCHING, CUTTING-OUT, STAMPING-OUT OR SEVERING
    • B26D7/00Details of apparatus for cutting, cutting-out, stamping-out, punching, perforating, or severing by means other than cutting
    • B26D7/06Arrangements for feeding or delivering work of other than sheet, web, or filamentary form
    • BPERFORMING OPERATIONS; TRANSPORTING
    • B26HAND CUTTING TOOLS; CUTTING; SEVERING
    • B26DCUTTING; DETAILS COMMON TO MACHINES FOR PERFORATING, PUNCHING, CUTTING-OUT, STAMPING-OUT OR SEVERING
    • B26D1/00Cutting through work characterised by the nature or movement of the cutting member or particular materials not otherwise provided for; Apparatus or machines therefor; Cutting members therefor
    • B26D1/01Cutting through work characterised by the nature or movement of the cutting member or particular materials not otherwise provided for; Apparatus or machines therefor; Cutting members therefor involving a cutting member which does not travel with the work
    • B26D1/04Cutting through work characterised by the nature or movement of the cutting member or particular materials not otherwise provided for; Apparatus or machines therefor; Cutting members therefor involving a cutting member which does not travel with the work having a linearly-movable cutting member
    • B26D1/06Cutting through work characterised by the nature or movement of the cutting member or particular materials not otherwise provided for; Apparatus or machines therefor; Cutting members therefor involving a cutting member which does not travel with the work having a linearly-movable cutting member wherein the cutting member reciprocates
    • B26D1/08Cutting through work characterised by the nature or movement of the cutting member or particular materials not otherwise provided for; Apparatus or machines therefor; Cutting members therefor involving a cutting member which does not travel with the work having a linearly-movable cutting member wherein the cutting member reciprocates of the guillotine type
    • B26D1/085Cutting through work characterised by the nature or movement of the cutting member or particular materials not otherwise provided for; Apparatus or machines therefor; Cutting members therefor involving a cutting member which does not travel with the work having a linearly-movable cutting member wherein the cutting member reciprocates of the guillotine type for thin material, e.g. for sheets, strips or the like
    • BPERFORMING OPERATIONS; TRANSPORTING
    • B26HAND CUTTING TOOLS; CUTTING; SEVERING
    • B26DCUTTING; DETAILS COMMON TO MACHINES FOR PERFORATING, PUNCHING, CUTTING-OUT, STAMPING-OUT OR SEVERING
    • B26D7/00Details of apparatus for cutting, cutting-out, stamping-out, punching, perforating, or severing by means other than cutting
    • B26D2007/0012Details, accessories or auxiliary or special operations not otherwise provided for
    • B26D2007/005Details, accessories or auxiliary or special operations not otherwise provided for cutters, e.g. guillotines, used in a label maker or printer

Definitions

  • the present invention relates to a paper cutting device for a printer, and more particularly to a paper cutting device for a printer with a reduced number of parts.
  • the present invention has been considered in view of the above problems, and it is an object of the present invention to provide a paper cutting device for a printer that can be easily operated with a small size and light weight without reducing the number of components and complicating the device. Let it be an issue. *
  • Another object of the present invention is to provide a paper cutting device for a printer that can be used both as a push button for opening an opening / closing cover and a manual cutter for cutting printing paper.
  • the present invention focuses on the integration of the release push button and the manual cutter, and includes a printer housing, a print head capable of printing on print paper loaded in the printer housing, and the print head.
  • Paper cutting of a printer having a platen roller capable of transporting the printing paper by sandwiching and rotating the printing paper and an opening push button for operating the platen roller and the printing head to move away from each other
  • the push button for opening is made to face an issue port of the printing paper printed by the print head, and a lower end portion of the push button for opening is formed as a paper cutting end portion.
  • the paper cutting end of the opening push button can be opposed to the print paper issued to the issuing port from between the print head and the platen roller.
  • a head biasing spring that presses the print head against the platen roller is provided, and the release push button is operated with respect to the printer housing against the biasing force of the head biasing spring.
  • the platen rollers can be separated from each other.
  • the print head is attached to the printer housing, and the platen roller is rotatably attached to an open / close cover provided in the printer housing so as to be openable / closable.
  • the open / close cover is attached by operating the release push button.
  • the platen roller can be separated from the print head by opening the printer housing.
  • a metal plate can be attached to the paper cutting end.
  • the release push button is made to face the print paper issuing port printed by the print head, and the lower end of the release push button is formed as the paper cut end. Therefore, the push button for opening and the manual cutter can be integrated, the number of parts can be reduced, and the printer, especially the portable printer, can be reduced in size and weight.
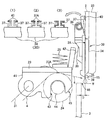
  • FIG. 1 is a schematic longitudinal sectional view of a portable printer 1 having a paper cutting device 15 according to a first embodiment of the present invention.
  • FIG. 6 is a cross-sectional view of the main part of the opening push button 30 (paper cutting device 15).
  • 3 is a perspective view of the release push button 30.
  • FIG. It is principal part sectional drawing of the push button 30 for release (paper cutting device 50) part in the paper cutting device 50 by 2nd Example of this invention.
  • the release push button is made to face the printing paper issuing port, and the release push button and the manual cutter are integrated. It was realized.
  • FIG. 1 is a schematic longitudinal sectional view of the above-described printer, for example, a portable printer 1.
  • the portable printer 1 is configured as a thermal printer, and includes a printer housing 2, an opening / closing cover 3, and a label continuum 4. (Printing paper) supply unit 5, position detection unit 6, printing unit 7, battery storage chamber 9 for charging battery 8, adapter connection terminal 10, input unit 11, display unit 12, and control unit 13. And a power switch 14 and a paper cutting device 15.
  • the printer housing 2 has a size that can be carried by an operator.
  • the printer housing 2 is provided with a belt hanging portion 16 at the top, and the entire portable printer 1 can be suspended from the shoulder of the operator by a shoulder belt 17. Yes.
  • it can also be set as the structure which can be mounted
  • the opening / closing cover 3 is provided so as to be openable / closable around a cover shaft 18 positioned at a lower corner in FIG. 1, and the label continuous body 4 is stored in the supply unit 5 and the portable printer 1. Can be loaded. *
  • the label continuous body 4 has a configuration in which a plurality of label pieces 20 are temporarily attached on a strip-shaped mount 19.
  • the label piece 20 is a so-called thermal label, and a surface is coated with a thermosensitive coloring layer so that printing is possible.
  • the supply unit 5 winds the label continuum 4 in a roll shape and stores it in the roll, and can feed it out in the direction of the position detection unit 6 and the printing unit 7 in a strip shape. It should be noted that the position detection marks 21 are printed in advance at a predetermined pitch on the back side of the mount 19. *
  • the position detection unit 6 includes a position detection sensor 22 attached to the opening / closing cover 3 side, detects a position detection mark 21 located on the back side of the label continuous body 4, and detects the label continuous body 4 (label) for the printing unit 7. The relative position of the piece 20) can be detected.
  • the printing unit 7 includes a thermal head 23 (printing head) attached to the printer housing 2 side, a platen roller 24 attached to the opening / closing cover 3 side, and a head biasing spring 25 that biases the thermal head 23 toward the platen roller 24. And a drive motor 26.
  • a platen roller gear 28 is provided at one end of the platen roller shaft 27 of the platen roller 24, and a connection gear 29 for transmitting the rotation of the drive motor 26 is provided.
  • the label continuum 4 is sandwiched between the thermal head 23 and the platen roller 24, the platen roller 24 is rotated by the drive motor 26, and the thermal is generated according to the print data supplied from the control unit 13 to the thermal head 23.
  • a heating element (not shown) of the head 23 is heated to perform thermal printing on the label continuum 4 (label piece 20).
  • the printer housing 2 is provided with an opening push button 30 and is operated so as to push the opening push button 30 inward of the printer housing 2, thereby resisting the urging force of the head urging spring 25. 1 is rotated counterclockwise in FIG. 1 around the head shaft 31 to separate the platen roller 24 from the thermal head 23, and the label continuous body 4 can be inserted and loaded between the thermal head 23 and the platen roller 24. To do. As described above, the platen roller 24 and the position detection sensor 22 are attached to the opening / closing cover 3, and the opening / closing cover 3 is separated from the thermal head 23 as the opening / closing of the opening / closing cover 3 from the printer housing 2 is rotated. *
  • the rechargeable battery 8 can be removed from and stored in the battery storage chamber 9, and supplies power to the entire portable printer 1 as well as the printing unit 7 (the thermal head 23 and the drive motor 26). *
  • the adapter connection terminal 10 is provided in the printer housing 2 and is connected to an external power source (not shown) to connect an AC adapter 32 for charging the charging battery 8. *
  • the input unit 11 can input data or commands necessary for the portable printer 1.
  • the display unit 12 can display information input by the input unit 11 and other necessary information. *
  • the control unit 13 is provided on an electronic board or the like, and is between the position detection unit 6, the printing unit 7, the charging battery 8, the adapter connection terminal 10, the input unit 11, the display unit 12, and the power switch 14 described above. Data and commands are exchanged and these are controlled appropriately. *
  • the input unit 11, the display unit 12, the power switch 14, the paper cutting device 15 (particularly located on the surface side of the printer housing 2)
  • the area surface on which the opening push button 30), the opening / closing cover 3 and the like are disposed is recessed from the other area surface of the printer housing 2 (in the illustrated example, the edge of the printer housing 2), and the other area.
  • a cushion material 33 made of an elastomer or other shock absorbing material is provided on the surface.
  • the cushion material 33 is similarly provided on the other ridges of the rectangular parallelepiped printer housing 2 to ensure the impact resistance of the entire portable printer 1.
  • the paper cutting device 15 is provided with the above-described opening push button 30.
  • 2 is a cross-sectional view of the main part of the opening push button 30 (paper cutting device 15)
  • FIG. 3 is a perspective view of the opening push button 30.
  • the opening push button 30 is A button main body 34, a waterproof adhesion surface 35 formed on the entire periphery of the peripheral edge of the button main body 34, a button shaft 36 formed integrally with the button main body 34, and a button urging spring 37 as an elastic body;
  • a push-out protrusion 38 (FIG. 2) formed to protrude from the back side of the button main body 34 and a paper cutting end 39 formed at the lower end of the waterproof adhesion surface 35.
  • FIG. 2 is a cross-sectional view of the main part of the opening push button 30 (paper cutting device 15)
  • FIG. 3 is a perspective view of the opening push button 30.
  • the opening push button 30 is A button main body 34, a waterproof adhesion surface 35 formed on the entire
  • the button main body 34 is a portion exposed to the surface side of the printer housing 2, and an operator who uses the portable printer 1 can move the inside of the printer housing 2 (from the right side in FIG. 2). It is the part pushed in toward the left. *
  • the waterproof contact surface 35 can be formed in a state of being recessed toward the inner side of the printer housing 2 relative to the button body 34 to enter the inside of the printer housing 2, and the inner wall surface 2 ⁇ / b> A of the printer housing 2. This is a planar area that can be closely attached to the surface. However, as shown in FIG. 3 in particular, the waterproof contact surface 35 extends longer like a ridge along the length direction of the thermal head 23 (the width direction of the label continuous body 4).
  • the heating element 23A (FIG. 2) can be covered entirely, and the sheet cutting end 39, which is the lower end of the heating element 23A, can cut the continuous label body 4 along the width direction. *
  • the pair of left and right button shafts 36 are pivotally attached to an internal bracket (not shown) of the printer housing 2, and the entire push button 30 for opening can be rotated by pushing the button body 34.
  • the pair of left and right button urging springs 37 meander in the same plane as the waterproof contact surface 35 and form it at the end of the release push button 30, and the part beyond the button shaft 36 from the button body 34.
  • the abutting shaft portion 40 is erected at each end portion located in the position. In particular, as shown in FIG. 2, the respective abutting shaft portions 40 abut against the inner wall surface 2 ⁇ / b> A of the printer housing 2, and the pair of left and right button urging springs 37 bend to exhibit their urging force and open.
  • the waterproof adhesion surface 35 of the push button 30 can be adhered to the inner wall surface 2 ⁇ / b> A of the printer housing 2.
  • the button shaft 36 of the release push button 30 is located between the button urging spring 37 and the waterproof contact surface 35, and the waterproof contact surface 35 is the inner wall surface of the printer housing 2.
  • the button urging spring 37 can urge the release push button 30 so as to be in close contact with 2A.
  • FIG. 2 (1), (2), and (3) are plan explanatory views schematically showing the button main body 34 and the button urging spring 37 of the release push button 30.
  • FIG. 2A is an explanatory diagram when the abutting shaft portion 40 of the button urging spring 37 abuts against the inner wall surface 2A of the printer housing 2, and the urging force by the button urging spring 37 will be described later.
  • the button urging spring 37 is not formed with the abutting shaft portion 40, and the spring tip portion 37 A (the portion indicated by hatching in the drawing) is brought into contact with the inner wall surface 2 A of the printer housing 2.
  • the biasing force by the button biasing spring 37 is larger than the case of FIG. 2 (2) and FIG. 2 (3). That is, by selecting the urging posture or the contact area of the button urging spring 37 with respect to the inner wall surface 2A of the printer housing 2, the necessary urging force can be applied according to the degree of the waterproof function required for the waterproof contact surface 35. It can be designed as appropriate.
  • a cover lock 41 holding the thermal head 23 is rotated around the head shaft 31 on the back side of the release push button 30 (inner side of the printer housing 2). It is provided as possible.
  • the cover lock 41 is provided with an abutting inclined plate 42 integrally formed at a portion facing the push-in protrusion 38 at the center of the upper edge portion, and has a cross section on the opposite side through the thermal head 23.
  • a pair of left and right platen roller lock engaging portions 43 having a semicircular arc shape are formed.
  • the pair of left and right lock pins 44 (FIG. 1) of the platen roller 24 can be engaged with and disengaged from the platen roller lock engagement portion 43. With the lock pin 44 engaged with the platen roller lock engaging portion 43, the platen roller 24 can be brought into contact with the thermal head 23 with a predetermined pressing force (printing pressure), and the label continuous body 4 sandwiched therebetween can Printing is possible.
  • a predetermined pressing force printing pressure
  • the pushing protrusion 38 located on the back side of the button main body 34 faces the contact inclined plate 42 of the cover lock 41, and is used for opening around the button shaft 36 against the urging force of the button urging spring 37.
  • the pushing protrusion 38 presses the contact inclined plate 42, and the cover locks around the head shaft 31 against the urging force of the head urging spring 25.
  • 41 is rotated together with the thermal head 23 in the counterclockwise direction in FIG. Accordingly, the lock pin 44 of the platen roller 24 is released from the platen roller lock engaging portion 43 of the cover lock 41, the thermal head 23 and the platen roller 24 are separated from each other, and the label continuous body 4 can be loaded therebetween. Become. *
  • a tapered surface 45 is formed at the upper end portion of the platen roller lock engaging portion 43, and after the lock pin 44 of the platen roller 24 contacts the tapered surface 45 during the closing operation of the opening / closing cover 3, It is easy to engage with the roller lock engaging portion 43.
  • the sheet cutting end 39 is formed from the lower end of the waterproof adhesion surface 35 of the release push button 30, and is formed between the thermal head 23 and the platen roller 24.
  • the sheet cutting end 39 is opposed to the label continuum 4 that has been transferred to the issuing port 46, so that the label continuum 4 (mounting sheet 19 and label piece 20) can be cut at a predetermined location.
  • a material for the release push button 30 paper cutting end 39
  • a synthetic resin material having a predetermined rigidity and elasticity is generally adopted according to the type of the label continuous body 4 and other printing paper. can do.
  • the portable printer 1 can carry the thermal head 23 so that the thermal head 23 is positioned above the platen roller 24, and in particular, as shown in FIG.
  • the lower end portion (sheet cutting end portion 39) of the button 30 is located on the outer side of the opening / closing cover 3. That is, the paper cutting end 39 is positioned slightly outward (distance D shown in FIG. 2) from the outer surface of the front end portion of the opening / closing cover 3, so that it can be pressed in the rain or other times. Even if the water droplet W reaches the paper cutting end 39 through the button 30, it simply hangs down on the ground without touching the opening / closing cover 3 from the paper cutting end 39 protruding like a bag. The risk of intrusion is reduced. Further, since the label continuum 4 printed and issued to the issuing port 46 faces the paper cutting end 39 on the outer side of the issuing port 46, the label continuous body 4 in the portion of the paper cutting end 39 is provided. Cutting operation can be performed easily and reliably. *
  • the push-out protrusion 38 is pushed into the inside of the printer housing 2 against the urging force of the button urging spring 37 (FIG. 2), so that the push-out protrusion 38 is covered with a cover lock.
  • the abutting inclined plate 42 is rotated counterclockwise in FIG. 2 around the head shaft 31 against the urging force of the head urging spring 25, and the platen roller lock engaging portion 43, the lock pin 44, And the platen roller 24 together with the opening / closing cover 3 is released from the thermal head 23.
  • the push button 30 for opening in the paper cutting device 15 has the button body 34 exposed to the outside, and the opening operation itself is secured. Since the waterproof contact surface 35 is in close contact with the inner wall surface 2A of the printer housing 2 with a predetermined pressing force by the biasing force of the biasing spring 37, it is possible to prevent water from entering from this portion. That is, since the part of the release push button 30 is adjacent to the part of the printing unit 7 reaching the thermal head 23 and further to the control unit 13, by performing the waterproof function described above, the printing unit 7 and the control unit 13 are provided. It is possible to reduce the frequency of failures and ensure the stability of operation even when the portable printer 1 is used outdoors. *
  • the lower end of the push button 30 for opening facing the issuing port 46 of the label continuous body 4 is used as the paper cutting end 39. If the operation is performed so that the predetermined portion of the finished label continuous body 4 is torn off in a state where the predetermined portion is applied to the paper cutting end portion 39, the label continuous body 4 can be easily cut manually.
  • the opening push button 30 is operated to open the opening / closing cover 3, the position of the sheet cutting end 39, which is the lower end of the opening push button 30, is shifted from a predetermined portion. Since the release push button 30 is not operated during the cutting operation of the body 4, the cutting operation itself is not hindered. *
  • the paper cutting end 39 is integrally formed with the opening push button 30 for opening the opening / closing cover 3 and the platen roller 24, the number of parts is reduced, and the entire portable printer 1 is reduced in size and weight. Can contribute.
  • the paper cutting device according to the present invention can also be adopted in a desktop printer or other printers. *
  • FIG. 4 is a cross-sectional view of the main part of the opening push button 30 (paper cutting device 50) portion in the paper cutting device 50 according to the second embodiment of the present invention.
  • the metal plate 51 is attached to the inner side edge portion of the paper cutting end portion 39 of the opening push button 30 as described above. Therefore, in this paper cutting device 50, the lower end portion of the metal plate 51 functions as a paper cutting end portion 52 for manually cutting the label continuous body 4 instead of the paper cutting end portion 39. become.
  • the material of the metal plate 51 is arbitrary, but a general stainless steel material or the like can be adopted. *
  • FIG. 2 is a schematic plan view illustrating the biasing posture of the button biasing spring 37 against the inner wall surface 2A of the printer housing 2 in the same manner as described with reference to FIGS. 2 (1), (2), and (3).
  • the contact area it is possible to appropriately design the required urging force according to the degree of the waterproof function required for the waterproof contact surface 35.
  • the paper cutting end 52 of the metal plate 51 faces the issuing port 46 through which the printed label continuous body 4 is transferred. Can be more easily performed, and can be mounted on the portable printer 1 (FIG. 1) as described above to reduce the number of parts, thereby contributing to a reduction in size and weight.
  • SYMBOLS 1 Portable printer (printer, FIG. 1) 2 Printer housing 2A Inner wall surface of printer housing 2 (FIG. 2) 3 Opening and closing cover 4 Label continuous body (printing paper) 5 Supply part 6 Position detection part 7 Printing part 8 Charging battery 9 Battery Storage chamber 10 Adapter connection terminal 11 for connecting the AC adapter 32 Input section 12 Display section 13 Control section 14 Power switch 15 Paper cutting device of the portable printer 1 (first embodiment, FIG. 2) 16 Belt hook section 17 Shoulder belt 18 Cover shaft 19 of the open / close cover 3 Mount 20 of the label continuum 4 Label piece 21 Position detection mark 22 Position detection sensor 23 Thermal head (printing head) 23A Heating element of the thermal head 23 (printing head) FIG.

Landscapes

  • Life Sciences & Earth Sciences (AREA)
  • Forests & Forestry (AREA)
  • Engineering & Computer Science (AREA)
  • Mechanical Engineering (AREA)
  • Handling Of Sheets (AREA)
  • Handling Of Continuous Sheets Of Paper (AREA)
  • Printers Characterized By Their Purpose (AREA)
  • Accessory Devices And Overall Control Thereof (AREA)
PCT/JP2013/084730 2013-03-26 2013-12-25 プリンターの用紙切断装置 Ceased WO2014155880A1 (ja)

Priority Applications (1)

Application Number Priority Date Filing Date Title
CN201380075028.5A CN105050823B (zh) 2013-03-26 2013-12-25 具备纸张切断装置的打印机

Applications Claiming Priority (2)

Application Number Priority Date Filing Date Title
JP2013063674A JP6118153B2 (ja) 2013-03-26 2013-03-26 プリンター
JP2013-063674 2013-03-26

Publications (1)

Publication Number Publication Date
WO2014155880A1 true WO2014155880A1 (ja) 2014-10-02

Family

ID=51622911

Family Applications (1)

Application Number Title Priority Date Filing Date
PCT/JP2013/084730 Ceased WO2014155880A1 (ja) 2013-03-26 2013-12-25 プリンターの用紙切断装置

Country Status (3)

Country Link
JP (1) JP6118153B2 (enExample)
CN (1) CN105050823B (enExample)
WO (1) WO2014155880A1 (enExample)

Cited By (1)

* Cited by examiner, † Cited by third party
Publication number Priority date Publication date Assignee Title
EP3666530A4 (en) * 2017-08-08 2021-02-17 J.Stephen Lab., Ltd PORTABLE PRINTER

Citations (6)

* Cited by examiner, † Cited by third party
Publication number Priority date Publication date Assignee Title
JPH0246641U (enExample) * 1988-09-28 1990-03-30
JPH055469U (ja) * 1991-02-14 1993-01-26 株式会社沖情報システムズ 媒体カツト機構
JPH07117247A (ja) * 1993-10-25 1995-05-09 Tec Corp サーマルプリンタ
JP2001162880A (ja) * 1999-12-06 2001-06-19 Nitsuko Corp プリンタ内蔵機器における印字紙カッタ取付構造
JP2001205876A (ja) * 2000-01-31 2001-07-31 Seiko Epson Corp 記録紙カッタおよびそれを備えた印刷装置
JP2003089247A (ja) * 2001-09-19 2003-03-25 Seiko Epson Corp オートカッタおよびそれを用いたプリンタ

Family Cites Families (5)

* Cited by examiner, † Cited by third party
Publication number Priority date Publication date Assignee Title
JP3852215B2 (ja) * 1998-08-28 2006-11-29 ブラザー工業株式会社 テーププリンタ
JP4075325B2 (ja) * 2001-05-25 2008-04-16 セイコーエプソン株式会社 テープ印刷装置のテープ切断機構
ATE507082T1 (de) * 2006-06-29 2011-05-15 Toshiba Tec Kk Drucker
JP4169060B2 (ja) * 2006-07-28 2008-10-22 セイコーエプソン株式会社 用紙束印刷システム
JP5600934B2 (ja) * 2009-12-24 2014-10-08 セイコーエプソン株式会社 カット装置及びこれを備えたテープ印刷装置

Patent Citations (6)

* Cited by examiner, † Cited by third party
Publication number Priority date Publication date Assignee Title
JPH0246641U (enExample) * 1988-09-28 1990-03-30
JPH055469U (ja) * 1991-02-14 1993-01-26 株式会社沖情報システムズ 媒体カツト機構
JPH07117247A (ja) * 1993-10-25 1995-05-09 Tec Corp サーマルプリンタ
JP2001162880A (ja) * 1999-12-06 2001-06-19 Nitsuko Corp プリンタ内蔵機器における印字紙カッタ取付構造
JP2001205876A (ja) * 2000-01-31 2001-07-31 Seiko Epson Corp 記録紙カッタおよびそれを備えた印刷装置
JP2003089247A (ja) * 2001-09-19 2003-03-25 Seiko Epson Corp オートカッタおよびそれを用いたプリンタ

Cited By (1)

* Cited by examiner, † Cited by third party
Publication number Priority date Publication date Assignee Title
EP3666530A4 (en) * 2017-08-08 2021-02-17 J.Stephen Lab., Ltd PORTABLE PRINTER

Also Published As

Publication number Publication date
CN105050823B (zh) 2017-03-22
JP6118153B2 (ja) 2017-04-19
CN105050823A (zh) 2015-11-11
JP2014188706A (ja) 2014-10-06

Similar Documents

Publication Publication Date Title
JP6216528B2 (ja) プリンター
JP5828937B1 (ja) 携帯プリンタ用の収納ケース
JP5631119B2 (ja) 携帯型プリンタ
JP5432050B2 (ja) ポータブルプリンタ
EP1403080B1 (en) Handy thermal head printer
CN106103119B (zh) 打印机
CN107443938A (zh) 带盒
JP6329729B2 (ja) プリンター
JP2014188967A (ja) 携帯プリンタの収納ケース
JP6355176B2 (ja) プリンター
JP2015085529A (ja) 携帯式プリンタ
JP6116309B2 (ja) プリンタ
JP6118153B2 (ja) プリンター
JP2010167680A (ja) カッタユニット及びプリンタ
JP6104663B2 (ja) プリンター
JP6282530B2 (ja) プリンタ
JP6071685B2 (ja) 携帯式プリンター
JP6185641B2 (ja) プリンターのカバーロック機構
JP2018001719A (ja) プリンタ
JP6431590B2 (ja) プリンター
JP2017081168A (ja) プリンター
JP6433677B2 (ja) プリンタ
JP2024092567A (ja) プリンタ収納ケース
JP2016005889A (ja) 印刷装置用ケース
JP2015202899A (ja) ラベルプリンター

Legal Events

Date Code Title Description
WWE Wipo information: entry into national phase

Ref document number: 201380075028.5

Country of ref document: CN

121 Ep: the epo has been informed by wipo that ep was designated in this application

Ref document number: 13880516

Country of ref document: EP

Kind code of ref document: A1

NENP Non-entry into the national phase

Ref country code: DE

122 Ep: pct application non-entry in european phase

Ref document number: 13880516

Country of ref document: EP

Kind code of ref document: A1