WO2014017609A1 - 電動式ディスクブレーキ装置 - Google Patents

電動式ディスクブレーキ装置 Download PDF

Info

Publication number
WO2014017609A1
WO2014017609A1 PCT/JP2013/070234 JP2013070234W WO2014017609A1 WO 2014017609 A1 WO2014017609 A1 WO 2014017609A1 JP 2013070234 W JP2013070234 W JP 2013070234W WO 2014017609 A1 WO2014017609 A1 WO 2014017609A1
Authority
WO
WIPO (PCT)
Prior art keywords
piston
disc brake
brake device
ball
balls
Prior art date
Legal status (The legal status is an assumption and is not a legal conclusion. Google has not performed a legal analysis and makes no representation as to the accuracy of the status listed.)
Ceased
Application number
PCT/JP2013/070234
Other languages
English (en)
French (fr)
Japanese (ja)
Inventor
和博 関口
英紀 柿崎
Current Assignee (The listed assignees may be inaccurate. Google has not performed a legal analysis and makes no representation or warranty as to the accuracy of the list.)
Akebono Brake Industry Co Ltd
Original Assignee
Akebono Brake Industry Co Ltd
Priority date (The priority date is an assumption and is not a legal conclusion. Google has not performed a legal analysis and makes no representation as to the accuracy of the date listed.)
Filing date
Publication date
Application filed by Akebono Brake Industry Co Ltd filed Critical Akebono Brake Industry Co Ltd
Priority to US14/416,804 priority Critical patent/US20150203079A1/en
Priority to CN201380039348.5A priority patent/CN104487727A/zh
Priority to EP13822954.7A priority patent/EP2878847A4/en
Publication of WO2014017609A1 publication Critical patent/WO2014017609A1/ja
Anticipated expiration legal-status Critical
Ceased legal-status Critical Current

Links

Images

Classifications

    • BPERFORMING OPERATIONS; TRANSPORTING
    • B60VEHICLES IN GENERAL
    • B60TVEHICLE BRAKE CONTROL SYSTEMS OR PARTS THEREOF; BRAKE CONTROL SYSTEMS OR PARTS THEREOF, IN GENERAL; ARRANGEMENT OF BRAKING ELEMENTS ON VEHICLES IN GENERAL; PORTABLE DEVICES FOR PREVENTING UNWANTED MOVEMENT OF VEHICLES; VEHICLE MODIFICATIONS TO FACILITATE COOLING OF BRAKES
    • B60T1/00Arrangements of braking elements, i.e. of those parts where braking effect occurs specially for vehicles
    • B60T1/02Arrangements of braking elements, i.e. of those parts where braking effect occurs specially for vehicles acting by retarding wheels
    • B60T1/06Arrangements of braking elements, i.e. of those parts where braking effect occurs specially for vehicles acting by retarding wheels acting otherwise than on tread, e.g. employing rim, drum, disc, or transmission or on double wheels
    • B60T1/065Arrangements of braking elements, i.e. of those parts where braking effect occurs specially for vehicles acting by retarding wheels acting otherwise than on tread, e.g. employing rim, drum, disc, or transmission or on double wheels employing disc
    • FMECHANICAL ENGINEERING; LIGHTING; HEATING; WEAPONS; BLASTING
    • F16ENGINEERING ELEMENTS AND UNITS; GENERAL MEASURES FOR PRODUCING AND MAINTAINING EFFECTIVE FUNCTIONING OF MACHINES OR INSTALLATIONS; THERMAL INSULATION IN GENERAL
    • F16DCOUPLINGS FOR TRANSMITTING ROTATION; CLUTCHES; BRAKES
    • F16D65/00Parts or details
    • F16D65/14Actuating mechanisms for brakes; Means for initiating operation at a predetermined position
    • FMECHANICAL ENGINEERING; LIGHTING; HEATING; WEAPONS; BLASTING
    • F16ENGINEERING ELEMENTS AND UNITS; GENERAL MEASURES FOR PRODUCING AND MAINTAINING EFFECTIVE FUNCTIONING OF MACHINES OR INSTALLATIONS; THERMAL INSULATION IN GENERAL
    • F16DCOUPLINGS FOR TRANSMITTING ROTATION; CLUTCHES; BRAKES
    • F16D55/00Brakes with substantially-radial braking surfaces pressed together in axial direction, e.g. disc brakes
    • F16D55/02Brakes with substantially-radial braking surfaces pressed together in axial direction, e.g. disc brakes with axially-movable discs or pads pressed against axially-located rotating members
    • F16D55/22Brakes with substantially-radial braking surfaces pressed together in axial direction, e.g. disc brakes with axially-movable discs or pads pressed against axially-located rotating members by clamping an axially-located rotating disc between movable braking members, e.g. movable brake discs or brake pads
    • FMECHANICAL ENGINEERING; LIGHTING; HEATING; WEAPONS; BLASTING
    • F16ENGINEERING ELEMENTS AND UNITS; GENERAL MEASURES FOR PRODUCING AND MAINTAINING EFFECTIVE FUNCTIONING OF MACHINES OR INSTALLATIONS; THERMAL INSULATION IN GENERAL
    • F16DCOUPLINGS FOR TRANSMITTING ROTATION; CLUTCHES; BRAKES
    • F16D65/00Parts or details
    • F16D65/14Actuating mechanisms for brakes; Means for initiating operation at a predetermined position
    • F16D65/16Actuating mechanisms for brakes; Means for initiating operation at a predetermined position arranged in or on the brake
    • F16D65/18Actuating mechanisms for brakes; Means for initiating operation at a predetermined position arranged in or on the brake adapted for drawing members together, e.g. for disc brakes
    • FMECHANICAL ENGINEERING; LIGHTING; HEATING; WEAPONS; BLASTING
    • F16ENGINEERING ELEMENTS AND UNITS; GENERAL MEASURES FOR PRODUCING AND MAINTAINING EFFECTIVE FUNCTIONING OF MACHINES OR INSTALLATIONS; THERMAL INSULATION IN GENERAL
    • F16HGEARING
    • F16H25/00Gearings comprising primarily only cams, cam-followers and screw-and-nut mechanisms
    • F16H25/08Gearings comprising primarily only cams, cam-followers and screw-and-nut mechanisms for interconverting rotary motion and reciprocating motion
    • F16H25/12Gearings comprising primarily only cams, cam-followers and screw-and-nut mechanisms for interconverting rotary motion and reciprocating motion with reciprocation along the axis of rotation, e.g. gearings with helical grooves and automatic reversal
    • F16H25/125Gearings comprising primarily only cams, cam-followers and screw-and-nut mechanisms for interconverting rotary motion and reciprocating motion with reciprocation along the axis of rotation, e.g. gearings with helical grooves and automatic reversal having the cam on an end surface of the rotating element
    • FMECHANICAL ENGINEERING; LIGHTING; HEATING; WEAPONS; BLASTING
    • F16ENGINEERING ELEMENTS AND UNITS; GENERAL MEASURES FOR PRODUCING AND MAINTAINING EFFECTIVE FUNCTIONING OF MACHINES OR INSTALLATIONS; THERMAL INSULATION IN GENERAL
    • F16DCOUPLINGS FOR TRANSMITTING ROTATION; CLUTCHES; BRAKES
    • F16D2121/00Type of actuator operation force
    • F16D2121/18Electric or magnetic
    • F16D2121/24Electric or magnetic using motors
    • FMECHANICAL ENGINEERING; LIGHTING; HEATING; WEAPONS; BLASTING
    • F16ENGINEERING ELEMENTS AND UNITS; GENERAL MEASURES FOR PRODUCING AND MAINTAINING EFFECTIVE FUNCTIONING OF MACHINES OR INSTALLATIONS; THERMAL INSULATION IN GENERAL
    • F16DCOUPLINGS FOR TRANSMITTING ROTATION; CLUTCHES; BRAKES
    • F16D2125/00Components of actuators
    • F16D2125/18Mechanical mechanisms
    • F16D2125/20Mechanical mechanisms converting rotation to linear movement or vice versa
    • F16D2125/34Mechanical mechanisms converting rotation to linear movement or vice versa acting in the direction of the axis of rotation
    • F16D2125/36Helical cams, Ball-rotating ramps
    • FMECHANICAL ENGINEERING; LIGHTING; HEATING; WEAPONS; BLASTING
    • F16ENGINEERING ELEMENTS AND UNITS; GENERAL MEASURES FOR PRODUCING AND MAINTAINING EFFECTIVE FUNCTIONING OF MACHINES OR INSTALLATIONS; THERMAL INSULATION IN GENERAL
    • F16DCOUPLINGS FOR TRANSMITTING ROTATION; CLUTCHES; BRAKES
    • F16D2125/00Components of actuators
    • F16D2125/18Mechanical mechanisms
    • F16D2125/44Mechanical mechanisms transmitting rotation
    • F16D2125/46Rotating members in mutual engagement
    • F16D2125/48Rotating members in mutual engagement with parallel stationary axes, e.g. spur gears

Definitions

  • This invention relates to an improvement of an electric disc brake device.
  • the electric disc brake device that uses an electric motor as a drive source eliminates the need for piping compared to a hydraulic disc brake that has been widely used in the past, and facilitates manufacturing and reduces costs. Research is being conducted because it has many advantages, such as the fact that used brake fluid is not generated and the environmental load is small, and that there is no movement of the brake fluid, so that responsiveness can be improved. In such an electric disc brake device, it is necessary to convert the rotational motion of the electric motor into linear motion while increasing the force, and to strongly press the pair of pads against both side surfaces of the rotor. In view of these circumstances, Patent Documents 1 to 8 describe an electric disc brake device in which a gear type reduction gear and a screw type, ball / lamp type or cam roller type booster are combined. In the past, various proposals have been made.
  • FIG. 11 shows an example of a conventional structure in the electric disc brake device described in Patent Document 2.
  • an inner pad 2 and an outer pad 3 are installed so as to be capable of displacement in the axial direction of the rotor 1 with a rotor 1 rotating together with a wheel interposed therebetween. ing.
  • a support (not shown) is supported on the vehicle body (fixed to a knuckle constituting the suspension device) in a state adjacent to the rotor 1.
  • the inner pad 2 and the outer pad 3 are in a state where the rotor 1 is sandwiched from both sides in the axial direction, and the axial direction (the outer side is the outside in the width direction of the vehicle body when assembled to the vehicle body, and the inner side is the same as the inner side.
  • the axial direction refers to the rotational axis direction of the rotor 1. Unless otherwise specified, the displacement is the same in the description of the entire specification and claims). Possible support is supported by the support.
  • the caliper 4 is assembled to the support so as to be capable of axial displacement.
  • the caliper 4 is provided with a caliper claw 5 at an outer side end portion, and a cylinder space 6 inside an inner side portion.
  • the caliper claw 5 faces the outer side surface of the outer pad 3 and the inner pad 2 is pressed toward the inner side surface of the rotor 1 by a thrust generator 7 provided in the cylinder space 6. It is configured.
  • the thrust generator 7 provided in the cylinder space 6. It is configured.
  • the caliper 4 is displaced toward the inner side, and the caliper claw 5 moves the outer pad 3 toward the outer side surface of the rotor 1. Press on.
  • the rotor 1 is strongly clamped from both sides in the axial direction, and braking is performed.
  • the above configuration and operation are the same as those of a widely used hydraulic disc brake.
  • the inner pad 2 is pressed against the inner side surface of the rotor 1 using the electric motor 8 as a driving source. Therefore, the output shaft 9 of the electric motor 8 and the inner pad 2 are inner.
  • a gear-type reduction gear 10, the thrust generating device 7, and a piston 11 are provided between the side surfaces.
  • the rotational force decelerated by the speed reducer 10 and increased in torque is transmitted to a drive-side rotor 13 constituting a ball / ramp type booster device via a feed screw device 12. It is rotated.
  • the drive-side rotor 13 is moved parallel to the outer side by the function of the feed screw device 12 until the clearance between the inner pad 2 and the outer pad 3 and the side surface of the rotor 1 is eliminated. To do.
  • the electric disc brake device having the conventional structure as described above cannot sufficiently increase the braking force associated with the inner pad 2 and the outer pad 3 being pressed against both side surfaces of the rotor 1.
  • the reduction ratio of the speed reducer 10 is increased, the reduction ratio of the feed screw device 12 is increased (the screw pitch is made fine), and the inclination angles of the driving side ramp groove 14 and the driven side ramp groove 16 are increased. It is possible to increase the braking force by loosening.
  • the vertical axis represents the magnitude of the braking force (P) generated by the pressing of the lining, and the elapsed time from the start of the electric motor 8 to generate the braking force on the horizontal axis. (T) is shown.
  • a broken line ⁇ indicates the above-described conventional structure.
  • F on the vertical axis indicates the required value of the braking force.
  • T 1 is longer the larger the reduction ratio of the reduction gear 10 and the feed screw 12.
  • Patent Document 9 describes a basic configuration of a ball speed reducer incorporated in the electric disk brake device of the present invention.
  • the specific structure of the ball speed reducer incorporated in the embodiment of the present invention to be described later is different from the specific structure described in Patent Document 9, but is described in Patent Document 9 when the present invention is implemented. It is also possible to use the structure of a ball reducer.
  • the present invention has been made in view of the circumstances as described above, and an object of the present invention is to provide a structure capable of increasing the generated braking force and reducing the time required until the braking force is generated as necessary. Another object of the present invention is to provide an electric disc brake device.
  • a rotor that rotates with the wheel
  • a pad support portion supported by the vehicle body in a state adjacent to the rotor (a support in the case of a floating caliper type disc brake, and a caliper in the case of an opposed piston type disc brake, respectively);
  • a pair of pads on the outer side and the inner side supported by the pad support portion so as to be capable of displacement in the axial direction with the rotor sandwiched from both sides in the axial direction,
  • a piston provided in a cylinder space provided in a state facing at least one pad so as to be capable of displacement in the axial direction of the rotor
  • An electric disc brake device comprising: an electric actuator that uses an electric motor as a drive source to displace the piston in a direction in which the piston is pushed out of the cylinder space, so that the two pads are pressed against both axial sides of the rotor.
  • the electric actuator includes an electric motor, a ball reducer, and a conversion device,
  • the electric motor is rotationally driven in both directions based on energization
  • the ball speed reducer is provided at an inner end of the cylinder space in a state in which rotation is prevented when the ball speed reducer is operated and axial displacement in a direction away from the piston is prevented.
  • An input shaft that is provided in a state of being inserted through a through hole provided in the center of the anchor plate, and that rotates in both directions based on energization of the electric motor;
  • An annular ball holding member that moves eccentrically with respect to the rotation center of the input shaft as the input shaft rotates;
  • the conversion device is an electric disc brake device in which a rotation output of the ball speed reducer is converted into a linear motion and the piston is displaced in an axial direction.
  • the electric disc brake device having the configuration of (1), wherein the electric actuator includes a pressing member and a feed screw member that constitute the conversion device, in addition to the electric motor and the ball reducer.
  • a preload member The piston has a bottomed cylindrical shape in which a distal end side which is an end portion on the pad side is closed by a bottom portion and a proximal end side is opened,
  • the pressing member has a screw hole at the center, and is incorporated in a portion near the bottom in the piston in a state in which relative rotation with respect to the piston is prevented and axial displacement with respect to the piston is possible.
  • the feed screw member is provided with a male screw portion that engages with the screw hole at a distal end portion or an intermediate portion that is an end portion close to the bottom portion of the piston, and an outward flange-shaped thrust receiving portion at a proximal end portion.
  • the preload member provides a force for elastically holding the balls between a pair of surfaces on which the balls are clamped, and provides resistance to the rolling of the balls.
  • the magnitude of the resistance applied to the relative rotation between the input shaft and the male screw portion by the preload member is between the tip portion of the pressing member and the inner surface of the bottom portion of the piston, and both side surfaces of the rotor.
  • the pressing member In a non-braking state in which at least one of the pads is separated from the lining of the pads, the pressing member is axially moved by screwing between the male screw portion and the screw hole accompanying the rotation of the feed screw member. Electric disc brake device with greater resistance to moving.
  • the electric disc brake device having the configuration of (3), wherein the ball holding member is an annular cage, and the balls are provided at a plurality of locations in the circumferential direction of the cage.
  • An electric motor provided in a pocket so as to be able to roll, and wherein the cage and the thrust receiving portion are connected by a joint that transmits the rotational motion of the cage while allowing eccentric motion of the cage.
  • Type disc brake device
  • the electric disc brake device having the configuration of (4), wherein the guide groove is provided on a side surface of the anchor plate facing the thrust receiving portion, and the center line of the guide groove is An electric disc brake device having a shape of a hypocycloid curve or an epicycloid curve, and a cross-sectional shape of an arc having a radius of curvature larger than 1 ⁇ 2 of the diameter of each ball.
  • the electric disc brake device having any one of the constitutions (1) to (5), wherein the guide groove is formed on any one of a pair of surfaces sandwiching the balls. And a reinforcing member made of a material harder than a material constituting the member having the other surface is embedded in a portion of the other surface that is in rolling contact with each of the balls.
  • the lining of the pair of pads can be strongly pressed against both side surfaces of the rotor due to the large force increasing ratio corresponding to the large speed reducing ratio obtained by the ball reducer. A great braking force can be obtained. Further, like the electric disc brake device having the configuration (2), the magnitude of the resistance applied to the relative rotation between the input shaft and the male screw portion is moved in the axial direction in the non-braking state. If the resistance is greater than the resistance to the problem, the time required to generate the braking force can be shortened.
  • the gap existing between the both side surfaces of the rotor and the friction surfaces of the linings of both pads is closed (resolved) in the non-braking state.
  • the ball speed reducer does not operate, and the input shaft and the feed screw member rotate synchronously.
  • the pressing member presses the pad toward the rotor by a piston and closes the gap.
  • the rotational speed of the feed screw member can be increased, the time required to close the gap and generate the braking force can be shortened.
  • FIG. 1 is a cross-sectional view of a main part showing a first example of an embodiment of the present invention.
  • FIG. 2 is an enlarged view of the lower half of FIG.
  • FIG. 3 is an exploded perspective view showing a part of the components of the electric actuator shown in FIG. 4A to 4C are perspective views seen from the axial direction in order to explain the function of the ball type speed reducer.
  • FIG. 5 is a cross-sectional view of an essential part showing a second example of the embodiment of the present invention.
  • FIG. 6 is an enlarged view of a portion X in FIG.
  • FIG. 7 is a perspective view showing a state in which the feed screw member shown in FIG. 6 is taken out and viewed from the thrust receiving portion side.
  • FIG. 1 is a cross-sectional view of a main part showing a first example of an embodiment of the present invention.
  • FIG. 2 is an enlarged view of the lower half of FIG.
  • FIG. 3 is an exploded perspective view showing a part of the components of
  • FIG. 8A is a YY cross-sectional view of FIG.
  • FIG. 8B is an enlarged cross-sectional view of the reinforcing member shown in FIG. 8A.
  • FIG. 9 is a perspective view showing a state where the feed screw member in the third example of the embodiment of the present invention is taken out and viewed from the thrust receiving portion side.
  • FIG. 10 is a ZZ cross-sectional view of FIG.
  • FIG. 11 is a cross-sectional view showing an example of a conventional structure.
  • FIG. 12 is a diagram showing the relationship between the elapsed time since the start of the electric motor and the magnitude of the braking force generated by pressing the lining.
  • FIG. 1 to 4 show a first example of an embodiment of the present invention corresponding to the above configurations (1) to (5).
  • the electric disc brake device of the first example is characterized in that a ball speed reducer 19 is arranged in series along the force transmission direction in the middle of the electric actuator, and the ball speed reducer 19 is large. It is configured to operate only when transmitting force.
  • the friction surfaces of the linings 18 and 18 see FIG. 11 of the both sides of the rotor 1 and the inner pad 2 and the outer pad 3 at the start of braking.
  • a gap existing between the two linings 18 and 18 can be quickly closed, and then the friction surfaces of both the linings 18 and 18 can be strongly pressed against both side surfaces of the rotor 1 to generate a large braking force.
  • the other parts are the same as those conventionally known, including the structure shown in FIG. 11 described above. Therefore, overlapping illustrations and explanations are omitted or simplified.
  • the first example will be described. The description will focus on the characteristic part.
  • the left end side in FIGS. 1 to 3 which is the end closer to the rotor 1 is the front end
  • the right end in FIGS. 1 to 3 which is the opposite end
  • the electric actuator incorporated in the electric disc brake device of the first example includes an electric motor 8a, a gear type reduction gear 10a, the ball reduction gear 19, and a feed screw device 12a as a conversion device. Then, the piston 11a fitted in the cylinder space 6a is pushed out toward the rotor 1 by the electric motor 8a via the both speed reducers 10a, 19 and the feed screw device 12a, and the braking force is applied. It is made to occur.
  • a seal ring 26 is provided between the outer peripheral surface of the piston 11a and the inner peripheral surface of the cylinder space 6a in a state where the piston 11a is fitted in the cylinder space 6a.
  • the piston 11a has a bottomed cylindrical shape. That is, the distal end side of the piston 11a is closed by the bottom 27, and the proximal end side is open. Furthermore, a portion closer to the outer diameter of the inner surface of the bottom portion 27 is a concave conical receiving surface 28.
  • the gear-type speed reducer 10a is configured by meshing a plurality of gears as in the conventional structure shown in FIG. 11, and has a reduction ratio set to "16", for example. Yes. Therefore, while the output shaft 20a of the electric motor 8a rotates 16 times, the input shaft 21 of the ball speed reducer 19 described below is rotated once by the speed reducer 10a, and the torque is increased 16 times.
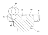
  • the ball speed reducer 19 includes an anchor plate 22, a cage 23 that is a ball holding member, a plurality of balls 24 and 24, and a guide groove 25 in addition to the input shaft 21.
  • the anchor plate 22 is provided at the back end of the cylinder space 6a.
  • the input shaft 21 is provided in a state of being inserted through a through hole 29 provided at the center of the anchor plate 22 and rotates in both directions based on energization of the electric motor 8a.
  • a non-circular portion for example, a hexagonal column portion
  • the non-circular holes are non-circularly fitted.
  • a support shaft 51 fitted in a circular hole portion that is an intermediate portion or a base end portion of the center hole of the reduction large gear 30 is freely rotatable to a circular base end side support hole 32 provided on the inner surface of the casing 31. It is fitted inside.
  • an eccentric shaft portion 33 is provided near the tip of the input shaft 21. The central axis of the eccentric shaft portion 33 is provided in parallel with the rotation center of the input shaft 21 and is eccentric with respect to the rotation center.
  • the retainer 23 is formed in an annular shape, and pockets 34, 34 each having a circular shape are formed at a plurality of locations (seven locations in the illustrated example) at equal intervals in the circumferential direction.
  • the balls 24 and 24 are held in the pockets 34 and 34 so as to roll.
  • a circular center hole 35 is formed at the center of the cage 23, and an eccentric shaft 33 provided near the tip of the intermediate portion of the input shaft 21 is rotatable in the center hole 35. And, it is inserted with no play in the radial direction.
  • a support shaft 36 is provided at the tip of the input shaft 21 so as to protrude from the tip of the eccentric shaft 33.
  • this support shaft part 36 is rotatably supported by the circular front end side support hole 39 provided in the center part of the base end surface of the thrust receiving part 38 of the feed screw member 37 which comprises the said feed screw apparatus 12a. ing.
  • the distal end side support hole 39, the base end side support hole 32, and the through hole 29 are concentric with each other.
  • the central axis of the central hole 35 inserted through the eccentric shaft portion 33 is eccentric with respect to the central axes of the distal end side support hole 39, the proximal end side support hole 32, and the through hole 29. Accordingly, the cage 23 moves eccentrically with respect to the rotation center of the input shaft 21 as the input shaft 21 rotates.
  • the peripheral portion of the distal end side support hole 39 on the base end surface of the thrust receiving portion 38 is a flat surface. It should be noted that a hardening process such as quenching or carbonitriding is performed on at least a portion of the base end surface of the thrust receiving portion 38 around the tip support hole 39 where the balls 24 and 24 are in rolling contact with each other. It is preferable to apply.
  • the guide groove 25 is provided on a side surface of the anchor plate 22 facing the thrust receiving portion 38.
  • the shape of the center line of the guide groove 25 is a hypocycloid curve shape or an epicycloid curve shape, and the cross-sectional shape is an arc shape having a radius of curvature slightly larger than 1 ⁇ 2 of the diameter of each of the balls 24, 24.
  • the number of hypocycloid curves and epicycloid curves is one less than the number of the balls 24, 24 (6 in the example shown).
  • the balls 24, 24 are held in the pockets 34, 34 of the cage 23, and are engaged with any part of the guide groove 25 in the circumferential direction, while the eccentric motion of the cage 23 is performed.
  • the rotational motion of the cage 23 is taken out to the feed screw member 37 by a joint such as an Oldham joint.
  • This joint needs to have a structure for taking out the rotational motion while allowing the eccentric motion of the cage 23. Therefore, in the case of the first example, one of axial side surfaces of the cage 23 and the thrust receiving portion 38 facing each other in the cage 23 (in the example shown, the cage 23 Transmission pins 40, 40 project from the side (circular side surface), and circular receiving holes 41, 41 are formed on the other side (in the illustrated example, the side surface of the thrust receiving portion 38).
  • the cage 23 rotates in an eccentric manner, a part of the transmission pins 40 and 40 and the receiving holes 41 and 41 are engaged with each other, and the cage 23 rotates. It is taken out by the feed screw member 37.
  • the rotation output of the ball speed reducer 19 is converted into a linear motion by the feed screw device 12a configured to include the feed screw member 37, whereby the piston 11a is displaced in the axial direction.
  • the feed screw device 12 a includes the feed screw member 37, a pressing member 42, a compression coil spring 43 that is a preload member, and a spring holder 44.
  • the pressing member 42 has a screw hole 45 at the center.
  • the pressing member 42 is incorporated in a portion of the piston 11a close to the bottom portion 27 in a state in which relative rotation with respect to the piston 11a is prevented and axial displacement with respect to the piston 11a is possible. .
  • the outer peripheral edge of the flange 46 formed on the outer peripheral surface of the pressing member 42 and the inner peripheral surface of the piston 11a are non-circularly engaged.
  • the front end surface of the pressing member 42 has a partially conical convex shape so as to abut on the receiving surface 28 which is the back end surface of the piston 11a with as large an area as possible.
  • the feed screw member 37 has a male screw portion 47 projecting from the center of the side surface on the front end side of the thrust receiving portion 38, and the male screw portion 47 is screwed into the screw hole 45 of the pressing member 42. Are combined.
  • the pressing member 42 is displaced in the axial direction of the piston 11a as the feed screw member 37 rotates.
  • the thrust receiving portion 38 of the feed screw member 37 is elastically pressed toward the anchor plate 22 by the spring holder 44 and the compression coil spring 43, and the ball speed reducer 19 is configured as described above.
  • a preload is applied to the balls 24 and 24.
  • the spring holder 44 is provided with an inward flange-like locking collar portion 48 by bending the tip end portion at a right angle inward in the radial direction.
  • Locking protrusions 49, 49 that respectively protrude from the inner peripheral surface of the base end portion are formed at a plurality of locations in the circumferential direction of the base end portion of the spring holder 44. These locking projections 49, 49 are engaged with the locking step 56 of the anchor plate 22 to prevent the spring holder 44 from being displaced in a direction away from the anchor plate 22. .
  • the end of the engagement pin inserted through a circular hole (not shown) of the spring holder 44 is fitted and fixed in the engagement recess 57 provided on the outer peripheral surface of the anchor plate 22, thereby the spring holder 44. 44 and the anchor plate 22 are rotated synchronously.
  • the compression coil spring 43 is provided together with the seat plate 50 in a state where the entire length is elastically compressed between the locking flange portion 48 and the thrust receiving portion 38.
  • a preload is applied to each of the balls 24 and 24 by such a configuration, and resistance to the rolling of each of the balls 24 and 24 is given. And the resistance with respect to the relative rotation of the said input shaft 21 which is the input part of the said ball speed reducer 19, and the said external thread part 47 which is also an output part is provided.
  • the magnitude of this resistance is between the front end portion of the pressing member 42 and the inner surface of the bottom portion 27 of the piston 11a, both side surfaces of the rotor 1, and the linings 18 of the pads 2, 3;
  • the pressing member 42 is moved in the axial direction by screwing the male screw portion 47 and the screw hole 45 with the rotation of the feed screw member 37.
  • the front end portion of the pressing member 42 contacts the inner surface of the bottom portion 27 of the piston 11a, and both side surfaces of the rotor 1 and the linings 18 and 18 of the pads 2 and 3 contact each other.
  • the ball speed reducer 19 functions and the male screw portion 47 has a reduction ratio of the ball speed reducer 19. Rotates with a large torque by the appropriate amount (seven times).
  • the time required to generate the braking force can be shortened, and the generated braking force can be increased.
  • the reason why the braking force is generated by the structure of the first example will be described, and these reasons will be described.
  • the distal end portion of the pressing member 42 and the inner surface of the bottom portion 27 of the piston 11a are in contact with or slightly separated from each other. Further, both side surfaces of the rotor 1 and the linings 18 and 18 of the pads 2 and 3 are slightly separated from each other.
  • the balls 24, 24 constituting the ball speed reducer 19 begin to roll between the guide groove 25 of the anchor plate 22 and the base end face of the thrust receiving portion 38 of the feed screw member 37. That is, when the ball speed reducer 19 starts to operate, the feed screw member 37 rotates with a large force corresponding to the speed reduction ratio of the ball speed reducer 19.
  • the reduction ratio of the ball speed reducer 19 is “7”
  • the feed screw member 37 is 112 (16 ⁇ 7) times the torque of the output shaft 20a of the electric motor 8a. It rotates with the torque of. In an actual case, since there is a friction loss, it does not increase up to 112 times.
  • the ball speed reducer 19 is finally operated to obtain a large speed reduction ratio (torque increase ratio). Therefore, the gear type speed reducer 10a and the feed screw device The reduction ratio of 12a can be kept small. Accordingly, assuming that the finally required braking force is the same, as shown by the solid line ⁇ in FIG. 12, both the linings 18 and 18 come into contact with both side surfaces of the rotor 1 and braking force starts to be generated. The time T 2 until this can be made shorter (T 2 ⁇ T 1 ) than in the conventional structure (T 1 ). In other words, the braking force obtained can be increased if a time delay of the same level as in the prior art can be tolerated.
  • FIGS. 1 and 2 show a second example of the embodiment of the present invention corresponding to the configurations (1) to (7).
  • the guide groove 25 of the anchor plate 22 that is in rolling contact with the rolling surface of each ball 24 and the thrust receiving member of the feed screw member 37 are provided.
  • the base end surface of the portion 38 is a flat surface. For this reason, the surface pressure of the contact surface between the rolling surface of each ball 24 and the base end surface of the thrust receiving portion 38 increases, and damage such as flaking or seizure occurs on the base end surface of the thrust receiving portion 38. there is a possibility.
  • each of the balls 24, 24 is made of a high carbon chrome bearing steel such as SUJ2, and the feed screw member 37 is made of carbon steel such as S45C.
  • the material is made of a softer material than that of the material, the occurrence of the damage becomes remarkable.
  • Reinforcing members 52, 52 made of a material such as SUJ2, which is harder than the material, such as high carbon chromium bearing steel, titanium alloy, or ceramic, are embedded. That is, cylindrical reinforcing members 52 and 52 are fitted in the same number of recesses 53 (seven in the illustrated example) as the balls 24 and 24 provided on the base end surface of the thrust receiving portion 38a. It is fixed. Further, partial arc-shaped raceway surfaces 54 and 54 having a cross-sectional shape having a radius of curvature equal to or more than 1 ⁇ 2 of the diameter of each ball 24 are provided on the front end surfaces of the respective reinforcing members 52 and 52.
  • the portion of the base end surface of the thrust receiving portion 38a that is in rolling contact with the rolling surface of each ball 24 is made of a hard material. Since the reinforcing members 52 are embedded, it is difficult to cause damage such as flaking on the base end face of the thrust receiving portion 38a. Further, since the raceway surfaces 54, 54 having a partial arc shape in cross section are provided on the front end surfaces of the reinforcing members 52, 52, the rolling surfaces of the balls 24, 24 and the raceway surfaces thereof. The contact state with 54, 54 can be a line contact.
  • the surface pressure between these two surfaces is suppressed to be lower than that in the case of the first example of the above-described embodiment, and the base end surface of the thrust receiving portion 38a is also damaged from this point. Can be suppressed. If the occurrence of damage such as flaking can be prevented, the front end surfaces of the reinforcing members 52 and 52 can be flat.
  • the locking protrusions 49 and 49 are not provided, and a plurality of positions in the circumferential direction at the base end portion of the spring holder 44a.
  • the engagement pins 59, 59 inserted through the circular holes 58, 58 provided in the engagement are engaged with the engagement recesses 57a, 57a provided in the outer peripheral surface of the anchor plate 22a aligned with the circular holes 58, 58.
  • the spring holder 44a is supported and fixed in a state where rotation and axial displacement are prevented with respect to the anchor plate 22a.
  • the sleeve 60 is fitted on the base end portion of the spring holder 44a, so that the rotation of the spring holder 44a in the cylinder space 6a is performed smoothly. Since the structure and operation of the other parts are the same as those in the first example of the embodiment described above, the description and illustration of the overlapping parts are omitted.
  • FIG. 9 to 10 show a third example of the embodiment of the present invention corresponding to the configurations (1) to (6) and (8).
  • a portion of the proximal end surface of the thrust receiving portion 38b constituting the feed screw member 37b that is in rolling contact with the balls 24 and 24 is more than the metal material constituting the feed screw member 37b.
  • Spherical reinforcing members 52a, 52a made of a hard material are embedded, and the shape of the portion in rolling contact with the rolling surface of each ball 24 is a partially curved convex surface. That is, the reinforcing members 52a and 52a are fitted and fixed to the recesses 53a and 53a provided on the base end surface of the thrust receiving portion 38b by interference fit.
  • a rotor 1 that rotates together with wheels;
  • a pad support (support) supported by the vehicle body in a state adjacent to the rotor 1;
  • the cylinder space 6 a provided in a state facing at least one of the pads (inner pad) 2 is provided so as to be capable of displacement in the axial direction of the rotor 1.
  • Piston 11a The piston 11a is displaced in the direction in which it is pushed out of the cylinder space 6a using the electric motor 8a as a drive source, so that both the pads (inner pads and outer pads) 2 and 3 are pressed against both axial sides of the rotor 1.
  • An electric disc brake device comprising an actuator,
  • the electric actuator includes an electric motor 8a, a ball speed reducer 19, and a conversion device (feed screw device) 12a.
  • the output shaft 20a is rotationally driven in both directions based on energization
  • the ball speed reducer 19 is provided at the inner end of the cylinder space 6a in a state where rotation is prevented when the ball speed reducer 19 is operated and axial displacement in a direction away from the piston 11a is prevented.
  • An anchor plate 22 an input shaft 21 provided in a state of being inserted through a through hole 29 provided in the center of the anchor plate 22, and rotating in both directions based on energization to the electric motor 8 a, and the input shaft
  • An annular ball holding member (cage) 23 that eccentrically moves with respect to the rotation center of the input shaft 21 with rotation of 21 and the ball holding member (cage) 23 can roll to a plurality of locations in the circumferential direction.
  • the conversion device (feed screw device) 12a is an electric disc brake device in which the rotational output of the ball speed reducer 19 is converted into a linear motion and the piston 11a is displaced in the axial direction.
  • the electric actuator constitutes the conversion device (feed screw device) 12a in addition to the electric motor 8a and the ball reducer 19.
  • the piston 11a has a bottomed cylindrical shape in which a distal end side which is an end portion on the pad (inner pad) 2 side is closed by a bottom portion 27 and a proximal end side is opened.
  • the pressing member 42 has a screw hole 45 in the center, and is in a state where relative rotation with respect to the piston 11a is prevented at a portion near the bottom 27 in the piston 11a and in the axial direction with respect to the piston 11a.
  • the feed screw member 37 is provided with a male screw portion 47 that is screwed into the screw hole 45 at a distal end portion or an intermediate portion that is an end portion near the bottom portion 27 of the piston 11a.
  • the thrust receiving portion 38 is provided.
  • the preload member (compression coil spring) 43 is formed between a pair of surfaces (a side surface of the anchor plate 22 facing the thrust receiving portion 38 and a base end surface of the thrust receiving portion 38) between which the balls 24 are sandwiched.
  • the ball 24 is elastically pinched, and a resistance against rolling of the balls 24 is given.
  • the input shaft 21 that is the input unit of the ball reducer 19 and the output unit To provide resistance to relative rotation with the male threaded portion 47,
  • the magnitude of the resistance applied to the relative rotation between the input shaft 21 and the male screw portion 47 by the preload member (compression coil spring) 43 is determined by the front end portion of the pressing member 42 and the inner surface of the bottom portion 27 of the piston 11a.
  • An electric disc brake device having a resistance greater than that of the pressing member 42 moving in the axial direction due to screwing of the male screw portion 47 and the screw hole 45 accompanying rotation of the member 37.
  • the electric disc brake device having the configuration of [2] above, wherein the preload member is a compression coil spring 43, and the compression coil spring 43 has an inward flange-like locking collar portion 48 at a distal end portion. It is held in a cylindrical spring holder 44 provided, and the base end portion of the spring holder 44 is prevented from being displaced in a direction in which the locking collar portion 48 is separated from the anchor plate 22.
  • An electric motor that is locked to the anchor plate 22 and that is provided with the compression coil spring 43 in a state where the entire length is elastically compressed between the locking collar portion 48 and the thrust receiving portion 38.
  • Type disc brake device Type disc brake device.
  • the ball holding member is an annular cage 23, and the balls 24 are arranged at a plurality of locations in the circumferential direction of the cage 23.
  • the retainer 23 and the thrust receiving portion 38 transmit the rotational motion of the retainer 23 while allowing the retainer 23 to move eccentrically.
  • Electric disc brake device connected by a joint.
  • the guide groove 25 is provided on a side surface of the anchor plate 22 facing the thrust receiving portion 38, and the guide groove 25 is provided.
  • An electric disc brake device in which the shape of the center line is a hypocycloid curve shape or an epicycloid curve shape, and the cross-sectional shape is an arc shape having a radius of curvature larger than 1 ⁇ 2 of the diameter of each ball 24.
  • the electric disc brake device having any one of the above-mentioned [1] to [5], wherein either one of a pair of surfaces sandwiching each ball 24 (in the anchor plate 22)
  • the guide groove 25 is provided on a side surface facing the thrust receiving portion 38, and the other surface (base end surface of the thrust receiving portion 38 a) is also in contact with the balls 24 on the other side.
  • An electric disc brake device in which a reinforcing member 52 made of a material harder than the material constituting the member having the surface (the base end surface of the thrust receiving portion 38a) is embedded.
  • a reinforcing member 52 made of a material harder than the material constituting the member having the surface (the base end surface of the thrust receiving portion 38a) is embedded.
  • the electric disc brake device having the configuration according to [6] above, wherein the reinforcing member 52 has a partially arcuate track surface having a cross-sectional shape having a radius of curvature equal to or more than half of the diameter of each ball 24.
  • 54 is an electric disc brake device.
  • the electric disc brake device configured as described in [6] above, wherein the reinforcing member 52a is provided with a partially spherical convex curved surface.
  • the electric disc brake device of the present invention is not limited to the above-described embodiment, and can be appropriately modified and improved.
  • the material, shape, dimensions, number, arrangement location, and the like of each component in the above-described embodiment are arbitrary and are not limited as long as the present invention can be achieved.
  • This application is based on a Japanese patent application filed on July 26, 2012 (Japanese Patent Application No. 2012-165357) and a Japanese patent application filed on November 7, 2012 (Japanese Patent Application No. 2012-245684). The contents are incorporated herein by reference.
  • the ball speed reducer used when carrying out the present invention is not limited to the structure in which the guide groove is formed only on the anchor plate side as shown in the figure, but also adopts a structure as described in Patent Document 9 described above. Is possible. That is, a first guide groove having a hypocycloid curve shape is formed on one of the opposing surfaces, and a second guide groove having an epicycloid curve shape is formed on the other surface.
  • a ball speed reducer in which a plurality of balls are arranged between the two can also be used. In short, any structure can be used as long as a large reduction ratio can be obtained by the thin structure and the rotational torque can be increased to some extent by applying a predetermined preload to each of the balls.
  • annular concave grooves are formed at a plurality of circumferential positions on the mutually opposing surfaces of the ball holding member and the thrust receiving portion, and between these annular concave grooves, A plurality of balls provided separately from the respective balls constituting the main body portion are sandwiched.
  • the structure of the present invention has an electric motor that can be shared among a plurality of pistons, but a reduction gear is required for each piston.
  • the volume of the device part that drives the is increased. Therefore, it is preferable to use a floating caliper type disc brake which requires only a small number of pistons and can easily secure a space for the piston installation portion.
  • an installation space such as for a large automobile, it is possible to use an opposed piston type disc brake.
  • the structure of the present invention can be applied to a service brake that decelerates or stops a traveling vehicle when a driver depresses a pedal, or a parking brake that maintains a vehicle in a stopped state.

Landscapes

  • Engineering & Computer Science (AREA)
  • General Engineering & Computer Science (AREA)
  • Mechanical Engineering (AREA)
  • Transportation (AREA)
  • Braking Arrangements (AREA)
PCT/JP2013/070234 2012-07-26 2013-07-25 電動式ディスクブレーキ装置 Ceased WO2014017609A1 (ja)

Priority Applications (3)

Application Number Priority Date Filing Date Title
US14/416,804 US20150203079A1 (en) 2012-07-26 2013-07-25 Electric disc brake device
CN201380039348.5A CN104487727A (zh) 2012-07-26 2013-07-25 电动盘式制动装置
EP13822954.7A EP2878847A4 (en) 2012-07-26 2013-07-25 ELECTRIC DISC BRAKING DEVICE

Applications Claiming Priority (4)

Application Number Priority Date Filing Date Title
JP2012165357 2012-07-26
JP2012-165357 2012-07-26
JP2012-245674 2012-11-07
JP2012245674A JP6137805B2 (ja) 2012-07-26 2012-11-07 電動式ディスクブレーキ装置

Publications (1)

Publication Number Publication Date
WO2014017609A1 true WO2014017609A1 (ja) 2014-01-30

Family

ID=49997415

Family Applications (1)

Application Number Title Priority Date Filing Date
PCT/JP2013/070234 Ceased WO2014017609A1 (ja) 2012-07-26 2013-07-25 電動式ディスクブレーキ装置

Country Status (5)

Country Link
US (1) US20150203079A1 (enExample)
EP (1) EP2878847A4 (enExample)
JP (1) JP6137805B2 (enExample)
CN (1) CN104487727A (enExample)
WO (1) WO2014017609A1 (enExample)

Cited By (2)

* Cited by examiner, † Cited by third party
Publication number Priority date Publication date Assignee Title
FR3105327A1 (fr) * 2019-12-20 2021-06-25 Foundation Brakes France Dispositif de freinage à usure réduite
CN114151328A (zh) * 2021-12-31 2022-03-08 富奥汽车零部件股份有限公司 一种缓速装置

Families Citing this family (17)

* Cited by examiner, † Cited by third party
Publication number Priority date Publication date Assignee Title
JP6308818B2 (ja) * 2014-03-10 2018-04-11 曙ブレーキ工業株式会社 フローティング型ディスクブレーキ
KR102446044B1 (ko) * 2015-05-12 2022-09-23 주식회사 만도 전동식 디스크 브레이크
JP2017145851A (ja) * 2016-02-16 2017-08-24 株式会社 神崎高級工機製作所 油圧装置及び減速機構付き駆動ユニット
US10184536B2 (en) 2016-09-23 2019-01-22 Akebono Brake Industry Co., Ltd. Brake piston
KR102383339B1 (ko) * 2016-12-09 2022-04-05 현대자동차주식회사 볼 스크루 타입 전동식 브레이크
DE102017116323A1 (de) * 2017-07-19 2019-01-24 Lucas Automotive Gmbh Scheibenbremse, Scheibenbremsanlage und Feststellbremsanlage
CN107269741B (zh) * 2017-07-28 2019-02-19 江苏理工学院 一种采用电动执行机构的汽车制动系统
EP3549896A1 (en) * 2018-04-06 2019-10-09 KONE Corporation Resetting device for resetting an actuator for actuating a safety gear of an elevator
DE102018123042A1 (de) * 2018-09-19 2020-03-19 Fte Automotive Gmbh Elektrischer Kupplungsaktuator mit federbelastetem Druckstück
JP7124686B2 (ja) * 2018-12-17 2022-08-24 トヨタ自動車株式会社 ディスクブレーキ装置
CN111864980B (zh) * 2019-04-29 2023-03-28 上海沃恒机械设备有限公司 用于柱塞液压泵的驱动装置
US20210091628A1 (en) * 2019-09-25 2021-03-25 Neapco Intellectual Property Holdings, Llc Lubricant supported electric motor with a profiled raceway
TWI738230B (zh) * 2020-02-27 2021-09-01 光陽工業股份有限公司 電子駐車裝置
CN113389823B (zh) * 2020-03-12 2023-02-10 光阳工业股份有限公司 电子驻车装置
CN113909839B (zh) * 2021-10-19 2022-09-13 浙江欧治汽车技术有限公司 轴承保持架上滚珠方法及轴承保持架上滚珠设备
BE1031313A9 (de) * 2023-02-01 2024-09-09 Thyssenkrupp Presta Ag Elektromechanische Bremsvorrichtung für ein Kraftfahrzeug
WO2025172850A1 (en) * 2024-02-12 2025-08-21 Brembo S.P.A. Caliper for a disc brake

Citations (13)

* Cited by examiner, † Cited by third party
Publication number Priority date Publication date Assignee Title
JPS622064A (ja) * 1985-06-27 1987-01-08 Kamo Seiko Kk 転動ボ−ル形差動減速機構
JPH04272552A (ja) * 1990-12-27 1992-09-29 Kamo Seiko Kk 転動ボール形差動減速装置
JPH0614592U (ja) * 1991-12-12 1994-02-25 株式会社椿本チエイン ボール式減速機
JP2000297834A (ja) 1998-10-24 2000-10-24 Meritor Automotive Inc ブレーキ移動クリアランス制御用電動モータを有する車両用ブレーキ装置
JP2004169729A (ja) 2002-11-18 2004-06-17 Akebono Brake Ind Co Ltd 電動ディスクブレーキ
JP2007093008A (ja) 2005-09-29 2007-04-12 Robert Bosch Gmbh 組合せ常用及び駐車ブレーキ装置
JP2007247683A (ja) 2006-03-13 2007-09-27 Nissin Kogyo Co Ltd 車両用ディスクブレーキ
JP2010038307A (ja) 2008-08-06 2010-02-18 Hosei Brake Ind Ltd ディスクブレーキ
JP2010265971A (ja) 2009-05-13 2010-11-25 Akebono Brake Ind Co Ltd 電動式ディスクブレーキ装置
JP2010266005A (ja) 2009-05-15 2010-11-25 Akebono Brake Ind Co Ltd 電動式ディスクブレーキ
JP2010266006A (ja) 2009-05-15 2010-11-25 Akebono Brake Ind Co Ltd 電動式ディスクブレーキ装置
JP2011064334A (ja) * 2010-12-28 2011-03-31 Hitachi Automotive Systems Ltd 電動ディスクブレーキ
JP2012007674A (ja) * 2010-06-24 2012-01-12 Hitachi Automotive Systems Ltd ディスクブレーキ

Family Cites Families (9)

* Cited by examiner, † Cited by third party
Publication number Priority date Publication date Assignee Title
JPH0614592A (ja) * 1992-06-23 1994-01-21 Fanuc Ltd Acサーボモータの加速度制御方式
DE10112570B4 (de) * 2000-03-15 2007-09-06 Hitachi, Ltd. Elektrisch betätigbare Scheibenbremse
DE10233673A1 (de) * 2001-07-31 2003-03-20 Tokico Ltd Elektrische Bremsvorrichtung
JP4711562B2 (ja) * 2001-08-29 2011-06-29 曙ブレーキ工業株式会社 電動式ブレーキ機構を備えたブレーキ装置
US7597407B2 (en) * 2005-01-28 2009-10-06 Hitachi, Ltd. Motor-driven brake system
JP4826942B2 (ja) * 2006-03-31 2011-11-30 日立オートモティブシステムズ株式会社 電動ディスクブレーキ、及び電動ディスクブレーキの組立方法
JP2010169248A (ja) * 2008-12-26 2010-08-05 Hitachi Automotive Systems Ltd ディスクブレーキ
JP5488909B2 (ja) * 2010-06-22 2014-05-14 日立オートモティブシステムズ株式会社 ディスクブレーキ
US20150323026A1 (en) * 2012-12-18 2015-11-12 Ntn Corporation Ball ramp mechanism, linear motion actuator, and electric disc brake device

Patent Citations (14)

* Cited by examiner, † Cited by third party
Publication number Priority date Publication date Assignee Title
JPS622064A (ja) * 1985-06-27 1987-01-08 Kamo Seiko Kk 転動ボ−ル形差動減速機構
JPH0762495B2 (ja) 1985-06-27 1995-07-05 加茂精工株式会社 転動ボ−ル形差動減速機構
JPH04272552A (ja) * 1990-12-27 1992-09-29 Kamo Seiko Kk 転動ボール形差動減速装置
JPH0614592U (ja) * 1991-12-12 1994-02-25 株式会社椿本チエイン ボール式減速機
JP2000297834A (ja) 1998-10-24 2000-10-24 Meritor Automotive Inc ブレーキ移動クリアランス制御用電動モータを有する車両用ブレーキ装置
JP2004169729A (ja) 2002-11-18 2004-06-17 Akebono Brake Ind Co Ltd 電動ディスクブレーキ
JP2007093008A (ja) 2005-09-29 2007-04-12 Robert Bosch Gmbh 組合せ常用及び駐車ブレーキ装置
JP2007247683A (ja) 2006-03-13 2007-09-27 Nissin Kogyo Co Ltd 車両用ディスクブレーキ
JP2010038307A (ja) 2008-08-06 2010-02-18 Hosei Brake Ind Ltd ディスクブレーキ
JP2010265971A (ja) 2009-05-13 2010-11-25 Akebono Brake Ind Co Ltd 電動式ディスクブレーキ装置
JP2010266005A (ja) 2009-05-15 2010-11-25 Akebono Brake Ind Co Ltd 電動式ディスクブレーキ
JP2010266006A (ja) 2009-05-15 2010-11-25 Akebono Brake Ind Co Ltd 電動式ディスクブレーキ装置
JP2012007674A (ja) * 2010-06-24 2012-01-12 Hitachi Automotive Systems Ltd ディスクブレーキ
JP2011064334A (ja) * 2010-12-28 2011-03-31 Hitachi Automotive Systems Ltd 電動ディスクブレーキ

Non-Patent Citations (1)

* Cited by examiner, † Cited by third party
Title
See also references of EP2878847A4

Cited By (3)

* Cited by examiner, † Cited by third party
Publication number Priority date Publication date Assignee Title
FR3105327A1 (fr) * 2019-12-20 2021-06-25 Foundation Brakes France Dispositif de freinage à usure réduite
CN114151328A (zh) * 2021-12-31 2022-03-08 富奥汽车零部件股份有限公司 一种缓速装置
CN114151328B (zh) * 2021-12-31 2024-04-30 富奥汽车零部件股份有限公司 一种缓速装置

Also Published As

Publication number Publication date
JP2014040902A (ja) 2014-03-06
EP2878847A4 (en) 2016-06-29
JP6137805B2 (ja) 2017-05-31
CN104487727A (zh) 2015-04-01
EP2878847A1 (en) 2015-06-03
US20150203079A1 (en) 2015-07-23

Similar Documents

Publication Publication Date Title
JP6137805B2 (ja) 電動式ディスクブレーキ装置
JP5513914B2 (ja) 電動式パーキング機構付ディスクブレーキ装置
US9568056B2 (en) Electromechanically actuated vehicle brake having an improved piston
CN103348163B (zh) 电动式直动致动器以及电动式盘式制动装置
US20110247904A1 (en) Electric linear motion actuator and electric brake system
CN112189100A (zh) 逆向输入断开离合器以及促动器
CN104246270B (zh) 摩擦制动装置
JP2022163186A (ja) ボールねじのためのセグメント化されたばね
JP2014190347A (ja) 電動式ディスクブレーキ装置
JP7715770B2 (ja) ウォブル・ジョイントを有するリニア・アクチュエータ
WO2012124811A1 (ja) パーキング機構付電動式ブレーキ装置
JP5946399B2 (ja) 電動式ディスクブレーキ装置
JP2014214752A (ja) 電動式ディスクブレーキ装置
JP5289182B2 (ja) 電動式ディスクブレーキ
JP2020034044A (ja) ディスクブレーキ
CN112313422B (zh) 离合器装置
JP5226604B2 (ja) 電動式ディスクブレーキ装置
WO2016152973A1 (ja) 電動式ディスクブレーキ装置
JP2018013167A (ja) 遊星ローラねじ式直動機構および電動ブレーキ装置
JP2017089871A (ja) ディスクブレーキ装置
JP5440923B2 (ja) 電動式直動アクチュエータおよび電動式ブレーキ装置
JP2014219041A (ja) 電動式ディスクブレーキ装置
JP2006300217A (ja) ノーバック装置
JP2015090157A (ja) ディスクブレーキ
JP2017061203A (ja) 電動ブレーキ

Legal Events

Date Code Title Description
121 Ep: the epo has been informed by wipo that ep was designated in this application

Ref document number: 13822954

Country of ref document: EP

Kind code of ref document: A1

REEP Request for entry into the european phase

Ref document number: 2013822954

Country of ref document: EP

WWE Wipo information: entry into national phase

Ref document number: 14416804

Country of ref document: US

Ref document number: 2013822954

Country of ref document: EP

NENP Non-entry into the national phase

Ref country code: DE