WO2013186972A1 - Display apparatus, display controlling method and program - Google Patents
Display apparatus, display controlling method and program Download PDFInfo
- Publication number
- WO2013186972A1 WO2013186972A1 PCT/JP2013/002621 JP2013002621W WO2013186972A1 WO 2013186972 A1 WO2013186972 A1 WO 2013186972A1 JP 2013002621 W JP2013002621 W JP 2013002621W WO 2013186972 A1 WO2013186972 A1 WO 2013186972A1
- Authority
- WO
- WIPO (PCT)
- Prior art keywords
- image
- display
- color temperature
- display device
- gradually
- Prior art date
- Legal status (The legal status is an assumption and is not a legal conclusion. Google has not performed a legal analysis and makes no representation as to the accuracy of the status listed.)
- Ceased
Links
Images
Classifications
-
- G—PHYSICS
- G09—EDUCATION; CRYPTOGRAPHY; DISPLAY; ADVERTISING; SEALS
- G09G—ARRANGEMENTS OR CIRCUITS FOR CONTROL OF INDICATING DEVICES USING STATIC MEANS TO PRESENT VARIABLE INFORMATION
- G09G5/00—Control arrangements or circuits for visual indicators common to cathode-ray tube indicators and other visual indicators
- G09G5/02—Control arrangements or circuits for visual indicators common to cathode-ray tube indicators and other visual indicators characterised by the way in which colour is displayed
-
- H—ELECTRICITY
- H04—ELECTRIC COMMUNICATION TECHNIQUE
- H04N—PICTORIAL COMMUNICATION, e.g. TELEVISION
- H04N13/00—Stereoscopic video systems; Multi-view video systems; Details thereof
- H04N13/10—Processing, recording or transmission of stereoscopic or multi-view image signals
- H04N13/106—Processing image signals
- H04N13/144—Processing image signals for flicker reduction
-
- H—ELECTRICITY
- H04—ELECTRIC COMMUNICATION TECHNIQUE
- H04N—PICTORIAL COMMUNICATION, e.g. TELEVISION
- H04N13/00—Stereoscopic video systems; Multi-view video systems; Details thereof
- H04N13/30—Image reproducers
- H04N13/324—Colour aspects
-
- H—ELECTRICITY
- H04—ELECTRIC COMMUNICATION TECHNIQUE
- H04N—PICTORIAL COMMUNICATION, e.g. TELEVISION
- H04N13/00—Stereoscopic video systems; Multi-view video systems; Details thereof
- H04N13/30—Image reproducers
- H04N13/332—Displays for viewing with the aid of special glasses or head-mounted displays [HMD]
- H04N13/344—Displays for viewing with the aid of special glasses or head-mounted displays [HMD] with head-mounted left-right displays
-
- H—ELECTRICITY
- H04—ELECTRIC COMMUNICATION TECHNIQUE
- H04N—PICTORIAL COMMUNICATION, e.g. TELEVISION
- H04N9/00—Details of colour television systems
- H04N9/64—Circuits for processing colour signals
- H04N9/73—Colour balance circuits, e.g. white balance circuits or colour temperature control
-
- G—PHYSICS
- G02—OPTICS
- G02B—OPTICAL ELEMENTS, SYSTEMS OR APPARATUS
- G02B27/00—Optical systems or apparatus not provided for by any of the groups G02B1/00 - G02B26/00, G02B30/00
- G02B27/01—Head-up displays
- G02B27/0101—Head-up displays characterised by optical features
- G02B2027/0112—Head-up displays characterised by optical features comprising device for genereting colour display
-
- G—PHYSICS
- G02—OPTICS
- G02B—OPTICAL ELEMENTS, SYSTEMS OR APPARATUS
- G02B27/00—Optical systems or apparatus not provided for by any of the groups G02B1/00 - G02B26/00, G02B30/00
- G02B27/01—Head-up displays
- G02B27/0101—Head-up displays characterised by optical features
- G02B2027/0118—Head-up displays characterised by optical features comprising devices for improving the contrast of the display / brillance control visibility
-
- G—PHYSICS
- G02—OPTICS
- G02B—OPTICAL ELEMENTS, SYSTEMS OR APPARATUS
- G02B27/00—Optical systems or apparatus not provided for by any of the groups G02B1/00 - G02B26/00, G02B30/00
- G02B27/01—Head-up displays
- G02B27/0101—Head-up displays characterised by optical features
- G02B2027/014—Head-up displays characterised by optical features comprising information/image processing systems
-
- G—PHYSICS
- G02—OPTICS
- G02B—OPTICAL ELEMENTS, SYSTEMS OR APPARATUS
- G02B27/00—Optical systems or apparatus not provided for by any of the groups G02B1/00 - G02B26/00, G02B30/00
- G02B27/01—Head-up displays
- G02B27/017—Head mounted
-
- H—ELECTRICITY
- H04—ELECTRIC COMMUNICATION TECHNIQUE
- H04N—PICTORIAL COMMUNICATION, e.g. TELEVISION
- H04N2213/00—Details of stereoscopic systems
- H04N2213/002—Eyestrain reduction by processing stereoscopic signals or controlling stereoscopic devices
Definitions
- the present disclosure relates to a display apparatus, a display controlling method and a program. Particularly, the present disclosure relates to a display apparatus, a display controlling method and a program by which display control of reducing the degree of fatigue of a user (observer) who observes a display image of a display section.
- a display apparatus which is mounted on the head of a user to allow the user to view a video namely, a head-mounted display (HMD) unit
- the head-mounted display unit has an optical unit for each of the left and right eyes and is configured such that it is used in conjunction with headphones so that the sense of sight and the sense of hearing can be controlled. If the head-mounted display unit is configured such that the outside world is cut off fully when it is mounted on the head, then the virtual reality upon viewing enhances. Further, the head-mounted display unit can reflect different videos on the left and right eyes, and if images having a parallax are displayed on the left and right eyes, then a 3D image can be presented.
- a display panel of a high resolution formed, for example, from a liquid crystal display element or an organic EL (Electro-Luminescence) element can be used. Further, if a suitable angle of view is set by an optical system and multi-channels are reproduced by headphones, then such a realistic sensation as is obtained by viewing in a movie theater can be reproduced.
- the display section outputs wavelength light of various colors corresponding to videos, and the user (observer) comes to observe output videos of the display sections with the left and right eyes.
- PTL 1 Japanese Patent Laid-Open No. 2009-86133 proposes a video displaying apparatus wherein the dimming speed of the backlight light source is changed so as to follow up a variation of a characteristic amount of an input video signal based on a difference between periods of time required for light adaptation by which a person gets used to bright light and dark adaptation by which a person gets used to dark light.
- PTL 2 Japanese Patent Laid-Open No. 2010-252379 proposes an image displaying apparatus wherein a peripheral brightness environment is obtained using an illuminance sensor to carry out changeover of video settings suitable for the peripheral environment without providing a sense of discomfort to the viewer.
- PTL 3 Japanese Patent Laid-Open No. 2011-22447 proposes an image displaying apparatus wherein a picture quality correction amount is calculated successively in response to a display luminance level so that it is prevented based on a sense of the brightness and dark adaptation with respect to time of the eyes of the human being, even if the display luminance is controlled, the observer from feeling that the picture quality or the visibility is degraded.
- a changing process of an output color utilizing the adaptability of an observer to a variation in color namely, color adaptability
- color temperature conversion of changing an output color in accordance with color adaptability for example, a Bradford transform which is used in a CIECAM02 or ICC profile is known. This transform process is used already, for example, in a printer which executes a printing process of a still picture.
- the transform process described above can be applied.
- the present disclosure has been made taking, for example, such problems as described above, and it is an object of the present disclosure to provide a display apparatus, a display controlling method and a program which make color temperature conversion utilizing color adaptation possible by a simple and easy configuration and process and implement reduction of the degree of fatigue of a user (observer) who observes a color image.
- the technology of the present disclosure is implemented in a display device.
- the display device includes a display to display an image; and a video signal processing section to gradually lower an output power, for the image, of light of a wavelength in an approximate range of wavelengths corresponding to blue light, the gradual lowering being performed after a user begins observing the image.
- system in the present specification is a logical assembly configuration of a plurality of apparatus and is not limited to that in which the component apparatus are included in the same housing.
- a display apparatus includes a display section configured to output an image signal, and a signal processing section configured to execute control of the image signal to be outputted to the display section.
- the signal processing section receives sensor information of a mount sensor or the like as an input thereto, measures an elapsed period of time from a point of time at which observation of the display section is started, and then executes control of gradually lowering a color temperature of the image signal in response to an elapsed time period and gradually lowering a signal level in a blue color region.
- the signal processing section executes control of gradually raising the color temperature of the image signal in response to an elapsed period of time from a point of time at which the observation of the display section ends.
- the signal processing section executes gain control for input RGB signal values to calculate and output RGB signal values in accordance with chromatic adaptation.
- FIG. 1 is a view illustrating an example of a system configuration which utilizes a display apparatus of the present disclosure.
- FIG. 2 is a view illustrating an example of a configuration of the display apparatus of the present disclosure.
- FIG. 3 is a view illustrating an example of an appearance configuration of the display apparatus of the present disclosure.
- FIG. 4 is a view illustrating a configuration and a process of a video signal processing section of the display apparatus of the present disclosure.
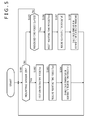
- FIG. 5 is a view showing a flow chart illustrating a process executed by the display apparatus of the present disclosure.
- FIG. 6 is a view illustrating an example of color temperature control executed by the display apparatus of the present disclosure.
- FIG. 7 is a view illustrating another example of color temperature control executed by the display apparatus of the present disclosure.
- FIG. 1 is a view illustrating an example of a system configuration which utilizes a display apparatus of the present disclosure.
- FIG. 2 is a view illustrating an example of a configuration of the display apparatus of the present disclosure.
- FIG. 8 is a view illustrating a further example of color temperature control executed by the display apparatus of the present disclosure.
- FIG. 9 is a view illustrating an example of color temperature control in response to a mode executed by the display apparatus of the present disclosure.
- FIG. 10 is a view illustrating another example of color temperature control executed in response to a mode by the display apparatus of the present disclosure.
- FIG. 11 is a view showing a flow chart illustrating a process executed by the display apparatus of the present disclosure.
- a head-mounted display unit is described as an example of the display apparatus.
- the process of the present disclosure can be applied not only to a head-mounted display unit but also to various display apparatus such as a television set, a PC, a portable terminal and a projector.
- FIG. 1 schematically shows a configuration of an image display system which includes a head-mounted display unit.
- the system shown in FIG. 1 is configured from a main body of the head-mounted display unit 10, a Blu-ray disk reproduction apparatus 20 serving as a source of viewing content, a high-definition display (for example, HDMI (High-Definition Multimedia Interface) compatible television) unit 30 serving as another outputting destination of reproduction content from the Blu-ray disk reproduction apparatus 20, and a front end box 40 which carries out processing of an AV signal outputted from the Blu-ray disk reproduction apparatus 20.
- HDMI High-Definition Multimedia Interface
- the front end box 40 corresponds to an HDMI repeater which receives an AV signal outputted from the Blu-ray disk reproduction apparatus 20 as an HDMI input, and carries out, for example, signal processing of the AV signal and then outputs a resulting signal as an HDMI output. Further, the front end box 40 serves also as a two-output switcher which changes over the output determination of the Blu-ray disk reproduction apparatus 20 to one of the head-mounted display unit 10 and the high-definition display unit 30. While the front end box 40 in the example shown in FIG. 1 has two outputs, it may have three or more outputs. However, the front end box 40 exclusively selects an output destination of an AV signal and selects the head-mounted display unit 10 most preferentially as the output destination.
- the Blu-ray disk reproduction apparatus 20 and the front end box 40 are connected to each other by an HDMI cable while the front end box 40 and the high-definition display unit 30 are connected each other by another HDMI cable.
- the AV signal may be transferred serially using a cable of some other specification.
- an AV signal and electric power are supplied by a single cable which connects the front end box 40 and the head-mounted display unit 10 to each other, and the head-mounted display unit 10 can obtain driving power through the cable.
- the head-mounted display unit 10 includes display sections for the left eye and the right eye independent of each other.
- Each of the display sections uses, for example, an organic EL element.
- each of the left and right display sections includes a lens block configured from a wide view angle optical system of low distortion and a high resolution.
- FIG. 2 schematically shows an internal configuration of the head-mounted display unit 10. In the following, components of the same are described.
- a control section 201 is configured, for example, from a microprocessor and executes a control program stored in a ROM (Read Only Memory) 202 using a working area of a RAM (Random Access Memory) 203 to control operation of the entire apparatus.
- ROM Read Only Memory
- RAM Random Access Memory
- a mount sensor 204 detects that the head-mounted display unit 10 is mounted on a user (viewer) or that the user dismounts the head-mounted display unit 10. When the mount sensor 204 detects mounting or dismounting of the head-mounted display unit 10, it generates an interrupt signal to the control section 201.
- control section 201 controls, as a corresponding interrupt process, a timer 211 to start measurement of an elapsed time period from a mounting starting timing or an elapsed time period form a dismounting timing. Further, the control section 201 instructs a video signal processing section 206 to execute conversion of a color signal, for example, a color temperature conversion process, utilizing chromatic adaptation in response to the elapsed time period measured by the timer. Details of this process are hereinafter described.
- the video signal processing section 206 carries out such signal processes as decoding, scaling and noise reduction for a video signal received from the front end box 40 by an HDMI signal inputting section 205. Further, the video signal processing section 206 carries out conversion of a color signal, for example, a color temperature conversion process, utilizing chromatic adaptation. The video signal after the processes is temporarily recorded into a VRAM (Video RAM) 210.
- VRAM Video RAM
- a display controlling section 207 outputs a video signal temporarily recorded in the VRAM 210 to a left-eye display section 208 and a right-eye display section 209 so as to be displayed.
- Each of the left-eye display section 208 and the right-eye display section 209 is provided with a lens block (not shown in FIG. 2) for enlarging the video.
- Each of the left and right lens blocks is configured from a combination of a plurality of optical lenses and optically processes the video to be displayed by a display panel 224 or 225. Videos displayed on light emitting faces of the left-eye display section 208 and the right-eye display section 209 are enlarged when they pass the lens blocks such that large virtual images are formed on the retina of the user.
- Each of the left-eye display section 208 and the right-eye display section 209 is configured, for example, from a liquid crystal display unit or an organic EL element.
- FIG. 3 shows an example of an appearance configuration of the head-mounted display unit 10.
- two configuration examples including a configuration example (a) wherein the mount sensor 204 is set to a nose pad and another configuration example (b) wherein the mount sensor 204 is set to a forehead pad are shown.
- the head-mounted display unit shown in FIG. 3(a) has a structure similar to that of glasses for the visual correction, and the left-eye display section 208 and the right-eye display section 209 are supported on a spectacle frame together with the lens blocks (described hereinabove). Further, to the left and right temples, a left side earphone and a right side earphone are attached, respectively.
- a nose pad serves also as the mount sensor 204 and is contrived such that it detects mounting when the nose of the user (observer) is abutted with the nose pad. The mount sensor 204 is turned on when the nose of the user is abutted with the nose pad but is turned off when the nose is spaced away from the nose.
- a forehead pad serves also as the mount sensor 204 and is contrived such that it detects mounting when the forehead of the user (viewer) is abutted with the forehead pad.
- the mount sensor 204 is turned on when the forehead of the user is abutted with the forehead pad but is turned off when the forehead is spaced away from the forehead.
- a hood is attached above each of the left-eye display section 208 and the right-eye display section 209.
- the left and right eyes are blocked from the natural light by the hoods, and the viewing environment can be kept substantially fixed.
- the head-mounted display unit 10 is configured as a device for directly covering the eyes of the user.
- the video signal processing section 206 carries out signal processes such as decoding, scaling and noise reduction for a video signal received from the front end box 40 by the HDMI signal inputting section 205. Further, the video signal processing section 206 carries out conversion of a color signal, for example, color temperature conversion, utilizing chromatic adaptation.
- Such signal processes as decoding, scaling and noise reduction are carried out as processes similar to processes traditionally executed by image displaying apparatus.
- conversion of a color signal wherein chromatic adaptation, which is a process unique to the display apparatus of the present disclosure, is utilized, particularly, a color temperature conversion process, is described.
- the video signal processing section 206 of the head-mounted display unit 10 carries out a process of gradually lowering, for example, after the user mounts the head-mounted display unit 10 thereon, the output power of light of a wavelength in the proximity of that of the blue in order to reduce the degree of fatigue of the user. This process is executed as a color temperature conversion process in accordance with chromatic adaptation.
- blue light increases the degree of fatigue of the observer.
- light of a short wavelength in the proximity of that of the blue particularly of approximately 446 nm to 483 nm suppresses the secretion of melatonin which is a substance in the brain which relaxes the body. Therefore, the short wavelength light makes a cause of increasing the degree of fatigue of the observer.
- an output of blue color which makes a cause of such fatigue is suppressed, and besides, output color changing in accordance with chromatic adaptation is carried out so that the user may not have a sense of discomfort to the color of a video.
- FIG. 4 is a view illustrating an execution configuration and processing of a color signal conversion process executed by the video signal processing section 206.
- a gamma-linear conversion section 301 carries out a gamma-linear conversion process for video signals (R1', G1', B1') inputted thereto from the HDMI signal inputting section 205 to generate linear RGB signals (R1_in, G1_in, B1_in), for example, of a 14-bit width.
- a color temperature conversion section 302 executes a color temperature conversion process utilizing chromatic adaptation for the video signals (R1_in, G1_in, B1_in) of the linear RGB format generated by the gamma-linear conversion section 301 to generate output signals (R1_out, G1_out, B1_out).
- “Chromatic adaptation” is experience of the perception of a user (viewer) to a color displayed, for example, on a display section, namely, adaptation.
- adaptation As the adaptation of a human being to the sense of sight, for example, "light adaptation,” “dark adaptation,” “chromatic adaptation” and so forth are available.
- the “dark adaptation” is an autonomic function in an animal which acts when the environment suddenly changes from an environment in which the amount of visible light is great into another environment in which the amount of visible light is small, namely, into a dark environment.
- the “dark adaptation” is an adaptation process that, although the animal feels dark first and is placed into a state in which the animal cannot recognize a substance and so forth in the dark environment, as time passes, the animal gradually assures the eyesight.
- the "light adaptation” is an autonomic function in an animal which acts when the environment suddenly changes from an environment in which the amount of visible light is small into another environment in which the amount of visible light is great, namely, into a light environment.
- the "light adaptation” is an adaptation process that, although the animal feels bright first and is placed also into a state in which the animal cannot in the vicinity recognize a substance and so forth, as time passes, the animal gradually assures the eyesight.
- the "chromatic adaptation” is an adaptation reaction which is similar to the "light adaptation” and the “dark adaptation” and occurs in the visual part of the human being. For example, if the human being mounts colored sunglasses thereon and looks at white paper, then at the instant, the human being perceives the white paper as paper colored in the same color as that of the sunglasses. However, as time passes, the human being soon becomes to perceive the white paper as white paper.
- Such adaptations as the "light adaptation,” “dark adaptation” and “chromatic adaptation” as described above are actions based on an action of photoreceptor cells in the retina.
- the photoreceptor cells include rod cells which respond to dark and light and cone cells which respond to color (wavelength).
- the dark adaptation and the light adaptation as well as the chromatic adaptation are adaptation characteristics corresponding to environmental variations of the rod cells and the cone cells.
- the rod cell has an extremely high sensitivity to light and responds to even one photon. Since the rod cell shows the sensitivity over the overall region of the spectrum, it exhibits a fixed level of eyesight also at a dark place. On the contrary, in a light environment such as in the daytime, the rod cell is placed into a saturated state with a large amount of light and does not function. The eyesight of the rod cell is low, and delicate discrimination of an object is entrusted to the cone cell. Further, since the rod cells belong to one type wherein a peak is provided at the wavelength of approximately 520 nanometers, it cannot identify a color depending upon a difference in wavelength but identifies only an intensity of light, namely, a difference in brightness.
- the cone cell is lower in sensitivity to light than the rod cell and does not function at night when the light is little. Most part of the eyesight is borne by the cone cells and is highest at the macular fovea at which the cone cells are particularly concentrated in a high concentration while the eyesight drops suddenly as the distance from the fovea increases.
- the color temperature conversion section 302 of the video signal processing section 206 of the display apparatus of the present disclosure executes a color temperature conversion process utilizing chromatic adaptation for video signals (R1_in, G1_in, B1_in) of the linear RGB format produced by the gamma-linear conversion section 301 to generate the output signals (R1_out, G1_outn, B1_out).
- the color temperature conversion section 302 changes the mode of the color temperature conversion process in response to the following elapsed time periods. (1) Elapsed time period after starting of mounting of the head-mounted display unit of the user (viewer) (2) Elapsed time period after dismounting of the head-mounted display unit of the user (viewer)
- the control section 201 of the configuration shown in FIG. 2 starts up the timer 211 in response to sensor information of the mount sensor 204, measures the elapsed time period, and changes the processing mode of the color temperature conversion in response to the elapsed time period.
- the color temperature conversion section 302 does not carry out complicated matrix arithmetic operation, but applies parameters stored in a memory in advance to execute an arithmetic operation process for an input signal, particularly, for example, gain adjustment for the input signals (R1_in, G1_in, B1_in) to calculate the output signals (R1_out, G1_outn, B1_out) after the color temperature conversion.
- gain adjustment for the input signals (R1_in, G1_in, B1_in) to calculate the output signals (R1_out, G1_outn, B1_out) after the color temperature conversion.
- the color temperature conversion section 302 of the video signal processing section 206 shown in FIG. 4 carries out a color temperature conversion process utilizing chromatic adaptation for the video signals (R1_in, G1_in, B1_in) of the linear RGB format produced by the gamma-linear conversion section 301 to generate the output signals (R1_out, G1_outn, B1_out).
- the output signals (R1_out, G1_outn, B1_out) generated by the color temperature conversion section 302 are inputted to a display section-compatible color gamut conversion section 303.
- the display section-compatible color gamut conversion section 303 executes conversion of output bit values in response to a displayable color region of the display section which outputs the video signals, for example, a bit degeneration process of reducing the bit number or the like to generate output values (R2, G2, B2). For this process, an arithmetic operation process wherein a 3 x 3 matrix stored, for example, in a memory in advance or a like process is carried out.
- the RGB values (R2, G2, B2) generated by the display section-compatible color gamut conversion section 303 are inputted to a display section-compatible gamma conversion section 304.
- the display section-compatible gamma conversion section 304 carries out gamma correction so as to establish compatibility with characteristics of the display sections, namely, the left-eye display section 208 and the right-eye display section 209 shown in FIG. 2, to generate correction signals (R2', G2', B2') and outputs the correction signals (R2', G2', B2') to the left-eye display section 208 and the right-eye display section 209 shown in FIG. 2.
- FIG. 5 shows a flow chart illustrating an example of a color temperature conversion process sequence executed by the display apparatus of the present disclosure.
- Processing in accordance with the flow illustrated in FIG. 5 is executed such that the display apparatus, for example, the control section 201 of the head-mounted display unit 10 shown in FIG. 2, executes a program stored in the ROM 202 and outputs a control signal to the video signal processing section 206 and so forth.Processes at steps of the flow shown in FIG. 5 are successively described.
- Step S101 the control section 201 decides whether or not the mount sensor 204 is on, namely, whether or not the user mounts the head-mounted display unit thereon, based on the sensor information inputted thereto from the mount sensor 204.
- step S101 If the control section 201 decides that the mount sensor 204 is on, namely, the user mounts the head-mounted display unit thereon, then the decision at step S101 becomes Yes, and the processing advances to step S102. If the mount sensor 204 indicates an off state, then the decision at step S101 is No, and the processing advances to step S105.
- Step S102 If it is decided that the mount sensor 204 is on, namely, the user mounts the head-mounted display unit thereon, then the processing advances to step S102, at which the measurement time period measured by the timer 211 after dismounting of the head-mounted display unit is reset.
- the timer 211 measures the elapsed time period from the time at which the user mounts the head-mounted display unit thereon, namely, from the time of starting of mounting at which the mount zensor 204 is turned on, under the control of the control section 201. Further, the timer 211 measures the elapsed time period from the time at which the mount zensor 204 is turned off, namely, from the time of dismounting at which the mount sensor 204 is turned off, under the control of the control section 201.
- Step S103 At step S103, measurement of the elapsed time period from the time at which the mount zensor 204 is turned on, namely, from the time of mounting at which the user mounts the head-mounted display unit thereon, is started by the timer 211 under the control of the control section 201.
- Step S104 Then at step S104, the control section 201 outputs a control signal to the video signal processing section 206, and the video signal processing section 206 executes a changing process of the color temperature in response to the elapsed time period from the time of mounting of the head-mounted display unit by the user.
- FIG. 6 is a view illustrating a particular example of the color temperature changing process executed in response to the elapsed time period from the time of mounting of the head-mounted display unit, which is executed by the display apparatus of the present disclosure.
- the graph shown in FIG. 6 is a graph of such setting that the axis of abscissa indicates the elapsed time period: Ton (min) from the time of mounting of the head-mounted display unit, and the axis of ordinate indicates the color temperature: Tcp (K) of an image displayed on the display section.
- Ton the elapsed time period from the time of mounting of the head-mounted display unit
- the color temperature (Tcp) of the display image of the display section is approximately 6,800 K.
- the color temperature of the display image of the display section is approximately 5,700 K.
- a process of lowering the color temperature together with the lapse of time after the user mounts the head-mounted display unit thereon is executed.
- the process of lowering the color temperature corresponds to a process of lowering blue components in the short wavelength region in the image.
- blue color components which are considered to suppress secretion of melatonin described hereinabove can be reduced, and an effect that the fatigue of the user (observer) is reduced is achieved.
- this color temperature control is executed as a process in accordance with chromatic adaptation of the human being. The user (observer) who is observing the display section can perceive the display image as a natural color display image without having a sense of discomfort to the variation in color.
- the control section 201 shown in FIG. 2 inputs the elapsed time period information (Ton) from the time of mounting of the head-mounted display unit, which is measured by the timer 211, to the video signal processing section 206.
- the video signal processing section 206 changes the output values of the RGB signals in response to the elapsed time period (Ton) so that such color temperature settings as illustrated in FIG. 6 may be obtained.
- the color temperature conversion section 302 of the video signal processing section 206 executes the color temperature conversion process for the RGB input values (R1_in, G1_in, B1_in) from the gamma-linear conversion section 301 to generate the RGB output values (R1_out, G1_out, B1_out) and outputs the RGB output values (R1_out, G1_out, B1_out).
- the color temperature conversion section 302 executes this RGB output value conversion process by gain control for the RGB input values.
- the RGB output values (R1_out, G1_out, B1_out) are calculated in accordance with the following calculation expression (expression 1).
- R1_out Gr x (R1_in)
- G1_out Gg x (G1_in)
- B1_out Gb x (B1_in) .... (expression 1)
- Gr, Gg and Gb are gains corresponding to R, G and B, respectively.
- Gr, Gg and Gb are parameters which are multiplied to the input RGB values to calculate output RGB values.
- the gain exhibits a value which differs depending upon a color temperature target value which is determined together with the elapsed time period (Ton) from the time of mounting of the head-mounted display unit 10.
- the gain corresponding to each of the RGB colors in this instance has a value determined in accordance with the graph illustrated in FIG. 7.
- the axis of abscissa indicates the color temperature (Tcp) and the reciprocal color temperature (10 6 /Tcp), and the axis of ordinate indicates the gains (Gr, Gb, Gc).
- the graphs of FIG. 7 are graphs illustrating corresponding relationships of them.
- the graphs shown in FIG. 7 are graphs produced based on some matrix elements of a transformation matrix used in Bradford transform known as a color temperature conversion process in accordance with chromatic adaptation.
- a 3 x 3 matrix indicated by the following (expression A) is applied to execute a color temperature conversion process for input RGB values (R1_in, G1_in, B1_in) to produce RGB output values (R1_out, G1_out, B1_out), and the RGB output values (R1_out, G1_out, B1_out) are outputted.
- a line of Gr shown in FIG. 7 corresponds to the element m11 of the (expression A) above; a line of Gg to the element m22; and a line of Gb to the element m33.
- the 3 x 3 matrix illustrated in the (expression A) is applied to execute color temperature conversion in accordance with chromatic adaptation.
- the elements m11, m22 and m33 of the matrix indicated in the (expression A) given above are applied to execute color conversion.
- the elements in the 3 x 3 matrix indicated in the (expression A) above other than the elements m11, m22 and m33 have values substantially close to zero.
- a color conversion process is executed only by gain control which utilizes the elements m11, m22 and m33 which have high significance without executing matrix arithmetic operation wherein such elements of almost zero are applied.
- gain control which utilizes the elements m11, m22 and m33 which have high significance without executing matrix arithmetic operation wherein such elements of almost zero are applied.
- the process executed by the display apparatus of the present disclosure is executed as a process which utilizes data corresponding to the graphs shown in FIGS. 6 and 7.
- a set target value of the color temperature in accordance with the elapsed time period (Ton) from the time of mounting of the head-mounted display unit is calculated from the graph shown in FIG. 6.
- the gains are calculated from the graphs shown in FIG. 7 based on the acquired target value.
- the gain corresponding to the blue color drops.
- the inclination of the gain Gb corresponding to the blue color is a rightwardly downward inclination, namely, a (-) inclination, and the blue color is attenuated by lowering the color temperature.
- the gain values and the reciprocal color temperature (10 6 /Tcp) have a relation of primary expressions.
- the relational expression between the gain value Gx corresponding to a color temperature and corresponding to each of the RGB colors and the reciprocal color temperature (10 6 /Tcp) can be represented by the following expression.
- p is a value determined in response to Gr, Gb and Gc and is a parameter which corresponds to the gradient of each of the straight lines shown in FIG. 7.
- the color temperature conversion process by the color temperature conversion section 302 can be indicated as an output value calculation process in accordance with an (expression 2) given below.
- the color temperature conversion section 302 shown in FIG. 4 executes color temperature conversion for the RGB input values (R1_in, G1_in, B1_in) to calculate the RGB output values (R1_out, G1_out, B1_out) in accordance with a calculation expression (expression 2) given below.
- R1_out (pr(10 6 /Tcp) + qr) x (R1_in)
- G1_out (pg(10 6 /Tcp) + qg) x (G1_in)
- B1_out (pb(10 6 /Tcp) + qb) x (B1_in) .... (expression 2)
- the parameters included in the (expression 2) above namely, the parameters pr, qr, pg, qg, pb, qb, are stored in a memory in the video signal processing section 206 shown in FIG. 2. Or, the parameters are stored into the RAM 203 of the head-mounted display unit 10 shown in FIG. 2 and provided to the video signal processing section 206 through the control section 201.
- corresponding relationship information between the elapsed time period (Ton) from the time of starting of mounting of the head-mounted display unit and the color temperature set value shown in FIG. 6 is stored in the memory in the video signal processing section 206 shown in FIG. 2. Or, the corresponding relationship information is stored in the RAM 203 of the head-mounted display unit 10 shown in FIG. 2 and provided to the video signal processing section 206 through the control section 201.
- the color temperature conversion section 302 of the video signal processing section 206 shown in FIG. 4 receives the elapsed time period (Ton) from the time of starting of mounting of the head-mounted display unit as an input thereto from the control section 201.
- the color temperature conversion section 302 utilizes the corresponding relationship between the elapsed time period (Ton) from the time of starting of mounting of the head-mounted display unit and the color temperature set value shown in FIG. 6 to acquire or calculate the set target value (Tcp) of the color temperature based on the elapsed time period (Ton).
- the set target value (Tcp) of the color temperature and the parameters pr, qr, pg, qg, pb, qb, acquired from the memory are applied to calculate the output values after the color temperature conversion, namely, the RGB output values (R1_out, G1_out, B1_out), based on the (expression 2) given hereinabove.
- the output values after the color temperature conversion are calculated in accordance with the calculation expression (expression 2) given below.
- R1_out (pr(10 6 /Tcp) + qr) x (R1_in)
- G1_out (pg(10 6 /Tcp) + qg) x (G1_in)
- B1_out (pb(10 6 /Tcp) + qb) x (B1_in)
- the color temperature conversion section 302 of the video signal processing section 206 shown in FIG. 4 calculates RGB output values after the color temperature conversion in response to the elapsed time period information (Ton) inputted thereto from the control section 201.
- the calculated values (R1_out, G1_out, B1_out) are inputted to the display section-compatible color gamut conversion section 303 as illustrated in FIG. 4. The process after this is such as described hereinabove with reference to FIG. 4.
- the color temperature conversion process is executed in accordance with the (expression 2) given hereinabove utilizing the color temperature set value determined in response to the elapsed time period (Ton) from the time of starting of mounting of the head-mounted display unit and the parameters (pr, qr, pg, qg, pb, qb) for gain calculation stored in the memory.
- step S104 the color temperature conversion for setting the color temperatures to the color temperature target values determined in response to the elapsed time period (Ton) from the time of starting of mounting of the head-mounted display unit, namely, to the color temperatures determined in accordance with the graphs shown in FIG. 6.
- Such a process as to lower the color temperature gradually until ten minutes elapse after the time of starting of mounting and thereafter keep the color temperature fixed as illustrated in FIG. 6 is executed. It is to be noted that the time transition of the color temperature illustrated in FIG. 6 is an example, and some other setting may be used. Further, such a configuration as to carry out a process in response to a mode se by the user or in response to a mode set in response to a category of an image to be displayed may be adopted.
- Step S105 The process at step S105 is a process executed when the decision at step S101 is No, namely, when the mount sensor is not on. At step S105, it is decided whether or not a time period prescribed in advance is elapsed. This process is a step for discriminating whether that the mount sensor is turned off arises from the fact that the user dismounts the head-mounted display unit or the fact that the mount sensor is temporality turned off, for example, by vibration.
- step S105 determines whether the mount sensor has dismounted the head-mounted display unit. If the off state of the mount sensor continues for a period of time equal to or longer than the prescribed time period, then it is decided that the user has dismounted the head-mounted display unit, and the processing advances to step S106.
- Step S106 At step S106, the measurement of the elapsed time period (Ton) from the time of starting of mounting measured by the timer 211 is stopped, and the timer 211 is reset.
- Step S107 measurement by the timer 211 from the point of time at which the user dismounts the head-mounted display unit is started.
- Step S108 the control section 201 outputs a control signal to the video signal processing section 206, and the video signal processing section 206 executes a color temperature changing process in response to the elapsed time period after the time of the dismounting of the head-mounted display unit by the user.
- FIG. 8 is a view illustrating a particular example of the color temperature changing process executed by the display apparatus of the present disclosure in response to the elapsed period of time from the time at which the head-mounted display unit is dismounted.
- a graph shown in FIG. 8 is set such that the axis of abscissa indicates the elapsed time period from the time of dismounting of the head-mounted display unit, namely, the non-mounting time period: Toff, and the axis of ordinate indicates the color temperature: Tcp (K) of an image displayed on the display section.
- Tcp the color temperature of the display image of the display section.
- the color temperature (Tcp) of the display image of the display section is set to approximately 6,800 K.
- the user re-mounts the head-mounted display unit at this point of time, then the original perceptual state of the user is restored by approximately 50%, and in this perceptual state, the user can observe a color image which does not give a sense of discomfort.
- the color temperature of the display image of the display section is set to approximately 8,000 K. This color temperature corresponds, in the setting of FIG. 6 described hereinabove, to the color temperature setting in the case where the color temperature conversion process is not executed.
- This color temperature control is a process in accordance with the chromatic adaptation of the human being, and when the user removes the head-mounted display unit and then re-mounts the head-mounted display unit, the user (observer) can perceive a natural color image without having a sense of discomfort to a variation in color.
- the control section 201 shown in FIG. 2 inputs the elapsed time period information (Toff) from the time of dismounting (time of non-mounting) of the head-mounted display unit measured by the timer 211 to the video signal processing section 206.
- the video signal processing section 206 changes the output values of the RGB signals so that such color temperature settings as illustrated in FIG. 8 may be obtained in response to the elapsed time period (Toff).
- the color temperature conversion section 302 of the video signal processing section 206 executes the color temperature conversion process for the RGB input values (R1_in, G1_in, B1_in) from the gamma-linear conversion section 301 to generate and output the RGB output values (R1_out, G1_out, B1_out).
- the color temperature conversion section 302 executes the color temperature conversion process for the RGB input values (R1_in, G1_in, B1_in) to calculate the RGB output values (R1_out, G1_out, B1_out) in accordance with the following calculation expression (expression 2).
- R1_out (pr(10 6 /Tcp) + qr) x (R1_in)
- G1_out (pg(10 6 /Tcp) + qg) x (G1_in)
- B1_out (pb(10 6 /Tcp) + qb) x (B1_in) .... (expression 2)
- the parameters included in the (expression 2) above namely, the parameterspr, qr, pg, qg, pb, qb, are stored in the memory in the video signal processing section 206 shown in FIG. 2.
- the parameters stored in the RAM 203 of the head-mounted display unit 10 shown in FIG. 2 are provided to the video signal processing section 206 through the control section 201.
- corresponding information between the elapsed time period (Toff) from the time of dismounting (time of non-mounting) of the head-mounted display unit and the color temperature set value shown in FIG. 8 is stored in the memory in the video signal processing section 206 shown in FIG. 2.
- the corresponding information is stored in the RAM 203 of the head-mounted display unit 10 shown in FIG. 2 and provided to the video signal processing section 206 through the control section 201.
- the color temperature conversion section 302 of the video signal processing section 206 shown in FIG. 4 receives the elapsed time period information (Toff) from the time of dismounting of the head-mounted display unit as an input thereto from the control section 201.
- the color temperature conversion section 302 utilizes the corresponding relationship between the elapsed time period (Toff) from the time of dismounting of the head-mounted display unit and the color temperature set value shown in FIG. 8 to acquire or calculate the set target value (Tcp) of the color temperature based on the elapsed time period information (Toff).
- the set target value (Tcp) of the color temperature and the parameters pr, qr, pg, qg, pb, qb, acquired from the memory are applied to calculate the output values after the color temperature conversion, namely, the RGB output values (R1_out, G1_out, B1_out).
- the output values after the color temperature conversion are calculated in accordance with the calculation expression (expression 2) given below as described hereinabove.
- R1_out (pr(10 6 /Tcp) + qr) x (R1_in)
- G1_out (pg(10 6 /Tcp) + qg) x (G1_in)
- B1_out (pb(10 6 /Tcp) + qb) x (B1_in)
- the color temperature conversion section 302 of the video signal processing section 206 shown in FIG. 4 calculates RGB output values after the color temperature conversion in response to the elapsed time period information (Toff) inputted thereto from the control section 201.
- the calculated values (R1_out, G1_out, B1_out) are inputted to the display section-compatible color gamut conversion section 303 as illustrated in FIG. 4. The process after this is such as described hereinabove with reference to FIG. 4.
- the color temperature conversion process is executed in accordance with the (expression 2) given hereinabove utilizing the color temperature set value determined in response to the elapsed time period (Toff) from the time of dismounting of the head-mounted display unit and the parameters (pr, qr, pg, qg, pb, qb) for gain calculation stored in the memory as described hereinabove.
- step S108 After the color temperature conversion process at step S108 is executed, the processing returns to step S101, and it is determined whether or not the mount sensor further remains in the on state. Then, if the mount sensor further remains in the on state, then the processes at the steps beginning with step S102 are executed repetitively, but if the mount sensor is in an off state, then the processes at the steps beginning with step S105 are executed repetitively.
- FIG. 6 or 8 is an example, and a configuration wherein a color temperature conversion process is carried out with various different settings in addition to this setting may be adopted.
- a configuration wherein changing control of the color temperature which is different depending upon a display mode which can be selected by the user or a mode set automatically in response to content to be displayed on the display section may be adopted.
- FIGS. 9 and 10 A particular example is described with reference to FIGS. 9 and 10.
- a configuration wherein a plurality of modes can be selected as a picture quality mode for display on the display section as illustrated at an upper stage of FIG. 9 is adopted.
- a configuration wherein, as illustrated in FIG. 9, a dynamic mode, a standard mode, a game mode, a cinema mode, and a custom mode can be selected is adopted.
- a starting color temperature which is a set color temperature at the point of time of starting of mounting of the head-mounted display unit and a target color temperature which is a final color temperature to be set after continuous mounting are set.
- a control curve (SKn) of the color temperature in response to the elapsed time period (Ton) from the point of time of starting of mounting of the head-mounted display unit and a control curve (HKn) of the color temperature in response to the elapsed time period (Toff) from the point of time of dismounting of the head-mounted display unit are set in an associated relationship with each other.
- control curves SK1 and SK2 for two different color temperatures in response to the elapsed time period (Ton) from the time of starting of mounting of the head-mounted display unit are shown.
- control curves HK1 and HK2 for two color temperatures in response to the elapsed time period (Toff) after the time of dismounting of the head-mounted display unit are shown. In this manner, a configuration wherein the color temperature exhibits different transitions with respect to time in response to the modes may be adopted.
- FIG. 11 illustrates, in the form of a flow chart, a processing procedure for carrying out luminance adjustment in response to that the user (viewer) who utilizes the head-mounted display unit 10 mounts or dismounts the head-mounted display unit 10.
- the illustrated processing procedure is implemented, for example, by the control section 201 executing a control program stored in the ROM 202.
- the control section 201 decides in response to a sensor detection signal of the mount sensor 204 whether or not the user (viewer) mounts the head-mounted display unit 10 (step S701).
- step S701 If it is decided that the user mounts the head-mounted display unit 10 (Yes at step S701), then the control section 201 issues an instruction to turn on the left-eye display section 208 and the right-eye display section 209. In response to the instruction, the left-eye display section 208 and the right-eye display section 209 are turned on with a high luminance (step S702).
- control section 201 counts the elapsed time period after the user mounts the head-mounted display unit 10 (step S703). Then, the control section 201 carries out control of gradually lowering the luminance value of the left-eye display section 208 and the right-eye display section 209 in response to the elapsed time period (step S704).
- step S701 if it is found at step S701 that the user dismounts the head-mounted display unit 10 (Yes at step S701), then when a period of time (several tens seconds to equal to or less than one minute) set so as to allow the eyes of the observer to become light-adapted elapses (Yes at step S705), the control section 201 issues an instruction to turn off the left-eye display section 208 and the right-eye display section 209. In response to the instruction, the left-eye display section 208 and the right-eye display section 209 are turned off (step S706). Then, the control section 201 resets the mounting time period counted till then (step S707) and returns the luminance value which has been lowered in response to the mounting time period to the original prescribed value (high luminance value) (step S708).
- a period of time severe tens seconds to equal to or less than one minute
- the luminance adjustment for the light adaptation is to be carried out in response to turning off of the mount sensor 204, the luminance is not raised immediately similarly as in the luminance adjustment for the dark adaptation. This is because it is supposed that, depending upon a movement of the head of the observer who mounts the head-mounted display unit 10 thereon, the mount sensor 204 cannot detect normally and may possibly be turned off. If the luminance is raised for the light adaptation in response to that the mount sensor 204 is turned off by a malfunction, then in the visual sensitivity state raised by the dark adaptation, the observer senses glare. Accordingly, until after the period of time set at step S705 elapses, the luminance adjustment for the light adjustment is not carried out. However, at a point of time at which the fixed time elapses, the luminance adjustment for the light adaptation, which is carried out in a shorter period of time than the dark adaptation, is carried out.
- a display apparatus which directly covers the eyes such as a head-mounted display unit having a light blocking property
- the user is placed in a situation same as that in which the user is at a dark place and, from the visual sensitivity characteristic, dark adaptation occurs with the eyes of the user.
- luminance control of the display section in accordance with the visual sensitivity characteristic, the sense of glare of the viewer can be suppressed.
- the viewer can watch for a long period of time with the head-mounted display unit in movie viewing or game playing.
- the target value of the control luminance is set to 46 cd/m2 which is a reference value of a digital cinema, when the viewer mounts the head-mounted display unit, it is possible to place the viewer into an environment same as that in viewing in a dark movie theater.
- the head-mounted display unit 10 can place the left-eye display section 208 and the right-eye display section 209 into a state in which the luminance is suppressed further by introducing the user to view in a lower luminance state making use of the dark adaptation.
- seizure of the device can be prevented preferably, and as a result, elongation of the life of the entire apparatus can be anticipated.
- a head-mounted display unit is described as a representative example of the display apparatus.
- the color temperature control of the present disclosure can be applied also to other various display apparatus such wife as, for example, a television set, a PC, a portable terminal and a projector.
- the elapsed time period from the time of starting of mounting or the time of dismounting is measured based on the sensor information of the mount sensor provided on the head-mounted display unit, and color temperature control is executed in response to the elapsed time period.
- Other display apparatus which do not include the mount sensor such as, for example, a television set, a PC, a portable terminal and a projector can be configured such that, for example, input information by a user is applied in place of sensor information from the mount sensor to carry out color temperature control.
- the display apparatus can be configured such that a timing at which observation of an image of the display section is started or stopped is detected in response to a user input to the inputting section and color temperature control is carried out based on an elapsed period of time from the detected timing.
- the display apparatus may be configured such that a face detection sensor, a gaze detection sensor or a like sensor which detects that the user directs its eyes to the display section is set to or to the proximity of a face of the display section of the display section such that the sensor detects that the user directs its eyes to the display section.
- the display apparatus may be configured such that color temperature control is carried out based on an elapsed time period from the point of time at which it is detected using the sensor that the user directs its eyes to the display section and another elapsed period of time from the point of time at which the user takes its eyes off the display section.
- the display apparatus may be configured such that an infrared sensor for detecting the heat of the human body is mounted thereon and the infrared sensor is utilized.
- the heat of the human being is detected by the infrared sensor is used as detection information similar to that of the turning on of the mount sensor of the working example described hereinabove.
- the display apparatus may be configured such that the color temperature control is carried out in response to an elapsed time period from these points of time of detection.
- a display apparatus including: a display section configured to output an image signal; and a signal processing section configured to execute control of the image signal to be outputted to the display section, and wherein the signal processing section executes control of gradually lowering a color temperature of the image signal in response to an elapsed time period from a point of time at which observation of the display section is started.
- the signal processing section executes control of gradually raising the color temperature of the image signal in response to an elapsed period of time from a point of time at which the observation of the display section ends.
- the gain corresponding parameters pr, qr, pg, qr, pb, qb individually corresponding to the RGB colors are parameters determined based on elements of a color temperature transform matrix in accordance with chromatic adaptation.
- the display apparatus is a head-mounted display unit and includes a mount sensor configured to detect mounting of the head-mounted display unit and a timer configured to start operation in response to sensor information of the mount sensor, an elapsed time period from the time of starting of observation of the display section, and the signal processing section carries out control of the color temperature of the image signal in response to the elapsed time period measured by the timer.
- the display apparatus (9) The display apparatus according to any one of (1) to (8) above, wherein the signal processing section executes the color temperature control of the image signal in a mode which differs depending upon a set mode. (10) The display apparatus according to any one of (1) to (9) above, wherein the display apparatus further includes a control section configured to control a luminance level of the display section in response to the elapsed time period from the time of the starting of observation of the display section.
- a display device including a display to display an image; and a video signal processing section to gradually lower an output power, for the image, of light of a wavelength in an approximate range of wavelengths corresponding to blue light, the gradual lowering being performed after a user begins observing the image.
- the display device according to (11), wherein the image is a moving image.
- gradually lowering includes gradually lowering an output power of light of a wavelength in an approximate range of 446 nm to 483 nm.
- the display device according to (11), wherein gradually lowering is executed only by gain control.
- the display device according to (14), wherein gradually lowering is executed only by gain control of gains corresponding to respective color components of the image.
- gradually lowering is executed only by gain control of gains corresponding to red, green, and blue color components of the image.
- gradually lowering includes using one or more target color temperatures.
- the display device (25), wherein the head-mounted display includes a mount sensor, and wherein gradually lowering is implemented according to a mount indication provided by the mount sensor.
- the display device (11), wherein a luminance of the image is gradually decreased after the user begins observing the image, and the luminance of the image is gradually increased following a predetermined period after the user stops observing the image.
- a display method including displaying an image; and gradually lowering an output power, for the image, of light of a wavelength in an approximate range of wavelengths corresponding to blue light, the gradual lowering being performed after a user begins observing the image.
- a non-transitory computer-readable medium storing a computer-readable program for implementing a display method, the method including displaying an image; and gradually lowering an output power, for the image, of light of a wavelength in an approximate range of wavelengths corresponding to blue light, the gradual lowering being performed after a user begins observing the image.
- a display device including a display to display an image; and a video signal processing section to gradually lower a color temperature of the image after a user begins observing the image.
- a display method including displaying an image; and gradually lowering a color temperature of the image after a user begins observing the image.
- a non-transitory computer-readable medium storing a computer-readable program for implementing a display method, the method including displaying an image; and gradually lowering a color temperature of the image after a user begins observing the image.
- a display device including a display to display an image; and a video signal processing section to gradually lower spectral content of the image in an approximate range of wavelengths corresponding to blue light, the gradual lowering being performed after a user begins observing the image.
- a display apparatus includes a display section configured to output an image signal, and a signal processing section configured to execute control of the image signal to be outputted to the display section.
- the signal processing section receives sensor information of a mount sensor or the like as an input thereto, measures an elapsed period of time from a point of time at which observation of the display section is started, and then executes control of gradually lowering the color temperature of the image signal in response to the elapsed period of time and gradually lowering a signal level in a blue color region.
- the signal processing section executes control of gradually raising the color temperature of the image signal in response to an elapsed period of time from a point of time at which the observation of the display section ends.
- the signal processing section executes gain control for input RGB signal values to calculate and output RGB signal values in accordance with chromatic adaptation.
- Head-mounted display unit 20
- Blu-ray disk reproduction apparatus 30
- High-definition display unit 40
- Front end box 201
- Control section 202
- ROM 203
- RAM 204
- Mount sensor 205
- HDMI signal inputting section 206
- Video signal processing section 207
- Display controlling section 208
- Left-eye display section 209
- Right-eye display section 210
- VRAM 211
- Timer 301
- Gamma-linear conversion section 302
- Color temperature conversion section 303
- Display section-compatible color gamut conversion section 304
Landscapes
- Engineering & Computer Science (AREA)
- Multimedia (AREA)
- Signal Processing (AREA)
- Physics & Mathematics (AREA)
- General Physics & Mathematics (AREA)
- Optics & Photonics (AREA)
- Theoretical Computer Science (AREA)
- Computer Hardware Design (AREA)
- Controls And Circuits For Display Device (AREA)
- Control Of Indicators Other Than Cathode Ray Tubes (AREA)
- Devices For Indicating Variable Information By Combining Individual Elements (AREA)
- Processing Of Color Television Signals (AREA)
- Video Image Reproduction Devices For Color Tv Systems (AREA)
Priority Applications (6)
| Application Number | Priority Date | Filing Date | Title |
|---|---|---|---|
| EP13724631.0A EP2862358A1 (en) | 2012-06-13 | 2013-04-18 | Display apparatus, display controlling method and program |
| RU2014149157A RU2642811C2 (ru) | 2012-06-13 | 2013-04-18 | Устройство отображения, способ управления отображением и программа |
| BR112014030583A BR112014030583A2 (pt) | 2012-06-13 | 2013-04-18 | dispositivo e método de exibição, e, meio legível. |
| CN201380029753.9A CN104335581A (zh) | 2012-06-13 | 2013-04-18 | 显示装置、显示控制方法以及程序 |
| IN2339MUN2014 IN2014MN02339A (enExample) | 2012-06-13 | 2013-04-18 | |
| US14/405,551 US20150168723A1 (en) | 2012-06-13 | 2013-04-18 | Display apparatus, display controlling method and program |
Applications Claiming Priority (2)
| Application Number | Priority Date | Filing Date | Title |
|---|---|---|---|
| JP2012-133893 | 2012-06-13 | ||
| JP2012133893A JP6051605B2 (ja) | 2012-06-13 | 2012-06-13 | 表示装置、および表示制御方法、並びにプログラム |
Publications (1)
| Publication Number | Publication Date |
|---|---|
| WO2013186972A1 true WO2013186972A1 (en) | 2013-12-19 |
Family
ID=48483120
Family Applications (1)
| Application Number | Title | Priority Date | Filing Date |
|---|---|---|---|
| PCT/JP2013/002621 Ceased WO2013186972A1 (en) | 2012-06-13 | 2013-04-18 | Display apparatus, display controlling method and program |
Country Status (8)
| Country | Link |
|---|---|
| US (1) | US20150168723A1 (enExample) |
| EP (1) | EP2862358A1 (enExample) |
| JP (1) | JP6051605B2 (enExample) |
| CN (1) | CN104335581A (enExample) |
| BR (1) | BR112014030583A2 (enExample) |
| IN (1) | IN2014MN02339A (enExample) |
| RU (1) | RU2642811C2 (enExample) |
| WO (1) | WO2013186972A1 (enExample) |
Cited By (9)
| Publication number | Priority date | Publication date | Assignee | Title |
|---|---|---|---|---|
| CN104335144A (zh) * | 2014-09-09 | 2015-02-04 | 华为技术有限公司 | 蓝光调整方法、装置及终端 |
| CN104331167A (zh) * | 2014-11-28 | 2015-02-04 | 广东欧珀移动通信有限公司 | 显示处理方法和显示处理装置 |
| WO2016033099A1 (en) * | 2014-08-26 | 2016-03-03 | Qualcomm Incorporated | Environmentally adaptive display adjustment |
| CN104007950B (zh) * | 2014-06-10 | 2017-02-15 | 掌阅科技股份有限公司 | 一种用于智能设备的护眼方法 |
| CN107832029A (zh) * | 2014-11-28 | 2018-03-23 | 广东欧珀移动通信有限公司 | 显示处理方法及装置、终端、计算机可读存储介质 |
| US9953615B2 (en) | 2015-03-30 | 2018-04-24 | Samsung Electronics Co., Ltd. | Display apparatus and control method thereof |
| EP3216023A4 (en) * | 2014-11-07 | 2018-07-18 | Eye Labs, LLC | Visual stabilization system for head-mounted displays |
| US10482843B2 (en) | 2016-11-07 | 2019-11-19 | Qualcomm Incorporated | Selective reduction of blue light in a display frame |
| EP3427477B1 (en) * | 2016-03-11 | 2023-06-21 | Sony Interactive Entertainment Inc. | Head-mountable display system |
Families Citing this family (35)
| Publication number | Priority date | Publication date | Assignee | Title |
|---|---|---|---|---|
| ES2478693B1 (es) * | 2012-12-21 | 2015-04-29 | Universidad Complutense De Madrid | Elemento bloqueante de longitudes de onda corta en fuentes de iluminación de tipo led |
| EP3013042A4 (en) * | 2013-06-19 | 2016-08-17 | Panasonic Ip Man Co Ltd | IMAGE DISPLAY DEVICE AND METHOD |
| JP5811228B2 (ja) * | 2013-06-24 | 2015-11-11 | 大日本印刷株式会社 | 画像処理装置、表示装置並びに画像処理方法及び画像処理用プログラム |
| US10146057B2 (en) | 2014-02-20 | 2018-12-04 | Sony Corporation | Display control device, display control method, and computer program |
| KR20150119515A (ko) * | 2014-04-15 | 2015-10-26 | 삼성디스플레이 주식회사 | 조명 순응 기반 영상 보정 방법, 이를 채용한 표시 장치 및 전자 기기 |
| JP6613640B2 (ja) * | 2014-06-16 | 2019-12-04 | 大日本印刷株式会社 | 画像処理装置、表示装置並びに画像処理方法及び画像処理用プログラム |
| DE102014113827A1 (de) | 2014-09-24 | 2016-03-24 | Carl Zeiss Microscopy Gmbh | Vorrichtung zur Abbildung einer Probe |
| JP6101939B2 (ja) * | 2014-11-07 | 2017-03-29 | パナソニックIpマネジメント株式会社 | 信号処理装置および信号処理方法 |
| US9953614B2 (en) | 2014-11-26 | 2018-04-24 | Panasonic Intellectual Property Management Co., Ltd. | Signal processing device and signal processing method |
| JP6191018B2 (ja) * | 2014-11-26 | 2017-09-06 | パナソニックIpマネジメント株式会社 | 信号処理装置および信号処理方法 |
| JP2016126110A (ja) | 2014-12-26 | 2016-07-11 | 船井電機株式会社 | 表示装置 |
| JP6661425B2 (ja) * | 2015-04-14 | 2020-03-11 | キヤノン株式会社 | 画像表示装置及びその制御方法 |
| KR102399669B1 (ko) | 2015-10-15 | 2022-05-19 | 삼성전자주식회사 | 디스플레이 밝기 조정 방법 및 장치 |
| CN105489150B (zh) * | 2015-11-21 | 2019-11-29 | 惠州Tcl移动通信有限公司 | 基于虚拟现实头盔的屏幕的护眼方法及装置 |
| CN105898057A (zh) * | 2016-04-13 | 2016-08-24 | 捷开通讯(深圳)有限公司 | 一种移动终端及其调节vr眼镜亮度的方法 |
| JP6721827B2 (ja) * | 2016-05-20 | 2020-07-15 | 富士通クライアントコンピューティング株式会社 | 表示制御装置および表示制御プログラム |
| US20180098041A1 (en) * | 2016-09-30 | 2018-04-05 | Sean J. Lawrence | Adaptive chroma subsampling based on display brightness |
| CN108111874B (zh) * | 2016-11-16 | 2020-01-31 | 腾讯科技(深圳)有限公司 | 一种文件处理方法、终端及服务器 |
| CN106534836A (zh) * | 2016-11-30 | 2017-03-22 | 珠海市魅族科技有限公司 | 一种图像调整方法及装置 |
| US10885676B2 (en) * | 2016-12-27 | 2021-01-05 | Samsung Electronics Co., Ltd. | Method and apparatus for modifying display settings in virtual/augmented reality |
| CN107154247A (zh) * | 2017-06-19 | 2017-09-12 | 广东欧珀移动通信有限公司 | 基于rgb光谱能量重构的色温调节方法、装置及其设备 |
| CN111095077B (zh) | 2017-08-29 | 2022-08-05 | 苹果公司 | 具有自适应显示器的电子设备 |
| CN109884846B (zh) * | 2017-12-06 | 2021-10-26 | 深圳光峰科技股份有限公司 | 投影设备 |
| CN109884845B (zh) * | 2017-12-06 | 2021-10-26 | 深圳光峰科技股份有限公司 | 投影设备 |
| CN109889801A (zh) * | 2017-12-06 | 2019-06-14 | 深圳光峰科技股份有限公司 | 投影设备及投影显示方法 |
| KR102591404B1 (ko) * | 2017-12-13 | 2023-10-20 | 삼성디스플레이 주식회사 | 헤드 마운트 디스플레이 장치 및 이의 구동 방법 |
| JP2019125986A (ja) * | 2018-01-19 | 2019-07-25 | ソニー株式会社 | 情報処理装置および方法、並びにプログラム |
| KR102779553B1 (ko) * | 2018-03-14 | 2025-03-12 | 소니그룹주식회사 | 정보 처리 장치, 정보 처리 방법, 및 기록 매체 |
| JP2020016869A (ja) * | 2018-07-27 | 2020-01-30 | 伸也 佐藤 | デジタル式望遠メガネ |
| CN111508450B (zh) * | 2019-01-30 | 2021-08-31 | 北京小米移动软件有限公司 | 屏幕颜色转换方法、装置、存储介质和电子设备 |
| TWI715142B (zh) * | 2019-08-07 | 2021-01-01 | 瑞昱半導體股份有限公司 | 影像感測裝置以及自動白平衡方法 |
| JP2021071613A (ja) * | 2019-10-31 | 2021-05-06 | 凸版印刷株式会社 | 表示装置及び電子機器 |
| CN112905141B (zh) * | 2019-12-04 | 2024-09-03 | 北京小米移动软件有限公司 | 屏幕显示方法及装置、计算机存储介质 |
| WO2021140711A1 (ja) | 2020-01-09 | 2021-07-15 | 株式会社ソニー・インタラクティブエンタテインメント | 表示制御装置、ヘッドマウントディスプレイ、および画像表示方法 |
| US11953693B2 (en) * | 2021-01-25 | 2024-04-09 | Cedric Bagneris | Athletic eyeglasses system and method |
Citations (6)
| Publication number | Priority date | Publication date | Assignee | Title |
|---|---|---|---|---|
| JP2002092655A (ja) * | 2000-09-20 | 2002-03-29 | Minolta Co Ltd | 3次元仮想現実を表示するシステム及び方法 |
| JP2007148567A (ja) * | 2005-11-24 | 2007-06-14 | Canon Inc | 画像処理方法、画像処理装置 |
| JP2009086133A (ja) | 2007-09-28 | 2009-04-23 | Sharp Corp | 映像表示装置 |
| JP2010252379A (ja) | 2010-06-18 | 2010-11-04 | Mitsubishi Electric Corp | 画像表示装置 |
| JP2011022447A (ja) | 2009-07-17 | 2011-02-03 | Mitsubishi Electric Corp | 画像表示装置 |
| US20110141240A1 (en) * | 2009-12-15 | 2011-06-16 | Santanu Dutta | Color anaglyph image generation to reduce eye strain and retinal rivalry upon viewing |
Family Cites Families (21)
| Publication number | Priority date | Publication date | Assignee | Title |
|---|---|---|---|---|
| JPH07294844A (ja) * | 1994-04-22 | 1995-11-10 | Canon Inc | 表示装置 |
| JP4212165B2 (ja) * | 1998-11-13 | 2009-01-21 | オリンパス株式会社 | 色再現システム |
| JP2001356907A (ja) * | 2000-06-09 | 2001-12-26 | Ibm Japan Ltd | 処理コード情報を有するデータベース・システムおよび情報処理システム |
| JP2003076353A (ja) * | 2001-09-04 | 2003-03-14 | Sharp Corp | ヘッドマウント型表示装置 |
| EP1619648A4 (en) * | 2003-03-28 | 2008-08-06 | Sharp Kk | DISPLAY DEVICE |
| JP2008536165A (ja) * | 2005-04-04 | 2008-09-04 | コーニンクレッカ フィリップス エレクトロニクス エヌ ヴィ | 縞模様を減らすための色変換ユニット |
| JP4016213B2 (ja) * | 2005-05-11 | 2007-12-05 | ソニー株式会社 | 液晶表示装置及び電子機器 |
| CN100587768C (zh) * | 2005-05-30 | 2010-02-03 | 松下电器产业株式会社 | 激光图像显示装置以及彩色图像显示方法 |
| JP4993255B2 (ja) * | 2006-01-31 | 2012-08-08 | トヨタ自動車株式会社 | 燃料電池 |
| EP2073167B1 (en) * | 2006-10-11 | 2013-04-10 | Nikon Corporation | Image processing device, image processing method, and image processing program |
| US20090002349A1 (en) * | 2007-06-28 | 2009-01-01 | Cok Ronald S | Electroluminescent white light emitting device |
| WO2010084560A1 (ja) * | 2009-01-23 | 2010-07-29 | 日本電気株式会社 | 画像処理方法、画像処理装置および記録媒体 |
| JP2010257872A (ja) * | 2009-04-28 | 2010-11-11 | Toshiba Lighting & Technology Corp | 照明装置 |
| US8422794B2 (en) * | 2009-07-30 | 2013-04-16 | Intellectual Ventures Fund 83 Llc | System for matching artistic attributes of secondary image and template to a primary image |
| KR102020739B1 (ko) * | 2009-12-18 | 2019-09-10 | 가부시키가이샤 한도오따이 에네루기 켄큐쇼 | 광 센서를 포함하는 표시 장치 및 그 구동 방법 |
| JP5534825B2 (ja) * | 2010-01-19 | 2014-07-02 | キヤノン株式会社 | 映像処理装置及び色温度補正方法 |
| WO2011122299A1 (en) * | 2010-03-31 | 2011-10-06 | Semiconductor Energy Laboratory Co., Ltd. | Driving method of liquid crystal display device |
| US20130258258A1 (en) * | 2010-12-08 | 2013-10-03 | Sharp Kabushiki Kaisha | Liquid crystal display device |
| US8184067B1 (en) * | 2011-07-20 | 2012-05-22 | Google Inc. | Nose bridge sensor |
| US20130025018A1 (en) * | 2011-07-27 | 2013-01-31 | Abdul Muhammad | Weighted arm bib |
| US9147111B2 (en) * | 2012-02-10 | 2015-09-29 | Microsoft Technology Licensing, Llc | Display with blocking image generation |
-
2012
- 2012-06-13 JP JP2012133893A patent/JP6051605B2/ja not_active Expired - Fee Related
-
2013
- 2013-04-18 CN CN201380029753.9A patent/CN104335581A/zh active Pending
- 2013-04-18 IN IN2339MUN2014 patent/IN2014MN02339A/en unknown
- 2013-04-18 US US14/405,551 patent/US20150168723A1/en not_active Abandoned
- 2013-04-18 EP EP13724631.0A patent/EP2862358A1/en not_active Ceased
- 2013-04-18 RU RU2014149157A patent/RU2642811C2/ru not_active IP Right Cessation
- 2013-04-18 WO PCT/JP2013/002621 patent/WO2013186972A1/en not_active Ceased
- 2013-04-18 BR BR112014030583A patent/BR112014030583A2/pt not_active IP Right Cessation
Patent Citations (6)
| Publication number | Priority date | Publication date | Assignee | Title |
|---|---|---|---|---|
| JP2002092655A (ja) * | 2000-09-20 | 2002-03-29 | Minolta Co Ltd | 3次元仮想現実を表示するシステム及び方法 |
| JP2007148567A (ja) * | 2005-11-24 | 2007-06-14 | Canon Inc | 画像処理方法、画像処理装置 |
| JP2009086133A (ja) | 2007-09-28 | 2009-04-23 | Sharp Corp | 映像表示装置 |
| JP2011022447A (ja) | 2009-07-17 | 2011-02-03 | Mitsubishi Electric Corp | 画像表示装置 |
| US20110141240A1 (en) * | 2009-12-15 | 2011-06-16 | Santanu Dutta | Color anaglyph image generation to reduce eye strain and retinal rivalry upon viewing |
| JP2010252379A (ja) | 2010-06-18 | 2010-11-04 | Mitsubishi Electric Corp | 画像表示装置 |
Non-Patent Citations (2)
| Title |
|---|
| SCHENKMAN B N ET AL: "Preferred colour temperature on a colour screen", DISPLAYS DEVICES, DEMPA PUBLICATIONS, TOKYO, JP, vol. 20, no. 2, 25 August 1999 (1999-08-25), pages 73 - 81, XP004178947, ISSN: 0141-9382, DOI: 10.1016/S0141-9382(99)00007-4 * |
| See also references of EP2862358A1 |
Cited By (15)
| Publication number | Priority date | Publication date | Assignee | Title |
|---|---|---|---|---|
| CN104007950B (zh) * | 2014-06-10 | 2017-02-15 | 掌阅科技股份有限公司 | 一种用于智能设备的护眼方法 |
| WO2016033099A1 (en) * | 2014-08-26 | 2016-03-03 | Qualcomm Incorporated | Environmentally adaptive display adjustment |
| CN104335144A (zh) * | 2014-09-09 | 2015-02-04 | 华为技术有限公司 | 蓝光调整方法、装置及终端 |
| CN107863089B (zh) * | 2014-09-09 | 2020-09-29 | 华为技术有限公司 | 蓝光调整方法、装置及终端 |
| WO2016037313A1 (zh) * | 2014-09-09 | 2016-03-17 | 华为技术有限公司 | 蓝光调整方法、装置及终端 |
| EP3182274A4 (en) * | 2014-09-09 | 2017-09-27 | Huawei Technologies Co., Ltd. | Blue light adjustment method and device, and terminal |
| US10332484B2 (en) | 2014-09-09 | 2019-06-25 | Huawei Technologies Co., Ltd. | Blue light adjustment method, apparatus, and terminal |
| CN107863089A (zh) * | 2014-09-09 | 2018-03-30 | 华为技术有限公司 | 蓝光调整方法、装置及终端 |
| EP3216023A4 (en) * | 2014-11-07 | 2018-07-18 | Eye Labs, LLC | Visual stabilization system for head-mounted displays |
| CN107832029A (zh) * | 2014-11-28 | 2018-03-23 | 广东欧珀移动通信有限公司 | 显示处理方法及装置、终端、计算机可读存储介质 |
| CN107832029B (zh) * | 2014-11-28 | 2020-08-25 | Oppo广东移动通信有限公司 | 显示处理方法及装置、终端、计算机可读存储介质 |
| CN104331167A (zh) * | 2014-11-28 | 2015-02-04 | 广东欧珀移动通信有限公司 | 显示处理方法和显示处理装置 |
| US9953615B2 (en) | 2015-03-30 | 2018-04-24 | Samsung Electronics Co., Ltd. | Display apparatus and control method thereof |
| EP3427477B1 (en) * | 2016-03-11 | 2023-06-21 | Sony Interactive Entertainment Inc. | Head-mountable display system |
| US10482843B2 (en) | 2016-11-07 | 2019-11-19 | Qualcomm Incorporated | Selective reduction of blue light in a display frame |
Also Published As
| Publication number | Publication date |
|---|---|
| IN2014MN02339A (enExample) | 2015-08-14 |
| JP2013257457A (ja) | 2013-12-26 |
| CN104335581A (zh) | 2015-02-04 |
| EP2862358A1 (en) | 2015-04-22 |
| JP6051605B2 (ja) | 2016-12-27 |
| RU2014149157A (ru) | 2016-06-27 |
| BR112014030583A2 (pt) | 2017-08-08 |
| US20150168723A1 (en) | 2015-06-18 |
| RU2642811C2 (ru) | 2018-01-26 |
Similar Documents
| Publication | Publication Date | Title |
|---|---|---|
| WO2013186972A1 (en) | Display apparatus, display controlling method and program | |
| CN103843322B (zh) | 头戴式显示器及显示控制方法 | |
| JP6160020B2 (ja) | 透過型表示装置、表示方法および表示プログラム | |
| US8994614B2 (en) | Head mountable display | |
| WO2013183206A1 (en) | Image processing apparatus, image processing method, and program | |
| EP3352162B1 (en) | Display system with automatic brightness adjustment | |
| JP5682417B2 (ja) | ヘッドマウントディスプレイ,及びその輝度調整方法 | |
| CN115291720A (zh) | 具有自适应显示器的电子设备 | |
| TW201725422A (zh) | 具有可變驅動電壓之液晶顯示器 | |
| TW201410023A (zh) | 影像資訊顯示裝置與應用於其上之影像資訊顯示與調整方法 | |
| JP2016139116A (ja) | 頭部装着型表示装置、表示方法 | |
| JP6464729B2 (ja) | 表示装置、及び、表示装置の制御方法 | |
| KR102235903B1 (ko) | 2개의 조도센서를 이용한 머리 착용형 디스플레이 장치의 영상 최적화 방법 | |
| US12067909B2 (en) | Electronic devices with dynamic brightness ranges for passthrough display content | |
| JP2017003856A (ja) | 表示装置、及び、表示装置の制御方法 | |
| US20160063909A1 (en) | Method For Adjusting Display Effect And Electronic Apparatus | |
| JP2013186227A (ja) | 映像表示装置および映像表示方法 | |
| JP5500964B2 (ja) | 動画像処理装置及びその制御方法、プログラム | |
| JP2012195923A (ja) | 映像表示装置、映像視聴用眼鏡、及び、映像視聴システム | |
| JP2006126691A (ja) | 映像表示装置 | |
| WO2006049270A1 (ja) | ヘッドマウントディスプレイ |
Legal Events
| Date | Code | Title | Description |
|---|---|---|---|
| 121 | Ep: the epo has been informed by wipo that ep was designated in this application |
Ref document number: 13724631 Country of ref document: EP Kind code of ref document: A1 |
|
| WWE | Wipo information: entry into national phase |
Ref document number: 2013724631 Country of ref document: EP |
|
| WWE | Wipo information: entry into national phase |
Ref document number: 14405551 Country of ref document: US |
|
| ENP | Entry into the national phase |
Ref document number: 2014149157 Country of ref document: RU Kind code of ref document: A |
|
| NENP | Non-entry into the national phase |
Ref country code: DE |
|
| REG | Reference to national code |
Ref country code: BR Ref legal event code: B01A Ref document number: 112014030583 Country of ref document: BR |
|
| ENP | Entry into the national phase |
Ref document number: 112014030583 Country of ref document: BR Kind code of ref document: A2 Effective date: 20141205 |