WO2013183230A1 - 液晶表示装置及び液晶表示装置の製造方法 - Google Patents

液晶表示装置及び液晶表示装置の製造方法 Download PDF

Info

Publication number
WO2013183230A1
WO2013183230A1 PCT/JP2013/003072 JP2013003072W WO2013183230A1 WO 2013183230 A1 WO2013183230 A1 WO 2013183230A1 JP 2013003072 W JP2013003072 W JP 2013003072W WO 2013183230 A1 WO2013183230 A1 WO 2013183230A1
Authority
WO
WIPO (PCT)
Prior art keywords
liquid crystal
signal line
crystal display
array substrate
layer
Prior art date
Legal status (The legal status is an assumption and is not a legal conclusion. Google has not performed a legal analysis and makes no representation as to the accuracy of the status listed.)
Ceased
Application number
PCT/JP2013/003072
Other languages
English (en)
French (fr)
Japanese (ja)
Inventor
玄士朗 河内
Current Assignee (The listed assignees may be inaccurate. Google has not performed a legal analysis and makes no representation or warranty as to the accuracy of the list.)
Panasonic Liquid Crystal Display Co Ltd
Original Assignee
Panasonic Liquid Crystal Display Co Ltd
Priority date (The priority date is an assumption and is not a legal conclusion. Google has not performed a legal analysis and makes no representation as to the accuracy of the date listed.)
Filing date
Publication date
Application filed by Panasonic Liquid Crystal Display Co Ltd filed Critical Panasonic Liquid Crystal Display Co Ltd
Publication of WO2013183230A1 publication Critical patent/WO2013183230A1/ja
Priority to US14/539,506 priority Critical patent/US9847350B2/en
Anticipated expiration legal-status Critical
Priority to US15/811,130 priority patent/US10276595B2/en
Ceased legal-status Critical Current

Links

Images

Classifications

    • GPHYSICS
    • G02OPTICS
    • G02FOPTICAL DEVICES OR ARRANGEMENTS FOR THE CONTROL OF LIGHT BY MODIFICATION OF THE OPTICAL PROPERTIES OF THE MEDIA OF THE ELEMENTS INVOLVED THEREIN; NON-LINEAR OPTICS; FREQUENCY-CHANGING OF LIGHT; OPTICAL LOGIC ELEMENTS; OPTICAL ANALOGUE/DIGITAL CONVERTERS
    • G02F1/00Devices or arrangements for the control of the intensity, colour, phase, polarisation or direction of light arriving from an independent light source, e.g. switching, gating or modulating; Non-linear optics
    • G02F1/01Devices or arrangements for the control of the intensity, colour, phase, polarisation or direction of light arriving from an independent light source, e.g. switching, gating or modulating; Non-linear optics for the control of the intensity, phase, polarisation or colour 
    • G02F1/13Devices or arrangements for the control of the intensity, colour, phase, polarisation or direction of light arriving from an independent light source, e.g. switching, gating or modulating; Non-linear optics for the control of the intensity, phase, polarisation or colour  based on liquid crystals, e.g. single liquid crystal display cells
    • G02F1/133Constructional arrangements; Operation of liquid crystal cells; Circuit arrangements
    • G02F1/1333Constructional arrangements; Manufacturing methods
    • G02F1/1343Electrodes
    • G02F1/134309Electrodes characterised by their geometrical arrangement
    • G02F1/134363Electrodes characterised by their geometrical arrangement for applying an electric field parallel to the substrate, i.e. in-plane switching [IPS]
    • GPHYSICS
    • G02OPTICS
    • G02FOPTICAL DEVICES OR ARRANGEMENTS FOR THE CONTROL OF LIGHT BY MODIFICATION OF THE OPTICAL PROPERTIES OF THE MEDIA OF THE ELEMENTS INVOLVED THEREIN; NON-LINEAR OPTICS; FREQUENCY-CHANGING OF LIGHT; OPTICAL LOGIC ELEMENTS; OPTICAL ANALOGUE/DIGITAL CONVERTERS
    • G02F1/00Devices or arrangements for the control of the intensity, colour, phase, polarisation or direction of light arriving from an independent light source, e.g. switching, gating or modulating; Non-linear optics
    • G02F1/01Devices or arrangements for the control of the intensity, colour, phase, polarisation or direction of light arriving from an independent light source, e.g. switching, gating or modulating; Non-linear optics for the control of the intensity, phase, polarisation or colour 
    • G02F1/13Devices or arrangements for the control of the intensity, colour, phase, polarisation or direction of light arriving from an independent light source, e.g. switching, gating or modulating; Non-linear optics for the control of the intensity, phase, polarisation or colour  based on liquid crystals, e.g. single liquid crystal display cells
    • G02F1/133Constructional arrangements; Operation of liquid crystal cells; Circuit arrangements
    • G02F1/136Liquid crystal cells structurally associated with a semi-conducting layer or substrate, e.g. cells forming part of an integrated circuit
    • G02F1/1362Active matrix addressed cells
    • G02F1/1368Active matrix addressed cells in which the switching element is a three-electrode device
    • HELECTRICITY
    • H10SEMICONDUCTOR DEVICES; ELECTRIC SOLID-STATE DEVICES NOT OTHERWISE PROVIDED FOR
    • H10DINORGANIC ELECTRIC SEMICONDUCTOR DEVICES
    • H10D86/00Integrated devices formed in or on insulating or conducting substrates, e.g. formed in silicon-on-insulator [SOI] substrates or on stainless steel or glass substrates
    • H10D86/01Manufacture or treatment
    • H10D86/021Manufacture or treatment of multiple TFTs
    • HELECTRICITY
    • H10SEMICONDUCTOR DEVICES; ELECTRIC SOLID-STATE DEVICES NOT OTHERWISE PROVIDED FOR
    • H10DINORGANIC ELECTRIC SEMICONDUCTOR DEVICES
    • H10D86/00Integrated devices formed in or on insulating or conducting substrates, e.g. formed in silicon-on-insulator [SOI] substrates or on stainless steel or glass substrates
    • H10D86/01Manufacture or treatment
    • H10D86/021Manufacture or treatment of multiple TFTs
    • H10D86/0221Manufacture or treatment of multiple TFTs comprising manufacture, treatment or patterning of TFT semiconductor bodies
    • HELECTRICITY
    • H10SEMICONDUCTOR DEVICES; ELECTRIC SOLID-STATE DEVICES NOT OTHERWISE PROVIDED FOR
    • H10DINORGANIC ELECTRIC SEMICONDUCTOR DEVICES
    • H10D86/00Integrated devices formed in or on insulating or conducting substrates, e.g. formed in silicon-on-insulator [SOI] substrates or on stainless steel or glass substrates
    • H10D86/40Integrated devices formed in or on insulating or conducting substrates, e.g. formed in silicon-on-insulator [SOI] substrates or on stainless steel or glass substrates characterised by multiple TFTs
    • H10D86/421Integrated devices formed in or on insulating or conducting substrates, e.g. formed in silicon-on-insulator [SOI] substrates or on stainless steel or glass substrates characterised by multiple TFTs having a particular composition, shape or crystalline structure of the active layer
    • H10D86/423Integrated devices formed in or on insulating or conducting substrates, e.g. formed in silicon-on-insulator [SOI] substrates or on stainless steel or glass substrates characterised by multiple TFTs having a particular composition, shape or crystalline structure of the active layer comprising semiconductor materials not belonging to the Group IV, e.g. InGaZnO
    • HELECTRICITY
    • H10SEMICONDUCTOR DEVICES; ELECTRIC SOLID-STATE DEVICES NOT OTHERWISE PROVIDED FOR
    • H10DINORGANIC ELECTRIC SEMICONDUCTOR DEVICES
    • H10D86/00Integrated devices formed in or on insulating or conducting substrates, e.g. formed in silicon-on-insulator [SOI] substrates or on stainless steel or glass substrates
    • H10D86/40Integrated devices formed in or on insulating or conducting substrates, e.g. formed in silicon-on-insulator [SOI] substrates or on stainless steel or glass substrates characterised by multiple TFTs
    • H10D86/60Integrated devices formed in or on insulating or conducting substrates, e.g. formed in silicon-on-insulator [SOI] substrates or on stainless steel or glass substrates characterised by multiple TFTs wherein the TFTs are in active matrices

Definitions

  • the present invention relates to a liquid crystal display device and a method of manufacturing the liquid crystal display device.
  • IGZO Indium-Gallium-Zinc-Oxide
  • TAOS Transparent Amorphous Oxide Semiconductor
  • TFT Thin Film Transistor
  • JP-A-2010-263064 a gate electrode having a light shielding property is formed on a semiconductor layer of a TFT made of IGZO through a gate insulating film, and ultraviolet light is directed from the gate electrode side to the semiconductor layer.
  • a method of manufacturing a thin film transistor is described in which amorphous source and drain regions having higher conductivity than that before irradiation are formed by irradiation.
  • the structure of the TFT can be simplified in manufacturing the liquid crystal display device, advantageous effects such as reduction in manufacturing cost, improvement in aperture ratio by reducing the area occupied by the TFT, and high definition of pixels are expected. it can.
  • the present invention has been made by focusing on the properties of IGZO or the like, and the problem is to simplify the structure of the TFT used in the liquid crystal display.
  • An array substrate a plurality of pixels divided by a video signal line and a scanning signal line formed on the array substrate, a TFT arranged for each pixel, and a pixel electrode arranged in the pixel
  • the channel semiconductor layer of the TFT and the pixel electrode are a continuous layer of an oxide semiconductor, and in a state where a gate voltage is not applied, the electric conductivity of the channel semiconductor layer is more than the above.
  • a liquid crystal display device having a large electric conductivity of a pixel electrode.
  • the oxide semiconductor is a metal oxide containing one or more metal elements selected from In, Ga, Zn, Sn, Cu, and Cd.
  • the channel semiconductor layer overlaps the scanning signal line via a gate insulating film, and the scanning signal line functions as a gate electrode of the TFT. Display device.
  • the step of forming the pixel electrode by irradiating the energy beam is a liquid crystal implemented after bonding the array substrate and the color filter substrate so as to sandwich the liquid crystal layer.
  • An array substrate a plurality of pixels divided by a video signal line and a scanning signal line formed on the array substrate, a common electrode formed of a transparent electrode disposed in the pixel, and the pixel It has a TFT disposed in each pixel, a pixel electrode disposed so as to overlap on the common electrode via an insulating layer in the pixel, and a shielding electrode superimposed on the video signal line via the insulating layer.
  • the liquid crystal display device wherein the channel semiconductor layer of the TFT and the pixel electrode are a continuous layer of an oxide semiconductor.
  • the structure of the TFT can be simplified in the liquid crystal display device.
  • high definition of the pixel can be achieved without improving the aperture ratio of the pixel or reducing the aperture ratio of the pixel.
  • a liquid crystal display device in which the structure of the TFT is simplified can be manufactured.
  • the pixel electrode can be formed without preparing a separate light shielding layer or mask for shielding ultraviolet light.
  • only the conductivity of the pixel electrode portion can be selectively increased without affecting the conductivity of the channel portion of the TFT.
  • the conductivity of the increased pixel electrode portion can be stably maintained by performing after liquid crystal cell assembly.
  • FIG. 1 is an external perspective view of a liquid crystal display device according to an embodiment of the present invention. It is a figure which shows the structure of the circuit formed on the array substrate of the liquid crystal display device which concerns on embodiment of this invention. It is the figure which showed one of the pixels formed in the image display area by the circuit diagram. It is the elements on larger scale which show the planar structure of the pixel contained in the image display area on an array substrate.
  • FIG. 5 is a cross-sectional view taken along the line VV of FIG. 4; It is a figure explaining the manufacturing method of a liquid crystal display. It is a figure explaining the manufacturing method of a liquid crystal display. It is a figure explaining the manufacturing method of a liquid crystal display. It is a figure explaining the manufacturing method of a liquid crystal display. It is a figure explaining the manufacturing method of a liquid crystal display. It is a figure explaining the manufacturing method of a liquid crystal display. It is a figure explaining the manufacturing method of a liquid crystal display. It is a figure explaining the manufacturing method of a liquid crystal
  • FIG. 1 is an external perspective view of a liquid crystal display device 1 according to an embodiment of the present invention.
  • the liquid crystal display device 1 has a structure in which a liquid crystal material having a thickness of several micrometers is sandwiched between the array substrate 2 and the color filter substrate 3, and the array substrate is formed by a sealing material provided along the outer periphery of the color filter substrate 3. 2 and the color filter substrate 3 are adhered and sealed so that the liquid crystal material does not leak out.
  • the array substrate 2 is a glass substrate on the front surface of which a large number of switching elements and pixel electrodes are formed in a lattice, and is also called a TFT substrate because TFTs are used as the switching elements.
  • the array substrate 2 has a larger outer shape than the color filter substrate 3 as shown, and at least one side thereof protrudes from the color filter substrate 3 so that the front surface is exposed.
  • a driver IC 21 which is a control circuit for controlling on / off of a large number of TFTs and a video signal applied to each pixel electrode.
  • a connection terminal 22 for electrically connecting to an external device is formed by, for example, a flexible printed circuit (FPC) or the like.
  • the color filter substrate 3 is a glass substrate on which colored thin films colored in red, green and blue are formed for each pixel, which is a unit when the liquid crystal display device 1 forms an image, and such colored thin films are array substrates It is provided at the position corresponding to the pixel electrode formed in two.
  • a polarizing film 4 is attached to the back surface of the array substrate 2 and the front surface of the color filter substrate 3.
  • the liquid crystal display device 1 is a so-called transmissive type, and the array substrate 2 and the color filter substrate 3 are transparent substrates such as glass, but they are necessarily transparent when they are reflective types. There is no need to have it, and the material is not limited to glass. Further, in the embodiment shown here, since the liquid crystal display device 1 is capable of full color display, the color filter substrate 3 is provided with red, green and blue colored thin films. May be different, and the liquid crystal display device 1 may be a monochrome display, and the colored thin film may be a monochrome or omitted.
  • FIG. 2 is a diagram showing a configuration of a circuit formed on the array substrate 2 of the liquid crystal display device 1 according to the embodiment of the present invention.
  • a rectangular image display area 5 in which a large number of pixels are arranged in a lattice is formed on the array substrate 2, a rectangular image display area 5 in which a large number of pixels are arranged in a lattice is formed.
  • the resolution of the image display area 5 and the lengths in the horizontal direction and the vertical direction are determined in accordance with the application of the liquid crystal display device 1.
  • the liquid crystal display device 1 illustrated in the present embodiment has a vertically long shape (the length in the horizontal direction is shorter than the length in the vertical direction), this is because the liquid crystal display device 1 displays so-called portable information terminals such as smart phones. This is because the application as an apparatus is assumed, and depending on the application, even if the image display area 5 has a horizontally long shape (the length in the horizontal direction is longer than the length in the vertical direction), the length in the horizontal direction and the vertical direction It may be equal.
  • a plurality of scanning signal lines X and a plurality of video signal lines Y are formed on the array substrate 2 so as to penetrate the image display area 5.
  • the scanning signal lines X and the video signal lines Y are orthogonal to each other, and partition the image display area 5 in a lattice.
  • An area surrounded by two adjacent scanning signal lines X and two adjacent video signal lines Y is one pixel.
  • FIG. 3 is a diagram showing one of the pixels formed in the image display area 5 by a circuit diagram.
  • An area surrounded by the scanning signal lines Xn and Xn + 1 and the video signal lines Yn and Yn + 1 shown in the drawing is one pixel.
  • the pixel to be focused on is driven by the video signal line Yn and the scanning signal line Xn.
  • a TFT 51 is provided for each pixel.
  • the TFT 51 is turned on by the scanning signal input from the scanning signal line Xn.
  • the video signal line Yn applies a voltage (a signal representing a gradation value of each pixel) to the pixel electrode 52 of the pixel via the TFT 51 in the on state.
  • a common electrode 53 is formed corresponding to the pixel electrode 52 so as to form a capacitance through a liquid crystal layer sandwiched and sealed between the array substrate 2 and the color filter substrate 3.
  • the common electrode 53 is electrically connected to the common potential. Therefore, the electric field between the pixel electrode 52 and the common electrode 53 is changed according to the voltage applied to the pixel electrode 52, whereby the alignment state of the liquid crystal in the liquid crystal layer is changed, and the image display area 5 is transmitted. Control the polarization state of the light beam.
  • the relationship between the polarization direction controlled by the liquid crystal layer and the polarization direction of the polarizing film 4 attached to the array substrate 2 and the color filter substrate 3 determines the transmittance of light passing through the liquid crystal display device 1.
  • the pixel functions as an element that controls light transmittance. Then, an image is displayed by controlling the light transmittance of each pixel according to the input image data. Therefore, in the liquid crystal display device 1, the area in which the pixel is formed is the image display area 5 in which the image is displayed.
  • the substrate on which the common electrode 53 is formed is different depending on the driving method of the liquid crystal, and for example, in a method called IPS (In Plane Switching), the array substrate 2 may be used.
  • a common electrode is formed on the color filter substrate 3 in a method called Twisted Nematic.
  • the driving method of the liquid crystal is not particularly limited, but in the present embodiment, the IPS method is used.
  • the driver IC 21 is provided on at least one side of the side parallel to the scanning signal line X of the image display area 5, that is, the upper side of the image display area in the illustrated example.
  • the driver IC 21 receives various signals such as a power supply voltage, a ground voltage, a timing signal and a video signal from an external device.
  • the driver IC includes a video signal drive circuit 212, which is connected to the video signal line Y.
  • the common potential is equal to the ground potential, but is not necessarily limited to this.
  • the driver IC 21 is not necessarily mounted on the array substrate 2 as a chip integrated circuit as shown in FIG. 1, and is formed directly on the array substrate 2 by the so-called SOG (System On Glass) method. It is good also as things.
  • SOG System On Glass
  • the scanning signal drive circuit 211 is provided outside each side of the image display area in parallel with the video signal line Y, and is connected to the scanning signal line X.
  • the scan signal drive circuit 211 selects the scan connection lines 61 in order according to the timing according to the timing signal input from the external device, and turns on the TFTs 51 (see FIG. 3) to the selected scan connection lines 61 (hereinafter referred to as Apply an on voltage).
  • Apply an on voltage When an on voltage is applied to the scanning signal line X, the TFT 51 connected to the scanning signal line X is turned on.
  • the video signal drive circuit 212 is connected to the video signal line Y.
  • the video signal drive circuit 212 displays the gradation value of each pixel in each source electrode of the TFT 51 connected to the selected scan signal line X in accordance with the selection of the scan signal line X by the scan signal drive circuit 211. Apply a voltage according to the video signal.
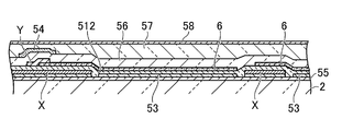
  • FIG. 4 is a partially enlarged view showing a planar structure of pixels included in the image display area 5 on the array substrate 2.
  • the figure shows one of a large number of pixels arranged in a lattice, and a rectangular area surrounded by the scanning signal line X and the video signal line Y is one pixel. Note that, in the same drawing, in order to clarify the positional relationship and the shape of each part, the outline of the overlapping part is also shown.
  • the scanning signal line X is a strip line continuously extending in the lateral direction in the drawing, and in the present embodiment, it is a laminated film of ITO (Indium-Tin-Oxide) and copper. Therefore, the scanning signal line X has a light shielding property. Further, the video signal line Y is a strip line of a copper thin film continuously extending in the longitudinal direction in the drawing so as to be orthogonal to the scanning signal line 24.
  • a pixel electrode 52 and a common electrode 53 formed at a position overlapping the pixel electrode 52 are disposed inside the pixel.
  • the pixel electrode 52 is a strip-shaped electrode extending in the direction parallel to the video signal line Y at the center of the pixel as shown, or an electrode having a comb-tooth-shaped pattern, and an appropriate voltage is applied.
  • a horizontal electric field is formed between the common electrode 53 and the common electrode 53.
  • the common electrode 53 is a solid film ITO thin film covering the entire pixel, and the common electrodes 53 adjacent in the direction parallel to the scanning signal line X are connected to each other.
  • the video signal shielding electrode 54 is a strip line made of an ITO thin film which is formed to be parallel to and superimposed directly on the video signal line Y.
  • the video signal shielding electrode 54 is connected to a common potential, and has a role of electrically shielding the video signal line Y so that the noise electric field from the video signal line Y does not reach the pixel electrode 52. This prevents the deterioration of the image due to the crosstalk of the video signal at the time of image display.
  • the video signal shielding electrode 26 is not an essential component, and may be omitted if it is unnecessary.
  • a channel semiconductor layer 511 is formed at a position overlapping the scanning signal line X.
  • the channel semiconductor layer 511 partially overlaps with the video signal line Y and is continuously connected to the pixel electrode 52. Therefore, the shape of the channel semiconductor layer 511 is L-shaped so as to extend along the scanning signal line X from the overlapping portion of the scanning signal line X and the video signal line Y and thereafter to be bent and connected to the pixel electrode 52 .
  • the channel semiconductor layer 511 serves as a channel of the field effect transistor. Therefore, the portion shown by the outer shape of the channel semiconductor layer 511 functions as the TFT 51.
  • the pixel electrode 52 and the channel semiconductor layer 511 are the oxide semiconductor layer 6 which is continuous with one another, and in this embodiment, it is IGZO which is a type of TAOS.
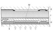
  • FIG. 5 is a cross-sectional view taken along line VV of FIG.
  • the figure is a cross section including the TFT 51 and the pixel electrode 52.
  • a base layer 55 which is an insulating layer, is formed on the array substrate 2, and a base of the common electrode 53 and the scanning signal line X is formed on the upper surface of the base layer 55 by a transparent conductive film of ITO or the like.
  • the scanning signal line X is obtained by further laminating copper on the transparent conductive film.
  • the common electrode 53 and the scanning signal line X are covered with the gate insulating film 512, and the oxide semiconductor layer 6 is provided on top of the gate insulating film 512 in a state of being insulated from the scanning signal line X and the common electrode 53.
  • a portion facing the scanning signal line X and the gate insulating film 512 functions as a channel semiconductor layer 511, and the other portion functions as a pixel electrode 52 (see FIG. 4).
  • the video signal line Y is provided in a state in which the oxide semiconductor layer 6 overlaps with a part of a portion functioning as the channel semiconductor layer 511 and is conductively connected.
  • the oxide semiconductor layer 6 and the video signal line Y are covered with a protective layer 56 which is an insulating layer.
  • a video signal shielding electrode 54 is provided on the protective layer 56 by a transparent conductive film made of ITO or the like so as to cover the video signal line Y in plan view.
  • a planarizing layer 57 which is an insulating layer is provided as necessary, and an alignment film 58 is further provided.
  • the scanning signal line X in a portion facing the channel semiconductor layer 511 of the oxide semiconductor layer 6 functions as a gate electrode of the TFT.
  • the video signal line Y connected to a part of the channel semiconductor layer 511 functions as a source (or drain) electrode.
  • the drain electrode is provided in the other part of the channel semiconductor layer 511 in a form insulated from the source electrode, but in the structure shown in this embodiment, the channel semiconductor layer 511 is continuous.
  • the portion functioning as the pixel electrode 52 of the oxide semiconductor layer 6 connected to the above functions as the drain electrode.
  • the oxide semiconductor layer 6 is a channel of a field effect transistor, resistance is large and carriers can not flow in a state where an electric field from the gate electrode does not act. And since the portion which functions as a gate electrode does not exist in the portion which functions as pixel electrode 52 of oxide semiconductor layer 6, the performance as pixel electrode 52 can not be obtained as it is. Therefore, by irradiating energy rays such as ultraviolet rays and electron beams from the lower side of FIG. 5, that is, the back surface of the array substrate 2, carriers are formed on the portions of the oxide semiconductor layer 6 irradiated with the energy rays. By increasing the conductivity, the resistance is lowered to such an extent that the pixel electrode 52 can function.
  • energy rays such as ultraviolet rays and electron beams from the lower side of FIG. 5, that is, the back surface of the array substrate 2
  • IGZO which is a material of the oxide semiconductor layer 6 in this embodiment can raise an electrical conductivity by an ultraviolet-ray.
  • the material that can be used as the oxide semiconductor layer 6 is not limited to IGZO, but it needs to be a material that can increase its electrical conductivity by irradiation with a shieldable energy beam.
  • Such materials include metal oxides containing one or more metal elements selected from In, Ga, Zn, Sn, Cu, and Cd.
  • insulating layer in contact with the IGZO so as not be able to use a nitride layer, SiO 2 It is necessary to use an insulating film which does not contain nitrogen, such as a film.
  • the TFT 51 when the TFT 51 is a bottom gate type in which the gate electrode (that is, the scanning signal line X) is disposed in the lower layer, energy rays are irradiated from the back surface of the array substrate 2.
  • the top gate type which is a structure
  • the array substrate 2 and the color filter substrate 3 can be bonded to each other, and after the liquid crystal layer is held therebetween, energy rays can be irradiated.
  • the common electrode 53 is disposed in the lower layer of the pixel electrode 52 because the liquid crystal display device 1 is of the so-called IPS type, but the liquid crystal driving method is different.
  • the common electrode 53 is not formed on the array substrate 2 because the common electrode 53 is formed on the color filter substrate 3 side.
  • FIGS. 6A to 6G show cross sections at the same positions as in FIG.
  • the array substrate 2 is prepared.
  • the base layer 55 which is an insulating layer, is formed on the array substrate 2 (FIG. 6A).
  • the common electrode 53 and the scanning signal line X are formed on the underlayer 55 (FIG. 6B).
  • the common electrode 53 and the base of the scanning signal line X are formed of a transparent conductive film (in this case, ITO), and a copper film is laminated on the portion to be the scanning signal line X.
  • ITO transparent conductive film
  • the formation of the common electrode 53 may be omitted.
  • a gate insulating film 512 is formed (FIG. 6C).
  • the gate insulating film 512 covers the entire surface of the image display area 5 including the common electrode 53 and the scanning signal line X.
  • the oxide semiconductor layer 6 is formed over the gate insulating film 512 (FIG. 6D). At this point of time, there is no difference in the electrical conductivity of the oxide semiconductor layer 6 due to part.
  • the video signal line Y is formed so as to overlap with a part of the oxide semiconductor layer 6, in particular, a part that functions as the channel semiconductor layer 511 in the future (FIG. 6E).
  • the video signal line Y is a metal film such as copper or aluminum. It is to be noted that since the portion functioning as the channel semiconductor layer 511 in the future overlaps with the scanning signal line X, the video signal line Y is oxidized in a part of the region where the oxide semiconductor layer 6 and the scanning signal line X overlap. It overlaps with the object semiconductor layer 6 and is connected.
  • a protective layer 56 is formed, a video signal shielding electrode 54 is formed thereon, and a planarizing layer 57 is provided if necessary, and then an alignment film 58 is formed (FIG. 6F).
  • the alignment process of the alignment film 58 may be performed by so-called rubbing or by photo alignment, but when photo alignment is performed, characteristics of the channel semiconductor layer 511 by polarized ultraviolet light used in the process. The wavelength of ultraviolet light and the total amount of irradiation energy must be selected so that
  • the liquid crystal display device 1 a portion having a thin direct relationship with the present invention, for example, a process of sealing a liquid crystal layer, peripheral circuits such as the scanning signal drive circuit 211, etc.
  • the description of the step of forming the step and the step of mounting the driver IC 21 is omitted.

Landscapes

  • Physics & Mathematics (AREA)
  • Nonlinear Science (AREA)
  • Mathematical Physics (AREA)
  • Chemical & Material Sciences (AREA)
  • Crystallography & Structural Chemistry (AREA)
  • General Physics & Mathematics (AREA)
  • Optics & Photonics (AREA)
  • Engineering & Computer Science (AREA)
  • Microelectronics & Electronic Packaging (AREA)
  • Geometry (AREA)
  • Liquid Crystal (AREA)
  • Manufacturing & Machinery (AREA)
  • Thin Film Transistor (AREA)
PCT/JP2013/003072 2012-06-07 2013-05-14 液晶表示装置及び液晶表示装置の製造方法 Ceased WO2013183230A1 (ja)

Priority Applications (2)

Application Number Priority Date Filing Date Title
US14/539,506 US9847350B2 (en) 2012-06-07 2014-11-12 Liquid crystal display device and method of manufacturing a liquid crystal display device
US15/811,130 US10276595B2 (en) 2012-06-07 2017-11-13 Liquid crystal display device and method of manufacturing a liquid crystal display device

Applications Claiming Priority (2)

Application Number Priority Date Filing Date Title
JP2012-130258 2012-06-07
JP2012130258A JP5979781B2 (ja) 2012-06-07 2012-06-07 表示装置及び表示装置の製造方法

Related Child Applications (1)

Application Number Title Priority Date Filing Date
US14/539,506 Continuation US9847350B2 (en) 2012-06-07 2014-11-12 Liquid crystal display device and method of manufacturing a liquid crystal display device

Publications (1)

Publication Number Publication Date
WO2013183230A1 true WO2013183230A1 (ja) 2013-12-12

Family

ID=49711639

Family Applications (1)

Application Number Title Priority Date Filing Date
PCT/JP2013/003072 Ceased WO2013183230A1 (ja) 2012-06-07 2013-05-14 液晶表示装置及び液晶表示装置の製造方法

Country Status (3)

Country Link
US (2) US9847350B2 (enExample)
JP (1) JP5979781B2 (enExample)
WO (1) WO2013183230A1 (enExample)

Cited By (1)

* Cited by examiner, † Cited by third party
Publication number Priority date Publication date Assignee Title
CN105742168B (zh) * 2014-10-01 2018-08-07 中华映管股份有限公司 薄膜晶体管及其制造方法

Families Citing this family (6)

* Cited by examiner, † Cited by third party
Publication number Priority date Publication date Assignee Title
CN105097710A (zh) * 2014-04-25 2015-11-25 上海和辉光电有限公司 薄膜晶体管阵列基板及其制造方法
JP6436660B2 (ja) * 2014-07-07 2018-12-12 三菱電機株式会社 薄膜トランジスタ基板およびその製造方法
JP6801891B2 (ja) * 2016-03-02 2020-12-16 国立研究開発法人産業技術総合研究所 半導体−絶縁体可逆変化薄膜及びその製造方法
JP6234642B1 (ja) * 2016-03-18 2017-11-22 三菱電機株式会社 薄膜トランジスタ、薄膜トランジスタ基板、液晶表示装置および薄膜トランジスタの製造方法
CN111722445A (zh) * 2019-03-22 2020-09-29 咸阳彩虹光电科技有限公司 一种阵列基板、液晶显示面板及显示装置
CN114815410B (zh) * 2022-05-09 2023-10-13 深圳市华星光电半导体显示技术有限公司 阵列基板及移动终端

Citations (3)

* Cited by examiner, † Cited by third party
Publication number Priority date Publication date Assignee Title
JP2003050405A (ja) * 2000-11-15 2003-02-21 Matsushita Electric Ind Co Ltd 薄膜トランジスタアレイ、その製造方法およびそれを用いた表示パネル
JP2010147351A (ja) * 2008-12-20 2010-07-01 Videocon Global Ltd 液晶表示装置及びその製造方法
JP2011154281A (ja) * 2010-01-28 2011-08-11 Mitsubishi Electric Corp 液晶表示装置

Family Cites Families (6)

* Cited by examiner, † Cited by third party
Publication number Priority date Publication date Assignee Title
JPS6397919A (ja) * 1986-10-15 1988-04-28 Seiko Epson Corp 液晶パネル
KR20020038482A (ko) 2000-11-15 2002-05-23 모리시타 요이찌 박막 트랜지스터 어레이, 그 제조방법 및 그것을 이용한표시패널
KR101096718B1 (ko) * 2004-12-24 2011-12-22 엘지디스플레이 주식회사 수평 전계 박막 트랜지스터 기판의 제조 방법
JP2010230744A (ja) * 2009-03-26 2010-10-14 Videocon Global Ltd 液晶表示装置及びその製造方法
JP2010263064A (ja) 2009-05-07 2010-11-18 Videocon Global Ltd 薄膜トランジスタ、液晶表示装置及びこれらの製造方法
US9214533B2 (en) 2012-01-31 2015-12-15 Sharp Kabushiki Kaisha Semiconductor device having transparent electrodes

Patent Citations (3)

* Cited by examiner, † Cited by third party
Publication number Priority date Publication date Assignee Title
JP2003050405A (ja) * 2000-11-15 2003-02-21 Matsushita Electric Ind Co Ltd 薄膜トランジスタアレイ、その製造方法およびそれを用いた表示パネル
JP2010147351A (ja) * 2008-12-20 2010-07-01 Videocon Global Ltd 液晶表示装置及びその製造方法
JP2011154281A (ja) * 2010-01-28 2011-08-11 Mitsubishi Electric Corp 液晶表示装置

Cited By (1)

* Cited by examiner, † Cited by third party
Publication number Priority date Publication date Assignee Title
CN105742168B (zh) * 2014-10-01 2018-08-07 中华映管股份有限公司 薄膜晶体管及其制造方法

Also Published As

Publication number Publication date
US9847350B2 (en) 2017-12-19
US20150069388A1 (en) 2015-03-12
JP2013254121A (ja) 2013-12-19
JP5979781B2 (ja) 2016-08-31
US10276595B2 (en) 2019-04-30
US20180069029A1 (en) 2018-03-08

Similar Documents

Publication Publication Date Title
US10276595B2 (en) Liquid crystal display device and method of manufacturing a liquid crystal display device
JP6518890B2 (ja) 表示装置および電子機器
TWI307803B (en) Transflective liquid crystal display
CN101251695A (zh) 显示装置
KR20140044453A (ko) 표시 기판 및 이를 포함하는 액정 표시 패널
US9853164B2 (en) Semiconductor device and display device
CN103472607A (zh) 显示面板与其制造方法
CN104423110A (zh) 液晶显示器的阵列基板
US8553192B2 (en) Liquid crystal display
JP3661669B2 (ja) アクティブマトリクス基板、電気光学装置、電子機器
CN103728799A (zh) 具有最小边框的液晶显示装置
KR102052872B1 (ko) 정전기 제거가 용이한 액정표시소자
WO2012090788A1 (ja) 表示素子
JP2010204600A (ja) 電気光学装置及びその製造方法
WO2010103676A1 (ja) アクティブマトリクス基板、表示パネル、表示装置、並びに電子機器
US20120319144A1 (en) Display panel and display device
US8253909B2 (en) Electro-optical device substrate, electro-optical device, and electronic apparatus
US8467024B2 (en) Liquid crystal display panel and fabricating method of the same
US20120081273A1 (en) Pixel structure, pixel array and display panel
US20150255616A1 (en) Semiconductor device and display device
JP2014106322A (ja) 液晶表示装置
KR20060050198A (ko) 반도체 장치용 기판 및 그 제조 방법, 전기 광학 장치용기판, 전기 광학 장치 및 전자 기기
US20140027761A1 (en) Thin film transistor substrate, display thereof and manufacturing method thereof
JP2008165029A (ja) 液晶表示装置
JP2008249975A (ja) 電気光学装置、及びこれを備えた電子機器

Legal Events

Date Code Title Description
121 Ep: the epo has been informed by wipo that ep was designated in this application

Ref document number: 13800367

Country of ref document: EP

Kind code of ref document: A1

NENP Non-entry into the national phase

Ref country code: DE

122 Ep: pct application non-entry in european phase

Ref document number: 13800367

Country of ref document: EP

Kind code of ref document: A1