WO2013146190A1 - 容器及び蓋のレーザ溶着による密封方法 - Google Patents

容器及び蓋のレーザ溶着による密封方法 Download PDF

Info

Publication number
WO2013146190A1
WO2013146190A1 PCT/JP2013/056473 JP2013056473W WO2013146190A1 WO 2013146190 A1 WO2013146190 A1 WO 2013146190A1 JP 2013056473 W JP2013056473 W JP 2013056473W WO 2013146190 A1 WO2013146190 A1 WO 2013146190A1
Authority
WO
WIPO (PCT)
Prior art keywords
laser
lid
container
thermoplastic resin
welding
Prior art date
Legal status (The legal status is an assumption and is not a legal conclusion. Google has not performed a legal analysis and makes no representation as to the accuracy of the status listed.)
Ceased
Application number
PCT/JP2013/056473
Other languages
English (en)
French (fr)
Japanese (ja)
Inventor
誠 澤田
清隆 篠崎
喜昭 品川
洵 山▲崎▼
Current Assignee (The listed assignees may be inaccurate. Google has not performed a legal analysis and makes no representation or warranty as to the accuracy of the list.)
Toyo Seikan Group Holdings Ltd
Original Assignee
Toyo Seikan Group Holdings Ltd
Priority date (The priority date is an assumption and is not a legal conclusion. Google has not performed a legal analysis and makes no representation as to the accuracy of the date listed.)
Filing date
Publication date
Application filed by Toyo Seikan Group Holdings Ltd filed Critical Toyo Seikan Group Holdings Ltd
Priority to CN201380017519.4A priority Critical patent/CN104220238B/zh
Priority to EP13767876.9A priority patent/EP2832527B1/en
Priority to US14/387,063 priority patent/US9550596B2/en
Priority to KR1020147029875A priority patent/KR101775768B1/ko
Publication of WO2013146190A1 publication Critical patent/WO2013146190A1/ja
Anticipated expiration legal-status Critical
Ceased legal-status Critical Current

Links

Images

Classifications

    • BPERFORMING OPERATIONS; TRANSPORTING
    • B29WORKING OF PLASTICS; WORKING OF SUBSTANCES IN A PLASTIC STATE IN GENERAL
    • B29CSHAPING OR JOINING OF PLASTICS; SHAPING OF MATERIAL IN A PLASTIC STATE, NOT OTHERWISE PROVIDED FOR; AFTER-TREATMENT OF THE SHAPED PRODUCTS, e.g. REPAIRING
    • B29C65/00Joining or sealing of preformed parts, e.g. welding of plastics materials; Apparatus therefor
    • B29C65/02Joining or sealing of preformed parts, e.g. welding of plastics materials; Apparatus therefor by heating, with or without pressure
    • B29C65/14Joining or sealing of preformed parts, e.g. welding of plastics materials; Apparatus therefor by heating, with or without pressure using wave energy, i.e. electromagnetic radiation, or particle radiation
    • B29C65/16Laser beams
    • B29C65/1629Laser beams characterised by the way of heating the interface
    • B29C65/1635Laser beams characterised by the way of heating the interface at least passing through one of the parts to be joined, i.e. laser transmission welding
    • BPERFORMING OPERATIONS; TRANSPORTING
    • B65CONVEYING; PACKING; STORING; HANDLING THIN OR FILAMENTARY MATERIAL
    • B65BMACHINES, APPARATUS OR DEVICES FOR, OR METHODS OF, PACKAGING ARTICLES OR MATERIALS; UNPACKING
    • B65B51/00Devices for, or methods of, sealing or securing package folds or closures; Devices for gathering or twisting wrappers, or necks of bags
    • B65B51/10Applying or generating heat or pressure or combinations thereof
    • BPERFORMING OPERATIONS; TRANSPORTING
    • B29WORKING OF PLASTICS; WORKING OF SUBSTANCES IN A PLASTIC STATE IN GENERAL
    • B29CSHAPING OR JOINING OF PLASTICS; SHAPING OF MATERIAL IN A PLASTIC STATE, NOT OTHERWISE PROVIDED FOR; AFTER-TREATMENT OF THE SHAPED PRODUCTS, e.g. REPAIRING
    • B29C65/00Joining or sealing of preformed parts, e.g. welding of plastics materials; Apparatus therefor
    • B29C65/02Joining or sealing of preformed parts, e.g. welding of plastics materials; Apparatus therefor by heating, with or without pressure
    • B29C65/14Joining or sealing of preformed parts, e.g. welding of plastics materials; Apparatus therefor by heating, with or without pressure using wave energy, i.e. electromagnetic radiation, or particle radiation
    • B29C65/16Laser beams
    • B29C65/1629Laser beams characterised by the way of heating the interface
    • B29C65/1654Laser beams characterised by the way of heating the interface scanning at least one of the parts to be joined
    • BPERFORMING OPERATIONS; TRANSPORTING
    • B29WORKING OF PLASTICS; WORKING OF SUBSTANCES IN A PLASTIC STATE IN GENERAL
    • B29CSHAPING OR JOINING OF PLASTICS; SHAPING OF MATERIAL IN A PLASTIC STATE, NOT OTHERWISE PROVIDED FOR; AFTER-TREATMENT OF THE SHAPED PRODUCTS, e.g. REPAIRING
    • B29C65/00Joining or sealing of preformed parts, e.g. welding of plastics materials; Apparatus therefor
    • B29C65/02Joining or sealing of preformed parts, e.g. welding of plastics materials; Apparatus therefor by heating, with or without pressure
    • B29C65/14Joining or sealing of preformed parts, e.g. welding of plastics materials; Apparatus therefor by heating, with or without pressure using wave energy, i.e. electromagnetic radiation, or particle radiation
    • B29C65/16Laser beams
    • B29C65/1677Laser beams making use of an absorber or impact modifier
    • BPERFORMING OPERATIONS; TRANSPORTING
    • B29WORKING OF PLASTICS; WORKING OF SUBSTANCES IN A PLASTIC STATE IN GENERAL
    • B29CSHAPING OR JOINING OF PLASTICS; SHAPING OF MATERIAL IN A PLASTIC STATE, NOT OTHERWISE PROVIDED FOR; AFTER-TREATMENT OF THE SHAPED PRODUCTS, e.g. REPAIRING
    • B29C65/00Joining or sealing of preformed parts, e.g. welding of plastics materials; Apparatus therefor
    • B29C65/78Means for handling the parts to be joined, e.g. for making containers or hollow articles, e.g. means for handling sheets, plates, web-like materials, tubular articles, hollow articles or elements to be joined therewith; Means for discharging the joined articles from the joining apparatus
    • B29C65/7841Holding or clamping means for handling purposes
    • BPERFORMING OPERATIONS; TRANSPORTING
    • B29WORKING OF PLASTICS; WORKING OF SUBSTANCES IN A PLASTIC STATE IN GENERAL
    • B29CSHAPING OR JOINING OF PLASTICS; SHAPING OF MATERIAL IN A PLASTIC STATE, NOT OTHERWISE PROVIDED FOR; AFTER-TREATMENT OF THE SHAPED PRODUCTS, e.g. REPAIRING
    • B29C66/00General aspects of processes or apparatus for joining preformed parts
    • B29C66/01General aspects dealing with the joint area or with the area to be joined
    • B29C66/05Particular design of joint configurations
    • B29C66/10Particular design of joint configurations particular design of the joint cross-sections
    • B29C66/13Single flanged joints; Fin-type joints; Single hem joints; Edge joints; Interpenetrating fingered joints; Other specific particular designs of joint cross-sections not provided for in groups B29C66/11 - B29C66/12
    • B29C66/131Single flanged joints, i.e. one of the parts to be joined being rigid and flanged in the joint area
    • B29C66/1312Single flange to flange joints, the parts to be joined being rigid
    • BPERFORMING OPERATIONS; TRANSPORTING
    • B29WORKING OF PLASTICS; WORKING OF SUBSTANCES IN A PLASTIC STATE IN GENERAL
    • B29CSHAPING OR JOINING OF PLASTICS; SHAPING OF MATERIAL IN A PLASTIC STATE, NOT OTHERWISE PROVIDED FOR; AFTER-TREATMENT OF THE SHAPED PRODUCTS, e.g. REPAIRING
    • B29C66/00General aspects of processes or apparatus for joining preformed parts
    • B29C66/01General aspects dealing with the joint area or with the area to be joined
    • B29C66/05Particular design of joint configurations
    • B29C66/20Particular design of joint configurations particular design of the joint lines, e.g. of the weld lines
    • B29C66/24Particular design of joint configurations particular design of the joint lines, e.g. of the weld lines said joint lines being closed or non-straight
    • B29C66/242Particular design of joint configurations particular design of the joint lines, e.g. of the weld lines said joint lines being closed or non-straight said joint lines being closed, i.e. forming closed contours
    • B29C66/2422Particular design of joint configurations particular design of the joint lines, e.g. of the weld lines said joint lines being closed or non-straight said joint lines being closed, i.e. forming closed contours being circular, oval or elliptical
    • B29C66/24221Particular design of joint configurations particular design of the joint lines, e.g. of the weld lines said joint lines being closed or non-straight said joint lines being closed, i.e. forming closed contours being circular, oval or elliptical being circular
    • BPERFORMING OPERATIONS; TRANSPORTING
    • B29WORKING OF PLASTICS; WORKING OF SUBSTANCES IN A PLASTIC STATE IN GENERAL
    • B29CSHAPING OR JOINING OF PLASTICS; SHAPING OF MATERIAL IN A PLASTIC STATE, NOT OTHERWISE PROVIDED FOR; AFTER-TREATMENT OF THE SHAPED PRODUCTS, e.g. REPAIRING
    • B29C66/00General aspects of processes or apparatus for joining preformed parts
    • B29C66/01General aspects dealing with the joint area or with the area to be joined
    • B29C66/05Particular design of joint configurations
    • B29C66/302Particular design of joint configurations the area to be joined comprising melt initiators
    • B29C66/3022Particular design of joint configurations the area to be joined comprising melt initiators said melt initiators being integral with at least one of the parts to be joined
    • B29C66/30223Particular design of joint configurations the area to be joined comprising melt initiators said melt initiators being integral with at least one of the parts to be joined said melt initiators being rib-like
    • BPERFORMING OPERATIONS; TRANSPORTING
    • B29WORKING OF PLASTICS; WORKING OF SUBSTANCES IN A PLASTIC STATE IN GENERAL
    • B29CSHAPING OR JOINING OF PLASTICS; SHAPING OF MATERIAL IN A PLASTIC STATE, NOT OTHERWISE PROVIDED FOR; AFTER-TREATMENT OF THE SHAPED PRODUCTS, e.g. REPAIRING
    • B29C66/00General aspects of processes or apparatus for joining preformed parts
    • B29C66/50General aspects of joining tubular articles; General aspects of joining long products, i.e. bars or profiled elements; General aspects of joining single elements to tubular articles, hollow articles or bars; General aspects of joining several hollow-preforms to form hollow or tubular articles
    • B29C66/51Joining tubular articles, profiled elements or bars; Joining single elements to tubular articles, hollow articles or bars; Joining several hollow-preforms to form hollow or tubular articles
    • B29C66/54Joining several hollow-preforms, e.g. half-shells, to form hollow articles, e.g. for making balls, containers; Joining several hollow-preforms, e.g. half-cylinders, to form tubular articles
    • B29C66/542Joining several hollow-preforms, e.g. half-shells, to form hollow articles, e.g. for making balls, containers; Joining several hollow-preforms, e.g. half-cylinders, to form tubular articles joining hollow covers or hollow bottoms to open ends of container bodies
    • BPERFORMING OPERATIONS; TRANSPORTING
    • B29WORKING OF PLASTICS; WORKING OF SUBSTANCES IN A PLASTIC STATE IN GENERAL
    • B29CSHAPING OR JOINING OF PLASTICS; SHAPING OF MATERIAL IN A PLASTIC STATE, NOT OTHERWISE PROVIDED FOR; AFTER-TREATMENT OF THE SHAPED PRODUCTS, e.g. REPAIRING
    • B29C66/00General aspects of processes or apparatus for joining preformed parts
    • B29C66/50General aspects of joining tubular articles; General aspects of joining long products, i.e. bars or profiled elements; General aspects of joining single elements to tubular articles, hollow articles or bars; General aspects of joining several hollow-preforms to form hollow or tubular articles
    • B29C66/51Joining tubular articles, profiled elements or bars; Joining single elements to tubular articles, hollow articles or bars; Joining several hollow-preforms to form hollow or tubular articles
    • B29C66/54Joining several hollow-preforms, e.g. half-shells, to form hollow articles, e.g. for making balls, containers; Joining several hollow-preforms, e.g. half-cylinders, to form tubular articles
    • B29C66/545Joining several hollow-preforms, e.g. half-shells, to form hollow articles, e.g. for making balls, containers; Joining several hollow-preforms, e.g. half-cylinders, to form tubular articles one hollow-preform being placed inside the other
    • BPERFORMING OPERATIONS; TRANSPORTING
    • B29WORKING OF PLASTICS; WORKING OF SUBSTANCES IN A PLASTIC STATE IN GENERAL
    • B29CSHAPING OR JOINING OF PLASTICS; SHAPING OF MATERIAL IN A PLASTIC STATE, NOT OTHERWISE PROVIDED FOR; AFTER-TREATMENT OF THE SHAPED PRODUCTS, e.g. REPAIRING
    • B29C66/00General aspects of processes or apparatus for joining preformed parts
    • B29C66/50General aspects of joining tubular articles; General aspects of joining long products, i.e. bars or profiled elements; General aspects of joining single elements to tubular articles, hollow articles or bars; General aspects of joining several hollow-preforms to form hollow or tubular articles
    • B29C66/65General aspects of joining tubular articles; General aspects of joining long products, i.e. bars or profiled elements; General aspects of joining single elements to tubular articles, hollow articles or bars; General aspects of joining several hollow-preforms to form hollow or tubular articles with a relative motion between the article and the welding tool
    • BPERFORMING OPERATIONS; TRANSPORTING
    • B29WORKING OF PLASTICS; WORKING OF SUBSTANCES IN A PLASTIC STATE IN GENERAL
    • B29CSHAPING OR JOINING OF PLASTICS; SHAPING OF MATERIAL IN A PLASTIC STATE, NOT OTHERWISE PROVIDED FOR; AFTER-TREATMENT OF THE SHAPED PRODUCTS, e.g. REPAIRING
    • B29C66/00General aspects of processes or apparatus for joining preformed parts
    • B29C66/70General aspects of processes or apparatus for joining preformed parts characterised by the composition, physical properties or the structure of the material of the parts to be joined; Joining with non-plastics material
    • B29C66/73General aspects of processes or apparatus for joining preformed parts characterised by the composition, physical properties or the structure of the material of the parts to be joined; Joining with non-plastics material characterised by the intensive physical properties of the material of the parts to be joined, by the optical properties of the material of the parts to be joined, by the extensive physical properties of the parts to be joined, by the state of the material of the parts to be joined or by the material of the parts to be joined being a thermoplastic or a thermoset
    • B29C66/733General aspects of processes or apparatus for joining preformed parts characterised by the composition, physical properties or the structure of the material of the parts to be joined; Joining with non-plastics material characterised by the intensive physical properties of the material of the parts to be joined, by the optical properties of the material of the parts to be joined, by the extensive physical properties of the parts to be joined, by the state of the material of the parts to be joined or by the material of the parts to be joined being a thermoplastic or a thermoset characterised by the optical properties of the material of the parts to be joined, e.g. fluorescence, phosphorescence
    • BPERFORMING OPERATIONS; TRANSPORTING
    • B29WORKING OF PLASTICS; WORKING OF SUBSTANCES IN A PLASTIC STATE IN GENERAL
    • B29CSHAPING OR JOINING OF PLASTICS; SHAPING OF MATERIAL IN A PLASTIC STATE, NOT OTHERWISE PROVIDED FOR; AFTER-TREATMENT OF THE SHAPED PRODUCTS, e.g. REPAIRING
    • B29C66/00General aspects of processes or apparatus for joining preformed parts
    • B29C66/70General aspects of processes or apparatus for joining preformed parts characterised by the composition, physical properties or the structure of the material of the parts to be joined; Joining with non-plastics material
    • B29C66/73General aspects of processes or apparatus for joining preformed parts characterised by the composition, physical properties or the structure of the material of the parts to be joined; Joining with non-plastics material characterised by the intensive physical properties of the material of the parts to be joined, by the optical properties of the material of the parts to be joined, by the extensive physical properties of the parts to be joined, by the state of the material of the parts to be joined or by the material of the parts to be joined being a thermoplastic or a thermoset
    • B29C66/739General aspects of processes or apparatus for joining preformed parts characterised by the composition, physical properties or the structure of the material of the parts to be joined; Joining with non-plastics material characterised by the intensive physical properties of the material of the parts to be joined, by the optical properties of the material of the parts to be joined, by the extensive physical properties of the parts to be joined, by the state of the material of the parts to be joined or by the material of the parts to be joined being a thermoplastic or a thermoset characterised by the material of the parts to be joined being a thermoplastic or a thermoset
    • B29C66/7392General aspects of processes or apparatus for joining preformed parts characterised by the composition, physical properties or the structure of the material of the parts to be joined; Joining with non-plastics material characterised by the intensive physical properties of the material of the parts to be joined, by the optical properties of the material of the parts to be joined, by the extensive physical properties of the parts to be joined, by the state of the material of the parts to be joined or by the material of the parts to be joined being a thermoplastic or a thermoset characterised by the material of the parts to be joined being a thermoplastic or a thermoset characterised by the material of at least one of the parts being a thermoplastic
    • B29C66/73921General aspects of processes or apparatus for joining preformed parts characterised by the composition, physical properties or the structure of the material of the parts to be joined; Joining with non-plastics material characterised by the intensive physical properties of the material of the parts to be joined, by the optical properties of the material of the parts to be joined, by the extensive physical properties of the parts to be joined, by the state of the material of the parts to be joined or by the material of the parts to be joined being a thermoplastic or a thermoset characterised by the material of the parts to be joined being a thermoplastic or a thermoset characterised by the material of at least one of the parts being a thermoplastic characterised by the materials of both parts being thermoplastics
    • BPERFORMING OPERATIONS; TRANSPORTING
    • B29WORKING OF PLASTICS; WORKING OF SUBSTANCES IN A PLASTIC STATE IN GENERAL
    • B29CSHAPING OR JOINING OF PLASTICS; SHAPING OF MATERIAL IN A PLASTIC STATE, NOT OTHERWISE PROVIDED FOR; AFTER-TREATMENT OF THE SHAPED PRODUCTS, e.g. REPAIRING
    • B29C66/00General aspects of processes or apparatus for joining preformed parts
    • B29C66/90Measuring or controlling the joining process
    • B29C66/91Measuring or controlling the joining process by measuring or controlling the temperature, the heat or the thermal flux
    • B29C66/914Measuring or controlling the joining process by measuring or controlling the temperature, the heat or the thermal flux by controlling or regulating the temperature, the heat or the thermal flux
    • B29C66/9141Measuring or controlling the joining process by measuring or controlling the temperature, the heat or the thermal flux by controlling or regulating the temperature, the heat or the thermal flux by controlling or regulating the temperature
    • B29C66/91411Measuring or controlling the joining process by measuring or controlling the temperature, the heat or the thermal flux by controlling or regulating the temperature, the heat or the thermal flux by controlling or regulating the temperature of the parts to be joined, e.g. the joining process taking the temperature of the parts to be joined into account
    • BPERFORMING OPERATIONS; TRANSPORTING
    • B29WORKING OF PLASTICS; WORKING OF SUBSTANCES IN A PLASTIC STATE IN GENERAL
    • B29CSHAPING OR JOINING OF PLASTICS; SHAPING OF MATERIAL IN A PLASTIC STATE, NOT OTHERWISE PROVIDED FOR; AFTER-TREATMENT OF THE SHAPED PRODUCTS, e.g. REPAIRING
    • B29C66/00General aspects of processes or apparatus for joining preformed parts
    • B29C66/90Measuring or controlling the joining process
    • B29C66/91Measuring or controlling the joining process by measuring or controlling the temperature, the heat or the thermal flux
    • B29C66/914Measuring or controlling the joining process by measuring or controlling the temperature, the heat or the thermal flux by controlling or regulating the temperature, the heat or the thermal flux
    • B29C66/9141Measuring or controlling the joining process by measuring or controlling the temperature, the heat or the thermal flux by controlling or regulating the temperature, the heat or the thermal flux by controlling or regulating the temperature
    • B29C66/91441Measuring or controlling the joining process by measuring or controlling the temperature, the heat or the thermal flux by controlling or regulating the temperature, the heat or the thermal flux by controlling or regulating the temperature the temperature being non-constant over time
    • B29C66/91443Measuring or controlling the joining process by measuring or controlling the temperature, the heat or the thermal flux by controlling or regulating the temperature, the heat or the thermal flux by controlling or regulating the temperature the temperature being non-constant over time following a temperature-time profile
    • BPERFORMING OPERATIONS; TRANSPORTING
    • B29WORKING OF PLASTICS; WORKING OF SUBSTANCES IN A PLASTIC STATE IN GENERAL
    • B29CSHAPING OR JOINING OF PLASTICS; SHAPING OF MATERIAL IN A PLASTIC STATE, NOT OTHERWISE PROVIDED FOR; AFTER-TREATMENT OF THE SHAPED PRODUCTS, e.g. REPAIRING
    • B29C66/00General aspects of processes or apparatus for joining preformed parts
    • B29C66/90Measuring or controlling the joining process
    • B29C66/91Measuring or controlling the joining process by measuring or controlling the temperature, the heat or the thermal flux
    • B29C66/919Measuring or controlling the joining process by measuring or controlling the temperature, the heat or the thermal flux characterised by specific temperature, heat or thermal flux values or ranges
    • B29C66/9192Measuring or controlling the joining process by measuring or controlling the temperature, the heat or the thermal flux characterised by specific temperature, heat or thermal flux values or ranges in explicit relation to another variable, e.g. temperature diagrams
    • B29C66/91951Measuring or controlling the joining process by measuring or controlling the temperature, the heat or the thermal flux characterised by specific temperature, heat or thermal flux values or ranges in explicit relation to another variable, e.g. temperature diagrams in explicit relation to time, e.g. temperature-time diagrams
    • BPERFORMING OPERATIONS; TRANSPORTING
    • B29WORKING OF PLASTICS; WORKING OF SUBSTANCES IN A PLASTIC STATE IN GENERAL
    • B29CSHAPING OR JOINING OF PLASTICS; SHAPING OF MATERIAL IN A PLASTIC STATE, NOT OTHERWISE PROVIDED FOR; AFTER-TREATMENT OF THE SHAPED PRODUCTS, e.g. REPAIRING
    • B29C66/00General aspects of processes or apparatus for joining preformed parts
    • B29C66/90Measuring or controlling the joining process
    • B29C66/93Measuring or controlling the joining process by measuring or controlling the speed
    • B29C66/934Measuring or controlling the joining process by measuring or controlling the speed by controlling or regulating the speed
    • BPERFORMING OPERATIONS; TRANSPORTING
    • B29WORKING OF PLASTICS; WORKING OF SUBSTANCES IN A PLASTIC STATE IN GENERAL
    • B29CSHAPING OR JOINING OF PLASTICS; SHAPING OF MATERIAL IN A PLASTIC STATE, NOT OTHERWISE PROVIDED FOR; AFTER-TREATMENT OF THE SHAPED PRODUCTS, e.g. REPAIRING
    • B29C66/00General aspects of processes or apparatus for joining preformed parts
    • B29C66/90Measuring or controlling the joining process
    • B29C66/93Measuring or controlling the joining process by measuring or controlling the speed
    • B29C66/939Measuring or controlling the joining process by measuring or controlling the speed characterised by specific speed values or ranges
    • BPERFORMING OPERATIONS; TRANSPORTING
    • B32LAYERED PRODUCTS
    • B32BLAYERED PRODUCTS, i.e. PRODUCTS BUILT-UP OF STRATA OF FLAT OR NON-FLAT, e.g. CELLULAR OR HONEYCOMB, FORM
    • B32B38/00Ancillary operations in connection with laminating processes
    • B32B38/0008Electrical discharge treatment, e.g. corona, plasma treatment; wave energy or particle radiation
    • BPERFORMING OPERATIONS; TRANSPORTING
    • B65CONVEYING; PACKING; STORING; HANDLING THIN OR FILAMENTARY MATERIAL
    • B65BMACHINES, APPARATUS OR DEVICES FOR, OR METHODS OF, PACKAGING ARTICLES OR MATERIALS; UNPACKING
    • B65B51/00Devices for, or methods of, sealing or securing package folds or closures; Devices for gathering or twisting wrappers, or necks of bags
    • B65B51/10Applying or generating heat or pressure or combinations thereof
    • B65B51/22Applying or generating heat or pressure or combinations thereof by friction or ultrasonic or high-frequency electrical means, i.e. by friction or ultrasonic or induction welding
    • BPERFORMING OPERATIONS; TRANSPORTING
    • B65CONVEYING; PACKING; STORING; HANDLING THIN OR FILAMENTARY MATERIAL
    • B65BMACHINES, APPARATUS OR DEVICES FOR, OR METHODS OF, PACKAGING ARTICLES OR MATERIALS; UNPACKING
    • B65B7/00Closing containers or receptacles after filling
    • B65B7/16Closing semi-rigid or rigid containers or receptacles not deformed by, or not taking-up shape of, contents, e.g. boxes or cartons
    • B65B7/28Closing semi-rigid or rigid containers or receptacles not deformed by, or not taking-up shape of, contents, e.g. boxes or cartons by applying separate preformed closures, e.g. lids, covers
    • BPERFORMING OPERATIONS; TRANSPORTING
    • B65CONVEYING; PACKING; STORING; HANDLING THIN OR FILAMENTARY MATERIAL
    • B65BMACHINES, APPARATUS OR DEVICES FOR, OR METHODS OF, PACKAGING ARTICLES OR MATERIALS; UNPACKING
    • B65B7/00Closing containers or receptacles after filling
    • B65B7/16Closing semi-rigid or rigid containers or receptacles not deformed by, or not taking-up shape of, contents, e.g. boxes or cartons
    • B65B7/28Closing semi-rigid or rigid containers or receptacles not deformed by, or not taking-up shape of, contents, e.g. boxes or cartons by applying separate preformed closures, e.g. lids, covers
    • B65B7/2842Securing closures on containers
    • B65B7/2878Securing closures on containers by heat-sealing
    • BPERFORMING OPERATIONS; TRANSPORTING
    • B29WORKING OF PLASTICS; WORKING OF SUBSTANCES IN A PLASTIC STATE IN GENERAL
    • B29CSHAPING OR JOINING OF PLASTICS; SHAPING OF MATERIAL IN A PLASTIC STATE, NOT OTHERWISE PROVIDED FOR; AFTER-TREATMENT OF THE SHAPED PRODUCTS, e.g. REPAIRING
    • B29C65/00Joining or sealing of preformed parts, e.g. welding of plastics materials; Apparatus therefor
    • B29C65/02Joining or sealing of preformed parts, e.g. welding of plastics materials; Apparatus therefor by heating, with or without pressure
    • B29C65/14Joining or sealing of preformed parts, e.g. welding of plastics materials; Apparatus therefor by heating, with or without pressure using wave energy, i.e. electromagnetic radiation, or particle radiation
    • B29C65/16Laser beams
    • B29C65/1603Laser beams characterised by the type of electromagnetic radiation
    • B29C65/1612Infrared [IR] radiation, e.g. by infrared lasers
    • B29C65/1616Near infrared radiation [NIR], e.g. by YAG lasers
    • BPERFORMING OPERATIONS; TRANSPORTING
    • B29WORKING OF PLASTICS; WORKING OF SUBSTANCES IN A PLASTIC STATE IN GENERAL
    • B29CSHAPING OR JOINING OF PLASTICS; SHAPING OF MATERIAL IN A PLASTIC STATE, NOT OTHERWISE PROVIDED FOR; AFTER-TREATMENT OF THE SHAPED PRODUCTS, e.g. REPAIRING
    • B29C66/00General aspects of processes or apparatus for joining preformed parts
    • B29C66/70General aspects of processes or apparatus for joining preformed parts characterised by the composition, physical properties or the structure of the material of the parts to be joined; Joining with non-plastics material
    • B29C66/71General aspects of processes or apparatus for joining preformed parts characterised by the composition, physical properties or the structure of the material of the parts to be joined; Joining with non-plastics material characterised by the composition of the plastics material of the parts to be joined
    • BPERFORMING OPERATIONS; TRANSPORTING
    • B29WORKING OF PLASTICS; WORKING OF SUBSTANCES IN A PLASTIC STATE IN GENERAL
    • B29CSHAPING OR JOINING OF PLASTICS; SHAPING OF MATERIAL IN A PLASTIC STATE, NOT OTHERWISE PROVIDED FOR; AFTER-TREATMENT OF THE SHAPED PRODUCTS, e.g. REPAIRING
    • B29C66/00General aspects of processes or apparatus for joining preformed parts
    • B29C66/70General aspects of processes or apparatus for joining preformed parts characterised by the composition, physical properties or the structure of the material of the parts to be joined; Joining with non-plastics material
    • B29C66/72General aspects of processes or apparatus for joining preformed parts characterised by the composition, physical properties or the structure of the material of the parts to be joined; Joining with non-plastics material characterised by the structure of the material of the parts to be joined
    • B29C66/723General aspects of processes or apparatus for joining preformed parts characterised by the composition, physical properties or the structure of the material of the parts to be joined; Joining with non-plastics material characterised by the structure of the material of the parts to be joined being multi-layered
    • B29C66/7234General aspects of processes or apparatus for joining preformed parts characterised by the composition, physical properties or the structure of the material of the parts to be joined; Joining with non-plastics material characterised by the structure of the material of the parts to be joined being multi-layered comprising a barrier layer
    • BPERFORMING OPERATIONS; TRANSPORTING
    • B29WORKING OF PLASTICS; WORKING OF SUBSTANCES IN A PLASTIC STATE IN GENERAL
    • B29CSHAPING OR JOINING OF PLASTICS; SHAPING OF MATERIAL IN A PLASTIC STATE, NOT OTHERWISE PROVIDED FOR; AFTER-TREATMENT OF THE SHAPED PRODUCTS, e.g. REPAIRING
    • B29C66/00General aspects of processes or apparatus for joining preformed parts
    • B29C66/80General aspects of machine operations or constructions and parts thereof
    • B29C66/83General aspects of machine operations or constructions and parts thereof characterised by the movement of the joining or pressing tools
    • B29C66/832Reciprocating joining or pressing tools
    • B29C66/8322Joining or pressing tools reciprocating along one axis
    • BPERFORMING OPERATIONS; TRANSPORTING
    • B29WORKING OF PLASTICS; WORKING OF SUBSTANCES IN A PLASTIC STATE IN GENERAL
    • B29KINDEXING SCHEME ASSOCIATED WITH SUBCLASSES B29B, B29C OR B29D, RELATING TO MOULDING MATERIALS OR TO MATERIALS FOR MOULDS, REINFORCEMENTS, FILLERS OR PREFORMED PARTS, e.g. INSERTS
    • B29K2505/00Use of metals, their alloys or their compounds, as filler
    • B29K2505/08Transition metals
    • B29K2505/12Iron
    • BPERFORMING OPERATIONS; TRANSPORTING
    • B29WORKING OF PLASTICS; WORKING OF SUBSTANCES IN A PLASTIC STATE IN GENERAL
    • B29KINDEXING SCHEME ASSOCIATED WITH SUBCLASSES B29B, B29C OR B29D, RELATING TO MOULDING MATERIALS OR TO MATERIALS FOR MOULDS, REINFORCEMENTS, FILLERS OR PREFORMED PARTS, e.g. INSERTS
    • B29K2507/00Use of elements other than metals as filler
    • B29K2507/04Carbon
    • BPERFORMING OPERATIONS; TRANSPORTING
    • B29WORKING OF PLASTICS; WORKING OF SUBSTANCES IN A PLASTIC STATE IN GENERAL
    • B29KINDEXING SCHEME ASSOCIATED WITH SUBCLASSES B29B, B29C OR B29D, RELATING TO MOULDING MATERIALS OR TO MATERIALS FOR MOULDS, REINFORCEMENTS, FILLERS OR PREFORMED PARTS, e.g. INSERTS
    • B29K2995/00Properties of moulding materials, reinforcements, fillers, preformed parts or moulds
    • B29K2995/0018Properties of moulding materials, reinforcements, fillers, preformed parts or moulds having particular optical properties, e.g. fluorescent or phosphorescent
    • B29K2995/0026Transparent
    • B29K2995/0027Transparent for light outside the visible spectrum
    • BPERFORMING OPERATIONS; TRANSPORTING
    • B29WORKING OF PLASTICS; WORKING OF SUBSTANCES IN A PLASTIC STATE IN GENERAL
    • B29LINDEXING SCHEME ASSOCIATED WITH SUBCLASS B29C, RELATING TO PARTICULAR ARTICLES
    • B29L2031/00Other particular articles
    • B29L2031/712Containers; Packaging elements or accessories, Packages
    • BPERFORMING OPERATIONS; TRANSPORTING
    • B29WORKING OF PLASTICS; WORKING OF SUBSTANCES IN A PLASTIC STATE IN GENERAL
    • B29LINDEXING SCHEME ASSOCIATED WITH SUBCLASS B29C, RELATING TO PARTICULAR ARTICLES
    • B29L2031/00Other particular articles
    • B29L2031/712Containers; Packaging elements or accessories, Packages
    • B29L2031/7158Bottles
    • B29L2031/716Bottles of the wide mouth type, i.e. the diameters of the bottle opening and its body are substantially identical

Definitions

  • the present invention relates to a sealing method by laser welding of a container and a lid made of a thermoplastic resin, and more particularly to a laser welding method capable of reliably sealing the container and the lid in a short time.
  • the heat seal portion is cooled and takes a predetermined time until it is completely sealed, the head that has been thermally expanded by the seal heat particularly when filling the contents having self-generated pressure or hot filling.
  • the gas in the space may escape from the molten seal portion, which may cause seal peeling.
  • Patent Document 2 laser welding is also known as a method for welding packaging members such as containers and lids.
  • a bottom lid and an upper lid are welded to a container body by laser welding.
  • the sealing interface is welded without much restrictions on the thickness of the member, etc., in the welding of the packaging member by laser welding.
  • the time required for welding is shortened as compared with.
  • the present inventors have a structure having a self-pressing mechanism that presses the members of the packaging body such as a container and a lid, and can perform laser welding without fixing the welded portion in advance by an external pressing mechanism.
  • the sealing of the container and the lid by laser welding is performed in a short time with high productivity compared to the welding by the conventional heat seal, but even when the container and the lid are sealed by laser welding, Furthermore, in order to improve production efficiency, it is required to weld the container and the lid in a short time.
  • laser welding is greatly affected by the physical properties of the resin to be heated, simply increasing the laser output generates excessive heat locally, causing the resin to thermally decompose, causing the resin to foam, etc. As a result, it was found that reliable sealing performance could not be secured in a short time.
  • an object of the present invention is to provide a laser welding method capable of reliably sealing a container and a lid in a short time without causing foaming of resin or the like.
  • one of the container and the lid contains a thermoplastic resin that can transmit the laser, and the other contains a heat generating material that generates heat by absorbing the laser in the thermoplastic resin.
  • the laser is a laser capable of irradiating a rectangular beam having a uniform intensity distribution
  • L is the length (mm) of the rectangular beam in the scanning direction
  • S is the laser scanning speed (mm / msec) of 1.65 mm / msec or less.
  • a sealing method is provided in which the upper limit temperature is reached in a heating time t (msec) represented by:
  • the thermoplastic resin is any one of polystyrene resin, olefin resin, and polyester resin
  • the container has a flange portion and is laser welded to the lid at the flange portion; 3.
  • the container is made of a thermoplastic resin that can transmit laser, and the lid is made of a resin composition containing a heat generating material that absorbs the laser and generates heat. 4).
  • the laser scanning speed is 1.40 to 1.65 mm / msec; Is preferred.
  • the sealing method of the present invention by using a laser capable of irradiating a rectangular beam having a uniform intensity distribution (hereinafter, simply referred to as “rectangular laser”), compared with a general circular spot laser. Therefore, laser irradiation can be performed efficiently, and welding can be reliably performed in a short time without causing overheating of the resin. That is, when laser welding the container and the lid, it is necessary to scan the laser in a circular shape corresponding to the container opening, and therefore a rectangular laser having a length L in the scanning direction is used. Therefore, it is possible to increase the laser scanning speed without wasting energy as compared with increasing the diameter of a general spot laser, and the maximum scanning speed is 1.65 mm / sec.
  • a resin composition containing a thermoplastic resin capable of transmitting laser hereinafter sometimes referred to as “laser transmitting thermoplastic resin” and a heat generating material that absorbs the laser and generates heat. Foaming of the laser-absorbing resin composition by setting the upper limit temperature of the welding interface of the product (hereinafter referred to as “laser-absorbing resin composition”) to a temperature not lower than the melting point of the thermoplastic resin and lower than the thermal decomposition start temperature. It is possible to reliably weld the container and the lid in a short time without causing any problems. Furthermore, in the present invention, it is possible to effectively weld these interfaces by using the same kind of thermoplastic resin as the thermoplastic resin used in the laser transmitting thermoplastic resin and the laser absorbing thermoplastic resin composition described above. it can.
  • the predetermined length L is set in the scanning direction so as to perform reliable welding at the seal interface in a short time without causing overheating with the laser-absorbing thermoplastic resin composition.
  • the temperature coefficient is measured experimentally by allocating irradiation time, for example, about three conditions according to the output of the laser to be used. It is possible to calculate the resin temperature according to the irradiation time, and as shown in FIG. 1, the laser transmitting thermoplastic resin and the laser absorbing thermoplastic resin composition are equal to or higher than the melting point of the thermoplastic resin. In addition, the heating time t1 (msec) required to reach a temperature equal to or higher than the thermal decomposition start temperature can be obtained.
  • this heating time is the time that the laser is irradiated per unit length (mm) in the laser scanning direction
  • a rectangular laser whose length in the laser scanning direction is L (mm) is used Is represented by the above formula (1). Therefore, in the present invention, the laser absorption resin composition is set by setting the length L or the scanning speed of the rectangular laser so that the heating time t represented by the above formula (1) becomes the heating time t1.
  • the container and the lid can be surely welded in a short time without foaming.
  • the laser transmitting thermoplastic resin is preferably a thermoplastic resin having a laser transmittance of 70% or more, particularly 80% or more.
  • the laser transmittance can be obtained by measuring the transmittance of light corresponding to the wavelength of the laser light to be used using a spectrophotometer.
  • the laser transmittance varies depending on the thickness even in the same thermoplastic resin.
  • the laser transmittance means that the transmittance is 70% or more within the thickness range described later. is there.
  • thermoplastic resins are preferably styrene resins such as impact-resistant polystyrene, low-, medium-, and high-density polyethylene, isotactic polypropylene, propylene / ethylene copolymers, polybutene-1 Olefin resins such as ethylene / propylene copolymer, ethylene / butene-1 copolymer, propylene / butene-1 copolymer, ethylene / propylene / butene-1 copolymer, or polyester resins such as polyethylene terephthalate, etc.
  • styrene resins such as impact-resistant polystyrene, low-, medium-, and high-density polyethylene, isotactic polypropylene, propylene / ethylene copolymers, polybutene-1 Olefin resins such as ethylene / propylene copolymer, ethylene / butene-1 copolymer, propylene / buten
  • the resin is conventionally used for packaging containers, and in particular, it is necessary that the resin be easily melted by the heat generated by the laser-absorbing resin composition. It can be easily welded and is suitable.
  • polyethylene and polypropylene are preferably used. Can.
  • the laser absorbing resin composition in the present invention, it is preferable from the viewpoint of laser weldability to use the same thermoplastic resin as the thermoplastic resin used in the above-described laser transmitting thermoplastic resin.
  • the heat-generating substance in the laser-absorbing resin composition of the present invention, it is desirable that the heat-generating substance is uniformly contained in the resin composition from the viewpoint of easily melting the laser-transmitting thermoplastic resin at the seal interface.
  • exothermic substances include oxygen absorbers such as iron powder and colored pigments such as carbon black.
  • it depends on the type of the exothermic substance used it is generally desirable that the exothermic substance is blended in an amount of 0.01 to 0.30 parts by weight, particularly 0.05 to 0.15 parts by weight per 100 parts by weight of the thermoplastic resin. .
  • the container and lid sealing method of the present invention is sealed by laser welding, it is possible to adopt various combinations of containers and lids without being restricted by the shape of the container and lid.
  • either one of the container and the lid is made of a laser transmitting thermoplastic resin
  • the other is made of a laser absorbing thermoplastic resin composition
  • any of them may be a laser absorbing thermoplastic resin composition.
  • the lid is made of a laser-absorbing thermoplastic resin composition.
  • a container such as a cup or a tray formed by thermoforming such as vacuum forming, pressure forming, plug assist forming, or the like from a single or multi-layer sheet-like material, or formed by drawing.
  • a bottomed cup or the like can be exemplified, and in particular, a cup having a flange portion is preferable.
  • the container and the lid are brought into contact with the flange portion at a pressure of 550 kpa or more, and laser irradiation is performed. Then welded.
  • the shape of the lid can take various shapes depending on the shape of the cup or tray of the container, for example, a flat shape, a drop lid shape in which the center is recessed inward, and hangs down from the outer peripheral end of the top plate portion.
  • the shape can be appropriately changed according to the contact portion with the container, such as a molded lid such as an overcap-shaped lid having a skirt portion.
  • Only the welded portion of the container or lid may be formed of the laser-absorbing thermoplastic resin composition, for example, only the flange portion of the container is made of the laser-absorbing thermoplastic resin composition, and the container body and the bottom are heated. It may be a laser transmitting thermoplastic resin containing no member, or a multilayer structure may be formed. Moreover, only the flange part of a lid
  • cover may consist of a laser absorption thermoplastic resin composition, and the center part may consist of a laser permeation
  • the thickness of the welded portion of the container and the lid is desirably 0.1 to 2.0 mm, particularly 0.5 to 1.2 mm, at the portion made of the laser transmitting thermoplastic resin. .
  • the thickness of the portion made of the laser-transmitting thermoplastic resin is thinner than the above range, there is a possibility that it is difficult to perform reliable welding as compared with the case where it is in the above range. In this case, it is difficult to cause the laser beam to reach the portion made of the laser-absorbing thermoplastic resin composition under normal conditions, and it may be difficult to perform reliable welding as compared with the case where the laser beam is within the above range. There is.
  • the portion made of the laser-absorbing thermoplastic resin composition is preferably in the range of 0.1 to 2.0 mm, particularly 0.5 to 1.2 mm.
  • the thickness of the portion composed of the laser-absorbing thermoplastic resin composition is smaller than the above range, it may be difficult to perform reliable welding as compared with the above range, whereas it is thicker than the above range. However, it becomes inferior in economic efficiency.
  • the laser-transmitting thermoplastic resin composition is heated by irradiating the abutting portion of the container and the lid with a laser beam from the side of the member made of laser-transmitting thermoplastic resin to generate heat.
  • the resin is melted, and the contact surfaces of the container and the lid are melted and adhered.
  • the sealing method of the present invention after the contents are filled in the container, the container or the laser oscillator is moved (rotated) in accordance with the shape of the seal part of the container and the lid, thereby moving the laser between the container and the lid. Let the seal part scan. When irradiating the laser beam, it is important to make the contact surfaces of the container and the lid closely adhere to each other efficiently.
  • a jig or the like for pressing and fixing the two is used. It can also be brought into close contact with each other by molding the container and the lid into a size and shape such that the container and the lid are pressed against each other on the contact surface.
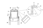
  • FIG. 2 illustrates an example of a sealing method in which a container made of a laser-transmitting thermoplastic resin and a lid made of a laser-absorbing thermoplastic resin composition are welded at a flange portion.
  • the container includes a trunk portion 11 and a bottom portion 12.
  • a cup 10 comprising a flange portion 13 and a drop lid-shaped molding lid 20 in which a central portion 22 inside the peripheral edge portion 21 corresponding to the flange portion of the container is recessed inward as a lid.
  • the cup 10 is installed and fixed on the turntable 30, and the molding lid 20 is installed such that the peripheral edge 21 of the molding lid 20 is positioned at the flange portion 13 of the cup 10.
  • the contact surfaces of the flange portion 13 of the cup 10 and the peripheral portion 21 of the molding lid 20 are brought into close contact with each other.
  • the laser beam L is irradiated from obliquely below the container and the lid, whereby the contact surfaces of the cup 10 and the molding lid 20 can be welded and sealed.
  • the irradiation direction of the laser is not limited to the example of FIG. 2, and irradiation can be performed from various directions depending on the resin constituting the container and the lid, or the welding location.
  • a protrusion 24 is formed on the side surface 23 of the drop-lid-shaped molding lid 20, and the inner surface of the cup 10 is pressed by the protrusion 24 to form a location where they are pressed against each other.
  • laser irradiation can be performed from the side of the container and the lid.
  • the container may be formed of a laser-absorbing thermoplastic resin composition
  • the lid may be formed of a laser-transmitting thermoplastic resin
  • the laser beam L may be irradiated from above.
  • the member on the laser irradiation direction side is made of a laser transmitting thermoplastic resin.
  • a laser used in the present invention a laser conventionally used for laser welding can be used, and a gas laser, a solid-state laser, a semiconductor laser, or the like can be used. It can be suitably used in terms of surface.
  • the output of the laser oscillator is preferably in the range of 100 to 500 W, particularly 200 to 350 W. In order to enable welding at a high speed, it is conceivable to increase the laser output. However, as described above, there is a risk of foaming due to thermal decomposition of the laser-absorbing thermoplastic resin composition. This is significant in that high-speed welding is possible with an output in the range conventionally used for laser welding.
  • the laser to be used is commercially determined by the permeability of the resin, the nature of the substance that generates heat by absorbing the laser beam, and the output, price, and safety of the laser oscillator.
  • a rectangular beam as the laser beam that is, a laser having a rectangular cross section perpendicular to the axial direction of the laser beam, so that the container and the lid can be sealed by laser welding in a short time.
  • the length of the rectangular beam in the scanning direction of the rectangular laser beam can be determined depending on the thermoplastic resin and the heat-generating material used, the content thereof, and the scanning speed, as described above, but in the range of 50 to 150 mm.
  • the length in the scanning direction is 157 to 471 mm
  • the width in the scanning direction and the horizontal direction is in the range of 0.5 to 3.0 mm, particularly 1.0 to 2.0 mm.
  • the focal length of the laser beam is preferably 50 to 250 mm, particularly preferably 100 to 200 mm.
  • the scanning speed of the laser beam is intended for laser welding at a high speed, so that it is 1.65 mm / msec or less, particularly 1 depending on the laser output and the thermal decomposition start temperature of the laser-absorbing thermoplastic resin composition. It is desirable to set it in the range of 40 to 1.65 mm / msec.
  • the scanning speed (mm / msec) is calculated from the seal length (mm) calculated from the diameter of the container and the laser irradiation time (msec).
  • Container Resin whose layer structure is (cup outer surface side) 450 ⁇ m polypropylene / 30 ⁇ m adhesive layer / 90 ⁇ m EVOH (ethylene / vinyl alcohol copolymer resin) / 30 ⁇ m adhesive layer / (cup inner surface side) 400 ⁇ m polypropylene (melting point: 160 ° C.)
  • a flange portion having a reverse taper shape (taper angle: about 10 °) whose diameter decreases as the upper portion of the side wall portion goes upward by vacuum forming is used.
  • the outer diameter of the opening is 80 mm and the inner volume is 120 ml.
  • Molding lid 1000 ppm of carbon black was added to polypropylene resin (melting point: 160 ° C.), and a drop lid having a thickness of 0.7 mm was molded by injection molding.
  • the cup-shaped container is filled with 100 g of water, and using a cradle that holds the container in the stack part of the cup-shaped container, the molding lid is pushed in to install and fix the cup-shaped container and the molding lid.
  • the molding lid was placed so that the peripheral edge of the molding lid was located at the flange portion.
  • a load is applied to the peripheral part of the molding lid from above so that the contact pressure of the contact surface of the peripheral part of the cup-shaped container flange and the molding lid is 800 kPa or more. The contact surface was brought into close contact.
  • the turntable is rotated at 420 rpm, and the laser beam is irradiated for 0.15 seconds at an irradiation angle of 60 ° from below toward the position of ⁇ 75 mm with respect to the central axis of the cup-shaped container and the molding lid, and the strength of the welded portion is increased. evaluated.
  • the welding conditions are as follows.
  • Laser oscillator Nippon Steel Techno Research Co., Ltd. (maximum laser output 330 W), semiconductor (GaAs) laser, wavelength 806 ⁇ 10 nm, laser output 300 W, laser shape (beam cross section) 1.5 ⁇ 4 mm
  • Laser irradiation diameter ⁇ 75mm
  • Laser oscillation time 0.15 sec (base rotation speed 420 rpm, irradiation for 1.05 rotation, scan speed 1.65 mm / msec)
  • Contact surface contact pressure about 800 kPa (contact surface area: about 4 cm 2 , load: 330 N)
  • the heating time was such that the upper limit of the temperature rising by laser irradiation at the welding interface between the container and the lid was within the range above the melting point of polypropylene and below the thermal decomposition start temperature. I understand that.
  • the container and the lid can be surely welded in a short time, and the welding is performed with an appropriate heating time that reaches a temperature above the melting point of the thermoplastic resin and above the thermal decomposition start temperature. Therefore, it can weld reliably, without producing foaming of resin. Therefore, it is excellent not only in sealing performance but also in productivity, and can be suitably used as a sealing method for mass-produced products.

Landscapes

  • Engineering & Computer Science (AREA)
  • Mechanical Engineering (AREA)
  • Physics & Mathematics (AREA)
  • Optics & Photonics (AREA)
  • Thermal Sciences (AREA)
  • Health & Medical Sciences (AREA)
  • Electromagnetism (AREA)
  • Toxicology (AREA)
  • Plasma & Fusion (AREA)
  • Lining Or Joining Of Plastics Or The Like (AREA)
  • Closing Of Containers (AREA)
  • Closures For Containers (AREA)
PCT/JP2013/056473 2012-03-29 2013-03-08 容器及び蓋のレーザ溶着による密封方法 Ceased WO2013146190A1 (ja)

Priority Applications (4)

Application Number Priority Date Filing Date Title
CN201380017519.4A CN104220238B (zh) 2012-03-29 2013-03-08 通过使用激光进行熔接的密封容器和盖的方法
EP13767876.9A EP2832527B1 (en) 2012-03-29 2013-03-08 Method for sealing container and lid using laser welding
US14/387,063 US9550596B2 (en) 2012-03-29 2013-03-08 Method of sealing containers and lids by melt adhesion by laser
KR1020147029875A KR101775768B1 (ko) 2012-03-29 2013-03-08 용기 및 덮개의 레이저 용착에 의한 밀봉 방법

Applications Claiming Priority (2)

Application Number Priority Date Filing Date Title
JP2012077905A JP6024152B2 (ja) 2012-03-29 2012-03-29 容器及び蓋のレーザ溶着による密封方法
JP2012-077905 2012-03-29

Publications (1)

Publication Number Publication Date
WO2013146190A1 true WO2013146190A1 (ja) 2013-10-03

Family

ID=49259458

Family Applications (1)

Application Number Title Priority Date Filing Date
PCT/JP2013/056473 Ceased WO2013146190A1 (ja) 2012-03-29 2013-03-08 容器及び蓋のレーザ溶着による密封方法

Country Status (6)

Country Link
US (1) US9550596B2 (enExample)
EP (1) EP2832527B1 (enExample)
JP (1) JP6024152B2 (enExample)
KR (1) KR101775768B1 (enExample)
CN (1) CN104220238B (enExample)
WO (1) WO2013146190A1 (enExample)

Cited By (4)

* Cited by examiner, † Cited by third party
Publication number Priority date Publication date Assignee Title
US20140217103A1 (en) * 2013-02-07 2014-08-07 Jenoptik Automatisierungstechnik Gmbh Apparatus for Laser Transmission Welding, Method for Laser Transmission Welding, and a Receptacle Which is Produced Thereby and is Closed by Sheet
WO2015083555A1 (ja) 2013-12-06 2015-06-11 東洋製罐株式会社 容器の密封装置及び密封システム
JP2015110428A (ja) * 2013-12-06 2015-06-18 東洋製罐株式会社 容器のフランジ部洗浄装置及び洗浄システム
JP2015117065A (ja) * 2013-12-20 2015-06-25 東洋製罐株式会社 容器の密封装置

Families Citing this family (19)

* Cited by examiner, † Cited by third party
Publication number Priority date Publication date Assignee Title
JP6446770B2 (ja) * 2013-09-20 2019-01-09 東洋製罐株式会社 無菌充填システム
WO2015083488A1 (ja) * 2013-12-06 2015-06-11 興亜硝子株式会社 化粧品用プラスチック容器およびその製造方法
US9440424B2 (en) * 2014-05-05 2016-09-13 Picosys Inc Methods to form and to dismantle hermetically sealed chambers
JP6025789B2 (ja) 2014-08-19 2016-11-16 株式会社矢板製作所 透明プラスチック容器およびその製造方法
JP6645097B2 (ja) * 2015-09-29 2020-02-12 東洋製罐株式会社 密封包装体
US20180099456A1 (en) * 2016-10-12 2018-04-12 Dukane Ias, Llc Laser Welding System and Method for Producing Image-Containing Weld Seam
US11298861B2 (en) 2017-11-21 2022-04-12 Silgan Specialty Packaging Llc Multi-layer injection molded container
US11472579B2 (en) 2018-12-04 2022-10-18 Gpcp Ip Holdings Llc Film securing apparatus and method
US11071411B2 (en) * 2018-01-29 2021-07-27 Thermos L.L.C. Methods and systems for forming vacuum insulated containers
JP2019188726A (ja) * 2018-04-26 2019-10-31 アイシン精機株式会社 樹脂部品
US11541609B2 (en) 2018-07-03 2023-01-03 Dukane Ias, Llc System and method for simultaneous welding of plastic bags using a carrier film
US11548235B2 (en) 2018-07-03 2023-01-10 Dukane Ias, Llc Laser welding system and method using machined clamping tool
US12077337B2 (en) 2018-12-04 2024-09-03 Yum Connect, LLC Systems and methods for sealing a container
CN109625587A (zh) * 2019-01-21 2019-04-16 缪岩 一种自配式组合瓶盖及其焊接工艺
US10926355B2 (en) 2019-02-05 2021-02-23 Dukane Ias, Llc Systems and methods for laser-welding tubular components using a single, fixed optical reflector with multiple reflecting surfaces
US11931823B2 (en) 2019-02-05 2024-03-19 Dukane Ias, Llc Systems and methods for laser-welding a workpiece with a laser beam that reaches inaccessible areas of the workpiece using multiple reflecting parts
US11819940B2 (en) 2019-02-05 2023-11-21 Dukane Ias, Llc Systems and methods for laser-welding a workpiece with a laser beam that reaches inaccessible areas of the workpiece using multiple reflecting parts
CN113134678A (zh) * 2021-04-09 2021-07-20 中山市杰美施机械制造有限公司 一种罐体以及激光焊接工艺
CN116811269A (zh) * 2023-06-15 2023-09-29 帝京半导体科技(南通)有限公司 一种插板阀的端面密封结构及其制造方法

Citations (4)

* Cited by examiner, † Cited by third party
Publication number Priority date Publication date Assignee Title
JP2000128166A (ja) 1998-10-22 2000-05-09 Fuji Seal Inc 容器の製造方法及び容器
JP2008207358A (ja) 2007-02-23 2008-09-11 Toyo Seikan Kaisha Ltd 熱可塑性樹脂から成る層を有する部材の溶着方法及び蓋付熱可塑性樹脂容器
JP2011020175A (ja) * 2009-07-17 2011-02-03 Hamamatsu Univ School Of Medicine 筒状体のレーザ加工方法と筒状体のレーザ加工装置
JP2011207056A (ja) * 2010-03-30 2011-10-20 Sumitomo Chemical Co Ltd 複合体の製造方法

Family Cites Families (13)

* Cited by examiner, † Cited by third party
Publication number Priority date Publication date Assignee Title
BE792903A (nl) * 1971-12-30 1973-06-18 American Can Co Laserstraal-lassen van kunststoffen buizen
ATE277747T1 (de) * 2002-05-16 2004-10-15 Leister Process Tech Verfahren und vorrichtung zum verbinden von kunststoffmaterialien mit hoher schweissgeschwindigkeit
JP4081355B2 (ja) * 2002-11-19 2008-04-23 株式会社豊田中央研究所 積層体の製造方法及び積層体
DE102004004985B4 (de) * 2004-01-30 2006-03-23 Lpkf Laser & Electronics Ag Verfahren und Vorrichtung zum Durchstrahlschweißen zweier thermoplastischer Bauteile
JP2006205216A (ja) * 2005-01-28 2006-08-10 Pioneer Electronic Corp レーザ溶接装置、及びレーザ溶接方法
FR2922149B1 (fr) * 2007-10-10 2011-06-10 Alstom Transport Sa Procede de soudage de deux elements en materiau polymere opaques et resistant a haute temperature
JP4682179B2 (ja) * 2007-11-19 2011-05-11 三菱電機株式会社 樹脂材の溶着方法及び溶着装置
JP5368814B2 (ja) * 2009-01-29 2013-12-18 浜松ホトニクス株式会社 樹脂溶着方法
JP2010184490A (ja) * 2009-02-10 2010-08-26 Ma Tech Kk レーザ光線による樹脂溶着方法とレーザ光線による樹脂溶着装置
US8506872B2 (en) * 2009-05-29 2013-08-13 Stanley Electric Co., Ltd. Method for manufacturing resin mold assembly
JP5359703B2 (ja) * 2009-09-02 2013-12-04 東洋製罐株式会社 密封容器及びその製造方法
JP5554629B2 (ja) * 2010-05-19 2014-07-23 ポリプラスチックス株式会社 溶着条件の決定方法
JP5588253B2 (ja) * 2010-07-21 2014-09-10 浜松ホトニクス株式会社 樹脂溶着方法

Patent Citations (4)

* Cited by examiner, † Cited by third party
Publication number Priority date Publication date Assignee Title
JP2000128166A (ja) 1998-10-22 2000-05-09 Fuji Seal Inc 容器の製造方法及び容器
JP2008207358A (ja) 2007-02-23 2008-09-11 Toyo Seikan Kaisha Ltd 熱可塑性樹脂から成る層を有する部材の溶着方法及び蓋付熱可塑性樹脂容器
JP2011020175A (ja) * 2009-07-17 2011-02-03 Hamamatsu Univ School Of Medicine 筒状体のレーザ加工方法と筒状体のレーザ加工装置
JP2011207056A (ja) * 2010-03-30 2011-10-20 Sumitomo Chemical Co Ltd 複合体の製造方法

Non-Patent Citations (1)

* Cited by examiner, † Cited by third party
Title
See also references of EP2832527A4

Cited By (8)

* Cited by examiner, † Cited by third party
Publication number Priority date Publication date Assignee Title
US20140217103A1 (en) * 2013-02-07 2014-08-07 Jenoptik Automatisierungstechnik Gmbh Apparatus for Laser Transmission Welding, Method for Laser Transmission Welding, and a Receptacle Which is Produced Thereby and is Closed by Sheet
WO2015083555A1 (ja) 2013-12-06 2015-06-11 東洋製罐株式会社 容器の密封装置及び密封システム
JP2015110428A (ja) * 2013-12-06 2015-06-18 東洋製罐株式会社 容器のフランジ部洗浄装置及び洗浄システム
CN105849001A (zh) * 2013-12-06 2016-08-10 东洋制罐株式会社 容器密封设备及容器密封系统
EP3078600A4 (en) * 2013-12-06 2017-07-12 Toyo Seikan Co., Ltd. Vessel sealing device and sealing system
CN105849001B (zh) * 2013-12-06 2018-04-20 东洋制罐株式会社 容器密封设备及容器密封系统
US10683117B2 (en) 2013-12-06 2020-06-16 Toyo Seikan Co., Ltd. Container sealing apparatus and sealing system
JP2015117065A (ja) * 2013-12-20 2015-06-25 東洋製罐株式会社 容器の密封装置

Also Published As

Publication number Publication date
US20150083302A1 (en) 2015-03-26
CN104220238A (zh) 2014-12-17
KR20140146624A (ko) 2014-12-26
JP6024152B2 (ja) 2016-11-09
CN104220238B (zh) 2016-10-26
KR101775768B1 (ko) 2017-09-06
EP2832527A4 (en) 2015-12-09
EP2832527A1 (en) 2015-02-04
US9550596B2 (en) 2017-01-24
EP2832527B1 (en) 2018-08-08
JP2013203052A (ja) 2013-10-07

Similar Documents

Publication Publication Date Title
JP6024152B2 (ja) 容器及び蓋のレーザ溶着による密封方法
JP5812225B1 (ja) 成形蓋及びこの蓋の容器への嵌合方法並びに密封方法
JP5516406B2 (ja) レーザ溶着密封包装体及びその密封方法
JP4899923B2 (ja) 熱可塑性樹脂から成る層を有する部材の溶着方法及び蓋付熱可塑性樹脂容器
JP5359703B2 (ja) 密封容器及びその製造方法
JP5961927B2 (ja) レーザ溶着密封容器及びその製造方法
JP2009119807A (ja) レーザー融着性積層材、レーザー融着方法および包装体
JP5927762B2 (ja) レーザ溶着密封包装体及びその製造方法
WO2007018054A1 (ja) 密封容器
JP2009066820A (ja) 水を介在させたプラスチック部材のレーザー溶接方法
CN102725137A (zh) 由具有内层的无铝平面复合材料通过冷折叠来生产食品容器的方法
CN102725136A (zh) 由具有内层的无铝平面复合材料通过热折叠来生产食品容器的方法
JP5736704B2 (ja) リシール性を有する密封容器
JP2008230163A (ja) レーザー光吸収材の表面塗布による溶接方法
JP2007261665A (ja) 密封容器の製造方法、容器密封システム及び蓋溶接機
JP6645097B2 (ja) 密封包装体
JP5750882B2 (ja) 密封容器及びその製造方法
JP4628843B2 (ja) 金属製密封容器及びその製造方法
JP2025019716A (ja) 口栓、及び口栓付きパウチ
JP2011009175A (ja) 蓄電装置用容器の製造方法

Legal Events

Date Code Title Description
121 Ep: the epo has been informed by wipo that ep was designated in this application

Ref document number: 13767876

Country of ref document: EP

Kind code of ref document: A1

WWE Wipo information: entry into national phase

Ref document number: 2013767876

Country of ref document: EP

WWE Wipo information: entry into national phase

Ref document number: 14387063

Country of ref document: US

NENP Non-entry into the national phase

Ref country code: DE

ENP Entry into the national phase

Ref document number: 20147029875

Country of ref document: KR

Kind code of ref document: A