WO2013140989A1 - 硬質装飾部材 - Google Patents

硬質装飾部材 Download PDF

Info

Publication number
WO2013140989A1
WO2013140989A1 PCT/JP2013/055493 JP2013055493W WO2013140989A1 WO 2013140989 A1 WO2013140989 A1 WO 2013140989A1 JP 2013055493 W JP2013055493 W JP 2013055493W WO 2013140989 A1 WO2013140989 A1 WO 2013140989A1
Authority
WO
WIPO (PCT)
Prior art keywords
film
decorative member
layer
hard decorative
color
Prior art date
Legal status (The legal status is an assumption and is not a legal conclusion. Google has not performed a legal analysis and makes no representation as to the accuracy of the status listed.)
Ceased
Application number
PCT/JP2013/055493
Other languages
English (en)
French (fr)
Japanese (ja)
Inventor
康太郎 高崎
Current Assignee (The listed assignees may be inaccurate. Google has not performed a legal analysis and makes no representation or warranty as to the accuracy of the list.)
Citizen Holdings Co Ltd
Citizen Watch Co Ltd
Original Assignee
Citizen Holdings Co Ltd
Citizen Watch Co Ltd
Priority date (The priority date is an assumption and is not a legal conclusion. Google has not performed a legal analysis and makes no representation as to the accuracy of the date listed.)
Filing date
Publication date
Application filed by Citizen Holdings Co Ltd, Citizen Watch Co Ltd filed Critical Citizen Holdings Co Ltd
Priority to US14/385,164 priority Critical patent/US9471040B2/en
Priority to EP13764481.1A priority patent/EP2829633B1/en
Priority to CN201380015165.XA priority patent/CN104204280B/zh
Publication of WO2013140989A1 publication Critical patent/WO2013140989A1/ja
Anticipated expiration legal-status Critical
Ceased legal-status Critical Current

Links

Images

Classifications

    • CCHEMISTRY; METALLURGY
    • C23COATING METALLIC MATERIAL; COATING MATERIAL WITH METALLIC MATERIAL; CHEMICAL SURFACE TREATMENT; DIFFUSION TREATMENT OF METALLIC MATERIAL; COATING BY VACUUM EVAPORATION, BY SPUTTERING, BY ION IMPLANTATION OR BY CHEMICAL VAPOUR DEPOSITION, IN GENERAL; INHIBITING CORROSION OF METALLIC MATERIAL OR INCRUSTATION IN GENERAL
    • C23CCOATING METALLIC MATERIAL; COATING MATERIAL WITH METALLIC MATERIAL; SURFACE TREATMENT OF METALLIC MATERIAL BY DIFFUSION INTO THE SURFACE, BY CHEMICAL CONVERSION OR SUBSTITUTION; COATING BY VACUUM EVAPORATION, BY SPUTTERING, BY ION IMPLANTATION OR BY CHEMICAL VAPOUR DEPOSITION, IN GENERAL
    • C23C14/00Coating by vacuum evaporation, by sputtering or by ion implantation of the coating forming material
    • C23C14/0015Coating by vacuum evaporation, by sputtering or by ion implantation of the coating forming material characterized by the colour of the layer
    • CCHEMISTRY; METALLURGY
    • C23COATING METALLIC MATERIAL; COATING MATERIAL WITH METALLIC MATERIAL; CHEMICAL SURFACE TREATMENT; DIFFUSION TREATMENT OF METALLIC MATERIAL; COATING BY VACUUM EVAPORATION, BY SPUTTERING, BY ION IMPLANTATION OR BY CHEMICAL VAPOUR DEPOSITION, IN GENERAL; INHIBITING CORROSION OF METALLIC MATERIAL OR INCRUSTATION IN GENERAL
    • C23CCOATING METALLIC MATERIAL; COATING MATERIAL WITH METALLIC MATERIAL; SURFACE TREATMENT OF METALLIC MATERIAL BY DIFFUSION INTO THE SURFACE, BY CHEMICAL CONVERSION OR SUBSTITUTION; COATING BY VACUUM EVAPORATION, BY SPUTTERING, BY ION IMPLANTATION OR BY CHEMICAL VAPOUR DEPOSITION, IN GENERAL
    • C23C14/00Coating by vacuum evaporation, by sputtering or by ion implantation of the coating forming material
    • C23C14/0021Reactive sputtering or evaporation
    • C23C14/0036Reactive sputtering
    • CCHEMISTRY; METALLURGY
    • C23COATING METALLIC MATERIAL; COATING MATERIAL WITH METALLIC MATERIAL; CHEMICAL SURFACE TREATMENT; DIFFUSION TREATMENT OF METALLIC MATERIAL; COATING BY VACUUM EVAPORATION, BY SPUTTERING, BY ION IMPLANTATION OR BY CHEMICAL VAPOUR DEPOSITION, IN GENERAL; INHIBITING CORROSION OF METALLIC MATERIAL OR INCRUSTATION IN GENERAL
    • C23CCOATING METALLIC MATERIAL; COATING MATERIAL WITH METALLIC MATERIAL; SURFACE TREATMENT OF METALLIC MATERIAL BY DIFFUSION INTO THE SURFACE, BY CHEMICAL CONVERSION OR SUBSTITUTION; COATING BY VACUUM EVAPORATION, BY SPUTTERING, BY ION IMPLANTATION OR BY CHEMICAL VAPOUR DEPOSITION, IN GENERAL
    • C23C14/00Coating by vacuum evaporation, by sputtering or by ion implantation of the coating forming material
    • C23C14/02Pretreatment of the material to be coated
    • C23C14/024Deposition of sublayers, e.g. to promote adhesion of the coating
    • CCHEMISTRY; METALLURGY
    • C23COATING METALLIC MATERIAL; COATING MATERIAL WITH METALLIC MATERIAL; CHEMICAL SURFACE TREATMENT; DIFFUSION TREATMENT OF METALLIC MATERIAL; COATING BY VACUUM EVAPORATION, BY SPUTTERING, BY ION IMPLANTATION OR BY CHEMICAL VAPOUR DEPOSITION, IN GENERAL; INHIBITING CORROSION OF METALLIC MATERIAL OR INCRUSTATION IN GENERAL
    • C23CCOATING METALLIC MATERIAL; COATING MATERIAL WITH METALLIC MATERIAL; SURFACE TREATMENT OF METALLIC MATERIAL BY DIFFUSION INTO THE SURFACE, BY CHEMICAL CONVERSION OR SUBSTITUTION; COATING BY VACUUM EVAPORATION, BY SPUTTERING, BY ION IMPLANTATION OR BY CHEMICAL VAPOUR DEPOSITION, IN GENERAL
    • C23C14/00Coating by vacuum evaporation, by sputtering or by ion implantation of the coating forming material
    • C23C14/06Coating by vacuum evaporation, by sputtering or by ion implantation of the coating forming material characterised by the coating material
    • C23C14/0635Carbides
    • CCHEMISTRY; METALLURGY
    • C23COATING METALLIC MATERIAL; COATING MATERIAL WITH METALLIC MATERIAL; CHEMICAL SURFACE TREATMENT; DIFFUSION TREATMENT OF METALLIC MATERIAL; COATING BY VACUUM EVAPORATION, BY SPUTTERING, BY ION IMPLANTATION OR BY CHEMICAL VAPOUR DEPOSITION, IN GENERAL; INHIBITING CORROSION OF METALLIC MATERIAL OR INCRUSTATION IN GENERAL
    • C23CCOATING METALLIC MATERIAL; COATING MATERIAL WITH METALLIC MATERIAL; SURFACE TREATMENT OF METALLIC MATERIAL BY DIFFUSION INTO THE SURFACE, BY CHEMICAL CONVERSION OR SUBSTITUTION; COATING BY VACUUM EVAPORATION, BY SPUTTERING, BY ION IMPLANTATION OR BY CHEMICAL VAPOUR DEPOSITION, IN GENERAL
    • C23C14/00Coating by vacuum evaporation, by sputtering or by ion implantation of the coating forming material
    • C23C14/06Coating by vacuum evaporation, by sputtering or by ion implantation of the coating forming material characterised by the coating material
    • C23C14/0641Nitrides
    • CCHEMISTRY; METALLURGY
    • C23COATING METALLIC MATERIAL; COATING MATERIAL WITH METALLIC MATERIAL; CHEMICAL SURFACE TREATMENT; DIFFUSION TREATMENT OF METALLIC MATERIAL; COATING BY VACUUM EVAPORATION, BY SPUTTERING, BY ION IMPLANTATION OR BY CHEMICAL VAPOUR DEPOSITION, IN GENERAL; INHIBITING CORROSION OF METALLIC MATERIAL OR INCRUSTATION IN GENERAL
    • C23CCOATING METALLIC MATERIAL; COATING MATERIAL WITH METALLIC MATERIAL; SURFACE TREATMENT OF METALLIC MATERIAL BY DIFFUSION INTO THE SURFACE, BY CHEMICAL CONVERSION OR SUBSTITUTION; COATING BY VACUUM EVAPORATION, BY SPUTTERING, BY ION IMPLANTATION OR BY CHEMICAL VAPOUR DEPOSITION, IN GENERAL
    • C23C14/00Coating by vacuum evaporation, by sputtering or by ion implantation of the coating forming material
    • C23C14/06Coating by vacuum evaporation, by sputtering or by ion implantation of the coating forming material characterised by the coating material
    • C23C14/08Oxides
    • CCHEMISTRY; METALLURGY
    • C23COATING METALLIC MATERIAL; COATING MATERIAL WITH METALLIC MATERIAL; CHEMICAL SURFACE TREATMENT; DIFFUSION TREATMENT OF METALLIC MATERIAL; COATING BY VACUUM EVAPORATION, BY SPUTTERING, BY ION IMPLANTATION OR BY CHEMICAL VAPOUR DEPOSITION, IN GENERAL; INHIBITING CORROSION OF METALLIC MATERIAL OR INCRUSTATION IN GENERAL
    • C23CCOATING METALLIC MATERIAL; COATING MATERIAL WITH METALLIC MATERIAL; SURFACE TREATMENT OF METALLIC MATERIAL BY DIFFUSION INTO THE SURFACE, BY CHEMICAL CONVERSION OR SUBSTITUTION; COATING BY VACUUM EVAPORATION, BY SPUTTERING, BY ION IMPLANTATION OR BY CHEMICAL VAPOUR DEPOSITION, IN GENERAL
    • C23C14/00Coating by vacuum evaporation, by sputtering or by ion implantation of the coating forming material
    • C23C14/06Coating by vacuum evaporation, by sputtering or by ion implantation of the coating forming material characterised by the coating material
    • C23C14/14Metallic material, boron or silicon
    • C23C14/16Metallic material, boron or silicon on metallic substrates or on substrates of boron or silicon
    • C23C14/165Metallic material, boron or silicon on metallic substrates or on substrates of boron or silicon by cathodic sputtering
    • CCHEMISTRY; METALLURGY
    • C23COATING METALLIC MATERIAL; COATING MATERIAL WITH METALLIC MATERIAL; CHEMICAL SURFACE TREATMENT; DIFFUSION TREATMENT OF METALLIC MATERIAL; COATING BY VACUUM EVAPORATION, BY SPUTTERING, BY ION IMPLANTATION OR BY CHEMICAL VAPOUR DEPOSITION, IN GENERAL; INHIBITING CORROSION OF METALLIC MATERIAL OR INCRUSTATION IN GENERAL
    • C23CCOATING METALLIC MATERIAL; COATING MATERIAL WITH METALLIC MATERIAL; SURFACE TREATMENT OF METALLIC MATERIAL BY DIFFUSION INTO THE SURFACE, BY CHEMICAL CONVERSION OR SUBSTITUTION; COATING BY VACUUM EVAPORATION, BY SPUTTERING, BY ION IMPLANTATION OR BY CHEMICAL VAPOUR DEPOSITION, IN GENERAL
    • C23C28/00Coating for obtaining at least two superposed coatings either by methods not provided for in a single one of groups C23C2/00 - C23C26/00 or by combinations of methods provided for in subclasses C23C and C25C or C25D
    • C23C28/04Coating for obtaining at least two superposed coatings either by methods not provided for in a single one of groups C23C2/00 - C23C26/00 or by combinations of methods provided for in subclasses C23C and C25C or C25D only coatings of inorganic non-metallic material
    • C23C28/042Coating for obtaining at least two superposed coatings either by methods not provided for in a single one of groups C23C2/00 - C23C26/00 or by combinations of methods provided for in subclasses C23C and C25C or C25D only coatings of inorganic non-metallic material including a refractory ceramic layer, e.g. refractory metal oxides, ZrO2, rare earth oxides
    • CCHEMISTRY; METALLURGY
    • C23COATING METALLIC MATERIAL; COATING MATERIAL WITH METALLIC MATERIAL; CHEMICAL SURFACE TREATMENT; DIFFUSION TREATMENT OF METALLIC MATERIAL; COATING BY VACUUM EVAPORATION, BY SPUTTERING, BY ION IMPLANTATION OR BY CHEMICAL VAPOUR DEPOSITION, IN GENERAL; INHIBITING CORROSION OF METALLIC MATERIAL OR INCRUSTATION IN GENERAL
    • C23CCOATING METALLIC MATERIAL; COATING MATERIAL WITH METALLIC MATERIAL; SURFACE TREATMENT OF METALLIC MATERIAL BY DIFFUSION INTO THE SURFACE, BY CHEMICAL CONVERSION OR SUBSTITUTION; COATING BY VACUUM EVAPORATION, BY SPUTTERING, BY ION IMPLANTATION OR BY CHEMICAL VAPOUR DEPOSITION, IN GENERAL
    • C23C28/00Coating for obtaining at least two superposed coatings either by methods not provided for in a single one of groups C23C2/00 - C23C26/00 or by combinations of methods provided for in subclasses C23C and C25C or C25D
    • C23C28/04Coating for obtaining at least two superposed coatings either by methods not provided for in a single one of groups C23C2/00 - C23C26/00 or by combinations of methods provided for in subclasses C23C and C25C or C25D only coatings of inorganic non-metallic material
    • C23C28/044Coating for obtaining at least two superposed coatings either by methods not provided for in a single one of groups C23C2/00 - C23C26/00 or by combinations of methods provided for in subclasses C23C and C25C or C25D only coatings of inorganic non-metallic material coatings specially adapted for cutting tools or wear applications
    • CCHEMISTRY; METALLURGY
    • C23COATING METALLIC MATERIAL; COATING MATERIAL WITH METALLIC MATERIAL; CHEMICAL SURFACE TREATMENT; DIFFUSION TREATMENT OF METALLIC MATERIAL; COATING BY VACUUM EVAPORATION, BY SPUTTERING, BY ION IMPLANTATION OR BY CHEMICAL VAPOUR DEPOSITION, IN GENERAL; INHIBITING CORROSION OF METALLIC MATERIAL OR INCRUSTATION IN GENERAL
    • C23CCOATING METALLIC MATERIAL; COATING MATERIAL WITH METALLIC MATERIAL; SURFACE TREATMENT OF METALLIC MATERIAL BY DIFFUSION INTO THE SURFACE, BY CHEMICAL CONVERSION OR SUBSTITUTION; COATING BY VACUUM EVAPORATION, BY SPUTTERING, BY ION IMPLANTATION OR BY CHEMICAL VAPOUR DEPOSITION, IN GENERAL
    • C23C28/00Coating for obtaining at least two superposed coatings either by methods not provided for in a single one of groups C23C2/00 - C23C26/00 or by combinations of methods provided for in subclasses C23C and C25C or C25D
    • C23C28/04Coating for obtaining at least two superposed coatings either by methods not provided for in a single one of groups C23C2/00 - C23C26/00 or by combinations of methods provided for in subclasses C23C and C25C or C25D only coatings of inorganic non-metallic material
    • C23C28/048Coating for obtaining at least two superposed coatings either by methods not provided for in a single one of groups C23C2/00 - C23C26/00 or by combinations of methods provided for in subclasses C23C and C25C or C25D only coatings of inorganic non-metallic material with layers graded in composition or physical properties
    • GPHYSICS
    • G04HOROLOGY
    • G04BMECHANICALLY-DRIVEN CLOCKS OR WATCHES; MECHANICAL PARTS OF CLOCKS OR WATCHES IN GENERAL; TIME PIECES USING THE POSITION OF THE SUN, MOON OR STARS
    • G04B37/00Cases
    • G04B37/22Materials or processes of manufacturing pocket watch or wrist watch cases
    • G04B37/223Materials or processes of manufacturing pocket watch or wrist watch cases metallic cases coated with a nonmetallic layer

Definitions

  • the present invention relates to a decorative member having a metallic color, such as an exterior part of a watch, accessories such as glasses and accessories, and a decorative article, and sports equipment, and in particular, has a high brightness and a high-quality color feeling for a long time.
  • the present invention relates to a white or stainless steel hard decorative member having excellent scratch resistance, wear resistance, and corrosion resistance.
  • the outermost layer has a lightness for a high-class appearance.
  • a high platinum film was formed.
  • a base layer is formed on a substrate, a Ti carbide film is formed on this surface by a dry plating method, and a decorative film made of platinum or a platinum alloy formed by a dry plating method is formed on this surface.
  • the platinum layer as the outermost layer is expensive, it is necessary to form a thin film, and in order to suppress a color change when the thin platinum layer is peeled off, it is necessary to make the Ti carbide film light. For this reason, the hardness of the Ti carbide film is lower than that of the original Ti carbide film (about 40%), and sufficient scratch resistance cannot be obtained.
  • the scratch resistance in order to improve the scratch resistance, if the amount of carbon reacted with the Ti carbide film is increased to increase the hardness, the scratch resistance increases but the color tone becomes dark.
  • the thickness of the Ti carbide film, which is a hardened layer is increased in order to improve scratch resistance, film peeling due to an increase in film stress and pitting corrosion is likely to occur in the corrosion resistance test. It was difficult to form a film thickness of 1.0 ⁇ m or more.
  • the object of the present invention is to provide a hard decorative member that suppresses deterioration in appearance quality due to scratches and wear by significantly improving scratch resistance and has a high-grade color tone, and further has film hardness, scratch resistance,
  • the purpose is to supply products that can freely control wear resistance, color, and corrosion resistance.
  • the hard decorative member of the present invention adopts the configuration described below.
  • a hard decorative member comprising a single layer or multiple layers of a hard decorative film made of a reactive compound with one or two or more nonmetallic elements of carbon, oxygen.
  • the multi-layer hard decorative coating is laminated on the adhesion layer laminated on the substrate, the gradient adhesion layer laminated on the adhesion layer, and the gradient adhesion layer A wear-resistant layer, and a color-graded gradient layer laminated on the wear-resistant layer, wherein the non-metallic element of the adhesion layer is a low concentration of oxygen, and the gradient adhesion layer, the wear-resistant layer, and the color-gradient gradient layer
  • the non-metallic element is composed of one or more of nitrogen, carbon, and oxygen, and the non-metallic element content in the reaction compound constituting the inclined adhesion layer increases in the thickness direction as the distance from the substrate increases.
  • the hard decorative member according to (1) wherein the content of the nonmetallic element in the reaction compound constituting the color-raising gradient layer increases or decreases in the thickness direction as the distance from the substrate increases.
  • a timepiece including an exterior part, at least part of which is composed of the hard decorative member according to any one of (1) to (6).
  • a step of forming an adhesion layer by a reactive sputtering method, a step of forming an inclined adhesion layer by a reactive sputtering method, a step of forming an abrasion-resistant layer by a reactive sputtering method, and a color increase by a reactive sputtering method The method for manufacturing a hard decorative member according to any one of (1) to (7), including at least one step of forming a gradient layer. (9) The amount of the reaction gas containing a nonmetallic element used in the reactive sputtering method in the step of forming the gradient adhesion layer and the step of forming the color-gradient gradient layer is increased in time series. Manufacturing method for hard decorative member.
  • a hard decorative member that suppresses deterioration in appearance quality due to scratches or wear and has a high-grade color tone, and further provides film hardness, scratch resistance performance, abrasion resistance performance, color tone resistance, We can provide products that can freely control corrosion performance and etching performance.
  • the cross-sectional schematic diagram which shows an example of the structure of the hard decoration member of this invention is shown.
  • the cross-sectional schematic diagram of the hard decoration member of Example 1 is shown.
  • the comparison of the film hardness of the alloy carbide film produced by changing the amount of methane gas is shown.
  • the comparison of the flaw resistance of a decorative member is shown.
  • a comparison of brightness of alloy carbide films produced by changing the amount of methane gas is shown.
  • a comparison of the saturation of alloy carbide films produced by changing the amount of methane gas is shown.
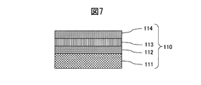
  • the cross-sectional schematic diagram of the decoration member 110 of a prior art example is shown.
  • the cross-sectional schematic diagram of the hard decoration member of Example 2 is shown.
  • a comparison of the scratch resistance of the hard decorative member of Example 2 is shown.
  • the cross-sectional schematic diagram of the hard decoration member of Example 3 is shown.
  • the comparison of the film hardness of the alloy nitride film produced by changing the amount of nitrogen gas is shown.
  • a comparison of brightness of alloy nitride films produced by changing the amount of nitrogen gas is shown.
  • a comparison of the saturation of alloy nitride films produced by changing the amount of nitrogen gas is shown.
  • the comparison of the flaw resistance of the hard decoration member of Example 3 is shown.
  • the cross-sectional schematic diagram of the hard decoration member of Example 4 is shown.
  • the comparison of the film hardness of the alloy nitride film produced by changing the amount of nitrogen gas is shown.
  • a comparison of brightness of alloy nitride films produced by changing the amount of nitrogen gas is shown.
  • a comparison of the saturation of alloy nitride films produced by changing the amount of nitrogen gas is shown.
  • the comparison of the flaw resistance of the hard decoration member of Example 4 is shown.
  • the cross-sectional schematic diagram of the hard decoration member of Example 5 is shown.
  • the comparison of the film hardness of the alloy carbide film produced by changing the amount of methane gas is shown.
  • a comparison of brightness of alloy carbide films produced by changing the amount of methane gas is shown.
  • a comparison of the saturation of alloy carbide films produced by changing the amount of methane gas is shown.
  • a comparison of the scratch resistance of the hard decorative member of Example 5 is shown.
  • An abrasion resistant layer 12 made of a carbide of CrMo alloy is formed on the surface of a SUS316L base material 11 as a base material.
  • the hard decorative member of the present invention employs an alloy film
  • the adhesion performance, film hardness, scratch resistance, wear resistance, color tone, and corrosion resistance can be freely controlled by the ratio of each metal constituting the alloy. It has the feature that it can.
  • the hardness, brightness, and saturation of the hard decorative member 10 can be changed according to the required characteristics.
  • the carbon content indicates the maximum hardness.
  • the hardness is adjusted accordingly. It is possible to adjust the carbon content.
  • the hard decorative member of the present invention solves the problems of the prior art.
  • the hard decorative member 10 of the present invention is formed of a base material 11 and an abrasion resistant layer 12 formed on the surface of the base material 11. ⁇ Base material>
  • the base material 11 is preferably a base material formed from metal or ceramics.
  • the metal including alloy
  • the metal include stainless steel, titanium, titanium alloy, copper, copper alloy, tungsten or hardened stainless steel, titanium, and titanium alloy. These metals can be used alone or in combination of two or more. Further, the shape of the substrate 11 is not limited. ⁇ Abrasion resistant layer>
  • the wear resistant layer 12 is made of Cr, an alloy of one or more selected from the group consisting of Mo, W, Nb, Ta, Ti, Hf, Zr and V, and one of nitrogen, carbon and oxygen. It is formed from a reaction compound with a seed or two or more nonmetallic elements. The material to be selected is determined by the desired appearance color and the usage environment of the coating. In addition to the above metals, the alloy may contain metals such as B, Al, Si, Mn, Co, La, Ce, Y, and Sc within a total of 5 Wt% in the ratio of the alloy.
  • the content of carbon, nitrogen or mixed elements in the wear resistant layer is 0 to 70 atm%.
  • the thickness of the wear-resistant layer is preferably 0.2 to 4 ⁇ m.
  • the hardness is desirably HV2000 or higher. Since the scratch resistance performance is approximately dependent on the film thickness and film hardness of the wear resistant layer, the film thickness is preferably 0.2 ⁇ m or more in order to improve the scratch resistance and wear resistance, and the film hardness should be as small as possible. It is desirable to raise it. However, if the film thickness exceeds 4 ⁇ m, there is a high risk of cracking and peeling due to an increase in film stress, which is disadvantageous in terms of cost. Therefore, the film thickness is preferably 4 ⁇ m or less. ⁇ Manufacturing method>
  • Each layer constituting the hard decorative member of the present invention can be formed by a sputtering method, an ion plating method, or the like, but is preferably formed by a reactive sputtering method.
  • the hard decorative member 10 is manufactured by a reactive sputtering method.
  • an inert gas mainly Ar gas
  • a DC or AC high voltage is applied between the substrate and the target composed of the constituent atoms of the coating to ionize the substrate.
  • Ar is collided with a target to form a repelled target material on a substrate.
  • a trace amount of reactive gas together with the inert gas, a compound film of target constituent atoms and reactive gas can be formed on the substrate.
  • the decorative member 10 of the embodiment is manufactured by controlling adhesion, film hardness, and color tone by adjusting the selection and amount of target constituent atoms and reactive gases.
  • the reactive sputtering method has high controllability of film quality and film thickness and is easy to automate. Further, since the energy of the sputtered atoms is high, it is not necessary to heat the substrate for improving adhesion, and a film can be formed even on a substrate such as a plastic having a low melting point. In addition, since the target material that has been blown off is formed on the substrate, it is possible to form a film even with a high melting point material, and the material can be freely selected. Furthermore, a carbide film, a nitride film, a carbonitride film, an oxynitride film, an oxycarbide film, an oxynitride carbide film, and the like can be easily formed by selecting and mixing reactive gases.
  • alloy films alloy carbide films, nitride films, carbonitride films, oxynitride films, oxycarbide films, oxynitride carbide films, etc. Become.
  • the timepiece provided by the present invention is characterized by having the above-described hard decorative member in a part of its constituent parts, for example, an exterior part.
  • the timepiece may be any of a photovoltaic power generation timepiece, a thermoelectric generation timepiece, a radio wave reception type self-correcting timepiece, a mechanical timepiece, and a general electronic timepiece.
  • Such a timepiece is manufactured by a known method using the hard decorative member. Watches are easily scratched by rubbing against a shirt or colliding with a desk or wall.
  • the hard decorative member described above can be used for a bezel, a lug, a case, a crown, a push button, a band, and the like of a watch.
  • the film hardness was measured using a micro indentation hardness tester (H100 manufactured by FISCHER). A Vickers indenter was used as a measuring element. The Vickers indenter was inserted into the sample with a 5 mN load, held for 10 seconds, then unloaded, and the film hardness was calculated from the depth of the indent formed by the insertion of the Vickers indenter. ⁇ Scratch resistance test method>
  • the scratch resistance test is carried out as follows. A decorative film is applied to a SUS316L base material defined in JIS, and a worn paper in which alumina particles are uniformly dispersed is brought into contact with a test sample at a constant load, and scratches are generated by rubbing a predetermined number of times. The surface of the test sample with scratches was scanned in the direction perpendicular to the scratch direction, the surface roughness was measured, and the scratch resistance was evaluated as the mean square roughness. The greater the amount of scratches, the deeper the depth of the scratches, the larger the mean square roughness value. Conversely, the smaller the amount of scratches, the smaller the scratch depth, the smaller the mean square roughness value. Therefore, the scratch resistance can be numerically evaluated by this scratch resistance test. ⁇ Corrosion resistance test method>
  • the CASS test is a test in accordance with JIS-H 8502, where the sample is placed in an atmosphere in which cupric chloride is added to an acetic acid-acidic sodium chloride solution for 48 hours to peel off the decorative film. And a test for evaluating the corrosion resistance by observing discoloration.
  • the artificial sweat test is a test compliant with ISO12870. A sample is placed in an atmosphere in which sodium chloride and lactic acid are mixed (artificial sweat) for 48 hours at 55 ° C, and the degree of discoloration of the decorative film is observed. This is a test for evaluating the corrosion resistance.
  • the sample was immersed in a 5% aqueous sodium hydroxide solution at 30 ° C. for 24 hours, and the corrosion resistance was evaluated by observing peeling and discoloration of the decorative film.
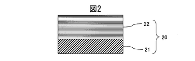
  • Example 1 a sintered body of Cr 50 Wt% Mo50 Wt% was used as a sputtering target. As shown in FIG. 2, a CrMo alloy carbide film having a thickness of 1.8 ⁇ m using a SUS316L material defined in JIS as a base material 21 and a sputtering method using an Ar gas with a flow rate of 105 sccm and a flow rate of 30 sccm. was formed on the base material 21, and the hard decorative member 20 was produced.
  • FIG. 3 is a diagram comparing the film hardness of a CrMo alloy carbide film produced by changing the amount of methane gas with the film hardness of a Cr carbide film and a Mo carbide film. It can be seen that the CrMo alloy carbide film clearly shows a higher hardness than the Cr carbide film, and also shows a high hardness that is not inferior to that of the Mo carbide film.
  • Scratch resistance is roughly determined by the product of the hardness of the abrasion-resistant layer, the thickness of the abrasion-resistant layer, the adhesion to the substrate, and the hardness of the substrate, so the film was formed thick under the highest hardness conditions. Better. Therefore, from the viewpoint of film hardness, the Mo carbide film is superior to the CrMo alloy carbide film. However, as described later, the Mo carbide film cannot maintain the performance as an exterior component because the corrosion resistance is not sufficient. There are drawbacks. In addition, since the film hardness of the Cr carbide film is lower than HV2000, sufficient scratch resistance performance cannot be expected.
  • FIG. 4 shows a SUS316L base material having no Mo carbide film, Cr carbide film, and hard film formed with the same film thickness as the flaw resistance of the decorative member 20 produced in Example 1, and Patent Document 1 shown in FIG. It is the figure compared with the decoration member 110 (the outermost layer is Pt) produced based on this.
  • FIG. 4 shows that the Mo carbide film having a high film hardness has the highest scratch resistance and the Cr carbide film has the lowest scratch resistance, which is clearly a result derived from the film hardness. Since the CrMo alloy carbide film has both characteristics of Cr and Mo, it can be seen that the CrMo alloy carbide film clearly shows higher scratch resistance than the Cr carbide film although it does not reach the Mo carbide film.
  • FIG. 5 is a diagram comparing the brightness of films prepared by changing the amount of methane gas in a CrMo alloy carbide film. It can be seen that the CrMo alloy carbide film clearly shows a high brightness as compared with the Mo carbide film, and also shows a high brightness which is not inferior to that of the Cr carbide film.
  • High brightness is required for high-quality decorations. Therefore, from the viewpoint of brightness, the region where the amount of methane gas is small in the Cr carbide film is the most excellent. However, as can be seen from FIG. 3, the hardness of the Cr carbide film in that region is low, and sufficient scratch resistance cannot be obtained. It can be seen that a decorative member having high hardness can be obtained while maintaining high brightness by alloying Cr and Mo.
  • FIG. 6 is a diagram comparing the saturation (C *) of films prepared by changing the amount of methane gas in a CrMo alloy carbide film.
  • the chroma of the CrMo alloy carbide film showed an almost intermediate value between the Cr carbide film and the Mo carbide film. Since the appearance color of the CrMo hard decorative member 20 is: L *: 82.16, a *: 0.57, b *: 1.69, the appearance color of the SUS316L base material, L *: 85.1, a *: Compared to 0.38, b *: 2.34, it can be seen that the colors are almost the same.
  • Table 1 shows the hardness, corrosion resistance, and overall evaluation of the carbide film, nitride film, and carbonitride film with respect to the alloy ratio of Cr and Mo. As seen in Table 1, it can be seen that the maximum hardness and corrosion resistance change according to the alloy ratio, and it is possible to freely adjust them according to the alloy ratio. Increasing the Mo ratio increases the film hardness and is advantageous for scratch resistance. However, if the Mo ratio is 100 wt%, or if the Mo ratio is high, the corrosion resistance in the CAS test is poor and applied as a decorative member. It is not possible. Further, when the Cr ratio is high, the brightness and corrosion resistance are high, but since the film hardness is low, the scratch resistance is deteriorated and cannot be applied as a decorative member.
  • the Cr ratio is preferably 20 wt% or more, and more preferably 30 Wt% or more.
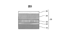
  • Example 2 a sintered body of Cr50 Wt% Mo50 Wt% was used as a sputtering target in the same manner as in Example 1.
  • a SUS316L material defined in JIS was used as the base material 31, and an adhesion layer 32 made of a lower oxide of CrMo alloy was formed on the base material 31 by sputtering.
  • the methane gas was gradually increased while introducing a small amount of oxygen gas, thereby forming the gradient adhesion layer 33 of the CrMo alloy oxycarbide film by 0.2 ⁇ m.
  • a thin wear-resistant layer 34 made of a CrMo alloy carbide film was formed to 2.0 ⁇ m.
  • the color-decreasing inclined layer 35 of the CrMo alloy carbide film was formed to have a thickness of 0.1 ⁇ m, and the hard decorative member 30 was manufactured.
  • the appearance color of the hard decorative member 30 obtained in Example 2 is L *: 83.74, a *: 0.37, b *: 0.51 according to the Lab color space display, and the SUS316L base material 21 Appearance color, L *: 85.1, a *: 0.38, b *: 2.34.
  • the inclined adhesion layer 33 was formed by increasing the amount of methane gas introduced in FIG. 3 from 0 sccm to 40 sccm indicating the maximum hardness while introducing oxygen gas at 3 sccm, thereby forming a 0.2 ⁇ m CrMo alloy carbide film.
  • a CrMo alloy carbide film having a thickness of 2.0 ⁇ m was formed under the condition that the introduced amount of methane gas showing the maximum hardness was 40 sccm.
  • As the color-raising inclined layer 35 a CrMo alloy carbide film in which the methane gas introduction amount showing the maximum hardness in FIG. 3 was gradually decreased from 40 sccm to 0 sccm was formed in a thickness of 0.1 ⁇ m.
  • the base material and the adhesion layer can be integrated.
  • the inclined adhesion layer ensures sufficient adhesion between the adhesion layer and the wear-resistant layer, and the structure increases the film stress in an inclined manner.
  • the scratch resistance and wear resistance are improved, and a thick wear-resistant layer having high film hardness can be formed. Scratch resistance is roughly determined by the product of the hardness of the wear-resistant layer, the film thickness of the wear-resistant layer, and the degree of adhesion to the base material, so the scratch resistance is improved by improving the adhesion to the base material. be able to.
  • the color-raising inclined layer 35 in the hard decorative member 30 of Example 2 by increasing the carbon content in an inclined manner, as shown in FIG. 5 and FIG. And the appearance color of the hard decorative member 30 can be brought close to the SUS316L material that is the base material. Further, the color-raising gradient layer 35 has high adhesion with the wear-resistant layer 34. Therefore, the color-raising inclined layer 35 contributes to the effect that scratches are not noticeable, and is difficult to peel off even if scratches are made.
  • FIG. 9 is a diagram showing the scratch resistance performance of the hard decorative member 30 of Example 2. Scratch resistance of the decorative member 110 (the outermost layer is Pt) manufactured based on Patent Document 1 shown in FIG. 7, the hard decorative member 30 of Example 2 according to the present invention, and the SUS316L base material on which no hard film is formed ( The results of measuring the root mean square roughness are shown in FIG. 9 for comparison.
  • the hard decorative member 30 of Example 2 of the present invention has much better scratch resistance than the SUS316L base material on which the hard film is not formed and the decorative member 110 manufactured based on Patent Document 1.
  • the film stress increases or decreases in a gradient manner, so that the effect of suppressing the generation of cracks and peeling due to stress strain can be obtained, and the scratch resistance and wear resistance As a result, the brightness is increased in the Lab color space display in an inclined manner due to the presence of the color-increasing inclined layer, so that it is possible to provide a more luxurious decorative member.
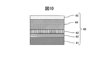
  • Example 3 a sintered body of Cr 50 wt% Nb 50 wt% was used as a sputtering target.
  • a SUS316L material defined in JIS was used as the base material 41, and an adhesion layer 42 made of a lower oxide of a CrNb alloy was formed on the base material 41 by a sputtering method.
  • the nitrogen gas was gradually increased while introducing a small amount of oxygen gas, thereby forming 0.2 ⁇ m of the gradient adhesion layer 43 of the CrNb alloy oxynitride film.
  • a thin wear-resistant layer 44 made of a CrNb alloy nitride film was formed to 1.8 ⁇ m.
  • the nitrogen gas was decreased in an inclined manner to form a colored gradient layer 45 of a CrNb alloy nitride film having a thickness of 0.1 ⁇ m, and the hard decorative member 40 was manufactured.
  • the appearance color by the Lab color space display of the hard decorative member 40 obtained in Example 3 is L *: 83.37, a *: 0.05, b *: 0.61, and the appearance color of the SUS316L base material 41 , L *: 85.1, a *: 0.38, b *: 2.34.
  • FIG. 11 shows a comparison between the hardness change of the hard decorative member 40 of Example 3 and the hardness change of the Cr nitride film and the Nb nitride film when the amount of introduced nitrogen gas is changed while the amount of Ar gas is constant at 105 sccm.
  • FIG. The hardness change of the hard decorative member 40 had a peak, and the hard decorative member 40 showed the maximum hardness under the condition of a nitrogen gas amount of 30 sccm.
  • the CrNb alloy nitride film clearly shows a high hardness compared to the Cr nitride film, and also shows a high hardness that is not inferior to that of the Nb nitride film.
  • FIG. 12 is a diagram showing a change in brightness of the CrNb alloy nitride film when the amount of introduced nitrogen gas is changed, compared with that of the Cr nitride film and the Nb nitride film.
  • the CrNb alloy nitride film clearly shows a high brightness as compared with the Nb nitride film, and also shows a high brightness that is not inferior to the Cr nitride film.
  • High brightness is required for high-quality decorations. Therefore, from the viewpoint of lightness, it can be said that the region with a small amount of nitrogen gas in the Cr nitride film is the most excellent. However, as can be seen from FIG. 11, the hardness of the Cr nitride film in that region is low, and sufficient scratch resistance cannot be obtained. By decorating Cr and Nb, a decorative member having high hardness while maintaining high brightness can be obtained.
  • FIG. 13 is a diagram showing a change in the saturation of the CrNb alloy nitride film when the amount of introduced nitrogen gas is changed in comparison with the change in the saturation of the Cr nitride film and the Nb nitride film.
  • the saturation of the CrNb alloy nitride film is lower than that of the Cr nitride film and the Nb nitride film in the low nitrogen gas region and higher than that of the Cr nitride film and the Nb nitride film in the high nitrogen gas region.
  • the saturation (C *) is close to 0, it can be seen that the CrNb alloy nitride film shows a color closer to white particularly in the low nitrogen gas region.
  • a CrNb lower oxide film was formed by introducing 5 sccm of oxygen gas under the condition of nitrogen gas introduction amount 0 sccm of FIG.
  • the adhesion of the adhesion layer 42 to the base material becomes higher than that of the CrNb alloy film, and the scratch resistance of the adhesion layer 42 can be improved.
  • a CrNb alloy nitride film having a thickness of 0.2 ⁇ m was formed by increasing the nitrogen gas introduction amount in FIG.
  • a CrNb alloy nitride film was formed with a thickness of 1.8 ⁇ m under the condition of a nitrogen gas introduction amount indicating the maximum hardness of 30 sccm.
  • a CrNb alloy nitride film was formed to have a thickness of 0.1 ⁇ m by gradually decreasing the nitrogen gas introduction amount from 30 sccm to 0 sccm, which shows the maximum hardness in FIG.
  • the inclined adhesion layer 43 in the hard decorative member 40 of Example 3 eliminates a clear interface between the adhesion layer and the wear-resistant layer, the base material and the adhesion layer can be integrated.
  • the inclined adhesion layer ensures sufficient adhesion between the adhesion layer and the wear-resistant layer, and the film stress increases in a gradient manner, thus suppressing the occurrence of cracks and delamination due to stress strain. As a result, the scratch resistance and wear resistance are improved, and a thick wear-resistant layer having high film hardness can be formed.
  • Scratch resistance is roughly determined by the product of the hardness of the wear-resistant layer, the thickness of the wear-resistant layer, and the degree of adhesion to the base material, so that the scratch resistance is improved by improving the adhesion to the base material. be able to.
  • the color-raising gradient layer 45 in the hard decorative member 40 of Example 3 decreases the nitrogen content in an inclined manner, thereby increasing the L * and C * in the Lab color space display as seen in FIGS. And the appearance color of the hard decorative member 40 can be brought close to the SUS316L material that is the base material.
  • the color raising gradient layer 45 has high adhesion to the wear resistant layer 44. Therefore, the color-raising inclined layer 45 contributes to the effect that scratches are not conspicuous, and does not easily peel off even if scratches occur.
  • FIG. 14 is a diagram showing the results of measuring the scratch resistance performance of the hard decorative member 40 of Example 3.
  • the measured results are shown in FIG. 14 for comparison.
  • the hard decorative member 40 of Example 3 of the present invention has much better scratch resistance than the SUS316L base material not formed with a hard film and the decorative member 110 manufactured based on Patent Document 1. 14 confirmed.
  • Table 2 shows the hardness, corrosion resistance performance, and overall evaluation of the carbide film, nitride film, and carbonitride film with respect to the alloy ratio of Cr and Nb.
  • Table 2 shows the hardness, corrosion resistance performance, and overall evaluation of the carbide film, nitride film, and carbonitride film with respect to the alloy ratio of Cr and Nb.
  • the maximum hardness and corrosion resistance change according to the alloy ratio, and it is possible to freely adjust these characteristics according to the alloy ratio.
  • Increasing the Cr ratio increases the brightness, improves the adhesion to the substrate, and enables the formation of a thick film, which is advantageous for scratch resistance.
  • the Cr ratio is 100 wt%, the film hardness Therefore, high scratch resistance cannot be obtained.
  • the Nb ratio is high, the film hardness increases, which is advantageous for scratch resistance.
  • the Cr ratio is desirably 20 wt% or more, and more desirably 30 wt% or more.
  • Example 4 a sintered body of Cr 50 wt% W 50 wt% was used as a sputtering target.
  • a JIS type 2 Ti base material was used as the base material 51, and an adhesion layer 52 made of a lower oxide of a CrW alloy was formed on the base material 51 by sputtering.
  • the gradient adhesion layer 53 of the CrW alloy oxynitride film was formed to have a thickness of 0.2 ⁇ m by gradually increasing the nitrogen gas while introducing a small amount of oxygen gas.
  • a thin wear-resistant layer 54 made of a CrW alloy nitride film was formed to 1.8 ⁇ m.
  • the nitrogen gas was decreased in an inclined manner to form a colored gradient layer 55 of CrW alloy nitride film having a thickness of 0.15 ⁇ m, and the hard decorative member 50 was manufactured.
  • the appearance color of the hard decorative member 50 obtained in Example 4 is L *: 83.42, a *: 0.1, b *: 0.64 by Lab color space display, and the appearance of the SUS316L base material 41.
  • the colors are almost the same as L *: 85.1, a *: 0.38, b *: 2.34.
  • FIG. 16 shows a comparison of the hardness change of the Cr nitride film and the W nitride film when the amount of introduced nitrogen gas is changed in the hard decorative member 50 of Example 4 when the Ar gas amount is constant at 105 sccm.
  • FIG. The film hardness increased according to the amount of nitrogen gas introduced, and the maximum hardness was exhibited under the condition of a nitrogen gas amount of 50 sccm.
  • the CrW alloy nitride film clearly shows a higher hardness than the Cr nitride film, and also shows a high hardness that is not inferior to the W nitride film.
  • FIG. 17 is a diagram showing a change in brightness when the amount of introduced nitrogen gas is changed in comparison with a change in brightness of the Cr nitride film and the W nitride film.
  • the CrW alloy nitride film clearly shows higher brightness than the W nitride film, and shows higher brightness than the Cr nitride film in the high nitrogen gas region.
  • High brightness is required for high-quality decorations. Therefore, from the viewpoint of lightness, it can be said that the region where the ratio of Cr is 100 wt% and the amount of nitrogen gas is small is most excellent. However, as can be seen from FIG. 17, the hardness of the Cr nitride film in that region is low, and sufficient scratch resistance cannot be obtained. By alloying Cr and W, a decorative member having high hardness while maintaining high brightness can be obtained.
  • FIG. 18 is a diagram showing the change in saturation when the amount of introduced nitrogen gas is changed in comparison with the change in saturation of the Cr nitride film and the W nitride film.
  • the saturation of the CrW alloy nitride film was lower than the saturation of the Cr nitride film and the W nitride film.
  • the saturation (C *) is close to 0, it can be seen that the CrW alloy nitride film shows a color closer to white particularly in the low nitrogen gas region.
  • 0.1 ⁇ m of CrW lower oxide film was formed by introducing 5 sccm of oxygen gas under the condition of nitrogen gas introduction amount 0 sccm of FIG.
  • the adhesion of the film to the substrate becomes higher than that of the CrW alloy film, thereby improving the scratch resistance.
  • the inclined adhesion layer 53 while introducing 3 sccm of oxygen gas, the amount of nitrogen gas introduced in FIG. 16 was increased from 0 sccm to 50 sccm showing the maximum hardness, thereby forming a CrW alloy nitride film having a thickness of 0.2 ⁇ m.
  • a CrW alloy nitride film having a thickness of 1.8 ⁇ m was formed under the condition of a nitrogen gas introduction amount indicating the maximum hardness of 50 sccm.
  • a CrW alloy nitride film was formed in an amount of 0.15 ⁇ m by decreasing the nitrogen gas introduction amount 50 sccm showing the maximum hardness in FIG.
  • the inclined adhesion layer 53 in the hard decorative member 50 of Example 4 eliminates a clear interface between the adhesion layer and the wear-resistant layer, the base material and the adhesion layer can be integrated.
  • the base material and the adhesion layer can be integrated.
  • an inclined adhesion layer sufficient adhesion between the adhesion layer and the wear-resistant layer is ensured, and since the film stress increases in a gradient manner, generation of cracks due to stress strain and suppression of delamination are suppressed.
  • the scratch resistance and wear resistance are improved, and a wear layer having a high film hardness can be formed thickly. Scratch resistance is roughly determined by the product of the hardness of the wear-resistant layer, the thickness of the wear-resistant layer, and the degree of adhesion to the base material. Therefore, the scratch resistance is improved by improving the adhesion to the base material. Can be made.
  • the color-raising gradient layer 55 in the hard decorative member 50 of Example 4 is formed by increasing the L * and C * in the Lab color space display as shown in FIGS. 17 and 18 by decreasing the nitrogen content in an inclined manner. Can be performed in an inclined manner, and the appearance color of the hard decorative member 50 can be brought close to the SUS316L material as the base material.
  • the color raising gradient layer 55 has high adhesion to the wear resistant layer 54. Therefore, the color-raising inclined layer 55 contributes to the effect that scratches are not noticeable, and is difficult to peel off even if scratches are made.
  • FIG. 19 is a diagram showing the results of measuring the scratch resistance performance of the hard decorative member 50 of Example 4. Scratch resistance of the decorative member 110 (the outermost layer is Pt) manufactured based on Patent Document 1 shown in FIG. 7, the hard decorative member 50 of Example 4 according to the present invention, and the SUS316L base material on which no hard film is formed ( The result of measuring the root mean square roughness is shown as a comparison. From FIG. 19, the hard decorative member 50 of Example 4 of the present invention has much better scratch resistance performance than the SUS316L base material on which the hard film is not formed and the decorative member 110 manufactured based on Patent Document 1. It was confirmed.
  • Table 3 shows the hardness, corrosion resistance, and comprehensive evaluation of the carbide film, nitride film, and carbonitride film with respect to the alloy ratio of Cr and W.
  • the maximum hardness and corrosion resistance change according to the alloy ratio, and it is possible to freely adjust them according to the alloy ratio.
  • Increasing the Cr ratio increases the brightness, improves the adhesion with the base material and enables a thick film, which is advantageous for scratch resistance, but when the Cr ratio is 100 wt%, the film hardness is low, High scratch resistance cannot be obtained.
  • the W ratio is high, the film hardness is high and it is advantageous for scratch resistance.
  • the lightness is low and the resistance to hypochlorous acid is poor, it cannot be applied to a decorative member.
  • the Cr ratio is desirably 20 wt% or more, and more desirably 30 wt% or more.
  • Example 5 a sintered body of Cr 40 wt% Ti 60 wt% was used as a sputtering target in FIG.
  • a JIS type 2 Ti base material was used as the base material 61, and an adhesion layer 62 made of a lower oxide of a CrTi alloy was formed on the base material 61 by a sputtering method.
  • methane gas was increased in a gradient while introducing a small amount of oxygen gas, thereby forming 0.2 ⁇ m of the gradient adhesion layer 63 of the CrTi alloy oxycarbide film.
  • a 1.7 ⁇ m thin wear-resistant layer 64 made of a CrTi alloy carbide film was formed.
  • the methane gas was decreased in an inclined manner to form a colored gradient layer 65 of a CrTi alloy carbide film with a thickness of 0.1 ⁇ m, thereby producing a hard decorative member 60.
  • the appearance color by the Lab color space display of the hard decorative member 60 obtained in Example 5 is L *: 82.34, a *: 0.97, b *: 0.77, and the appearance color of the SUS316L base material 41 , L *: 85.1, a *: 0.38, b *: 2.34.
  • FIG. 21 is a diagram in which the hardness change when the amount of introduced methane gas is changed and the hardness change of the Cr carbide film and the Ti carbide film are compared with the hardness change of the Cr carbide film and the Ti carbide film in the hard decorative member 60 of Example 5 with a constant Ar gas amount of 105 sccm. Show.
  • the hardness change had a hardness peak, and the hardness change of the Ti carbide film showed the maximum hardness under the condition of a methane gas amount of 25 sccm.
  • the CrTi alloy carbide film clearly showed a higher hardness in the high methane gas region than the Cr carbide film.
  • FIG. 22 is a diagram showing a change in brightness when the amount of introduced methane gas is changed in comparison with a change in brightness of a Cr carbide film and a Ti carbide film.
  • the brightness of the CrTi alloy carbide film is approximately intermediate between the brightness of the Cr carbide film and the brightness of the Ti carbide film, and is clearly higher than that of the Ti carbide film.
  • High brightness is required for high-quality decorations. Therefore, from the viewpoint of lightness, it can be said that the region where the ratio of Cr is 100 wt% and the amount of methane gas is small is most excellent. However, as can be seen from FIG. 21, the hardness of the Cr carbide film in that region is low, and sufficient scratch resistance cannot be obtained. By alloying Cr and Ti, a decorative member having high hardness while maintaining high brightness can be obtained.
  • FIG. 23 is a diagram showing the change in saturation when the amount of introduced methane gas is changed in comparison with the change in saturation of the Cr carbide film and Ti carbide film.
  • the saturation of the CrTi alloy carbide film was approximately an intermediate value between the saturation of the Cr carbide film and the saturation of the Ti carbide film, and the lowest value was obtained when the methane gas was 10 sccm. In the case of white, since the saturation (C *) is close to 0, the CrTi alloy carbide film shows a color closer to white particularly in the low methane gas region.
  • a CrTi lower oxide film was formed by introducing 5 sccm of oxygen gas under the condition of 0 sccm of methane gas introduced in FIG.
  • the adhesion to the substrate can be made higher than that of the CrTi alloy film, and the scratch resistance can be improved.
  • the inclined adhesion layer 63 while introducing 3 sccm of oxygen gas, the amount of methane gas introduced in FIG.
  • a CrTi alloy carbide film having a thickness of 0.2 ⁇ m As the wear resistant layer 64, a CrTi alloy carbide film having a maximum hardness of 1.7 scm was formed under the condition of a methane gas introduction amount of 25 sccm. As the color-inclined inclined layer 65, a CrTi alloy carbide film was formed to have a thickness of 0.1 ⁇ m by decreasing the methane gas introduction amount 25 sccm showing the maximum hardness of FIG. 21 from 0 sccm to 0 sccm.
  • the inclined adhesion layer 63 in the hard decorative member 60 of Example 5 eliminates a clear interface between the adhesion layer and the wear-resistant layer, the base material and the adhesion layer can be integrated.
  • the inclined adhesion layer ensures sufficient adhesion between the adhesion layer and the wear-resistant layer, and the film stress increases in a gradient manner, thus suppressing the occurrence of cracks and delamination due to stress strain. As a result, the scratch resistance and wear resistance are improved, and a thick wear-resistant layer having high film hardness can be formed.
  • Scratch resistance is roughly determined by the product of the hardness of the wear-resistant layer, the film thickness of the wear-resistant layer, and the degree of adhesion to the base material, and thus improves the scratch resistance by improving the adhesion to the base material. be able to.
  • the color raising gradient layer 65 in the hard decorative member 60 of Example 5 decreases the carbon content in an inclined manner, thereby increasing the L * and the C * in the Lab color space display as seen in FIGS. And the appearance color of the hard decorative member 60 can be brought close to the SUS316L material that is the base material.
  • the color raising gradient layer 65 has high adhesion to the wear resistant layer 64. Therefore, the color-raising inclined layer 65 contributes to the effect that scratches are not conspicuous, and is difficult to peel off even if scratches occur.
  • FIG. 24 is a diagram showing the results of measuring the scratch resistance performance of the hard decorative member 60 of Example 5.
  • the decorative member 110 (the outermost layer Pt) produced based on Patent Document 1 shown in FIG. 7, the hard decorative member 60 of Example 5 according to the present invention, and the scratch resistance of the SUS316L base material on which no hard film is formed.
  • the result of having measured (root mean square roughness) is shown.
  • the hard decorative member 60 of Example 5 of the present invention has far more scratch resistance than the decorative member 110 produced based on the SUS316L base material and Patent Document 1 in which the hard film is not formed. It was confirmed that it was good.
  • Table 4 shows the hardness, corrosion resistance, and overall evaluation of the carbide film with respect to the alloy ratio of Cr and Ti. Since the 4A group such as Ti, Hf, and Zr exhibits a gold color when the nitride film is formed, the alloy is limited to the carbide film when the 4A group is alloyed. As can be seen in Table 4, the maximum hardness and corrosion resistance change according to the alloy ratio, and it is possible to freely adjust them according to the alloy ratio. Increasing the Cr ratio increases the brightness. When the Cr ratio is increased, the adhesion to the substrate is improved and the thick film can be formed, which is advantageous for scratch resistance. However, when the Cr ratio is 100 wt%, the film hardness is low and the scratch resistance is high. Cannot be obtained.
  • the Cr ratio is desirably 20 wt% or more.
  • the present invention it is possible to provide a hard decorative member that suppresses deterioration in appearance quality due to scratches or wear and has a high-grade color tone, and further provides film hardness, scratch resistance performance, abrasion resistance performance, color tone resistance, Since it is possible to provide products that can freely control the corrosion performance, the industrial applicability is high.
  • Hard decoration member of embodiment of this invention 11 Base material 12 Wear-resistant layer 110 Decoration member of conventional example (made based on patent document 1) 111 Base material 112 Adhesion layer 113 Wear-resistant layer 114 Pt layer 20 Example 1 Hard decorative member 21 SUS316L base material 22 CrMo alloy wear-resistant layer 30 Hard decorative member of Example 2 31 SUS316L base material 32 CrMo alloy lower oxide film adhesion layer 33 CrMo alloy oxycarbide film gradient adhesion layer 34 CrMo alloy carbide film Wear-resistant layer 35 CrMo alloy carbide film Color-increasing gradient layer 40 Hard decorative member of Example 3 41 SUS316L base material 42 CrNb alloy lower oxide film adhesion layer 43 CrNb alloy oxynitride film gradient adhesion layer 44 CrNb alloy nitride film Abrasion-resistant layer 45 CrNb alloy nitride film Color-raising gradient layer 50 Hard decoration of Example 4 Material 51 Ti base material 52 CrW alloy lower oxide film adhesion layer 53 Cr

Landscapes

  • Chemical & Material Sciences (AREA)
  • Engineering & Computer Science (AREA)
  • Metallurgy (AREA)
  • Chemical Kinetics & Catalysis (AREA)
  • Materials Engineering (AREA)
  • Mechanical Engineering (AREA)
  • Organic Chemistry (AREA)
  • Inorganic Chemistry (AREA)
  • Ceramic Engineering (AREA)
  • Manufacturing & Machinery (AREA)
  • Physics & Mathematics (AREA)
  • General Physics & Mathematics (AREA)
  • Physical Vapour Deposition (AREA)
  • Adornments (AREA)
PCT/JP2013/055493 2012-03-19 2013-02-28 硬質装飾部材 Ceased WO2013140989A1 (ja)

Priority Applications (3)

Application Number Priority Date Filing Date Title
US14/385,164 US9471040B2 (en) 2012-03-19 2013-02-28 Rigid decorative member
EP13764481.1A EP2829633B1 (en) 2012-03-19 2013-02-28 Rigid decorative member
CN201380015165.XA CN104204280B (zh) 2012-03-19 2013-02-28 硬质装饰构件

Applications Claiming Priority (2)

Application Number Priority Date Filing Date Title
JP2012062812A JP5979928B2 (ja) 2012-03-19 2012-03-19 硬質装飾部材
JP2012-062812 2012-03-19

Publications (1)

Publication Number Publication Date
WO2013140989A1 true WO2013140989A1 (ja) 2013-09-26

Family

ID=49222452

Family Applications (1)

Application Number Title Priority Date Filing Date
PCT/JP2013/055493 Ceased WO2013140989A1 (ja) 2012-03-19 2013-02-28 硬質装飾部材

Country Status (5)

Country Link
US (1) US9471040B2 (enExample)
EP (1) EP2829633B1 (enExample)
JP (1) JP5979928B2 (enExample)
CN (1) CN104204280B (enExample)
WO (1) WO2013140989A1 (enExample)

Cited By (6)

* Cited by examiner, † Cited by third party
Publication number Priority date Publication date Assignee Title
WO2015079588A1 (ja) * 2013-11-29 2015-06-04 オーエスジー株式会社 硬質潤滑被膜および硬質潤滑被膜被覆工具
WO2015079590A1 (ja) * 2013-11-29 2015-06-04 オーエスジー株式会社 硬質潤滑被膜および硬質潤滑被膜被覆工具
WO2015079589A1 (ja) * 2013-11-29 2015-06-04 オーエスジー株式会社 硬質潤滑被膜および硬質潤滑被膜被覆工具
WO2015079587A1 (ja) * 2013-11-29 2015-06-04 オーエスジー株式会社 硬質潤滑被膜および硬質潤滑被膜被覆工具
US20170037502A1 (en) * 2013-11-26 2017-02-09 Osg Corporation Hard lubricating coating film and hard lubricating coating film-covered tool
CN113355637A (zh) * 2020-03-06 2021-09-07 西铁城时计株式会社 装饰构件、装饰构件的制造方法和包含装饰构件的钟表

Families Citing this family (9)

* Cited by examiner, † Cited by third party
Publication number Priority date Publication date Assignee Title
EP2829630B1 (en) 2012-03-19 2023-09-27 Citizen Watch Co., Ltd. Decorative member having white hard film layer, and production method therefor
JP6084286B2 (ja) * 2013-03-29 2017-02-22 シチズン時計株式会社 グレー色調層を有する硬質装飾部材
US11155914B2 (en) * 2016-04-07 2021-10-26 Oerlikon Surface Solutions Ag, Pfäffikon Wear and/or friction reduction by using molybdenum nitride based coatings
CN107254662B (zh) * 2017-06-28 2019-07-02 维达力实业(深圳)有限公司 蓝色复合薄膜及其制备方法
WO2019216331A1 (ja) * 2018-05-09 2019-11-14 株式会社小糸製作所 スパッタリング装置、多層膜の製造方法、成膜装置および成膜装置の使用方法
JP7238697B2 (ja) * 2019-08-28 2023-03-14 セイコーエプソン株式会社 時計用部品および時計
JP7491828B2 (ja) * 2020-03-06 2024-05-28 シチズン時計株式会社 装飾部材、装飾部材の製造方法および装飾部材を含む時計
CN111996495A (zh) * 2020-08-28 2020-11-27 昆明理工大学 表面沉积有多元梯度复合涂层的合金材料及其制备方法
JP2022188877A (ja) * 2021-06-10 2022-12-22 セイコーエプソン株式会社 時計部品、時計

Citations (6)

* Cited by examiner, † Cited by third party
Publication number Priority date Publication date Assignee Title
JPS5485214A (en) * 1977-12-21 1979-07-06 Suwa Seikosha Kk Armor for personal watch
JP2004043959A (ja) 2002-05-23 2004-02-12 Citizen Watch Co Ltd 白色被膜を有する装飾品及びその製造方法
JP2006274444A (ja) * 2005-03-01 2006-10-12 Seiko Epson Corp 装飾品の製造方法、装飾品および時計
JP2007262472A (ja) 2006-03-28 2007-10-11 Citizen Holdings Co Ltd 金色装飾品およびその製造方法
WO2010150411A1 (ja) * 2009-06-26 2010-12-29 オーエスジー株式会社 硬質被膜、および硬質被膜被覆工具
JP2011256424A (ja) * 2010-06-08 2011-12-22 Citizen Holdings Co Ltd 硬質装飾部材

Family Cites Families (11)

* Cited by examiner, † Cited by third party
Publication number Priority date Publication date Assignee Title
US4252862A (en) * 1977-06-10 1981-02-24 Nobuo Nishida Externally ornamental golden colored part
DE10337456A1 (de) 2002-12-03 2004-06-24 Hartec Gesellschaft für Hartstoffe und Dünnschichttechnik mbH & Co. KG Werkstoff oder Bauteil mit einer Metallbeschichtung
JPH0417665A (ja) 1990-05-10 1992-01-22 Kowa Eng Kk 銀白色装飾品
EP0686706B1 (en) * 1993-12-28 1999-06-30 Citizen Watch Co., Ltd. White decorative part and process for producing the same
US6503373B2 (en) * 2000-01-13 2003-01-07 Ingersoll-Rand Company Method of applying a coating by physical vapor deposition
GB2358197B (en) 2000-01-13 2001-12-19 Hauzer Techno Coating Europ Bv Method of applying a coating of physical vapour deposition
US7081301B2 (en) * 2003-10-14 2006-07-25 Guardian Industries Corp. Coated article with and oxide of silicon zirconium or zirconium yttrium oxide in overcoat, and/or niobium nitrude in ir reflecting layer
US20080014420A1 (en) * 2006-07-11 2008-01-17 Ion Technology (Hong Kong) Limited Surface treatment for titanium or titanium-alloys
US9949539B2 (en) * 2010-06-03 2018-04-24 Frederick Goldman, Inc. Method of making multi-coated metallic article
JP5822839B2 (ja) * 2010-09-21 2015-11-24 シチズンホールディングス株式会社 白色硬質装飾部材
CN102534532A (zh) * 2012-01-19 2012-07-04 浙江汇锦梯尔镀层科技有限公司 一种钢质零件及其复合表面处理方法

Patent Citations (6)

* Cited by examiner, † Cited by third party
Publication number Priority date Publication date Assignee Title
JPS5485214A (en) * 1977-12-21 1979-07-06 Suwa Seikosha Kk Armor for personal watch
JP2004043959A (ja) 2002-05-23 2004-02-12 Citizen Watch Co Ltd 白色被膜を有する装飾品及びその製造方法
JP2006274444A (ja) * 2005-03-01 2006-10-12 Seiko Epson Corp 装飾品の製造方法、装飾品および時計
JP2007262472A (ja) 2006-03-28 2007-10-11 Citizen Holdings Co Ltd 金色装飾品およびその製造方法
WO2010150411A1 (ja) * 2009-06-26 2010-12-29 オーエスジー株式会社 硬質被膜、および硬質被膜被覆工具
JP2011256424A (ja) * 2010-06-08 2011-12-22 Citizen Holdings Co Ltd 硬質装飾部材

Non-Patent Citations (1)

* Cited by examiner, † Cited by third party
Title
See also references of EP2829633A4

Cited By (11)

* Cited by examiner, † Cited by third party
Publication number Priority date Publication date Assignee Title
US20170037502A1 (en) * 2013-11-26 2017-02-09 Osg Corporation Hard lubricating coating film and hard lubricating coating film-covered tool
US10227687B2 (en) * 2013-11-26 2019-03-12 Osg Corporation Hard lubricating coating film and hard lubricating coating film-covered tool
WO2015079588A1 (ja) * 2013-11-29 2015-06-04 オーエスジー株式会社 硬質潤滑被膜および硬質潤滑被膜被覆工具
WO2015079590A1 (ja) * 2013-11-29 2015-06-04 オーエスジー株式会社 硬質潤滑被膜および硬質潤滑被膜被覆工具
WO2015079589A1 (ja) * 2013-11-29 2015-06-04 オーエスジー株式会社 硬質潤滑被膜および硬質潤滑被膜被覆工具
WO2015079587A1 (ja) * 2013-11-29 2015-06-04 オーエスジー株式会社 硬質潤滑被膜および硬質潤滑被膜被覆工具
JPWO2015079587A1 (ja) * 2013-11-29 2017-03-16 オーエスジー株式会社 硬質潤滑被膜および硬質潤滑被膜被覆工具
JPWO2015079590A1 (ja) * 2013-11-29 2017-03-16 オーエスジー株式会社 硬質潤滑被膜および硬質潤滑被膜被覆工具
JPWO2015079588A1 (ja) * 2013-11-29 2017-03-16 オーエスジー株式会社 硬質潤滑被膜および硬質潤滑被膜被覆工具
JPWO2015079589A1 (ja) * 2013-11-29 2017-03-16 オーエスジー株式会社 硬質潤滑被膜および硬質潤滑被膜被覆工具
CN113355637A (zh) * 2020-03-06 2021-09-07 西铁城时计株式会社 装饰构件、装饰构件的制造方法和包含装饰构件的钟表

Also Published As

Publication number Publication date
US9471040B2 (en) 2016-10-18
EP2829633B1 (en) 2018-07-25
EP2829633A1 (en) 2015-01-28
JP2013194284A (ja) 2013-09-30
CN104204280A (zh) 2014-12-10
EP2829633A4 (en) 2015-11-04
JP5979928B2 (ja) 2016-08-31
CN104204280B (zh) 2016-07-06
US20150044508A1 (en) 2015-02-12

Similar Documents

Publication Publication Date Title
JP5979928B2 (ja) 硬質装飾部材
JP5822839B2 (ja) 白色硬質装飾部材
JP6147247B2 (ja) 白色硬質被膜層を有する硬質装飾部材およびその製造方法
EP2135972A1 (en) Gold alloy coating, gold alloy coating clad laminate and gold alloy coating clad member
JP6909322B2 (ja) 装飾部材およびその製造方法
US9464355B2 (en) Colored rigid decorative member
JP6084286B2 (ja) グレー色調層を有する硬質装飾部材
JP5979927B2 (ja) 金色硬質装飾部材

Legal Events

Date Code Title Description
121 Ep: the epo has been informed by wipo that ep was designated in this application

Ref document number: 13764481

Country of ref document: EP

Kind code of ref document: A1

WWE Wipo information: entry into national phase

Ref document number: 14385164

Country of ref document: US

WWE Wipo information: entry into national phase

Ref document number: 2013764481

Country of ref document: EP

NENP Non-entry into the national phase

Ref country code: DE