WO2013140988A1 - 金色硬質装飾部材 - Google Patents

金色硬質装飾部材 Download PDF

Info

Publication number
WO2013140988A1
WO2013140988A1 PCT/JP2013/055486 JP2013055486W WO2013140988A1 WO 2013140988 A1 WO2013140988 A1 WO 2013140988A1 JP 2013055486 W JP2013055486 W JP 2013055486W WO 2013140988 A1 WO2013140988 A1 WO 2013140988A1
Authority
WO
WIPO (PCT)
Prior art keywords
layer
film
decorative member
hard decorative
alloy
Prior art date
Legal status (The legal status is an assumption and is not a legal conclusion. Google has not performed a legal analysis and makes no representation as to the accuracy of the status listed.)
Ceased
Application number
PCT/JP2013/055486
Other languages
English (en)
French (fr)
Japanese (ja)
Inventor
康太郎 高崎
Current Assignee (The listed assignees may be inaccurate. Google has not performed a legal analysis and makes no representation or warranty as to the accuracy of the list.)
Citizen Holdings Co Ltd
Citizen Watch Co Ltd
Original Assignee
Citizen Holdings Co Ltd
Citizen Watch Co Ltd
Priority date (The priority date is an assumption and is not a legal conclusion. Google has not performed a legal analysis and makes no representation as to the accuracy of the date listed.)
Filing date
Publication date
Application filed by Citizen Holdings Co Ltd, Citizen Watch Co Ltd filed Critical Citizen Holdings Co Ltd
Priority to EP13765078.4A priority Critical patent/EP2829632B1/en
Priority to CN201380015093.9A priority patent/CN104204277B/zh
Priority to US14/385,166 priority patent/US9469765B2/en
Publication of WO2013140988A1 publication Critical patent/WO2013140988A1/ja
Anticipated expiration legal-status Critical
Ceased legal-status Critical Current

Links

Images

Classifications

    • CCHEMISTRY; METALLURGY
    • C23COATING METALLIC MATERIAL; COATING MATERIAL WITH METALLIC MATERIAL; CHEMICAL SURFACE TREATMENT; DIFFUSION TREATMENT OF METALLIC MATERIAL; COATING BY VACUUM EVAPORATION, BY SPUTTERING, BY ION IMPLANTATION OR BY CHEMICAL VAPOUR DEPOSITION, IN GENERAL; INHIBITING CORROSION OF METALLIC MATERIAL OR INCRUSTATION IN GENERAL
    • C23CCOATING METALLIC MATERIAL; COATING MATERIAL WITH METALLIC MATERIAL; SURFACE TREATMENT OF METALLIC MATERIAL BY DIFFUSION INTO THE SURFACE, BY CHEMICAL CONVERSION OR SUBSTITUTION; COATING BY VACUUM EVAPORATION, BY SPUTTERING, BY ION IMPLANTATION OR BY CHEMICAL VAPOUR DEPOSITION, IN GENERAL
    • C23C14/00Coating by vacuum evaporation, by sputtering or by ion implantation of the coating forming material
    • C23C14/0015Coating by vacuum evaporation, by sputtering or by ion implantation of the coating forming material characterized by the colour of the layer
    • AHUMAN NECESSITIES
    • A44HABERDASHERY; JEWELLERY
    • A44CPERSONAL ADORNMENTS, e.g. JEWELLERY; COINS
    • A44C27/00Making jewellery or other personal adornments
    • A44C27/001Materials for manufacturing jewellery
    • A44C27/005Coating layers for jewellery
    • A44C27/007Non-metallic coatings
    • CCHEMISTRY; METALLURGY
    • C09DYES; PAINTS; POLISHES; NATURAL RESINS; ADHESIVES; COMPOSITIONS NOT OTHERWISE PROVIDED FOR; APPLICATIONS OF MATERIALS NOT OTHERWISE PROVIDED FOR
    • C09DCOATING COMPOSITIONS, e.g. PAINTS, VARNISHES OR LACQUERS; FILLING PASTES; CHEMICAL PAINT OR INK REMOVERS; INKS; CORRECTING FLUIDS; WOODSTAINS; PASTES OR SOLIDS FOR COLOURING OR PRINTING; USE OF MATERIALS THEREFOR
    • C09D1/00Coating compositions, e.g. paints, varnishes or lacquers, based on inorganic substances
    • CCHEMISTRY; METALLURGY
    • C23COATING METALLIC MATERIAL; COATING MATERIAL WITH METALLIC MATERIAL; CHEMICAL SURFACE TREATMENT; DIFFUSION TREATMENT OF METALLIC MATERIAL; COATING BY VACUUM EVAPORATION, BY SPUTTERING, BY ION IMPLANTATION OR BY CHEMICAL VAPOUR DEPOSITION, IN GENERAL; INHIBITING CORROSION OF METALLIC MATERIAL OR INCRUSTATION IN GENERAL
    • C23CCOATING METALLIC MATERIAL; COATING MATERIAL WITH METALLIC MATERIAL; SURFACE TREATMENT OF METALLIC MATERIAL BY DIFFUSION INTO THE SURFACE, BY CHEMICAL CONVERSION OR SUBSTITUTION; COATING BY VACUUM EVAPORATION, BY SPUTTERING, BY ION IMPLANTATION OR BY CHEMICAL VAPOUR DEPOSITION, IN GENERAL
    • C23C14/00Coating by vacuum evaporation, by sputtering or by ion implantation of the coating forming material
    • C23C14/0021Reactive sputtering or evaporation
    • C23C14/0036Reactive sputtering
    • CCHEMISTRY; METALLURGY
    • C23COATING METALLIC MATERIAL; COATING MATERIAL WITH METALLIC MATERIAL; CHEMICAL SURFACE TREATMENT; DIFFUSION TREATMENT OF METALLIC MATERIAL; COATING BY VACUUM EVAPORATION, BY SPUTTERING, BY ION IMPLANTATION OR BY CHEMICAL VAPOUR DEPOSITION, IN GENERAL; INHIBITING CORROSION OF METALLIC MATERIAL OR INCRUSTATION IN GENERAL
    • C23CCOATING METALLIC MATERIAL; COATING MATERIAL WITH METALLIC MATERIAL; SURFACE TREATMENT OF METALLIC MATERIAL BY DIFFUSION INTO THE SURFACE, BY CHEMICAL CONVERSION OR SUBSTITUTION; COATING BY VACUUM EVAPORATION, BY SPUTTERING, BY ION IMPLANTATION OR BY CHEMICAL VAPOUR DEPOSITION, IN GENERAL
    • C23C14/00Coating by vacuum evaporation, by sputtering or by ion implantation of the coating forming material
    • C23C14/02Pretreatment of the material to be coated
    • C23C14/024Deposition of sublayers, e.g. to promote adhesion of the coating
    • C23C14/025Metallic sublayers
    • CCHEMISTRY; METALLURGY
    • C23COATING METALLIC MATERIAL; COATING MATERIAL WITH METALLIC MATERIAL; CHEMICAL SURFACE TREATMENT; DIFFUSION TREATMENT OF METALLIC MATERIAL; COATING BY VACUUM EVAPORATION, BY SPUTTERING, BY ION IMPLANTATION OR BY CHEMICAL VAPOUR DEPOSITION, IN GENERAL; INHIBITING CORROSION OF METALLIC MATERIAL OR INCRUSTATION IN GENERAL
    • C23CCOATING METALLIC MATERIAL; COATING MATERIAL WITH METALLIC MATERIAL; SURFACE TREATMENT OF METALLIC MATERIAL BY DIFFUSION INTO THE SURFACE, BY CHEMICAL CONVERSION OR SUBSTITUTION; COATING BY VACUUM EVAPORATION, BY SPUTTERING, BY ION IMPLANTATION OR BY CHEMICAL VAPOUR DEPOSITION, IN GENERAL
    • C23C14/00Coating by vacuum evaporation, by sputtering or by ion implantation of the coating forming material
    • C23C14/06Coating by vacuum evaporation, by sputtering or by ion implantation of the coating forming material characterised by the coating material
    • C23C14/0641Nitrides
    • CCHEMISTRY; METALLURGY
    • C23COATING METALLIC MATERIAL; COATING MATERIAL WITH METALLIC MATERIAL; CHEMICAL SURFACE TREATMENT; DIFFUSION TREATMENT OF METALLIC MATERIAL; COATING BY VACUUM EVAPORATION, BY SPUTTERING, BY ION IMPLANTATION OR BY CHEMICAL VAPOUR DEPOSITION, IN GENERAL; INHIBITING CORROSION OF METALLIC MATERIAL OR INCRUSTATION IN GENERAL
    • C23CCOATING METALLIC MATERIAL; COATING MATERIAL WITH METALLIC MATERIAL; SURFACE TREATMENT OF METALLIC MATERIAL BY DIFFUSION INTO THE SURFACE, BY CHEMICAL CONVERSION OR SUBSTITUTION; COATING BY VACUUM EVAPORATION, BY SPUTTERING, BY ION IMPLANTATION OR BY CHEMICAL VAPOUR DEPOSITION, IN GENERAL
    • C23C14/00Coating by vacuum evaporation, by sputtering or by ion implantation of the coating forming material
    • C23C14/06Coating by vacuum evaporation, by sputtering or by ion implantation of the coating forming material characterised by the coating material
    • C23C14/0676Oxynitrides
    • CCHEMISTRY; METALLURGY
    • C23COATING METALLIC MATERIAL; COATING MATERIAL WITH METALLIC MATERIAL; CHEMICAL SURFACE TREATMENT; DIFFUSION TREATMENT OF METALLIC MATERIAL; COATING BY VACUUM EVAPORATION, BY SPUTTERING, BY ION IMPLANTATION OR BY CHEMICAL VAPOUR DEPOSITION, IN GENERAL; INHIBITING CORROSION OF METALLIC MATERIAL OR INCRUSTATION IN GENERAL
    • C23CCOATING METALLIC MATERIAL; COATING MATERIAL WITH METALLIC MATERIAL; SURFACE TREATMENT OF METALLIC MATERIAL BY DIFFUSION INTO THE SURFACE, BY CHEMICAL CONVERSION OR SUBSTITUTION; COATING BY VACUUM EVAPORATION, BY SPUTTERING, BY ION IMPLANTATION OR BY CHEMICAL VAPOUR DEPOSITION, IN GENERAL
    • C23C14/00Coating by vacuum evaporation, by sputtering or by ion implantation of the coating forming material
    • C23C14/06Coating by vacuum evaporation, by sputtering or by ion implantation of the coating forming material characterised by the coating material
    • C23C14/14Metallic material, boron or silicon
    • CCHEMISTRY; METALLURGY
    • C23COATING METALLIC MATERIAL; COATING MATERIAL WITH METALLIC MATERIAL; CHEMICAL SURFACE TREATMENT; DIFFUSION TREATMENT OF METALLIC MATERIAL; COATING BY VACUUM EVAPORATION, BY SPUTTERING, BY ION IMPLANTATION OR BY CHEMICAL VAPOUR DEPOSITION, IN GENERAL; INHIBITING CORROSION OF METALLIC MATERIAL OR INCRUSTATION IN GENERAL
    • C23CCOATING METALLIC MATERIAL; COATING MATERIAL WITH METALLIC MATERIAL; SURFACE TREATMENT OF METALLIC MATERIAL BY DIFFUSION INTO THE SURFACE, BY CHEMICAL CONVERSION OR SUBSTITUTION; COATING BY VACUUM EVAPORATION, BY SPUTTERING, BY ION IMPLANTATION OR BY CHEMICAL VAPOUR DEPOSITION, IN GENERAL
    • C23C14/00Coating by vacuum evaporation, by sputtering or by ion implantation of the coating forming material
    • C23C14/22Coating by vacuum evaporation, by sputtering or by ion implantation of the coating forming material characterised by the process of coating
    • C23C14/34Sputtering
    • C23C14/3407Cathode assembly for sputtering apparatus, e.g. Target
    • C23C14/3414Metallurgical or chemical aspects of target preparation, e.g. casting, powder metallurgy
    • GPHYSICS
    • G04HOROLOGY
    • G04BMECHANICALLY-DRIVEN CLOCKS OR WATCHES; MECHANICAL PARTS OF CLOCKS OR WATCHES IN GENERAL; TIME PIECES USING THE POSITION OF THE SUN, MOON OR STARS
    • G04B37/00Cases
    • G04B37/22Materials or processes of manufacturing pocket watch or wrist watch cases
    • AHUMAN NECESSITIES
    • A44HABERDASHERY; JEWELLERY
    • A44CPERSONAL ADORNMENTS, e.g. JEWELLERY; COINS
    • A44C27/00Making jewellery or other personal adornments
    • A44C27/001Materials for manufacturing jewellery
    • A44C27/005Coating layers for jewellery
    • YGENERAL TAGGING OF NEW TECHNOLOGICAL DEVELOPMENTS; GENERAL TAGGING OF CROSS-SECTIONAL TECHNOLOGIES SPANNING OVER SEVERAL SECTIONS OF THE IPC; TECHNICAL SUBJECTS COVERED BY FORMER USPC CROSS-REFERENCE ART COLLECTIONS [XRACs] AND DIGESTS
    • Y10TECHNICAL SUBJECTS COVERED BY FORMER USPC
    • Y10TTECHNICAL SUBJECTS COVERED BY FORMER US CLASSIFICATION
    • Y10T428/00Stock material or miscellaneous articles
    • Y10T428/26Web or sheet containing structurally defined element or component, the element or component having a specified physical dimension
    • Y10T428/263Coating layer not in excess of 5 mils thick or equivalent
    • Y10T428/264Up to 3 mils
    • Y10T428/2651 mil or less

Definitions

  • the present invention relates to a decorative member having a metallic color, such as an exterior part of a watch, accessories such as glasses and accessories, and a decorative article, and sports equipment, and in particular, has a high brightness and a high-quality color feeling for a long time.
  • the present invention relates to a light-colored golden hard decorative member having excellent scratch resistance, wear resistance, and corrosion resistance.
  • the outermost layer is light to give a high-class appearance.
  • a gold-colored plating film was formed.
  • a light gold-colored plating film is often formed by a wet plating method using a gold alloy of gold and nickel, copper, silver, cobalt, cadmium, tin or the like as a film composition.
  • the alloy plating film by the wet plating method has a color tone that changes depending on the thickness of the coating, the current value, the shape of the substrate to be plated, etc., and it is not easy to control the color tone. .
  • a gold alloy plating film formed by a wet plating method has a low Vickers hardness of 250 Hv or less when formed to a thickness of 10 ⁇ m, and lacks wear resistance, so it is generally formed with a thickness of 30 ⁇ m or more. Since gold, which is a noble metal, is expensive, it is economically disadvantageous.
  • Patent Document 1 a gold-colored film having a composition composed of 80 to 95% by weight of gold, 5 to 20% by weight of nickel, and other inevitable components is formed on a titanium nitride (TiN) film by a dry plating method. It has been proposed to obtain a light gold-colored decorative coating with excellent wear resistance and luxury.
  • Patent Document 1 has the advantages that color tone control is easier and wear resistance is improved compared to conventional wet plating, but the use of a gold alloy is still expensive. The wear resistance was not sufficient.
  • a method for forming a gold-colored film using a metal other than gold a method of coating a nitride such as titanium nitride (TiN) or tantalum nitride (TaN) has been conventionally used.
  • TiN titanium nitride
  • TaN tantalum nitride
  • Patent Document 2 a first metal composed of at least one element of group IVa elements in the periodic table and a second metal composed of at least one element among group Va elements or group VIa elements are targeted.
  • a first metal composed of at least one element of group IVa elements in the periodic table and a second metal composed of at least one element among group Va elements or group VIa elements are targeted.
  • two metals are simultaneously targeted, and in the nitrogen atmosphere, the two metals are simultaneously subjected to reactive sputtering on the object, and act as a buffer for the reaction system in which the IVa group element reacts with nitrogen. Therefore, it has been proposed to form a film while relaxing the control condition of the nitrogen partial pressure.
  • JP 2003-82452 A Japanese Patent Laid-Open No. 2-138460
  • the present invention solves the problems of the conventional gold-colored coating as described above, remarkably improves scratch resistance and wear resistance, suppresses deterioration in appearance quality due to scratches and wear, and has high brightness and high quality.
  • An object of the present invention is to provide a gold-colored hard decorative member having a light color in a stable manner.
  • a light color composed of a reaction compound of a metal alloy selected from at least one of Ti and high hardness Va group elements (Nb, Ta, V) and a nonmetallic element mainly composed of nitrogen. Consists of a golden coating.
  • a manufacturing method for producing a compound film of such an alloy and a nonmetallic element an alloy target of Ti and one or more metals selected from Nb, Ta and V is formed by a reactive sputtering method. Use to provide a method of forming the coating.
  • the coating film as a multilayer on the substrate in the order of an adhesion layer, a gradient adhesion layer, an abrasion resistant layer, and a gold color adjustment gradient layer, scratch resistance and abrasion resistance with respect to scratches and abrasion are remarkably increased. It is possible to stably provide a gold-colored hard decorative member having an improved high-grade feeling and a light color.
  • the golden hard decorative member of the present invention adopts the configuration described below.
  • the gist of the present invention is as follows. (1) On the base material and the base material, an alloy of Ti and one or more metals selected from Nb, Ta and V, and one or more selected from nitrogen, oxygen and carbon A hard decorative member comprising a single layer or multiple layers of a hard decorative film made of a reaction compound with a nonmetallic element. (2) The hard decorative member according to (1), wherein the nonmetallic element in the hard decorative coating is mainly composed of nitrogen. (3) Including a multi-layered hard decorative coating, the plurality of hard decorative coatings are an adhesion layer laminated on the substrate, an inclined adhesion layer laminated on the adhesion layer, and an abrasion resistance laminated on the inclined adhesion layer.
  • a non-metallic element of the adhesion layer is a low concentration of oxygen
  • the non-metallic element of the gradient adhesion layer, the wear-resistant layer and the gold color adjustment gradient layer is nitrogen.
  • carbon and oxygen are selected selectively, and the content of non-metallic elements in the reaction compound constituting the inclined adhesion layer increases in the thickness direction as the distance from the substrate increases, forming a gold color adjustment inclined layer
  • the hard decorative member according to (1) wherein the content of the nonmetallic element in the reaction compound to be increased or decreased in the thickness direction as the distance from the substrate increases.
  • the hard decorative coating layer is formed by reactive sputtering using an alloy target of Ti and one or more metals selected from Nb, Ta and V.
  • the present invention it is possible to provide a light-colored gold-colored hard decorative member that suppresses deterioration in appearance quality due to scratches or wear, has high brightness, and has a high-grade color tone.
  • a method that can be stably produced can be provided.
  • An example of the cross-sectional schematic diagram of the golden hard decoration member of the 1st embodiment of this invention is shown.
  • An example of the cross-sectional schematic diagram of the golden hard decoration member of the 2nd embodiment of this invention is shown.
  • the cross-sectional schematic diagram of the golden hard decoration member of Example 1 is shown.
  • the measurement result of the reflectance of a golden hard decoration member and a TiN film is shown.
  • the comparison of the brightness of the golden hard decoration member produced by changing the amount of nitrogen gas and the TiN film is shown.
  • the comparison of the saturation of the golden hard decoration member produced by changing the amount of nitrogen gas and a TiN film is shown.
  • the comparison of the hardness of a golden hard decoration member produced by changing the amount of nitrogen gas and the TiN film is shown.
  • the chroma change of NbTi alloy nitride films having different compositions is shown.
  • the crystallinity of the golden hard decorative member of the present invention and the TiN film and NbN film is shown.
  • the cross-sectional schematic diagram of the golden hard decoration member of Example 2 is shown.
  • the cross-sectional schematic diagram of the decoration member of a prior art example is shown.
  • the measurement result of the scratch resistance performance in the golden hard decoration member of Example 2 is shown.
  • the cross-sectional schematic diagram of the golden hard decoration member of Example 3 is shown.
  • a comparison of lightness between a TiTa alloy nitride film and a TiN film produced by changing the amount of nitrogen gas is shown.
  • a comparison of saturation between a TiTa alloy nitride film and a TiN film produced by changing the amount of nitrogen gas is shown.
  • a comparison of the hardness of a TiTa alloy nitride film and a TiN film produced by changing the amount of nitrogen gas is shown.
  • the cross-sectional schematic diagram of the golden hard decoration member of Example 4 is shown.
  • the measurement result of the flaw resistance performance in the golden hard decoration member of Example 4 is shown.
  • the cross-sectional schematic diagram of the golden hard decoration member of Example 5 is shown.
  • the comparison of the brightness of the golden hard decoration member produced by changing the amount of nitrogen gas and the TiN film is shown.
  • the comparison of the saturation of the golden hard decoration member produced by changing the amount of nitrogen gas and a TiN film is shown.
  • the comparison of the hardness of a golden hard decoration member produced by changing the amount of nitrogen gas and the TiN film is shown.
  • the cross-sectional schematic diagram of the golden hard decoration member of Example 6 is shown.
  • the measurement result of the flaw resistance performance of the golden hard decoration member of Example 6 is shown.
  • the first embodiment of the present invention is a golden hard decorative member in which a hard decorative film is formed as a single layer.
  • FIG. 1 shows a schematic cross-sectional view of a golden hard decorative member of the first embodiment of the present invention.
  • a hard decorative film 12 made of a TiNb alloy nitride film having a light gold color is formed on the surface of a SUS316L base material 11 as a base material.
  • This TiNb alloy nitride film is characterized by a light gold color, high brightness, and high wear resistance as compared with TiN conventionally used as a gold film.
  • the alloy composition of the hard decorative coating and the composition of the non-metallic element can be determined by the required characteristics, particularly the color.
  • the hardness can be improved by adding carbon and oxygen in addition to nitrogen.
  • the hue can be changed from pink to brown even in the same golden color.
  • the base material 11 is preferably a base material formed of metal or ceramics.
  • the metal including alloy
  • the metal include stainless steel, titanium, titanium alloy, copper, copper alloy, tungsten or hardened stainless steel, titanium, titanium alloy, and the like. These metals can be used alone or in combination of two or more. Further, the shape of the substrate 11 is not limited.
  • the hard decorative coating is a reaction between an alloy of Ti and one or more metals selected from Nb, Ta and V and one or more non-metallic elements selected from nitrogen, oxygen and carbon. Consists of compounds.
  • the nonmetallic element is mainly composed of nitrogen.
  • As the alloy for example, various combinations of Ti and one or more metals selected from Nb, Ta, and V, such as TiNb, TiTa, TiV, and TiNbV can be adopted.
  • the adhesion performance, film hardness, scratch resistance, abrasion resistance, color tone, corrosion resistance, etching performance, and allergy performance can be freely controlled by the ratio of each metal constituting the alloy.
  • metals such as Cr, Mo, W, Zr, Hf, B, Al, Si, Mn, Co, La, Ce, Y, and Sc are included in the alloy within a total of 5 Wt%. May be.
  • the corrosion resistance of the hard decorative coating can be further improved by adding Cr.
  • the second embodiment of the present invention is a golden hard decorative member including a hard decorative coating formed of four layers, an adhesion layer, a gradient adhesion layer, an abrasion resistant layer, and a gold color adjustment gradient layer.
  • FIG. 2 the cross-sectional schematic diagram of the golden hard decoration member of the 2nd embodiment of this invention is shown.
  • the structure of the hard decorative coating has a structure in which the film stress increases in a gradient, and the effect of suppressing the generation of cracks due to the stress strain and the peeling can be obtained, so that the scratch resistance and the wear resistance are improved.
  • the wear-resistant layer 24 having a high film hardness can be formed thick, higher scratch resistance can be obtained.
  • the wear-resistant layer 24 of the golden hard decorative member 20 is composed of a TiNb alloy nitride layer formed with a nitrogen content indicating the maximum hardness, the composite hardness of the entire hard decorative member is increased and high. Scratch resistance is obtained.
  • the appearance color of the golden hard decorative member 20 is controlled by the gold color adjustment inclined layer 25.
  • the gold color adjusting gradient layer 25 has a structure in which the content of non-metallic elements increases or decreases in a gradient as the distance from the wear resistant layer 24 increases. Difficult, has a metallic luster and gives a high-class color.
  • the adhesion layer 22 is a lower oxide film of an alloy of Ti and a metal selected from one or two of Nb, Ta, and V, and is selected depending on the compatibility with the base material and the use environment of the film.
  • the adhesion layer 12 may contain a trace amount of nitrogen and carbon.
  • metals such as Cr, Mo, W, Zr, Hf, B, Al, Si, Mn, Co, La, Ce, Y, and Sc are included within a total of 5 Wt% in the alloy. It may be.
  • the corrosion resistance of the golden hard decorative member 20 can be further improved by adding Cr.
  • the oxygen content in the alloy metal lower oxide film of the adhesion layer is desirably 5 to 60 atm%, particularly preferably 5 to 45 atm%, based on the metal.
  • the oxygen content is less than 5 atm%, there is no difference in the adhesion from the alloy metal film, and when it is 60 atm%, the adhesion is lowered and the scratch resistance is also lowered.
  • the thickness of the adhesion layer of the alloy lower oxide film is preferably 0.03 to 0.3 ⁇ m. In order to obtain the effect of improving the adhesion by the adhesion layer, 0.03 ⁇ m or more is necessary, and even if it is thicker than 0.3 ⁇ m, the adhesion effect is not so great.
  • the inclined adhesion layer 23 is a non-metal in a reaction compound of an alloy of Ti and a metal selected from one or two of Nb, Ta, and V and a non-metallic element selected from carbon and oxygen mainly containing nitrogen. It is comprised from the film
  • the film is mainly composed of nitrogen and the content of a mixed element containing a nonmetallic element selected from carbon and oxygen is gradually increased, for example, a nitride film, a nitrided carbide film, a nitrided oxide film, a nitrided film It consists of an oxycarbide film.
  • the material to be selected is determined by the compatibility with the adhesion layer 22 and the wear-resistant layer 24 and the usage environment of the coating.
  • metals such as Cr, Mo, W, Zr, Hf, B, Al, Si, Mn, Co, La, Ce, Y, and Sc are included within a total of 5 Wt% in the alloy. It may be.
  • the corrosion resistance of the inclined adhesion layer 23 can be further improved by adding Cr.
  • the content of the whole nonmetallic element mainly containing nitrogen of the inclined adhesion layer and further including one or more kinds of nonmetallic elements selected from carbon and oxygen is inclined from 0 to 50 atm% with respect to the alloying metal element.
  • the gradient film is increasing.
  • the inclined adhesion layer preferably contains 5 to 25 atm% oxygen. Further, it is desirable that the gradient adhesion layer has a structure in which the content of nitrogen, carbon, oxygen, or a mixed element thereof is increased in a gradient from 0 to 50 atm%.
  • the thickness of the inclined adhesion layer is desirably 0.05 to 0.3 ⁇ m. In order to obtain the effect of the inclined adhesion layer, it is necessary to be 0.05 ⁇ m or more, and even if it is thicker than 0.3 ⁇ m, the adhesion effect is not so great.
  • the wear-resistant layer 24 is formed from a reaction compound of an alloy of Ti and a metal selected from one or two of Nb, Ta, and V, and a nonmetallic element mainly containing nitrogen and containing carbon or oxygen.
  • the material to be selected is determined by the desired appearance color and the usage environment of the coating.
  • metals such as Cr, Mo, W, Zr, Hf, B, Al, Si, Mn, Co, La, Ce, Y, and Sc are included in the alloy within a total of 5 Wt%. May be.
  • the corrosion resistance of the wear resistant layer can be further improved by adding Cr.
  • the wear-resistant layer is preferably composed mainly of nitrogen, and the content of mixed elements including carbon and / or oxygen is 5 to 70 atm%.
  • the thickness of the wear-resistant layer is desirably 0.3 to 4 ⁇ m, and the film hardness is desirably HV2000 or more. Since the flaw resistance depends approximately on the film thickness and film hardness of the wear-resistant layer, it is desirable that the film thickness and film hardness be as high as possible. If the thickness of the wear-resistant layer is 0.3 ⁇ m or less, the hardness is insufficient, and if the thickness exceeds 4 ⁇ m, the risk of cracking and peeling due to an increase in film stress increases, and from the viewpoint of cost. Therefore, the film thickness is desirably 4 ⁇ m or less.
  • the gold color adjusting gradient layer 25 is a reaction compound of an alloy of Ti and a metal selected from one or two of Nb, Ta, and V and a nonmetallic element mainly containing nitrogen or carbon or oxygen. It is formed by increasing or decreasing in an inclined manner.
  • the gold color adjustment gradient layer 25 is made of a nitride film, a nitrided carbon film, a nitrided oxide film, a nitrided carbide film, or the like.
  • the material to be selected is determined by the compatibility with the wear-resistant layer 24, the desired appearance color, and the usage environment of the coating.
  • metals such as Cr, Mo, W, Zr, Hf, B, Al, Si, Mn, Co, La, Ce, Y, and Sc are included in the alloy within a total of 5 Wt%. May be.
  • the corrosion resistance can be further improved by adding Cr.
  • Non-metallic elements in the gold-adjusted graded layer preferably nitrogen, and mixed elements containing carbon and / or oxygen is increased or decreased in a range of 70 to 15 atm% relative to the alloy metal elements. It is an inclined film.
  • nitrogen, and mixed elements containing carbon and / or oxygen is increased or decreased in a range of 70 to 15 atm% relative to the alloy metal elements. It is an inclined film.
  • the hue can be changed from pink to brown even in the same golden color.
  • the thickness of the gold color adjusting gradient layer is desirably 0.05 to 0.3 ⁇ m.
  • the thickness of the gold color adjusting gradient layer is 0.05 ⁇ m or less, the color of the wear resistant layer cannot be sufficiently increased.
  • the color of the wear-resistant layer can be sufficiently increased, but since the thickness of the gold color adjusting gradient layer having low hardness is increased, the scratch resistance is reduced. End up.
  • the brightness of the gold color adjusting gradient layer needs to be sufficiently high in order to determine the color of the hard decorative coating.
  • L * which is a value indicating lightness by Lab color space display of the gold color adjustment gradient layer, is 78 or more.
  • a hard golden coating is formed of any two or three of the adhesion layer, the gradient adhesion layer, the wear-resistant layer, and the gold color adjustment gradient layer. It is a decorative member. For example, various combinations are possible, such as forming an adhesion layer on the substrate and forming a gold color adjusting gradient layer directly on the adhesion layer.
  • Each laminated film constituting the hard decorative member of the present invention can be formed by a sputtering method, a CVD method, an ion plating method or the like, but is preferably formed by a reactive sputtering method.
  • the metal in the hard decorative film to be formed can have a uniform alloy structure.
  • an inert gas (mainly Ar gas) is introduced into a chamber evacuated to a vacuum, and a high voltage of direct current or alternating current is applied between the target composed of the constituent atoms of the substrate and the coating.
  • This is a method in which ionized Ar is collided with a target to form a target material that is repelled away on a substrate.
  • a trace amount of reactive gas together with the inert gas, a compound film of target constituent atoms and reactive gas can be formed on the substrate.
  • the adhesion, film hardness, and color tone of the decorative member 10 of the embodiment can be controlled.
  • the reactive sputtering method has high controllability of film quality and film thickness and is easy to automate. Further, since the energy of the sputtered atoms is high, it is not necessary to heat the substrate for improving adhesion, and a film can be formed even on a substrate such as a plastic having a low melting point. In addition, since the target material that has been blown off is formed on the substrate, it is possible to form a film even with a high melting point material, and the material can be freely selected. Furthermore, a nitride film, a nitrocarbide film, a oxynitride film, a oxynitride carbide film, etc. can be easily formed by selecting and mixing reactive gases.
  • the amount of reactive gas selected for the inclined adhesion layer 23 and the gold color adjusting gradient layer 25 in time series can be formed by increasing or decreasing.
  • the amount of reactive gas is controlled by an automatically controlled mass flow controller, and the color tone and hardness of the layer can be controlled by the amount of reactive gas.
  • the timepiece provided by the present invention is characterized by having the above-described golden hard decorative member in a part of its constituent parts, for example, an exterior part.
  • the timepiece may be any of a photovoltaic power generation timepiece, a thermoelectric generation timepiece, a standard time radio wave reception type self-correcting timepiece, a mechanical timepiece, and a general electronic timepiece.
  • Such a timepiece is manufactured by a known method using the golden hard decorative member.
  • a watch is an example of a decorative member that is easily damaged by rubbing with a shirt or colliding with a desk or wall.
  • the golden hard decorative member of the present invention By forming the golden hard decorative member of the present invention on a timepiece, it is possible to maintain a state where the appearance is very beautiful and scratches are difficult to enter for many years.
  • the hard decorative member described above can be used for a bezel, a lug, a case, a crown, a push button, a band, and the like of a watch.
  • Example 1 As the sputtering target, a sintered body having an alloy composition of Ti45Wt% Nb55Wt% was used. As shown in FIG. 3, SUS316L material defined in JIS is used as the base material 31, and 30 sccm of nitrogen gas is introduced into 105 sccm of argon gas by a sputtering method so that the TiNb alloy nitride film 32 is 1.0 ⁇ m on the base material 31. Then, a golden hard decorative member 30 was produced. The appearance color by the Lab color space display of the golden hard decorative member 30 thus obtained is L *: 83.15, a *: 1.07, b *: 20.0, and the golden hard decorative member 30 is light. Presented gold.
  • FIG. 4 shows a comparison of reflection characteristics between the TiNb alloy nitride film produced in Example 1 and a TiN film that is a nitride having a general gold color. From FIG. 4, it can be seen that the TiNb alloy nitride film produced in Example 1 clearly has a high reflectance, and as a result, the brightness increases.
  • FIG. 5 shows a comparison of the brightness of the TiNb alloy nitride film and the TiN film produced by changing the amount of nitrogen gas. It can be seen that the brightness of the TiNb alloy nitride film is clearly higher than that of the TiN film when nitrogen is introduced and nitrided.
  • FIG. 6 shows a comparison of the chroma of films produced by changing the amount of nitrogen gas in a TiNb alloy nitride film and a TiN film.
  • the TiNb alloy nitride film exhibits a stable pale gold color with a saturation of about 20 to 35, and this saturation is a pale golden saturation generally preferred as an exterior part, in the region of nitrogen gas amount of 30 sccm or more. It can be seen that the same saturation is stably displayed.
  • the region of the amount of nitrogen gas exhibiting a pale gold color is narrow, and it is difficult to obtain a stable pale gold color. Thus, it can be seen that stable production of the TiNb alloy nitride film can be expected.
  • FIG. 7 shows a comparison of the film hardness of the TiNb alloy nitride film and the TiN film produced by changing the amount of nitrogen gas. It can be seen that the hardness of the TiNb alloy nitride film is higher by about HV500 or more in the gold-colored region than the TiN film. Since the scratch resistance is roughly determined by the product of the hardness of the wear-resistant layer, the thickness of the wear-resistant layer, the adhesion to the substrate and the hardness of the substrate, the TiNb alloy nitride film is compared with the TiN film. High scratch resistance can be obtained.
  • FIG. 8 shows a comparison of the saturation of TiNb alloy nitride films produced with different compositions. It can be seen from FIG. 8 that gold films having various chromas can be produced freely with an alloy ratio of Ti and Nb, and that any composition can be produced with very high stability in production.
  • FIG. 9 shows a comparison of crystallinity between the TiNb alloy nitride film prepared in Example 1, the TiN film, and the NbN film. From FIG. 9, the TiNb alloy nitride film shows a diffraction peak different from that of the TiN film and the NbN film. The difference in crystallinity between the TiNb alloy nitride film, the TiN film, and the NbN film is that Ti and Nb are in solid solution. This is because the formation of an alloy crystal in which Ti and Nb are in solid solution is considered to be one of the reasons that the brightness is higher than that of each single film.
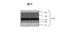
  • Example 2 As the sputtering target, a sintered body having a Ti45Wt% Nb55Wt% alloy composition was used. As shown in FIG. 10, SUS316L material prescribed
  • the gold color adjusting gradient layer 45 of the TiNb alloy nitride film was formed to have a thickness of 0.1 ⁇ m by increasing / decreasing the nitrogen gas in an inclined manner.
  • the appearance color in the Lab color space display of the golden hard decorative member 40 obtained in Example 2 is L *: 83.15, a *: 1.07, b *: 20.0, and TiNb alloy oxynitride The film had a pale gold color.
  • the gold-colored hard decorative member of Example 2 includes an alloy adhesion layer having a high adhesion effect on the substrate, an alloy gradient adhesion layer in which the nitrogen gas content is increased in a gradient, a hard wear-resistant layer, and a reactive gas. Since it consists of the gold color adjustment inclination layer which content increased / decreased gradiently, the adhesiveness between a base material and a film
  • the adhesion layer 42 of the golden hard decorative member 40 As the adhesion layer 42 of the golden hard decorative member 40, 5 ⁇ cm of oxygen gas was introduced under the condition that the amount of nitrogen gas introduced was 0 sccm, thereby forming a TiNb lower oxide film having a thickness of 0.1 ⁇ m.
  • the TiNb alloy oxynitride film was formed to have a thickness of 0.2 ⁇ m as the inclined adhesion layer 43 by increasing the nitrogen gas introduction amount from 0 sccm to 25 sccm while introducing 3 sccm of oxygen gas.
  • a TiNb alloy nitride film was formed to a thickness of 1.5 ⁇ m under the condition of a nitrogen gas introduction amount of 25 sccm indicating the maximum hardness.
  • a TiNb alloy nitride film was formed to have a thickness of 0.1 ⁇ m by increasing the amount of nitrogen gas introduced to 30 sccm, which shows the maximum brightness in FIG.
  • the inclined adhesion layer 43 in the golden hard decorative member 40 of Example 2 eliminates a clear interface between the adhesion layer and the wear-resistant layer, the base material and the adhesion layer can be integrated.
  • the inclined adhesion layer ensures sufficient adhesion between the adhesion layer and the wear-resistant layer, and the inclined adhesion layer 43 has a structure in which the film stress increases in a gradient manner, so that crack generation and peeling due to stress strain occur.
  • a thick wear-resistant layer having high film hardness can be formed.
  • Scratch resistance is roughly determined by the product of the hardness of the wear-resistant layer, the film thickness of the wear-resistant layer, and the degree of adhesion to the base material, and thus improves the scratch resistance by improving the adhesion to the base material. be able to.
  • the gold color adjusting inclined layer 45 in the gold hard decorative member 40 of Example 2 increases L * in an inclined manner by increasing the nitrogen content in an inclined manner, and also adheres to the wear resistant layer 44. This also contributes to the effect of making it difficult to peel off even if scratches are made and making the scratches less noticeable.
  • FIG. 12 shows the measurement results of the scratch resistance performance of the golden hard decorative member 40 of Example 2.
  • the decorative member 110 produced based on Patent Document 1 shown in FIG. 11, the golden hard decorative member 40 of Example 2 according to the present invention, the SUS316L base material on which no hard film is formed, and The results of measuring the scratch resistance (root mean square roughness) of a member having a TiN film of 1.0 ⁇ m formed on SUS316L are shown.
  • the gold-colored hard decorative member 40 of Example 2 of the present invention has much better scratch resistance than the SUS316L base material in which the hard film is not formed and the decorative member 110 manufactured based on Patent Document 1. It was confirmed to have performance.
  • the scratch resistance performance is roughly determined by the product of the hardness of the wear-resistant layer, the thickness of the wear-resistant layer, the degree of adhesion with the base material, and the hardness of the base material.
  • the film thickness was also desired to be 1.8 ⁇ m or more, when the TiN film was formed on the substrate as it was, cracks and peeling were observed in the film with a film thickness of 1.1 ⁇ m or more. 0.0 ⁇ m.
  • Example 3 As a sputtering target, a sintered body having a Ti50Wt% Ta50Wt% alloy composition was used. As shown in FIG. 13, a SUS316L material specified in JIS is used as the base material 51, and 35 sccm of nitrogen gas is introduced into the argon gas 105 sccm by sputtering on the base material 51 to form a TiTa alloy nitride film 52 of 1.0 ⁇ m. Then, a golden hard decorative member 50 was produced. The appearance color by the Lab color space display of the golden hard decorative member 50 obtained in this Example 3 is L *: 82.0, a *: 1.82, b *: 22.84, and the TiTa alloy nitride film 52 had a pale gold color.
  • FIG. 14 shows a comparison of the brightness of the films produced by changing the amount of nitrogen gas in the TiTa alloy nitride film and the TiN film. It can be seen that the brightness of the TiTa alloy nitride film is clearly higher than that of the TiN film when nitrogen is introduced and nitrided.
  • FIG. 15 shows a comparison of the saturation of films produced by changing the amount of nitrogen gas in a TiTa alloy nitride film and a TiN film.
  • the TiTa alloy nitride film exhibits a stable pale gold color with a saturation of about 20 to 35, and this saturation is a pale golden saturation generally preferred as an exterior part, and is stable and the same in the region of 35 sccm or more. It can be seen that it shows saturation.
  • it is difficult to obtain a stable light gold color with a narrow nitrogen gas amount region exhibiting a light gold color, and it can be seen that stable production of the TiTa alloy nitride film can be expected.
  • FIG. 16 shows a comparison of film hardness of films produced by changing the amount of nitrogen gas in the TiTa alloy nitride film and the TiN film. It can be seen that the hardness of the TiTa alloy nitride film is higher by about HV500 or more in the gold-colored region than the TiN film.
  • the scratch resistance performance is roughly determined by the product of the hardness of the wear-resistant layer, the thickness of the wear-resistant layer, the adhesion to the substrate and the hardness of the substrate, so the TiTa alloy nitride film is compared with the TiN film. High scratch resistance.
  • Table 1 shows the brightness, saturation, and hardness of a TiTa alloy nitrocarburized film produced by introducing methane gas at 10, 20, and 30 sccm under constant conditions of Ar gas 105 sccm and nitrogen gas 40 sccm. . From Table 1, as the amount of methane gas increases, the color tone changes from pale gold to pink and brown, and the introduced methane amount shows higher hardness than TiTa alloy nitride film under certain conditions. I understand.
  • Example 4 As a sputtering target, a sintered body having a Ti50Wt% Ta50Wt% alloy composition was used. As shown in FIG. 17, SUS316L material prescribed
  • a thin wear-resistant layer 64 made of a TiTa alloy nitride film was formed to a thickness of 1.5 ⁇ m.
  • the gold color adjusting gradient layer 65 of the TiTa alloy nitride film was formed to have a thickness of 0.1 ⁇ m by increasing or decreasing the nitrogen gas in an inclined manner.
  • the appearance color by the Lab color space display of the golden hard decorative member 60 obtained in Example 4 is L *: 82.0, a *: 1.82, b *: 22.84, and the TiTa alloy nitride film is A pale gold color was exhibited.
  • the gold-colored hard decorative member of Example 4 includes an alloy adhesion layer having a high adhesion effect on the substrate, an alloy gradient adhesion layer in which the nitrogen gas content is increased in a gradient, a hard wear-resistant layer, and a reactive gas. Since it consists of the gold color adjustment inclination layer which content increased / decreased gradiently, the adhesiveness between a base material and a film
  • the adhesion layer 62 of the golden hard decorative member 60 of Example 4 5 sccm of oxygen gas was introduced under the condition of an introduced amount of nitrogen gas of 0 sccm to form a TiTa lower oxide film having a thickness of 0.1 ⁇ m.
  • a TiTa lower oxide as the adhesion layer 62, adhesion to the base material can be increased and scratch resistance can be improved as compared with the TiTa alloy film.
  • the inclined adhesion layer 63 a TiTa alloy nitride film having a thickness of 0.2 ⁇ m was formed by increasing the nitrogen gas introduction amount from 0 sccm to 30 sccm while introducing oxygen gas at 3 sccm.
  • a TiTa alloy nitride film having a thickness of 1.5 ⁇ m was formed under the condition of a nitrogen gas introduction amount of 30 sccm indicating the maximum hardness.
  • the TiTa alloy nitride film was formed to have a thickness of 0.2 ⁇ m by gradually increasing the amount of nitrogen gas introduced to 35 sccm, which shows the maximum brightness in FIG.
  • the inclined adhesion layer 63 in the golden hard decorative member 60 of Example 4 eliminates a clear interface between the adhesion layer and the wear-resistant layer, the base material and the adhesion layer can be integrated. Since there is an inclined adhesion layer, the adhesion between the adhesion layer and the wear-resistant layer is sufficiently ensured, and since the film stress increases in a gradient manner, the effect of suppressing the generation of cracks and delamination due to stress strain is achieved. As a result, the scratch resistance and wear resistance are improved, and a thick wear-resistant layer having high film hardness can be formed. Scratch resistance is roughly determined by the product of the hardness of the wear-resistant layer, the thickness of the wear-resistant layer, and the degree of adhesion to the base material. Therefore, the scratch resistance is improved by improving the adhesion to the base material. Can be made.
  • the gold color adjustment inclined layer 65 in the gold hard decorative member 60 of Example 4 increases L * in an inclined manner by increasing the nitrogen content in an inclined manner, and also adheres to the wear resistant layer 64. This also contributes to the effect of making it difficult to peel off even if scratches are made and making the scratches less noticeable.
  • FIG. 18 shows the measurement results of the scratch resistance performance of the golden hard decorative member 60 of Example 4.
  • the decorative member 110 of the conventional example shown in FIG. 11 manufactured based on Patent Document 1
  • the golden hard decorative member 60 of Example 4 according to the present invention and SUS316L not formed with a hard film.
  • the results of measuring the scratch resistance (root mean square roughness) of the substrate and a member having a TiN film of 1.0 ⁇ m formed on SUS316L are shown.
  • the golden hard decorative member 60 of Example 4 of the present invention has much better scratch resistance than the SUS316L base material on which the hard film is not formed and the decorative member 110 manufactured based on Patent Document 1. It was confirmed to have performance.
  • the scratch resistance is roughly determined by the product of the hardness of the wear-resistant layer, the thickness of the wear-resistant layer, the degree of adhesion with the base material, and the hardness of the base material.
  • the TiN film prepared for comparison also wanted to be formed to have a film thickness of 1.8 ⁇ m or more, when the TiN film was formed on the substrate as it was, cracks and peeling were observed with a film thickness of 1.1 ⁇ m or more. Therefore, the film thickness was set to 1.0 ⁇ m.
  • Example 5 As a sputtering target, a sintered body having a Ti50Wt% Nb40Wt% V10Wt% alloy composition was used. As shown in FIG. 19, SUS316L material defined in JIS is used as the base material 71, and 30 sccm of nitrogen gas is introduced into the argon gas 105 sccm by sputtering on the base material 71 to form a 1.0 ⁇ m TiNbV alloy nitride film. Then, a golden hard decorative member 70 was produced. The appearance color by the Lab color space display of the golden hard decorative member 70 obtained in this Example 5 is L *: 82.4, a *: 1.62, b *: 21.75, and the TiNbV alloy nitride film Had a pale golden color.
  • FIG. 20 shows a comparison of the brightness of the TiNbV alloy nitride film and the TiN film produced by changing the amount of nitrogen gas. It can be seen that the TiNbV alloy nitride film clearly shows a higher brightness than the TiN film in the case of nitriding by introducing nitrogen.
  • FIG. 21 shows a comparison of the chroma of films produced by changing the amount of nitrogen gas in a TiNbV alloy nitride film and a TiN film.
  • the TiNbV alloy nitride film exhibits a stable pale gold color with a saturation of about 20 to 35, and this saturation is a pale golden saturation generally preferred as an exterior component, and is stable in the region of 30 sccm or more. It can be seen that the same saturation is exhibited.
  • it is difficult to obtain a stable light gold color with a narrow nitrogen gas amount region exhibiting a light gold color and it can be seen that stable production of the TiNbV alloy nitride film can be expected.
  • FIG. 22 shows a comparison of film hardness of films formed by changing the amount of nitrogen gas in the TiNbV alloy nitride film and the TiN film. It can be seen that the hardness of the TiNbV alloy nitride film is higher by about HV 600 or more in the region exhibiting a gold color than the TiN film. Since the scratch resistance is roughly determined by the product of the hardness of the wear-resistant layer, the thickness of the wear-resistant layer, the adhesion to the substrate and the hardness of the substrate, the TiNbV alloy nitride film is compared with the TiN film. And high scratch resistance.
  • Table 2 shows the brightness, saturation, and hardness of a TiNbV alloy oxynitride film prepared by introducing oxygen gas at 5, 10, 20 sccm under constant conditions of Ar gas 105 sccm and nitrogen gas 40 sccm into the TiNbV alloy film. . From Table 2, it can be seen that the color tone changes from a light gold color to a pink color and a dark brown color, and shows a higher hardness than the TiNbV alloy nitride film under a certain condition of the introduced oxygen amount.
  • Example 6 As a sputtering target, a sintered body having a Ti50Wt% Nb40Wt% V10Wt% alloy composition was used. As shown in FIG. 23, a SUS316L material defined in JIS was used as the base material 81, and an adhesion layer 82 made of a lower oxide of a TiNbV alloy was formed on the base material 81 by a sputtering method. Thereafter, the nitrogen gas was gradually increased while introducing a small amount of oxygen gas, thereby forming a tilted adhesion layer 83 of TiNbV alloy oxynitride film having a thickness of 0.2 ⁇ m.
  • a thin wear-resistant layer 84 made of a TiNbV alloy nitride film was formed to 1.5 ⁇ m.
  • the gold gas adjusting gradient layer 85 of the TiNbV alloy nitride film was formed to have a thickness of 0.1 ⁇ m by increasing or decreasing the nitrogen gas in a gradient manner.
  • the appearance color by the Lab color space display of the golden hard decorative member 80 obtained in this Example 6 is L *: 82.4, a *: 1.62, b *: 21.75, and the TiNbV alloy nitride film Had a pale golden color.
  • the gold-colored hard decorative member of Example 6 includes an alloy adhesion layer having a high adhesion effect on the substrate, an alloy gradient adhesion layer in which the nitrogen gas content is increased in a gradient, a hard wear-resistant layer having a high hardness, and a reactive gas. Since it is composed of a gold color adjusting gradient layer whose content is increased or decreased in an inclined manner, the adhesion between the substrate and the film is remarkably improved, and a wear-resistant layer having a high film hardness can be formed thickly. By introducing a small amount of oxygen into the adhesion layer and the alloy gradient adhesion layer, the adhesion between the substrate and the film can be strengthened by the crosslinking effect of oxygen by two hands. In addition, by using a structure formed by increasing the reaction gas in an inclined manner, the film stress gradually rises from the substrate, so that peeling can be further suppressed, and overall In addition, since the film thickness can be increased, the scratch resistance can be remarkably improved.
  • TiNbV lower oxide film As the adhesion layer 82 of the golden hard decorative member 80 of Example 6, 5 sccm of oxygen gas was introduced under the condition of nitrogen gas introduction amount 0 sccm to form a TiNbV lower oxide film having a thickness of 0.1 ⁇ m.
  • a TiNbV lower oxide As the adhesion layer 82, adhesion to the base material can be increased and scratch resistance can be improved as compared with the TiNbV alloy film.
  • TiNbV alloy nitride film was formed to have a thickness of 0.2 ⁇ m as the inclined adhesion layer 83 by increasing the nitrogen gas introduction amount from 0 sccm to 20 sccm while introducing 3 sccm of oxygen gas.
  • a TiNbV alloy nitride film having a thickness of 1.5 ⁇ m was formed under the condition of a nitrogen gas introduction amount of 20 sccm indicating the maximum hardness.
  • a TiNbV alloy nitride film having a thickness of 0.1 ⁇ m was formed by increasing the gradient to a nitrogen gas introduction amount of 30 sccm showing the maximum brightness in FIG.
  • the inclined adhesion layer 83 in the golden hard decorative member 80 of Example 6 eliminates a clear interface between the adhesion layer and the wear-resistant layer, the base material and the adhesion layer can be integrated. Since there is an inclined adhesion layer, the adhesion between the adhesion layer and the wear-resistant layer is sufficiently ensured, and since the film stress increases in a gradient manner, the effect of suppressing the generation of cracks and delamination due to stress strain is achieved. As a result, the scratch resistance and wear resistance are improved, and a thick wear-resistant layer having high film hardness can be formed. Scratch resistance is roughly determined by the product of the hardness of the wear-resistant layer, the thickness of the wear-resistant layer, and the degree of adhesion to the base material. Therefore, the scratch resistance is improved by improving the adhesion to the base material. Can be made.
  • the gold color adjusting inclined layer 85 in the gold hard decorative member 80 of Example 6 increases L * in an inclined manner by increasing the nitrogen content in an inclined manner, and also adheres to the wear resistant layer 84. This also contributes to the effect of making it difficult to peel off even if scratches are made and making the scratches less noticeable.
  • FIG. 24 shows the measurement results of the scratch resistance performance of the golden hard decorative member 80 of Example 6.
  • the decorative member 110 manufactured based on Patent Document 1 shown in FIG. 11, the golden hard decorative member 80 of Example 6 according to the present invention, the SUS316L base material on which the hard film is not formed, and the TiN film on the SUS316L Is the result of measuring the scratch resistance (root mean square roughness) of the member formed with 1.0 ⁇ m.
  • the golden hard decorative member 80 of Example 6 of the present invention has much better scratch resistance than the SUS316L base material on which the hard film is not formed and the decorative member 110 manufactured based on Patent Document 1. It was confirmed to have performance.
  • the scratch resistance is roughly determined by the product of the hardness of the wear-resistant layer, the thickness of the wear-resistant layer, the degree of adhesion with the base material, and the hardness of the base material.
  • the TiN film prepared for comparison also wanted to be formed to have a film thickness of 1.8 ⁇ m or more, when the TiN film was formed on the substrate as it was, cracks and peeling were observed with a film thickness of 1.1 ⁇ m or more. Therefore, the film thickness was set to 1.0 ⁇ m.
  • the present invention can provide a light-colored gold-colored hard decorative member that suppresses deterioration in appearance quality due to scratches, wear, etc. and has a high-quality color tone, such as a watch exterior part, an accessory such as glasses and accessories, It can be used for decorative members such as ornaments and sports equipment. Moreover, since the method which can manufacture the said golden hard decoration member stably can be provided, industrial applicability is high.

Landscapes

  • Chemical & Material Sciences (AREA)
  • Engineering & Computer Science (AREA)
  • Materials Engineering (AREA)
  • Organic Chemistry (AREA)
  • Mechanical Engineering (AREA)
  • Metallurgy (AREA)
  • Chemical Kinetics & Catalysis (AREA)
  • Manufacturing & Machinery (AREA)
  • Physics & Mathematics (AREA)
  • General Physics & Mathematics (AREA)
  • Inorganic Chemistry (AREA)
  • Life Sciences & Earth Sciences (AREA)
  • Wood Science & Technology (AREA)
  • Physical Vapour Deposition (AREA)
PCT/JP2013/055486 2012-03-19 2013-02-28 金色硬質装飾部材 Ceased WO2013140988A1 (ja)

Priority Applications (3)

Application Number Priority Date Filing Date Title
EP13765078.4A EP2829632B1 (en) 2012-03-19 2013-02-28 Golden rigid decorative member
CN201380015093.9A CN104204277B (zh) 2012-03-19 2013-02-28 金色硬质装饰构件
US14/385,166 US9469765B2 (en) 2012-03-19 2013-02-28 Golden rigid decorative member

Applications Claiming Priority (2)

Application Number Priority Date Filing Date Title
JP2012-062218 2012-03-19
JP2012062218A JP5979927B2 (ja) 2012-03-19 2012-03-19 金色硬質装飾部材

Publications (1)

Publication Number Publication Date
WO2013140988A1 true WO2013140988A1 (ja) 2013-09-26

Family

ID=49222451

Family Applications (1)

Application Number Title Priority Date Filing Date
PCT/JP2013/055486 Ceased WO2013140988A1 (ja) 2012-03-19 2013-02-28 金色硬質装飾部材

Country Status (5)

Country Link
US (1) US9469765B2 (enExample)
EP (1) EP2829632B1 (enExample)
JP (1) JP5979927B2 (enExample)
CN (1) CN104204277B (enExample)
WO (1) WO2013140988A1 (enExample)

Families Citing this family (8)

* Cited by examiner, † Cited by third party
Publication number Priority date Publication date Assignee Title
EP2667265A1 (fr) * 2012-05-22 2013-11-27 The Swatch Group Research and Development Ltd. Composant d'habillage d'horlogerie bi-métal brasé
KR102236414B1 (ko) * 2016-03-25 2021-04-05 제이엑스금속주식회사 Ti-Nb 합금 스퍼터링 타깃 및 그 제조 방법
WO2017170324A1 (ja) * 2016-03-31 2017-10-05 シチズン時計株式会社 さくらピンク色の装飾部材およびその製造方法
CN107684202A (zh) * 2016-08-03 2018-02-13 周生生珠宝金行有限公司 足金及其制造方法
JP6862793B2 (ja) * 2016-11-24 2021-04-21 セイコーエプソン株式会社 時計用部品および時計
JP6834632B2 (ja) * 2017-03-14 2021-02-24 セイコーエプソン株式会社 時計用部品および時計
CN112458417A (zh) * 2020-11-24 2021-03-09 创隆实业(深圳)有限公司 一种多元层状加硬涂层生长工艺
CN112877642B (zh) * 2021-04-29 2021-07-20 蓝思科技(长沙)有限公司 防指纹膜、玻璃制品及其制备方法

Citations (7)

* Cited by examiner, † Cited by third party
Publication number Priority date Publication date Assignee Title
JPS5485214A (en) * 1977-12-21 1979-07-06 Suwa Seikosha Kk Armor for personal watch
JPH02138460A (ja) 1989-07-20 1990-05-28 Seikosha Co Ltd 金色を呈する物品の製造方法
JPH11302831A (ja) * 1998-04-24 1999-11-02 Kobe Steel Ltd 耐摩耗性に優れる硬質皮膜
JP2003082452A (ja) 2001-09-13 2003-03-19 Citizen Watch Co Ltd 装飾用金色被膜
WO2010150411A1 (ja) * 2009-06-26 2010-12-29 オーエスジー株式会社 硬質被膜、および硬質被膜被覆工具
WO2011016488A1 (ja) * 2009-08-04 2011-02-10 株式会社タンガロイ 被覆部材
JP2011256424A (ja) * 2010-06-08 2011-12-22 Citizen Holdings Co Ltd 硬質装飾部材

Family Cites Families (7)

* Cited by examiner, † Cited by third party
Publication number Priority date Publication date Assignee Title
JPH0417665A (ja) * 1990-05-10 1992-01-22 Kowa Eng Kk 銀白色装飾品
DE69329161T2 (de) * 1992-02-27 2001-01-11 Hauzer Industries B.V., Venlo Verbesserungen von Verfahren der physikalischen Dampfphasen-Abscheidung
EP1245409A4 (en) * 2000-04-19 2009-08-19 Citizen Holdings Co Ltd DISH AND CORRESPONDING SURFACE TREATMENT METHOD, SUBSTRATE HAVING HARD DECORATIVE COATING FILM AND CORRESPONDING PRODUCTION METHOD, KNIFEING
US7081186B2 (en) * 2003-11-20 2006-07-25 Sheffield Hallam University Combined coating process comprising magnetic field-assisted, high power, pulsed cathode sputtering and an unbalanced magnetron
DE102004044919A1 (de) * 2004-09-14 2006-03-30 Martin Balzer Dekorative Beschichtung zum Korrosionsschutz auf Basis von Refraktärmetall-Magnesium-Nitriden sowie Verfahren zur Herstellung derselben
US20080014420A1 (en) 2006-07-11 2008-01-17 Ion Technology (Hong Kong) Limited Surface treatment for titanium or titanium-alloys
JP5822839B2 (ja) * 2010-09-21 2015-11-24 シチズンホールディングス株式会社 白色硬質装飾部材

Patent Citations (7)

* Cited by examiner, † Cited by third party
Publication number Priority date Publication date Assignee Title
JPS5485214A (en) * 1977-12-21 1979-07-06 Suwa Seikosha Kk Armor for personal watch
JPH02138460A (ja) 1989-07-20 1990-05-28 Seikosha Co Ltd 金色を呈する物品の製造方法
JPH11302831A (ja) * 1998-04-24 1999-11-02 Kobe Steel Ltd 耐摩耗性に優れる硬質皮膜
JP2003082452A (ja) 2001-09-13 2003-03-19 Citizen Watch Co Ltd 装飾用金色被膜
WO2010150411A1 (ja) * 2009-06-26 2010-12-29 オーエスジー株式会社 硬質被膜、および硬質被膜被覆工具
WO2011016488A1 (ja) * 2009-08-04 2011-02-10 株式会社タンガロイ 被覆部材
JP2011256424A (ja) * 2010-06-08 2011-12-22 Citizen Holdings Co Ltd 硬質装飾部材

Non-Patent Citations (1)

* Cited by examiner, † Cited by third party
Title
See also references of EP2829632A4

Also Published As

Publication number Publication date
JP2013194276A (ja) 2013-09-30
US9469765B2 (en) 2016-10-18
CN104204277B (zh) 2018-12-04
US20150044453A1 (en) 2015-02-12
EP2829632B1 (en) 2019-11-27
EP2829632A4 (en) 2015-11-04
CN104204277A (zh) 2014-12-10
JP5979927B2 (ja) 2016-08-31
EP2829632A1 (en) 2015-01-28

Similar Documents

Publication Publication Date Title
JP5822839B2 (ja) 白色硬質装飾部材
JP5979927B2 (ja) 金色硬質装飾部材
JP5979928B2 (ja) 硬質装飾部材
JP6909322B2 (ja) 装飾部材およびその製造方法
JP5930783B2 (ja) 有色硬質装飾部材
JP6147247B2 (ja) 白色硬質被膜層を有する硬質装飾部材およびその製造方法
JP5441822B2 (ja) 硬質装飾部材
JP6084286B2 (ja) グレー色調層を有する硬質装飾部材
WO2019039097A1 (ja) 黒色部材、黒色部材の製造方法および黒色部材を含む時計

Legal Events

Date Code Title Description
121 Ep: the epo has been informed by wipo that ep was designated in this application

Ref document number: 13765078

Country of ref document: EP

Kind code of ref document: A1

WWE Wipo information: entry into national phase

Ref document number: 14385166

Country of ref document: US

WWE Wipo information: entry into national phase

Ref document number: 2013765078

Country of ref document: EP

NENP Non-entry into the national phase

Ref country code: DE