WO2013125602A1 - X線ct装置 - Google Patents

X線ct装置 Download PDF

Info

Publication number
WO2013125602A1
WO2013125602A1 PCT/JP2013/054235 JP2013054235W WO2013125602A1 WO 2013125602 A1 WO2013125602 A1 WO 2013125602A1 JP 2013054235 W JP2013054235 W JP 2013054235W WO 2013125602 A1 WO2013125602 A1 WO 2013125602A1
Authority
WO
WIPO (PCT)
Prior art keywords
ray
soundproof
cover
thickness
tube
Prior art date
Legal status (The legal status is an assumption and is not a legal conclusion. Google has not performed a legal analysis and makes no representation as to the accuracy of the status listed.)
Ceased
Application number
PCT/JP2013/054235
Other languages
English (en)
French (fr)
Japanese (ja)
Inventor
泰生 小平
Current Assignee (The listed assignees may be inaccurate. Google has not performed a legal analysis and makes no representation or warranty as to the accuracy of the list.)
Toshiba Corp
Canon Medical Systems Corp
Original Assignee
Toshiba Corp
Toshiba Medical Systems Corp
Priority date (The priority date is an assumption and is not a legal conclusion. Google has not performed a legal analysis and makes no representation as to the accuracy of the date listed.)
Filing date
Publication date
Application filed by Toshiba Corp, Toshiba Medical Systems Corp filed Critical Toshiba Corp
Priority to US14/235,687 priority Critical patent/US9414793B2/en
Priority to CN201380003062.1A priority patent/CN103796591B/zh
Publication of WO2013125602A1 publication Critical patent/WO2013125602A1/ja
Anticipated expiration legal-status Critical
Ceased legal-status Critical Current

Links

Images

Classifications

    • AHUMAN NECESSITIES
    • A61MEDICAL OR VETERINARY SCIENCE; HYGIENE
    • A61BDIAGNOSIS; SURGERY; IDENTIFICATION
    • A61B6/00Apparatus or devices for radiation diagnosis; Apparatus or devices for radiation diagnosis combined with radiation therapy equipment
    • A61B6/44Constructional features of apparatus for radiation diagnosis
    • AHUMAN NECESSITIES
    • A61MEDICAL OR VETERINARY SCIENCE; HYGIENE
    • A61BDIAGNOSIS; SURGERY; IDENTIFICATION
    • A61B6/00Apparatus or devices for radiation diagnosis; Apparatus or devices for radiation diagnosis combined with radiation therapy equipment
    • A61B6/02Arrangements for diagnosis sequentially in different planes; Stereoscopic radiation diagnosis
    • A61B6/03Computed tomography [CT]
    • A61B6/032Transmission computed tomography [CT]
    • A61B6/035Mechanical aspects of CT
    • AHUMAN NECESSITIES
    • A61MEDICAL OR VETERINARY SCIENCE; HYGIENE
    • A61BDIAGNOSIS; SURGERY; IDENTIFICATION
    • A61B6/00Apparatus or devices for radiation diagnosis; Apparatus or devices for radiation diagnosis combined with radiation therapy equipment
    • A61B6/44Constructional features of apparatus for radiation diagnosis
    • A61B6/4488Means for cooling
    • EFIXED CONSTRUCTIONS
    • E04BUILDING
    • E04BGENERAL BUILDING CONSTRUCTIONS; WALLS, e.g. PARTITIONS; ROOFS; FLOORS; CEILINGS; INSULATION OR OTHER PROTECTION OF BUILDINGS
    • E04B1/00Constructions in general; Structures which are not restricted either to walls, e.g. partitions, or floors or ceilings or roofs
    • E04B1/62Insulation or other protection; Elements or use of specified material therefor
    • E04B1/74Heat, sound or noise insulation, absorption, or reflection; Other building methods affording favourable thermal or acoustical conditions, e.g. accumulating of heat within walls
    • E04B1/82Heat, sound or noise insulation, absorption, or reflection; Other building methods affording favourable thermal or acoustical conditions, e.g. accumulating of heat within walls specifically with respect to sound only
    • EFIXED CONSTRUCTIONS
    • E04BUILDING
    • E04BGENERAL BUILDING CONSTRUCTIONS; WALLS, e.g. PARTITIONS; ROOFS; FLOORS; CEILINGS; INSULATION OR OTHER PROTECTION OF BUILDINGS
    • E04B1/00Constructions in general; Structures which are not restricted either to walls, e.g. partitions, or floors or ceilings or roofs
    • E04B1/62Insulation or other protection; Elements or use of specified material therefor
    • E04B1/74Heat, sound or noise insulation, absorption, or reflection; Other building methods affording favourable thermal or acoustical conditions, e.g. accumulating of heat within walls
    • E04B1/82Heat, sound or noise insulation, absorption, or reflection; Other building methods affording favourable thermal or acoustical conditions, e.g. accumulating of heat within walls specifically with respect to sound only
    • E04B1/84Sound-absorbing elements
    • EFIXED CONSTRUCTIONS
    • E04BUILDING
    • E04FFINISHING WORK ON BUILDINGS, e.g. STAIRS, FLOORS
    • E04F13/00Coverings or linings, e.g. for walls or ceilings
    • E04F13/07Coverings or linings, e.g. for walls or ceilings composed of covering or lining elements; Sub-structures therefor; Fastening means therefor
    • E04F13/072Coverings or linings, e.g. for walls or ceilings composed of covering or lining elements; Sub-structures therefor; Fastening means therefor composed of specially adapted, structured or shaped covering or lining elements
    • E04F13/075Coverings or linings, e.g. for walls or ceilings composed of covering or lining elements; Sub-structures therefor; Fastening means therefor composed of specially adapted, structured or shaped covering or lining elements for insulation or surface protection, e.g. against noise or impact
    • EFIXED CONSTRUCTIONS
    • E04BUILDING
    • E04FFINISHING WORK ON BUILDINGS, e.g. STAIRS, FLOORS
    • E04F13/00Coverings or linings, e.g. for walls or ceilings
    • E04F13/07Coverings or linings, e.g. for walls or ceilings composed of covering or lining elements; Sub-structures therefor; Fastening means therefor
    • E04F13/072Coverings or linings, e.g. for walls or ceilings composed of covering or lining elements; Sub-structures therefor; Fastening means therefor composed of specially adapted, structured or shaped covering or lining elements
    • E04F13/077Coverings or linings, e.g. for walls or ceilings composed of covering or lining elements; Sub-structures therefor; Fastening means therefor composed of specially adapted, structured or shaped covering or lining elements composed of several layers, e.g. sandwich panels
    • EFIXED CONSTRUCTIONS
    • E04BUILDING
    • E04FFINISHING WORK ON BUILDINGS, e.g. STAIRS, FLOORS
    • E04F13/00Coverings or linings, e.g. for walls or ceilings
    • E04F13/07Coverings or linings, e.g. for walls or ceilings composed of covering or lining elements; Sub-structures therefor; Fastening means therefor
    • E04F13/08Coverings or linings, e.g. for walls or ceilings composed of covering or lining elements; Sub-structures therefor; Fastening means therefor composed of a plurality of similar covering or lining elements
    • E04F13/0866Coverings or linings, e.g. for walls or ceilings composed of covering or lining elements; Sub-structures therefor; Fastening means therefor composed of a plurality of similar covering or lining elements composed of several layers, e.g. sandwich panels or layered panels
    • GPHYSICS
    • G10MUSICAL INSTRUMENTS; ACOUSTICS
    • G10KSOUND-PRODUCING DEVICES; METHODS OR DEVICES FOR PROTECTING AGAINST, OR FOR DAMPING, NOISE OR OTHER ACOUSTIC WAVES IN GENERAL; ACOUSTICS NOT OTHERWISE PROVIDED FOR
    • G10K11/00Methods or devices for transmitting, conducting or directing sound in general; Methods or devices for protecting against, or for damping, noise or other acoustic waves in general
    • HELECTRICITY
    • H05ELECTRIC TECHNIQUES NOT OTHERWISE PROVIDED FOR
    • H05GX-RAY TECHNIQUE
    • H05G1/00X-ray apparatus involving X-ray tubes; Circuits therefor
    • H05G1/02Constructional details
    • AHUMAN NECESSITIES
    • A61MEDICAL OR VETERINARY SCIENCE; HYGIENE
    • A61BDIAGNOSIS; SURGERY; IDENTIFICATION
    • A61B6/00Apparatus or devices for radiation diagnosis; Apparatus or devices for radiation diagnosis combined with radiation therapy equipment
    • A61B6/08Auxiliary means for directing the radiation beam to a particular spot, e.g. using light beams
    • AHUMAN NECESSITIES
    • A61MEDICAL OR VETERINARY SCIENCE; HYGIENE
    • A61BDIAGNOSIS; SURGERY; IDENTIFICATION
    • A61B6/00Apparatus or devices for radiation diagnosis; Apparatus or devices for radiation diagnosis combined with radiation therapy equipment
    • A61B6/56Details of data transmission or power supply, e.g. use of slip rings
    • EFIXED CONSTRUCTIONS
    • E04BUILDING
    • E04BGENERAL BUILDING CONSTRUCTIONS; WALLS, e.g. PARTITIONS; ROOFS; FLOORS; CEILINGS; INSULATION OR OTHER PROTECTION OF BUILDINGS
    • E04B1/00Constructions in general; Structures which are not restricted either to walls, e.g. partitions, or floors or ceilings or roofs
    • E04B1/62Insulation or other protection; Elements or use of specified material therefor
    • E04B1/74Heat, sound or noise insulation, absorption, or reflection; Other building methods affording favourable thermal or acoustical conditions, e.g. accumulating of heat within walls
    • E04B1/82Heat, sound or noise insulation, absorption, or reflection; Other building methods affording favourable thermal or acoustical conditions, e.g. accumulating of heat within walls specifically with respect to sound only
    • E04B1/8209Heat, sound or noise insulation, absorption, or reflection; Other building methods affording favourable thermal or acoustical conditions, e.g. accumulating of heat within walls specifically with respect to sound only sound absorbing devices
    • EFIXED CONSTRUCTIONS
    • E04BUILDING
    • E04BGENERAL BUILDING CONSTRUCTIONS; WALLS, e.g. PARTITIONS; ROOFS; FLOORS; CEILINGS; INSULATION OR OTHER PROTECTION OF BUILDINGS
    • E04B1/00Constructions in general; Structures which are not restricted either to walls, e.g. partitions, or floors or ceilings or roofs
    • E04B1/62Insulation or other protection; Elements or use of specified material therefor
    • E04B1/74Heat, sound or noise insulation, absorption, or reflection; Other building methods affording favourable thermal or acoustical conditions, e.g. accumulating of heat within walls
    • E04B1/82Heat, sound or noise insulation, absorption, or reflection; Other building methods affording favourable thermal or acoustical conditions, e.g. accumulating of heat within walls specifically with respect to sound only
    • E04B1/84Sound-absorbing elements
    • E04B1/8409Sound-absorbing elements sheet-shaped
    • EFIXED CONSTRUCTIONS
    • E04BUILDING
    • E04BGENERAL BUILDING CONSTRUCTIONS; WALLS, e.g. PARTITIONS; ROOFS; FLOORS; CEILINGS; INSULATION OR OTHER PROTECTION OF BUILDINGS
    • E04B1/00Constructions in general; Structures which are not restricted either to walls, e.g. partitions, or floors or ceilings or roofs
    • E04B1/62Insulation or other protection; Elements or use of specified material therefor
    • E04B1/74Heat, sound or noise insulation, absorption, or reflection; Other building methods affording favourable thermal or acoustical conditions, e.g. accumulating of heat within walls
    • E04B1/82Heat, sound or noise insulation, absorption, or reflection; Other building methods affording favourable thermal or acoustical conditions, e.g. accumulating of heat within walls specifically with respect to sound only
    • E04B1/84Sound-absorbing elements
    • E04B2001/8457Solid slabs or blocks
    • E04B2001/8476Solid slabs or blocks with acoustical cavities, with or without acoustical filling
    • EFIXED CONSTRUCTIONS
    • E04BUILDING
    • E04FFINISHING WORK ON BUILDINGS, e.g. STAIRS, FLOORS
    • E04F2290/00Specially adapted covering, lining or flooring elements not otherwise provided for
    • E04F2290/04Specially adapted covering, lining or flooring elements not otherwise provided for for insulation or surface protection, e.g. against noise, impact or fire
    • E04F2290/041Specially adapted covering, lining or flooring elements not otherwise provided for for insulation or surface protection, e.g. against noise, impact or fire against noise

Definitions

  • Embodiments of the present invention relate to an X-ray CT apparatus.
  • an X-ray CT apparatus detects an X-ray irradiated from an X-ray tube and transmitted through a subject, and obtains an X-ray tomographic image by reconstructing the image based on the detected result.
  • the X-ray tube is provided inside the annular rotator and has an opening through which a bed can be inserted at the center of the annular rotator.
  • the periphery of the annular rotating body is covered with a cover.
  • the cover has a cylindrical side portion that covers the annular rotator from the center side of the opening.
  • the tube side portion is provided with an X-ray transmission port that transmits X-rays from the X-ray tube.
  • the X-ray transmission port is closed by a sheet-like member. Thereby, it is possible to ensure safety so that the subject does not touch the annular rotating body. Furthermore, it becomes possible to prevent blood and contrast medium from entering the inside of the annular rotating body. Furthermore, it is possible to prevent noise from the inside of the cover from leaking to the outside.
  • the noise from the inside of the cover includes wind noise when the annular rotating body is rotating and the sound of the motor that drives the wind noise.
  • the sheet-like member is made of a thin film-like material having good transmittance with respect to X-rays and lasers for marking. Thereby, it is possible to suppress a decrease in image quality of an image acquired by X-ray imaging.
  • Patent Document 1 There is a medical diagnostic apparatus in which a sound absorbing material is arranged on the inner surface of a cover of an MRI apparatus to improve a silencing effect and reduce noise from the inside of the apparatus.
  • This embodiment solves the above-described problem, and an object thereof is to provide an X-ray CT apparatus capable of sufficiently reducing noise from the inside of the cover.
  • an X-ray CT apparatus is formed in a cylindrical shape with an annular rotator having an opening into which a bed can be inserted at the center and an X-ray tube accommodated therein.
  • the tube side portion that covers the annular rotator from the center side of the opening portion is formed, and an X-ray transmission port that transmits X-rays from the X-ray tube is formed on the tube side portion.
  • a sheet-like two soundproofing members disposed so as to close the X-ray transmission port and sandwiching the soundproofing layer.
  • FIG. 1 is a block diagram of an X-ray CT apparatus according to an embodiment.
  • FIG. 1 is a block diagram of an X-ray CT apparatus.
  • the X-ray CT apparatus 10 includes a gantry 11, an annular rotating body 12, a rotating mechanism 14, a cover 16, a cooling unit 40, and a duct 50.
  • An annular rotating body 12 and a rotating mechanism 14 are provided inside the gantry 11.
  • the annular rotating body 12 is rotated by the rotating mechanism 14.
  • An X-ray tube 17 and an X-ray detector 18 are provided inside the annular rotating body 12.
  • An opening 15 for inserting the subject P placed on the top plate 71 of the bed 70 from the front is provided at the center of the gantry 11 and the annular rotator 12.
  • the cover 16 is formed so as to cover the gantry 11 and the annular rotating body 12. Details of the cover 16 will be described later.
  • the X-ray tube 17 and the X-ray detector 18 are arranged to face each other with the opening 15 as the center. X-rays are exposed to the subject P from the X-ray tube 17. X-rays that have passed through the subject P are detected by the X-ray detector 18 and converted into electrical signals. The electric signal is amplified by a data collecting unit (DAS) 19 and converted into digital data.
  • DAS data collecting unit
  • the X-ray detector 18 includes a plurality of detection element arrays including, for example, a scintillator array and a photodiode array, and is arranged along an arc centered on the focal point of the X-ray tube 17.
  • the digital data (projection data) from the DAS 19 is transmitted to the console 21 via the data transmission unit 20.
  • the data transmission unit 20 transmits projection data from the annular rotator 12 to the console 21 in a non-contact manner, and includes a transmission unit 201 provided on the annular rotator 12 side and a reception unit 202 provided on a fixed part of the gantry 11.
  • the data received by the receiving unit 202 is supplied to the console 21.
  • the transmitter 201 is attached to an annular rotator, and the receiver 202 is attached to an annular fixed body.
  • annular rotator 12 is provided with a slip ring 22 and an X-ray controller 24, and the fixed part 23 is provided with a gantry controller 25.
  • the console 21 constitutes a computer system, and projection data from the data transmission unit 20 is supplied to the preprocessing unit 31.
  • the preprocessing unit 31 performs preprocessing such as data correction on the projection data and outputs it to the bus line 32.
  • a system control unit 33, an input unit 34, a data storage unit 35, a reconstruction processing unit 36, a data processing unit 37, a display unit 38 and the like are connected to the bus line 32.
  • the system control unit 33 includes a high voltage generation unit. 39 is connected.
  • the system control unit 33 functions as a host controller, and controls the operation of each unit of the console 21 and the gantry control unit 25 and the high voltage generation unit 39.
  • the data storage unit 35 stores data such as tomographic images, and the reconstruction processing unit 36 reconstructs 3D image data from projection data.
  • the data processing unit 37 processes the image data stored in the data storage unit 35 or the reconstructed image data.
  • the display unit 38 displays an image obtained by image data processing.
  • the input unit 34 has a keyboard, a mouse, etc., and is operated by a user (doctor, operator, etc.) to make various settings for data processing. Further, various information such as the state of the subject P and the inspection method are input.
  • the high voltage generation unit 39 controls the X-ray control unit 24 via the slip ring 22 to supply power to the X-ray tube 17 and supply power (tube voltage and tube current) necessary for X-ray exposure.
  • the X-ray tube 17 generates beam X-rays that spread in two directions: a slice direction parallel to the body axis direction of the subject P and a channel direction perpendicular thereto.
  • the spread angle of the beam X-ray in the slice direction may be referred to as a cone angle, and the spread angle in the channel direction may be referred to as a fan angle.
  • a laser projector (not shown) is provided for marking (marking the body surface) by irradiating the body surface of the subject P with colored laser light from above and from the side of the subject P.
  • the colored laser light include a red laser and a green laser, which are excellent in ease (visibility) when recognizing a mark.
  • FIG. 2 is a front view of the X-ray CT apparatus
  • FIG. 3 is a perspective view when the X-ray CT apparatus is viewed obliquely from the rear.
  • the parts of the gantry 11 arranged at the front, rear, both sides, upper and lower sides of the annular rotator 12 may be referred to as a front part, a rear part, a side part, a ceiling part, and a bottom part.
  • the left-right direction (both sides), the up-down direction (height direction), and the body axis direction (front-rear direction) may be referred to as an X-axis direction, a Y-axis direction, and a Z-axis direction.
  • the rear surface portion of the gantry 11 may be referred to as a frame 13.
  • the front and rear of the annular rotator 12 are indicated by Z1 and Z2, and the right and left sides of the annular rotator 12 are indicated by X1 and X2.
  • the upper and lower parts are indicated by Y1 and Y2.
  • the cover 16 includes a bottom cover 161 that covers the bottom of the gantry 11, a front cover 162 that covers the front surface of the gantry 11, a rear cover 163 that covers the rear surface of the gantry 11, and a gantry 11 has a ceiling cover 164 that covers the ceiling portion of 11, and a side surface cover 165 that covers the side surface portion of the gantry 11.
  • the front cover 162 has a tube opening front portion 162a.
  • the tube opening front portion 162a is formed in a cylindrical shape, and is fitted into the opening portion 15 from the front so as to cover a substantially front half of the opening portion 15 from the Z-axis direction (body axis direction).
  • the rear cover 163 has a tube port rear part 163a.
  • the tube mouth rear portion 163a is formed in a cylindrical shape, and is fitted into the opening portion 15 from the rear so as to cover the substantially rear half of the opening portion 15 from the Z-axis direction.
  • a tube side portion is configured by the tube port front portion 162a and the tube port rear portion 163a.
  • An exhaust port 163b for releasing heat from the radiator 26 described later to the outside of the cover 16 is provided on the upper portion of the rear cover 163.
  • the exhaust port 163b is provided at the 12 o'clock position shown in FIGS. Since the heat from the radiator 26 rises inside the cover 16, it is possible to efficiently release the heat from the exhaust port 163 b provided in the upper part of the rear cover 163. Noise from the inside of the cover 16 transmitted to the front side of the X-ray CT apparatus through the exhaust port 163b is reduced as compared with the case where the exhaust port 163b is provided in front portions of the front cover 162 and the bottom cover 161.
  • the exhaust port 163b may be provided on the upper portion of the cover 16.
  • the exhaust port 163b may be provided in the ceiling cover 164.
  • a part of the duct 50 described later is covered with a rear cover 163. Further, the other portions of the fan 41 and the duct 50 to be described later are covered with a side cover 165. Note that other portions of the fan 41 and the duct 50 may be covered with another cover 16, for example, a ceiling cover 164.
  • the cooling means 40 has a fan 41.
  • the fan 41 is disposed in the vicinity of the radiator 26 and sends out heat from the radiator 26 to the duct 50.
  • the duct 50 is disposed between the gantry 11 and the cover 16 and receives exhaust from the fan 41 and guides it to the exhaust port 163b.
  • the noise from the inside of the cover includes wind noise when the fan 41 is rotating and the sound of the motor that drives the wind noise.
  • FIG. 4 is a cross-sectional view of a soundproof structure constituted by one soundproof member.
  • FIG. 4 shows a cross-sectional view when the opening 15 is cut along the body axis direction (Z-axis direction).
  • an X-ray transmission port S1 for passing X-rays is formed between the rear end portion 162d of the front end portion 162a of the front cover 162 and the front end portion 163d of the rear end portion 163a of the rear cover 163.
  • the width in the circumferential direction of the X-ray transmission port S1 is a size corresponding to the fan angle of the beam X-ray.
  • the width of the X-ray transmission port S1 in the Z-axis direction is a size corresponding to the cone angle of the beam X-ray.
  • the X-ray transmission port S ⁇ b> 1 is blocked by a sheet-like soundproof member 61. Accordingly, it is possible to ensure safety so that the subject P does not touch the annular rotating body 12. Furthermore, it becomes possible to prevent blood and contrast medium from entering the annular rotator 12. Furthermore, it is possible to prevent noise from the inside of the cover 16 from leaking to the outside.
  • FIG. 5 is a diagram showing the relationship between the thickness of the soundproof member and the sound transmission loss value.
  • the sound transmission loss value is an amount obtained by multiplying the logarithm of the reciprocal of the sound transmittance by 10 and is expressed in decibel [dB].
  • the sound transmittance is the ratio of the intensity of transmitted sound to the intensity of incident sound.
  • the horizontal axis indicates the thickness [mm] of the soundproof member, and the vertical axis indicates the frequency [Hz] at which the coincidence effect occurs and the sound transmission loss value.
  • the coincidence effect refers to a phenomenon in which the sound transmission loss value decreases at a specific frequency.
  • the frequency at which the coincidence effect occurs with respect to the thickness T of the soundproof member 61 when the soundproof layer 62 is not provided is indicated by a solid line
  • the coincidence effect with respect to the thickness T of the soundproof member 61 when the soundproof layer 62 is provided is indicated by a one-dot chain line
  • the sound transmission loss value with respect to the thickness T of the soundproof member 61 is indicated by a broken line.
  • the thickness T of the soundproof member 61 As the thickness T of the soundproof member 61 is increased, the sound transmission loss value is increased and the sound insulation is improved. Further, when the thickness T of the soundproof member 61 is increased, the frequency at which the coincidence effect occurs shifts to the low sound side. When the thickness T is t1, the frequency is indicated by f1 in FIG. However, depending on the frequency characteristics of noise, increasing the thickness T does not necessarily lead to an improvement in sound insulation. For example, when the frequency f1 is included in the noise, a coincidence effect occurs, the sound transmission loss value decreases, and the sound insulation performance decreases. Therefore, it is necessary to make the thickness T of the soundproof member 61 thinner than the upper limit value t1 (T ⁇ t1).
  • the soundproof structure constituted by one soundproof member 61 has been described above. And it turned out that it is difficult to improve the sound insulation performance using one soundproof member 61.
  • FIG. 6 is a cross-sectional view of a soundproof structure provided with a soundproof layer.
  • FIG. 6 shows a cross-sectional view when the opening 15 is cut along the body axis direction (Z-axis direction).
  • the soundproof structure according to this embodiment has two soundproof members 61 and a soundproof layer 62.
  • the soundproof layer 62 is composed of an air layer. Two or more combinations of the two soundproof members 61 and the soundproof layer 62 may be provided. Furthermore, the soundproof layer 62 may be configured by a sound absorbing member and / or an acoustic reflecting member.
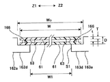
  • FIG. 7 is a partially enlarged sectional view of the soundproof member.
  • two soundproof members 61 are arranged so as to sandwich an air layer as the soundproof layer 62.
  • the two soundproof members 61 are provided so as to be bridged over the X-ray transmission port S1.
  • 6 and 7 show the two soundproof members 61 arranged in parallel.
  • the present invention is not limited to this, and the two soundproof members 61 may be arranged at a predetermined angle.
  • the soundproof member 61 is a material having a large sound transmission loss, and is made of a thin film material having a high transmittance with respect to the laser for X-rays and marking. Thereby, it is possible to suppress a decrease in image quality of an image acquired by X-ray imaging.
  • the kind of the soundproof member 61 includes a sound absorbing member that converts a part of sound energy into heat energy and reduces reflected sound, and an acoustic reflecting member that has a property of reflecting and refracting incident sound.
  • sound-absorbing members are fibrous or sponge-like ones with many small holes, and porous materials such as glass wool and urethane are used as representative examples of materials used for sound-absorbing members. Is preferred.
  • the acoustic reflecting member may be configured by enclosing a gas, such as helium, having a higher sound speed than air, between the two soundproofing members.
  • a gas such as helium
  • PET polyethylene terephthalate
  • Mylar registered trademark
  • the resin material used for the soundproof member 61 is not limited to PET, and may be any material that has high transmittance for X-rays and laser light and low X-ray deterioration resistance.
  • the thickness of the soundproof member 61 is preferably 0.5 [mm] to 1.0 [mm].
  • the reason why the lower limit of 0.5 [mm] is provided is that even if the subject P touches the soundproof member 61 having the thickness, if the thickness is 0.5 [mm] or more, safety is improved. It can be secured.
  • the reason why the upper limit of 1.0 [mm] is provided is that the transparency of X-rays and laser light can be ensured if the thickness is 1.0 [mm] or less.
  • the thickness exceeds 1.0 [mm] X-rays and laser light are absorbed. When X-rays are absorbed, image quality is deteriorated. When laser light is absorbed, It becomes a factor that the ease when visually recognizing the mark is lost.
  • the soundproof member 61 may be formed of a colorless and transparent film.
  • the “film” includes a sheet (hereinafter the same).
  • the soundproof member 61 may be made of a colored film that transmits colored laser light.
  • the color of the film corresponds to the color of the laser light.
  • a red film is used for a red laser
  • a green film is used for a green laser.
  • the soundproof member 61 is composed of a single colored film.
  • the soundproof member 61 may be composed of a composite of a colored film and a colorless transparent film.
  • the colorless and transparent film is formed from a colorless and transparent resin.
  • the colored film is formed by coloring a colorless and transparent resin.
  • Coloring agents such as pigments and dyes are used for resin coloring.
  • the pigment an inorganic pigment or an organic pigment is used.
  • the dye is selected from the aspect of compatibility with the resin. A dye is dissolved or dispersed in water, a solvent, oil or the like, and exhibits a hue by absorbing visible light. The dye is dispersed in a molecular form and is suitable for coloring transparent resins.
  • the air layer As described above, the air layer as the soundproof layer 62 is sandwiched between the two soundproof members 61.
  • the air layer may be formed by bonding the two soundproof members 61 with a double-sided tape 63 having a thickness of 0.5 [mm] to 1.0 [mm].
  • the frequency at which the coincidence effect occurs is reduced.
  • the frequency lowered by providing the air layer is indicated by f2 in FIG.
  • the upper limit value of the thickness T of the soundproof member 61 with respect to the frequency f2 is indicated by t2.
  • the thickness T of the soundproof member 61 is increased (T ⁇ t2), the sound transmittance loss value is increased, and the sound insulation property is increased. It becomes possible to improve.
  • the step part 166 is formed in the rear-end part 162d of the cylinder port front part 162a. Further, a step portion 166 is formed at the front end portion 163d of the tube mouth rear portion 163a.
  • the thickness of the air layer may be changed by changing the thickness of the double-sided tape 63. As a result, the frequency is reduced to a predetermined frequency or less where the coincidence effect occurs. Further, the two soundproof members 61 may be arranged at a predetermined angle. At this time, the plate thickness of the double-sided tape 63 may be different between the rear end portion 162d side of the front end portion 162a of the tube mouth and the front end portion 163d side of the rear end portion 163a of the tube mouth.
  • step portion 166 First, an adhesive is applied to the step portion 166. Next, one soundproof member 61 is attached to the step portion 166 with the adhesive.
  • a double-sided tape 63 is attached to the one soundproof member 61.
  • a second soundproof member 61 is attached to the double-sided tape 63.
  • the X-ray transmission port S1 can be blocked by the soundproof member 61. Further, by using the double-sided tape 63, it is possible to easily attach the two soundproof members 61 and improve workability.
  • the two soundproof members 61 bonded by the double-sided tape 63 may be bonded to the step portion 166.
  • the double-sided tape 63 may be attached to the stepped portion 166 and the first soundproof member 61 may be attached to the double-sided tape 63.
  • FIG. 8 is a cross-sectional view of the elastic member arranged to close the gap S ⁇ b> 2 between the floor surface and the cover 16.
  • a gap S ⁇ b> 2 is provided between the installation location (floor surface F) of the X-ray CT apparatus and the lower edge of the bottom cover 161.
  • the gap S2 There is variation in the gap S2. Since the variation is caused by the product accuracy and assembly accuracy of the cover 16, it is difficult to eliminate the gap S2. Noise from the inside of the cover 16 leaks to the outside through the gap S2.
  • the lower edge of the bottom cover 161 is in contact with the floor surface F, abnormal noise is generated due to vibration during operation.
  • the elastic member 65 is formed in a band shape from an elastic material (for example, resin rubber).
  • One side edge 651 of the elastic member 65 is attached along the lower edge of the bottom cover 161.
  • the elastic member 65 elastically contacts the floor surface F with its restoring force. Thereby, the gap S2 can be eliminated.
  • the other side edge 652 of the elastic member 65 is formed so as to bend inward of the bottom cover 161. Since the other side edge 652 of the elastic member 65 is hidden inside the bottom cover 161, the appearance quality can be improved.
  • the other side edge 652 of the elastic member 65 is curved in advance so as to bend toward the inside of the bottom cover 161.
  • the thickness of the other side edge 652 is thinner than that of the other part including the one side edge 651 so that it can be easily bent.
  • a sound absorbing member may be attached to the inner surface of the cover 16.
  • a material in which a porous material such as rock wool or glass wool is formed into a high-density plate shape is used.
  • a thin film such as polyethylene or vinyl film is preferably used.
  • an acoustic reflection member having a property of reflecting and refracting sound incident on the inner surface of the cover 16 may be attached.

Landscapes

  • Engineering & Computer Science (AREA)
  • Health & Medical Sciences (AREA)
  • Physics & Mathematics (AREA)
  • Life Sciences & Earth Sciences (AREA)
  • Architecture (AREA)
  • Medical Informatics (AREA)
  • Acoustics & Sound (AREA)
  • Structural Engineering (AREA)
  • Civil Engineering (AREA)
  • Nuclear Medicine, Radiotherapy & Molecular Imaging (AREA)
  • Veterinary Medicine (AREA)
  • Biomedical Technology (AREA)
  • Heart & Thoracic Surgery (AREA)
  • Molecular Biology (AREA)
  • Surgery (AREA)
  • Animal Behavior & Ethology (AREA)
  • General Health & Medical Sciences (AREA)
  • Public Health (AREA)
  • Radiology & Medical Imaging (AREA)
  • Pathology (AREA)
  • Optics & Photonics (AREA)
  • High Energy & Nuclear Physics (AREA)
  • Biophysics (AREA)
  • Electromagnetism (AREA)
  • Multimedia (AREA)
  • Theoretical Computer Science (AREA)
  • Pulmonology (AREA)
  • Apparatus For Radiation Diagnosis (AREA)
PCT/JP2013/054235 2012-02-22 2013-02-20 X線ct装置 Ceased WO2013125602A1 (ja)

Priority Applications (2)

Application Number Priority Date Filing Date Title
US14/235,687 US9414793B2 (en) 2012-02-22 2013-02-20 X-ray CT system
CN201380003062.1A CN103796591B (zh) 2012-02-22 2013-02-20 X射线ct装置

Applications Claiming Priority (2)

Application Number Priority Date Filing Date Title
JP2012036172 2012-02-22
JP2012-036172 2012-02-22

Publications (1)

Publication Number Publication Date
WO2013125602A1 true WO2013125602A1 (ja) 2013-08-29

Family

ID=49005784

Family Applications (1)

Application Number Title Priority Date Filing Date
PCT/JP2013/054235 Ceased WO2013125602A1 (ja) 2012-02-22 2013-02-20 X線ct装置

Country Status (4)

Country Link
US (1) US9414793B2 (enExample)
JP (1) JP6188347B2 (enExample)
CN (1) CN103796591B (enExample)
WO (1) WO2013125602A1 (enExample)

Cited By (1)

* Cited by examiner, † Cited by third party
Publication number Priority date Publication date Assignee Title
CN104775726A (zh) * 2015-03-09 2015-07-15 江苏建筑职业技术学院 列管式消声隔声窗

Families Citing this family (2)

* Cited by examiner, † Cited by third party
Publication number Priority date Publication date Assignee Title
US10791999B2 (en) * 2014-02-04 2020-10-06 General Electric Company Interface for gantry and component
US11389126B2 (en) * 2018-10-31 2022-07-19 General Electric Company Gantry housing, and medical apparatus

Citations (6)

* Cited by examiner, † Cited by third party
Publication number Priority date Publication date Assignee Title
JPS6338438A (ja) * 1986-07-31 1988-02-19 株式会社東芝 X線ct装置
JPH02124139A (ja) * 1988-11-01 1990-05-11 Toshiba Corp Mri用磁石装置の製造方法
JPH03162831A (ja) * 1989-11-22 1991-07-12 Hitachi Ltd 核磁気共鳴装置
JPH05124308A (ja) * 1991-11-06 1993-05-21 Brother Ind Ltd 圧電素子駆動型印字ヘツド
JPH1164599A (ja) * 1997-08-25 1999-03-05 Shimadzu Corp X線照射装置
JP2010284302A (ja) * 2009-06-11 2010-12-24 Toshiba Corp X線ct装置

Family Cites Families (17)

* Cited by examiner, † Cited by third party
Publication number Priority date Publication date Assignee Title
US3322233A (en) * 1964-12-03 1967-05-30 Porter Co H K Sound control product
US4881251A (en) 1986-07-31 1989-11-14 Kabushiki Kaisha Toshiba Computed tomograph apparatus
JPH08257008A (ja) 1995-03-23 1996-10-08 Hitachi Medical Corp 磁気共鳴イメージング装置およびその振動・騒音抑制方法
JP2003026453A (ja) * 2001-07-10 2003-01-29 Naoyoshi Kayama ペアガラス
JP2003290211A (ja) * 2002-03-29 2003-10-14 Ge Medical Systems Global Technology Co Llc X線診断システム及び装置
CN100457044C (zh) 2006-04-28 2009-02-04 上海西门子医疗器械有限公司 Ct设备的风冷散热方法及装置
US7465089B2 (en) * 2007-01-04 2008-12-16 Battle Ronald K Protective coverings for radiological equipment
JP5220374B2 (ja) * 2007-09-27 2013-06-26 ジーイー・メディカル・システムズ・グローバル・テクノロジー・カンパニー・エルエルシー X線ct装置
US20090141853A1 (en) * 2007-11-30 2009-06-04 Veronica Crews Protective shield for ct scanning machine
JP5117959B2 (ja) * 2008-08-18 2013-01-16 三菱樹脂株式会社 複層ガラス窓
CN101761732B (zh) * 2008-12-24 2013-05-08 同方威视技术股份有限公司 用于噪声源的隔音系统
JP2010227382A (ja) * 2009-03-27 2010-10-14 Toshiba Corp X線ct装置
JP2011098070A (ja) * 2009-11-06 2011-05-19 Asahi Keisoku:Kk 医療器械装置用バックグランドミュージック装置
JP2011254888A (ja) * 2010-06-07 2011-12-22 Toshiba Corp X線ct装置
GB2483266B (en) * 2010-09-01 2013-03-06 Echo Barrier Ltd Sound absorbent barrier
US8710842B2 (en) * 2011-03-07 2014-04-29 General Electric Company Apparatus and method to reduce noise in magnetic resonance imaging systems
US20130129104A1 (en) * 2011-11-17 2013-05-23 Ashutosh Joshi System and method for acoustic noise mitigation in a computed tomography scanner

Patent Citations (6)

* Cited by examiner, † Cited by third party
Publication number Priority date Publication date Assignee Title
JPS6338438A (ja) * 1986-07-31 1988-02-19 株式会社東芝 X線ct装置
JPH02124139A (ja) * 1988-11-01 1990-05-11 Toshiba Corp Mri用磁石装置の製造方法
JPH03162831A (ja) * 1989-11-22 1991-07-12 Hitachi Ltd 核磁気共鳴装置
JPH05124308A (ja) * 1991-11-06 1993-05-21 Brother Ind Ltd 圧電素子駆動型印字ヘツド
JPH1164599A (ja) * 1997-08-25 1999-03-05 Shimadzu Corp X線照射装置
JP2010284302A (ja) * 2009-06-11 2010-12-24 Toshiba Corp X線ct装置

Cited By (1)

* Cited by examiner, † Cited by third party
Publication number Priority date Publication date Assignee Title
CN104775726A (zh) * 2015-03-09 2015-07-15 江苏建筑职业技术学院 列管式消声隔声窗

Also Published As

Publication number Publication date
CN103796591B (zh) 2016-04-20
US20140169532A1 (en) 2014-06-19
JP2013198731A (ja) 2013-10-03
US9414793B2 (en) 2016-08-16
CN103796591A (zh) 2014-05-14
JP6188347B2 (ja) 2017-08-30

Similar Documents

Publication Publication Date Title
CN103813753B (zh) X射线ct装置
CA2579628C (en) Apparatus and method for multi-modal imaging
JP6116930B2 (ja) X線ct装置
US9254108B2 (en) Gantry with bore safety mechanism
US20090159805A1 (en) Apparatus and method for multi-modal imaging
JP6188347B2 (ja) X線ct装置
JP2016530912A (ja) 医用撮影システム用の放射窓
US20160183891A1 (en) Apparatus and method for multi-modal imaging
CN119279615B (zh) 用于医学成像系统的照明布置
JP5984248B2 (ja) X線ct用の架台装置
JP2013169393A (ja) X線ct装置
JP2010502981A (ja) 受容ボリュームのための適合させられた縁部を用いた光トモグラフィ測定
CN110247289A (zh) 一种便于调频的太赫兹调制器
JP2014069032A (ja) 被検体情報取得装置
Wu et al. High SNR emission method with virtual point source in ultrasound computed tomography
CN119498877A (zh) 一种x射线限束器和x射线成像系统
JP2018072219A (ja) 車両用夜間監視装置及び車両用外装部品
JP6951092B2 (ja) 放射線検出器、シンチレータアレイ、及びシンチレータアレイの製造方法
JP2018102925A (ja) X線コンピュータ断層撮影装置及び架台装置
CN113456090A (zh) 具有光源的医疗设备和用于在医疗设备处发出光信号的方法
JP2019122458A (ja) 計測装置

Legal Events

Date Code Title Description
WWE Wipo information: entry into national phase

Ref document number: 201380003062.1

Country of ref document: CN

121 Ep: the epo has been informed by wipo that ep was designated in this application

Ref document number: 13752057

Country of ref document: EP

Kind code of ref document: A1

WWE Wipo information: entry into national phase

Ref document number: 14235687

Country of ref document: US

NENP Non-entry into the national phase

Ref country code: DE

122 Ep: pct application non-entry in european phase

Ref document number: 13752057

Country of ref document: EP

Kind code of ref document: A1