WO2013118749A1 - 容器蓋用ポリエチレン系樹脂組成物及び容器蓋 - Google Patents

容器蓋用ポリエチレン系樹脂組成物及び容器蓋 Download PDF

Info

Publication number
WO2013118749A1
WO2013118749A1 PCT/JP2013/052682 JP2013052682W WO2013118749A1 WO 2013118749 A1 WO2013118749 A1 WO 2013118749A1 JP 2013052682 W JP2013052682 W JP 2013052682W WO 2013118749 A1 WO2013118749 A1 WO 2013118749A1
Authority
WO
WIPO (PCT)
Prior art keywords
polyethylene
resin composition
container lid
weight
polyethylene resin
Prior art date
Legal status (The legal status is an assumption and is not a legal conclusion. Google has not performed a legal analysis and makes no representation as to the accuracy of the status listed.)
Ceased
Application number
PCT/JP2013/052682
Other languages
English (en)
French (fr)
Japanese (ja)
Inventor
大輔 土本
博哉 山本
伊林 邦彦
圭一 吉本
Current Assignee (The listed assignees may be inaccurate. Google has not performed a legal analysis and makes no representation or warranty as to the accuracy of the list.)
Japan Polyethylene Corp
Original Assignee
Japan Polyethylene Corp
Priority date (The priority date is an assumption and is not a legal conclusion. Google has not performed a legal analysis and makes no representation as to the accuracy of the date listed.)
Filing date
Publication date
Application filed by Japan Polyethylene Corp filed Critical Japan Polyethylene Corp
Priority to US14/376,543 priority Critical patent/US20150045485A1/en
Priority to IN6585DEN2014 priority patent/IN2014DN06585A/en
Priority to CN201380008118.2A priority patent/CN104159964B/zh
Publication of WO2013118749A1 publication Critical patent/WO2013118749A1/ja
Anticipated expiration legal-status Critical
Ceased legal-status Critical Current

Links

Images

Classifications

    • CCHEMISTRY; METALLURGY
    • C08ORGANIC MACROMOLECULAR COMPOUNDS; THEIR PREPARATION OR CHEMICAL WORKING-UP; COMPOSITIONS BASED THEREON
    • C08LCOMPOSITIONS OF MACROMOLECULAR COMPOUNDS
    • C08L23/00Compositions of homopolymers or copolymers of unsaturated aliphatic hydrocarbons having only one carbon-to-carbon double bond; Compositions of derivatives of such polymers
    • C08L23/02Compositions of homopolymers or copolymers of unsaturated aliphatic hydrocarbons having only one carbon-to-carbon double bond; Compositions of derivatives of such polymers not modified by chemical after-treatment
    • C08L23/04Homopolymers or copolymers of ethene
    • C08L23/06Polyethene
    • BPERFORMING OPERATIONS; TRANSPORTING
    • B65CONVEYING; PACKING; STORING; HANDLING THIN OR FILAMENTARY MATERIAL
    • B65DCONTAINERS FOR STORAGE OR TRANSPORT OF ARTICLES OR MATERIALS, e.g. BAGS, BARRELS, BOTTLES, BOXES, CANS, CARTONS, CRATES, DRUMS, JARS, TANKS, HOPPERS, FORWARDING CONTAINERS; ACCESSORIES, CLOSURES, OR FITTINGS THEREFOR; PACKAGING ELEMENTS; PACKAGES
    • B65D41/00Caps, e.g. crown caps or crown seals, i.e. members having parts arranged for engagement with the external periphery of a neck or wall defining a pouring opening or discharge aperture; Protective cap-like covers for closure members, e.g. decorative covers of metal foil or paper
    • B65D41/32Caps or cap-like covers with lines of weakness, tearing-strips, tags, or like opening or removal devices, e.g. to facilitate formation of pouring openings
    • B65D41/34Threaded or like caps or cap-like covers provided with tamper elements formed in, or attached to, the closure skirt
    • BPERFORMING OPERATIONS; TRANSPORTING
    • B65CONVEYING; PACKING; STORING; HANDLING THIN OR FILAMENTARY MATERIAL
    • B65DCONTAINERS FOR STORAGE OR TRANSPORT OF ARTICLES OR MATERIALS, e.g. BAGS, BARRELS, BOTTLES, BOXES, CANS, CARTONS, CRATES, DRUMS, JARS, TANKS, HOPPERS, FORWARDING CONTAINERS; ACCESSORIES, CLOSURES, OR FITTINGS THEREFOR; PACKAGING ELEMENTS; PACKAGES
    • B65D41/00Caps, e.g. crown caps or crown seals, i.e. members having parts arranged for engagement with the external periphery of a neck or wall defining a pouring opening or discharge aperture; Protective cap-like covers for closure members, e.g. decorative covers of metal foil or paper
    • B65D41/32Caps or cap-like covers with lines of weakness, tearing-strips, tags, or like opening or removal devices, e.g. to facilitate formation of pouring openings
    • B65D41/34Threaded or like caps or cap-like covers provided with tamper elements formed in, or attached to, the closure skirt
    • B65D41/3442Threaded or like caps or cap-like covers provided with tamper elements formed in, or attached to, the closure skirt with rigid bead or projections formed on the tamper element and coacting with bead or projections on the container
    • B65D41/3447Threaded or like caps or cap-like covers provided with tamper elements formed in, or attached to, the closure skirt with rigid bead or projections formed on the tamper element and coacting with bead or projections on the container the tamper element being integrally connected to the closure by means of bridges
    • BPERFORMING OPERATIONS; TRANSPORTING
    • B65CONVEYING; PACKING; STORING; HANDLING THIN OR FILAMENTARY MATERIAL
    • B65DCONTAINERS FOR STORAGE OR TRANSPORT OF ARTICLES OR MATERIALS, e.g. BAGS, BARRELS, BOTTLES, BOXES, CANS, CARTONS, CRATES, DRUMS, JARS, TANKS, HOPPERS, FORWARDING CONTAINERS; ACCESSORIES, CLOSURES, OR FITTINGS THEREFOR; PACKAGING ELEMENTS; PACKAGES
    • B65D81/00Containers, packaging elements, or packages, for contents presenting particular transport or storage problems, or adapted to be used for non-packaging purposes after removal of contents
    • B65D81/24Adaptations for preventing deterioration or decay of contents; Applications to the container or packaging material of food preservatives, fungicides, pesticides or animal repellants
    • CCHEMISTRY; METALLURGY
    • C08ORGANIC MACROMOLECULAR COMPOUNDS; THEIR PREPARATION OR CHEMICAL WORKING-UP; COMPOSITIONS BASED THEREON
    • C08KUse of inorganic or non-macromolecular organic substances as compounding ingredients
    • C08K5/00Use of organic ingredients
    • C08K5/0008Organic ingredients according to more than one of the "one dot" groups of C08K5/01 - C08K5/59
    • C08K5/005Stabilisers against oxidation, heat, light, ozone
    • CCHEMISTRY; METALLURGY
    • C08ORGANIC MACROMOLECULAR COMPOUNDS; THEIR PREPARATION OR CHEMICAL WORKING-UP; COMPOSITIONS BASED THEREON
    • C08KUse of inorganic or non-macromolecular organic substances as compounding ingredients
    • C08K5/00Use of organic ingredients
    • C08K5/16Nitrogen-containing compounds
    • C08K5/34Heterocyclic compounds having nitrogen in the ring
    • CCHEMISTRY; METALLURGY
    • C08ORGANIC MACROMOLECULAR COMPOUNDS; THEIR PREPARATION OR CHEMICAL WORKING-UP; COMPOSITIONS BASED THEREON
    • C08KUse of inorganic or non-macromolecular organic substances as compounding ingredients
    • C08K5/00Use of organic ingredients
    • C08K5/49Phosphorus-containing compounds
    • CCHEMISTRY; METALLURGY
    • C08ORGANIC MACROMOLECULAR COMPOUNDS; THEIR PREPARATION OR CHEMICAL WORKING-UP; COMPOSITIONS BASED THEREON
    • C08KUse of inorganic or non-macromolecular organic substances as compounding ingredients
    • C08K5/00Use of organic ingredients
    • C08K5/49Phosphorus-containing compounds
    • C08K5/51Phosphorus bound to oxygen
    • C08K5/52Phosphorus bound to oxygen only
    • CCHEMISTRY; METALLURGY
    • C08ORGANIC MACROMOLECULAR COMPOUNDS; THEIR PREPARATION OR CHEMICAL WORKING-UP; COMPOSITIONS BASED THEREON
    • C08LCOMPOSITIONS OF MACROMOLECULAR COMPOUNDS
    • C08L23/00Compositions of homopolymers or copolymers of unsaturated aliphatic hydrocarbons having only one carbon-to-carbon double bond; Compositions of derivatives of such polymers
    • C08L23/02Compositions of homopolymers or copolymers of unsaturated aliphatic hydrocarbons having only one carbon-to-carbon double bond; Compositions of derivatives of such polymers not modified by chemical after-treatment
    • C08L23/04Homopolymers or copolymers of ethene
    • C08L23/08Copolymers of ethene
    • C08L23/0807Copolymers of ethene with unsaturated hydrocarbons only containing four or more carbon atoms
    • C08L23/0815Copolymers of ethene with unsaturated hydrocarbons only containing four or more carbon atoms with aliphatic 1-olefins containing one carbon-to-carbon double bond
    • CCHEMISTRY; METALLURGY
    • C08ORGANIC MACROMOLECULAR COMPOUNDS; THEIR PREPARATION OR CHEMICAL WORKING-UP; COMPOSITIONS BASED THEREON
    • C08KUse of inorganic or non-macromolecular organic substances as compounding ingredients
    • C08K5/00Use of organic ingredients
    • C08K5/16Nitrogen-containing compounds
    • C08K5/34Heterocyclic compounds having nitrogen in the ring
    • C08K5/3412Heterocyclic compounds having nitrogen in the ring having one nitrogen atom in the ring
    • C08K5/3432Six-membered rings
    • C08K5/3435Piperidines
    • CCHEMISTRY; METALLURGY
    • C08ORGANIC MACROMOLECULAR COMPOUNDS; THEIR PREPARATION OR CHEMICAL WORKING-UP; COMPOSITIONS BASED THEREON
    • C08KUse of inorganic or non-macromolecular organic substances as compounding ingredients
    • C08K5/00Use of organic ingredients
    • C08K5/16Nitrogen-containing compounds
    • C08K5/34Heterocyclic compounds having nitrogen in the ring
    • C08K5/3467Heterocyclic compounds having nitrogen in the ring having more than two nitrogen atoms in the ring
    • C08K5/3477Six-membered rings
    • C08K5/3492Triazines
    • C08K5/34926Triazines also containing heterocyclic groups other than triazine groups
    • CCHEMISTRY; METALLURGY
    • C08ORGANIC MACROMOLECULAR COMPOUNDS; THEIR PREPARATION OR CHEMICAL WORKING-UP; COMPOSITIONS BASED THEREON
    • C08LCOMPOSITIONS OF MACROMOLECULAR COMPOUNDS
    • C08L2201/00Properties
    • C08L2201/08Stabilised against heat, light or radiation or oxydation
    • CCHEMISTRY; METALLURGY
    • C08ORGANIC MACROMOLECULAR COMPOUNDS; THEIR PREPARATION OR CHEMICAL WORKING-UP; COMPOSITIONS BASED THEREON
    • C08LCOMPOSITIONS OF MACROMOLECULAR COMPOUNDS
    • C08L2205/00Polymer mixtures characterised by other features
    • C08L2205/02Polymer mixtures characterised by other features containing two or more polymers of the same C08L -group
    • CCHEMISTRY; METALLURGY
    • C08ORGANIC MACROMOLECULAR COMPOUNDS; THEIR PREPARATION OR CHEMICAL WORKING-UP; COMPOSITIONS BASED THEREON
    • C08LCOMPOSITIONS OF MACROMOLECULAR COMPOUNDS
    • C08L2205/00Polymer mixtures characterised by other features
    • C08L2205/02Polymer mixtures characterised by other features containing two or more polymers of the same C08L -group
    • C08L2205/025Polymer mixtures characterised by other features containing two or more polymers of the same C08L -group containing two or more polymers of the same hierarchy C08L, and differing only in parameters such as density, comonomer content, molecular weight, structure
    • CCHEMISTRY; METALLURGY
    • C08ORGANIC MACROMOLECULAR COMPOUNDS; THEIR PREPARATION OR CHEMICAL WORKING-UP; COMPOSITIONS BASED THEREON
    • C08LCOMPOSITIONS OF MACROMOLECULAR COMPOUNDS
    • C08L2205/00Polymer mixtures characterised by other features
    • C08L2205/03Polymer mixtures characterised by other features containing three or more polymers in a blend
    • CCHEMISTRY; METALLURGY
    • C08ORGANIC MACROMOLECULAR COMPOUNDS; THEIR PREPARATION OR CHEMICAL WORKING-UP; COMPOSITIONS BASED THEREON
    • C08LCOMPOSITIONS OF MACROMOLECULAR COMPOUNDS
    • C08L2207/00Properties characterising the ingredient of the composition
    • C08L2207/06Properties of polyethylene
    • C08L2207/062HDPE

Definitions

  • the present invention relates to a polyethylene-based resin composition for container lids and a container lid, and more particularly, a polyethylene-based resin composition used for molding a lid for a container containing a liquid such as a soft drink and a container lid to be obtained.
  • a polyethylene-based resin composition for a container lid and a container lid capable of wire sterilization.
  • a container made of polyethylene terephthalate (hereinafter sometimes referred to as a PET bottle) is used as a container for soft drinks, and a container lid made of polyolefin has recently been used as the container lid.
  • Patent Documents 1 to 3 For example, polyolefin-based materials as disclosed in Patent Documents 1 to 3 have been proposed.
  • the polyethylene composition described in Patent Document 1 has good stress crack resistance, it is insufficient in terms of high cycle moldability and high rigidity.
  • the polyethylene-type resin composition proposed by patent document 2 and patent document 3 it is further as a container for heating. High rigidity is desired, and a material that can be molded at a high speed is demanded. Therefore, the present applicant has proposed a polyethylene-based resin for container lids as disclosed in Patent Document 4.
  • a polyethylene-based resin for container lids as disclosed in Patent Document 4.
  • a technique for sterilizing the container is important.
  • sterilization is performed using a chemical exemplified by hydrogen peroxide.
  • a technique for sterilizing using an electron beam instead of using a drug has been studied. Since electron beam sterilization does not use a drug, it has been attracting attention because it eliminates the cost of the drug and eliminates the need to rinse the drug.
  • polyolefin-based materials when subjected to electron beam sterilization, tend to cause molecular chain scission or oxidation reaction of the polyolefin molecule by electron beam, and degradation and degradation progress, and mechanical properties such as elongation and impact resistance.
  • various stabilizers and modifiers generally added for the purpose of preventing oxidation or the like are deteriorated to cause discoloration or odor.
  • Patent Documents 5 to 11 disclose resin compositions in which hindered amine compounds are blended with polyolefin resins.
  • Patent Document 12 discloses a polymer composition for a bottle screw cap containing at least one stabilizer selected from a neutralizer, a short-term antioxidant, a long-term antioxidant, and a UV stabilizer. Has been. However, the balance of fluidity, rigidity, and long-term performance of the polymer composition is not sufficient, and various performances as a container lid are not fully satisfied.
  • polyethylene for container lids is resistant to discoloration, odors, etc. without degradation or deterioration even when irradiated with an electron beam when the lid is attached to the container, without reducing mechanical properties such as elongation and impact resistance.
  • a resin-based resin composition is not known, and further improvement has been demanded.
  • the object of the present invention is excellent in formability, high fluidity, balance between rigidity and impact resistance, stress crack resistance, slipperiness, hardly stretched at high temperatures, Polyethylene resin that is not discolored due to oxidative deterioration, has low odor due to low volatility, and is excellent in high-speed moldability, and is used in beverage containers such as PET bottles that can be sterilized by radiation such as electron beams.
  • the object is to provide a suitable material for the container lid.
  • Another object of the present invention is to provide a container lid that does not decompose or deteriorate even when irradiated with an electron beam, does not deteriorate mechanical properties such as elongation and impact resistance, and is unlikely to cause discoloration or odor. is there.
  • the present inventors are a polyethylene-based resin composition for container lids having performance such as moldability, high fluidity, rigidity, stress crack resistance, and the like, which is irradiated with an electron beam.
  • performance such as moldability, high fluidity, rigidity, stress crack resistance, and the like
  • it is specified for polyethylene resin. It was found that a polyethylene resin for container lids satisfying all these performances can be obtained by blending an amount of a hindered amine compound to obtain a specific resin property, and the present invention has been completed.
  • a hindered amine compound is contained with respect to 100 parts by weight of a polyethylene resin, and the following properties (a) to (f) are obtained.
  • a polyethylene-based resin composition for container lids is provided.
  • HLMFR HLMFR
  • HLMFR / MFR HLMFR / MFR
  • Density is 0.956 to 0.980 g / cm 3
  • the bending elastic modulus of the injection molded sample is 990 to 2000 MPa.
  • the constant strain ESCR of the injection molded sample is 10 to 400 hours.
  • the tensile fracture elongation is 190% or less.
  • the melt viscosity at a shear rate of 200 sec ⁇ 1 at 200 ° C. measured by a capillary rheometer is 470 Pa ⁇ s or less.
  • the polyethylene resin composition further has properties of the following requirements (g) to (i):
  • a polyethylene-based resin composition is provided.
  • Hydrocarbon volatile content is 100 ppm or less
  • Static friction coefficient is 0.40 or less
  • ⁇ YI amount of change
  • YI value amount of change in the subsequent chromaticity
  • a polyethylene resin composition for container lids characterized in that, in the first or second invention, the hindered amine compound has a molecular weight of 500 or more. .
  • a polyethylene-based resin composition for container lids is provided.
  • the phosphorous compound is further contained in an amount of 0.01 to 0.50 parts by weight with respect to 100 parts by weight of the polyethylene resin.
  • a polyethylene-based resin composition for container lids is provided.
  • the hindered amine compound is poly [ ⁇ 6- (1,1,3,3-tetramethylbutyl) amino-1,3,5- Triazine-2,4-diyl ⁇ ⁇ (2,2,6,6-tetramethyl-4-piperidyl) imino ⁇ hexamethylene ⁇ (2,2,6,6-tetramethyl-4-piperidyl) imino ⁇ ]
  • Polyethylene condensate for container lids characterized in that it is a polycondensate and / or dimethyl-1- (2-hydroxyethyl) -4-hydroxy-2,2,6,6-tetramethylpiperidine polycondensate
  • a composition is provided.
  • the seventh invention of the present invention there is provided a container lid molded using the polyethylene resin composition of any one of the first to sixth inventions.
  • the polyethylene-based resin composition for container lids of the present invention is blended with a specific amount of hindered amine compound and made into a specific resin property with respect to the polyethylene-based resin, it has moldability, high fluidity, rigidity and impact resistance. Balance, stress crack resistance, slipperiness, low odor, and food safety, and it is difficult to stretch even at high temperatures.
  • this composition contains a hindered amine compound, it does not decompose or deteriorate even when irradiated with an electron beam, does not deteriorate mechanical properties such as elongation and impact resistance, and has discoloration and odor.
  • this composition is excellent in high-speed moldability and has a small amount of hydrocarbon volatile components that give off an odor to the contents, a material suitable for a container lid and a container lid can be provided.
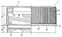
  • FIG. 1 is a container lid formed using the polyethylene-based resin composition for container lids of the present invention, and is a front view showing a part thereof in cross section.
  • Polyethylene resin composition for container lid Polyethylene resin
  • the polyethylene resin in the present invention is obtained by mainly polymerizing ethylene using various known catalysts such as a Ziegler catalyst, a Phillips catalyst, and a metallocene catalyst.
  • This polyethylene resin is, for example, generally a polyethylene resin is a transition metal compound such as titanium or zirconium, a Ziegler catalyst composed of a magnesium compound, a Philips catalyst typified by a chromium oxide catalyst, and zirconium, hafnium, titanium. It is obtained by polymerizing a transition metal compound such as a metallocene catalyst having at least one cyclopentadienyl group or substituted cyclopentadienyl group as a polymerization catalyst.
  • ethylene is polymerized alone, or one or more comonomers selected from ethylene and an ⁇ -olefin having 3 to 18 carbon atoms are copolymerized so that the MFR, density, and the like are within a predetermined range.
  • Representative examples of the ⁇ -olefin to be copolymerized include propylene, 1-butene, 1-hexene, 1-octene, 4-methyl-1-pentene and the like.
  • these ethylene homopolymers or ethylene / ⁇ -olefin copolymers can be used alone or in an appropriate mixture.
  • the polyethylene resin composition for container lids of the present invention is a hindered amine compound in order to suppress deterioration due to electron beam irradiation, deterioration of mechanical properties such as impact resistance, discoloration and generation of odor. Containing.
  • the content of the hindered amine compound is 0.01 to 0.50 parts by weight with respect to 100 parts by weight of the polyethylene resin.
  • the content is preferably 0.02 to 0.30 parts by weight, and more preferably 0.03 to 0.15 parts by weight.
  • the amount of the hindered amine compound is less than 0.01 parts by weight, the polyethylene resin is deteriorated by electron beam irradiation, mechanical properties such as impact resistance are lowered, and there is a possibility that discoloration and odor are generated. On the other hand, if it exceeds 0.50 parts by weight, these may bleed on the surface of the molded article, resulting in poor appearance.
  • the hindered amine compound is not particularly limited as long as the object of the present invention can be achieved, and one or a plurality of hindered amine compounds can be used in combination from known and common ones in the art.
  • the hindered amine compound is an amine compound having a sterically constrained structure, and there is also a hindered amine light stabilizer (hereinafter sometimes referred to as HALS).
  • HALS hindered amine light stabilizer
  • HALS hindered amine light stabilizer
  • hindered amine light stabilizers poly [ ⁇ 6- (1,1,3,3-tetramethylbutyl) amino-1,3,5-triazine-2,4-diyl) ⁇ ⁇ (2,2,6,6-tetramethyl-4-piperidyl) imino ⁇ hexamethylene ⁇ (2,2,6,6-tetramethyl-4-piperidyl) imino ⁇ ] polycondensate (Cimasorb 944, manufactured by BASF) CAS No. 71878-19-8, molecular weight 2000-3100), dimethyl succinate-1- (2-hydroxyethyl) -4-hydroxy-2,2,6,6-tetramethylpiperidine polycondensate (Tinvin 622, manufactured by BASF) CAS No. 65447-77-0, molecular weight 3100 to 4000).
  • These hindered amine compounds may be used alone or in combination of two or more.
  • those having a molecular weight of 500 or more and 5000 or less are preferable in that they have good compatibility and are excellent in effects such as bleed on the surface of the molded article and do not cause poor appearance.
  • the molecular weight is more preferably 1000 or more and 5000 or less, and particularly preferably 1500 or more and 5000 or less. If the molecular weight is less than 500, the surface of the molded product may bleed and the appearance may be poor. If the molecular weight exceeds 5000, the melt viscosity of the composition may not satisfy the conditions of the present invention.
  • polycondensates of dimethyl succinate with 1- (2-hydroxyethyl) -4-hydroxy-2,2,6,6-tetramethylpiperidine poly [[6- (1,1,3 , 3-tetramethylbutyl) imino-1,3,5-triazine-2,4-diyl] [(2,2,6,6-tetramethyl-4-4piperidyl) imino] hexamethylene [(2,2 , 6,6-tetramethyl-4-piperidyl) imino]]
  • the polyethylene resin composition for container lids of the present invention may contain a phosphorus compound in order to suppress deterioration of mechanical properties such as impact resistance, discoloration and generation of odor. it can.
  • the content of the phosphorus compound can be 0 to 0.50 parts by weight with respect to 100 parts by weight of the polyethylene resin, preferably 0.01 to 0.30 parts by weight, and 0.03 to 0. 10 parts by weight is more preferable.
  • the phosphorus compound is contained in an amount of 0.01 part by weight or more, it is possible to suppress deterioration of mechanical properties such as impact resistance, discoloration and generation of odor. On the other hand, if it exceeds 0.50 parts by weight, these may bleed on the surface of the molded article, resulting in poor appearance.
  • the phosphorus compound is a compound containing a phosphorus element in the molecule and is preferably used as an antioxidant, for example, a phosphite organic compound (an organic compound having a phosphite structure in the molecule). ), Phosphonite organic compounds.
  • Triphenyl phosphite Tris (2,4-di-tert-butylphenyl) phosphite, Tris (2,5-di-tert-butylphenyl) phosphite, Tris (nonylphenyl) phosphite, Tris (dinonylphenyl) phosphite, Tris (mono, dimixed nonylphenyl) phosphite, Diphenyl acid phosphite, 2,2′-methylenebis (4,6-di-t-butylphenyl) octyl phosphite, Diphenyldecyl phosphite, Diphenyloctyl phosphite, Di (nonylphenyl) pentaerythritol diphosphite, Phenyl diisodecyl phosphite, Tributyl phosphit
  • the polyethylene-based resin composition for container lids of the present invention can contain a phenolic antioxidant as long as the object of the present invention is not impaired.
  • the content of the phenolic antioxidant is preferably 0.2 parts by weight or less, preferably 0.1 parts by weight or less with respect to 100 parts by weight of the polyethylene resin.
  • a lower limit is not specifically limited, It is also possible not to add from a coloring viewpoint. When this is added, the antioxidant effect may be improved. On the other hand, when the above upper limit is exceeded, it is not preferable because it is not economical and tends to cause discoloration, bleeding, and the like.
  • the phenolic antioxidant contained in the polyethylene resin composition can be measured using fluorescent X-ray analysis, gas chromatography, or liquid chromatography.
  • phenolic antioxidants include organic compounds having a phenolic structure in the molecule. 2,6-di-t-butyl-4-hydroxytoluene, Tris- (3,5-di-tert-butyl-4-hydroxybenzyl) -isocyanurate, 1,1,3-tris (2-methyl-4-hydroxy-5-tert-butylphenyl) butane, Octadecyl-3- (3,5-di-tert-butyl-4-hydroxyphenyl) propionate, Pentaerythrityl-tetrakis [3- (3,5-di-tert-butyl-4-hydroxyphenyl) propionate], 1,3,5-trimethyl-2,4,6-tris (3,5-di-tert-butyl-4-hydroxybenzyl) benzene, 3,9-bis [2- [3- (3-tert-butyl-4-hydroxy-5-methylphenyl) propionyloxy] -1,1-dimethylethoxy
  • phenolic antioxidants tetrakis- [methylene (3,5-di-tert-butyl-4-hydroxyhydro-cinnamate)] methane (IRGANOX1010), n-octadecyl-3- (3 ', 5'-di-tert-butyl-4'-hydroxyphenyl) propionate (IRGANOX1076).
  • a sulfur type antioxidant can be mix
  • the sulfur-based antioxidant that can be blended is suitably 0.2 parts by weight or less, preferably 0.1 parts by weight or less, based on 100 parts by weight of the polyethylene resin.
  • a lower limit is not specifically limited, It is also possible not to add from a coloring viewpoint. If this is not added, the antioxidant effect may be insufficient. On the other hand, if the upper limit is exceeded, discoloration, bleeding and the like tend to occur.
  • the sulfur-based antioxidant contained in the polyethylene resin composition can be measured using fluorescent X-ray analysis, gas chromatography, and liquid chromatography.
  • sulfur-based antioxidant examples include compounds containing a sulfur element in the molecule. Specifically, Di-lauryl-3,3′-thio-di-propionate, Di-myristyl-3,3'-thio-di-propionate, Di-stearyl-3,3′-thio-di-propionate, And pentaerythrityl-tetrakis (3-lauryl-thiopropionate).
  • additives such as talc and mica can be added to the polyethylene resin of the present invention in an appropriate amount.
  • additives include antioxidants, lubricants, antistatic agents, light stabilizers, ultraviolet absorbers, colorants, pigments and dyes other than those described above. These additives can be used singly or in combination of two or more, but basically, as long as the requirements of the present invention are satisfied, various additives other than the hindered amine compounds and antioxidants are not used. Is preferred.
  • the polyethylene resin composition for container lids of the present invention contains 0.01 to 0.50 parts by weight of a hindered amine compound per 100 parts by weight of polyethylene resin. It has the following properties (a) to (f).
  • the polyethylene-based resin composition for container lids of the present invention has a melt flow rate (MFR) at a temperature of 190 ° C. and a load of 2.16 kg of 0.5 to 10 g / 10 minutes, preferably 0.7 to 6 g / 10 minutes. More preferably, it is in the range of 0.8 to 3.5 g / 10 minutes.
  • the melt flow rate (HLMFR) at a temperature of 190 ° C. and a load of 21.6 kg is 100 to 500 g / 10 minutes, preferably 110 to 450 g / 10 minutes, more preferably 120 to 320 g / 10 minutes, and HLMFR / MFR is 50.
  • the range is from -200, preferably from 55 to 150, more preferably from 60 to 110.
  • the high-speed moldability is inferior even if the MFR is in the range of 0.5 to 10 g / 10 min.
  • the MFR exceeds 10 g / 10 min, the stress crack resistance is inferior even if the HLMFR is 100 to 500 g / 10 min.
  • the MFR is less than 0.5 g / 10 min, it is difficult to achieve the HLMFR of 100 to 500 g / 10 min. As a result, the high-speed moldability is naturally inferior. If HLMFR / MFR is less than 50, the stress crack resistance deteriorates.
  • HLMFR / MFR is greater than 200, the die swell becomes too large, resulting in a loss of formability.
  • the polyethylene resin composition of the present invention has a density of 0.956 to 0.980 g / cm 3 .
  • the density is set to 0.956 g / cm 3 or more, it is possible to obtain excellent lubricity, to have a high level of rigidity, and to make the container lid difficult to deform even at high temperatures.
  • a material whose density does not reach 0.956 g / cm 3 is not preferable because it is inferior in lubricity and rigidity and the container lid is easily deformed.
  • the upper limit of the density is usually about 0.980 g / cm 3 .
  • the polyethylene resin composition of the present invention has a flexural modulus of 990 to 2000 MPa of an injection molded sample. More preferably, the flexural modulus is 1050 MPa or more and 2000 MPa or less, more preferably 1100 MPa or more and 2000 MPa or less. Those whose bending elastic modulus does not reach 990 MPa are inferior in rigidity, and the container lid tends to be deformed particularly at high temperatures.
  • the upper limit of the flexural modulus is usually about 2000 MPa for polyethylene.
  • the flexural modulus is measured according to JIS-K6922-2: 1997 by preparing a test piece of 4 ⁇ 10 ⁇ 80 mm at 210 ° C. by injection molding.
  • the constant strain ESCR of the injection molded sample is 10 to 400 hours, preferably 20 to 40 hours, more preferably 30 to 400 hours, from the balance of physical properties and the required performance of the container lid. This is stress crack resistance under a constant strain, and specifically, according to JIS-K6922-2: 1997.
  • a sample cut out from a plate having a size of 120 ⁇ 120 ⁇ 2 mm which is injection-molded at 190 ° C. is used.
  • the constant strain ESCR is less than 10 hours, the container lid is easily broken by the stress, which causes liquid leakage of the contents.
  • it exceeds 400 hours although it has good stress crack resistance, it is difficult to achieve both high rigidity and fluidity suitable for forming a container lid.
  • the polyethylene resin composition of the present invention has a tensile breaking elongation of 190% or less.
  • the tensile elongation at break is measured according to JIS-K7113: 1995 (No. 2 type test piece). If the tensile elongation at break exceeds 190%, the bridging portion of the container lid is difficult to cut, so the suitability as a container lid is reduced.
  • the tensile fracture elongation is preferably 100% or less, and more preferably 80% or less. Further, the lower limit value of the tensile elongation at break is not particularly defined, but is preferably 5% or more for suitability as a container lid.
  • the polyethylene resin composition of the present invention needs to have a melt viscosity of 470 Pa ⁇ s or less at a shear rate of 200 sec ⁇ 1 at 200 ° C. measured by a capillary rheometer.
  • the melt viscosity is more preferably 400 Pa ⁇ s or less, and still more preferably 350 Pa ⁇ s or less.
  • the lower limit of the melt viscosity is not particularly limited, but is usually preferably 50 Pa ⁇ s or more from the balance of moldability, physical property balance, and cap required performance.
  • the polyethylene-based resin composition for container lids of the present invention may have any of the above properties (a) to (f), but preferably has the following properties (g) to (i).
  • the polyethylene resin composition of the present invention preferably has a hydrocarbon volatile content of 100 ppm or less.
  • the hydrocarbon referred to in the present invention refers to a compound containing at least carbon and hydrogen, and is usually measured by gas chromatography. By satisfying this requirement, a substance causing a strange odor from the container lid to the container contents. Can be prevented.
  • 1 g of the polyethylene-based resin composition is put in a 25 ml glass sealed container, and the volatile content of the air in the head space when heated at 130 ° C. for 60 minutes is measured by gas chromatography.
  • the hydrocarbon volatile content is 100 ppm or less, preferably 70 ppm or less, more preferably 50 ppm or less in terms of n-hexane, and if it exceeds 100 ppm, an off-flavor may be generated.
  • the hydrocarbon volatile content is preferably close to zero, and the lower limit is not particularly defined.
  • the polymerized polyethylene resin in order to reduce the hydrocarbon volatile content to a predetermined value or less, the polymerized polyethylene resin is subjected to a volatile content removal operation such as steam stripping treatment, vacuum treatment, nitrogen purge treatment, hot air deodorization, etc. Can be achieved.
  • the polyethylene resin composition of the present invention preferably has a static friction coefficient of 0.40 or less. More preferably, it is 0.30 or less, More preferably, it is 0.25 or less.
  • the static friction coefficient referred to in the present invention is measured according to JIS-K-7125: 1999.
  • the lower limit value of the static friction coefficient is not particularly specified, but is usually 0.1 or more.
  • the polyethylene resin composition of the present invention irradiates a sheet test piece having a thickness of 2 mm with an electron beam under the condition of an absorbed dose of 30 kGy, and the amount of change ( ⁇ YI) in chromaticity (YI value) after irradiation is before irradiation. Is preferably 2 or less.
  • the YI value is measured according to JIS-K7105: 1981. When ⁇ YI exceeds 2, an odor is generated, moldability is likely to deteriorate, and the appearance as a container lid may be deteriorated.
  • ⁇ YI is preferably ⁇ 2 or more from the viewpoint of appearance change as a container lid, and is usually 0 or more in many cases. Therefore, ⁇ YI is preferably ⁇ 2 to 1.9.
  • an odor can be sensory-measured about the odor after 3 hours of electron beam irradiation to a 2 mm-thick sheet test piece on the conditions of irradiation dose of 30 kGy. Of course, those having no odor are preferred.
  • the amount of change ( ⁇ YI) can be significantly improved by blending a hindered amine compound.
  • the stress crack resistance is improved, and when it is 45% by weight or less, the moldability is improved.
  • the component (A) is less than 10% by weight, the stress crack resistance may be deteriorated, and when it exceeds 45% by weight, the moldability may be deteriorated.
  • the ethylene polymer of the component (A) has an HLMFR of 0.1 to 10 g / 10 min and a density of 0.926 to 0.955 g / cm 3
  • the ethylene polymer of the component (B) has an MFR of 25 g. / 10 min or more, and the density is 0.961 to 0.980 g / cm 3 .
  • the HLMFR of the ethylene polymer of the component (A) is preferably 1 to 10 g / 10 minutes, and if it is less than 0.1 g / 10 minutes, the fluidity may deteriorate and the moldability may become poor. If it exceeds / 10 minutes, the stress crack resistance may deteriorate.
  • the rigidity may be insufficient.
  • the density of the ethylene-based polymer of component (A) exceeds 0.955 g / cm 3 , durability may be reduced.
  • the upper limit of the MFR of the ethylene polymer of component (B) is not particularly limited, but is usually 500 g / 10 minutes.
  • the upper limit of MFR in (B) is not particularly limited.
  • the upper limit of the density of the component (B) is not particularly limited, but is usually about 0.980 g / cm 3 .
  • the polyethylene resin of the present invention may be polymerized directly with the above properties, but the ethylene polymers of component (A) and component (B) are polymerized continuously or separately, respectively. It can also be blended. For reasons such as ease of polymerization operation and ease of ensuring composition homogeneity, it is preferable to use a polymer obtained by successively polymerizing in a plurality of polymerization reactors connected in series, for example, two polymerization reactors. is there. In any case, various catalysts such as single-site catalysts such as the Ziegler catalyst, the Phillips catalyst, and the metallocene catalyst can be used as the polymerization catalyst.
  • the polymerization can be carried out in an organic solvent, in a liquid monomer or in the gas phase.
  • ethylene or further ⁇ -olefin is added in the first stage and copolymerized, and in the first stage, the high molecular weight is obtained.
  • the amount of ethylene-based polymer produced in the second and subsequent polymerization zones and their properties are determined by determining the amount of polymer produced in each stage (which can be determined by analysis of unreacted gas, etc.)
  • the physical properties of the coalescence can be determined by measuring the physical properties of the polymer extracted after each stage and converting from the additivity of the physical properties.
  • the polyethylene resin composition of the present invention is produced using a polyethylene polymerization catalyst as described above, a metal soap or the like, for example, calcium stearate, may be used as a residue deactivator of the polyethylene polymerization catalyst.
  • a metal soap or the like for example, calcium stearate
  • the inclusion of the residue quencher does not adversely affect the properties of the polyethylene resin composition.
  • Container lid The polyethylene-based resin composition according to the present invention is suitable as a material for containers such as PET bottles, and in particular, container lids for warm drinks sold by heating.
  • the method for molding the container lid using the resin composition of the present invention is not particularly limited, but a molding method such as injection molding or compression molding is preferably used.
  • the container lid of the present invention has a shape and structure as shown in FIG.
  • the container lid 2 includes a circular top wall 4 and a cylindrical skirt wall 6 that hangs down from the periphery of the top wall 4, and a cylindrical inner seal piece that hangs down on the outer peripheral edge of the inner surface of the top wall 4. 8 and similarly, a cylindrical outer seal piece 10 that hangs downward is formed. Further, a relatively small annular protrusion 9 is formed between the inner seal piece 8 and the outer seal piece 10.
  • the skirt wall 6 has a relatively thick thick upper portion 12 and a relatively thin thin thin portion 14.
  • a rupture line 16 extending in the circumferential direction is formed at the upper end of the thin lower portion 14, and the skirt wall 6 is divided into a main portion 18 above the rupture line 16 and a tamper evidence skirt 20 below the rupture line 16.
  • the breaking line 16 includes a plurality of slits (cut grooves) 22 extending in the circumferential direction at intervals in the circumferential direction and a plurality of bridges 24 remaining between the slits 22.
  • the evidence skirt 20 is connected to the main portion 18 via a plurality of bridges 24.
  • a non-slip knurl 26 is formed which is formed of uneven shapes alternately present in the circumferential direction.
  • Three female threads 28 are formed on the inner peripheral surface of the main portion 18 of the skirt wall 6. The three female threads 28 are disposed at an angular interval of 120 degrees, and each of the three female threads 28 extends over an angle range of approximately 160 degrees.
  • Locking means 30 is disposed on the inner peripheral surface of the tamper evidence skirt 20. In the embodiment of the present invention, the locking means 30 is formed of five protrusions 32 that are arranged at intervals in the circumferential direction and extend in the circumferential direction.
  • each main portion (portion excluding both end portions) of the protrusion 32 is a substantially right triangle shape, and has an upper surface extending slightly downward in the radial direction. Since the container lid of the present invention uses the resin composition as described above, it sufficiently satisfies the performance of high rigidity, excellent openability, and low hydrocarbon volatile content that gives a strange odor to the contents. To do.
  • MFR MFR was measured according to JIS-K6922-2: 1997.
  • the melt flow rate (MFR) was measured at a temperature of 190 ° C. and a load of 2.16 kg, and the melt flow rate (HLMFR) was measured at a temperature of 190 ° C. and a load of 21.6 kg.
  • Density The density was measured in accordance with JIS-K6922-1, 2: 1997.
  • Bending elastic modulus The bending elastic modulus was measured according to JIS-K6922-2: 1997 by preparing a 4 ⁇ 10 ⁇ 80 mm test piece at 210 ° C. by injection molding.
  • Constant strain ESCR The constant strain ESCR was measured according to JIS-K6922-2: 1997 by preparing a test piece of 4 ⁇ 10 ⁇ 80 mm at 210 ° C. by injection molding.
  • Tensile fracture elongation The tensile fracture elongation was measured according to JIS-K7113: 1995 (No. 2 type test piece).
  • Hydrocarbon volatiles For hydrocarbon volatiles, 1 g of polyethylene resin composition is placed in a 25 ml glass sealed container and the volatile content is measured by gas chromatography using air in the head space when heated at 130 ° C. for 60 minutes. And converted to the amount of n-hexane.
  • Static friction coefficient The static friction coefficient was determined in accordance with JIS-K-7125: 1999.
  • Change amount ( ⁇ YI) of chromaticity (YI value) after electron beam irradiation This physical property is obtained by irradiating a 2 mm-thick sheet test piece with an electron beam under the condition of an absorbed dose of 30 kGy, The amount of change ( ⁇ YI) in (YI value) was measured.
  • Odor after electron beam irradiation This physical property was sensory measured for a odor after 3 hours of electron beam irradiation on a 2 mm thick sheet test piece under the condition of an irradiation dose of 30 kGy. “O” indicates no odor and “X” indicates a strong odor.
  • Formability The formability was evaluated by compressing and molding the material at a high speed to form the container lid normally.
  • the container lid was integrally formed with a bridge for imparting tamper evidence having the same shape as the commercially available container lid (outer diameter: about 3 cm, height: about 2 cm).
  • a sample that was able to be molded well without problems was rated as “ ⁇ ”.
  • Container lid shape retentivity The container lid shape retentivity was such that the container lid was not deformed after standing for 40 hours in a temperature-controlled room temperature of 23 ° C. and a humidity of 50%. An object was marked with ⁇ , and an object with a clearly deformed container lid was marked with ⁇ .
  • Container lid bridge breakability First, water is put into a 500 ml PET bottle, the resulting container lid (with a bridge structure) is closed, and then the cap is screwed in a state heated to 65 ° C. Was opened manually, and the cutting condition of the bridge at the time of opening was observed. The container lid bridge breakability was evaluated by the quality of this cutting situation.
  • Example 1 Using a Ziegler catalyst and ethylene as a monomer and 1-butene as a comonomer, the component (A) shown in Table 1 was polymerized in a continuous two-stage polymerization apparatus by a slurry polymerization method, and then the component (B) was polymerized to obtain polyethylene. .
  • the blending ratio, MFR and HLMFR of the resin are shown together with each measured value. That is, in the first stage polymerization, ethylene and 1-butene were supplied as monomers, and in the second stage polymerization, ethylene was supplied to produce polyethylene and subjected to steam stripping treatment. The amount (compounding ratio) of the component (B) produced in the second stage, its physical properties, etc.
  • Example 1 has good bending elastic modulus, stress crack resistance (constant strain ESCR), moldability (melt viscosity), volatile matter, and container lid bridge breakability, and is resistant to electron beams. Was also good.
  • Example 2 As shown in Table 1, the same procedure as in Example 1 was performed except that the amount of the hindered amine compound was increased. As shown in Table 1, the obtained polyethylene-based resin composition has all of flexural modulus, stress crack resistance (constant strain ESCR), moldability (melt viscosity), volatile matter, and container lid bridge breakability. It was good and the electron beam resistance was also good. The amount of change ( ⁇ YI) in chromaticity (YI value) after irradiation with respect to that before irradiation is improved with respect to Example 1, particularly when irradiated with an electron beam.
  • ⁇ YI stress crack resistance
  • YI value chromaticity
  • Example 3 As shown in Table 1, the same procedure as in Example 1 was carried out except that the amount of the hindered amine compound was increased and no phosphorus compound was used. As shown in Table 1, the obtained polyethylene-based resin composition has all of flexural modulus, stress crack resistance (constant strain ESCR), moldability (melt viscosity), volatile matter, and container lid bridge breakability. It was good and the electron beam resistance was also good.
  • Example 4 As shown in Table 1, the same procedure as in Example 3 was performed except that the amount of the hindered amine compound was increased. As shown in Table 1, the obtained polyethylene-based resin composition has all of flexural modulus, stress crack resistance (constant strain ESCR), moldability (melt viscosity), volatile matter, and container lid bridge breakability. It was good and the electron beam resistance was also good. Compared to Example 3, especially when the electron beam was irradiated, the amount of change ( ⁇ YI) in chromaticity (YI value) after irradiation with respect to before irradiation was improved.
  • ⁇ YI stress crack resistance
  • YI value chromaticity
  • Example 5 As shown in Table 1, the procedure was performed in the same manner as in Example 1 except that the types and ratios of the component (A) and the component (B) were changed and no phosphorus compound was used. As shown in Table 1, the obtained polyethylene-based resin composition has all of flexural modulus, stress crack resistance (constant strain ESCR), moldability (melt viscosity), volatile matter, and container lid bridge breakability. It was good and the electron beam resistance was also good.
  • Example 6 As shown in Table 1, it carried out like Example 5 except having changed the quantity of the hindered amine compound. As shown in Table 1, the obtained polyethylene-based resin composition has all of flexural modulus, stress crack resistance (constant strain ESCR), moldability (melt viscosity), volatile matter, and container lid bridge breakability. It was good and the electron beam resistance was also good.
  • Example 7 As shown in Table 1, it carried out like Example 5 except having changed the quantity of the hindered amine compound. As shown in Table 1, the obtained polyethylene-based resin composition has all of flexural modulus, stress crack resistance (constant strain ESCR), moldability (melt viscosity), volatile matter, and container lid bridge breakability. It was good and the electron beam resistance was also good.
  • Example 8 As shown in Table 1, it carried out like Example 5 except having changed the quantity of the hindered amine compound. As shown in Table 1, the obtained polyethylene-based resin composition has all of flexural modulus, stress crack resistance (constant strain ESCR), moldability (melt viscosity), volatile matter, and container lid bridge breakability. It was good and the electron beam resistance was also good. Compared with Example 5, especially when the electron beam was irradiated, the amount of change ( ⁇ YI) in chromaticity (YI value) after irradiation with respect to before irradiation was greatly improved.
  • Example 9 As shown in Table 1, the types and ratios of the component (A) and the component (B), and the hindered amine compound were changed to dimethyl-1- (2-hydroxyethyl) -4-hydroxy-2,2,6,6 succinate. -Performed in the same manner as in Example 1 except that it was replaced by tetramethylpiperidine polycondensate (Tinvin 622, CAS No. 65447-77-0, molecular weight 3100 to 4000, manufactured by BASF). As shown in Table 1, the obtained polyethylene-based resin composition has all of flexural modulus, stress crack resistance (constant strain ESCR), moldability (melt viscosity), volatile matter, and container lid bridge breakability. It was good and the electron beam resistance was also good.
  • Example 10 As shown in Table 1, the procedure was the same as Example 9 except that the amount of the hindered amine compound was changed and no phosphorus compound was used. As shown in Table 1, the obtained polyethylene-based resin composition has all of flexural modulus, stress crack resistance (constant strain ESCR), moldability (melt viscosity), volatile matter, and container lid bridge breakability. It was good and the electron beam resistance was also good.
  • Example 11 As shown in Table 1, the procedure was the same as Example 9 except that the amount of the hindered amine compound was changed and no phosphorus compound was used. As shown in Table 1, the obtained polyethylene-based resin composition has all of flexural modulus, stress crack resistance (constant strain ESCR), moldability (melt viscosity), volatile matter, and container lid bridge breakability. It was good and the electron beam resistance was also good.
  • Example 12 As shown in Table 1, it carried out like Example 11 except having changed the kind and ratio of a component (A) and a component (B). As shown in Table 1, the obtained polyethylene-based resin composition has all of flexural modulus, stress crack resistance (constant strain ESCR), moldability (melt viscosity), volatile matter, and container lid bridge breakability. It was good and the electron beam resistance was also good.
  • Example 13 As shown in Table 1, the same procedure as in Example 12 was performed except that the type of component (B) was changed. As shown in Table 1, the obtained polyethylene-based resin composition has all of flexural modulus, stress crack resistance (constant strain ESCR), moldability (melt viscosity), volatile matter, and container lid bridge breakability. It was good and the electron beam resistance was also good.
  • Example 14 As shown in Table 1, it carried out like Example 6 except having changed the kind and ratio of a component (A) and a component (B). As shown in Table 1, the obtained polyethylene-based resin composition has all of flexural modulus, stress crack resistance (constant strain ESCR), moldability (melt viscosity), volatile matter, and container lid bridge breakability. It was good and the electron beam resistance was also good.
  • Example 1 The test was carried out in the same manner as in Example 1 using a polyethylene resin having a small HLMFR / MFR composed of only the component (B) and a large tensile elongation. As a result, as shown in Table 2, the electron beam resistance was good, but the stress crack resistance and fluidity, and the container lid bridge breakability were poor.
  • Example 2 The test was carried out in the same manner as in Example 1 using a polyethylene resin having a small HLMFR / MFR composed of only the component (B) and a large tensile elongation. As a result, as shown in Table 2, the electron beam resistance was good, but the stress crack resistance and fluidity, and the container lid bridge breakability were poor.
  • Example 3 As shown in Table 2, the test was conducted in the same manner as in Example 7 except that the resin of component (A) and component (B) was changed. As a result, although electron beam resistance was good, HLMFR and HLMFR / MFR were small, and stress crack resistance and fluidity were poor.
  • Example 5 It carried out similarly to Example 1 except not mix
  • Example 7 The same procedure as in Example 9 was performed except that the amount of the hindered amine compound was 0.001 part by weight and no phosphorus compound was added. As a result, as shown in Table 2, the electron beam resistance was poor.
  • Example 8 Using the continuous two-stage polymerization apparatus of Example 1, components (A) and (B) shown in Table 2 were polymerized, and a polyethylene resin composition was obtained without blending a hindered amine compound and a phosphorus compound. Since the obtained polyethylene resin composition had a small HLMFR and a large HLMFR / MFR as shown in Table 2, the moldability was poor. Moreover, the electron beam resistance was also poor.
  • the polyethylene-based resin composition for container lids of the present invention can be used for molding lids of PET containers that contain liquids such as soft drinks.
  • the resin composition is excellent in moldability, high fluidity, balance between rigidity and impact resistance, stress crack resistance, slipperiness, low odor, food safety, hardly stretched even at high temperatures, and can be applied to containers. Since the electron beam can be sterilized when the lid is mounted, it can be preferably used as a container lid.
  • Container lid 4 Top wall 6: Skirt wall 16: Break line 18: Main part 20: Tamper evidence hem part 22: Slit 24: Bridge 30: Locking means 32: Projection

Landscapes

  • Chemical & Material Sciences (AREA)
  • Health & Medical Sciences (AREA)
  • Chemical Kinetics & Catalysis (AREA)
  • Medicinal Chemistry (AREA)
  • Polymers & Plastics (AREA)
  • Organic Chemistry (AREA)
  • Engineering & Computer Science (AREA)
  • Mechanical Engineering (AREA)
  • Food Science & Technology (AREA)
  • Compositions Of Macromolecular Compounds (AREA)
  • Wrappers (AREA)
  • Packages (AREA)
  • Closures For Containers (AREA)
PCT/JP2013/052682 2012-02-07 2013-02-06 容器蓋用ポリエチレン系樹脂組成物及び容器蓋 Ceased WO2013118749A1 (ja)

Priority Applications (3)

Application Number Priority Date Filing Date Title
US14/376,543 US20150045485A1 (en) 2012-02-07 2013-02-06 Polyethylene-based resin composition for container lid, and container lid
IN6585DEN2014 IN2014DN06585A (enExample) 2012-02-07 2013-02-06
CN201380008118.2A CN104159964B (zh) 2012-02-07 2013-02-06 容器盖用聚乙烯类树脂组合物和容器盖

Applications Claiming Priority (2)

Application Number Priority Date Filing Date Title
JP2012023581 2012-02-07
JP2012-023581 2012-02-07

Publications (1)

Publication Number Publication Date
WO2013118749A1 true WO2013118749A1 (ja) 2013-08-15

Family

ID=48947510

Family Applications (1)

Application Number Title Priority Date Filing Date
PCT/JP2013/052682 Ceased WO2013118749A1 (ja) 2012-02-07 2013-02-06 容器蓋用ポリエチレン系樹脂組成物及び容器蓋

Country Status (5)

Country Link
US (1) US20150045485A1 (enExample)
JP (1) JP6027906B2 (enExample)
CN (1) CN104159964B (enExample)
IN (1) IN2014DN06585A (enExample)
WO (1) WO2013118749A1 (enExample)

Cited By (4)

* Cited by examiner, † Cited by third party
Publication number Priority date Publication date Assignee Title
US9273199B2 (en) 2012-06-11 2016-03-01 Dow Global Technologies Llc High density polyethylene composition and closure
WO2018221495A1 (ja) * 2017-05-30 2018-12-06 大日本印刷株式会社 ポリエチレン共押フィルム、ポリエチレン積層フィルムおよびこれらを用いた包装材料
JP2018202618A (ja) * 2017-05-30 2018-12-27 大日本印刷株式会社 ポリエチレン積層フィルムおよびこれを用いた包装材料
JP2018202617A (ja) * 2017-05-30 2018-12-27 大日本印刷株式会社 ポリエチレン共押フィルムおよびこれを用いた包装材料

Families Citing this family (6)

* Cited by examiner, † Cited by third party
Publication number Priority date Publication date Assignee Title
JP6569575B2 (ja) 2015-03-26 2019-09-04 日本ポリエチレン株式会社 射出成形用ポリエチレン及びそれを用いた成形品
WO2017066868A1 (en) * 2015-10-23 2017-04-27 Husky Injection Molding Systems Ltd. Containers and closures
KR101742446B1 (ko) * 2016-12-06 2017-06-15 한화토탈 주식회사 병뚜껑용 폴리에틸렌 수지 조성물 및 이로부터 제조된 성형품
GB201906562D0 (en) * 2019-05-09 2019-06-26 Hegenbergerspeculum Aps Devices
CN112280140A (zh) * 2020-09-29 2021-01-29 江苏松德生物科技有限公司 一种护理液外盖配方、生产工艺及生产装置
EP4511313A1 (en) * 2022-04-20 2025-02-26 Origin Materials Operating, Inc. Polyester resin closures for containers

Citations (9)

* Cited by examiner, † Cited by third party
Publication number Priority date Publication date Assignee Title
JPH02153953A (ja) * 1988-12-06 1990-06-13 Tonen Sekiyukagaku Kk 耐放射線性ポリオレフィン組成物
JP2000136272A (ja) * 1998-10-30 2000-05-16 Toppan Printing Co Ltd 低臭ポリオレフィン樹脂組成物およびそれを用いた低臭ポリオレフィン樹脂成形物
JP2000248125A (ja) * 1999-02-26 2000-09-12 Nippon Polyolefin Kk 容器用ポリエチレン樹脂組成物
JP2002002794A (ja) * 2000-06-26 2002-01-09 Okura Ind Co Ltd 放射線減菌処理用バッグインボックス内袋
JP2002060559A (ja) * 2000-08-23 2002-02-26 Japan Polyolefins Co Ltd 容器用ポリエチレン樹脂
JP2004123995A (ja) * 2002-10-07 2004-04-22 Japan Polyolefins Co Ltd 容器蓋用ポリエチレン系樹脂およびそれからなる容器蓋
JP2005320526A (ja) * 2004-04-06 2005-11-17 Nippon Polyethylene Kk 容器蓋用ポリエチレン系樹脂
JP2007231036A (ja) * 2006-02-27 2007-09-13 Prime Polymer:Kk 耐放射線性を有する高透明ポリプロピレンシート形成用組成物、及びそれからなる耐放射線性及び電子線滅菌性に優れた包装体
WO2011126029A1 (ja) * 2010-04-06 2011-10-13 日本ポリエチレン株式会社 容器蓋用ポリエチレン系樹脂成形材料

Family Cites Families (9)

* Cited by examiner, † Cited by third party
Publication number Priority date Publication date Assignee Title
JPS6153344A (ja) * 1984-08-22 1986-03-17 Adeka Argus Chem Co Ltd 耐放射線性ポリオレフイン組成物
JPH032239A (ja) * 1989-05-31 1991-01-08 Mitsubishi Petrochem Co Ltd 有色食品用成形品
JPH0940818A (ja) * 1995-05-23 1997-02-10 Nippon Petrochem Co Ltd エチレン・α−オレフィン共重合体組成物
JP3686707B2 (ja) * 1995-06-15 2005-08-24 日本ポリオレフィン株式会社 エチレン・α−オレフィン共重合体組成物
DE19529230A1 (de) * 1995-08-09 1997-05-15 Basf Lacke & Farben Mechanisch dichtender Verschluß für Gefäße
JP2001172439A (ja) * 1999-12-17 2001-06-26 Toyo Ink Mfg Co Ltd ポリオレフィン樹脂組成物
JP2008255326A (ja) * 2006-11-22 2008-10-23 Japan Polypropylene Corp プロピレン系樹脂組成物およびその成形品
JP2009082698A (ja) * 2007-09-10 2009-04-23 Japan Polypropylene Corp 人工透析用部材
JP5396046B2 (ja) * 2008-09-03 2014-01-22 東京インキ株式会社 放射線滅菌用樹脂組成物および成形品

Patent Citations (9)

* Cited by examiner, † Cited by third party
Publication number Priority date Publication date Assignee Title
JPH02153953A (ja) * 1988-12-06 1990-06-13 Tonen Sekiyukagaku Kk 耐放射線性ポリオレフィン組成物
JP2000136272A (ja) * 1998-10-30 2000-05-16 Toppan Printing Co Ltd 低臭ポリオレフィン樹脂組成物およびそれを用いた低臭ポリオレフィン樹脂成形物
JP2000248125A (ja) * 1999-02-26 2000-09-12 Nippon Polyolefin Kk 容器用ポリエチレン樹脂組成物
JP2002002794A (ja) * 2000-06-26 2002-01-09 Okura Ind Co Ltd 放射線減菌処理用バッグインボックス内袋
JP2002060559A (ja) * 2000-08-23 2002-02-26 Japan Polyolefins Co Ltd 容器用ポリエチレン樹脂
JP2004123995A (ja) * 2002-10-07 2004-04-22 Japan Polyolefins Co Ltd 容器蓋用ポリエチレン系樹脂およびそれからなる容器蓋
JP2005320526A (ja) * 2004-04-06 2005-11-17 Nippon Polyethylene Kk 容器蓋用ポリエチレン系樹脂
JP2007231036A (ja) * 2006-02-27 2007-09-13 Prime Polymer:Kk 耐放射線性を有する高透明ポリプロピレンシート形成用組成物、及びそれからなる耐放射線性及び電子線滅菌性に優れた包装体
WO2011126029A1 (ja) * 2010-04-06 2011-10-13 日本ポリエチレン株式会社 容器蓋用ポリエチレン系樹脂成形材料

Cited By (4)

* Cited by examiner, † Cited by third party
Publication number Priority date Publication date Assignee Title
US9273199B2 (en) 2012-06-11 2016-03-01 Dow Global Technologies Llc High density polyethylene composition and closure
WO2018221495A1 (ja) * 2017-05-30 2018-12-06 大日本印刷株式会社 ポリエチレン共押フィルム、ポリエチレン積層フィルムおよびこれらを用いた包装材料
JP2018202618A (ja) * 2017-05-30 2018-12-27 大日本印刷株式会社 ポリエチレン積層フィルムおよびこれを用いた包装材料
JP2018202617A (ja) * 2017-05-30 2018-12-27 大日本印刷株式会社 ポリエチレン共押フィルムおよびこれを用いた包装材料

Also Published As

Publication number Publication date
CN104159964B (zh) 2016-08-24
IN2014DN06585A (enExample) 2015-06-26
JP2013177582A (ja) 2013-09-09
CN104159964A (zh) 2014-11-19
JP6027906B2 (ja) 2016-11-16
US20150045485A1 (en) 2015-02-12

Similar Documents

Publication Publication Date Title
JP6027906B2 (ja) 容器蓋用ポリエチレン系樹脂組成物及び容器蓋
EP2445963B1 (en) Automotive interior article with reduced smell
ES2368024T3 (es) Composición de polipropileno de alta capacidad de flujo.
KR102459223B1 (ko) 폴리올레핀계 수지 조성물 및 이것을 사용한 성형품
KR101319845B1 (ko) 색상 안정화 폴리올레핀
EP3931250A1 (en) Clarified polypropylene for long term color performance
EP3850041A1 (en) Clarifier blends for optimum performance
US6060561A (en) Use of thermoplastic elastomers for improving the stability of polyolefins to ionizing radiation
KR20100064681A (ko) 투명성 및 내충격 특성이 우수한 폴리프로필렌 수지 조성물
WO2020089268A1 (en) A moulded article comprising a polypropylene composition suitable for gamma-ray sterilization
Tocháček et al. Processing stability of polypropylene impact-copolymer during multiple extrusion–Effect of polymerization technology
ES2757778T3 (es) Capuchones o cierres fabricados con una composición de resina que comprende polietileno
JP2001089611A (ja) ポリオレフィン系樹脂組成物、そのフィルムおよび農業用フィルム
JP6121803B2 (ja) 電機電子部品搬送用ケースおよび食品保存用容器
EP3784731B1 (en) Polyethylene compositions with improved environmental stress cracking resistance and methods of use
US10533084B2 (en) Polyethylene compositions having living hinge properties
JP2000109617A (ja) 安定化ポリオレフィン系樹脂組成物
US8642684B2 (en) Ethylene polymer having improved resistance against thermooxidative degradation in the presence of liquid fuels comprising biodiesel and oxygen and plastic fuel tank made of it
AU2012289243B2 (en) Polyolefin composition with excellent colour and thermal stability as well as oxidation resistance for pipes

Legal Events

Date Code Title Description
121 Ep: the epo has been informed by wipo that ep was designated in this application

Ref document number: 13747111

Country of ref document: EP

Kind code of ref document: A1

WWE Wipo information: entry into national phase

Ref document number: 14376543

Country of ref document: US

NENP Non-entry into the national phase

Ref country code: DE

122 Ep: pct application non-entry in european phase

Ref document number: 13747111

Country of ref document: EP

Kind code of ref document: A1