WO2013108930A1 - 基板処理装置 - Google Patents

基板処理装置 Download PDF

Info

Publication number
WO2013108930A1
WO2013108930A1 PCT/JP2013/051362 JP2013051362W WO2013108930A1 WO 2013108930 A1 WO2013108930 A1 WO 2013108930A1 JP 2013051362 W JP2013051362 W JP 2013051362W WO 2013108930 A1 WO2013108930 A1 WO 2013108930A1
Authority
WO
WIPO (PCT)
Prior art keywords
electromagnet
electromagnets
processing space
substrate
group
Prior art date
Legal status (The legal status is an assumption and is not a legal conclusion. Google has not performed a legal analysis and makes no representation as to the accuracy of the status listed.)
Ceased
Application number
PCT/JP2013/051362
Other languages
English (en)
French (fr)
Japanese (ja)
Inventor
聡裕 横田
悦治 伊藤
慎司 檜森
Current Assignee (The listed assignees may be inaccurate. Google has not performed a legal analysis and makes no representation or warranty as to the accuracy of the list.)
Tokyo Electron Ltd
Original Assignee
Tokyo Electron Ltd
Priority date (The priority date is an assumption and is not a legal conclusion. Google has not performed a legal analysis and makes no representation as to the accuracy of the date listed.)
Filing date
Publication date
Application filed by Tokyo Electron Ltd filed Critical Tokyo Electron Ltd
Priority to US14/370,579 priority Critical patent/US20140346040A1/en
Priority to KR1020147018433A priority patent/KR20140114821A/ko
Priority to KR1020197025510A priority patent/KR102148005B1/ko
Publication of WO2013108930A1 publication Critical patent/WO2013108930A1/ja
Anticipated expiration legal-status Critical
Priority to US15/378,590 priority patent/US10651012B2/en
Ceased legal-status Critical Current

Links

Images

Classifications

    • HELECTRICITY
    • H01ELECTRIC ELEMENTS
    • H01JELECTRIC DISCHARGE TUBES OR DISCHARGE LAMPS
    • H01J37/00Discharge tubes with provision for introducing objects or material to be exposed to the discharge, e.g. for the purpose of examination or processing thereof
    • H01J37/32Gas-filled discharge tubes
    • H01J37/32009Arrangements for generation of plasma specially adapted for examination or treatment of objects, e.g. plasma sources
    • H01J37/32082Radio frequency generated discharge
    • H01J37/32091Radio frequency generated discharge the radio frequency energy being capacitively coupled to the plasma
    • CCHEMISTRY; METALLURGY
    • C23COATING METALLIC MATERIAL; COATING MATERIAL WITH METALLIC MATERIAL; CHEMICAL SURFACE TREATMENT; DIFFUSION TREATMENT OF METALLIC MATERIAL; COATING BY VACUUM EVAPORATION, BY SPUTTERING, BY ION IMPLANTATION OR BY CHEMICAL VAPOUR DEPOSITION, IN GENERAL; INHIBITING CORROSION OF METALLIC MATERIAL OR INCRUSTATION IN GENERAL
    • C23CCOATING METALLIC MATERIAL; COATING MATERIAL WITH METALLIC MATERIAL; SURFACE TREATMENT OF METALLIC MATERIAL BY DIFFUSION INTO THE SURFACE, BY CHEMICAL CONVERSION OR SUBSTITUTION; COATING BY VACUUM EVAPORATION, BY SPUTTERING, BY ION IMPLANTATION OR BY CHEMICAL VAPOUR DEPOSITION, IN GENERAL
    • C23C14/00Coating by vacuum evaporation, by sputtering or by ion implantation of the coating forming material
    • C23C14/22Coating by vacuum evaporation, by sputtering or by ion implantation of the coating forming material characterised by the process of coating
    • C23C14/34Sputtering
    • C23C14/3492Variation of parameters during sputtering
    • CCHEMISTRY; METALLURGY
    • C23COATING METALLIC MATERIAL; COATING MATERIAL WITH METALLIC MATERIAL; CHEMICAL SURFACE TREATMENT; DIFFUSION TREATMENT OF METALLIC MATERIAL; COATING BY VACUUM EVAPORATION, BY SPUTTERING, BY ION IMPLANTATION OR BY CHEMICAL VAPOUR DEPOSITION, IN GENERAL; INHIBITING CORROSION OF METALLIC MATERIAL OR INCRUSTATION IN GENERAL
    • C23CCOATING METALLIC MATERIAL; COATING MATERIAL WITH METALLIC MATERIAL; SURFACE TREATMENT OF METALLIC MATERIAL BY DIFFUSION INTO THE SURFACE, BY CHEMICAL CONVERSION OR SUBSTITUTION; COATING BY VACUUM EVAPORATION, BY SPUTTERING, BY ION IMPLANTATION OR BY CHEMICAL VAPOUR DEPOSITION, IN GENERAL
    • C23C14/00Coating by vacuum evaporation, by sputtering or by ion implantation of the coating forming material
    • C23C14/22Coating by vacuum evaporation, by sputtering or by ion implantation of the coating forming material characterised by the process of coating
    • C23C14/34Sputtering
    • C23C14/35Sputtering by application of a magnetic field, e.g. magnetron sputtering
    • CCHEMISTRY; METALLURGY
    • C23COATING METALLIC MATERIAL; COATING MATERIAL WITH METALLIC MATERIAL; CHEMICAL SURFACE TREATMENT; DIFFUSION TREATMENT OF METALLIC MATERIAL; COATING BY VACUUM EVAPORATION, BY SPUTTERING, BY ION IMPLANTATION OR BY CHEMICAL VAPOUR DEPOSITION, IN GENERAL; INHIBITING CORROSION OF METALLIC MATERIAL OR INCRUSTATION IN GENERAL
    • C23CCOATING METALLIC MATERIAL; COATING MATERIAL WITH METALLIC MATERIAL; SURFACE TREATMENT OF METALLIC MATERIAL BY DIFFUSION INTO THE SURFACE, BY CHEMICAL CONVERSION OR SUBSTITUTION; COATING BY VACUUM EVAPORATION, BY SPUTTERING, BY ION IMPLANTATION OR BY CHEMICAL VAPOUR DEPOSITION, IN GENERAL
    • C23C14/00Coating by vacuum evaporation, by sputtering or by ion implantation of the coating forming material
    • C23C14/22Coating by vacuum evaporation, by sputtering or by ion implantation of the coating forming material characterised by the process of coating
    • C23C14/54Controlling or regulating the coating process
    • HELECTRICITY
    • H01ELECTRIC ELEMENTS
    • H01JELECTRIC DISCHARGE TUBES OR DISCHARGE LAMPS
    • H01J37/00Discharge tubes with provision for introducing objects or material to be exposed to the discharge, e.g. for the purpose of examination or processing thereof
    • H01J37/32Gas-filled discharge tubes
    • H01J37/32431Constructional details of the reactor
    • H01J37/3266Magnetic control means
    • HELECTRICITY
    • H01ELECTRIC ELEMENTS
    • H01JELECTRIC DISCHARGE TUBES OR DISCHARGE LAMPS
    • H01J37/00Discharge tubes with provision for introducing objects or material to be exposed to the discharge, e.g. for the purpose of examination or processing thereof
    • H01J37/32Gas-filled discharge tubes
    • H01J37/32431Constructional details of the reactor
    • H01J37/3266Magnetic control means
    • H01J37/32669Particular magnets or magnet arrangements for controlling the discharge
    • HELECTRICITY
    • H01ELECTRIC ELEMENTS
    • H01LSEMICONDUCTOR DEVICES NOT COVERED BY CLASS H10
    • H01L21/00Processes or apparatus adapted for the manufacture or treatment of semiconductor or solid state devices or of parts thereof
    • H01L21/02Manufacture or treatment of semiconductor devices or of parts thereof
    • H01L21/04Manufacture or treatment of semiconductor devices or of parts thereof the devices having potential barriers, e.g. a PN junction, depletion layer or carrier concentration layer
    • H01L21/18Manufacture or treatment of semiconductor devices or of parts thereof the devices having potential barriers, e.g. a PN junction, depletion layer or carrier concentration layer the devices having semiconductor bodies comprising elements of Group IV of the Periodic Table or AIIIBV compounds with or without impurities, e.g. doping materials
    • H01L21/30Treatment of semiconductor bodies using processes or apparatus not provided for in groups H01L21/20 - H01L21/26
    • H01L21/302Treatment of semiconductor bodies using processes or apparatus not provided for in groups H01L21/20 - H01L21/26 to change their surface-physical characteristics or shape, e.g. etching, polishing, cutting
    • H01L21/306Chemical or electrical treatment, e.g. electrolytic etching
    • H01L21/3065Plasma etching; Reactive-ion etching
    • HELECTRICITY
    • H01ELECTRIC ELEMENTS
    • H01LSEMICONDUCTOR DEVICES NOT COVERED BY CLASS H10
    • H01L21/00Processes or apparatus adapted for the manufacture or treatment of semiconductor or solid state devices or of parts thereof
    • H01L21/67Apparatus specially adapted for handling semiconductor or electric solid state devices during manufacture or treatment thereof; Apparatus specially adapted for handling wafers during manufacture or treatment of semiconductor or electric solid state devices or components ; Apparatus not specifically provided for elsewhere
    • H01L21/67005Apparatus not specifically provided for elsewhere
    • H01L21/67011Apparatus for manufacture or treatment
    • H01L21/67017Apparatus for fluid treatment
    • H01L21/67063Apparatus for fluid treatment for etching
    • H01L21/67069Apparatus for fluid treatment for etching for drying etching
    • HELECTRICITY
    • H01ELECTRIC ELEMENTS
    • H01LSEMICONDUCTOR DEVICES NOT COVERED BY CLASS H10
    • H01L21/00Processes or apparatus adapted for the manufacture or treatment of semiconductor or solid state devices or of parts thereof
    • H01L21/70Manufacture or treatment of devices consisting of a plurality of solid state components formed in or on a common substrate or of parts thereof; Manufacture of integrated circuit devices or of parts thereof
    • H01L21/71Manufacture of specific parts of devices defined in group H01L21/70
    • H01L21/768Applying interconnections to be used for carrying current between separate components within a device comprising conductors and dielectrics
    • H01L21/76898Applying interconnections to be used for carrying current between separate components within a device comprising conductors and dielectrics formed through a semiconductor substrate
    • HELECTRICITY
    • H01ELECTRIC ELEMENTS
    • H01JELECTRIC DISCHARGE TUBES OR DISCHARGE LAMPS
    • H01J2237/00Discharge tubes exposing object to beam, e.g. for analysis treatment, etching, imaging
    • H01J2237/32Processing objects by plasma generation
    • H01J2237/33Processing objects by plasma generation characterised by the type of processing
    • H01J2237/334Etching

Definitions

  • the present invention relates to a substrate processing apparatus that controls the distribution of plasma density using a magnetic field.
  • a substrate processing apparatus that generates a magnetic field in a processing space where an electric field exists to control a plasma density distribution.
  • electrons perform a drift motion by Lorentz force generated due to an electric field and a magnetic field and collide with molecules and atoms of the processing gas, and as a result, plasma is generated. .
  • a conventional magnetron plasma processing apparatus includes a dipole ring magnet composed of a plurality of anisotropic segment columnar magnets arranged in a ring shape outside the chamber, and the direction of magnetization by the plurality of anisotropic segment columnar magnets is determined.
  • a uniform horizontal magnetic field B as shown in FIG. 11 is formed by shifting little by little (see, for example, Patent Document 1).
  • FIG. 11 is a top view (plan view) of a conventional magnetron plasma processing apparatus, where N is the proximal end side in the magnetic field direction, S is the distal end side, and E and W are 90 ° positions from these. Show.
  • the horizontal magnetic field B formed by such a dipole ring magnet is a horizontal magnetic field facing only one direction from N to S in the figure, and in this magnetron plasma processing apparatus, the electric field is directed from top to bottom.
  • electrons move in a drift motion from E to W by Lorentz force, and as a result, the plasma density is low on the E side and the plasma density is high on the W side. Distribution occurs.
  • the dipole ring magnet is rotated along the circumferential direction to change the direction of the drift motion of the electrons, but in reality, the rotation of the dipole magnet alone makes the plasma density distribution uniform over a wide range. Can not.
  • a conventional magnetron etching apparatus having a rotating magnet as shown in FIG. 12 is also known.
  • the magnetron etching apparatus 120 includes a processing chamber 121, an upper electrode 122 and a lower electrode 123 that are opposed to each other in the vertical direction in the processing chamber 121, and an approximate rotation disposed above and outside the upper electrode 122.
  • a disk-shaped magnet 124 and a high-frequency power source 125 that supplies high-frequency power to a space between the upper electrode 122 and the lower electrode 123 are provided, and a wafer W is disposed in the processing chamber 121 (for example, Patent Document 2). reference.).
  • the magnet 124 provided above and outside the upper electrode 122 forms a magnetic field B along the surface of the wafer W in the processing chamber 121.
  • the magnet 124 is rotated at a desired rotational speed in a horizontal plane parallel to the surface of the wafer W by a driving mechanism (not shown) such as a motor, and thereby the magnetic field B crossing the electric field E applied to the space in the processing chamber 121. Occurs.
  • the plasma density is made uniform above the wafer W, but the plasma density is still biased every moment.
  • the plasma density and etching rate (etching rate) on the surface of the wafer W decrease along one direction, and the potential (VDC) increases conversely. To do. That is, the plasma density becomes non-uniform and the electric potential becomes non-uniform, and charged regions that are positively and negatively polarized at both ends of the wafer W are generated (charge-up phenomenon).
  • Patent Document 1 and Patent Document 2 a plasma processing apparatus that generates a symmetric magnetic field with respect to the center of the wafer W in the processing space has been proposed by the present applicant.
  • a large number of permanent magnets 132 are arranged in a plurality of annular shapes with respect to the center of the wafer W on the upper surface of the processing chamber 131 facing the wafer W.
  • the magnetic poles directed to the wafer W are adjusted to generate a magnetic field B that is radially distributed from the center of the wafer W in the processing space (see, for example, Patent Document 3).
  • Japanese Patent No. 3375302 Japanese Patent No. 3037848 Japanese Patent No. 4107518
  • the plasma density distribution in the processing space may change. For this reason, it may be necessary to correct the deviation of the plasma density by changing the distribution (magnetic flux density or magnetic flux direction) of the magnetic field generated in the processing chamber.
  • the permanent magnet 132 is used to generate the magnetic field B in the plasma processing apparatus according to Patent Document 3, in order to change the magnetic flux density in the processing chamber, it is necessary to change the position of the permanent magnet 132 with respect to the processing chamber. To do. In order to change the position of the permanent magnet 132, for example, it is necessary to mount a magnet drive mechanism or the like, which complicates the configuration of the plasma processing apparatus. Further, in order to change the direction of the magnetic flux in the processing chamber, it is necessary to change the magnetic pole on the processing chamber side in each magnet. However, the permanent magnet 132 cannot freely change the magnetic pole. That is, in the plasma processing apparatus to which a magnetic field using a permanent magnet according to Patent Document 3 is applied, it is difficult to obtain an optimum magnetic field distribution corresponding to a change in plasma density distribution in the processing space.
  • An object of the present invention is to provide a substrate processing apparatus capable of obtaining a magnetic field distribution that optimizes the plasma density distribution in the processing space.
  • an electric field is generated in a processing space between a lower electrode to which high-frequency power is supplied and an upper electrode disposed to face the lower electrode.
  • the upper electrode includes a plurality of electromagnets disposed on the upper surface opposite to the processing space. Each of the electromagnets is arranged radially with respect to the center of the upper electrode facing the center of the substrate.
  • the plurality of electromagnets are divided into a plurality of electromagnet groups, and the magnetic field strength of the magnetic field generated by each electromagnet and / or the magnetic pole of the electromagnet is controlled for each electromagnet group.
  • the plurality of electromagnets are divided into a first electromagnet group, a second electromagnet group, and a third electromagnet group
  • the first electromagnet group is composed of the electromagnets facing the central portion of the substrate
  • the second electromagnet group is composed of the electromagnets facing the peripheral edge of the substrate
  • the third electromagnet group is not opposed to the substrate and is outside the second electromagnet group with respect to the center of the upper electrode.
  • the magnetic poles on the processing space side of the electromagnets of the first electromagnet group are the same, and the magnetic poles on the processing space side of the electromagnets of the second electromagnet group are the same.
  • it is preferable that the magnetic poles on the processing space side in the electromagnets of the third electromagnet group are the same.
  • the electromagnets are arranged at equal intervals, and in the third electromagnet group, each electromagnet is centered on the center of the upper electrode. It is preferable to arrange in an annular shape.
  • the total magnetic flux generated by each of the electromagnets in the third electromagnet group is 8 to 12 times the total magnetic flux generated by each of the electromagnets in the first electromagnet group and the second electromagnet group. It is preferable that
  • the magnetic field intensity of the magnetic field generated by each electromagnet and / or the magnetic pole of the electromagnet it is preferable to change the magnetic field intensity of the magnetic field generated by each electromagnet and / or the magnetic pole of the electromagnet according to the content of the plasma treatment performed on the substrate.
  • an electric field is generated in a processing space between a lower electrode to which high-frequency power is supplied and an upper electrode disposed to face the lower electrode.
  • the substrate processing apparatus for performing plasma processing on the substrate placed on the lower electrode using plasma generated due to the plurality of electromagnets disposed on the upper surface of the upper electrode opposite to the processing space A first high-frequency power source for supplying high-frequency power of a first frequency connected to the lower electrode, and a high-frequency power of a second frequency higher than the first frequency connected to the lower electrode are supplied.
  • each electromagnet does not generate a magnetic field in the processing space, and the second high-frequency power source When supplying a high frequency power of said second frequency, each said electromagnet substrate processing apparatus characterized by generating a magnetic field in the processing space is provided.
  • an electric field is generated in a processing space between a lower electrode to which high-frequency power is supplied and an upper electrode disposed to face the lower electrode.
  • the electromagnet includes an electromagnet, and each electromagnet generates a magnetic field in which a magnetic field strength of a portion facing the peripheral portion of the substrate in the processing space is larger than a magnetic field strength of a portion facing the central portion of the substrate in the processing space.
  • a substrate processing apparatus is provided.
  • a plurality of electromagnets are arranged on the upper surface of the upper electrode of the substrate processing apparatus opposite to the processing space. Since each electromagnet is arranged radially with respect to the center of the upper electrode facing the center of the substrate, it is possible to generate a magnetic field distributed radially from the center of the substrate in the processing space. Furthermore, by controlling the direction and magnitude of the current flowing to each electromagnet, the magnetic field strength of the generated magnetic field and the direction of the magnetic flux can be easily controlled. As a result, it is possible to obtain a magnetic field distribution that optimizes the plasma density distribution in the processing space.
  • FIG. 1 is a cross-sectional view schematically showing a configuration of a substrate processing apparatus according to a first embodiment of the present invention. It is a figure showing roughly the composition of the substrate processing device concerning this embodiment, and is the figure which looked at the upper electrode of the substrate processing device along the white arrow in Drawing 1A. It is a figure for demonstrating the drift motion of the electron resulting from the electric field and magnetic field which generate
  • FIG. 1B It is a figure for demonstrating the relationship between the magnetic pole of the process space side of each electromagnet, and the intensity
  • FIG. 8A It is the figure which shows schematically the structure of the substrate processing apparatus which concerns on the 3rd Embodiment of this invention, and is the figure which looked at the upper electrode of the substrate processing apparatus along the white arrow in FIG. 8A. It is a graph which shows the etching rate when the substrate processing apparatus of FIG. 8A and FIG. 8B performs an etching process on a wafer, and shows the case where a magnetic field is not generated in processing space. It is a graph which shows the etching rate when the substrate processing apparatus of FIG. 8A and FIG. 8B performs an etching process on a wafer, and shows the case where a radial magnetic field is generated in the processing space.
  • 8A and 8B are graphs for explaining calculation results when the magnetic poles on the processing space side of each electromagnet in the central facing group, the peripheral facing group, and the outer facing group are changed in the substrate processing apparatus of FIGS. Indicates. 8A and 8B are graphs for explaining calculation results when the magnetic poles on the processing space side of each electromagnet in the central facing group, the peripheral facing group, and the outer facing group are changed in the substrate processing apparatus of FIGS. Indicates. It is a figure which shows the horizontal magnetic field in the conventional magnetron plasma processing apparatus. It is sectional drawing which shows schematically the structure of the conventional magnetron etching apparatus. It is sectional drawing which shows schematically the structure of the plasma processing apparatus which eliminates the nonuniformity of the conventional plasma density.
  • FIG. 1A and 1B are diagrams schematically showing a configuration of a substrate processing apparatus according to the present embodiment, and FIG. 1A shows a cross-sectional view of the substrate processing apparatus.
  • FIG. 1B is a view of the upper electrode of the substrate processing apparatus viewed along the white arrow in FIG. 1A.
  • This substrate processing apparatus performs plasma processing, for example, dry etching processing, on a semiconductor device wafer (hereinafter simply referred to as “wafer”) W as a substrate.
  • wafer semiconductor device wafer
  • a substrate processing apparatus 10 includes, for example, a cylindrical chamber 11 (processing chamber) that accommodates a wafer W having a diameter of 300 mm, and a cylindrical susceptor on which the wafer W is placed. 12 (lower electrode) is disposed below, and the ceiling portion of the chamber 11 facing the susceptor 12 constitutes an upper electrode 13, and the susceptor 12 and the upper electrode 13 constitute a processing space S therebetween.
  • a cylindrical chamber 11 processing chamber
  • 12 lower electrode
  • plasma is generated in the processing space S decompressed by an exhaust apparatus (not shown), and the plasma processing is performed on the wafer W placed on the susceptor 12 by the plasma.
  • a first high frequency power source 14 is connected to the susceptor 12 in the chamber 11 via a first matching unit 15, and a second high frequency power source 16 is connected to the susceptor 12 via a second matching unit 17.
  • the high frequency power supply 14 supplies high frequency power, for example, 60 MHz high frequency power, to the susceptor 12, and the second high frequency power supply 16 supplies low frequency, for example, 3.2 MHz high frequency power, to the susceptor 12.
  • the susceptor 12 functions as a lower electrode.
  • the first matching unit 15 and the second matching unit 17 adjust the impedance to maximize the supply efficiency of the high frequency power to the susceptor 12.
  • a step is formed on the upper peripheral edge of the susceptor 12 so that the central portion of the susceptor 12 protrudes upward in the figure.
  • an electrostatic chuck (not shown) made of ceramics having an electrostatic electrode plate therein is disposed. The electrostatic chuck attracts and holds the wafer W by Coulomb force or Johnson-Rahbek force.
  • a focus ring 18 is placed on the step at the upper peripheral edge of the susceptor 12 so as to surround the wafer W attracted and held by the electrostatic chuck.
  • the focus ring 18 is made of silicon (Si) or silicon carbide (SiC), and the plasma distribution region in the processing space S can be expanded not only on the wafer W but also on the focus ring 18.
  • a processing gas introduction pipe 19 is connected to the ceiling portion of the chamber 11 that faces the susceptor 12 across the processing space S. The processing gas introduction pipe 19 introduces the processing gas into the processing space S.
  • the processing gas is introduced into the processing space S from the processing gas introduction pipe 19, and the white space in the drawing is shown in the processing space S by the high frequency power supplied from the first and second high frequency power supplies 14 and 16 to the susceptor 12.
  • An electric field E is generated in the direction of the extraction arrow, that is, from the susceptor 12 toward the upper electrode 13.
  • the electric field E excites molecules and atoms of the introduced processing gas to generate plasma.
  • radicals in the plasma float and move to the wafer W, and cations in the plasma are attracted toward the wafer W by the high-frequency power supplied to the susceptor 12 by the first and second high-frequency power supplies 14 and 16. Then, plasma processing is performed on the wafer W.
  • the substrate processing apparatus 10 includes a large number of electromagnets 20 arranged substantially radially on the upper surface 13a of the upper electrode 13 opposite to the processing space S.
  • Each electromagnet 20 has a rod-shaped yoke 20a made of an iron core and a coil 20b made of a conductive wire wound around the side surface of the yoke 20a and drawn out at both ends.
  • a controller (not shown) can control the value of current flowing to the coil 20b of the electromagnet 20 and the direction of the current to arbitrarily change the total magnetic flux generated by the electromagnet 20 and the direction of the magnetic flux.
  • a large number of electromagnets 20 are opposed to the center facing group 21 (first electromagnet group) composed of the electromagnets 20 facing the center of the wafer W and the center of the wafer W.
  • a peripheral portion facing group 22 (second second) composed of a plurality of electromagnets 20 arranged in an annular shape with respect to the center C of the upper electrode 13 (hereinafter referred to as “upper electrode center C”) and facing the peripheral portion of the wafer W.
  • Electromagnet group) and an outer facing group 23 (third electromagnet) composed of a plurality of electromagnets 20 arranged in an annular shape with respect to the upper electrode center C and arranged outside the peripheral edge facing group 22 and not facing the wafer W.
  • the direction of the current flowing through the coil 20 b of each electromagnet 20 is controlled so that all the magnetic poles on the processing space S side in each electromagnet 20 of the peripheral facing group 22 are the same.
  • the direction of the current flowing through the coil 20b of each electromagnet 20 is controlled so that all the magnetic poles on the processing space S side in the electromagnet 20 are the same.
  • the central facing group 21 is composed of one electromagnet 20 in the figure, but may be composed of a plurality of electromagnets 20 arranged in an annular shape with respect to the upper electrode center C facing the center of the wafer W. .
  • the upper electrode 13 of the substrate processing apparatus 10 when the upper electrode 13 of the substrate processing apparatus 10 is viewed from the processing space S side along the white arrow in FIG. 1A, the upper electrode 13 does not have transparency.
  • the electromagnets 20 arranged on the upper surface 13a of the upper electrode 13a cannot be seen, but in the present embodiment, the upper electrode 13 is assumed to have transparency in order to facilitate the explanation of the arrangement of the electromagnets 20.
  • the arrangement of the electromagnets 20 is visible through the upper electrode 13, and the same applies to FIGS. 2B and 8B described later.
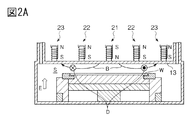
  • FIG. 2A and 2B are diagrams for explaining electron drift motion caused by an electric field and a magnetic field generated in the substrate processing apparatus of FIG. 1, and FIG. 2A is a cross-sectional view of the substrate processing apparatus of FIG. FIG. 2B is a view of the upper electrode of the substrate processing apparatus viewed along the white arrow in FIG. 2A.
  • the magnetic pole on the processing space S side of the electromagnet 20 in the central facing group 21 is set to N pole, and each electromagnet in the peripheral facing group 22 and the outer facing group 23.
  • a magnetic field B is generated radially from the central facing group 21 toward the peripheral facing group 22 and the outer facing group 23.
  • an electric field E is generated from the front toward the back, and a magnetic field B is generated radially with respect to the upper electrode center C. Therefore, electrons follow the Fleming left-hand rule and center on the upper electrode center C. It receives an acceleration in the tangential direction of the circumference of the circle and turns along a circular electron trajectory D about the upper electrode center C. At this time, the swirling electrons collide with the molecules and atoms of the processing gas in the processing space S to generate plasma. As a result, an annular plasma is generated along the circular electron trajectory D.
  • the velocity ⁇ gE of electron drift motion by an electric field and a magnetic field is represented by the following formula (1).
  • ⁇ gE E / B (1)
  • the strength of the electric field E is constant
  • the velocity of the electron drift motion decreases as the strength of the magnetic field B (magnetic field strength) increases.
  • the speed of the electron drift motion decreases, the time for the electrons to stay at a certain location increases, and the electron density increases at that location.
  • the number of collisions between electrons and molecules or atoms of the processing gas increases, so that the plasma density increases at that location. That is, if the magnetic field intensity at a certain location is increased by the electromagnet 20, the plasma density at that location can be increased.
  • the form of the magnetic field B generated in the processing space S can be changed and changed.
  • a portion having a large magnetic field strength can be created at the location of the above, and the plasma density at the desired location can be increased.
  • FIGS. 3A to 3C and FIGS. 4A to 4C are diagrams for explaining the relationship between the magnetic poles on the processing space side of each electromagnet and the intensity of the magnetic field generated in the processing space.
  • 3A sets the magnetic pole on the processing space S side of the electromagnet 20 in the central facing group 21 to N pole, sets the magnetic pole on the processing space S side of each electromagnet 20 in the peripheral facing group 22 to S pole, and A case where no magnetic flux is generated without energizing the coil 20b of each electromagnet 20 in the outer facing group 23 is shown.
  • the magnetic field B is generated from the central facing group 21 toward the peripheral facing group 22, and the magnetic field strength is maximized between the central facing group 21 and the peripheral facing group 22.
  • the plasma density can be increased between the peripheral edge facing groups 22.
  • FIG. 3B shows that the magnetic flux is not generated without energizing the coil 20b of the electromagnet 20 in the central facing group 21, the magnetic pole on the processing space S side of each electromagnet 20 in the peripheral facing group 22 is set to the S pole, and A case where the magnetic pole on the processing space S side of each electromagnet 20 in the outer facing group 23 is set to N pole is shown.
  • the magnetic field B is generated from the outer facing group 23 toward the peripheral facing group 22, and the magnetic field strength is maximized between the outer facing group 23 and the peripheral facing group 22.
  • the plasma density can be increased between the opposed groups 22.
  • FIG. 3C shows that the magnetic pole on the processing space S side of the electromagnet 20 in the central facing group 21 is set to N pole, the magnetic pole on the processing space S side of each electromagnet 20 in the peripheral facing group 22 is set to S pole, and The case where the magnetic pole by the side of the process space S of each electromagnet 20 in the outer side opposing group 23 is set to N pole is shown.
  • the magnetic field B is generated from the central facing group 21 toward the peripheral facing group 22 and is generated from the outer facing group 23 toward the peripheral facing group 22, and the central facing group 21 and the peripheral facing group 22.
  • the magnetic field strength becomes relatively large. Therefore, between the central facing group 21 and the peripheral portion facing group 22, and between the outer facing group 23 and the peripheral portion facing group.
  • the plasma density can be increased between 22.
  • FIG. 4A shows that the magnetic pole on the processing space S side of the electromagnet 20 in the central facing group 21 is set to N pole, the magnetic pole on the processing space S side of each electromagnet 20 in the peripheral facing group 22 is set to S pole, and A case where the magnetic pole on the processing space S side of each electromagnet 20 in the outer facing group 23 is set to the S pole is shown.
  • the magnetic field B is generated from the central facing group 21 toward the peripheral facing group 22 and the outer facing group 23, and the magnetic field B is superimposed between the central facing group 21 and the peripheral facing group 22. Since the magnetic field strength is maximized and the magnetic field strength is relatively large between the outer facing group 23 and the peripheral facing group 22, the center facing group 21 and the peripheral facing group 22, and the outer facing group 23 and The plasma density can be increased between the peripheral edge facing groups 22. Since the plasma density changes in accordance with the magnetic field strength, the plasma density between the central facing group 21 and the peripheral facing group 22 is greater than the plasma density between the outer facing group 23 and the peripheral facing group 22. high.
  • 4B sets the magnetic poles on the processing space S side of the electromagnet 20 in the central facing group 21 to N pole, sets the magnetic poles on the processing space S side of each electromagnet 20 in the peripheral facing group 22 to N pole, and A case where the magnetic pole on the processing space S side of each electromagnet 20 in the outer facing group 23 is set to the S pole is shown.
  • the magnetic field B is generated from the central facing group 21 or the peripheral facing group 22 toward the outer facing group 23, and the magnetic field B is superimposed between the outer facing group 23 and the peripheral facing group 22. Since the strength is maximized and the magnetic field strength is relatively large between the central facing group 21 and the peripheral facing group 22, and between the central facing group 21 and the peripheral facing group 22, as well as the outer facing group 23 and The plasma density can be increased between the peripheral edge facing groups 22. In this case, the plasma density between the outer facing group 23 and the peripheral facing group 22 is higher than the plasma density between the central facing group 21 and the peripheral facing group 22.
  • FIG. 4C shows that the magnetic pole on the processing space S side of the electromagnet 20 in the central facing group 21 is set to N pole, does not energize the coil 20b of each electromagnet 20 in the peripheral facing group 22, and does not generate magnetic flux.
  • N pole the magnetic pole on the processing space S side of each electromagnet 20 in the outer facing group 23 is set to the S pole is shown.
  • the magnetic field B is generated from the central facing group 21 toward the outer facing group 23, and the magnetic field strength is between the central facing group 21 and the outer facing group 23, specifically at the facing portion of the peripheral facing group 22. Therefore, the plasma density can be increased at the facing portion of the peripheral edge facing group 22.
  • the upper electrode 13 since the upper electrode 13 includes the plurality of electromagnets 20 arranged substantially radially on the upper surface 13a opposite to the processing space S, the center of the wafer W in the processing space is provided.
  • the magnetic field B distributed radially can be generated, and the direction and magnitude of the current flowing to each electromagnet 20 can be changed to easily control the magnetic flux density and direction of the generated magnetic field B. it can. As a result, it is possible to obtain a magnetic field distribution that optimizes the plasma density distribution in the processing space.
  • the distribution of the plasma density in the processing space S varies depending on the content of the plasma processing, for example, the type of processing gas, the power of the high frequency power, and the frequency, but by using the substrate processing apparatus 10, a desired plasma density distribution can be obtained. Can be realized. For example, when it is desired to realize a uniform plasma density distribution in the processing space S, if the distribution of the plasma density generated only by the electric field E is a distribution that increases in the central portion of the processing space S, the above-described FIGS. As in the case of the above, the magnetic field strength may be maximized between the outer facing group 23 and the peripheral portion facing group 22 to increase the plasma density between the outer facing group 23 and the peripheral portion facing group 22.
  • the plasma density distribution (dense at the center of the processing space S) generated only by the electric field E and the plasma density distribution (dense at the periphery of the processing space S) generated by the magnetic field B are superimposed and uniform.
  • a plasma density distribution can be realized.
  • the distribution of the plasma density generated only by the electric field E is a distribution that increases in the peripheral portion of the processing space S, as in the case of FIGS. 3A and 4A described above, the central facing group 21 and the peripheral facing group. What is necessary is just to make a magnetic field intensity the maximum between 22 and to make a plasma density high between the center part opposing group 21 and the peripheral part opposing group 22.
  • FIG. 1 the distribution of the plasma density generated only by the electric field E (dense at the periphery of the processing space S) and the distribution of the plasma density generated by the magnetic field B (dense at the center of the processing space S) are superimposed and uniform. A plasma density distribution can be realized.
  • the plasma processing performed on the wafer W by changing the magnetic field intensity of the magnetic field generated by each electromagnet 20 and / or the magnetic pole of the electromagnet 20 according to the conditions of the plasma processing performed on the wafer W.
  • the above conditions it is possible to control the generation conditions of the magnetic field B to realize the optimal plasma density distribution for each of the plasma processing conditions before and after the change.
  • FIG. 5 is a cross-sectional view schematically showing the configuration of the substrate processing apparatus according to the present embodiment.
  • the substrate processing apparatus 24 includes three high-frequency power supplies that supply high-frequency power.
  • the first high-frequency power source 25 is connected to the susceptor 12 via the first matching unit 26
  • the second high-frequency power source 27 is connected via the second matching unit 28, and the third A high frequency power supply 29 is connected via the third matching unit 30,
  • the first high frequency power supply 25 supplies high frequency power of 40 MHz to the susceptor 12, and the second high frequency power supply 27 supplies high frequency power of 100 MHz, for example.
  • the third high frequency power supply 29 supplies the susceptor 12 with high frequency power of 3.2 MHz, for example.
  • high-frequency power is supplied to the susceptor 12 from the first high-frequency power supply 25, the second high-frequency power supply 27, and the third high-frequency power supply 29 in accordance with the plasma processing conditions.
  • the susceptor 12 may not be supplied with high frequency power from the three high frequency power supplies 25, 27, 29.
  • one or two high frequency power supplies selected from the three high frequency power supplies 25, 27, 29 may be used.
  • High frequency power may be supplied from.
  • three high frequency power supplies 25, 27, and 29 are connected to the susceptor 12, but four or more high frequency power supplies may be connected to the susceptor 12.
  • a high frequency power source may be connected to the upper electrode without being connected, and high frequency power may be supplied to the processing space S from the upper electrode.
  • each electromagnet 20 is controlled in accordance with the frequency of the high-frequency power supplied to the susceptor 12 in order to cope with the non-uniform distribution of the plasma density that occurs when the frequency of the high-frequency power source increases.
  • the magnetic field strength of the generated magnetic field and / or the magnetic pole of the electromagnet 20 is changed.
  • the second high-frequency power supply 27 supplies high-frequency power of 100 MHz to the susceptor 12
  • a dense plasma density distribution is generated in the central portion in the processing space S.
  • FIG. 4B the magnetic pole on the processing space S side of each electromagnet 20 in the peripheral facing group 22 is set to the S pole, and the magnetic pole on the processing space S side of each electromagnet 20 in the outer facing group 23 is set to the N pole.
  • each electromagnet 20 in the outer facing group 23 is set to the S pole.
  • a magnetic field B having the maximum magnetic field strength can be generated between the outer facing group 23 and the peripheral portion opposing group 22, and a dense plasma density distribution is generated at the peripheral portion of the processing space S by the magnetic field B. be able to.
  • the dense plasma density distribution in the central portion and the dense plasma density distribution in the peripheral portion can be superimposed, and a uniform plasma density distribution can be realized in the processing space S.
  • the first high frequency power supply 25 supplies high frequency power of 40 MHz to the susceptor 12 a relatively uniform plasma density distribution is generated in the processing space S. Therefore, the plasma density distribution is opposed to the central portion so as not to be disturbed by the magnetic field B. By not energizing the coils 20b of all the electromagnets 20 in the group 21, the peripheral facing group 22 and the outer facing group 23, the magnetic field B is not generated.
  • the magnetic field strength is maximum between the outer facing group 23 and the peripheral facing group 22.
  • the first high frequency power supply 25 supplies high frequency power of 40 MHz to the susceptor 12
  • the magnetic field B is not generated by not energizing the coils 20 b of all the electromagnets 20. Regardless of the frequency of the generated high-frequency power, a uniform plasma density distribution can be realized in the processing space S, and thus the in-plane uniformity of the wafer W in the plasma processing can be prevented from being lowered.
  • the third high frequency power supply 29 supplies the high frequency power of 3.2 MHz to the susceptor 12, but the third high frequency power supply 29 may supply the high frequency power of 13 MHz to the susceptor 12.
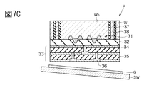
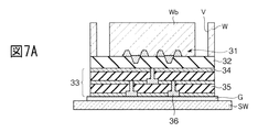
  • FIGS. 6A to 6C and FIGS. 7A to 7C are process diagrams for explaining TSV (Through Silicon Via) processing that is executed by a part of the substrate processing apparatus according to the present embodiment.
  • TSV processing is a processing method for obtaining a three-dimensional wiring structure by forming a through via in a silicon layer of a chip in order to obtain electrical connection between chips stacked to constitute a semiconductor device. It is.
  • the transistor 31 is formed on the surface of the wafer W, and the interlayer insulating film 32 is further formed on the wafer W on which the transistor 31 is formed (FIG. 6A).
  • a wiring structure 33 is formed on the interlayer insulating film 32.
  • wiring layers 34 and insulating films 35 are alternately laminated on the interlayer insulating film 32 over a plurality of layers, and the upper and lower wiring layers 34 are electrically connected through the insulating film 35.
  • a via hole 36 for realizing the wiring to be formed is formed (FIG. 6B).
  • the support wafer SW is a substrate that serves as a support member that reinforces the thinned wafer W and prevents warping when the back surface Wb of the wafer W is ground and thinned.
  • the support wafer SW has a thickness of several tens of ⁇ m. It consists of a silicon plate or quartz glass.
  • the bonded wafer LW is supported by, for example, a support provided in a grinding apparatus, and the back surface Wb of the wafer W is ground until the thickness T1 before grinding becomes a predetermined thickness T2, for example, 50 to 200 ⁇ m. (FIG. 6C).
  • a resist (not shown) is applied to the back surface Wb of the wafer W, and a resist pattern (not shown) for forming a via hole is formed by exposure and development, and a substrate processing apparatus to be described later is formed on the bonded wafer LW.
  • a via hole V having a diameter of 1 to 10 ⁇ m is formed.
  • the resist remaining on the back surface Wb of the bonded wafer LW is removed by an ashing process performed by a substrate processing apparatus 39 described later (FIG. 7A).
  • the depth of the via hole V corresponds to the thickness of the substrate itself of the wafer W after the back surface Wb of the wafer W is ground and thinned, and is, for example, 50 to 200 ⁇ m.
  • an insulating film 37 made of, for example, polyimide is formed on the inner peripheral surface of the via hole V, and the through electrode 38 is formed in the via hole V whose inner peripheral surface is covered with the insulating film 37 by, for example, electrolytic plating. (FIG. 7B).
  • the support wafer SW is peeled off from the wafer W, so that the wafer is thinned and the through electrode 38 is formed.
  • a chip P made of W can be obtained (FIG. 7C).
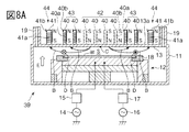
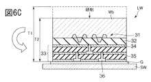
  • FIGS. 8A and 8B are diagrams schematically showing a configuration of the substrate processing apparatus according to the present embodiment, FIG. 8A is a cross-sectional view, and FIG. 8B is a substrate processing along a white arrow in FIG. 8A. It is the figure which looked at the upper electrode of the apparatus.
  • the substrate processing apparatus performs plasma processing, for example, dry etching processing or ashing processing in the above-described TSV processing of FIGS. 6 and 7 on the wafer.
  • the substrate processing apparatus 39 includes two types of electromagnets 40 and electromagnets 41 arranged on the upper surface 13a of the upper electrode 13.
  • Each electromagnet 40 includes a rod-shaped yoke 40a and a coil 40b wound around the side surface of the yoke 40a.
  • Each electromagnet 41 like the electromagnet 40, also includes a rod-shaped yoke 41a and the yoke 41a. And a coil 41b wound around the side surface.
  • the yoke 40a is made of an iron core having a diameter of 6.5 to 7.5 mm, and a coil 40b is formed by winding a copper wire 180 to 200 times on the side surface.
  • the yoke 41a is made of an iron core having a diameter of 26 to 28 mm, and a copper wire is wound on the side surface about 1300 to 1500 times to form a coil 41b.
  • the total magnetic flux generated by the electromagnet 40 and the electromagnet 41 and the direction of the magnetic flux can be changed by controlling the value of the current flowing to the coil 40b or the coil 41b and the direction of the current.
  • Total magnetic flux Magnetomotive force / Magnetic resistance
  • the total magnetic flux is the amount of all lines of magnetic force generated from one end of the yoke that is the iron core, the unit is indicated by Wb (Weber), the magnetomotive force is the force that generates magnetic flux in the so-called magnetic circuit, and the unit is AT (ampere turn) ).
  • the magnetomotive force is specifically represented by the product of the number of turns of the coil wound around the yoke and the current flowing through the coil. Therefore, the magnetomotive force increases as the number of turns of the coil increases and the value of the current flowing through the coil increases.
  • the magnetic resistance is an index representing the difficulty of flowing the magnetic flux in the magnetic circuit, and is represented by the following formula (3).
  • Magnetic resistance magnetic path length / (permeability x magnetic path cross-sectional area) (3)
  • the magnetic path length is the length of the yoke
  • the magnetic permeability is the magnetic permeability of the yoke
  • the magnetic path cross-sectional area is the cross-sectional area of the yoke. Therefore, the longer the yoke and the smaller the diameter of the yoke, the greater the magnetoresistance.
  • the lengths of the yoke 40a and the yoke 41a are the same, the magnetic permeability of the yoke 40a and the yoke 41a is the same, and the values of the currents flowing through the coil 40b and the coil 41b are almost the same (the coil 40b Is 0.78A at the peak and 0.70A at the peak in the coil 41b).
  • the magnetomotive force of the electromagnet 41 is Is larger than the magnetomotive force of the electromagnet 40 and the diameter of the yoke 41 is larger than the diameter of the yoke 40, the magnetic resistance of the electromagnet 41 is smaller than the magnetic resistance of the electromagnet 40. Therefore, the total magnetic flux generated by the electromagnet 41 is larger than the total magnetic flux generated by the electromagnet 40. Specifically, the total magnetic flux generated by the electromagnet 41 is 8 to 12 times the total magnetic flux generated by the electromagnet 40.
  • the electromagnet 40 and the electromagnet 41 include a central portion facing group 42 (first electromagnet group) composed of a plurality of electromagnets 40 facing the center of the wafer W, and the central portion.
  • a peripheral portion opposing group 43 (second electromagnet group) composed of a plurality of electromagnets 40 arranged so as to surround the opposing group 42 and an annular shape with respect to the upper electrode center C, and outside the peripheral portion opposing group 43
  • an outer facing group 44 (third electromagnet group) composed of a plurality of electromagnets 41 not facing the wafer W.
  • the electromagnets 40 are arranged at equal intervals with respect to each of the radial direction and the circumferential direction of the upper electrode 13 and are arranged substantially radially.
  • the electromagnets 41 are arranged in a single ring along the circumferential direction of the upper electrode 13.
  • each electromagnet 40 of the central facing group 42 is indicated by a broken line.
  • the central facing group 42 is composed of a plurality of electromagnets 40 having a distance from the upper electrode center C to the center of 74.4 mm or less (indicated by L1 in FIG. 8B), and the peripheral facing group 43 is separated from the upper electrode center C.
  • the distance from the center is composed of a plurality of electromagnets 40 having a distance greater than 74.4 mm and 148.8 mm (indicated by L2 in FIG. 8B), and the outer facing group 44 is a distance from the upper electrode center C to the center.
  • L3 is composed of a plurality of electromagnets 41 of 190 mm (indicated by L3 in FIG. 8B). In FIGS. 8A and 8B, each electromagnet 40 of the central facing group 42 is indicated by a broken line.
  • the direction of the current flowing through the coil 40b of each electromagnet 40 is set so that all the magnetic poles on the processing space S side in each electromagnet 40 are the same.
  • the direction of the current flowing through the coil 41b of each electromagnet 41 is set so that all the magnetic poles on the processing space S side in the electromagnet 41 are the same.
  • a mixed gas of fluorine-containing gas and oxygen gas as a processing gas, for example, a mixed gas of SF 6 gas and O 2 gas and generating plasma from the processing gas
  • the plasma density in the central portion is higher than the plasma density in the peripheral portion of the processing space S.
  • the etch rate in the central portion of the wafer W is higher than the etch rate in the peripheral portion of the wafer W as shown in the graph of FIG. It is known to be higher.
  • the magnetic pole on the processing space S side of the electromagnet 40 in the central facing group 42 is set to N pole, and each electromagnet 40 in the peripheral facing group 43 is set.
  • the magnetic pole on the processing space S side and the magnetic pole on the processing space S side of each electromagnet 41 in the outer facing group 44 are set to the S pole.
  • a magnetic field B is generated radially from the central facing group 42 toward the peripheral facing group 43 and the outer facing group 44.
  • the generated magnetic field B the total magnetic flux generated by each electromagnet 41 in the outer facing group 44 is larger than the total magnetic flux generated by each electromagnet 40 in the central facing group 42 and the peripheral facing group 43. Accordingly, the magnetic field B is larger in the magnetic field strength in the peripheral portion of the processing space S than the magnetic field strength in the central portion of the processing space S, and the magnetic field strength is maximum in the vicinity of the outer facing group 44, that is, in the peripheral portion of the processing space S. Magnetic field B (see FIG. 10B described later).
  • the distribution of plasma density accompanying the etching process (dense at the center of the processing space S) and the distribution of plasma density generated by the magnetic field B generated by the substrate processing apparatus 39 (periphery of the processing space S) And dense) can be superimposed to achieve a uniform plasma density distribution.
  • FIG. 9B shows a graph of the etching rate distribution when the substrate processing apparatus 39 of FIG. 8 performs the etching process on the wafer W while generating the magnetic field B.
  • the substrate processing apparatus 39 sets the magnetic pole on the processing space S side of the electromagnet 40 in the central facing group 42 to the N pole, and each electromagnet 40 in the peripheral facing group 43.
  • the magnetic field B is generated by setting the magnetic pole on the processing space S side and the magnetic pole on the processing space S side of each electromagnet 41 in the outer facing group 44 to the S pole, a substantially uniform etch rate is realized on the front surface of the wafer W. be able to.
  • FIG. 10A and 10B show the calculation results when the magnetic poles on the processing space S side of the electromagnets 40 and the electromagnets 41 in the central facing group 42, the peripheral facing group 43, and the outer facing group 44 in the substrate processing apparatus 39 are changed.
  • FIG. 10A shows a distribution of etch rate
  • FIG. 10B shows a distribution of magnetic flux density.
  • a thin broken line indicates a case where all the electromagnets 40 and 41 do not generate magnetic flux (Comparative Example 1).
  • the thin solid line sets the magnetic pole on the processing space S side of each electromagnet 40 in the central facing group 42 to N pole, sets the magnetic pole on the processing space S side of each electromagnet 40 in the peripheral facing group 43 to S pole, And the case where each electromagnet 41 of the outer side opposing group 44 does not generate
  • the thick broken line sets the magnetic pole on the processing space S side of each electromagnet 40 of the central facing group 42 to N pole, the electromagnets 40b of the peripheral facing group 43 do not generate magnetic flux, and each of the outer facing groups 44
  • a case where the magnetic pole on the processing space S side of the electromagnet 41 is set to the S pole is shown (Example 1).
  • the thick solid line sets the magnetic pole on the processing space S side of each electromagnet 40 in the central facing group 42 to N pole, sets the magnetic pole on the processing space S side of each electromagnet 40 in the peripheral facing group 43 to S pole,
  • the case where the magnetic pole on the processing space S side of each electromagnet 41 of the outer facing group 44 is set to the S pole is shown (Example 2).
  • the magnetic pole on the processing space S side of each electromagnet 40 of the central facing group 42 is set to N pole, and the processing space S of each electromagnet 41 of the outer facing group 44 is set. If the magnetic pole on the side is set to the S pole, the magnetic field strength (in each graph, the magnetic flux density in the range of 150 to 160 mm from the peripheral edge of the processing space S, specifically, the center of the wafer W slightly outside the wafer W. It has been found that a magnetic field B that maximizes (substantially shown) can be obtained.
  • the substantially uniform etch rate in the plane of the wafer W can be realized because the outer facing group 44 does not face the wafer W, specifically, Is provided outside the wafer W, so that the magnetic field B having the maximum magnetic field intensity can be obtained slightly outside the wafer W, and thus the plasma density over the entire portion of the processing space S facing the wafer W. It was inferred that it was possible to make almost uniform.
  • the magnetic field strength does not rise smoothly from the center of the processing space S (the center of the wafer W) to the peripheral edge of the processing space S (in the range of 150 to 160 mm from the center of the wafer W).
  • the step is formed in the portion facing the group 43 (in the range of 70 to 100 mm from the center of the wafer W) because the magnetic poles on the processing space S side of each electromagnet 40 in the peripheral portion facing group 43 and each of the outer facing group 44 are formed. This is because the magnetic pole on the processing space S side of the electromagnet 41 is the same S pole, and the magnetic flux generated from each electromagnet 40 in the peripheral facing group 43 and the magnetic flux generated from each electromagnet 41 in the outer facing group 44 cancel each other. Inferred.
  • the two types of electromagnets 40 and electromagnets 41 arranged on the upper surface 13a of the upper electrode 13 include a central facing group 42 that faces the center of the wafer W, It is divided into a peripheral part opposing group 43 surrounding the central part opposing group 42 and an outer opposing group 44 arranged outside the peripheral part opposing group 43 and not facing the wafer W, and a magnetic field in the central part of the processing space S. Since the magnetic field B having a larger magnetic field intensity at the peripheral edge of the processing space S than the intensity is generated, the plasma density distribution in which the central portion of the processing space S generated by the TSV process is higher than the peripheral edge of the processing space S is improved. be able to.
  • the magnetic pole on the processing space S side of each electromagnet 40 in the central facing group 42 is set to N pole, and the magnetic pole on the processing space S side of each electromagnet 41 in the outer facing group 44 is set to S pole. If the magnetic pole on the processing space S side of each electromagnet 40 in the central facing group 42 is opposite to the magnetic pole on the processing space S side in each electromagnet 41 in the outer facing group 44, the central portion of the processing space S is set.
  • the magnetic pole on the processing space S side of each electromagnet 40 of the central facing group 42 is set to the S pole, and The magnetic pole on the processing space S side of each electromagnet 41 in the outer facing group 44 may be set to N pole.
  • the center facing group 42 is located from the electrode center C to the center thereof so as to match the inflection point of the etch rate located about 75 mm from the center of the wafer W shown in the graph of FIG. 9A.
  • the peripheral edge facing group 43 is composed of the electromagnet 40 having a distance from the electrode center C to the center of greater than 74.4 mm. That is, the boundary between the central portion opposing group 42 and the peripheral portion opposing group 43 is set to 74.4 mm from the electrode center C, but the boundary between the central portion opposing group 42 and the peripheral portion opposing group 43 can be changed, and the processing space In order to obtain the distribution of the magnetic field B so that the distribution of the plasma density of S is optimal, the boundary may be changed.
  • the plurality of electromagnets 40 need not be divided into only the central facing group 42 and the peripheral facing group 43, and the plasma density distribution generated by the etching process is complemented by the plasma density distribution generated by the magnetic field B.
  • the plurality of electromagnets 40 are divided into one or more electromagnet groups, and a magnetic field B distribution is obtained that optimizes the plasma density distribution in the processing space S. May be.
  • the change of the boundary of the center part opposing group 42 and the peripheral part opposing group 43 and the change of the number of electromagnet groups are controlled by controlling the value of current flowing to the coil 40b of each electromagnet 40 and the direction of current by each controller This is done by changing the strength of the magnetic field B generated by the magnetic field 40 and / or the magnetic pole of each electromagnet 40.

Landscapes

  • Engineering & Computer Science (AREA)
  • Physics & Mathematics (AREA)
  • Chemical & Material Sciences (AREA)
  • Plasma & Fusion (AREA)
  • Manufacturing & Machinery (AREA)
  • Microelectronics & Electronic Packaging (AREA)
  • Power Engineering (AREA)
  • Computer Hardware Design (AREA)
  • General Physics & Mathematics (AREA)
  • Condensed Matter Physics & Semiconductors (AREA)
  • Analytical Chemistry (AREA)
  • Materials Engineering (AREA)
  • Chemical Kinetics & Catalysis (AREA)
  • Mechanical Engineering (AREA)
  • Metallurgy (AREA)
  • Organic Chemistry (AREA)
  • Drying Of Semiconductors (AREA)
  • Plasma Technology (AREA)
PCT/JP2013/051362 2012-01-18 2013-01-17 基板処理装置 Ceased WO2013108930A1 (ja)

Priority Applications (4)

Application Number Priority Date Filing Date Title
US14/370,579 US20140346040A1 (en) 2012-01-18 2013-01-17 Substrate processing apparatus
KR1020147018433A KR20140114821A (ko) 2012-01-18 2013-01-17 기판 처리 장치
KR1020197025510A KR102148005B1 (ko) 2012-01-18 2013-01-17 기판 처리 방법
US15/378,590 US10651012B2 (en) 2012-01-18 2016-12-14 Substrate processing method

Applications Claiming Priority (4)

Application Number Priority Date Filing Date Title
JP2012-008019 2012-01-18
JP2012008019A JP6018757B2 (ja) 2012-01-18 2012-01-18 基板処理装置
US201261592213P 2012-01-30 2012-01-30
US61/592,213 2012-01-30

Related Child Applications (2)

Application Number Title Priority Date Filing Date
US14/370,579 A-371-Of-International US20140346040A1 (en) 2012-01-18 2013-01-17 Substrate processing apparatus
US15/378,590 Division US10651012B2 (en) 2012-01-18 2016-12-14 Substrate processing method

Publications (1)

Publication Number Publication Date
WO2013108930A1 true WO2013108930A1 (ja) 2013-07-25

Family

ID=48799346

Family Applications (1)

Application Number Title Priority Date Filing Date
PCT/JP2013/051362 Ceased WO2013108930A1 (ja) 2012-01-18 2013-01-17 基板処理装置

Country Status (5)

Country Link
US (2) US20140346040A1 (enExample)
JP (1) JP6018757B2 (enExample)
KR (2) KR20140114821A (enExample)
TW (1) TWI559818B (enExample)
WO (1) WO2013108930A1 (enExample)

Families Citing this family (22)

* Cited by examiner, † Cited by third party
Publication number Priority date Publication date Assignee Title
JP6009171B2 (ja) * 2012-02-14 2016-10-19 東京エレクトロン株式会社 基板処理装置
JP6317139B2 (ja) 2014-03-04 2018-04-25 東京エレクトロン株式会社 プラズマ処理装置のクリーニング方法及びプラズマ処理装置
JP6244518B2 (ja) 2014-04-09 2017-12-13 東京エレクトロン株式会社 プラズマ処理方法及びプラズマ処理装置
US10091594B2 (en) 2014-07-29 2018-10-02 Cochlear Limited Bone conduction magnetic retention system
WO2016181919A1 (ja) 2015-05-11 2016-11-17 株式会社荏原製作所 電磁石装置、電磁石制御装置、電磁石制御方法、および電磁石システム
US10130807B2 (en) 2015-06-12 2018-11-20 Cochlear Limited Magnet management MRI compatibility
US20160381473A1 (en) 2015-06-26 2016-12-29 Johan Gustafsson Magnetic retention device
US10917730B2 (en) * 2015-09-14 2021-02-09 Cochlear Limited Retention magnet system for medical device
JP6516649B2 (ja) * 2015-10-09 2019-05-22 東京エレクトロン株式会社 プラズマエッチング方法
JP7055054B2 (ja) * 2018-04-11 2022-04-15 東京エレクトロン株式会社 プラズマ処理装置、プラズマ制御方法、及びプラズマ制御プログラム
JP6964039B2 (ja) 2018-04-20 2021-11-10 株式会社荏原製作所 電磁石制御装置および電磁石システム
JP7222848B2 (ja) 2019-08-26 2023-02-15 株式会社荏原製作所 電磁石制御装置および電磁石システム
WO2021059163A1 (en) 2019-09-27 2021-04-01 Cochlear Limited Multipole magnet for medical implant system
US11787008B2 (en) 2020-12-18 2023-10-17 Applied Materials, Inc. Chemical mechanical polishing with applied magnetic field
CN113699495B (zh) * 2021-06-21 2023-12-22 北京北方华创微电子装备有限公司 磁控溅射组件、磁控溅射设备及磁控溅射方法
USD1103948S1 (en) * 2021-08-21 2025-12-02 Applied Materials, Inc. Gas distribution plate
USD1104086S1 (en) * 2021-08-21 2025-12-02 Applied Materials, Inc. Gas distribution plate
USD1071103S1 (en) * 2022-04-11 2025-04-15 Applied Materials, Inc. Gas distribution plate
JP7685973B2 (ja) * 2022-05-25 2025-05-30 東京エレクトロン株式会社 基板処理方法及び基板処理装置
USD1085029S1 (en) * 2022-07-19 2025-07-22 Applied Materials, Inc. Gas distribution plate
CN117894662B (zh) * 2024-01-15 2024-10-25 北京北方华创微电子装备有限公司 一种工艺腔室及半导体工艺设备
CN119764154B (zh) * 2025-03-07 2025-10-28 上海邦芯半导体科技有限公司 一种等离子体刻蚀设备以及刻蚀方法

Citations (3)

* Cited by examiner, † Cited by third party
Publication number Priority date Publication date Assignee Title
JPH0480385A (ja) * 1990-07-20 1992-03-13 Ulvac Japan Ltd プラズマエッチング装置
JPH09139380A (ja) * 1995-08-21 1997-05-27 Applied Materials Inc 電子の循環によりプラズマ処理を向上するための浅い磁場
JP2000200696A (ja) * 1999-01-07 2000-07-18 Matsushita Electric Ind Co Ltd プラズマ制御方法と半導体製造装置

Family Cites Families (21)

* Cited by examiner, † Cited by third party
Publication number Priority date Publication date Assignee Title
JPH0165132U (enExample) * 1987-10-21 1989-04-26
JPH0810288Y2 (ja) 1990-11-28 1996-03-29 日星電気株式会社 製茶機用底板
JP3238200B2 (ja) * 1992-07-17 2001-12-10 株式会社東芝 基体処理装置及び半導体素子製造方法
JP3037848B2 (ja) 1992-04-17 2000-05-08 東京エレクトロン株式会社 プラズマ発生装置およびプラズマ発生方法
JPH08288096A (ja) * 1995-02-13 1996-11-01 Mitsubishi Electric Corp プラズマ処理装置
JPH09115882A (ja) * 1995-10-19 1997-05-02 Hitachi Ltd プラズマ処理方法およびその装置
JP4107518B2 (ja) 1996-07-03 2008-06-25 東京エレクトロン株式会社 プラズマ処理装置
JP3037848U (ja) 1996-08-26 1997-05-27 永田醸造機械株式会社 連続浸漬吸水装置
JP3375302B2 (ja) 1998-07-29 2003-02-10 東京エレクトロン株式会社 マグネトロンプラズマ処理装置および処理方法
TW511398B (en) * 2000-09-12 2002-11-21 Tokyo Electron Ltd Apparatus and method to control the uniformity of plasma by reducing radial loss
GB2386128B (en) * 2000-12-05 2004-08-04 Trikon Holdings Ltd Magnetron sputtering apparatus
JP4606637B2 (ja) * 2001-04-12 2011-01-05 キヤノンアネルバ株式会社 マグネトロン型平行平板表面処理装置
US20030024478A1 (en) * 2001-08-06 2003-02-06 Anelva Corporation Surface processing apparatus
JP4392852B2 (ja) * 2001-12-07 2010-01-06 東京エレクトロン株式会社 プラズマ処理装置に用いられる排気リング機構及びプラズマ処理装置
JP4251817B2 (ja) * 2002-04-26 2009-04-08 キヤノンアネルバ株式会社 プラズマ生成用ポイントカスプ磁界を作るマグネット配列およびプラズマ処理装置
JP4355157B2 (ja) * 2003-03-31 2009-10-28 東京エレクトロン株式会社 プラズマ処理方法及びプラズマ処理装置及び磁場発生装置
JP2004335637A (ja) * 2003-05-06 2004-11-25 Anelva Corp エッチング方法及びエッチング装置
JP5031252B2 (ja) 2006-03-30 2012-09-19 東京エレクトロン株式会社 プラズマ処理装置
JP5514413B2 (ja) * 2007-08-17 2014-06-04 東京エレクトロン株式会社 プラズマエッチング方法
US7816945B2 (en) 2009-01-22 2010-10-19 International Business Machines Corporation 3D chip-stack with fuse-type through silicon via
JP2011060885A (ja) * 2009-09-08 2011-03-24 Tokyo Electron Ltd プラズマ処理装置及びプラズマ処理方法

Patent Citations (3)

* Cited by examiner, † Cited by third party
Publication number Priority date Publication date Assignee Title
JPH0480385A (ja) * 1990-07-20 1992-03-13 Ulvac Japan Ltd プラズマエッチング装置
JPH09139380A (ja) * 1995-08-21 1997-05-27 Applied Materials Inc 電子の循環によりプラズマ処理を向上するための浅い磁場
JP2000200696A (ja) * 1999-01-07 2000-07-18 Matsushita Electric Ind Co Ltd プラズマ制御方法と半導体製造装置

Also Published As

Publication number Publication date
KR20190104436A (ko) 2019-09-09
US20140346040A1 (en) 2014-11-27
TWI559818B (zh) 2016-11-21
JP2013149722A (ja) 2013-08-01
KR102148005B1 (ko) 2020-08-25
US20170162367A1 (en) 2017-06-08
TW201352075A (zh) 2013-12-16
US10651012B2 (en) 2020-05-12
KR20140114821A (ko) 2014-09-29
JP6018757B2 (ja) 2016-11-02

Similar Documents

Publication Publication Date Title
JP6018757B2 (ja) 基板処理装置
JP6008771B2 (ja) 多層膜をエッチングする方法
JP6009171B2 (ja) 基板処理装置
KR100781030B1 (ko) 마그네트론 플라즈마용 자장 발생 장치
JP6284825B2 (ja) プラズマ処理装置
KR102434088B1 (ko) 플라즈마 처리 장치 및 플라즈마 처리 방법
WO2015155972A1 (ja) プラズマ処理方法及びプラズマ処理装置
TWI509674B (zh) 電漿處理系統及形成用於電漿處理之一磁場的方法
TWI895280B (zh) 電漿處理裝置及處理基板之方法
KR20170042489A (ko) 플라즈마 에칭 방법
CN112466734A (zh) 等离子体处理装置及处理基板的方法
JP5890609B2 (ja) プラズマ処理装置
JP7685973B2 (ja) 基板処理方法及び基板処理装置
CN103249241A (zh) 新型多线圈靶设计
KR100739959B1 (ko) 반도체 장치 제조용 식각 챔버
JP2007134428A (ja) ドライエッチング方法およびその装置

Legal Events

Date Code Title Description
121 Ep: the epo has been informed by wipo that ep was designated in this application

Ref document number: 13738079

Country of ref document: EP

Kind code of ref document: A1

ENP Entry into the national phase

Ref document number: 20147018433

Country of ref document: KR

Kind code of ref document: A

WWE Wipo information: entry into national phase

Ref document number: 14370579

Country of ref document: US

NENP Non-entry into the national phase

Ref country code: DE

122 Ep: pct application non-entry in european phase

Ref document number: 13738079

Country of ref document: EP

Kind code of ref document: A1