WO2013051530A1 - 付着物検査装置及び検査方法 - Google Patents

付着物検査装置及び検査方法 Download PDF

Info

Publication number
WO2013051530A1
WO2013051530A1 PCT/JP2012/075459 JP2012075459W WO2013051530A1 WO 2013051530 A1 WO2013051530 A1 WO 2013051530A1 JP 2012075459 W JP2012075459 W JP 2012075459W WO 2013051530 A1 WO2013051530 A1 WO 2013051530A1
Authority
WO
WIPO (PCT)
Prior art keywords
air
unit
inspection
baggage
air nozzle
Prior art date
Legal status (The legal status is an assumption and is not a legal conclusion. Google has not performed a legal analysis and makes no representation as to the accuracy of the status listed.)
Ceased
Application number
PCT/JP2012/075459
Other languages
English (en)
French (fr)
Japanese (ja)
Inventor
鹿島 秀夫
菅谷 昌和
光一 寺田
泰徳 土井
康孝 鈴木
永野 久志
橋本 雄一郎
高田 安章
Current Assignee (The listed assignees may be inaccurate. Google has not performed a legal analysis and makes no representation or warranty as to the accuracy of the list.)
Hitachi Ltd
Original Assignee
Hitachi Ltd
Priority date (The priority date is an assumption and is not a legal conclusion. Google has not performed a legal analysis and makes no representation as to the accuracy of the date listed.)
Filing date
Publication date
Application filed by Hitachi Ltd filed Critical Hitachi Ltd
Priority to US14/349,672 priority Critical patent/US9696288B2/en
Publication of WO2013051530A1 publication Critical patent/WO2013051530A1/ja
Anticipated expiration legal-status Critical
Ceased legal-status Critical Current

Links

Images

Classifications

    • GPHYSICS
    • G01MEASURING; TESTING
    • G01NINVESTIGATING OR ANALYSING MATERIALS BY DETERMINING THEIR CHEMICAL OR PHYSICAL PROPERTIES
    • G01N33/00Investigating or analysing materials by specific methods not covered by groups G01N1/00 - G01N31/00
    • G01N33/0004Gaseous mixtures, e.g. polluted air
    • G01N33/0009General constructional details of gas analysers, e.g. portable test equipment
    • G01N33/0011Sample conditioning
    • GPHYSICS
    • G01MEASURING; TESTING
    • G01NINVESTIGATING OR ANALYSING MATERIALS BY DETERMINING THEIR CHEMICAL OR PHYSICAL PROPERTIES
    • G01N1/00Sampling; Preparing specimens for investigation
    • G01N1/02Devices for withdrawing samples
    • G01N1/22Devices for withdrawing samples in the gaseous state
    • G01N1/2202Devices for withdrawing samples in the gaseous state involving separation of sample components during sampling
    • GPHYSICS
    • G01MEASURING; TESTING
    • G01NINVESTIGATING OR ANALYSING MATERIALS BY DETERMINING THEIR CHEMICAL OR PHYSICAL PROPERTIES
    • G01N1/00Sampling; Preparing specimens for investigation
    • G01N1/02Devices for withdrawing samples
    • G01N2001/022Devices for withdrawing samples sampling for security purposes, e.g. contraband, warfare agents
    • G01N2001/024Devices for withdrawing samples sampling for security purposes, e.g. contraband, warfare agents passengers or luggage
    • GPHYSICS
    • G01MEASURING; TESTING
    • G01NINVESTIGATING OR ANALYSING MATERIALS BY DETERMINING THEIR CHEMICAL OR PHYSICAL PROPERTIES
    • G01N1/00Sampling; Preparing specimens for investigation
    • G01N1/02Devices for withdrawing samples
    • G01N2001/028Sampling from a surface, swabbing, vaporising

Definitions

  • the present invention relates to a technique for inspecting a substance (sample substance) adhering to an object to be inspected, and mainly relates to an adhering substance inspection apparatus and an adhering substance inspection method for inspecting a substance adhering to baggage or a human body.
  • Patent Documents 1 to 4 describe techniques for inspecting the presence of dangerous materials such as explosives and narcotics in baggage performed at boardings at airports and harbors. Further, Patent Document 5 describes a technique for changing a fluid pressure based on the shape and size of a target object.
  • Patent Document 1 describes an attachment inspection apparatus that moves a nozzle that blows compressed gas onto the surface of an inspection object at a wind speed of 20 m / s or more based on the outer shape of the inspection object by moving a joint.
  • Patent Document 2 discloses a deposit inspection apparatus that injects compressed gas onto an inner wall of a collection unit and an arm that supports the nozzle by a nozzle that blows the compressed gas onto the surface of the inspection object at a wind speed of 20 m / s or higher.
  • Patent Document 3 describes a technique in which an inspector wipes the surface of baggage with a wiping material, and determines the presence and type of a dangerous substance on sample fine particles attached to the wiping material.
  • Patent Document 4 a sampling head having a rotating brush that sweeps the exposed surface of a load that extends over the entire width of the sampling chamber that stores the load is brought into contact with the surface of the load with a spring, a sensor, or a servo.
  • a technique for collecting sample fine particles adhering to the surface of a package is described.
  • fluid pressures fan air pressure, atomizing air pressure, etc.
  • An injection system is described in which the liquid discharge pattern from the nozzles is dynamically changed.
  • the baggage temporarily stops in the sampling chamber, and is calculated from a plurality of baggage recognition output signals paired by a projector and a receiver arranged in the horizontal and vertical directions at the entrance of the sampling chamber.
  • the air nozzle attached to the tip of the arm is moved along the virtual outline of the baggage.
  • the baggage is transported out of the sampling chamber. Since the air nozzle is scanned after the baggage is temporarily stopped in the sampling chamber, there is a problem that the inspection processing time of one piece of baggage becomes long. Further, in order to scan the air nozzle, an arm having a joint and a moving mechanism for moving the arm straightly are necessary. Further, since there are many mechanisms to drive, dust is easily generated, and there is a problem that the apparatus is contaminated.
  • Patent Document 5 relates to a spray gun that performs liquid coating on an object.
  • a spray gun that performs liquid coating on an object.
  • irradiation of the liquid coating irradiated from the spray gun is performed. This is a technique of irradiating while changing the range in a direction orthogonal to the direction in which the object moves, and fine particles cannot be peeled off from the surface of baggage or the like.
  • the object of the present invention is to remove the sample fine particles from the surface of the baggage in a non-contact manner without requiring a skilled technique for the inspector, and to inspect whether the sample fine particles contain a dangerous substance. Is to provide.
  • a plurality of air nozzles are fixed to the inner wall, and a stripping unit that strips a sample substance adhered to the test target by injecting an air jet from the air nozzle onto the test target transported inside And an inspection unit for inspecting the peeled sample material, a conveyance unit for conveying the inspection object, a size detection unit for detecting the size of the inspection object conveyed by the conveyance unit, and operations of the plurality of air nozzles.
  • an air nozzle control unit that controls the air nozzle control unit to select an air nozzle capable of injecting an air jet of 15 m / s or more onto the surface of the inspection object based on an output signal from the size detection unit, and from the selected air nozzle An air jet is ejected.
  • the sample substance attached to the inspection object is peeled off by the wind pressure of the air jet, so that the amount of the sample substance to be inspected by the inspection unit can be increased and variation in inspection conditions can be reduced.
  • the apparatus further comprises a separation unit for separating the sample fine particles from the air containing the sample material, and a mortar-shaped collection unit for guiding the air containing the sample material from the peeling unit to the separation unit.
  • a plurality of air noises for blowing an air jet on the inner surface are provided.
  • the separation unit is a separation unit that utilizes a cyclone phenomenon, and includes a nozzle that blows an air jet on the inner surface of an L-shaped pipe that connects the collection unit and the separation unit.
  • the sample fine particles adhering to the inspection object are peeled off while moving the inspection object without being in contact with the inspection object without requiring a skilled technique from the inspector.
  • the amount of sample can be increased, and the sample substance can be easily identified with high accuracy.
  • attachment inspection apparatus of this invention The block diagram which shows the structural example of the principal part of a deposit
  • the timing chart which shows the injection timing of each air nozzle.
  • the graph which shows the relationship between the consumption flow volume of the air injected from an air nozzle, and a pressure.
  • the subject's belongings to which explosive fine particles or explosive additive fine particles are attached are typical inspection objects, but other explosive substances, drugs such as stimulants, and chemicals that adversely affect the human body.
  • FIG. 1 is a perspective view showing an appearance of an example of the deposit inspection apparatus according to the present invention
  • FIG. 2 is a block diagram showing a main configuration thereof.
  • the attached matter inspection apparatus 1 includes an attached matter inspection unit 2, a central control unit 3, a baggage delivery unit 4, an attached matter peeling / collecting unit 5, a power supply unit 6, and an operation panel 7. .
  • the power supply unit 6 that supplies power necessary for the operation of each unit of the apparatus is controlled by the central control unit 3.
  • the central control unit 3 is connected to the inspection unit controller 8, the delivery unit controller 9, and the separation / collection unit controller 10.
  • the operating conditions of each part of the apparatus are input from the operation panel 7, and the central control unit 3 controls the operation of each part of the apparatus according to the input operating conditions.
  • the separation unit 12, the heating unit 22, the baggage delivery unit 4, and the deposit separation / collection unit 5 of the deposit inspection unit 2 shown in FIG. 2. Is provided.
  • the depositing part inspection unit 2, the power source unit 6, and the central control unit 3 excluding the separation unit 12 and the heating unit 22 shown in FIG. Baggage that is an object to be inspected is carried by a baggage delivery unit 4 on a net-like transport tray (not shown).
  • the size of the baggage is determined by the baggage recognition unit 14 during transport, and the separation and collection controller 10 determines the jet conditions of the air jet such as the nozzle to be used and the pressure of the compressed air according to the determined size of the baggage. Is done.
  • the determined injection condition is transmitted to the air nozzle controller 15, and the air nozzle controller 15 adjusts the pressure of the compressed air supplied from the compressed gas generator 16 and controls the driving of the nozzle to be used.
  • the pressure adjustment is performed by an electropneumatic regulator (not shown) arranged in the air nozzle controller 15.
  • an air jet is sequentially irradiated on the surface of the baggage from the top of the baggage downward.
  • a separation unit 12 including a collection filter that collects sample fine particles peeled off from the baggage is disposed below the baggage delivery driving unit 13.
  • the inner surface of the sampling chamber 18 of the deposit inspection apparatus housing 11 is covered with a cover (not shown).
  • the operation panel 7 (not shown) is placed at a desired position where it can be easily operated.
  • the collection filter 17 (see FIG. 3A) that collects the sample fine particles is held at a constant temperature by the heating unit 22.
  • the heating unit 22 is connected to the ion source unit 23.
  • the sample particulates collected by the collection filter 17 are heated by the heating unit 22.
  • the heated sample fine particles are vaporized to generate a sample gas.
  • the sample gas is introduced into the ion source unit 23 by the suction pump 24 and ionized.
  • the ions generated by the ion source unit 23 are subjected to mass analysis by the mass analysis unit 25.
  • the ion source unit 23 and the mass analysis unit 25 are exhausted by the exhaust unit 26.
  • the storage means of the data processing unit 27 includes a database including standard mass analysis data (a value of mass-to-charge ratio (mass number of ions / valence of ions) and relative intensity) necessary for identifying a plurality of explosive substances. It is remembered.
  • the output signal of the detector of the mass spectrometer of the mass analyzer 25 is sent to the data processor 27, and data such as collating the database read from the storage means with the results of mass analysis of ions derived from explosive components. Processed to identify explosive materials.
  • the specified explosive substance and / or the result of mass spectrometry are displayed on the operation panel 7.
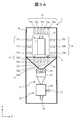
  • FIG. 3A, 3B, 4, and 5 the configurations of the baggage recognition unit 14 and the air nozzle of the separation and collection unit 5 of the deposit inspection apparatus 1 according to the present embodiment will be described with reference to FIGS. 3A, 3B, 4, and 5.
  • FIG. 3A, 3B, 4, and 5 the configurations of the baggage recognition unit 14 and the air nozzle of the separation and collection unit 5 of the deposit inspection apparatus 1 according to the present embodiment will be described with reference to FIGS. 3A, 3B, 4, and 5.
  • FIGS. 3A and 3B are front views for explaining the configurations of the baggage recognition unit 14 and the air nozzle of the separation and collection unit 5 of the deposit inspection apparatus 1 of the present embodiment.
  • the front view is a view seen from the negative direction of the X axis.
  • FIG. 3A is a diagram for explaining the baggage recognizing unit 14, and parts other than the baggage recognizing unit 14, the separating unit 12, and the heating unit 22 are not shown.
  • FIG. 3B is a diagram for explaining the configuration of the air nozzle, and the illustration of the parts other than the air nozzle group, the separation unit 12, and the heating unit 22 is omitted.
  • FIG. 4 is a side view including a partial cross section of the deposit inspection apparatus 1 for explaining the configuration of the baggage recognition unit 14 and the air nozzle groups 34, 35, and 36, the separation unit 12, and the heating unit 22.
  • the cross section is a cross section passing through the center of the sampling chamber 18 and parallel to the baggage transport direction of the sampling chamber 18.
  • the side view is a side view as seen from the positive direction of the Y-axis.
  • the parts other than the baggage recognition unit 14, the air nozzle groups 34, 35, and 36, the separation unit 12, the heating unit 22, and the preparation base 20 are illustrated. Omitted.
  • FIG. 5 is a top view showing the appearance of the deposit inspection apparatus 1, as viewed from the positive direction of the Z-axis. Baggage, which is an object to be inspected, is placed on a net-like transport tray (not shown) and transported into the sampling chamber 18 by the baggage delivery drive unit 13. The size of the sampling chamber inlet 29 through which the baggage of the sampling chamber 18 of this embodiment is passed is 60 cm wide and 50 cm high.
  • a baggage recognition unit 14 is provided at the sampling chamber entrance 29.
  • the baggage recognizing unit 14 is opposed to light projectors 31a to 31c that project light and light receivers 32a to 32c that receive light from the light projectors 31a to 31c in the lateral direction across the transport path of the baggage 30.
  • the projectors 31d to 31h and the light receivers 32d to 32h face each other in the vertical direction across the transport path of the baggage 30.
  • the light receivers 32a to 32h output a signal under the condition that the baggage 30 blocks the light from the projectors 31a to 31h and does not receive the light at the light receivers 32a to 32h, and the signals from the light receivers 32a to 32h are separated. It is transmitted to the air nozzle controller 15 via the collection controller 10.
  • the baggage recognizing unit 14 of the present embodiment has a total of three pairs of light projectors 31a to 31c and light receivers 32a to 32c at positions 8 cm, 24 cm and 40 cm from the height of the delivery surface of the baggage delivery driving unit 13.
  • 31c is arranged in the horizontal direction. Further, in the vertical direction, a total of five pairs of light projectors 31d to 31h and light receiver 32d are located at the center of the sampling chamber inlet 29, at a position 7.5 cm to the left and right from the center, and at a position 15 cm to the left and right from the center. To 32h are arranged.
  • the maximum size of baggage 30 that can be brought into the cabin is defined as a total of three sides of 110 cm or less.
  • the types of baggage 30 vary from small items such as wallets to handbags and carry cases.
  • a lane is provided on the surface of the preparation rack 20 positioned upstream of the baggage delivery drive unit 13 so that the sample particulates can be efficiently peeled from the surface of the baggage of various sizes.
  • 33a to 33c were painted in three colors.
  • a blue lane 33a indicates a range in which small items are inserted into the sampling chamber 18, and specifically, for guiding the baggage 30 between the light receivers 32e to 32g in the center of the sampling chamber 18 shown in FIG. 3A. Used as a mark.
  • a green lane 33b indicates a range in which a relatively medium-sized baggage 30 such as a handbag is inserted into the sampling chamber 18, specifically, a light receiver 32d at the center of the sampling chamber 18 shown in FIG.
  • the baggage 30 is guided between the middle of 32e and the middle of the light receivers 32g and 32h.
  • a red lane 33c indicates a range in which a large-sized baggage 30 such as a carry case or the like is inserted into the sampling chamber 18, and specifically, the light receivers 32d and 32h at the center of the sampling chamber 18 shown in FIG.
  • the baggage 30 is guided to a range that is detected.
  • the lanes 33a to 33c of the present embodiment center the inspector's standing position outside the opening of the sampling chamber 18 so as to match the body flow line when the inspector moves the baggage 30 to the sampling chamber 18. It is painted in an arc shape.
  • the inspector determines the introduction position of the baggage 30 into the sampling chamber 18 according to the size of the baggage 30 with reference to the lanes 33a to 33c, so that the sample fine particles are efficiently peeled off from the baggage surface. Stable inspection is possible.
  • air nozzle groups 34, 35, and 36 for blowing an air jet toward both side surfaces and the upper surface of the baggage 30 are arranged in the sampling chamber 18.
  • One air nozzle group 34 will be described as an example.
  • Three air nozzles 37 a, 37 b, 37 c (and air nozzles 37 g, 37 h, 37 i) are provided on both sides of the sampling chamber inlet 29 on the side surfaces at an interval of 16 cm from the height of the delivery surface, and the sampling chamber above the sampling chamber 18.
  • the center of the inlet 29 and three air nozzles 37d, 37e, 37f (only the air nozzle 37e appears in the figure) are provided at 15 cm intervals from the center to the left and right.
  • a total of nine air nozzles 37a to 37i made of this combination are used as the first air nozzle group 34, and other air nozzle groups 35 and 36 having the same nozzle configuration are arranged in the depth direction of the sampling chamber 18.
  • the air nozzle group closest to the sampling chamber inlet 29 is a first air nozzle group 34
  • the air nozzle group in the center of the sampling chamber 18 is a second air nozzle group 35
  • the air nozzle group closest to the sampling chamber 18 outlet is a third air nozzle group 36.
  • the other second air nozzle group 35 and the third air nozzle group 36 have the same configuration as the first air nozzle group 34.
  • the air nozzles 37d, 37e, and 37f of the first air nozzle group 34 are air nozzles that blow an air jet on the upper surface of the baggage 30, and are arranged on the upper portion of the sampling chamber 18 at a position 55 cm from the height of the delivery surface. In FIG. 4, only the air nozzle 37e located at the center is shown.
  • Air nozzles 37 a, 37 b, 37 c, 37 g, 37 h, and 37 i of the first air nozzle group 34 are air nozzles that blow an air jet onto the side surface of the baggage 30, and are arranged at a position 35 cm to the left and right from the center of the sampling chamber 18.
  • the air nozzles 37g, 37h, and 37i are arranged on the inner wall on the opposite side of the sampling chamber 18 as shown in FIG. 3B, and are not shown in FIG.
  • the air nozzles 37c and 37g are arranged so as to be shifted from the air nozzles 37d, 37e, and 37f in the depth direction of the 5 cm sampling chamber 18.
  • the air nozzles 37b and 37h are arranged with a displacement of 5 cm in the depth direction of the sampling chamber 18 from the air nozzles 37c and 37g.
  • the air nozzles 37a and 37i are arranged so as to be shifted by 5 cm in the depth direction of the sampling chamber 18 from the air nozzles 37b and 37h.
  • the air nozzle group composed of this combination constitutes the first air nozzle group 34.
  • the air nozzles 38d, 38e, and 38f of the second air nozzle group 35 are disposed in the upper portion of the sampling chamber 18 at a position 5 cm away from the air nozzles 37d, 37e, and 37f of the first air nozzle group 34.
  • the air nozzles 38a, 38b, 38c, 38g, 38h, 38i of the other second air nozzle group 35 have the same positional relationship as the air nozzles 37a, 37b, 37c, 37g, 37h, 37i of the first air nozzle group 34, and are in the sampling chamber. 18 on the inner wall.
  • the air nozzles 39d, 39e, 39f of the third air nozzle group 36 are arranged at a position 5 cm away from the air nozzles 38d, 38e, 38f of the second air nozzle group 35 above the sampling chamber 18.
  • the air nozzles 39a, 39b, 39c, 39g, 39h, and 39i of the other third air nozzle group 36 have the same positional relationship as the air nozzles 38a, 38b, 38c, 38g, 38h, and 38i of the second air nozzle group 35, and are in the sampling chamber. 18 on the inner wall.
  • the sampling chamber 18 is provided with a trigger sensor 40 that detects the time when air jets are ejected from the air nozzle groups 34, 35, and 36 described above.
  • the trigger sensor 40 includes a light projector and a light receiver.
  • the light projectors 41 a to 41 c that project light and the light receivers 42 a to 42 c that receive light from the light projectors 41 a to 41 c are opposed to each other across the transport system path of the baggage 30.
  • FIG. 3B shows the relationship between the projector 41a and the light receiver 42a.
  • the light receivers 42a to 42c of the trigger sensor 40 output signals under the condition that the baggage 30 blocks light from the projectors 41a to 41c and does not receive light from the light receivers 42a to 42c. Signals from the light receivers 42 a to 42 c are transmitted to the air nozzle controller 15 via the separation and collection controller 10.
  • a trigger sensor 40a that detects the timing of jetting air jets from the air nozzles 37d, 37e, and 37f of the first air nozzle group 34 disposed in the upper portion of the sampling chamber 18 is closer to the sampling chamber inlet 29 side than the air nozzles 37d, 37e, and 37f. It is provided at a position 5 cm away.
  • a trigger sensor 40b that detects the timing of jetting air jets from the air nozzles 38d, 38e, and 38f of the second air nozzle group 35 disposed in the upper portion of the sampling chamber 18 is closer to the sampling chamber inlet 29 side than the air nozzles 38d, 38e, and 38f. It is provided at a position 5 cm away.
  • a trigger sensor 40c that detects the timing of injecting air jets from the air nozzles 39d, 39e, and 39f of the third air nozzle group 36 disposed in the upper portion of the sampling chamber 18 enters the sampling chamber from the air nozzles 39d, 39e, and 39f. It is provided at a position 5 cm away from the 29 side.
  • FIG. A collector 43 that collects sample fine particles peeled off from the surface of the baggage 30 and guides them to the separation unit 12 is disposed below the baggage delivery drive unit 13.
  • the collector 43 has a rectangular shape with an opening at the top having a width of 50 cm and a depth of 60 cm, and a cylindrical intake pipe 44 having an inner diameter of 3.5 cm connected to the lower portion, and a height of 41.5 cm. It has the shape of a mortar.
  • a pull-out type coarse filter 45 that is easily inserted and pulled out is connected to the intake pipe 44.
  • the coarse filter 45 includes a stainless coarse filter 46, a tray 47 holding the stainless coarse filter 46, and a handle 48 when the coarse filter is inserted into and removed from the intake pipe.
  • the stainless coarse filter 46 is a coarse filter having an opening of 0.2 mm.
  • An L-shaped pipe 49 is connected to the lower side of the coarse filter 45, and the L-shaped pipe 49 is connected to the outer cylinder 57 of the separation unit 12.
  • an upper nozzle group 50 and a lower nozzle group 51 are disposed at a position 2 cm from the upper opening and a position 17.5 cm from the upper opening, respectively.
  • the upper nozzle group 50 is composed of a center of the collector 43, two at a distance of 10 cm from the center to the left and right, and a total of five upper nozzles 52 on one surface of the collector.
  • the lower nozzle group 51 is composed of a center of the collector 43, one each at a distance of 10 cm from the center to the left and right, and a total of three air nozzles 53 per one surface of the collector.
  • the upper nozzle group 50 and the lower nozzle group 51 peel off the explosive fine particles adhering to the inner surface of the collector 43 and send an air jet to the inner surface of the collector 43 so as to expel it toward the outlet side of the collector 43. It is something to spray.
  • a negatively charged sheet made of tetrafluoroethylene (not shown) is stretched over the entire inner surface of the collector 43 in order to prevent the negatively charged explosive fine particles from being adsorbed by static electricity.
  • the L-shaped pipe 49 is provided with an assist nozzle 54 for auxiliary air supply that blows an air jet toward the outer cylinder of the separation unit 12 on the inner surface of the L-shaped pipe 49.
  • FIG. 1 the separation unit 12 used in this embodiment will be described with reference to FIGS. 3A, 3B, and 4.
  • FIG. 3A the separation unit 12 used in this embodiment will be described with reference to FIGS. 3A, 3B, and 4.
  • the separation unit 12 used in this example utilizes a cyclone phenomenon.
  • the separation unit 12 includes an exhaust fan 55, an inner cylinder 56 connected to the exhaust fan 55, and an outer cylinder 57 having a conical shape.
  • the exhaust fan 55 exhausts the inside of the outer cylinder 57 via the inner cylinder 56.
  • An L-shaped pipe 49 is connected to the outer cylinder 57 so as to be inscribed in the circumference of the outer cylinder 57.
  • the heating unit 22 is connected to the small diameter side of the outer cylinder 57.
  • the heating unit 22 is provided with a heat block 58 into which the collection filter 17 is inserted, a heat source 59 for heating and holding the heat block 58 at a constant temperature, and a thermometer 60 for measuring the temperature. .
  • a collection filter 17 that collects sample fine particles is inserted into the heat block 58.
  • the collection filter 17 is a cartridge type provided with a handle 28 in order to facilitate insertion and extraction with respect to the heat block 58.
  • thermometer 60 and the heat source 59 of the heat block 58 are connected to the inspection unit controller 8, and the temperature of the heat block 58 can be heated and maintained at an arbitrary temperature between room temperature and 300 ° C.
  • an air jet having a wind speed of about 15 m / s or more on the surface of the baggage in order from the upper position to the lower position of the baggage. It is effective to intermittently irradiate, and in order to collect the explosive fine particles separated effectively, it is important to inhale the air in the sampling chamber 18 together with the air jet irradiation. From the headline.
  • FIG. 6 shows the result of measuring the relationship between the distance from the nozzle tip and the wind speed while increasing the pressure of the air jet between 0.05 MPa and 0.25 MPa in increments of 0.05 MPa for an air nozzle having a nozzle diameter of 1 mm.
  • the reason why the wind speed value at a distance of 10 cm is concentrated in the vicinity of 28 m / s at all pressures is because the wind speed exceeds the measurement value upper limit of the measuring instrument used. From this result, a wind speed of about 15 m / s or more is obtained at a minimum pressure of 0.05 MPa up to a distance of about 15 cm, and a maximum pressure of 0.25 MPa is out of the measurement range. Then, it turned out that the wind speed of about 15 m / s or more is obtained in the distance up to about 36 cm.
  • FIG. 7 shows the relationship between the signal output conditions (output patterns) of the light receivers 32a to 32h of the baggage recognition unit 14, the air nozzles used at that time, and the pressure of the air jets ejected from the air nozzles.
  • the sign of the light receiver of the baggage recognition unit 14 shown in the left column indicates that the light receiver outputs a signal.
  • “32a, 32f” in the second row of FIG. 7 has a small baggage size, and among the three light receivers 32a to 32c arranged for detecting the height, the bottom light receiver 32a. Only the central light receiver 32f of the five light receivers 32d to 32h arranged for detecting the width of the baggage is shielded by the baggage.
  • “n” in the symbols na, nb, nc, nd, ne, nf, ng, nh, and ni described in the upper row represents the symbols 37, 38, and 39.
  • the hatched lines in the table of FIG. 7 indicate air nozzles that are not used under the conditions.
  • the pressure value of the air jet described in the table of FIG. 7 is an intermediate size between the maximum size and the minimum size of the baggage 30 obtained from the signal output of the baggage recognition unit 14, and the wind speed on the surface of the baggage 30 is about 20 m / s.
  • the pressure value at which the air jet can be applied is shown, and the unit is MPa.
  • the injection conditions shown in the table of FIG. 7 are stored in advance in the separation / collection controller 10.
  • the baggage recognition unit 14 outputs signals only for the light receivers 32a and 32f.
  • the lanes 33a to 33c classified by color are painted on the surface of the preparation base 20, the inspector should make the insertion position of the baggage 30 into the sampling chamber 18 almost constant. Can do. Therefore, the baggage recognition unit 14 to be detected hardly changes depending on the size of the baggage 30.
  • the air nozzles na, nb, ne, nh, ni of the air nozzle groups are used as the air nozzles for injecting air jets, and the pressure of the air jets injected at that time is 0 .25 MPa.
  • all the light receivers 32a to 32i of the baggage recognition unit 14 output signals.
  • air jets are ejected from all the air nozzles. The pressure of the air jet at that time is jetted at 0.1 MPa only for the nozzles nc and ng, and the other air nozzles are jetted at 0.05 MPa.
  • the jets of air jets from the air nozzle groups 34, 35, and 36 are sequentially performed in a time series from the top to the bottom of the baggage 30 after the trigger sensor 40 signal is output.
  • the specific air jet injection timing will be described below.
  • FIG. 8 is a time chart showing the output signals of the light receivers 42a to 42c of the trigger sensor 40 and the operation timings of the air nozzles.
  • the figure shows the signal states of the light receivers 42a to 42c of the trigger sensor 40 and the air nozzles 37a to 37i, 38a to 38i, 39a to 39i, 52, 53 when the baggage 30 passes through each position of the trigger sensor 40.
  • , 54 shows the state of air jet injection.
  • the horizontal axis in FIG. 8 represents the time axis, and the vertical axis represents H when the light receiver 42 is outputting a signal and L when it is not outputting a signal.
  • the state in which air jets are ejected from the air nozzles 37a to 37i, 38a to 38i, 39a to 39i, 52, 53, and 54 is represented by H, and the state in which no air jets are ejected is represented by L.
  • the delivery speed of the baggage 30 is set to 12 m / min.
  • the inventors have shown that the method of spraying an air jet on the baggage intermittently in multiple times is effective for blowing the air jet onto the baggage and effectively separating the sample particles adhering to the baggage. , Found from experiments. Based on this knowledge, in this embodiment, in FIG. 8, during H during which the air jet is being injected, after the air jet is injected for 0.1 second, it is stopped for 0.1 second, and then again 0.1. The operation of injecting an air jet for 2 seconds is repeated. By intermittently ejecting the air jet, the sample fine particles can be efficiently peeled from the baggage with a small amount of compressed gas consumption.
  • the separation trap controller 10 determines the pressure of the air nozzle and the compressed gas to be operated with reference to the table of FIG. Is transmitted to the air nozzle controller 15, and the air nozzle controller 15 sets the injection conditions shown in FIG. 7 for the air nozzles 37a to 37i, 38a to 38i, and 39a to 39i.
  • the condition setting of the jet pressure of the air jet is performed by a known electropneumatic regulator (not shown) arranged in the air nozzle controller 15.
  • the air nozzles 37d, 37e, and 37f of the first air nozzle group 34 start injection, and after 0.2 seconds, the air nozzles 37c and 37g start injection, After 0.2 seconds, the air nozzles 37b and 37h start injection, and after 0.2 seconds, the air nozzles 37a and 37i start injection.
  • the reason for setting the injection start interval to 0.2 seconds is that the time required for the baggage to pass between the nozzles of 5 cm is 0.25 seconds, and therefore the sequence is to inject 0.05 seconds before the baggage passes. .
  • the air nozzle 52 of the upper nozzle group 50 of the collector 43 starts ejection, and 0.2 seconds later, the lower part of the collector 43
  • the air nozzle 53 of the nozzle group 51 starts ejection.
  • the air jet is injected from the assist nozzle 54 provided in the L-shaped pipe 49.
  • the pressure of the air jet of the upper nozzle group 50 and the lower nozzle group 51 of the collector 43 and the assist nozzle 54 was fixed at 0.1 MPa.
  • the second air nozzle group 35 starts jetting in the same order as the first air nozzle group 34, and a signal is received from the light receiver 42c of the trigger sensor 40.
  • the third air nozzle group 36 starts injection in the same order as the first air nozzle group 34.
  • the air jets ejected from the air nozzles 37d, 37e, and 37f of the first air nozzle group 34 continue for 0.3 seconds after the signal output of the light receiver 42a of the trigger sensor 40 is lost.
  • the conveyance speed is set to 12 m / min
  • the time required for 0.3 second to pass through the distance 5 cm between the light receiver 42a of the trigger sensor 40 and the first air nozzle group 34 is 0. Since it is 25 seconds, in this embodiment, it is set to 0.3 seconds with a margin.
  • the injection of air jets from the air nozzles 37c and 37g is finished 0.3 seconds after the air jets of the air nozzles 37d, 37e and 37f are finished.
  • the intervals between the air nozzles 37d, 37e, 37f of the first air nozzle group 34 and the air nozzles 37c, 37g, and the air nozzles 37c, 37g The distance between the air nozzles 37b and 37h and the distance between the air nozzles 37b and 37h and the air nozzles 37a and 37i is 5 cm, and the time required to pass this distance is 0.25 seconds.
  • the air nozzle is held in the L state in FIG. Further, even when the size of the same baggage 30 changes in the middle, the change in the size can always be detected by the baggage recognition unit 14 at the sampling chamber entrance 29. Therefore, even if the size of the baggage 30 changes while the baggage 30 is being transported, the conditions described in FIG. 7 should be applied to the air nozzle groups 34, 35, and 36 before the air jet is ejected. Therefore, the air jet irradiation condition to the baggage 30 can always control the wind speed to about 15 m / s or more.
  • Fig. 9 shows the measurement results of air jet pressure and flow rate when using an air nozzle with a nozzle diameter of 1 mm. From the result of FIG. 9, the consumption flow rate when the air jet is injected into the largest baggage 30 under the conditions shown in FIG. 7 is 995 L / min. On the other hand, the consumption flow rate when all nozzles are injected at a maximum injection pressure of 0.25 MPa is 1750 L / min. Therefore, according to the present embodiment, the sample particulates can be peeled from the baggage 30 with an air consumption amount of about 1 ⁇ 2 when all nozzles are jetted at the maximum jet pressure. As a result, the compressed gas generator can be made smaller.
  • the sample fine particles can be peeled off from the baggage 30 in order from the top, under the condition that the baggage 30 can be peeled from the baggage 30 under a certain condition. . Further, the flow rate of the air jet to be consumed can be minimized.
  • the sample fine particles peeled off from the baggage 30 are sucked into the separation unit 12 through the intake pipe 44 and the L-shaped pipe 49 connected to the bottom of the collector 43 by the above-described exhauster 55 of the separation unit 12. At this time, dangerous substances and dusts separated from the baggage 30 are also sucked together with the air sucked. Since dust having a shape larger than that of the explosive material is collected by the coarse filter 45, only small substances such as dangerous substances are transported to the separation unit 12 together with air.
  • the flow rate at the connection port between the outer cylinder 57 of the separation unit 12 and the L-shaped pipe 49 is about 12 m / s at which the cyclone phenomenon occurs inside the outer cylinder 57.
  • the intake amount of the cylinder 57 is controlled.
  • the air containing the dangerous substance sucked in by the exhaust fan 55 forms a vortex that descends along the outer periphery of the inner surface of the outer cylinder 57 having a conical shape.
  • the vortex flows are sucked into the inner cylinder 56 and discharged from the exhaust fan 55.
  • the sample fine particles settle along the inner surface of the outer cylinder 57 to the lower part of the outer cylinder 57 and are collected on the surface of the collection filter 17 in the heating unit 22 connected to the lower part of the outer cylinder 57.
  • the collection filter 17 is a stainless steel filter 61 having excellent heat resistance and durability, non-permeable and having a 12.7 micron aperture. Since it is a non-permeable filter, particles of 10 to 20 microns can be captured.
  • the collection filter 17 includes a stainless steel filter 61, a cartridge 62 that holds the stainless steel filter 61, and a handle 28 when the cartridge is attached to the heat block 58. Since the collection filter 17 is inserted into the heated heat block 58, the stainless steel filter 61 in the collection filter 17 is also heated to the same temperature as the heat block 58. Accordingly, since the sample fine particles adhering to the stainless steel filter 61 are rapidly heated, vaporization of the sample fine particles is rapidly promoted, and a sample gas is generated.
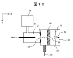
  • FIG. 10 is a top view illustrating the configuration of the ion source unit 23 of the deposit inspection unit 2.
  • FIG. 10 is a view as seen from the positive direction of the Z axis, and the illustration of each part of the deposit inspection apparatus 1 other than the ion source part 23 is omitted.
  • the sample gas generated in the heat block 58 passes through the introduction pipe 63 by the suction pump 24 and is transported to the space between the first electrode with pores 64 and the counter electrode 65 in the ion source unit 23.
  • the ion source unit 23 and the introduction pipe 63 are provided with a heat source (not shown) and a thermometer (not shown).
  • the supply of electric power to the heat source is controlled by the control unit based on the output signal of the thermometer, and the ion source unit 23 and the introduction pipe 63 are always connected so that the vaporized sample is not adsorbed inside the ion source unit 23. Heated and maintained at a desired temperature.
  • the needle electrode 66 is disposed in the ion source unit 23, and a high voltage is applied between the needle electrode 66 and the counter electrode 65. Corona discharge is generated near the tip of the needle electrode 66, and first, nitrogen, oxygen, water vapor, and the like are ionized. These ions are called primary ions. The primary ions move to the counter electrode 65 side by an electric field. The vaporized sample that has been carried to the space between the first electrode with fine holes 64 and the counter electrode 65 passes through the opening 67 provided in the counter electrode 65 and enters the space in which the needle electrode 66 is disposed. It flows and reacts with primary ions to be ionized. The method of generating primary ions using corona discharge in the atmosphere and ionizing chemical substances in the gas using the chemical reaction between the primary ions and the gas is called atmospheric pressure chemical ionization. Yes.
  • the sample ions generated by the atmospheric pressure chemical ionization method include the first ion introduction pore 68 of the first electrode 64 with the first pore, the differential exhaust section 69 exhausted by the exhaust system (not shown), the first It is introduced into the mass spectrometer 25 through the second ion introduction pore 71 of the two electrodes 70 with pores.
  • the mass analyzer 25 is exhausted by an exhaust system (not shown).
  • the ion source unit 23 and the mass analysis unit 25 constitute one container.
  • the sample ions introduced into the mass analyzer 25 are subjected to mass analysis by an ion trap mass spectrometer.
  • a mass-to-charge ratio value necessary to identify one or more dangerous substances to be detected is set in advance.
  • the output signal of the detector of the mass spectrometer relating to the mass-to-charge ratio necessary for identifying the dangerous substance to be detected is the data processing unit 27 continuously as a result of mass analysis of the ions of the sample.
  • the storage means of the data processing unit 27 includes necessary mass analysis data (mass-to-charge ratio value and relative intensity) for identifying a plurality of dangerous substances such as explosives and drugs, and a signal serving as a reference for identifying the dangerous substance.
  • the strength determination threshold value is stored as a database.
  • the mass-to-charge ratio of the signal sent to the data processing unit 27 is compared with the database read from the storage means, identified as the stored mass-to-charge ratio of a certain dangerous substance, and the intensity of the sent signal Is larger than the determination threshold, the possibility of the presence of the dangerous substance is displayed on the operation panel 7 to notify the operator.
  • FIG. 11 shows the result of inspecting the baggage to which the C4 explosive particles adhered using the adhering matter inspection apparatus of this example.
  • the vertical axis indicates the signal intensity in arbitrary units
  • the horizontal axis indicates the time in seconds.
  • a clear signal indicating that the C4 explosive component has been detected can be obtained. From this result, by using the deposit inspection apparatus of Example 1, the C4 explosive particles are separated from the actual baggage to which the C4 explosive particles have adhered by using an air jet, collected by the collecting filter 17, and then heated block 58. It was proved that the C4 explosive component can be detected by the mass spectrometer 25.
  • the attached matter inspection apparatus 1 can automatically check whether the sample fine particles attached to the baggage contain dangerous substances such as explosives without contacting the baggage. Since it can be inspected under certain conditions, it can be inspected quickly without causing damage or contamination to the baggage and without requiring a skilled inspector.
  • FIG. 12 shows the adhering substance inspection apparatus 1 according to the present embodiment in which an air jet was blown to the inner wall of the collector 43 while the collector 43 after detecting the C4 explosive was sucked by the exhaust fan 55.
  • the result of having examined the presence or absence of explosives about the collection filter 17 used in the case is shown.
  • the vertical axis indicates signal intensity in arbitrary units, and the horizontal axis indicates time in seconds.
  • a signal indicating the C4 explosive is obtained from the sample particles collected from the collector 43 after clearly detecting the C4 explosive.
  • the inventors have detected the trinitrotoluene explosive, and then generated a cyclone phenomenon inside the outer cylinder 57 portion by suction by the exhaust fan 55, and the L-shaped piping.
  • An air jet was blown onto the inner wall of 49 from the connection side of the coarse filter 45, and the presence or absence of the trinitrotoluene explosive collected by the collection filter 17 was inspected.
  • the trinitrotoluene explosive was collected on the collection filter 17. From this result, it was found that trinitrotoluene explosive particles remain inside the L-shaped pipe 49 from which the trinitrotoluene explosive was once collected.
  • the inventors have found that explosive fine particles remain in the collector 43 and the L-shaped pipe 49 once collected explosive fine particles.
  • dangerous particles such as explosive particles remaining on the inner wall of the collector 43 or the L-shaped pipe 49
  • the dangerous particles remaining on the inner wall of the collector 43 or the L-shaped pipe 49. May be separated again and collected by the collection filter 17.
  • the dangerous substance particles are not actually attached to the baggage, but the dangerous substance is detected, which may cause erroneous detection. Therefore, it was found that the self-cleaning function of the collector 43 and the L-shaped pipe 49 in the baggage deposit inspection apparatus is a very preferable function.
  • the deposit inspection apparatus needs to have a function of automatically cleaning the inner wall of the collector 43 and the L-shaped pipe 49.
  • the challenges of the self-cleaning function are as follows: (1) The time required for self-cleaning is as short as possible so that the inspection can be restarted promptly, and (2) the cleaning effect is quantitative in order to prevent false detection. There is, to confirm.
  • the deposit inspection apparatus 1 of the present embodiment can automatically clean the collector 43 without any human intervention without requiring any special self-cleaning parts and devices. The effect can be examined quantitatively.
  • the self-cleaning by the deposit inspection apparatus 1 of this embodiment is performed according to the following procedure.
  • the data processing unit 27 determines that the explosive component is detected from the inspection result, it is displayed on the operation panel 7 to notify the inspector. Thereafter, the deposit inspection apparatus 1 waits for an instruction to start self-cleaning.
  • the central control unit 3 issues a self-cleaning process instruction to the separation / collection unit controller 10 and the inspection unit controller 8.
  • the peeling / collecting part controller 10 stops the normal inspection process and starts a predetermined self-cleaning process.
  • the self-cleaning process is performed according to the following procedure.
  • the exhaust fan 55 is driven, the inside of the collector 43 is sucked, and the compressed gas generator 16 is driven.
  • the air jets from the air nozzles nd, ne, and nf (n represents symbols 37, 38, and 39; the same applies hereinafter) of the first, second, and third air nozzle groups 34, 35, and 36 in the sampling chamber 18 are set to 0. Inject for 0.5 seconds at a pressure of 25 MPa. After the injection of air jets from the air nozzles nd, ne, and nf is completed, the air jets are injected from the nozzles nc and ng of the air nozzle groups 34, 35, and 36 at a pressure of 0.25 MPa for 0.5 seconds.
  • the air jet is injected from the nozzles nb and nh of the air nozzle groups 34, 35 and 36 at a pressure of 0.25 MPa for 0.5 seconds.
  • the air jets are jetted from the nozzles na and ni of the air nozzle groups 34, 35, and 36 at a pressure of 0.25 MPa for 0.5 seconds.
  • the air jet is injected from the upper nozzle group 50 of the collector 43 at 0.25 MPa for 0.5 seconds.
  • the air jet is injected from the lower nozzle group 51 at 0.25 MPa for 0.5 seconds.
  • the air jet is jetted from the assist nozzle 54 of the L-shaped pipe 49 at 0.25 MPa for 0.5 seconds.
  • the components detected from the collection filter 17 are compared with the components of explosive particles stored in advance. As a result of the comparison, if it is determined that the explosive signal is not detected in the deposit inspection unit 2, the self-cleaning is terminated and the normal inspection process is resumed. If it is determined that the explosive signal is detected, Start self-cleaning again.
  • FIG. 13 shows the result of inspecting the collection filter 17 used in the present example when the deposit inspection apparatus 1 after detecting the C4 explosive was self-cleaned by the above-described method.
  • FIG. 13 shows the inspection results after the self-cleaning process described above is repeated eight times. As shown in FIG. 13, by repeating the self-cleaning process eight times, the signal indicating the C4 explosive does not change at all. From this result, it was proved that the deposit inspection apparatus 1 can be cleaned according to the self-cleaning method of this embodiment.
  • the cleaning of the collector 43 and the L-shaped pipe 49 of the deposit inspection apparatus 1 is automatically performed. It can be done in a short time. Further, the cleaning effect of the cleaning can be quantitatively confirmed by measuring the cleanliness of the collector 43 and the L-shaped pipe 49 after cleaning with the deposit inspection unit 2, and therefore, a dangerous substance is detected. There is no false detection in later inspections. Note that the self-cleaning effect need not be measured every self-cleaning. By measuring the effect of self-cleaning when a predetermined number of self-cleaning operations are completed, the time required for self-cleaning can be further shortened.
  • FIG. 14 is a side view including a partial cross section for explaining the automatic replacement part of the coarse filter 45.
  • the side view is a side view seen from the positive direction of the Y-axis, and each part other than the replacement mechanism of the coarse filter 45 is not shown.
  • a coarse stainless steel coarse filter 46 having an opening of 0.2 mm and a coarse stainless steel fine filter 73 having an opening of 12.7 ⁇ m are placed on a tray 47 in a coarse filter storage case 72. Are fixed in parallel.
  • the tray 47 is connected to the piston 75 of the air cylinder 74. When compressed air is introduced into the air cylinder 74, the piston 75 moves.
  • the tray 47 connected to the piston 75 is pushed out together with the piston 75, and the coarse stainless steel coarse filter 46 having an opening of 0.2 mm returns to the position of the intake pipe 44. According to the present embodiment, since the replacement of the coarse filter 45 at the time of self-cleaning can be automated, a more practical deposit inspection apparatus can be provided.
  • FIG. 15 is a front view including a partial cross section for explaining the automatic replacement mechanism of the collection filter 17 in the deposit inspection apparatus.
  • the front view is a view seen from the negative direction of the X axis, and the illustration of the respective parts other than the collection filter 17, the outer cylinder 57 and the heat block 58 is omitted.
  • ten collection filters 17 are loaded in series inside the case 76.
  • the case 76 is provided with a heat source (not shown) and a thermometer (not shown), and the collection filter 17 is heated and held at the same temperature as the heat block 58.
  • a spring 77 is provided on the bottom surface of the case 76, and the collection filter 17 is always pressed against the top surface of the case 76.
  • the case 76 is provided with an air cylinder 78 for inserting the collection filter 17 into the heat block 58. When compressed air is introduced into the air cylinder 78, the piston 79 moves.
  • the heat block 58 and the case 76 are provided with through holes 80 through which the collection filter 17 passes.
  • a plate spring 81 is housed in the through hole 80 of the heat block 58.
  • the collection filter 17 is heated by the reaction force of the plate spring 81.
  • a recovery container 82 for recovering the collection filter 17 is provided at a position opposite to the air cylinder 78 and the heat block 58.
  • the piston 79 is pushed out, comes into contact with the collection filter 17 in the case 76, pushes the collection filter 17 out of the case 76 as it is, and pushes it into the hole of the heat block 58.
  • the contaminated collection filter 17 is pushed out from the heat block 58 by the new collection filter 17 and falls into the collection container 82.
  • the stainless steel filter 61 portion of the collection filter 17 moves to a position coaxial with the outer cylinder 57 at the position where the piston 79 is fully extended, and the heat block 58 is moved by the leaf spring 81 at that position. Held in.
  • compressed air is supplied to the air cylinder 78 in the direction in which the piston 79 is drawn.
  • the piston 79 is pulled in from the heat block 58 and the case 76 and returns to the standby position. As soon as the piston 79 comes out of the case 76, the new collection filter 17 is moved upward by the spring 77. The collected contaminated collection filter 17 is reused after washing and replacement of the collection filter 17 again.
  • the contamination status of the collection filter 17 is quantitatively monitored.
  • exchanges the collection filter 17 automatically is realizable.
  • the new collection filter 17 to be replaced is heated and held in advance at the same temperature as the heat block 58, a process such as heat degassing treatment of the collection filter 17 after replacement can be omitted.
  • the time until heating to the same temperature as the heat block 58 after being inserted into the heat block 58 can be shortened. Therefore, even after the collection filter 17 is replaced, it is possible to return to the normal inspection mode in a very short time, so that it is possible to inspect the baggage continuously.
  • FIG. 16 shows another embodiment of the deposit inspection apparatus in which the lane to be inserted into the sampling chamber 18 according to the type of the baggage 30 is moved to one side of the sampling chamber 18.
  • FIG. 16 is a top view showing the appearance of the deposit inspection apparatus 1 as viewed from the positive direction of the Z-axis.
  • the distance between the surface of the small items and each air nozzle is increased, so an air jet with a wind speed of about 15 m / s It may be difficult to spray on the surface of a kind.
  • the position to be inserted into the sampling chamber 18 is shifted from the center of the sampling chamber 18 to one side according to the size of the baggage. According to the present embodiment, an air jet of about 15 m / s or more can be easily blown even in the inspection of small items.
  • the lanes are painted in three colors on the surface of the baggage delivery drive unit 13 and the preparation stand 20 in a position that can be seen by the inspector.
  • a blue lane 33a indicates a range in which small items are inserted into the sampling chamber 18, and the small lane 33a is guided to be inserted from the center of the sampling chamber 18 to a position closer to the lower side (inspector side) in the drawing.
  • a green lane 33b indicates a range in which a relatively middle size baggage such as a handbag is inserted into the sampling chamber 18, and a red lane 33c is a large size such as a carry case. A range in which baggage is inserted into the sampling chamber 18 is shown.
  • the distance between the air nozzle arranged on the inner surface of the sampled chamber 18 and the baggage is reduced, so that the wind speed can be effectively reduced with a smaller air jet pressure.
  • a 15 m / s air jet can be blown onto the baggage 30.
  • FIG. 17 shows the relationship between the signal output conditions of each of the light receivers 32a to 32h of the baggage recognition unit 14, the air nozzle used at that time, and the pressure of the air jet ejected from the air nozzle based on the result of FIG. .
  • the reference numerals of the light receivers 32a to 32h of the baggage recognition unit 14 shown in the left column indicate that the light receivers are shielded from light and output signals.
  • symbols na, nb, nc, nd, ne, nf, ng, nh, ni described in the upper line represents the codes 37, 38, 39.
  • the oblique lines described in the table of FIG. 17 indicate air nozzles that are not used under the conditions.
  • the pressure value of the air jet described in the table of FIG. 17 is an intermediate size between the maximum size and the minimum size of the baggage obtained from the signal output of the baggage recognition unit 14, and the wind speed on the surface of the baggage is about 20 m / s.
  • the pressure value at which the air jet can be applied is shown, and the unit is MPa.
  • the timing of the air jet injection from each air nozzle follows FIG.
  • the baggage recognition unit 14 outputs signals only for the light receivers 32a and 32h.
  • the air nozzles na, nb, and nd of the air nozzle groups 34, 35, and 36 are used as air nozzles for injecting air jets, and other air nozzles are not used.
  • the pressure of the air jet to be injected is 0.05 MPa for the air nozzle na, 0.15 MPa for the air nozzle nb, and 0.25 MPa for the air nozzle nd.
  • an air jet having a wind speed of about 15 m / s or more can be efficiently sprayed even on small baggage such as a wallet, so that a more reliable deposit inspection can be performed.
  • the air jet can be efficiently applied to the surface of the baggage no matter where the baggage is delivered in the sampling chamber 18. This is even more practical.
  • the injection condition refers to only the outputs of the light receivers 32a, 32b, and 32c of the baggage recognition unit 14.
  • FIG. 18 shows the signal output conditions of the light receivers 32a, 32b, and 32c of the baggage recognition unit 14, the air nozzles used at that time, and the pressure of the air jets ejected from the air nozzles.
  • the reference numeral of the light receiver 32 of the baggage recognition unit 14 shown in the left column indicates that the light receiver 32 is outputting a signal.
  • n in the symbols na, nb, nc, nd, ne, nf, ng, nh, ni shown in the upper row represents the symbols 37, 38, 39.
  • the oblique lines described in the table of FIG. 18 indicate air nozzles that are not used under the conditions.
  • the pressure value of the air jet described in the table of FIG. 18 is an intermediate size between the maximum size and the minimum size of the baggage obtained from the signal output of the baggage recognition unit 14, and the air jet has a wind speed of about 20 m / s on the baggage surface.
  • the pressure value that can be applied is shown, and the unit is MPa.
  • the timing of the air jet injection from each air nozzle follows FIG.
  • the air jet is jetted with reference to the size of the baggage only in the vertical direction, an air jet having a wind speed of about 15 m / s or more can be efficiently sprayed even on irregular shaped baggage. Therefore, it is possible to perform a deposit inspection with higher reliability and higher practicality.
  • the pressure of the air jet to be ejected may be made constant, and only the nozzle to be ejected may be selected to eject the air jet.
  • the pressure of the air jet is 0.25 MPa which is the highest under both conditions shown in FIGS. According to the present embodiment, since it is not necessary to adjust the pressure of the compressed air by the air nozzle controller 15, a cheaper deposit inspection apparatus can be realized.
  • FIG. 19 is a flowchart showing an operation process of each unit. First, a normal inspection process will be described.
  • the injection conditions are set to the air nozzles of the air nozzle groups 34, 35, and 36 (S12).
  • the injection conditions are set by applying the injection pattern of FIG. 7, FIG. 17 or FIG. 18 stored in the separation / collection controller 10 to an electropneumatic regulator arranged in the air nozzle controller 15.
  • air jets are jetted onto the surface of the baggage 30 from top to bottom in time series (S14).
  • Time-series air jet injection is performed according to the time sequence shown in FIG.
  • an air jet is ejected from the upper nozzle group 50 of the collector 43 and the assist nozzle 54 of the L-shaped pipe 49 (S15). Thereafter, the air jet injection from the air nozzle is stopped (S16).
  • the sample fine particles captured by the collection filter 17 are also heated and vaporized to generate a sample gas (S17).
  • the sample gas is conveyed to the ion source 23 and ionized (S18), and then sent to the mass analyzer 25 for mass analysis (S19).
  • the data processing unit 27 determines whether or not there is a dangerous substance, and if there is a dangerous substance, identifies the type (S20). If no dangerous goods are detected as a result of the determination, the baggage inspection is terminated (S21), and the next baggage inspection is started. If a dangerous substance is detected as a result of the determination, the inspector is informed that the dangerous substance has been detected and waits for an instruction to perform the self-cleaning process (S22).
  • FIG. 20 is a flowchart showing a self-cleaning process.
  • the coarse filter 45 is replaced with a coarse filter having the same 12.7 ⁇ m opening as the collection filter 17 (S31).
  • the self-cleaning injection condition is transmitted to the air nozzle controller 15 to adjust the pressure of the compressed air (S32).
  • the exhaust fan 55 is driven and the air of the collector 43 is sucked (S33).
  • the sample particulates captured by the collection filter 17 are analyzed. Specifically, the sample fine particles captured by heating the collection filter 17 are vaporized (S36), the vaporized sample gas is ionized (S37), and the ionized sample is subjected to mass analysis by the mass analyzer 21 ( S38). Based on the analysis result, the data processor 27 determines whether or not there is a dangerous substance (S39). If no dangerous substance is detected, the self-cleaning is finished, the coarse filter 45 is replaced with a coarse stainless steel coarse filter 46 having an opening of 0.2 mm (S40), and an inspector can start a normal inspection process. To inform. If a dangerous substance is detected, the process returns to step 34 and the self-cleaning process is repeated.
  • S39 a dangerous substance
  • a deposit inspection apparatus and a deposit inspection method capable of self-cleaning are provided. Furthermore, since the collection filter can be automatically replaced, the deposit inspection apparatus and method can be provided that can improve the operating rate and reduce the number of personnel required for the inspection.
  • Example 2 The arrangement of the air nozzles of the embodiment described above is such that each air nozzle belonging to each air nozzle group 34, 35, 36 is shifted by 5 cm in the baggage delivery direction, but each air nozzle group 34, The air nozzles belonging to 35 and 36 may be arranged in a line in the vertical direction.
  • FIG. 21 shows an embodiment of the deposit inspection apparatus 1 in which the air nozzle groups 34, 35, and 36 are arranged in one row in the vertical direction, for a total of three rows.
  • FIG. 21 is a view for explaining the configuration of the baggage recognition unit 14 and each of the air nozzle groups 34, 35, 36 of the deposit inspection apparatus, and is a side view including a partial cross section inside the sampling chamber 18.
  • the cross section is a cross section that passes through the center of the sampling chamber 18 and is parallel to the baggage delivery direction of the sampling chamber 18.
  • the side view is a side view as seen from the positive direction of the Y-axis, and illustration of each part of the deposit inspection unit 2 excluding the separation unit 12 and the heating unit 22 is omitted.
  • the air nozzles 37a, 37b, 37c, 37d, 37e, 37f, 37g, 37h, and 37i constituting the first air nozzle group 34 are as follows. They are arranged in a line in the vertical direction at the same X coordinate position 5 cm away from the sampling chamber inlet 29.
  • the air nozzles 38a to 38i (only 38a, 38b, 38c, and 38e appear in the figure) constituting the second air nozzle group 35 are serially connected to the same X coordinate position 5 cm away from the first air nozzle group 34. Is arranged.
  • Air nozzles 39a to 39i (only 39a, 39b, 39c and 39e appear in the figure) constituting the third air nozzle group 36 are serially connected to the same X-coordinate position 5 cm away from the second air nozzle group 35. They are arranged in a row in the vertical direction.
  • the trigger sensor 40 is disposed at the same position as in the first embodiment.
  • FIG. 22 shows the injection timing of air jets from the air nozzle groups 34, 35, and 36 according to this embodiment.
  • the air jet injection is started from each of the air nozzles 37a to 37i constituting the first air nozzle group 34 0.2 seconds after the light receiver 42a of the trigger sensor outputs a signal.
  • the air jet is jetted for 0.1 second, then stopped for 0.1 second, and then the air jet is jetted again for 0.1 second, as in the first embodiment. Repeat the operation.
  • the air jet ejected from the first air nozzle group 34 continues for 0.3 seconds after the output of the light receiver 42a of the trigger sensor disappears.
  • the required time between them is 0.25 seconds. In this embodiment, the time is set to 0.3 seconds with a margin.
  • the injection of air jets is started from the air nozzles 38a to 38i constituting the second air nozzle group 35.
  • the light receiver 42c of the trigger sensor outputs a signal
  • the injection of air jets is started from the air nozzles 39 to 39i constituting the third air nozzle group 36.
  • the timing of jetting air jets from the upper nozzle group 50, the lower nozzle group 51 of the collector 43, and the assist nozzle 54 of the L-shaped pipe 49 is performed at the same timing as in the first embodiment.
  • the timing of stopping the injection of air jets from the second air nozzle group 35 and the third air nozzle group 36 is no longer the output of the light receivers 42b and 42c of the trigger sensor. Then continue for 0.3 seconds.
  • the air nozzles are arranged in a line in the vertical direction of the series, the depth length of the sampling chamber 18 can be shortened. Therefore, there is an effect of reducing the area occupied by the deposit inspection apparatus 1.
  • Example 3 The deposit inspection apparatus according to the first embodiment and the second embodiment described above can obtain a higher inspection capability when used in combination with an X-ray transmission inspection apparatus.
  • the X-ray inspection area for irradiating and photographing X-rays is generally limited to a limited place.
  • the deposit inspection means described in the first and second embodiments can be incorporated in other places excluding the X-ray inspection region.
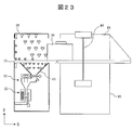
  • FIG. 23 shows an embodiment in which the deposit inspection apparatus 1 shown in Embodiment 1 or Embodiment 2 is arranged in series and coupled to a conventional X-ray transmission inspection apparatus 83.
  • FIG. 23 is a side view as seen from the positive direction of the Y-axis, and illustration of each part of the deposit inspection part 2 excluding the separation part 12 and the heating part 22 is omitted.
  • the X-ray transmission inspection apparatus 83 has an X-ray source in a housing 85, and has an X-ray inspection area 84 in the approximate center of the apparatus.
  • FIG. 24 shows an embodiment in which the deposit inspection means of the present invention is incorporated into the X-ray transmission type inspection apparatus 83 and integrated.
  • FIG. 24 is a side view as seen from the positive direction of the Y-axis, and illustration of each part of the deposit inspection unit 2 excluding the separation unit 12 and the heating unit 22 is omitted.
  • an X-ray transmission type inspection device 83 that performs X-ray inspection is disposed downstream of the air nozzle groups 34, 35, and 36.
  • the ion source part 23, the mass analysis part 25, the inspection part controller 8, the data processing part 27, the suction pump 24, and the exhaust part 26 of the deposit inspection part 2 shown in FIG. By housing the X-ray transmission type inspection apparatus housing 85, the installation area of the apparatus can be reduced.
  • the adhering matter inspection apparatus 1 shown in FIGS. 23 and 24 it is possible to inspect the sample fine particles adhering to the baggage and to inspect the contents of the baggage by X-rays. The reliability can be improved.
  • Example 4 In the deposit inspection apparatus of Examples 1 to 3, three air nozzle groups are used, but only one air nozzle group may be used.
  • FIG. 25 is a diagram showing an embodiment of the deposit inspection apparatus using only one air nozzle group 34.
  • FIG. 25 is a side view including a partial cross section in the sampling chamber 18 for explaining the configuration of the baggage recognition unit 14 and the air nozzle group 34 of the deposit inspection apparatus.
  • the cross section is a cross section passing through the center of the sampling chamber 18 and parallel to the baggage transport direction of the sampling chamber 18.
  • the side view is a side view seen from the positive direction of the Y-axis, and illustration of each part of the deposit inspection part 2 excluding the separation part 12 and the heating part 22 is omitted.
  • the deposit inspection apparatus of the present embodiment has the same configuration as that of the first embodiment except that only one air nozzle group 34 is used.
  • the arrangement of the air nozzles 37a to 37i constituting the air nozzle group 34 is the same as that in the first embodiment.
  • FIG. 26 shows the timing of air jet injection from the air nozzle group 34 of the present embodiment.
  • air jets are ejected in order from the nozzles 37d to 37a.
  • the injection conditions are the conditions shown in FIG. Air jet injection stops in order from the nozzles 37d to 37a 0.3 seconds after the signal output from the trigger sensor 40 is lost.
  • the depth of the deposit inspection apparatus 1 can be reduced to about 1/3 that of the deposit inspection apparatus of the first embodiment. Therefore, the deposit inspection apparatus of the present embodiment can be easily attached to the entrance or exit of the existing X-ray transmission type inspection apparatus 83.
  • FIG. 27 shows an embodiment in which the deposit inspection apparatus is attached to the entrance of the X-ray transmission inspection apparatus 83.
  • FIG. 27 is a side view seen from the positive direction of the Y-axis, and illustration of the respective parts of the deposit inspection unit 2 excluding the separation unit 12 and the heating unit 22 is omitted.
  • the X-ray transmission type inspection apparatus housing 85 is housed.
  • the existing X-ray transmission apparatus inspection apparatus 83 is changed to a combined inspection apparatus capable of simultaneously performing bulk inspection by X-ray and trace inspection of deposits without increasing the occupied floor area of the apparatus. Can be modified.
  • the inspection object can be expanded by changing the shape of the sampling chamber insertion port.
  • the entrance of the sampling chamber may be enlarged so that it can accommodate a large suitcase entrusted to an airport company.
  • the entrance of the sampling chamber may be enlarged so that it can accommodate a large suitcase entrusted to an airport company.
  • the entrance of the sampling chamber may be made the same size as a human body scanner using millimeter waves, it is possible to operate in combination with a human body scanner.
  • the insertion slot to the same extent as the mail insertion slot of the mail post, it is possible to inspect mails and tickets such as boarding passes.
  • the cyclone phenomenon is used as a means for separating the sample fine particles from the airflow.
  • the separation means even if an impactor that is a well-known technique is used as the separation means, the present embodiment The same effect as the example can be obtained.
  • the mass analysis unit is used as the deposit inspection unit, but the present invention is not limited to the mass analysis unit.
  • the sample particulate vaporized in an oven is used.
  • the present invention can also be applied to a well-known chemiluminescence type deposit inspection apparatus that inspects for the presence of a hazardous substance by separating vapor with a gas chromatograph and reacting with a luminescent reagent to detect luminescence. This vapor is ionized with a radioactive isotope inside the ion source, and then introduced into a drift tube to detect the mobility of the ions, thereby attaching a well-known ion mobility method for inspecting for the presence of dangerous substances.
  • the present invention can also be applied to a kimono inspection apparatus.
  • this invention is not limited to the above-mentioned Example, Various modifications are included.
  • the above-described embodiments have been described in detail for easy understanding of the present invention, and are not necessarily limited to those having all the configurations described.
  • a part of the configuration of one embodiment can be replaced with the configuration of another embodiment, and the configuration of another embodiment can be added to the configuration of one embodiment.
  • SYMBOLS 1 Adhesion inspection apparatus, 2 ... Adhesion inspection part, 3 ... Central control part, 4 ... Baggage delivery part, 5 ... Adhesion peeling collection part, 6 ... Power supply part, 7 ... Operation panel, 8 ... Inspection part control 9 ... Delivery unit controller, 10 ... Peeling and collecting unit controller, 11 ... Deposited substance inspection device housing, 12 ... Separation unit, 13 ... Baggage delivery drive unit, 14 ... Baggage recognition unit, 15 ... Air nozzle controller, DESCRIPTION OF SYMBOLS 16 ... Compressed gas generation part, 17 ... Collection filter, 18 ... Sampling chamber, 20 ... Preparation stand, 21 ... Preparation stand housing, 22 ...
  • Second ion introduction pore 72 ... Coarse filter Storage case, 73 ... Tenless fine filter, 74 ... air cylinder, 75 ... piston, 76 ... case, 77 ... spring, 78 ... air cylinder, 79 ... piston, 80 ... through hole, 81 ... leaf spring, 82 ... collection container, 83 ... X-ray Transmission inspection apparatus, 84 ... X-ray inspection area, 85 ... X-ray transmission inspection apparatus housing

Landscapes

  • Chemical & Material Sciences (AREA)
  • Life Sciences & Earth Sciences (AREA)
  • Health & Medical Sciences (AREA)
  • Engineering & Computer Science (AREA)
  • Analytical Chemistry (AREA)
  • Physics & Mathematics (AREA)
  • Biochemistry (AREA)
  • General Health & Medical Sciences (AREA)
  • General Physics & Mathematics (AREA)
  • Immunology (AREA)
  • Pathology (AREA)
  • Food Science & Technology (AREA)
  • Medicinal Chemistry (AREA)
  • Combustion & Propulsion (AREA)
  • Biomedical Technology (AREA)
  • Molecular Biology (AREA)
  • Sampling And Sample Adjustment (AREA)
PCT/JP2012/075459 2011-10-06 2012-10-02 付着物検査装置及び検査方法 Ceased WO2013051530A1 (ja)

Priority Applications (1)

Application Number Priority Date Filing Date Title
US14/349,672 US9696288B2 (en) 2011-10-06 2012-10-02 Attached matter testing device and testing method

Applications Claiming Priority (2)

Application Number Priority Date Filing Date Title
JP2011221847A JP5945108B2 (ja) 2011-10-06 2011-10-06 付着物検査装置及び検査方法
JP2011-221847 2011-10-06

Publications (1)

Publication Number Publication Date
WO2013051530A1 true WO2013051530A1 (ja) 2013-04-11

Family

ID=48043688

Family Applications (1)

Application Number Title Priority Date Filing Date
PCT/JP2012/075459 Ceased WO2013051530A1 (ja) 2011-10-06 2012-10-02 付着物検査装置及び検査方法

Country Status (3)

Country Link
US (1) US9696288B2 (enExample)
JP (1) JP5945108B2 (enExample)
WO (1) WO2013051530A1 (enExample)

Cited By (2)

* Cited by examiner, † Cited by third party
Publication number Priority date Publication date Assignee Title
WO2015145546A1 (ja) * 2014-03-24 2015-10-01 株式会社日立製作所 物質検査装置、物質検査システム及び物質検査方法
JP7538884B2 (ja) 2020-12-02 2024-08-22 株式会社日立ハイテク 分析装置、分析システム及び分析方法

Families Citing this family (22)

* Cited by examiner, † Cited by third party
Publication number Priority date Publication date Assignee Title
WO2013044229A1 (en) * 2011-09-23 2013-03-28 Lucas Milhaupt, Inc. Luminescent braze preforms
JP5945108B2 (ja) 2011-10-06 2016-07-05 株式会社日立製作所 付着物検査装置及び検査方法
JP6002061B2 (ja) * 2013-02-27 2016-10-05 株式会社日立製作所 微粒子分析装置
JP6313123B2 (ja) * 2014-05-28 2018-04-18 東京エレクトロン株式会社 測定装置及び測定方法
JP2017527821A (ja) * 2014-06-27 2017-09-21 パルス ヘルス エルエルシー カルボニル検出および定量化のための方法および装置
JP6581786B2 (ja) * 2015-03-18 2019-09-25 株式会社日立ハイテクソリューションズ 薬物探知装置
US9671320B2 (en) * 2015-08-20 2017-06-06 Jusun Instruments Co., Ltd. Semi-dry type electrostatic cyclone sampler and method for sampling gas and/or water sample
FI20155830A7 (fi) * 2015-11-11 2017-05-12 Univ Helsinki Menetelmä ja järjestely haitallisten ainesten havaitsemiseksi
JP6691011B2 (ja) * 2016-07-20 2020-04-28 株式会社日立製作所 分析システム及びクリーニング方法
FI20165702A (fi) * 2016-09-19 2018-03-20 Karsa Oy Laite ja menetelmä pienissä ja keskisuurissa matkatavaroissa olevien laittomien aineiden jäämien seulomiseen
JP6727722B2 (ja) * 2016-11-29 2020-07-22 株式会社日立製作所 気流型分析システムの標準試料作成方法
US10401264B2 (en) * 2017-08-08 2019-09-03 National Chiao Tung University Efficient electrostatic particle-into-liquid sampler which prevents sampling artifacts
WO2019030738A1 (en) * 2017-08-11 2019-02-14 Vahid Atharinia METHOD AND APPARATUS FOR DISINFECTING WATER
CN108061669A (zh) * 2017-12-29 2018-05-22 同方威视技术股份有限公司 半挥发性、难挥发性物质采集装置
KR102590033B1 (ko) * 2018-11-20 2023-10-16 (주)코미코 파티클 측정 장치 및 이를 이용한 측정 방법
JP7286346B2 (ja) * 2019-03-04 2023-06-05 清水建設株式会社 医薬品の飛散状態のモニタリングシステム及び医薬品の飛散状態のモニタリング方法
US11313771B1 (en) 2020-10-16 2022-04-26 The Government of the United States of America, as renresenten by the Secretary of Homeland Securitv Sample collection apparatus for scent detection
JP2022172827A (ja) 2021-05-07 2022-11-17 株式会社島津製作所 情報提供システム、サーバ装置、分析装置
JP7635630B2 (ja) * 2021-05-07 2025-02-26 株式会社島津製作所 分析装置、表示制御方法、表示制御プログラム
CN115493895B (zh) * 2021-06-17 2024-07-26 苏州微木智能系统有限公司 用于探测系统的采样装置、探测系统及采样方法
CN115389602A (zh) * 2022-04-10 2022-11-25 宁波华仪宁创智能科技有限公司 具有痕量检测功能的安检装置和方法
CN116818671B (zh) * 2023-08-31 2023-11-10 常州中冷环保技术有限公司 滤筒自动检测设备

Citations (8)

* Cited by examiner, † Cited by third party
Publication number Priority date Publication date Assignee Title
JPS63134933A (ja) * 1986-11-27 1988-06-07 Nippon Steel Corp 降下ばいじん測定装置
JPH01212849A (ja) * 1988-02-22 1989-08-25 Takenaka Komuten Co Ltd 部位別ブロー型エアシャワーとその製制方法
JPH02198333A (ja) * 1988-11-18 1990-08-06 Thermedics Inc 入室形空気資料収集検査装置
JPH076729A (ja) * 1990-03-13 1995-01-10 Canada 隠された爆発物または麻薬の検出器
JPH0833338B2 (ja) * 1989-06-09 1996-03-29 リサーチ コーポレーション テクノロジーズ インク 可搬式禁制品検出・選別装置および禁制品検出・選別方法
JP2008018355A (ja) * 2006-07-13 2008-01-31 Maki Mfg Co Ltd 農産物の選別装置
JP2008138966A (ja) * 2006-12-04 2008-06-19 Penta Ocean Construction Co Ltd エアシャワー装置及びエアシャワー方法
JP2009031316A (ja) * 2008-11-14 2009-02-12 Hitachi Ltd 付着物検査装置

Family Cites Families (13)

* Cited by examiner, † Cited by third party
Publication number Priority date Publication date Assignee Title
DE6931867U (de) * 1968-09-09 1970-01-02 Arenco Ab Vorrichtung zum ausbreiten und strecken eines natuerlichen tabakblattes
US5109691A (en) 1989-12-08 1992-05-05 Research Corporation Technologies, Inc. Explosive detection screening system
JPH0833338A (ja) 1994-07-15 1996-02-02 Matsushita Electric Works Ltd 平滑コンデンサの放電回路
US6334365B1 (en) 2000-12-11 2002-01-01 Sandia Corporation Target detection portal
JP3800422B2 (ja) * 2003-03-31 2006-07-26 株式会社日立製作所 特定薬物の探知方法及び探知装置
WO2006097990A1 (ja) 2005-03-14 2006-09-21 Hitachi, Ltd. 付着物検査装置及び付着物検査方法
US8389062B2 (en) 2005-05-12 2013-03-05 Spraying Systems Co. Spraying system for progressive spraying of non-rectangular objects
JP5044530B2 (ja) 2008-11-14 2012-10-10 株式会社日立製作所 付着物検査装置及び付着物検査方法
US8561486B2 (en) * 2009-07-13 2013-10-22 Enertechnix, Inc Particle interrogation devices and methods
US9040905B2 (en) 2010-11-11 2015-05-26 Hitachi, Ltd. Analysis device and analysis method
JP5945108B2 (ja) 2011-10-06 2016-07-05 株式会社日立製作所 付着物検査装置及び検査方法
JP5973760B2 (ja) 2012-03-27 2016-08-23 株式会社日立製作所 検査装置
JP5914164B2 (ja) 2012-05-23 2016-05-11 株式会社日立製作所 微粒子検出装置及びセキュリティゲート

Patent Citations (8)

* Cited by examiner, † Cited by third party
Publication number Priority date Publication date Assignee Title
JPS63134933A (ja) * 1986-11-27 1988-06-07 Nippon Steel Corp 降下ばいじん測定装置
JPH01212849A (ja) * 1988-02-22 1989-08-25 Takenaka Komuten Co Ltd 部位別ブロー型エアシャワーとその製制方法
JPH02198333A (ja) * 1988-11-18 1990-08-06 Thermedics Inc 入室形空気資料収集検査装置
JPH0833338B2 (ja) * 1989-06-09 1996-03-29 リサーチ コーポレーション テクノロジーズ インク 可搬式禁制品検出・選別装置および禁制品検出・選別方法
JPH076729A (ja) * 1990-03-13 1995-01-10 Canada 隠された爆発物または麻薬の検出器
JP2008018355A (ja) * 2006-07-13 2008-01-31 Maki Mfg Co Ltd 農産物の選別装置
JP2008138966A (ja) * 2006-12-04 2008-06-19 Penta Ocean Construction Co Ltd エアシャワー装置及びエアシャワー方法
JP2009031316A (ja) * 2008-11-14 2009-02-12 Hitachi Ltd 付着物検査装置

Cited By (3)

* Cited by examiner, † Cited by third party
Publication number Priority date Publication date Assignee Title
WO2015145546A1 (ja) * 2014-03-24 2015-10-01 株式会社日立製作所 物質検査装置、物質検査システム及び物質検査方法
US10048172B2 (en) 2014-03-24 2018-08-14 Hitachi, Ltd. Substance-testing apparatus, substance-testing system, and substance-testing method
JP7538884B2 (ja) 2020-12-02 2024-08-22 株式会社日立ハイテク 分析装置、分析システム及び分析方法

Also Published As

Publication number Publication date
US20140238106A1 (en) 2014-08-28
JP2013083472A (ja) 2013-05-09
US9696288B2 (en) 2017-07-04
JP5945108B2 (ja) 2016-07-05

Similar Documents

Publication Publication Date Title
JP5945108B2 (ja) 付着物検査装置及び検査方法
JP6016547B2 (ja) 付着物検査装置
JP4568327B2 (ja) 付着物検査装置及び付着物検査方法
US8561486B2 (en) Particle interrogation devices and methods
JP2022545168A (ja) トリガされるサンプリングシステム及び方法
US20110203931A1 (en) Particle Interrogation Devices and Methods
JP4085941B2 (ja) 分析装置
US7138626B1 (en) Method and device for non-contact sampling and detection
JP5981578B2 (ja) 微粒子捕集及びガス化装置
KR100192741B1 (ko) 용기중 화합물의 존재여부를 샘플링하고 결정하는 방법 및 시스템
JP2004301749A (ja) 特定薬物の探知方法及び探知装置
WO2008083138A1 (en) Method and apparatus for trace collection
US20150268147A1 (en) Hand-held trace particle sampling system and method of operating the same
JPWO2020051131A5 (enExample)
US20120278002A1 (en) Mail Parcel Screening Using Multiple Detection Technologies
US20190362957A1 (en) A device and a method for screening of small to mid size luggage for traces of illicit substances
JP5044530B2 (ja) 付着物検査装置及び付着物検査方法
WO2008054393A1 (en) Method and device for non-contact sampling and detection
JP4714257B2 (ja) 付着物検査装置
CA2743107A1 (en) Particle interrogation devices and methods
JP2005338044A (ja) 危険物微粒子採取装置
US11621153B2 (en) Mass spectrometry of surface contamination
WO2018016118A1 (ja) 分析システム、クリーニングシステム及びクリーニング方法
CA2742633A1 (en) Particle interrogation devices and methods
WO2007103793A2 (en) Filtering optimization methods for particle inspection device

Legal Events

Date Code Title Description
121 Ep: the epo has been informed by wipo that ep was designated in this application

Ref document number: 12838923

Country of ref document: EP

Kind code of ref document: A1

WWE Wipo information: entry into national phase

Ref document number: 14349672

Country of ref document: US

NENP Non-entry into the national phase

Ref country code: DE

122 Ep: pct application non-entry in european phase

Ref document number: 12838923

Country of ref document: EP

Kind code of ref document: A1