WO2013051477A1 - 撮像装置および電子機器 - Google Patents

撮像装置および電子機器 Download PDF

Info

Publication number
WO2013051477A1
WO2013051477A1 PCT/JP2012/075102 JP2012075102W WO2013051477A1 WO 2013051477 A1 WO2013051477 A1 WO 2013051477A1 JP 2012075102 W JP2012075102 W JP 2012075102W WO 2013051477 A1 WO2013051477 A1 WO 2013051477A1
Authority
WO
WIPO (PCT)
Prior art keywords
pixel data
timing
filter
image
pixel
Prior art date
Legal status (The legal status is an assumption and is not a legal conclusion. Google has not performed a legal analysis and makes no representation as to the accuracy of the status listed.)
Ceased
Application number
PCT/JP2012/075102
Other languages
English (en)
French (fr)
Japanese (ja)
Inventor
類 森本
Current Assignee (The listed assignees may be inaccurate. Google has not performed a legal analysis and makes no representation or warranty as to the accuracy of the list.)
Sony Corp
Original Assignee
Sony Corp
Priority date (The priority date is an assumption and is not a legal conclusion. Google has not performed a legal analysis and makes no representation as to the accuracy of the date listed.)
Filing date
Publication date
Application filed by Sony Corp filed Critical Sony Corp
Priority to US14/347,132 priority Critical patent/US9172877B2/en
Priority to EP12838910.3A priority patent/EP2765773A1/en
Priority to CN201280047994.1A priority patent/CN103843328A/zh
Publication of WO2013051477A1 publication Critical patent/WO2013051477A1/ja
Anticipated expiration legal-status Critical
Priority to US14/875,035 priority patent/US9491421B2/en
Priority to US15/283,745 priority patent/US10044993B2/en
Ceased legal-status Critical Current

Links

Images

Classifications

    • GPHYSICS
    • G03PHOTOGRAPHY; CINEMATOGRAPHY; ANALOGOUS TECHNIQUES USING WAVES OTHER THAN OPTICAL WAVES; ELECTROGRAPHY; HOLOGRAPHY
    • G03BAPPARATUS OR ARRANGEMENTS FOR TAKING PHOTOGRAPHS OR FOR PROJECTING OR VIEWING THEM; APPARATUS OR ARRANGEMENTS EMPLOYING ANALOGOUS TECHNIQUES USING WAVES OTHER THAN OPTICAL WAVES; ACCESSORIES THEREFOR
    • G03B11/00Filters or other obturators specially adapted for photographic purposes
    • GPHYSICS
    • G02OPTICS
    • G02FOPTICAL DEVICES OR ARRANGEMENTS FOR THE CONTROL OF LIGHT BY MODIFICATION OF THE OPTICAL PROPERTIES OF THE MEDIA OF THE ELEMENTS INVOLVED THEREIN; NON-LINEAR OPTICS; FREQUENCY-CHANGING OF LIGHT; OPTICAL LOGIC ELEMENTS; OPTICAL ANALOGUE/DIGITAL CONVERTERS
    • G02F1/00Devices or arrangements for the control of the intensity, colour, phase, polarisation or direction of light arriving from an independent light source, e.g. switching, gating or modulating; Non-linear optics
    • G02F1/01Devices or arrangements for the control of the intensity, colour, phase, polarisation or direction of light arriving from an independent light source, e.g. switching, gating or modulating; Non-linear optics for the control of the intensity, phase, polarisation or colour 
    • G02F1/13Devices or arrangements for the control of the intensity, colour, phase, polarisation or direction of light arriving from an independent light source, e.g. switching, gating or modulating; Non-linear optics for the control of the intensity, phase, polarisation or colour  based on liquid crystals, e.g. single liquid crystal display cells
    • G02F1/133Constructional arrangements; Operation of liquid crystal cells; Circuit arrangements
    • G02F1/13306Circuit arrangements or driving methods for the control of single liquid crystal cells
    • GPHYSICS
    • G02OPTICS
    • G02FOPTICAL DEVICES OR ARRANGEMENTS FOR THE CONTROL OF LIGHT BY MODIFICATION OF THE OPTICAL PROPERTIES OF THE MEDIA OF THE ELEMENTS INVOLVED THEREIN; NON-LINEAR OPTICS; FREQUENCY-CHANGING OF LIGHT; OPTICAL LOGIC ELEMENTS; OPTICAL ANALOGUE/DIGITAL CONVERTERS
    • G02F1/00Devices or arrangements for the control of the intensity, colour, phase, polarisation or direction of light arriving from an independent light source, e.g. switching, gating or modulating; Non-linear optics
    • G02F1/01Devices or arrangements for the control of the intensity, colour, phase, polarisation or direction of light arriving from an independent light source, e.g. switching, gating or modulating; Non-linear optics for the control of the intensity, phase, polarisation or colour 
    • G02F1/13Devices or arrangements for the control of the intensity, colour, phase, polarisation or direction of light arriving from an independent light source, e.g. switching, gating or modulating; Non-linear optics for the control of the intensity, phase, polarisation or colour  based on liquid crystals, e.g. single liquid crystal display cells
    • G02F1/133Constructional arrangements; Operation of liquid crystal cells; Circuit arrangements
    • G02F1/1333Constructional arrangements; Manufacturing methods
    • G02F1/1335Structural association of cells with optical devices, e.g. polarisers or reflectors
    • G02F1/133528Polarisers
    • GPHYSICS
    • G02OPTICS
    • G02FOPTICAL DEVICES OR ARRANGEMENTS FOR THE CONTROL OF LIGHT BY MODIFICATION OF THE OPTICAL PROPERTIES OF THE MEDIA OF THE ELEMENTS INVOLVED THEREIN; NON-LINEAR OPTICS; FREQUENCY-CHANGING OF LIGHT; OPTICAL LOGIC ELEMENTS; OPTICAL ANALOGUE/DIGITAL CONVERTERS
    • G02F1/00Devices or arrangements for the control of the intensity, colour, phase, polarisation or direction of light arriving from an independent light source, e.g. switching, gating or modulating; Non-linear optics
    • G02F1/01Devices or arrangements for the control of the intensity, colour, phase, polarisation or direction of light arriving from an independent light source, e.g. switching, gating or modulating; Non-linear optics for the control of the intensity, phase, polarisation or colour 
    • G02F1/13Devices or arrangements for the control of the intensity, colour, phase, polarisation or direction of light arriving from an independent light source, e.g. switching, gating or modulating; Non-linear optics for the control of the intensity, phase, polarisation or colour  based on liquid crystals, e.g. single liquid crystal display cells
    • G02F1/133Constructional arrangements; Operation of liquid crystal cells; Circuit arrangements
    • G02F1/1333Constructional arrangements; Manufacturing methods
    • G02F1/1347Arrangement of liquid crystal layers or cells in which the final condition of one light beam is achieved by the addition of the effects of two or more layers or cells
    • G02F1/13471Arrangement of liquid crystal layers or cells in which the final condition of one light beam is achieved by the addition of the effects of two or more layers or cells in which all the liquid crystal cells or layers remain transparent, e.g. FLC, ECB, DAP, HAN, TN, STN, SBE-LC cells
    • G02F1/13473Arrangement of liquid crystal layers or cells in which the final condition of one light beam is achieved by the addition of the effects of two or more layers or cells in which all the liquid crystal cells or layers remain transparent, e.g. FLC, ECB, DAP, HAN, TN, STN, SBE-LC cells for wavelength filtering or for colour display without the use of colour mosaic filters
    • GPHYSICS
    • G02OPTICS
    • G02FOPTICAL DEVICES OR ARRANGEMENTS FOR THE CONTROL OF LIGHT BY MODIFICATION OF THE OPTICAL PROPERTIES OF THE MEDIA OF THE ELEMENTS INVOLVED THEREIN; NON-LINEAR OPTICS; FREQUENCY-CHANGING OF LIGHT; OPTICAL LOGIC ELEMENTS; OPTICAL ANALOGUE/DIGITAL CONVERTERS
    • G02F1/00Devices or arrangements for the control of the intensity, colour, phase, polarisation or direction of light arriving from an independent light source, e.g. switching, gating or modulating; Non-linear optics
    • G02F1/01Devices or arrangements for the control of the intensity, colour, phase, polarisation or direction of light arriving from an independent light source, e.g. switching, gating or modulating; Non-linear optics for the control of the intensity, phase, polarisation or colour 
    • G02F1/13Devices or arrangements for the control of the intensity, colour, phase, polarisation or direction of light arriving from an independent light source, e.g. switching, gating or modulating; Non-linear optics for the control of the intensity, phase, polarisation or colour  based on liquid crystals, e.g. single liquid crystal display cells
    • G02F1/133Constructional arrangements; Operation of liquid crystal cells; Circuit arrangements
    • G02F1/136Liquid crystal cells structurally associated with a semi-conducting layer or substrate, e.g. cells forming part of an integrated circuit
    • GPHYSICS
    • G02OPTICS
    • G02FOPTICAL DEVICES OR ARRANGEMENTS FOR THE CONTROL OF LIGHT BY MODIFICATION OF THE OPTICAL PROPERTIES OF THE MEDIA OF THE ELEMENTS INVOLVED THEREIN; NON-LINEAR OPTICS; FREQUENCY-CHANGING OF LIGHT; OPTICAL LOGIC ELEMENTS; OPTICAL ANALOGUE/DIGITAL CONVERTERS
    • G02F1/00Devices or arrangements for the control of the intensity, colour, phase, polarisation or direction of light arriving from an independent light source, e.g. switching, gating or modulating; Non-linear optics
    • G02F1/01Devices or arrangements for the control of the intensity, colour, phase, polarisation or direction of light arriving from an independent light source, e.g. switching, gating or modulating; Non-linear optics for the control of the intensity, phase, polarisation or colour 
    • G02F1/21Devices or arrangements for the control of the intensity, colour, phase, polarisation or direction of light arriving from an independent light source, e.g. switching, gating or modulating; Non-linear optics for the control of the intensity, phase, polarisation or colour  by interference
    • GPHYSICS
    • G06COMPUTING OR CALCULATING; COUNTING
    • G06TIMAGE DATA PROCESSING OR GENERATION, IN GENERAL
    • G06T5/00Image enhancement or restoration
    • G06T5/20Image enhancement or restoration using local operators
    • HELECTRICITY
    • H04ELECTRIC COMMUNICATION TECHNIQUE
    • H04NPICTORIAL COMMUNICATION, e.g. TELEVISION
    • H04N23/00Cameras or camera modules comprising electronic image sensors; Control thereof
    • H04N23/10Cameras or camera modules comprising electronic image sensors; Control thereof for generating image signals from different wavelengths
    • H04N23/11Cameras or camera modules comprising electronic image sensors; Control thereof for generating image signals from different wavelengths for generating image signals from visible and infrared light wavelengths
    • HELECTRICITY
    • H04ELECTRIC COMMUNICATION TECHNIQUE
    • H04NPICTORIAL COMMUNICATION, e.g. TELEVISION
    • H04N23/00Cameras or camera modules comprising electronic image sensors; Control thereof
    • H04N23/60Control of cameras or camera modules
    • H04N23/68Control of cameras or camera modules for stable pick-up of the scene, e.g. compensating for camera body vibrations
    • H04N23/682Vibration or motion blur correction
    • H04N23/684Vibration or motion blur correction performed by controlling the image sensor readout, e.g. by controlling the integration time
    • H04N23/6845Vibration or motion blur correction performed by controlling the image sensor readout, e.g. by controlling the integration time by combination of a plurality of images sequentially taken
    • HELECTRICITY
    • H04ELECTRIC COMMUNICATION TECHNIQUE
    • H04NPICTORIAL COMMUNICATION, e.g. TELEVISION
    • H04N25/00Circuitry of solid-state image sensors [SSIS]; Control thereof
    • H04N25/10Circuitry of solid-state image sensors [SSIS]; Control thereof for transforming different wavelengths into image signals
    • H04N25/11Arrangement of colour filter arrays [CFA]; Filter mosaics
    • HELECTRICITY
    • H04ELECTRIC COMMUNICATION TECHNIQUE
    • H04NPICTORIAL COMMUNICATION, e.g. TELEVISION
    • H04N25/00Circuitry of solid-state image sensors [SSIS]; Control thereof
    • H04N25/10Circuitry of solid-state image sensors [SSIS]; Control thereof for transforming different wavelengths into image signals
    • H04N25/11Arrangement of colour filter arrays [CFA]; Filter mosaics
    • H04N25/13Arrangement of colour filter arrays [CFA]; Filter mosaics characterised by the spectral characteristics of the filter elements
    • H04N25/131Arrangement of colour filter arrays [CFA]; Filter mosaics characterised by the spectral characteristics of the filter elements including elements passing infrared wavelengths
    • HELECTRICITY
    • H04ELECTRIC COMMUNICATION TECHNIQUE
    • H04NPICTORIAL COMMUNICATION, e.g. TELEVISION
    • H04N9/00Details of colour television systems
    • H04N9/64Circuits for processing colour signals
    • H04N9/646Circuits for processing colour signals for image enhancement, e.g. vertical detail restoration, cross-colour elimination, contour correction, chrominance trapping filters
    • GPHYSICS
    • G02OPTICS
    • G02FOPTICAL DEVICES OR ARRANGEMENTS FOR THE CONTROL OF LIGHT BY MODIFICATION OF THE OPTICAL PROPERTIES OF THE MEDIA OF THE ELEMENTS INVOLVED THEREIN; NON-LINEAR OPTICS; FREQUENCY-CHANGING OF LIGHT; OPTICAL LOGIC ELEMENTS; OPTICAL ANALOGUE/DIGITAL CONVERTERS
    • G02F1/00Devices or arrangements for the control of the intensity, colour, phase, polarisation or direction of light arriving from an independent light source, e.g. switching, gating or modulating; Non-linear optics
    • G02F1/01Devices or arrangements for the control of the intensity, colour, phase, polarisation or direction of light arriving from an independent light source, e.g. switching, gating or modulating; Non-linear optics for the control of the intensity, phase, polarisation or colour 
    • G02F1/21Devices or arrangements for the control of the intensity, colour, phase, polarisation or direction of light arriving from an independent light source, e.g. switching, gating or modulating; Non-linear optics for the control of the intensity, phase, polarisation or colour  by interference
    • G02F1/213Fabry-Perot type
    • HELECTRICITY
    • H04ELECTRIC COMMUNICATION TECHNIQUE
    • H04NPICTORIAL COMMUNICATION, e.g. TELEVISION
    • H04N2209/00Details of colour television systems
    • H04N2209/04Picture signal generators
    • H04N2209/041Picture signal generators using solid-state devices
    • H04N2209/042Picture signal generators using solid-state devices having a single pick-up sensor
    • H04N2209/043Picture signal generators using solid-state devices having a single pick-up sensor using an alternating colour separation filter, e.g. colour wheel or colour LCD

Definitions

  • the present disclosure relates to an imaging apparatus suitable for color photography, for example, and an electronic apparatus including the imaging apparatus.
  • a color filter having a predetermined color arrangement is provided on an image sensor having a plurality of pixels, and the color image is obtained by using imaging data that has been spectrally divided. Is synthesized. Specifically, a filter that selectively transmits, for example, any color light of R (red), G (green), and B (blue) is disposed on the image sensor for each pixel. In this case, for example, a Bayer arrangement is common as the color arrangement of R, G, and B.
  • a device provided with a variable filter that selectively transmits a specific wavelength on a light detection element is used (for example, Patent Documents 1 to 4).
  • the variable filter for example, a so-called liquid crystal lyo filter whose transmission wavelength can be changed by voltage driving can be cited.
  • the color filter for example, a filter in which regions are separately applied using R, G, and B pigments is used, and any one of R, G, and B color light is emitted in each region. Selectively transmit. For this reason, only one color light of any one of R, G, and B can be detected by one pixel, and particularly in an image corresponding to a subject having a large contrast difference, image quality degradation such as so-called pseudo color or mixed color is obtained as a result of image calculation processing. Is likely to occur.
  • an imaging apparatus capable of acquiring high-quality color images while suppressing the occurrence of pseudo-colors and color mixing, and an electronic apparatus equipped with the same.
  • An imaging apparatus includes a plurality of pixels, an imaging element that outputs imaging data, a light receiving surface of the imaging element, and a selective transmission wavelength of incident light is variably configured.
  • a variable filter and a filter drive unit that drives the variable filter and switches the transmission wavelength in a time-division manner are provided.
  • An electronic apparatus includes the imaging device according to the embodiment of the present disclosure.
  • the filter driving unit drives the variable filter and switches the transmission wavelength in a time-division manner, so that the image sensor has the color image data corresponding to the transmission wavelength in the variable filter in time. Output continuously.
  • the filter driving unit drives the variable filter and switches the transmission wavelength in a time division manner. Therefore, the imaging device uses the transmission wavelength of the variable filter as the imaging data. Corresponding color image data can be output continuously in time. By generating a color image based on such imaging data, it is possible to acquire a high-quality color image while suppressing the occurrence of false colors and color mixing.
  • FIG. 2 is an equivalent circuit diagram of the wavelength selection circuit shown in FIG. 1.
  • FIG. 1 It is sectional drawing showing schematic structure of the imaging device shown in FIG.
  • FIG. 1 It is a schematic diagram of the cell unit which comprises a variable filter.
  • FIG. 1 It is sectional drawing showing schematic structure of the imaging device shown in FIG.
  • FIG. 1 It is a schematic diagram of the cell unit which comprises a variable filter.
  • FIG. 1 It is sectional drawing showing schematic structure of the imaging device shown in FIG. It is a schematic diagram of the cell unit which comprises a variable filter.
  • (A) to (C) are schematic views showing an example of the layout of the cell unit. It is a conceptual diagram for demonstrating an effect
  • (A) to (C) are schematic diagrams showing examples of time division driving of a variable filter.
  • FIG. 10 is a flowchart showing an image processing operation.
  • 10 is a flowchart illustrating an image processing operation according to Modification 1.
  • 10 is a cross-sectional view illustrating a schematic configuration of an imaging apparatus according to Modification 2.
  • FIG. 10 is a cross-sectional view illustrating a schematic configuration of a variable filter according to Modification 3.
  • FIG. It is an example of the combination of the transmission wavelength of each liquid crystal cell in the variable filter shown in FIG. 10 is a cross-sectional view illustrating a schematic configuration of a variable filter according to Modification 4.
  • FIG. It is a functional block diagram of the electronic device (camera) which concerns on an application example.
  • Embodiment (example in which transmission wavelengths (R, G, B) of a variable filter provided on an image sensor are switched in a time division manner) 2.
  • Modification 1 (R, G, B, near-infrared time-division drive, other examples of image processing) 3.
  • Modification 2 (Other example of image sensor) 4).
  • Modification 3 (Another example of variable filter (liquid crystal rio filter)) 5.
  • Modification 4 (example using a piezoelectric Fabry-Perot interference filter as a variable filter) 6).
  • Application examples (examples of electronic devices)
  • FIG. 1 illustrates an overall configuration of an imaging apparatus (imaging apparatus 1) according to an embodiment of the present disclosure.
  • the imaging device 1 is an imaging device suitable for photographing color images (still images or moving images), and includes a variable filter 20 provided on a light receiving surface of an image sensor 10 (imaging device).
  • the variable filter 20 is connected to an electronic circuit (a wavelength selection circuit 21 described later) formed in the image sensor 10 via the wiring 10a.
  • FIG. 2 shows a functional block configuration of the imaging apparatus 1.
  • the image sensor 10 includes a pixel array unit 12 on a substrate 11, and a circuit unit (for example, a row scanning unit 13, a horizontal circuit) for driving the pixel array unit 12 around the pixel array unit 12.
  • a selection unit 14, a column scanning unit 15, and a system control unit 16) are provided.
  • the variable filter 20 is provided on the image sensor 10 so as to face the pixel array unit 12, and is connected to a wavelength selection circuit 21 formed on the substrate 10.
  • the imaging apparatus 1 also includes an image processing unit 22 on the substrate 11.
  • the image sensor 10 is composed of a solid-state imaging device such as a CMOS (Complementary Metal Oxide Semiconductor).
  • the pixel array unit 12 serves as an imaging area in the imaging device 1.
  • a pixel P (hereinafter simply referred to as “pixel”) including a photoelectric conversion element (photodiode 111A to be described later) that generates and accumulates photoelectric charges having an amount corresponding to the amount of incident light.
  • pixel P hereinafter simply referred to as “pixel”
  • a photoelectric conversion element photodiode 111A to be described later
  • three wirings are connected to the pixel P as the pixel driving line 17.
  • the pixel drive line 17 transmits a drive signal for signal readout. However, in FIG. 1, the pixel drive line 17 is shown as one wiring for simplification. The pixel P is further connected with a vertical signal line 18 for transmitting the read signal. The configuration of the pixel array unit 12 will be described later.
  • the row scanning unit 13 includes a shift register, an address decoder, and the like, and is a pixel driving unit that drives each pixel P of the pixel array unit 12 in units of rows, for example.
  • a signal output from each unit pixel of the pixel row selected and scanned by the row scanning unit 13 is supplied to the horizontal selection unit 14 through each vertical signal line 18.
  • the horizontal selection unit 14 is configured by an amplifier, a horizontal selection switch, and the like provided for each vertical signal line 18.
  • the column scanning unit 15 includes a shift register, an address decoder, and the like, and sequentially drives each horizontal selection switch of the horizontal selection unit 14 while scanning. By the selective scanning by the column scanning unit 15, the signal of each pixel transmitted through each of the vertical signal lines 18 is sequentially output to the horizontal signal line 19 and transmitted to the outside of the substrate 11 through the horizontal signal line 19.
  • the variable filter 20 is a so-called band-pass filter that selectively transmits light having a specific wavelength (for example, any wavelength or wavelength band within a range of 0.3 ⁇ m to 2.5 ⁇ m). It has the function of.
  • the transmission wavelength of the variable filter 20 can be switched by electrical or mechanical control.
  • the variable filter 20 since the imaging device 1 is used as an imaging device for color photography, the variable filter 20 functions as a color filter that switches and transmits the three primary colors of R, G, and B. A specific configuration of the variable filter 20 will be described later.
  • the wavelength selection circuit 21 is an electronic circuit for setting (selecting) the transmission wavelength in the variable filter 20 as described above.
  • the wavelength selection circuit 21 is controlled by, for example, the system control unit 16 disposed in the image sensor 10, and is a transistor (a transistor Tr5 described later) for applying a signal voltage to each liquid crystal cell of the variable filter 20 as described above. To Tr7).
  • the variable filter 20 is switched in a time-division manner, for example, in units of pixel regions, units of pixel columns (rows), or units of all pixels (units of planes).
  • the circuit configuration of the wavelength selection circuit 21 will be described later.
  • the wavelength selection circuit 21 and the system control unit 16 correspond to a specific example of the filter driving unit in the present disclosure.
  • the image processing unit 22 performs predetermined arithmetic processing using the imaging data acquired by the image sensor 10, and outputs, for example, color image data Dout. A specific image processing operation of the image processing unit 22 will be described later.
  • the system control unit 16 receives a clock supplied from the outside of the substrate 11, data for instructing an operation mode, and the like, and controls operations of the image sensor 10, the wavelength selection circuit 21, and the image processing unit 22, for example, a micro It consists of a computer. Specifically, the system control unit 16 includes a timing generator that generates various timing signals, and the row scanning unit 13, the horizontal selection unit 14, and the column scanning unit 15 based on the timing signals generated by the timing generator. In addition, drive control of the wavelength selection circuit 21 is performed, and imaging data is output from the horizontal signal line 19 to the image processing unit 22 to drive the image processing unit 22.
  • the circuit portion including the row scanning unit 13, the horizontal selection unit 14, the column scanning unit 15, the wavelength selection circuit 21, and the system control unit 16 may be formed directly on the substrate 11, or may be an external control IC. It may be arranged in. In addition, these circuit portions may be formed on another substrate connected by a cable or the like.
  • FIG. 3 is an example of a circuit configuration of the pixel P including the photodiode 111A.
  • the pixel P includes, for example, a photodiode 111A (photoelectric conversion element), four transistors Tr1, Tr2, Tr3, Tr4, the vertical signal line 18 described above, and a pixel drive line 17 (row selection line 171, reset control line 172). And a transfer line 73).
  • a row selection line 171, a reset control line 172, and a transfer line 173 are commonly connected to each pixel in the same pixel row as the pixel drive line 17.
  • One end of each of the row selection line 171, the reset control line 172, and the transfer line 173 is connected to an output end corresponding to each pixel row of the row scanning unit 13 in units of pixel rows.
  • the transistors Tr1 to Tr4 are all N-channel field effect transistors, for example, and are configured using a silicon-based semiconductor such as microcrystalline silicon, crystalline silicon, or polycrystalline silicon.
  • a silicon-based semiconductor such as microcrystalline silicon, crystalline silicon, or polycrystalline silicon.
  • an oxide semiconductor such as indium gallium zinc oxide (InGaZnO) or zinc oxide (ZnO) may be used.
  • the transistor Tr1 is a transfer transistor, the gate is connected to the transfer line 173, one end of the source and drain is connected to one end (for example, cathode) of the photodiode 111A, and the other end is FD (floating diffusion). It is connected to the.
  • a transfer pulse ⁇ TRF in which a high level (for example, Vdd level) is active (hereinafter referred to as “High active”) is applied to the gate of the transistor Tr1 via the transfer line 173.
  • the transistor Tr1 is turned on, and the photoelectric charges photoelectrically converted by the photodiode 111A are transferred to the FD.
  • the transistor Tr2 is a reset transistor, the gate is connected to the reset control line 172, one end of the source and the drain is connected to the pixel power supply Vdd, and the other end is connected to the FD.
  • a high active reset pulse ⁇ RST is applied to the gate of the transistor Tr ⁇ b> 2 via the reset control line 172.
  • the transistor Tr2 is turned on, and prior to the transfer of the signal charge from the photodiode 111A to the FD, the FD is reset by discarding the charge accumulated in the FD to the pixel power supply Vdd. Yes.
  • the transistor Tr3 is an amplification transistor, and has a gate connected to the FD, one end of the source and drain connected to the pixel power source Vdd, and the other end connected to the transistor Tr4.
  • the transistor Tr3 outputs the potential of the FD after reset as a reset signal (reset level) Vreset, and outputs the potential of the FD after signal charge transfer as a light accumulation signal (signal level) Vsig.
  • the transistor Tr4 is a selection transistor, and has a gate connected to the row selection line 171 and one end of the source and drain connected to the transistor Tr3 and the other end connected to the vertical signal line 18.
  • a high active selection pulse ⁇ SEL is applied to the gate of the transistor Tr4 via the row selection line 171. Thereby, the transistor Tr4 is turned on, and the signal output from the transistor Tr3 is relayed to the vertical signal line 18 with the pixel P selected.
  • the transistor Tr4 may be connected between the pixel power supply Vdd and the drain of the transistor Tr3. Further, the transistor Tr3 and the transistor Tr4 may be shared, that is, a circuit configuration having three transistors may be employed.
  • the photodiode 111A has one end (for example, an anode) connected to, for example, a ground (GND), and converts received light into photoelectric charge having a charge amount corresponding to the light amount (photoelectric conversion).
  • the other end (for example, cathode) of the photodiode 111A is electrically connected to the gate of the transistor Tr3 via the transistors Tr1 and FD.
  • This photodiode 111A has a sensitivity range (light reception wavelength band) in the range of, for example, 0.3 to 20 ⁇ m, and can photoelectrically convert wavelengths in such a range.
  • a reference potential is applied to the cathode side to generate a signal charge having a charge amount corresponding to the amount of incident light (amount of received light).
  • amount of received light amount of incident light
  • the variable filter 20 light of three wavelengths of R (red: 620 nm to 750 nm), G (green: 495 nm to 570 nm), B (blue: 450 nm to 495 nm), for example. Are selectively transmitted, and a color image is generated from pixel data corresponding to each color light.
  • the photodiode 111A only needs to have sensitivity at wavelengths corresponding to visible light including R, G, and B wavelengths (for example, about 380 nm to 750 nm).
  • a photoelectric conversion material for example, examples thereof include polycrystalline silicon, crystalline silicon, microcrystalline silicon, and amorphous silicon.
  • FIG. 4 is an example of a circuit configuration of the wavelength selection circuit 21.
  • the wavelength selection circuit 21 includes a transistor Tr for applying the signal voltage Vout to the liquid crystal cell LC constituting the variable filter 20, and an electronic circuit including an operational amplifier 28 and a digital potentiometer 29 for setting the signal voltage Vout. is doing.
  • the gate of the transistor Tr is connected to a selection line 27 for transmitting a timing control signal from the system control unit 16, one of the source and drain is an output terminal of the operational amplifier 28, and the other is an electrode of the liquid crystal cell LC (described later). Electrode 23a1, 23b1, 23c1).
  • the variable filter 20 includes three liquid crystal cells 20A to 20C, and signal voltages ⁇ 1, ⁇ 2, and individual voltage applied to the liquid crystal cells 20A to 20C, respectively.
  • the transmission wavelength is set (switched) in a time-sharing manner according to the combination of ⁇ 3.
  • the above circuit is provided for each of the liquid crystal cells 20A to 20C (or for each cell unit U described later), and the signal voltages ⁇ 1, ⁇ 2, and ⁇ 3 are applied at selective timing by the corresponding transistors Tr5 to Tr7. It has come to be.
  • the liquid crystal cell LC corresponds to any one of the liquid crystal cells 20A to 20C
  • the transistor Tr corresponds to any one of the transistors Tr5 to Tr7
  • the signal voltage Vout corresponds to any one of the signal voltages ⁇ 1, ⁇ 2, and ⁇ 3.
  • an arbitrary signal voltage Vout can be set by digital signal control using the digital potentiometer 29.
  • the signal voltage Vout can be adjusted to perform correction corresponding to the characteristic variation at the time of manufacture.
  • the transmission wavelength at the time of photographing can be set to an arbitrary wavelength, for example, by switching to a wavelength (infrared ray or ultraviolet ray) other than R, G, and B.
  • the output of the digital potentiometer 29 is voltage-adjusted by the operational amplifier 28, and this is used as the signal voltage Vout.
  • the operational amplifier 28 and the digital potentiometer 29 may be provided as necessary.
  • the signal voltage Vout may be a fixed value.
  • the digital potentiometer 29 as described above is not provided.
  • a circuit configuration may be used.
  • a separate high voltage power source may be provided or supplied from the outside.
  • the amplification effect may be enhanced by using the output from the charge pump circuit as the power supply VDD2 of the operational amplifier 28.
  • FIG. 5 schematically shows a part of the cross-sectional structure of the imaging apparatus 1 (near the boundary between the pixel array unit 12 and its peripheral part).
  • the image sensor 10 is, for example, a so-called backside illumination type CMOS (Complementary Metal Oxide Semiconductor) having an element layer 113 including a photoelectric conversion layer 114 on the substrate 11 above the wiring layer 112.
  • CMOS Complementary Metal Oxide Semiconductor
  • the pixel driving transistors Tr1 to Tr4 and the transistors Tr5 to Tr7 constituting a part of the wavelength selection circuit 21 are formed in the element layer 113 together with the photoelectric conversion layer 114.
  • a concentrating on-chip lens OCL: On Chip Lens
  • the four transistors Tr1 to Tr4 as described above are provided together with the photodiode 111A including the photoelectric conversion layer 114 and the on-chip lens 115.
  • a variable filter 20 is stacked on the light receiving surface side of the image sensor 10.
  • the variable filter 20 is constituted by, for example, a so-called liquid crystal rio filter.
  • a liquid crystal rio filter can realize a maximum transmittance of almost 100% and a full width at half maximum (FWHM) of about 100 nm by combining a liquid crystal cell and a polarizing plate as described later, and is sufficient as a color filter. It has a good performance.
  • FWHM full width at half maximum
  • this liquid crystal lyo filter since the transmission wavelength is set by driving a plurality of liquid crystal cells as described later, the response speed of the liquid crystal tends to affect the image quality. For this reason, it is preferable to use a liquid crystal cell having a response speed of about 5 ms or less.
  • Such a liquid crystal lyo filter is obtained by alternately laminating a plurality of liquid crystal cells and a plurality of polarizing plates, each of which can be electrically driven individually.
  • the transmission wavelength of the entire variable filter 20 changes in accordance with the combination of the drive voltages applied to the plurality of liquid crystal cells.
  • variable filter 20 is connected to an electronic circuit (wavelength selection circuit 21) formed in the image sensor 10 via an anisotropic conductive film 210 and connection bumps 211.
  • the anisotropic conductive film 210 and the connecting bump 211 correspond to a specific example of the wiring 10a in FIG.
  • the variable filter 20 is formed of, for example, a liquid crystal lyo filter, and a plurality (here, three) of liquid crystal cells 20A, 20B, and 20C and polarizing plates 22a, 22b, 22c, and 22d are alternately stacked. Is.
  • the polarizing plates 22a to 22d are disposed, for example, so that the absorption axes thereof coincide with each other.
  • the absorption axis of the polarizing plate 22d on the light emission side may be arranged so as to be orthogonal to the absorption axes of the other polarizing plates 22a to 22c (cross).
  • Nicole arrangement may also be used).
  • the liquid crystal cells 20A to 20C transmit selective wavelengths by ECB (Electrically Controlled Birefringence) of the liquid crystal.
  • ECB Electro Mechanical Controlled Birefringence
  • the entire variable filter 20 transmits only a specific wavelength.
  • the transmission wavelength of the variable filter 20 can take various bands depending on the number of liquid crystal cell stages (the number of stacked layers) and the combination of drive voltages applied to them, and the transmission spectrum thereof is sharpened (transmission) It is possible to narrow the wavelength band), or conversely smooth the transmission spectrum (expand the transmission wavelength band over a wide range).
  • Each of these liquid crystal cells 20A to 20C has a liquid crystal layer 24 sealed between a pair of transparent substrates 26a and 26b.
  • the liquid crystal cell 20A has electrodes 23a1, 23a2 made of a transparent conductive film such as ITO (Indium Tin Oxide) on the surface of the transparent substrates 26a, 26b on the liquid crystal layer 24 side, and through these electrodes 23a1, 23a2.
  • a predetermined voltage is applied to the liquid crystal layer 24.
  • One of the electrodes 23a1 and 23a2 is connected to the transistor Tr5 through the anisotropic conductive film 210 and the connection bump 211, and the other electrode 23a2 is connected to the ground, for example.
  • a predetermined drive voltage ⁇ 1 is applied to the liquid crystal cell 20A via the transistor Tr5.
  • electrodes 23b1 and 23b2 for applying a voltage to the liquid crystal layer 24 are provided on the surface of the transparent substrates 26a and 26b on the liquid crystal layer 24 side.
  • the other electrode 23b2 is connected to the ground, for example, connected to the transistor Tr6 via the anisotropic conductive film 210 and the connection bump 211.
  • a predetermined drive voltage ⁇ 2 is applied to the liquid crystal cell 20B.
  • electrodes 23c1 and 23c2 for applying a voltage to the liquid crystal layer 24 are provided on the surface of the transparent substrates 26a and 26b on the liquid crystal layer 24 side.
  • the other electrode 23a2 is connected to the ground, for example, connected to the transistor Tr7 via the anisotropic conductive film 210 and the connection bump 211.
  • a predetermined drive voltage ⁇ 3 is applied to the liquid crystal cell 20C.
  • the substrates 26a and 26b extend to the peripheral area of the pixel array section 12, and the number of the liquid crystal cells 20A to 20C (three in this case) is included in the peripheral area.
  • the through-hole via is formed so as to penetrate in the thickness direction.
  • each of the electrodes 23a1, 23b1, 23c1 of the liquid crystal cells 20A to 20C, and the corresponding transistor using these through-hole vias, the anisotropic conductive film 210, and the connection bump 211. Electrical connection with any of Tr5 to Tr7 is ensured.
  • the other electrodes 23a2, 23b2, and 23c2 of the liquid crystal cells 20A to 20C are all held at a common ground potential, the through-hole via, the anisotropic conductive film 210, and the connection conductive film that are common to the liquid crystal cells are used.
  • the bump 211 is connected to a GND line disposed in the image sensor 10.
  • the electrical connection method between each of the liquid crystal cells 20A to 20C and the electronic circuit disposed in the image sensor 10 is not limited to the above-described one, and various other methods such as a method using other through-hole vias and bonding. Can be used.
  • the transmission wavelength can be set (switched) by the combination of the drive voltages ⁇ 1 to ⁇ 3 applied to the liquid crystal cells 20A to 20C.
  • the transmission wavelength in the variable filter 20 is switched in time division (or time division and space division) to the R, G, and B wavelengths, and the image sensor 10. In this case, light is received.
  • the variable filter 20 has a structure in which a plurality of individually controllable liquid crystal cells are stacked as described above. In such a stacked cell structure, one transmission wavelength is set in common for all pixels. You may be comprised so that it may be comprised, and you may have a some sub filter so that a transmission wavelength can be set separately in each.
  • the variable filter 20 includes one or a plurality of cell units (sub-filters) U including liquid crystal cells 20A to 20C and polarizing plates 22a to 22d as shown in FIG. In other words, the variable filter 20 includes a single cell unit U or a plurality of cell units U to which voltage can be individually applied.
  • variable filter 20 When the variable filter 20 includes a plurality of cell units U, at least the electrodes 23a1, 23b1, and 23c1 need only be divided into a plurality of pixels (each pixel row (column) or each pixel as illustrated below).
  • the other electrodes 23a2, 23b2, and 23c2, the substrates 26a and 26b, the liquid crystal layer 24, and the polarizing plates 22a to 22d may be provided in common for all the pixels P or may be divided. In this case, in the laminated structure of the variable filter 20, a region corresponding to each divided electrode corresponds to the cell unit U.
  • the transmission wavelength can be switched in a lump for each imaging frame (in a time division manner). Thereby, a full-color image can be generated by a relatively simple arithmetic process.
  • this surface collective control it is desirable that the transfer rate be high.
  • a technology for realizing a high transfer rate of 34.8 Gbps (ISSCC2011: 23.11 “a17.7Mpixel 120fps CMOS Image Sensor with 34.8Gb / s Readout”, T.Toyama et al., Sony Corp. and Sony LSI Corp .) Etc. can be used.
  • the cell unit U may be respectively opposed to the pixel columns (or pixel rows) of the pixel array unit 12.
  • the transmission wavelength can be switched in a time division manner, and the transmission wavelength can be switched for each pixel column (in a spatial division) even within one frame.
  • Such a control does not require a high transfer rate as compared with the case of the above-described surface collective control, and a color image can be easily generated by a calculation process between adjacent pixels.
  • a cell unit U facing each pixel P of the pixel array unit 12 may be included.
  • the transmission wavelength can be switched in a time division manner, and the transmission wavelength can be switched for each pixel P (in a spatial division) even within one frame.
  • the transfer rate can be relatively low and a color image can be easily generated.
  • FIG. 8 is a conceptual diagram for explaining an imaging data acquisition operation by the variable filter 20 and the image sensor 10 of the present embodiment.
  • the system control unit 16 drives the row scanning unit 13, the horizontal selection unit 14, and the column scanning unit 15 of the image sensor 10, so that in the pixel array unit 12, each pixel P (photodiode 111 ⁇ / b> A). Exposure is performed, and an electric signal having a charge amount corresponding to the amount of received light is obtained by photoelectric conversion. The obtained electrical signal is read out to the vertical signal line 18 in a line sequential manner, and then output to the image processing unit 22 as imaging data through the horizontal signal line 19.
  • the image processing unit 22 performs predetermined image calculation processing based on the input imaging data, and outputs image data Dout corresponding to the color image.
  • the system control unit 16 drives the wavelength selection circuit 21 to set the transmission wavelength in the variable filter 20 during the imaging operation of the image sensor 10 as described above. Thereby, only a specific wavelength out of the wavelengths incident on the variable filter 20 from the subject side passes through the variable filter 20 and enters the pixel array unit 12 of the image sensor 10.
  • the transmission wavelength in the variable filter 20 is set as follows. That is, as shown in FIG. 8, the system control unit 16 applies different voltages to the liquid crystal cells 20A to 20C constituting the variable filter 20 using the wavelength selection circuit 21.
  • the driving voltage ⁇ 1 is supplied to the liquid crystal cell 20A
  • the driving voltage ⁇ 2 is supplied to the liquid crystal cell 20B
  • the driving voltage ⁇ 3 is supplied to the liquid crystal cell 20C.
  • the image of the subject is acquired as imaging data for a specific wavelength selected by the variable filter 20.
  • the variable filter 20 selectively transmits the red light Lr according to the combination of the drive voltages ⁇ 1 to ⁇ 3, so that each pixel P has R monochromatic data ( Pixel data Dr) is obtained.
  • R monochromatic data Pixel data Dr
  • G monochromatic data pixel data Dg
  • B single color data pixel data Db
  • FIG. 9A to 9E show examples of driving timings of the pixel circuit and the wavelength selection circuit by the system control unit 16.
  • FIG. 9A shows a reset pulse ⁇ RST of the transistor Tr2 (reset transistor), and R1, R2,... Are reset control provided for each pixel row (or pixel column). The pulse waveform on line 172 is shown.
  • FIG. 9B shows the transfer pulse ⁇ TRF of the transistor Tr1 (transfer transistor), and T1, T2,... Indicate pulse waveforms in the transfer lines 173 provided for each pixel row.
  • FIG. 9C shows a selection pulse ⁇ SEL of the transistor Tr4 (selection transistor), and S1, S2,... Indicate pulse waveforms in each row selection line 171 provided for each pixel row.
  • FIG. 9D shows drive voltages ⁇ 1 to ⁇ 3 to the liquid crystal cells 20A to 20C in the variable filter 20.
  • the system control unit 16 drives the row scanning unit 13, the horizontal selection unit 14 and the column scanning unit 15, and the wavelength selection circuit 21 in the image sensor 10 in synchronization with each other, thereby driving FIG. ), Signal charges sig1y, sig2y,... As monochromatic data corresponding to combinations of drive voltages ⁇ 1 to ⁇ 3 are acquired for each vertical signal line 18.
  • the image sensor 10 receives light and acquires imaging data while switching the transmission wavelength in the variable filter 20 in a time division manner. Specifically, as schematically shown in FIGS. 10A to 10C, the variable filter 20 is driven so that each color light of R, G, B is switched in a time division manner and transmitted, In the image sensor 10, monochromatic data (pixel data) of R, G, and B in each pixel P is acquired continuously in time.
  • the transmission wavelength in the variable filter 20 is switched individually in each of one or a plurality of cell units U as shown in FIGS. 7 (A) to (C).
  • the transmission wavelength is set to all pixels (surface).
  • Switch in time division Specifically, as shown in FIG. 10 (A), R light is selectively transmitted at a certain timing t1 to acquire R monochromatic pixel data, and G light is selected at a timing t2 following the timing t1.
  • the pixel data of G single color is acquired by transmitting the pixel light, and the pixel light of B single color is acquired by selectively transmitting the B light at the timing t3 following the timing t2.
  • the variable filter 20 has cell units U (U1, U2, U3,...) That face the pixel columns (or pixel rows) of the pixel array unit 12, respectively.
  • the transmission wavelength may be controlled in a space division manner so as to be repeatedly different for each cell unit U1, U2, U3,. Specifically, as shown in FIG. 10B, at a certain timing t1, the cell unit U1 transmits the R light, the cell unit U2 transmits the G light, and the cell unit U3 transmits the B light.
  • timing t2 following this timing t1 switching is performed so that the G light is transmitted through the cell unit U1, the B light is transmitted through the cell unit U2, and the R light is transmitted through the cell unit U3. Further, at the timing t3 following the timing t2, the cell unit U1 is transmitted. Switching is performed so that the B light is transmitted through U1, the R light is transmitted through the cell unit U2, and the G light is transmitted through the cell unit U3.
  • the transmission wavelength may be controlled in a space division manner so that the transmission wavelength is repeatedly different for each cell unit U1, U2, U3, U4,. Specifically, as shown in FIG. 10C, at a certain timing t1, R light is emitted from the cell unit U1, G light is obtained from the cell unit U2, G light is produced from the cell unit U3, and B light is produced from the cell unit U4. Make it transparent.
  • switching is performed so that the G light is transmitted through the cell unit U1, the B light is transmitted through the cell unit U2, the B light is transmitted through the cell unit U3, and the R light is transmitted through the cell unit U4. Further, at timing t3 subsequent to timing t2, switching is performed so as to transmit the B light in the cell unit U1, the R light in the cell unit U2, the R light in the cell unit U3, and the G light in the cell unit U4.
  • the combination of the drive voltages ⁇ 1 to ⁇ 3 is changed for each cell unit U.
  • the cell units U may be individually voltage driven.
  • R, G, B single color data (pixel data Dr, Dg, Db) is time-sequentially in each pixel P. Acquired continuously along.
  • the imaging data D0 including the time series data of R, G, B acquired in this way is output to the image processing unit 22 as described above.
  • FIG. 11 is a flowchart illustrating an example of an image calculation processing operation in the image processing unit 22.
  • the imaging data D0 includes pixel data of each color of R, G, and B acquired continuously in time.
  • the image processing unit 22 generates a color image of the three primary colors through arithmetic processing using such image data D0.
  • the image processing unit 22 performs, as the imaging data D0, based on the control of the system control unit 16 at successive timings t1 to t3 (corresponding to the timings t1 to t3 in FIG. 7A).
  • the obtained R, G, B single color pixel data Dr (t1), Dg (t2), and Db (t3) are acquired (step S1).
  • the image processing unit 22 uses the acquired pixel data Dr (t1), Dg (t2), and Db (t3) to subtract the minute subject positional deviation between temporally continuous imaging frames. (Registration) to generate pixel data of three colors R, G, and B at timing t1 (step S2).
  • This is a process of embedding (interpolating) a gap between pixels using pixel data between frames that are temporally continuous on the assumption that the interval ⁇ t between the timings t1 to t3 is sufficiently short.
  • each timing interval is sufficiently short, for example, about several tens of ms, it can be assumed that the change in the amount of received light is due only to the parallel movement of the subject.
  • an optical flow method as described below can be used.
  • each movement amount u, v is expressed by the following formula ( It can be obtained by minimizing the error function E (u, v) shown in 1).
  • I 1 represents an image observed at a certain timing t
  • I 2 represents an image observed at a timing after ⁇ t has elapsed from the timing t.
  • the image processing unit 22 first uses the optical flow method to obtain the timing t1 when the R pixel data Dr (t1) is acquired and the G pixel data Dg (t2). A movement amount (u12, v12) between the acquired timing t2 is calculated (step S21). The G pixel data Drg (t1) at the timing t1 is estimated in consideration of the movement amount (u12, v12) thus calculated (step S22). On the other hand, the image processing unit 22 uses the optical flow method to obtain a timing t1 when the R pixel data Dr (t1) is acquired and a timing t3 when the B pixel data Db (t3) is acquired. Is calculated (u13, v13) (step S23). The B pixel data Drb (t1) at the timing t1 is estimated in consideration of the movement amount (u13, v13) thus calculated (step S24).
  • the image processing unit 22 obtains the G and B pixel data Drg (t1) and Drb (t1) at the timing t1 obtained by the estimation calculation process as described above, and the R pixel data Dr acquired at the timing t1.
  • the image processing unit 22 obtains the G and B pixel data Drg (t1) and Drb (t1) at the timing t1 obtained by the estimation calculation process as described above, and the R pixel data Dr acquired at the timing t1.
  • color (three primary colors) pixel data (1-pixel data) Drgb (t1) at timing t1 is generated.
  • such calculation processing is performed for all the pixels P, and these are added.
  • a color image Irgb (t1) that is taken at timing t1 and has a resolution corresponding to the number N of pixels in the pixel array unit 12 is generated.
  • the color image Irgb (t1) may be generated by the following procedure.
  • pixel data Dr (t1), Drg (t1), Drb (t1) at timing t1 is obtained by the above registration in all the pixels P, and synthesized for each color, thereby obtaining an R image Ir (t1), G image Ig (t1) and B image Ib (t1) are respectively generated. Then, these color images Ir (t1), Ig (t1), and Ib (t1) may be added to generate a color image Irgb (t1).
  • the color pixel data Drgb (t2) at the timing t2 is obtained as follows. That is, the movement amount (u23, v23) between the timing t2 when the G pixel data Dg (t2) is acquired and the timing t3 when the B pixel data Db (t3) is acquired is calculated, and this movement amount (u23 , V23), the B pixel data Dgb (t2) at the timing t2 is estimated.
  • a movement amount (u24, v24) between the timing t2 when the G pixel data Dg (t2) is acquired and the timing t4 when the R pixel data Dr (t4) is acquired is calculated, and this movement amount (u24 , V24), the R pixel data Dgr (t2) at the timing t2 is estimated.
  • B and R pixel data Dgb (t2) and Dgr (t2) at the timing t2 are generated.
  • color image data may be generated by performing registration as described above for each block area, each pixel column, each pixel row, and every pixel (surface, frame). That is, if a color image at each timing is generated using R, G, and B time-series data, an effect described later (suppression of occurrence of false colors and mixed colors) can be obtained.
  • a color image can be continuously generated in both cases of still image shooting and moving image shooting.
  • the image processing unit 22 may use color interpolation processing such as demosaic processing in addition to the above-described arithmetic processing, and may separately perform white balance adjustment processing, gamma correction processing, and the like. Good.
  • variable filter 20 performs imaging in the image sensor 10 while switching the transmission wavelength (for example, R, G, B) in a time division manner.
  • R, G, and B monochrome pixel data corresponding to the transmission wavelength of the variable filter 20 can be continuously acquired as the imaging data D0.
  • a color filter (R, G, and B transmissive regions are transmitted in a space-divided manner so that any one of R, G, and B is transmitted through the light receiving surface of the image sensor.
  • An arranged filter is provided.
  • the R, G, and B pixel data are sequentially acquired using the variable filter 20, and these R, G, and B pixel data are acquired.
  • a color image at each photographing timing is generated by performing predetermined image processing based on the above. Since the image acquisition timing of R, G, B by time-division driving is made in a very short period, the R, G, B images acquired continuously in time are acquired at the same time in a pseudo manner. Is equal to For this reason, even when the arithmetic processing of adding the respective R, G, and B images and averaging them is performed, pseudo colors and color mixing are unlikely to occur. Therefore, it is possible to acquire a high-quality color image while suppressing generation of pseudo colors and mixed colors.
  • ⁇ Modification 1> the case has been described in which the image processing unit 22 performs a calculation process for generating a color image using R, G, and B time-series data.
  • the R, G , B other data such as near infrared (IR) data may be used.
  • IR near infrared
  • the near-infrared for example, 0.7 ⁇ m to 2.5 ⁇ m
  • the mid-infrared for example, it is desirable to use a photoelectric conversion material having good sensitivity for 2.5 ⁇ m to 4 ⁇ m) or far infrared rays (for example, 4 ⁇ m to 20 ⁇ m).
  • a photoelectric conversion material include compound semiconductors such as PbTe, SnTe, PbSe, SnSe, and mixed crystals thereof such as PbSnTe, PbSnSeTe, and PbEuTe.
  • the band gap is extremely narrow (0.3 eV or less)
  • the far-infrared ray and the light absorptance of a shorter wavelength are good. Therefore, photoelectric conversion can be performed for an arbitrary wavelength within the range from the ultraviolet region to the infrared region depending on the wavelength dependency of the absorption coefficient of the material.
  • the organic semiconductor which functions as a photoelectric conversion material may be used as a photoelectric conversion material.
  • such compound semiconductors and organic semiconductors having sensitivity up to the infrared region can also be used when generating a color image using only R, G, B data as in the above embodiment. .
  • variable filter 20 can be the same as that in the above-described embodiment.
  • a rio filter in which the liquid crystal cells 20A to 20C are stacked as in the above-described embodiment is used.
  • the variable filter 20 can be driven so as to selectively transmit near-infrared rays at a certain timing by appropriately setting the combination of the driving voltages ⁇ 1 to ⁇ 3 to the liquid crystal cells 20A to 20C. .
  • variable filter 20 is used to switch and transmit four wavelengths of R, G, B, and IR in a time-sharing manner, and each pixel P of the image sensor 10 has sensitivity in the infrared region as described above. Imaging is performed using a photodiode 111A having Thereby, in each pixel P, R, G, B, and IR pixel data Dr, Dg, Db, and Di are continuously acquired in time series. Imaging data D0 including time series data of R, G, B, and IR acquired in this manner is output to the image processing unit 22.
  • FIG. 12 is a flowchart of image calculation processing according to the first modification.
  • the image processing unit 22 generates a color image as follows. That is, first, the image processing unit 22 performs R, G, B, and IR pixel data Dr (t1) obtained at successive timings t1 to t4 as imaging data D0 based on the control of the system control unit 16. , Dg (t2), Db (t3), Di (t4) are acquired (step S4).
  • the image processing unit 22 performs registration using the optical flow method as described above, for example, using the acquired pixel data Dr (t1), Dg (t2), Db (t3), and Di (t4), and performs timing.
  • Pixel data of three colors of R, G, B at t1 is generated (step S5).
  • V12) is calculated (step S51).
  • the G pixel data Drg (t1) at the timing t1 is estimated in consideration of the movement amount (u12, v12) thus calculated (step S52).
  • the movement amount (u13, v13) between the timing t1 when the R pixel data Dr (t1) is acquired and the timing t3 when the B pixel data Db (t3) is acquired is calculated (step S53).
  • the B pixel data Drb (t1) at the timing t1 is estimated in consideration of the movement amount (u13, v13) calculated in this way (step S54).
  • the movement amount (u14, v14) between the timing t1 when the R pixel data Dr (t1) is acquired and the timing t4 when the IR pixel data Di (t4) is acquired is further calculated. (Step S55).
  • the IR pixel data Dri (t1) at the timing t1 is estimated (step S56).
  • the image processing unit 22 acquires the G, B, IR pixel data Drg (t1), Drb (t1), Dri (t1) at the timing t1 obtained by the above estimation calculation processing, and the timing t1.
  • the color (three primary colors) pixel data (data of one pixel) Drgb (t1) at the timing t1 is generated.
  • a color image Irgb (t1) is generated by performing such arithmetic processing for all the pixels P and adding them.
  • timing t5 pixel data is repeatedly acquired in the order of R ⁇ G ⁇ B ⁇ IR, and the same calculation processing is performed with reference to each timing t2, t3,. Even after t2, color images Irgb (t2), Irgb (t3),... can be generated.
  • pixel data based on near infrared rays in addition to R, G, and B color light may be acquired, and a color image may be generated using pixel data for these four wavelengths.
  • the color image is generated based on the time-series data of R, G, and B as in the above embodiment, so that the occurrence of pseudo color and color mixture can be suppressed. Therefore, an effect equivalent to that of the above embodiment can be obtained.
  • the wavelength design can be easily changed because the transmission wavelength can be switched to the near-infrared by the electrical control of the variable filter 20 as described above.
  • FIG. 13 schematically illustrates a part of a cross-sectional structure of an imaging device including an image sensor (image sensor 10B) according to the second modification.
  • the variable filter 20 is provided on the light receiving surface of the image sensor 10B.
  • the image sensor 10B is, for example, below the wiring layer 112 on the substrate 11 and below the photoelectric conversion layer. This is a so-called surface irradiation type CMOS having an element layer 116 including 114.
  • the element layer 116 includes the above-described pixel driving transistors Tr1 to Tr4 together with the photoelectric conversion layer 114 and the transistors Tr5 to Tr5 constituting a part of the wavelength selection circuit 21. Tr7 is formed.
  • a waveguide layer 118 is formed in a region corresponding to the wiring layer 117 immediately above the photoelectric conversion layer 114, and the on-chip lens 115 is provided on the waveguide layer 118.
  • the image sensor 10B is not limited to the backside illumination type, and a frontside illumination type may be used.
  • FIG. 14 illustrates a cross-sectional structure of a variable filter (variable filter 30) according to Modification 3. Similar to the variable filter 20 of the above-described embodiment, the variable filter 30 of this modification is provided on the light receiving surface of the image sensor 10 and has a function of switching the transmission wavelength in a time division manner.
  • the liquid crystal lyo filter in which a plurality of liquid crystal cells are stacked may be provided, and a plurality of cell units U may be provided in a direction along the substrate surface as necessary.
  • variable filter 30 is formed by alternately laminating seven (seven stages) liquid crystal cells 20A to 20G and eight polarizing plates 22a to 22i.
  • Each of these seven liquid crystal cells 20A to 20G has a configuration similar to that of the liquid crystal cells 20A to 20C described in the above embodiment, and an image is formed via the anisotropic conductive film 210 and the connection bump 211. It is electrically connected to a transistor (not shown in FIG. 14) provided in the sensor 10.
  • FIG. 14 shows only a part of the through-hole via, the anisotropic conductive film 210, and the connection bump 211 for connecting the liquid crystal cells 20A to 20G and the transistor, and other parts not shown.
  • these vias, anisotropic conductive film 210 and connecting bumps 211 are formed. Thereby, each of the liquid crystal cells 20A to 20G can be electrically controlled individually.
  • the desired selective wavelength can be transmitted, and the transmission wavelength can be switched in a time division manner.
  • the spectrum of the transmission wavelength of the variable filter can be controlled more finely by increasing the number of stages of the liquid crystal cell as in this modification.
  • FIG. 15 shows the respective transmission wavelength [lambda] a ⁇ lambda] g of the liquid crystal cell 20A ⁇ 20G, the variable filter 30 whole transmission wavelength lambda 0.
  • the spectral peak of the transmission wavelength can be set to about 500 nm.
  • the FWHM can be narrowed to about 20 nm, which makes it easier to acquire the absorption or reflection spectrum intensity specific to the substance. That is, the concentration and position of a specific substance can be detected, and an imaging apparatus for an electronic device that requires a measurement function and a detection function of the specific substance can be realized.
  • FIG. 16 illustrates a schematic configuration of a variable filter (variable filter 40) according to Modification 4.
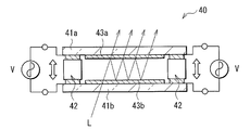
  • the liquid crystal Rio filter is described as an example of the variable filter, but a piezoelectric Fabry-Perot interference filter may be used as in this modification.
  • the cell gap between the substrates 41a and 41b can be adjusted by providing the piezoelectric element 42 as a spacer between a pair of opposing substrates 41a and 41b and driving the voltage of the piezoelectric element 42. It is like that.
  • the transmission wavelength can be arbitrarily set by adjusting the cell gap by controlling the piezoelectric element 42.
  • the variable filter 40 may be composed of a piezoelectric Fabry-Perot filter. Even in this case, the transmission wavelength can be switched by changing the cell gap by electrical and mechanical control. Therefore, the R, G, and B wavelengths can be switched in a time division manner. As a result, as in the above embodiment, it is possible to acquire R, G, B time-series data and generate a color image. Therefore, an effect equivalent to that of the above embodiment can be obtained.
  • the imaging apparatus 1 including the configuration according to the above embodiment and the first to fourth modifications can be applied to various types of electronic devices having a photographing function, a measurement function, a display function, and the like.
  • the imaging apparatus 1 can provide a high-quality color image, it is suitable for a mobile device such as a camera (digital still camera or video camera), a mobile phone having a photographing function, or a PDA (Personal Digital Assistant). is there.
  • the present invention can also be applied to a measurement (detection) device for a specific substance.
  • FIG. 17 shows a functional block configuration of a camera (camera 2) as an example.
  • the camera 2 includes an optical system including a lens group 31 and the like, an imaging device 1, a DSP circuit 32 that is a camera signal processing unit, a frame memory 35, a display device 33, a recording device 36, an operation system 34, a power supply system 37, and the like. Yes.
  • the DSP circuit 32, the frame memory 35, the display device 33, the recording device 36, the operation system 34, and the power supply system 37 are configured to be connected to each other via a bus line 38.
  • the lens group 31 takes in incident light (image light) from a subject and forms an image on the imaging surface (light receiving surface) of the imaging apparatus 1 and is composed of one or a plurality of lenses.
  • the imaging apparatus 1 outputs imaging data D0 based on incident light imaged on the imaging surface by the lens group 31.
  • the display device 33 includes, for example, a liquid crystal display device or an organic EL (electroluminescence) display device, and displays a moving image or a still image (color image after image processing by the image processing unit 22) photographed by the imaging device 1. It is.
  • the recording device 36 records a moving image or a still image captured by the imaging device 1 on a recording medium such as a video tape or a DVD (Digital Versatile Disk).
  • the operation system 34 functions as an external signal input unit in response to an operation by a user, and receives operation commands for various functions of the camera 2 and transmits them to the inside.
  • the power supply system 37 includes various power supplies serving as operation power supplies for the DSP circuit 32, the frame memory 35, the display device 33, the recording device 36, and the operation system 34.
  • the backside illumination type or the frontside illumination type CMOS is taken as an example of the image sensor.
  • the image sensor is not limited to the CMOS, but is a CCD (Charge Coupled Device Image Sensor) or MOS type. It may be an image sensor.
  • variable filter transmits three wavelengths of R, G, B or four wavelengths of R, G, B, IR in a time-division manner.
  • the transmission wavelength is not limited to these, and any desired wavelength can be set.
  • yellow (for example, 570 to 590 nm) or orange (for example, 590 to 620 nm) wavelengths may be transmitted.
  • the imaging device 1 is used in a measurement (detection) device for a specific substance, the wavelength corresponding to the substance to be measured may be transmitted.
  • the transmission wavelength of the variable filter can be adjusted by electrical control (or mechanical control), it may be set to a desired transmission wavelength as necessary.
  • the number of wavelengths to be switched in a time division manner is not limited to the above-described three wavelengths or four wavelengths, and may be two wavelengths or five or more wavelengths.
  • the present disclosure may be configured as described in the following (1) to (14).
  • An imaging device that includes a plurality of pixels and acquires imaging data; a variable filter that is provided on a light receiving surface of the imaging device and configured to change a selective transmission wavelength of incident light; An imaging device that drives a variable filter to set the transmission wavelength, and the filter driving unit switches the transmission wavelength in the variable filter in a time-sharing manner.
  • the plurality of pixels are two-dimensionally arranged, the variable filter includes a plurality of sub-filters each facing each pixel of the imaging device, and the filter driving unit includes the plurality of pixels
  • the sub-filter is individually driven.
  • the plurality of pixels are two-dimensionally arranged, and the variable filter includes a plurality of sub-filters that face each pixel column or each pixel row in the imaging device, and the filter driving unit.
  • the filter driving unit drives the variable filter so as to transmit each color light of R (red), G (green), and B (blue) in a time-sharing manner.
  • the imaging device according to any one of the above.
  • the image processing unit further includes an image processing unit that generates color images at each timing using pixel data of each color of R, G, and B acquired at temporally continuous timings as the imaging data. ).
  • the image processing unit may include first pixel data having a wavelength of any one of R, G, and B acquired at a first timing and second and second temporally following the first timing. Each movement amount of the subject between the second and third pixel data respectively acquired at the third timing is calculated, and based on the movement amount of the subject between the first and second pixel data.
  • the image processing unit temporally matches the first pixel data corresponding to any wavelength of R, G, B and near infrared rays acquired at the first timing and the first timing.
  • the movement amounts of the subject between the second and fourth pixel data respectively acquired at the second to fourth timings subsequent to are calculated, and the subject's movement between the first and second pixel data is calculated.
  • Based on the amount of movement generates pixel data at the first timing of the wavelength corresponding to the second pixel data, and based on the amount of movement of the subject between the first and third pixel data, Pixel data at the first timing of a wavelength corresponding to third pixel data is generated, and the fourth pixel data is based on the amount of movement of the subject between the first and fourth pixel data.
  • Image pickup unit for generating pixel data at the first timing corresponding wavelength.
  • the variable filter is a liquid crystal rio filter.
  • the liquid crystal lyo filter is formed by laminating a plurality of liquid crystal cells, each of which is individually voltage driven, and the filter driving unit applies a driving voltage to each of the plurality of liquid crystal cells.
  • the imaging device according to (11), wherein the transmission wavelength in the liquid crystal rio filter is set by a combination of drive voltages.
  • the variable filter is a piezoelectric Fabry-Perot interference filter.
  • An image pickup device that includes a plurality of pixels and acquires image pickup data; a variable filter that is provided on a light receiving surface of the image pickup device and configured to change a selective transmission wavelength of incident light;
  • An electronic apparatus comprising: an imaging device including a filter driving unit configured to drive a variable filter and set the transmission wavelength, wherein the filter driving unit switches the transmission wavelength in the variable filter in a time division manner.

Landscapes

  • Physics & Mathematics (AREA)
  • Nonlinear Science (AREA)
  • General Physics & Mathematics (AREA)
  • Engineering & Computer Science (AREA)
  • Multimedia (AREA)
  • Signal Processing (AREA)
  • Optics & Photonics (AREA)
  • Mathematical Physics (AREA)
  • Chemical & Material Sciences (AREA)
  • Crystallography & Structural Chemistry (AREA)
  • Spectroscopy & Molecular Physics (AREA)
  • Theoretical Computer Science (AREA)
  • Microelectronics & Electronic Packaging (AREA)
  • Color Television Image Signal Generators (AREA)
  • Transforming Light Signals Into Electric Signals (AREA)
  • Solid State Image Pick-Up Elements (AREA)
  • Blocking Light For Cameras (AREA)
PCT/JP2012/075102 2011-10-06 2012-09-28 撮像装置および電子機器 Ceased WO2013051477A1 (ja)

Priority Applications (5)

Application Number Priority Date Filing Date Title
US14/347,132 US9172877B2 (en) 2011-10-06 2012-09-28 Image pickup unit and electronic apparatus
EP12838910.3A EP2765773A1 (en) 2011-10-06 2012-09-28 Image-capturing device and electronic device
CN201280047994.1A CN103843328A (zh) 2011-10-06 2012-09-28 图像拾取单元和电子装置
US14/875,035 US9491421B2 (en) 2011-10-06 2015-10-05 Image pickup unit and electronic apparatus
US15/283,745 US10044993B2 (en) 2011-10-06 2016-10-03 Imaging system and electronic apparatus

Applications Claiming Priority (2)

Application Number Priority Date Filing Date Title
JP2011-221976 2011-10-06
JP2011221976A JP5909975B2 (ja) 2011-10-06 2011-10-06 撮像装置および電子機器

Related Child Applications (2)

Application Number Title Priority Date Filing Date
US14/347,132 A-371-Of-International US9172877B2 (en) 2011-10-06 2012-09-28 Image pickup unit and electronic apparatus
US14/875,035 Continuation US9491421B2 (en) 2011-10-06 2015-10-05 Image pickup unit and electronic apparatus

Publications (1)

Publication Number Publication Date
WO2013051477A1 true WO2013051477A1 (ja) 2013-04-11

Family

ID=48043637

Family Applications (1)

Application Number Title Priority Date Filing Date
PCT/JP2012/075102 Ceased WO2013051477A1 (ja) 2011-10-06 2012-09-28 撮像装置および電子機器

Country Status (5)

Country Link
US (3) US9172877B2 (enExample)
EP (1) EP2765773A1 (enExample)
JP (1) JP5909975B2 (enExample)
CN (1) CN103843328A (enExample)
WO (1) WO2013051477A1 (enExample)

Cited By (3)

* Cited by examiner, † Cited by third party
Publication number Priority date Publication date Assignee Title
EP2916142A1 (de) * 2014-03-06 2015-09-09 Skidata Ag Digitalkamera
US10033952B2 (en) 2015-09-10 2018-07-24 Semiconductor Energy Laboratory Co., Ltd. Imaging device, module, electronic device, and method of operating the imaging device
CN113965703A (zh) * 2020-07-20 2022-01-21 爱思开海力士有限公司 图像感测装置

Families Citing this family (19)

* Cited by examiner, † Cited by third party
Publication number Priority date Publication date Assignee Title
JP6161522B2 (ja) 2013-11-20 2017-07-12 オリンパス株式会社 撮像素子
JP6244945B2 (ja) * 2014-01-29 2017-12-13 セイコーエプソン株式会社 電子機器
WO2016117071A1 (ja) * 2015-01-22 2016-07-28 オリンパス株式会社 撮像装置
FR3032042B1 (fr) * 2015-01-23 2018-03-02 Commissariat A L'energie Atomique Et Aux Energies Alternatives Dispositif d'acquisition d'une image caracteristique d'un corps
TWI713367B (zh) 2015-07-07 2020-12-11 日商半導體能源研究所股份有限公司 成像裝置及其運作方法
US10412280B2 (en) 2016-02-10 2019-09-10 Microsoft Technology Licensing, Llc Camera with light valve over sensor array
JP6522539B2 (ja) * 2016-03-18 2019-05-29 富士フイルム株式会社 内視鏡システム及びその作動方法
US10331630B1 (en) * 2016-03-24 2019-06-25 EMC IP Holding Company LLC Systems and methods for file triggers in a converged compute and file system
US10419537B1 (en) 2016-03-24 2019-09-17 EMC IP Holding Company LLC Architecture for a converged compute and file system within network-attached storage clusters
CN109997353B (zh) * 2016-09-29 2021-12-14 株式会社尼康 拍摄元件及电子相机
JP6926450B2 (ja) * 2016-11-22 2021-08-25 ソニーグループ株式会社 撮像素子、積層型撮像素子及び固体撮像装置
US10638054B2 (en) * 2017-01-25 2020-04-28 Cista System Corp. System and method for visible and infrared high dynamic range sensing
US10444415B2 (en) * 2017-02-14 2019-10-15 Cista System Corp. Multispectral sensing system and method
US11056521B2 (en) 2017-03-27 2021-07-06 Nikon Corporation Imaging device and image sensor
US10856413B2 (en) * 2017-04-07 2020-12-01 University Of Central Florida Research Foundation, Inc. Segmented stretchable/conformable electronic and optoelectronic circuit on stretchable backplane
JP6860772B2 (ja) * 2017-05-29 2021-04-21 国立大学法人東北大学 時分割分光イメージング分析システム及び時分割分光イメージング分析方法
US10972643B2 (en) * 2018-03-29 2021-04-06 Microsoft Technology Licensing, Llc Camera comprising an infrared illuminator and a liquid crystal optical filter switchable between a reflection state and a transmission state for infrared imaging and spectral imaging, and method thereof
US10924692B2 (en) 2018-05-08 2021-02-16 Microsoft Technology Licensing, Llc Depth and multi-spectral camera
CN110798602B (zh) * 2019-11-29 2022-08-19 维沃移动通信有限公司 摄像模组、电子设备、拍摄控制方法及装置

Citations (9)

* Cited by examiner, † Cited by third party
Publication number Priority date Publication date Assignee Title
JP2006140767A (ja) 2004-11-12 2006-06-01 Nikon Corp 撮像装置および撮像方法
JP2006165352A (ja) 2004-12-08 2006-06-22 Dkk Toa Corp 半導体外観検査装置
JP2008072337A (ja) * 2006-09-13 2008-03-27 Nippon Hoso Kyokai <Nhk> 色補正装置及び色補正方法
JP2008216478A (ja) 2007-03-01 2008-09-18 Olympus Imaging Corp 焦点検出装置
JP2008244833A (ja) * 2007-03-27 2008-10-09 Casio Comput Co Ltd 撮像装置、色収差補正方法およびプログラム
JP2009033222A (ja) 2007-07-24 2009-02-12 Casio Comput Co Ltd 撮像装置、撮像装置制御プログラム及び撮像装置制御方法
JP2009080356A (ja) * 2007-09-27 2009-04-16 Toshiba Corp カラーフィルターおよびカラーイメージセンサー
JP2011055135A (ja) * 2009-08-31 2011-03-17 Rohm Co Ltd 車両用監視装置
JP2011143155A (ja) * 2010-01-18 2011-07-28 Hoya Corp 分光装置、電子内視鏡装置、及びフィルタ駆動制御方法

Family Cites Families (16)

* Cited by examiner, † Cited by third party
Publication number Priority date Publication date Assignee Title
US5689317A (en) * 1995-03-22 1997-11-18 Cambridge Research Instrumentation, Inc. Tunable color filter
US6204901B1 (en) * 1997-07-31 2001-03-20 Duke University Liquid crystal color shutters that include reflective polarizers that pass color components of light of a first polarization and that reflect a majority of color components of light of a second polarization
US6002476A (en) * 1998-04-22 1999-12-14 Chemicon Inc. Chemical imaging system
EP2698784B1 (en) * 2003-08-19 2017-11-01 E Ink Corporation Electro-optic display
JP3896380B2 (ja) 2006-01-16 2007-03-22 タイコエレクトロニクスアンプ株式会社 電気コネクタ組立体
JP4899149B2 (ja) * 2006-02-13 2012-03-21 株式会社ジェイエイアイコーポレーション 面順次方式カラーカメラシステム
US20070236757A1 (en) * 2006-04-10 2007-10-11 Duncan Stewart Rich color image processing method and apparatus
US20090014852A1 (en) * 2007-07-11 2009-01-15 Hsin-Hui Lee Flip-Chip Packaging with Stud Bumps
US8063976B2 (en) 2007-07-24 2011-11-22 Casio Computer Co., Ltd. Image pick-up apparatus and method of controlling the image pick-up apparatus
KR20090028230A (ko) * 2007-09-14 2009-03-18 삼성전자주식회사 반도체 패키지 및 그 제조방법, 그리고 반도체 패키지를이용한 전자 장치
JP2010093472A (ja) * 2008-10-07 2010-04-22 Panasonic Corp 撮像装置および撮像装置用信号処理回路
US20120127301A1 (en) * 2010-11-18 2012-05-24 Canon Kabushiki Kaisha Adaptive spectral imaging by using an imaging assembly with tunable spectral sensitivities
US8803994B2 (en) * 2010-11-18 2014-08-12 Canon Kabushiki Kaisha Adaptive spatial sampling using an imaging assembly having a tunable spectral response
US8665355B2 (en) * 2010-11-22 2014-03-04 Canon Kabushiki Kaisha Image capture with region-based adjustment of contrast
US8836808B2 (en) * 2011-04-19 2014-09-16 Canon Kabushiki Kaisha Adaptive color imaging by using an imaging assembly with tunable spectral sensitivities
US8854515B2 (en) * 2011-09-09 2014-10-07 Canon Kabushiki Kaisha Efficient spectral imaging based on imaging systems with scene adaptation using tunable color pixels

Patent Citations (9)

* Cited by examiner, † Cited by third party
Publication number Priority date Publication date Assignee Title
JP2006140767A (ja) 2004-11-12 2006-06-01 Nikon Corp 撮像装置および撮像方法
JP2006165352A (ja) 2004-12-08 2006-06-22 Dkk Toa Corp 半導体外観検査装置
JP2008072337A (ja) * 2006-09-13 2008-03-27 Nippon Hoso Kyokai <Nhk> 色補正装置及び色補正方法
JP2008216478A (ja) 2007-03-01 2008-09-18 Olympus Imaging Corp 焦点検出装置
JP2008244833A (ja) * 2007-03-27 2008-10-09 Casio Comput Co Ltd 撮像装置、色収差補正方法およびプログラム
JP2009033222A (ja) 2007-07-24 2009-02-12 Casio Comput Co Ltd 撮像装置、撮像装置制御プログラム及び撮像装置制御方法
JP2009080356A (ja) * 2007-09-27 2009-04-16 Toshiba Corp カラーフィルターおよびカラーイメージセンサー
JP2011055135A (ja) * 2009-08-31 2011-03-17 Rohm Co Ltd 車両用監視装置
JP2011143155A (ja) * 2010-01-18 2011-07-28 Hoya Corp 分光装置、電子内視鏡装置、及びフィルタ駆動制御方法

Cited By (4)

* Cited by examiner, † Cited by third party
Publication number Priority date Publication date Assignee Title
EP2916142A1 (de) * 2014-03-06 2015-09-09 Skidata Ag Digitalkamera
US10033952B2 (en) 2015-09-10 2018-07-24 Semiconductor Energy Laboratory Co., Ltd. Imaging device, module, electronic device, and method of operating the imaging device
CN113965703A (zh) * 2020-07-20 2022-01-21 爱思开海力士有限公司 图像感测装置
US12300709B2 (en) 2020-07-20 2025-05-13 SK Hynix Inc. Image sensing device

Also Published As

Publication number Publication date
JP2013085028A (ja) 2013-05-09
US20170094232A1 (en) 2017-03-30
US10044993B2 (en) 2018-08-07
US20140232912A1 (en) 2014-08-21
JP5909975B2 (ja) 2016-04-27
CN103843328A (zh) 2014-06-04
EP2765773A1 (en) 2014-08-13
US20160073066A1 (en) 2016-03-10
US9491421B2 (en) 2016-11-08
US9172877B2 (en) 2015-10-27

Similar Documents

Publication Publication Date Title
JP5909975B2 (ja) 撮像装置および電子機器
JP7264187B2 (ja) 固体撮像装置およびその駆動方法、並びに電子機器
JP6440844B2 (ja) 固体撮像装置
TWI504256B (zh) 固態成像裝置,其訊號處理方法,及電子設備
CN107615488B (zh) 摄像元件、驱动方法和电子设备
KR102651628B1 (ko) 고체 촬상 장치 및 전자 기기
JP6947036B2 (ja) 撮像装置、電子機器
CN111741242A (zh) 图像传感器及其操作方法
WO2013108656A1 (ja) 固体撮像素子およびカメラシステム
JPWO2017138370A1 (ja) 固体撮像素子およびその製造方法、並びに電子機器
TWI715894B (zh) 固態攝影裝置、用於驅動固態攝影裝置的方法和電子設備
CN110784634B (zh) 图像传感器、控制方法、摄像头组件及移动终端
US20220139974A1 (en) Image sensor, camera assembly, and mobile terminal
JP2011166477A (ja) 固体撮像素子及び画像入力装置
JP2016127043A (ja) 固体撮像素子及び電子機器
WO2016143532A1 (ja) 固体撮像装置及びその製造方法、並びに電子機器
WO2017159362A1 (ja) 固体撮像素子およびその製造方法、並びに電子機器
CN114008782A (zh) 图像传感器、摄像头组件及移动终端
WO2016084629A1 (ja) 固体撮像素子および電子機器
WO2015198876A1 (ja) 撮像素子、電子機器
JP2019097058A (ja) 固体撮像装置、固体撮像装置の製造方法、および電子機器
WO2022149488A1 (ja) 光検出装置および電子機器
US8059175B2 (en) Image capture device and method of operating the same
JP2022018538A (ja) 撮像装置および撮像方法
CN119815194A (zh) 像素结构、图像传感器、摄像头模组和色彩解构方法

Legal Events

Date Code Title Description
121 Ep: the epo has been informed by wipo that ep was designated in this application

Ref document number: 12838910

Country of ref document: EP

Kind code of ref document: A1

WWE Wipo information: entry into national phase

Ref document number: 2012838910

Country of ref document: EP

WWE Wipo information: entry into national phase

Ref document number: 14347132

Country of ref document: US

NENP Non-entry into the national phase

Ref country code: DE