WO2012147145A1 - 冷媒圧縮機及びこれを用いた冷凍サイクル装置 - Google Patents

冷媒圧縮機及びこれを用いた冷凍サイクル装置 Download PDF

Info

Publication number
WO2012147145A1
WO2012147145A1 PCT/JP2011/060032 JP2011060032W WO2012147145A1 WO 2012147145 A1 WO2012147145 A1 WO 2012147145A1 JP 2011060032 W JP2011060032 W JP 2011060032W WO 2012147145 A1 WO2012147145 A1 WO 2012147145A1
Authority
WO
WIPO (PCT)
Prior art keywords
oil
amount
refrigerant
oil supply
refrigerant compressor
Prior art date
Legal status (The legal status is an assumption and is not a legal conclusion. Google has not performed a legal analysis and makes no representation as to the accuracy of the status listed.)
Ceased
Application number
PCT/JP2011/060032
Other languages
English (en)
French (fr)
Inventor
小山 昌喜
佐藤 英治
Current Assignee (The listed assignees may be inaccurate. Google has not performed a legal analysis and makes no representation or warranty as to the accuracy of the list.)
Hitachi Ltd
Original Assignee
Hitachi Ltd
Priority date (The priority date is an assumption and is not a legal conclusion. Google has not performed a legal analysis and makes no representation as to the accuracy of the date listed.)
Filing date
Publication date
Application filed by Hitachi Ltd filed Critical Hitachi Ltd
Priority to JP2013511805A priority Critical patent/JP5695187B2/ja
Priority to ES11864553.0T priority patent/ES2613678T3/es
Priority to EP11864553.0A priority patent/EP2703649B1/en
Priority to CN201180070389.1A priority patent/CN103492719B/zh
Priority to US14/110,613 priority patent/US9470230B2/en
Priority to PCT/JP2011/060032 priority patent/WO2012147145A1/ja
Publication of WO2012147145A1 publication Critical patent/WO2012147145A1/ja
Anticipated expiration legal-status Critical
Ceased legal-status Critical Current

Links

Images

Classifications

    • FMECHANICAL ENGINEERING; LIGHTING; HEATING; WEAPONS; BLASTING
    • F04POSITIVE - DISPLACEMENT MACHINES FOR LIQUIDS; PUMPS FOR LIQUIDS OR ELASTIC FLUIDS
    • F04CROTARY-PISTON, OR OSCILLATING-PISTON, POSITIVE-DISPLACEMENT MACHINES FOR LIQUIDS; ROTARY-PISTON, OR OSCILLATING-PISTON, POSITIVE-DISPLACEMENT PUMPS
    • F04C29/00Component parts, details or accessories of pumps or pumping installations, not provided for in groups F04C18/00 - F04C28/00
    • F04C29/02Lubrication; Lubricant separation
    • F04C29/021Control systems for the circulation of the lubricant
    • FMECHANICAL ENGINEERING; LIGHTING; HEATING; WEAPONS; BLASTING
    • F04POSITIVE - DISPLACEMENT MACHINES FOR LIQUIDS; PUMPS FOR LIQUIDS OR ELASTIC FLUIDS
    • F04BPOSITIVE-DISPLACEMENT MACHINES FOR LIQUIDS; PUMPS
    • F04B39/00Component parts, details, or accessories, of pumps or pumping systems specially adapted for elastic fluids, not otherwise provided for in, or of interest apart from, groups F04B25/00 - F04B37/00
    • F04B39/02Lubrication
    • F04B39/0207Lubrication with lubrication control systems
    • FMECHANICAL ENGINEERING; LIGHTING; HEATING; WEAPONS; BLASTING
    • F04POSITIVE - DISPLACEMENT MACHINES FOR LIQUIDS; PUMPS FOR LIQUIDS OR ELASTIC FLUIDS
    • F04BPOSITIVE-DISPLACEMENT MACHINES FOR LIQUIDS; PUMPS
    • F04B39/00Component parts, details, or accessories, of pumps or pumping systems specially adapted for elastic fluids, not otherwise provided for in, or of interest apart from, groups F04B25/00 - F04B37/00
    • F04B39/02Lubrication
    • F04B39/0223Lubrication characterised by the compressor type
    • F04B39/023Hermetic compressors
    • F04B39/0261Hermetic compressors with an auxiliary oil pump
    • FMECHANICAL ENGINEERING; LIGHTING; HEATING; WEAPONS; BLASTING
    • F04POSITIVE - DISPLACEMENT MACHINES FOR LIQUIDS; PUMPS FOR LIQUIDS OR ELASTIC FLUIDS
    • F04CROTARY-PISTON, OR OSCILLATING-PISTON, POSITIVE-DISPLACEMENT MACHINES FOR LIQUIDS; ROTARY-PISTON, OR OSCILLATING-PISTON, POSITIVE-DISPLACEMENT PUMPS
    • F04C15/00Component parts, details or accessories of machines, pumps or pumping installations, not provided for in groups F04C2/00 - F04C14/00
    • F04C15/0088Lubrication
    • F04C15/0092Control systems for the circulation of the lubricant
    • FMECHANICAL ENGINEERING; LIGHTING; HEATING; WEAPONS; BLASTING
    • F04POSITIVE - DISPLACEMENT MACHINES FOR LIQUIDS; PUMPS FOR LIQUIDS OR ELASTIC FLUIDS
    • F04CROTARY-PISTON, OR OSCILLATING-PISTON, POSITIVE-DISPLACEMENT MACHINES FOR LIQUIDS; ROTARY-PISTON, OR OSCILLATING-PISTON, POSITIVE-DISPLACEMENT PUMPS
    • F04C18/00Rotary-piston pumps specially adapted for elastic fluids
    • F04C18/02Rotary-piston pumps specially adapted for elastic fluids of arcuate-engagement type, i.e. with circular translatory movement of co-operating members, each member having the same number of teeth or tooth-equivalents
    • F04C18/0207Rotary-piston pumps specially adapted for elastic fluids of arcuate-engagement type, i.e. with circular translatory movement of co-operating members, each member having the same number of teeth or tooth-equivalents both members having co-operating elements in spiral form
    • F04C18/0215Rotary-piston pumps specially adapted for elastic fluids of arcuate-engagement type, i.e. with circular translatory movement of co-operating members, each member having the same number of teeth or tooth-equivalents both members having co-operating elements in spiral form where only one member is moving
    • FMECHANICAL ENGINEERING; LIGHTING; HEATING; WEAPONS; BLASTING
    • F04POSITIVE - DISPLACEMENT MACHINES FOR LIQUIDS; PUMPS FOR LIQUIDS OR ELASTIC FLUIDS
    • F04CROTARY-PISTON, OR OSCILLATING-PISTON, POSITIVE-DISPLACEMENT MACHINES FOR LIQUIDS; ROTARY-PISTON, OR OSCILLATING-PISTON, POSITIVE-DISPLACEMENT PUMPS
    • F04C23/00Combinations of two or more pumps, each being of rotary-piston or oscillating-piston type, specially adapted for elastic fluids; Pumping installations specially adapted for elastic fluids; Multi-stage pumps specially adapted for elastic fluids
    • F04C23/008Hermetic pumps
    • FMECHANICAL ENGINEERING; LIGHTING; HEATING; WEAPONS; BLASTING
    • F04POSITIVE - DISPLACEMENT MACHINES FOR LIQUIDS; PUMPS FOR LIQUIDS OR ELASTIC FLUIDS
    • F04CROTARY-PISTON, OR OSCILLATING-PISTON, POSITIVE-DISPLACEMENT MACHINES FOR LIQUIDS; ROTARY-PISTON, OR OSCILLATING-PISTON, POSITIVE-DISPLACEMENT PUMPS
    • F04C28/00Control of, monitoring of, or safety arrangements for, pumps or pumping installations specially adapted for elastic fluids
    • F04C28/08Control of, monitoring of, or safety arrangements for, pumps or pumping installations specially adapted for elastic fluids characterised by varying the rotational speed
    • FMECHANICAL ENGINEERING; LIGHTING; HEATING; WEAPONS; BLASTING
    • F04POSITIVE - DISPLACEMENT MACHINES FOR LIQUIDS; PUMPS FOR LIQUIDS OR ELASTIC FLUIDS
    • F04CROTARY-PISTON, OR OSCILLATING-PISTON, POSITIVE-DISPLACEMENT MACHINES FOR LIQUIDS; ROTARY-PISTON, OR OSCILLATING-PISTON, POSITIVE-DISPLACEMENT PUMPS
    • F04C29/00Component parts, details or accessories of pumps or pumping installations, not provided for in groups F04C18/00 - F04C28/00
    • F04C29/02Lubrication; Lubricant separation
    • F04C29/028Means for improving or restricting lubricant flow
    • FMECHANICAL ENGINEERING; LIGHTING; HEATING; WEAPONS; BLASTING
    • F25REFRIGERATION OR COOLING; COMBINED HEATING AND REFRIGERATION SYSTEMS; HEAT PUMP SYSTEMS; MANUFACTURE OR STORAGE OF ICE; LIQUEFACTION SOLIDIFICATION OF GASES
    • F25BREFRIGERATION MACHINES, PLANTS OR SYSTEMS; COMBINED HEATING AND REFRIGERATION SYSTEMS; HEAT PUMP SYSTEMS
    • F25B31/00Compressor arrangements
    • F25B31/002Lubrication
    • F25B31/004Lubrication oil recirculating arrangements
    • FMECHANICAL ENGINEERING; LIGHTING; HEATING; WEAPONS; BLASTING
    • F25REFRIGERATION OR COOLING; COMBINED HEATING AND REFRIGERATION SYSTEMS; HEAT PUMP SYSTEMS; MANUFACTURE OR STORAGE OF ICE; LIQUEFACTION SOLIDIFICATION OF GASES
    • F25BREFRIGERATION MACHINES, PLANTS OR SYSTEMS; COMBINED HEATING AND REFRIGERATION SYSTEMS; HEAT PUMP SYSTEMS
    • F25B49/00Arrangement or mounting of control or safety devices
    • F25B49/02Arrangement or mounting of control or safety devices for compression type machines, plants or systems
    • F25B49/022Compressor control arrangements
    • FMECHANICAL ENGINEERING; LIGHTING; HEATING; WEAPONS; BLASTING
    • F04POSITIVE - DISPLACEMENT MACHINES FOR LIQUIDS; PUMPS FOR LIQUIDS OR ELASTIC FLUIDS
    • F04BPOSITIVE-DISPLACEMENT MACHINES FOR LIQUIDS; PUMPS
    • F04B2203/00Motor parameters
    • F04B2203/02Motor parameters of rotating electric motors
    • F04B2203/0209Rotational speed
    • FMECHANICAL ENGINEERING; LIGHTING; HEATING; WEAPONS; BLASTING
    • F04POSITIVE - DISPLACEMENT MACHINES FOR LIQUIDS; PUMPS FOR LIQUIDS OR ELASTIC FLUIDS
    • F04CROTARY-PISTON, OR OSCILLATING-PISTON, POSITIVE-DISPLACEMENT MACHINES FOR LIQUIDS; ROTARY-PISTON, OR OSCILLATING-PISTON, POSITIVE-DISPLACEMENT PUMPS
    • F04C2240/00Components
    • F04C2240/80Other components
    • F04C2240/806Pipes for fluids; Fittings therefor
    • FMECHANICAL ENGINEERING; LIGHTING; HEATING; WEAPONS; BLASTING
    • F04POSITIVE - DISPLACEMENT MACHINES FOR LIQUIDS; PUMPS FOR LIQUIDS OR ELASTIC FLUIDS
    • F04CROTARY-PISTON, OR OSCILLATING-PISTON, POSITIVE-DISPLACEMENT MACHINES FOR LIQUIDS; ROTARY-PISTON, OR OSCILLATING-PISTON, POSITIVE-DISPLACEMENT PUMPS
    • F04C2270/00Control; Monitoring or safety arrangements
    • F04C2270/05Speed
    • F04C2270/052Speed angular
    • FMECHANICAL ENGINEERING; LIGHTING; HEATING; WEAPONS; BLASTING
    • F04POSITIVE - DISPLACEMENT MACHINES FOR LIQUIDS; PUMPS FOR LIQUIDS OR ELASTIC FLUIDS
    • F04CROTARY-PISTON, OR OSCILLATING-PISTON, POSITIVE-DISPLACEMENT MACHINES FOR LIQUIDS; ROTARY-PISTON, OR OSCILLATING-PISTON, POSITIVE-DISPLACEMENT PUMPS
    • F04C29/00Component parts, details or accessories of pumps or pumping installations, not provided for in groups F04C18/00 - F04C28/00
    • F04C29/04Heating; Cooling; Heat insulation
    • FMECHANICAL ENGINEERING; LIGHTING; HEATING; WEAPONS; BLASTING
    • F25REFRIGERATION OR COOLING; COMBINED HEATING AND REFRIGERATION SYSTEMS; HEAT PUMP SYSTEMS; MANUFACTURE OR STORAGE OF ICE; LIQUEFACTION SOLIDIFICATION OF GASES
    • F25BREFRIGERATION MACHINES, PLANTS OR SYSTEMS; COMBINED HEATING AND REFRIGERATION SYSTEMS; HEAT PUMP SYSTEMS
    • F25B13/00Compression machines, plants or systems, with reversible cycle
    • FMECHANICAL ENGINEERING; LIGHTING; HEATING; WEAPONS; BLASTING
    • F25REFRIGERATION OR COOLING; COMBINED HEATING AND REFRIGERATION SYSTEMS; HEAT PUMP SYSTEMS; MANUFACTURE OR STORAGE OF ICE; LIQUEFACTION SOLIDIFICATION OF GASES
    • F25BREFRIGERATION MACHINES, PLANTS OR SYSTEMS; COMBINED HEATING AND REFRIGERATION SYSTEMS; HEAT PUMP SYSTEMS
    • F25B2600/00Control issues
    • F25B2600/02Compressor control
    • F25B2600/021Inverters therefor
    • FMECHANICAL ENGINEERING; LIGHTING; HEATING; WEAPONS; BLASTING
    • F25REFRIGERATION OR COOLING; COMBINED HEATING AND REFRIGERATION SYSTEMS; HEAT PUMP SYSTEMS; MANUFACTURE OR STORAGE OF ICE; LIQUEFACTION SOLIDIFICATION OF GASES
    • F25BREFRIGERATION MACHINES, PLANTS OR SYSTEMS; COMBINED HEATING AND REFRIGERATION SYSTEMS; HEAT PUMP SYSTEMS
    • F25B2700/00Sensing or detecting of parameters; Sensors therefor
    • F25B2700/17Speeds
    • F25B2700/171Speeds of the compressor
    • FMECHANICAL ENGINEERING; LIGHTING; HEATING; WEAPONS; BLASTING
    • F25REFRIGERATION OR COOLING; COMBINED HEATING AND REFRIGERATION SYSTEMS; HEAT PUMP SYSTEMS; MANUFACTURE OR STORAGE OF ICE; LIQUEFACTION SOLIDIFICATION OF GASES
    • F25BREFRIGERATION MACHINES, PLANTS OR SYSTEMS; COMBINED HEATING AND REFRIGERATION SYSTEMS; HEAT PUMP SYSTEMS
    • F25B2700/00Sensing or detecting of parameters; Sensors therefor
    • F25B2700/19Pressures
    • F25B2700/193Pressures of the compressor
    • F25B2700/1931Discharge pressures
    • FMECHANICAL ENGINEERING; LIGHTING; HEATING; WEAPONS; BLASTING
    • F25REFRIGERATION OR COOLING; COMBINED HEATING AND REFRIGERATION SYSTEMS; HEAT PUMP SYSTEMS; MANUFACTURE OR STORAGE OF ICE; LIQUEFACTION SOLIDIFICATION OF GASES
    • F25BREFRIGERATION MACHINES, PLANTS OR SYSTEMS; COMBINED HEATING AND REFRIGERATION SYSTEMS; HEAT PUMP SYSTEMS
    • F25B2700/00Sensing or detecting of parameters; Sensors therefor
    • F25B2700/19Pressures
    • F25B2700/193Pressures of the compressor
    • F25B2700/1933Suction pressures
    • YGENERAL TAGGING OF NEW TECHNOLOGICAL DEVELOPMENTS; GENERAL TAGGING OF CROSS-SECTIONAL TECHNOLOGIES SPANNING OVER SEVERAL SECTIONS OF THE IPC; TECHNICAL SUBJECTS COVERED BY FORMER USPC CROSS-REFERENCE ART COLLECTIONS [XRACs] AND DIGESTS
    • Y02TECHNOLOGIES OR APPLICATIONS FOR MITIGATION OR ADAPTATION AGAINST CLIMATE CHANGE
    • Y02BCLIMATE CHANGE MITIGATION TECHNOLOGIES RELATED TO BUILDINGS, e.g. HOUSING, HOUSE APPLIANCES OR RELATED END-USER APPLICATIONS
    • Y02B30/00Energy efficient heating, ventilation or air conditioning [HVAC]
    • Y02B30/70Efficient control or regulation technologies, e.g. for control of refrigerant flow, motor or heating

Definitions

  • the present invention relates to a refrigerant compressor such as a rotary compressor or a scroll compressor used in room air conditioners, package air conditioners, heat pump water heaters, etc., and a refrigeration cycle apparatus using the same, and in particular, an eco (environmental response) effect.
  • a refrigerant compressor such as a rotary compressor or a scroll compressor used in room air conditioners, package air conditioners, heat pump water heaters, etc.
  • a refrigeration cycle apparatus using the same, and in particular, an eco (environmental response) effect.
  • Wide-range operation at motor system drive signal frequency that is suitable as a refrigerant compressor for refrigeration and air conditioning circuits in air conditioning and hot water supply systems for high-generation homes and that uses a new refrigerant with a low global warming potential (GWP) Particularly for those operating in the very low speed mode of operation.
  • GWP global warming potential
  • a valve for opening and closing the oil supply path is provided in the middle of the oil supply path, and the pressure difference between the high pressure part and the low pressure part opens and closes the valve, thereby reducing the oil supply path. It is also known to change to a stage and to adjust the amount of refueling by this.
  • one refrigerant compressor that is used in air conditioners and water heaters is required to be able to control the capacity in a wide range with one unit, and in particular, it is possible to operate with a very small capacity at low heat load. It is required.
  • the cooling operation of the air conditioner it is generally necessary that the temperature of the room is high at the start of the operation, and therefore, the operation needs to be performed rapidly.
  • a large capacity and high speed operation (high speed rotation) is performed at the time of start, but when the room is cooled to some extent and shifted from the start to a steady operation state, a low capacity low speed operation (low speed rotation) is performed.
  • This low-speed operation in the steady-state operation state is a very low rotational speed (ultra-low speed, especially when it is used in an air conditioner installed in a building equipped with high insulation materials, in which recent energy saving has been implemented. Driving will be performed in the driving mode).
  • a valve for opening and closing the oil supply path is provided, and the valve is changed by the pressure difference between the high pressure part and the low pressure part, thereby changing the throttle in the oil supply path in two stages Under the conditions, the amount of oil supply is suppressed to prevent the decrease in volumetric efficiency due to suction heating due to the excessive amount of oil supply at high load.
  • the oil separated from the discharged refrigerant gas in the oil separator connected to the discharge side of the compressor is flow-controlled according to the operating conditions to supply oil to the compression mechanism part. ing.
  • the purpose is to prevent the temperature rise of the compressor. That is, in the case of Patent Document 3, the temperature of the discharged refrigerant gas is lowered by lowering the temperature of the oil supplied to the compression mechanism using an oil cooler and adjusting the flow rate of the supplied oil according to the temperature of the discharged refrigerant gas. We are trying to prevent the rise.
  • the oil valve is controlled in the closing direction so that the high temperature oil from the oil separator is not directly supplied to the compressor suction side, and the oil is circulated in the cycle. It is intended to prevent the temperature rise of the discharged refrigerant gas by returning the low temperature oil.
  • Patent Documents 3 and 4 have the effect of reducing the heating loss, they do not take into consideration the loss due to the refrigerant leakage in the compression chamber at the time of the low rotational speed which is a low load condition. It is impossible to improve the efficiency at the time.
  • the object of the present invention is to reduce the refrigerant leakage in the compression chamber and the refrigerant heating loss due to oil in a wide operation range from high speed rotation to a very low rotation speed (super low speed operation mode), thereby achieving efficient operation
  • An object of the present invention is to obtain a possible refrigerant compressor and a refrigeration cycle apparatus using the same.
  • the present invention provides a sealed case, a compression mechanism portion housed in the sealed case, and an electric motor portion housed in the sealed case and driving the compression mechanism portion via a crankshaft.
  • a refrigerant compressor including an oil reservoir formed at a lower portion of the sealed case, wherein the oil reservoir in the sealed case and the suction side of the compression mechanism communicate with each other, and the oil in the oil reservoir is suctioned.
  • the fuel amount control unit controls the fuel amount adjustment unit according to the rotation speed detected by the rotation speed detection unit, and the fuel supply amount control unit is configured to control the fuel supply pipe from the fuel supply pipe as the rotation speed of the motor unit increases. Oil amount to be supplied to the serial suction side and controls the fuel supply amount adjusting means so as to decrease.
  • Another feature of the present invention is a sealed case, a compression mechanism unit housed in the sealed case, a motor unit housed in the sealed case and for driving the compression mechanism unit via a crankshaft.
  • An oil reservoir formed at a lower portion of the sealed case, and the compression mechanism portion includes a fixed scroll on which a spiral wrap is provided upright on a base plate, and a spiral wrap provided on a mirror plate.
  • a plurality of compression chambers are formed by meshing engagement with the orbiting scroll, and a back pressure chamber held at an intermediate pressure between the discharge pressure and the suction pressure is provided on the back surface of the orbiting scroll.
  • the oil reservoir in the closed case and the back pressure chamber are communicated with each other, and the oil of the oil reservoir is used as the back A refueling pipe for leading to a chamber, refueling amount adjustment means for adjusting the refueling amount provided on the refueling pipe and supplied to the back pressure chamber, rotation number detection means for detecting the number of rotations of the motor unit
  • the fuel amount control unit controls the fuel amount adjustment unit according to the rotation speed detected by the rotation speed detection unit, and the oil supply control unit controls the fuel supply as the rotation speed of the motor unit increases.
  • An object of the present invention is to control the oil amount adjustment means so that the amount of oil supplied from the pipe to the suction pipe is reduced.
  • Still another feature of the present invention is a refrigeration cycle apparatus in which a refrigeration cycle is configured by connecting a refrigerant compressor, an outdoor heat exchanger, an expansion valve, and an indoor heat exchanger with a refrigerant pipe
  • the refrigerant compressor comprising: Is provided with an outdoor temperature sensor for detecting the temperature of the outdoor heat exchanger and an indoor temperature sensor for detecting the temperature of the indoor heat exchanger using the refrigerant compressor, and the refrigerant compressor is provided with
  • the refueling amount control unit is controlled to decrease the refueling amount as the rotation speed of the motor unit increases, and the temperature difference between the condensation temperature and the evaporation temperature detected by the outdoor temperature sensor and the indoor temperature sensor increases. Control to further reduce the amount of refueling according to
  • efficient operation is achieved by reducing refrigerant leakage in the compression chamber and refrigerant heating loss due to oil in a wide operation range from high speed rotation to very low rotation speed (ultra low speed operation mode).
  • a possible refrigerant compressor and a refrigeration cycle apparatus using the same can be obtained.
  • FIG. 7 is a diagram for explaining the relationship between the compressor rotational speed and the target oil supply amount according to the first embodiment of the present invention.
  • the control flowchart which demonstrates the amount control of oil supply in Example 1 of this invention.
  • the longitudinal cross-sectional view of the refrigerant compressor which shows Example 2 of this invention.
  • FIG. 7 is a diagram for explaining the relationship between the compressor rotational speed and the target oil supply amount in Embodiment 2 of the present invention.
  • FIG. 1 is a longitudinal sectional view of a refrigerant compressor showing a first embodiment of the present invention, which is an embodiment in which the present invention is applied to a scroll compressor.
  • a scroll compressor (compressor) 1 as a refrigerant compressor shown in FIG. 1 is a disc-shaped base plate, a wrap erected spirally on the base plate, and an outer peripheral side of the base plate.
  • a fixed scroll 7 having a cylindrical support portion having an end plate surface continuous with the tip end face of the wrap and surrounding the wrap; a disc-like end plate; a spiral wrap provided upright on the end plate;
  • the orbiting scroll 8 is provided with a boss portion provided at the center of the rear surface of the end plate.
  • the orbiting scroll 8 is disposed to face the fixed scroll 7, and the wrap of the orbiting scroll is rotatably provided within the frame 17 in mesh with the wrap of the stationary scroll.
  • An outer peripheral portion (support portion) of the fixed scroll 7 is fixed to the frame 17 by a bolt or the like, and the frame 17 integrated with the fixed scroll 7 is fixed to the sealing case 9 by fixing means such as welding.
  • the outer peripheral side of the orbiting scroll 8 is an end plate surface that slides on the outer peripheral side of the fixed scroll 7, and the surface of the fixed scroll 7 that slides on the end plate surface of the orbiting scroll is an end plate surface of the fixed scroll 7. ing.
  • a compression mechanism (scrolling portion) 2 configured by the fixed scroll 7 and the orbiting scroll 8 or the like, and a motor portion 16 for driving the compression mechanism 2 via the crankshaft 10.
  • It has a sealed container structure in which a main bearing 5 and a sub bearing 23 for rotatably supporting the crankshaft 10 and the like are accommodated, and an oil reservoir 53 for storing lubricating oil is further provided at the lower portion of the sealed case 9. ing.
  • the crankshaft 10 is integrally fixed to a rotor of the motor unit 16 and coaxial with a central axis of the fixed scroll 7.
  • a crank portion 10 a is provided at the tip end of the crankshaft 10, and the crank portion 10 a is inserted into the orbiting bearing 11 provided in the boss portion 34 of the orbiting scroll 8, and the orbiting scroll 8 is of the crankshaft 10. It is configured to be capable of pivotal movement with rotation.
  • the central axis of the orbiting scroll 8 is eccentric by a predetermined distance with respect to the central axis of the fixed scroll 7, and the wrap of the orbiting scroll 8 is overlapped with the wrap of the fixed scroll 7 by a predetermined angle in the circumferential direction. ing.
  • the orbiting scroll 8 is configured to pivot relative to the fixed scroll 7 by the Oldham ring 12 while being restrained so as not to rotate on its axis.
  • a suction pipe 14 is provided so as to penetrate through the sealed case 9 and communicate with the suction chamber 20 on the outer peripheral side of the fixed scroll 7, and 15 communicates with the compression chamber 13 on the innermost peripheral side of the fixed scroll 7.
  • the discharge port is formed in the vicinity of the spiral center of the fixed scroll base plate.
  • the crankshaft 10 When the crankshaft 10 is rotationally driven by the motor unit 16, the crankshaft 10 is transmitted to the orbiting scroll 8 via the crank portion 10 a of the crankshaft 10 and the orbiting bearing 11, and the orbiting scroll 8 is predetermined about the central axis of the stationary scroll 7. It moves with the turning radius.
  • the compression chambers 13 formed between the wraps continuously move to the center side of the fixed scroll 7, and the volume of the compression chamber 13 is continuously reduced along with the movement.
  • the fluid for example, refrigerant gas circulating the refrigeration cycle
  • the fluid discharged into the discharge space 24 is a motor in which the motor unit 16 is accommodated via a passage (not shown) formed between the outer periphery of the fixed scroll 7 and the frame 17 and the inner surface of the sealed case 9. It flows into the chamber 25, oil (lubricant oil, refrigeration oil) is separated, and is supplied from the discharge pipe 6 to the outside of the compressor, for example, to a refrigeration cycle.
  • oil lubricant oil, refrigeration oil
  • the oil separated from the refrigerant gas is stored in an oil reservoir 53 at the bottom of the closed case 9.
  • the oil of the oil reservoir 53 is supplied again to a sliding portion such as a bearing by a volumetric or centrifugal oil supply pump 21 provided at the lower end of the crankshaft 10. That is, with the rotation of the crankshaft 10, the oil supply pump 21 is also rotated, and the oil in the oil reservoir 53 is sucked from the lubricating oil suction port provided in the oil supply pump case 22 and discharged from the discharge port of the oil supply pump 21. Ru.
  • the discharged oil is supplied upward through a through hole 3 formed to penetrate axially in the crankshaft 10.
  • a portion of the oil passing through the through hole 3 passes through a lateral hole formed in the crankshaft 10 and is supplied to the auxiliary bearing 23 to lubricate the auxiliary bearing, and the oil reservoir 53 at the bottom of the sealed case 9 Return.
  • Most other oil passing through the through hole 3 reaches the upper end of the crank shaft 10 through the through hole 3 and lubricates the pivot bearing 11 through an oil groove 57 provided on the outer periphery of the crank portion.
  • the oil that has flowed out of the orbiting bearing 11 thereafter lubricates the main bearing 5 provided at the lower portion of the orbiting bearing 11, and then returns to the oil reservoir 53 through the oil drainage pipe 26.
  • the first space is a space having a pressure close to the discharge pressure.
  • the seal member 32 is accommodated in an annular groove 31 formed in the frame 17 together with a wave spring (not shown), and the first space 33 serving as a discharge pressure, the suction pressure and the discharge pressure It is separated from the back pressure chamber (second space) 18 which has an intermediate pressure.
  • the oil leakage means 30 is composed of a plurality of holes provided on the lower end surface of the turning boss 34, and the plurality of holes perform a circular motion across the seal member 32 along with the turning motion of the turning scroll 8. And move between the first space 33 and the back pressure chamber (second space) 18.
  • the lubricating oil in the first space 33 is stored in the hole (oil leakage means) 30 and intermittently transferred to the back pressure chamber 18 side, thereby guiding the minimum necessary oil to the back pressure chamber 18 It is like that.
  • a slit or the like may be provided as the oil leakage means 30 to the back pressure chamber 18.
  • the oil that has entered the back pressure chamber 18 flows into the compression chamber 13 through the back pressure hole 35 communicating the back pressure chamber 18 with the compression chamber 13. That is, when the back pressure (the pressure in the back pressure chamber 18) becomes higher than the pressure in the compression chamber 13 in communication with the back pressure hole 35, the oil in the back pressure chamber 18 enters the compression chamber 13 due to the pressure difference. Flow.
  • the oil flowing into the compression chamber 13 lubricates the sliding surfaces of the fixed scroll 7 and the orbiting scroll 8 and is then discharged from the discharge port 15 together with the refrigerant gas.
  • Most of the oil in the discharge space 24 and the motor chamber 25 is the refrigerant It is separated from the gas and stored in the oil reservoir 53. The remaining oil is discharged from the discharge pipe 6 to the refrigeration cycle together with the refrigerant gas.
  • the necessary amount of oil can be supplied to each bearing portion, and the Oldham ring 12 and the fixed scroll 7 are provided.
  • the sliding portion of the orbiting scroll 8 is lubricated, and the amount of oil finally discharged from the compression chamber 13 together with the refrigerant gas can be adjusted independently by the oil leakage means 30. Therefore, in the present embodiment, the amount of oil leaking from the oil leakage means 30 to the back pressure chamber 18 is minimized, and the necessary oil supply amount to the compression chamber, that is, the sliding surface of the lap is the oil amount adjusting means 61 described later.
  • the oil supply pipe 53 communicating the suction pipe 14 with the oil reservoir 53 at the bottom of the sealed case 9 where the lubricating oil is stored is provided.
  • a refueling amount adjustment means 61 is provided in the middle of the refueling pipe 62.
  • the oil supply amount adjusting means 61 is configured by a solenoid valve, and the solenoid valve 61 is configured to be turned on / off (opened / closed) by pulse width adjustment control (hereinafter also referred to as PWM control).
  • the solenoid valve 61 when the solenoid valve 61 is turned on (opened), the high pressure oil reservoir 53 and the low pressure suction pipe 14 communicate with each other via the oil supply pipe 62, and the oil in the oil reservoir 53 is on the suction pipe 14 side (suction side) Supplied to Further, when the solenoid valve 61 is turned off (closed), the communication between the oil reservoir 53 and the suction pipe 14 is shut off, and the oil supply is stopped.
  • the PWM control of the solenoid valve 61 in the refueling amount control unit 80 has a cycle T1 of the falling section of the rectangular wave in the pulse width adjustment control signal from the solenoid drive circuit provided in the refueling amount control unit 80, and a rising section In the cycle T2, the closed state and the open state are switched to perform flow control. That is, since the flow rate control is performed by changing the ratio of the cycles T1 and T2, the minute flow rate can be easily controlled as compared with the case of controlling the flow rate by adjusting the throttling amount like a needle valve Since the area can be increased, the problem of obstruction due to foreign matter can also be avoided.
  • the oil supply amount control unit 80 determines the cycle T1 and the cycle T2 of the rectangular wave of the pulse width adjustment control signal according to the rotation speed detected by the rotation speed detection means of the compressor. .
  • the pulse width adjustment control signal from the solenoid drive circuit according to a table set in advance so that the amount of fuel supplied to the suction pipe 14 side of the refrigerant compressor becomes the target flow rate in the range of 0 to 60 cc / min.
  • the cycles T1 and T2 are determined.
  • the relationship between the oil supply amount Q and the cycles T1 and T2 in the pulse width adjustment control signal is the flow coefficient of the solenoid valve 61, the coefficient C1 determined by the flow path resistance of the pipe, etc., the coefficient C2 related to the duty ratio and the flow, and the pressure difference ⁇ P. Basically, it can be expressed by the following equation.
  • the target flow rate is changed according to the number of revolutions of the compressor, and the oil supply amount is controlled to be in the range of 0 to 60 cc / min.
  • the relationship between the amount and the compressor rotational speed is shown in FIG.
  • the target oil supply amount in the present embodiment is Q1 (for example, 55 cc / min) when the number of revolutions of the compressor is the minimum number of revolutions, and 0 cc / min
  • the amount of oil supply is reduced as the compressor rotational speed increases.
  • the ratio of the periods T1 and T2 of the pulse width adjustment control signal may be changed.
  • the compressor rotation number detection means is configured to detect a signal of the target rotation number in the compressor drive circuit 71 by being input to the fuel supply amount control device 80.
  • the oil amount control is performed on the compressor target rotation speed, the oil supply amount Q1 is obtained at the minimum rotation speed, and the oil supply amount is decreased according to the increase in the rotation speed so that the oil supply amount is 0 at the rotation speed N1. Control.
  • step S1 the target rotational speed N of the compressor is read (step S1).
  • step S2 since the coefficients C2 and Q1 and N1 are known numerical values as shown in FIG. 2, the duty ratio “T2 / (T1 + T2) is obtained according to the current target rotational speed N read in step S1. ] Can be asked.
  • the calculated periods T1 and T2 are output from the solenoid drive circuit of the oil supply amount control unit 80 to the solenoid valve 61 as a pulse width adjustment control signal (step S3).
  • steps S1 to S3 each time the compressor rotational speed changes, the amount of oil supplied from the oil reservoir 53 to the suction pipe 14 can be controlled according to the compressor rotational speed. .
  • the flow adjustment is performed by switching the open state and the closed state of the solenoid valve 61, and the ratio between the close time (period T1) and the open time (period T2) of the solenoid valve 61 is changed.
  • Refueling amount can be varied from 0 to 100%.
  • the refrigerant compressor according to the first embodiment of the present invention described above from the operation mode with high capacity and high speed rotation to the ultra low speed operation mode with operation at a very low rotation speed (for example, about 5 to 20 Hz)
  • a very low rotation speed for example, about 5 to 20 Hz
  • FIG. 4 is a longitudinal sectional view showing a scroll compressor as a refrigerant compressor of the present embodiment.
  • the portions given the same reference numerals as those in FIG. 1 indicate the same or corresponding portions, and therefore the description of the same portions will be omitted.
  • the second embodiment differs from the first embodiment in that the oil supply pipe 62 is provided so as to connect the oil reservoir 53 and the back pressure chamber 18, and in the middle of the oil supply pipe 62.
  • a refueling amount adjusting means (solenoid valve) 61 is provided as in the first embodiment.
  • the solenoid valve is pulse width adjustment control (PWM control) and turned on (opened), the high pressure oil reservoir 53 and the back pressure chamber 18 having an intermediate pressure between high and low pressure
  • the oil supply pipe 62 connecting them is in communication, and the oil in the oil reservoir 53 is supplied to the back pressure chamber 18.
  • the solenoid valve 61 is turned off (closed)
  • the communication of the oil supply pipe is interrupted in the previous period, and the oil supply is stopped.
  • the oil that has entered the back pressure chamber 18 flows into the compression chamber 13 via the back pressure hole 35 communicating the back pressure chamber 18 with the compression chamber 13 when the back pressure becomes high.
  • the oil leakage means configured of the plurality of holes 30 provided in the turning boss portion 34 and the seal member 32 is provided, but in the case of the present embodiment, the oil Leakage means are not necessary. That is, the oil whose flow rate is controlled by the oil supply amount adjusting means (solenoid valve) 61 and supplied to the back pressure chamber 18 lubricates the Oldham ring 12 and the sliding portion of the fixed scroll 7 and the orbiting scroll 8. It is for being supplied to the compression chamber.
  • the amount of oil supplied to the Oldham ring 12 and the amount of oil supplied to the sliding portions of the fixed scroll 7 and the orbiting scroll 8 can not be controlled independently. For this reason, it is preferable to use a member having appropriate wear resistance for the sliding portion of the Oldham ring 12 and the fixed scroll 7 and the orbiting scroll 8, and even when the amount of oil supplied to the compression chamber 13 is narrowed, It is good to be able to secure sufficient reliability.
  • the amount of oil supplied via the oil amount adjustment means 61 is equal to the amount of oil supplied to the Oldham ring 12 and the amount of oil supplied to the sliding portions of the fixed scroll 7 and the orbiting scroll 8. Because the flow rate is increased, flow control can be performed more easily.
  • the oil supply amount control unit 80 determines the periods T1 and T2 of the rectangular wave of the pulse width adjustment control signal according to the rotation speed of the compressor.
  • the pulse width adjustment control signal output from the solenoid drive circuit of the oil supply amount control unit 80 according to a table set in advance so that the oil supply amount has the oil supply characteristic as shown in FIG. Determine the periods T1 and T2 in.
  • the basic equation of the relationship between the oil supply amount Q and the periods T1 and T2 in the pulse width adjustment control signal is the same as the above-mentioned equation 1.
  • the target oil supply amount in this embodiment is Q1 (for example, 80 cc / min) when the rotation speed of the compressor is the minimum rotation speed, and Q2 (for example, 45 cc / min) when the rotation speed N1 (for example 45 Hz) It controls so that the amount of refueling decreases as the number of rotations of a compressor becomes large. Further, when the rotational speed is N1 or more, the ratio of the periods T1 and T2 is changed so that the amount of fueling is constant at Q2.
  • the compressor rotational speed is detected by inputting a signal of the target rotational speed in the compressor drive circuit 71 to the oil supply amount control unit 80.
  • step S3 A control flow chart of this refueling amount control is shown in FIG.
  • the target rotational speed N of the compressor is read (step S1).
  • step S4 it is compared whether or not the read target rotational speed N is the rotational speed N1 or more shown in FIG. 5, and when N is N1 (45 Hz in FIG. 5) or more, the process moves to step S5.
  • the duty ratio “T2 / (T1 + T2)” is determined so as to be the minimum oil supply amount Q2 (45 cc / min in FIG. 5).
  • the calculated periods T1 and T2 are output from the solenoid drive circuit of the oil supply control unit 80 to the solenoid valve 61 as a pulse width adjustment control signal (step S3).
  • step S4 If the read target rotational speed N is smaller than the rotational speed N1 shown in FIG. 5 in step S4, the process proceeds to step S6, and the amount of oil supply (this amount of oil is shown in FIG. 5) according to the formula shown in step S6.
  • the duty ratio "T2 / (T1 + T2)" is obtained so as to obtain the obtained amount of oil supply.
  • the calculated periods T1 and T2 are output from the solenoid drive circuit of the oil supply control unit 80 to the solenoid valve 61 as a pulse width adjustment control signal (step S3).
  • FIG. 7 shows the room air conditioner as the refrigeration cycle apparatus (air conditioner) 100 using the refrigerant compressor of the first embodiment.
  • the refrigerant compressed by the compressor 101 flows from the high pressure side connection pipe 107 into the four-way valve 105, flows out to the outdoor connection pipe 108, and is outdoor heat exchanger 102.
  • the outdoor heat exchanger 102 the high-temperature and high-pressure refrigerant gas is condensed and liquefied by heat exchange with outdoor air, and after passing through the liquid receiver 106, the pressure is reduced by the expansion valve 103.
  • the depressurized low temperature and low pressure refrigerant flows into the indoor heat exchanger 104 to exchange heat with the indoor air, cools the indoor air, and evaporates and gasifies by depriving the indoor air of its own heat.
  • the refrigerant gas flows into the four-way valve 105 from the indoor connection pipe 109, flows out from the low pressure side connection port of the four-way valve, passes through the low pressure side connection pipe 110, and returns to the suction side of the compressor 101 again. It is compressed again, and the same cycle is repeated thereafter.
  • the connection destination of the refrigerant pipe of the four-way valve 105 is switched, and the high temperature / high pressure refrigerant gas discharged from the compressor 101 flows from the high pressure side connection pipe 107 into the four-way valve 10, It flows out to the indoor connection pipe 109 and flows to the indoor heat exchanger 104. Then, the heating operation can be performed by radiating the heat of the refrigerant gas to the indoor air.
  • the refrigerant gas is condensed in the indoor heat exchanger 104 and depressurized by the expansion valve 103, and the refrigerant which has become low temperature and low pressure exchanges heat with the outdoor air in the outdoor heat exchanger 102 for evaporation and gasification, and the outdoor connection piping 108 After flowing into the four-way valve 105, the refrigerant flows out to the low pressure side connection pipe 110 and is again sucked into the compressor 101, thereby repeating the refrigeration cycle.
  • An oil supply pipe 62 communicates, as shown in FIG. 1, an oil reservoir 53 at the bottom of the compressor with a low pressure side pipe 110 on the suction side of the compression mechanism 2.
  • a refueling amount adjusting means (solenoid valve) 61 is provided in the middle of the refueling pipe 62. By controlling the oil supply amount adjusting means 61, the amount of oil supplied from the oil reservoir 53 to the low pressure side connection pipe 110 is adjusted.
  • the oil amount adjustment means 61 controls the closed state and the open state of the valve according to the pulse width adjustment control signal output from the oil amount control unit 80 so that the oil amount can be varied from 0 to 100%. It has become.
  • a temperature sensor (not shown) is provided in the vicinity of the air passage inlet of the indoor heat exchanger 104 installed in the room, thereby detecting the room temperature and matching the target temperature set by the user
  • control is performed by varying the number of rotations of the compressor 101 by the inverter device (compressor drive circuit) 71.
  • the oil supply amount control unit 80 reads the compressor target rotation number from the inverter device 71, determines the periods T1 and T2 of the rectangular wave of the pulse width adjustment control signal according to it, and outputs it to the oil supply amount adjustment means 61. .
  • FIG. 8 The refrigeration cycle apparatus shown in FIG. 8 is also used for a room air conditioner, and the basic operation of the refrigeration cycle is the same as that of FIG. 7 described above.
  • the fuel amount adjustment means (solenoid valve) 61 is pulse width adjusted and controlled by the fuel amount control unit 80.
  • the oil supply amount control unit 80 reads the target rotation speed of the compressor from the inverter device 71.
  • the discharge pipe 6 is provided with the discharge pressure detection means 72
  • the suction pipe 14 is provided with the suction pressure detection means 73 (both are shown in FIG. 1). Pressure is also detected.
  • the cycles T1 and T2 of the rectangular wave of the pulse width adjustment control signal are determined according to the target rotation speed and the detected discharge pressure and suction pressure, and are output to the oil supply amount adjustment means 61.
  • a control flow chart of the refueling amount in the fourth embodiment is shown in FIG.
  • the amount of oil passing through the solenoid valve (oil supply amount adjusting means) 61 depends not only on the ratio between the time of the closed state (period T1) and the time of the open state (period T2) in the solenoid valve but also on the pressure difference ⁇ P. Do.
  • the pressure difference dP is calculated from the discharge pressure Pd and the suction pressure Ps (steps S7 and S8) detected by the discharge pressure detection means 72 and the suction pressure detection means 73 (step S9).
  • the cycles T1 and T2 are corrected based on the calculated pressure difference dP so that the amount of oil supply becomes optimal (step S10).
  • the calculated periods T1 and T2 are output from the solenoid drive circuit of the oil supply control unit 80 to the solenoid valve 61 as a pulse width adjustment control signal (step S3).
  • step S3 a pulse width adjustment control signal
  • the steps S1, S7 to S10 and S3 each time the compressor rotational speed changes, the amount of oil supplied from the oil reservoir 53 to the suction pipe 14 is controlled according to the compressor rotational speed. can do.
  • step S4 it is compared whether or not the read target rotational speed N is the rotational speed N1 or more shown in FIG. 5, and when N is N1 or more, the process proceeds to step S11, and the pressure difference dP obtained in step S9.
  • the duty ratio "T2 / (T1 + T2)" is determined so that the minimum amount of fueling "Q2 / (C1 ⁇ dP)" taking into account the above is obtained.
  • the calculated periods T1 and T2 are output from the solenoid drive circuit of the oil supply control unit 80 to the solenoid valve 61 as a pulse width adjustment control signal (step S3).
  • step S4 when the read target rotational speed N is smaller than the rotational speed N1, the process proceeds to step S12, and the calculation formula shown in the step S12, that is, according to the rotational speed N and the pressure difference dP.
  • the amount of refueling is determined by the equation for determining the duty ratio, and the duty ratio “T2 / (T1 + T2)” is determined so as to obtain the determined amount of refueling. Note that a 0 , a 1 , and a 2 in the calculation formula of step S12 are coefficients obtained in advance.
  • step S3 the process proceeds to step S3, and the calculated periods T1 and T2 are output from the solenoid drive circuit of the oil supply amount control unit 80 to the solenoid valve 61 as a pulse width adjustment control signal.
  • the oil reservoir 53 is operated according to the compressor rotational speed and the pressure difference.
  • the amount of oil supplied to the back pressure chamber 18 can be controlled.
  • FIG. 11 is a schematic block diagram of a refrigeration cycle apparatus using a refrigerant compressor showing a fifth embodiment of the present invention, which is an example applied to a room air conditioner as a refrigeration cycle apparatus.
  • the parts in FIG. 11 to which the same reference numerals as in FIG. 11 are identical to the same reference numerals as in FIG.
  • the fuel amount adjustment means (solenoid valve) 61 is pulse width adjusted and controlled by the fuel amount control unit 80.
  • the oil supply amount control unit 80 obtains a signal of the target rotation speed N of the compressor from the inverter device (compressor drive circuit) 71, and the temperature sensor 74 and the outdoor heat exchanger 102 provided in the indoor heat exchanger 104.
  • the evaporation temperature and the condensation temperature are detected by the temperature sensor 75 provided, and the periods T1 and T2 of the rectangular wave of the pulse width adjustment control signal are determined according to the detected evaporation temperature and the condensation temperature, and the oiling amount It outputs to the adjustment means 61.
  • a control flow chart of the refueling amount in the present embodiment is shown in FIG.
  • the amount of oil passing through the solenoid valve (oiling amount adjusting means) 61 depends not only on the ratio between the time of the closed state (period T1) and the time of the open state (period T2) of the solenoid valve but also on the pressure difference ⁇ P. Do. Therefore, in the present embodiment, the pressure difference ⁇ P is estimated from the evaporation temperature and the condensation temperature detected by the temperature sensor 74 provided in the indoor heat exchanger 104 and the temperature sensor 75 provided in the outdoor heat exchanger 102. Then, the periods T1 and T2 are corrected so as to optimize the amount of oil supply. According to this embodiment, without using the pressure detecting means (pressure sensors) 72 and 73 as described in the fourth embodiment, it is possible to appropriately perform the adjustment of the amount of fueling under the operating condition where the operating pressure is different, The same effect as in Example 4 can be obtained.
  • the control flowchart shown in FIG. 12 differs from the control flowchart shown in FIG. 9 in steps S13 to S16. That is, the evaporation temperature Ts and the condensation temperature Td detected by the temperature sensors 74 and 75 are read (steps S13 and S14), their temperature difference dT is determined (step S15), and fueling is performed based on the obtained temperature difference dT. The periods T1 and T2 are corrected so as to optimize the amount (step S16). Others are similar to the control shown in FIG. Also in the present embodiment, similarly to the above-described fourth embodiment, the amount of oil supply can be appropriately adjusted even under the operating conditions where the rotation speed is the same but the operating pressure is different.
  • the control flow chart is for the case of using the refrigerant compressor of the first embodiment as the refrigerant compressor, but the control flow chart of the amount of oil supply when the refrigerant compressor of the second embodiment is used is as shown in FIG. Become.
  • steps S1, S13 to S15, and S3 are the same as those shown in FIG. Steps in which the example shown in FIG. 13 differs from the example shown in FIG. 12 are steps S4, S17 and S18.
  • step S4 it is compared whether or not the read target rotational speed N is the rotational speed N1 or more shown in FIG. 5, and when N is N1 or more, the process proceeds to step S17 and the temperature difference dT determined in step S15.
  • the duty ratio "T2 / (T1 + T2)" is determined so that the minimum amount of fueling "Q2 / (C1.dT)" taking into account the above is obtained.
  • the calculated periods T1 and T2 are output from the solenoid drive circuit of the oil supply control unit 80 to the solenoid valve 61 as a pulse width adjustment control signal (step S3).
  • step S4 when the read target rotational speed N is smaller than the rotational speed N1, the process proceeds to step S18, and the calculation formula shown in the step S18, that is, according to the rotational speed N and the temperature difference dT.
  • the amount of refueling is determined by the equation for determining the duty ratio, and the duty ratio “T2 / (T1 + T2)” is determined so as to obtain the determined amount of refueling.
  • b 0 , b 1 , and b 2 in the calculation formula of step S18 are coefficients obtained in advance.
  • step S3 the process proceeds to step S3, and the calculated periods T1 and T2 are output from the solenoid drive circuit of the oil supply amount control unit 80 to the solenoid valve 61 as a pulse width adjustment control signal.
  • the oil reservoir 53 is operated according to the compressor rotational speed and the temperature difference.
  • the amount of oil supplied to the back pressure chamber 18 can be controlled.
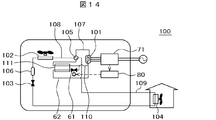
  • FIG. 14 is a schematic configuration diagram of a refrigeration cycle apparatus using a refrigerant compressor showing Embodiment 6 of the present invention.
  • This example is also an example applied to a room air conditioner as a refrigeration cycle apparatus, and the portions given the same reference numerals in FIG. 14 as those in FIG. 7 are the same or corresponding portions, and therefore redundant description will be omitted.
  • the oil supply pipe 62 provided with the oil amount adjustment means 61 in the middle connects the oil reservoir at the lower part of the compressor 101 and the low pressure side connection pipe 110, but the oil amount adjustment means A refrigerant / oil heat exchanger (oil cooling means) 111 is provided between the oil reservoir 61 and the oil reservoir at the lower part of the compressor 101.
  • the oil flowing from the oil reservoir 53 to the low pressure side connection pipe 110 in the lower portion of the compressor (bottom portion of the sealed case 9) passes through the refrigerant / oil heat exchanger 111 by opening the oil amount adjustment means 61.
  • heat is exchanged with the low pressure side refrigerant which is approximately at the evaporation temperature.
  • the temperature of the oil supplied to the low pressure side connection pipe 110 is lowered to increase the viscosity.
  • a solenoid valve may be used as the refueling amount adjusting means 61 as in the embodiment described above.
  • the flow rate of the oil may be adjusted by the method of the embodiment 1 or 2 described above, but since the oil becomes highly viscous by the effect of the refrigerant / oil heat exchanger 111, the coefficients C1 and C2 have different values.
  • the solenoid valve not the solenoid valve but the electric needle valve is adopted as the oil amount adjustment means 61.
  • the opening degree of the electric needle valve is controlled by the pulse number modulation control signal output from the oil supply amount control unit 80, and the oil supply amount can be varied from 0 to 100%.
  • the coefficient (corresponding to the above-mentioned coefficient C2) determined by the flow coefficient of the valve and the flow passage resistance of the pipe (corresponding to the above-mentioned coefficient C2) becomes smaller as the viscosity of the oil becomes higher.
  • the opening degree of the valve can be made large. Therefore, the control of the minute flow rate becomes easy, and the flow path can be made large, so that the needle valve can be used while avoiding the problem of the obstruction due to the foreign matter.
  • the electric needle valve capable of continuously changing the opening degree since the electric needle valve capable of continuously changing the opening degree is used, there is no generation of noise accompanying opening and closing of a valve such as a solenoid valve, and the noise can be reduced.
  • the fuel amount adjustment unit 61 is pulse number modulation controlled by the fuel amount control unit 80.
  • the number of pulses of the pulse number adjustment control signal from the pulse drive circuit is determined according to a table set in advance so that the fuel supply amount becomes a target flow rate of 0 to 60 cc / min.
  • the fueling amount control unit 80 obtains information on the target rotation number N of the compressor from the inverter device (compressor driving circuit) 71, determines the number of pulses according to the target rotation number, and is driven by the stepping motor
  • the electric needle valve (fuel supply amount adjusting means) 61 outputs.
  • FIG. 15 is a schematic configuration diagram of a refrigeration cycle apparatus using a refrigerant compressor showing a seventh embodiment of the present invention, and this example is also applied to a room air conditioner as a refrigeration cycle apparatus.
  • Parts in FIG. 15 that are assigned the same reference numerals as in FIG. 14 are the same or corresponding parts, and therefore redundant descriptions will be omitted.
  • the embodiment shown in FIG. 15 is different from the embodiment shown in FIG. 14 in that the refrigerant / oil heat exchanger 111 in FIG. 14 is omitted and the outdoor heat exchanger 102 has the function of the refrigerant / oil heat exchanger. It is That is, although the oil supply pipe 62 in which the oil supply amount adjusting means (electric needle valve) 61 is disposed in the middle connects the oil reservoir at the lower part of the compressor 101 and the low pressure side connection pipe 110, this oil supply pipe 62 Of the outdoor heat exchanger 102 by passing the piping between the oil supply amount adjusting means 61 and the oil reservoir portion at the lower part of the compressor 101 through the outdoor heat exchanger 102, the refrigerant / oil heat exchanger It is used as (oil cooling means).
  • the oil flowing from the oil reservoir 53 at the lower part of the compressor to the low pressure side connection pipe 110 is allowed to flow through the outdoor heat exchanger 102 by opening the oil amount adjustment means 61.
  • the heat exchange can be performed with the low pressure side refrigerant which is almost at the evaporation temperature. Therefore, the temperature of the oil supplied to the low pressure side connection pipe 110 can be lowered as in the sixth embodiment, and the viscosity can be increased.
  • the refrigerant / oil heat exchanger is integrally provided as a part of the outdoor heat exchanger 102, the refrigerant / oil heat exchanger is provided in the narrow outdoor unit of the room air conditioner (refrigerating cycle device). It is not necessary to arrange separately from the outdoor heat exchanger 102. Therefore, the mounting is facilitated and the cost can be reduced.
  • each embodiment of the present invention in the compression chamber in all rotational speed regions from the large capacity and high speed rotation operation mode to the very low rotation speed ultra low speed operation mode.
  • Optimal refueling can be achieved that can achieve both refrigerant leakage reduction and reduced heating losses as the oil heats the refrigerant. Therefore, it is possible to obtain a refrigerant compressor with high efficiency and a refrigeration cycle apparatus using the same according to any load capacity.
  • this embodiment can realize highly efficient operation when operating at a very low rotational speed in a room air conditioner installed in a highly insulated house.

Landscapes

  • Engineering & Computer Science (AREA)
  • Mechanical Engineering (AREA)
  • General Engineering & Computer Science (AREA)
  • Physics & Mathematics (AREA)
  • Thermal Sciences (AREA)
  • Applications Or Details Of Rotary Compressors (AREA)
  • Rotary Pumps (AREA)
  • Control Of Positive-Displacement Pumps (AREA)
  • Compressor (AREA)

Abstract

 冷媒圧縮機は、密閉ケース9、該密閉ケース内に収納された圧縮機構部2と電動機部16、及び前記密閉ケースの下部に形成された油溜り部53を備えている。更に、前記油溜り部と前記圧縮機構部の吸込側を連通し、前記油溜り部の油を前記吸込側に導くための給油パイプ62と、この給油パイプに設けられ前記吸込側に供給する給油量を調整するための給油量調整手段61と、前記電動機部の回転数を検出する回転数検出手段と、前記回転数検出手段により検出された回転数に応じて前記給油量調整手段を制御する給油量制御部80を備えている。前記給油量制御部は、電動機部の回転数が増加するに従い、給油パイプから前記吸込側に供給される給油量が減少するように給油量調整手段を制御する。 本発明によれば、高速回転から非常に低い回転速度まで、圧縮室での冷媒漏れと、油による冷媒加熱損失を低減できる。

Description

冷媒圧縮機及びこれを用いた冷凍サイクル装置
 本発明は、ルームエアコンやパッケージエアコン、ヒートポンプ給湯機などに用いられているロータリ圧縮機やスクロール圧縮機などの冷媒圧縮機及びこれを用いた冷凍サイクル装置に関し、特に、エコ(環境対応)効果が高い新世代住宅向けの空調給湯システムにおける冷凍・空調回路の冷媒圧縮機として好適であると共に、地球温暖化係数(GWP)の低い新冷媒を適用してのモータ系駆動信号周波数におけるワイドレンジな運転が可能であって、特に超低速運転モードでの運転を実施するものに関する。
 従来、スクロール圧縮機などの冷媒圧縮機では、例えば特許文献1に記載されているように、軸受などを潤滑した冷凍機油(以下、単に油という)の一部または全部を圧縮室へ供給することで、圧縮室での冷媒漏れを低減し、高効率化を実現するようにしている。しかし、この特許文献1に記載の冷媒圧縮機の場合、圧縮室への給油量は給油経路中の固定絞りにより決められるため、圧縮機運転中に給油量を調整することはできない。
 なお、特許文献2に記載のように、給油経路の途中に該給油経路を開閉する弁を設け、高圧部と低圧部との圧力差により前記弁を開閉することで、給油経路の絞りを2段階に変え、これによって給油量の調整を行うようにしたものも知られている。
 また、油冷式のスクリュー圧縮機を有する冷凍装置や、車両用空気調和装置などに使用されている冷媒圧縮機においては、圧縮機の吐出側に接続された油分離器内で吐出冷媒ガスから分離された油を、外部から流量調整して圧縮機構部に注入することが知られている(例えば、特許文献3及び4参照)。
特開2003-239880号公報 特開2006-336543号公報 特開2007-232230号公報 特開2006-170500号公報
 近年、一般住宅において消費されるエネルギー、即ち、空調機で消費されるエネルギーや給湯機で消費されるエネルギーを低減する観点から、建物の断熱材に高断熱材を用いて熱負荷を低減する傾向が強まっている。また、太陽光発電や太陽熱温水器を装備することにより、1年間の積算消費電力をゼロにする化石燃料ゼロ化住宅を具現する構想もある。
 このような構想において、空調機や給湯機で用いられている冷媒圧縮機には、一台で広範囲に容量制御できることが要求されており、特に低熱負荷時においては非常に小さい能力での運転が要求されている。例えば、空調機における冷房運転では、運転開始時に室内の温度が高くなっているのが一般的であるため、急速に運転する必要がある。こうした場合、始動時には大容量で高速運転(高速回転)されるが、室内が或る程度冷えて始動から定常運転状態に移行すると、小容量で低速運転(低速回転)される。この定常運転状態での低速運転は、特に最近の省エネルギー化を実施し、高断熱材が配備された建物に設備された空調機で使用される場合を想定すると、非常に低い回転速度(超低速運転モード)で運転が行われることになる。
 上述した特許文献1のものでは、旋回軸受部空間と背圧室との圧力差により、旋回軸受部空間の油は、背圧室に導かれ、その後吸入部を通って圧縮室に供給される。このため、圧力差の小さい低負荷条件では圧縮室のシール性を確保できる給油量を確保し難く、逆に圧力差の大きい高負荷条件では給油量が多くなりすぎるため、油によって吸込冷媒ガスを加熱することによる体積効率の低下が発生するという課題がある。従って、非常に低い回転速度、或いは高い回転速度で運転が行われる場合、効率が低下する。
 上記特許文献2のものでは、給油経路を開閉する弁を設け、高圧部と低圧部との圧力差により前記弁を開閉することにより、給油経路中の絞りを2段階に変化させ、高差圧条件では給油量を抑制するようにして、高負荷時の給油量過多による吸入加熱によって体積効率が低下するのを防止している。
 しかし、この特許文献2のものでも、非常に低い回転速度(超低速運転モード)における給油量調整については考慮されておらず、また前記弁の開閉動作は圧縮機回転数とは無関係なため、回転数変化時に圧縮機の効率を適切に維持することはできない。
 なお、圧縮室への適切な給油量は100cc/min以下の微小量であるため、給油経路中の絞りは数10μmほどの非常に浅い溝や直径が数100μm程度の非常に小さい孔にする必要があり、加工が困難な上、異物がつまり易いので、上記特許文献1や2などに記載された従来のものでは、適切な給油量まで絞るように構成することは困難である。
 上記特許文献3及び4に記載されたものでは、圧縮機の吐出側に接続された油分離器内で吐出冷媒ガスから分離された油を、運転条件により流量制御して圧縮機構部に給油している。しかし、その目的は圧縮機の温度上昇の防止である。即ち、特許文献3のものでは、油冷却器を用いて圧縮機構に供給する油の温度を下げ、吐出冷媒ガスの温度に応じて供給する油の流量を調整することで、吐出冷媒ガスの温度上昇防止を図っている。
 また、特許文献4のものでは、高負荷条件において、オイル弁を閉じ方向に制御して、圧縮機吸入側には、油分離器からの高温の油が直接供給されないようにし、サイクル内を循環した温度の低い油が戻されるようにして、吐出冷媒ガスの温度上昇防止を図っている。
 これら特許文献3や4のものでは、加熱損失の低減効果はあるものの、低負荷条件となる低い回転速度での運転時における圧縮室での冷媒漏れによる損失については配慮されておらず、低速運転時の効率向上を図ることはできない。
 本発明の目的は、高速回転から非常に低い回転速度(超低速運転モード)までの広い運転範囲において、圧縮室での冷媒漏れと、油による冷媒加熱損失を低減でして効率の良い運転が可能な冷媒圧縮機及びこれを用いた冷凍サイクル装置を得ることにある。
 上記目的を達成するため本発明は、密閉ケース、該密閉ケース内に収納された圧縮機構部、前記密閉ケース内に収納されると共に前記圧縮機構部をクランク軸を介して駆動するための電動機部、及び前記密閉ケースの下部に形成された油溜り部を備える冷媒圧縮機において、前記密閉ケース内の油溜り部と前記圧縮機構部の吸込側を連通し、前記油溜り部の油を前記吸込側に導くための給油パイプと、この給油パイプに設けられ前記吸込側に供給する給油量を調整するための給油量調整手段と、前記電動機部の回転数を検出する回転数検出手段と、前記回転数検出手段により検出された回転数に応じて前記給油量調整手段を制御する給油量制御部を備え、前記給油量制御部は、前記電動機部の回転数が増加するに従い、前記給油パイプから前記吸込側に供給される給油量が減少するように前記給油量調整手段を制御することを特徴とする。
 本発明の他の特徴は、密閉ケース、該密閉ケース内に収納された圧縮機構部、前記密閉ケース内に収納されると共に前記圧縮機構部をクランク軸を介して駆動するための電動機部、及び前記密閉ケースの下部に形成された油溜り部とを備え、前記圧縮機構部は、台板に渦巻状のラップが立設された固定スクロールと、鏡板上に渦巻状のラップが立設された旋回スクロールとが、互いに噛み合わされることで複数の圧縮室が形成され、前記旋回スクロールの背面には吐出圧力と吸込圧力の中間圧力に保持される背圧室が設けられて、前記旋回スクロールは前記中間圧力により前記固定スクロール側に押し付けられるように構成されている冷媒圧縮機において、前記密閉ケース内の油溜り部と前記背圧室とを連通し、前記油溜り部の油を前記背圧室に導くための給油パイプと、この給油パイプに設けられ前記背圧室側に供給する給油量を調整するための給油量調整手段と、前記電動機部の回転数を検出する回転数検出手段と、前記回転数検出手段により検出された回転数に応じて前記給油量調整手段を制御する給油量制御部を備え、前記給油量制御部は、前記電動機部の回転数が増加するに従い、前記給油パイプから吸込パイプに供給される給油量が減少するように前記給油量調整手段を制御することにある。
 本発明の更に他の特徴は、冷媒圧縮機、室外熱交換器、膨張弁、及び室内熱交換器を冷媒配管で接続して冷凍サイクルを構成している冷凍サイクル装置において、前記冷媒圧縮機には上記冷媒圧縮機を用い、更に、前記室外熱交換器の温度を検出する室外温度センサと、前記室内熱交換器の温度を検出する室内温度センサを設け、前記冷媒圧縮機に設けられている給油量制御部は、電動機部の回転数が増加するに従い給油量が減少するよう制御されると共に、前記室外温度センサ及び室内温度センサにより検出された凝縮温度と蒸発温度との温度差が増加するに従い前記給油量を更に減少するよう制御することにある。
 本発明によれば、高速回転から非常に低い回転速度(超低速運転モード)までの広い運転範囲において、圧縮室での冷媒漏れと、油による冷媒加熱損失を低減でして効率の良い運転が可能な冷媒圧縮機及びこれを用いた冷凍サイクル装置を得ることができる。
本発明の実施例1を示す冷媒圧縮機の縦断面図。 本発明の実施例1における圧縮機回転数と目標給油量との関係を説明する線図。 本発明の実施例1における給油量制御を説明する制御フローチャート。 本発明の実施例2を示す冷媒圧縮機の縦断面図。 本発明の実施例2における圧縮機回転数と目標給油量との関係を説明する線図。 本発明の実施例2における給油量の制御フローチャート。 本発明の実施例3を示す冷媒圧縮機を用いた冷凍サイクル装置の概略構成図。 本発明の実施例4を示す冷媒圧縮機を用いた冷凍サイクル装置の概略構成図。 本発明の実施例4における給油量制御を説明する制御フローチャート。 本発明の実施例4における給油量制御の他の例を説明する制御フローチャート。 本発明の実施例5を示す冷媒圧縮機を用いた冷凍サイクル装置の概略構成図。 本発明の実施例5における給油量制御を説明する制御フローチャート。 本発明の実施例5における給油量制御の他の例を説明する制御フローチャート。 本発明の実施例6における冷媒圧縮機を用いた冷凍サイクル装置の概略構成図。 本発明の実施例7における冷媒圧縮機を用いた冷凍サイクル装置の概略構成図。
 以下、本発明の具体的実施例を図面に基づいて説明する。
 図1は本発明の実施例1を示す冷媒圧縮機の縦断面図であり、本発明をスクロール圧縮機に適用した場合の実施例である。
 図1に示す冷媒圧縮機としてのスクロール圧縮機(圧縮機)1は、円板状の台板、該台板上に渦巻状に立設されたラップ、及び前記台板の外周側に位置し前記ラップの先端面と連続する鏡板面を有して前記ラップを囲む筒状の支持部を有する固定スクロール7と、円板状の鏡板、該鏡板上に立設された渦巻状のラップ、及び前記鏡板の背面中央に設けられたボス部を有する旋回スクロール8を備えている。前記旋回スクロール8は、前記固定スクロール7に対向して配置され、旋回スクロールのラップは、固定スクロールのラップと噛み合わされて、フレーム17内に旋回可能に設けられている。
 前記固定スクロール7は、その外周部(支持部)がボルト等によりフレーム17に固定され、固定スクロール7と一体となったフレーム17は溶接等の固定手段により密閉ケース9に固定されている。前記旋回スクロール8の外周側は前記固定スクロール7の外周側と摺動する鏡板面となっており、また旋回スクロールの鏡板面と摺動する固定スクロール7の表面が固定スクロール7の鏡板面となっている。
 前記密閉ケース9内には、前記固定スクロール7と旋回スクロール8などで構成される圧縮機構部(スクロール部)2、該圧縮機構部2をクランク軸10を介して駆動するための電動機部16、前記クランク軸10を回転自在に支持するための主軸受5と副軸受23などを収容し、更に前記密閉ケース9の下部には潤滑油を溜める油溜り部53が設けられた密閉容器構造になっている。
 前記クランク軸10は前記電動機部16の回転子(ロータ)と一体に固定され、固定スクロール7の中心軸線と同軸となっている。このクランク軸10の先端にはクランク部10aが設けられており、このクランク部10aは前記旋回スクロール8のボス部34内に設けられた旋回軸受11に挿入され、旋回スクロール8はクランク軸10の回転に伴い旋回運動可能に構成されている。旋回スクロール8の中心軸線は固定スクロール7の中心軸線に対して所定距離だけ偏心されており、旋回スクロール8のラップは、固定スクロール7のラップに対して周方向に所定角度だけずらして重ね合わせられている。前記旋回スクロール8は、オルダムリング12により、前記固定スクロール7に対して、自転しないように拘束されながら相対的に旋回運動するように構成されている。
 14は前記密閉ケース9を貫通して前記固定スクロール7の外周側の吸込室20に連通するように設けられた吸込パイプ、15は前記固定スクロール7の最内周側の圧縮室13と連通するように固定スクロール台板の渦巻中心付近に形成された吐出ポートである。
 電動機部16によりクランク軸10を回転駆動すると、クランク軸10のクランク部10a及び旋回軸受11を介して旋回スクロール8に伝えられ、該旋回スクロール8は固定スクロール7の中心軸線を中心に、所定の旋回半径をもって旋回運動する。旋回スクロール8の旋回運動によって、各ラップ間にできる圧縮室13は、固定スクロール7の中心側に連続的に移動し、その移動に伴って圧縮室13の容積は連続的に縮小する。これにより、吸込パイプ14から吸込まれた流体(例えば、冷凍サイクルを循環する冷媒ガス)を各圧縮室13内で順次圧縮し、圧縮された流体は吐出ポート15から密閉ケース9上部の吐出空間24に吐出される。吐出空間24に吐出された流体は、固定スクロール7及びフレーム17の外周部と密閉ケース9内面との間に形成された通路(図示せず)を介して、前記電動機部16が収容された電動機室25に流入し、油(潤滑油、冷凍機油)が分離されて、吐出パイプ6から圧縮機外、例えば冷凍サイクルに供給される。
 冷媒ガスから分離された油は密閉ケース9の底部の油溜り部53に貯留される。前記油溜り部53の油は、前記クランク軸10の下端に設けられた容積型または遠心式の給油ポンプ21により、再び軸受などの摺動部に供給される。即ち、クランク軸10の回転に伴い前記給油ポンプ21も回転され、油溜り部53の油は、給油ポンプケース22に設けた潤滑油吸込口から吸入されて、給油ポンプ21の吐出口から吐出される。吐出された油は、クランク軸10内に軸方向に貫通するように形成されている貫通孔3を通って上方へ供給される。前記貫通孔3を通る油の一部は、クランク軸10に形成された横孔を通り、前記副軸受23に供給されて該副軸受を潤滑し、密閉ケース9底部の前記油溜り部53に戻る。前記貫通孔3を通る他の大部分の油は、貫通孔3を通ってクランク軸10のクランク上端に達し、クランク部外周に設けた油溝57を通って旋回軸受11を潤滑する。旋回軸受11から流出した油は、その後、旋回軸受11の下部に設けられている前記主軸受5を潤滑した後、排油パイプ26を通って前記油溜り部53に戻る。
 ここで、前記油溝57や旋回軸受11が設けられた旋回ボス部34内の空間、及び主軸受5を収容している空間(フレーム17、クランク軸10及びフレームシール(軸受押え)56、下端がつば状の旋回ボス部34、前記旋回ボス部下端面と前記フレームとの間に設けられたシール部材32で形成された空間)を合わせて第1の空間33と呼ぶことにする。この第1の空間は吐出圧力に近い圧力を有する空間である。
 主軸受5及び旋回軸受11の潤滑のために前記第1の空間33に流入した潤滑油の大部分は、排油パイプ26を通って前記油溜り部53へ戻るが、一部の潤滑油は、前記オルダムリング12の潤滑、及び固定スクロール7と旋回スクロール8との摺動部の潤滑に必要な最低限の量が、前記シール部材32の上端面と旋回ボス部材34の下端面の間に設けられた油漏出手段(穴)30を介して、前記フレーム17、前記固定スクロール7及び旋回スクロール8によって仕切られた空間である背圧室18に入る。
 前記シール部材32は、フレーム17に形成された円環溝31に波状バネ(図示せず)と共に収容されており、吐出圧力となっている前記第1の空間33と、吸込圧力と吐出圧力の中間の圧力となっている前記背圧室(第2の空間)18とを仕切っている。
 前記油漏出手段30は、旋回ボス部34の下端面に設けられた複数の穴から構成されており、前記複数の穴は旋回スクロール8の旋回運動に伴い前記シール部材32を跨いだ円運動を行い、前記第1の空間33と前記背圧室(第2の空間)18との間を移動する。これにより、第1の空間33内の潤滑油を前記穴(油漏出手段)30に溜め、背圧室18側に間欠的に移送することにより、必要最小限の油を背圧室18に導くようにしている。前記複数の穴の代わりにスリットなどを設けて背圧室18への油漏出手段30としても良い。
 前記背圧室18に入った油は、背圧室18と圧縮室13を連通する背圧孔35を通って圧縮室13へ流入する。即ち、背圧室18の油は、背圧(背圧室18の圧力)が、前記背圧孔35の連通している前記圧縮室13の圧力より高くなると、その圧力差で圧縮室13に流れる。圧縮室13に流入した油は、固定スクロール7と旋回スクロール8の摺動面を潤滑した後、冷媒ガスと共に吐出ポート15から吐出され、前記吐出空間24と電動機室25において大部分の油は冷媒ガスから分離されて油溜り部53に貯留される。残りの油は、冷媒ガスと共に吐出パイプ6から冷凍サイクルへ吐出される。
 上述した前記第1の空間33、背圧室18及び油漏出手段30を備えることにより、各軸受部に必要な量の油を供給することができ、また、前記オルダムリング12、固定スクロール7と旋回スクロール8の摺動部を潤滑して、最終的に圧縮室13から冷媒ガスと共に排出される油の量は前記油漏出手段30により独立に調整することができる。そこで、本実施例では、前記油漏出手段30から背圧室18に漏出する油量を最小限にし、圧縮室、即ちラップ摺動面への必要な給油量は、後述する給油量調整手段61により適正化することで、高効率な冷媒圧縮機及びこれを用いた冷凍サイクル装置を得ることができるようにしている。
 本実施例の冷媒圧縮機では、図1に示すように、潤滑油が貯められている密閉ケース9底部の前記油溜り部53と、前記吸込パイプ14とを連通する給油パイプ62を設けている。また、この給油パイプ62の途中には給油量調整手段61が設けられている。本実施例では、この給油量調整手段61はソレノイド弁で構成され、このソレノイド弁61は、パルス幅調整制御(以下、PWM制御ともいう)によりオンオフ(開閉)されるように構成されている。即ち、ソレノイド弁61をオン(開成)させると、高圧の油溜り部53と低圧の吸込パイプ14が給油パイプ62を介して連通し、油溜り部53の油が吸込パイプ14側(吸込側)に供給される。また、ソレノイド弁61をオフ(閉成)させると、前記油溜り部53と吸込パイプ14の連通は遮断され、油の供給は止められる。
 前記給油量制御部80における前記ソレノイド弁61のPWM制御は、前記給油量制御部80に設けられたソレノイド駆動回路からのパルス幅調整制御信号における矩形波の立ち下がり区間の周期T1と、立ち上がり区間の周期T2により、閉成状態と開成状態を切り替え、流量制御を行うものである。即ち、前記周期T1とT2の比率を変えて流量制御を行うため、ニードル弁のように絞り量を調節して流量制御するものに比べ、微小流量の制御を容易に行うことができ、流路面積も大きくとれるから、異物による閉塞の問題も回避できる。
 次に、前記給油量制御部80による給油量制御を更に具体的に説明する。本実施例においては、前記給油量制御部80は、圧縮機の回転数検出手段で検出された回転数に応じて、パルス幅調整制御信号の矩形波の前記周期T1及び前記周期T2を決定する。また、冷媒圧縮機の前記吸込パイプ14側への給油量は0~60cc/minの範囲で目標流量となるように、予め設定されたテーブルに従って、前記ソレノイド駆動回路からのパルス幅調整制御信号における前記周期T1、T2を決定する。
 給油量Qと、パルス幅調整制御信号における前記周期T1、T2との関係は、ソレノイド弁61の流量係数、配管の流路抵抗等によって決まる係数C1、デューティ比と流量に関する係数C2及び圧力差ΔPによって、基本的には次式で表せる。
   Q=C1・T2/(T1+T2)・ΔP
    =C2・T2/(T1+T2)       …(数1)
 本実施例においては、前述したように、圧縮機の回転数に応じて、目標流量を変化させ、また前記給油量は0~60cc/minの範囲となるように制御されるが、この目標給油量と圧縮機回転数との関係を図2に示す。本実施例での目標給油量は、直線Aで示すように、圧縮機の回転数が最小回転数の時にはQ1(例えば55cc/min)となり、回転数N1(例えば100Hz)で0cc/minとなるように、圧縮機回転数が大きくなるに従い、給油量を減少させるようにしている。前記直線Aに沿って、給油量を変化させるには、前記パルス幅調整制御信号の前記周期T1とT2との比を変化させれば良い。
 前記圧縮機の回転数検出手段は、圧縮機駆動回路71における目標回転数の信号が前記給油量制御装置80に入力されることで検出されるように構成されている。圧縮機目標回転数に対して給油量制御を行う場合、最小回転数の時には給油量Q1となり、回転数の増加に応じて給油量を減少させ、回転数N1では給油量が0となるように制御する。
 この給油量制御の制御フローチャートを図3に示す。 
 ソレノイド弁61の制御を開始すると、まず圧縮機の目標回転数Nを読み込む(ステップS1)。次に、ステップS2では、係数C2、及びQ1とN1は、図2に示すように既知の数値であるので、ステップS1で読み込んだ現在の目標回転数Nにより、デューティ比『T2/(T1+T2)』を求めることができる。この求められた周期T1とT2を、給油量制御部80のソレノイド駆動回路から、パルス幅調整制御信号として前記ソレノイド弁61に出力する(ステップS3)。以下、例えば圧縮機回転数が変化する毎に、前記ステップS1~S3を繰り返すことで、圧縮機回転数に応じて、油溜り部53から吸込パイプ14に供給する油量を制御することができる。
 このように、ソレノイド弁61の開成状態と閉成状態とを切り替えて流量調整を行うと共に、ソレノイド弁61における閉成時間(周期T1)と開成時間(周期T2)との比率を変えることにより、給油量を0~100%まで可変させることができる。
 以上説明した本発明の実施例1に係る冷媒圧縮機では、大容量で高速回転となる運転モードから、非常に低い回転速度(例えば5~20Hz程度)での運転が行われる超低速運転モードまでの広い回転数領域で、圧縮室からの冷媒漏れを防止できると共に、油によって冷媒が加熱されてしまうことによる損失を最小にすることができる最適な給油を実現することができる。このため、あらゆる負荷容量に対応した広い運転範囲において、効率の高い冷媒圧縮機を得ることができる。
 本発明の実施例2を、図4~図6を用いて説明する。 
 図4は本実施例の冷媒圧縮機としてのスクロール圧縮機を示す縦断面図である。図4において上記図1と同一符号を付した部分は同一或いは相当する部分を示しているので重複する部分についてはその説明を省略する。この実施例2が上記実施例1と異なる点は、給油パイプ62が、油溜り部53と背圧室18とを連通するように設けられている点であり、前記給油パイプ62の途中には、実施例1と同様に、給油量調整手段(ソレノイド弁)61が設けられている。
 また、前記ソレノイド弁をパルス幅調整制御(PWM制御)して、オン(開成)させたときに、高圧の油溜り部53と、高圧と低圧の中間の圧力となっている背圧室18とを接続している給油パイプ62が連通し、油溜り部53の油は背圧室18に供給される。また、前記ソレノイド弁61をオフ(閉成)させると、前期給油パイプの連通が遮断され、油の供給は停止する。背圧室18に入った油は、背圧が高くなると、背圧室18と圧縮室13を連通している背圧孔35を介して圧縮室13へ流入する。
 本実施例においては、実施例1と同様に、旋回ボス部34に設けられた複数の穴30とシール部材32で構成される油漏出手段を備えているが、本実施例の場合、前記油漏出手段は必ずしも必要ではない。即ち、前記給油量調整手段(ソレノイド弁)61により流量制御されて背圧室18に供給される油は、オルダムリング12、及び固定スクロール7と旋回スクロール8の摺動部の潤滑を行い、その後圧縮室に供給されるためである。
 なお、本実施例では、オルダムリング12への給油量と、固定スクロール7と旋回スクロール8の摺動部への給油量をそれぞれ独立して制御することができない。このため、前記オルダムリング12、及び固定スクロール7と旋回スクロール8の摺動部には適切な耐摩耗性を有する部材を使用することが好ましく、圧縮室13への給油量を絞った場合でも、十分な信頼性を確保できるようにすると良い。
 本実施例によれば、給油量調整手段61を介して供給される油の量は、オルダムリング12への給油量と、固定スクロール7と旋回スクロール8の摺動部への給油量とを合わせた流量に増えるため、流量制御をより容易に行うことが可能になる。
 次に、給油量制御部80による給油量制御について説明する。前記給油量制御部80は実施例1と同様に、圧縮機の回転数に応じてパルス幅調整制御信号の矩形波の周期T1及びT2を決定する。本実施例の冷媒圧縮機では、給油量が図5に示すような給油特性になるように、予め設定されたテーブルに従って、給油量制御部80のソレノイド駆動回路から出力されるパルス幅調整制御信号における周期T1、T2を決定する。給油量Qと、パルス幅調整制御信号における前記周期T1、T2との関係の基本式は前述した数1と同じである。
 本実施例での目標給油量は、圧縮機の回転数が最小回転数の時にはQ1(例えば80cc/min)となり、回転数N1(例えば45Hz)ではQ2(例えば45cc/min)となるように、圧縮機の回転数が大きくなるに従い給油量を減少させるように制御する。また、回転数がN1以上では給油量がQ2で一定となるように、前記周期T1とT2の比を変化させる。圧縮機回転数は、圧縮機駆動回路71における目標回転数の信号が前記給油量制御部80に入力されることで検出される。
 この給油量制御の制御フローチャートを図6に示す。 
 ソレノイド弁61の制御を開始すると、まず圧縮機の目標回転数Nを読み込む(ステップS1)。次に、ステップS4では、読み込まれた目標回転数Nが図5に示す回転数N1以上か否かを比較し、前記NがN1(図5では45Hz)以上の場合にはステップS5に移り、図5に示す本実施例での給油特性の線Bに示すように、最小の給油量Q2(図5では45cc/min)となるように、デューティ比『T2/(T1+T2)』を求める。この求められた周期T1とT2を、給油量制御部80のソレノイド駆動回路から、パルス幅調整制御信号としてソレノイド弁61に出力する(ステップS3)。
 前記ステップS4において、読み込まれた目標回転数Nが図5に示す回転数N1よりも小さい場合、ステップS6に移り、該ステップS6に示された計算式で給油量(この給油量は図5に示す給油特性の線Bのうち勾配のあるB1の部分に相当)を求め、この求められた給油量となるように、デューティ比『T2/(T1+T2)』を求める。この求められた周期T1とT2を、給油量制御部80のソレノイド駆動回路から、パルス幅調整制御信号としてソレノイド弁61に出力する(ステップS3)。
 以下、例えば圧縮機回転数が変化する毎に、前記ステップS1、S4~S6、S3を繰り返すことで、圧縮機回転数に応じて、油溜り部53から背圧室18に供給する油量を制御することができる。
 次に、本発明の実施例3を示す冷媒圧縮機を用いた冷凍サイクル装置を図7に基づいて説明する。なお、以下の各実施例の説明では、冷媒圧縮機としては上記実施例1で説明したものを用いた場合を基本に説明するが、上記実施例2で説明した冷媒圧縮機を用いてもほぼ同様に実施できるものである。
 図7は、冷凍サイクル装置(空調装置)100としてのルームエアコンに上記実施例1の冷媒圧縮機を用いたものである。図7に示す冷凍サイクル装置において、冷房運転時には、圧縮機101で圧縮された冷媒は、高圧側接続配管107から四方弁105へ流入し、室外接続配管108へ流出して、室外熱交換器102に流れる。この室外熱交換器102において、高温高圧の冷媒ガスは室外空気と熱交換することにより凝縮・液化し、受液器106を通過後、膨張弁103により減圧される。減圧されて低温・低圧となった冷媒は、室内熱交換器104に流入して室内空気と熱交換し、室内空気を冷却すると共に自らは室内空気から熱を奪うことで蒸発・ガス化する。この冷媒ガスは、室内接続配管109から前記四方弁105に流入し、該四方弁の低圧側接続口から流出して、低圧側接続配管110を通り、再び前記圧縮機101の吸込側へ戻り、再度圧縮され、以下同様のサイクルが繰り返される。
 冷房運転から暖房運転へ切換える場合には、四方弁105の冷媒配管接続先を切り替え、圧縮機101から吐出された高温・高圧の冷媒ガスは高圧側接続配管107から四方弁10に流入して、室内接続配管109へ流出し、室内熱交換器104に流れるようにする。そして冷媒ガスの熱を室内空気へ放熱することにより暖房運転を行うことができる。室内熱交換器104で冷媒ガスは凝縮して膨張弁103で減圧され、低温・低圧となった冷媒は、室外熱交換器102で室外空気と熱交換して蒸発・ガス化し、室外接続配管108から四方弁105に流入した後、低圧側接続配管110へ流出して、圧縮機101に再び吸入されるという冷凍サイクルを繰り返す。
 62は給油パイプで、図1に示すように、圧縮機底部の油溜り部53と、圧縮機構部2の吸込側である低圧側配管110を連通している。前記給油パイプ62には給油量調整手段(ソレノイド弁)61が途中に設けられている。前記給油量調整手段61を制御することによって前記油溜り部53から低圧側接続配管110への給油量を調整する。この給油量調整手段61は給油量制御部80から出力されるパルス幅調整制御信号によって弁の閉成状態と開成状態とを制御し、給油量を0~100%まで可変させることができるようになっている。
 ルームエアコンでは、室内に設置されている前記室内熱交換器104の通風路入口付近に温度センサ(図示せず)を設け、これによって室内温度を検出し、ユーザーにより設定される目標温度と一致するよう、インバータ装置(圧縮機駆動回路)71により圧縮機101の回転数を可変させ、制御が行われる。前記給油量制御部80は、前記インバータ装置71から圧縮機目標回転数を読み込み、それに応じてパルス幅調整制御信号の矩形波の周期T1及びT2を決定して前記給油量調整手段61に出力する。
 次に、本発明の実施例4を示す冷媒圧縮機を用いた冷凍サイクル装置を図8~図10に基づいて説明する。 
 図8に示す冷凍サイクル装置もルームエアコンに用いたものであり、冷凍サイクルの基本動作は上記した図7の場合と同じであり、同一部分には同一符号を付してその説明を省略する。
 図8において、給油量調整手段(ソレノイド弁)61は、給油量制御部80によりパルス幅調整制御される。給油量制御部80では、インバータ装置71から圧縮機の目標回転数を読み込む。更に、本実施例では、吐出パイプ6に吐出圧力検出手段72と、吸込パイプ14に吸込圧力検出手段73(何れも図1参照)を設け、これらの検出手段72,73により、吐出圧力及び吸込圧力も検出する。前記目標回転数と、検出された前記吐出圧力及び吸込圧力に応じて、パルス幅調整制御信号の矩形波の周期T1及びT2を決定して前記給油量調整手段61に出力する。
 この実施例4における給油量の制御フローチャートを図9に示す。ソレノイド弁(給油量調整手段)61を通過する給油量は、ソレノイド弁における閉成状態の時間(周期T1)と開成状態の時間(周期T2)との比率だけでなく、圧力差ΔPにも依存する。このため、本実施例では、前記吐出圧力検出手段72及び前記吸込圧力検出手段73により検出される吐出圧力Pd及び吸込圧力Ps(ステップS7及びS8)から圧力差dPを算出し(ステップS9)、この算出された圧力差dPに基づいて給油量が最適となるように前記周期T1及びT2の補正を行う(ステップS10)。この求められた周期T1とT2を、給油量制御部80のソレノイド駆動回路から、パルス幅調整制御信号としてソレノイド弁61に出力する(ステップS3)。以下、例えば圧縮機回転数が変化する毎に、前記ステップS1、S7~S10、S3を繰り返すことで、圧縮機回転数に応じて、油溜り部53から吸込パイプ14に供給する油量を制御することができる。
 これにより、回転数が同じでも運転圧力が異なる運転条件の場合において、給油量を適切に調整することができ、効率の高い運転が可能となる。
 なお、上記実施例では冷媒圧縮機として上記実施例1のものを用いて説明したが、上記実施例2の冷媒圧縮機を用いた場合の給油量の制御フローチャートは図10に示すようになる。図10において、ステップS1、S7~S9、S3については図9に示すものと同じである。図10に示す例が図9に示した例と異なる点はステップS4、S11、S12である。ステップS4では、読み込まれた目標回転数Nが図5に示す回転数N1以上か否かを比較し、前記NがN1以上の場合にはステップS11に移り、ステップS9で求められた圧力差dPを考慮した最小の給油量『Q2/(C1・dP)』となるように、デューティ比『T2/(T1+T2)』を求める。この求められた周期T1とT2を、給油量制御部80のソレノイド駆動回路から、パルス幅調整制御信号としてソレノイド弁61に出力する(ステップS3)。
 前記ステップS4において、読み込まれた目標回転数Nが前記回転数N1よりも小さい場合には、ステップS12に移り、該ステップS12に示された計算式、即ち回転数Nと圧力差dPに応じてデューティ比を決める式により給油量を求め、この求められた給油量となるように、デューティ比『T2/(T1+T2)』を求める。なお、ステップS12の前記計算式におけるa、a、aはそれぞれ予め求められている係数である。
 次に、ステップS3に進み、上記求められた周期T1とT2を、給油量制御部80のソレノイド駆動回路から、パルス幅調整制御信号としてソレノイド弁61に出力する。
 以下、例えば圧縮機回転数が変化する毎に、前記ステップS1、S7~S9、S4、S11、S12、S3を繰り返すことで、圧縮機回転数と前記圧力差に応じて、油溜り部53から背圧室18に供給する油量を制御することができる。
 図11は本発明の実施例5を示す冷媒圧縮機を用いた冷凍サイクル装置の概略構成図で、冷凍サイクル装置としてのルームエアコンに適用した例である。図11において前記図7と同一符号を付した部分は同一部分であるので、重複する説明は省略する。
 図11において、給油量調整手段(ソレノイド弁)61は給油量制御部80によりパルス幅調整制御される。前記給油量制御部80は、インバータ装置(圧縮機駆動回路)71から圧縮機の目標回転数Nの信号を得ると共に、室内熱交換器104に設けられた温度センサ74及び室外熱交換器102に設けられた温度センサ75により蒸発温度及び凝縮温度を検出し、これらの検出された蒸発温度及び凝縮温度に応じて、パルス幅調整制御信号の矩形波の周期T1及びT2を決定し、前記給油量調整手段61に出力する。
 本実施例における給油量の制御フローチャートを図12に示す。ソレノイド弁(給油量調整手段)61を通過する給油量は、ソレノイド弁における閉成状態の時間(周期T1)と開成状態の時間(周期T2)との比率だけでなく、前記圧力差ΔPに依存する。このため、本実施例では、室内熱交換器104に設けられた温度センサ74及び室外熱交換器102に設けられた温度センサ75により検出される蒸発温度及び凝縮温度から、前記圧力差ΔPを推算し、給油量が最適になるよう前記周期T1及びT2の補正を行うようにしたものである。本実施例によれば、上記実施例4に示したような圧力検出手段(圧力センサ)72,73を用いずに、運転圧力が異なる運転条件での給油量調整を適切に行うことができ、実施例4と同様の効果が得られる。
 図12に示す制御フローチャートが、前記図9に示した制御フローチャートと異なる点は、ステップS13~S16である。即ち、温度センサ74,75で検出された蒸発温度Tsと凝縮温度Tdを読み込み(ステップS13、S14)、それらの温度差dTを求め(ステップS15)、この求められた温度差dTに基づいて給油量が最適となるように前記周期T1及びT2の補正を行うようにしている(ステップS16)。他は、図9に示す制御と同様である。 
 本実施例においても上記実施例4と同様に、回転数が同じでも運転圧力が異なる運転条件の場合でも、給油量を適切に調整できる。
 なお、上記制御フローチャートは、冷媒圧縮機として上記実施例1のものを用いた場合であるが、上記実施例2の冷媒圧縮機を用いた場合の給油量の制御フローチャートは図13に示すようになる。図13において、ステップS1、S13~S15、S3については図12に示すものと同じである。図13に示す例が図12に示した例と異なる点はステップS4、S17、S18である。
 ステップS4では、読み込まれた目標回転数Nが図5に示す回転数N1以上か否かを比較し、前記NがN1以上の場合にはステップS17に移り、ステップS15で求められた温度差dTを考慮した最小の給油量『Q2/(C1・dT)』となるように、デューティ比『T2/(T1+T2)』を求める。この求められた周期T1とT2を、給油量制御部80のソレノイド駆動回路から、パルス幅調整制御信号としてソレノイド弁61に出力する(ステップS3)。
 前記ステップS4において、読み込まれた目標回転数Nが前記回転数N1よりも小さい場合には、ステップS18に移り、該ステップS18に示された計算式、即ち回転数Nと温度差dTに応じてデューティ比を決める式により給油量を求め、この求められた給油量となるように、デューティ比『T2/(T1+T2)』を求める。なお、ステップS18の前記計算式におけるb、b、bはそれぞれ予め求められている係数である。
 次に、ステップS3に進み、上記求められた周期T1とT2を、給油量制御部80のソレノイド駆動回路から、パルス幅調整制御信号としてソレノイド弁61に出力する。
 以下、例えば圧縮機回転数が変化する毎に、前記ステップS1、S13~S15、S4、S17、S18、S3を繰り返すことで、圧縮機回転数と前記温度差に応じて、油溜り部53から背圧室18に供給する油量を制御することができる。
 図14は本発明の実施例6を示す冷媒圧縮機を用いた冷凍サイクル装置の概略構成図である。この例も冷凍サイクル装置としてのルームエアコンに適用した例で、図14において前記図7と同一符号を付した部分は同一または相当する部分であるので、重複する説明は省略する。
 本実施例においては、前記給油量調整手段61を途中に設けている給油パイプ62は、圧縮機101下部の油溜り部と低圧側接続配管110とを接続しているが、前記給油量調整手段61と圧縮機101下部の油溜り部との間に、冷媒/油熱交換器(油冷却手段)111を設けている。前記給油量調整手段61を開成状態とすることにより、圧縮機下部(密閉ケース9底部)の油溜り部53から低圧側接続配管110へと流れる油は、前記冷媒/油熱交換器111を通ることで、ほぼ蒸発温度となっている低圧側冷媒と熱交換する。これにより低圧側接続配管110へと供給される油の温度は下がり、高粘度化する。
 前記給油量調整手段61としては、前述した実施例と同様にソレノイド弁を用いても良い。その場合、前述した実施例1または2の方法により油の流量調整を行えばよいが、前記冷媒/油熱交換器111の効果により油が高粘度化するため、係数C1及びC2は異なる値となる。しかしながら、本実施例においては、給油量調整手段61として、ソレノイド弁ではなく、電動ニードル弁を採用している。電動ニードル弁は、給油量制御部80から出力されるパルス数変調制御信号によって弁の開度を制御され、給油量を0~100%まで可変させることができるようになっている。弁の流量係数、配管の流路抵抗等によって決まる係数(前述した係数C2に相当)は油が高粘度化することにより小さくなるので、高温で低粘度の油を流量調整する場合に比べて、本実施例では油が低温で高粘度化するから、弁の開度を大きくとることができる。そのため、微小流量の制御が容易になり、また流路も大きくとることができるから、異物による閉塞の問題も回避してニードル弁を用いることができる。
 また、本実施例では、連続的に開度の変更が可能な電動ニードル弁を用いるため、ソレノイド弁のような弁の開閉に伴う騒音の発生がなく、低騒音化できる効果もある。
 前記給油量調整手段61は、給油量制御部80によりパルス数変調制御される。本実施例の冷媒圧縮機では、給油量が0から例えば60cc/minの目標流量となるように、予め設定されたテーブルに従って、パルス駆動回路からのパルス数調整制御信号のパルス数を決定する。前記給油量制御部80は、インバータ装置(圧縮機駆動回路)71から圧縮機の目標回転数Nの情報を得て、その目標回転数に応じてパルス数を決定し、ステッピングモータにより駆動される電動ニードル弁(給油量調整手段)61に出力する。
 図15は本発明の実施例7を示す冷媒圧縮機を用いた冷凍サイクル装置の概略構成図で、この例も冷凍サイクル装置としてのルームエアコンに適用した例である。図15において前記図14と同一符号を付した部分は同一または相当する部分であるので、重複する説明は省略する。
 図15に示す実施例が図14に示した実施例と異なる点は、図14における冷媒/油熱交換器111を省略し、室外熱交換器102に前記冷媒/油熱交換器の機能を持たせたものである。即ち、給油量調整手段(電動ニードル弁)61を途中に配置している給油パイプ62は、圧縮機101下部の油溜り部と低圧側接続配管110とを接続しているが、この給油パイプ62の前記給油量調整手段61と圧縮機101下部の油溜り部との間の配管を、前記室外熱交換器102に通すことで、前記室外熱交換器102の一部を冷媒/油熱交換器(油冷却手段)として利用しているものである。
 本実施例においても、前記給油量調整手段61を開成状態とすることにより、圧縮機下部の油溜り部53から低圧側接続配管110へと流れる油は、前記室外熱交換器102を通ることで、ほぼ蒸発温度となっている低圧側冷媒と熱交換できる。従って、低圧側接続配管110へと供給される油の温度を上記実施例6と同様に下がることができ、高粘度化できる。
 また、本実施例では、冷媒/油熱交換器を室外熱交換器102の一部として一体に設けているので、ルームエアコン(冷凍サイクル装置)の狭い室外機内に、冷媒/油熱交換器を室外熱交換器102とは別に配置する必要がなくなる。従って、実装が容易になる上、コスト低減も図れる効果がある。
 以上説明したように、本発明の各実施例によれば、大容量で高速回転となる運転モードから、非常に低い回転速度の超低速運転モードまで、全ての回転数領域で、圧縮室での冷媒漏れ低減、及び油が冷媒を加熱することに伴う加熱損失の低減の両方を達成できる最適な給油を実現することができる。従って、あらゆる負荷容量に応じて効率の高い冷媒圧縮機及びこれを用いた冷凍サイクル装置を得ることができる。特に、本実施例は、高断熱住宅に設置されたルームエアコンにおける非常に低い回転速度での運転時に、効率の高い運転を実現できる。
1,101:圧縮機、2:圧縮機構部、
3:貫通孔、5:主軸受、6:吐出パイプ、
7:固定スクロール、8:旋回スクロール、
9:密閉ケース、10:クランク軸、11:旋回軸受、
12:オルダムリング、13:圧縮室、14:吸込みパイプ、15:吐出ポート、
16:電動機部、17:フレーム、18:背圧室(第2の空間)、
20:吸込室、21:給油ポンプ、22:給油ポンプケース、
23:副軸受、24:吐出空間、25:電動機室、26:排油パイプ、
30:油漏出手段(穴)、31:円環溝、32:シール部材、33:第1の空間、
34:旋回ボス部、35:背圧孔、
53:油溜り部、56:フレームシール(軸受押え)、57:油溝、
61:給油量調整手段(ソレノイド弁、電動ニードル弁)、62:給油パイプ、
71:圧縮機駆動回路(インバータ装置)、
72:吐出圧力検出手段、73:吸込圧力検出手段、
74:室内温度センサ、75:室外温度センサ、
80:給油量制御部、
100:冷凍サイクル装置(空調装置)、
102:室外熱交換器、103:膨張弁、104:室内熱交換器、105:四方弁、
106:受液器、107:高圧側接続配管、108:室外接続配管、
109:室内接続配管、110:低圧側接続配管、
111:冷媒/油熱交換器(油冷却手段)。

Claims (10)

  1.  密閉ケース、該密閉ケース内に収納された圧縮機構部、前記密閉ケース内に収納されると共に前記圧縮機構部をクランク軸を介して駆動するための電動機部、及び前記密閉ケースの下部に形成された油溜り部を備える冷媒圧縮機において、
     前記密閉ケース内の油溜り部と前記圧縮機構部の吸込側を連通し、前記油溜り部の油を前記吸込側に導くための給油パイプと、
     この給油パイプに設けられ前記吸込側に供給する給油量を調整するための給油量調整手段と、
     前記電動機部の回転数を検出する回転数検出手段と、
     前記回転数検出手段により検出された回転数に応じて前記給油量調整手段を制御する給油量制御部を備え、
     前記給油量制御部は、前記電動機部の回転数が増加するに従い、前記給油パイプから前記吸込側に供給される給油量が減少するように前記給油量調整手段を制御する
     ことを特徴とする冷媒圧縮機。
  2.  請求項1に記載の冷媒圧縮機において、
     前記冷媒圧縮機の吐出側の圧力を検出する吐出圧力検出手段と、前記冷媒圧縮機の吸込側の圧力を検出する吸込圧力検出手段とを備え、
     前記給油量制御部は、前記電動機部の回転数が増加するに従い、前記給油パイプから前記吸込側に供給される給油量が減少するように制御すると共に、前記吐出圧力検出手段で検出された吐出圧力と、前記吸込圧力検出手段で検出された吸込圧力との圧力差が増加するに従い前記給油量を更に減少させるように前記給油量調整手段を制御することを特徴とする冷媒圧縮機。
  3.  請求項2に記載の冷媒圧縮機において、前記密閉ケースを貫通し前記圧縮機構部の吸込室に冷媒を導くための吸込パイプと、前記密閉ケース内に連通して密閉ケース内の高圧の冷媒を密閉ケース外に導く吐出パイプを備え、前記吸込パイプには前記吸込圧力検出手段が設けられ、前記吐出パイプには前記吐出圧力検出手段が設けられていることを特徴とする冷媒圧縮機。
  4.  請求項1に記載の冷媒圧縮機において、前記給油量調整手段はソレノイド弁であり、前記給油量制御部には前記ソレノイド弁の開閉制御をするためのパルス幅調整制御信号を生成するソレノイド駆動回路を備えていることを特徴とする冷媒圧縮機。
  5.  密閉ケース、該密閉ケース内に収納された圧縮機構部、前記密閉ケース内に収納されると共に前記圧縮機構部をクランク軸を介して駆動するための電動機部、及び前記密閉ケースの下部に形成された油溜り部とを備え、
     前記圧縮機構部は、台板に渦巻状のラップが立設された固定スクロールと、鏡板上に渦巻状のラップが立設された旋回スクロールとが、互いに噛み合わされることで複数の圧縮室が形成され、前記旋回スクロールの背面には吐出圧力と吸込圧力の中間圧力に保持される背圧室が設けられて、前記旋回スクロールは前記中間圧力により前記固定スクロール側に押し付けられるように構成されている冷媒圧縮機において、
     前記密閉ケース内の油溜り部と前記背圧室とを連通し、前記油溜り部の油を前記背圧室に導くための給油パイプと、
     この給油パイプに設けられ前記背圧室側に供給する給油量を調整するための給油量調整手段と、
     前記電動機部の回転数を検出する回転数検出手段と、
     前記回転数検出手段により検出された回転数に応じて前記給油量調整手段を制御する給油量制御部を備え、
     前記給油量制御部は、前記電動機部の回転数が増加するに従い、前記給油パイプから吸込パイプに供給される給油量が減少するように前記給油量調整手段を制御する
     ことを特徴とする冷媒圧縮機。
  6.  冷媒圧縮機、室外熱交換器、膨張弁、及び室内熱交換器を冷媒配管で接続して冷凍サイクルを構成している冷凍サイクル装置において、
     前記冷媒圧縮機には請求項1に記載の冷媒圧縮機を用い、
     更に、前記室外熱交換器の温度を検出する室外温度センサと、前記室内熱交換器の温度を検出する室内温度センサを設け、
     前記冷媒圧縮機に設けられている給油量制御部は、電動機部の回転数が増加するに従い給油量が減少するよう制御されると共に、前記室外温度センサ及び室内温度センサにより検出された凝縮温度と蒸発温度との温度差が増加するに従い前記給油量を更に減少するよう制御する
     ことを特徴とする冷媒圧縮機を用いた冷凍サイクル装置。
  7.  請求項6に記載の冷凍サイクル装置において、前記冷媒圧縮機の油溜り部と圧縮機構部の吸込側とを接続している前記給油パイプの途中に、該給油パイプを流れる油を冷却するための油冷却手段が設けられていることを特徴とする冷媒圧縮機を用いた冷凍サイクル装置。
  8.  請求項7に記載の冷凍サイクル装置において、前記油冷却手段は、前記冷媒圧縮機の吸込側に接続されている低圧側配管を流れる低温・低圧の冷媒と、前記給油パイプを流れる高温・高圧の油とを熱交換させる冷媒/油熱交換器であることを特徴とする冷媒圧縮機を用いた冷凍サイクル装置。
  9.  請求項7に記載の冷凍サイクル装置において、前記油冷却手段は、前記給油パイプにおける給油量調整手段と油溜り部との間の配管を前記室外熱交換器に通すことで、該室外熱交換器の一部を冷媒/油熱交換器として利用するようにして構成されていることを特徴とする冷媒圧縮機を用いた冷凍サイクル装置。
  10.  請求項7に記載の冷凍サイクル装置において、前記給油パイプに設けられている給油量調整手段は電動ニードル弁であることを特徴とする冷媒圧縮機を用いた冷凍サイクル装置。
PCT/JP2011/060032 2011-04-25 2011-04-25 冷媒圧縮機及びこれを用いた冷凍サイクル装置 Ceased WO2012147145A1 (ja)

Priority Applications (6)

Application Number Priority Date Filing Date Title
JP2013511805A JP5695187B2 (ja) 2011-04-25 2011-04-25 冷媒圧縮機及びこれを用いた冷凍サイクル装置
ES11864553.0T ES2613678T3 (es) 2011-04-25 2011-04-25 Compresor de refrigerante y aparato de ciclo de refrigeración que usa el mismo
EP11864553.0A EP2703649B1 (en) 2011-04-25 2011-04-25 Refrigerant compressor and refrigeration cycle apparatus using same
CN201180070389.1A CN103492719B (zh) 2011-04-25 2011-04-25 冷媒压缩机以及使用其的冷冻循环装置
US14/110,613 US9470230B2 (en) 2011-04-25 2011-04-25 Refrigerant compressor and refrigeration cycle apparatus using the same
PCT/JP2011/060032 WO2012147145A1 (ja) 2011-04-25 2011-04-25 冷媒圧縮機及びこれを用いた冷凍サイクル装置

Applications Claiming Priority (1)

Application Number Priority Date Filing Date Title
PCT/JP2011/060032 WO2012147145A1 (ja) 2011-04-25 2011-04-25 冷媒圧縮機及びこれを用いた冷凍サイクル装置

Publications (1)

Publication Number Publication Date
WO2012147145A1 true WO2012147145A1 (ja) 2012-11-01

Family

ID=47071688

Family Applications (1)

Application Number Title Priority Date Filing Date
PCT/JP2011/060032 Ceased WO2012147145A1 (ja) 2011-04-25 2011-04-25 冷媒圧縮機及びこれを用いた冷凍サイクル装置

Country Status (6)

Country Link
US (1) US9470230B2 (ja)
EP (1) EP2703649B1 (ja)
JP (1) JP5695187B2 (ja)
CN (1) CN103492719B (ja)
ES (1) ES2613678T3 (ja)
WO (1) WO2012147145A1 (ja)

Cited By (6)

* Cited by examiner, † Cited by third party
Publication number Priority date Publication date Assignee Title
WO2015198647A1 (ja) * 2014-06-25 2015-12-30 株式会社日立産機システム 気体圧縮機
DE112017003912T5 (de) 2016-08-04 2019-05-09 Sanden Holdings Corporation Spiralverdichter
JP2019167910A (ja) * 2018-03-26 2019-10-03 東芝キヤリア株式会社 冷凍サイクル装置
CN114110844A (zh) * 2021-11-22 2022-03-01 青岛海尔空调电子有限公司 压缩机系统、压缩机系统的控制方法及空调器
JP2023059309A (ja) * 2021-10-15 2023-04-27 住友金属鉱山株式会社 スラリーの流量制御装置、流量制御方法、および粗硫酸ニッケル水溶液の脱鉄設備、脱鉄方法
CN116294328A (zh) * 2023-02-23 2023-06-23 青岛海尔空调电子有限公司 用于冷水机组的控制方法、装置、冷水机组

Families Citing this family (23)

* Cited by examiner, † Cited by third party
Publication number Priority date Publication date Assignee Title
ITMI20130583A1 (it) * 2013-04-11 2014-10-12 Frascold S P A Compressore per un impianto frigorifero e impianto frigorifero comprendente detto compressore
KR102310647B1 (ko) * 2014-12-12 2021-10-12 삼성전자주식회사 압축기
KR20160081431A (ko) * 2014-12-31 2016-07-08 삼성전자주식회사 스크롤 압축기 및 이를 구비한 공기조화장치
US10641268B2 (en) * 2015-08-11 2020-05-05 Emerson Climate Technologies, Inc. Multiple compressor configuration with oil-balancing system
JP2017096145A (ja) * 2015-11-20 2017-06-01 三菱重工業株式会社 スクロール圧縮機
CN106122029A (zh) * 2016-08-26 2016-11-16 成都黄金地真空技术开发有限公司 全封闭立式涡旋压缩机喷油冷却系统
US10473377B2 (en) 2016-09-26 2019-11-12 Carrier Corporation High outdoor ambient and high suction pressure oil pump out mitigation for air conditioners
CN107747544B (zh) * 2017-11-07 2019-07-09 苏州英华特涡旋技术有限公司 一种带均油管的压缩机、并联式压缩机组及均油方法
DE102018103610B3 (de) * 2018-02-19 2019-02-14 Hanon Systems Vorrichtung zum Dämpfen von Druckpulsationen für einen Verdichter eines gasförmigen Fluids
US11421681B2 (en) * 2018-04-19 2022-08-23 Emerson Climate Technologies, Inc. Multiple-compressor system with suction valve and method of controlling suction valve
JP6696533B2 (ja) * 2018-06-22 2020-05-20 ダイキン工業株式会社 冷凍装置
JP7389319B2 (ja) * 2019-07-29 2023-11-30 ダイキン工業株式会社 圧縮機
CN112524035B (zh) * 2019-09-18 2023-03-28 上海海立电器有限公司 一种压缩机及空调系统
US11655820B2 (en) * 2020-02-04 2023-05-23 Aspen Compressor, Llc Horizontal rotary compressor with enhanced tiltability during operation
ES3045407T3 (en) * 2020-07-01 2025-11-28 Daikin Ind Ltd Heat source unit and scroll compressor
KR102864623B1 (ko) * 2020-09-25 2025-09-26 엘지전자 주식회사 스크롤 압축기
US11892211B2 (en) 2021-05-23 2024-02-06 Copeland Lp Compressor flow restrictor
JP2023076186A (ja) * 2021-11-22 2023-06-01 三菱重工サーマルシステムズ株式会社 圧縮機
JP2023162674A (ja) * 2022-04-27 2023-11-09 ダイキン工業株式会社 圧縮機における冷媒としての使用、圧縮機、および、冷凍サイクル装置
US12422173B2 (en) 2022-08-19 2025-09-23 Copeland Lp Multiple-compressor system with oil balance control
CN116358203B (zh) * 2023-01-30 2025-06-10 浙江康盛热交换器有限公司 一种储能冷水机组的回油控制方法
CN117090773A (zh) * 2023-09-13 2023-11-21 中船重工鹏力(南京)超低温技术有限公司 一种利用带增焓功能空调涡旋压包进行改进的氦气压缩机
JP2025134343A (ja) * 2024-03-04 2025-09-17 マツダ株式会社 冷媒循環システム

Citations (10)

* Cited by examiner, † Cited by third party
Publication number Priority date Publication date Assignee Title
JPH03258985A (ja) * 1990-03-07 1991-11-19 Hitachi Ltd スクロール圧縮機
JPH0417793A (ja) * 1990-05-02 1992-01-22 Daikin Ind Ltd スクロール形流体機械
JPH04276193A (ja) * 1991-03-01 1992-10-01 Daikin Ind Ltd スクロール形流体機械
JPH05172077A (ja) * 1991-12-24 1993-07-09 Hitachi Ltd 冷媒圧縮機
JP2000283070A (ja) * 1999-03-30 2000-10-10 Sanyo Electric Co Ltd スクロール圧縮機
JP2003239880A (ja) 2002-02-14 2003-08-27 Matsushita Electric Ind Co Ltd 密閉型スクロール圧縮機およびそれを用いた冷凍サイクルおよび冷凍装置
JP2005201145A (ja) * 2004-01-15 2005-07-28 Denso Corp スクロール型圧縮機
JP2006170500A (ja) 2004-12-14 2006-06-29 Mitsubishi Heavy Ind Ltd 空気調和装置およびその運転方法
JP2006336543A (ja) 2005-06-02 2006-12-14 Matsushita Electric Ind Co Ltd スクロール圧縮機
JP2007232230A (ja) 2006-02-27 2007-09-13 Mitsubishi Electric Corp 冷凍装置

Family Cites Families (14)

* Cited by examiner, † Cited by third party
Publication number Priority date Publication date Assignee Title
JPH06294388A (ja) * 1993-04-09 1994-10-21 Sanyo Electric Co Ltd スクロール圧縮装置
JP4126736B2 (ja) * 1997-10-29 2008-07-30 株式会社日立製作所 スクロール圧縮機
US20040112679A1 (en) * 2002-12-13 2004-06-17 Centers Steven D. System and method for lubricant flow control in a variable speed compressor package
JP2006283583A (ja) * 2005-03-31 2006-10-19 Sanyo Electric Co Ltd 密閉型圧縮機
TW200634231A (en) 2005-03-17 2006-10-01 Sanyo Electric Co Hermetically sealed compressor
JP4488222B2 (ja) * 2005-05-20 2010-06-23 株式会社富士通ゼネラル スクロール圧縮機
JP5116950B2 (ja) * 2005-05-23 2013-01-09 京セラ株式会社 無線通信装置
JP4829719B2 (ja) * 2006-08-28 2011-12-07 日立アプライアンス株式会社 ヘリウム用密閉形圧縮機
FR2916813B1 (fr) * 2007-05-29 2013-02-08 Danfoss Commercial Compressors Compresseur frigorifique a spirales a vitesse variable
JP4951572B2 (ja) * 2008-03-31 2012-06-13 日立アプライアンス株式会社 スクロール圧縮機
JP4696153B2 (ja) * 2008-12-15 2011-06-08 日立アプライアンス株式会社 回転型圧縮機
FR2981739B1 (fr) * 2011-10-20 2018-03-02 Danfoss Commercial Compressors Compresseur frigorifique
FR2984424B1 (fr) * 2011-12-14 2018-06-01 Danfoss Commercial Compressors Compresseur frigorifique a spirales a vitesse variable
FR2984425B1 (fr) * 2011-12-14 2014-05-16 Danfoss Commercial Compressors Dispositif d’injection d’huile pour compresseur frigorifique a spirales a vitesse variable

Patent Citations (10)

* Cited by examiner, † Cited by third party
Publication number Priority date Publication date Assignee Title
JPH03258985A (ja) * 1990-03-07 1991-11-19 Hitachi Ltd スクロール圧縮機
JPH0417793A (ja) * 1990-05-02 1992-01-22 Daikin Ind Ltd スクロール形流体機械
JPH04276193A (ja) * 1991-03-01 1992-10-01 Daikin Ind Ltd スクロール形流体機械
JPH05172077A (ja) * 1991-12-24 1993-07-09 Hitachi Ltd 冷媒圧縮機
JP2000283070A (ja) * 1999-03-30 2000-10-10 Sanyo Electric Co Ltd スクロール圧縮機
JP2003239880A (ja) 2002-02-14 2003-08-27 Matsushita Electric Ind Co Ltd 密閉型スクロール圧縮機およびそれを用いた冷凍サイクルおよび冷凍装置
JP2005201145A (ja) * 2004-01-15 2005-07-28 Denso Corp スクロール型圧縮機
JP2006170500A (ja) 2004-12-14 2006-06-29 Mitsubishi Heavy Ind Ltd 空気調和装置およびその運転方法
JP2006336543A (ja) 2005-06-02 2006-12-14 Matsushita Electric Ind Co Ltd スクロール圧縮機
JP2007232230A (ja) 2006-02-27 2007-09-13 Mitsubishi Electric Corp 冷凍装置

Non-Patent Citations (1)

* Cited by examiner, † Cited by third party
Title
See also references of EP2703649A4 *

Cited By (9)

* Cited by examiner, † Cited by third party
Publication number Priority date Publication date Assignee Title
WO2015198647A1 (ja) * 2014-06-25 2015-12-30 株式会社日立産機システム 気体圧縮機
JPWO2015198647A1 (ja) * 2014-06-25 2017-04-20 株式会社日立産機システム 気体圧縮機
DE112017003912T5 (de) 2016-08-04 2019-05-09 Sanden Holdings Corporation Spiralverdichter
US10941769B2 (en) 2016-08-04 2021-03-09 Sanden Holdings Corporation Scroll compressor with back pressure control valve
DE112017003912B4 (de) 2016-08-04 2023-08-31 Sanden Corporation Spiralverdichter
JP2019167910A (ja) * 2018-03-26 2019-10-03 東芝キヤリア株式会社 冷凍サイクル装置
JP2023059309A (ja) * 2021-10-15 2023-04-27 住友金属鉱山株式会社 スラリーの流量制御装置、流量制御方法、および粗硫酸ニッケル水溶液の脱鉄設備、脱鉄方法
CN114110844A (zh) * 2021-11-22 2022-03-01 青岛海尔空调电子有限公司 压缩机系统、压缩机系统的控制方法及空调器
CN116294328A (zh) * 2023-02-23 2023-06-23 青岛海尔空调电子有限公司 用于冷水机组的控制方法、装置、冷水机组

Also Published As

Publication number Publication date
CN103492719B (zh) 2016-08-17
EP2703649B1 (en) 2016-12-07
EP2703649A1 (en) 2014-03-05
CN103492719A (zh) 2014-01-01
US9470230B2 (en) 2016-10-18
ES2613678T3 (es) 2017-05-25
EP2703649A4 (en) 2014-10-01
JP5695187B2 (ja) 2015-04-01
JPWO2012147145A1 (ja) 2014-07-28
US20140056727A1 (en) 2014-02-27

Similar Documents

Publication Publication Date Title
JP5695187B2 (ja) 冷媒圧縮機及びこれを用いた冷凍サイクル装置
US9897360B2 (en) Refrigeration apparatus
JP6302813B2 (ja) スクロール圧縮機及びこれを用いた冷凍サイクル装置
JP2001165073A (ja) スクロール圧縮機および空気調和機
JP6948531B2 (ja) インジェクション機能を備えた圧縮機
JPH02118362A (ja) 容量制御空調機
WO2010021137A1 (ja) 冷凍サイクル装置
JP6083173B2 (ja) 空気調和装置及びそれに用いられる圧縮機
JP6253278B2 (ja) 冷凍サイクル
JPWO2012114454A1 (ja) 冷凍サイクル装置
JP2012137207A (ja) 冷凍サイクル装置
JP6727420B2 (ja) 空気調和装置
WO2018096823A1 (ja) 非対称スクロール圧縮機
JP2012097645A (ja) 圧縮機
JP2011012633A (ja) スクロール圧縮機
JP6143862B2 (ja) スクロール圧縮機及びこれを用いた空気調和機
JPH1037868A (ja) スクロール圧縮機
US10436202B2 (en) Scroll compressor and refrigeration cycle apparatus
JP4013552B2 (ja) 密閉形圧縮機
JP2011027372A (ja) 冷凍サイクル装置及びヒートポンプ給湯機
JP7731484B1 (ja) スクロール圧縮機および冷凍サイクル装置
JP7606947B2 (ja) スクロール圧縮機及びこれを用いた冷凍サイクル装置
JP2013238191A (ja) 圧縮機
WO2015016018A1 (ja) ランキンサイクル装置
JP2025108148A (ja) 圧縮機および熱交換システム

Legal Events

Date Code Title Description
121 Ep: the epo has been informed by wipo that ep was designated in this application

Ref document number: 11864553

Country of ref document: EP

Kind code of ref document: A1

ENP Entry into the national phase

Ref document number: 2013511805

Country of ref document: JP

Kind code of ref document: A

REEP Request for entry into the european phase

Ref document number: 2011864553

Country of ref document: EP

WWE Wipo information: entry into national phase

Ref document number: 2011864553

Country of ref document: EP

NENP Non-entry into the national phase

Ref country code: DE

WWE Wipo information: entry into national phase

Ref document number: 14110613

Country of ref document: US