WO2012117750A1 - 建設機械の制御装置 - Google Patents

建設機械の制御装置 Download PDF

Info

Publication number
WO2012117750A1
WO2012117750A1 PCT/JP2012/050125 JP2012050125W WO2012117750A1 WO 2012117750 A1 WO2012117750 A1 WO 2012117750A1 JP 2012050125 W JP2012050125 W JP 2012050125W WO 2012117750 A1 WO2012117750 A1 WO 2012117750A1
Authority
WO
WIPO (PCT)
Prior art keywords
engine
output
rotational speed
assist
upper limit
Prior art date
Legal status (The legal status is an assumption and is not a legal conclusion. Google has not performed a legal analysis and makes no representation as to the accuracy of the status listed.)
Ceased
Application number
PCT/JP2012/050125
Other languages
English (en)
French (fr)
Japanese (ja)
Inventor
新士 石原
井村 進也
星野 雅俊
藤島 一雄
Current Assignee (The listed assignees may be inaccurate. Google has not performed a legal analysis and makes no representation or warranty as to the accuracy of the list.)
Hitachi Construction Machinery Co Ltd
Original Assignee
Hitachi Construction Machinery Co Ltd
Priority date (The priority date is an assumption and is not a legal conclusion. Google has not performed a legal analysis and makes no representation as to the accuracy of the date listed.)
Filing date
Publication date
Application filed by Hitachi Construction Machinery Co Ltd filed Critical Hitachi Construction Machinery Co Ltd
Priority to EP12751915.5A priority Critical patent/EP2682531B1/en
Priority to CN201280009588.6A priority patent/CN103384746B/zh
Priority to KR1020137021111A priority patent/KR101818285B1/ko
Priority to US13/985,118 priority patent/US8874327B2/en
Publication of WO2012117750A1 publication Critical patent/WO2012117750A1/ja
Anticipated expiration legal-status Critical
Ceased legal-status Critical Current

Links

Images

Classifications

    • EFIXED CONSTRUCTIONS
    • E02HYDRAULIC ENGINEERING; FOUNDATIONS; SOIL SHIFTING
    • E02FDREDGING; SOIL-SHIFTING
    • E02F9/00Component parts of dredgers or soil-shifting machines, not restricted to one of the kinds covered by groups E02F3/00 - E02F7/00
    • E02F9/20Drives; Control devices
    • E02F9/22Hydraulic or pneumatic drives
    • FMECHANICAL ENGINEERING; LIGHTING; HEATING; WEAPONS; BLASTING
    • F02COMBUSTION ENGINES; HOT-GAS OR COMBUSTION-PRODUCT ENGINE PLANTS
    • F02DCONTROLLING COMBUSTION ENGINES
    • F02D29/00Controlling engines, such controlling being peculiar to the devices driven thereby, the devices being other than parts or accessories essential to engine operation, e.g. controlling of engines by signals external thereto
    • F02D29/04Controlling engines, such controlling being peculiar to the devices driven thereby, the devices being other than parts or accessories essential to engine operation, e.g. controlling of engines by signals external thereto peculiar to engines driving pumps
    • EFIXED CONSTRUCTIONS
    • E02HYDRAULIC ENGINEERING; FOUNDATIONS; SOIL SHIFTING
    • E02FDREDGING; SOIL-SHIFTING
    • E02F9/00Component parts of dredgers or soil-shifting machines, not restricted to one of the kinds covered by groups E02F3/00 - E02F7/00
    • E02F9/20Drives; Control devices
    • EFIXED CONSTRUCTIONS
    • E02HYDRAULIC ENGINEERING; FOUNDATIONS; SOIL SHIFTING
    • E02FDREDGING; SOIL-SHIFTING
    • E02F9/00Component parts of dredgers or soil-shifting machines, not restricted to one of the kinds covered by groups E02F3/00 - E02F7/00
    • E02F9/20Drives; Control devices
    • E02F9/2058Electric or electro-mechanical or mechanical control devices of vehicle sub-units
    • E02F9/2062Control of propulsion units
    • E02F9/2066Control of propulsion units of the type combustion engines
    • EFIXED CONSTRUCTIONS
    • E02HYDRAULIC ENGINEERING; FOUNDATIONS; SOIL SHIFTING
    • E02FDREDGING; SOIL-SHIFTING
    • E02F9/00Component parts of dredgers or soil-shifting machines, not restricted to one of the kinds covered by groups E02F3/00 - E02F7/00
    • E02F9/20Drives; Control devices
    • E02F9/2058Electric or electro-mechanical or mechanical control devices of vehicle sub-units
    • E02F9/2062Control of propulsion units
    • E02F9/2075Control of propulsion units of the hybrid type
    • EFIXED CONSTRUCTIONS
    • E02HYDRAULIC ENGINEERING; FOUNDATIONS; SOIL SHIFTING
    • E02FDREDGING; SOIL-SHIFTING
    • E02F9/00Component parts of dredgers or soil-shifting machines, not restricted to one of the kinds covered by groups E02F3/00 - E02F7/00
    • E02F9/20Drives; Control devices
    • E02F9/22Hydraulic or pneumatic drives
    • E02F9/2221Control of flow rate; Load sensing arrangements
    • E02F9/2232Control of flow rate; Load sensing arrangements using one or more variable displacement pumps
    • E02F9/2235Control of flow rate; Load sensing arrangements using one or more variable displacement pumps including an electronic controller
    • EFIXED CONSTRUCTIONS
    • E02HYDRAULIC ENGINEERING; FOUNDATIONS; SOIL SHIFTING
    • E02FDREDGING; SOIL-SHIFTING
    • E02F9/00Component parts of dredgers or soil-shifting machines, not restricted to one of the kinds covered by groups E02F3/00 - E02F7/00
    • E02F9/20Drives; Control devices
    • E02F9/22Hydraulic or pneumatic drives
    • E02F9/2246Control of prime movers, e.g. depending on the hydraulic load of work tools

Definitions

  • the present invention relates to a hybrid construction machine including a hydraulic actuator such as a hydraulic excavator or a wheel loader, and more particularly to a control device thereof.
  • Construction machines such as hydraulic excavators driven by a hydraulic system often have a large engine that is selected for work at maximum load so that it can handle all work from light loads to heavy loads. .
  • the work that causes heavy loads in the entire work of the construction machine (for example, during heavy excavation work in which excavation and loading of earth and sand is frequently performed in a hydraulic excavator) is only a part.
  • the engine capacity is surplus at light load and medium load (for example, light excavation work that performs leveling work to level the ground in a hydraulic excavator), fuel consumption (hereinafter abbreviated as fuel consumption)
  • fuel consumption fuel consumption
  • a hybrid construction machine is known in which an engine is downsized to reduce fuel consumption, and an output shortage due to the downsizing of the engine is assisted by output from an electric motor / generator.
  • a determination unit that determines whether or not generation is necessary, and when the determination unit determines that generation of an assist output is unnecessary, a maximum torque line indicating a maximum absorption torque that can be absorbed by the hydraulic pump; If the first maximum torque line that increases the maximum absorption torque with the increase in the engine target speed is selected, and the determination means determines that the generation of the assist output is necessary, the maximum torque line is The second maximum torque line is selected in which the maximum absorption torque is larger in the engine low speed region than the first maximum torque line.
  • the above technology is examined from this viewpoint.
  • the maximum absorption torque of the hydraulic pump is uniquely determined according to the engine speed, and when assisting the engine with an electric motor / generator, the maximum absorption torque is set in the low speed range in other cases. The value is larger than. For this reason, when a large load is applied to the work device while the engine is operating in the low rotation speed region, naturally, a large load is also applied to the engine. Therefore, if engine torque assist by the motor / generator is insufficient or delayed, there may be a lag down in which the engine speed drops, or an engine stall may occur. The occurrence of lag down leads to deterioration of exhaust gas conditions such as generation of black smoke due to rapid fuel injection to return the engine speed to the target speed and fuel consumption. In addition, the change in engine sound accompanying the decrease in engine speed makes the operator uncomfortable.
  • the present invention has been made to solve such problems, and is a power-saving and fuel-efficient control device for a hybrid construction machine that suppresses transient assist output by an electric motor / generator when the engine is accelerated.
  • the purpose is to provide.
  • the present invention includes an engine, a variable displacement hydraulic pump driven by the engine, a hydraulic actuator driven by pressure oil discharged from the hydraulic pump, and the engine.
  • a construction machine comprising: an electric motor / generator for transmitting torque between the electric motor / electric generator; an electric storage means for supplying electric power to the electric motor / generator; and a pump capacity adjusting means for adjusting the capacity of the hydraulic pump based on an operation signal.
  • an actual rotational speed detecting means for detecting the actual rotational speed of the engine, a target rotational speed setting means for determining a target rotational speed of the engine, a load detecting means for detecting a load of the hydraulic pump, and the actual rotational speed Rotational speed deviation which is the difference between the actual rotational speed input from the rotational speed detection means and the target rotational speed input from the target rotational speed setting means, or the load detection
  • the means reduces the absorption torque upper limit value of the hydraulic pump from the calculated value when the rotation speed deviation is equal to or larger than a set value set according
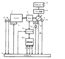
  • FIG. 1 is a schematic diagram of a hydraulic drive control device for a hybrid hydraulic excavator according to an embodiment of the present invention.
  • the control characteristic figure of the pump absorption torque by the regulator 14 which concerns on embodiment of this invention.
  • the schematic block diagram of the controller 8 in embodiment of this invention.
  • the schematic block diagram of the assist output calculating part 19 in embodiment of this invention.
  • the figure which shows the relationship between the setting value NC of rotation speed deviation and assist output in this Embodiment.
  • size of rotation speed deviation (DELTA) N An example of construction machine control when the load of the hydraulic pump 3 gradually becomes heavy and the assist output increases from the situation where the engine 1 is operating at the target rotational speed without the assist output.
  • the torque diagram corresponding to the time t2 in FIG. The torque diagram corresponding to the time t3 in FIG.
  • the torque diagram corresponding to the time t1 in FIG. The torque diagram corresponding to the time t2 in FIG.
  • the torque diagram corresponding to the time t3 in FIG. The figure which shows the relationship between the setting value NC of rotation speed deviation and the electrical storage amount of the electrical storage apparatus 10 in this Embodiment.
  • FIG. 1 is a schematic diagram of a hydraulic drive control device for a hybrid hydraulic excavator according to an embodiment of the present invention.
  • the hydraulic drive control device shown in this figure includes an engine 1, a governor 7 that adjusts the fuel injection amount of the engine 1, a rotation speed sensor (actual rotation speed detection means) 16 that detects the actual rotation speed of the engine 1, an engine 1, an engine torque sensor (engine torque detecting means) 31 for detecting the torque of 1, a variable displacement hydraulic pump 3 driven by the engine 1 (hereinafter simply referred to as “hydraulic pump 3”), and a hydraulic pump 3
  • a hydraulic actuator 5 driven by pressure oil discharged from the motor, a motor / generator 2 that is arranged on the drive shaft of the engine 1 and transmits torque to / from the engine 1, and power to the motor / generator 2 It is necessary to control the number of revolutions of the power storage device (power storage means) 10 to be supplied, the pump capacity adjustment device (pump capacity adjustment means) 45 for adjusting
  • the inverter (electric motor / generator control means) 9 for transferring power to and from the power storage device 10 and the governor 7 to adjust the fuel injection amount to control the engine speed and to control the inverter 9 for electric
  • a controller (control device) 8 that controls the torque of the generator 2 is provided.
  • the hydraulic drive control device shown in FIG. 1 first supplies the pressure oil discharged by the hydraulic pump 3 to a valve device 4 having a plurality of control valves, and the flow rate, direction, and pressure of the pressure oil are appropriately changed by the valve device 4.
  • the drive of each hydraulic actuator 5 is controlled by supplying each hydraulic actuator 5 later.
  • the hydraulic actuator 5 installed in the hydraulic excavator according to the present embodiment includes a hydraulic cylinder (boom cylinder, arm cylinder, and bucket cylinder) for driving an articulated front working device attached in front of the upper swing body. Etc.), a hydraulic motor (swing motor) for turning the upper turning body, a hydraulic motor (traveling motor) for running the lower traveling body attached to the lower part of the upper turning body, etc. These are collectively referred to as a hydraulic actuator 5.
  • the engine 1 is regulated by controlling the fuel injection amount by the governor 7.
  • the hydraulic pump 3 includes a discharge pressure sensor that measures the pressure of the pressure oil discharged from the hydraulic pump 3 as means (pump information detection means 21) for detecting information necessary for calculating the load of the hydraulic pump 3.
  • a flow meter for measuring the flow rate of the pressure oil and a tilt angle sensor for measuring the tilt angle of the hydraulic pump 3 are installed.
  • the discharge pressure sensor, the flow meter, and the tilt angle sensor are provided in the controller 8.
  • the detected sensor value is output.
  • a pump load calculation unit 26 (described later) in the controller 8 calculates the load of the hydraulic pump 3 based on each sensor value input from the pump information detection means 21.
  • the pump capacity adjusting device 45 adjusts the capacity of the hydraulic pump 3 based on an operation signal output from the controller 8 and includes a regulator 14 and an electromagnetic proportional valve 15.
  • the regulator 14 is provided in the hydraulic pump 3, and when the tilt angle of the swash plate or the oblique shaft of the hydraulic pump 3 is operated by the regulator 14, the capacity (displacement volume) of the hydraulic pump 3 is changed and absorption of the hydraulic pump 3 is performed. Torque (input torque) can be controlled (pump absorption torque control).
  • the regulator 14 in this embodiment is controlled by the control pressure generated by the electromagnetic proportional valve 15.
  • the electromagnetic proportional valve 15 operates based on a command value output from an operation signal generation unit 24 (described later) in the controller 8.
  • the regulator 14 controls the capacity of the hydraulic pump 3 according to the control characteristic diagram shown in FIG. FIG. 2 is a control characteristic diagram of pump absorption torque by the regulator 14 according to the embodiment of the present invention.
  • a broken line 2A shown in this figure indicates the characteristic of the capacity of the hydraulic pump 3 set with respect to the discharge pressure of the hydraulic pump 3, and the maximum value of the total output of the engine 1 and the motor / generator 2 (in FIG. 2).
  • the torque (product of pump capacity and pump discharge pressure) of the hydraulic pump 3 is set to be substantially constant within a range not exceeding the hyperbola (constant torque diagram) indicated by the broken line.
  • the torque of the hydraulic pump 3 is controlled so as not to exceed the maximum output by the engine 1 and the motor / generator 2. it can.
  • the pump discharge pressure is P1 or less
  • the pump absorption torque control is not performed, and the pump capacity is determined by the operation amount of the operation lever for operating each control valve of the valve device 4 (for example, any one of the operation levers) Q1 when the operation amount is maximum).
  • the pump discharge pressure becomes P1 to P2
  • pump absorption torque control is performed by the regulator 14, and the pump tilt angle is adjusted by the regulator 14 so that the pump capacity decreases along the broken line 2A as the pump discharge pressure increases. Is operated.
  • the pump absorption torque is controlled to be equal to or less than the torque defined by the broken line 2A.
  • P2 is the maximum value of the pump discharge pressure, which is equal to the set pressure of the relief valve connected to the circuit on the hydraulic pump 3 side in the valve device 2, and the pump discharge pressure does not increase above this value.
  • a polygonal line 2A that combines two straight lines is used as a control characteristic diagram of the absorption torque of the hydraulic pump, but other values can be set as long as they do not exceed the constant torque diagram (hyperbola) in FIG.
  • a control characteristic diagram may be used.
  • the controller 8 outputs an operation signal (electrical signal) generated based on the absorption torque of the hydraulic pump 3 to the electromagnetic proportional valve 15, and the electromagnetic proportional valve 15 generates a control pressure corresponding to the operation signal to thereby generate a regulator 14. Drive.
  • the capacity of the hydraulic pump 3 is changed by the regulator 14, and the absorption torque of the hydraulic pump 3 is adjusted to a range in which engine stall does not occur.
  • the power storage device 10 constituted by a battery, a capacitor, or the like includes a current sensor 11, a voltage sensor 12, and a temperature as means (power storage information detection means 22) for detecting information necessary for calculating the amount of power stored in the power storage device 10.
  • a sensor 13 is attached. Based on information such as current, voltage, and temperature detected by these sensors 11, 12, and 13, the controller 8 calculates the amount of power stored in the power storage device 10 in a power storage amount calculation unit 25 (described later). Manage the amount.
  • FIG. 3 is a schematic configuration diagram of the controller 8 according to the embodiment of the present invention.
  • the controller 8 shown in this figure calculates the command values for the engine 1, the motor / generator 2 and the hydraulic pump 3, and includes a target rotational speed setting unit (target rotational speed setting means) 17 and an engine maximum output.
  • the controller 8 includes an engine actual speed detected by a speed sensor (actual speed detecting means) 16, an engine torque detected by an engine torque sensor (engine torque detecting means) 31, and a storage information detecting means 22.
  • the detected power storage information current, voltage and temperature of the power storage device 10
  • the pump information detected by the pump information detection means 21 pressure and pressure of hydraulic oil and the tilt angle of the hydraulic pump 3
  • the hydraulic excavator A target engine speed input from a target speed input device 29 (for example, an engine control dial) installed in the cab (cab) and to which a desired target engine speed is input by an operator is input.
  • a target speed input device 29 for example, an engine control dial
  • the power storage amount calculation unit 25 is a portion that calculates the power storage amount of the power storage device 10 based on the power storage information input from the current sensor 11, the voltage sensor 12, and the temperature sensor 13 (power storage information detection means 22).
  • a storage amount detection unit 27 is configured together with the means 22.
  • the storage amount calculated by the storage amount calculation unit 25 is output to the assist output calculation unit 19 and the absorption torque upper limit calculation unit 22.
  • the pump load calculation unit 26 is a part that calculates the load of the hydraulic pump 3 based on the pump information input from the discharge pressure sensor, the flow meter, and the tilt angle sensor (pump information detection means 21). 21 constitutes a pump load detection unit 28.
  • the pump load calculated by the pump load calculation unit 26 is output to the assist output calculation unit 19.
  • the engine output calculation unit 32 is a part that calculates the actual output of the engine 1 based on the engine torque input from the engine torque sensor 31.
  • the engine output detection unit (engine output detection means) 20 is operated together with the engine torque sensor 31. It is composed.
  • the output calculated by the engine output calculation unit 32 is output to the assist output calculation unit 19.
  • the target rotational speed setting unit 17 is a part that determines the target rotational speed of the engine 1 so that an engine output corresponding to the load of the hydraulic pump 3 (the load state of the hydraulic actuator 5) calculated by the pump load calculating unit 26 is secured.
  • the target rotational speed is determined in preference to the target rotational speed input from the target rotational speed input device 29. At this time, from the viewpoint of reducing the fuel consumption in the engine 1, it is preferable to set the operating point at which the fuel consumption relative to the required output of the engine 1 is the minimum as the target rotational speed command value of the engine 1.
  • the target rotational speed determined by the target rotational speed setting unit 17 is output to the absorption torque upper limit calculation unit 23 and the operation signal generation unit 24.
  • the target rotational speed is output to the assist output calculation unit 19 as a deviation from the actual rotational speed detected by the rotational speed sensor 16.
  • the target rotational speed determined here is also used for control of the generator / motor 2, but once the engine 1 and the motor / generator 2 are connected via a speed reducer, etc.
  • a value obtained by multiplying the target rotational speed by the reduction ratio of the reduction gear may be separately defined and used as the target rotational speed.
  • the engine maximum output calculation unit 18 is based on the actual engine speed input from the engine speed sensor 16 and a table set in accordance with engine characteristics and stored in a storage device (ROM or the like). Thus, the maximum output that the engine 1 can output is calculated. The maximum output calculated by the engine maximum output calculation unit 18 is output to the assist output calculation unit 19.
  • the assist output calculation unit 19 performs both acceleration assist for quickly accelerating the engine 1 to the target rotational speed determined by the target rotational speed setting unit 17 and power assist for compensating for an insufficient output of the engine alone. This is a part for calculating a motor torque command value (assist output command value) to be output by the motor / generator 2 in order to realize the above.
  • the assist output calculation unit 19 is a rotation speed deviation ⁇ N that is a difference between the actual rotation speed input from the rotation speed sensor 16 and the target rotation speed input from the target rotation speed setting section 17, or a pump Based on the load of the hydraulic pump 3 input from the load detector 28, the assist output (engine assist output) generated by the motor / generator 2 is calculated.
  • FIG. 4 is a schematic configuration diagram of the assist output calculation unit 19 in the embodiment of the present invention.
  • the assist output calculation unit 19 shown in this figure includes an acceleration assist calculation unit 41, a power assist calculation unit 42, and an output determination unit 43.
  • the acceleration assist calculation unit 41 assists the output of the motor / generator 2 (acceleration assist output) when assisting the output of the engine 1 in order to quickly accelerate the actual rotational speed of the engine 1 to the target rotational speed (during acceleration assist). ), And the acceleration assist calculation unit 41 is input with a rotation speed deviation ⁇ N that is the difference between the target rotation speed of the engine 1 and the actual rotation speed.
  • the assist output is calculated based on the rotational speed deviation ⁇ N that is the difference between the target rotational speed of the engine 1 and the actual rotational speed, and becomes smaller as the rotational speed deviation ⁇ N approaches zero.
  • the power assist calculation unit 42 assists the motor / generator 2 when the assist by the motor / generator 2 is necessary because the output is insufficient only by the output of the engine 1 (during power assist) (power assist output).
  • the rotational speed deviation ⁇ N, the maximum engine output, the engine output, and the pump load are input.
  • the assist output is based on the difference between the load of the hydraulic pump 3 input from the pump load calculation unit 26 and the engine output input from the engine output calculation unit 32 (engine output detection unit 20). Is calculated. In this calculation, referring to the engine maximum output input from the engine maximum output calculation unit 18, the minimum value of the power assist output that can be required at the actual rotational speed of the engine 1 at that time can be calculated.
  • the power assist calculation unit 42 preferably calculates an assist output using feedforward input or integral control. .
  • the difference in output is calculated as an assist output to be generated by the motor / generator 2.
  • the output determination unit 43 is a part that adds the assist outputs calculated by the acceleration assist calculation unit 41 and the power assist calculation unit 42 and generates a motor torque command value corresponding to the assist output after the addition. 43, the sum of the assist outputs calculated by the acceleration assist calculation unit 41 and the power assist calculation unit 42 and the storage amount of the power storage device 10 are input.
  • the output determination unit 43 when the storage amount of the power storage device 10 input from the storage amount calculation unit 25 is small and cannot generate the assist output calculated by the assist calculation units 41 and 42, the motor / generator 2 The assist output amount is limited, and the motor torque command value corresponding to the limited assist output is calculated.
  • the motor / generator 2 has a function of calculating a motor torque command value for generating power.
  • the assist output calculation unit 19 calculates the assist output from the motor / generator 2 based on the engine maximum output input from the engine maximum output calculation unit 18 and the engine output input from the engine output detection unit 20. You may do it. In this way, the assist output by the motor / generator can be determined based on the current output of the engine 1 and the maximum output of the engine 1 at the number of rotations thereof. It is possible to avoid wasteful consumption of the power storage amount of the power storage device 10 without performing the assist by the motor / generator 2. In addition, when the engine output reaches the maximum value, the assist is performed immediately, so that the engine stall can be avoided as well as following the engine speed to the target speed with good response. it can.
  • the absorption torque upper limit calculation unit 23 is a part that calculates the upper limit value (maximum value) of the absorption torque (input torque) of the hydraulic pump 3, and the absorption torque upper limit value calculated here is used as the operation signal generation unit. 24 is output.
  • the absorption torque upper limit calculation unit 33 in the present embodiment normally calculates the pump absorption torque upper limit value according to the control characteristic diagram shown in FIG. However, when the rotational speed deviation ⁇ N is equal to or greater than a set value (hereinafter sometimes referred to as “set value NC”), a value obtained by further reducing the predetermined absorption torque from the value calculated based on the control characteristic diagram of FIG. Is calculated as the pump absorption torque upper limit value.
  • set value NC a set value obtained by further reducing the predetermined absorption torque from the value calculated based on the control characteristic diagram of FIG.
  • FIG. 5 is a diagram showing a relationship between the set value NC of the rotational speed deviation and the assist output in the present embodiment.
  • the set value NC is set according to the magnitude of the assist output calculated by the assist output calculation unit 19. More specifically, the set value NC shown in this figure takes the maximum value NCmax when the assist output PM is zero, and takes the minimum value NCmin when the assist output PM is maximum. The assist output is set so as to decrease as the assist output increases.
  • pump absorption torque control performed by the absorption torque upper limit calculation unit 23 when the rotation speed deviation ⁇ N is equal to or larger than the set value NC will be described with reference to the drawings.
  • FIG. 6 is an example of a change in the control characteristic diagram of the pump absorption torque by the regulator 14 when the rotation deviation ⁇ N is equal to or larger than the set value NC.
  • the assist output is constant and the set value NC is a constant value
  • the rotational speed deviation ⁇ N changes from a value less than the set value NC to a value greater than the set value NC.
  • the polygonal line 7A in the figure corresponds to the polygonal line 2A in FIG.
  • the absorption torque upper limit calculation unit 23 forms a broken line according to the magnitude of the deviation between the rotational speed deviation ⁇ N and the set value NC.
  • the pump absorption torque upper limit value is reduced so as to transition from 7A to 7B and further from 7B to 7C. If the pump absorption torque upper limit value is reduced in this way, the pump absorption torque can be reduced in accordance with the magnitude of the rotational speed deviation ⁇ N, so that the engine 1 or the motor / generator is adapted to the magnitude of the rotational speed deviation ⁇ N. 2 can be reduced.
  • the control characteristic (broken line) may be changed stepwise (for example, three steps 7A, 7B, and 7C shown in FIG. 7) according to the magnitude of the deviation between the rotational speed deviation ⁇ N and the set value NC. Then, the transition may be made gradually from the broken line 7A to the broken line 7C according to the magnitude of the deviation between the rotational speed deviation ⁇ N and the set value NC. If the latter control characteristic is used, since it is possible to suppress the pump absorption torque upper limit from changing suddenly, it is possible to suppress the deterioration of the operability of the front work device compared to the former case. In addition, since the parameter for changing the line of control characteristics can be defined by a function, it is not necessary to prepare many data tables in advance as in the former case. Next, a case where the transition is made gradually from the broken line 7A to the broken line 7C in accordance with the magnitude of the deviation between the rotational speed deviation ⁇ N and the set value NC will be described with reference to the drawings.
  • FIG. 7 is a diagram showing an example of a change in the characteristic diagram of the pump absorption torque upper limit value when the assist output changes in magnitude (that is, when the set value NC changes).
  • the reference characteristic diagram which is translated in the horizontal direction (horizontal axis direction) according to the size of the assist output, will be described as a characteristic diagram for each assist output value (in this case, the increase in assist output)
  • the characteristic diagram translates to the left as indicated by the arrow in the figure).
  • the rotational speed deviation ⁇ N is equal to or less than the set value NC1
  • the target value of the engine 1 is not reduced without reducing the pump absorption torque upper limit value, that is, without performing torque reduction control on the absorption torque of the hydraulic pump 3.
  • Control using the pump absorption torque upper limit 5a corresponding to the rotational speed is performed (that is, absorption torque control is performed on the broken line 7A in FIG. 6).
  • absorption torque control is performed on the broken line 7A in FIG. 6).
  • the rotational speed deviation ⁇ N exceeds the set value NC1
  • the amount of torque reduction increases according to the rotational speed deviation ⁇ N (that is, the broken line in FIG. 6 moves from 7A to 7C).
  • the pump absorption torque upper limit value gradually decreases from the upper limit value 5a toward the lower limit value 5b as the rotational speed deviation ⁇ N increases.
  • the reduction amount of the pump absorption torque upper limit value is increased in accordance with the magnitude of the rotational speed deviation ⁇ N, the load on the engine 1 or the motor / generator 2 caused by the hydraulic pump load is increased to the magnitude of the rotational speed deviation ⁇ N. It can be made smaller.
  • the pump absorption torque upper limit value is stopped to decrease.
  • 5b is the minimum value of the pump absorption torque upper limit value, and the lowering is stopped at this value.
  • the minimum value of the pump absorption torque upper limit value is at least necessary in the operation of the front work device from the viewpoint of avoiding the situation where the front work device does not operate at all in response to the operation of the operation lever by the operator. It is preferable to set a pump absorption torque value.
  • the minimum value is set as high as possible to the pump absorption torque upper limit value to ensure the quick operation of the front work device, and the output of the engine 1 and the motor / generator 2 and the amount of power stored in the power storage device 10. It is preferable to be able to change sequentially according to the size. That is, the minimum value is preferably increased in accordance with the surplus output of the engine 1 and the motor / generator 2, and is preferably increased in accordance with the amount of power stored in the power storage device 10.
  • the load on the engine 1 increases due to an increase in the load on the front working device from the state where the characteristic diagram of the pump absorption torque upper limit value of 5A is used, and electric power is supplied to supplement the output of the engine 1. This corresponds to the case where the assist output by the generator 2 reaches the maximum.
  • the pump absorption torque upper limit starts to decrease from the time when the rotational speed deviation ⁇ N reaches the set value NCmin. Therefore, the pump absorption torque upper limit starts to be lower than in the case of 5A (NC1). The value becomes smaller. As a result, it is possible to prevent an overload situation in which the engine speed drops even though the assist by the motor / generator 2 is performed in a state where the engine output is close to the maximum.
  • the load on the engine 1 is reduced by reducing the load on the front work device from the state where the characteristic chart of the pump absorption torque upper limit value of 5A is used, and the assist output by the motor / generator 2 is output. This corresponds to when it is no longer needed.
  • the pump absorption torque upper limit starts to decrease from the time when the rotational speed deviation ⁇ N reaches the set value NCmax. Therefore, the pump absorption torque upper limit starts to be lower than in the case of 5A (NC1). The value increases.
  • the characteristic diagram is 5C
  • the assist output by the motor / generator 2 is not generated, so the load of the hydraulic pump 3 is less than the maximum output of the engine 1. Therefore, the rotational speed deviation ⁇ N generated in this state is likely to be eliminated by the output of the engine alone or the assist output by the motor / generator 2. In this case, since it is not necessary to limit the pump absorption torque upper limit value, it is possible to maintain good operability of the front working device.
  • the rotation speed deviation ⁇ N is larger (in the case of NCc or more) than in the state such as 5A or 5B. .
  • Such a large rotational speed deviation ⁇ N may be caused by a sudden increase in the pump load. Therefore, there is a concern that a general hydraulic excavator may cause a lag down.
  • the assist output calculated by the assist output calculation unit 19 increases prior to the increase in the rotational speed deviation ⁇ N, so that the characteristic diagram gradually increases from 5C to 5A. It will be changed. Therefore, the lag down does not occur greatly.
  • the absorption torque upper limit calculation unit 23 uses the pump absorption torque upper limit value (hereinafter, referred to as “reference absorption torque upper limit value”) set using FIG.
  • reference absorption torque upper limit value the pump absorption torque upper limit value set using FIG.
  • the rotation speed deviation ⁇ N value is used as an input value with respect to the reference absorption torque upper limit value.
  • a table that returns an allowable rate x (0 ⁇ x ⁇ 1) is set, and a value obtained by multiplying the allowable rate set by the table by the absorption torque upper limit value as a reference is used as an actual pump absorption torque upper limit value. Also good.
  • FIG. 8 is an example of a table diagram for setting the allowable rate of the pump absorption torque upper limit value in accordance with the magnitude of the rotational speed deviation ⁇ N.
  • the allowable rate is calculated based on the characteristic diagram shown in 6B.
  • the allowable rate is calculated based on the characteristic diagram shown in 6A. Is calculated.
  • FIG. 7 and 8 illustrate only the case where the pump absorption torque upper limit value linearly changes with respect to the rotational speed deviation ⁇ N, but the characteristic diagrams that can be used in the present embodiment are not limited thereto.
  • the switching of 5A, 5B, and 5C in FIG. 7 is not limited to the switching linearly by the assist output, and hysteresis may be provided for the switching.
  • the maximum value 5a and the minimum value 5b in the pump absorption torque upper limit value shown in FIG. 7 are not limited to the case of changing based on the engine target rotational speed as described above. For example, the actual rotational speed of the engine 1 is constructed. You may change with the driving
  • the operation signal generation unit 24 adjusts the capacity of the hydraulic pump 3 (pump absorption torque upper limit value) based on the value calculated by the absorption torque upper limit calculation unit 23.
  • the operation signal (proportional valve output command value) to be output to the valve 15) is generated.
  • the operation signal generated here is output to the electromagnetic proportional valve 15.
  • the electromagnetic proportional valve 15 that has received the input of the operation signal generated by the operation signal generator 24 generates a control pressure corresponding to the transmission signal, and operates the regulator 14 according to the magnitude of the control pressure.
  • the capacity of the hydraulic pump 3 is changed by the regulator 14 operating in this way, and the upper limit value of the absorption torque of the hydraulic pump 3 is controlled to the value calculated by the absorption torque upper limit calculation unit 23.
  • the example of control of the construction machine in the case is shown.
  • the change in the set value NC based on the change in the assist output is indicated by a one-dot chain line together with the change in the rotational speed deviation ⁇ N.
  • the engine 1 alone cannot eliminate the rotational speed deviation ⁇ N, and the generation of the assist output by the motor / generator 2 is started.
  • the set value NC of the rotational speed deviation ⁇ N gradually decreases from NCmax as the assist output increases (that is, the characteristic diagram of FIG. 7 is parallel to the left from the state of 5C.
  • the upper limit value of the pump absorption torque is not limited.
  • the rotational speed deviation ⁇ N reaches the set value NC that decreases as the assist output increases. This is done to generate a reduced torque amount.
  • the rotational speed deviation ⁇ N is always greater than or equal to the set value NC, and the pump absorption torque upper limit value is limited according to the deviation between the rotational speed deviation ⁇ N and the set value NC.
  • FIG. 10 shows the construction machine when the engine speed and the assist output are maximum and the engine 1 is operating at the target rotational speed, and the load of the hydraulic pump 3 gradually becomes heavy and the rotational speed deviation ⁇ N increases.
  • An example of control is shown.
  • the assist output is the maximum PMmax
  • the set value NC of the rotational speed deviation is held at NCmin (that is, a value close to zero).
  • the engine and the assist output are maximum and the load of the hydraulic pump 3 is balanced.
  • the set value NC of the rotational speed deviation is held at a value close to zero (NCmin), but since the rotational speed deviation ⁇ N does not occur, the pump absorption torque upper limit value is not limited.
  • the period (b) 2 starts and the load of the hydraulic pump 3 starts to increase, the engine 1 and the motor / generator 2 have already reached the maximum output. ⁇ N begins to increase. As a result, the rotational speed deviation ⁇ N exceeds the set value NCmin, so that the pump absorption torque upper limit value is limited and a reduced torque amount is generated.
  • FIG. 11 shows one example of control of the construction machine when the load of the hydraulic pump 3 increases rapidly in a situation where the actual rotational speed of the engine 1 is operating at a constant target rotational speed N *. .
  • the assist output calculation unit 19 performs the motor torque command value from an operating point with a small rotation speed deviation ⁇ N according to the calculation of the power assist calculation unit 42 using the feedforward input in order to cope with a sudden increase in pump load.
  • the maximum assist output PMmax is calculated, and the motor / generator 2 generates the maximum assist output PMmax as shown by a graph C in FIG.
  • the maximum assist output is generated in this way, the set value of the rotational speed deviation is set to the minimum value NCmin, but the generated rotational speed deviation ⁇ N is small. Therefore, the pump absorption torque around time t1 when the load is applied to the hydraulic pump 3 is not so limited with respect to the target pump absorption torque (target pump load) as shown in the graph D in FIG. Absent.
  • the engine 1 when the engine 1 operates at a constant target rotational speed N * and the motor / generator 2 generates a sufficient assist output, when the pump load increases and the rotational speed deviation ⁇ N occurs, By limiting the pump absorption torque upper limit value, the engine 1 can be returned to the target rotational speed N * without further increasing the assist output. This also reduces lag down. Furthermore, when the increase in the pump load can be covered by the assist output from the motor / generator 2, the engine speed does not drop, so the upper limit of the pump absorption torque is not limited, and the operability of the front work device is reduced. There is no loss.
  • FIG. 12 is a torque diagram corresponding to each time t1, t2, t3 in FIG. Next, the behavior of the torque of the engine 1, the motor / generator 2, and the hydraulic pump 3 at each time t1 to t3 will be described with reference to FIG.
  • FIG. 12A is a torque diagram corresponding to time t1 in FIG.
  • the line indicated by reference numeral 10a in FIG. 12A is the reference absorption torque upper limit value set using FIG. 2, and the line indicated by reference numeral 10b indicates the maximum torque characteristic of the engine 1 at each rotational speed.
  • the actual engine speed N1 of the engine 1 matches the target engine speed N * and there is no engine speed deviation ⁇ N, but the power assist calculation unit 42 feeds forward output as the load of the hydraulic pump 3 increases.
  • the maximum torque is calculated as follows, and the motor / generator 2 executes the engine assist 10e with the maximum torque. As a result, the assist output becomes the maximum value PMmax, and the set value of the rotational speed deviation is set to the minimum value NCmin.
  • the limiting characteristic of the pump absorption torque upper limit value corresponds to 5B in FIG.
  • the rotational speed deviation ⁇ N that occurs thereafter is small, the amount of torque reduction of the hydraulic pump 3 becomes small. Therefore, the absorption torque of the hydraulic pump 3 is controlled so as to have an upper limit 10c that is substantially equivalent to the specified maximum absorption torque line 10a. At this time, a slight lag-down occurs due to a shortage 10d of the torque sum (total torque) of the engine 1 and the motor / generator 2.
  • FIG. 12B is a torque diagram corresponding to time t2 in FIG.
  • the rotational speed deviation ⁇ N (deviation between the actual rotational speed N2 and the target rotational speed N *) is greater than immediately after the time t1.
  • the assist torque 10f is the same as that in FIG. 12A.
  • the pump absorption torque upper limit value is further limited by the increase in the rotational speed deviation ⁇ N.
  • the absorption torque of the hydraulic pump 3 becomes an absorption torque line 10g that is limited with respect to the specified maximum absorption torque line 10a.
  • the torque sum of the engine 1 and the motor / generator 2 is the same. Produces a surplus of 10 h for the pump load. Since the engine 1 can be accelerated to the target rotational speed N * by the surplus torque 10h, the actual rotational speed of the engine 1 can be increased without generating a transient large assist output.
  • FIG. 12C is a torque diagram corresponding to time t3 in FIG.
  • the rotational speed deviation ⁇ N is eliminated by the surplus torque 10h, and the actual rotational speed N3 and the target rotational speed N * coincide.
  • the upper limit of the absorption torque of the hydraulic pump 3 is not limited, and the maximum absorption torque line 10a of the hydraulic pump 3 is used as it is.
  • the pump torque of 10a exceeds the maximum torque of the engine 1 from the viewpoint of improving fuel efficiency. Therefore, for the insufficient torque, the value calculated as the power assist amount 10 i by the assist output calculation unit 19 is output by the motor / generator 2. Since the torque of engine 1 is the maximum torque at time t3, power assist amount 10i is smaller than power assist amount 10e at time t1. At time t3, since the load limitation of the hydraulic pump 3 is not performed, sufficient operability can be secured in this region.
  • the motor / generator 2 itself can be a small one with low output. Furthermore, the fact that the electric power consumption by the motor / generator 2 is small means that, when a capacitor is used as the power storage device 10, an improvement in efficiency is realized by reducing charge / discharge. In addition, even when a battery is used for the power storage device 10, the amount of discharge can be reduced, so that the power storage device 10 can be downsized.
  • the rotational speed deviation ⁇ N increases, and normally in a situation where there is a possibility of lag down, the assist output is reduced.
  • the upper limit of the pump absorption torque is limited.
  • the engine speed can be quickly returned to the target speed, so that a state in which a high load is applied to the engine 1 can be reduced, and the occurrence of lag down can be suppressed.
  • the pump absorption torque upper limit value is limited, and the situation where the engine 1 is overloaded can be prevented, so that the exhaust gas situation can be improved and the fuel consumption can be reduced.
  • FIG. 13 shows one example of control of the construction machine when the target rotational speed of the engine 1 is suddenly increased to cope with the sudden increase in the load of the hydraulic pump 3.
  • the target rotational speed setting unit 17 quickly raises the target rotational speed as shown by a graph C in FIG. 13 to increase the engine output in order to cope with a rapid increase in pump load. That is, the rotational speed deviation ⁇ N temporarily increases.
  • the assist output calculation unit 19 calculates the maximum assist output PMmax as the motor torque command value in order to eliminate the generated rotation speed deviation ⁇ N, and the motor / generator 2 is as shown by a graph C in FIG. The maximum assist output PMmax is generated.
  • the set value of the rotational speed deviation is set to the minimum value NCmin.
  • the absorption torque upper limit calculation unit 23 takes a large amount of torque reduction.
  • the pump absorption torque upper limit value is greatly reduced, and the pump load is greatly limited with respect to the target as shown by a graph D in FIG.
  • the rotational speed deviation ⁇ N decreases as the actual rotational speed of the engine 1 approaches the target rotational speed
  • the assist output by the motor / generator 2 gradually decreases.
  • the characteristic diagram of the pump absorption torque gradually changes from the state of 5B in FIG. 7 to 5A and further to 5C, so that the limit of the pump absorption torque upper limit value is released as the rotational speed deviation ⁇ N decreases.
  • the operability of the front working device can be maintained constantly.
  • FIG. 14 is a torque diagram corresponding to each time t1, t2, t3 in FIG. Next, the behavior of the torque of the engine 1, the motor / generator 2, and the hydraulic pump 3 at each time t1 to t3 will be described with reference to FIG.
  • FIG. 14A is a torque diagram corresponding to time t1 in FIG.
  • the line indicated by the reference numeral 12a in FIG. 14A is the reference absorption torque upper limit value set using FIG. 2, and the line indicated by the reference numeral 12b indicates the characteristic of the maximum torque of the engine 1 at each rotational speed.
  • the assist output becomes the maximum value PMmax, and the set value of the rotational speed deviation is set to the minimum value NCmin. Therefore, the limiting characteristic of the pump absorption torque upper limit value corresponds to 5B in FIG.
  • the absorption torque of the hydraulic pump 3 is largely limited from the prescribed maximum absorption torque line 12a, and as a result, is controlled by the pump absorption torque upper limit value indicated by the line labeled 12c. For this reason, since the surplus 12d of the torque sum of the engine 1 and the motor / generator 2 is used as an acceleration for increasing the engine speed, the engine speed can be quickly raised. Moreover, since it can prevent that the excessive load is applied to the engine 1, it can avoid that a lag down generate
  • FIG. 14B is a torque diagram corresponding to time t2 in FIG. Since the rotational speed deviation ⁇ N (deviation between the actual rotational speed N2 and the target rotational speed N *) is smaller than the time t1, the engine assist by the motor / generator 2 is smaller than that in FIG. 14A. Therefore, the limiting characteristic of the pump absorption torque upper limit value is from the state 5B in FIG. 7 to the state 5A, and the pump absorption torque is limited according to the rotational speed deviation ⁇ N at this time. Thereby, the absorption torque of the hydraulic pump 3 is controlled by the pump absorption torque upper limit value indicated by the line with the reference numeral 12e that is less restrictive than in FIG. 14A. Thereby, similarly to the time t1, the engine speed can be accelerated by the surplus portion 12f of the torque sum of the engine 1 and the motor / generator 2.
  • FIG. 14C is a torque diagram corresponding to time t3 in FIG.
  • the upper limit of the absorption torque of the hydraulic pump 3 is not limited, and the maximum absorption torque line 12a of the hydraulic pump 3 is used as it is.
  • the pump torque of 12a exceeds the maximum torque of the engine 1 from the viewpoint of improving fuel efficiency. Therefore, for the insufficient torque, the value calculated as the power assist amount 12 g by the assist output calculation unit 19 is output by the motor / generator 2.
  • the load limitation of the hydraulic pump 3 is not performed, sufficient operability can be secured in this region.
  • the acceleration assist by the motor / generator 2 can be reduced by reducing the pump absorption torque upper limit value during acceleration.
  • the enlargement of the machine 2 and the power storage device 10 can be suppressed.
  • the actual engine speed of the engine 1 can be quickly increased to the target engine speed, the engine 1 can be avoided from being overloaded, and high-concentration combustion can be suppressed and exhaust gas can be improved. It is done.
  • efficiency can be improved by reducing charge / discharge, so that power saving can be realized.
  • the pump load is temporarily reduced temporarily when the load suddenly increases, there is a concern that the responsiveness to the operation of the front working device may be lost at that time.
  • the load of a construction machine suddenly increases because the operation of the front work device does not move quickly, such as the start of excavation, so there are few actual situations where the operability deteriorates. Therefore, according to the present embodiment, the operability of the front working device can be ensured.
  • the setting value NC of the rotational speed deviation is set in association with the magnitude of the assist output
  • the setting value NC may be set in association with the magnitude of the power storage amount of the power storage device 10.
  • both the amount of stored electricity and the assist output may be set in association with each other.
  • FIG. 15 is a diagram showing the relationship between the rotational speed deviation setting value NC and the amount of power stored in the power storage device 10 in the present embodiment.
  • the set value NC shown in this figure takes a minimum value of zero when the storage amount AH is zero, takes a maximum value NCmax when the storage amount AH is the maximum AMmax, and decreases as the storage amount of the storage device 10 decreases. It is set to be.
  • FIG. 16 is a diagram illustrating an example of a change in the characteristic diagram of the pump absorption torque upper limit when the amount of power stored in the power storage device 10 changes (that is, when the set value NC changes).
  • a reference characteristic diagram that is translated in the horizontal direction (horizontal axis direction) in accordance with the amount of storage will be described as a characteristic diagram for each amount of storage (in this case, the characteristics are matched to the increase in the amount of storage)
  • the figure translates to the right as indicated by the arrows in the figure).
  • the set value NC may be set to be smaller as the power generation amount is larger. That is, the larger the power generation amount, the closer to the characteristic diagram of 15B.
  • a characteristic diagram of 15B is used when power generation is performed by the motor / generator 2, and the target rotational speed of the engine 1 at this time is a high-speed region in which high-efficiency power generation by the motor / generator 2 is possible.
  • the rotational speed deviation ⁇ N temporarily occurs until the target rotational speed is reached.
  • the output determination unit 43 of the assist output calculation unit 19 slightly accelerates the motor torque command without setting the motor torque command until the engine speed rises sufficiently. It is preferable to perform the assist or to set the motor / generator 2 so as not to be a load on the engine 1 so as to keep the torque at 0. With this setting, the extent to which the electric power generated by the motor / generator 2 becomes a load on the engine 3 is reduced, the time required to increase the actual rotational speed of the engine 1 to the target rotational speed can be shortened, and high efficiency is achieved. This is because power generation in the rotational speed region is possible, and fuel consumption can be improved.

Landscapes

  • Engineering & Computer Science (AREA)
  • General Engineering & Computer Science (AREA)
  • Mining & Mineral Resources (AREA)
  • Civil Engineering (AREA)
  • Structural Engineering (AREA)
  • Fluid Mechanics (AREA)
  • Physics & Mathematics (AREA)
  • Chemical & Material Sciences (AREA)
  • Combustion & Propulsion (AREA)
  • Mechanical Engineering (AREA)
  • Operation Control Of Excavators (AREA)
  • Control Of Vehicle Engines Or Engines For Specific Uses (AREA)
  • Fluid-Pressure Circuits (AREA)
PCT/JP2012/050125 2011-03-01 2012-01-05 建設機械の制御装置 Ceased WO2012117750A1 (ja)

Priority Applications (4)

Application Number Priority Date Filing Date Title
EP12751915.5A EP2682531B1 (en) 2011-03-01 2012-01-05 Control device for construction machine
CN201280009588.6A CN103384746B (zh) 2011-03-01 2012-01-05 工程机械的控制装置
KR1020137021111A KR101818285B1 (ko) 2011-03-01 2012-01-05 건설 기계의 제어 장치
US13/985,118 US8874327B2 (en) 2011-03-01 2012-01-05 Control device for hybrid construction machinery

Applications Claiming Priority (2)

Application Number Priority Date Filing Date Title
JP2011-044257 2011-03-01
JP2011044257A JP5356436B2 (ja) 2011-03-01 2011-03-01 建設機械の制御装置

Publications (1)

Publication Number Publication Date
WO2012117750A1 true WO2012117750A1 (ja) 2012-09-07

Family

ID=46757692

Family Applications (1)

Application Number Title Priority Date Filing Date
PCT/JP2012/050125 Ceased WO2012117750A1 (ja) 2011-03-01 2012-01-05 建設機械の制御装置

Country Status (6)

Country Link
US (1) US8874327B2 (cg-RX-API-DMAC7.html)
EP (1) EP2682531B1 (cg-RX-API-DMAC7.html)
JP (1) JP5356436B2 (cg-RX-API-DMAC7.html)
KR (1) KR101818285B1 (cg-RX-API-DMAC7.html)
CN (1) CN103384746B (cg-RX-API-DMAC7.html)
WO (1) WO2012117750A1 (cg-RX-API-DMAC7.html)

Cited By (2)

* Cited by examiner, † Cited by third party
Publication number Priority date Publication date Assignee Title
EP2740919A4 (en) * 2012-09-28 2014-06-11 Komatsu Mfg Co Ltd Wheel loader
CN105518224A (zh) * 2013-11-01 2016-04-20 日立建机株式会社 作业机械

Families Citing this family (48)

* Cited by examiner, † Cited by third party
Publication number Priority date Publication date Assignee Title
JP5203434B2 (ja) * 2010-09-08 2013-06-05 日立建機株式会社 ハイブリッド建設機械
JP5928065B2 (ja) * 2012-03-27 2016-06-01 コベルコ建機株式会社 制御装置及びこれを備えた建設機械
KR101372198B1 (ko) * 2012-08-17 2014-03-07 현대자동차주식회사 시동발전기의 발전 출력 제어 방법
JP6169596B2 (ja) * 2012-11-08 2017-07-26 住友建機株式会社 ハイブリッドショベル及びハイブリッドショベルの制御方法
JP5529241B2 (ja) * 2012-11-20 2014-06-25 株式会社小松製作所 作業機械および作業機械の作業量計測方法
JP6090781B2 (ja) * 2013-01-28 2017-03-08 キャタピラー エス エー アール エル エンジンアシスト装置および作業機械
WO2015011809A1 (ja) * 2013-07-24 2015-01-29 株式会社小松製作所 ハイブリッド作業機械
JP6232875B2 (ja) * 2013-09-19 2017-11-22 コベルコ建機株式会社 ハイブリッド建設機械の動力制御装置
EP2889433B1 (en) * 2013-12-20 2019-05-01 Doosan Infracore Co., Ltd. System and method of controlling vehicle of construction equipment
KR102126589B1 (ko) * 2013-12-26 2020-06-24 두산인프라코어 주식회사 건설기계의 엔진 제어 방법 및 장치
US9676600B2 (en) * 2013-12-27 2017-06-13 Komatsu Ltd. Forklift and control method of forklift
EP3101506A4 (en) * 2014-01-27 2018-02-21 Volvo Construction Equipment AB Device for controlling regenerated flow rate for construction machine and method for controlling same
JP6091444B2 (ja) * 2014-02-03 2017-03-08 日立建機株式会社 ハイブリッド建設機械
JP6245611B2 (ja) * 2014-04-18 2017-12-13 キャタピラー エス エー アール エル 制御装置および作業機械
KR20170039157A (ko) * 2014-07-30 2017-04-10 스미도모쥬기가이고교 가부시키가이샤 쇼벨
JP6336854B2 (ja) * 2014-08-20 2018-06-06 川崎重工業株式会社 液圧ポンプの駆動システム
JP6378577B2 (ja) 2014-08-20 2018-08-22 川崎重工業株式会社 液圧駆動システム
JP6336855B2 (ja) * 2014-08-20 2018-06-06 川崎重工業株式会社 液圧ポンプの駆動システム
JP6532679B2 (ja) * 2015-01-06 2019-06-19 住友建機株式会社 ショベル
JP6619939B2 (ja) * 2015-02-16 2019-12-11 川崎重工業株式会社 液圧駆動システム
JP6232007B2 (ja) * 2015-03-02 2017-11-15 株式会社日立建機ティエラ ハイブリッド式作業機械
US20170058490A1 (en) * 2015-09-01 2017-03-02 Komatsu Ltd. Working vehicle and working vehicle control method
JP6419063B2 (ja) * 2015-12-24 2018-11-07 日立建機株式会社 ハイブリッド式作業機械
US10619330B2 (en) * 2016-11-08 2020-04-14 Guangxi Liugong Machinery Co., Ltd. Multiple level work hydraulics anti-stall
KR102130188B1 (ko) * 2016-12-28 2020-08-05 주식회사 두산 엔진식 지게차의 운전 중 dpf 재생 시스템 및 그 방법
US10900197B2 (en) 2017-03-29 2021-01-26 Komatsu Ltd. Work machine management apparatus
WO2020146159A1 (en) 2019-01-08 2020-07-16 Cummins Inc. Intelligent engine and pump controls
JP7283910B2 (ja) * 2019-02-01 2023-05-30 株式会社小松製作所 建設機械の制御システム、建設機械、及び建設機械の制御方法
US10961897B2 (en) * 2019-03-01 2021-03-30 Hyundai Motor Company Methods of controlling electrical coolant valve for internal combustion engine
EP3992010A4 (en) 2019-06-28 2023-09-06 Kubota Corporation WORKING MACHINE
US11137052B2 (en) 2019-08-29 2021-10-05 Deere & Company Transmission assembly with integrated CVP
JP7285183B2 (ja) * 2019-09-26 2023-06-01 株式会社小松製作所 エンジン制御システム、作業機械および作業機械の制御方法
CN110607819B (zh) * 2019-09-29 2022-07-15 潍柴动力股份有限公司 一种动力机械烟度控制方法、装置及动力机械
FR3101867B1 (fr) * 2019-10-10 2021-10-08 Manitou Bf Engin de manutention de charge équipé d'un moteur thermique et procédé de commande de la vitesse en rotation du moteur thermique d'un tel engin
US11351983B2 (en) 2019-10-31 2022-06-07 Deere & Company Power control system with transmission transient boost function
CN110725360A (zh) * 2019-12-03 2020-01-24 湖南力诚新能源科技有限公司 一种电动挖掘机液压泵控制装置及液压泵的控制方法
US11846085B2 (en) 2020-02-17 2023-12-19 Deere & Company Energy management system for a hybrid vehicle with an electrically powered hydraulic system
US11325459B2 (en) 2020-10-09 2022-05-10 Deere & Company Low profile transmission assembly with integrated CVP
US11613246B2 (en) 2021-01-21 2023-03-28 Deere & Company Power control system with engine throttle shift function
US11628822B2 (en) 2021-02-09 2023-04-18 Deere & Company Power control system with stall prevention clutch modulation function
CN115149871A (zh) * 2021-03-31 2022-10-04 日本电产艾莱希斯株式会社 电动机控制装置、电动机控制方法及计算机可读取介质
US11820361B2 (en) 2021-11-30 2023-11-21 Deere & Company Transmission assembly with electrical machine unit for improved shift quality
US11607948B1 (en) 2021-12-22 2023-03-21 Deere & Company Electronically-variable power shift transmission for work vehicles
US11585412B1 (en) 2021-12-22 2023-02-21 Deere & Company Electronically-variable, dual-path power shift transmission for work vehicles
CN114263541B (zh) * 2021-12-29 2022-12-13 柳州柳工挖掘机有限公司 一种挖掘机控制方法及挖掘机
US11913528B1 (en) 2022-10-28 2024-02-27 Deere & Company Multi-mode continuously variable transmission assembly with drop set arrangement
CN117702855B (zh) * 2023-12-08 2025-11-11 江苏徐工工程机械研究院有限公司 一种适用于挖掘发动机与isg电机的控制系统及方法
CN119221560B (zh) * 2024-08-29 2025-10-10 江苏徐工工程机械研究院有限公司 一种电驱双联泵负载自适应的协同控制方法及系统

Citations (3)

* Cited by examiner, † Cited by third party
Publication number Priority date Publication date Assignee Title
JP2004150306A (ja) * 2002-10-29 2004-05-27 Komatsu Ltd エンジンの制御装置
JP2007218111A (ja) 2006-02-14 2007-08-30 Komatsu Ltd エンジン、油圧ポンプおよび発電電動機の制御装置
JP2009013632A (ja) * 2007-07-03 2009-01-22 Hitachi Constr Mach Co Ltd 建設機械のエンジン制御装置

Family Cites Families (12)

* Cited by examiner, † Cited by third party
Publication number Priority date Publication date Assignee Title
US5890468A (en) * 1994-01-25 1999-04-06 Komatsu Ltd. Differential driving supercharger and method for controlling the same
JP3587957B2 (ja) * 1997-06-12 2004-11-10 日立建機株式会社 建設機械のエンジン制御装置
JP3511453B2 (ja) * 1997-10-08 2004-03-29 日立建機株式会社 油圧建設機械の原動機と油圧ポンプの制御装置
JP3624774B2 (ja) * 2000-01-20 2005-03-02 日産自動車株式会社 車両用駆動力制御装置
JP3624821B2 (ja) * 2000-11-22 2005-03-02 日産自動車株式会社 車両用制御装置
JP3744414B2 (ja) * 2001-11-29 2006-02-08 トヨタ自動車株式会社 車両の制御装置
JP4179465B2 (ja) * 2002-07-31 2008-11-12 株式会社小松製作所 建設機械
WO2007049767A1 (ja) * 2005-10-28 2007-05-03 Komatsu Ltd. エンジンの制御装置、エンジンおよび油圧ポンプの制御装置、並びにエンジン、油圧ポンプおよび発電電動機の制御装置
JP4758877B2 (ja) * 2006-12-07 2011-08-31 日立建機株式会社 建設機械用3ポンプシステムのトルク制御装置
KR101112137B1 (ko) * 2009-07-29 2012-02-22 볼보 컨스트럭션 이큅먼트 에이비 하이브리드식 건설기계의 엔진회전수 변화저감 제어시스템 및 방법
US8348806B2 (en) * 2009-10-15 2013-01-08 Kawasaki Jukogyo Kabushiki Kaisha Construction machine and control method thereof
JP5174875B2 (ja) * 2010-09-17 2013-04-03 日立建機株式会社 ハイブリッドホイールローダ

Patent Citations (3)

* Cited by examiner, † Cited by third party
Publication number Priority date Publication date Assignee Title
JP2004150306A (ja) * 2002-10-29 2004-05-27 Komatsu Ltd エンジンの制御装置
JP2007218111A (ja) 2006-02-14 2007-08-30 Komatsu Ltd エンジン、油圧ポンプおよび発電電動機の制御装置
JP2009013632A (ja) * 2007-07-03 2009-01-22 Hitachi Constr Mach Co Ltd 建設機械のエンジン制御装置

Cited By (5)

* Cited by examiner, † Cited by third party
Publication number Priority date Publication date Assignee Title
EP2740919A4 (en) * 2012-09-28 2014-06-11 Komatsu Mfg Co Ltd Wheel loader
US8788156B2 (en) 2012-09-28 2014-07-22 Komatsu Ltd. Wheel loader
CN105518224A (zh) * 2013-11-01 2016-04-20 日立建机株式会社 作业机械
KR101776543B1 (ko) * 2013-11-01 2017-09-07 히다찌 겐끼 가부시키가이샤 작업 기계
CN105518224B (zh) * 2013-11-01 2018-08-28 日立建机株式会社 作业机械

Also Published As

Publication number Publication date
US20130325268A1 (en) 2013-12-05
KR101818285B1 (ko) 2018-01-12
EP2682531A1 (en) 2014-01-08
EP2682531A4 (en) 2014-12-03
EP2682531B1 (en) 2018-06-13
CN103384746B (zh) 2015-09-30
US8874327B2 (en) 2014-10-28
JP2012180683A (ja) 2012-09-20
CN103384746A (zh) 2013-11-06
KR20140056148A (ko) 2014-05-09
JP5356436B2 (ja) 2013-12-04

Similar Documents

Publication Publication Date Title
JP5356436B2 (ja) 建設機械の制御装置
CN104302847B (zh) 混合动力式工程机械
JP5916763B2 (ja) 建設機械の制御装置
KR101512207B1 (ko) 건설 기계의 엔진 제어 장치
CN103890280B (zh) 混合动力驱动式的液压作业机械
US10315508B2 (en) Hybrid work machine
US10668802B2 (en) Hybrid construction machine
JP5665874B2 (ja) ハイブリッド型作業機械及びその制御方法
KR101804433B1 (ko) 건설 기계
KR20130041236A (ko) 작업 기계의 엔진 제어 장치 및 그 엔진 제어 방법
JP4248378B2 (ja) ハイブリッド作業機械の駆動制御装置
CN110382846A (zh) 混合动力作业机械
JP6126625B2 (ja) 作業機械
JP4819782B2 (ja) 作業機械の内燃機関回転数制御装置

Legal Events

Date Code Title Description
121 Ep: the epo has been informed by wipo that ep was designated in this application

Ref document number: 12751915

Country of ref document: EP

Kind code of ref document: A1

ENP Entry into the national phase

Ref document number: 20137021111

Country of ref document: KR

Kind code of ref document: A

WWE Wipo information: entry into national phase

Ref document number: 13985118

Country of ref document: US

NENP Non-entry into the national phase

Ref country code: DE