WO2012111794A1 - 糖液の製造方法 - Google Patents
糖液の製造方法 Download PDFInfo
- Publication number
- WO2012111794A1 WO2012111794A1 PCT/JP2012/053771 JP2012053771W WO2012111794A1 WO 2012111794 A1 WO2012111794 A1 WO 2012111794A1 JP 2012053771 W JP2012053771 W JP 2012053771W WO 2012111794 A1 WO2012111794 A1 WO 2012111794A1
- Authority
- WO
- WIPO (PCT)
- Prior art keywords
- membrane
- sugar solution
- cleaning
- water
- producing
- Prior art date
- Legal status (The legal status is an assumption and is not a legal conclusion. Google has not performed a legal analysis and makes no representation as to the accuracy of the status listed.)
- Ceased
Links
Images
Classifications
-
- C—CHEMISTRY; METALLURGY
- C13—SUGAR INDUSTRY
- C13K—SACCHARIDES OBTAINED FROM NATURAL SOURCES OR BY HYDROLYSIS OF NATURALLY OCCURRING DISACCHARIDES, OLIGOSACCHARIDES OR POLYSACCHARIDES
- C13K13/00—Sugars not otherwise provided for in this class
- C13K13/007—Separation of sugars provided for in subclass C13K
-
- B—PERFORMING OPERATIONS; TRANSPORTING
- B01—PHYSICAL OR CHEMICAL PROCESSES OR APPARATUS IN GENERAL
- B01D—SEPARATION
- B01D61/00—Processes of separation using semi-permeable membranes, e.g. dialysis, osmosis or ultrafiltration; Apparatus, accessories or auxiliary operations specially adapted therefor
- B01D61/02—Reverse osmosis; Hyperfiltration ; Nanofiltration
-
- B—PERFORMING OPERATIONS; TRANSPORTING
- B01—PHYSICAL OR CHEMICAL PROCESSES OR APPARATUS IN GENERAL
- B01D—SEPARATION
- B01D61/00—Processes of separation using semi-permeable membranes, e.g. dialysis, osmosis or ultrafiltration; Apparatus, accessories or auxiliary operations specially adapted therefor
- B01D61/02—Reverse osmosis; Hyperfiltration ; Nanofiltration
- B01D61/025—Reverse osmosis; Hyperfiltration
-
- B—PERFORMING OPERATIONS; TRANSPORTING
- B01—PHYSICAL OR CHEMICAL PROCESSES OR APPARATUS IN GENERAL
- B01D—SEPARATION
- B01D61/00—Processes of separation using semi-permeable membranes, e.g. dialysis, osmosis or ultrafiltration; Apparatus, accessories or auxiliary operations specially adapted therefor
- B01D61/02—Reverse osmosis; Hyperfiltration ; Nanofiltration
- B01D61/027—Nanofiltration
-
- B—PERFORMING OPERATIONS; TRANSPORTING
- B01—PHYSICAL OR CHEMICAL PROCESSES OR APPARATUS IN GENERAL
- B01D—SEPARATION
- B01D61/00—Processes of separation using semi-permeable membranes, e.g. dialysis, osmosis or ultrafiltration; Apparatus, accessories or auxiliary operations specially adapted therefor
- B01D61/14—Ultrafiltration; Microfiltration
- B01D61/145—Ultrafiltration
-
- C—CHEMISTRY; METALLURGY
- C07—ORGANIC CHEMISTRY
- C07H—SUGARS; DERIVATIVES THEREOF; NUCLEOSIDES; NUCLEOTIDES; NUCLEIC ACIDS
- C07H3/00—Compounds containing only hydrogen atoms and saccharide radicals having only carbon, hydrogen, and oxygen atoms
- C07H3/02—Monosaccharides
-
- C—CHEMISTRY; METALLURGY
- C13—SUGAR INDUSTRY
- C13B—PRODUCTION OF SUCROSE; APPARATUS SPECIALLY ADAPTED THEREFOR
- C13B20/00—Purification of sugar juices
- C13B20/16—Purification of sugar juices by physical means, e.g. osmosis or filtration
- C13B20/165—Purification of sugar juices by physical means, e.g. osmosis or filtration using membranes, e.g. osmosis, ultrafiltration
-
- C—CHEMISTRY; METALLURGY
- C13—SUGAR INDUSTRY
- C13K—SACCHARIDES OBTAINED FROM NATURAL SOURCES OR BY HYDROLYSIS OF NATURALLY OCCURRING DISACCHARIDES, OLIGOSACCHARIDES OR POLYSACCHARIDES
- C13K1/00—Glucose; Glucose-containing syrups
- C13K1/02—Glucose; Glucose-containing syrups obtained by saccharification of cellulosic materials
-
- B—PERFORMING OPERATIONS; TRANSPORTING
- B01—PHYSICAL OR CHEMICAL PROCESSES OR APPARATUS IN GENERAL
- B01D—SEPARATION
- B01D2311/00—Details relating to membrane separation process operations and control
- B01D2311/04—Specific process operations in the feed stream; Feed pretreatment
-
- B—PERFORMING OPERATIONS; TRANSPORTING
- B01—PHYSICAL OR CHEMICAL PROCESSES OR APPARATUS IN GENERAL
- B01D—SEPARATION
- B01D2319/00—Membrane assemblies within one housing
- B01D2319/02—Elements in series
- B01D2319/025—Permeate series
-
- C—CHEMISTRY; METALLURGY
- C13—SUGAR INDUSTRY
- C13B—PRODUCTION OF SUCROSE; APPARATUS SPECIALLY ADAPTED THEREFOR
- C13B20/00—Purification of sugar juices
- C13B20/16—Purification of sugar juices by physical means, e.g. osmosis or filtration
Definitions
- the present invention relates to a method for producing a sugar solution from cellulose.
- Cellulose-derived sugar liquid contains impurities such as lignin, tannin, silica, calcium and undegraded cellulose, water-soluble polymers such as oligosaccharides, polysaccharides, tannins and enzymes, and low-molecular fermentation inhibitors.
- impurities such as lignin, tannin, silica, calcium and undegraded cellulose
- water-soluble polymers such as oligosaccharides, polysaccharides, tannins and enzymes
- low-molecular fermentation inhibitors In order to remove these impurities, fine particles are filtered to the non-permeation side by a microfiltration membrane, water-soluble polymers are filtered to the non-permeation side by an ultrafiltration membrane, and the fermentation inhibitor is a nanofiltration membrane or It is known that it is removed from the permeation side by a reverse osmosis membrane (Patent Document 1).
- the present inventor has found that the separation membrane is clogged with long-term operation in the step of removing impurities from the cellulose-derived sugar liquid using the separation membrane. Accordingly, the present invention provides a method for cleaning clogging of a separation membrane caused by impurities in the cellulose-derived sugar solution, particularly water-soluble polymers, in a method for producing a cellulose-derived sugar solution using a separation membrane. It is an object of the present invention to provide a method for efficiently removing impurities from a cellulose-derived sugar solution.
- the present invention includes the following (1) to (8).
- a method for producing a sugar solution includes a step of filtering a cellulose-derived sugar solution through one or more separation membranes selected from the group consisting of an ultrafiltration membrane, a nanofiltration membrane, and a reverse osmosis membrane.
- a method for producing a sugar solution comprising the step of washing the separation membrane with warm water of 50 ° C. or higher.
- the hot water contains one or more compounds selected from the group consisting of HMF, furfural, coumaric acid, ferulic acid, coumarinamide, ferulamide, and vanillin. Production method.
- the clogging of the separation membrane due to impurities peculiar to the cellulose-derived sugar liquid can be removed at a low cost while suppressing the deterioration of the membrane, so that the clogged separation membrane can be reused in the production process of the cellulose-derived sugar liquid.
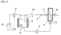
- 1 is a schematic diagram of a basic configuration of a separation membrane cleaning apparatus.
- 1 is a schematic diagram of a configuration of a separation membrane cleaning apparatus that has both a function of performing a membrane treatment of a sugar solution and a function of cleaning a separation membrane.
- 1 is a schematic diagram of a configuration of a separation membrane cleaning apparatus in which a function of performing a membrane treatment of a sugar solution and a function of cleaning a separation membrane are independent.
- the figure which shows the relationship between the density
- the cellulose-derived sugar solution as used in the present invention refers to a sugar solution obtained by hydrolyzing woody or herbaceous biomass, which is cellulose-containing biomass.
- the method for hydrolysis of the cellulose-containing biomass is not particularly limited, but is preferably a technique in which acids, alkalis, saccharifying enzymes, and the like are appropriately combined.
- Cellulose-derived sugar solutions contain monosaccharides such as glucose, xylose, and mannose, and water-soluble polysaccharides such as cellobiose, cellooligosaccharides, and xylooligosaccharides. It can be converted into ethanol, lactic acid, and amino acids by microorganisms.
- Cellulose-derived sugar liquid contains components other than these saccharides, such as lignin, tannin, silica, calcium, and undegraded fine particles such as oligosaccharides, polysaccharides, tannins, enzymes, etc. that were not decomposed during the hydrolysis process. It contains a wide variety of impurities such as water-soluble polymers and low-molecular fermentation inhibitors. Such impurities can be classified into two types, a water-soluble component and a water-insoluble component. The water-insoluble component is preferably removed in advance as a solid content by solid-liquid separation of a sugar solution derived from cellulose.
- cellulose-derived sugar solution there are methods for solid-liquid separation of cellulose-derived sugar solution, such as centrifugation and filtration with a microfiltration membrane. Filtration with a microfiltration membrane can remove even water-insoluble components of micron order.
- the cellulose-derived sugar solution in the invention is preferably preliminarily filtered through a microfiltration membrane in addition to filtration through a subsequent separation membrane.
- a microfiltration membrane what is described in WO2010 / 067785 can be used.
- the present invention is characterized by filtering the cellulose-derived sugar solution through one or more separation membranes of ultrafiltration membranes, nanofiltration membranes, and reverse osmosis membranes. Filtration of the cellulose-derived sugar solution through a separation membrane can be performed according to the method described in WO2010 / 067785. In addition, as for the separation membrane used in the present invention, those described in WO2010 / 067785 can be used.
- the separation membrane When the cellulose-derived sugar solution is filtered through the above-described separation membrane, the separation membrane is clogged with long-term use. In the present invention, the clogging of the separation membrane is washed with warm water (hereinafter also referred to as washing water).
- washing water warm water
- a separation membrane cleaning step with hot water hereinafter also referred to as a membrane cleaning step
- the separation membrane is washed with warm water of 50 ° C. or higher. Only when washing with warm water of 50 ° C or higher, it is possible to efficiently remove components adhering to the surface and inside of the separation membrane and inducing clogging of the membrane, and remarkably recover the filtration rate of the separation membrane. It is. In addition, the effect is further heightened, so that the temperature of warm water is made high, and the maximum washing
- the warm water further includes a cleaning effect by including one or more low molecular weight aromatic compounds selected from the group consisting of HMF, furfural, coumaric acid, ferulic acid, coumaric acid, ferulamide, and vanillin. Can be increased. This is considered to be because the lignin-derived aromatic compound in the clogging component of the separation membrane has affinity with the low-molecular aromatic compound, but the mechanism is not clear.
- the concentration range of the low molecular weight aromatic compounds in the warm water is preferably 50 to 10,000 ppm in total and more preferably 5000 to 10,000 ppm.
- the warm water containing the low molecular weight aromatic compound may be prepared by adding the low molecular weight aromatic compound to the warm water, but those containing the low molecular weight aromatic compound are preferably used. It is known that a low molecular weight aromatic compound is contained in a filtrate obtained by passing a cellulose-derived sugar solution through a nanofiltration membrane and / or a reverse osmosis membrane (hereinafter referred to as NF filtrate). And NF filtrate or the like warmed to 50 ° C. or higher. In the process for producing a sugar solution derived from cellulose, it is usual to dispose of NF filtrate or the like as waste liquid. However, it is economically advantageous because water can be saved by reusing it as washing water for the separation membrane.
- the washing effect can be further improved by setting the pH of the warm water to 9 or more, preferably 11 or more, during the warm water cleaning described above. This is presumably because aromatic compounds such as parahydroxybenzoic acid, ferulic acid, coumaric acid, guaiacol, peptides, proteins, etc., which are clogging components of the separation membrane, are readily soluble at the aforementioned pH. The reason is not clear.
- Such membrane cleaning with warm water of pH 9 or higher does not need to be performed regularly every time, for example, cleaning conditions such as cleaning with warm water of 50 ° C.
- a high cleaning effect can be obtained while suppressing the use of alkali and the amount of alkali waste liquid.
- warm water having a pH of 12 or more may damage the membrane and reduce the filtration performance of the membrane. Therefore, a more preferable pH range is 11 to 12.
- the pH of the cleaning water is preferably maintained within a target range by a pH adjusting mechanism.
- Methods for washing the separation membrane with warm water include the method of immersing the separation membrane in warm water, the method of filtering the whole amount of warm water with a separation membrane, and the method of cross-flow filtering warm water with a separation membrane.
- the method of cross-flow filtration with a membrane is preferable because the clogging component removed by warm water can be washed away by creating a flow parallel to the membrane surface.
- the membrane surface velocity of the cleaning water is preferably 5 to 50 cm / sec, more preferably 30 to 50 cm / sec. The reason for this is that if it is less than 5 cm / sec, the effect of cleaning the separation membrane surface is insufficient, and if it exceeds 50 cm / sec, the effect on cleaning is almost unchanged even if the film surface linear velocity is further increased. This is because there is not. Note that the film surface speed of the cleaning water can be adjusted by increasing or decreasing the flow rate of the cleaning water feed pump.
- the transmembrane differential pressure in the membrane cleaning method in which hot water is cross-flow filtered with a separation membrane is not particularly limited, but it is preferable to wash while applying the transmembrane differential pressure in order to wash the pores of the separation membrane, It is preferable to apply a transmembrane pressure of 5 kPa to 2 MPa for ultrafiltration membranes and 0.5 to 7 MPa for nanofiltration membranes or reverse osmosis membranes.
- the transmembrane pressure difference is a pressure difference generated before and after the membrane across the membrane in membrane treatment, that is, a differential pressure between the stock solution (concentrate) side and the filtrate side.
- the transmembrane pressure difference during cleaning is less than the above range, the amount of cleaning water passing through the pores of the membrane is extremely small, and cleaning within the pores is not preferable.
- cleaning is more than the said range, the liquid which passes the pore of a film
- the filtration flux of washing water in the range of the membrane surface linear velocity and the transmembrane pressure difference is usually about 0.05 to 0.5 m / day.
- the effect of membrane cleaning by the membrane cleaning process shall be evaluated based on how much the membrane filtration flux that has been lowered due to clogging is restored by cleaning. That is, the value obtained by dividing the filtration flux of the clogged membrane before washing and the clogged membrane after washing by the filtration flux of the unused membrane is defined as the filtration rate (%), and the difference in filtration rate before and after washing, Or the washing
- the maximum filtration rate is theoretically 100%.
- the membrane washing step in the present invention relates to a separation membrane having a filtration rate reduced to less than 70%, and can be reused for filtration of a cellulose-derived sugar solution by recovering the filtration rate to 70% or more. Is.
- An apparatus for carrying out the present invention comprises at least a washing water holding tank having a washing water temperature control function and a liquid feed pump for feeding washing water to the membrane. Further, it is preferable that a circulation pump and a circulation line for circulating the cleaning water, a valve for adjusting the pressure on the membrane surface of the cleaning water, and a temperature adjusting mechanism for controlling the temperature of the cleaning water to a target temperature are preferably provided. Moreover, it is preferable to provide a pH adjusting mechanism for controlling the pH of the washing water to a target value.
- solid arrows indicate liquid or solid flow and piping, and dotted arrows indicate electric signal flow and wiring.
- FIG. 1 is a schematic diagram of an example of the most basic configuration of an apparatus for carrying out the present invention.
- FIG. 2 is a schematic view of an application example in which the washing water holding tank has the function as the sugar solution supply tank 14 used for the film treatment of the sugar solution in addition to the essential requirements included in FIG.
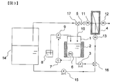
- FIG. 3 is a schematic diagram of an application example in addition to the essential requirements included in FIG. 1, which has a sugar solution membrane treatment system independently and can switch between these membrane treatment steps and membrane washing steps by operating a valve. It is.
- FIG. 4 is a schematic diagram of the entire system for producing a cellulose-derived sugar solution from a pretreated product of cellulose-containing biomass.
- the washing water holding tank 1 that holds the washing water includes a heat retaining device 2 that keeps the washing water warm and a pH adjustment mechanism that controls the pH of the washing water.
- the pH adjustment mechanism measures the pH of the wash water, and outputs the measured pH value as an electrical signal. By inputting the pH value signal, the difference between the preset pH value and the current pH value is calculated.
- the controller 7 that outputs an electric signal for controlling the driving of the pH adjusting pump 9 based on the calculated value, the pH adjusting pump 9 that is driven by the signal input, and the acid / alkali tank that holds the pH adjusting acid or alkali. 8 consists of.
- the washing water held in the washing water holding tank 1 is supplied to the cross flow membrane module 4 by the circulation pump 3 capable of adjusting the liquid flow rate, and returns to the washing water holding tank again via the circulation line 10. .
- the transmembrane pressure difference can be adjusted by opening / closing the valve 5 and the flow rate of the circulation pump.
- the transmembrane pressure difference can be calculated using the pressure gauges 11 to 13. That is, the difference between the average of the measured values of the pressure gauge 11 and the pressure gauge 13 and the measured value of the pressure gauge 12 can be regarded as the transmembrane pressure difference.
- the apparatus shown in FIG. 2 combines the function of performing a membrane treatment with a sugar solution and the function of cleaning the membrane.
- the sugar solution supply tank 14 for holding the sugar solution at the time of the membrane treatment of the sugar solution is also used as a washing water holding tank when the membrane is washed, and the heat retaining device 2 for keeping the washing water warm and the washing water.
- a pH adjusting mechanism for controlling the pH is provided.
- the pH adjustment mechanism measures the pH of the wash water, and outputs the measured pH value as an electrical signal. By inputting the pH value signal, the difference between the preset pH value and the current pH value is calculated.
- the controller 7 that outputs an electric signal for controlling the driving of the pH adjusting pump 9 based on the calculated value, the pH adjusting pump 9 that is driven by the signal input, and the acid / alkali tank that holds the pH adjusting acid or alkali. 8 consists of.
- the washing water held in the sugar solution supply tank 14 is supplied to the cross-flow membrane module 4 by the circulation pump 3 capable of adjusting the liquid feeding flow rate, and again passes through the circulation line 10 to the washing water holding tank. Come back.
- the transmembrane pressure difference can be adjusted by opening / closing the valve 5 and the flow rate of the circulation pump.
- the transmembrane pressure difference can be calculated using the pressure gauges 11 to 13. That is, the difference between the average of the measured values of the pressure gauge 11 and the pressure gauge 13 and the measured value of the pressure gauge 12 can be regarded as the transmembrane pressure difference.
- the apparatus shown in FIG. 3 has a function of performing a membrane treatment of sugar and a function of cleaning the membrane separately, and the functions are switched by operating the three-way valves 16 and 17.
- the sugar solution introduced into the sugar solution supply tank 14 is supplied to the cross flow membrane module 4 by the sugar solution feeding pump 15.
- the cleaning water holding tank 1 that holds the cleaning water includes a heat retaining device 2 that keeps the cleaning water warm and a pH adjustment mechanism that controls the pH of the cleaning water.
- the pH adjustment mechanism measures the pH of the wash water, and outputs the measured pH value as an electrical signal. By inputting the pH value signal, the difference between the preset pH value and the current pH value is calculated.
- the controller 7 outputs an electric signal for controlling the driving of the pH adjusting pump 9 with the value, the pH adjusting pump 9 driven by the signal input, and the acid / alkaline tank 8 for holding the pH adjusting acid or alkali. , Consisting of.
- the washing water held in the washing water holding tank 1 is supplied to the cross flow membrane module 4 by the circulation pump 3 capable of adjusting the liquid feeding flow rate, and returns to the washing liquid holding tank again via the circulation line 10.
- the transmembrane pressure difference can be adjusted by opening / closing the valve 5 and the flow rate of the circulation pump.
- the transmembrane pressure difference can be calculated using the pressure gauges 11 to 13. That is, the difference between the average of the measured values of the pressure gauge 11 and the pressure gauge 13 and the measured value of the pressure gauge 12 can be regarded as the transmembrane pressure difference.
- the cellulose-containing biomass is mixed with the saccharification enzyme in the saccharification reaction tank 21 and hydrolyzed.
- the slurry after the saccharification reaction is transferred to the solid-liquid separator 24 by the slurry transfer means 22 and separated into the solid residue 25 and the primary sugar liquid.
- the primary sugar solution is held in the ultrafiltration membrane supply tank 27, it is supplied to the ultrafiltration membrane module 30 by the ultrafiltration membrane supply pump 28, and the polymer concentrate and the secondary sugar solution (filtrate). Separated.
- the polymer concentrate is circulated by the ultrafiltration membrane supply tank 27 and the ultrafiltration membrane supply pump 28 and further concentrated.
- the secondary sugar solution After the secondary sugar solution is held in the nanofiltration membrane supply tank 31, it is supplied to the nanofiltration membrane module 34 by the nanofiltration membrane supply pump 32 and separated into the concentrated sugar solution and the NF filtrate.
- the concentrated sugar solution is circulated by the nanofiltration membrane supply tank 31 and the nanofiltration membrane supply pump 32 and further concentrated.
- the NF filtrate is held in the reverse osmosis membrane supply tank 35 and then supplied to the reverse osmosis membrane module 39 by the reverse osmosis membrane supply pump 36 to be separated into the RO concentrate and the RO filtrate.
- the RO concentrate is circulated by the reverse osmosis membrane supply tank 35 and the reverse osmosis membrane supply pump 36 and further concentrated.
- the RO concentrate is returned from the reverse osmosis membrane supply tank 35 to the ultrafiltration membrane module 30 and the nanofiltration membrane module 34 by the membrane washing pump 40 and reused for membrane module washing.
- the reverse osmosis membrane supply tank 35 includes a heat retaining device 37 that retains the temperature of the liquid in the tank and a pH adjustment mechanism 38 that adjusts the pH of the liquid in the tank.
- the RO filtrate is retained in the reverse osmosis membrane filtrate tank 41, and returned to the saccharification reaction tank 21, the ultrafiltration membrane module 30, and the nanofiltration membrane module 34 by the reverse osmosis membrane filtrate tank pump 42 as necessary. Reused for saccharification reaction solids concentration adjustment and membrane module cleaning.
- the reverse osmosis membrane filtrate tank 41 includes a heat retaining device 43 that keeps the liquid in the tank warm and a pH adjustment mechanism 44 that adjusts the pH of the liquid in the tank.
- the saccharification reaction tank 21, the solid-liquid separator 24, the ultrafiltration membrane supply tank 27, and the nanofiltration membrane supply tank 31 are all equipped with heat retention devices (23, 26, 29, and 33, respectively). Each process can be performed while keeping the temperature.
- cellulose-containing biomass Rice straw crushed to 2 mm size was used as the cellulose-containing biomass.
- the cellulose-containing biomass was immersed in water and autoclaved (manufactured by Nitto Koatsu Co., Ltd.) at 180 ° C. for 5 minutes while stirring. The pressure at that time was 10 MPa.
- the treated biomass component was subjected to solid-liquid separation using centrifugation (3000G). “Accel lace duet” (Genencor Kyowa Co., Ltd.) was added to this solution component and reacted at 50 ° C. for 24 hours to obtain a sugar solution derived from the solution component.
- a filter press process (MO-4, manufactured by Iwata Sangyo Co., Ltd.) was performed to obtain a biomass-derived sugar solution from which undegraded cellulose or lignin was separated and removed. Further, the present sugar solution was subjected to a microfiltration membrane having a pore diameter of 0.22 ⁇ m to remove insoluble particles of micron order. About 40 L of the sugar solution thus obtained was subjected to a spiral membrane module comprising an ultrafiltration membrane, a nanofiltration membrane or a reverse osmosis membrane.
- the operating temperature is 50 ° C.
- the membrane surface linear velocity is 20 cm / sec
- the operating pressure is 0.1 MPa for the ultrafiltration membrane, 2 MPa for the nanofiltration membrane, and 4 MPa for the reverse osmosis membrane.
- Each was filtered.
- the operation was stopped when the filtration flux decreased to 0.05 m / day or less. In this way, the spiral membrane module having a reduced filtration flux was disassembled, and the membrane portion was cut into a sheet of 190 mm ⁇ 140 mm.
- the filtration flux was measured for each of the unused membrane, the clogged membrane before washing, and the clogged membrane after washing by the above operation.
- the value obtained by dividing the filtration flux measurement value of the clogged membrane before washing and the clogged membrane after washing by the filtration flux measurement value of the unused membrane is defined as the filtration rate (%), and before and after membrane washing.
- the membrane cleaning effect was evaluated based on the recovery of the filtration rate or the size of the filtration rate after washing. The maximum filtration rate is theoretically 100%.
- Example 1 Washing of ultrafiltration membrane with warm water About the heat-resistant ultrafiltration membrane (Desal Corp., "HWS UF” series) obtained by the method of Reference Example 1 with a reduced filtration flux, warm water temperature conditions 8 types of 25 ° C., 30 ° C., 40 ° C., 50 ° C., 60 ° C., 70 ° C., 80 ° C. and 90 ° C., and 4 types of pH 5, 7, 9 and 11 for each, that is, 32 types in total Membrane cleaning was performed under the following conditions. Using 2 L of pure water as warm water, the membrane was washed for 20 minutes at an operating pressure of 0.1 MPa and a membrane surface linear velocity of 30 cm / sec, and a cross flow flow was circulated.
- the membrane was washed for 20 minutes at an operating pressure of 0.1 MPa and a membrane surface linear velocity of 30 cm / sec, and a cross flow flow was circulated.
- the membrane separation apparatus used was a small flat membrane unit that assumed the spiral module described in Reference Example 1.
- the filtration flux was measured before and after membrane cleaning according to the method of Reference Example 2. However, the filtration flow rate before membrane washing was regarded as common for all conditions, and the value measured for one condition was defined as the filtration flux before membrane washing common to all conditions.
- Table 1 shows values obtained by converting the filtration flux into filtration rate according to Reference Example 2. The measured value of the filtration flux of the unused membrane was 0.258 m / day. As is clear from Table 1, the membrane filtration performance was remarkably recovered when the membrane was washed with warm water of 50 ° C. or higher. Further, at 50 ° C. or higher, membrane filtration performance was further recovered by alkaline conditions of pH 9 or higher.
- Example 2 Warm water washing of nanofiltration membrane With respect to a heat-resistant nanofiltration membrane with a reduced filtration flux ("HWS NF" series manufactured by Desal) obtained by the method of Reference Example 1, the operating pressure is 2 MPa.
- the membrane was washed under the same conditions as in Example 1 except for the above.
- Table 2 shows values obtained by converting the filtration flux into filtration rate according to Reference Example 2.
- the measured value of the filtration flux of the unused membrane was 0.246 m / day.
- the membrane filtration performance was remarkably recovered when the membrane was washed with hot water of 50 ° C. or higher. Further, at 50 ° C. or higher, membrane filtration performance was further recovered by alkaline conditions of pH 9 or higher.
- Example 3 Warm water washing of reverse osmosis membrane
- a heat resistant reverse osmosis membrane (Desal "HWS RO" series) obtained by the method of Reference Example 1 and having a reduced filtration flux, the operating pressure is 4 MPa.
- the membrane was washed under the same conditions as in Example 1 except for the above.
- Table 3 shows values obtained by converting the filtration flux into the filtration rate according to Reference Example 2.
- the measured value of the filtration flux of the unused membrane was 0.245 m / day.
- membrane filtration performance was remarkably recovered when the membrane was washed with hot water of 50 ° C. or higher. Further, at 50 ° C. or higher, membrane filtration performance was further recovered by alkaline conditions of pH 9 or higher.
- Example 4 Influence of membrane surface linear velocity on membrane cleaning effect About heat-resistant nanofiltration membranes (“HWS NF” series manufactured by Desal) with reduced filtration flux obtained by the method of Reference Example 1, membrane surface
- the linear velocity conditions were set in a total of 6 patterns of 5 cm / sec, 10 cm / sec, 30 cm / sec, 50 cm / sec, 70 cm / sec, and 90 cm / sec.
- the other conditions were the same as in Example 2 for film cleaning. Carried out.
- Table 4 shows values obtained by converting the filtration flux into filtration rate according to Reference Example 2. The measured value of the filtration flux of the unused membrane was 0.246 m / day.
- the membrane filtration performance was remarkably recovered when the membrane surface linear velocity was in the range of 30 cm / sec or more, and reached the upper limit at 50 cm / sec or more.
- the membrane surface linear velocity was 5 cm / sec, the recovery of the membrane filtration performance was good, and a filtration rate of 88% was obtained. It was speculated that the membrane filtration performance would be significantly inferior at the surface linear velocity.
- Example 5 Membrane cleaning with warm water containing a low-molecular-weight aromatic compound About a heat-resistant nanofiltration membrane (“HWS NF” series manufactured by Desal) having a reduced filtration flux obtained by the method of Reference Example 1, Any one of low molecular weight aromatic compounds selected from the group consisting of HMF, furfural, coumaric acid, ferulic acid, coumarinamide, ferulamide, and vanillin in pure water at °C and pH 7 (adjusted using sodium hydroxide) Membrane cleaning was performed by setting seven conditions in total: six conditions using aqueous solution containing 0.5 g / L as cleaning water and seven conditions using pure water without adding low-molecular-weight aromatic compounds as cleaning water. did.
- HWS NF heat-resistant nanofiltration membrane
- the membrane was washed for 20 minutes at an operating pressure of 0.1 MPa and a membrane surface linear velocity of 30 cm / sec, and a cross flow flow was circulated.
- the membrane separation apparatus used was a small flat membrane unit that assumed the spiral module described in Reference Example 1.
- the filtration flux was measured before and after membrane cleaning according to the method of Reference Example 2. However, the filtration flow rate before membrane washing was regarded as common for all conditions, and the value measured for one condition was defined as the filtration flux before membrane washing common to all conditions.
- Table 5 shows values obtained by converting the filtration flux into filtration rate according to Reference Example 2.
- the measured value of the filtration flux of the unused membrane was 0.246 m / day.
- membrane filtration performance was further recovered when 50 ° C. warm water containing the above low-molecular aromatic compound was used, compared to when 50 ° C. pure water was used.
- Example 6 Influence of low molecular weight aromatic compound concentration on cleaning effect
- 0.5 g / L, 1 g / L, 3 g / L, 5 g regarding the concentration of seven compounds in the cleaning water / L, 7 g / L, and 10 g / L were set to perform film cleaning (however, since coumaric acid and ferulic acid were difficult to dissolve at concentrations exceeding 5 g / L, 7 g / L, The concentration of 10 g / L was not examined.)
- the graph created from the value which converted the filtration flow rate into the filtration rate according to the reference example 2 is shown in FIG.
- the measured filtration flow rate of the unused membrane was 0.246 m / day.
- the film cleaning effect increased as the concentration of any compound increased, and the maximum film cleaning effect was obtained at a concentration of 5 g / L or more.
- Example 7 Membrane washing with a filtrate obtained by passing a cellulose-derived sugar solution through a nanofiltration membrane
- an NF filtrate in which a cellulose-derived sugar solution was passed through a nanofiltration membrane was obtained. Further, a part of the NF filtrate was filtered with a reverse osmosis membrane (“UTC-80”, manufactured by Toray Industries, Inc.) at an operating pressure of 6 MPa at room temperature.
- the 20-fold RO concentrate was prepared (hereinafter referred to as 6-fold NF filtrate, 10-fold NF filtrate, and 20-fold NF filtrate, respectively).
- Table 6 shows the results of analyzing the concentration of the low-molecular aromatic compound in these liquids by the method of Reference Example 3.
- Example 5 The above NF filtrate, 6-fold NF filtrate, 10-fold NF filtrate and 20-fold NF filtrate were used as washing water, and the pure water used in Example 5 was used as washing water in the same manner as in Example 5.
- Membrane cleaning was performed under the following conditions. Table 7 shows values obtained by converting the filtration flux into the filtration rate according to Reference Example 2. The measured value of the filtration flux of the unused membrane was 0.246 m / day. As apparent from Tables 7 and 8, the higher the concentration of the low-molecular aromatic compound, the higher the membrane cleaning effect.
- the present invention is used as a separation membrane cleaning method in a method for producing a sugar solution including a step of filtering cellulose-derived sugar solution through one or more separation membranes of ultrafiltration membranes, nanofiltration membranes, and reverse osmosis membranes. be able to.
Landscapes
- Chemical & Material Sciences (AREA)
- Engineering & Computer Science (AREA)
- Water Supply & Treatment (AREA)
- Organic Chemistry (AREA)
- Life Sciences & Earth Sciences (AREA)
- Biochemistry (AREA)
- Chemical Kinetics & Catalysis (AREA)
- Nanotechnology (AREA)
- General Health & Medical Sciences (AREA)
- Health & Medical Sciences (AREA)
- Emergency Medicine (AREA)
- Biotechnology (AREA)
- Genetics & Genomics (AREA)
- Molecular Biology (AREA)
- Separation Using Semi-Permeable Membranes (AREA)
- Polysaccharides And Polysaccharide Derivatives (AREA)
- Organic Low-Molecular-Weight Compounds And Preparation Thereof (AREA)
Priority Applications (11)
| Application Number | Priority Date | Filing Date | Title |
|---|---|---|---|
| BR112013020476-1A BR112013020476B1 (pt) | 2011-02-18 | 2012-02-17 | método para produzir um líquido de açúcar |
| KR1020137021465A KR101938604B1 (ko) | 2011-02-18 | 2012-02-17 | 당액의 제조 방법 |
| US13/984,566 US9598740B2 (en) | 2011-02-18 | 2012-02-17 | Method for producing sugar solution |
| JP2012513392A JP5201294B2 (ja) | 2011-02-18 | 2012-02-17 | 糖液の製造方法 |
| EP12746912.0A EP2677042B1 (en) | 2011-02-18 | 2012-02-17 | Method for producing sugar solution |
| AU2012218435A AU2012218435B2 (en) | 2011-02-18 | 2012-02-17 | Method for producing sugar solution |
| CN201280009180.9A CN103392010B (zh) | 2011-02-18 | 2012-02-17 | 糖液的制造方法 |
| PH1/2013/501673A PH12013501673A1 (en) | 2011-02-18 | 2012-02-17 | Method for producing sugar solution |
| CA2827917A CA2827917C (en) | 2011-02-18 | 2012-02-17 | Method for producing sugar solution |
| ES12746912.0T ES2613665T3 (es) | 2011-02-18 | 2012-02-17 | Procedimiento para producir una solución de azúcar |
| RU2013142452/13A RU2577901C2 (ru) | 2011-02-18 | 2012-02-17 | Способ производства сахарного раствора |
Applications Claiming Priority (2)
| Application Number | Priority Date | Filing Date | Title |
|---|---|---|---|
| JP2011-033398 | 2011-02-18 | ||
| JP2011033398 | 2011-02-18 |
Publications (1)
| Publication Number | Publication Date |
|---|---|
| WO2012111794A1 true WO2012111794A1 (ja) | 2012-08-23 |
Family
ID=46672705
Family Applications (1)
| Application Number | Title | Priority Date | Filing Date |
|---|---|---|---|
| PCT/JP2012/053771 Ceased WO2012111794A1 (ja) | 2011-02-18 | 2012-02-17 | 糖液の製造方法 |
Country Status (13)
| Country | Link |
|---|---|
| US (1) | US9598740B2 (enExample) |
| EP (1) | EP2677042B1 (enExample) |
| JP (2) | JP5201294B2 (enExample) |
| KR (1) | KR101938604B1 (enExample) |
| CN (1) | CN103392010B (enExample) |
| AU (1) | AU2012218435B2 (enExample) |
| BR (1) | BR112013020476B1 (enExample) |
| CA (1) | CA2827917C (enExample) |
| ES (1) | ES2613665T3 (enExample) |
| MY (1) | MY162571A (enExample) |
| PH (1) | PH12013501673A1 (enExample) |
| RU (1) | RU2577901C2 (enExample) |
| WO (1) | WO2012111794A1 (enExample) |
Cited By (9)
| Publication number | Priority date | Publication date | Assignee | Title |
|---|---|---|---|---|
| WO2014024954A1 (ja) * | 2012-08-10 | 2014-02-13 | 東レ株式会社 | 糖液の製造方法 |
| CN104520445A (zh) * | 2012-08-10 | 2015-04-15 | 东丽株式会社 | 糖液的制造方法 |
| EP2816124A4 (en) * | 2012-02-13 | 2015-07-15 | Toray Industries | METHOD FOR PRODUCING A SUGAR SOLUTION, SUGAR SOLUTION AND PROCESS FOR PREPARING ETHANOL |
| WO2015119038A1 (ja) * | 2014-02-05 | 2015-08-13 | 東レ株式会社 | 糖液の製造方法 |
| WO2016171105A1 (ja) * | 2015-04-21 | 2016-10-27 | 三菱重工業株式会社 | 逆浸透膜洗浄方法及び逆浸透膜洗浄装置 |
| JPWO2014136711A1 (ja) * | 2013-03-04 | 2017-02-09 | 東レ株式会社 | 糖液の製造方法 |
| JP2018122205A (ja) * | 2017-01-30 | 2018-08-09 | 栗田工業株式会社 | 逆浸透膜の洗浄方法 |
| JP2018122206A (ja) * | 2017-01-30 | 2018-08-09 | 栗田工業株式会社 | 逆浸透膜の洗浄方法 |
| WO2024009922A1 (ja) * | 2022-07-04 | 2024-01-11 | 東レ株式会社 | 糖液の製造方法 |
Families Citing this family (6)
| Publication number | Priority date | Publication date | Assignee | Title |
|---|---|---|---|---|
| JP6309281B2 (ja) * | 2014-01-22 | 2018-04-11 | ダイセン・メンブレン・システムズ株式会社 | 多段分離膜装置とその運転方法 |
| WO2016014523A1 (en) * | 2014-07-21 | 2016-01-28 | Xyleco, Inc. | Processing biomass |
| JP6360758B2 (ja) * | 2014-09-18 | 2018-07-18 | ダイセン・メンブレン・システムズ株式会社 | 被抽出物からの有用成分の抽出方法 |
| CN106669439B (zh) * | 2016-12-28 | 2019-04-16 | 前沿新材料研究院(深圳)有限公司 | 抗生物污染的反渗透膜及其制备方法 |
| JP7093518B2 (ja) * | 2017-11-30 | 2022-06-30 | 東レ株式会社 | ろ過装置 |
| CN110252149A (zh) * | 2019-06-26 | 2019-09-20 | 南京丰信环境技术有限公司 | 一种被严重污染反渗透膜的离线清洗方法 |
Citations (5)
| Publication number | Priority date | Publication date | Assignee | Title |
|---|---|---|---|---|
| JP2005278407A (ja) * | 2004-03-26 | 2005-10-13 | Hokkaido Sugar Co Ltd | ビート含蜜糖の製造方法 |
| JP2009240167A (ja) * | 2008-03-28 | 2009-10-22 | Honda Motor Co Ltd | エタノールの製造方法 |
| JP2010029108A (ja) * | 2008-07-29 | 2010-02-12 | Toray Ind Inc | 連続発酵による化学品の製造方法 |
| WO2010067785A1 (ja) | 2008-12-09 | 2010-06-17 | 東レ株式会社 | 糖液の製造方法 |
| WO2011162009A1 (ja) * | 2010-06-24 | 2011-12-29 | 東レ株式会社 | 精製糖水溶液の製造方法 |
Family Cites Families (15)
| Publication number | Priority date | Publication date | Assignee | Title |
|---|---|---|---|---|
| US3700591A (en) | 1970-09-24 | 1972-10-24 | Us Interior | Cleaning of used membrane with oxalic acid |
| SU1701115A3 (ru) * | 1982-02-09 | 1991-12-23 | Бау-Унд Форшунгсгезельшафт Термоформ Аг (Инопредприятие) | Способ получени сахаров из целлюлозосодержащего материала |
| US5562777A (en) * | 1993-03-26 | 1996-10-08 | Arkenol, Inc. | Method of producing sugars using strong acid hydrolysis of cellulosic and hemicellulosic materials |
| RU2119379C1 (ru) * | 1996-06-25 | 1998-09-27 | Научно-производственная фирма "ЛИКО" | Способ очистки мембран с селективной проницаемостью |
| US20050178729A1 (en) * | 1999-07-30 | 2005-08-18 | Rabie Hamid R. | Maintenance cleaning for membranes |
| US20040007525A1 (en) | 1999-07-30 | 2004-01-15 | Rabie Hamid R. | Maintenance cleaning for membranes |
| JP4701539B2 (ja) | 2001-05-21 | 2011-06-15 | 栗田工業株式会社 | 糖液の精製装置 |
| JP3815351B2 (ja) * | 2002-03-12 | 2006-08-30 | 栗田工業株式会社 | 糖液精製装置及び糖液精製方法 |
| US7540292B2 (en) * | 2003-02-25 | 2009-06-02 | Kurita Water Industries Ltd. | Detergent for washing a selectively permeable membrane and method of washing |
| JP2005065541A (ja) | 2003-08-21 | 2005-03-17 | Kurita Water Ind Ltd | 液体濾過装置および清澄化糖液の生産方法 |
| US7077953B2 (en) * | 2003-09-11 | 2006-07-18 | Harris Group, Inc. | Nanofilter system and method of use |
| WO2007056191A2 (en) | 2005-11-03 | 2007-05-18 | Neose Technologies, Inc. | Nucleotide sugar purification using membranes |
| CN101255453A (zh) * | 2007-11-26 | 2008-09-03 | 杨蕴力 | 应用发酵法提取紫甘薯花青素色素的方法 |
| EP2464734A4 (en) * | 2009-08-13 | 2014-01-08 | Geosynfuels Llc | APPARATUS AND METHOD FOR BIOMASS HYDROLYSAT FERMENTATION |
| CN102791872A (zh) * | 2010-03-10 | 2012-11-21 | 东丽株式会社 | 精制糖水溶液的制造方法及化学品的制造方法 |
-
2012
- 2012-02-17 WO PCT/JP2012/053771 patent/WO2012111794A1/ja not_active Ceased
- 2012-02-17 RU RU2013142452/13A patent/RU2577901C2/ru not_active IP Right Cessation
- 2012-02-17 KR KR1020137021465A patent/KR101938604B1/ko not_active Expired - Fee Related
- 2012-02-17 EP EP12746912.0A patent/EP2677042B1/en not_active Not-in-force
- 2012-02-17 JP JP2012513392A patent/JP5201294B2/ja not_active Expired - Fee Related
- 2012-02-17 AU AU2012218435A patent/AU2012218435B2/en not_active Ceased
- 2012-02-17 US US13/984,566 patent/US9598740B2/en not_active Expired - Fee Related
- 2012-02-17 ES ES12746912.0T patent/ES2613665T3/es active Active
- 2012-02-17 PH PH1/2013/501673A patent/PH12013501673A1/en unknown
- 2012-02-17 BR BR112013020476-1A patent/BR112013020476B1/pt not_active IP Right Cessation
- 2012-02-17 CN CN201280009180.9A patent/CN103392010B/zh not_active Expired - Fee Related
- 2012-02-17 CA CA2827917A patent/CA2827917C/en not_active Expired - Fee Related
- 2012-02-17 MY MYPI2013701441A patent/MY162571A/en unknown
- 2012-11-20 JP JP2012254016A patent/JP5561346B2/ja not_active Expired - Fee Related
Patent Citations (5)
| Publication number | Priority date | Publication date | Assignee | Title |
|---|---|---|---|---|
| JP2005278407A (ja) * | 2004-03-26 | 2005-10-13 | Hokkaido Sugar Co Ltd | ビート含蜜糖の製造方法 |
| JP2009240167A (ja) * | 2008-03-28 | 2009-10-22 | Honda Motor Co Ltd | エタノールの製造方法 |
| JP2010029108A (ja) * | 2008-07-29 | 2010-02-12 | Toray Ind Inc | 連続発酵による化学品の製造方法 |
| WO2010067785A1 (ja) | 2008-12-09 | 2010-06-17 | 東レ株式会社 | 糖液の製造方法 |
| WO2011162009A1 (ja) * | 2010-06-24 | 2011-12-29 | 東レ株式会社 | 精製糖水溶液の製造方法 |
Cited By (16)
| Publication number | Priority date | Publication date | Assignee | Title |
|---|---|---|---|---|
| US10087469B2 (en) | 2012-02-13 | 2018-10-02 | Toray Industries, Inc. | Method of producing sugar solution, sugar solution, and method of producing ethanol |
| EP2816124A4 (en) * | 2012-02-13 | 2015-07-15 | Toray Industries | METHOD FOR PRODUCING A SUGAR SOLUTION, SUGAR SOLUTION AND PROCESS FOR PREPARING ETHANOL |
| CN104520445A (zh) * | 2012-08-10 | 2015-04-15 | 东丽株式会社 | 糖液的制造方法 |
| WO2014024954A1 (ja) * | 2012-08-10 | 2014-02-13 | 東レ株式会社 | 糖液の製造方法 |
| US9863011B2 (en) | 2012-08-10 | 2018-01-09 | Toray Industries, Inc. | Method of producing sugar solution |
| US9951393B2 (en) | 2012-08-10 | 2018-04-24 | Toray Industries, Inc. | Method of producing sugar solution |
| JPWO2014136711A1 (ja) * | 2013-03-04 | 2017-02-09 | 東レ株式会社 | 糖液の製造方法 |
| WO2015119038A1 (ja) * | 2014-02-05 | 2015-08-13 | 東レ株式会社 | 糖液の製造方法 |
| US10767236B2 (en) | 2014-02-05 | 2020-09-08 | Toray Industries, Inc. | Method of producing sugar solution |
| US20170058369A1 (en) * | 2014-02-05 | 2017-03-02 | Toray Industries, Inc. | Method of producing sugar solution |
| JPWO2015119038A1 (ja) * | 2014-02-05 | 2017-03-23 | 東レ株式会社 | 糖液の製造方法 |
| WO2016171105A1 (ja) * | 2015-04-21 | 2016-10-27 | 三菱重工業株式会社 | 逆浸透膜洗浄方法及び逆浸透膜洗浄装置 |
| JP2016203081A (ja) * | 2015-04-21 | 2016-12-08 | 三菱重工業株式会社 | 逆浸透膜洗浄方法及び逆浸透膜洗浄装置 |
| JP2018122206A (ja) * | 2017-01-30 | 2018-08-09 | 栗田工業株式会社 | 逆浸透膜の洗浄方法 |
| JP2018122205A (ja) * | 2017-01-30 | 2018-08-09 | 栗田工業株式会社 | 逆浸透膜の洗浄方法 |
| WO2024009922A1 (ja) * | 2022-07-04 | 2024-01-11 | 東レ株式会社 | 糖液の製造方法 |
Also Published As
| Publication number | Publication date |
|---|---|
| CN103392010A (zh) | 2013-11-13 |
| JP5561346B2 (ja) | 2014-07-30 |
| RU2013142452A (ru) | 2015-03-27 |
| EP2677042A1 (en) | 2013-12-25 |
| CA2827917A1 (en) | 2012-08-23 |
| BR112013020476B1 (pt) | 2018-12-18 |
| ES2613665T3 (es) | 2017-05-25 |
| EP2677042A4 (en) | 2014-10-08 |
| KR20140003540A (ko) | 2014-01-09 |
| PH12013501673A1 (en) | 2013-11-18 |
| MY162571A (en) | 2017-06-30 |
| BR112013020476A2 (pt) | 2016-09-06 |
| CN103392010B (zh) | 2015-02-25 |
| KR101938604B1 (ko) | 2019-01-15 |
| AU2012218435A1 (en) | 2013-08-22 |
| AU2012218435B2 (en) | 2016-07-07 |
| EP2677042B1 (en) | 2017-01-04 |
| JP5201294B2 (ja) | 2013-06-05 |
| JPWO2012111794A1 (ja) | 2014-07-07 |
| US9598740B2 (en) | 2017-03-21 |
| CA2827917C (en) | 2019-05-21 |
| US20130312738A1 (en) | 2013-11-28 |
| JP2013063076A (ja) | 2013-04-11 |
| RU2577901C2 (ru) | 2016-03-20 |
Similar Documents
| Publication | Publication Date | Title |
|---|---|---|
| JP5561346B2 (ja) | 糖液の製造方法 | |
| JP5716325B2 (ja) | 糖液の製造方法及び製造装置 | |
| JP6303501B2 (ja) | 糖液の製造方法 | |
| JP6287210B2 (ja) | 糖液の製造方法 | |
| JP5935941B2 (ja) | 糖液の製造方法 | |
| JP2014214034A (ja) | アンモニア水溶液の濃縮方法およびアンモニア処理セルロース含有バイオマスからのアンモニアの製造方法 |
Legal Events
| Date | Code | Title | Description |
|---|---|---|---|
| WWE | Wipo information: entry into national phase |
Ref document number: 2012513392 Country of ref document: JP |
|
| 121 | Ep: the epo has been informed by wipo that ep was designated in this application |
Ref document number: 12746912 Country of ref document: EP Kind code of ref document: A1 |
|
| WWE | Wipo information: entry into national phase |
Ref document number: 13984566 Country of ref document: US |
|
| WWE | Wipo information: entry into national phase |
Ref document number: 12013501673 Country of ref document: PH |
|
| ENP | Entry into the national phase |
Ref document number: 20137021465 Country of ref document: KR Kind code of ref document: A |
|
| REEP | Request for entry into the european phase |
Ref document number: 2012746912 Country of ref document: EP |
|
| WWE | Wipo information: entry into national phase |
Ref document number: 2012746912 Country of ref document: EP |
|
| WWE | Wipo information: entry into national phase |
Ref document number: 1301004571 Country of ref document: TH |
|
| NENP | Non-entry into the national phase |
Ref country code: DE |
|
| ENP | Entry into the national phase |
Ref document number: 2827917 Country of ref document: CA |
|
| ENP | Entry into the national phase |
Ref document number: 2012218435 Country of ref document: AU Date of ref document: 20120217 Kind code of ref document: A |
|
| ENP | Entry into the national phase |
Ref document number: 2013142452 Country of ref document: RU Kind code of ref document: A |
|
| WWE | Wipo information: entry into national phase |
Ref document number: IDW00201304288 Country of ref document: ID |
|
| REG | Reference to national code |
Ref country code: BR Ref legal event code: B01A Ref document number: 112013020476 Country of ref document: BR |
|
| ENP | Entry into the national phase |
Ref document number: 112013020476 Country of ref document: BR Kind code of ref document: A2 Effective date: 20130812 |