WO2012043072A1 - 受信装置、受信方法、受信プログラム - Google Patents

受信装置、受信方法、受信プログラム Download PDF

Info

Publication number
WO2012043072A1
WO2012043072A1 PCT/JP2011/068224 JP2011068224W WO2012043072A1 WO 2012043072 A1 WO2012043072 A1 WO 2012043072A1 JP 2011068224 W JP2011068224 W JP 2011068224W WO 2012043072 A1 WO2012043072 A1 WO 2012043072A1
Authority
WO
WIPO (PCT)
Prior art keywords
path
propagation path
unit
estimation
propagation
Prior art date
Legal status (The legal status is an assumption and is not a legal conclusion. Google has not performed a legal analysis and makes no representation as to the accuracy of the status listed.)
Ceased
Application number
PCT/JP2011/068224
Other languages
English (en)
French (fr)
Japanese (ja)
Inventor
加藤勝也
吉本貴司
山田良太
Current Assignee (The listed assignees may be inaccurate. Google has not performed a legal analysis and makes no representation or warranty as to the accuracy of the list.)
Sharp Corp
Original Assignee
Sharp Corp
Priority date (The priority date is an assumption and is not a legal conclusion. Google has not performed a legal analysis and makes no representation as to the accuracy of the date listed.)
Filing date
Publication date
Application filed by Sharp Corp filed Critical Sharp Corp
Priority to US13/876,500 priority Critical patent/US8995578B2/en
Publication of WO2012043072A1 publication Critical patent/WO2012043072A1/ja
Anticipated expiration legal-status Critical
Ceased legal-status Critical Current

Links

Images

Classifications

    • HELECTRICITY
    • H04ELECTRIC COMMUNICATION TECHNIQUE
    • H04LTRANSMISSION OF DIGITAL INFORMATION, e.g. TELEGRAPHIC COMMUNICATION
    • H04L25/00Baseband systems
    • H04L25/02Details ; arrangements for supplying electrical power along data transmission lines
    • H04L25/0202Channel estimation
    • H04L25/0212Channel estimation of impulse response
    • HELECTRICITY
    • H04ELECTRIC COMMUNICATION TECHNIQUE
    • H04LTRANSMISSION OF DIGITAL INFORMATION, e.g. TELEGRAPHIC COMMUNICATION
    • H04L5/00Arrangements affording multiple use of the transmission path
    • H04L5/003Arrangements for allocating sub-channels of the transmission path
    • H04L5/0048Allocation of pilot signals, i.e. of signals known to the receiver
    • HELECTRICITY
    • H04ELECTRIC COMMUNICATION TECHNIQUE
    • H04JMULTIPLEX COMMUNICATION
    • H04J11/00Orthogonal multiplex systems, e.g. using WALSH codes
    • H04J11/0023Interference mitigation or co-ordination
    • H04J11/0063Interference mitigation or co-ordination of multipath interference, e.g. Rake receivers
    • HELECTRICITY
    • H04ELECTRIC COMMUNICATION TECHNIQUE
    • H04LTRANSMISSION OF DIGITAL INFORMATION, e.g. TELEGRAPHIC COMMUNICATION
    • H04L25/00Baseband systems
    • H04L25/02Details ; arrangements for supplying electrical power along data transmission lines
    • H04L25/0202Channel estimation
    • H04L25/0224Channel estimation using sounding signals
    • H04L25/0226Channel estimation using sounding signals sounding signals per se
    • HELECTRICITY
    • H04ELECTRIC COMMUNICATION TECHNIQUE
    • H04LTRANSMISSION OF DIGITAL INFORMATION, e.g. TELEGRAPHIC COMMUNICATION
    • H04L25/00Baseband systems
    • H04L25/02Details ; arrangements for supplying electrical power along data transmission lines
    • H04L25/0202Channel estimation
    • H04L25/024Channel estimation channel estimation algorithms
    • H04L25/025Channel estimation channel estimation algorithms using least-mean-square [LMS] method
    • HELECTRICITY
    • H04ELECTRIC COMMUNICATION TECHNIQUE
    • H04LTRANSMISSION OF DIGITAL INFORMATION, e.g. TELEGRAPHIC COMMUNICATION
    • H04L25/00Baseband systems
    • H04L25/02Details ; arrangements for supplying electrical power along data transmission lines
    • H04L25/0202Channel estimation
    • H04L25/024Channel estimation channel estimation algorithms
    • H04L25/0256Channel estimation using minimum mean square error criteria
    • HELECTRICITY
    • H04ELECTRIC COMMUNICATION TECHNIQUE
    • H04LTRANSMISSION OF DIGITAL INFORMATION, e.g. TELEGRAPHIC COMMUNICATION
    • H04L5/00Arrangements affording multiple use of the transmission path
    • H04L5/0001Arrangements for dividing the transmission path
    • H04L5/0003Two-dimensional division
    • H04L5/0005Time-frequency
    • H04L5/0007Time-frequency the frequencies being orthogonal, e.g. OFDM(A) or DMT

Definitions

  • the present invention relates to a receiving device, a receiving method, and a receiving program.
  • a multipath environment In wireless communication, particularly in the case of broadband transmission, in addition to the path received in advance, there are paths that arrive after a delay, such as via reflection from an obstacle such as a building or a mountain.
  • An environment in which a plurality of paths arrives in this way is called a multipath environment.
  • a receiving apparatus performs demodulation processing on a time domain received signal
  • a channel impulse response that is a time domain propagation path is required
  • a frequency response that is a propagation path in the frequency domain is required.
  • the receiving apparatus transmits pilot symbols in which the amplitude value of the waveform (or the signal sequence) is stored in advance from the transmitting apparatus to the receiving apparatus.
  • the receiving apparatus transmits pilot symbols in which the amplitude value of the waveform (or the signal sequence) is stored in advance from the transmitting apparatus to the receiving apparatus.
  • Non-Patent Document 1 discloses a technique for reducing the influence of noise and interference and improving estimation accuracy by selecting a path to be estimated in scattered pilot OFDM (Orthogonal Frequency Division Multiplexing).
  • Non-Patent Document 1 extracts a path with high power from channel impulse responses approximately obtained by performing an IFFT (Inverse Fast Fourier Transform) on an estimated value of a frequency response, The corresponding delay time is selected as the tap delay time used for estimation.
  • IFFT Inverse Fast Fourier Transform
  • FIG. 1 is an example of a propagation model when there is no path spread, where the horizontal axis is the delay time axis and the vertical axis is the path power. There are two paths, path 101 and path 102. At this time, the path 101 and the path 102 are selected in order to select a path with power exceeding the threshold 103.
  • FIG. 2 is a diagram showing an example where there is a path spread.
  • the path 101, the path 102, and the threshold 103 are the same as those in FIG. Because of the spread 201 with respect to the path 101 and the spread 202 with respect to the path 102, it shows that the extra paths 203 to 206 are selected as paths that exceed the threshold.
  • Patent Document 1 described below describes a technique for calculating an estimated value based on a plurality of channel model structures and selecting an optimum channel model structure from the variance of estimated evaluation values and received signals. In this method, since a path is selected based on a statistical information criterion rather than power, the problem as described in Non-Patent Document 1 can be reduced.
  • Patent Document 1 since the number of effective paths that can be observed by the receiver is increasing due to the recent increase in the bandwidth of wireless communication technology, the technique of Patent Document 1 has a problem that the amount of calculation increases significantly.
  • the present invention has been made in view of such circumstances, and an object of the present invention is to provide a low-computation receiving apparatus capable of high-accuracy propagation path estimation.
  • a receiving device including a propagation path estimation unit that performs propagation path estimation, wherein the propagation path estimation unit repeats the process of detecting a path in the order of improving the propagation path adaptability.
  • a reception device comprising a path detection unit.
  • the path detection unit repeats the process of detecting a path until there is no path that can improve the propagation path adaptability. Further, it is preferable that the path detector detects each path.
  • the path detection unit may further include a process of deleting a path from which the propagation path fitness cannot be improved from candidates.
  • the path detection unit preferably uses a sum of a propagation path estimated value, an evaluation value of an error of a received signal, and a penalty for increasing the number of detected paths as the propagation path adaptability.
  • the path detection unit calculates the propagation path fitness based on a physical structure of a reference signal used for calculating a propagation path estimated value.
  • the physical structure is preferably an arrangement frequency.
  • the physical structure is preferably a time waveform.
  • the path detection unit may use an Akaike information criterion as the propagation path fitness.
  • the path detection unit may use a Bayes information criterion as the propagation path adaptability.
  • the receiving device includes a path information external input propagation path estimation unit that uses the detected path information as external information, and the path detection unit outputs path information to the path information external input propagation path estimation unit.
  • the path information external input propagation path estimation unit preferably performs propagation path estimation in the frequency domain.
  • the path information external input propagation path estimator preferably performs propagation path estimation in the time domain.
  • a reception method including a propagation path estimation step for performing propagation path estimation, wherein the propagation path estimation step is performed until there is no path that can improve the propagation path adaptability.
  • a reception method comprising a path detection step of repeating a process of detecting paths in the order of improving the degree.
  • the present invention may be a reception program for causing a computer to execute the reception method described above, or a computer-readable recording medium for recording the program.
  • the calculation amount of propagation path estimation can be greatly reduced.
  • the horizontal axis is the delay time axis
  • the vertical axis is the path power.
  • shaft is the electric power of a path.
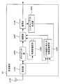
  • 1 is a schematic block diagram of a transmission device according to a first embodiment of the present invention. This is an example in which the mapping unit a104 maps pilot symbols and modulated signals. It is a schematic block diagram which shows the structure of the receiver b1 which concerns on this embodiment. It is a schematic block diagram which shows the structure of the propagation path estimation part b106.
  • FIG. 3 is a schematic block diagram of a transmission apparatus according to the first embodiment of the present invention.
  • the transmission device is denoted by reference numeral a1.
  • a transmission apparatus a1 includes a pilot generation unit a101, a coding unit a102, a modulation unit a103, a mapping unit a104, an IFFT unit a105, a GI insertion unit a106, a transmission unit a107, and a transmission antenna unit a108.
  • the OFDM signal is transmitted.
  • Pilot generating section a101 generates a pilot symbol in which the receiving apparatus stores in advance the amplitude value of the waveform (or signal sequence thereof) and outputs the pilot symbol to mapping section a104.
  • the receiving device is denoted by reference numeral b1.
  • the receiving apparatus b1 performs propagation path estimation using the pilot symbol as a reference signal.
  • the encoding unit a102 encodes information bits to be transmitted to the receiving apparatus b1 using an error correction code such as a convolutional code, a turbo code, and an LDPC (Low Density Parity Check) code, and encodes the encoded bit. Is generated.
  • the encoding unit a102 outputs the generated encoded bits to the modulating unit a103.
  • the modulation unit a103 modulates the coded bits input from the coding unit a102 using a modulation method such as PSK (Phase Shift Keying) or QAM (Quadrature Amplitude Modulation). Generate a symbol. Modulation section a103 outputs the generated modulation symbol to mapping section a104.
  • a modulation method such as PSK (Phase Shift Keying) or QAM (Quadrature Amplitude Modulation).
  • the mapping unit a104 maps the pilot symbols input from the pilot generation unit a101 and the modulation symbols input from the modulation unit a103 to resources (time-frequency bands) based on predetermined mapping information.
  • a domain signal is generated, and the generated frequency domain signal is output to IFFT section a105.
  • a resource is a unit in which a modulation symbol is arranged, which is composed of one subcarrier and one later-described FFT interval in a frame transmitted by the transmission apparatus a1.
  • the mapping information is determined by the transmission device a1, and is notified in advance from the transmission device a1 to the reception device b1.
  • FIG. 4 is a diagram illustrating an example in which the mapping unit a104 maps pilot symbols and modulated signals.
  • the IFFT unit a105 in FIG. 3 performs frequency-time conversion on the frequency domain signal input from the mapping unit a104 to generate a time domain signal.
  • a time interval of a unit for performing IFFT is referred to as an FFT interval.
  • the IFFT unit a105 outputs the generated time domain signal to the GI insertion unit a106.
  • the GI insertion part a106 adds a guard interval (Guard Interval: GI) for each signal in the FFT section to the time domain signal input from the IFFT part a105.
  • the guard interval is a known signal using a cyclic prefix (Cyclic Prefix: CP) that is a part of the rear of the signal in the FFT interval, zero padding in which the zero interval continues, a Golay code, or the like.
  • CP Cyclic Prefix
  • the GI insertion unit a106 adds such a signal to the front of the signal in the FFT interval.
  • the FFT interval and the time interval (referred to as GI interval) of the guard interval added to the signal in the time interval by the GI insertion unit a106 are collectively referred to as an OFDM symbol interval.
  • a signal in the OFDM symbol section is called an OFDM symbol.
  • the GI insertion unit a106 outputs a signal with the guard interval added to the transmission unit a107.
  • guard interval may be inserted behind the FFT interval.
  • a part of the replica in front of the FFT interval is added behind the signal in the FFT interval.
  • the periodicity may be maintained in the OFDM symbol period, and is not limited to the above.
  • the transmission unit a107 performs digital / analog conversion on the signal input from the GI insertion unit a106, and shapes the converted analog signal.
  • the transmission unit a107 up-converts the waveform-shaped signal from the baseband band to the radio frequency band, and transmits the signal from the transmission antenna a108 to the reception device b1 (FIG. 5).
  • FIG. 5 is a schematic block diagram showing the configuration of the receiving device b1 according to this embodiment.
  • the receiving device b1 includes a receiving antenna b101, a receiving unit b102, a GI removing unit b103, an FFT unit b104, a demapping unit b105, a propagation path estimating unit b106, a demodulating unit b107, and a decoding unit b108. .
  • the reception unit b102 receives the transmission signal transmitted by the transmission device a1 via the reception antenna b101.
  • the receiving unit b102 performs frequency conversion and analog-digital conversion on the received signal.
  • the GI removal unit b103 removes the guard interval from the reception signal input from the reception unit b102 and outputs the guard interval to the FFT unit b104.
  • the FFT unit b104 performs time frequency conversion on the time domain signal input from the GI removal unit b103, and outputs the converted frequency domain signal to the demapping unit b105.
  • the demapping unit b105 performs demapping based on the mapping information notified in advance from the transmission device a1, and outputs the received signal of the subcarrier to which the separated pilot symbol is transmitted to the propagation path estimation unit b106. In addition, the reception signal of the subcarrier to which the data is transmitted is output to demodulation section b107.
  • FIG. 6 is a schematic block diagram illustrating a configuration example of the propagation path estimation unit b106.
  • the propagation path estimation unit b106 includes a frequency response estimation unit b106-1, a path detection unit b106-2, and an FFT unit 106-3 in order from the demapping unit b105 side.
  • the frequency response estimator b106-1 estimates the frequency response based on the received signal input from the demapping unit b105 and the pilot symbol stored in advance, and outputs it to the path detector b106-2.
  • the path detection unit b106-2 detects paths one by one in the range up to the assumed maximum delay time L to improve the propagation path suitability.
  • the channel adaptability is a quantity that quantitatively represents the adaptability between the calculated estimated value and the observed data (received signal here).
  • the channel impulse response is estimated. Note that paths are selected from paths with a high degree of improvement in propagation path adaptability. At the same time, paths that cannot improve the channel matching degree are deleted from the candidates. This principle will be described later.
  • the path detection unit b106-2 terminates the process when there is no longer a path for improving the channel suitability, and outputs the estimated value of the channel impulse response to the FFT unit b106-3.
  • the assumed maximum delay time L may be larger than the actual maximum delay time of the propagation path, and may be set to a value having a margin so as to satisfy the condition in various environments. This may be done by conducting a detailed field survey before operating the communication system to determine L, or making it variable at the design stage and updating the firmware, software, etc. of the receiving device b1. It may be updated. Note that L may be estimated in the same manner as the propagation path without being determined in advance.
  • the calculation of the propagation path adaptability can be performed using the physical structure of the reference signal used for estimating the channel impulse response. This is the same not only in this embodiment but also in other embodiments. This principle will be described later.
  • the FFT unit b106-3 performs time-frequency conversion on the channel impulse response input from the path detection unit b106-2, and outputs the result to the demodulation unit b107.
  • the propagation path estimation unit b106 uses a pilot symbol stored in advance, and measures noise power in a subcarrier (referred to as pilot subcarrier) in which the pilot symbol is arranged. A specific calculation method will be described later together with the operation principle.
  • the demodulation unit b107 calculates filter coefficients such as ZF (Zero Forcing) standard and MMSE (Minimum Mean Square Error) standard using the frequency response and noise power input from the propagation path estimation unit b106.
  • the demodulator b107 compensates for signal amplitude and phase fluctuations (referred to as propagation path compensation) using the calculated filter coefficients.
  • the demodulator b107 outputs a bit log likelihood ratio (LLR) as a result of the demodulation process to the decoder b108.
  • LLR bit log likelihood ratio
  • the decoding unit b108 for example, performs maximum likelihood decoding (MLD; Maximum Likelihood Decoding), maximum a posteriori probability (MAP), log-MAP, Max- for the demodulated symbols input from the demodulation unit b107.
  • MLD maximum likelihood decoding
  • MAP maximum a posteriori probability
  • log-MAP log-MAP
  • Max- for the demodulated symbols input from the demodulation unit b107 Decoding processing is performed using log-MAP, SOVA (Soft Output Viterbi Algorithm), or the like.
  • FIG. 7 is a schematic diagram illustrating an example of a received signal according to the present embodiment.
  • the maximum delay does not exceed the GI length and there is no interference due to the previous OFDM symbol.
  • the horizontal axis is a time axis, which is a discrete time divided by a predetermined time width.
  • a hatched area with diagonal lines rising diagonally to the right indicates GI.
  • the hatched area with the diagonally upward left diagonal lines represents the received signals of the preceding and following OFDM symbols.
  • N is the number of points in the FFT (Fast Fourier Transform) section (also the number of points in the IFFT (Inverse Fast Fourier Transform) section), and N g is the number of GI points.
  • the number of points is the number of discrete times.
  • FIG. 8 is a schematic diagram illustrating an example of a received signal according to the present embodiment.
  • the synchronization position is shifted Ne points later, and the rear OFDM symbol in the preceding path is interference.
  • FIG. 9 is a schematic diagram illustrating an example of a received signal according to the present embodiment.
  • the maximum delay exceeds the GI length, causing interference due to the previous OFDM symbol.
  • FIG. 10 is a schematic diagram illustrating an example of a received signal according to the present embodiment.
  • the synchronization position is shifted Ne points backward, and the maximum delay at that time exceeds the GI length, so that interference is caused by the front and rear OFDM symbols.
  • Inter Carrier Interference Inter Carrier Interference: ICI
  • the received signal r i, k of the i-th symbol at the k-th discrete time received by the receiving unit b102 is expressed by the following equations (1) and (2).
  • D is the maximum delay time
  • h i, d, k are the complex amplitudes at the k-th discrete time in the path of the channel number d of the i-th symbol (referred to as the d-th path)
  • s i, k are the i-th symbol. It is a transmission signal in the time domain
  • z i, k is noise in the time domain of the i-th symbol.
  • N is the number of points in the FFT interval
  • S i, n is the modulation signal of the i-th symbol of the n-th subcarrier
  • N g is the number of points in the GI interval (see FIG. 5)
  • j is an imaginary unit.
  • a signal R i, n after time-frequency conversion is performed on the received signal r i, k in the FFT section by the FFT unit b103 is expressed by the following equations (3) and (4).
  • W i, n, m is the ICI coefficient of the signal from the mth subcarrier to the nth subcarrier
  • V i, n, m, 0 is the previous one from the mth subcarrier to the nth subcarrier.
  • the ISI coefficient based on the OFDM symbol, V i, n, m, 1 is the ISI coefficient based on the next OFDM symbol from the mth subcarrier to the nth subcarrier
  • Z i, n is the noise in the nth subcarrier.
  • Z ′ i, n is the sum of noise, ICI and ISI.
  • c i, d is the time average of the channel impulse response that varies with time in the OFDM symbol.
  • the propagation path estimation unit b106 estimates Wi , n, n , which will be described later.
  • the remaining functions of the receiving device b1 will be described assuming that an estimated value is obtained.
  • the demodulator b107 calculates the demodulated symbol S ′ i, n using the following equation (8).
  • Equation (8) ⁇ z ′ 2 is the power of Z ′ i, n and is represented by the following Equation (9).
  • E [X] represents an ensemble average of X. This power can be calculated as in the following equation (10), and the result is used in equation (8) to calculate the demodulated symbol S ′ i, n .
  • Equation (10) can be expressed by the following Equation (11) when it is assumed that a sufficient number of arithmetic averages are equal to the ensemble average.
  • the first term represents the power of ISI and ICI
  • the second term represents the noise power.
  • This equation is for the case where the power of the pilot signal is normalized to 1 and the power average of the frequency response is normalized to 1. That is, this expression is a case where the following expression (12) is satisfied.
  • the pilot signal power is not 1, an adjustment factor for that amount may be introduced. Further, the normalization of the frequency response is caused by amplitude adjustment when analog-to-digital conversion is performed in the receiving unit b102.
  • the demodulator b107 calculates a bit log likelihood ratio from the demodulated symbol S ′ i, n in Expression (8).
  • An equivalent amplitude gain is used for this calculation process.
  • the bit log likelihood ratio ⁇ is expressed by the following equations (14) and (15) with respect to the equivalent amplitude gain ⁇ i, n of the n-th subcarrier expressed by the following equation (13). It is represented by Here, the equations (14) and (15) are respectively expressed by bit log likelihood ratios ⁇ (b i, n ) of the first bit bits b i, n, 0 and the second bit bits b i, n, 1. , 0 ), ⁇ (b i, n, 1 ).
  • the frequency response estimator b106-1 calculates an estimated value W ′ i, n, n of the frequency response based on the equation (3). Specifically, it is estimated as in the following equation (16).
  • the signal S i, n of the nth subcarrier needs to be known, but a pilot symbol or the like may be used.
  • n 1, n 2, ⁇ ⁇ ⁇ , a n P a pilot subcarrier are defined as the following equation (17) a frequency response estimate vector H P.
  • n 1 is the lowest subcarrier
  • n 2 is the next subcarrier
  • n 3 is the next subcarrier
  • the channel impulse response estimation vector h MMSE by MMSE is expressed by the following equations (18 to 21).
  • N P is the number of pilot subcarriers
  • I x is the identity matrix of size x.
  • a negative delay time from the synchronization position is also taken into consideration, and up to ⁇ T is considered. If N e ⁇ T, there will be no problem, and it will be described here that this is satisfied.
  • the specific value of T may be determined at the stage of designing the receiving apparatus, or may be made variable at the designing stage and updated when updating the firmware, software, etc. of the receiving apparatus. .
  • Ch is a diagonal matrix of size L + T + 1 having the value of the average power of the path from ⁇ T to L as the main diagonal element.
  • FIG. 12 is an example of a flowchart showing an operation flow for searching for paths one by one. This figure shows the operation of the path detection unit b 106-2 (FIG. 6).
  • Step S101 As initial values, the selected path (selected_path) is empty, the candidate path (candidate_path) is -T to L, and the channel match (channel_match_prev) is a small value (such as negative infinity). Thereafter, the process proceeds to step S102.
  • Step S102 The channel impulse response is estimated when each candidate path (candidate_path) is added to the already selected path (selected_path).
  • C h only a path position beta, it may be the position of rest to zero.
  • an inverse matrix lemma may be used to reduce the amount of calculation.
  • the following equation (22) may be used.
  • q represents a path set when one of candidate paths is added to the selected path.
  • d 0, 1, 3 as shown in FIG. 11
  • q [0, 1, 3 ].
  • h q is a vector having only an estimated value of the path position, and does not include information on the position set to zero.
  • F q is a matrix obtained by extracting only the column corresponding to the element of q in F of Expression (19),
  • is the number of paths at that time, and ⁇ ⁇ ′ z 2 / ⁇ .
  • F q is expressed by the following equation (23).
  • may be constant regardless of q, and a representative value corresponding to ⁇ z ′ 2 may be held in advance.
  • the representative value may be made variable at the design stage, and may be updated when updating the firmware, software, or the like of the receiving device b1.
  • model evidence M (q) as shown in the following equation (24).
  • h q, t ) is a likelihood function
  • p (h q, t ) is a prior probability
  • h q, t is a variable vector representing a channel impulse response when the path structure is the same as q. .
  • ⁇ p 2 is the pilot symbol power.
  • the first term is an amount resulting from an error between the estimated value and the observed value
  • the second term is an amount representing a penalty for the complexity of the model.
  • the penalty of equation (24) is a penalty suitable for wireless communication when several (in this case, n 1 , n 2 ,..., N P ) frequency response estimates are obtained, and the pilot symbol It depends on the arrangement frequency.
  • the first term in the equation (24) is an evaluation value of the error between the estimated value and the observation data (received signal). Specifically, the degree of adaptation between the estimated vector hq and the frequency response estimated vector in the equation (17) is expressed. Represent. This tends to increase as the number of passes increases.
  • the second term (including minus) of Expression (24) is a penalty that decreases as the number of paths used for estimation increases, and suppresses the increase in Expression (24) as a whole.
  • the process proceeds to step S103.
  • AIC Akaike Information Criteria
  • BIC Bayesian Information Criterion
  • Step S103 The channel impulse response is estimated using a path obtained by adding each element of the candidate path (candidate_path) to the selected path (selected_path), and the selected propagation path matching degree (channel_match) is selected.
  • a path smaller than the estimated channel match (channel_match_prev) of the estimated value based only on the path (selected_path) is deleted from the candidate paths. That is, the corresponding path number is deleted from the candidate_path. Also, the corresponding one is deleted from the channel matching (channel_match). Thereafter, the process proceeds to step S104.
  • Step S104 If no candidate path is found in step S103, that is, if candidate_path is empty, the process is terminated. If a candidate path remains, the process proceeds to step S105.
  • Step S105 The element of the candidate path (candidate_path) corresponding to the largest one of the obtained channel matching (channel_match) is added to the selected path (selected_path) as a new selected path. Further, the channel impulse response at this time is stored in channel. Further, the channel matching degree at this time is stored in channel_match_prev. Thereafter, the process proceeds to step S106.
  • Step S106 If no candidate path is found in Step S105, that is, if the candidate_path is empty, the process is terminated. If a candidate path remains, the process returns to step S102.
  • the FFT unit b106-3 performs time-frequency conversion on the channel impulse response estimation value input from the path detection unit b106-2 and converts it to the frequency response of all subcarriers.
  • FIG. 13 is a flowchart showing the operation of the receiving apparatus according to this embodiment. The operation shown in this figure is a process after the reception unit b102 in FIG. 5 outputs the reception signal to the GI removal unit b103.
  • Step S1001 The GI removal unit b103 removes the guard interval from the received signal. Thereafter, the process proceeds to step S1002.
  • Step S1002 The FFT unit b104 performs time-frequency conversion on the signal obtained in step S1001.
  • the demapping unit b105 separates data and pilot from the obtained frequency domain signal. After the reception signal of the pilot subcarrier is output to the propagation path estimation unit b106, the process proceeds to step S1003.
  • Step S1003 The propagation path estimation unit b106 performs propagation path estimation using the received signal of the pilot subcarrier obtained in step S1002, and outputs a demodulation frequency response estimation value to the demodulation unit b107. Thereafter, the process proceeds to step S1004.
  • Step S1004 The demodulation unit b107 performs demodulation processing using the frequency response estimated value obtained in step S1003. Thereafter, the process proceeds to step S1005.
  • Step S1005 The decoding unit b108 performs decoding using the demodulation result obtained in step S1004. Thereafter, the receiving device b1 ends the operation.
  • the propagation path estimation unit b106 detects paths that improve the propagation path suitability one by one, thereby improving the estimation accuracy. Thereby, it is possible to limit the path to be estimated to only necessary ones, and it is possible to improve the propagation path estimation accuracy by increasing the noise and interference suppression effect. In addition, the amount of calculation is greatly reduced by simultaneously performing an operation of deleting a path that cannot improve the channel adaptability.
  • the frequency response is estimated using a pilot symbol for each OFDM symbol.
  • interpolation may be performed using a pilot symbol of a nearby OFDM symbol.
  • the pilot subcarrier is located at the lowest subcarrier, the second subcarrier, the second subcarrier,... Locations that are not subcarriers may also be estimated using pilot symbols of OFDM symbols having different times.
  • noise and interference can be reduced by using pilot symbols at different times.
  • the propagation path estimation accuracy can be further improved.
  • an arithmetic average may be performed, or a weighted average may be performed according to the propagation path fluctuation.
  • the noise / interference that can be reduced at the stage of frequency response estimation is reflected in ⁇ ′ z 2 .
  • ⁇ ′ z 2 is set to 1 ⁇ 2.
  • pilot symbols are used as reference signals used for frequency response estimation.
  • estimation may be performed using determined data. Specifically, it can be realized by feeding back the output of the demodulator b107 or the decoder b108 to the frequency response estimator b106-1.
  • the number of paths detected at a time may be increased.
  • the number of paths may be determined in advance, or may be made variable at the design stage and updated when the firmware, software, etc. of the receiving device b1 are updated.
  • the method for detecting paths up to the delay time L has been described.
  • the number of candidate paths may be limited in advance by another method. Specifically, a technique such as Non-Patent Document 1 described in the background art may be used.
  • the communication system has been described for the case of performing multicarrier signal communication.
  • the present invention is not limited to this, and is also applicable to the case of performing single carrier signal communication using FFT. can do.
  • the method for detecting paths one by one and simultaneously deleting the paths that cannot increase the propagation path suitability has been described.
  • the deletion may be omitted.
  • is constant and all paths are assumed to have equal power. However, weighting may be applied.
  • an element of a path candidate (candidate_path) is added to correspond to the path to be added when channel impulse response estimation and propagation path adaptability calculation are performed.
  • the path position exists at the FFT sampling position as shown in Expression (1), but the interval between the sampling points may be considered.
  • the Fourier transform matrix of Expression (19) includes the decimal point position.
  • the Fourier transform matrix is as shown in the following equation (25).
  • the transmission device a1 transmits a multicarrier signal or the like that maps pilot symbols in the frequency domain
  • the reception device b1 calculates a frequency response estimation value in the pilot subcarrier and estimates a channel impulse response.
  • paths that improve the channel matching degree are selected one by one.
  • a method for estimating a channel impulse response when pilot symbols are continuously transmitted in the time domain will be described.
  • FIG. 15 is a schematic block diagram showing the configuration of the transmission device a2 according to the second embodiment of the present invention.
  • the transmission device a2 (FIG. 15) according to the present embodiment is compared with the transmission device a1 (FIG. 3) according to the first embodiment, the processing of the mapping unit a204 is different, and the IFFT unit and the GI insertion unit do not exist.
  • the functions of other components pilot generation unit a101, encoding unit a102, modulation unit a103, transmission unit a107, transmission antenna a108
  • pilot generation unit a101, encoding unit a102, modulation unit a103, transmission unit a107, transmission antenna a108 are the same as those in the first embodiment.
  • a description of the same functions as those in the first embodiment is omitted.
  • the mapping unit a204 generates a time domain signal by mapping the pilot symbol input from the pilot generation unit a101 and the modulation symbol input from the modulation unit a103 to the time domain based on predetermined mapping information.
  • the generated time domain signal is output to the transmitter a107.
  • the mapping information is determined by the transmission device a2, and is notified in advance from the transmission device a2 to the reception device b2.
  • FIG. 16 is an example in which the mapping unit a204 maps information data symbols and pilot symbols. In this figure, white squares represent information data symbols, and shaded squares represent pilot symbols.
  • the pilot symbols are transmitted in K symbol sequences.
  • FIG. 17 is a schematic block diagram showing the configuration of the receiving device b2 according to the second embodiment of the present invention.
  • the receiving apparatus b2 (FIG. 17) according to the present embodiment is compared with the receiving apparatus b1 (FIG. 5) according to the first embodiment, the processes of the demapping unit b205, the propagation path estimating unit b206, and the demodulating unit b207 are different. GI removal unit and FFT unit do not exist. However, the functions of other components (receiving antenna b101, receiving unit b102, decoding unit b108) are the same as those in the first embodiment. A description of the same functions as those in the first embodiment is omitted.
  • the demapping unit b205 performs demapping based on the mapping information notified in advance from the transmission device a2, and outputs the received signal at the time when the separated pilot symbol is transmitted to the propagation path estimation unit b206. In addition, the reception signal at the time when the data is transmitted is output to the demodulation unit b207.
  • FIG. 18 is a schematic block diagram showing the configuration of the propagation path estimation unit b206.
  • the propagation path estimation unit b206 includes a path detection unit b206-2.
  • the path detection unit b 206-2 selects a path for improving the propagation path adaptability within the range up to the assumed maximum delay time L based on the received signal input from the demapping unit b 205 and the pilot symbol stored in advance. Detect one by one. At the same time, the channel impulse response is estimated. Note that paths are selected from paths with a high degree of improvement in propagation path adaptability. At the same time, paths that cannot improve the channel matching degree are deleted from the candidates. This principle will be described later.
  • the path detection unit b 206-2 ends the process when there is no longer a path for improving the channel suitability, and outputs an estimated value of the estimated channel impulse response to the demodulation unit b 207.
  • a pilot symbol is used as a reference signal
  • a time waveform of the pilot symbol is used as a physical structure for calculating a propagation path adaptability.
  • the propagation path estimation unit b206 predetermines the assumed maximum delay time L. The handling of this is the same as in the first embodiment. Moreover, the propagation path estimation part b206 measures noise power using the pilot symbol memorize
  • the demodulation unit b207 performs demodulation processing using the received signal input from the demapping unit b205 and the channel impulse response estimation value input from the propagation path estimation unit b206. At this time, ISI due to multipath is compensated. For this, a known technique such as MMSE or MLSE (Maximum Likelihood Sequence Estimation) may be used.
  • the reception signal r i of the i-th symbol received by the reception unit b102 is expressed by the following equation (26).
  • h i, d is the complex amplitude in the d-th path of the i-th symbol
  • S i is the i-th transmission symbol
  • z i is the noise of the i-th symbol.
  • the path detection unit b 206-2 searches for paths that improve the propagation path suitability one by one from the paths from ⁇ T to L, and obtains a final channel impulse response. Calculate the estimate.
  • This operation is the same as the flowchart of FIG. However, the calculation of the specific channel impulse response estimation value is different from the calculation of the channel suitability.
  • portions different from the first embodiment in the flowchart of FIG. 12 will be described.
  • the channel impulse response estimation in step S102 in the second embodiment will be described.
  • s 0 ,..., s K ⁇ 1 be pilot symbols.
  • the received signal model is as shown in FIG.
  • K 12.
  • the propagation path estimation section is limited to a section where no ISI occurs. That is, if the maximum delay time in the path included in q is D q , D q to K ⁇ 1 are estimation sections. In the case of this example, discrete times 3 to 11 are estimation intervals.
  • the received signal vector r q when the estimated path set is q is expressed by the following equation (27).
  • S q is a matrix composed of pilot symbols.
  • S q is a matrix composed of pilot symbols.
  • propagation path adaptability is calculated as the following equation (30).
  • FIG. 20 is a flowchart showing the operation of the receiving apparatus according to this embodiment. The operation shown in this figure is processing after the receiving unit b102 in FIG. 17 outputs the received signal to the demapping unit b205.
  • Step S2001 The demapping unit b205 separates data and pilot from the input received signal.
  • the propagation path estimation unit b206 performs propagation path estimation using the obtained pilot symbol received signal, and outputs a channel impulse response estimation value to the demodulation unit b207. Thereafter, the process proceeds to step S2002.
  • Step S2002 The demodulation unit b207 performs a demodulation process using the channel impulse response estimated value obtained in Step S2002. Thereafter, the process proceeds to step S2003.
  • Step S2003 The decoding unit b108 performs decoding using the demodulation result obtained in step S2002. Thereafter, the receiving device b2 ends the operation.
  • the propagation path estimation unit b206 detects paths that improve the propagation path suitability one by one, thereby improving the estimation accuracy. Thereby, it is possible to limit the path to be estimated to only necessary ones, and it is possible to improve the propagation path estimation accuracy by increasing the noise and interference suppression effect. In addition, the amount of calculation is greatly reduced by simultaneously performing an operation of deleting a path that cannot improve the channel adaptability.
  • the channel impulse response is estimated using only one cluster of K pilot symbols.
  • a plurality of channel impulse responses may be used. For example, two clusters of the first K symbol in FIG. 12 and the K symbol following the next continuous data may be used.
  • the channel impulse response may be estimated for each chunk and then averaged. The average at that time may be a weighted average considering time variation.
  • equation (28) may be expanded and performed by one calculation. In that case, the dimension of the received signal vector r i of formula (28) is extended from the K-D q an integer multiple of K-D q.
  • the section of D q to K ⁇ 1 is the channel impulse response estimation section as shown in FIG. 18, but it may be extended. For example, 0 to K + D q ⁇ 1 may be used. In this case, the estimation is performed in all sections where pilot symbols are observed. However, it is necessary to add to noise power in consideration of the influence of ISI leaking into the estimation section.
  • the present invention may also be applied when mapped in the frequency domain as in the first embodiment.
  • the IFFT result is a known symbol sequence in the time domain.
  • the data symbol can also be handled as a reference signal, and the IFFT result can be handled as a reference signal in the time domain.
  • the present embodiment can be applied.
  • the case where the paths are detected one by one has been described.
  • the number of paths detected at one time may be increased as in the first embodiment.
  • the deletion may be omitted.
  • the path position exists at the sampling position of the transmission symbol.
  • the interval between sampling points may be considered.
  • the transmission symbol sequence to the filtering of the results is performed by the transmitting unit a107 of 15, out of the obtained signal, equation (28) is taken out as a desired sampling interval, using the S q of (30) Good.
  • the received signal must also be converted from analog to digital at a desired sampling frequency.
  • the transmission device a3 according to the present embodiment has the same configuration as the transmission device a1 (FIG. 3) according to the first embodiment or the transmission device a2 (FIG. 15) according to the second embodiment, and thus the description thereof is omitted. .
  • the case of using the transmission device a1 will be described, but the same applies to the case of using the transmission device a2.
  • FIG. 22 is a schematic block diagram showing the configuration of the receiving device b3 according to the third embodiment of the present invention.
  • the processing of the propagation path estimation unit b306 is different, and the path information external input propagation path estimation unit b307 is added.
  • the functions of other components (receiving antenna b101, receiving unit b102, GI removing unit b103, FFT unit b104, demapping unit b105, demodulating unit b107, decoding unit b108) are the same as those in the first embodiment. .
  • a description of the same functions as those in the first embodiment is omitted.
  • FIG. 23 is a schematic block diagram showing the configuration of the propagation path estimation unit b306.
  • the processing of the path detection unit b306-2 is different. Specifically, not only the final channel impulse response estimation value is output to the FFT unit b106-3, but also the path position information is output to the path information external input propagation path estimation unit b307. At this time, the final selected path (selected_path) in the flowchart of FIG. 12 is output.
  • the path information external input propagation path estimation unit b307 performs propagation path estimation using the path position information output from the propagation path estimation unit b306 and the received pilot subcarrier signal output from the demapping unit b105. That is, the path information external input propagation path estimation unit b307 determines q in Expression (22) by external input.
  • the estimated value to be calculated may be Equation (22).
  • path detection in the propagation path estimation unit b306 is performed at a long time interval, and the path information external input propagation path estimation unit b307 can be used until the selected path information is updated. .
  • the amount of calculation of the propagation path estimation unit b306 is larger than that of the path information external input propagation path estimation unit b307, so that the processing can be given a margin.
  • the path information external input propagation path estimation unit b307 uses a pilot symbol as a reference signal.
  • the present invention is not limited to this, and for example, determined data may be used. In that case, in FIG. 22, the corresponding data is fed back from the decoding unit b108 to the path information external input propagation path estimation unit b307.
  • the transmission device a4 according to the present embodiment has the same configuration as the transmission device a1 according to the first embodiment or the transmission device a2 according to the second embodiment, the description thereof is omitted. In the following description, the case of using the transmission device a1 will be described, but the same applies to the case of using the transmission device a2.
  • FIG. 25 is a schematic block diagram showing a configuration of a receiving device b4 according to the fourth embodiment of the present invention.
  • the receiving apparatus b4 (FIG. 25) according to the present embodiment is compared with the receiving apparatus b3 (FIG. 22) according to the third embodiment, the processing of the path information external input propagation path estimating unit b407 is different, and the symbol replica generating unit b408, IFFT part b409, and GI insertion part b410 are added.
  • the path information external input propagation path estimation unit b407 performs time domain propagation path estimation using the path information output from the propagation path estimation unit b306 and the time domain received signal output from the reception unit b102.
  • the reference signal used at that time is a pilot symbol and determination data fed back from the decoding unit b108, and is output from the GI insertion unit b410. The operation principle will be described later.
  • the decoding unit b108 outputs the encoded bit LLR to the symbol replica generation unit b408.
  • the symbol replica generation unit b408 converts the output of the decoding unit b108 into a symbol replica.
  • the IFFT unit b409 performs frequency time conversion on the output of the symbol replica generation unit b408 to convert it into a time domain replica.
  • the GI insertion unit b410 inserts a guard interval into the output of the IFFT unit b409, and outputs it to the path information external input propagation path estimation unit b407 as a time domain transmission signal replica.
  • ⁇ (0 ⁇ ⁇ 1) is a forgetting factor
  • u q (k) is a column vector obtained by transposing the k-th row vector of S q represented by Equation (29) and the like.
  • the initial value of w q (k) is a zero vector
  • the initial value of R q ⁇ 1 (k) is ⁇ I
  • the value of ⁇ may be an appropriate small value, or may be the value of ⁇ used when the propagation path estimation unit b306 detects the path. In the case of FIG. 19, the initial value means a value at a discrete time 3.
  • time domain estimation such as the RLS algorithm
  • it is possible to follow a time-varying propagation path as described above.
  • simultaneously performing path detection is difficult because of complicated processing.
  • it can be realized by inputting path information from the outside.
  • the case where the RLS algorithm is used has been described.
  • an algorithm that can be applied in another time domain such as a LMS (Least Mean Square) algorithm, may be used, or as described in the second embodiment. It may be a simple method.
  • the input to the path information external input propagation path estimation unit b407 is two systems, that is, the time domain received signal output from the reception unit b102 and the path information output from the propagation path estimation unit b306.
  • the propagation path estimation unit b106 and the demodulation unit b107 may be realized by a computer.
  • a program for realizing this control function may be recorded on a computer-readable recording medium, and the program recorded on this recording medium may be read into a computer system and executed.
  • the “computer system” here is a computer system built in the transmission devices a1 and a2 or the reception devices b1 to b4, and includes hardware such as an OS and peripheral devices.
  • the “computer-readable recording medium” refers to a storage device such as a portable medium such as a flexible disk, a magneto-optical disk, a ROM, and a CD-ROM, and a hard disk built in the computer system.
  • the “computer-readable recording medium” is a medium that dynamically holds a program for a short time, such as a communication line when transmitting a program via a network such as the Internet or a communication line such as a telephone line,
  • a volatile memory inside a computer system serving as a server or a client may be included and a program that holds a program for a certain period of time.
  • the program may be a program for realizing a part of the functions described above, and may be a program capable of realizing the functions described above in combination with a program already recorded in a computer system.
  • the transmission devices a1 and a2 and the reception devices b1 to b4 in the above-described embodiment may be realized as an integrated circuit such as an LSI (Large Scale Integration).
  • LSI Large Scale Integration
  • Each functional block of the transmission devices a1 and a2 and the reception devices b1 to b4 may be individually made into a processor, or a part or all of them may be integrated into a processor.
  • the method of circuit integration is not limited to LSI, and may be realized by a dedicated circuit or a general-purpose processor. Further, in the case where an integrated circuit technology that replaces LSI appears due to progress in semiconductor technology, an integrated circuit based on the technology may be used.
  • the present invention can be used for communication devices.

Landscapes

  • Engineering & Computer Science (AREA)
  • Signal Processing (AREA)
  • Computer Networks & Wireless Communication (AREA)
  • Power Engineering (AREA)
  • Mobile Radio Communication Systems (AREA)
  • Cable Transmission Systems, Equalization Of Radio And Reduction Of Echo (AREA)
  • Noise Elimination (AREA)
PCT/JP2011/068224 2010-09-29 2011-08-10 受信装置、受信方法、受信プログラム Ceased WO2012043072A1 (ja)

Priority Applications (1)

Application Number Priority Date Filing Date Title
US13/876,500 US8995578B2 (en) 2010-09-29 2011-08-10 Receiver apparatus, reception method, and reception program

Applications Claiming Priority (2)

Application Number Priority Date Filing Date Title
JP2010-218988 2010-09-29
JP2010218988A JP5539832B2 (ja) 2010-09-29 2010-09-29 受信装置、受信方法、受信プログラム

Publications (1)

Publication Number Publication Date
WO2012043072A1 true WO2012043072A1 (ja) 2012-04-05

Family

ID=45892547

Family Applications (1)

Application Number Title Priority Date Filing Date
PCT/JP2011/068224 Ceased WO2012043072A1 (ja) 2010-09-29 2011-08-10 受信装置、受信方法、受信プログラム

Country Status (3)

Country Link
US (1) US8995578B2 (enExample)
JP (1) JP5539832B2 (enExample)
WO (1) WO2012043072A1 (enExample)

Cited By (1)

* Cited by examiner, † Cited by third party
Publication number Priority date Publication date Assignee Title
WO2013061900A1 (ja) * 2011-10-25 2013-05-02 シャープ株式会社 受信装置、受信方法、通信システムおよび通信方法

Families Citing this family (6)

* Cited by examiner, † Cited by third party
Publication number Priority date Publication date Assignee Title
JP5973779B2 (ja) * 2012-05-10 2016-08-23 日本放送協会 送信装置、受信装置、及びプログラム
EP2852079B1 (en) 2012-05-14 2019-03-20 Mitsubishi Electric Corporation Receiving device and receiving method
EP2957081A1 (en) * 2013-02-12 2015-12-23 Nokia Solutions and Networks Oy Zero insertion for isi free ofdm reception
WO2017153699A1 (fr) * 2016-03-11 2017-09-14 Orange Procédé et dispositif de transmission multi services avec modulation fc-ofdm et récepteur correspondant
CN107306152A (zh) * 2016-04-22 2017-10-31 富士通株式会社 信号处理装置、信道间隔检测装置、方法和系统
CN111490954B (zh) * 2020-04-03 2021-08-10 武汉大学 信道脉冲响应的重要时延抽头选择方法及系统

Citations (5)

* Cited by examiner, † Cited by third party
Publication number Priority date Publication date Assignee Title
JP2000244445A (ja) * 1999-02-19 2000-09-08 Nippon Telegr & Teleph Corp <Ntt> Ofdm用復調回路
JP2002527997A (ja) * 1998-10-09 2002-08-27 テレフオンアクチーボラゲット エル エム エリクソン(パブル) タップの数を可変にできるチャネル推定器
JP2008092227A (ja) * 2006-09-29 2008-04-17 Toshiba Corp 無線通信装置
JP2008113240A (ja) * 2006-10-30 2008-05-15 Matsushita Electric Ind Co Ltd マルチキャリア受信装置およびチャネル推定値補間方法
JP2009188878A (ja) * 2008-02-08 2009-08-20 Fujitsu Ltd マルチパス検出方法及び無線受信機

Family Cites Families (3)

* Cited by examiner, † Cited by third party
Publication number Priority date Publication date Assignee Title
JP3943062B2 (ja) * 2003-08-25 2007-07-11 シャープ株式会社 Cdma受信装置、cdma受信方法、cdma受信プログラム、及び、プログラム記録媒体
JP4259964B2 (ja) * 2003-09-12 2009-04-30 富士通株式会社 MIXR機能を有するRake受信機
KR100967058B1 (ko) * 2008-11-21 2010-06-29 성균관대학교산학협력단 무선통신 시스템에서의 개량된 채널 추정 방법 및 채널 추정기

Patent Citations (5)

* Cited by examiner, † Cited by third party
Publication number Priority date Publication date Assignee Title
JP2002527997A (ja) * 1998-10-09 2002-08-27 テレフオンアクチーボラゲット エル エム エリクソン(パブル) タップの数を可変にできるチャネル推定器
JP2000244445A (ja) * 1999-02-19 2000-09-08 Nippon Telegr & Teleph Corp <Ntt> Ofdm用復調回路
JP2008092227A (ja) * 2006-09-29 2008-04-17 Toshiba Corp 無線通信装置
JP2008113240A (ja) * 2006-10-30 2008-05-15 Matsushita Electric Ind Co Ltd マルチキャリア受信装置およびチャネル推定値補間方法
JP2009188878A (ja) * 2008-02-08 2009-08-20 Fujitsu Ltd マルチパス検出方法及び無線受信機

Cited By (2)

* Cited by examiner, † Cited by third party
Publication number Priority date Publication date Assignee Title
WO2013061900A1 (ja) * 2011-10-25 2013-05-02 シャープ株式会社 受信装置、受信方法、通信システムおよび通信方法
US8983007B2 (en) 2011-10-25 2015-03-17 Sharp Kabushiki Kaisha Receiver apparatus, reception method, communication system, and communication method

Also Published As

Publication number Publication date
US20130182802A1 (en) 2013-07-18
US8995578B2 (en) 2015-03-31
JP2012074965A (ja) 2012-04-12
JP5539832B2 (ja) 2014-07-02

Similar Documents

Publication Publication Date Title
WO2012105291A1 (ja) 受信装置、受信方法、通信システムおよび通信方法
JP5539832B2 (ja) 受信装置、受信方法、受信プログラム
JP5290396B2 (ja) 低減された次数のfft及びハードウェア補間器を使用する広帯域パイロットチャネル推定
WO2011111583A1 (ja) 受信装置、受信方法、受信プログラム、及びプロセッサ
US8031786B2 (en) Method and system for improving channel estimation in a communications network
JP5428788B2 (ja) 受信装置、受信方法、及び受信プログラム
JP3876437B2 (ja) マルチキャリア受信装置
WO2013121958A1 (ja) 受信装置、受信方法および受信プログラム
JP4339899B2 (ja) 処理されたチャネル評価値を得るためのチャネル評価装置、方法及びコンピュータプログラム
JP6272583B1 (ja) 通信装置および受信信号処理方法
JP4352035B2 (ja) Ofdm復調装置、方法およびプログラム
JP5641816B2 (ja) 受信装置及び受信方法
JP5837797B2 (ja) 受信装置、受信方法、通信システムおよび通信方法
JP5371722B2 (ja) 受信装置、受信方法、及び受信プログラム
WO2011158727A1 (ja) 無線通信装置、受信方法およびそのプログラム
JP2013223177A (ja) 受信装置、受信方法および受信プログラム
WO2012011399A1 (ja) 受信装置および受信方法
Chen et al. Fractional Cosine Transform (FrCT)-Turbo based OFDM for underwater acoustic communication
JP2012253688A (ja) 受信装置、受信方法、制御プログラムおよび集積回路
JP2010278850A (ja) 受信装置、受信方法、及び受信プログラム

Legal Events

Date Code Title Description
121 Ep: the epo has been informed by wipo that ep was designated in this application

Ref document number: 11828633

Country of ref document: EP

Kind code of ref document: A1

WWE Wipo information: entry into national phase

Ref document number: 13876500

Country of ref document: US

NENP Non-entry into the national phase

Ref country code: DE

122 Ep: pct application non-entry in european phase

Ref document number: 11828633

Country of ref document: EP

Kind code of ref document: A1