WO2011122006A1 - 基板搬送機構、偏光フィルムの貼合装置およびこれを備える液晶表示装置の製造システム - Google Patents

基板搬送機構、偏光フィルムの貼合装置およびこれを備える液晶表示装置の製造システム Download PDF

Info

Publication number
WO2011122006A1
WO2011122006A1 PCT/JP2011/001872 JP2011001872W WO2011122006A1 WO 2011122006 A1 WO2011122006 A1 WO 2011122006A1 JP 2011001872 W JP2011001872 W JP 2011001872W WO 2011122006 A1 WO2011122006 A1 WO 2011122006A1
Authority
WO
WIPO (PCT)
Prior art keywords
substrate
polarizing film
transport mechanism
reversing
support
Prior art date
Legal status (The legal status is an assumption and is not a legal conclusion. Google has not performed a legal analysis and makes no representation as to the accuracy of the status listed.)
Ceased
Application number
PCT/JP2011/001872
Other languages
English (en)
French (fr)
Japanese (ja)
Inventor
力也 松本
Current Assignee (The listed assignees may be inaccurate. Google has not performed a legal analysis and makes no representation or warranty as to the accuracy of the list.)
Sumitomo Chemical Co Ltd
Original Assignee
Sumitomo Chemical Co Ltd
Priority date (The priority date is an assumption and is not a legal conclusion. Google has not performed a legal analysis and makes no representation as to the accuracy of the date listed.)
Filing date
Publication date
Application filed by Sumitomo Chemical Co Ltd filed Critical Sumitomo Chemical Co Ltd
Priority to KR1020127016939A priority Critical patent/KR101894104B1/ko
Priority to CN201180017386.1A priority patent/CN102834771B/zh
Publication of WO2011122006A1 publication Critical patent/WO2011122006A1/ja
Anticipated expiration legal-status Critical
Ceased legal-status Critical Current

Links

Images

Classifications

    • BPERFORMING OPERATIONS; TRANSPORTING
    • B32LAYERED PRODUCTS
    • B32BLAYERED PRODUCTS, i.e. PRODUCTS BUILT-UP OF STRATA OF FLAT OR NON-FLAT, e.g. CELLULAR OR HONEYCOMB, FORM
    • B32B38/00Ancillary operations in connection with laminating processes
    • B32B38/18Handling of layers or the laminate
    • GPHYSICS
    • G02OPTICS
    • G02BOPTICAL ELEMENTS, SYSTEMS OR APPARATUS
    • G02B5/00Optical elements other than lenses
    • G02B5/30Polarising elements
    • G02B5/3025Polarisers, i.e. arrangements capable of producing a definite output polarisation state from an unpolarised input state
    • GPHYSICS
    • G02OPTICS
    • G02FOPTICAL DEVICES OR ARRANGEMENTS FOR THE CONTROL OF LIGHT BY MODIFICATION OF THE OPTICAL PROPERTIES OF THE MEDIA OF THE ELEMENTS INVOLVED THEREIN; NON-LINEAR OPTICS; FREQUENCY-CHANGING OF LIGHT; OPTICAL LOGIC ELEMENTS; OPTICAL ANALOGUE/DIGITAL CONVERTERS
    • G02F1/00Devices or arrangements for the control of the intensity, colour, phase, polarisation or direction of light arriving from an independent light source, e.g. switching, gating or modulating; Non-linear optics
    • G02F1/01Devices or arrangements for the control of the intensity, colour, phase, polarisation or direction of light arriving from an independent light source, e.g. switching, gating or modulating; Non-linear optics for the control of the intensity, phase, polarisation or colour 
    • G02F1/13Devices or arrangements for the control of the intensity, colour, phase, polarisation or direction of light arriving from an independent light source, e.g. switching, gating or modulating; Non-linear optics for the control of the intensity, phase, polarisation or colour  based on liquid crystals, e.g. single liquid crystal display cells
    • G02F1/1303Apparatus specially adapted to the manufacture of LCDs
    • GPHYSICS
    • G02OPTICS
    • G02FOPTICAL DEVICES OR ARRANGEMENTS FOR THE CONTROL OF LIGHT BY MODIFICATION OF THE OPTICAL PROPERTIES OF THE MEDIA OF THE ELEMENTS INVOLVED THEREIN; NON-LINEAR OPTICS; FREQUENCY-CHANGING OF LIGHT; OPTICAL LOGIC ELEMENTS; OPTICAL ANALOGUE/DIGITAL CONVERTERS
    • G02F1/00Devices or arrangements for the control of the intensity, colour, phase, polarisation or direction of light arriving from an independent light source, e.g. switching, gating or modulating; Non-linear optics
    • G02F1/01Devices or arrangements for the control of the intensity, colour, phase, polarisation or direction of light arriving from an independent light source, e.g. switching, gating or modulating; Non-linear optics for the control of the intensity, phase, polarisation or colour 
    • G02F1/13Devices or arrangements for the control of the intensity, colour, phase, polarisation or direction of light arriving from an independent light source, e.g. switching, gating or modulating; Non-linear optics for the control of the intensity, phase, polarisation or colour  based on liquid crystals, e.g. single liquid crystal display cells
    • G02F1/133Constructional arrangements; Operation of liquid crystal cells; Circuit arrangements
    • G02F1/1333Constructional arrangements; Manufacturing methods
    • G02F1/133308Support structures for LCD panels, e.g. frames or bezels
    • G02F1/133325Assembling processes
    • BPERFORMING OPERATIONS; TRANSPORTING
    • B32LAYERED PRODUCTS
    • B32BLAYERED PRODUCTS, i.e. PRODUCTS BUILT-UP OF STRATA OF FLAT OR NON-FLAT, e.g. CELLULAR OR HONEYCOMB, FORM
    • B32B2457/00Electrical equipment
    • B32B2457/20Displays, e.g. liquid crystal displays, plasma displays
    • B32B2457/202LCD, i.e. liquid crystal displays
    • GPHYSICS
    • G02OPTICS
    • G02FOPTICAL DEVICES OR ARRANGEMENTS FOR THE CONTROL OF LIGHT BY MODIFICATION OF THE OPTICAL PROPERTIES OF THE MEDIA OF THE ELEMENTS INVOLVED THEREIN; NON-LINEAR OPTICS; FREQUENCY-CHANGING OF LIGHT; OPTICAL LOGIC ELEMENTS; OPTICAL ANALOGUE/DIGITAL CONVERTERS
    • G02F1/00Devices or arrangements for the control of the intensity, colour, phase, polarisation or direction of light arriving from an independent light source, e.g. switching, gating or modulating; Non-linear optics
    • G02F1/01Devices or arrangements for the control of the intensity, colour, phase, polarisation or direction of light arriving from an independent light source, e.g. switching, gating or modulating; Non-linear optics for the control of the intensity, phase, polarisation or colour 
    • G02F1/13Devices or arrangements for the control of the intensity, colour, phase, polarisation or direction of light arriving from an independent light source, e.g. switching, gating or modulating; Non-linear optics for the control of the intensity, phase, polarisation or colour  based on liquid crystals, e.g. single liquid crystal display cells
    • G02F1/133Constructional arrangements; Operation of liquid crystal cells; Circuit arrangements
    • G02F1/1333Constructional arrangements; Manufacturing methods
    • G02F1/1335Structural association of cells with optical devices, e.g. polarisers or reflectors
    • G02F1/133528Polarisers

Definitions

  • the present invention relates to a substrate support device provided with a transport means in a substrate transport mechanism and a polarizing film laminating device, a polarizing film laminating device, and a liquid crystal display manufacturing system including the same.
  • liquid crystal display devices have been widely manufactured.
  • a polarizing film is bonded to a substrate (liquid crystal panel) used in a liquid crystal display device in order to control transmission or blocking of light.
  • the polarizing film is bonded so that the absorption axes thereof are orthogonal.
  • Patent Document 1 discloses an optical display device manufacturing system.
  • the said manufacturing system rotates a board
  • optical film polarizing film
  • the conventional apparatus has the following problems.
  • the work is usually performed in a clean room in order to prevent foreign matters such as dust from entering the bonding surface.
  • air is rectified. This is because it is necessary to bond the polarizing film in a state in which rectification is performed on the substrate in a downflow in order to suppress the yield reduction due to the foreign matter.
  • the manufacturing system of Patent Document 1 has a configuration in which a polarizing film is bonded to the substrate from the upper surface and the lower surface.
  • a demerit that the airflow (downflow) is hindered by the polarizing film and the rectification environment to the substrate is deteriorated.
  • FIGS. 22 (a) and 22 (b) show air velocity vectors in the top-paste type manufacturing system. The area A in FIG.
  • the area 22 is an area where an unwinding part for unwinding the polarizing film is installed, the area B is an area through which the polarizing film mainly passes, and an area C is a release film removed from the polarizing film. This is an area in which a winding unit and the like for winding are installed.
  • HEPA (High Efficiency Particulate Air) Clean air is supplied from the filter 40.
  • the airflow can move in the vertical direction via the grating 41.
  • the airflow moves along the floor after contacting the floor at the bottom of FIG. 22 (b).
  • the areas A to C are arranged in the 2F (second floor) portion, and the clean air from the HEPA filter 40 is blocked by the polarizing film. Therefore, it is difficult to generate an airflow in the vertical direction with respect to the substrate passing through the 2F portion. On the other hand, the airflow vector in the horizontal direction is large (vector density is high). That is, it can be said that the rectification environment has deteriorated.
  • This invention is made
  • the objective is to provide the manufacturing system of a polarizing film bonding apparatus and a liquid crystal display device provided with the same which do not disturb a rectification environment. is there.
  • the substrate transport mechanism of the present invention (first invention) according to claim 1 is: A first substrate transport mechanism for transporting a rectangular substrate with a long side or a short side along the transport direction; A second substrate transport mechanism for transporting the substrate in a state where the short side or the long side is along the transport direction; In a substrate transport mechanism equipped with A substrate support provided with a substrate support member for supporting the substrate transported by the first substrate transport mechanism, and a drive control means for acting on the substrate support member to bring the substrate support member into a substrate support state.
  • Equipment The first substrate transport mechanism and the second substrate transport mechanism are disposed between the first substrate transport mechanism and the second substrate transport mechanism which are parallel to each other with the transport directions being offset.
  • the reversing mechanism includes at least one substrate reversing unit that is reversing around a reversing axis and is disposed to be inclined with respect to the transporting direction of the two-substrate transporting mechanism.
  • the bonding apparatus for the polarizing film of the present invention (second invention) is: A first substrate transport mechanism for transporting a rectangular substrate with a long side or a short side along the transport direction; A first bonding part for bonding a first polarizing film to the lower surface of the substrate in the first substrate transport mechanism; A second substrate transport mechanism for transporting the substrate in a state where the short side or the long side is along the transport direction; In the polarizing film bonding apparatus comprising the second bonding portion for bonding the second polarizing film to the lower surface of the substrate in the second substrate transport mechanism, A substrate support member for supporting the substrate on which the first polarizing film transported by the first substrate transport mechanism is bonded, and acting on the substrate support member so that the substrate support member is in a substrate support state.
  • a substrate support device provided with a drive control means,
  • the first substrate transport mechanism and the second substrate transport mechanism are disposed between the first substrate transport mechanism and the second substrate transport mechanism which are parallel to each other with the transport directions being offset.
  • the reversing mechanism includes at least one substrate reversing unit that is reversing around a reversing axis and is disposed to be inclined with respect to the transporting direction of the two-substrate transporting mechanism.
  • the polarizing film laminating device of the present invention (third invention) according to claim 3 is: In the first invention or the second invention, The reversing shaft is arranged to be inclined at an angle within a range of 40 degrees to 50 degrees with respect to the transport direction of the first substrate transport mechanism and the second substrate transport mechanism.
  • the bonding apparatus for the polarizing film of the present invention (fourth invention) according to claim 4 is: In the first invention or the second invention, The reversing shaft is disposed to be inclined at an angle within a range of 45 degrees ⁇ 2 degrees with respect to the transport direction of the first substrate transport mechanism and the second substrate transport mechanism.
  • the polarizing film laminating device of the present invention (the fifth invention) according to claim 5 is:
  • the substrate support member is constituted by at least two support members, By relative movement of at least one support member based on drive control by the drive control means, the substrate on which the first polarizing film is bonded between at least two support members is sandwiched and supported. It is comprised as follows.
  • the pasting device for the polarizing film of the present invention (sixth invention) according to claim 6 is:
  • the substrate support device is disposed to face the downstream end of the first substrate transport mechanism and the upstream end of the second substrate transport mechanism with a gap therebetween, and the downstream end of the first substrate transport mechanism
  • the first transport means for transporting the substrate on which the first polarizing film transported from the substrate is bonded, and the substrate on which the inverted first polarizing film is bonded to the first substrate from the substrate support device.
  • a second transport means for transporting to the upstream end of the two-substrate transport mechanism.
  • the bonding apparatus for the polarizing film of the present invention (seventh invention) according to claim 7 is:
  • the at least two support members of the substrate support apparatus are transported at a plurality of divided portions divided in the width direction at a downstream end portion of the first substrate transport mechanism and at an upstream end portion of the second substrate transport mechanism. It is comprised by the comb-shaped member which has the some protrusion part which approachs the some gap
  • the polarizing film laminating device of the present invention (eighth invention) according to claim 8 is:
  • the substrate support member is constituted by one support member,
  • the first polarizing film which is supported after the surface of the substrate on which the first polarizing film transported to the downstream end of the first substrate transporting mechanism is bonded, is attached and supported after being inverted.
  • the bonded substrate is placed on the upstream end of the second substrate transport mechanism from above.
  • the polarizing film laminating apparatus of the present invention (the ninth invention) according to claim 9 is:
  • the 1st and 2nd conveyance means which conveys the said board
  • the first and second transport rolls that transport the substrate.
  • a polarizing film laminating apparatus of the present invention (tenth invention) according to claim 10 is:
  • the first and second transport rolls are transported into the substrate support apparatus.
  • the substrate to which the film is bonded is sandwiched and supported, and after the reversal, the sandwiched state of the substrate reversed by the second substrate transport mechanism is released.
  • At least one of the at least two support members is configured to relatively approach by reciprocating.
  • At least one of the at least two support members is configured to relatively approach by swinging with a part as a fulcrum.
  • the polarizing film laminating apparatus of the present invention (the thirteenth aspect) according to claim 13
  • the drive control means comprises an electric drive control means, and the second drive member is moved between at least two support members by relative movement of at least one of the two support members by electric drive control based on a drive control command.
  • the substrate on which the first polarizing film transported by the one substrate transport mechanism is bonded is supported in a sandwiched state, and after the reversal, the sandwiched state of the substrate reversed in the second substrate transport mechanism is released. It looks like.
  • the polarizing film laminating device of the present invention (14th invention) is:
  • the drive control means comprises mechanical drive control means, and the first substrate transport mechanism is interposed between at least two support members by relative movement of at least one of the two support members by mechanical drive control.
  • the substrate to which the conveyed first polarizing film is bonded is supported in a sandwiched state, and the substrate that has been reversed in the second substrate transport mechanism after reversing is released. It is what.
  • a polarizing film laminating device of the present invention (15th invention) according to claim 15 is:
  • the drive control means includes fluid drive control means, and is transported by the first substrate transport mechanism between at least two support members by relative movement of at least one of the two support members by fluid pressure control.
  • the substrate on which the first polarizing film bonded is sandwiched and supported, and the substrate that has been reversed in the second substrate transport mechanism after reversing is released. Is.
  • the polarizing film laminating device of the present invention (sixteenth invention) according to claim 16
  • the drive control means comprises fluid drive control means, and the first polarizing film transported to the downstream end portion of the one support member and the first substrate transport mechanism by fluid pressure by fluid pressure control.
  • the bonded substrate surface is supported in an adsorbed state, a pressed state, or other attached state, and is configured to release the attached state of the substrate reversed by the second substrate transport mechanism after reversal. It is what.
  • the polarizing film laminating apparatus of the present invention (a seventeenth aspect) according to claim 17
  • a cleaning unit for cleaning the substrate is provided,
  • the first substrate transport mechanism transports the substrate with the short side of the substrate along the transport direction.
  • a polarizing film laminating device of the present invention (18th invention) is: In the sixteenth invention, In the first film transport mechanism and the second film transport mechanism, a defect detection unit that detects a defect display attached to the polarizing film unwound from the first unwinding unit; A bonding avoidance unit that determines the defect display and stops the conveyance of the substrate; It has a collection
  • a manufacturing system of a liquid crystal display device (the nineteenth aspect) A polarizing film laminating device according to any one of the second invention to the eighteenth invention;
  • the present invention includes a misalignment inspection device that inspects misalignment in a substrate on which a polarizing film is bonded by the second bonding portion.
  • the system for manufacturing a liquid crystal display device is the nineteenth invention
  • the apparatus includes a sorting / conveying device that determines the presence / absence of sticking misalignment based on the inspection result of the sticking misalignment inspection apparatus, and sorts the substrate on which the polarizing film is bonded based on the determination result.
  • the manufacturing system of the liquid crystal display device of the present invention (the twenty-first invention) according to claim 21 comprises a polarizing film laminating device according to any one of the second to twentieth inventions,
  • the apparatus includes a bonded foreign matter automatic inspection device that inspects foreign matters on a substrate on which a polarizing film has been bonded by the second bonding portion in the bonding device.
  • the manufacturing system for a liquid crystal display device provides:
  • the present invention includes a sorting and conveying device that determines the presence or absence of foreign matter based on the inspection result of the bonded foreign matter automatic inspection apparatus, and sorts the substrate on which the polarizing film is bonded based on the determination result.
  • a liquid crystal display manufacturing system It is equipped with a bonded foreign matter automatic inspection device that inspects foreign matters on the substrate on which the polarizing film has been bonded by the second bonding portion, Based on the inspection result by the pasting inspection device and the inspection result by the pasting foreign matter automatic inspection device, the presence or absence of pasting and foreign matter is determined, and the substrate on which the polarizing film is pasted is determined based on the determination result.
  • the substrate support device in the substrate transport mechanism of the present invention includes a first substrate transport mechanism that transports a rectangular substrate in a state in which a long side or a short side is along the transport direction, and a short side or a long side of the substrate in the transport direction. And a second substrate transport mechanism that transports the substrate in a state along the substrate, the first substrate transport mechanism and the second substrate disposed on a member connected to a substrate reversing unit that performs the substrate reversing operation.
  • Transport from the first substrate transport mechanism between the first support member and the second support member by relative movement of the first support member and the second support member entering the end of the transport mechanism The first support member that is supported by being sandwiched and reversed by the substrate reversing unit by the relative movement of the first support member and the second support member. And the second support member The substrate supported by being sandwiched is provided with a substrate support device configured so that the support by the sandwiching is released and placed on the end of the second substrate transport mechanism. .
  • the end portion of the first substrate transport mechanism is divided into a plurality of portions in the width direction, and the first and first portions are arranged between adjacent portions.
  • a plurality of gaps into which a plurality of protrusions of the first and second comb-shaped members constituting the second support member enter, and an end of the second substrate transport mechanism has a plurality of gaps in the transport direction.
  • a plurality of gaps into which the plurality of protrusions of the first and second comb-shaped members constituting the first and second support members that are divided into portions and inverted between adjacent portions enter are formed. It is what.
  • the substrate support apparatus in the substrate transport mechanism of the present invention is the above-described present invention, wherein the first and second comb-like members each having a plurality of protrusions constituting the first and second support members are partially Is configured so as to swing within a certain angle range.
  • the substrate support apparatus in the substrate transport mechanism of the present invention is the above-described substrate support device according to the present invention, wherein the first and second comb-shaped members having a plurality of protrusions constituting the first and second support members are rocked. It is configured to be driven to swing by a dynamic drive mechanism.
  • the substrate support apparatus in the substrate transport mechanism of the present invention is the above-described invention, wherein the swing drive mechanism swings the first comb-like member having a plurality of protrusions constituting the first support member.
  • the substrate support device in the substrate transport mechanism of the present invention is the above-described substrate drive device, wherein the swing drive mechanism is a swing drive source, and the swing support force from the swing drive source is applied to the first support member.
  • the first clutch means that is transmitted to the first comb-like member having a plurality of projecting portions and that is driven to swing, and the swing driving force from the swing drive source constitutes the second support member.
  • a second clutch means that is transmitted to the second comb-like member having a plurality of projecting portions and driven to swing.
  • the substrate support apparatus in the substrate transport mechanism of the present invention is the above-mentioned present invention, wherein the first and second comb-like members having a plurality of protrusions constituting the first and second support members are It is configured to be able to reciprocate so that the facing interval changes as it approaches or separates relatively in the direction.
  • the first and second comb-like members having a plurality of projecting portions constituting the first and second support members are straight lines. Driven by a mechanical drive mechanism and configured to reciprocate.
  • the linear drive mechanism is relatively close to the first and second comb members by the driving force of the electrical drive device.
  • the substrate is sandwiched and supported.
  • the substrate supporting device in the substrate transport mechanism of the present invention is the substrate supporting device according to the eighth invention, wherein the linear driving mechanism is adsorbed or pinched by the action of fluid pressure supplied from the driving device.
  • the linear driving mechanism is adsorbed or pinched by the action of fluid pressure supplied from the driving device.
  • substrate support apparatus in the bonding apparatus of the polarizing film of this invention is the 1st board
  • substrate conveyance mechanism are supported.
  • a polarizing film laminating apparatus including a substrate supporting device including a substrate supporting unit
  • the first substrate transporting mechanism and the second substrate transporting are disposed on a member connected to a substrate reversing unit that performs a reversing operation of the substrate.
  • First entering the end of the mechanism By the relative movement of the support member and the second support member, the first polarizing film transported from the first substrate transport mechanism is bonded between the first support member and the second support member.
  • the substrate is supported by being sandwiched, and the first support member is reversed by the substrate reversing unit by the relative movement of the first support member and the second support member.
  • the substrate to which the first polarizing film supported by being sandwiched between the second support members is bonded is released from the support by the sandwich, and the end of the second substrate transport mechanism is released.
  • a substrate support device configured to be placed is provided.
  • substrate support apparatus in the bonding apparatus of the polarizing film of this invention is a 1st board
  • substrate conveyance mechanism are supported.
  • a reversing mechanism configured to reverse the substrate supported by the substrate supporting unit by a reversing operation of the substrate reversing unit connected to the substrate supporting unit, and to change the arrangement and place the substrate on the second substrate transport mechanism.
  • a polarizing film containing In the apparatus, a first support member that is disposed on a member connected to a substrate reversing portion of the reversing mechanism that performs the reversing operation of the substrate and enters the end portions of the first substrate transporting mechanism and the second substrate transporting mechanism;
  • substrate conveyance mechanism was bonded between the said 1st support member and the 2nd support member by relative movement with a 2nd support member. Is supported by being sandwiched, and the first support member and the second support member reversed by the substrate reversing unit by the relative movement of the first support member and the second support member.
  • the substrate on which the first polarizing film supported by being sandwiched between the supporting members is bonded is released from the support by the sandwiching and placed on the end of the second substrate transport mechanism.
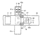
  • the reversing mechanism in the present invention is reversed by rotating around a reversing axis disposed at a certain inclination with respect to the transport direction of the substrate.
  • a substrate reversing unit that operates is provided.
  • the substrate support apparatus in the polarizing film laminating apparatus of the present invention is such that, in the present invention, the inclination of the inversion axis is 45 °.
  • a substrate support apparatus including a transport unit in the substrate transport mechanism of the present invention includes a first substrate transport mechanism that transports a rectangular substrate with a long side or a short side along a transport direction, and the substrate.
  • a substrate support device including a support member is provided.
  • the substrate supporting apparatus provided with the transport means in the substrate transport mechanism of the present invention is the first transport means in the present invention, wherein the transport means transports the substrate in a direction along the first substrate transport mechanism.
  • a second transport means for transporting the substrate in a direction along the second substrate transport mechanism, and the substrate support member is composed of at least one substrate support member.
  • the substrate support apparatus provided with the transport means in the substrate transport mechanism of the present invention sandwiches the substrate that has reached the substrate support position when the two substrate support members relatively approach each other in the present invention. It is comprised so that it may support.
  • the substrate supporting apparatus provided with the transport means in the substrate transport mechanism of the present invention is the above-mentioned present invention, wherein the first and second transport means are synchronized with the first and second substrate transport mechanisms by the driving device. And a plurality of first and second transport rollers that are rotationally driven and arranged in an orthogonal relationship with each other.
  • the substrate supporting apparatus provided with the conveying means in the substrate conveying mechanism of the present invention is the substrate supporting device according to the present invention, wherein at least one of the first or second conveying rollers approaches relatively.
  • the substrate that has reached the position is sandwiched and supported, and constitutes the substrate support member.
  • the substrate supporting apparatus provided with the conveying means in the substrate conveying mechanism according to the present invention is such that, in the present invention, the substrate supporting member relatively approaches one of the first or second conveying rollers. The substrate that has reached the substrate support position is sandwiched and supported.
  • the substrate supporting apparatus provided with the conveying means in the substrate conveying mechanism of the present invention is the substrate supporting position according to the present invention, wherein the substrate supporting member relatively approaches by the driving force of the electric driving device.
  • the substrate that has reached 1 is sandwiched and supported.
  • the substrate support apparatus provided with the transfer means in the substrate transfer mechanism of the present invention is the substrate support position according to the present invention, wherein the substrate support member relatively approaches by the driving force of the mechanical drive device.
  • the substrate that has reached 1 is sandwiched and supported.
  • the substrate supporting apparatus provided with the conveying means in the substrate conveying mechanism of the present invention is the above-mentioned invention, wherein the substrate supporting member is adsorbed or sandwiched by the action of the fluid pressure supplied from the driving device. The substrate that has reached the substrate support position is sandwiched and supported.
  • substrate support apparatus provided with the conveyance means in the bonding apparatus of the polarizing film of this invention is a 1st board
  • a polarizing film laminating apparatus including a substrate supporting mechanism provided with a substrate supporting portion for supporting the substrate, the substrate transported from the first substrate transporting mechanism and bonded with the first polarizing film is supported by the substrate. Carry in the transport path in the device And a substrate connected to a substrate reversing unit that performs the reversing operation of the substrate, and the first polarizing film that has been transported by the transport unit and has reached the substrate support position is bonded to the substrate.
  • a substrate support device including at least one substrate support member that supports the substrate.
  • substrate support apparatus provided with the conveyance means in the bonding apparatus of the polarizing film of this invention is a 1st board
  • the substrate transported from the first substrate transport mechanism and bonded with the first polarizing film includes transporting means transported in a transport path in the substrate support device, and the substrate.
  • a member connected to the substrate reversing part of the reversing mechanism that performs the reversing operation, and supports at least one of the substrates on which the first polarizing film that has been conveyed by the conveying means and has reached the substrate supporting position is bonded.
  • a substrate support device including individual substrate support members is provided.
  • substrate support apparatus provided with the conveyance means in the bonding apparatus of the polarizing film of this invention WHEREIN:
  • the said inversion mechanism which the said bonding apparatus of the polarizing film contains is constant with respect to the conveyance direction of the said board
  • a substrate reversing unit that rotates around a reversing axis disposed at an inclination and performs a reversing operation is provided.
  • the substrate support apparatus provided with the conveying means in the polarizing film laminating apparatus of the present invention is the above-mentioned twelfth invention, wherein the inclination of the inversion axis is 45 °.
  • the reversing mechanism in the substrate transport mechanism of the present invention includes a first substrate transport mechanism that transports a rectangular substrate with a long side or a short side along the transport direction, and a short side or a long side of the substrate.
  • a substrate transport mechanism comprising a second substrate transport mechanism for transporting in a state along the transport direction, the substrate transported by the first substrate transport mechanism is reversed and arranged by a reversing operation of the substrate reversing unit.
  • a reversing mechanism configured to be arranged in the second substrate transport mechanism.
  • the reversing mechanism in the substrate transport mechanism of the present invention is the above-described reversing mechanism, wherein the reversing mechanism is rotated around a reversing axis disposed at a fixed inclination with respect to the transporting direction of the substrate by the rotational drive of the driving device.
  • a substrate reversing unit that performs a reversing operation is provided.
  • the reversing mechanism in the substrate transport mechanism of the present invention is such that, in the present invention, the inclination of the reversing axis is 45 °.
  • the reversing mechanism in the substrate transport mechanism of the present invention is such that, in the present invention, one end of the substrate reversing portion is disposed at an inclination of 45 ° with respect to the reversing axis.
  • the reversing mechanism in the substrate transport mechanism of the present invention is the substrate reversing unit in the reversing shaft of the reversing mechanism and the substrate transported by the first substrate transport mechanism and the second substrate transport mechanism in the present invention.
  • the substrates arranged by being inverted by the above are arranged on the same plane.
  • the reversing mechanism in the substrate transport mechanism of the present invention is the above-mentioned reversing mechanism according to the present invention, wherein the reversing mechanism includes means for enabling the reversing shaft to be lifted, tilted and adjusted in position.
  • the reversing mechanism in the substrate transport mechanism of the present invention is the reversing mechanism in the present invention, wherein two reversing mechanisms are disposed on both sides of the first substrate transport mechanism, and the first substrate is disposed on both sides of the first substrate transport mechanism. Two substrate platforms that alternately transport the substrates transported by the transport mechanism are disposed, and the substrates transported to the two substrate platforms are alternated by the two reversing mechanisms. And the arrangement is changed and arranged in the second substrate transport mechanism.
  • the reversing mechanism in the polarizing film laminating apparatus of the present invention includes a first substrate transport mechanism that transports a rectangular substrate in a state in which a long side or a short side is along the transport direction, and the above-described first substrate transport mechanism.
  • the 2nd substrate conveyance mechanism which conveys the above-mentioned substrate in the state where the short side or the long side followed the conveyance direction, and the above-mentioned 2nd substrate conveyance mechanism
  • the substrate conveyed by the first substrate conveying mechanism is reversed by the reversing operation of the substrate reversing portion.
  • a reversing mechanism configured to change the arrangement and arrange the arrangement on the second substrate transport mechanism.
  • the reversing mechanism in the polarizing film laminating apparatus of the present invention includes a first substrate transport mechanism that transports a rectangular substrate with a long side or a short side along the transport direction, and the above-described first substrate transport mechanism.
  • the 2nd substrate conveyance mechanism which conveys the above-mentioned substrate in the state where the short side or the long side followed the conveyance direction, and the above-mentioned 2nd substrate conveyance mechanism
  • a second bonding unit that bonds a polarizing film to the lower surface of the substrate and a holding unit that holds the substrate conveyed by the first substrate conveyance mechanism are provided, and the holding unit is released from holding state or holding.
  • the first substrate is obtained by the reversing operation of the substrate reversing unit having one end connected to the holding unit of the holding mechanism based on the rotational driving of the driving device.
  • the transport mechanism It causes feeding to inverts the substrate held by the holding portion, in which is provided with a reversing mechanism that is configured to be placed in the second substrate transport mechanism to change the arrangement.
  • the reversing mechanism in the polarizing film laminating apparatus of the present invention is such that the inclination of the reversal axis is 45 ° in the present invention.
  • the reversing mechanism in the polarizing film laminating apparatus of the present invention is such that, in the present invention, one end of the substrate reversing portion is disposed at an inclination of 45 ° with respect to the reversing axis.
  • the reversing mechanism in the polarizing film laminating apparatus of the present invention is the above-mentioned reversing mechanism according to the present invention, wherein the reversing axis passes through the center of the substrate in the first substrate transporting mechanism and is based on a straight line perpendicular to the transporting direction of the substrate. It includes a straight line having an inclination of ° and is located in a plane perpendicular to the substrate.
  • the reversing mechanism in the polarizing film laminating apparatus of the present invention is the reversing mechanism according to the present invention, the reversing shaft of the reversing mechanism and the substrate transported by the first substrate transporting mechanism and the second substrate transporting mechanism.
  • substrate inversion part is arrange
  • the reversing mechanism in the polarizing film laminating apparatus of the present invention is the above-mentioned present invention, wherein the reversing mechanism is provided with means for enabling the reversing shaft to be lifted, tilted and adjusted in position.
  • the reversing mechanism in the polarizing film laminating apparatus of the present invention is the reversing mechanism according to the present invention, wherein two reversing mechanisms are disposed on both sides of the first substrate transport mechanism, and the reversing mechanism is disposed on both sides of the first substrate transport mechanism. Two substrate platforms that alternately transport the substrates transported by the first substrate transport mechanism are disposed, and the substrates transported to the two substrate platforms are inverted between the two The arrangement is reversed alternately by the mechanism, and the arrangement is changed and arranged in the second substrate transport mechanism.
  • the reversing mechanism including the substrate support unit in the substrate transport mechanism of the present invention includes a first substrate transport mechanism that transports a rectangular substrate with a long side or a short side along the transport direction, and the substrate.
  • a reversing mechanism configured to reverse the substrate supported by the substrate supporting unit by the reversing operation of the substrate reversing unit, and to change the arrangement and place it on the second substrate transport mechanism. It is.
  • the reversing mechanism having the substrate support portion in the substrate transport mechanism of the present invention is the reversing mechanism according to the present invention, wherein the reversing mechanism is disposed at a constant inclination with respect to the transport direction of the substrate by the rotational drive of the driving device. And a substrate reversing section that rotates around the reversing axis and performs a reversing operation.
  • the reversing mechanism provided with the substrate support portion in the substrate transport mechanism of the present invention is such that in the present invention, the inclination of the reversing axis is 45 °.
  • the reversing mechanism provided with the substrate support portion in the substrate transport mechanism of the present invention is such that, in the present invention, one end of the substrate reversing portion is disposed at an inclination of 45 ° with respect to the reversing axis. .
  • the reversing shaft of the reversing mechanism is transported by the first substrate transport mechanism and supported by the substrate support portion in the present invention.
  • the substrate is reversed by the substrate and the substrate reversing unit and is disposed on the same plane as the substrate disposed on the second substrate transport mechanism.
  • the reversing mechanism provided with the substrate supporting portion in the substrate transport mechanism of the present invention is the above-mentioned present invention, wherein the substrate reversing portion and the substrate supporting portion are provided in a pair symmetrically with respect to the reversing axis. .
  • the substrate support portion connected to one end of the substrate reversal portion is transported by the first substrate transport mechanism. It is comprised by the clamping means to support by clamping the said board
  • the reversing mechanism provided with the substrate supporting part in the substrate transporting mechanism of the present invention is the above-mentioned present invention, wherein the substrate supporting part connected to one end of the substrate reversing part is transported by the first substrate transporting mechanism. It is comprised by the adsorption
  • the reversing mechanism provided with the substrate support unit in the polarizing film bonding apparatus of the present invention includes a first substrate transport mechanism that transports a rectangular substrate in a state where the long side or the short side is along the transport direction, and the first A first bonding unit that bonds a polarizing film to the lower surface of the substrate in a one-substrate transport mechanism; a second substrate transport mechanism that transports the substrate in a state in which a short side or a long side is along the transport direction; In the polarizing film bonding apparatus including the second bonding portion for bonding the polarizing film to the lower surface of the substrate in the second substrate transport mechanism, the substrate that supports the substrate transported by the first substrate transport mechanism.
  • a reversing mechanism configured to reverse the substrate supported by the substrate supporting unit by a reversing operation of the substrate reversing unit connected to the supporting unit, and to change the arrangement and arrange the reversing mechanism on the second substrate transport mechanism. Have It is intended.
  • substrate support part in the bonding apparatus of the polarizing film of this invention is a 1st board
  • a first bonding unit that bonds a polarizing film to the lower surface of the substrate in a one-substrate transport mechanism; a second substrate transport mechanism that transports the substrate in a state in which a short side or a long side is along the transport direction; Substrate support provided with a second bonding unit for bonding a polarizing film to the lower surface of the substrate in the second substrate transport mechanism, and a substrate support unit for supporting the substrate transported by the first substrate transport mechanism.
  • the substrate supporting unit is supported by the reversing operation of the substrate reversing unit connected to the substrate supporting unit that supports the substrate transported by the first substrate transporting mechanism. Invert the above substrate Rutotomoni, in which is provided with a reversing mechanism configured to place the second substrate transport mechanism to change the arrangement.
  • substrate support part in the bonding apparatus of the polarizing film of this invention is a fixed inclination with respect to the conveyance direction of the said board
  • a substrate reversing section that rotates around the disposed reversing axis and performs a reversing operation is provided.
  • substrate support part in the bonding apparatus of the polarizing film of this invention WHEREIN:
  • shaft is 45 degrees in the said this invention.
  • substrate support part in the bonding apparatus of the polarizing film of this invention WHEREIN:
  • substrate inversion part is arrange
  • substrate support part in the bonding apparatus of the polarizing film of this invention WHEREIN:
  • shaft of the said inversion mechanism is conveyed by the said 1st board
  • the substrate is reversed by the substrate and the substrate reversing unit and is disposed in the same plane as the substrate disposed in the second substrate transport mechanism.
  • substrate support part in the bonding apparatus of the polarizing film of this invention is provided with a pair of said board
  • substrate support part in the bonding apparatus of the polarizing film of this invention is the said board
  • substrate support part in the bonding apparatus of the polarizing film of this invention is the said board
  • the polarizing film laminating apparatus of the present invention transports a rectangular substrate with a long side or a short side along the transport direction, and the first substrate.
  • a first bonding unit that bonds a polarizing film to the lower surface of the substrate in the transport mechanism;
  • a reversing mechanism that reverses the substrate transported by the first substrate transport mechanism and places the substrate in the second substrate transport mechanism;
  • a second substrate transport mechanism for transporting the substrate in a state where the short side or the long side is along the transport direction, and a second bonding unit for bonding a polarizing film to the lower surface of the substrate in the second substrate transport mechanism;
  • the first substrate transport mechanism and the second substrate transport mechanism transport the substrate in the same direction, and the long side or the short side of the first substrate transport mechanism is transported.
  • the second substrate transport mechanism includes a reversing mechanism for bringing the short side or the long side along the transport direction, and the reversing mechanism includes a suction unit that sucks the substrate, and a substrate reversing unit connected to the suction unit,
  • the substrate reversing unit is for reversing the substrate by rotating along the reversal axis, and the reversal axis is located in the plane of (1) below and at the vertical position of (2) below. It is characterized by.
  • the polarizing film is bonded to the lower surface of the substrate by the first bonding portion, and the substrate is rotated by rotation along the reversal axis of the substrate reversing portion in the reversing mechanism. And the long side and the short side with respect to the transport direction can be changed. Then, a polarizing film can be bonded to the lower surface of a board
  • the bonding apparatus since a polarizing film can be bonded from the lower surface to both surfaces of the substrate, the rectifying environment is not hindered. Moreover, since the operation of the reversing mechanism is a simple operation, the tact time is short. Therefore, it is possible to realize bonding with a short tact time. Further, the first substrate transport mechanism and the second substrate transport mechanism transport the substrate in the same direction. That is, it does not have a complicated structure such as an L shape. Therefore, the bonding apparatus according to the present invention is very simple to install and is excellent in area efficiency.
  • the first substrate transport mechanism and the second substrate transport mechanism are arranged in a straight line, and at the end of the first substrate transport mechanism on the second substrate transport mechanism side.
  • the substrate mounting portion and the reversing mechanism are provided in two pairs along both directions parallel to the transport direction of the first substrate transport mechanism at the end portion, and the end portion includes the substrate from the end portion to the substrate. It is preferable that transport means for transporting the substrate to the placement unit is provided, and the reversing mechanism reverses the substrate transported to each of the substrate placement units and places it on the second substrate transport mechanism.
  • the polarizing film laminating apparatus of the present invention transports a rectangular substrate with a long side or a short side along the transport direction, and the first substrate.
  • a first bonding unit that bonds a polarizing film to the lower surface of the substrate in the transport mechanism;
  • a reversing mechanism that reverses the substrate transported by the first substrate transport mechanism and places the substrate in the second substrate transport mechanism;
  • a second substrate transport mechanism for transporting the substrate in a state where the short side or the long side is along the transport direction, and a second bonding unit for bonding a polarizing film to the lower surface of the substrate in the second substrate transport mechanism;
  • the first substrate transport mechanism and the second substrate transport mechanism transport the substrate in the same direction, and the long side or the transported by the first substrate transport mechanism.
  • a substrate with a short side along the transport direction A reversing mechanism for reversing a short side or a long side to a state along the substrate transport direction of the second substrate transport mechanism, wherein the reversing mechanism includes a substrate support portion and a substrate reversing portion connected to the substrate support portion.
  • the substrate support unit can place the substrate transported by the first substrate transport mechanism, and can sandwich the placed substrate.
  • the substrate reversing unit rotates about the reversing axis.
  • the first substrate transport mechanism includes a straight line that passes through the center of the substrate before reversal in the first substrate transport mechanism and has a 45 ° inclination with respect to a straight line that is perpendicular to the transport direction of the substrate.
  • the reversing axis is located in a plane including the substrate before reversal in the substrate transport mechanism, and a pair of the substrate support portions are provided symmetrically with respect to the reversing axis.
  • a polarizing film can be bonded to the lower surface of a board
  • the operation of the reversing mechanism is a simple operation centered on the reversing axis, the tact time is short.
  • the bonding apparatus according to the present invention is very simple to install and is excellent in area efficiency.
  • substrate support part is equipped with the adsorption
  • substrate can be further fixed rather than the case where a board
  • the substrate reversing portion is provided with a rotating shaft portion that rotates together with the substrate reversing portion, and the rotating shaft portion is disposed along the reversing axis. Is preferred.
  • the substrate reversing portion including the rotating shaft portion can rotate more stably along the reversing axis. Therefore, the substrate can be reversed more stably.
  • the 1st film conveyance mechanism and 2nd film conveyance mechanism which convey a polarizing film are provided, and the said 1st film conveyance mechanism was protected by the peeling film.
  • a plurality of unwinding sections for unwinding the polarizing film, a cutting section for cutting the polarizing film, a removing section for removing the release film from the polarizing film, and a plurality of winding sections for winding the removed release film are provided.
  • the second film transport mechanism includes a plurality of unwinding sections for unwinding the polarizing film protected by the peeling film, a cutting section for cutting the polarizing film, and a removing section for removing the peeling film from the polarizing film.
  • the first bonding unit is provided on the top of the structure and the second film transport mechanism, and bonds the polarizing film from which the release film has been removed to the substrate.
  • the unwinding part and the winding part are provided in plural, when the remaining amount of the original film of the polarizing film in one unwinding part decreases, the other unwinding part is provided in the original film. It is possible to connect raw materials. As a result, the operation can be continued without stopping the unwinding of the polarizing film, and the production efficiency can be increased.
  • the first film transporting mechanism before the polarizing film is bonded to the lower surface of the substrate by the first bonding portion, the first film transporting mechanism includes a cleaning unit for cleaning the substrate. It is preferable to transport the substrate with the short side of the substrate along the transport direction.
  • the substrate can be cleaned by the cleaning unit in a state where the long sides of the substrate are orthogonal to the substrate transport direction. That is, since the distance of the substrate along the transport direction can be reduced, the tact time required for cleaning can be further shortened. As a result, it is possible to provide a polarizing film laminating apparatus that is further excellent in production efficiency.
  • the first film transport mechanism and the second film transport mechanism detect a defect display attached to the polarizing film unwound from the first unwinding section. It is preferable to have a defect detection unit, a bonding avoidance unit that discriminates the defect display and stops the conveyance of the substrate, and a recovery unit that recovers the polarizing film from which bonding with the substrate is avoided.
  • the yield can be increased.
  • the polarizing film laminating apparatus and the liquid crystal display manufacturing system of the present invention are a pasting apparatus for inspecting misalignment in the polarizing film laminating apparatus and the substrate on which the polarizing film is pasted by the second laminating section.
  • a deviation inspection device is provided.
  • the presence or absence of misalignment is determined based on the inspection result by the above-described misalignment inspection apparatus, and the polarizing film is bonded based on the determination result. It is preferable to provide a sorting / conveying device for sorting the substrates.
  • substrate with which the polarizing film was bonded by the polarizing film bonding apparatus and the 2nd bonding part in the said bonding apparatus is preferable to provide a bonded foreign matter automatic inspection device for inspecting
  • the presence or absence of foreign matter is determined based on the inspection result by the bonding foreign substance automatic inspection device, and the polarizing film is bonded based on the determination result. It is preferable to provide a sorting / conveying device for sorting the formed substrates.
  • the apparatus includes a bonding foreign substance automatic inspection device that inspects foreign substances on the substrate on which the polarizing film is bonded by the second bonding section, Based on the inspection result by the pasting inspection device and the inspection result by the pasting foreign matter automatic inspection device, the presence or absence of pasting and foreign matter is determined, and the substrate on which the polarizing film is pasted is determined based on the determination result. It is preferable to provide a sorting and conveying device that performs the above.
  • the drive control means of the substrate support device acts on the substrate support member to bring the substrate support member into a substrate support state.
  • the rectangular substrates are transported by the first substrate transport mechanism that transports the long or short sides along the transport direction, and the substrates supported by the substrate support member are parallel with the transport direction being offset from each other.
  • the substrate support member At least one substrate reversing unit connected to the substrate is reversed about the reversing axis disposed inclined with respect to the conveyance direction of the first substrate conveyance mechanism and the second substrate conveyance mechanism. Since the second substrate transport mechanism is arranged along the transport direction, the substrate supported and supported by the first substrate transport mechanism by the substrate support member is securely supported, and at least 1 The substrate is reversed by one reversing operation of the substrate reversing units, and rearranged along the transport direction of the second substrate transport mechanism to shorten the tact time in the substrate transport mechanism. There is an effect that can be.
  • the polarizing film laminating apparatus configured as described above includes a first substrate transport mechanism that transports a rectangular substrate in a state in which a long side or a short side is along the transport direction, and the first substrate transport mechanism.
  • a first laminating portion for laminating the first polarizing film on the lower surface of the substrate a second substrate transport mechanism for transporting the substrate in a state where the short side or the long side is along the transport direction, and the first In the polarizing film laminating apparatus comprising the second laminating portion for laminating the second polarizing film on the lower surface of the substrate in the two-substrate transport mechanism, the drive control means of the substrate supporting device is the substrate supporting member.
  • the rectangular substrate is transported by the first substrate transport mechanism that transports the long side or the short side along the transport direction.
  • a first supported by the member The substrate on which the optical film is bonded is transported in a state where the first substrate transport mechanism is parallel with the transport direction being offset from each other, and the second substrate is transported in a state where the short side or the long side is along the transport direction.
  • the reversing mechanism disposed between the transporting mechanism and the transporting direction of the first substrate transporting mechanism and the second substrate transporting mechanism by the at least one substrate reversing unit coupled to the substrate support member.
  • the substrate support While securely supporting the substrate on which the first polarizing film transported and supported by the first substrate transport mechanism by the member is bonded, by one reversing operation of at least one substrate reversing unit Reversing the substrate on which the first polarizing film is bonded and changing the arrangement along the conveying direction of the second substrate conveying mechanism, and shortening the tact time in the polarizing film bonding device.
  • the polarizing film laminating device of the third invention having the above-described configuration is arranged in the transport direction of the first substrate transport mechanism and the second substrate transport mechanism by the substrate inversion unit. In contrast, it is reversed around the reversing axis disposed at an angle in the range of 40 degrees to 50 degrees, and is disposed along the transport direction in the second substrate transport mechanism to the second bonding section. Since the substrate is to be transported, the substrate on which the first polarizing film is bonded is reversed by a single reversing operation of the substrate reversing unit, and is arranged along the transport direction of the second substrate transport mechanism. It changes and produces the effect that the tact time in the bonding apparatus of a polarizing film can be shortened.
  • the polarizing film laminating device of the fourth invention having the above-described configuration is arranged in the transport direction of the first substrate transport mechanism and the second substrate transport mechanism by the substrate reversing unit. In contrast, it is reversed around the reversing axis disposed at an angle within a range of 45 ° ⁇ 2 °, and is arranged along the carrying direction in the second substrate carrying mechanism to the second bonding portion. Since the substrate is to be transported, the substrate on which the first polarizing film is bonded is reversed by a single reversing operation of the substrate reversing unit, and is arranged along the transport direction of the second substrate transport mechanism. It changes and produces the effect that the tact time in the bonding apparatus of a polarizing film can be shortened.
  • the polarizing film laminating apparatus having the above-described configuration is the above-described first to fourth aspects of the present invention, wherein at least one of the substrate support members based on the drive control by the drive control means is configured.
  • the substrate on which the first polarizing film is bonded between at least two support members is supported in a sandwiched state. Therefore, the first substrate is supported by at least two of the support members.
  • the polarizing film laminating apparatus configured as described above is the fifth aspect of the present invention, facing the downstream end of the first substrate transport mechanism and the upstream end of the second substrate transport mechanism through a gap.
  • the first transport means of the substrate support device arranged to support the substrate on which the first polarizing film transported from the downstream end of the first substrate transport mechanism is bonded is supported by the substrate.
  • the second transport means transports the substrate on which the inverted first polarizing film is bonded from the substrate support device to the upstream end of the second substrate transport mechanism.
  • the substrate on which the first polarizing film is bonded without requiring design change and additional processing of the downstream end portion of the first substrate transport mechanism and the upstream end portion of the second substrate transport mechanism.
  • the first substrate transfer mechanism Together smoothly conveyed into the substrate supporting device from upstream end portion, there is an effect that smoothly transported from the substrate supporting device at the upstream end portion of the second substrate transport mechanisms.
  • the polarizing film laminating apparatus having the above-described structure is the fifth aspect of the present invention, wherein the plurality of protrusions of the comb-shaped member constituting the at least two supporting members of the substrate supporting apparatus are Formed between a plurality of divided portions divided in the width direction at the downstream end portion of the first substrate transport mechanism and a plurality of divided portions divided in the transport direction at the upstream end portion of the second substrate transport mechanism.
  • the substrate on which the first polarizing film is bonded is transferred from the downstream end of the first substrate transport mechanism using the transport means of the first substrate transport mechanism.
  • the substrate support device and the substrate support device using the transfer means of the second substrate transfer mechanism to the upstream end of the second substrate transfer mechanism. Carrying inside the device By eliminating the need for means to simplify the structure of the substrate supporting device, an effect of enabling weight reduction and high-speed movement.
  • the one supporting member constituting the substrate supporting member is the first substrate according to any one of the first to fourth aspects.
  • the surface of the substrate on which the first polarizing film transported to the downstream end of the transport mechanism was bonded was supported and adhered, and the first polarizing film inverted after inversion was bonded. Since the substrate is placed on the upstream end of the second substrate transport mechanism from above, the substrate support structure of the substrate support device is simplified, and the effect of enabling weight reduction and high-speed movement is achieved.
  • the polarizing film laminating apparatus having the above-described configuration is the above-described sixth aspect, wherein the downstream end portion of the first substrate transport mechanism and the upstream end portion of the second substrate transport mechanism are opposed to each other through a gap.
  • the first transport roll of the substrate support device arranged to support the substrate on which the first polarizing film transported from the downstream end of the first substrate transport mechanism is bonded is supported by the substrate.
  • the second transport roll transports the substrate on which the inverted first polarizing film is bonded from the substrate support device to the upstream end of the second substrate transport mechanism.
  • the first substrate transport mechanism and the second substrate transport mechanism are not required to change the design and the additional processing of the downstream end portion of the first substrate transport mechanism and the upstream end portion of the second substrate transport mechanism.
  • Conveying row in The substrate on which the first polarizing film is bonded is smoothly transported from the downstream end of the first substrate transport mechanism into the substrate support device, and from the substrate support device. There is an effect of enabling smooth transfer to the upstream end of the second substrate transfer mechanism.
  • the polarizing film laminating apparatus having the above-described configuration is the ninth aspect according to the ninth aspect, by relatively moving at least one of the first and second transport rolls as the support member.
  • the first and second transport rolls support the substrate on which the first polarizing film transported into the substrate support apparatus is sandwiched and supported in the second substrate transport mechanism after inversion. Since the inverted sandwiched state of the substrate is released, the structure and control in the substrate support device are simplified and light weight in order to eliminate the need for the support member as a separate member in the substrate support device. And the effect of enabling high-speed movement.
  • the polarizing film laminating apparatus having the above-described structure is any one of the fifth aspect through the seventh aspect, the ninth aspect and the tenth aspect, wherein at least one of the at least two support members is The first polarizing film that is transported and supported by the first substrate transport mechanism is bonded by simple reciprocation of the two support members because it is relatively close by reciprocating. There is an effect that the above-described substrate can be sandwiched and supported reliably.
  • the polarizing film laminating apparatus having the above-described structure is any one of the fifth aspect through the seventh aspect, the ninth aspect and the tenth aspect, wherein at least one of the at least two supporting members is The first support that is transported and supported by the first substrate transport mechanism by simple swinging of the two support members because the two support members are relatively moved by swinging with a part as a fulcrum. There is an effect that the substrate on which the polarizing film is bonded is sandwiched and can be reliably supported.
  • the drive control means is more than an electric drive control means.
  • the first polarized light transported between the at least two support members by the first substrate transport mechanism by relative movement of at least one of the two support members by electrical drive control based on the drive control command.
  • the substrate on which the film is bonded is sandwiched and supported, and after the reversal, the sandwiched state of the substrate reversed in the second substrate transport mechanism is released.
  • the driving force of the driving control means provides an effect that the control for sandwiching and supporting the substrate is easily realized.
  • the drive control means is a mechanical drive control means.
  • the first polarizing film transported by the first substrate transport mechanism is bonded between at least two support members by relative movement of at least one of the two support members by mechanical drive control.
  • mechanical drive control means without complicated control With this mechanical driving force, it is possible to easily and reliably realize the control for sandwiching and supporting the substrate.
  • the drive control means is more than a fluid drive control means.
  • the first polarizing film transported by the first substrate transport mechanism is bonded between at least two support members by relative movement of at least one of the two support members by fluid pressure control. Since the substrate is held in a sandwiched state and supported, and the substrate is reversed in the second substrate transport mechanism after being reversed, the drive control means for supplying fluid pressure is used as the substrate support member. By arranging separately, the configuration of the substrate support member is simplified, and the effect of enabling weight reduction and high speed rotation is achieved.
  • the drive control means comprises fluid drive control means, and the fluid pressure
  • the one support member and the surface of the substrate on which the first polarizing film transported to the downstream end portion of the first substrate transport mechanism is bonded to each other are adsorbed or pressed.
  • the substrate is supported in the other attached state, and the attached state of the substrate reversed in the second substrate transport mechanism after the reversal is released, so that the substrate is constituted by one support member.
  • the structure of the substrate support apparatus is further simplified by simplifying the structure of the support apparatus and disposing drive control means for supplying fluid pressure separately from the substrate support member. A manner, an effect of enabling weight reduction and high speed rotation.
  • the polarizing film bonding apparatus having the above-described configuration, in any one of the first to sixteenth aspects, before bonding the polarizing film to the lower surface of the substrate by the first bonding portion, Since the first substrate transport mechanism transports the substrate with the short side of the substrate along the transport direction after the substrate is cleaned by the cleaning unit, the polarizing film on the lower surface of the substrate There exists an effect that the mixing of the foreign material in bonding can be avoided.
  • the polarizing film laminating apparatus having the above-described structure is the above-described sixteenth aspect, wherein the defect detecting section of the first film transport mechanism and the second film transport mechanism is the first unwinding section.
  • the defect display attached to the polarizing film unwound from is detected, the defect display is determined by the bonding avoiding unit, the conveyance of the substrate is stopped, and the substrate is bonded to the substrate by the recovery unit Since the polarizing film in which the film is avoided is collected, the bonding between the polarizing film having a defect and the substrate is avoided, and the polarizing film in which the bonding is avoided can be collected.
  • the manufacturing system for a liquid crystal display device uses the above-described sticking inspection apparatus to bond the polarizing film bonding apparatus according to any one of the second to eighteenth aspects and the second bonding portion. Since the sticking displacement in the substrate on which the polarizing film is bonded is inspected by this, it is possible to find an occurrence of the bonding slip in the bonding between the polarizing film and the substrate.
  • the sorting and conveying device determines the presence or absence of misalignment based on the inspection result of the misalignment inspection device, and the determination result Based on the above, since the substrates with the polarizing film bonded thereto are sorted, it is possible to avoid the conveyance of the bonding deviation in the bonding between the polarizing film and the substrate, and to quickly cause the bonding deviation. As a result, the tact time can be shortened.
  • the manufacturing system of the liquid crystal display device according to the twenty-first aspect of the present invention having the above-described configuration includes the polarizing film laminating device according to any one of the second to twentieth inventions and the laminating device using the laminating foreign matter automatic inspection device. Since the foreign substance in the board
  • the manufacturing system for a liquid crystal display device having the above-described configuration is characterized in that, in the nineteenth aspect, the sorting and conveying device determines the presence or absence of foreign matter based on the inspection result by the bonded foreign matter automatic inspection device. Based on the results, the polarizing film is bonded to the substrate, so that it is possible to avoid conveyance of the bonding deviation in the bonding between the polarizing film and the substrate, and the bonding deviation is promptly performed. Since what has been generated can be sorted, the tact time can be shortened.
  • the manufacturing system for a liquid crystal display device having the structure described above is the foreign matter in the substrate in which the polarizing film is bonded by the second bonding portion by the bonded foreign substance automatic inspection device in the nineteenth aspect.
  • the sorting and conveying device determines the presence or absence of sticking misalignment and foreign matter based on the inspection result by the sticking misalignment inspection device and the inspection result by the bonded foreign matter automatic inspection device, and based on the determination result.
  • the substrate on which the polarizing film is bonded is sorted, it is possible to avoid the conveyance of the bonding deviation in the bonding between the polarizing film and the substrate, and to quickly cause the bonding deviation. Since things can be sorted, the tact time can be shortened.
  • the substrate supporting device in the substrate transport mechanism of the present invention having the above-described configuration is configured such that the substrate supporting device is disposed on a member connected to a substrate reversing unit that performs the reversing operation of the substrate, and a rectangular substrate has a long side or short side
  • the first substrate transport mechanism that transports the substrate in a state along the transport direction and the first substrate that enters the end portion of the second substrate transport mechanism that transports the substrate with the short side or the long side along the transport direction.
  • the substrate transferred from the first substrate transfer mechanism is sandwiched between the first support member and the second support member by relative movement of the support member and the second support member.
  • the substrate reversing portion has the effect of being reliably supported.
  • the substrate support device in the substrate transport mechanism of the present invention is the above-described invention, wherein the substrate support device includes a plurality of gaps formed between adjacent portions of the plurality of divided portions in the width direction at the end of the first substrate transport mechanism.
  • the substrate support device includes a plurality of gaps formed between adjacent portions of the plurality of divided portions in the width direction at the end of the first substrate transport mechanism.
  • the plurality of protrusions of the first and second comb-shaped members constituting the inverted first and second support members enter the plurality of gaps formed between adjacent portions, and the inverted The support by pinching the board is released.
  • the effect of allowing the transport of the substrate in the second substrate transport mechanisms By being placed on an end portion of the second substrate transport mechanism, the effect of allowing the transport of the substrate in the second substrate transport mechanisms.
  • the substrate support device in the substrate transport mechanism of the present invention is the above-described invention, wherein a plurality of gaps formed between adjacent portions of the plurality of divided portions in the width direction at the end of the first substrate transport mechanism are arranged in the above-described manner.
  • the plurality of protrusions of the first and second comb-shaped members constituting the first and second support members enter, and the plurality of protrusions of at least one of the first and second comb-shaped members are By swinging in a certain angle range with a part as a fulcrum, the substrate transported from the first substrate transport mechanism is sandwiched between the plurality of protrusions of the first and second comb-shaped members.
  • the plurality of gaps formed between adjacent portions of the plurality of divided portions in the transport direction at the end of the second substrate transport mechanism are inverted.
  • the support by sandwiching the inverted substrate is released, and the substrate can be transported by the second substrate transport mechanism by being placed on the end of the second substrate transport mechanism. It has the effect of making it.
  • the substrate support apparatus in the substrate transport mechanism of the present invention is the above-described invention, wherein the first and second comb-like members having a plurality of protrusions constituting the first and second support members are the above-mentioned rocking members.
  • the substrate transported from the first substrate transport mechanism is sandwiched between the plurality of protrusions of the first and second comb-shaped members by being driven to swing by the dynamic drive mechanism.
  • the support by the sandwiching of the inverted substrate is released and placed on the end of the second substrate transport mechanism, whereby the second substrate transport mechanism has the above-described effect. There is an effect that the substrate can be transported.
  • the first swing drive mechanism constituting the swing drive mechanism includes a plurality of protrusions constituting the first support member.
  • the second comb driving member is configured to swing and drive the first comb-like member, and the second swing driving mechanism constituting the swing driving mechanism includes the plurality of protrusions constituting the second support member.
  • the substrate support device in the substrate transport mechanism of the present invention is the substrate support device according to the invention, wherein the swing drive mechanism is configured such that the swing drive source and the swing drive force from the swing drive source are passed through the first clutch means.
  • the second clutch means transmits the swing driving force from the swing drive source to the first comb-shaped member having a plurality of protrusions constituting the first support member and swings the second support.
  • the substrate transported from the first substrate transport mechanism is transferred to the second comb-shaped member having a plurality of projecting portions constituting the second support member via the oscillating drive.
  • the substrate support device in the substrate transport mechanism of the present invention is the above-described invention, wherein a plurality of gaps formed between adjacent portions of the plurality of divided portions in the width direction at the end of the first substrate transport mechanism are arranged in the above-described manner.
  • the plurality of protrusions of the first and second comb-shaped members constituting the first and second support members enter, and the plurality of protrusions of at least one of the first and second comb-shaped members are By relatively approaching in the vertical direction, the substrate transported from the first substrate transport mechanism is sandwiched between the plurality of protrusions of the first and second comb-shaped members.
  • the substrate support apparatus in the substrate transport mechanism of the present invention is the above-described invention, wherein the linear drive mechanism includes the first and second protrusions having a plurality of projecting portions constituting the first and second support members.
  • the linear drive mechanism includes the first and second protrusions having a plurality of projecting portions constituting the first and second support members.
  • the linear drive mechanism is such that the first and second comb-shaped members relatively approach each other by the driving force of the electrical drive device.
  • the substrate is sandwiched and supported, so that the control for sandwiching and supporting the substrate can be easily realized by the driving force of the electric drive device based on the drive command.
  • the substrate support device in the substrate transport mechanism according to the present invention is the substrate support device according to the first and second embodiments, wherein the linear drive mechanism is adsorbed or pinched by the action of fluid pressure supplied from the drive device.
  • the driving device for supplying fluid pressure is arranged separately from the substrate supporting member to support the substrate.
  • the substrate support device in the polarizing film laminating device of the present invention is disposed on a member connected to the substrate reversing unit that performs the reversing operation of the substrate, and the long side or the short side of the rectangular substrate is along the transport direction.
  • the substrate on which the first polarizing film transported from the first substrate transport mechanism is bonded between the first support member and the second support member,
  • the first support member that has the effect of being reliably supported by being sandwiched and that has been reversed by the substrate reversing portion by the relative movement of the first support member and the second support member.
  • the second support member Since the substrate on which the first polarizing film supported by being sandwiched is bonded, the support by the sandwiching is released and placed on the end of the second substrate transport mechanism.
  • the second substrate transport that transports the substrate on which the first polarizing film is bonded in a state where the short side or the long side is along the transport direction by the substrate reversing unit connected to the substrate support member.
  • the substrate support device in the polarizing film laminating device of the present invention is disposed on a member connected to the substrate reversing portion of the reversing mechanism that performs the reversing operation of the substrate, and the first substrate transporting mechanism and the second substrate transporting device. Due to the relative movement of the first support member and the second support member that enter the end of the mechanism, the first support member is transported from the first substrate transport mechanism between the first support member and the second support member.
  • the substrate to which the first polarizing film is bonded is supported by being sandwiched, the substrate to which the first polarizing film is bonded is advantageously supported, Supported by being sandwiched between the first support member and the second support member reversed by the substrate reversing part by the relative movement of the first support member and the second support member.
  • the substrate polarization member connects the first polarization Reversing operation of the substrate reversing part to the end of the second substrate transport mechanism for transporting the substrate on which the film is bonded in a state where the short side or the long side is along the transport direction, and the second pasting There exists an effect of enabling bonding of the 2nd polarizing film in a joint part.
  • the substrate support apparatus in the polarizing film bonding apparatus of the present invention is configured such that the substrate reversing portion provided in the reversing mechanism included in the polarizing film bonding apparatus is disposed with a certain inclination with respect to the transport direction of the substrate.
  • the reversing operation is performed by rotating around the reversing axis, and thus the reversing operation is performed once by the reversing operation of the substrate reversing portion that rotates around the reversing axis disposed at a certain inclination with respect to the transport direction of the substrate.
  • the short side and the long side can be changed along the transport direction of the substrate on which the first polarizing film is bonded, and the tact time can be shortened.
  • the substrate support apparatus in the polarizing film bonding apparatus of the present invention is such that the substrate reversing portion provided in the reversing mechanism included in the polarizing film bonding apparatus is arranged with an inclination of 45 ° with respect to the transport direction of the substrate. Since it rotates around the reversing axis provided, the substrate reversing part rotates once around the reversing axis disposed at an inclination of 45 ° with respect to the transport direction of the substrate.
  • movement while the direction of the short side and long side along the conveyance direction of the said board
  • the substrate support apparatus provided with the transport means in the substrate transport mechanism of the present invention transports the rectangular substrate with the long side or the short side along the transport direction by the transport means of the substrate support apparatus.
  • the substrate transported from the first substrate transport mechanism is transported in a transport path in the substrate support device, and the substrate that has been transported and reached the substrate support position by the at least one substrate support member is supported. Therefore, the substrate transported by the first substrate transport mechanism can be transported reliably and smoothly from the first substrate transport mechanism to the substrate support position via the transport path in the substrate support device.
  • the substrate that has reached the substrate support position is reliably supported by at least one of the substrate support members, and at least one of the above-described substrates is supported.
  • the substrate reversing unit connected to the plate support member has the effect of enabling the reversing operation to the second substrate transport mechanism that transports the substrate with the short side or the long side along the transport direction. Play.
  • the substrate support apparatus provided with the transport means in the substrate transport mechanism of the present invention is the substrate support apparatus according to the above invention, wherein the substrate transported by the first transport mechanism is transferred to the substrate by the first transport means of the transport means.
  • the substrate is transported in a direction along the first substrate transport mechanism in a transport path in the support device, and the substrate that has reached the substrate support position is surely secured by one of at least one substrate support member.
  • the substrate reversed by the substrate reversing unit in the conveyance path in the substrate support device by the second conveyance means that conveys the substrate in a direction along the second substrate conveyance mechanism.
  • the substrate support apparatus provided with the transport means in the substrate transport mechanism of the present invention is the above-described invention, wherein the two substrate support members are relatively close to each other when the substrate reaches the substrate support position. Since the substrate is sandwiched and supported, an effect that the substrate that has reached the substrate support position is reliably supported by sandwiching both surfaces of the substrate by relative approach by the two substrate support members. Play.
  • a plurality of substrate supporting devices provided with the conveying means in the substrate conveying mechanism of the present invention are disposed in an orthogonal relationship to each other and constitutes the first and second conveying means, and the first driving device provides the first supporting device.
  • the first and second transport rollers that are rotationally driven in synchronization with the second substrate transport mechanism, and the substrate is moved in the direction along the first substrate transport mechanism in the transport path in the substrate support device. Since the substrate can be synchronously transported in a direction along the second substrate transport mechanism in the transport path in the substrate support apparatus, the substrate can be transported from the first substrate transport mechanism.
  • the substrate is smoothly transported in the transport path in the substrate support device without applying unnecessary force due to a difference in rotation to the substrate, and in the substrate support device. Without exerting unnecessary force by the rotation difference with respect to the substrate which is transported from the transport path, an effect that is smoothly transported in the second substrate transport mechanisms.
  • the substrate supporting apparatus provided with the conveying means in the substrate conveying mechanism of the present invention is the substrate supporting position according to the above invention, when at least one of the first or second conveying rollers relatively approaches.
  • the substrate reaching the substrate is sandwiched and supported, and the substrate support member is configured to function as a substrate support member. Therefore, the substrate support member is separated from the first or second transport roller. Since it is not necessary to provide it, there is an effect of simplifying the configuration.
  • the substrate supporting apparatus provided with the conveying means in the substrate conveying mechanism of the present invention is such that the substrate supporting member relatively approaches one of the first or second conveying rollers, Since the substrate that has reached the substrate support position is sandwiched and supported, the relative approach of the first or second transport roller for sandwiching the substrate is unnecessary. Play.
  • the substrate supporting apparatus provided with the conveying means in the substrate conveying mechanism of the present invention is the above, wherein the substrate supporting member reaches the substrate supporting position by relatively approaching by the driving force of the electric driving device. Since the substrate is sandwiched and supported, the control of sandwiching and supporting the substrate is easily realized by the driving force of the electric drive device based on the drive command.
  • the substrate supporting apparatus provided with the conveying means in the substrate conveying mechanism of the present invention is the substrate supporting apparatus according to any one of the above inventions to the third invention, wherein the substrate supporting member is relatively approached by the driving force of the mechanical driving device. Therefore, the substrate that has reached the substrate support position is sandwiched and supported, so that the substrate can be sandwiched and supported easily by the driving force of the mechanical drive device without complicated control. It has the effect of being realized reliably.
  • the substrate supporting apparatus provided with the conveying means in the substrate conveying mechanism of the present invention is the substrate according to the above invention, wherein the substrate supporting member is adsorbed or sandwiched by the action of fluid pressure supplied from the driving device. Since the substrate that has reached the support position is sandwiched and supported, by disposing a drive device that supplies fluid pressure separately from the substrate support member, the configuration of the substrate support member is simplified, There is an effect of enabling weight reduction.
  • substrate support apparatus provided with the conveyance means in the bonding apparatus of the polarizing film of this invention conveys a rectangular board
  • the substrate transported from the first substrate transport mechanism and bonded with the first polarizing film is transported in a transport path in the substrate support device and transported by at least one of the substrate support members. Since the said board
  • the substrate is surely supported by the material on which the first polarizing film that has reached the substrate support position is bonded, and the first polarization member is supported by the substrate inversion unit connected to at least one of the substrate support members. Reversing operation of the substrate reversing unit to the second substrate transporting mechanism for transporting the substrate with the substrate in a state where the short side or the long side of the substrate is along the transporting direction, and the second polarization by the second bonding unit There is an effect that the film can be bonded.
  • substrate support apparatus provided with the conveyance means in the bonding apparatus of the polarizing film of this invention conveys a rectangular board
  • the substrate transported from the first substrate transport mechanism and bonded with the first polarizing film is transported in a transport path in the substrate support device and transported by at least one of the substrate support members. Since the said board
  • the member securely supports the substrate on which the first polarizing film that has reached the substrate support position is bonded, and the first polarization unit by the substrate inversion unit connected to at least one of the substrate support members.
  • substrate support apparatus provided with the conveyance means in the bonding apparatus of the polarizing film of this invention WHEREIN:
  • substrate inversion part with which the said inversion mechanism with which the said polarizing film bonding apparatus contains is the conveyance direction of the said board
  • the substrate rotates about the reversing axis disposed at a constant inclination with respect to the transport direction of the substrate. With one reversing operation of the reversing unit, the direction of the short side and the long side along the transport direction of the substrate on which the first polarizing film is bonded can be changed, and the tact time can be shortened. There is an effect that you can.
  • substrate support apparatus provided with the conveyance means in the bonding apparatus of the polarizing film of this invention WHEREIN:
  • substrate inversion part with which the said inversion mechanism with which the said polarizing film bonding apparatus contains is the conveyance direction of the said board
  • the direction of the short side and the long side along the transport direction of the substrate on which the first polarizing film is bonded can be changed, and the tact time can be shortened. There is an effect that can be done.
  • the reversing mechanism in the substrate transport mechanism of the present invention is the first substrate transport mechanism that transports the rectangular substrate with the long side or the short side along the transport direction by the reversing operation of the substrate reversing unit.
  • the substrate is transferred to the second substrate transfer mechanism that reverses the substrate and changes the arrangement to transfer the substrate with the short side or the long side along the transfer direction.
  • the reversing mechanism in the substrate transport mechanism of the present invention is the reversal mechanism according to the above invention, wherein the substrate reversing portion of the reversing mechanism is disposed at a constant inclination with respect to the transport direction of the substrate by the rotational drive of the driving device. Since the substrate is rotated around the axis and reversed, the substrate is rotated by a single reversing operation of the substrate reversing unit that rotates around the reversing axis disposed at a fixed inclination with respect to the transport direction of the substrate. And the direction of the short side and the long side along the substrate transport direction can be changed, and the tact time can be shortened.
  • the reversing mechanism in the substrate transport mechanism of the present invention is the reversing mechanism according to the present invention, wherein the substrate reversing portion of the reversing mechanism rotates around a reversing axis disposed at a constant inclination with respect to the transport direction of the substrate. Since it operates, the substrate is reversed by a single reversing operation of the substrate reversing portion that rotates around the reversing axis disposed at an inclination of 45 ° with respect to the transport direction of the substrate, and the above It is possible to change the direction of the short side and the long side along the transport direction of the substrate and to shorten the tact time.
  • the reversing mechanism in the substrate transport mechanism according to the present invention is such that, in the above invention, one end of the substrate reversing unit is disposed at an inclination of 45 ° with respect to the reversing axis.
  • the substrate disposed at one end of the substrate reversing unit can be reversed, and the direction of the short side and the long side along the transport direction of the substrate can be changed. There is an effect that can be shortened.
  • the reversing mechanism in the substrate transport mechanism of the present invention is the above-described invention, wherein the reversing shaft of the reversing mechanism and the substrate transported by the first substrate transport mechanism and the second substrate transport mechanism by the substrate reversing unit. Since the substrate disposed in an inverted manner is disposed on the same plane, the substrate is reversed by a single reversing operation of the substrate reversing unit, and the short side along the transport direction of the substrate. In addition, the direction of the long side can be changed, and the tact time can be shortened.
  • the reversing mechanism in the substrate transport mechanism according to the present invention is the reversing mechanism of the substrate reversing portion according to the present invention, since the means provided in the reversing mechanism enables the reversing shaft to be lifted, tilted and adjusted in position. There is an effect of enabling adjustment and control in operation.
  • the reversing mechanism in the substrate transport mechanism of the present invention is the above-described invention, wherein two reversing mechanisms are disposed on both sides of the first substrate transport mechanism, and the first substrate transport is disposed on both sides of the first substrate transport mechanism. Two substrate platforms that alternately transport the substrates transported by the mechanism are disposed, and the substrates transported to the two substrate platforms are alternately disposed by the two reversing mechanisms. In addition to being inverted, the arrangement is changed and the arrangement is arranged in the second substrate conveyance mechanism, so that the tact time in the conveyance of the substrate can be halved and the conveyance processing of the substrate can be doubled. Play. *
  • the reversing mechanism in the polarizing film laminating apparatus of the present invention is the above in a state where the long side or the short side is along the transport direction by the reversing operation of the substrate reversing unit in the polarizing film laminating apparatus.
  • the substrate is transported by the second substrate transport mechanism in a state where the short side or the long side is along the transport direction, and the polarizing film is bonded to the lower surface of the substrate in the second bonding unit.
  • the reversing mechanism in the polarizing film laminating apparatus of the present invention is the polarizing film laminating apparatus, wherein the holding unit is controlled to be in a state where the holding state or the holding state of the holding mechanism is released based on the rotational drive of the driving device
  • the substrate reversing operation of the substrate reversing unit connected at one end to the substrate reverses the substrate transported by the first substrate transporting mechanism and held by the holding unit, and changes the layout to the second substrate transporting mechanism.
  • the reversing mechanism in the polarizing film laminating apparatus of the present invention is the above-described invention, wherein the substrate is reversed by a single reversing operation of the substrate reversing portion that rotates around the reversing axis disposed at an inclination of 45 °.
  • the reversing mechanism in the polarizing film laminating apparatus of the present invention is such that, in the above invention, one end of the substrate reversing portion is disposed at an inclination of 45 ° with respect to the reversing axis.
  • the substrate disposed at one end of the substrate reversing unit can be reversed and the direction of the short side and the long side along the transport direction of the substrate can be changed.
  • the tact time can be shortened.
  • the reversing mechanism in the polarizing film laminating apparatus of the present invention is the above-described invention, wherein the reversing axis passes through the center of the substrate in the first substrate transporting mechanism and is 45 ° based on a straight line perpendicular to the transporting direction of the substrate.
  • the substrate is reversed by a single reversing operation of the substrate reversing unit, and along the transport direction of the substrate.
  • the reversing mechanism in the polarizing film laminating apparatus of the present invention is the reversing mechanism according to any one of the above inventions, the reversing shaft of the reversing mechanism and the substrate transported by the first substrate transporting mechanism and the second substrate transporting mechanism.
  • the substrate reversed by the substrate reversing unit is disposed on the same plane, so that the substrate is reversed and transported by one reversing operation of the substrate reversing unit. It is possible to change the direction of the short side and the long side along the direction and to shorten the tact time.
  • the reversing mechanism in the polarizing film laminating apparatus of the present invention is the above-described substrate reversing, because the means provided in the reversing mechanism enables the reversing shaft to be lifted, tilted and adjusted in position. There is an effect of enabling adjustment and control in the reversing operation of the unit.
  • the reversing mechanism in the polarizing film laminating device of the present invention is the reversing mechanism according to the present invention, wherein two reversing mechanisms are disposed on both sides of the first substrate transport mechanism, and the first reversing mechanism is disposed on both sides of the first substrate transport mechanism.
  • Two substrate platforms that alternately transport the substrates transported by one substrate transport mechanism are disposed, and the substrates transported to the two substrate platforms are the two reversing mechanisms.
  • the arrangement is changed and placed in the second substrate transport mechanism, so that the tact time in the transport of the substrate can be halved and the transport processing of the substrate can be doubled. There is an effect that you can.
  • the reversing mechanism provided with the substrate supporting part in the substrate transporting mechanism of the present invention is a reversing operation of the substrate reversing part connected to the substrate supporting part that supports the substrate transported by the first substrate transporting mechanism.
  • the substrate transported by the first substrate transport mechanism that transports the rectangular substrate in a state where the long side or the short side is along the transport direction is reversed and the arrangement is changed to change the substrate to the short side or Since the long side is arranged in the second substrate transport mechanism that transports in a state along the transport direction, by one reversing operation of the substrate reversing unit connected to the substrate supporting unit that supports the substrate, While reversing the said board
  • the reversing mechanism provided with the substrate support portion in the substrate transport mechanism of the present invention is the reversing mechanism according to the present invention, wherein the substrate reversing portion of the reversing mechanism is inclined with respect to the transport direction of the substrate by the rotational drive of the driving device.
  • the substrate reversing unit rotates around the reversing axis disposed at a fixed inclination with respect to the substrate transport direction.
  • the reversing mechanism provided with the substrate support portion in the substrate transport mechanism of the present invention is the reversing shaft in which the substrate reversing portion of the reversing mechanism is disposed at a constant inclination with respect to the transport direction of the substrate.
  • the substrate reversing operation is performed by rotating around the reversing axis disposed at an inclination of 45 ° with respect to the transport direction of the substrate. And the direction of the short side and the long side along the substrate transport direction can be changed, and the tact time can be shortened.
  • the reversing mechanism provided with the substrate support portion in the substrate transport mechanism of the present invention is the above-described invention, because one end of the substrate reversing portion is disposed at an inclination of 45 ° with respect to the reversing axis. Inverting the substrate disposed at one end of the substrate reversing unit by one reversing operation of the substrate reversing unit and changing the direction of the short side and the long side along the transport direction of the substrate This has the effect of reducing the tact time.
  • the reversing mechanism provided with the substrate support part in the substrate transport mechanism of the present invention is the reversing mechanism according to the present invention, wherein the reversing shaft of the reversing mechanism and the substrate transported by the first substrate transporting mechanism and the second substrate transporting mechanism.
  • the substrate reversed by the substrate reversing unit is disposed on the same plane, so that the substrate is reversed and transported by one reversing operation of the substrate reversing unit. It is possible to change the direction of the short side and the long side along the direction and to shorten the tact time.
  • the reversing mechanism provided with the substrate support portion in the substrate transport mechanism of the present invention is a rectangular reversal mechanism according to the above-described invention, by the reversing operation of the substrate reversing portion and the substrate supporting portion that are provided in line symmetry with respect to the reversing axis.
  • the substrate transported by the first substrate transport mechanism that transports the substrate in a state where the long side or the short side is along the transport direction is reversed, and the arrangement is changed to change the substrate to the short side or the long side.
  • the reversing mechanism provided with the substrate supporting part in the substrate transporting mechanism of the present invention is the above-mentioned invention, wherein the holding means constituting the substrate supporting part connected to one end of the substrate reversing part is the first substrate transporting mechanism.
  • the holding means constituting the substrate supporting part connected to one end of the substrate reversing part is the first substrate transporting mechanism.
  • the both sides of the substrate transported by the substrate are securely supported, so that the substrate reversing operation of the substrate reversing unit ensures that the substrate is reversed and the substrate is transported in a short direction along the transport direction. There is an effect that the direction of the side and the long side can be changed.
  • the reversing mechanism provided with the substrate supporting part in the substrate transporting mechanism of the present invention is the above-mentioned invention, wherein the suction means constituting the substrate supporting part connected to one end of the substrate reversing part is the first substrate transporting mechanism.
  • the substrate is conveyed by suction and supported by suction, so that the substrate is reversed by the reversing operation of the substrate reversing unit, and the short side and the long side along the conveyance direction of the substrate There is an effect that the direction can be changed.
  • the inversion mechanism provided with the substrate support part in the polarizing film bonding apparatus of the present invention is connected to the substrate supporting part that supports the substrate conveyed by the first substrate conveying mechanism in the polarizing film bonding apparatus.
  • the rectangular substrate is transported by the first substrate transport mechanism in the state where the long side or the short side is along the transporting direction, and the polarizing film is formed on the lower surface in the first bonding section.
  • the pasted substrate is reversed, and the arrangement is changed and placed in the second substrate transport mechanism, so that the short side or the long side of the substrate is along the transport direction by the second substrate transport mechanism.
  • In the said 2nd bonding part there exists an effect of implement
  • substrate support part in the bonding apparatus of the polarizing film of this invention WHEREIN: In the bonding apparatus of a polarizing film, the said board
  • the reversing operation of the substrate reversing unit connected to the substrate supporting unit reverses the substrate transported by the first substrate transporting mechanism and held by the holding unit, and changes the arrangement to the second substrate transporting mechanism.
  • the substrate can be transported and the polarizing film can be bonded, so that the polarizing film is bonded to the upper and lower surfaces of the substrate.
  • the reversing mechanism provided with the substrate support portion in the polarizing film laminating device of the present invention is the above-described invention, wherein the substrate reversing portion of the reversing mechanism is rotated with respect to the transport direction of the substrate by the driving device. Since the reversing operation is performed by rotating around the reversing axis disposed at a constant inclination, the substrate reversing portion rotating around the reversing axis disposed at a certain inclination with respect to the transport direction of the substrate. By the reversing operation once, the substrate can be reversed, the direction of the short side and the long side along the transport direction of the substrate can be changed, and the tact time can be shortened.
  • the reversing mechanism provided with the substrate support portion in the polarizing film laminating device of the present invention is the reversing operation of the substrate reversing portion rotating around the reversing axis disposed at a 45 ° inclination in the above invention.
  • the substrate can be reversed, the direction of the short side and the long side along the transport direction of the substrate can be changed, and the tact time can be shortened.
  • the reversing mechanism provided with the substrate support portion in the polarizing film laminating apparatus of the present invention is the above-described invention, wherein one end of the substrate reversing portion is disposed at an inclination of 45 ° with respect to the reversing axis. Therefore, by one reversing operation of the substrate reversing unit, the substrate disposed at one end of the substrate reversing unit is reversed, and the direction of the short side and the long side along the transport direction of the substrate is changed. It can be changed, and the tact time can be shortened.
  • substrate support part in the bonding apparatus of the polarizing film of this invention WHEREIN: The said board
  • the reversing mechanism provided with the substrate support part in the polarizing film laminating device of the present invention is the reversing operation of the substrate reversing part and the substrate supporting part provided in a pair of line symmetry with respect to the reversal axis in the above invention.
  • the substrate is reversed twice as compared with the case where the number of the substrate reversing portion and the substrate supporting portion is one, and the direction of the short side and the long side along the transport direction of the substrate is changed.
  • substrate support part in the bonding apparatus of the polarizing film of this invention WHEREIN:
  • substrate inversion part is said 1st. Since both sides of the substrate transported by the substrate transport mechanism are sandwiched and supported reliably, the substrate reversing operation of the substrate reversing unit ensures that the substrate is reversed and the substrate is transported in the transport direction. There is an effect that the direction of the short side and the long side can be changed.
  • substrate support part in the bonding apparatus of the polarizing film of this invention WHEREIN:
  • suction means which comprises the said board
  • the first substrate transport mechanism and the second substrate transport mechanism transport the substrate in the same direction, and the long side in the first substrate transport mechanism or
  • the second substrate transport mechanism includes a reversing mechanism that causes the short side or the long side to be along the transport direction in the second substrate transport mechanism, and the reversing mechanism sucks the substrate.
  • a suction part and a substrate reversing part connected to the suction part are provided, and the substrate reversing part turns the substrate by rotating along a reversing axis.
  • the reversing axis is in the plane of (1) below. In addition to being positioned, it is in the vertical position (2) below.
  • the first substrate transport mechanism and the second substrate transport mechanism transport the substrate in the same direction. That is, it does not have a complicated structure such as an L shape. Therefore, the bonding apparatus according to the present invention is very simple to install and also has an effect of being excellent in area efficiency.
  • the substrate is sandwiched and supported by the mode in which the substrate is sucked and supported by one supporting member having a plurality of sucking portions formed on the surface to be supported and the two supporting members in which the sucking portion and the sucked portion are formed at both ends.
  • a mode in which the substrate support member is moved upward by the solenoid according to another embodiment of the present invention, a mode in which the substrate support member is moved downward by the solenoid, and a substrate support by the mechanical drive mechanism using the movement of the substrate to be conveyed It is explanatory drawing which shows the aspect which moves a member downward, and the aspect which moves a board
  • the embodiment of the present invention will be described below with reference to FIGS. 1 to 13, but the present invention is not limited to this.
  • a manufacturing system a manufacturing system of a liquid crystal display device
  • the manufacturing system includes a substrate transport mechanism and a bonding apparatus according to this embodiment.
  • FIG. 1 is a cross-sectional view showing a manufacturing system.
  • the manufacturing system 100 has a two-stage structure, the 1F (first floor) portion is a film transport mechanism 50, and the 2F (second floor) portion is a substrate transport mechanism (first substrate transport mechanism and It becomes the bonding apparatus 60 containing a 2nd board
  • the film transport mechanism 50 plays the role of unwinding the polarizing film (polarizing plate) and transporting it to the nip rolls 6 ⁇ 6a and 16 ⁇ 16a and winding up the peeling film that is no longer needed.
  • the bonding device 60 plays a role of bonding the polarizing film unwound by the film transport mechanism 50 to the substrate (liquid crystal panel) 5.
  • the film transport mechanism 50 includes a first film transport mechanism 51 and a second film transport mechanism 52.
  • the 1st film conveyance mechanism 51 conveys a polarizing film to the nip roll 6 * 6a which bonds a polarizing film to the lower surface of the board
  • the second film transport mechanism 52 transports the polarizing film to the bottom surface of the inverted substrate 5.
  • the first film transport mechanism 51 includes a first unwinding unit 1, a second unwinding unit 1a, a first winding unit 2, a second winding unit 2a, a half cutter 3, a knife edge 4, and a defect film winding roller. 7 ⁇ 7a.
  • the first unwinding unit 1 is provided with a polarizing film original, and the polarizing film is unwound.
  • a known polarizing film may be used as the polarizing film. Specifically, a polyvinyl alcohol film is dyed with iodine or the like, and a film stretched in a uniaxial direction can be used. Although it does not specifically limit as thickness of the said polarizing film, A polarizing film 5 micrometers or more and 400 micrometers or less can be used preferably.
  • the polarizing film has a pressure-sensitive adhesive layer protected by a release film.
  • a release film also referred to as a protective film or a separator
  • a polyester film, a polyethylene terephthalate film, or the like can be used.
  • the peeling film of 5 micrometers or more and 100 micrometers or less can be used preferably.
  • the manufacturing system 100 includes two unwinding portions and two unwinding portions corresponding to the unwinding portions, the first unwinding portion 1 has a low remaining amount of raw material. It is possible to connect the original fabric provided in the two unwinding portions 1 a to the original fabric of the first unwinding portion 1. As a result, it is possible to continue the operation without stopping the unwinding of the polarizing film. With this configuration, production efficiency can be increased.
  • a plurality of unwinding sections and winding sections may be provided, and three or more winding sections may be provided.
  • Half cutter (cutting unit) 3 half-cuts a polarizing film (a film laminate composed of a polarizing film, a pressure-sensitive adhesive layer and a peeling film) protected by a peeling film, and cuts the polarizing film and the pressure-sensitive adhesive layer.
  • a polarizing film a film laminate composed of a polarizing film, a pressure-sensitive adhesive layer and a peeling film
  • the half cutter 3 a known member may be used. Specifically, a cutter, a laser cutter, etc. can be mentioned. After the polarizing film and the pressure-sensitive adhesive layer are cut by the half cutter 3, the release film is removed from the polarizing film by the knife edge (removal part) 4.
  • the pressure-sensitive adhesive layer is not particularly limited, and examples thereof include acrylic, epoxy, and polyurethane pressure-sensitive adhesive layers.
  • the thickness of the pressure-sensitive adhesive layer is not particularly limited, but is usually 5 to 40 ⁇ m.
  • the 2nd film conveyance mechanism 52 is the structure similar to the 1st film conveyance mechanism 51, and is the 1st unwinding part 11, the 2nd unwinding part 11a, the 1st winding part 12, and the 2nd winding part 12a. , Half cutter 13, knife edge 14 and defect film winding rollers 17 and 17 a. About the member which attached
  • the manufacturing system 100 includes a cleaning unit 71.
  • the cleaning unit 71 cleans the substrate 5 before the polarizing film is bonded to the lower surface of the substrate 5 by the nip rolls 6 and 6a.
  • a known cleaning unit composed of a nozzle and a brush for injecting a cleaning liquid may be used. By cleaning the substrate 5 immediately before the bonding by the cleaning unit 71, the bonding can be performed in a state where there are few adhered foreign substances on the substrate 5.
  • FIG. 2 is a cross-sectional view showing a peripheral portion of the nip rolls 6 and 6a in the manufacturing system 100.
  • FIG. FIG. 2 shows a situation where the substrate 5 is conveyed from the left direction and the polarizing film 5a having an adhesive layer (not shown, the same hereinafter) is conveyed from the lower left direction.
  • the polarizing film 5a is provided with a release film 5b.
  • the polarizing film 5a and the pressure-sensitive adhesive layer are cut by the half cutter 3, and the release film 5b is not cut (half cut).
  • the knife edge 4 is installed on the peeling film 5b side.
  • the knife edge 4 is an edge-shaped member for peeling the peeling film 5b, and the polarizing film 5a and the peeling film 5b having a low adhesive force are peeled off along the knife edge 4.
  • the release film 5b is wound around the first winding portion 2 in FIG.
  • it can replace with a knife edge and can also use the structure which winds up a peeling film using an adhesion roller.
  • the winding efficiency of a peeling film can be improved by providing an adhesive roller in two places similarly to a winding part.
  • the bonding apparatus 60 conveys the board
  • the bonding apparatus 60 is provided on the upper part of the film transport mechanism 50. Thereby, space saving of the manufacturing system 100 can be achieved.
  • a substrate transport mechanism including a conveyor roll is installed in the bonding apparatus 60, whereby the substrate 5 is transported in the transport direction (first substrate transport mechanism 61 and second described later in FIG. 5).
  • the substrate transport mechanism 62 corresponds to the substrate transport mechanism).
  • the substrate 5 is transported from the left side, and then transported from the right side in the drawing, that is, from the top of the first film transport mechanism 51 to the top of the second film transport mechanism 52.
  • the nip rolls 6 * 6a (1st bonding part) and the nip rolls 16 * 16a (2nd bonding part) which are bonding parts are each provided.
  • the nip rolls 6, 6 a and 16, 16 a are members that serve to bond the polarizing film from which the release film has been removed to the lower surface of the substrate 5.
  • the substrate 5 is reversed by the reversing mechanism 65 after being bonded by the nip rolls 6 and 6a.
  • the reversing mechanism 65 will be described later.
  • the polarizing film conveyed to the nip rolls 6 and 6a is bonded to the lower surface of the substrate 5 through an adhesive layer.
  • known configurations such as a pressure roll and a pressure roll can be employed.
  • what is necessary is just to adjust the pressure and temperature at the time of bonding in the nip rolls 6 and 6a suitably.
  • the configuration of the nip rolls 16 and 16a is the same.
  • a defect display (mark) detection unit is provided between the first unwinding units 1 and 11 and the half cutter, and a polarizing film having a defect is detected. It becomes the composition which is done.
  • the said defect display is provided at the time of the 1st unwinding part 1 and / or the 1st unwinding part 11 side rather than a defect display detection part by detecting at the time of the original production of a polarizing film, and providing a defect display. It attaches
  • the defect display imparting unit includes a camera, an image processing device, and a defect display forming unit. First, a polarizing film is imaged by the camera, and the presence or absence of a defect can be inspected by processing the imaging information. Specific examples of the drawback include foreign matters such as dust and fish eyes. When a defect is detected, a defect display is formed on the polarizing film by the defect display forming unit. A mark such as ink is used as the defect display.
  • a bonding avoiding unit discriminates the mark with a camera and transmits a stop signal to the bonding apparatus 60 to stop the conveyance of the substrate 5. Thereafter, the polarizing film in which the defect is detected is not used for pasting by the nip rolls 6 and 6a, and is wound by the defect film winding roller (collecting unit) 7 and 7a. Thereby, pasting with substrate 5 and a polarizing film which has a fault can be avoided. If such a series of structures is provided, it is possible to avoid the bonding between the polarizing film having a defect and the substrate 5, so that the yield can be increased, which is preferable.
  • a publicly known inspection sensor can be used suitably as a fault detection part and a pasting avoidance part.
  • the substrate 5 is conveyed to the nip rolls 16 and 16a. Then, a polarizing film is bonded to the lower surface of the substrate 5. As a result, the polarizing film is bonded to both surfaces of the substrate 5, and the two polarizing films are bonded to both surfaces of the substrate 5 with different absorption axes. Thereafter, if necessary, the both sides of the substrate 5 are inspected for misalignment. For the inspection, it is possible to adopt a configuration that is usually made by an inspection unit equipped with a camera.
  • the bonding is performed from the lower surface of the substrate 5, and the rectifying environment to the substrate 5 is not hindered. For this reason, foreign matter mixing into the bonding surface of the substrate 5 can also be prevented, and more accurate bonding becomes possible.
  • FIG. 3 (a) and FIG. 3 (b) show the velocity vector of the airflow in the under-paste type manufacturing system similar to the present invention.
  • Regions A in FIGS. 3 (a) and 3 (b) are regions where the unwinding part is installed
  • region B is a region through which the polarizing film mainly passes
  • region C is a region where the winding unit and the like are installed. It is. Further, clean air is supplied from the HEPA filter 40.
  • FIG. 3A since the grating 41 through which clean air can pass is installed, the airflow can move in the vertical direction via the grating 41.
  • FIG. 3B since the grating 41 is not installed, the airflow moves along the floor after contacting the floor.
  • FIGS. 3 (a) and 3 (b) Since the manufacturing system shown in FIGS. 3 (a) and 3 (b) is a bottom-attached type, the air current from the HEPA filter 40 is not hindered by the polarizing film, as shown in FIGS. 9 (a) and 9 (b). For this reason, the direction of the airflow vector is almost directed toward the substrate, and it can be said that a preferable rectification environment is realized in the clean room.
  • the grating 41 is installed and not installed in FIG. 3 (b), but both drawings show the same preferable state.
  • the substrate transport mechanism is formed horizontally, but it is not installed as a series of structures. For this reason, the airflow can pass between the substrate transport mechanisms. After the substrate is held by a reversing mechanism to be described later, the substrate is transferred between the substrate transport mechanisms.
  • substrate 5 is first conveyed by a long side opening (a long side is orthogonal to a conveyance direction), and is conveyed by a short side opening (a short side is orthogonal to a conveyance direction) after that. It has become.
  • the substrate support device is a member in which an adsorption portion 66 as a substrate support portion is adsorbed on the surface of the substrate 5.
  • the surface of the substrate 5 is held by the suction unit 66 by the suction unit 66.
  • the adsorption unit 66 a known adsorption unit can be used, and for example, an air suction type adsorption unit communicated with an air suction source (not shown) can be used.
  • the substrate support portion is a member that supports the substrate 5, and can hold the placed substrate.
  • the substrate support part includes an adsorbing means for adsorbing the substrate 5 as a preferred form.
  • an adsorption means for example, an air suction type adsorption means can be used.
  • the substrate support part is composed of a pipe-shaped arm and suction means, and the air sucked by the suction means passes through the arm, but the shape of the arm and suction means is limited to this configuration. It is not something.
  • the substrate support portion has a structure in which two adsorption means are provided on the arm, and includes a pair of arm groups including three arms. Further, four suction means are arranged on the diagonal line of the substrate 5, and two further suction means are arranged between the suction means in the length direction of the substrate 5.
  • the number of arms and the number of suction means are merely examples. For example, when a large substrate is reversed, the number of arms and the number of suction means may be increased as appropriate. Further, it is of course possible to make changes such as concentrating the installation location of the suction means on the central portion of the substrate 5 or changing it around the edge of the substrate 5.
  • the distance between the arm groups is increased so that the substrate 5 can be received (hereinafter, this state is referred to as “standby state”).
  • the distance between the arm groups of the substrate 5 is also increased.
  • the pair of arm groups sandwich the substrate 5, the distance between the arm groups can be reduced.
  • the distance between the arm groups can be changed.
  • the substrate support section has a motor, and the rotational movement of the motor is changed to a linear movement to change the distance between the arm groups. Yes.
  • it is the structure which can change the distance between arm groups you may change and use for the structure provided with a motor.
  • the substrate support device 66 includes the film of the first substrate transport mechanism 61 including the conveyor roll 612 and the downstream end in the substrate transport direction, and the second substrate transport including the conveyor roll 622.
  • the film 61 of the mechanism 61 and the upstream end of the transport direction of the substrate enter so as not to interfere even if the backlash is taken into consideration, and the first and second in accordance with the reversing operation of the substrate reversing portion 67 of the reversing mechanism 65.
  • the present invention relates to a substrate support device in a substrate transport mechanism configured such that the substrate support portions 661 and 662 are arranged to be interposed therebetween.
  • the substrate support device 66 is composed of a pair of comb-like members having a size larger than that of the substrate on which the film is bonded, and the two pairs of comb-like members are in an angular relationship of 180 degrees.
  • the second end of the connecting portion 671 is connected to the rotary shaft portion 68 disposed at an angle of 45 degrees with respect to the transport direction of the first and second substrate transport mechanisms 61 as the reversal shaft.
  • the end portion 672 of the substrate reversing portion 67 of the reversing mechanism 65 having the end portion 672 extending in a direction orthogonal to the transport direction of the first and second substrate transport mechanisms 61 is connected via two connecting portions 673. It is mechanically connected and connected. Further, in order to shorten the tact time, it is possible to arrange four (six) substrate support devices with respect to the rotating shaft portion 68 with an angular relationship of 90 degrees (60 degrees).
  • one substrate support device 66 is inserted and disposed at the downstream end in the film and substrate transport direction of the first substrate transport mechanism 61 including the conveyor roll 612 as shown in FIG.
  • the other substrate support device 66 is configured to be inserted into and disposed at the upstream end portion of the film and substrate transport direction of the second substrate transport mechanism 62 including the conveyor roll 622.
  • the substrate support device 66 is disposed on a member connected to the substrate reversing unit 67 that performs the reversing operation of the substrate, and transports a rectangular substrate with a long side or a short side along a transport direction.
  • the substrate 5 transported from the first substrate transport mechanism between the first support member 661 and the second support member 662 is supported by being sandwiched between the first support member 661 and the second support member 662.
  • the first support member 661 and the second support member 662 are sandwiched between the first support member 661 and the second support member 662 reversed by the substrate reversing unit 67 by the relative movement of the first support member 661 and the second support member 662.
  • the substrate reversing unit 67 by the relative movement of the first support member 661 and the second support member 662.
  • the downstream end of the first substrate transport mechanism 61 is divided into a plurality of, for example, four divided portions 61A, 61B, 61C, 61D in the width direction, and between adjacent divided portions.
  • a plurality of, for example, three protrusions 6611 to 6613 and 6621 to 6623 of the substantially E-shaped first and second comb-like members constituting the first and second support members 661 and 662 enter.
  • a gap is formed, and the upstream end of the second substrate transport mechanism 62 is divided into a plurality of, for example, four divided portions 62A, 62B, 62C, and 62D in the transport direction, and between adjacent divided portions.
  • a plurality of gaps are formed into which the plurality of protrusions 6611 to 6613 and 6621 to 6623 of the first and second comb-like members constituting the first and second support members 661 and 662 reversed to the front are inserted. .
  • the four divided portions 61A, 61B, 61C, 61D divided in the width direction are each provided with a transport roller 612.
  • the substrate 5 that is rotationally driven in synchronism via a rotational drive mechanism and a rotational communication means (not shown) and has a deflection film bonded to the lower surface is conveyed to the right in the figure and stopped. It is configured to stop when it reaches the position.
  • a transport roller 622 is arranged in each of the four divided portions 62A, 62B, 62C, 62D divided in the substrate transport direction.
  • the substrate 5 which is installed and rotated in synchronization via a rotation drive mechanism and a rotation communication means (not shown) according to a rotation drive command, is reversed by the substrate reversing unit 67, and the deflection film is bonded to the upper surface. It is comprised so that it may be conveyed by the 2nd bonding apparatus of the right side in the figure.
  • the first and second support members 661 and 662 are first and second comb-like members each having a plurality of protrusions 6611 to 6613 and 6621 to 6623.
  • the swing member is configured to swing with one end as a fulcrum.
  • the first and second comb-like members having a plurality of projecting portions 6611 to 6613 and 6621 to 6623 constituting the first and second support members 661 and 662 are fixed at a predetermined angle by the swing drive mechanism 669. It is configured to be driven to swing within a range, for example, a range of 90 degrees.
  • the swing drive mechanism 669 swings and drives the first comb-like member having a plurality of protrusions 6611 to 6613 constituting the first support member 661 as shown in FIGS.
  • the second comb-shaped member provided with the first swing drive mechanism 6691 at the upper side in FIG. 5 and the plurality of protrusions 6621 to 6623 constituting the second support member 662 is driven to swing.
  • a lower second swing drive mechanism 6692 is provided.
  • the first swing drive mechanism 6691 is an electric drive disposed at one end of a base member 660 that is connected to an end 672 of the substrate reversing unit 67 that performs the reversing operation of the substrate via the connecting unit 673.
  • the intermediate hollow shaft 6601 is constituted by a first motor as a device, and the intermediate hollow shaft 6601 is rotated by rotating the intermediate hollow shaft 6601 inserted in the base member 660 according to the driving force and the swing direction based on the swing command.
  • the plurality of projecting portions 6611 to 6613 constituting the first comb-like member as the first support member 661 connected integrally are configured to swing and rotate.
  • four divided portions 61A at the downstream end of the first substrate transport mechanism 61 are provided via a rotation drive mechanism and a rotation communication means (not shown) according to a rotation drive command.
  • the transport roller 612 is rotationally driven, and the substrate 5 with the deflection film bonded to the lower surface is transported to the right in the figure, and when it reaches the stop position and stops, the first swinging is performed.
  • the first motor as an electric drive device constituting the dynamic drive mechanism 6691 swings the intermediate hollow shaft 6601 inserted in the base member 660 in the counterclockwise direction according to the drive force and the swing direction based on the swing command.
  • the second swing drive mechanism 6692 is an electrical element disposed at the other end of the base member 660 connected to the end 672 of the substrate reversing portion 67 for reversing the substrate via the connecting portion 673.
  • the second motor as a driving device is configured to be integrally connected to the central shaft by swinging and rotating the central shaft 6602 inserted in the base member 660 according to the driving force and the swinging direction.
  • the plurality of protrusions 6621 to 6623 constituting the second comb-like member as the second support member 662 are configured to swing and rotate.
  • the substrate reversing portion 67 of the substrate reversing mechanism described later is reversed around the reversing axis. Therefore, as shown in FIG.
  • a second motor as an electrical drive device constituting the second swing drive mechanism 6692 moves the center shaft 6602 inserted in the base member 660 against the center shaft 6602 according to the drive force and swing direction based on the swing command.
  • the plurality of protrusions in a horizontal state as shown in FIG. 10 (A) constituting the second comb-shaped member integrally connected to the central shaft 6602 by swinging and rotating clockwise.
  • the swing drive mechanism 669 forms one motor 6690 as a swing drive source and the swing support force from the motor 6690 forms the first support member 661.
  • the first clutch means 6633 that rotates and communicates with the first comb-like member having a plurality of projecting portions 6611 to 6613, and the oscillation from one motor 6690 as the oscillation drive source.
  • the driving force is composed of a second clutch means 6634 that rotates and communicates with the second comb-like member provided with a plurality of protrusions 6621 to 6623 constituting the second support member 662. Since the single motor 6690 as the swing drive source is provided, the substrate support device is suitable for simplification and weight reduction.
  • the swing drive mechanism 669 uses actuators 6635 and 6636 as first and second swing drive sources, and a swing member that swings about a fulcrum.
  • the first and second support members 661 and 662 are formed.
  • the plurality of protrusions 6611 to 6613 and 6621 to 6623 of the comb-like member are swung around a fixed angle range, for example, about 0 to ⁇ 30 degrees, respectively, so that the substrate 5 is sandwiched and supported.
  • a mode in which the support state can be released is possible, and the controller 6637 controls the application of current to the solenoids constituting the actuators 6635 and 6636, that is, Since is realized off control has the advantage that control is simple.
  • first and second support members 661 and 662 have been described.
  • the embodiment is described with reference to the first and second embodiments.
  • the first and second comb-like members having a plurality of projecting portions constituting the supporting member are configured to be reciprocable so that the opposing distance changes by relatively approaching or separating in the vertical direction. Is possible.
  • first and second comb-like members having a plurality of protrusions 6611 to 6613 and 6621 to 6623 constituting the first and second support members 661 and 662 are linear drive mechanisms, that is, reciprocating drive. It can be configured to be driven and reciprocated by a mechanism.
  • the linear drive mechanism is driven by the drive force in the vertical direction in FIG. 8 of the first and second solenoids 6638A, 6638B and other electrical drive devices in accordance with the drive current from the controller 6638C.
  • At least one of the first and second support members 661 and 662 approaches relatively, thereby sandwiching and supporting the substrate 5, and after reversing, at the upstream end of the second substrate transport mechanism It is also possible to configure such that the sandwiched state of the substrate 5 is released by relatively separating at least one of the first and second support members 661 and 662.
  • the linear drive mechanism has an adsorbing portion 6639 that adsorbs the substrate 5 to the contact surfaces of the plurality of protruding portions of the comb-like member constituting the substrate supporting member 661 with the substrate 5.
  • the substrate 5 is adsorbed or sandwiched by the negative pressure suction action by the fluid pressure supplied from the pump P as the driving device, so that the first and second comb-shaped members are relative to each other.
  • the substrate It is possible to sandwich and support the substrate by approaching to the substrate, and if the pump or pressure source as a driving device is installed at an appropriate location in the factory and connected to the piping, the substrate There is an advantage that the structure of the support device is simplified, and the weight can be reduced and the speed can be increased.
  • a plurality of sucked portions and sucked portions 6639 are formed at both ends of the first and second support members 661 and 662, and a suction pump P such as a vacuum pump as a driving device is formed.
  • the suctioned part is adsorbed by the adsorbing part 6639 by the negative pressure suction action by the fluid pressure (negative pressure) supplied from the pipe through the pipe, thereby moving the first support member 661 upward in the figure.
  • the substrate can be sandwiched and supported between the first and second support members 661 and 662, and a pump or a pressure source as a driving device is installed at an appropriate place in the factory.
  • the configuration of the substrate supporting device can be simplified, and the weight can be reduced and the speed can be increased.
  • the said embodiment demonstrated the aspect which adsorb
  • substrate support apparatus in the bonding apparatus of a polarizing film is the 1st board
  • the first bonding unit 6 that bonds the first polarizing film to the lower surface of the substrate in the first substrate transport mechanism 61, and the substrate is transported in a state where the short side or the long side is along the transport direction.
  • the second substrate transport mechanism 62, the second bonding portion 16 that bonds the second polarizing film to the lower surface of the substrate in the second substrate transport mechanism, and the first substrate transport mechanism are transported by the first substrate transport mechanism.
  • a polarizing film laminating apparatus including a substrate supporting apparatus 66 including a substrate supporting part that supports the substrate 5 on which the polarizing film is bonded, a member 660 connected to a substrate reversing part 67 that performs the reversing operation of the substrate.
  • the first support member 661 and the second support member are moved by relative movement between the first support member 661 and the second support member 662 that enter the end portions of the plate transport mechanism 61 and the second substrate transport mechanism 62.
  • the substrate 5 to which the first polarizing film transported from the first substrate transport mechanism 61 is bonded is supported by being sandwiched between the first support member 661 and the first support member 661.
  • the second support member 662 is supported by being sandwiched between the first support member 661 and the second support member 662 reversed by the substrate reversing unit 67 by the relative movement with the second support member 662.
  • the substrate 5 to which the first polarizing film is bonded is released from the support by sandwiching and is placed on the end portion of the second substrate transport mechanism 62.
  • substrate support mechanism in the bonding apparatus of a polarizing film is the 1st board
  • 2 substrate conveyance mechanism 62, 2nd bonding part 16 which bonds the 2nd polarizing film to the lower surface of the above-mentioned board in the 2nd substrate conveyance mechanism, and the 1st substrate conveyance mechanism 61 are conveyed, and it is the 1st.
  • the reversing operation of the substrate reversing unit 67 connected to the substrate supporting unit that supports the substrate on which the polarizing film is bonded causes the substrate supported by the substrate supporting unit to be reversed, and the arrangement is changed to change the second substrate.
  • the first substrate transporting mechanism 61 and the first substrate transporting mechanism 61 are arranged on a member 660 connected to the substrate reversing unit 67 of the reversing mechanism that performs the reversing operation of the substrate. Due to the relative movement of the first support member 661 and the second support member 662 entering the end portion of the second substrate transport mechanism 62, the first support member 661 and the second support member 662 are interposed between the first support member 661 and the second support member 662.
  • the substrate 5 on which the first polarizing film transported from the first substrate transport mechanism 61 is bonded is supported by being sandwiched, and the first support member 661 and the second support member are supported.
  • the reversing mechanism rotates around the reversing axis M or the reversing shaft portion 68 disposed at a certain inclination (40 ° to 50 °) with respect to the transport direction of the substrate.
  • a substrate reversing unit 67 that performs a reversing operation is provided.
  • the inclination of the inversion axis is set to around 45 ° (45 ° ⁇ 2 °).
  • the substrate supporting device 66 includes a conveyor roll 510 as the first substrate transport mechanism 61 and a downstream end portion in the transport direction of the film and substrate of the first film transport mechanism 51, and A minimum constant constant so as not to interfere with the upstream end portion of the film and substrate transport direction of the second film transport mechanism 52 provided with the conveyor roll 520 as the second substrate transport mechanism 61 even if play is considered.
  • the substrate supporting portion 661 is arranged so as to face each other in accordance with the reversing operation of the substrate reversing portion 67 of the reversing mechanism 65.
  • the substrate support device 66 is constituted by a rectangular box-shaped member having a size larger than that of a substrate to which a film is bonded, and the two rectangular box-shaped members are arranged at an angle of 180 degrees.
  • the substrate reversal of the reversing mechanism 65 is performed in such a manner that the two corners are closest to the rotating shaft 68 disposed at an angle of 45 degrees with respect to the transporting direction of the first substrate transporting mechanism 61 as the reversing axis. It is mechanically coupled and connected to one end of the portion 67.
  • one substrate support device 66 is opposed to the downstream end of the film and substrate transport direction of the first film transport mechanism 51 provided with a conveyor roll 510 as the first substrate transport mechanism 61 as shown in FIG.
  • the second substrate support device 66 is disposed in the upstream end of the second film transport mechanism 52 provided with a conveyor roll 520 as the second substrate transport mechanism 61 in the transport direction of the film and the substrate. And are arranged to face each other.
  • the substrate support device 66 is formed in the substrate support device as shown in FIG. 14, and a transport path 662 for transporting the substrate 5 transported from the first substrate transport mechanism 61 and the transport path 662.
  • a plurality of transport rolls 663 serving as transport means arranged to contact the transported substrate 5 and transport along the transport direction of the substrate in the first film transport mechanism 51, and from the transport passage 662
  • a plurality of transport rolls 664 as transport means arranged to contact the transported substrate and transport along the transport direction of the substrate in the second film transport mechanism 52, and the plurality of transport rolls 664 Is moved up and down to sandwich and support the substrate that has reached the substrate support position of the transfer path 662 and to be reversed by a substrate reversing unit 67 described later.
  • the and a substrate support and drive mechanism 665 for releasing the clamping state of the substrate.
  • the plurality of transport rolls 663 are provided with a plurality of, for example, four rolls 663 at regular intervals with respect to a rotation shaft 6630 that is rotatably supported. It is configured to be rotationally driven in synchronization with the first substrate transport mechanism 61 by a motor or other rotational drive device via a rotational communication means as required.
  • the rotation driving device may be driven to rotate in synchronization with the first substrate transport mechanism via the rotation communication means by using the rotation drive devices for the first and second substrate transport mechanisms. Rotating in synchronism with the first substrate transport mechanism via the rotation communication means according to the same or similar drive command using a rotational drive device separate from the rotational drive device for one substrate transport mechanism. It may be driven.
  • the plurality of transport rolls 664 are provided with a plurality of, for example, three rolls 664 at a fixed interval with respect to a rotation shaft 6640 that is rotatably supported. It is configured so as to be driven to rotate in synchronization with the second substrate transport mechanism 62 by a motor or other rotational drive device through a rotational communication means as required.
  • the rotation drive device may be driven to rotate in synchronization with the second substrate transfer mechanism via a rotation communication unit by using the rotation drive device for the second substrate transfer mechanism.
  • a rotation drive device that is separate from the rotation drive device for the substrate transport mechanism, the same or similar drive command is used to rotate and synchronize with the second substrate transport mechanism via the rotation communication means as necessary. May be.
  • the support drive mechanism 665 rotates and drives a support portion 6641 that pivotally supports both ends of a rotary shaft 6640 on which a plurality of the plurality of transport rolls 664 are arranged, for example, by a rack and a motor mechanically coupled to the support portion 6641.
  • a rack and pinion mechanism including a pinion
  • the substrate support drive mechanism 665 has been described with respect to the example in which the rotation shaft on which the plurality of transport rolls 664 are disposed is moved downward to sandwich the substrate 5 and is moved upward after being inverted. 14, the substrate 5 is sandwiched by moving the plurality of transport rollers 663 upward, and after reversing, the plurality of transport rollers 663 and the plurality of transport rollers 664 in FIG.
  • the mode of releasing the wearing and the mode of moving both the plurality of transport rolls 663 and the plurality of transport rolls 664 up and down also relatively approach the plurality of transport rolls 663 and the plurality of transport rolls 664. So it can be adopted.
  • the substrate support driving mechanism 665 moves the rotating shaft 6640 provided with a plurality of the transport rollers 664 up and down to move the substrate that has reached the substrate support position of the transport path 662.
  • one or more substrate support members are disposed in the substrate support device 66, and the substrate support member 6651 is disposed as shown in FIG.
  • the plurality of transport rolls can be moved by moving downward or by moving the substrate support member 6651D upward.
  • the substrate is moved closer to the substrate support position.
  • the reached substrate may be sandwiched and supported by two substrate support members 6652 and 6653.
  • the substrate support drive mechanism 665 sandwiches the substrate that has reached the substrate support position when the one or more substrate support members 6651 to 6653 are relatively approached by the driving force of the electric drive device. Although it can be configured to be attached and supported, as shown in FIG. 17A, one end formed integrally with the substrate support members 6651 to 6653 is inserted into the solenoid 6654 and protruded.
  • the substrate 5 to be reversed can be supported by moving the substrate support members 6651 to 6653 upward in the drawing by magnetically attracting the member based on the electric input, and FIG. As shown in FIG.
  • the substrate support drive mechanism 665 moves the substrate 5 that has reached the substrate support position when the one or more substrate support members 6651 to 6653 relatively approach each other by the driving force of the mechanical drive device.
  • the substrate support members 6651 to 6653 that are biased downward by the spring member as shown in FIG.
  • the wedge-shaped member 6661 is inserted against the urging force to the substrate, so that a certain gap is formed between the substrate support members 6651 to 6653 and the transfer passage 662, and the substrate on which the film is bonded is formed. Is delivered to the transport passage 662 and reaches the substrate support position, and then a swinging member (not shown) that responds to the movement of the substrate on which the film is bonded.
  • the substrate supporting members 6651 to 6653 are moved downward by the biasing force of the spring member 6662, and the film that has reached the substrate supporting position is bonded.
  • the substrate supporting device is reversed by the reversal of the substrate reversing unit 67, the retracted wedge-shaped member 6661 again enters the left side in the drawing. Then, the substrate support members 6651 to 6653 are moved upward against the biasing force of the spring member, so that the reversed substrate is released from being sandwiched, and the substrate is transported to the second substrate transport mechanism 62.
  • an electric drive device is used, there is an advantage that a control and a control device become unnecessary.
  • the wedge-shaped member 6661 is disposed offset with respect to the transport path from the inside of the substrate support device 66 to the second substrate transport mechanism 62, and does not hinder the transport of the substrate. It is configured as follows.
  • the substrate support drive mechanism 665 reaches the substrate support position by adsorbing, pressing, or clamping the one or more substrate support members 6651 to 6653 by the action of fluid pressure supplied from the drive device.
  • a connecting member 6656 is attached to the one or more substrate supporting members 6651 to 6653.
  • the piston 6657 in the cylinder 6658 is vertically moved by supplying or discharging air, water, hydraulic pressure or other fluids via a two-way switching valve 6659 from the pump to the left and right chambers of the cylinder 6658 in which the piston 6657 connected thereto is inserted.
  • the substrate supporting members 6651 to 6653 are moved upward or downward to move to the substrate supporting position. With reaching the film is pasted was the substrate is sandwiched between the transport roll 663, it is possible to release the clamping state.
  • the support driving mechanism 665 is not sandwiched by the substrate support member, but is adsorbed to the suction portion as the substrate support member by a negative pressure by air or other fluid or pressed by the air or other fluid by the substrate support member. It is also possible to support the substrate by pressing the pressing portion, and by supplying the fluid via the rotating shaft portion 68 and the substrate reversing portion 67 by arranging a pressure source at an appropriate place in the factory. If this is possible, it is only necessary to form the adsorption part or the pressing part on the substrate support member in the substrate support device. Therefore, the configuration of the substrate support device is simplified and the weight of the substrate support device is reduced. As well as enabling high-speed rotation and shortening of the tact time of the substrate support apparatus.
  • the substrate support device in the substrate transport mechanism of the present embodiment having the above-described configuration is configured such that the substrate support device 66 is disposed on the member 660 connected to the substrate reversing unit 67 that performs the substrate reversing operation, and the rectangular substrate is long. Ends of the first substrate transport mechanism 61 that transports the side or short side along the transport direction and the second substrate transport mechanism 62 that transports the substrate along the short side or long side along the transport direction From the first substrate transport mechanism 61 between the first support member 661 and the second support member 662 due to the relative movement of the first support member 661 and the second support member 662 entering the portion.
  • the transported substrate 5 is supported by being sandwiched, and is reversed by the substrate reversing unit 67 by the relative movement of the first support member 661 and the second support member 662.
  • the substrate 5 supported by being sandwiched between the first support member 661 and the second support member 662 is released from the support by the sandwich, and the end portion of the second substrate transport mechanism 62 is released. Therefore, the first support member in which the substrate 5 transported by the first substrate transport mechanism 61 enters the end portion of the first substrate transport mechanism 61 with a simple configuration.
  • the substrate reversing unit 67 can invert the substrate, and the substrate reversing unit.
  • the substrate supported by being sandwiched between the first support member 661 and the second support member 662 inverted by 67 is released from the support by the sandwich, and the second substrate transport By being placed on the end of the structure 62, the effect of allowing the transport of the substrate in the second substrate transport mechanism 62.
  • the substrate support device in the substrate transport mechanism of the present embodiment includes a plurality of portions formed between adjacent portions of the plurality of divided portions 61A, 61B, 61C, 61D in the width direction at the end of the first substrate transport mechanism 61.
  • the plurality of protrusions 6611 to 6613 and 6621 to 6623 of the first and second comb-like members constituting the first and second support members 661 and 662 enter the gap, the first and second support members 661 and 662 enter.
  • the substrate 5 transported from the first substrate transport mechanism 61 is reliably supported by being sandwiched between the plurality of protrusions of the second comb-shaped member, and the above
  • the plurality of protrusions 6611 to 6613 and 6621 to 6623 of the first and second comb-shaped members constituting the support members 661 and 662 enter, and the support by sandwiching the inverted substrate is released, and the second By being placed on the end portion of the substrate transport mechanism 62, the second substrate transport mechanism 62 can transport the substrate.
  • the substrate support apparatus in the substrate transport mechanism of the present embodiment is configured such that the first substrate transport mechanism 61 includes the first substrate in a plurality of gaps formed between adjacent portions of the plurality of divided portions in the width direction at the end of the first substrate transport mechanism 61. And a plurality of protrusions of the first and second comb-like members constituting the second support members 661 and 662 enter, and a plurality of protrusions 6611 of at least one of the first and second comb-like members enters. ⁇ 6613, 6621 ⁇ 6623 swings in a certain angle range with a part as a fulcrum, so that the substrate 5 transported from the first substrate transport mechanism 61 is made of the first and second comb-shaped members.
  • the plurality of protrusions of the first and second comb-shaped members constituting the inverted first and second support members 661 and 662 enter the plurality of gaps thus formed, and at least one of the first and second support members 661 and 662 enters.
  • the plurality of projecting portions of the second comb-shaped member swing within a certain angle range with a part as a fulcrum, thereby releasing the support by sandwiching the inverted substrate, and the end of the second substrate transport mechanism 62 By being placed on the part, the second substrate transport mechanism 62 can transport the substrate.
  • the substrate support apparatus in the substrate transport mechanism of the present embodiment includes the first and second projections having a plurality of protrusions 6611 to 6613 and 6621 to 6623 constituting the first and second support members 661 and 662.
  • the comb-like member is driven to swing by the swing drive mechanisms 6691 and 6692, the substrate 5 transported from the first substrate transport mechanism 61 becomes a plurality of the first and second comb-shaped members.
  • the projections 6611 to 6613 and 6621 to 6623 are securely supported by being sandwiched between the projections 6611 to 6613 and the second substrate transport.
  • the second substrate transport mechanism 62 can transport the substrate 5.
  • the first swing drive mechanism 6691 constituting the swing drive mechanism has a plurality of protrusions 6611 to 6613 constituting the first support member 661. , 6621 to 6623 are driven to swing, and a second swing drive mechanism 6692 constituting the swing drive mechanism includes a plurality of second support members 662.
  • the substrate 5 transported from the first substrate transport mechanism 61 is driven by swinging and driving the second comb-shaped member having the projecting portion, so that the plurality of projecting portions of the first and second comb-shaped members are projected.
  • the substrate support device in the substrate transport mechanism of the present embodiment is such that the swing drive mechanism includes the swing drive source 6690 and the swing drive force from the swing drive source via the first clutch means 6633.
  • the first support member 661 is transmitted to the first comb-like member having a plurality of protrusions 6611 to 6613 and is driven to swing, and the swing drive force from the swing drive source 6690 is applied to the first comb member.
  • the first substrate is oscillated and driven.
  • the substrate 5 transported from the transport mechanism 61 has the effect of being reliably supported by being sandwiched between the plurality of protrusions of the first and second comb-shaped members, and reversed. the above The support by the sandwiching of the plates 5 is released, and the substrate 5 is placed on the end portion of the second substrate transport mechanism 62, so that the substrate 5 can be transported by the second substrate transport mechanism 62. .
  • the substrate support device in the substrate transport mechanism of the present embodiment is formed by a plurality of portions formed between adjacent portions of the plurality of divided portions 61A, 61B, 61C, 61D in the width direction at the end of the first substrate transport mechanism 61.
  • a plurality of protrusions 6611 to 6613 and 6621 to 6623 of the first and second comb-like members constituting the first and second support members 661 and 662 are inserted into the gap, so that at least one of them is inserted.
  • the substrate support apparatus in the substrate transport mechanism of the present embodiment has a plurality of protrusions 6611 to 6613 and 6621 to 6623 constituting the first and second support members 661 and 662 by the linear drive mechanisms 6638A and 6638.
  • the first and second comb-shaped members having the above-mentioned first and second comb-shaped members are linearly driven and reciprocated, so that the substrate 5 transported from the first substrate transport mechanism 61 becomes the first and second comb-shaped members. And the support of the inverted substrate 5 is released, and the end portion of the second substrate transport mechanism 62 is released. As a result, the second substrate transport mechanism 62 can transport the substrate 5.
  • the substrate support device in the substrate transport mechanism according to the present embodiment is such that the linear drive mechanism forms the first and second support members 661 and 662 by the drive force of the electrical drive devices 6638A and B. Since the substrate 5 is sandwiched and supported when the members relatively approach, control for sandwiching and supporting the substrate is performed by the driving force of the electrical drive device based on the drive command. It has the effect of being easily realized.
  • the substrate support device in the substrate transport mechanism of the present embodiment is such that the linear drive mechanism is adsorbed or pinched by the action of fluid pressure supplied from the drive device, whereby the first and second support members are Since the comb-shaped members constituting 661 and 662 are relatively close to each other, the substrate 5 is sandwiched and supported. Therefore, a driving device for supplying fluid pressure is arranged separately from the substrate support member. Thereby, the structure of the said board
  • the substrate support apparatus in the polarizing film laminating apparatus of this embodiment is disposed on the member 660 connected to the substrate reversing unit 67 that performs the reversing operation of the substrate, and the long side or the short side of the rectangular substrate is the transport direction.
  • the first substrate transport mechanism 61 that transports the substrate in a state along the first and the second substrate transport mechanism 62 that transports the substrate with the short side or the long side along the transport direction.
  • the first polarized light transported from the first substrate transport mechanism 61 between the first support member 661 and the second support member 662 by the relative movement of the support member 661 and the second support member 662.
  • the substrate 5 having the film bonded thereon is reliably supported by being sandwiched, and the substrate is moved by the relative movement between the first support member 661 and the second support member 662.
  • the substrate 5 to which the first polarizing film supported by being sandwiched between the first support member 661 and the second support member 662 reversed by the rolling unit 67 is sandwiched is sandwiched between the first support member 661 and the second support member 662. Since the support by the attachment is released and placed on the end of the second substrate transport mechanism 62, the first polarizing film is formed by the substrate inversion portion 67 connected to the base member 660 of the substrate support member.
  • the substrate support device in the polarizing film laminating device of the present embodiment is disposed on a member 660 connected to the substrate reversing unit 67 of the reversing mechanism that performs the reversing operation of the substrate, and the first substrate transport mechanism 61 and Due to the relative movement of the first support member 661 and the second support member 662 entering the end portion of the second substrate transport mechanism 62, the first support member 661 and the second support member 662 are interposed between the first support member 661 and the second support member 662. Since the substrate 5 on which the first polarizing film transported from the first substrate transport mechanism 61 is bonded is supported by being sandwiched, the substrate 5 on which the first polarizing film is bonded.
  • substrate inversion part 67 with which the said inversion mechanism which the said bonding apparatus of a polarizing film contains is equipped with the fixed inclination with respect to the conveyance direction of the said board
  • substrate support apparatus in the bonding apparatus of the polarizing film of this embodiment the said board
  • the substrate reversing unit rotates around the reversing axis disposed at an inclination of 45 ° with respect to the transport direction of the substrate.
  • the substrate support apparatus provided with the transport means in the substrate transport mechanism of the next embodiment is configured such that the long side or the short side of the rectangular substrate 5 is along the transport direction by the transport means 663 and 664 of the substrate support apparatus 66.
  • the substrate 5 transported from the first substrate transport mechanism 61 transported in a state of being transported is transported in a transport path 662 in the substrate support apparatus and transported by at least one of the substrate support members. Therefore, the substrate 5 transported by the first substrate transport mechanism 61 is transferred from the first substrate transport mechanism 61 via the transport passage 662 in the substrate support device 66.
  • the substrate support position can be reliably and smoothly conveyed, and at least one of the substrate support members 663, 664, 6651 to 6 is used.
  • the substrate that has reached the substrate support position is securely supported, and the substrate inversion section 67 connected to at least one of the substrate support members causes the substrate 5 to have a short side or a long side.
  • the substrate inversion section 67 connected to at least one of the substrate support members causes the substrate 5 to have a short side or a long side.
  • the substrate support apparatus provided with the transfer means in the substrate transfer mechanism of the present embodiment is configured such that the substrate 5 transferred in the first substrate transfer mechanism 61 is transferred to the substrate by the first transfer means 663 of the transfer means.
  • the substrate 5 is transported in a direction along the first substrate transport mechanism 61 in the transport path 662 in the support device 66, and the substrate 5 that has reached the substrate support position is at least one substrate support member.
  • the second transport means 664 transports the substrate 5 in the direction along the second substrate transport mechanism 62 while being reliably supported by one of the first and second 66a and 66b.
  • the substrate 5 reversed by the substrate reversing unit 67 is transported in a direction along the second substrate transport mechanism 62, whereby the substrate support apparatus is supported.
  • the substrate 5, which is inverted from the inside 66 is an effect that makes it possible to convey reliably and smoothly into the second substrate transport mechanism 62.
  • the substrate support apparatus provided with the transport means in the substrate transport mechanism of the present embodiment is such that the two substrate support members 663, 664, 6652, 6653 are relatively moved when the substrate 5 reaches the substrate support position. Since the substrate 5 is sandwiched and supported by approaching, the substrate 5 that has reached the substrate support position by sandwiching both surfaces of the substrate by relative approach by the two substrate support members. There is an effect of reliably supporting.
  • a plurality of substrate supporting devices provided with the conveying means in the substrate conveying mechanism of the present embodiment are arranged in an orthogonal relationship to constitute the first and second conveying means, and the first and second are driven by the driving device.
  • the first and second transport rollers 663 and 664 that are rotationally driven in synchronism with the substrate transport mechanisms 61 and 62 are moved along the first substrate transport mechanism 61 in the transport path 662 in the substrate support device 66. Since the substrate 5 can be transferred synchronously in the direction, and the substrate can be transferred synchronously in the direction along the second substrate transfer mechanism 62 in the transfer path in the substrate support device 66.
  • the substrate 5 transported from the first substrate transport mechanism 61 is not caused to act on the transport path 662 in the substrate support device 66 without applying unnecessary force due to a difference in rotation.
  • the second substrate transport mechanism 62 smoothly transports the substrate 5 transported from the transport path 662 in the substrate support device 66 without applying unnecessary force due to a rotational difference.
  • the substrate support apparatus provided with the transfer means in the substrate transfer mechanism of the present embodiment has the substrate support position when at least one of the first or second transfer rollers 663 and 664 approaches relatively. Since the substrate 5 that has reached the position is supported by being sandwiched and functions also as the substrate support member, the substrate support member is provided separately from the first or second transport rollers 663 and 664. This eliminates the need for a simple structure and enables weight reduction. *
  • the substrate supporting member 6651 is relatively close to one of the first or second conveying rollers 663 and 664.
  • the substrate that has reached the substrate support position is sandwiched and supported, so that the relative approach of the first or second transport roller for sandwiching the substrate is unnecessary,
  • the structure of the conveying means including the first or second conveying roller is simplified, and the reliability can be improved.
  • the substrate supporting apparatus provided with the conveying means in the substrate conveying mechanism of the present embodiment is such that the at least one substrate supporting member 6651, 6652, 6653 is relatively approached by the driving force of the electric driving device. Since the substrate that has reached the substrate support position is sandwiched and supported, control for sandwiching and supporting the substrate is easily realized by the driving force of the electric drive device based on the drive command. In addition, there is an effect that advanced and complicated control is possible according to the control logic or the control program.
  • the substrate support apparatus provided with the transfer means in the substrate transfer mechanism of the present embodiment is such that the at least one substrate support member 6651, 6652, 6653 is relatively approached by the driving force of the mechanical drive device. Since the substrate 5 that has reached the substrate support position is sandwiched and supported, the substrate is sandwiched by a mechanical mechanism based on the driving force of the mechanical drive device without complicated control. As a result, the effect of realizing the support easily and reliably is achieved.
  • the at least one substrate support member 6651, 6652, 6653 is adsorbed, pressed or bonded by the action of the fluid pressure supplied from the driving device.
  • a driving device for supplying fluid pressure is disposed in an appropriate part different from the substrate support member.
  • substrate support apparatus provided with the conveyance means in the bonding apparatus of the polarizing film of this embodiment is a state in which the long side or the short side was along the conveyance direction by the said conveyance means of the said board
  • the substrate transported from the first substrate transport mechanism to be transported and bonded with the first polarizing film is transported in a transport path in the substrate support device and transported by at least one of the substrate support members.
  • the substrate on which the first polarizing film that has reached the support position is bonded is supported, the substrate on which the first polarizing film transferred in the first substrate transfer mechanism is bonded, It is possible to reliably and smoothly transport from the first substrate transport mechanism to the substrate support position via a transport path in the substrate support apparatus, and at least one of the substrates
  • the holding member securely supports the substrate on which the first polarizing film that has reached the substrate support position is bonded, and the substrate reversing unit connected to at least one of the substrate support members provides the first
  • the polarizing film reverses the substrate reversing unit to the second substrate transport mechanism that transports the substrate in a state in which the substrate has the short side or the long side along the transport direction, and a second by the second bonding unit.
  • substrate support apparatus provided with the conveyance means in the bonding apparatus of the polarizing film of this embodiment is a state in which the long side or the short side followed the conveyance direction by the said conveyance means of the said board
  • the substrate transported from the first substrate transport mechanism to be transported and bonded with the first polarizing film is transported in a transport path in the substrate support device and transported by at least one of the substrate support members.
  • the substrate on which the first polarizing film that has reached the support position is bonded is supported, the substrate on which the first polarizing film transferred in the first substrate transfer mechanism is bonded, It is possible to reliably and smoothly transport from the first substrate transport mechanism to the substrate support position via a transport path in the substrate support apparatus, and at least one of the above-mentioned bases
  • substrate support apparatus provided with the conveyance means in the bonding apparatus of the polarizing film of this embodiment contains the said polarizing film bonding apparatus, and the said board
  • the substrate reversing operation is performed by rotating around the reversing axis arranged at a constant inclination, so that the substrate reversing rotating around the reversing axis arranged at a constant inclination with respect to the transport direction of the substrate.
  • the one-time reversing operation can change the direction of the short side and the long side along the transport direction of the substrate on which the first polarizing film is bonded, and shorten the tact time of the production line. There is an effect that can be.
  • substrate support apparatus provided with the conveyance means in the bonding apparatus of this embodiment WHEREIN:
  • substrate inversion part 67 with which the said inversion mechanism with which the said polarizing film bonding apparatus is equipped is 45 with respect to the conveyance direction of the said board
  • the direction of the short side and the long side along the transport direction of the substrate 5 on which the first polarizing film is bonded can be changed, and the tact time of the production line can be shortened. There is an effect that can be done.
  • the reversing mechanism 65 changes the arrangement of the substrate 5 whose short side or long side is along the transport direction to a state where the long side or short side is along the transport direction and reversed.
  • 4A to 4C are perspective views showing a process of reversing the substrate 5 by the reversing mechanism 65.
  • FIG. 4A shows a state in which the substrate 5 transported by the first substrate transport mechanism is supported by suction.
  • FIG. 4B shows a process of reversing the substrate 5, and
  • FIG. 4C shows a state where the substrate 5 is reversed by the reversing mechanism.
  • the first substrate transport mechanism and the second substrate transport mechanism are omitted in FIG. 4, but will be described later with reference to FIG.
  • the reversing mechanism 65 includes a substrate reversing unit 67 and a lifting unit 68.
  • the substrate reversing unit 67 is connected to the suction unit 66 as the substrate support unit of the above-described substrate support apparatus, and is formed so as to connect the suction unit 66 and the lifting unit 68.
  • the substrate reversing unit 67 reverses the substrate 5 by rotating around the reversing axis M.
  • the lifting / lowering portion 68 side of the substrate reversing portion 67 has a shape extending toward the substrate 5 in a direction perpendicular to the reversing axis M.
  • the suction unit 66 side of the substrate reversing unit 67 has a shape bent about 40 ° along a straight line passing through the center of the substrate 5 in the first substrate transport mechanism and parallel to the long side (transport direction) of the substrate 5. ing.
  • the shape of the substrate reversing part 67 shown in FIG. 4A is merely an example, and is not limited to the shape.
  • a shape that is curved from the lifting / lowering portion 68 side to the suction portion 66 side may be employed.
  • a structure having a plurality of movable parts such as a robot arm may be adopted.
  • the substrate reversing unit 67 has a structure in which a rotatable movable unit is provided in the lifting unit 68.
  • the movable part is arranged along the reversal axis M, and the substrate reversing part 67 is rotatable along the reversal axis M.
  • the inversion axis M includes (1) a straight line that passes through the center of the substrate 5 in the first substrate transport mechanism and has an inclination of 45 ° with respect to a straight line perpendicular to the transport direction of the substrate 5, and is perpendicular to the substrate 5. (Refer to FIG. 5A), and (2) located at a position horizontal to the substrate 5 (see FIG. 4A).
  • the inversion axis M is located in the plane and may be moved in the direction perpendicular to the substrate 5.
  • the substrate reversing unit 67 is configured to rotate along the reversing axis M via the movable unit, but is not limited to this structure as long as it can be rotated along the reversing axis M.
  • the substrate reversing unit 67 has a rotating shaft structure, and the rotation shaft structure rotates along the reversing axis M and the entire substrate reversing unit 67 rotates.
  • the substrate reversing part 67 is rotated by a driving device such as a motor (not shown).
  • the substrate reversing unit 67 can reverse the substrate 5 by rotating once (one time) about the reversing axis M.
  • the reversal of one degree (one time) means that the substrate 5 is rotated to the opposite surface, in other words, the substrate 5 is disposed so that the front surface is the back surface.
  • the elevating part 68 has an arm shape with a bent part, and the substrate reversing part 67 can be raised by reducing the angle of the arm. On the other hand, the substrate inversion part 67 can be lowered by increasing the angle of the arm.
  • the suction unit 66 is disposed above the substrate 5 so as not to contact the substrate 5 when the substrate 5 is not being transported. When the substrate 5 is transferred, the substrate reversing unit 67 is lowered and the adsorption unit 66 is also lowered by the elevating unit 68, so that the substrate 5 can be adsorbed by the adsorption unit 66.
  • the adsorption of the adsorption unit 66 is released, but after the release, the substrate reversing unit 67 is moved by the lifting unit 68 and the adsorption unit 66 is separated from the substrate 5.
  • FIG. 4A shows a case where the short side of the substrate 5 is along the transport direction.
  • the substrate inversion unit 67 rotates along the inversion axis M.
  • the vicinity of the center of the substrate 5 is adsorbed by the adsorbing portion 66, but the adsorbing portion is not particularly limited as long as the substrate 5 is fixed so as not to come off during rotation. Further, the number of adsorption locations is not limited to 4 and may be increased or decreased.
  • FIG. 4B shows a state in which the substrate reversing unit 67 is rotated by 90 ° with respect to the substrate 5 (in the first substrate transport mechanism) in FIG. 4B, the substrate reversing unit 67 continues to rotate and the substrate 5 is reversed as shown in FIG. 4C.
  • the direction of the short side and the long side of the substrate 5 can be changed and reversed by one reversing (rotating) operation (one reversing operation) of the reversing mechanism 65. That is, the arrangement direction can be changed together with the inversion of the substrate 5 with a short tact time without complicated rotation operation. As a result, the polarizing film can be bonded to the substrate 5 including reversal in a short tact time.
  • a substrate reversing unit 67 is installed on the transport direction side with respect to the substrate 5 in FIG.
  • the second substrate transport mechanism can be reversed in a state where the substrate 5 is moved further in the transport direction.
  • the tact time concerning double-sided bonding including reversal can be further shortened.
  • FIG. 5 is a plan view showing the rotation process of the substrate 5 corresponding to FIG.
  • FIG. 5 illustrates the first substrate transport mechanism 61 and the second substrate transport mechanism 62.
  • the first substrate transport mechanism 61 and the second substrate transport mechanism 62 are provided with a conveyor roll.
  • the first substrate transport mechanism 61 and the second substrate transport mechanism 62 transport the substrate 5 in the same direction.
  • the first substrate transport mechanism 61 and the second substrate transport mechanism 62 have a linear shape along the transport direction. That is, it does not have a complicated structure such as an L shape. Therefore, the bonding apparatus 60 according to the present embodiment is very simple to install and has a structure with excellent area efficiency.
  • the substrate reversing portion 67 is rotated by 90 ° so that the substrate 5 is vertical.
  • the substrate reversing unit 67 further rotates along the direction of the reversal axis M, and the substrate 5 is reversed.
  • the substrate 5 is disposed on a conveyor roll (not shown), and the substrate reversing unit 67 does not contact the conveyor roll. For this reason, the reversing mechanism 65 is located below the substrate 5.
  • the suction of the suction part 66 is released, whereby the holding of the substrate 5 is released, and the substrate 5 is transported by the second substrate transport mechanism 62. Then, the reversing mechanism 65 returns to the position shown in FIG. 5A and reverses the other substrates 5 that are sequentially conveyed by the same operation.
  • the substrate 5 can be reversed by the operation of 1, and the long side and the short side with respect to the transport direction can be changed.
  • a polarizing film is bonded to the lower surface of the substrate 5, and after performing the reversing operation, a polarizing film can be further bonded to the lower surface of the reversed substrate 5. .
  • the reversing operation is a simple rotating operation, and the tact time is short because of one operation. Therefore, it is possible to realize bonding with a short tact time without disturbing the rectification environment.
  • the reversing operation of the substrate reversing unit 67 is one operation, but the operation of raising and lowering the substrate 5 before and after the operation and / or the operation of adjusting the position of the substrate reversing unit 67 and the second substrate transport mechanism after reversing Even if an operation of correcting the angular deviation by a mechanism for correcting the angular deviation is included in the case where an angular deviation occurs due to a backlash of the substrate reversing unit 67 or an inclination angle error with respect to the conveyance direction of the substrate, It is included in the operation of the reversing mechanism 65 according to the present embodiment.
  • the first substrate transport mechanism 61 and the second substrate transport mechanism 62 transport the substrate 5 in the same direction, and have a structure adjacent to each other. This is because, as shown in FIG. 5C, the substrate reversing unit 67 replaces the short side and the long side with respect to the transport direction of the substrate 5, so This is because the transport directions in the transport mechanism 61 are not positioned on a straight line with each other, and a shift occurs.
  • the first substrate transport mechanism 61 and the second substrate transport mechanism 62 do not necessarily have to be adjacent to each other, and the first substrate transport mechanism 61 and the second substrate transport mechanism 62 may be spaced from each other.
  • the substrate reversing unit 67 is installed on the transport direction side with respect to the substrate 5 before reversal.
  • the reversing mechanism 65 may be arranged as shown in FIG. In this case, the substrate 5 cannot be moved further in the transport direction, but it is possible to deal with restrictions such as the arrangement of the reversing mechanism 65.
  • the other reversing mechanism 65 of the present embodiment reverses the substrate 5 whose short side or long side is along the transport direction into a state where the long side or short side is along the transport direction of the second substrate transport mechanism. is there. That is, the front surface and the back surface of the substrate 5 are reversed, and the long side and the short side of the substrate 5 along the transport direction are switched.
  • the structure of the reversing mechanism 65 will be described with reference to FIG.
  • FIG. 6 is a perspective view showing the reversing mechanism 65 and shows the operation of the reversing mechanism 65 in the process of reversing the substrate 5.
  • the reversing mechanism 65 includes a substrate reversing portion 67 and a rotating shaft portion 68 in which the substrate supporting portions 66a and 66b are connected to one end. Each member will be described below.
  • the substrate reversing portion 67 is connected to the substrate support portions 66a and 66b, and the substrate reversing portion 67 is configured to reverse the substrate 5 by rotating about the reversing axis M.
  • the substrate reversing part 67 is connected to each arm, and has a pipe-like structure as a preferable structure from the viewpoint of reducing the weight and reducing the air resistance during rotation.
  • a plate shape may be used instead of a pipe shape.
  • the substrate reversing unit 67 rotates around the reversing axis M.
  • the member that rotates the substrate reversing unit 67 include driving means using a motor.
  • the substrate reversing portion 67 includes a rotating shaft portion 68. Since the rotation shaft portion 68 is disposed along the reversal axis M, it can be stably rotated along the reversal axis M.
  • the substrate reversing portion 67 is structured to rotate together with the rotating shaft portion 68, and the substrate reversing portion 67 is configured to easily rotate stably around the reversing axis M.
  • the substrate reversing part 67 including the rotating shaft part 68 can rotate more stably along the reversing axis M. Therefore, the substrate 5 can be reversed more stably.
  • the rotating shaft portion 68 can rotate toward the front surface with respect to the substrate 5 before reversing, or conversely, rotate toward the back surface.
  • the reversal axis M has an inclination of 45 ° with respect to a straight line that passes through the center of the substrate 5 before reversal in the first substrate transport mechanism and is perpendicular to the transport direction D1 of the substrate 5.
  • the straight line having an inclination of 45 ° is a straight line along the inversion axis M in FIG.
  • the “surface including the substrate 5 before reversal in the first substrate transport mechanism” means the same plane as the substrate 5 before reversal, and in FIG. 6A, refers to a surface located on the XY plane.
  • the substrate support portions 66a and 66b, the substrate reversing portion 67, and the rotating shaft portion 68 are separately configured and integrally connected. However, as long as they have the functions of each member, they are integrated. Of course, it may be configured as a member.
  • the short side of the substrate 5 is along the transport direction D1 of the first substrate transport mechanism, and the long side of the substrate 5 is along the transport direction D2 of the second substrate transport mechanism.
  • a case of inversion will be described.
  • FIG. 6 (w1) is a perspective view showing the reversing mechanism 65 in a standby state.
  • the substrate support portion 66a is in a state where the distance between the pair of arm groups is widened so that the substrate 5 can be received.
  • the substrate support portion 66b is disposed at a position where the substrate 5 is inverted, and the distance between the pair of arm groups provided in the substrate support portion 66b is increased in order to release the inverted substrate 5. ing.
  • the substrate 5 When the substrate 5 is transported to the substrate support portion 66a along the transport direction D1 on the XY plane, the substrate 5 is placed on the substrate support portion 66a. Specifically, the substrate 5 moves between the arm groups, and the substrate 5 is placed on the arm group below the substrate support portion 66a. Whether or not the substrate 5 is placed on the arm group is determined by a substrate confirmation sensor.
  • the substrate check sensor is provided in each of the substrate support portion 66a and the substrate support portion 66b. However, the substrate check sensor only needs to be provided at a position where the placement of the substrate 5 can be confirmed. It may be provided other than.
  • the arm groups approach each other and the substrate 5 is sandwiched. Further, the surface of the substrate 5 is adsorbed by the adsorbing means, and the substrate 5 is further fixed. In this way, the substrate 5 can be further fixed by the suction by the suction means, as compared with the case where the substrate 5 is held only by the arm group. Thereby, it can avoid that the board
  • FIG. 6B shows a state in which the substrate reversing unit 67 has rotated 90 ° about the reversing axis M from the state of FIG.
  • the substrate 5 is located along the Z-axis direction.
  • the substrate support portion 66 b does not sandwich the substrate 5 and is rotated 90 ° downward along with the rotation of the substrate inversion portion 67.
  • the substrate reversing portion 67 and the rotating shaft portion 68 are rotated by 90 ° about the reversing axis M, whereby the substrate 5 is reversed to a position symmetrical with respect to the reversing axis M.
  • substrate 5 by the side of the conveyance direction D2 is located in the conveyor roll of a 2nd board
  • the long side and the short side of the substrate 5 are opposite to each other along the substrate transport direction, and the front surface and the back surface of the substrate are reversed. .
  • the polarizing film can be bonded from the lower surface by the nip rolls 16 and 16a so that the absorption axes thereof are orthogonal to each other.
  • the operation of the reversing mechanism 65 draws a 180 ° semicircular orbit about the reversing axis M, and does not require a complicated operation. Therefore, one substrate 5 can be reversed with a short tact time.
  • a pair of substrate support portions 66a and 66b are provided in line symmetry with respect to the inversion axis M. Therefore, when the substrate 5 is inverted by the substrate support portion 66a, the other substrate support portion 66b is moved to the position where the substrate 5 before the inversion in FIG. When the suction by the suction means of the substrate support portion 66a is released from the state of FIG. 6C and the distance between the arm groups is increased, the substrate 5 is placed on the lower arm group of the pair of arm groups. . Thereafter, as shown in FIG. 6 (w2), the substrate 5 is transported in the transport direction D2 with the rotation of the conveyor roll provided in the second substrate transport mechanism.
  • the substrate support portion 66b has moved to the position of the substrate 5 before inversion. Thereby, without waiting for the movement of the board
  • FIGS. 6 (a) to 6 (c) are plan views showing the rotation process of the substrate 5 corresponding to FIGS. 6 (a) to 6 (c).
  • FIG. 7 illustrates the first substrate transport mechanism 61 and the second substrate transport mechanism 62.
  • a plurality of conveyor rolls that transport the substrate 5 are provided orthogonal to the transport direction of the substrate 5.
  • the means for transporting the substrate 5 is not limited to the conveyor roll, and other alternative means may be used.
  • the first substrate transport mechanism 61 and the second substrate transport mechanism 62 transport the substrate 5 in the same direction. That is, the transport directions D1 and D2 are in the same direction. For this reason, the first substrate transport mechanism 61 and the second substrate transport mechanism 62 have linear shapes along the transport directions D1 and D2, respectively. That is, it does not have a complicated structure such as an L shape. Therefore, the bonding apparatus 60 according to the present embodiment is very simple to install and has a structure with excellent area efficiency.
  • the substrate 5 is transported along the transport direction D1, and is placed on the substrate support portion 66a from the end of the first substrate transport mechanism 61 by the rotational force of the conveyor roll. Then, after the placed substrate 5 is sandwiched between the pair of arm groups of the substrate support portion 66a, the surface of the substrate is adsorbed and fixed by the adsorbing means.
  • the state of the reversing mechanism 65 is shown in FIG.
  • FIG. 7B shows a state in which the substrate reversing unit 67 is rotated by 90 ° about the reversing axis M from FIG. At this time, the substrate support portion 66b does not sandwich the substrate 5, but is rotated 90 ° downward along with the rotation of the substrate inversion portion 67. Further, the substrate 5 is reversed by rotating the substrate reversing portion 67 by 90 ° about the reversing axis M together with the rotating shaft 68.
  • FIG. 7C shows the state of the reversing mechanism 65 when the substrate 5 is reversed. The substrate 5 is inverted at a position symmetrical with respect to the inversion axis M.
  • the end of the substrate 5 is positioned on the second substrate transport mechanism 62. As described with reference to FIG. 6C, thereafter, the suction of the substrate 5 is released, and the distance between the arm groups is increased. Thereafter, the substrate 5 is placed on the lower arm group of the pair of arm groups. Furthermore, it will be conveyed to the board
  • the substrate support portions 66a and 66b are configured to include the suction means, but the substrate 5 may be fixed only by the arm group. In that case, the operation
  • the reversing mechanism 65 is configured by a pair of comb-like members having a size larger than that of the substrate on which the deflection film is bonded, and the substrate support device 66 including two pairs of comb-like members includes: A connecting portion 671 that is connected at two positions to the rotary shaft portion 68 disposed at an angle of 45 degrees with respect to the transport direction of the first and second substrate transport mechanisms 61 as the reversing shaft with an angular relationship of 180 degrees.
  • Two end portions 672 of the substrate reversing portion 67 of the reversing mechanism 65 having an end portion 672 extending in a direction perpendicular to the transporting direction of the first and second substrate transporting mechanisms 61 at the other end of the first and second substrate transporting mechanisms 61. They are mechanically coupled and connected via a connecting portion 673. Further, in order to shorten the tact time, it is possible to arrange four (six) substrate support devices with respect to the rotating shaft portion 68 with an angular relationship of 90 degrees (60 degrees).
  • the reversing mechanism 65 is constituted by a rectangular box-shaped member having a larger size than the substrate on which the deflection film is bonded
  • the substrate support device 66 including the two rectangular box-shaped members includes: In a mode in which one corner portion is closest to the rotation shaft portion 68 disposed at an angle of 45 degrees with respect to the transport direction of the first substrate transport mechanism 61 as an inversion axis with an angular relationship of 180 degrees. , And mechanically coupled to one end of the substrate reversing portion 67 of the reversing mechanism 65. Further, in order to shorten the tact time, it is possible to arrange four (six) substrate support devices with respect to the rotating shaft portion 68 with an angular relationship of 90 degrees (60 degrees).
  • FIG. 18 is a plan view showing a modification of the bonding apparatus 60 of the present embodiment.
  • (1) two reversing mechanisms 65 described above are provided, and (2) two substrate placement portions 61 a are provided on both sides of the first substrate transport mechanism 61.
  • (3) The first substrate transport mechanism 61 and the second substrate transport mechanism 62 are arranged on a straight line.
  • the first substrate transport mechanism 61 and the second substrate transport mechanism 62 are the same in that the substrate 5 is transported in the same direction.
  • the substrate platform 61a and the reversing mechanism 65 are arranged at both ends of the first substrate transport mechanism 61 on the second substrate transport mechanism 62 side, which are horizontal with respect to the transport direction of the first substrate transport mechanism 61 at the end. Are provided along.
  • the reversing mechanism 65 is the same as the structure described in FIGS.
  • the end region 61b is provided with transport means for transporting the substrate 5 to the substrate platform 61a.
  • a conveyor roll can be mentioned, for example.
  • the substrate mounting portion 61a is a place where the substrate 5 is placed by the suction portion 66. According to the modification, the substrates 5 transported to the first substrate transport mechanism 61 are transported alternately to the two substrate platforms 61a. Since two pairs of the substrate platform 61a and the reversing mechanism 65 are provided, the substrate 5 transported to the substrate platform 61a is inverted by the reversing mechanism 65 by one operation.
  • the two substrate platforms 61 a are provided along both horizontal directions of the first substrate transport mechanism 61, and the inverted substrate 5 is along the transport direction of the first substrate transport mechanism 61. Will be placed. Accordingly, the first substrate transport mechanism 61 and the second substrate transport mechanism 62 can be arranged on the same straight line.
  • the substrate 5 can be processed twice per unit time. Thereby, since many substrates 5 can be reversed per unit time, the tact time is shortened.
  • the bonding apparatus of the structure excellent in area efficiency can be provided. Especially in a clean room, since the area efficiency is required, the bonding apparatus is very preferable.
  • FIG. 19 is a block diagram illustrating a configuration of the reversing mechanism 65 and the interface unit 165 coupled to the reversing mechanism 65.
  • the configuration shown in FIG. 11 is merely an example, and the reversing mechanism 65 is not limited to this example.
  • the reversing mechanism 65 is further connected to the interface unit 165.
  • the interface unit 165 receives an operation input from an operator and transmits input data to the display and inversion mechanism 65.
  • the reversing mechanism 65 includes substrate support portions 66a and 66b, a substrate reversing portion 67, and a rotating shaft portion 68, and these are connected to the control portion 70 in the interface portion.
  • the interface unit 165 includes an input unit 166, a display unit 167, a storage unit 168, and a control unit 70.
  • the input unit 166 transmits information on the substrate 5 and the like to the storage unit 168. As each information of the board
  • Other information includes the positions of the first substrate transport mechanism 61 and the second substrate transport mechanism 62 and the positions of the conveyor rolls included in these, the transport directions D1 and D2, the position of the reversal axis M, the rotational speed of the substrate 5, and the like. Can be mentioned.
  • the interface unit 165 includes an input device (not shown).
  • the input device may be any device that allows an operator to input various types of information, and may be configured with, for example, an input key or a touch panel.
  • the display unit 167 displays the contents of various information input by the input unit 166, and can be configured by a known liquid crystal display or the like.
  • the storage unit 168 is connected to the control unit 70 and the input unit 166.
  • the storage unit 168 stores information input from the input unit.
  • the storage unit 168 includes a storage device such as a RAM (random access memory) or an HDD (hard disk drive), and stores various data and various programs. Is.
  • the control unit 70 controls the substrate support units 66a and 66b, the suction means included therein, the substrate reversing unit 67, and the rotating shaft unit 68 based on the information received from the storage unit 168.
  • the control unit 70 stores rotation information for controlling the rotation of the substrate 5.
  • the rotation information for controlling the rotation of the substrate 5 is rotation information for controlling the reversing mechanism 65. (1)
  • the substrate 5 arrives at the substrate support portion 66a (or 66b), and (2) the sensor senses the substrate 5. (Sensor ON), (3) the substrate 5 is held by the arm group of the substrate support portion 66a, (4) the substrate 5 is inverted, and (5) the substrate inversion portion 67 is inverted after the substrate 5 is released. This is information (or a program) for controlling a series of operations of the reversing mechanism 65.
  • the control unit 70 includes a CPU (central processing unit), a ROM (read only memory) that stores the program, a RAM that expands the program, a storage device (recording medium) such as a memory that stores the program and various data, and the like. It can be set as the structure provided.
  • the reversing mechanism in the substrate transport mechanism of the present embodiment configured as described above is configured so that the substrate reversing unit 67 of the reversing mechanism is driven by the rotation of the driving device.
  • the reversing shaft is rotated around the reversing axis disposed at a constant inclination with respect to the transport direction of the substrate 5 and thus performs the reversing operation.
  • the substrate 5 is reversed by one reversing operation (one reversing operation) of the substrate reversing portion 67 rotating around, and the direction of the short side and the long side along the transport direction of the substrate 5 is changed. This has the effect of reducing the tact time.
  • the reversing mechanism in the substrate transport mechanism of the present embodiment is a reversing operation in which the substrate reversing portion 67 of the reversing mechanism rotates around a reversing axis arranged with a certain inclination with respect to the transporting direction of the substrate 5. Therefore, the substrate 5 is reversed by a single reversing operation of the substrate reversing portion 67 that rotates around the reversing axis disposed at an inclination of 45 ° with respect to the transport direction of the substrate 5. As a result, the direction of the short side and the long side along the transport direction of the substrate can be changed, and the tact time can be shortened.
  • the reversing mechanism in the substrate transport mechanism of the present embodiment is such that one end of the substrate reversing portion 67 is disposed at an inclination of 45 ° with respect to the reversing axis.
  • the substrate 5 disposed at one end of the substrate reversing unit 67 can be reversed, and the direction of the short side and the long side along the transport direction of the substrate 5 can be changed. There is an effect that the tact time can be shortened.
  • the reversing mechanism in the substrate transport mechanism of the present embodiment includes the substrate reversing unit in the reversing shaft of the reversing mechanism 67 and the substrate 5 transported by the first substrate transporting mechanism 61 and the second substrate transporting mechanism 62. Since the substrate 5 that is reversed by the 671 is disposed on the same plane, the substrate is reversed by a single reversing operation of the substrate reversing unit 67 and the transport direction of the substrate 5 is also reversed. It is possible to change the direction of the short side and the long side along the line and to shorten the tact time.
  • the reversing mechanism in the substrate transport mechanism of the present embodiment is such that the robot means provided in the reversing mechanism 67 allows the reversing shaft to be lifted, tilted, and adjusted in position, so that the reversing of the substrate reversing unit is performed. There is an effect of enabling adjustment and control in operation.
  • the reversing mechanism in the substrate transport mechanism of the present embodiment is provided with two reversing mechanisms 67 on both sides of the first substrate transport mechanism 61, and both sides of the first substrate transport mechanism.
  • two substrate platforms that alternately transport the substrates 5 transported by the first substrate transport mechanism 61 are disposed, and the substrates 5 transported to the two substrate platforms are The two reversing mechanisms 67 are alternately reversed, and the arrangement is changed and the first substrate carrying mechanism 61 is arranged on the second substrate carrying mechanism 62 in which the substrate carrying direction and the carrying direction are on the same straight line. Therefore, the tact time in transporting the substrate can be halved, and the transport processing of the substrate can be doubled.
  • the reversing mechanism in the polarizing film laminating apparatus of the present embodiment is such that, in the polarizing film laminating apparatus, the long side or short side of the rectangular substrate is in a state along the conveying direction by the reversing operation of the substrate reversing unit 67.
  • the first substrate transport mechanism 61 transports the substrate having the polarizing film pasted on the lower surface thereof in the first pasting portion, and the placement is changed and the second substrate transport mechanism 62 is disposed. Therefore, the substrate is transported by the second substrate transport mechanism 62 in a state where the short side or the long side is along the transport direction, and the polarizing film is pasted on the lower surface of the substrate in the second bonding section. There is an effect of realizing that they are combined.
  • the reversing mechanism in the polarizing film laminating device of the present embodiment is controlled by the polarizing film laminating device based on the rotational driving of the driving device so that the holding state or the holding state of the holding mechanism is released.
  • the substrate reversing operation of the substrate reversing unit 671 having one end connected to the unit 66 reverses the substrate transported by the first substrate transporting mechanism 61 and held by the holding unit 66, and changes the arrangement to the second.
  • the substrate transport mechanism 62 By being arranged in the substrate transport mechanism 62, the substrate 5 can be transported and the polarizing film can be bonded, so that the polarizing film is bonded to the upper and lower surfaces of the substrate 5, respectively. Play.
  • the reversing mechanism in the polarizing film laminating apparatus of the present embodiment reverses the substrate 5 by a single reversing operation of the substrate reversing unit 67 that rotates about a reversing axis disposed at an inclination of 45 °.
  • the reversing mechanism in the polarizing film laminating apparatus of the present embodiment is such that one end 672 of the substrate reversing portion 67 is disposed at an inclination of 45 ° with respect to the reversing axis.
  • the substrate 67 disposed at one end of the substrate reversing unit 67 is reversed by one reversing operation of the unit 67 and the direction of the short side and the long side along the transport direction of the substrate 5 is changed. This has the effect of reducing the tact time.
  • the reversing mechanism in the polarizing film laminating apparatus of the present embodiment is such that the reversing axis is 45 ° with respect to a straight line passing through the center of the substrate in the first substrate transporting mechanism 61 and perpendicular to the transporting direction of the substrate 5. Since the substrate 5 includes a straight line having an inclination and is positioned in a plane perpendicular to the substrate 5, the substrate 5 is reversed by a single reversing operation of the substrate reversing unit 67, and the substrate is moved in the transport direction. It is possible to change the direction of the short side and the long side along the line and to shorten the tact time.
  • the reversing mechanism in the polarizing film laminating apparatus includes the reversing shaft of the reversing mechanism and the substrate 5 and the second substrate transporting mechanism 62 which are transported by the first substrate transporting mechanism 61. Since the substrate 5 reversed by the reversing unit 67 is disposed on the same plane, the substrate is reversed by a single reversing operation of the substrate reversing unit, and the transport direction of the substrate It is possible to change the direction of the short side and the long side along the line and to shorten the tact time.
  • the means provided in the reversing mechanism 67 enables the reversing shaft to be lifted, tilted and adjusted in position, so that the substrate reversing section 67 There is an effect that the adjustment and control in the reversing operation can be performed.
  • the reversing mechanism in the polarizing film laminating apparatus includes two reversing mechanisms 67 on both sides of the first substrate transport mechanism 61, and the first substrate transport mechanism 61 has the reversing mechanism 67 on both sides.
  • Two substrate platforms that alternately transport the substrates 5 transported by the one substrate transport mechanism 61 are disposed, and the substrates transported to the two substrate platforms are the two Since the reversing mechanism 67 is alternately reversed and the arrangement is changed and the second substrate transport mechanism 62 is disposed, the tact time in transporting the substrate 5 is halved, and the transport processing of the substrate is performed 2 times. There is an effect that it can be doubled.
  • the reversing mechanism including the substrate support unit in the substrate transport mechanism of the next embodiment is a substrate support unit 66 that supports the substrate 5 transported by the first substrate transport mechanism 61 as shown in FIG.
  • the substrate 5 transported by the first substrate transport mechanism 61 that transports the rectangular substrate 5 with the long side or the short side along the transport direction by the reversing operation of the substrate reversing unit 67 connected to
  • the arrangement is changed and the substrate 5 is arranged in the second substrate carrying mechanism 62 that carries the short side or the long side along the carrying direction.
  • the substrate 5 is reversed by one reversing operation (one reversing operation) of the substrate reversing unit 67 connected to the substrate supporting unit 66, and the short side and long side directions along the transport direction of the substrate 5 are changed. Can be changed With come, there is an effect that it is possible to shorten the tact time.
  • the reversing mechanism provided with the substrate supporting part in the substrate transporting mechanism of the present embodiment is such that the substrate reversing part 67 of the reversing mechanism has a constant inclination with respect to the transporting direction of the substrate 5 by the rotational drive of the driving device. Since the reversing operation is performed by rotating around the disposed reversing axis, the substrate reversing unit 67 rotates once around the reversing axis disposed at a certain inclination with respect to the transport direction of the substrate 5. By the reversing operation, the substrate 5 can be reversed, the direction of the short side and the long side along the transport direction of the substrate 5 can be changed, and the tact time can be shortened.
  • the reversing mechanism provided with the substrate support portion in the substrate transport mechanism of the present embodiment is the above-described invention, wherein the substrate reversing portion 67 of the reversing mechanism is disposed with a constant inclination with respect to the transport direction of the substrate 5. Therefore, the substrate reversing unit 67 is rotated once around the reversing axis disposed at an inclination of 45 ° with respect to the transport direction of the substrate 5. By the operation, the substrate 5 can be reversed, the direction of the short side and the long side along the transport direction of the substrate 5 can be changed, and the tact time can be shortened.
  • the reversing mechanism provided with the substrate support portion in the substrate transport mechanism of the present embodiment is the above-described invention, wherein one end of the substrate reversing portion 67 is disposed at an inclination of 45 ° with respect to the reversing axis. Therefore, the substrate 5 disposed at one end of the substrate reversing unit 67 is reversed by one reversing operation of the substrate reversing unit 67, and the short side and the long side along the transport direction of the substrate 5 are reversed. As a result, the tact time can be shortened.
  • the reversing mechanism having the substrate support portion in the substrate transporting mechanism of the present embodiment includes the reversing shaft of the reversing mechanism 67 and the substrate transported by the first substrate transporting mechanism 61 and the second substrate transporting mechanism 61. 62, the substrate 5 reversed by the substrate reversing unit 67 is disposed on the same plane, so that the substrate 5 is reversed by one reversing operation of the substrate reversing unit 67. At the same time, it is possible to change the direction of the short side and the long side along the transport direction of the substrate and to shorten the tact time.
  • the reversing mechanism having the substrate support portion in the substrate transport mechanism of the present embodiment has a rectangular substrate by the reversing operation of the substrate reversing portion 67 and the substrate supporting portion that are provided in line symmetry with respect to the reversing axis.
  • the substrate 5 transported by the first substrate transport mechanism 61 that transports the substrate 5 in a state where the long side or the short side is along the transport direction is reversed, and the arrangement is changed to change the substrate 5 to the short side or the long side. Since the side is disposed in the second substrate transport mechanism 62 that transports the substrate along the transport direction, a pair of the substrate reversing unit 67 and the substrate support connected to the substrate support unit 66 that supports the substrate 5 are supported.
  • the one-time reversing operation of the portion 66 causes the substrate 5 to be reversed twice as compared with the case where the number of the substrate reversing portion 67 and the substrate supporting portion 66 is one, and the short side along the transport direction of the substrate 5 and Together we can change the direction of the edges, an effect that can be halved tact time.
  • the sandwiching means constituting the substrate support portion 66 connected to one end of the substrate reversing portion 67 is the first substrate transport mechanism 61. Therefore, the substrate 5 is reliably reversed by the reversing operation of the substrate reversing unit 67, and the substrate 5 is conveyed in the direction of conveyance. There is an effect that the direction of the short side and the long side along the direction can be changed.
  • the reversing mechanism having the substrate support portion in the substrate transport mechanism of the present embodiment is such that the suction means constituting the substrate support portion 66 connected to one end of the substrate reversing portion 67 is the first substrate transport mechanism 61.
  • the substrate 5 transported by the substrate is supported by being sucked by suction, so that the substrate 5 is reversed by the reversing operation of the substrate reversing unit 67 and the substrate 5 is shortened along the transport direction. There is an effect that the direction of the side and the long side can be changed.
  • substrate support part in the bonding apparatus of the polarizing film of this embodiment is a board
  • the substrate reversing unit 67 connected to the unit 66 the rectangular substrate is transported by the first substrate transporting mechanism 61 with the long side or the short side along the transporting direction, and the first bonding unit
  • the substrate 5 having the polarizing film bonded to the lower surface thereof is reversed, and the arrangement is changed and arranged in the second substrate transport mechanism 62. Therefore, the substrate 5 is short-circuited by the second substrate transport mechanism 62. Or it conveys in the state in which the long side followed the conveyance direction, and there exists an effect of implement
  • substrate support part in the bonding apparatus of the polarizing film of this embodiment is the said board
  • the reversing mechanism provided with the substrate supporting part in the polarizing film laminating apparatus of the present embodiment is such that the substrate reversing part 67 of the reversing mechanism is constant with respect to the transport direction of the substrate 5 by the rotational drive of the driving device. Therefore, the substrate reversing unit 67 rotates around the reversing axis disposed at a certain inclination with respect to the transport direction of the substrate 5.
  • the substrate 5 is reversed, the direction of the short side and the long side along the transport direction of the substrate 5 can be changed, and the tact time can be shortened. Play.
  • the reversing mechanism provided with the substrate support portion in the polarizing film laminating apparatus of the present embodiment, by a single reversing operation of the substrate reversing portion 67 rotating around the reversing axis disposed at an inclination of 45 °, In addition to reversing the substrate 5, it is possible to change the direction of the short side and the long side along the conveyance direction of the substrate 5, and to shorten the tact time.
  • substrate support part in the bonding apparatus of the polarizing film of this embodiment WHEREIN: One end of the said board
  • substrate support part in the bonding apparatus of the polarizing film of this embodiment is the said inversion axis
  • the reversing mechanism provided with the substrate support part in the polarizing film bonding apparatus of the present embodiment is a reversing operation of the substrate reversing part 67 and the substrate supporting part 66 that are provided in a pair of line symmetry with respect to the reversal axis M.
  • the substrate 5 transported by the first substrate transport mechanism 61 that transports a rectangular substrate with the long side or the short side along the transport direction is reversed, and the arrangement is changed to change the substrate 5 Is disposed in the second substrate transport mechanism 62 that transports the short side or the long side along the transport direction, so that the pair of substrate inversions connected to the substrate support 66 supporting the substrate 5
  • the substrate 5 is reversed twice as compared with the case where the number of the substrate reversal part 67 and the substrate support part 66 is one, and the substrate 5 is transported.
  • Direction Short and long sides with can change the direction of the along the, an effect that can be halved tact time.
  • substrate support part in the bonding apparatus of the polarizing film of this embodiment WHEREIN:
  • substrate inversion part 67 is said 1st board
  • the reversing mechanism provided with the substrate support part in the polarizing film bonding apparatus of the present embodiment is configured such that the suction means constituting the substrate support part 66 connected to one end of the substrate reversing part 67 is the first substrate. Since the substrate 5 transported by the transport mechanism 61 is supported by being sucked by suction, the substrate reversing operation of the substrate reversing unit 67 reverses the substrate 5 and in the transport direction of the substrate 5. There is an effect that the direction of the short side and the long side can be changed.
  • the polarizing film laminating apparatus described above includes a first substrate transport mechanism 61 that transports a rectangular substrate in a state in which a long side or a short side is along the transport direction as shown in FIGS.
  • the 1st bonding part 6 which bonds the 1st polarizing film to the lower surface of the said board
  • substrate conveyance which conveys the said board
  • the first substrate conveying mechanism 61 is provided in the polarizing film laminating apparatus including the mechanism 62 and the second laminating unit 16 that laminates the second polarizing film on the lower surface of the substrate in the second substrate conveying mechanism. Acting on the substrate support members 661 and 662 for supporting the substrate 5 on which the first polarizing film conveyed in step 1 is bonded, and bringing the substrate support member into a substrate support state.
  • Substrate support with drive control means The device 66 is disposed between the first substrate transport mechanism 61 and the second substrate transport mechanism 62 that are parallel to each other with the transport direction being offset from each other, and is coupled to the substrate support member and the first substrate transport member.
  • a substrate transport mechanism 61 and a reversing mechanism 67 provided with at least one substrate reversing portion 671 that is reversing around a reversing axis and is inclined with respect to the transport direction of the second substrate transport mechanism 62. It is.
  • the polarizing film laminating apparatus of the present embodiment configured as described above includes a first substrate transport mechanism 61 that transports a rectangular substrate in a state in which a long side or a short side is along the transport direction, and the first substrate transport mechanism.
  • a first bonding unit 6 for bonding the first polarizing film to the lower surface of the substrate in the above, a second substrate transport mechanism 62 for transporting the substrate in a state where the short side or the long side is along the transport direction,
  • the drive control unit of the substrate supporting apparatus 66 includes: The first substrate transport mechanism that transports the rectangular substrate with the long side or the short side along the transport direction because the substrate support member 661, 662 is brought into the substrate support state by acting on the substrate support member.
  • the transport direction is offset from each other, and the first substrate transport mechanism and the substrate that are parallel to each other have short sides or long sides along the transport direction.
  • the first substrate reversing unit 671 connected to the substrate supporting member causes the first reversing unit 671 to connect the first substrate reversing mechanism 671.
  • the second substrate transport mechanism 62 and the second substrate transport mechanism are arranged around the reversal axis disposed to be inclined with respect to the transport direction of the second substrate transport mechanism and arranged along the transport direction in the second substrate transport mechanism 62.
  • substrate support members 661 and 662 was bonded While actually supporting, the substrate 5 on which the first polarizing film is bonded is reversed by one reversing operation (one reversing operation) of at least one of the substrate reversing portions 671, thereby transporting the second substrate.
  • the arrangement is changed so as to be along the conveyance direction of the mechanism 62, and the tact time in the polarizing film bonding apparatus can be shortened.
  • the manufacturing system 100 includes a control unit 70, a cleaning unit 71, a misalignment inspection device 72, a bonded foreign matter automatic inspection device 73, and a sorting and conveying device 74.
  • the bonding deviation inspection device 72, the bonded foreign substance automatic inspection device 73, and the sorting and conveying device 74 perform processing such as inspection on the substrate 5 after bonding, that is, the liquid crystal display device.
  • FIG. 20 is a block diagram showing the relation of each member provided in the above-mentioned liquid crystal display device manufacturing system
  • FIG. 21 is a flowchart showing the operation of the liquid crystal display device manufacturing system.
  • the operation of the liquid crystal display device will be described together with the description of each member.
  • the control unit 70 is connected to the cleaning unit 71, the bonding deviation inspection device 72, the bonded foreign matter automatic inspection device 73, and the sorting and conveying device 74, and controls them by transmitting control signals thereto.
  • the control unit 70 is mainly configured by a CPU (Central Processing Unit), and includes a memory or the like as necessary.
  • the cleaning unit 71 In the case where the cleaning unit 71 is provided in the manufacturing system 100, the substrate 5 in the first substrate transport mechanism 61 is transported to the cleaning unit 71 at the front edge of the long side in order to reduce the tact time in the cleaning unit 71. Is preferred. Usually, since the cleaning in the cleaning unit 71 takes a long time, this configuration is very effective from the viewpoint of shortening the tact time.
  • a bonding step (including a reversing operation of the substrate 5) for bonding the polarizing film to both surfaces of the substrate 5 is performed (S2 in FIG. 21). This step will be described with reference to FIGS. That's right.
  • the sticking deviation inspection device 72 is for inspecting the presence or absence of sticking deviation of the polarizing film on the bonded substrate 5.
  • the sticking deviation inspection device 72 is constituted by a camera and an image processing device, and the camera is installed at the bonding position of the substrate 5 on which the polarizing film is bonded by the nip rolls 16 and 16a.
  • the substrate 5 is photographed by the camera, and by processing the photographed image information, it is possible to inspect the substrate 5 for the presence or absence of sticking (sticking slip inspection step, S3 in FIG. 21).
  • the misalignment inspection apparatus 72 a conventionally known misalignment inspection apparatus can be used as the misalignment inspection apparatus 72.
  • the bonded foreign matter automatic inspection device 73 inspects the presence or absence of foreign matter on the bonded substrate 5.
  • the bonded foreign matter automatic inspection device 73 is configured by a camera and an image processing device, like the misalignment inspection device 72, and transports the second substrate of the substrate 5 after the polarizing film is bonded by the nip rolls 16 and 16a.
  • the camera is installed in the mechanism (bonding device 60).
  • substrate 5 is image
  • the foreign matter include foreign matters such as dust, fish eyes, and the like.
  • a conventionally well-known bonding foreign material inspection apparatus can be used as the bonding foreign material automatic inspection apparatus 73.
  • S3 and S4 may be performed in the reverse order or simultaneously. One step can be omitted.
  • the sorting and conveying device 74 determines the presence or absence of sticking misalignment and foreign matter based on the inspection results from the sticking misalignment inspection device 72 and the bonded foreign matter automatic inspection device 73.
  • the sorting and conveying device 74 only needs to receive an output signal based on the inspection result from the sticking misalignment inspection device 72 and the bonding foreign matter automatic inspection device 73 and can sort the bonded substrates 5 into non-defective products or defective products. . Therefore, a conventionally known sorting and conveying system can be used.
  • both the misalignment and foreign matter are detected.
  • the bonded substrate 5 is not used. Sorted as good (S7).
  • the bonded substrates 5 are classified as non-defective products (S6).
  • the non-defective product and the defective product can be quickly sorted, and the tact time can be shortened.
  • the sorting and conveying device 74 may be configured to determine the presence / absence of only one of the sticking misalignment and the foreign matter.
  • an embodiment in which a suction means for sucking the substrate is added to the substrate support portion is preferable.
  • the substrate reversing unit 67 is provided with a rotating shaft portion 68 that rotates together with the substrate reversing portion, and the rotating shaft portion 68 is disposed along the reversing axis. It is preferable that
  • the substrate reversing portion 67 including the rotating shaft portion can rotate more stably along the reversing axis. Therefore, the substrate can be reversed more stably and reliably.
  • the 1st film conveyance mechanism 51 and the 2nd film conveyance mechanism 52 which convey a polarizing film are provided, and the said 1st film conveyance mechanism 51 is provided with the said 1st film conveyance mechanism 51.
  • the second film transport mechanism 52 includes a plurality of unwinding units for unwinding the polarizing film protected by the release film, a cutting unit for cutting the polarizing film, and a polarizing plate.
  • a removing unit for removing the release film from the film and a plurality of winding units for winding the removed release film are provided.
  • the second substrate transport mechanism 62 is provided above the first film transport mechanism and the second film transport mechanism, and the first bonding section that bonds the polarizing film from which the release film has been removed to the substrate.
  • substrate is said 2nd film conveyance mechanism 52 and 2nd. It is preferable that they are respectively provided between the substrate transfer mechanism 62 and the substrate transfer mechanism 62.
  • the unwinding part and the winding part are provided in plural, when the remaining amount of the original film of the polarizing film in one unwinding part decreases, the other unwinding part is provided in the original film. It is possible to connect raw materials. As a result, the operation can be continued without stopping the unwinding of the polarizing film, and the production efficiency can be increased.
  • the bonding apparatus of the polarizing film of this embodiment before bonding a polarizing film to the lower surface of a board
  • substrate conveyance mechanism 61 preferably transports the substrate with the short side of the substrate along the transport direction.
  • the substrate can be cleaned by the cleaning unit in a state where the long sides of the substrate are orthogonal to the substrate transport direction. That is, since the distance of the substrate along the transport direction can be reduced, the tact time required for cleaning can be further shortened. As a result, it is possible to provide a polarizing film laminating apparatus that is further excellent in production efficiency.
  • the first film transport mechanism 51 and the second film transport mechanism 52 display defects displayed on the polarizing film unwound from the first unwinding section.
  • a defect detection unit that detects the defect
  • a bonding avoidance unit that discriminates the defect display and stops the conveyance of the substrate
  • a recovery unit that recovers the polarizing film from which the bonding with the substrate is avoided. preferable.
  • the yield can be increased.
  • the manufacturing system of the polarizing film bonding apparatus and the liquid crystal display device of the present embodiment inspects the bonding deviation in the polarizing film bonding apparatus 16 and the substrate on which the polarizing film is bonded by the second bonding portion.
  • a sticking deviation inspection device is provided.
  • the presence or absence of misalignment is determined based on the inspection result by the misalignment inspection apparatus, and the polarizing film is bonded based on the determination result. It is preferable to provide a sorting / conveying device for sorting the formed substrates.
  • the manufacturing apparatus of the polarizing film bonding apparatus and liquid crystal display device of this embodiment in the manufacturing apparatus of the polarizing film bonding apparatus and liquid crystal display device of this embodiment, in the board
  • the presence or absence of foreign matter is determined based on the inspection result by the bonding foreign substance automatic inspection device, and the polarizing film is bonded based on the determination result. It is preferable to provide a sorting / conveying device for sorting the combined substrates.
  • the manufacturing apparatus of the polarizing film bonding apparatus and liquid crystal display device of this embodiment it is equipped with the bonded foreign material automatic test
  • the polarizing film bonding apparatus according to the present invention can be used in the field of bonding a polarizing film to a substrate.

Landscapes

  • Physics & Mathematics (AREA)
  • Nonlinear Science (AREA)
  • General Physics & Mathematics (AREA)
  • Optics & Photonics (AREA)
  • Chemical & Material Sciences (AREA)
  • Crystallography & Structural Chemistry (AREA)
  • Mathematical Physics (AREA)
  • Engineering & Computer Science (AREA)
  • Manufacturing & Machinery (AREA)
  • Liquid Crystal (AREA)
  • Polarising Elements (AREA)
  • Container, Conveyance, Adherence, Positioning, Of Wafer (AREA)
PCT/JP2011/001872 2010-03-30 2011-03-29 基板搬送機構、偏光フィルムの貼合装置およびこれを備える液晶表示装置の製造システム Ceased WO2011122006A1 (ja)

Priority Applications (2)

Application Number Priority Date Filing Date Title
KR1020127016939A KR101894104B1 (ko) 2010-03-30 2011-03-29 기판 반송 기구, 편광 필름의 접합 장치 및 이를 구비하는 액정 표시 장치의 제조 시스템
CN201180017386.1A CN102834771B (zh) 2010-03-30 2011-03-29 基板输送机构、偏振膜的贴合装置以及具有该偏振膜的贴合装置的液晶显示装置的制造系统

Applications Claiming Priority (4)

Application Number Priority Date Filing Date Title
JP2010-079455 2010-03-30
JP2010079455 2010-03-30
JP2010099858 2010-04-23
JP2010-099858 2010-04-23

Publications (1)

Publication Number Publication Date
WO2011122006A1 true WO2011122006A1 (ja) 2011-10-06

Family

ID=44711764

Family Applications (1)

Application Number Title Priority Date Filing Date
PCT/JP2011/001872 Ceased WO2011122006A1 (ja) 2010-03-30 2011-03-29 基板搬送機構、偏光フィルムの貼合装置およびこれを備える液晶表示装置の製造システム

Country Status (5)

Country Link
JP (3) JP5079114B2 (enExample)
KR (1) KR101894104B1 (enExample)
CN (2) CN102834771B (enExample)
TW (1) TWI545681B (enExample)
WO (1) WO2011122006A1 (enExample)

Families Citing this family (20)

* Cited by examiner, † Cited by third party
Publication number Priority date Publication date Assignee Title
US9181527B2 (en) 2009-10-29 2015-11-10 The Trustees Of Dartmouth College T cell receptor-deficient T cell compositions
JP5808577B2 (ja) * 2011-05-27 2015-11-10 日東電工株式会社 液晶パネルの反転装置
KR20150004802A (ko) * 2012-04-03 2015-01-13 스미또모 가가꾸 가부시키가이샤 광학 표시 디바이스의 생산 시스템
CN104583847B (zh) * 2012-09-07 2018-04-13 住友化学株式会社 光学构件贴合体的制造装置
JP6126396B2 (ja) * 2013-02-07 2017-05-10 三星ダイヤモンド工業株式会社 基板加工装置
JP5616494B1 (ja) * 2013-07-04 2014-10-29 日東電工株式会社 積層体基板の形成方法および装置
CN104678612B (zh) * 2013-11-29 2018-12-14 芝浦机械电子装置株式会社 基板贴合装置、显示面板制造装置及显示面板制造方法
CN103708713A (zh) * 2013-12-26 2014-04-09 深圳市华星光电技术有限公司 夹持机构、液晶面板切割机以及液晶面板切割工艺
SG10201807710WA (en) * 2014-02-20 2018-10-30 Intevac Inc System and method for bi-facial processing of substrates
CN104401767B (zh) * 2014-11-14 2017-03-15 广州兴森快捷电路科技有限公司 Pcb转角传输装置及方法
CN105158936B (zh) * 2015-08-28 2019-05-03 深圳市华星光电技术有限公司 机械臂组件及移动玻璃基板以进行基板组合的方法
KR101745268B1 (ko) 2016-06-20 2017-06-08 주식회사 엘지화학 패널 반전 장치, 광학 표시 소자의 제조 시스템 및 방법
TWI614822B (zh) * 2016-06-29 2018-02-11 All Ring Tech Co Ltd 基板檢查方法及裝置
JP6820189B2 (ja) * 2016-12-01 2021-01-27 東京エレクトロン株式会社 接合装置、接合システム、接合方法、プログラム及びコンピュータ記憶媒体
JP6468540B2 (ja) * 2017-05-22 2019-02-13 キヤノントッキ株式会社 基板搬送機構、基板載置機構、成膜装置及びそれらの方法
JP6626158B2 (ja) * 2018-06-11 2019-12-25 日東電工株式会社 遮へい部材を備えた貼合装置
KR102463088B1 (ko) 2019-01-11 2022-11-02 동우 화인켐 주식회사 광학 필름 접합 방법 및 접합 장치
CN112731697B (zh) * 2021-01-04 2022-09-27 河北光兴半导体技术有限公司 液晶显示面板的加工系统及其加工方法
CN114300409B (zh) * 2021-12-31 2025-05-16 绍兴同芯成集成电路有限公司 一种超薄晶圆置入凹槽型载盘的方法
JP7527048B1 (ja) * 2023-06-13 2024-08-02 株式会社新川 基板搬送装置

Citations (5)

* Cited by examiner, † Cited by third party
Publication number Priority date Publication date Assignee Title
JP2003019687A (ja) * 2001-07-03 2003-01-21 Aitec:Kk ロボットハンドの駆動装置
JP2004325539A (ja) * 2003-04-22 2004-11-18 Sharp Corp 基板への偏光板貼付方法及び貼付装置
JP2005037417A (ja) * 2002-06-28 2005-02-10 Fuji Photo Film Co Ltd 偏光板貼合方法及び装置
JP2009175653A (ja) * 2007-12-27 2009-08-06 Nitto Denko Corp 光学表示装置の製造システム及び製造方法
WO2010131597A1 (ja) * 2009-05-15 2010-11-18 日東電工株式会社 光学表示装置の製造システム及び製造方法

Family Cites Families (5)

* Cited by examiner, † Cited by third party
Publication number Priority date Publication date Assignee Title
JPS62143437A (ja) * 1985-12-18 1987-06-26 Hitachi Ltd ウエハハンドリング装置
JP3897133B2 (ja) * 1997-02-26 2007-03-22 富士フイルム株式会社 基板反転方法及び装置
KR20040002796A (ko) * 2002-06-28 2004-01-07 후지 샤신 필름 가부시기가이샤 편광판 점착방법 및 그 장치
JP2005037471A (ja) * 2003-07-16 2005-02-10 Dainippon Printing Co Ltd 有機elディスプレイ用光学フィルター及びこれを用いた有機elディスプレイ
CN101676770B (zh) * 2008-09-19 2011-12-28 北京京东方光电科技有限公司 液晶面板移载装置及方法

Patent Citations (5)

* Cited by examiner, † Cited by third party
Publication number Priority date Publication date Assignee Title
JP2003019687A (ja) * 2001-07-03 2003-01-21 Aitec:Kk ロボットハンドの駆動装置
JP2005037417A (ja) * 2002-06-28 2005-02-10 Fuji Photo Film Co Ltd 偏光板貼合方法及び装置
JP2004325539A (ja) * 2003-04-22 2004-11-18 Sharp Corp 基板への偏光板貼付方法及び貼付装置
JP2009175653A (ja) * 2007-12-27 2009-08-06 Nitto Denko Corp 光学表示装置の製造システム及び製造方法
WO2010131597A1 (ja) * 2009-05-15 2010-11-18 日東電工株式会社 光学表示装置の製造システム及び製造方法

Also Published As

Publication number Publication date
CN102834771A (zh) 2012-12-19
JP5079114B2 (ja) 2012-11-21
KR101894104B1 (ko) 2018-08-31
TWI545681B (zh) 2016-08-11
CN102834771B (zh) 2015-08-26
JP5170912B2 (ja) 2013-03-27
CN103941438A (zh) 2014-07-23
JP5079115B2 (ja) 2012-11-21
KR20130055557A (ko) 2013-05-28
JP2011243955A (ja) 2011-12-01
JP2011242753A (ja) 2011-12-01
TW201214605A (en) 2012-04-01
CN103941438B (zh) 2017-04-12
JP2011243954A (ja) 2011-12-01

Similar Documents

Publication Publication Date Title
JP5170912B2 (ja) 基板搬送機構、偏光フィルムの貼合装置およびこれを備える液晶表示装置の製造システム
JP5170913B2 (ja) 偏光フィルムの貼合装置およびこれを備える液晶表示装置の製造システム
JP4751997B1 (ja) 偏光フィルムの貼合装置およびこれを備える液晶表示装置の製造システム
JP5613582B2 (ja) 偏光フィルムの貼合装置およびこれを備える液晶表示装置の製造システム
KR101419619B1 (ko) 기판 반송 기구 및 편광 필름의 접합 장치에서의 반전 기구
JP5616054B2 (ja) 偏光フィルムの貼合装置およびこれを備える液晶表示装置の製造システム
JP5523916B2 (ja) 偏光フィルムの貼合装置およびこれを備える液晶表示装置の製造システム
JP5144777B2 (ja) 基板搬送機構および偏光フィルムの貼合装置における基板支持部を備えた反転機構
JP4863332B2 (ja) 偏光フィルムの貼合装置および液晶表示装置の製造システム
JP5087174B2 (ja) 液晶表示装置の製造システムおよび製造方法
JP5281725B2 (ja) 基板搬送機構および偏光フィルムの貼合装置における反転機構

Legal Events

Date Code Title Description
WWE Wipo information: entry into national phase

Ref document number: 201180017386.1

Country of ref document: CN

121 Ep: the epo has been informed by wipo that ep was designated in this application

Ref document number: 11762252

Country of ref document: EP

Kind code of ref document: A1

ENP Entry into the national phase

Ref document number: 20127016939

Country of ref document: KR

Kind code of ref document: A

NENP Non-entry into the national phase

Ref country code: DE

122 Ep: pct application non-entry in european phase

Ref document number: 11762252

Country of ref document: EP

Kind code of ref document: A1