WO2010123135A1 - 自動工具収納機構 - Google Patents
自動工具収納機構 Download PDFInfo
- Publication number
- WO2010123135A1 WO2010123135A1 PCT/JP2010/057321 JP2010057321W WO2010123135A1 WO 2010123135 A1 WO2010123135 A1 WO 2010123135A1 JP 2010057321 W JP2010057321 W JP 2010057321W WO 2010123135 A1 WO2010123135 A1 WO 2010123135A1
- Authority
- WO
- WIPO (PCT)
- Prior art keywords
- pot
- tool
- storage mechanism
- magazine
- guide
- Prior art date
- Legal status (The legal status is an assumption and is not a legal conclusion. Google has not performed a legal analysis and makes no representation as to the accuracy of the status listed.)
- Ceased
Links
Images
Classifications
-
- B—PERFORMING OPERATIONS; TRANSPORTING
- B23—MACHINE TOOLS; METAL-WORKING NOT OTHERWISE PROVIDED FOR
- B23Q—DETAILS, COMPONENTS, OR ACCESSORIES FOR MACHINE TOOLS, e.g. ARRANGEMENTS FOR COPYING OR CONTROLLING; MACHINE TOOLS IN GENERAL CHARACTERISED BY THE CONSTRUCTION OF PARTICULAR DETAILS OR COMPONENTS; COMBINATIONS OR ASSOCIATIONS OF METAL-WORKING MACHINES, NOT DIRECTED TO A PARTICULAR RESULT
- B23Q3/00—Devices holding, supporting, or positioning work or tools, of a kind normally removable from the machine
- B23Q3/155—Arrangements for automatic insertion or removal of tools, e.g. combined with manual handling
-
- B—PERFORMING OPERATIONS; TRANSPORTING
- B23—MACHINE TOOLS; METAL-WORKING NOT OTHERWISE PROVIDED FOR
- B23Q—DETAILS, COMPONENTS, OR ACCESSORIES FOR MACHINE TOOLS, e.g. ARRANGEMENTS FOR COPYING OR CONTROLLING; MACHINE TOOLS IN GENERAL CHARACTERISED BY THE CONSTRUCTION OF PARTICULAR DETAILS OR COMPONENTS; COMBINATIONS OR ASSOCIATIONS OF METAL-WORKING MACHINES, NOT DIRECTED TO A PARTICULAR RESULT
- B23Q3/00—Devices holding, supporting, or positioning work or tools, of a kind normally removable from the machine
- B23Q3/155—Arrangements for automatic insertion or removal of tools, e.g. combined with manual handling
- B23Q3/1552—Arrangements for automatic insertion or removal of tools, e.g. combined with manual handling parts of devices for automatically inserting or removing tools
- B23Q3/15526—Storage devices; Drive mechanisms therefor
- B23Q3/15539—Plural magazines, e.g. involving tool transfer from one magazine to another
-
- B—PERFORMING OPERATIONS; TRANSPORTING
- B23—MACHINE TOOLS; METAL-WORKING NOT OTHERWISE PROVIDED FOR
- B23Q—DETAILS, COMPONENTS, OR ACCESSORIES FOR MACHINE TOOLS, e.g. ARRANGEMENTS FOR COPYING OR CONTROLLING; MACHINE TOOLS IN GENERAL CHARACTERISED BY THE CONSTRUCTION OF PARTICULAR DETAILS OR COMPONENTS; COMBINATIONS OR ASSOCIATIONS OF METAL-WORKING MACHINES, NOT DIRECTED TO A PARTICULAR RESULT
- B23Q3/00—Devices holding, supporting, or positioning work or tools, of a kind normally removable from the machine
- B23Q3/155—Arrangements for automatic insertion or removal of tools, e.g. combined with manual handling
- B23Q3/157—Arrangements for automatic insertion or removal of tools, e.g. combined with manual handling of rotary tools
-
- B—PERFORMING OPERATIONS; TRANSPORTING
- B23—MACHINE TOOLS; METAL-WORKING NOT OTHERWISE PROVIDED FOR
- B23Q—DETAILS, COMPONENTS, OR ACCESSORIES FOR MACHINE TOOLS, e.g. ARRANGEMENTS FOR COPYING OR CONTROLLING; MACHINE TOOLS IN GENERAL CHARACTERISED BY THE CONSTRUCTION OF PARTICULAR DETAILS OR COMPONENTS; COMBINATIONS OR ASSOCIATIONS OF METAL-WORKING MACHINES, NOT DIRECTED TO A PARTICULAR RESULT
- B23Q3/00—Devices holding, supporting, or positioning work or tools, of a kind normally removable from the machine
- B23Q3/155—Arrangements for automatic insertion or removal of tools, e.g. combined with manual handling
- B23Q3/157—Arrangements for automatic insertion or removal of tools, e.g. combined with manual handling of rotary tools
- B23Q3/15713—Arrangements for automatic insertion or removal of tools, e.g. combined with manual handling of rotary tools a transfer device taking a single tool from a storage device and inserting it in a spindle
- B23Q3/1572—Arrangements for automatic insertion or removal of tools, e.g. combined with manual handling of rotary tools a transfer device taking a single tool from a storage device and inserting it in a spindle the storage device comprising rotating or circulating storing means
- B23Q3/15724—Chains or belts
-
- B—PERFORMING OPERATIONS; TRANSPORTING
- B23—MACHINE TOOLS; METAL-WORKING NOT OTHERWISE PROVIDED FOR
- B23Q—DETAILS, COMPONENTS, OR ACCESSORIES FOR MACHINE TOOLS, e.g. ARRANGEMENTS FOR COPYING OR CONTROLLING; MACHINE TOOLS IN GENERAL CHARACTERISED BY THE CONSTRUCTION OF PARTICULAR DETAILS OR COMPONENTS; COMBINATIONS OR ASSOCIATIONS OF METAL-WORKING MACHINES, NOT DIRECTED TO A PARTICULAR RESULT
- B23Q3/00—Devices holding, supporting, or positioning work or tools, of a kind normally removable from the machine
- B23Q3/155—Arrangements for automatic insertion or removal of tools, e.g. combined with manual handling
- B23Q3/157—Arrangements for automatic insertion or removal of tools, e.g. combined with manual handling of rotary tools
- B23Q3/15713—Arrangements for automatic insertion or removal of tools, e.g. combined with manual handling of rotary tools a transfer device taking a single tool from a storage device and inserting it in a spindle
- B23Q3/1572—Arrangements for automatic insertion or removal of tools, e.g. combined with manual handling of rotary tools a transfer device taking a single tool from a storage device and inserting it in a spindle the storage device comprising rotating or circulating storing means
- B23Q3/15753—Arrangements for automatic insertion or removal of tools, e.g. combined with manual handling of rotary tools a transfer device taking a single tool from a storage device and inserting it in a spindle the storage device comprising rotating or circulating storing means the storage means rotating or circulating in a plane perpendicular to the axis of the spindle
- B23Q3/15766—Arrangements for automatic insertion or removal of tools, e.g. combined with manual handling of rotary tools a transfer device taking a single tool from a storage device and inserting it in a spindle the storage device comprising rotating or circulating storing means the storage means rotating or circulating in a plane perpendicular to the axis of the spindle the axis of the stored tools being arranged perpendicularly to the rotating or circulating plane of the storage means
-
- B—PERFORMING OPERATIONS; TRANSPORTING
- B23—MACHINE TOOLS; METAL-WORKING NOT OTHERWISE PROVIDED FOR
- B23Q—DETAILS, COMPONENTS, OR ACCESSORIES FOR MACHINE TOOLS, e.g. ARRANGEMENTS FOR COPYING OR CONTROLLING; MACHINE TOOLS IN GENERAL CHARACTERISED BY THE CONSTRUCTION OF PARTICULAR DETAILS OR COMPONENTS; COMBINATIONS OR ASSOCIATIONS OF METAL-WORKING MACHINES, NOT DIRECTED TO A PARTICULAR RESULT
- B23Q3/00—Devices holding, supporting, or positioning work or tools, of a kind normally removable from the machine
- B23Q3/155—Arrangements for automatic insertion or removal of tools, e.g. combined with manual handling
- B23Q3/157—Arrangements for automatic insertion or removal of tools, e.g. combined with manual handling of rotary tools
- B23Q3/15773—Arrangements for automatic insertion or removal of tools, e.g. combined with manual handling of rotary tools a transfer device taking the tool from a storage device and passing it on to other transfer devices, which insert it in a spindle
-
- B—PERFORMING OPERATIONS; TRANSPORTING
- B23—MACHINE TOOLS; METAL-WORKING NOT OTHERWISE PROVIDED FOR
- B23Q—DETAILS, COMPONENTS, OR ACCESSORIES FOR MACHINE TOOLS, e.g. ARRANGEMENTS FOR COPYING OR CONTROLLING; MACHINE TOOLS IN GENERAL CHARACTERISED BY THE CONSTRUCTION OF PARTICULAR DETAILS OR COMPONENTS; COMBINATIONS OR ASSOCIATIONS OF METAL-WORKING MACHINES, NOT DIRECTED TO A PARTICULAR RESULT
- B23Q3/00—Devices holding, supporting, or positioning work or tools, of a kind normally removable from the machine
- B23Q3/155—Arrangements for automatic insertion or removal of tools, e.g. combined with manual handling
- B23Q3/1552—Arrangements for automatic insertion or removal of tools, e.g. combined with manual handling parts of devices for automatically inserting or removing tools
- B23Q3/15526—Storage devices; Drive mechanisms therefor
- B23Q2003/15532—Storage devices; Drive mechanisms therefor the storage device including tool pots, adaptors or the like
-
- Y—GENERAL TAGGING OF NEW TECHNOLOGICAL DEVELOPMENTS; GENERAL TAGGING OF CROSS-SECTIONAL TECHNOLOGIES SPANNING OVER SEVERAL SECTIONS OF THE IPC; TECHNICAL SUBJECTS COVERED BY FORMER USPC CROSS-REFERENCE ART COLLECTIONS [XRACs] AND DIGESTS
- Y10—TECHNICAL SUBJECTS COVERED BY FORMER USPC
- Y10T—TECHNICAL SUBJECTS COVERED BY FORMER US CLASSIFICATION
- Y10T483/00—Tool changing
- Y10T483/17—Tool changing including machine tool or component
- Y10T483/1733—Rotary spindle machine tool [e.g., milling machine, boring, machine, grinding machine, etc.]
- Y10T483/1748—Tool changer between spindle and matrix
- Y10T483/175—Plural matrices
-
- Y—GENERAL TAGGING OF NEW TECHNOLOGICAL DEVELOPMENTS; GENERAL TAGGING OF CROSS-SECTIONAL TECHNOLOGIES SPANNING OVER SEVERAL SECTIONS OF THE IPC; TECHNICAL SUBJECTS COVERED BY FORMER USPC CROSS-REFERENCE ART COLLECTIONS [XRACs] AND DIGESTS
- Y10—TECHNICAL SUBJECTS COVERED BY FORMER USPC
- Y10T—TECHNICAL SUBJECTS COVERED BY FORMER US CLASSIFICATION
- Y10T483/00—Tool changing
- Y10T483/17—Tool changing including machine tool or component
- Y10T483/1733—Rotary spindle machine tool [e.g., milling machine, boring, machine, grinding machine, etc.]
- Y10T483/1748—Tool changer between spindle and matrix
- Y10T483/1752—Tool changer between spindle and matrix including tool holder pivotable about axis
- Y10T483/1779—Linearly movable tool holder
-
- Y—GENERAL TAGGING OF NEW TECHNOLOGICAL DEVELOPMENTS; GENERAL TAGGING OF CROSS-SECTIONAL TECHNOLOGIES SPANNING OVER SEVERAL SECTIONS OF THE IPC; TECHNICAL SUBJECTS COVERED BY FORMER USPC CROSS-REFERENCE ART COLLECTIONS [XRACs] AND DIGESTS
- Y10—TECHNICAL SUBJECTS COVERED BY FORMER USPC
- Y10T—TECHNICAL SUBJECTS COVERED BY FORMER US CLASSIFICATION
- Y10T483/00—Tool changing
- Y10T483/17—Tool changing including machine tool or component
- Y10T483/1733—Rotary spindle machine tool [e.g., milling machine, boring, machine, grinding machine, etc.]
- Y10T483/1748—Tool changer between spindle and matrix
- Y10T483/1783—Tool changer between spindle and matrix including linearly translatable tool changer [e.g., shuttle, ram, etc.]
-
- Y—GENERAL TAGGING OF NEW TECHNOLOGICAL DEVELOPMENTS; GENERAL TAGGING OF CROSS-SECTIONAL TECHNOLOGIES SPANNING OVER SEVERAL SECTIONS OF THE IPC; TECHNICAL SUBJECTS COVERED BY FORMER USPC CROSS-REFERENCE ART COLLECTIONS [XRACs] AND DIGESTS
- Y10—TECHNICAL SUBJECTS COVERED BY FORMER USPC
- Y10T—TECHNICAL SUBJECTS COVERED BY FORMER US CLASSIFICATION
- Y10T483/00—Tool changing
- Y10T483/17—Tool changing including machine tool or component
- Y10T483/1733—Rotary spindle machine tool [e.g., milling machine, boring, machine, grinding machine, etc.]
- Y10T483/1748—Tool changer between spindle and matrix
- Y10T483/1783—Tool changer between spindle and matrix including linearly translatable tool changer [e.g., shuttle, ram, etc.]
- Y10T483/1788—Orthogonally translatable
-
- Y—GENERAL TAGGING OF NEW TECHNOLOGICAL DEVELOPMENTS; GENERAL TAGGING OF CROSS-SECTIONAL TECHNOLOGIES SPANNING OVER SEVERAL SECTIONS OF THE IPC; TECHNICAL SUBJECTS COVERED BY FORMER USPC CROSS-REFERENCE ART COLLECTIONS [XRACs] AND DIGESTS
- Y10—TECHNICAL SUBJECTS COVERED BY FORMER USPC
- Y10T—TECHNICAL SUBJECTS COVERED BY FORMER US CLASSIFICATION
- Y10T483/00—Tool changing
- Y10T483/18—Tool transfer to or from matrix
- Y10T483/1818—Matrix including means to project tool for transfer
- Y10T483/1827—Rectilinear
-
- Y—GENERAL TAGGING OF NEW TECHNOLOGICAL DEVELOPMENTS; GENERAL TAGGING OF CROSS-SECTIONAL TECHNOLOGIES SPANNING OVER SEVERAL SECTIONS OF THE IPC; TECHNICAL SUBJECTS COVERED BY FORMER USPC CROSS-REFERENCE ART COLLECTIONS [XRACs] AND DIGESTS
- Y10—TECHNICAL SUBJECTS COVERED BY FORMER USPC
- Y10T—TECHNICAL SUBJECTS COVERED BY FORMER US CLASSIFICATION
- Y10T483/00—Tool changing
- Y10T483/18—Tool transfer to or from matrix
- Y10T483/1845—Plural matrices
-
- Y—GENERAL TAGGING OF NEW TECHNOLOGICAL DEVELOPMENTS; GENERAL TAGGING OF CROSS-SECTIONAL TECHNOLOGIES SPANNING OVER SEVERAL SECTIONS OF THE IPC; TECHNICAL SUBJECTS COVERED BY FORMER USPC CROSS-REFERENCE ART COLLECTIONS [XRACs] AND DIGESTS
- Y10—TECHNICAL SUBJECTS COVERED BY FORMER USPC
- Y10T—TECHNICAL SUBJECTS COVERED BY FORMER US CLASSIFICATION
- Y10T483/00—Tool changing
- Y10T483/18—Tool transfer to or from matrix
- Y10T483/1864—Tool transfer to or from matrix including tool pot or adapter
-
- Y—GENERAL TAGGING OF NEW TECHNOLOGICAL DEVELOPMENTS; GENERAL TAGGING OF CROSS-SECTIONAL TECHNOLOGIES SPANNING OVER SEVERAL SECTIONS OF THE IPC; TECHNICAL SUBJECTS COVERED BY FORMER USPC CROSS-REFERENCE ART COLLECTIONS [XRACs] AND DIGESTS
- Y10—TECHNICAL SUBJECTS COVERED BY FORMER USPC
- Y10T—TECHNICAL SUBJECTS COVERED BY FORMER US CLASSIFICATION
- Y10T483/00—Tool changing
- Y10T483/18—Tool transfer to or from matrix
- Y10T483/1873—Indexing matrix
- Y10T483/1891—Chain or belt
Definitions
- the present invention relates to an automatic tool storage mechanism having a magazine for storing a large number of tools and pots.
- a V-shaped flange portion of a tool (selected) called out from those arranged in a magazine is grasped with claws, and the tool is taken out from the pot.
- the pot was left in the magazine, and only the tool was transported from the magazine to the standby position. If the tool is transported in a state where the tool is separated from the pot and only the V-shaped flange portion of the tool is gripped with a claw as in the conventional case, if the tool is a heavy blade or a long blade, the tool tends to tilt during transportation, In particular, it becomes difficult to perform stable conveyance at a long conveyance path or at a high speed. In order to firmly grip the V-shaped flange portion of the tool, the claw needs to have high rigidity.
- An object of the present invention is to provide an automatic tool storage mechanism that can ensure stability during transportation of a tool without excessive tilting of the tool during transportation even when the tool is a heavy blade or a long blade.
- FIG. 1 is an explanatory view showing tool and pot conveyance from a first magazine to a standby position in an automatic tool storage mechanism according to one embodiment of the present invention.
- FIG. 2 is an explanatory view showing conveyance of tools and pots from the standby position to the second magazine in the automatic tool storage mechanism shown in FIG.
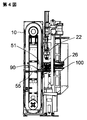
- FIG. 3 is a schematic perspective view showing an example of an automatic tool storage mechanism according to a preferred embodiment of the present invention.
- FIG. 4 shows the relationship between one magazine of the automatic tool storage mechanism shown in FIG. 5 is a schematic perspective view showing the automatic tool storage mechanism shown in FIG. 6 is a schematic perspective view showing the automatic tool storage mechanism shown in FIG. 3 in a slightly enlarged manner.
- FIG. 7 is a diagram showing the relationship between the claw of the pot moving arm, the tool, and the pot, among the automatic tool storage mechanism shown in FIG.
- FIG. 8 shows a pair of claws of the pot moving arm shown in FIG.
- FIG. 9 is a schematic top view showing three pairs of claws of the pot moving arm shown in FIG. 7.
- 10 is a schematic side view showing three pairs of claws of the pot moving arm shown in FIG. 7.
- FIG. 1 shows a situation in which a tool and a pot before use are taken together from one magazine, conveyed to a standby position, and the tool before use and the tool after use on the spindle side are exchanged.
- FIG. 2 shows a situation in which the replaced tool and pot after use are returned together to another magazine.
- a pot also called a tool pot
- a pot is common to all tools (also called tool holders).
- the second magazine 16 is no. 51 to No. Houses up to 100 tools 18 (only one shown, others not shown) and pot 14.
- FIG. 1 (1) shows an example of the initial state. No. stored in the first magazine 10.
- One tool 12 is called by control means (not shown).
- the one tool 12 and the pot 14 therefor are taken out of the first magazine 10 together and transferred to the right in FIG.
- the pot moving arm 22 is lowered, and the No. 1 is moved by the plurality of claws of the pot moving arm 22. 1. Grab the V-shaped flange portion of the tool 12 and the pot 14.
- One tool 12 and pot 14 are moved to the entrance of guide 26.
- FIG. 1 shows a state where the tool change is completed.
- the 51 tool 18 and the pot 14 therefor move together to the left toward the entrance of the guide 26.
- tools 18 and the pot 14 are positioned below the pot moving arm 22.
- the pot moving arm 22 is moved by a plurality of claws. Grab the V-shaped flange part of 51 tool 18 and pot 14.
- the pot moving arm 22 is moved by a plurality of claws. In a state where the V-shaped flange portion of the tool 18 of 51 and the pot 14 are held, the pot moving arm 22 rises and returns to the initial position.
- the pot moving arm 22 moves to the position of the second magazine 16 while holding the tool 18 and the pot 14.
- the pot moving arm 22 holds the tool 18 and the pot 14 while holding the tool No. 2 in the second magazine 16.
- the 51 tool 18 is lowered to the return position.
- FIGS. 3 to 8 show one specific example of the automatic tool storage mechanism shown in FIGS.
- a plurality of (for example, five) magazines 10, 16, 40, 46, and 50 having the same basic configuration are arranged in a line in the vertical direction.
- a large number of pots 14 common to them are rotatably arranged so as to circulate in an endless manner.
- Various types of tools 12 and 18 (only two types are shown in FIGS. 1 and 2 as an example) are attached to each of the pots 14.
- the total number of pots 14 stored in all magazines can be several hundred (for example, 300).
- a specific pot 14 equipped with the tools 12 and 18 is selected (that is, called) by a control device (not shown), and a waiting means near the main shaft from the position 90 (FIG. 4) on the magazine side by a conveying means (described later). Transported to position 100.
- a first guide portion 51 on the magazine side that is conveyed and positioned in front of each of all the magazines, and a second provided between the first guide portion 51 and the standby position 100 at a predetermined position.
- the guide portion 26 constitutes a guide.
- the pot moving means includes a first driving means (preferably a hydraulic cylinder 55) for moving a pot with a tool, that is, a tool mounting pot, in a horizontal direction between the first guide portion 51 and each magazine, and a second guide portion.
- the tool mounting pot is moved in the vertical direction between the second guide means 101 (preferably a ball screw and a servo motor) for moving the tool mounting pot in the horizontal direction along the first guide portion 51 and the second guide portion 26.
- a pot moving arm 22 is provided.
- two rail-shaped pot moving arm travel guides 61 are arranged in parallel in the horizontal direction over both sides of the mechanism.
- a plurality of magazines 10 and the like are provided in a line along the pot moving arm travel guide 61.
- the pot moving arm 22 is moved up and down in the vertical direction or the up and down direction by an elevating drive unit 71.
- a traveling drive unit 77 (preferably including a speed reducer and a servo motor) via two belts 73 and 75 extending between both sides of the mechanism along the two pot moving arm traveling guides 61. Moves horizontally and stops at the selected magazine position.
- the first guide portion 51 can be set at desired vertical and horizontal positions. This will be described with reference to FIG.
- No. 1 is called (selected) by a control device (not shown), and the No. 1 tool 12 is set by the hydraulic cylinder 55 provided at the pot loading / unloading position of the magazine 10.
- One tool 12 and its pot 14 are pushed together from the first magazine 10 and transferred to the right in FIG. At that time, no.
- the pot 14 is gripped by the pot gripping portion 59 by the action of the pot lock cylinder 57 until the one tool 12 and the pot 14 therefor arrive at the lower position of the pot moving arm 22.
- the pot moving arm 22 is lowered and a plurality of claws such as No. Grab the V flange part of the tool 12 of 1 and grasp the two places of the pot 14 with the claws 22b and 22c.
- Reference numeral 103 denotes a pot lock cylinder for locking and gripping the tool and the pot 14 with the claws 22a, 22b and 22c.
- the pot moving arm 22 is raised, The first tool 12 and the pot 14 are moved together to the entrance of the second guide portion 26.
- the pot gripping portion 65 grips the pot 14 by the action of the pot lock cylinder 105.
- the pot 14 and the tool 12 attached thereto are conveyed to the standby position 100 by the second driving means 101. No. before use.
- the tool changing arm 28 is operated, and the pair of gripping portions 28a and 28b are rotated. 1 and the tool No. 1 after use attached to the spindle 30. 51 replaces the tool 18.
Landscapes
- Engineering & Computer Science (AREA)
- Mechanical Engineering (AREA)
- Automatic Tool Replacement In Machine Tools (AREA)
- Warehouses Or Storage Devices (AREA)
Priority Applications (4)
| Application Number | Priority Date | Filing Date | Title |
|---|---|---|---|
| CN2010800021313A CN102099152B (zh) | 2009-04-22 | 2010-04-20 | 自动工具收容机构 |
| US13/055,050 US8360945B2 (en) | 2009-04-22 | 2010-04-20 | Automatic tool storing mechanism |
| KR1020117003676A KR101232007B1 (ko) | 2009-04-22 | 2010-04-20 | 자동공구 수납기구 |
| EP10767187.7A EP2422924B1 (en) | 2009-04-22 | 2010-04-20 | Automatic tool storage mechanism |
Applications Claiming Priority (2)
| Application Number | Priority Date | Filing Date | Title |
|---|---|---|---|
| JP2009104249A JP4972120B2 (ja) | 2009-04-22 | 2009-04-22 | 自動工具収納機構 |
| JP2009-104249 | 2009-04-22 |
Publications (1)
| Publication Number | Publication Date |
|---|---|
| WO2010123135A1 true WO2010123135A1 (ja) | 2010-10-28 |
Family
ID=43011246
Family Applications (1)
| Application Number | Title | Priority Date | Filing Date |
|---|---|---|---|
| PCT/JP2010/057321 Ceased WO2010123135A1 (ja) | 2009-04-22 | 2010-04-20 | 自動工具収納機構 |
Country Status (7)
| Country | Link |
|---|---|
| US (1) | US8360945B2 (enExample) |
| EP (1) | EP2422924B1 (enExample) |
| JP (1) | JP4972120B2 (enExample) |
| KR (1) | KR101232007B1 (enExample) |
| CN (1) | CN102099152B (enExample) |
| TW (1) | TWI392559B (enExample) |
| WO (1) | WO2010123135A1 (enExample) |
Cited By (3)
| Publication number | Priority date | Publication date | Assignee | Title |
|---|---|---|---|---|
| US20130095988A1 (en) * | 2011-04-05 | 2013-04-18 | Deckel Maho Pfronten Gmbh | Tool handling device for machine tools |
| US20130260973A1 (en) * | 2010-12-13 | 2013-10-03 | Doosan Infracore Co., Ltd. | Tool carrier unit of a tool magazine |
| TWI630979B (zh) * | 2015-05-29 | 2018-08-01 | 東芝機械股份有限公司 | 工作機械 |
Families Citing this family (6)
| Publication number | Priority date | Publication date | Assignee | Title |
|---|---|---|---|---|
| TW201302376A (zh) * | 2011-07-13 | 2013-01-16 | Jian Xue Qin | Cnc綜合加工機自動換刀機構 |
| KR101383442B1 (ko) * | 2012-06-14 | 2014-04-08 | 주식회사 성산암데코 | 자동차 브레이크 시스템의 캘리퍼 하우징 가공용 고속 툴 체인저 |
| JP5667254B1 (ja) * | 2013-08-02 | 2015-02-12 | キタムラ機械株式会社 | 自動工具収納機構 |
| CN104191290B (zh) * | 2014-08-25 | 2016-03-30 | 无锡众望四维科技有限公司 | 锁芯专用夹紧装置 |
| JP6342940B2 (ja) | 2016-04-19 | 2018-06-13 | キタムラ機械株式会社 | 工作機械用自動工具交換システム |
| JP6998158B2 (ja) * | 2017-09-07 | 2022-01-18 | 株式会社ディスコ | 切削ブレード供給装置 |
Citations (7)
| Publication number | Priority date | Publication date | Assignee | Title |
|---|---|---|---|---|
| JPH0438335U (enExample) * | 1990-07-31 | 1992-03-31 | ||
| JP2001038561A (ja) * | 1999-07-27 | 2001-02-13 | Toshiba Mach Co Ltd | マトリックス形工具マガジン |
| JP2002355729A (ja) * | 2001-05-30 | 2002-12-10 | Hitachi Seiki Co Ltd | 工作機械の自動工具交換装置 |
| JP2003291046A (ja) | 2002-03-29 | 2003-10-14 | Toyoda Mach Works Ltd | 自動工具交換装置 |
| JP2004276161A (ja) * | 2003-03-14 | 2004-10-07 | Kitamura Mach Co Ltd | ツールホルダ交換機構 |
| JP2005103653A (ja) * | 2003-09-26 | 2005-04-21 | Makino Milling Mach Co Ltd | 自動工具交換装置 |
| JP2008155343A (ja) | 2006-12-26 | 2008-07-10 | Kitamura Mach Co Ltd | 工具交換方法及びマシニングセンター |
Family Cites Families (18)
| Publication number | Priority date | Publication date | Assignee | Title |
|---|---|---|---|---|
| JPS50112874A (enExample) * | 1974-02-18 | 1975-09-04 | ||
| JPS5726897B2 (enExample) * | 1974-04-30 | 1982-06-07 | ||
| IT1037252B (it) * | 1975-04-14 | 1979-11-10 | Mandelli Spa | Macchina utensile conportante un unico mandrino atto ad assumere automaticamente siala posizione orizzontale quella verticale ed un unico dispositivo di cambio automatico degli utnesili |
| AR225485A1 (es) * | 1980-02-08 | 1982-03-31 | Oerlikon Buehrle Ag | Una maquina-herramienta |
| JPS56157935A (en) * | 1980-05-09 | 1981-12-05 | Kurashiki Kikai Kk | Tool magazine at machining center |
| JPS61142038A (ja) * | 1984-12-12 | 1986-06-28 | Toshiba Mach Co Ltd | アタツチメント工具交換装置 |
| JPS62199333A (ja) * | 1986-02-26 | 1987-09-03 | Okuma Mach Works Ltd | 工作機械における工具交換方法 |
| JPH01240244A (ja) * | 1988-03-18 | 1989-09-25 | Nkk Corp | Nc工作機における工具交換方法及びそのための装置 |
| JPH0438335A (ja) | 1990-06-05 | 1992-02-07 | Mitsubishi Electric Corp | 屋外水配管凍結防止装置 |
| JP3642069B2 (ja) * | 1994-03-09 | 2005-04-27 | 豊田工機株式会社 | 自動工具交換装置 |
| JP3246647B2 (ja) * | 1996-03-12 | 2002-01-15 | キタムラ機械株式会社 | 自動工具交換用ツールマガジン |
| JP3177766B2 (ja) * | 1996-04-18 | 2001-06-18 | オークマ株式会社 | 工具搬送装置 |
| GB2331946B (en) * | 1997-12-02 | 1999-10-20 | Nippei Toyama Corp | Tool change method and tool change device |
| JP2002355728A (ja) * | 2001-05-30 | 2002-12-10 | Howa Mach Ltd | 工作機械の工具マガジン装置 |
| AT504172B1 (de) | 2006-09-14 | 2009-08-15 | Miguel Muser | Vorrichtung zum be- und entladen einer werkzeugmaschine |
| JP2008149416A (ja) * | 2006-12-19 | 2008-07-03 | Nisshinbo Ind Inc | マシニングセンタ |
| JP5082591B2 (ja) * | 2007-05-31 | 2012-11-28 | ブラザー工業株式会社 | 工具交換装置 |
| US7635327B1 (en) * | 2009-04-02 | 2009-12-22 | Quaser Machine Tools, Inc. | Multi-layered tool magazine of CNC machine |
-
2009
- 2009-04-22 JP JP2009104249A patent/JP4972120B2/ja active Active
- 2009-11-19 TW TW098139367A patent/TWI392559B/zh not_active IP Right Cessation
-
2010
- 2010-04-20 WO PCT/JP2010/057321 patent/WO2010123135A1/ja not_active Ceased
- 2010-04-20 CN CN2010800021313A patent/CN102099152B/zh not_active Expired - Fee Related
- 2010-04-20 US US13/055,050 patent/US8360945B2/en active Active
- 2010-04-20 EP EP10767187.7A patent/EP2422924B1/en active Active
- 2010-04-20 KR KR1020117003676A patent/KR101232007B1/ko active Active
Patent Citations (7)
| Publication number | Priority date | Publication date | Assignee | Title |
|---|---|---|---|---|
| JPH0438335U (enExample) * | 1990-07-31 | 1992-03-31 | ||
| JP2001038561A (ja) * | 1999-07-27 | 2001-02-13 | Toshiba Mach Co Ltd | マトリックス形工具マガジン |
| JP2002355729A (ja) * | 2001-05-30 | 2002-12-10 | Hitachi Seiki Co Ltd | 工作機械の自動工具交換装置 |
| JP2003291046A (ja) | 2002-03-29 | 2003-10-14 | Toyoda Mach Works Ltd | 自動工具交換装置 |
| JP2004276161A (ja) * | 2003-03-14 | 2004-10-07 | Kitamura Mach Co Ltd | ツールホルダ交換機構 |
| JP2005103653A (ja) * | 2003-09-26 | 2005-04-21 | Makino Milling Mach Co Ltd | 自動工具交換装置 |
| JP2008155343A (ja) | 2006-12-26 | 2008-07-10 | Kitamura Mach Co Ltd | 工具交換方法及びマシニングセンター |
Non-Patent Citations (1)
| Title |
|---|
| See also references of EP2422924A4 * |
Cited By (6)
| Publication number | Priority date | Publication date | Assignee | Title |
|---|---|---|---|---|
| US20130260973A1 (en) * | 2010-12-13 | 2013-10-03 | Doosan Infracore Co., Ltd. | Tool carrier unit of a tool magazine |
| US9333609B2 (en) * | 2010-12-13 | 2016-05-10 | Doosan Infracore Co., Ltd. | Tool carrier unit of a tool magazine |
| US20130095988A1 (en) * | 2011-04-05 | 2013-04-18 | Deckel Maho Pfronten Gmbh | Tool handling device for machine tools |
| US8758208B2 (en) * | 2011-04-05 | 2014-06-24 | Deckel Maho Pfronten Gmbh | Tool handling device for machine tools |
| TWI630979B (zh) * | 2015-05-29 | 2018-08-01 | 東芝機械股份有限公司 | 工作機械 |
| US10086485B2 (en) | 2015-05-29 | 2018-10-02 | Toshiba Kikai Kabushiki Kaisha | Machine tool |
Also Published As
| Publication number | Publication date |
|---|---|
| EP2422924B1 (en) | 2014-07-23 |
| CN102099152A (zh) | 2011-06-15 |
| JP4972120B2 (ja) | 2012-07-11 |
| CN102099152B (zh) | 2013-11-06 |
| KR20120014549A (ko) | 2012-02-17 |
| EP2422924A4 (en) | 2013-05-29 |
| EP2422924A1 (en) | 2012-02-29 |
| US8360945B2 (en) | 2013-01-29 |
| TWI392559B (zh) | 2013-04-11 |
| JP2010253588A (ja) | 2010-11-11 |
| US20120028771A1 (en) | 2012-02-02 |
| KR101232007B1 (ko) | 2013-02-08 |
| TW201038356A (en) | 2010-11-01 |
Similar Documents
| Publication | Publication Date | Title |
|---|---|---|
| JP5667254B1 (ja) | 自動工具収納機構 | |
| JP4972120B2 (ja) | 自動工具収納機構 | |
| CN110461539B (zh) | 机床 | |
| JP5106783B2 (ja) | 棚式倉庫及び荷役方法 | |
| JP2011178563A (ja) | 収納ラック | |
| KR101824069B1 (ko) | 와이어 본더 물류 설비 및 그의 매거진 이송방법 | |
| JP2010253588A5 (enExample) | ||
| CN113939462A (zh) | 用于机床的分拣系统、机床以及用于分拣切割零件的方法 | |
| JP2013111742A (ja) | シャフト状のワークピースを加工するための工作機械 | |
| KR102293463B1 (ko) | 반송장치 | |
| CN218370422U (zh) | 工件转移装置及加工设备的自动上下料系统 | |
| CN106573352A (zh) | 加工中心 | |
| US9969037B2 (en) | Dual-spindle machining apparatus | |
| CN218143647U (zh) | 晶圆存储智能仓 | |
| US20060075625A1 (en) | Multiple side processing machine and positioning device for a workpiece | |
| CN111591658B (zh) | 一种储刀配刀系统 | |
| JP7757265B2 (ja) | ワーク搬出入装置とワーク搬出入装置の制御方法 | |
| ES2985709T3 (es) | Máquina de mecanizado para lentes ópticas e instalación de fabricación con la misma | |
| ITMO20100099A1 (it) | Centro di lavorazione | |
| EP4480633A1 (en) | Manipulating device for extracting workpieces from cnc lathe and placing them on pallets | |
| JP2009056546A (ja) | 工作機械 | |
| JPH0538663A (ja) | 旋盤セル | |
| JPH0455822B2 (enExample) | ||
| CN119871585A (zh) | 一种电路板加工设备及换刀控制方法 | |
| JP2000005961A (ja) | 工具マガジン |
Legal Events
| Date | Code | Title | Description |
|---|---|---|---|
| WWE | Wipo information: entry into national phase |
Ref document number: 201080002131.3 Country of ref document: CN |
|
| WWE | Wipo information: entry into national phase |
Ref document number: 2010767187 Country of ref document: EP |
|
| 121 | Ep: the epo has been informed by wipo that ep was designated in this application |
Ref document number: 10767187 Country of ref document: EP Kind code of ref document: A1 |
|
| WWE | Wipo information: entry into national phase |
Ref document number: 13055050 Country of ref document: US |
|
| ENP | Entry into the national phase |
Ref document number: 20117003676 Country of ref document: KR Kind code of ref document: A |
|
| NENP | Non-entry into the national phase |
Ref country code: DE |