WO2010092748A1 - 半導体装置、その製造方法及びプラズマドーピングシステム - Google Patents

半導体装置、その製造方法及びプラズマドーピングシステム Download PDF

Info

Publication number
WO2010092748A1
WO2010092748A1 PCT/JP2010/000285 JP2010000285W WO2010092748A1 WO 2010092748 A1 WO2010092748 A1 WO 2010092748A1 JP 2010000285 W JP2010000285 W JP 2010000285W WO 2010092748 A1 WO2010092748 A1 WO 2010092748A1
Authority
WO
WIPO (PCT)
Prior art keywords
fin
impurity
region
type semiconductor
semiconductor device
Prior art date
Legal status (The legal status is an assumption and is not a legal conclusion. Google has not performed a legal analysis and makes no representation as to the accuracy of the status listed.)
Ceased
Application number
PCT/JP2010/000285
Other languages
English (en)
French (fr)
Japanese (ja)
Inventor
奥村智洋
甲斐隆行
佐々木雄一朗
Current Assignee (The listed assignees may be inaccurate. Google has not performed a legal analysis and makes no representation or warranty as to the accuracy of the list.)
Panasonic Corp
Original Assignee
Panasonic Corp
Priority date (The priority date is an assumption and is not a legal conclusion. Google has not performed a legal analysis and makes no representation as to the accuracy of the date listed.)
Filing date
Publication date
Application filed by Panasonic Corp filed Critical Panasonic Corp
Priority to US12/866,649 priority Critical patent/US8324685B2/en
Publication of WO2010092748A1 publication Critical patent/WO2010092748A1/ja
Anticipated expiration legal-status Critical
Ceased legal-status Critical Current

Links

Images

Classifications

    • HELECTRICITY
    • H01ELECTRIC ELEMENTS
    • H01LSEMICONDUCTOR DEVICES NOT COVERED BY CLASS H10
    • H01L21/00Processes or apparatus adapted for the manufacture or treatment of semiconductor or solid state devices or of parts thereof
    • H01L21/02Manufacture or treatment of semiconductor devices or of parts thereof
    • H01L21/04Manufacture or treatment of semiconductor devices or of parts thereof the devices having potential barriers, e.g. a PN junction, depletion layer or carrier concentration layer
    • H01L21/18Manufacture or treatment of semiconductor devices or of parts thereof the devices having potential barriers, e.g. a PN junction, depletion layer or carrier concentration layer the devices having semiconductor bodies comprising elements of Group IV of the Periodic Table or AIIIBV compounds with or without impurities, e.g. doping materials
    • H01L21/22Diffusion of impurity materials, e.g. doping materials, electrode materials, into or out of a semiconductor body, or between semiconductor regions; Interactions between two or more impurities; Redistribution of impurities
    • H01L21/223Diffusion of impurity materials, e.g. doping materials, electrode materials, into or out of a semiconductor body, or between semiconductor regions; Interactions between two or more impurities; Redistribution of impurities using diffusion into or out of a solid from or into a gaseous phase
    • H01L21/2236Diffusion of impurity materials, e.g. doping materials, electrode materials, into or out of a semiconductor body, or between semiconductor regions; Interactions between two or more impurities; Redistribution of impurities using diffusion into or out of a solid from or into a gaseous phase from or into a plasma phase
    • HELECTRICITY
    • H10SEMICONDUCTOR DEVICES; ELECTRIC SOLID-STATE DEVICES NOT OTHERWISE PROVIDED FOR
    • H10DINORGANIC ELECTRIC SEMICONDUCTOR DEVICES
    • H10D30/00Field-effect transistors [FET]
    • H10D30/01Manufacture or treatment
    • H10D30/021Manufacture or treatment of FETs having insulated gates [IGFET]
    • H10D30/024Manufacture or treatment of FETs having insulated gates [IGFET] of fin field-effect transistors [FinFET]
    • H10D30/0241Manufacture or treatment of FETs having insulated gates [IGFET] of fin field-effect transistors [FinFET] doping of vertical sidewalls, e.g. using tilted or multi-angled implants
    • HELECTRICITY
    • H10SEMICONDUCTOR DEVICES; ELECTRIC SOLID-STATE DEVICES NOT OTHERWISE PROVIDED FOR
    • H10DINORGANIC ELECTRIC SEMICONDUCTOR DEVICES
    • H10D30/00Field-effect transistors [FET]
    • H10D30/60Insulated-gate field-effect transistors [IGFET]
    • H10D30/62Fin field-effect transistors [FinFET]

Definitions

  • the present invention relates to a semiconductor device, a manufacturing method thereof, and a plasma doping system, and more particularly to a three-dimensional semiconductor device having a fin-type semiconductor region on a substrate and a manufacturing method thereof.
  • a field effect transistor having this fin type structure is generally called a fin-type FET (Fin-Field Effect Transistor), and is a thin wall (fin) semiconductor region (hereinafter referred to as a fin-type semiconductor region) perpendicular to the main surface of the substrate. Active region made of a type semiconductor region).
  • fin-type FET Fin-Field Effect Transistor
  • active region made of a type semiconductor region.
  • FIG. 12 (a) to 12 (d) are diagrams showing the structure of a conventional fin-type FET, FIG. 12 (a) is a plan view, and FIG. 12 (b) is an AA in FIG. 12 (a).
  • 12 (c) is a cross-sectional view taken along the line BB in FIG. 12 (a)
  • FIG. 12 (d) is a cross-sectional view taken along the line CC in FIG. 12 (a). .
  • the conventional fin-type FET includes a support substrate 101 made of silicon, an insulating layer 102 made of silicon oxide formed on the support substrate 101, and an insulating layer 102.
  • Source / drain formed on both sides of the area And a frequency 117.
  • the fin-type semiconductor regions 103a to 103d are arranged on the insulating layer 102 so as to be arranged at regular intervals in the gate width direction.
  • the gate electrode 105 is formed so as to straddle the fin-type semiconductor regions 103a to 103d in the gate width direction.
  • the extension region 107 includes a first impurity region 107a formed above each of the fin-type semiconductor regions 103a to 103d and a second impurity region 107b formed on each side of the fin-type semiconductor regions 103a to 103d. It consists of and. Further, the source / drain region 117 is a third impurity region 117a formed above each of the fin-type semiconductor regions 103a to 103d and a fourth impurity region formed on each side of the fin-type semiconductor regions 103a to 103d. Impurity region 117b. Note that the description and illustration of the pocket area are omitted.
  • 13A to 13D are cross-sectional views showing a conventional method of manufacturing a semiconductor device in order of steps.
  • 13A to 13D correspond to the cross-sectional configuration taken along line CC in FIG. 12A.
  • FIGS. 13A to 13D the same components as those shown in FIGS. 12A to 12D are denoted by the same reference numerals, and redundant description is omitted.
  • an SOI (Silicon On Insulator) substrate in which a semiconductor layer made of silicon is provided on an insulating layer 102 made of silicon oxide on a support substrate 101 made of silicon is prepared. Thereafter, the semiconductor layer is patterned to form a fin-type semiconductor region 103b to be an active region.
  • SOI Silicon On Insulator
  • a polysilicon film 105A is formed over the entire surface of the support substrate 102.
  • the polysilicon film 105A and the gate insulating film 104 are sequentially etched to form the gate electrode 105 on the fin-type semiconductor region 103b via the gate insulating film 104b. Thereafter, using the gate electrode 105 as a mask, impurities are ion-implanted into the semiconductor region 103b to form extension regions 107 and pocket regions (not shown).
  • the insulating film is etched back using anisotropic dry etching, whereby the gate electrode 105 is formed. Insulating sidewall spacers 106 are formed on the side surfaces. Thereafter, impurities are ion-implanted into the semiconductor region 103b using the gate electrode 105 and the insulating sidewall spacer 106 as a mask to form source / drain regions 117.
  • a fin-type MISFET Metal Insulator Semiconductor Field Effect Transistor having the gate electrode 105 formed on the fin-type semiconductor region 103b through the gate insulating film 104b can be obtained.
  • FIG. 14A is a cross-sectional view showing a process of forming the extension region of the fin-type FET in Patent Document 1
  • FIG. 14B shows the step of forming the extension region of the fin-type FET in Non-Patent Document 1. It is sectional drawing which showed the process. 14A and 14B correspond to the cross-sectional configuration taken along the line BB in FIG. 12A (before the formation of the insulating sidewall spacer 106). 14 (a) and 14 (b), the same components as those shown in FIGS. 12 (a) to 12 (d) are given the same reference numerals, and redundant descriptions are omitted.
  • ions 108a and 108b are formed by ion implantation. Are implanted into the fin-type semiconductor regions 103a to 103d at implantation angles inclined to different sides with respect to the vertical direction, thereby forming the extension region 107.
  • a first impurity region 107a formed by implanting both ions 108a and ions 108b is formed above the fin-type semiconductor regions 103a to 103d.
  • a second impurity region 107b in which only one of the ions 108a or the ions 108b is implanted is formed on each side of the fin-type semiconductor regions 103a to 103d. That is, when the dose amount of the ions 108a and the dose amount of the ions 108b are the same, the implantation dose amount of the first impurity region 107a is twice as large as the implantation dose amount of the second impurity region 107b. .
  • the extension region 107 is formed in the fin-type semiconductor regions 103a to 103d using a plasma doping method.
  • a plasma doping method In the case of introducing impurities using the plasma doping method, introduced ions 109a, adsorbed species (neutral species such as gas molecules and radicals) 109b, and impurities 109c that leave the fin-type semiconductor regions 103a to 103d by sputtering.
  • a first impurity region 107a having an introduced dose determined by balance is formed on the fin-type semiconductor regions 103a to 103d.
  • the introduced dose amount at each side of the fin-type semiconductor regions 103a to 103d is less influenced by the introduced ions 109a and the separation impurities 109c due to sputtering, and the second impurity region has an introduced dose amount mainly determined by the adsorbed species 109b.
  • 107b is formed on the sides of the fin-type semiconductor regions 103a to 103d.
  • the introduction dose of the first impurity region 107a is increased by, for example, about 25% as compared with the introduction dose of the second impurity region 107b.
  • the introduced dose of the first impurity region 107a formed above the fin-type semiconductor regions 103a to 103d is set to the fin-type semiconductor regions 103a to 103a. This is higher than the introduction dose of the second impurity region 107b formed on the side portion 103d. Further, the junction depth of the second impurity region 107b is shallower than the junction depth of the first impurity region 107a. Accordingly, the sheet resistance, specific resistance, or spreading resistance of the first impurity region 107a is lower than the sheet resistance, specific resistance, or spreading resistance of the second impurity region 107b.
  • the resistivity (specific resistance) is ⁇
  • the thickness (joint depth) is t
  • the spreading resistance is ⁇ w
  • Rs ⁇ / t.
  • ⁇ w CF ⁇ k ⁇ ⁇ / (2 ⁇ r) widely known in the spread resistance measurement
  • the resistivity (specific resistance) ⁇ and the spread resistance ⁇ W are basically 1 Since there is a one-to-one relationship, it can be expressed as Rs ⁇ w / t.
  • the current flowing through the extension region 107 has a higher introduced dose (that is, lower sheet resistance) than the second impurity region 107b.
  • the source / drain regions are also formed using the same ion implantation method or plasma doping method as the extension regions. Therefore, also in the source / drain region 117, the introduced dose of the third impurity region 117a formed above the fin type semiconductor regions 103a to 103d is formed in the side portions of the fin type semiconductor regions 103a to 103d. This is higher than the introduced dose of the impurity region 117b. In addition, the junction depth of the fourth impurity region 117b is shallower than the junction depth of the third impurity region 117a.
  • the current flowing through the source / drain region 117 has a higher introduction dose (that is, a lower sheet resistance) than the fourth impurity region 117b. 3 concentrates on the third impurity region 117a, causing a problem that desired transistor characteristics cannot be obtained.
  • Patent Document 2 discloses a semiconductor device including an impurity region having an introduction dose amount equal to or higher than that of an upper portion of a fin-type semiconductor region on a side portion of the fin-type semiconductor region, and Manufacturing methods have been proposed.
  • an impurity is introduced into a fin-type semiconductor region by a plasma doping method, thereby forming a first impurity region above the fin-type semiconductor region and the fin-type semiconductor region.
  • the introduced dose is larger than the first dose.
  • the plasma doping method is performed under a second condition that provides a small second dose. Thereby, it is possible to obtain a semiconductor device including an impurity region having an introduction dose amount equal to or higher than that of the upper portion of the fin-type semiconductor region, that is, a semiconductor device having desired transistor characteristics.
  • the plasma doping process condition is changed after the introduction of impurities to some extent, and then the plasma doping process is performed until the introduced dose is sufficiently asymptotic to the second dose. Since it is necessary to do so, processing time may increase.
  • a first method of manufacturing a semiconductor device includes a step (a) of forming a fin-type semiconductor region on a substrate, and generating a donor level or an acceptor level in the semiconductor.
  • Step (c) includes a step (a) of forming a fin-type semiconductor region on a substrate, and generating a donor level or an acceptor level in the semiconductor.
  • a first impurity that generates a donor level or an acceptor level in a semiconductor is introduced into an upper portion and a side portion of a fin-type semiconductor region, and the fin-type semiconductor Oxygen or nitrogen as the second impurity, that is, an impurity that converts the semiconductor into an insulator is further introduced into the upper portion and the side portion of the region.
  • the resistance (specific resistance, sheet) of the side of the fin-type semiconductor region is increased.
  • Resistance or spreading resistance (hereinafter the same) can be set equal to or less than the resistance of the upper part of the fin-type semiconductor region. Further, by introducing the second impurity for making the semiconductor into an insulator, the processing time (time required for the step (c)) required to increase the resistance of the upper portion of the fin-type semiconductor region can be shortened. Therefore, a three-dimensional device such as an FET having good characteristics can be realized with high throughput.
  • a process (b) may be implemented before a process (c), and a process (b) may be implemented after a process (c).
  • the amount of the second impurity introduced into the side portion of the fin-type semiconductor region is an amount that does not affect the characteristics of the extension region and the source / drain region.
  • the second impurity for making the semiconductor into an insulator for example, if the semiconductor is Si, it is preferable to use oxygen or nitrogen introduced into Si to form an insulator (SiO 2 or SiN x ). Needless to say, it is not limited to.
  • a plasma doping method or an ion implantation method may be used.
  • the method for manufacturing a first semiconductor device further includes a step (d) of removing an upper portion of the fin-type semiconductor region after both the step (b) and the step (c) are completed. It may be.
  • a step (d) of removing an upper portion of the fin-type semiconductor region after both the step (b) and the step (c) are completed. It may be.
  • the insulator region formed by introducing the second impurity into the upper portion of the fin-type semiconductor region can be removed, the upper portion and both side portions of the fin-type semiconductor region function as a channel.
  • a triple gate FET can be configured.
  • the wet etching method is used in the step (d)
  • only the portion with a large amount of the second impurity introduced to make the semiconductor into an insulator can be accurately removed regardless of the etching time.
  • a dry etching method is used in the step (d) it is possible to avoid a situation in which etching in the lateral direction with respect to the gate insulating film (etch
  • the resistance of the side portion of the fin-type semiconductor region is the fin-type semiconductor. It may be less than or equal to the resistance at the top of the region. In this way, a three-dimensional device such as an FET having better characteristics can be realized.
  • the first method of manufacturing a semiconductor device after the step (a) and before both the steps (b) and (c), at least a predetermined portion of the semiconductor region.
  • the first step One impurity and the second impurity may be introduced into the fin-type semiconductor region located outside the gate electrode. In this way, a three-dimensional device such as an FET having better characteristics can be realized.
  • the first impurity may be boron, phosphorus, or arsenic. If it does in this way, the above-mentioned effect of the present invention can be acquired certainly.
  • the introduction of the second impurity is performed using inexpensive and safe oxygen gas or nitrogen gas. This is advantageous in terms of cost and process.
  • the second method for manufacturing a semiconductor device includes a step (a) of forming a fin-type semiconductor region on a substrate, and a plasma doping method using a first impurity that generates a donor level or an acceptor level in the semiconductor. (B) introducing into the upper and side portions of the fin-type semiconductor region, and (c) removing the upper portion of the fin-type semiconductor region after the step (b).
  • the fin type semiconductor Remove the top of the area. For this reason, the high concentration introduction layer of the first impurity in the upper part of the fin-type semiconductor region can be removed, and the low concentration introduction layer of the first impurity can be left. For this reason, the resistance of the side part of the fin-type semiconductor region can be set equal to or lower than the resistance of the upper part of the fin-type semiconductor region. Further, the processing time (time required for the step (c)) required for removing the upper portion of the fin-type semiconductor region may be short. Therefore, a three-dimensional device such as an FET having good characteristics can be realized with high throughput.
  • a dry etching method may be used in the step (c). In this way, it is possible to avoid a situation in which the lateral etching with respect to the gate insulating film (etching from the side surface of the gate insulating film) proceeds.
  • the resistance of the side portion of the fin-type semiconductor region is equal to the resistance of the upper portion of the fin-type semiconductor region. It may be the following. In this way, a three-dimensional device such as an FET having better characteristics can be realized.
  • a gate insulating film is formed on at least a side surface of a predetermined portion of the semiconductor region.
  • the method further includes a step (d) and a step (e) of forming a gate electrode on the gate insulating film, and in the step (b), the first impurity is located outside the gate electrode. It may be introduced into the type semiconductor region. In this way, a three-dimensional device such as an FET having better characteristics can be realized.
  • the first impurity may be boron, phosphorus, or arsenic. If it does in this way, the above-mentioned effect of the present invention can be acquired certainly.
  • the fin-type semiconductor region may be formed on an insulating layer formed on the substrate. In this way, a three-dimensional device such as an FET having better characteristics can be realized.
  • the fin-type semiconductor region may be made of silicon. In this way, a three-dimensional device such as an FET having better characteristics can be realized.
  • a first semiconductor device is a semiconductor device provided with a fin-type semiconductor region formed on a substrate, wherein a donor level or an acceptor level is provided in a semiconductor at an upper portion and a side portion of the fin-type semiconductor region.
  • a first impurity for generating a potential is introduced, and oxygen or nitrogen is further introduced as a second impurity in the upper and side portions of the fin-type semiconductor region.
  • the first impurity for generating a donor level or an acceptor level is introduced into the semiconductor at the upper and side portions of the fin-type semiconductor region, and the fin-type semiconductor region Oxygen or nitrogen, that is, an impurity for making a semiconductor into an insulator is further introduced as a second impurity in the upper part and the side part.
  • the resistance of the side portion of the fin type semiconductor region is reduced. It can be set equal to or lower than the upper resistance.
  • the processing time required to increase the resistance above the fin-type semiconductor region can be shortened. Therefore, a three-dimensional device such as an FET having good characteristics can be realized with high throughput.
  • the amount of the second impurity introduced at the side of the fin-type semiconductor region is an amount that does not affect the characteristics of the extension region and the source / drain region.
  • the second impurity for making the semiconductor into an insulator for example, if the semiconductor is Si, it is preferable to use oxygen or nitrogen introduced into Si to form an insulator (SiO 2 or SiN x ). Needless to say, it is not limited to.
  • the resistance of the side portion of the fin-type semiconductor region may be equal to or less than the resistance of the upper portion of the fin-type semiconductor region. In this way, a three-dimensional device such as an FET having better characteristics can be realized.
  • an insulator region may be formed on the fin-type semiconductor region by introducing the second impurity.
  • a double gate FET in which only both sides of the fin type semiconductor region function as a channel is configured.
  • a triple gate FET may be configured by removing the insulator region into which the second impurity is introduced and allowing the upper portion of the fin type semiconductor region to function as a channel. That is, the removal of the insulator region also removes the first impurity high-concentration introduction layer above the fin-type semiconductor region, but the first impurity low-concentration introduction layer remains below the insulator region. If so, a triple gate FET can be formed.
  • the resistance of the first impurity introduction layer in the side portion of the fin-type semiconductor region is equal to or less than the resistance of the first impurity low-concentration introduction layer remaining above the fin-type semiconductor region. Is preferred. Further, the first impurity low-concentration introduction layer remaining above the fin-type semiconductor region may contain a second impurity that does not affect the characteristics of the extension region and the source / drain region.
  • the fin-type semiconductor region may be formed on an insulating layer formed on the substrate. In this way, a three-dimensional device such as an FET having better characteristics can be realized.
  • the first semiconductor device further comprises a gate insulating film formed on at least a side surface of a predetermined portion of the fin-type semiconductor region, and a gate electrode formed on the gate insulating film,
  • the first impurity and the second impurity may be introduced into the fin-type semiconductor region located outside the gate electrode.
  • a three-dimensional device such as an FET having better characteristics can be realized.
  • it further comprises an insulating sidewall spacer formed on the side surface of the gate electrode, the extension region is formed in a portion covered with the insulating sidewall spacer in the fin-type semiconductor region, More preferably, a source / drain region is formed by introducing the first impurity in a side portion of the fin-type semiconductor region located outside the insulating sidewall spacer.
  • the fin-type semiconductor region may be made of silicon.
  • the first impurity may be boron, phosphorus, or arsenic. If it does in this way, the above-mentioned effect of the present invention can be acquired certainly.
  • the introduction of the second impurity can be performed using cheap and safe oxygen gas or nitrogen gas. This is advantageous in terms of cost and process.
  • a first plasma doping system includes: a first plasma doping apparatus that introduces a first impurity that generates a donor level or an acceptor level in a semiconductor into a target object by a plasma doping method; And a second plasma doping apparatus for introducing oxygen or nitrogen as an impurity into the object to be processed by a plasma doping method.
  • the first impurity that generates the donor level or the acceptor level in the semiconductor can be introduced into the object to be processed by the plasma doping method, and the second impurity can be used as the second impurity.
  • Oxygen or nitrogen, that is, an impurity that makes a semiconductor an insulator can be introduced into a target object by a plasma doping method. Therefore, the manufacturing method of the first semiconductor device according to the present invention can be carried out.
  • a second plasma doping system includes a plasma doping apparatus that introduces a first impurity that generates a donor level or an acceptor level in a semiconductor into a target object by a plasma doping method, and oxygen as a second impurity.
  • a plasma doping apparatus that introduces a first impurity that generates a donor level or an acceptor level in a semiconductor into a target object by a plasma doping method, and oxygen as a second impurity.
  • an ion implantation apparatus for introducing nitrogen into the object to be processed by an ion implantation method is provided.
  • the first impurity that generates the donor level or the acceptor level in the semiconductor can be introduced into the object to be processed by the plasma doping method, and the second impurity can be used as the second impurity.
  • Oxygen or nitrogen, that is, an impurity that converts a semiconductor into an insulator can be introduced into a target object by an ion implantation method. Therefore, the manufacturing method of the first semiconductor device according to the present invention can be carried out.
  • the first or second plasma doping system according to the present invention may further include a dry etching apparatus that performs dry etching on the object to be processed.
  • a dry etching apparatus that performs dry etching on the object to be processed.
  • a plasma doping apparatus that introduces a first impurity that generates a donor level or an acceptor level in a semiconductor into a target object by a plasma doping method; And a dry etching apparatus for performing dry etching.
  • the first impurity that generates the donor level or the acceptor level in the semiconductor can be introduced into the target object by the plasma doping method. Dry etching can be performed. Therefore, the second method for manufacturing a semiconductor device according to the present invention can be carried out.
  • a third method for manufacturing a semiconductor device includes a step (a) of forming a fin-type semiconductor region on a substrate, an impurity that generates a donor level or an acceptor level in the semiconductor, and a plasma doping method using oxygen. (B) introducing into the upper and side portions of the fin-type semiconductor region.
  • the same effects as those of the first method for manufacturing a semiconductor device according to the present invention can be obtained.
  • a second semiconductor device is a semiconductor device provided with a fin-type semiconductor region formed on a substrate, wherein the semiconductor has a donor level or an acceptor level at an upper portion and a side portion of the fin-type semiconductor region. Impurities that generate positions and oxygen are introduced.
  • the same effect as that of the first semiconductor device of the present invention can be obtained.
  • a fourth plasma doping system is a plasma doping system in which impurities that generate a donor level or an acceptor level in a semiconductor and oxygen are introduced into an object to be processed by a plasma doping method.
  • the same effect as that of the first plasma doping system of the present invention can be obtained.
  • a desired characteristic can be obtained by forming a low-resistance impurity region on the side portion of the fin-type semiconductor region by using a plasma doping method, and a processing time until the desired characteristic is obtained. Can be reduced.
  • FIG. 1A to 1E are diagrams showing the structure of a semiconductor device according to the first embodiment of the present invention, specifically, a semiconductor device having a fin-type FET.
  • FIG. 1B is a cross-sectional view taken along line AA in FIG. 1A
  • FIG. 1C is a cross-sectional view taken along line BB in FIG. 1 (d) is a cross-sectional view taken along line CC in FIG. 1 (a)
  • FIG. 1 (e) is a cross-sectional view taken along line DD in FIG. 1 (a).
  • 2A to 2E are cross-sectional views showing a method of manufacturing a semiconductor device according to the first embodiment of the present invention in the order of steps.
  • FIG. 1B is a cross-sectional view taken along line AA in FIG. 1A
  • FIG. 3 is a cross-sectional view showing a configuration of a plasma doping apparatus or a dry etching apparatus used in the method for manufacturing a semiconductor device according to the first and second embodiments of the present invention.
  • FIGS. 4A to 4C are views showing the structure of a semiconductor device according to the second embodiment of the present invention, specifically, a semiconductor device having a fin-type FET.
  • FIG. 1A is a cross-sectional view taken along line BB in FIG. 1A
  • FIG. 4B is a cross-sectional view taken along line CC in FIG. 1A
  • FIG. 4C is a cross-sectional view taken in FIG. It is sectional drawing of the DD line.
  • FIG. 6 shows an As concentration profile (dashed line) in a silicon substrate into which As (arsenic) and O (oxygen) are introduced by plasma doping in the method for manufacturing a semiconductor device according to the second embodiment of the present invention. It is a figure which shows the As concentration profile (solid line) in the silicon substrate after removing the insulator area
  • FIG. 7 is a plan view showing a configuration example of a plasma doping system used in the method for manufacturing a semiconductor device according to the first and second embodiments of the present invention.
  • FIG. 8 is a plan view showing a configuration example of a plasma doping system used in the method for manufacturing a semiconductor device according to the second embodiment of the present invention.
  • FIG. 9 is a plan view showing a configuration example of a plasma doping system used in a method for manufacturing a semiconductor device according to a modification of the second embodiment of the present invention.
  • FIG. 10 is a plan view of a semiconductor device according to a modification of the first embodiment of the present invention.
  • FIGS. 11A to 11D are views showing the structure of a semiconductor device according to another modification of the first embodiment of the present invention, and FIG. FIG. 11B is a cross-sectional view taken along line BB in FIG. 1A, and FIG. 11C is a cross-sectional view taken along line CC in FIG. 1A.
  • FIG. 11 (d) is a cross-sectional view taken along the line DD in FIG. 1 (a).
  • 12 (a) to 12 (d) are diagrams showing the structure of a conventional fin-type FET, FIG. 12 (a) is a plan view, and FIG. 12 (b) is an AA in FIG. 12 (a).
  • 12 (c) is a cross-sectional view taken along the line BB in FIG. 12 (a), and
  • FIG. 12 (d) is a cross-sectional view taken along the line CC in FIG. 12 (a).
  • 13A to 13D are cross-sectional views showing a conventional method for manufacturing a semiconductor device in the order of steps.
  • FIG. 12 (a) to 12 (d) are diagrams showing the structure of a conventional fin-type FET, FIG. 12 (a) is a plan view, and FIG. 12 (b) is an AA in FIG. 12 (a).
  • 12 (c) is a cross-sectional view taken along the line BB in FIG. 12
  • FIG. 14A is a cross-sectional view showing a process of forming the extension region of the fin-type FET in Patent Document 1
  • FIG. 14B shows the step of forming the extension region of the fin-type FET in Non-Patent Document 1. It is sectional drawing which showed the process.
  • FIG. 1A to 1E are views showing the structure of a semiconductor device according to the present embodiment, specifically, a semiconductor device having a fin-type FET.
  • FIG. 1A is a plan view.
  • 1B is a cross-sectional view taken along the line AA in FIG. 1A
  • FIG. 1C is a cross-sectional view taken along the line BB in FIG. 1A
  • FIG. 1A is a cross-sectional view taken along the line CC in FIG. 1A
  • FIG. 1E is a cross-sectional view taken along the line DD in FIG.
  • the fin-type FET of this embodiment includes a support substrate 11 made of, for example, silicon, an insulating layer 12 made of, for example, silicon oxide formed on the support substrate 11, and Fin-type semiconductor regions 13a to 13d made of, for example, silicon formed on the insulating layer 12, and gates formed on the fin-type semiconductor regions 13a to 13d through gate insulating films 14a to 14d made of, for example, silicon oxynitride films
  • Each of the fin-type semiconductor regions 13a to 13d has a width a in the gate width direction of, for example, about 30 nm, a width b in the gate length direction of, for example, about 200 nm, and a height (thickness) c of, for example, about 50 nm.
  • the gate electrode 15 is formed so as to straddle the fin-type semiconductor regions 13a to 13d in the gate width direction.
  • the extension regions 17 are formed on the side portions of the fin-type semiconductor regions 13a to 13d covered with the insulating sidewall spacers 16.
  • the source / drain regions 27 are formed on the sides of the fin-type semiconductor regions 13 a to 13 d outside the insulating sidewall spacer 16. Note that the description and illustration of the pocket area are omitted.
  • a first impurity for example, boron
  • a second impurity for example, oxygen
  • the sheet resistance of the side portions of the fin-type semiconductor regions 13a to 13d is set to be equal to or less than the sheet resistance of the upper portion of the fin-type semiconductor regions 13a to 13d.
  • the second impurity is introduced into the upper portions of the fin-type semiconductor regions 13a to 13d covered with the insulating sidewall spacer 16.
  • the insulator region 37 is formed, and the insulator region 47 is formed in the upper part of the fin type semiconductor regions 13a to 13d outside the insulating sidewall spacer 16 by introducing the second impurity.
  • the first impurity is introduced into the side portions of the fin-type semiconductor regions 13a to 13d covered with the insulating sidewall spacers 16. Impurity regions to be the extension regions 17 are formed, and the first impurity is introduced into the side portions of the fin-type semiconductor regions 13a to 13d outside the insulating sidewall spacer 16 to thereby form the source / drain regions. An impurity region to be 27 is formed.
  • a double gate type FET in which only both sides of the fin type semiconductor regions 13a to 13d function as a channel is configured. That is, as the ratio of the height (height (thickness) c in FIG. 1A) to the width of the fin-type semiconductor regions 13a to 13d (width a in the gate width direction in FIG. 1A) increases, Since sufficient widths of the extension region 17 and the source / drain region 27 can be secured in the gate width direction, desired transistor characteristics can be obtained.
  • a second impurity that does not affect the characteristics of the extension region 17 and the source / drain region 27 may be introduced into the side portions of the fin-type semiconductor regions 13a to 13d.
  • the sheet resistance of the side portions (extension region 17 and source / drain region 27) of the fin type semiconductor regions 13a to 13d is set to the upper portion (insulator regions 37 and 47) of the fin type semiconductor regions 13a to 13d.
  • the sheet resistance is set to be equal to or less than the sheet resistance.
  • the specific resistance or spreading resistance of the side portions (extension region 17 and source / drain region 27) of the fin-type semiconductor regions 13a to 13d is set to the upper portion (insulator region 37) of the fin-type semiconductor regions 13a to 13d.
  • the same effect can be obtained even if the specific resistance or the spreading resistance is set equal to or less than the specific resistance.
  • Rs ⁇ / t
  • the resistivity (specific resistance)
  • t the thickness (junction depth)
  • ⁇ w the spreading resistance
  • the resistivity (specific resistance) ⁇ and the spreading resistance ⁇ W are basically in a one-to-one relationship, it can be expressed as Rs ⁇ w / t.
  • sheet resistance will be mainly used for explanation, but “sheet resistance” may be read as “specific resistance” or “spreading resistance” for the magnitude relationship of resistance.
  • 2A to 2E are cross-sectional views showing a method of manufacturing a semiconductor device according to this embodiment in the order of steps.
  • 2A to 2E correspond to the cross-sectional configuration along the line DD in FIG. 1A.
  • a semiconductor layer made of, for example, silicon and having a thickness of 50 nm is formed on a support substrate 11 made of, for example, silicon and having a thickness of 150 nm, for example, via an insulating layer 12 made of, for example, silicon oxide.
  • An SOI substrate provided with is prepared.
  • the semiconductor layer is patterned to form an n-type fin-type semiconductor region 13b serving as an active region.
  • the fin-type semiconductor region 13b has a width a in the gate width direction of about 30 nm, a width b in the gate length direction of about 200 nm, and a height (thickness) c of about 50 nm, for example. It arrange
  • a gate insulating film 14 made of, for example, a silicon oxynitride film is formed on the surface of the fin-type semiconductor region 13b, and then the entire surface of the support substrate 12 is formed.
  • a polysilicon film 15A having a thickness of 60 nm is formed.
  • the polysilicon film 15A and the gate insulating film 14 are sequentially etched, and the width in the gate length direction, for example, is 60 nm on the fin-type semiconductor region 13b via the gate insulating film 14b.
  • the gate electrode 15 is formed.
  • a first impurity for example, boron
  • a donor level or an acceptor level in the semiconductor is introduced into the upper and side portions of the fin-type semiconductor region 13b by plasma doping.
  • the p-type first impurity region 7a is formed above the fin-type semiconductor region 13b, and the p-type second impurity region 7b is formed on the side of the fin-type semiconductor region 13b.
  • the first impurity region 7a is formed so as to have a larger introduction dose than the second impurity region 7b.
  • the reason for this is as follows (see FIG. 14B showing a conventional example).
  • a first impurity region 107a having an introduced dose determined by balance is formed on the fin-type semiconductor regions 103a to 103d.
  • the introduced dose amount at each side of the fin-type semiconductor regions 103a to 103d is less influenced by the introduced ions 109a and the separated impurities 109c by sputtering, and the second impurity region has an introduced dose amount mainly determined by the adsorbed species 109b.
  • 107b is formed on the sides of the fin-type semiconductor regions 103a to 103d.
  • the introduction dose of the first impurity region 107a is increased by, for example, about 25% as compared with the introduction dose of the second impurity region 107b.
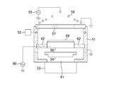
  • the plasma doping process for forming the first and second impurity regions 7a and 7b can be performed using, for example, a plasma doping apparatus shown in FIG.
  • a plasma doping apparatus shown in FIG. 3 while a predetermined gas is introduced from a gas supply device 52 into the vacuum vessel 51, exhaust is performed by a turbo molecular pump 53 as an exhaust device, and the pressure regulating valve 54 is used to evacuate the vacuum vessel 51. Can be maintained at a predetermined pressure.
  • inductively coupled plasma is generated in the vacuum vessel 51 by supplying high frequency power of, for example, 13.56 MHz to the coil 58 provided in the vicinity of the dielectric window 57 facing the sample electrode 56 by the high frequency power supply 55. Can be made.
  • a substrate 59 as a sample is placed on the sample electrode 56.
  • a high frequency power supply 60 for supplying high frequency power to the sample electrode 56 is provided, and the high frequency power supply 50 is configured such that the potential of the sample electrode 56 is such that a substrate 59 as a sample has a negative potential with respect to plasma. It functions as a voltage source for controlling. In this manner, ions in the plasma can be accelerated and collide with the surface of the sample (substrate 59) to make the surface of the sample amorphous or to introduce impurities.
  • the gas supplied from the gas supply device 52 is exhausted from the exhaust port 61 to the turbo molecular pump 53.
  • the turbo molecular pump 53 and the exhaust port 61 are disposed immediately below the sample electrode 56, and the pressure regulating valve 54 is a lift valve positioned directly below the sample electrode 56 and directly above the turbo molecular pump 53.
  • the sample electrode 56 is fixed to the vacuum vessel 51 by four support columns 62 (two of which are shown in the figure).
  • the plasma doping conditions for forming the first and second impurity regions 7a and 7b are, for example, B 2 H 6 (diborane) in which the source gas is diluted with He (helium).
  • the diborane concentration is 0.05 mass%
  • the total flow rate of the source gas is 420 cc / min (standard state)
  • the pressure in the chamber is 0.9 Pa
  • the high-frequency power supplied to the coil is 2000 W
  • the high frequency power supplied to is 135 W
  • the substrate temperature is 20 ° C.
  • a second impurity for example, oxygen
  • a second impurity for insulating the semiconductor is introduced into the upper portion of the fin-type semiconductor region 13b by plasma doping.
  • an insulator region 37 is formed above the fin-type semiconductor region 13b.
  • a second impurity that does not deteriorate the characteristics of the extension region and the source / drain region may be introduced into the side portion of the fin-type semiconductor region 13b.
  • the p-type second impurity region 7b formed in the side portion of the fin-type semiconductor region 13b in the step shown in FIG. 2C is modified to become the p-type second impurity region 17b.
  • the p-type second impurity region 17b becomes an extension region 17 on the side of the fin-type semiconductor region 13b covered with the insulating sidewall spacer 16 (see FIG. 2E) (see FIG. 1C). ).
  • the sheet resistance of the second impurity region 17b constituting the extension region 17 can be made smaller than the sheet resistance of the insulator region 37 above the fin-type semiconductor region 13b. That is, the sheet resistance, specific resistance, or spreading resistance of the second impurity region 17b can be made smaller than the sheet resistance, specific resistance, or spreading resistance of the insulator region 37. Therefore, as the ratio of the height (height (thickness) c in FIG. 1A) to the width of the fin-type semiconductor region 13b (width a in the gate width direction in FIG. 1A) increases, the gate width increases. Since the width of the extension region 17 can be sufficiently secured in the direction, desired transistor characteristics can be obtained.
  • the above-described plasma doping apparatus shown in FIG. 3 can be used for plasma doping of oxygen, which is the second impurity for insulating the semiconductor.
  • the plasma doping conditions at that time are, for example, that the source gas is O 2 (oxygen), the flow rate of the source gas is 50 cc / min (standard state), the pressure in the chamber is 0.5 Pa, The high frequency power supplied is 2000 W, the high frequency power supplied to the sample electrode is 800 W, and the substrate temperature is 20 ° C.
  • oxygen doping is performed by supplying a relatively high high-frequency power to the sample electrode, anisotropic doping occurs, and doping proceeds selectively in a direction perpendicular to the main surface of the substrate. Therefore, the second impurity region 17b on the side of the fin-type semiconductor region 13b is hardly doped with oxygen.
  • the atomic density of oxygen is about the atomic density of silicon (about 5.0 ⁇ 10 22 / cm 3 ) in the formation range of the insulator region 37 (from the substrate top surface to a depth of about several nanometers). Set to about 1 to 2 times.
  • an ashing process is well known as a typical plasma process using oxygen as a reactive species.
  • an isotropic oxidation (ashing) reaction occurs.
  • anisotropic doping can occur.
  • the source gas is a second impurity by using a magnetic field microwave plasma source (see, for example, JP-A-11-219950) as a mixed gas of Ar (argon) and O 2.
  • Oxygen plasma doping may be performed.
  • impurities are ion-implanted into the fin-type semiconductor region 13b using the gate electrode 15 as a mask to form an n-type pocket region.
  • an insulating film having a thickness of, for example, 60 nm is formed over the entire surface of the support substrate 11, the insulating film is etched back using anisotropic dry etching.
  • an insulating sidewall spacer 16 is formed on the side surface of the gate electrode 15.
  • the gate level 15 and the insulating sidewall spacer 16 are used as a mask to set the donor level or the acceptor level in the semiconductor.
  • a first impurity (for example, boron) to be generated is introduced into the upper and side portions of the fin-type semiconductor region 13b by a plasma doping method.
  • the second impurity (for example, oxygen) for insulating the semiconductor is plasma-doped using the gate electrode 15 and the insulating sidewall spacer 16 as a mask.
  • an insulating region 47 is formed on the fin-type semiconductor region 13 b outside the insulating sidewall spacer 16, and the fins outside the insulating sidewall spacer 16 are formed.
  • a p-type impurity region to be the source / drain region 27 is formed on the side of the type semiconductor region 13b.
  • the sheet resistance of the source / drain region 27 can be made smaller than the sheet resistance of the insulator region 47 on the fin-type semiconductor region 13b. That is, the sheet resistance, specific resistance, or spreading resistance of the source / drain region 27 can be made smaller than the sheet resistance, specific resistance, or spreading resistance of the insulator region 47. Therefore, as the ratio of the height (height (thickness) c in FIG. 1A) to the width of the fin-type semiconductor region 13b (width a in the gate width direction in FIG. 1A) increases, the gate width increases. Since a sufficient width of the source / drain region 27 can be ensured in the direction, desired transistor characteristics can be obtained.
  • the features of this embodiment are as follows. That is, when the extension region 17 of the fin-type FET is formed using the plasma doping method, the first impurity (for example, boron) that generates a donor level or an acceptor level in the semiconductor is removed by the plasma doping method. Then, a second impurity (for example, oxygen) for insulating the semiconductor is introduced into the upper portion of the fin-type semiconductor region 13b by a plasma doping method. As a result, the second impurity region 17b (extension region 17) having a smaller sheet resistance, specific resistance, or spreading resistance than the insulating region 37 above the fin-type semiconductor region 13b is provided on the side of the fin-type semiconductor region 13b. A type MISFET can be obtained.
  • the first impurity for example, boron
  • a second impurity for example, oxygen
  • the gate width increases. Since the width of the extension region 17 can be sufficiently secured in the direction, desired transistor characteristics can be obtained.
  • the normal plasma doping method can be used in the step of introducing each of the first impurity and the second impurity when forming the extension region 17, the introduction of each impurity is performed in a very short time (for example, 10 to 120 seconds). As a result, the total processing time can be remarkably shortened as compared with the conventional method.
  • a first impurity for example, boron
  • a second impurity for example, oxygen
  • a fin-type MISFET having a source / drain region 27 having a sheet resistance, specific resistance, or spreading resistance smaller than that of the insulator region 47 on the fin-type semiconductor region 13b on the side of the fin-type semiconductor region 13b can be obtained. It can. Therefore, as the ratio of the height (height (thickness) c in FIG. 1A) to the width of the fin-type semiconductor region 13b (width a in the gate width direction in FIG. 1A) increases, the gate width increases. Since a sufficient width of the source / drain region 27 can be ensured in the direction, desired transistor characteristics can be obtained.
  • the normal plasma doping method can be used in the step of introducing each of the first impurity and the second impurity when forming the source / drain region 27, the introduction of each impurity is performed for a very short time (for example, 10 to 10). 120 seconds), and as a result, the total processing time can be remarkably shortened compared to the conventional case.
  • the p-type extension region 17 and the p-type source / drain region 27, that is, the p-type MISFET are formed by plasma doping the n-type fin-type semiconductor region 13b with p-type impurities. Illustrated. However, instead of this, an n-type extension region and an n-type source / drain region, that is, an n-type MISFET may be formed by doping an n-type impurity into a p-type fin-type semiconductor region.
  • the second impurity plasma doping is performed.
  • the plasma doping of the first impurity may be performed after the plasma doping of the second impurity.
  • the plasma doping of the second impurity may be omitted when the source / drain region 27 is formed.
  • the second impurity may be introduced in advance with a sufficient dose into the upper portion of the fin-type semiconductor region 13b in the plasma doping of the second impurity when the extension region 17 is formed.
  • FIG. 4A is a diagram showing the structure of FIG. 4B is a sectional view taken along line CC in FIG. 1A
  • FIG. 4C is a sectional view taken along line DD in FIG. 1A. It is sectional drawing.
  • the cross-sectional configuration along the line AA in FIG. 1A is the same as the cross-sectional configuration of the semiconductor device of the first embodiment shown in FIG.
  • the fin-type FET of this embodiment is formed on a support substrate 11 made of, for example, silicon, and the support substrate 11.
  • a support substrate 11 made of, for example, silicon
  • an insulating layer 12 made of silicon oxide
  • fin-type semiconductor regions 13a to 13d formed on the insulating layer 12
  • gate insulating films 14a to 14d made of, for example, silicon oxynitride films are formed on the fin-type semiconductor regions 13a to 13d.
  • Each of the fin-type semiconductor regions 13a to 13d has a width a in the gate width direction of, for example, about 30 nm, a width b in the gate length direction of, for example, about 200 nm, and a height (thickness) c of, for example, about 50 nm.
  • the insulating layer 12 it arrange
  • the gate electrode 15 is formed so as to straddle the fin-type semiconductor regions 13a to 13d in the gate width direction.
  • the extension region 17 includes a first impurity region 17a formed above each of the fin-type semiconductor regions 13a to 13d and a second impurity region 17b formed on each side of the fin-type semiconductor regions 13a to 13d. It consists of and.
  • the source / drain region 27 is a third impurity region 27a formed above each of the fin-type semiconductor regions 13a to 13d and a fourth impurity region formed on each side of the fin-type semiconductor regions 13a to 13d. Impurity region 27b. Note that the description and illustration of the pocket area are omitted.
  • a triple gate FET is configured in which the upper and both sides of the fin type semiconductor regions 13a to 13d function as channels.
  • the features of this embodiment are as follows. That is, the implantation dose amount of the second impurity region 17b formed on the side of the fin-type semiconductor region is set to be equal to or greater than the implantation dose amount of the first impurity region 17a formed above the fin-type semiconductor region. Has been. Accordingly, the sheet resistance of the second impurity region 17b constituting the extension region 17 can be set to be equal to or lower than the sheet resistance of the first impurity region 17a. Even if the ratio of the width of the second impurity region 17b formed on the side of the semiconductor region increases, desired transistor characteristics can be obtained.
  • the implantation dose amount of the fourth impurity region 27b formed on the side of the fin type semiconductor region is equal to or greater than the implantation dose amount of the third impurity region 27a formed above the fin type semiconductor region. Is set.
  • the sheet resistance of the fourth impurity region 27b constituting the source / drain region 27 can be set to be equal to or lower than the sheet resistance of the third impurity region 27a. Even if the proportion of the width of the fourth impurity region 27b formed on the side of the fin-type semiconductor region in the width increases, desired transistor characteristics can be obtained.
  • the sheet resistance of the second impurity region 17b (fourth impurity region 27b) is set equal to or less than the sheet resistance of the first impurity region 17a (third impurity region 27a).
  • the specific resistance or spreading resistance of the second impurity region 17b (fourth impurity region 27b) is set equal to or less than the specific resistance or spreading resistance of the first impurity region 17a (third impurity region 27a).
  • Rs ⁇ / t, where Rs is the sheet resistance of the object, ⁇ is the resistivity (specific resistance), t is the thickness (junction depth), and ⁇ w is the spreading resistance.
  • the resistivity (specific resistance) ⁇ and the spreading resistance ⁇ w are basically in a one-to-one relationship, it can be expressed as Rs ⁇ w / t.
  • sheet resistance will be mainly used for explanation, but “sheet resistance” may be read as “specific resistance” or “spreading resistance” for the magnitude relationship of resistance.
  • the implantation dose amount of the second impurity region 17b formed on the side of the fin type semiconductor region is 80, which is the implantation dose amount of the first impurity region 17a formed above the fin type semiconductor region. If it is about% (more preferably 90%) or more, the transistor characteristics can be remarkably improved as compared with the prior art.
  • the implantation dose amount of the fourth impurity region 27b formed on the side of the fin type semiconductor region is 80% (more preferably) of the implantation dose amount of the third impurity region 27a formed above the fin type semiconductor region. 90%) or more, the transistor characteristics can be remarkably improved as compared with the prior art.
  • the second impurity region Even if “the height of the side surface of the fin-type semiconductor region” / “the width of the upper surface of the fin-type semiconductor region in the gate width direction” (hereinafter referred to as the aspect ratio) is small, the second impurity region Even if the implantation dose of 17b is somewhat smaller than the implantation dose of the first impurity region 17a, that is, the sheet resistance, specific resistance, or spreading resistance of the second impurity region 17b is the sheet of the first impurity region 17a. Even if the resistance, specific resistance, or spreading resistance is large to some extent (for example, about 10% or less), the transistor characteristics are hardly deteriorated.
  • the implantation dose of the second impurity region 17b it is necessary to make the implantation dose of the second impurity region 17b equal to or greater than the implantation dose of the first impurity region 17a, that is, the second impurity region 17b.
  • the necessity of making the sheet resistance, specific resistance, or spreading resistance equal to or less than the sheet resistance, specific resistance, or spreading resistance of the first impurity region 17a increases.
  • the aspect ratio is small, even if the implantation dose of the fourth impurity region 27b is somewhat smaller than the implantation dose of the third impurity region 27a, that is, the sheet resistance of the fourth impurity region 27b, Even if the specific resistance or spreading resistance is larger to some extent (for example, about 10% or less) than the sheet resistance, specific resistance, or spreading resistance of the third impurity region 27a, the deterioration of the transistor characteristics is small.
  • the implantation dose of the fourth impurity region 27b needs to be equal to or greater than the implantation dose of the third impurity region 27a, that is, the sheet of the fourth impurity region 27b. The necessity of making the resistance, specific resistance, or spreading resistance equal to or less than the sheet resistance, specific resistance, or spreading resistance of the third impurity region 27a increases.
  • FIGS. 5A to 5G are cross-sectional views showing the method of manufacturing the semiconductor device according to this embodiment in the order of steps. 5 (a) to 5 (g) correspond to the cross-sectional configuration along the line DD in FIG. 1 (a).
  • a semiconductor layer having a thickness of 50 nm made of, for example, silicon is provided on a support substrate 11 made of, for example, silicon and having a thickness of 150 nm, for example, via an insulating layer 12 made of, for example, silicon oxide.
  • An SOI substrate provided with is prepared.
  • the semiconductor layer is patterned to form a p-type fin-type semiconductor region 13b serving as an active region.
  • the fin-type semiconductor region 13b has a width a in the gate width direction of about 30 nm, a width b in the gate length direction of about 200 nm, and a height (thickness) c of about 50 nm, for example. It arrange
  • a gate insulating film 14 made of, for example, a silicon oxynitride film is formed on the surface of the fin-type semiconductor region 13b, and then the entire surface of the support substrate 12 is formed.
  • a polysilicon film 15A having a thickness of 60 nm is formed.
  • the polysilicon film 15A and the gate insulating film 14 are sequentially etched, and the width in the gate length direction, for example, is 60 nm on the fin-type semiconductor region 13b via the gate insulating film 14b.
  • the gate electrode 15 is formed.
  • a first impurity for example, arsenic
  • a first impurity for example, arsenic
  • arsenic that generates a donor level or an acceptor level in the semiconductor
  • the n-type first impurity region 7a is formed above the fin-type semiconductor region 13b
  • the n-type second impurity region 7b is formed on the side of the fin-type semiconductor region 13b.
  • the first impurity region 7a is formed so as to have a larger introduction dose than the second impurity region 7b.
  • the reason for this is as follows (see FIG. 14B showing a conventional example).
  • a first impurity region 107a having an introduced dose determined by balance is formed on the fin-type semiconductor regions 103a to 103d.
  • the introduced dose amount at each side of the fin-type semiconductor regions 103a to 103d is less influenced by the introduced ions 109a and the separated impurities 109c by sputtering, and the second impurity region has an introduced dose amount mainly determined by the adsorbed species 109b.
  • 107b is formed on the sides of the fin-type semiconductor regions 103a to 103d.
  • the introduction dose of the first impurity region 107a is increased by, for example, about 25% as compared with the introduction dose of the second impurity region 107b.
  • the plasma doping process for forming the first and second impurity regions 7a and 7b can be performed using, for example, a plasma doping apparatus shown in FIG.
  • the plasma doping conditions are, for example, AsH 4 (arsine) diluted with He (helium), the arsine concentration in the source gas is 0.3 mass%, and the total flow rate of the source gas is 300 cc / min (standard state), chamber pressure is 0.9 Pa, high-frequency power supplied to the coil is 2000 W, high-frequency power supplied to the sample electrode is 200 W, and the substrate temperature is 20 ° C. .
  • a second impurity for example, oxygen
  • a second impurity for example, oxygen
  • an insulator region 37 is formed on the surface of the first impurity region 7a formed above the fin-type semiconductor region 13b, and below the insulator region 37.
  • the n-type first impurity region 17a (the remainder of the first impurity region 7a) remains on the side.
  • the first impurity region 17a may contain a second impurity that does not deteriorate the characteristics of the extension region and the source / drain region.
  • a second impurity that does not deteriorate the characteristics of the extension region and the source / drain region may be introduced into the side portion of the fin-type semiconductor region 13b.
  • the n-type second impurity region 7b formed in the side portion of the fin-type semiconductor region 13b in the step shown in FIG. 5C is modified to become the n-type second impurity region 17b.
  • the first impurity region 17a and the second impurity region 17b become the extension region 17 in the fin-type semiconductor region 13b covered with the insulating sidewall spacer 16 (see FIG. 5F) (FIG. 4 ( a)).
  • the high impurity concentration introduction portion of the first impurity in the first impurity region 7a becomes the insulator region 37, and the remaining first impurity region 7a becomes the first impurity region 17a.
  • the sheet resistance of the second impurity region 17b on the side of the region 13b can be made smaller than the sheet resistance of the first impurity region 17a above the fin-type semiconductor region 13b. That is, the sheet resistance, specific resistance, or spreading resistance of the second impurity region 17b can be made smaller than the sheet resistance, specific resistance, or spreading resistance of the first impurity region 17a. Therefore, as the ratio of the height (height (thickness) c in FIG. 1A) to the width of the fin-type semiconductor region 13b (width a in the gate width direction in FIG. 1A) increases, the gate width increases. Since the width of the extension region 17 can be sufficiently secured in the direction, desired transistor characteristics can be obtained.
  • the above-described plasma doping apparatus shown in FIG. 3 can be used for plasma doping of oxygen, which is the second impurity for insulating the semiconductor.
  • the plasma doping conditions at that time are, for example, that the source gas is O 2 (oxygen), the flow rate of the source gas is 50 cc / min (standard state), the pressure in the chamber is 0.5 Pa, The high frequency power supplied is 2000 W, the high frequency power supplied to the sample electrode is 800 W, and the substrate temperature is 20 ° C.
  • oxygen doping is performed by supplying a relatively high high-frequency power to the sample electrode, anisotropic doping occurs, and doping proceeds selectively in a direction perpendicular to the main surface of the substrate. Therefore, the second impurity region 17b on the side of the fin-type semiconductor region 13b is hardly doped with oxygen.
  • the atomic density of oxygen is about the atomic density of silicon (about 5.0 ⁇ 10 22 / cm 3 ) in the formation range of the insulator region 37 (from the substrate top surface to a depth of about several nanometers). Set to about 1 to 2 times.
  • an ashing process is well known as a typical plasma process using oxygen as a reactive species.
  • an isotropic oxidation (ashing) reaction occurs.
  • anisotropic doping can occur.
  • the source gas is a second impurity by using a magnetic field microwave plasma source (see, for example, JP-A-11-219950) as a mixed gas of Ar (argon) and O 2.
  • Oxygen plasma doping may be performed.
  • the insulator region 37 formed on the fin-type semiconductor region 13b is removed.
  • a method for removing the insulator region 37 for example, dry etching using plasma made of a mixed gas of Ar and CF 4 can be used.
  • the exposed surface of the insulating layer 12 made of silicon oxide is also etched, though only slightly.
  • a dry etching apparatus having the same configuration as the plasma doping apparatus shown in FIG. 3 can be used.
  • the dry etching conditions in that case are, for example, CF 4 (tetrafluoromethane) diluted with Ar (argon) as the source gas, the tetrafluoromethane concentration in the source gas is 5 mass%, and the source gas
  • the total flow rate is 200 cc / min (standard state)
  • the pressure in the chamber is 1.3 Pa
  • the high frequency power supplied to the coil is 1500 W
  • the high frequency power supplied to the sample electrode is 100 W
  • the substrate temperature is 20 ° C.
  • impurities are ion-implanted into the fin-type semiconductor region 13b using the gate electrode 15 as a mask to form an n-type pocket region.
  • An n-type extension region 17 is constituted by the second impurity region 17b.
  • the first impurity region 7a formed in the step shown in FIG. 5C includes an upper insulator region 37 and a lower first impurity region 17a in the step shown in FIG.
  • the insulator region 37 is removed in the step shown in FIG.
  • the region doped with As at a high concentration in the first impurity region 7a formed in the step shown in FIG. 5C is selectively removed, so that the step shown in FIG.
  • the sheet resistance of the second impurity region 17b constituting the extension region 17 can be set equal to or less than the sheet resistance of the first impurity region 17a. That is, the sheet resistance, specific resistance, or spreading resistance of the second impurity region 17b can be set equal to or less than the sheet resistance, specific resistance, or spreading resistance of the first impurity region 17a. Therefore, even if the ratio of the width of the second impurity region 17b formed on the side of the fin-type semiconductor region 13b in the width of the extension region 17 in the gate width direction increases, desired transistor characteristics can be obtained.
  • an insulating sidewall spacer 16 is formed on the side surface of the gate electrode 15.
  • the gate level 15 and the insulating sidewall spacer 16 are used as a mask to set the donor level or the acceptor level in the semiconductor.
  • the generated first impurity for example, arsenic
  • the second impurity for example, oxygen
  • the semiconductor is plasma-doped using the gate electrode 15 and the insulating sidewall spacer 16 as a mask.
  • an n-type third impurity region 27a is formed on the fin-type semiconductor region 13b outside the insulating sidewall spacer 16, and its surface portion is made of an insulator. The region 47 is reformed.
  • An n-type fourth impurity region 27b is formed on the side of the fin-type semiconductor region 13b outside the insulating sidewall spacer 16.
  • the third impurity region 27 a and the fourth impurity region 27 b constitute a source / drain region 27.
  • the third and fourth impurity regions 27a and 27b may contain a second impurity that does not deteriorate the characteristics of the source / drain region 27.
  • the insulator region 47 formed on the fin-type semiconductor region 13b is removed.
  • a method for removing the insulator region 47 for example, dry etching using plasma made of a mixed gas of Ar and CF 4 can be used.
  • the exposed surface of the insulating layer 12 made of silicon oxide is also etched, though only slightly.
  • An n-type source / drain region 27 is formed from the fourth impurity region 27b.
  • the third impurity region 27a is formed in the step shown in FIG. 5F and the surface portion thereof is modified to the insulator region 47, and the insulator region 47 is changed in the step shown in FIG. Is removed.
  • the region doped with As at a high concentration is selectively removed from the third impurity region 27a formed in the step shown in FIG. 5F, so that the step shown in FIG.
  • the sheet resistance of the fourth impurity region 27b constituting the source / drain region 27 can be set equal to or lower than the sheet resistance of the third impurity region 37a. That is, the sheet resistance, specific resistance, or spreading resistance of the fourth impurity region 27b can be set equal to or less than the sheet resistance, specific resistance, or spreading resistance of the third impurity region 27a. Therefore, even if the ratio of the width of the fourth impurity region 27b formed on the side of the fin-type semiconductor region 13b to the width of the source / drain region 27 in the gate width direction becomes large, desired transistor characteristics can be obtained. Can do.
  • the features of this embodiment are as follows. That is, when the extension region 17 of the fin-type FET is formed by using the plasma doping method, the first impurity (for example, arsenic) that generates a donor level or an acceptor level in the semiconductor is removed by the plasma doping method. Then, a second impurity (for example, oxygen) for insulating the semiconductor is introduced into the upper portion of the fin-type semiconductor region 13b by a plasma doping method. Thus, after the surface portion of the first impurity region 17a formed above the fin-type semiconductor region 13b is modified to the insulator region 37, the insulator region 37 is removed.
  • the first impurity for example, arsenic
  • a second impurity for example, oxygen
  • a fin-type MISFET (a triple-gate FET in which the upper and both sides of the fin-type semiconductor region 13b function as a channel) having the extension region 17 can be obtained. Therefore, as the ratio of the height (height (thickness) c in FIG. 1A) to the width of the fin-type semiconductor region 13b (width a in the gate width direction in FIG. 1A) increases, the gate width increases. Since the width of the extension region 17 can be sufficiently secured in the direction, desired transistor characteristics can be obtained.
  • the normal plasma doping method can be used in the step of introducing each of the first impurity and the second impurity when forming the extension region 17, the introduction of each impurity is performed in a very short time (for example, 10 to 120 seconds). Degree). Further, since the process of removing the insulator region 37 is a normal etching process, it can be completed in a very short time (for example, about 5 to 30 seconds). Therefore, the total processing time can be remarkably shortened compared with the conventional case.
  • a first impurity for example, arsenic
  • a second impurity for example, oxygen
  • a fin-type MISFET a triple-gate FET in which the upper and both sides of the fin-type semiconductor region 13b function as a channel
  • the gate width increases. Since a sufficient width of the source / drain region 27 can be ensured in the direction, desired transistor characteristics can be obtained.
  • the normal plasma doping method can be used in the step of introducing each of the first impurity and the second impurity when forming the source / drain region 27, the introduction of each impurity is performed for a very short time (for example, 10 to 10). It can be completed in about 120 seconds). Further, since the process of removing the insulator region 47 is a normal etching process, it can be completed in a very short time (for example, about 5 to 30 seconds). Therefore, the total processing time can be remarkably shortened compared with the conventional case.
  • the n-type extension region 17 and the n-type source / drain region 27, that is, the n-type MISFET are formed by plasma-doping the n-type impurity in the p-type fin-type semiconductor region 13b.
  • a p-type extension region and a p-type source / drain region, that is, a p-type MISFET may be formed by doping a p-type impurity in an n-type fin semiconductor region.
  • the second impurity plasma doping is performed.
  • the plasma doping of the first impurity may be performed after the plasma doping of the second impurity.
  • plasma doping of the second impurity (that is, formation of the insulator region 47) may be omitted. In this case, it goes without saying that the step of removing the insulator region 47 is also unnecessary.
  • a case where dry etching using plasma composed of mixed cass of Ar and CF 4 is used is illustrated.
  • anisotropic etching using dry etching (sputter etching) with plasma made of a rare gas such as Ar may be performed.
  • the insulating regions 37 and 47 may be removed by wet etching, for example, by immersing the support substrate 11 in a hydrofluoric acid solution.
  • the second impurity (oxygen) that makes the semiconductor an insulator is not introduced into the second and fourth impurity regions 17b and 27b. Etching for the fourth impurity regions 17b and 27b does not proceed.
  • FIG. 6 shows an As concentration profile (one-dot chain line) in a silicon substrate into which As (arsenic) and O (oxygen) are introduced by plasma doping, respectively, and an insulator region formed by introducing O (oxygen).
  • 2 shows an As concentration profile (solid line) in a silicon substrate.
  • the depth of 0 nm on the horizontal axis corresponds to the surface of the silicon substrate after the insulator region is removed. That is, FIG. 6 shows a case where an insulating region having a thickness of 6 nm is formed, but it goes without saying that this is merely an example.
  • the insulating region is removed by wet etching, and the As concentration is measured by SIMS (Secondary Ion Mass Spectrometry).
  • As is introduced at a high concentration in a portion from the outermost surface of the silicon substrate (corresponding to a depth of the horizontal axis of ⁇ 6 nm) to a depth of about 6 nm.
  • As introduction dose is greatly reduced in the surface portion of the silicon substrate after wet etching.
  • B 2 H 6 diluted with He or He diluted as a source gas in the plasma doping of the first impurity that generates a donor level or an acceptor level in the semiconductor is not limited to this, and a mixed gas obtained by diluting a source gas containing the impurity (hereinafter referred to as an impurity source gas) with a rare gas can be used.
  • an impurity source gas a mixed gas obtained by diluting a source gas containing the impurity
  • B x H y , As x H y or P x H y (x and y are natural numbers) can be used as the impurity source gas.
  • these gases have the advantage that they contain only H, which has little influence even if mixed into the substrate as an impurity.
  • other gas containing B for example, BF 3 , BCl 3 , BBr 3, etc. can also be used, and other gas containing P, for example, PF 3 , PF 5 , PCl 3 , PCl 5 , POCl 3 or the like can also be used.
  • He, Ne, Ar, Kr, Xe, or the like can be used as a rare gas for dilution, but He is most suitable. The main reason for this is low sputterability.
  • the next preferred noble gas after He is Ne. Ne has the disadvantage that it has a slightly higher sputtering rate than He, but has the advantage of being easy to discharge at a low pressure.
  • the mass concentration of B 2 H 6 is preferably 0.01% or more and 1% or less. In this way, boron can be easily introduced into the fin-type semiconductor region. Conversely, when the B 2 H 6 gas concentration is less than 0.01%, it becomes difficult to introduce a sufficient amount of boron, and when the B 2 H 6 gas concentration is greater than 1%, the substrate Deposits containing boron are likely to adhere to the surface. It goes without saying that plasma doping may be performed using a solid impurity source without using the impurity source gas.
  • the method of introducing the second impurity for insulating the semiconductor into the upper portion of the fin-type semiconductor region by the plasma doping method is exemplified, but instead of this, the second impurity May be introduced into the upper portion of the fin-type semiconductor region by ion implantation.
  • the ion implantation method is used, processing with stronger anisotropy than the plasma doping method is possible, so that only the upper part of the fin type semiconductor region is insulated without making the side part of the fin type semiconductor region insulating. It becomes possible to materialize.
  • the case where oxygen is used as the second impurity for insulating the semiconductor is illustrated, but nitrogen may be used instead.
  • Silicon nitride obtained by introducing nitrogen into silicon is an insulator, similar to silicon oxide, and can be selectively removed by anisotropic dry etching and, for example, silicon in wet etching with a hydrofluoric acid solution. Similar to oxides, it has a high etching selectivity to silicon.
  • the second impurity is not limited to oxygen or nitrogen, but if the second impurity is oxygen or nitrogen, the introduction of the second impurity is performed using inexpensive and safe oxygen gas or nitrogen gas. This is advantageous in terms of cost and process.
  • the first impurity that generates a donor level or an acceptor level in the semiconductor is introduced into the upper and side portions of the fin-type semiconductor region, and then the second impurity that makes the semiconductor an insulator is added.
  • the method of introducing the upper part of the fin-type semiconductor region to form an insulator region and then removing the insulator region is illustrated.
  • the first impurity is introduced without introducing the second impurity.
  • the upper portion may be removed using an anisotropic removal reaction such as dry etching.
  • the sheet resistance, specific resistance, or spreading resistance of the impurity region formed on the side of the fin type semiconductor region is the sheet resistance, specific resistance, or spreading resistance of the impurity region formed on the fin type semiconductor region (after the removal process).
  • the semiconductor is insulated from the plasma doping apparatus (first plasma doping apparatus) used for plasma doping of the first impurity that generates a donor level or an acceptor level in the semiconductor.
  • the plasma doping apparatus (second plasma doping apparatus) used for plasma doping of the second impurity to be materialized may have the same configuration as the plasma doping apparatus shown in FIG.
  • the vacuum chambers (vacuum containers) as the entities of the plasma doping apparatus and the second plasma doping apparatus should be different. The reason is that it is possible to avoid a possibility that a reaction product generated when an organic substance (resist or the like) on the substrate is etched by oxygen plasma remains in the vacuum vessel and causes undesirable contamination.
  • Such a configuration can be realized by, for example, a plasma doping system shown in FIG.
  • the substrate put into the vacuum container 71a of the load lock chamber 71 is transferred to the transfer chamber 72 by the transfer arm 72a, and then transferred to the vacuum container 73a of the first plasma doping apparatus 73.
  • a first impurity that generates a donor level or an acceptor level in the semiconductor is introduced into the substrate.
  • the substrate is transferred again to the transfer chamber 72 by the transfer arm 72a, and then transferred to the vacuum vessel 74a of the second plasma doping apparatus 74, and a second impurity for insulating the semiconductor is introduced into the substrate.
  • the substrate is transferred again to the transfer chamber 72 by the transfer arm 72a, and then transferred to the vacuum container 71a of the load lock chamber 71 and taken out.
  • the vacuum chamber (vacuum container) as the substance of the dry etching apparatus should be different from the vacuum container as the substance of the first and second plasma doping apparatuses.
  • the reason is that reaction products generated when organic substances (resist, etc.) on the substrate are etched by etching plasma, and halogen elements such as fluorine remain in the vacuum vessel, which may cause undesirable contamination. This is because it can be avoided.
  • Such a configuration can be realized by, for example, a plasma doping system shown in FIG. As shown in FIG. 8, the substrate put into the vacuum container 71a of the load lock chamber 71 is transferred to the transfer chamber 72 by the transfer arm 72a, and then transferred to the vacuum container 73a of the first plasma doping apparatus 73.
  • a first impurity that generates a donor level or an acceptor level in the semiconductor is introduced into the substrate.
  • the substrate is transferred again to the transfer chamber 72 by the transfer arm 72a, and then transferred to the vacuum vessel 74a of the second plasma doping apparatus 74, and a second impurity for insulating the semiconductor is introduced into the substrate.
  • the substrate is transferred again to the transfer chamber 72 by the transfer arm 72a, and then transferred to the vacuum vessel 75a of the dry etching apparatus 75, and the insulating region formed on the upper portion of the fin type semiconductor region is removed by the dry etching process.
  • the substrate is again transferred to the transfer chamber 72 by the transfer arm 72a, and then transferred to the vacuum container 71a of the load lock chamber 71 and taken out.
  • the second impurity for introducing the semiconductor into the insulator is used. It goes without saying that an ion implantation apparatus to be used may be provided.
  • the first impurity that generates a donor level or an acceptor level in the semiconductor is introduced into the upper and side portions of the fin-type semiconductor region, and then the second impurity that makes the semiconductor an insulator is added.
  • the upper part of the fin type semiconductor region into which the first impurity has been introduced is removed using an anisotropic removal reaction such as dry etching without being introduced into the upper part of the fin type semiconductor region, for example, FIG.
  • the use of the plasma doping system shown in FIG. 9 is preferred. As shown in FIG. 9, the substrate put into the vacuum container 71a of the load lock chamber 71 is transferred to the transfer chamber 72 by the transfer arm 72a, and then transferred to the vacuum container 73a of the first plasma doping apparatus 73.
  • a first impurity that generates a donor level or an acceptor level in the semiconductor is introduced into the substrate. Thereafter, the substrate is transferred again to the transfer chamber 72 by the transfer arm 72a, and then transferred to the vacuum vessel 75a of the dry etching apparatus 75, and the insulating region formed on the upper portion of the fin type semiconductor region is removed by the dry etching process. The Thereafter, the substrate is transferred again to the transfer chamber 72 by the transfer arm 72a, and then transferred to the vacuum container 71a of the load lock chamber 71 and taken out.
  • FIG. 10 is a plan view of a semiconductor device according to a modification of the first embodiment of the present invention, specifically, a semiconductor device having a fin-type FET.
  • the same components as those of the first embodiment shown in FIGS. 1A to 1E are denoted by the same reference numerals, and redundant description is omitted.
  • this modified example is different from the first embodiment shown in FIGS. 1A to 1E in that both end portions in the gate length direction of each of the fin-type semiconductor regions 13a to 13d. Is connected by other fin type semiconductor regions 13e and 13f.
  • the same effect as that of the first embodiment can be obtained, and one fin-type FET can be configured by the fin-type semiconductor regions 13a to 13f. It goes without saying that similar modifications are possible for the second embodiment.
  • FIGS. 11A to 11D are diagrams showing the structure of a semiconductor device according to another modification of the first embodiment of the present invention, specifically, a semiconductor device having a fin-type FET.
  • the planar structure of the present modification is the same as the planar structure of the first embodiment shown in FIG. 11A is a cross-sectional view taken along line AA in FIG. 1A
  • FIG. 11B is a cross-sectional view taken along line BB in FIG. 1A
  • FIG. FIG. 11A is a cross-sectional view taken along a line CC in FIG. 1A
  • FIG. 11D is a cross-sectional view taken along a line DD in FIG.
  • the present modification is different from the first embodiment shown in FIGS. 1A to 1E as follows. That is, in the first embodiment, the gate insulating films 14a to 14d having a thickness of 3 nm made of, for example, a silicon oxynitride film are formed on the upper and side surfaces of the fin-type semiconductor regions 13a to 13d. On the other hand, in this modification, the gate insulating films 14a to 14d are formed only on the side surfaces of the fin type semiconductor regions 13a to 13d, and a silicon oxide film is formed on the upper surfaces of the fin type semiconductor regions 13a to 13d. Insulating films 24a to 24d having a thickness of 20 nm are formed.
  • a double gate FET is configured by using only both sides of the fin type semiconductor regions 13a to 13d as channel regions. Even in such a configuration, if the aspect ratio (“the height of the side surface of the fin-type semiconductor region” / “the width of the upper surface of the fin-type semiconductor region in the gate width direction”) is large, the same as in the first embodiment An effect is obtained.
  • the present invention relates to a semiconductor device, a manufacturing method thereof, and a plasma doping system, and is particularly useful for obtaining desired characteristics in a semiconductor device having a three-dimensional structure having a fin-type semiconductor region on a substrate.

Landscapes

  • Engineering & Computer Science (AREA)
  • Physics & Mathematics (AREA)
  • Plasma & Fusion (AREA)
  • Condensed Matter Physics & Semiconductors (AREA)
  • General Physics & Mathematics (AREA)
  • Manufacturing & Machinery (AREA)
  • Computer Hardware Design (AREA)
  • Microelectronics & Electronic Packaging (AREA)
  • Power Engineering (AREA)
  • Thin Film Transistor (AREA)
  • Insulated Gate Type Field-Effect Transistor (AREA)
PCT/JP2010/000285 2009-02-12 2010-01-20 半導体装置、その製造方法及びプラズマドーピングシステム Ceased WO2010092748A1 (ja)

Priority Applications (1)

Application Number Priority Date Filing Date Title
US12/866,649 US8324685B2 (en) 2009-02-12 2010-01-20 Semiconductor device having a fin-type semiconductor region

Applications Claiming Priority (2)

Application Number Priority Date Filing Date Title
JP2009-029564 2009-02-12
JP2009029564A JP5457045B2 (ja) 2009-02-12 2009-02-12 半導体装置及びその製造方法

Publications (1)

Publication Number Publication Date
WO2010092748A1 true WO2010092748A1 (ja) 2010-08-19

Family

ID=42561597

Family Applications (1)

Application Number Title Priority Date Filing Date
PCT/JP2010/000285 Ceased WO2010092748A1 (ja) 2009-02-12 2010-01-20 半導体装置、その製造方法及びプラズマドーピングシステム

Country Status (3)

Country Link
US (1) US8324685B2 (enExample)
JP (1) JP5457045B2 (enExample)
WO (1) WO2010092748A1 (enExample)

Cited By (2)

* Cited by examiner, † Cited by third party
Publication number Priority date Publication date Assignee Title
WO2011080857A1 (ja) * 2009-12-28 2011-07-07 パナソニック株式会社 半導体装置の製造方法及びプラズマドーピング装置
US8324685B2 (en) 2009-02-12 2012-12-04 Panasonic Corporation Semiconductor device having a fin-type semiconductor region

Families Citing this family (6)

* Cited by examiner, † Cited by third party
Publication number Priority date Publication date Assignee Title
JP2011129678A (ja) * 2009-12-17 2011-06-30 Panasonic Corp 半導体装置及びその製造方法
US8637359B2 (en) * 2011-06-10 2014-01-28 International Business Machines Corporation Fin-last replacement metal gate FinFET process
JP6537341B2 (ja) 2014-05-07 2019-07-03 株式会社半導体エネルギー研究所 半導体装置
CN105633152B (zh) 2014-11-05 2019-12-10 联华电子股份有限公司 半导体结构及其制作方法
KR102427596B1 (ko) * 2015-09-03 2022-07-29 삼성전자주식회사 반도체 장치 및 이의 제조 방법
US10629494B2 (en) * 2017-06-26 2020-04-21 Taiwan Semiconductor Manufacturing Company, Ltd. Semiconductor device and method

Citations (2)

* Cited by examiner, † Cited by third party
Publication number Priority date Publication date Assignee Title
JPH06260436A (ja) * 1992-12-04 1994-09-16 Semiconductor Energy Lab Co Ltd 半導体装置の作製方法及び半導体処理装置
JP2008053725A (ja) * 2006-08-23 2008-03-06 Interuniv Micro Electronica Centrum Vzw フィンベース半導体デバイスのドーピング方法

Family Cites Families (18)

* Cited by examiner, † Cited by third party
Publication number Priority date Publication date Assignee Title
JPH0758695B2 (ja) 1987-05-28 1995-06-21 松下電器産業株式会社 プラズマドーピング方法
US4912065A (en) * 1987-05-28 1990-03-27 Matsushita Electric Industrial Co., Ltd. Plasma doping method
KR930003857B1 (ko) * 1987-08-05 1993-05-14 마쯔시다덴기산교 가부시기가이샤 플라즈마 도우핑방법
JP3134910B2 (ja) * 1993-09-07 2001-02-13 株式会社半導体エネルギー研究所 半導体装置の作製方法および液晶ディスプレイ用集積回路の作製方法
US6855990B2 (en) * 2002-11-26 2005-02-15 Taiwan Semiconductor Manufacturing Co., Ltd Strained-channel multiple-gate transistor
US20040235281A1 (en) 2003-04-25 2004-11-25 Downey Daniel F. Apparatus and methods for junction formation using optical illumination
JP4979234B2 (ja) 2003-10-09 2012-07-18 パナソニック株式会社 接合の形成方法およびこれを用いて形成された被処理物
WO2006064772A1 (ja) 2004-12-13 2006-06-22 Matsushita Electric Industrial Co., Ltd. プラズマドーピング方法
JP2006196821A (ja) 2005-01-17 2006-07-27 Fujitsu Ltd 半導体装置とその製造方法
US7282766B2 (en) * 2005-01-17 2007-10-16 Fujitsu Limited Fin-type semiconductor device with low contact resistance
JP4866918B2 (ja) * 2007-01-22 2012-02-01 パナソニック株式会社 半導体装置
US8063437B2 (en) * 2007-07-27 2011-11-22 Panasonic Corporation Semiconductor device and method for producing the same
US8004045B2 (en) * 2007-07-27 2011-08-23 Panasonic Corporation Semiconductor device and method for producing the same
WO2009016778A1 (ja) 2007-07-27 2009-02-05 Panasonic Corporation 半導体装置及びその製造方法
JP2010050188A (ja) * 2008-08-20 2010-03-04 Panasonic Corp プラズマドーピング装置
JP5457045B2 (ja) 2009-02-12 2014-04-02 パナソニック株式会社 半導体装置及びその製造方法
JP4598886B1 (ja) 2009-07-27 2010-12-15 パナソニック株式会社 半導体装置の製造方法及びプラズマドーピング装置
WO2011013271A1 (ja) * 2009-07-27 2011-02-03 パナソニック株式会社 半導体装置の製造方法及びプラズマドーピング装置

Patent Citations (2)

* Cited by examiner, † Cited by third party
Publication number Priority date Publication date Assignee Title
JPH06260436A (ja) * 1992-12-04 1994-09-16 Semiconductor Energy Lab Co Ltd 半導体装置の作製方法及び半導体処理装置
JP2008053725A (ja) * 2006-08-23 2008-03-06 Interuniv Micro Electronica Centrum Vzw フィンベース半導体デバイスのドーピング方法

Cited By (3)

* Cited by examiner, † Cited by third party
Publication number Priority date Publication date Assignee Title
US8324685B2 (en) 2009-02-12 2012-12-04 Panasonic Corporation Semiconductor device having a fin-type semiconductor region
WO2011080857A1 (ja) * 2009-12-28 2011-07-07 パナソニック株式会社 半導体装置の製造方法及びプラズマドーピング装置
US8574972B2 (en) 2009-12-28 2013-11-05 Panasonic Corporation Method for fabricating semiconductor device and plasma doping apparatus

Also Published As

Publication number Publication date
US8324685B2 (en) 2012-12-04
US20110049628A1 (en) 2011-03-03
JP5457045B2 (ja) 2014-04-02
JP2010186852A (ja) 2010-08-26

Similar Documents

Publication Publication Date Title
US10777650B2 (en) Horizontal gate all around device nanowire air gap spacer formation
JP5457045B2 (ja) 半導体装置及びその製造方法
US8835936B2 (en) Source and drain doping using doped raised source and drain regions
CN104576331B (zh) 鳍式场效应晶体管的掺杂方法
JP5449247B2 (ja) 半導体装置
US20110175169A1 (en) Cmos circuit with low-k spacer and stress liner
CN106449388A (zh) 具有自对准源极接触和漏极接触的晶体管及其制造方法
KR20250141682A (ko) 게이트 올 어라운드 나노시트 i/o 디바이스에 대한 등각 산화
WO2011080857A1 (ja) 半導体装置の製造方法及びプラズマドーピング装置
US12471322B2 (en) Horizontal GAA nano-wire and nano-slab transistors
US8349684B2 (en) Semiconductor device with high K dielectric control terminal spacer structure
CN102044438B (zh) Mos晶体管及其制造方法
TWI881182B (zh) 環繞式閘極元件及其形成方法
KR20030047371A (ko) 반도체소자 및 그 형성 방법
CN109786327B (zh) 半导体器件及其形成方法
US20100308382A1 (en) Semiconductor structures and methods for reducing silicon oxide undercuts in a semiconductor substrate
KR20240038102A (ko) 최하부 유전체 아이솔레이션 층들을 형성하는 방법
CN103811324B (zh) 鳍式场效应管的形成方法
US10032772B2 (en) Integrated circuits with high voltage devices and methods for producing the same
KR20250164798A (ko) 측벽 스페이서 손실을 최소화한 고종횡비 전자 디바이스들의 제조
US8133814B1 (en) Etch methods for semiconductor device fabrication
KR20050060534A (ko) 반도체 소자 및 그 제조방법

Legal Events

Date Code Title Description
WWE Wipo information: entry into national phase

Ref document number: 12866649

Country of ref document: US

121 Ep: the epo has been informed by wipo that ep was designated in this application

Ref document number: 10741028

Country of ref document: EP

Kind code of ref document: A1

NENP Non-entry into the national phase

Ref country code: DE

122 Ep: pct application non-entry in european phase

Ref document number: 10741028

Country of ref document: EP

Kind code of ref document: A1