WO2010032429A1 - 近接場光学顕微鏡の信号光測定システム - Google Patents

近接場光学顕微鏡の信号光測定システム Download PDF

Info

Publication number
WO2010032429A1
WO2010032429A1 PCT/JP2009/004588 JP2009004588W WO2010032429A1 WO 2010032429 A1 WO2010032429 A1 WO 2010032429A1 JP 2009004588 W JP2009004588 W JP 2009004588W WO 2010032429 A1 WO2010032429 A1 WO 2010032429A1
Authority
WO
WIPO (PCT)
Prior art keywords
probe
light
sample
signal light
measurement system
Prior art date
Legal status (The legal status is an assumption and is not a legal conclusion. Google has not performed a legal analysis and makes no representation as to the accuracy of the status listed.)
Ceased
Application number
PCT/JP2009/004588
Other languages
English (en)
French (fr)
Japanese (ja)
Inventor
市村垂生
矢野隆章
井上康志
河田聡
Current Assignee (The listed assignees may be inaccurate. Google has not performed a legal analysis and makes no representation or warranty as to the accuracy of the list.)
Japan Science and Technology Agency
Original Assignee
Japan Science and Technology Agency
Priority date (The priority date is an assumption and is not a legal conclusion. Google has not performed a legal analysis and makes no representation as to the accuracy of the date listed.)
Filing date
Publication date
Application filed by Japan Science and Technology Agency filed Critical Japan Science and Technology Agency
Publication of WO2010032429A1 publication Critical patent/WO2010032429A1/ja
Anticipated expiration legal-status Critical
Ceased legal-status Critical Current

Links

Images

Classifications

    • GPHYSICS
    • G01MEASURING; TESTING
    • G01QSCANNING-PROBE TECHNIQUES OR APPARATUS; APPLICATIONS OF SCANNING-PROBE TECHNIQUES, e.g. SCANNING PROBE MICROSCOPY [SPM]
    • G01Q20/00Monitoring the movement or position of the probe
    • G01Q20/02Monitoring the movement or position of the probe by optical means
    • GPHYSICS
    • G01MEASURING; TESTING
    • G01NINVESTIGATING OR ANALYSING MATERIALS BY DETERMINING THEIR CHEMICAL OR PHYSICAL PROPERTIES
    • G01N21/00Investigating or analysing materials by the use of optical means, i.e. using sub-millimetre waves, infrared, visible or ultraviolet light
    • G01N21/62Systems in which the material investigated is excited whereby it emits light or causes a change in wavelength of the incident light
    • G01N21/63Systems in which the material investigated is excited whereby it emits light or causes a change in wavelength of the incident light optically excited
    • G01N21/64Fluorescence; Phosphorescence
    • G01N21/645Specially adapted constructive features of fluorimeters
    • G01N21/6456Spatial resolved fluorescence measurements; Imaging
    • G01N21/6458Fluorescence microscopy
    • GPHYSICS
    • G01MEASURING; TESTING
    • G01QSCANNING-PROBE TECHNIQUES OR APPARATUS; APPLICATIONS OF SCANNING-PROBE TECHNIQUES, e.g. SCANNING PROBE MICROSCOPY [SPM]
    • G01Q60/00Particular types of SPM [Scanning Probe Microscopy] or microscopes; Essential components thereof
    • G01Q60/18SNOM [Scanning Near-Field Optical Microscopy] or apparatus therefor, e.g. SNOM probes
    • G01Q60/22Probes, their manufacture, or their related instrumentation, e.g. holders

Definitions

  • the present invention relates to a signal light measurement system for a near-field optical microscope that measures signal light emitted from a sample by near-field light and images the sample.
  • the near-field optical microscope which is a kind of scanning probe microscope, has achieved practical industrial application because it can realize microscopic imaging with spatial resolution exceeding the diffraction limit of light.
  • the surface state of the sample is detected by illuminating the sample with near-field light generated around the probe and measuring the light intensity and optical characteristics of the scattered light due to the interaction between the probe and the sample surface.
  • the probe has an aperture type and a scattering type.
  • the light intensity and optical characteristics (spectral characteristics) of the signal light (near field light) measured depend on the distance between the probe tip and the sample. This is because chemical interaction and electromagnetic interaction between the probe and the sample are involved. Therefore, if the dependence of the signal light on the distance between the probe and the sample can be examined, the interaction between the probe and the sample can be clarified.
  • Methods for controlling the distance between the probe tip and the sample include a shear force method, a scanning tunneling microscope (STM) method, an atomic force microscope (AFM) method, and the like. In either method, control is performed so as to maintain a constant distance between the probe tip and the sample, and signal light at an arbitrary distance is not detected.
  • STM scanning tunneling microscope
  • AFM atomic force microscope
  • the problem to be solved by the present invention is to provide a signal light measurement system of a near-field optical microscope capable of examining the probe-sample distance dependency of signal light emitted from a sample by near-field light.
  • the present invention detects signal light emitted from the sample by near-field light generated in the vicinity of the probe while scanning a probe with a sharp tip on the sample.
  • a near-field optical microscope signal light measurement system for imaging a sample a) a vibration applying mechanism that periodically changes a relative distance between the probe and the sample; b) a light irradiation mechanism for irradiating light for generating near-field light in the vicinity of the probe; c) a light intensity modulation mechanism that changes the intensity of light emitted by the light irradiation mechanism in synchronization with a change in the relative distance between the probe and the sample; d) a signal light measurement mechanism for measuring the signal light emitted from the sample; It is characterized by providing.
  • the light intensity modulation mechanism turns ON / OFF the light irradiated by the light irradiation mechanism in synchronization with a change in the relative distance between the probe and the sample.
  • the light intensity modulation mechanism may be configured to be able to change the ON / OFF switching timing.
  • the intensity of the light applied to the sample changes in synchronization with the periodic change in the relative distance between the probe and the sample, so that the intensity of the obtained signal light also changes with the periodic change in the relative distance between the probe and the sample. It changes synchronously. For this reason, for example, by measuring the intensity, spectral characteristics, etc. of the maximum value of the signal light for one period, it becomes possible to detect the signal light when the distance between the probe and the sample is an arbitrary size. . Accordingly, it is possible to observe how the intensity of the signal light and the spectral characteristics change depending on the distance between the probe and the sample.
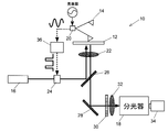
  • FIG. 1 is a block diagram showing a schematic configuration of a signal light measurement system of a near-field optical microscope according to an embodiment of the present invention.
  • the figure for demonstrating the relationship between the output timing of excitation light, and the distance between a probe and a sample (the 1).
  • the figure for demonstrating the relationship between the output timing of excitation light, and the distance between a probe and a sample (the 2).
  • the figure for demonstrating the relationship between the output timing of excitation light, and the distance between a probe and a sample (the 3).
  • FIG. 1 is a block diagram showing a schematic configuration of a signal light measurement system 10 (hereinafter referred to as system 10) of a near-field optical microscope according to an embodiment of the present invention.
  • system 10 is a combination of a near-field optical microscope and a Raman spectroscope, and measures a Raman scattering spectrum observed by a near-field optical microscope using a probe to image a sample molecule.
  • the system 10 includes a transparent substrate 12 such as a glass substrate on which a sample is placed, a probe 14 that scans the surface of the sample, an excitation light source 16 that irradiates the sample with excitation light, and a radiation emitted from the sample.
  • the probe 14 is made of, for example, a silver tip having a silver thin film of about 35 nm deposited on the tip of a cantilever for an atomic force microscope.
  • the cantilever is forcibly vibrated at a constant frequency in a direction perpendicular to the sample by a vibrator 20 such as a bimorph piezo element, whereby the tip of the silver chip is in intermittent contact with the sample surface. Further, when the silver chip comes into contact with the sample surface, the cantilever is automatically controlled so that the attenuation amount of the amplitude of the cantilever becomes constant.
  • the sample is provided so as to be in contact with one surface of the transparent substrate 12, and a high aperture objective lens 22 is provided to face the other surface of the transparent substrate 12.
  • the transparent substrate 12 is placed on a piezo movement stage (not shown) and is configured to be two-dimensionally scanable.
  • the excitation light source 16 the beam splitter 26, the objective lens 22, and the transparent substrate 12 constitute a light irradiation mechanism.
  • the Raman scattered light enters the spectroscope 18 through the transparent substrate 12, the objective lens 22, the beam splitter 26, the mirror 28, the excitation light removal filter 30, and the lens 32, and is detected by the nitrogen cooled CCD camera 34.
  • the excitation light removal filter 30 is for removing excitation light that is much stronger than Raman scattered light, and generally a notch filter or an edge filter (long wavelength transmission filter) is used.
  • the light modulator 24 includes, for example, an acousto-optic modulator (AOM) or an electro-optic modulator (EOM), and performs ON / OFF modulation of light emitted from the excitation light source 16 based on a modulation signal from the pulse generator 36.
  • the pulse generator 36 outputs a pulse waveform having a predetermined pulse width synchronized with the vibration frequency of the cantilever as a modulation signal.
  • FIGS. 2 to 4 are diagrams for explaining the relationship between the output timing of excitation light and the distance between the probe and the sample.
  • the output timing of the modulation signal of the pulse generator 36 output timing of the excitation light
  • the light is applied to the sample surface only when the distance between the probe and the sample is arbitrary. Is irradiated. For this reason, Raman scattered light can be detected when the distance between the probe and the sample is an arbitrary size.
  • the probe-sample distance (Z) is expressed using the modulation signal output timing ( ⁇ ) as shown in the following equation (1). be able to.
  • D is the maximum value of the probe-sample distance
  • f is the probe vibration frequency
  • is the phase shift. Therefore, by changing the output timing of the modulation signal, it is possible to observe how the Raman scattered light changes depending on the probe-sample distance.
  • Single-walled carbon nanotubes (SWNT) were used as samples.
  • FIG. 6 shows the relationship between the G-band intensity of the Raman scattering spectrum and the output timing ⁇ ( ⁇ s). Further, FIG. 7 is obtained by converting the output timing on the horizontal axis of FIG.
  • the Raman scattered light intensity is exponentially attenuated when the probe is separated from the sample.
  • the attenuation distance was about 26.5 nm. This is considered to be due to the electromagnetic enhancement effect by the silver chip. That is, by measuring the signal light from the sample using the system 10, the probe-sample distance at which electromagnetic enhancement is observed, the probe-sample distance dependency of the electromagnetic enhancement effect, and the like can be examined. it can.
  • FIGS. 8 (a) to 8 (c) show Raman scattering spectra when an adenine molecule aggregate is used as a sample using the system 10.
  • FIG. FIG. 8 (a) is when the probe tip is sufficiently away from the adenine molecule (distance d to 200 nm)
  • (b) is when the probe tip is in contact with the adenine molecule (distance d to 0.0 nm)
  • (c) is It is a Raman scattering spectrum when the probe tip is pushed into the adenine molecule (distance d ⁇ 0.0 nm).
  • 8A to 8C show smooth curves fitted with Lorentz curves together with experimental data (one in FIG. 8A, one in FIGS. 8B and 8C, respectively). Two fitting curves are shown).
  • the optical modulator 24 is configured to turn on / off the excitation light in synchronization with the change in the distance between the probe tip and the sample.
  • the switching timing for turning on / off the excitation light can be changed. Therefore, it is possible to measure only the signal light when the distance between the probe and the sample is an arbitrary size, and it is possible to observe the change in the signal light depending on the distance between the probe and the sample.
  • the present invention is not limited to the above-described embodiment, and various modifications can be made without departing from the spirit of the present invention.
  • the ON time of the modulation signal of the optical modulator 24 is shortened to reduce the pulse width of the optical pulse signal, the distance dependence can be measured with higher resolution.
  • the vibration amplitude of the probe is reduced, it is possible to observe the spectral change in the close region where the distance between the probe and the sample is nanometer or less.
  • the signal light when the distance between the probe and the sample is an arbitrary size can be measured, for example, in the fluorescence imaging of the metal tip enhanced type, the distance region (5) where the quenching of the fluorescence by the metal surface acts.
  • the fluorescence signal can be continuously measured at a position farther than a nanometer).
  • the vibration applying mechanism may apply vibration to both the probe and the sample, or may apply vibration only to the probe or only to the sample. In short, it is sufficient that the relative distance between the probe and the sample can be changed periodically.
  • the probe is not limited to the scattering type, and may be an aperture type.
  • the present invention can be applied to a system that detects various optical signals (Rayleigh scattering, Raman scattering, fluorescence, nonlinear optical signals, etc.) in a near-field optical microscope.

Landscapes

  • Health & Medical Sciences (AREA)
  • Physics & Mathematics (AREA)
  • General Health & Medical Sciences (AREA)
  • General Physics & Mathematics (AREA)
  • Nuclear Medicine, Radiotherapy & Molecular Imaging (AREA)
  • Radiology & Medical Imaging (AREA)
  • Life Sciences & Earth Sciences (AREA)
  • Chemical & Material Sciences (AREA)
  • Analytical Chemistry (AREA)
  • Biochemistry (AREA)
  • Immunology (AREA)
  • Pathology (AREA)
  • Investigating, Analyzing Materials By Fluorescence Or Luminescence (AREA)
PCT/JP2009/004588 2008-09-19 2009-09-15 近接場光学顕微鏡の信号光測定システム Ceased WO2010032429A1 (ja)

Applications Claiming Priority (2)

Application Number Priority Date Filing Date Title
JP2008-241151 2008-09-19
JP2008241151A JP5270280B2 (ja) 2008-09-19 2008-09-19 近接場光学顕微鏡の信号光測定システム

Publications (1)

Publication Number Publication Date
WO2010032429A1 true WO2010032429A1 (ja) 2010-03-25

Family

ID=42039279

Family Applications (1)

Application Number Title Priority Date Filing Date
PCT/JP2009/004588 Ceased WO2010032429A1 (ja) 2008-09-19 2009-09-15 近接場光学顕微鏡の信号光測定システム

Country Status (2)

Country Link
JP (1) JP5270280B2 (enExample)
WO (1) WO2010032429A1 (enExample)

Cited By (6)

* Cited by examiner, † Cited by third party
Publication number Priority date Publication date Assignee Title
JP2013544368A (ja) * 2010-11-29 2013-12-12 ブルカー ナノ インコーポレイテッド ピークフォースタッピングモードを使用して試料の物理的特性を測定するための方法および装置
US9207167B2 (en) 2008-11-13 2015-12-08 Bruker Nano, Inc. Peak force photothermal-based detection of IR nanoabsorption
US9213047B2 (en) 2008-11-13 2015-12-15 Bruker Nano, Inc. Method and apparatus of electrical property measurement using an AFM operating in peak force tapping mode
US9274139B2 (en) 2008-11-13 2016-03-01 Bruker Nano, Inc. Method and apparatus of operating a scanning probe microscope
US9291640B2 (en) 2008-11-13 2016-03-22 Bruker Nano, Inc. Method and apparatus of using peak force tapping mode to measure physical properties of a sample
US10845382B2 (en) 2016-08-22 2020-11-24 Bruker Nano, Inc. Infrared characterization of a sample using oscillating mode

Families Citing this family (4)

* Cited by examiner, † Cited by third party
Publication number Priority date Publication date Assignee Title
JP5802417B2 (ja) 2011-04-04 2015-10-28 株式会社日立製作所 走査プローブ顕微鏡およびこれを用いた測定方法
JP5820886B2 (ja) * 2011-10-03 2015-11-24 株式会社日立製作所 走査プローブ顕微鏡
US9423416B2 (en) * 2012-08-28 2016-08-23 Hitachi, Ltd. Scanning probe microscope and measuring method using same
FR3001294B1 (fr) * 2013-01-24 2015-03-20 Ecole Polytech Microscope a sonde locale multimode, microscope raman exalte par pointe et procede de regulation de la distance entre la sonde locale et l'echantillon

Citations (2)

* Cited by examiner, † Cited by third party
Publication number Priority date Publication date Assignee Title
JPH07260808A (ja) * 1994-03-24 1995-10-13 Seiko Instr Inc 走査型近視野原子間力顕微鏡
JP2002243618A (ja) * 2001-02-15 2002-08-28 Seiko Instruments Inc 走査型近接場顕微鏡におけるイルミネーション反射モードの測定方法

Family Cites Families (1)

* Cited by examiner, † Cited by third party
Publication number Priority date Publication date Assignee Title
WO2004090505A2 (en) * 2003-04-04 2004-10-21 Vp Holding, Llc Method and apparatus for enhanced nano-spectroscopic scanning

Patent Citations (2)

* Cited by examiner, † Cited by third party
Publication number Priority date Publication date Assignee Title
JPH07260808A (ja) * 1994-03-24 1995-10-13 Seiko Instr Inc 走査型近視野原子間力顕微鏡
JP2002243618A (ja) * 2001-02-15 2002-08-28 Seiko Instruments Inc 走査型近接場顕微鏡におけるイルミネーション反射モードの測定方法

Non-Patent Citations (2)

* Cited by examiner, † Cited by third party
Title
TAKA-AKI YANO ET AL.: "Confinement of enhanced field investigated by tip-sample gap regulation in tapping-mode tip-enhanced Raman microscopy", APPLIED PHYSICS LETTERS, vol. 91, 17 September 2007 (2007-09-17), pages 121101-1 - 121101-3 *
TARO ICHIMURA ET AL.: "Tip Zokyo Kinsetsuba Raman Spectrum no Tip -Shiryokan Kyori Izonsei no Sokuteiho", DAI 54 KAI EXTENDED ABSTRACTS, JAPAN SOCIETY OF APPLIED PHYSICS AND RELATED SOCIETIES, vol. 3, 27 March 2007 (2007-03-27), pages 1092 *

Cited By (9)

* Cited by examiner, † Cited by third party
Publication number Priority date Publication date Assignee Title
US9207167B2 (en) 2008-11-13 2015-12-08 Bruker Nano, Inc. Peak force photothermal-based detection of IR nanoabsorption
US9213047B2 (en) 2008-11-13 2015-12-15 Bruker Nano, Inc. Method and apparatus of electrical property measurement using an AFM operating in peak force tapping mode
US9274139B2 (en) 2008-11-13 2016-03-01 Bruker Nano, Inc. Method and apparatus of operating a scanning probe microscope
US9291640B2 (en) 2008-11-13 2016-03-22 Bruker Nano, Inc. Method and apparatus of using peak force tapping mode to measure physical properties of a sample
US9322842B2 (en) 2008-11-13 2016-04-26 Bruker Nano, Inc. Method and apparatus of operating a scanning probe microscope
US9810713B2 (en) 2008-11-13 2017-11-07 Bruker Nano, Inc. Method and apparatus of operating a scanning probe microscope
US9995765B2 (en) 2008-11-13 2018-06-12 Bruker Nano, Inc. Method and apparatus of using peak force tapping mode to measure physical properties of a sample
JP2013544368A (ja) * 2010-11-29 2013-12-12 ブルカー ナノ インコーポレイテッド ピークフォースタッピングモードを使用して試料の物理的特性を測定するための方法および装置
US10845382B2 (en) 2016-08-22 2020-11-24 Bruker Nano, Inc. Infrared characterization of a sample using oscillating mode

Also Published As

Publication number Publication date
JP2010071871A (ja) 2010-04-02
JP5270280B2 (ja) 2013-08-21

Similar Documents

Publication Publication Date Title
JP5270280B2 (ja) 近接場光学顕微鏡の信号光測定システム
EP3500841B1 (en) Infrared characterization of a sample using oscillating mode
CN110050193B (zh) 用于化学成像的原子力显微镜的红外光谱方法及装置
JP5828359B2 (ja) ラマン共鳴の機械的検出
JP3425615B2 (ja) 走査型近視野原子間力顕微鏡
JPWO2011099269A1 (ja) 顕微鏡及び観察方法
JPWO2014125729A1 (ja) 測定装置及び測定方法
JP6324709B2 (ja) 光計測装置及び光計測方法
CN113056677A (zh) 用于测量样品对激光发射的吸收的系统
JP5067754B2 (ja) 近接場顕微装置とその分光・画像取得方法
Tamma et al. Stimulated Raman spectroscopy and nanoscopy of molecules using near field photon induced forces without resonant electronic enhancement gain
Celebrano et al. Hollow-pyramid based scanning near-field optical microscope coupled to femtosecond pulses: A tool for nonlinear optics at the nanoscale
US8227767B2 (en) Coherent nonlinear microscopy system and method with variation of the focal volume in order to probe the nanostructure of organized materials
CN110068554B (zh) 一种小尺寸等离子纳米颗粒探测的超分辨显微系统
JP2007278768A (ja) 顕微鏡装置
KR102840619B1 (ko) 샘플에 대한 광 유도력을 개선하기 위해 센서 분자를 사용하는 스캐닝 프로브 현미경
Umakoshi Near-field optical microscopy toward its applications for biological studies
Masaki et al. Measurement of propagation of ultrafast surface plasmon polariton pulses using dual-probe scanning near-field optical microscopy
Celebrano et al. Mapping local field enhancements at nanostructured metal surfaces by second‐harmonic generation induced in the near field
Umakoshi et al. Tip-Enhanced Raman Spectroscopy
Tamura et al. Two-Photon-Excited Photoinduced Force Microscopy
KR20250149639A (ko) 게이트 피크 힘 ir을 이용한 나노기계적 적외선 분광 시스템 및 방법
JP2025176455A (ja) 顕微分析システム及び試料の観察方法
Kim et al. Polymer tips for application of atomic force microscopy
Gesuele et al. Formation and multi-imaging analysis of nascent surface structures generated by femtosecond laser irradiation in silicon

Legal Events

Date Code Title Description
121 Ep: the epo has been informed by wipo that ep was designated in this application

Ref document number: 09814274

Country of ref document: EP

Kind code of ref document: A1

DPE1 Request for preliminary examination filed after expiration of 19th month from priority date (pct application filed from 20040101)
NENP Non-entry into the national phase

Ref country code: DE

122 Ep: pct application non-entry in european phase

Ref document number: 09814274

Country of ref document: EP

Kind code of ref document: A1