WO2009157113A1 - 半導体装置及びその製造方法 - Google Patents

半導体装置及びその製造方法 Download PDF

Info

Publication number
WO2009157113A1
WO2009157113A1 PCT/JP2009/000827 JP2009000827W WO2009157113A1 WO 2009157113 A1 WO2009157113 A1 WO 2009157113A1 JP 2009000827 W JP2009000827 W JP 2009000827W WO 2009157113 A1 WO2009157113 A1 WO 2009157113A1
Authority
WO
WIPO (PCT)
Prior art keywords
film
metal
metal film
semiconductor region
gate electrode
Prior art date
Legal status (The legal status is an assumption and is not a legal conclusion. Google has not performed a legal analysis and makes no representation as to the accuracy of the status listed.)
Ceased
Application number
PCT/JP2009/000827
Other languages
English (en)
French (fr)
Japanese (ja)
Inventor
仙石直久
Current Assignee (The listed assignees may be inaccurate. Google has not performed a legal analysis and makes no representation or warranty as to the accuracy of the list.)
Panasonic Corp
Original Assignee
Panasonic Corp
Priority date (The priority date is an assumption and is not a legal conclusion. Google has not performed a legal analysis and makes no representation as to the accuracy of the date listed.)
Filing date
Publication date
Application filed by Panasonic Corp filed Critical Panasonic Corp
Publication of WO2009157113A1 publication Critical patent/WO2009157113A1/ja
Priority to US12/712,688 priority Critical patent/US8004046B2/en
Anticipated expiration legal-status Critical
Ceased legal-status Critical Current

Links

Images

Classifications

    • HELECTRICITY
    • H10SEMICONDUCTOR DEVICES; ELECTRIC SOLID-STATE DEVICES NOT OTHERWISE PROVIDED FOR
    • H10DINORGANIC ELECTRIC SEMICONDUCTOR DEVICES
    • H10D84/00Integrated devices formed in or on semiconductor substrates that comprise only semiconducting layers, e.g. on Si wafers or on GaAs-on-Si wafers
    • H10D84/01Manufacture or treatment
    • H10D84/0123Integrating together multiple components covered by H10D12/00 or H10D30/00, e.g. integrating multiple IGBTs
    • H10D84/0126Integrating together multiple components covered by H10D12/00 or H10D30/00, e.g. integrating multiple IGBTs the components including insulated gates, e.g. IGFETs
    • H10D84/0165Integrating together multiple components covered by H10D12/00 or H10D30/00, e.g. integrating multiple IGBTs the components including insulated gates, e.g. IGFETs the components including complementary IGFETs, e.g. CMOS devices
    • H10D84/0172Manufacturing their gate conductors
    • H10D84/0177Manufacturing their gate conductors the gate conductors having different materials or different implants
    • HELECTRICITY
    • H10SEMICONDUCTOR DEVICES; ELECTRIC SOLID-STATE DEVICES NOT OTHERWISE PROVIDED FOR
    • H10DINORGANIC ELECTRIC SEMICONDUCTOR DEVICES
    • H10D84/00Integrated devices formed in or on semiconductor substrates that comprise only semiconducting layers, e.g. on Si wafers or on GaAs-on-Si wafers
    • H10D84/01Manufacture or treatment
    • H10D84/02Manufacture or treatment characterised by using material-based technologies
    • H10D84/03Manufacture or treatment characterised by using material-based technologies using Group IV technology, e.g. silicon technology or silicon-carbide [SiC] technology
    • H10D84/038Manufacture or treatment characterised by using material-based technologies using Group IV technology, e.g. silicon technology or silicon-carbide [SiC] technology using silicon technology, e.g. SiGe
    • HELECTRICITY
    • H01ELECTRIC ELEMENTS
    • H01LSEMICONDUCTOR DEVICES NOT COVERED BY CLASS H10
    • H01L21/00Processes or apparatus adapted for the manufacture or treatment of semiconductor or solid state devices or of parts thereof
    • H01L21/02Manufacture or treatment of semiconductor devices or of parts thereof
    • H01L21/04Manufacture or treatment of semiconductor devices or of parts thereof the devices having potential barriers, e.g. a PN junction, depletion layer or carrier concentration layer
    • H01L21/18Manufacture or treatment of semiconductor devices or of parts thereof the devices having potential barriers, e.g. a PN junction, depletion layer or carrier concentration layer the devices having semiconductor bodies comprising elements of Group IV of the Periodic Table or AIIIBV compounds with or without impurities, e.g. doping materials
    • H01L21/28Manufacture of electrodes on semiconductor bodies using processes or apparatus not provided for in groups H01L21/20 - H01L21/268
    • H01L21/28008Making conductor-insulator-semiconductor electrodes
    • H01L21/28017Making conductor-insulator-semiconductor electrodes the insulator being formed after the semiconductor body, the semiconductor being silicon
    • H01L21/28026Making conductor-insulator-semiconductor electrodes the insulator being formed after the semiconductor body, the semiconductor being silicon characterised by the conductor
    • H01L21/28035Making conductor-insulator-semiconductor electrodes the insulator being formed after the semiconductor body, the semiconductor being silicon characterised by the conductor the final conductor layer next to the insulator being silicon, e.g. polysilicon, with or without impurities
    • H01L21/28044Making conductor-insulator-semiconductor electrodes the insulator being formed after the semiconductor body, the semiconductor being silicon characterised by the conductor the final conductor layer next to the insulator being silicon, e.g. polysilicon, with or without impurities the conductor comprising at least another non-silicon conductive layer
    • H01L21/28052Making conductor-insulator-semiconductor electrodes the insulator being formed after the semiconductor body, the semiconductor being silicon characterised by the conductor the final conductor layer next to the insulator being silicon, e.g. polysilicon, with or without impurities the conductor comprising at least another non-silicon conductive layer the conductor comprising a silicide layer formed by the silicidation reaction of silicon with a metal layer
    • HELECTRICITY
    • H01ELECTRIC ELEMENTS
    • H01LSEMICONDUCTOR DEVICES NOT COVERED BY CLASS H10
    • H01L21/00Processes or apparatus adapted for the manufacture or treatment of semiconductor or solid state devices or of parts thereof
    • H01L21/02Manufacture or treatment of semiconductor devices or of parts thereof
    • H01L21/04Manufacture or treatment of semiconductor devices or of parts thereof the devices having potential barriers, e.g. a PN junction, depletion layer or carrier concentration layer
    • H01L21/18Manufacture or treatment of semiconductor devices or of parts thereof the devices having potential barriers, e.g. a PN junction, depletion layer or carrier concentration layer the devices having semiconductor bodies comprising elements of Group IV of the Periodic Table or AIIIBV compounds with or without impurities, e.g. doping materials
    • H01L21/28Manufacture of electrodes on semiconductor bodies using processes or apparatus not provided for in groups H01L21/20 - H01L21/268
    • H01L21/28008Making conductor-insulator-semiconductor electrodes
    • H01L21/28017Making conductor-insulator-semiconductor electrodes the insulator being formed after the semiconductor body, the semiconductor being silicon
    • H01L21/28026Making conductor-insulator-semiconductor electrodes the insulator being formed after the semiconductor body, the semiconductor being silicon characterised by the conductor
    • H01L21/28088Making conductor-insulator-semiconductor electrodes the insulator being formed after the semiconductor body, the semiconductor being silicon characterised by the conductor the final conductor layer next to the insulator being a composite, e.g. TiN
    • HELECTRICITY
    • H01ELECTRIC ELEMENTS
    • H01LSEMICONDUCTOR DEVICES NOT COVERED BY CLASS H10
    • H01L23/00Details of semiconductor or other solid state devices
    • H01L23/48Arrangements for conducting electric current to or from the solid state body in operation, e.g. leads, terminal arrangements ; Selection of materials therefor
    • H01L23/482Arrangements for conducting electric current to or from the solid state body in operation, e.g. leads, terminal arrangements ; Selection of materials therefor consisting of lead-in layers inseparably applied to the semiconductor body (electrodes)
    • H01L23/485Arrangements for conducting electric current to or from the solid state body in operation, e.g. leads, terminal arrangements ; Selection of materials therefor consisting of lead-in layers inseparably applied to the semiconductor body (electrodes) consisting of layered constructions comprising conductive layers and insulating layers, e.g. planar contacts
    • HELECTRICITY
    • H01ELECTRIC ELEMENTS
    • H01LSEMICONDUCTOR DEVICES NOT COVERED BY CLASS H10
    • H01L2924/00Indexing scheme for arrangements or methods for connecting or disconnecting semiconductor or solid-state bodies as covered by H01L24/00
    • H01L2924/0001Technical content checked by a classifier
    • H01L2924/0002Not covered by any one of groups H01L24/00, H01L24/00 and H01L2224/00
    • HELECTRICITY
    • H10SEMICONDUCTOR DEVICES; ELECTRIC SOLID-STATE DEVICES NOT OTHERWISE PROVIDED FOR
    • H10DINORGANIC ELECTRIC SEMICONDUCTOR DEVICES
    • H10D64/00Electrodes of devices having potential barriers
    • H10D64/60Electrodes characterised by their materials
    • H10D64/66Electrodes having a conductor capacitively coupled to a semiconductor by an insulator, e.g. MIS electrodes
    • H10D64/661Electrodes having a conductor capacitively coupled to a semiconductor by an insulator, e.g. MIS electrodes the conductor comprising a layer of silicon contacting the insulator, e.g. polysilicon having vertical doping variation
    • H10D64/662Electrodes having a conductor capacitively coupled to a semiconductor by an insulator, e.g. MIS electrodes the conductor comprising a layer of silicon contacting the insulator, e.g. polysilicon having vertical doping variation the conductor further comprising additional layers, e.g. multiple silicon layers having different crystal structures
    • HELECTRICITY
    • H10SEMICONDUCTOR DEVICES; ELECTRIC SOLID-STATE DEVICES NOT OTHERWISE PROVIDED FOR
    • H10DINORGANIC ELECTRIC SEMICONDUCTOR DEVICES
    • H10D64/00Electrodes of devices having potential barriers
    • H10D64/60Electrodes characterised by their materials
    • H10D64/66Electrodes having a conductor capacitively coupled to a semiconductor by an insulator, e.g. MIS electrodes
    • H10D64/667Electrodes having a conductor capacitively coupled to a semiconductor by an insulator, e.g. MIS electrodes the conductor comprising a layer of alloy material, compound material or organic material contacting the insulator, e.g. TiN workfunction layers

Definitions

  • the present invention relates to a semiconductor device having a metal gate electrode and a manufacturing method thereof.
  • FIGS. 1 a method for forming a so-called MIPS (metal-inserted-polysilicon-stack) structure in which a metal material and polysilicon are stacked is shown in FIGS. This will be described with reference to f) (see, for example, Patent Document 1).
  • MIPS metal-inserted-polysilicon-stack
  • an element isolation film 102 made of shallow trench isolation (STI) or the like is selectively formed on a semiconductor substrate 101 made of silicon, and the semiconductor substrate 101 is made of NFET (N -type field effect transistor: N-type field effect transistor) forming region 50N and PFET (P-type field effect transistor: P-type field effect transistor) forming region 50P.
  • impurity implantation for controlling the threshold value (Vt) and activation heat treatment of the implanted impurity are performed.
  • a gate insulating film 103 is formed on the entire surface of the semiconductor substrate 101.
  • TiN titanium nitride
  • a polysilicon film 105 is deposited on the entire surface of the NFET formation region 50N and the PFET formation region 50P.
  • a tungsten (W) film 106 and a silicon nitride (SiN) film 107 which are high melting point metals are sequentially deposited on the polysilicon film 105.
  • the gate electrode 120 is formed by patterning the plurality of deposited films. Specifically, as the gate electrode 120, a first gate electrode portion 120a composed of the W film 106 and the polysilicon film 105 is formed in the NFET formation region 50N, and the W film 106, the polycrystal is formed in the PFET formation region 50P. A second gate electrode portion 120b made of the silicon film 105 and the TiN film 104 is formed.
  • the gate electrode 120 represents a cross section along the gate width direction.
  • an LDD (lightly doped drain) layer is formed by extension implantation into the semiconductor substrate 101 using the gate electrode 120 as a mask, a sidewall 108 is formed on the gate electrode 120, and Source / drain implantation is performed on the semiconductor substrate 101 using the gate electrode 120 and the sidewall 108 as a mask, and activation heat treatment of the implanted impurity is performed. Thereafter, although not shown, a nickel (Ni) film is deposited on the entire surface of the semiconductor substrate 101 to form a nickel silicide layer on top of the source / drain. Next, as shown in FIG.
  • An interlayer insulating film 109 is deposited on the semiconductor substrate 101, and the upper surface of the deposited interlayer insulating film 109 is planarized. Subsequently, a contact hole exposing the underlying W film 106 is formed in the planarized interlayer insulating film 109 and the SiN film 107 on the gate electrode 120, and the contact hole is filled with tungsten (W). As a result, the contact 110 is formed.
  • a metal gate having a MIPS structure is formed in the PFET formation region 50P, and a polysilicon gate is formed in the NFET formation region 50N.
  • JP 2007-088122 A JP 2001-274391 A
  • the semiconductor device having a metal gate adopting the conventional MIPS structure has a high interface resistance between the TiN film 104 and the polysilicon film 105 in the second gate electrode portion 120b which is a metal gate constituting the PFET. There is a problem.
  • the polysilicon film 105 is interposed in the current path from the contact 110 to the TiN film 104.
  • the resistance components are the specific resistance of the polysilicon film 105 and the specific resistance of the TiN film 104.
  • the specific resistance of the W film 106 and the interface resistance between the W film 106 and the polysilicon film 105 are included, but the specific resistance of W is lower than that of TiN, and the W film 106 and the polysilicon film 105 are also included. It is known that the interfacial resistance can be kept low (see, for example, Patent Document 2).
  • FIG. 20 shows the relationship between the value of the interface resistance between the polysilicon film 105 and the TiN film 104 calculated by simulation and the delay time of the gate electrode 120.
  • the delay time is defined as the time when the voltage value of the TiN film 104 reaches 90% of the predetermined applied voltage with 0 sec when the predetermined voltage is applied to the contact 110.
  • the specific resistance value of the polysilicon film 105 is 1300 ⁇ cm and the specific resistance value of the TiN film 104 is 200 ⁇ cm. From the simulation results of FIG. 20, it is understood that the interface resistance value should be set to about 1 ⁇ 10 ⁇ 7 ⁇ cm 2 or less assuming that the required rise time is 1 psec.
  • the interface resistance between tungsten and polysilicon and the specific resistance of tungsten are ignored.
  • the interface resistance between the TiN film 104 and the polysilicon film 105 was measured, it was found to be about 1 ⁇ 10 ⁇ 5 ⁇ cm 2 . With this interface resistance value, the delay time exceeds at least 10 psec. Therefore, the gate metal structure according to the above-described conventional example cannot be applied to the operation of a semiconductor device that handles a high frequency of gigahertz level.
  • the reason for the high resistance at the interface between the polysilicon film 105 and the TiN film 104 is that the TiN film 104 is oxidized by the mixing of oxygen at the initial stage when the polysilicon film 104 is deposited on the TiN film 104, or TiN Examples include a Schottky junction formed between the film 104 and the polysilicon film 105.
  • the Schottky junction generated between the TiN film 104 and the polysilicon film 105 is inevitable.
  • the film thickness for tunneling the Schottky barrier is reduced by increasing the dopant concentration in the polysilicon film 105, and the pretreatment and deposition method during the deposition of the polysilicon film 105
  • it is necessary to pay close attention so that a new film contributing to high resistance is not formed at the interface between the polysilicon film 105 and the TiN film 104.
  • An object of the present invention is to solve the conventional problems and to obtain a semiconductor device including a metal gate having a MIPS structure capable of high-speed operation.
  • a semiconductor device is configured to connect a contact electrically connected to a gate electrode and a metal film constituting a metal gate without interposing a silicon film.
  • a first semiconductor device includes a gate insulating film formed on a semiconductor region, a first metal film and a conductive film made of silicon, which are sequentially formed on the gate insulating film.
  • a second electrode connected directly to the first metal film through the insulating film and the conductive film, the insulating film formed on the semiconductor region so as to cover the gate electrode, and the insulating film and the conductive film And a membrane.
  • the second metal film penetrating the insulating film and the conductive film and directly connected to the first metal film is provided, that is, the second metal film as a contact is the first metal film. Since the first metal film and the silicon are directly connected without going through an interface that tends to have high resistance, high-speed operation can be realized.
  • a second semiconductor device includes a gate insulating film formed on a first semiconductor region and a second semiconductor region having different polarities, and a first semiconductor region in the gate insulating film.
  • a first gate electrode including the formed first conductive film, and a first metal film and a second conductive film made of silicon are sequentially formed on the second semiconductor region in the gate insulating film.
  • the upper end surface of the vertical portion of the metal film 1 is the first conductive film.
  • the second metal film is characterized by being connected to the upper end surface of the vertical portion of the first metal film.
  • the first metal film constituting the metal gate has a vertical portion that rises perpendicularly to the second semiconductor region at the boundary between the second semiconductor region and the first semiconductor region. And the upper end surface of the vertical portion of the first metal film is exposed from the first conductive film and the second conductive film, and the second metal film is above the vertical portion of the first metal film. Connected to the end face. As a result, the second metal film that is a contact does not pass through the interface between the first metal film and silicon that tends to have high resistance, and high-speed operation can be realized.
  • the first conductive film is preferably made of silicon.
  • the first conductive film is preferably a third metal film.
  • the second semiconductor device further includes a fourth metal film that covers the upper surface of the first conductive film, the upper surface of the second conductive film, and the upper end surface of the vertical portion of the first metal film, and the second metal film Are preferably electrically connected to the upper end surface of the vertical portion of the first metal film via the fourth metal film.
  • the second semiconductor device is formed in order so as to cover the upper surface of the first conductive film, the upper surface of the second conductive film, and the upper end surface of the vertical portion of the first metal film, and a third conductive film made of silicon. And a fourth metal film, wherein the second metal film penetrates the fourth metal film and the third conductive film and is directly connected to the upper end surface of the vertical portion of the first metal film. Preferably it is.
  • the fourth metal film is preferably made of metal silicide or refractory metal.
  • a step of forming a gate insulating film on a semiconductor region, and a first metal film and a conductive film made of silicon are sequentially formed on the gate insulating film.
  • a step of patterning the first metal film and the conductive film to form a gate electrode from the first metal film and the conductive film; and a step of forming an insulating film covering the gate electrode on the semiconductor region Forming a contact hole exposing the first metal film in the insulating film and the conductive film, and embedding the second metal film in the contact hole so as to be directly connected to the first metal film. And a process.
  • a step of forming a gate insulating film on a semiconductor substrate having a first semiconductor region and a second semiconductor region having different polarities from each other A step of selectively forming a first metal film on the gate insulating film in the semiconductor region; and on the gate insulating film in the first semiconductor region and on the first metal film in the second semiconductor region.
  • Forming a conductive film made of silicon, and in the first semiconductor region, the conductive film is patterned to form a first gate electrode from the conductive film, and in the second semiconductor region, the conductive film and the first conductive film are formed.
  • a third method of manufacturing a semiconductor device includes a first step of forming a gate insulating film on a semiconductor substrate having a first semiconductor region and a second semiconductor region having different polarities, A second step of selectively forming a first conductive film made of silicon on a gate insulating film in the first semiconductor region; and a step of forming the first conductive film on the first semiconductor region and the first step.
  • the first conductive film is patterned to form the first gate electrode from the first conductive film, and in the second semiconductor region, the second gate is formed.
  • a sixth step of patterning the conductive film and the first metal film to form a second gate electrode from the second conductive film and the first metal film, and a first semiconductor region and a second semiconductor region A seventh step of forming an insulating film covering the first gate electrode and the second gate electrode, and a contact hole exposing the upper end surface of the first metal film to the insulating film; It is characterized by comprising an eighth step and a ninth step of embedding the second metal film in the contact hole so as to be directly connected to the upper end surface of the first metal film.
  • the third metal film is selectively formed in the first semiconductor region on the gate insulating film between the first step and the second step.
  • the first gate electrode is formed of the first conductive film and the third metal film by patterning the third metal film.
  • a semiconductor device having a metal gate having a MIPS structure capable of high-speed operation can be obtained.
  • FIG. 1 is a structural sectional view showing a semiconductor device according to a first embodiment of the present invention.
  • FIG. 2 is a structural sectional view showing a semiconductor device according to a first modification of the first embodiment of the present invention.
  • FIG. 3 is a structural sectional view showing a semiconductor device according to a second modification of the first embodiment of the present invention.
  • FIGS. 4A to 4E are cross-sectional views illustrating the semiconductor device manufacturing method according to the first embodiment of the present invention in the order of steps.
  • FIG. 5 is a cross-sectional view showing a semiconductor device according to the second embodiment of the present invention.
  • FIG. 6 is a structural sectional view showing a semiconductor device according to a first modification of the second embodiment of the present invention.
  • FIG. 7 is a structural sectional view showing a semiconductor device according to a second modification of the second embodiment of the present invention.
  • FIG. 8A to FIG. 8F are cross-sectional views in order of steps showing a method for manufacturing a semiconductor device according to a first modification of the second embodiment of the present invention.
  • FIG. 9 is a structural sectional view showing a semiconductor device according to the third embodiment of the present invention.
  • FIG. 10 is a structural sectional view showing a semiconductor device according to a modification of the third embodiment of the present invention.
  • FIG. 11A to FIG. 11C are cross-sectional views in order of steps showing a method for manufacturing a main part of a semiconductor device according to the third embodiment of the present invention.
  • FIG. 12 is a sectional view showing the structure of a semiconductor device according to the fourth embodiment of the present invention.
  • FIG. 13 is a structural sectional view showing a semiconductor device according to a modification of the fourth embodiment of the present invention.
  • 14 (a) to 14 (c) are process cross-sectional views illustrating the manufacturing method of the main part of the semiconductor device according to the fourth embodiment of the present invention.
  • FIG. 15 is a structural sectional view showing a semiconductor device according to the fifth embodiment of the present invention.
  • FIG. 16 is a structural cross-sectional view showing a semiconductor device according to a first modification of the fifth embodiment of the present invention.
  • FIG. 17 is a structural cross-sectional view showing a semiconductor device according to a second modification of the fifth embodiment of the present invention.
  • FIG. 18F are cross-sectional views in order of steps showing a method for manufacturing a semiconductor device according to a first modification of the fifth embodiment of the present invention.
  • 19 (a) to 19 (f) are cross-sectional structural views showing a conventional method for manufacturing a semiconductor device having a metal gate having a MIPS structure.
  • FIG. 20 is a graph showing the relationship between the value of the interface resistance between the polysilicon film and the TiN film and the delay time of the gate electrode in a conventional metal gate having a MIPS structure.
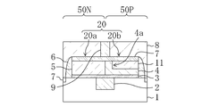
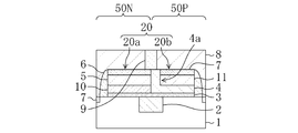
  • FIG. 1 shows a cross-sectional configuration in the gate width direction of a transistor including a metal gate having a MIPS structure as a semiconductor device according to a first embodiment of the present invention.
  • an upper portion of a semiconductor substrate 1 made of silicon (Si) is formed on an NFET (N-type ⁇ ⁇ field effect transistor) formation region 50N and a PFET (PFET) by an element isolation film 2 made of shallow trench isolation (STI) or the like.
  • NFET N-type ⁇ ⁇ field effect transistor
  • PFET PFET
  • element isolation film 2 made of shallow trench isolation (STI) or the like.
  • a silicon oxide (SiO 2 ) film having a thickness of 1.5 nm and a hafnium silicon oxynitride (HfSiON) film having a thickness of 3.0 nm are formed on the main surface of the semiconductor substrate 1 on which the element isolation film 2 is formed.
  • a silicon oxide (SiO 2 ) film having a thickness of 1.5 nm and a hafnium silicon oxynitride (HfSiON) film having a thickness of 3.0 nm are formed on the main surface of the semiconductor substrate 1 on which the element isolation film 2 is formed.
  • a silicon oxide (SiO 2 ) film having a thickness of 1.5 nm and a hafnium silicon oxynitride (HfSiON) film having a thickness of 3.0 nm are formed on the main surface of the semiconductor substrate 1 on which the element isolation film 2 is formed.
  • the gate electrode 20 is formed across the NFET formation region 50N and the PFET formation region 50P. Specifically, in the NFET formation region 50N, the first gate electrode portion 20a formed of the polysilicon film 5 having the nickel silicide layer 7 formed thereon and having a thickness of 100 nm is formed, and the PFET formation region 50P is formed. , A second gate electrode portion 20b composed of a titanium nitride (TiN) film 4 having a thickness of 10 nm, a nickel silicide layer 7 formed thereon, and a polysilicon film 5 having a thickness of 100 nm is formed. ing. In the nickel silicide layer 7, the metal to be silicided is not limited to nickel (Ni), and cobalt (Co), titanium (Ti), or the like can be used.
  • the gate electrode 20 is covered with an interlayer insulating film 8 made of, for example, silicon oxide. Titanium (Ti) which is directly connected to the TiN film 4 through the interlayer insulating film 8, the nickel silicide layer 7 and the polysilicon film 5 at the boundary portion of the NFET forming region 50N and the PFET forming region 50P in the gate electrode 20 Then, a contact 9 formed by laminating titanium nitride (TiN) and tungsten (W) is formed.
  • the formation position of the contact 9 is not necessarily limited to the boundary portion between the NFET formation region 50N and the PFET formation region 50P, and may be a position where the contact 9 and the TiN film 4 are directly connected.
  • the contact 9 penetrates the polysilicon film 5 in the second gate electrode portion 20b and is directly connected to the TiN film 4. Therefore, there is no interface between the contact 9 and the TiN film 4 that tends to have a high resistance between the polysilicon film 5 and the TiN film 4, so that a high-speed operation can be realized for the PFET.
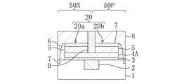
  • FIG. 2 shows a cross-sectional configuration of a semiconductor device according to a first modification of the first embodiment of the present invention.
  • the same components as those of FIG. 1 are identical to FIG. 2 in FIG. 2, the same components as those of FIG.
  • the first gate electrode portion 20a is also interposed between the gate insulating film 3 and the polysilicon film 5 similarly to the second gate electrode portion 20b.
  • a MIPS structure in which the TiN film 4A is provided may be employed.
  • the work function value for the gate insulating film 3 in the NFET can be adjusted by changing the dopant type for the polysilicon film 5 in the first gate electrode portion 20a.
  • a cap film such as a lanthanum oxide (LaO) film can be deposited on the gate insulating film 3.
  • the metal material of the first gate electrode portion 20a is the tantalum carbide (Ta 2 C) film 10
  • the metal material of the second gate electrode portion 20b is the TiN film 4 It is good.
  • the NFET may have a MIPS structure, and when the metal gate constituting the NFET uses the same metal material as the metal gate constituting the PFET as in the first modification, for example, a polysilicon film
  • the effective work function such as Ta 2 C or TaC is 4.6 eV or less.
  • a metal material effective for improving the operational characteristics of the NFET may be used.
  • the nickel silicide layer 7 formed on the polysilicon film 5 constituting the gate electrode 20 is not necessarily formed.
  • FIGS. 4A to 4E show cross-sectional structures in the order of steps of the method for manufacturing a semiconductor device according to the first embodiment of the present invention.
  • an element isolation film 2 made of STI or the like is selectively formed on a semiconductor substrate 1 made of Si, so that the semiconductor substrate 1 is formed with an NFET formation region 50N and a PFET formation region. Divide into 50P.
  • impurity implantation for controlling the threshold value (Vt) by p-type impurities is performed in the NFET formation region 50N of the semiconductor substrate 1, and Vt control by n-type impurities is performed in the PFET formation region 50P.
  • Impurity implantation is performed.
  • activation heat treatment of the implanted impurities is performed, and the surface oxide film of the semiconductor substrate 1 is removed.
  • a thermal oxide film (not shown) made of silicon oxide having a thickness of 1.5 nm is formed on the surface of the semiconductor substrate 1 by thermal oxidation.
  • a hafnium silicon oxide (HfSiO) film having a thickness of 3.0 nm is deposited on the thermal oxide film by a CVD method.
  • the surface of the deposited HfSiO film is nitrided to form the gate insulating film 3 made of a laminated film containing a high dielectric material of hafnium silicon oxynitride (HfSiON) and silicon oxide (SiO 2 ).
  • the high dielectric is not limited to hafnium silicon oxynitride, and hafnium silicon oxide (HfSiO), hafnium oxide (HfO 2 ), a zirconium (Zr) -based oxide, or the like can be used.
  • the gate insulating film 3 may be silicon oxide (SiO 2 ) or silicon oxynitride (SiON) that does not contain a high dielectric material.
  • a titanium nitride (TiN) film 4 having a thickness of 10 nm is deposited over the entire surface of the gate insulating film 3.
  • a chemical vapor deposition (CVD) method, a physical vapor deposition (PVD) method, an atomic layer deposition (ALD) method, or the like can be used to form the TiN film 4.
  • the metal material for the metal gate is not limited to TiN, and a material containing an effective metal such as TaCNO or TaN that has an effective work function of 4.6 eV or more and is effective for improving the operating characteristics of the PFET can be used.
  • a resist mask (not shown) covering the PFET formation region 50P is formed by lithography, and the TiN film 4 in the NFET formation region 50N is removed by wet etching using the formed resist mask. Thereafter, the resist mask is removed.
  • a polysilicon film 5 having a thickness of 100 nm is deposited over the entire surface of the gate insulating film 3 and the TiN film 4 by the CVD method.
  • gate patterning is performed by a lithography method and a dry etching method to form a first gate electrode portion 20a made of the polysilicon film 5 in the NFET formation region 50N.
  • a second gate electrode portion 20b serving as a metal gate composed of the TiN film 4 and the polysilicon film 5 is formed.
  • LDD lightly doped drain
  • a nickel (Ni) film is deposited on the entire surface of the semiconductor substrate 1 and subjected to a predetermined heat treatment, so that it is formed on the upper part of the source / drain and the upper part of the gate electrode 20.
  • a nickel silicide layer 7 is formed respectively.
  • an interlayer insulating film 8 is deposited on the semiconductor substrate 1, and the upper surface of the deposited interlayer insulating film 8 is planarized by a chemical mechanical polishing (CMP) method.
  • CMP chemical mechanical polishing
  • the lower TiN film 4 with respect to the interlayer insulating film 8, the nickel silicide layer 7 and the polysilicon film 5 is exposed at the boundary portion between the NFET forming region 50N and the PFET forming region 50P in the gate electrode 20.
  • Contact holes are selectively formed.
  • a Ti film formed by sputtering, a TiN film formed by CVD, and a W film are sequentially deposited, and a contact 9 is filled to form a contact 9.
  • a metal gate having a MIPS structure and having the contact 9 directly connected to the TiN film 4 is formed in the PFET formation region 50P, and a polysilicon gate is formed in the NFET formation region 50N.
  • a semiconductor device having an NFET and a PFET suitable for high-frequency operation can be formed.
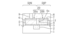
  • FIG. 5 shows a cross-sectional configuration in the gate width direction of a transistor including a metal gate having a MIPS structure as a semiconductor device according to the second embodiment of the present invention.
  • the upper part of the semiconductor substrate 1 made of Si is partitioned into an NFET formation region 50N and a PFET formation region 50P by an element isolation film 2 made of STI or the like.
  • a gate insulating film 3 composed of a SiO 2 film having a thickness of 1.5 nm and a HfSiON film having a thickness of 3.0 nm is formed. .
  • the gate electrode 20 is formed across the NFET formation region 50N and the PFET formation region 50P. Specifically, in the NFET formation region 50N, the first gate electrode portion 20a composed of the first polysilicon film 5 having a thickness of 100 nm is formed, and in the PFET formation region 50P, the thickness is 10 nm. A second gate electrode portion 20b composed of the TiN film 4 and the second polysilicon film 11 having a thickness of 90 nm is formed.
  • the TiN film 4 constituting the PFET has a vertical portion 4a that rises perpendicularly to the main surface of the semiconductor substrate 1 at the boundary between the PFET formation region 50P and the NFET formation region 50N. ing.
  • the formation position of the vertical portion 4a is not necessarily limited to the boundary portion between the NFET formation region 50N and the PFET formation region 50P.
  • the gate electrode 20 is covered with an interlayer insulating film 8 made of, for example, silicon oxide.
  • a contact 9 formed by laminating Ti, TiN, and W directly through the interlayer insulating film 8 and directly connected to the vertical portion 4a of the TiN film 4 is provided above the vertical portion 4a of the TiN film 4 in the gate electrode 20. Is formed.
  • the contact 9 is directly connected to the vertical portion 4 a where the TiN film 4 constituting the second gate electrode portion 20 b is exposed from the second polysilicon film 11. . Therefore, there is no interface between the contact 9 and the TiN film 4 that tends to be a high resistance between the second polysilicon film 11 and the TiN film 4, so that a high-speed operation can be realized for the PFET. it can.
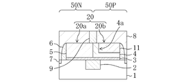
  • FIG. 6 shows a cross-sectional configuration of a semiconductor device according to a first modification of the second embodiment of the present invention.
  • a nickel silicide layer 7 may be formed on the first polysilicon film 5 and the second polysilicon film 11 constituting the gate electrode 20.
  • the contact 9 is not necessarily a TiN film. 4 may be connected via the nickel silicide layer 7.
  • FIG. 8A to FIG. 8F show cross-sectional structures in the order of steps of the semiconductor device manufacturing method according to the first modification of the second embodiment of the present invention.
  • an element isolation film 2 made of STI or the like is selectively formed on an upper part of a semiconductor substrate 1 made of Si, and the semiconductor substrate 1 is formed with an NFET formation region 50N and a PFET formation region. Divide into 50P. Thereafter, although not shown, Vt control impurity implantation by p-type impurities is performed in the NFET formation region 50N of the semiconductor substrate 1, and Vt control impurity implantation is performed by n-type impurities in the PFET formation region 50P. . Subsequently, activation heat treatment of the implanted impurities is performed, and the surface oxide film of the semiconductor substrate 1 is removed.
  • a thermal oxide film (not shown) made of silicon oxide having a thickness of 1.5 nm is formed on the surface of the semiconductor substrate 1 by thermal oxidation.
  • an HfSiO film having a thickness of 3.0 nm is deposited on the thermal oxide film by a CVD method.
  • the surface of the deposited HfSiO film is nitrided to form a gate insulating film 3 made of a laminated film containing a high dielectric material of HfSiON and SiO 2 .
  • the gate insulating film 3 may be made of SiO 2 or SiON not containing a high dielectric material.
  • a first polysilicon film 5 having a thickness of 150 nm is deposited over the entire surface of the gate insulating film 3 by CVD.
  • a resist mask (not shown) that covers the NFET formation region 50N is formed by lithography, and the first polysilicon film 5 in the PFET formation region 50P is removed by wet etching using the formed resist mask.
  • an ammonia (NH 3 ) solution can be used for wet etching of polysilicon.
  • the etching selectivity of HfSiON to silicon using an ammonia solution is almost 0. Therefore, the first polysilicon film 5 can be etched with the ammonia solution without etching the gate insulating film 3. Thereafter, the resist mask is removed.
  • a TiN film 4 having a thickness of 10 nm is deposited on the entire surface of the gate insulating film 3 and the first polysilicon film 5 by the PVD method.
  • the TiN film 4 may be deposited by CVD or ALD.
  • the vertical portion 4a needs to be formed on the end surface of the first polysilicon film 5 formed in the NFET formation region 50N on the PFET formation region 50P side.
  • the metal material for forming the metal gate of the PFET is not limited to TiN, and a metal material effective for improving the operating characteristics of the PFET having an effective work function of 4.6 eV or more, such as TaCNO or TaN, can be used.
  • a second polysilicon film 11 having a conductivity of 150 nm is deposited on the TiN film 4 by CVD.
  • the deposited second polysilicon film 11, TiN film 4 and first polysilicon film 5 are polished by CMP to flatten the surface.
  • polishing is performed so that the thickness of the first polysilicon film 5 in the NFET formation region 50N is 100 nm, and thereby the thickness of the second polysilicon film 11 is 90 nm in the PFET formation region 50p.
  • the vertical portion 4a of the deposited TiN film 4 is located between the first polysilicon film 5 and the second polysilicon film 11 at the boundary portion between the NFET formation region 50N and the PFET formation region 50P by this CMP process. Exposed.
  • gate patterning is performed by lithography and dry etching, and in the NFET formation region 50N, the first gate electrode portion 20a made of the first polysilicon film 5 is formed.
  • the PFET formation region 50P a second gate electrode portion 20b serving as a metal gate composed of the TiN film 4 and the second polysilicon film 11 is formed.
  • a nickel (Ni) film is deposited on the entire surface of the semiconductor substrate 1, and a predetermined heat treatment is performed to form the upper portion of the source / drain and the gate electrode 20.
  • a nickel silicide layer 7 is formed on each of the first polysilicon film 5 and the second polysilicon film 11.
  • an interlayer insulating film 8 is deposited on the semiconductor substrate 1, and the upper surface of the deposited interlayer insulating film 8 is planarized by CMP. Subsequently, a contact hole is formed at the boundary between the NFET formation region 50N and the PFET formation region 50P in the gate electrode 20 so as to expose the vertical portion 4a of the TiN film 4 below the interlayer insulating film 8. Thereafter, a Ti film formed by sputtering, a TiN film formed by CVD, and a W film are sequentially deposited, and a contact 9 is filled to form a contact 9.
  • a metal gate having a MIPS structure and having the contact 9 directly connected to the vertical portion 4a of the TiN film 4 is formed, and in the NFET formation region 50N, a polysilicon gate is formed. Is done.
  • the TiN film 4 constituting the metal gate of the PFET is provided with the vertical portion 4a exposed from the second polysilicon film 11 formed on the upper side thereof.
  • a semiconductor device having an NFET and a PFET suitable for high-frequency operation can be formed only by forming a contact hole only in the interlayer insulating film 8.
  • the lower end portion of the contact 9 is not necessarily directly connected to the vertical portion 4 a of the TiN film 4. There is no need to be connected to the nickel silicide layer 7, and it may be directly connected to the nickel silicide layer 7.
  • FIG. 9 shows a cross-sectional configuration in the gate width direction of a transistor including a metal gate having a MIPS structure as a semiconductor device according to the third embodiment of the present invention.
  • the same components as those of FIG. 9 are identical to FIG. 9 in FIG. 9, the same components as those of FIG.
  • the semiconductor device according to the third embodiment is formed on the first polysilicon film 5, the vertical portion 4 a of the TiN film 4, and the second polysilicon film 11 constituting the gate electrode 20.
  • a third polysilicon film 12 having a conductivity of 20 nm in thickness is formed.
  • the nickel silicide layer 7 is formed on the upper portion of the third polysilicon film 12. Therefore, the contact 9 penetrates the nickel silicide layer 7 and the third polysilicon film 12 and is directly connected to the upper end surface of the vertical portion 4 a of the TiN film 4.
  • FIG. 10 shows a cross-sectional configuration of a semiconductor device according to a modification of the third embodiment.
  • the thickness of the third polysilicon film 12 is reduced to, for example, about 10 nm.
  • the silicon film 5, the vertical portion 4 a of the TiN film 4, and the second polysilicon film 11 are in contact with each other.
  • the lower end surface of the contact 9 does not need to be directly connected to the upper end surface of the vertical portion 4a of the TiN film 4, but may be connected to the nickel silicide layer 7. Therefore, as shown in the second modification of the second embodiment shown in FIG. 7, the formation position of the contact 9 may be shifted from the upper portion of the vertical portion 4 a in the TiN film 4.
  • FIG. 11A to FIG. 11C show cross-sectional structures in the order of steps of the method for manufacturing the main part of the semiconductor device according to the third embodiment of the present invention. Here, only differences from the second embodiment will be described.
  • the first polysilicon film 5 in the NFET formation region 50N and the second polysilicon film 11 and TiN in the PFET formation region 50p are flattened by the CMP method.
  • a third polysilicon film 12 having a conductivity of 20 nm is deposited over the entire surface of the vertical portion 4a of the film 4 by a CVD method.
  • the third polysilicon film 12 By depositing the third polysilicon film 12, the upper end surface of the vertical portion 4a of the TiN film 4 exposed from the first polysilicon film 5 and the second polysilicon film 11 is protected. For this reason, the metal contamination by the ion implanter in the extension implantation
  • gate patterning is performed by a lithography method and a dry etching method, and the NFET formation region 50N is composed of the first polysilicon film 5 and the third polysilicon 12 film.
  • a first gate electrode portion 20a is formed.
  • a second gate electrode portion 20b serving as a metal gate composed of the TiN film 4, the second polysilicon film 11, and the third polysilicon film 12 is formed.
  • an LDD layer by extension implantation into the semiconductor substrate 1 using the gate electrode 20 as a mask formation of the sidewall 6 on the gate electrode 20, and the gate electrode 20 and the sidewall 6 as a mask
  • Source / drain implantation into the semiconductor substrate 1 is performed, and activation heat treatment of the implanted impurities is performed.
  • a nickel (Ni) film is deposited on the entire surface of the semiconductor substrate 1, and a predetermined heat treatment is performed to form a nickel silicide layer 7 on the source / drain and the third polysilicon film 12, respectively.
  • the thickness of the second polysilicon film 12 is about 10 nm, most of the thickness of the second polysilicon film 12 becomes the nickel silicide layer 7.
  • an interlayer insulating film 8 is deposited on the semiconductor substrate 1, and the upper surface of the deposited interlayer insulating film 8 is planarized by CMP. Subsequently, a vertical portion of the TiN film 4 passes through the interlayer insulating film 8, the nickel silicide layer 7, and the third polysilicon film 12 at the boundary portion between the NFET forming region 50 N and the PFET forming region 50 P in the gate electrode 20. A contact hole exposing 4a is formed. Thereafter, a Ti film formed by sputtering, a TiN film formed by CVD, and a W film are sequentially deposited, and a contact 9 is filled to form a contact 9.
  • the thickness of the third polysilicon film 12 is reduced or the thickness of the nickel film is increased, all of the third polysilicon film 12 is silicided, and the nickel silicide layer 7 and the TiN film 4 are formed.
  • the vertical portion 4a is directly connected. For this reason, the contact hole only needs to be in contact with the nickel silicide layer 7.
  • a metal gate having a MIPS structure and having the contact 9 connected to the vertical portion 4a of the TiN film 4 directly or via the nickel silicide layer 7 is formed.
  • a polysilicon gate is formed.
  • the vertical portion 4a exposed from the second polysilicon film 11 formed on the TiN film 4 constituting the metal gate of the PFET, and the vertical portion 4a.
  • a third polysilicon film 12 and a nickel silicide layer 7 that cover the surface, and a contact 9 penetrating to the vertical portion 4a are provided. For this reason, since the polysilicon film does not intervene in the current path between the contact 9 and the TiN film 4, a semiconductor device having an NFET and a PFET suitable for high-frequency operation can be formed.
  • FIG. 12 shows a cross-sectional configuration in the gate width direction of a transistor including a metal gate having a MIPS structure as a semiconductor device according to the fourth embodiment of the present invention.
  • the same components as those in FIG. 12 are identical to FIG. 12 in FIG. 12, the same components as those in FIG. 12
  • the semiconductor device according to the fourth embodiment is formed on the first polysilicon film 5, the vertical portion 4 a of the TiN film 4, and the second polysilicon film 11 constituting the gate electrode 20.
  • a metal film 13 made of a TiN film having a thickness of 10 nm and a W film having a thickness of 50 nm, and a cap insulating film 14 made of silicon nitride (SiN) are sequentially formed.
  • the contact 9 according to the fourth embodiment penetrates through the cap insulating film 14 and is electrically connected to the upper end surface of the vertical portion 4 a of the TiN film 4 through the metal film 13.
  • FIG. 13 shows a modification of the fourth embodiment.
  • the TiN film 4 of the metal gate constituting the PFET is electrically connected to the contact 9 via the metal film 13, so that the position where the contact 9 is formed is as shown in FIG.
  • the TiN film 4 may be displaced from the upper portion of the vertical portion 4a.
  • the first polysilicon film 5 in the NFET formation region 50N and the second polysilicon film 11 and TiN in the PFET formation region 50p are planarized by the CMP method.
  • a metal film 13 made of a TiN film having a thickness of 10 nm by the PVD method and a W film having a thickness of 50 nm by the PVD method is formed over the entire vertical portion 4a of the film 4.
  • a cap insulating film 14 made of SiN having a thickness of 100 nm is formed on the metal film 13 by low-pressure CVD.
  • gate patterning is performed by lithography and dry etching, and in the NFET formation region 50N, the first gate made of the first polysilicon film 5 and the metal film 13 is formed.
  • the electrode part 20a is formed.
  • a second gate electrode portion 20b serving as a metal gate composed of the TiN film 4, the second polysilicon film 11, and the metal film 13 is formed.
  • Source / drain implantation into the semiconductor substrate 1 is performed, and activation heat treatment of the implanted impurities is performed.
  • a nickel (Ni) film is deposited on the entire surface of the semiconductor substrate 1, and a predetermined heat treatment is performed to form nickel silicide layers 7 on the source / drain.
  • an interlayer insulating film 8 is deposited on the semiconductor substrate 1, and the upper surface of the deposited interlayer insulating film 8 is planarized by CMP. Subsequently, a contact hole that exposes the metal film 13 through the interlayer insulating film 8 and the cap insulating film 14 is formed at a boundary portion between the NFET forming region 50N and the PFET forming region 50P in the gate electrode 20. Thereafter, a Ti film formed by sputtering, a TiN film formed by CVD, and a W film are sequentially deposited, and a contact 9 is filled to form a contact 9.
  • the metal gate connected to the vertical portion 4a of the TiN film 4 through the metal film 13 having the MIPS structure and the TiN film and the W film laminated is formed.
  • a polysilicon gate is formed in the NFET formation region 50N.
  • the vertical portion 4a exposed from the second polysilicon film 11 formed on the TiN film 4 constituting the metal gate of the PFET and the vertical portion 4a are provided.
  • a covering metal film 13 is provided.
  • FIG. 15 shows a cross-sectional configuration in the gate width direction of a transistor including a metal gate having a MIPS structure, which is a semiconductor device according to the fifth embodiment of the present invention.
  • the same components as those of FIG. 15 are identical to FIG. 15 and the same components as those of FIG.
  • the semiconductor device includes an NFET between the gate insulating film 3 and the first polysilicon film 5 also in the first gate electrode portion 20a constituting the NFET.
  • tantalum carbide Ti 2 C
  • Ta 2 C which is an effective metal material for improving the operating characteristics, is provided to form a metal gate having a MIPS structure.
  • the contact 9 according to the fifth embodiment is directly connected to the upper end surface of the vertical portion 4 a of the TiN film 4.
  • FIG. 16 shows a cross-sectional configuration of a semiconductor device according to a first modification of the fifth embodiment of the present invention.
  • the same components as those in FIG. 16 the same components as those in FIG.
  • a nickel silicide layer 7 may be formed on top of the first polysilicon film 5 and the second polysilicon film 11 constituting the gate electrode 20.
  • the contact 9 is not necessarily a TiN film. It is not necessary to be directly connected to the vertical portion of 4, and it may be connected via the nickel silicide layer 7.
  • FIG. 18A to FIG. 18F show cross-sectional structures in the order of steps of the semiconductor device manufacturing method according to the first modification of the fifth embodiment of the present invention.
  • an element isolation film 2 made of STI or the like is selectively formed on a semiconductor substrate 1 made of Si, so that the semiconductor substrate 1 is formed with an NFET formation region 50N and a PFET formation region. Divide into 50P. Thereafter, although not shown, Vt control impurity implantation by p-type impurities is performed in the NFET formation region 50N of the semiconductor substrate 1, and Vt control impurity implantation is performed by n-type impurities in the PFET formation region 50P. . Subsequently, activation heat treatment of the implanted impurities is performed, and the surface oxide film of the semiconductor substrate 1 is removed.
  • a thermal oxide film (not shown) made of silicon oxide having a thickness of 1.5 nm is formed on the surface of the semiconductor substrate 1 by thermal oxidation.
  • an HfSiO film having a thickness of 3.0 nm is deposited on the thermal oxide film by a CVD method.
  • the surface of the deposited HfSiO film is nitrided to form a gate insulating film 3 made of a laminated film containing a high dielectric material of HfSiON and SiO 2 .
  • the gate insulating film 3 may be made of SiO 2 or SiON not containing a high dielectric material.
  • a Ta 2 C film 10 having a thickness of 10 nm which is a metal material for NFET, is deposited on the entire surface of the gate insulating film 3 by the PVD method.
  • a first polysilicon film 5 having a conductivity of 150 nm is deposited on the Ta 2 C film 10 by CVD.
  • a resist mask (not shown) that covers the NFET formation region 50N is formed by lithography, and the first polysilicon film 5 and the Ta 2 C film 10 in the PFET formation region 50P are formed using the formed resist mask. Remove by wet etching. Thereafter, the resist mask is removed.
  • the TiN film 4 may be deposited by CVD or ALD.
  • a vertical portion 4a is formed on the Ta 2 C film 10 formed in the NFET formation region 50N and the end surface of the first polysilicon film 5 on the PFET formation region 50P side. There is a need.
  • the metal material for forming the metal gate of the PFET is not limited to TiN, and a metal material effective for improving the operating characteristics of the PFET having an effective work function of 4.6 eV or more, such as TaCNO or TaN, can be used. Subsequently, a second polysilicon film 11 having a conductivity of 150 nm is deposited on the TiN film 4 by CVD.
  • the deposited second polysilicon film 11, TiN film 4 and first polysilicon film 5 are polished by CMP to flatten the surface. .
  • polishing is performed so that the thickness of the first polysilicon film 5 in the NFET formation region 50N is 90 nm, whereby the thickness of the second polysilicon film 11 is 90 nm in the PFET formation region 50p.
  • the vertical portion 4a of the deposited TiN film 4 is between the first polysilicon film 5 and the second polysilicon film 11 at the boundary portion between the NFET formation region 50N and the PFET formation region 50P by this CMP process. Exposed from.
  • gate patterning is performed by lithography and dry etching, and in the NFET formation region 50N, a metal gate composed of the Ta 2 C film 10 and the first polysilicon film 5 is formed.
  • the first gate electrode portion 20a is formed.
  • a second gate electrode portion 20b serving as a metal gate composed of the TiN film 4 and the second polysilicon film 11 is formed.
  • a nickel (Ni) film is deposited on the entire surface of the semiconductor substrate 1, and a predetermined heat treatment is performed to form the upper portion of the source / drain and the gate electrode 20.
  • a nickel silicide layer 7 is formed on each of the first polysilicon film 5 and the second polysilicon film 11.
  • an interlayer insulating film 8 is deposited on the semiconductor substrate 1, and the upper surface of the deposited interlayer insulating film 8 is planarized by CMP. Subsequently, a contact hole is formed at the boundary between the NFET formation region 50N and the PFET formation region 50P in the gate electrode 20 so as to expose the vertical portion 4a of the TiN film 4 below the interlayer insulating film 8. Thereafter, a Ti film formed by sputtering, a TiN film formed by CVD, and a W film are sequentially deposited, and a contact 9 is filled to form a contact 9.
  • a metal gate having a MIPS structure and having the contact 9 directly connected to the vertical portion 4a of the TiN film 4 is formed.
  • a metal gate having a MIPS structure connected directly to the contact 9 through the TiN film 4 is formed.
  • the TiN film 4 constituting the metal gate of the PFET is provided with the vertical portion 4a exposed from the second polysilicon film 11 formed on the upper side thereof.
  • a semiconductor device having an NFET and a PFET suitable for high-frequency operation can be formed only by forming a contact hole only in the interlayer insulating film 8.
  • the lower end portion of the contact 9 is not necessarily directly connected to the vertical portion 4 a of the TiN film 4. There is no need to be connected to the nickel silicide layer 7, and it may be directly connected to the nickel silicide layer 7.
  • the semiconductor device and the manufacturing method thereof according to the present invention are useful for a semiconductor device having a metal gate having a MIPS structure.

Landscapes

  • Electrodes Of Semiconductors (AREA)
  • Metal-Oxide And Bipolar Metal-Oxide Semiconductor Integrated Circuits (AREA)
  • Internal Circuitry In Semiconductor Integrated Circuit Devices (AREA)
  • Insulated Gate Type Field-Effect Transistor (AREA)
PCT/JP2009/000827 2008-06-24 2009-02-25 半導体装置及びその製造方法 Ceased WO2009157113A1 (ja)

Priority Applications (1)

Application Number Priority Date Filing Date Title
US12/712,688 US8004046B2 (en) 2008-06-24 2010-02-25 Semiconductor device and method for fabricating the same

Applications Claiming Priority (2)

Application Number Priority Date Filing Date Title
JP2008164892A JP2010010224A (ja) 2008-06-24 2008-06-24 半導体装置及びその製造方法
JP2008-164892 2008-06-24

Related Child Applications (1)

Application Number Title Priority Date Filing Date
US12/712,688 Continuation US8004046B2 (en) 2008-06-24 2010-02-25 Semiconductor device and method for fabricating the same

Publications (1)

Publication Number Publication Date
WO2009157113A1 true WO2009157113A1 (ja) 2009-12-30

Family

ID=41444186

Family Applications (1)

Application Number Title Priority Date Filing Date
PCT/JP2009/000827 Ceased WO2009157113A1 (ja) 2008-06-24 2009-02-25 半導体装置及びその製造方法

Country Status (3)

Country Link
US (1) US8004046B2 (enExample)
JP (1) JP2010010224A (enExample)
WO (1) WO2009157113A1 (enExample)

Cited By (1)

* Cited by examiner, † Cited by third party
Publication number Priority date Publication date Assignee Title
WO2011036828A1 (ja) * 2009-09-28 2011-03-31 パナソニック株式会社 半導体装置の製造方法及びそれを用いた半導体装置

Families Citing this family (2)

* Cited by examiner, † Cited by third party
Publication number Priority date Publication date Assignee Title
US8378428B2 (en) * 2010-09-29 2013-02-19 Taiwan Semiconductor Manufacturing Company, Ltd. Metal gate structure of a semiconductor device
US9041114B2 (en) * 2013-05-20 2015-05-26 Kabushiki Kaisha Toshiba Contact plug penetrating a metallic transistor

Citations (3)

* Cited by examiner, † Cited by third party
Publication number Priority date Publication date Assignee Title
JPH05206461A (ja) * 1992-01-14 1993-08-13 Nec Corp 半導体装置の製造方法
JP2005236120A (ja) * 2004-02-20 2005-09-02 Oki Electric Ind Co Ltd 半導体装置及びその製造方法
JP2006237372A (ja) * 2005-02-25 2006-09-07 Toshiba Corp 半導体装置

Family Cites Families (7)

* Cited by examiner, † Cited by third party
Publication number Priority date Publication date Assignee Title
JP3394022B2 (ja) 1999-08-16 2003-04-07 松下電器産業株式会社 半導体装置及びその製造方法
JP3247099B2 (ja) 2000-01-20 2002-01-15 松下電器産業株式会社 電極構造体の形成方法及び半導体装置の製造方法
US6509254B1 (en) * 2000-01-20 2003-01-21 Matsushita Electric Industrial Co., Ltd. Method of forming electrode structure and method of fabricating semiconductor device
WO2001071807A1 (en) * 2000-03-24 2001-09-27 Fujitsu Limited Semiconductor device and method of manufacture thereof
US6518106B2 (en) * 2001-05-26 2003-02-11 Motorola, Inc. Semiconductor device and a method therefor
JP2007088122A (ja) 2005-09-21 2007-04-05 Renesas Technology Corp 半導体装置
KR100741857B1 (ko) * 2006-05-03 2007-07-24 삼성전자주식회사 계면 저항을 줄일 수 있는 게이트 콘택 구조체를 구비하는반도체 장치 및 그 제조 방법

Patent Citations (3)

* Cited by examiner, † Cited by third party
Publication number Priority date Publication date Assignee Title
JPH05206461A (ja) * 1992-01-14 1993-08-13 Nec Corp 半導体装置の製造方法
JP2005236120A (ja) * 2004-02-20 2005-09-02 Oki Electric Ind Co Ltd 半導体装置及びその製造方法
JP2006237372A (ja) * 2005-02-25 2006-09-07 Toshiba Corp 半導体装置

Cited By (1)

* Cited by examiner, † Cited by third party
Publication number Priority date Publication date Assignee Title
WO2011036828A1 (ja) * 2009-09-28 2011-03-31 パナソニック株式会社 半導体装置の製造方法及びそれを用いた半導体装置

Also Published As

Publication number Publication date
JP2010010224A (ja) 2010-01-14
US20100148281A1 (en) 2010-06-17
US8004046B2 (en) 2011-08-23

Similar Documents

Publication Publication Date Title
US12046657B2 (en) Method of manufacturing a semiconductor device including capping layer, barrier layer and work function layer
US7601623B2 (en) Method of manufacturing a semiconductor device with a gate electrode having a laminate structure
US9472638B2 (en) FinFETs with multiple threshold voltages
US8546212B2 (en) Semiconductor device and fabricating method thereof
US8581351B2 (en) Replacement gate with reduced gate leakage current
US8384166B2 (en) Method for manufacturing semiconductor device and semiconductor device
TW201705298A (zh) 具有金屬閘極之半導體元件及其製作方法
KR100650698B1 (ko) 듀얼 게이트를 갖는 반도체 장치의 제조 방법
CN112736079A (zh) 具有连接pmos区域栅极结构的接触插塞的半导体元件
US9780180B2 (en) Semiconductor device with partially unsilicided source/drain
TW201601202A (zh) 半導體元件及其製作方法
TWI525714B (zh) 雙工作函數半導體元件及其形成方法
WO2009157113A1 (ja) 半導体装置及びその製造方法
TWI625792B (zh) 半導體元件及其製作方法
TWI490949B (zh) 具有金屬閘極之電晶體及其製作方法
WO2011036828A1 (ja) 半導体装置の製造方法及びそれを用いた半導体装置
JP2012231071A (ja) 半導体装置及びその製造方法
KR20100051137A (ko) 반도체 소자 및 그 제조 방법.
JP2010010223A (ja) 半導体装置及びその製造方法
KR20100037969A (ko) P형 금속게이트전극을 갖는 cmos장치 및 그 제조 방법

Legal Events

Date Code Title Description
121 Ep: the epo has been informed by wipo that ep was designated in this application

Ref document number: 09769823

Country of ref document: EP

Kind code of ref document: A1

NENP Non-entry into the national phase

Ref country code: DE

122 Ep: pct application non-entry in european phase

Ref document number: 09769823

Country of ref document: EP

Kind code of ref document: A1