KR20180098135A - 체인 가이드 - Google Patents

체인 가이드 Download PDF

Info

Publication number
KR20180098135A
KR20180098135A KR1020180016268A KR20180016268A KR20180098135A KR 20180098135 A KR20180098135 A KR 20180098135A KR 1020180016268 A KR1020180016268 A KR 1020180016268A KR 20180016268 A KR20180016268 A KR 20180016268A KR 20180098135 A KR20180098135 A KR 20180098135A
Authority
KR
South Korea
Prior art keywords
rib
guide
chain
main body
support wall
Prior art date
Legal status (The legal status is an assumption and is not a legal conclusion. Google has not performed a legal analysis and makes no representation as to the accuracy of the status listed.)
Granted
Application number
KR1020180016268A
Other languages
English (en)
Other versions
KR102050303B1 (ko
Inventor
요헤이 나카타
토시타카 오고
Original Assignee
가부시기가이샤쯔바기모도체인
Priority date (The priority date is an assumption and is not a legal conclusion. Google has not performed a legal analysis and makes no representation as to the accuracy of the date listed.)
Filing date
Publication date
Application filed by 가부시기가이샤쯔바기모도체인 filed Critical 가부시기가이샤쯔바기모도체인
Publication of KR20180098135A publication Critical patent/KR20180098135A/ko
Application granted granted Critical
Publication of KR102050303B1 publication Critical patent/KR102050303B1/ko
Active legal-status Critical Current
Anticipated expiration legal-status Critical

Links

Images

Classifications

    • FMECHANICAL ENGINEERING; LIGHTING; HEATING; WEAPONS; BLASTING
    • F16ENGINEERING ELEMENTS AND UNITS; GENERAL MEASURES FOR PRODUCING AND MAINTAINING EFFECTIVE FUNCTIONING OF MACHINES OR INSTALLATIONS; THERMAL INSULATION IN GENERAL
    • F16HGEARING
    • F16H7/00Gearings for conveying rotary motion by endless flexible members
    • F16H7/18Means for guiding or supporting belts, ropes, or chains
    • FMECHANICAL ENGINEERING; LIGHTING; HEATING; WEAPONS; BLASTING
    • F16ENGINEERING ELEMENTS AND UNITS; GENERAL MEASURES FOR PRODUCING AND MAINTAINING EFFECTIVE FUNCTIONING OF MACHINES OR INSTALLATIONS; THERMAL INSULATION IN GENERAL
    • F16HGEARING
    • F16H7/00Gearings for conveying rotary motion by endless flexible members
    • F16H7/08Means for varying tension of belts, ropes or chains 
    • FMECHANICAL ENGINEERING; LIGHTING; HEATING; WEAPONS; BLASTING
    • F02COMBUSTION ENGINES; HOT-GAS OR COMBUSTION-PRODUCT ENGINE PLANTS
    • F02BINTERNAL-COMBUSTION PISTON ENGINES; COMBUSTION ENGINES IN GENERAL
    • F02B67/00Engines characterised by the arrangement of auxiliary apparatus not being otherwise provided for, e.g. the apparatus having different functions; Driving auxiliary apparatus from engines, not otherwise provided for
    • F02B67/04Engines characterised by the arrangement of auxiliary apparatus not being otherwise provided for, e.g. the apparatus having different functions; Driving auxiliary apparatus from engines, not otherwise provided for of mechanically-driven auxiliary apparatus
    • F02B67/06Engines characterised by the arrangement of auxiliary apparatus not being otherwise provided for, e.g. the apparatus having different functions; Driving auxiliary apparatus from engines, not otherwise provided for of mechanically-driven auxiliary apparatus driven by means of chains, belts, or like endless members
    • FMECHANICAL ENGINEERING; LIGHTING; HEATING; WEAPONS; BLASTING
    • F16ENGINEERING ELEMENTS AND UNITS; GENERAL MEASURES FOR PRODUCING AND MAINTAINING EFFECTIVE FUNCTIONING OF MACHINES OR INSTALLATIONS; THERMAL INSULATION IN GENERAL
    • F16HGEARING
    • F16H7/00Gearings for conveying rotary motion by endless flexible members
    • F16H7/08Means for varying tension of belts, ropes or chains 
    • F16H2007/0863Finally actuated members, e.g. constructional details thereof
    • F16H2007/0872Sliding members
    • FMECHANICAL ENGINEERING; LIGHTING; HEATING; WEAPONS; BLASTING
    • F16ENGINEERING ELEMENTS AND UNITS; GENERAL MEASURES FOR PRODUCING AND MAINTAINING EFFECTIVE FUNCTIONING OF MACHINES OR INSTALLATIONS; THERMAL INSULATION IN GENERAL
    • F16HGEARING
    • F16H7/00Gearings for conveying rotary motion by endless flexible members
    • F16H7/08Means for varying tension of belts, ropes or chains 
    • F16H2007/0889Path of movement of the finally actuated member
    • F16H2007/0893Circular path
    • FMECHANICAL ENGINEERING; LIGHTING; HEATING; WEAPONS; BLASTING
    • F16ENGINEERING ELEMENTS AND UNITS; GENERAL MEASURES FOR PRODUCING AND MAINTAINING EFFECTIVE FUNCTIONING OF MACHINES OR INSTALLATIONS; THERMAL INSULATION IN GENERAL
    • F16HGEARING
    • F16H7/00Gearings for conveying rotary motion by endless flexible members
    • F16H7/18Means for guiding or supporting belts, ropes, or chains
    • F16H2007/185Means for guiding or supporting belts, ropes, or chains the guiding surface in contact with the belt, rope or chain having particular shapes, structures or materials

Landscapes

  • Engineering & Computer Science (AREA)
  • General Engineering & Computer Science (AREA)
  • Mechanical Engineering (AREA)
  • Chemical & Material Sciences (AREA)
  • Combustion & Propulsion (AREA)
  • Devices For Conveying Motion By Means Of Endless Flexible Members (AREA)

Abstract

[과제] 간단한 구성으로, 내구성을 향상시키고, 경량화를 가능하게 하여 재료 코스트를 저감함과 동시에, 금형 내에서의 수지의 원활한 유동을 저해하지 않고, 치수 오차, 형상 오차나 내부의 왜곡, 결손 등을 저감하고, 내부 응력이나, 반복된 휨 응력의 집중을 방지할 수 있는 체인 가이드를 제공하는 것이다. [해결 수단] 본체부(120)의 보강 리브(122)가, 2개소의 지지부(Pt) 간의 거리(L)에 대해 20% 이상의 길이에 걸쳐서 보강 리브의 다른 부분과는 접속되지 않는 독립 영역(126)을 갖는 횡방향 리브부(125)를 갖고, 독립 영역(126)이 지지벽(121)의 높이 치수의 반의 위치에서 안내면(511)으로부터 먼 측에 설치되고 있는 것이다.

Description

체인 가이드{CHAIN GUIDE}
본 발명은, 주행하는 체인을 접동 안내하는 안내면과, 상기 안내면을 체인 주행 방향을 따라서 지지하는 본체부를 구비하고, 상기 본체부가, 보강 리브를 갖는 체인 가이드에 관한 것이다.
종래, 스프로켓(sprocket) 간을 주행하는 체인을 안정시켜 장력을 적정하게 보관 유지하기 위해서, 주행하는 체인을 접동 안내하는 안내면과, 안내면을 체인 주행 방향을 따라서 지지하는 본체부를 구비하는 체인 가이드를 이용하는 것은 관용되고 있다.
예를 들면, 도 10에 나타내듯이, 엔진 룸(E) 내의 크랭크축과 캠축의 각각에 설치한 스프로켓(S1, S2) 간에 무단현 돌려진 롤러 체인 등의 전동 체인(CH)을 주행시키는 엔진의 타이밍 시스템이며, 타이밍 체인(CH)이 엔진 룸(E) 내의 크랭크 축에 취부한 구동 스프로켓(S1)과 캠 축에 취부한 한 쌍의 종동 스프로켓(S2) 간에 무단현 돌려지고, 이 타이밍 체인(CH)이 요동하는 체인 가이드(요동 가이드)(500)와 체인 가이드(고정 가이드)(600)에 의해서 가이드 되는 타이밍 시스템이 공지이다.
이 공지의 타이밍 시스템에서는, 고정 가이드(600)는, 2개의 취부축(Q)과 엔진 룸(E) 내에 고정되고, 요동 가이드(500)는, 요동축(P)을 중심으로 타이밍 체인(CH)의 현회평면(懸回平面) 내에서 요동 가능하게 엔진 룸(E) 내에 장착되고 있다.
체인 텐셔너(T)는, 요동 가이드(500)를 압압함으로써 타이밍 체인(CH)의 장력을 적정하게 보관 유지함과 동시에 진동을 억제하고 있다.
이러한 타이밍 시스템에 이용되는 공지의 체인 가이드(요동 가이드)(500)는, 도 10, 도 11에 나타내듯이, 안내면(511)을 갖는 안내 슈(510)와 본체부(520)를 구비하고, 본체부(520)는, 안내면(511)의 반대 측으로 연장되는 지지벽(521)을 갖고, 2개소의 지지부로서, 취부 보스부(523)와 텐셔너(T)에 의해 체인 측에 압압되는 압압부(524)를 가지고 있다.
또한, 본체부(520)는, 높이 방향으로 연장되는 보강 리브(522)가 적당한 간격, 형상, 방향으로 설치되어, 본체부(520)의 강성을 높이고 있다.
또, 체인 가이드(고정 가이드)(600)는, 전술의 체인 가이드(요동 가이드)(500)의 취부 보스부(523), 압압부(524)에 대신하여, 2개소의 지지부로서 2개의 취부축(Q)에 고정하기 위한 2개의 취부 보스부(623)가 설치되고 있다.
또, 체인 가이드(500, 600)에서, 안내 슈(510)와 본체부(520)가 사출 성형 등에 의해 일체적으로 형성된 것도 공지이다.
일본 공표특허 특표2009-501887호 공보
이러한 공지의 체인 가이드에서는, 도 10의 예와 같이 엔진 룸(E) 내에 취부하는 경우, 그 설치 스페이스에 제약이 있어, 보다 작은 사이즈로 강성이나 내구성을 확보하는 것이 요구될 수 있다.
그러기 위해서는, 본체부의 지지벽이나 보강 리브의 두께를 증가시키거나, 보강 리브의 수를 늘릴 필요가 있지만, 이러한 대책에서는, 경량화가 곤란해지고, 또, 재료 코스트도 비싸진다고 하는 문제가 있었다.
또, 체인으로부터 안내면에 받는 힘에 의해서, 내부 응력이 높이 방향으로 연장되는 보강 리브의 하단부에 집중되는 것은 피하지 못하고, 체인 가이드 전체적으로 강도나 강성은 높아지지만, 국소적인 내부 응력의 집중에 의한 파손의 우려가 남는다고 하는 문제가 있었다.
또한, 본체부를 사출 성형에 의해 형성하는 경우, 보강 리브가 금형 내에서의 수지의 원활한 유동을 저해하는 요인이 되어, 보강 리브의 두께를 증가시키거나 수를 늘렸을 경우, 수지의 배향성이 불균일하게 되고, 치수 오차, 형상 오차나 내부의 왜곡(internal distortion), 결손(defect) 등이 발생할 우려가 있다고 하는 문제가 있었다.
이러한 문제를 저감하기 위해서, 체인으로부터의 압압력의 중심인 본체부의 길이 방향의 중간점 부근으로부터, 그것을 받는 2개소의 지지부를 향해 크게 경사하여 연장되도록 보강 리브를 설치하고, 가장 힘이 걸릴 방향만 보강 리브로 보강하는 것이 공지이다(특허문헌 1 등 참조.).
그렇지만, 체인으로부터의 압압력을 2개소의 지지부에서 받기 때문에, 본체부를 굽히는 힘도 발생하지만, 특허문헌 1과 같이 보강 리브를 설치했을 경우, 길이 방향의 중간점 부근에 그 휨 응력이 집중하기 때문에, 이 응력에 의해 길이 방향의 중간점 부근에 집중되어 반복 변형이 발생하고, 내구성의 향상을 방해한다는 문제가 있었다.
또, 보강 리브로부터 먼 길이 방향의 중간점 부근의 비틀림에 대한 강성이 작아진다고 하는 문제가 있었다.
본 발명은, 이러한 문제점을 해결하는 것으로, 간단한 구성으로, 내구성을 향상시키고, 경량화를 가능하게 하여 재료 코스트를 저감함과 동시에, 금형 내에서의 수지의 원활한 유동을 저해하지 않고, 치수 오차, 형상 오차나 내부의 왜곡, 결손 등을 저감하고, 내부 응력의 집중이나, 반복의 휨 변형을 방지할 수 있는 체인 가이드를 제공하는 것을 목적으로 하는 것이다.
본 청구항 1에 관한 발명은, 주행하는 체인을 접동 안내하는 안내면과, 상기 안내면을 체인 주행 방향을 따라서 지지하는 본체부를 구비하고, 상기 본체부가, 소정의 높이의 지지벽과, 상기 지지벽의 상하 단연 이외의 부분으로부터 측방으로 돌출된 보강 리브를 갖는 체인 가이드이며, 상기 보강 리브가, 횡방향 리브부를 갖고, 상기 본체부가, 길이 방향의 떨어진 위치에 적어도 2개소의 지지부를 갖고, 상기 횡방향 리브부가, 상기 2개소의 지지부 간의 거리(L)에 대해 20% 이상의 길이에 걸쳐서 보강 리브의 다른 부분과는 접속되지 않는 독립 영역을 갖고, 상기 독립 영역이, 상기 지지벽의 높이 치수의 반의 위치보다 상기 안내면에서 먼 측에 설치되고 있는 것으로, 상기 과제를 해결하는 것이다.
본 청구항 1에 관한 체인 가이드에 의하면, 보강 리브가 횡방향 리브부를 가지므로, 본체부를 보강하여 내구성이 향상됨과 동시에, 휨이나 뒤틀림 등의 휨 강성을 강화할 수 있다.
또, 본체부가 길이 방향의 떨어진 위치에 적어도 2개소의 지지부를 갖고, 횡방향 리브부가 2개소의 지지부 간의 거리(L)에 대해 20% 이상의 길이에 걸쳐서 보강 리브의 다른 부분과는 접속되지 않는 독립 영역을 가지므로, 체인으로부터 안내면에 받는 힘에 의해서, 내부 응력이 본체부의 하단연의 특정의 개소에 집중되지 않고, 국소적인 내부 응력의 집중에 의한 파손을 방지하는 것이 가능해진다.
또, 독립 영역이 지지벽의 높이 치수의 반의 위치에서 안내면에서 먼 측에 설치되고 있으므로, 본체부의 길이 방향의 중간점 부근에 휨 응력이 집중했을 때의, 인장 방향으로 내부 응력이 발생하는 부분을 보강 가능하고, 반복 변형을 억제하여, 내구성을 향상할 수 있음과 동시에, 길이 방향의 중간점 부근의 비틀림에 대한 강성을 높일 수 있다.
또한, 종방향의 보강 리브를 감소시키거나, 혹은, 없앨 수 있기 때문에, 제조 시의 금형 내에서의 수지의 유동을 어지럽히는 부분을 적게 하는 것이 가능하고, 내부의 수지의 배향성이 균일화되어, 치수 오차, 형상 오차나 내부의 왜곡, 결손 등을 저감하는 것이 가능하고, 휨이나 뒤틀림 등의 휨 강성을 강화할 수 있다.
본 청구항 2 기재의 구성에 의하면, 보강 리브가, 횡방향 리브부만으로 구성되어 있으므로, 전체가 경량화됨과 동시에, 제조 시의 금형 내에서의 수지의 유동이 더 균일화된다.
본 청구항 3 기재의 구성에 의하면, 본체부가 지지벽의 상하 단연을 따라서, 측방으로 돌출된 외연 리브를 갖고, 보강 리브가 횡방향 리브부에서 외연 리브로 연장되는 접속 리브부를 가지므로, 접속 리브부에 의해서 필요한 개소의 강성을 더 높이는 것이 가능함과 동시에, 제조 시의 금형 내에서 외연 리브와 횡방향 리브부와의 수지의 유동이 더 균일화된다.
본 청구항 4 기재의 구성에 의하면, 2개소의 지지부의 적어도 일방이, 지지벽으로부터 측방으로 돌출된 취부 보스부로 구성되어, 횡방향 리브부가 취부 보스부에 접속되고 있으므로, 제조 시의 금형 내에서 취부 보스부와 횡방향 리브부와의 수지의 유동이 균일화된다.
본 청구항 5 기재의 구성에 의하면, 보강 리브가, 횡방향 리브부의 독립 영역만으로 구성되어 있으므로, 필요한 강성, 내구성을 확보하면서, 소형 경량화를 가능하게 하고, 재료 코스트를 저감하는 것이 가능해진다.
본 청구항 6 기재의 구성에 의하면, 독립 영역이 2개소의 지지부 간의 거리(L)에 대해 50% 이상의 길이에 걸쳐서 설치되고 있으므로, 더욱, 전체의 강성을 높임과 동시에, 본체부의 하단연으로의 응력 집중을 완화하여, 반복 변형을 억제할 수 있다.
[도 1] 본 발명의 제1 실시 형태에 관한 체인 가이드(고정 가이드)의 측면도.
[도 2] 도 1의 사시 설명도.
[도 3] 본 발명과 종래 예의 치수 설명도.
[도 4] 본 발명과 종래 예의 내부 응력 최대치의 그래프.
[도 5] 본 발명의 제2 실시 형태에 관한 체인 가이드(고정 가이드)의 측면도.
[도 6] 본 발명의 제3 실시 형태에 관한 체인 가이드(고정 가이드)의 측면도.
[도 7] 본 발명의 제4 실시 형태에 관한 체인 가이드(고정 가이드)의 측면도.
[도 8] 본 발명의 제5 실시 형태에 관한 체인 가이드(고정 가이드)의 측면도.
[도 9] 본 발명의 제6 실시 형태에 관한 체인 가이드(고정 가이드)의 측면도.
[도 10] 종래의 엔진의 타이밍 시스템의 설명도.
[도 11] 종래의 체인 가이드의 개략 단면 사시도.
본 발명은, 주행하는 체인을 접동 안내하는 안내면과, 상기 안내면을 체인 주행 방향을 따라서 지지하는 본체부를 구비하고, 상기 본체부가, 소정의 높이의 지지벽과, 상기 지지벽의 상하 단연(端緣) 이외의 부분으로부터 측방으로 돌출된 보강 리브를 갖는 체인 가이드이며, 상기 보강 리브가, 횡방향 리브부를 갖고, 상기 본체부가, 길이 방향의 떨어진 위치에 적어도 2개소의 지지부를 갖고, 상기 횡방향 리브부가, 상기 2개소의 지지부 간의 거리(L)에 대해 20% 이상의 길이에 걸쳐서 보강 리브의 다른 부분과는 접속되지 않는 독립 영역을 갖고, 상기 독립 영역이, 상기 지지벽의 높이 치수의 반의 위치보다 상기 안내면에서 먼 측에 설치되어, 간단한 구성으로, 내구성을 향상시키고, 경량화를 가능하게 하여 재료 코스트를 저감함과 동시에, 금형 내에서의 수지의 원활한 유동을 저해하지 않고, 치수 오차, 형상 오차나 내부의 왜고, 결손 등을 저감하고, 내부 응력의 집중이나, 반복의 휨 변형을 방지할 수 있는 것이면, 그 구체적인 구성은 어떠한 것이어도 좋다.
본체부, 안내면은 별체이거나 일체로 형성되고 있어도 좋고, 또 재질은, 각각, 강성, 접동 특성, 성형성, 코스트 등에 따라 공지의 적당의 것을 선택하면 좋다.
[실시예 1]
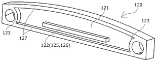
본 발명의 제1 실시 형태에 관한 체인 가이드(고정 가이드)는, 타이밍 시스템을 갖는 엔진 내에 고정되어, 타이밍 체인(CH)의 주행을 가이드 하여 안정시키는 것으로, 도 1, 도 2에 나타내듯이 상방에 안내면(도시하지 않음)을 일체로 갖는 본체부(120)를 구비하고 있다.
본체부(120)는, 전술의 공지의 체인 가이드(요동 가이드)(500)와 동일하게, 지지벽(121)의 길이 방향 양단부에 엔진 등에의 취부부인 2개소의 취부 보스부(mounting boss)(123)를 갖고, 지지벽(121)의 상단연 및 하단연에는, 2개소의 취부 보스부(123)를 묶어 지지벽(121)의 측방으로는 외측에 외연 리브(127)가 설치되어, 본체부(120)의 강성, 내구성을 높이고 있다.
또한, 안내면(도시하지 않음)은, 본체부(120)의 상방에 고정되어도 좋고, 본체부(120)의 표면을 접동 안내면으로서 형성하여, 안내면의 기능을 일체화해도 좋다.
본 실시 형태에서는, 보강 리브(122)는, 길이 방향의 떨어진 위치의 2개소의 지지부(Pt)(취부 보스부(123)의 중심)를 묶는 방향으로 연장되는 횡방향 리브부(125)만으로 구성되고, 다른 부분과는 접속되지 않는 독립 영역(independent zone)(126)만으로 구성되어 있다.
도 3에 나타내듯이, 독립 영역(126)의 길이(Ld)는, 2개소의 지지부(Pt) 간의 거리(L)에 대해 20% 이상이며, 독립 영역(126)은 지지벽(121)의 높이 치수(H)의 반(H/2)의 위치보다 안내면에서 먼 측에 설치되고 있다.
이것에 의해서, 체인으로부터 안내면에 받는 힘에 의해서, 내부 응력이 본체부(120)의 하단연의 특정의 개소에 집중되지 않고, 국소적인 내부 응력의 집중에 의한 파손을 방지하는 것이 가능해진다.
또, 본체부(120)에 걸리는 휨 응력은, 지지벽(121)의 높이 치수(H)의 반(H/2)의 위치보다 위(안내면측)에서는 압축 응력, 반(H/2)의 위치보다 아래(안내면에서 먼 측)에서는 인장 응력이 되고, 이것이 반복됨으로써 특히 인장 응력이 되는 반(H/2)의 위치보다 아래가 파손되기 쉬워진다.
본 발명에서는, 독립 영역(126)이 지지벽(121)의 높이 치수(H)의 반(H/2)의 위치보다 안내면에서 먼 측에 설치되고 있으므로, 보강됨과 동시에, 인장 응력이 분산하여 중앙 부근으로의 집중이 완화되어, 파손을 막는 것이 가능해진다.
도 3의 하단에 나타내는 제1 실시 형태에 관한 체인 가이드의 본체부(120)의 독립 영역(126)이 길이(Ld), 높이 위치(Hd)를 변화시켰을 때에, 하단의 외연 리브로의 최대 응력의 해석 결과를, 도 4에 나타낸다.
도 4의 왼쪽의 Ld/L=0, 및, 오른쪽의 리브 없음의 결과는, 도 3의 상단에 나타내는, 비교예 체인 가이드(700)(제1 실시 형태에 관한 체인 가이드의 본체부(120)로부터 보강 리브(122)를 없앤 것)에 의한 해석 결과이다.
도 4의 왼쪽의 Ld/L의 해석 결과로부터 알수 있듯이, 실용상, Ld/L≥20%로, 충분한 응력 저감 효과를 얻는 것이 가능하고, Ld/L≒50%까지는 거의 리니어하게 응력 저감 효과가 커지므로, Ld/L≥50%로 하는 것이 매우 적합하다.
또, 도 4의 오른쪽의 Hd/H의 해석 결과로부터 알수 있듯이, 제1 실시 형태에 관한 체인 가이드에서는, 리브의 높이 위치 Hd/H가 50%를 초과하면 압축 응력 부분을 보강하게 되어, 하단의 외연 리브로의 최대 응력은 오히려 커진다.
따라서, Hd/H≤50%, 즉, 독립 영역이 지지벽의 높이 치수(H)의 반(H/2)의 위치보다 안내면에서 먼 측에 설치되는 것이 매우 적합하다.
[실시예 2]
본 발명의 제2 실시 형태에 관한 체인 가이드(고정 가이드)의 본체부(120a)는, 도 5에 나타내듯이, 보강 리브(122a)가, 길이 방향의 떨어진 위치의 2개소의 지지부(Pt)(취부 보스부(123)의 중심)를 묶는 방향으로 연장되는 횡방향 리브부(125a)만으로 구성되고, 양단이 취부 보스부(123)와 접속됨과 동시에, 전체가 다른 부분과는 접속되지 않는 독립 영역(126a)으로 구성되어 있다.
이것으로, Ld/L가 100%에 가깝게 되어, 최대한의 응력 저감 효과를 발휘할 수 있다.
[실시예 3]
본 발명의 제3 실시 형태에 관한 체인 가이드(고정 가이드)의 본체부(120b)는, 도 6에 나타내듯이, 보강 리브가, 길이 방향의 떨어진 위치의 2개소의 지지부(Pt)(취부 보스부(123)의 중심)를 묶는 방향으로 연장되는 횡방향 리브부(125b)와, 그 양단으로부터 상방의 외연 리브(127)를 향해 연장되는 2개소의 접속 리브부(128b)로 구성되어 있다.
2개소의 접속 리브부(128b)는, 각각 취부 보스부(123)의 근방에서 외연 리브(127)와 접속되고 있다.
이것으로, 필요한 길이의 독립 영역(126b)을 확보하면서, 금형 내에서의 수지의 원활한 유동을 가능하게 하고, 치수 오차, 형상 오차나 내부의 왜곡(internal distortion), 결손(defect) 등을 저감할 수 있다.
[실시예 4]
본 발명의 제4 실시 형태에 관한 체인 가이드(고정 가이드)의 본체부(120c)는, 도 7에 나타내듯이, 보강 리브가, 길이 방향의 떨어진 위치의 2개소의 지지부(Pt)(취부 보스부(123)의 중심)를 묶는 방향으로 연장되는 횡방향 리브부(125c)와, 그 양단으로부터 상방의 외연 리브(127)를 향해 연장되는 2개소의 접속 리브부(128c)로 구성되어 있다.
2개소의 접속 리브부(128c)는, 각각 길이 방향 중앙 부근에서 외연 리브(127)와 접속되고 있다.
이것으로, 체인으로부터의 압압력의 가장 커지는 외연 리브(127)의 중앙 부근의 힘을 접속 리브부(128c)와 횡방향 리브부(125c)까지 전함으로써 보강하는 것이 가능해져, 작은 리브 길이로 종방향의 보강도 충분히 실시하는 것이 가능해진다.
[실시예 5]
본 발명의 제5 실시 형태에 관한 체인 가이드(고정 가이드)의 본체부(120d)는, 도 8에 나타내듯이, 보강 리브가, 길이 방향의 떨어진 위치의 2개소의 지지부(Pt)(취부 보스부(123)의 중심)를 묶는 방향으로 연장되는 횡방향 리브부(125d)와, 그 양단으로부터 하부의 외연 리브(127)를 향해 연장되는 2개소의 접속 리브부(128d)로 구성되어 있다.
2개소의 접속 리브부(128d)는, 각각 취부 보스부(123)의 근방에서 외연 리브(127)와 접속되고 있다.
이것으로, 필요한 길이의 독립 영역(126d)를 확보하면서, 금형 내에서의 수지의 원활한 유동을 가능하게 하고, 치수 오차, 형상 오차나 내부의 왜곡, 결손 등을 저감할 수 있다.
[실시예 6]
본 발명의 제6 실시 형태에 관한 체인 가이드(고정 가이드)의 본체부(120e)는, 도 9에 나타내듯이, 보강 리브가, 길이 방향의 떨어진 위치의 2개소의 지지부(Pt)(취부 보스부(123)의 중심)를 묶는 방향으로 연장되고, 양단이 취부 보스부(123)와 접속되는 횡방향 리브부(125e)와, 상방의 외연 리브(127)의 중앙 부근으로부터, 하부의 외연 리브(127)의 취부 보스부(123) 부근을 향해 연장되는 2개소의 접속 리브부(128e)로 구성되어 있다.
횡방향 리브부(125e)와 2개소의 접속 리브부(128e)는, 각각 교차상으로 접속되어, 2개의 교차부의 사이에 독립 영역(126e)이 구성되어 있다.
이것으로, 필요한 길이의 독립 영역(126e)을 확보하면서, 금형 내에서의 수지의 원활한 유동을 가능하게 하고, 치수 오차, 형상 오차나 내부의 왜곡, 결손 등을 저감할 수 있음과 동시에, 체인으로부터의 압압력의 가장 커지는 외연 리브(127)의 중앙 부근의 힘을 접속 리브부(128e)에 의해서 양단 방향으로 분산시키는 것이 가능해진다.
또, 횡방향 리브부(125e)와 2개소의 접속 리브부(128e)를 교차상으로 접속함으로써, 본체부(120e)의 휨(flexure)이나 비틀림(torsion)에 대한 강성을 높일 수 있다.
이상 설명한 각 실시 형태는, 본 발명에 관한 체인 가이드의 구체적인 예이지만, 본 발명에 관한 체인 가이드는 이것들로 한정되지 않고, 각 구성 부재의 형상, 위치, 치수, 배치 관계 등, 여러 가지 변형이 가능하다.
예를 들면, 각 실시 형태는 고정 가이드로서 사용되는 형태를 나타냈지만, 2개소의 지지부의 일방을 텐셔너에 의한 압압부로서 요동 가이드로서 사용되는 것이어도 좋다.
또, 각 실시 형태는 2개소의 지지부를 갖는 체인 가이드이지만, 3개소 이상의 지지부를 갖는 것이어도 좋고, 그 경우, 횡방향 리브부는, 임의의 2개소의 지지부의 사이의 적어도 1개소, 예를 들면, 체인 주행 방향으로 가장 긴 간격을 갖는 인접하는 2개소의 지지부의 사이에 설치함으로써, 응력의 저감을 도모하는 것이 가능해진다.
또, 보강 리브의 지지벽으로부터 측방으로의 돌출 높이, 폭, 단면 형상 등은 임의로 결정하면 좋고, 또, 각 실시 형태는 중앙을 경계로 좌우 대칭의 형태의 것을 나타냈지만, 좌우 다른 형태라고 해도 좋고, 상술한 실시 형태 이외의 다른 형태를 채용해도 좋다.
또한, 지지벽의 상하 단연(端緣)의 외연 리브의 지지벽으로부터 측방으로의 돌출 높이, 폭, 단면 형상 등도 어떠한 것이어도 좋고, 생략되어도 좋다.
또, 전술한 각 실시 형태는, 타이밍 시스템을 갖는 엔진 내에 설치되는 것이지만, 이것으로 한정되지 않고 여러 가지 기기류에 적용 가능하다.
또, 체인에 의한 전동 기구에 한정하지 않고, 벨트, 로프 등의 유사한 전동 기구에 적용되어도 좋고, 여러 가지의 산업분야에서 이용 가능하다.
500···체인 가이드(요동 가이드)
100, 600···체인 가이드(고정 가이드)
700···체인 가이드(고정 가이드: 비교예)
510···안내 슈
511···안내면
512···리브
120, 520···본체부
121, 521···지지벽
122, 522···보강 리브
123, 523···취부 보스부
524···압압부
125···횡방향 리브부
126···독립 영역
127···외연 리브
128···접속 리브부
E···엔진 룸
S1···구동 스프로켓
S2···종동 스프로켓
CH···타이밍 체인
Q···취부축
P···요동축
T···체인 텐셔너
Pt···지지부
L···지지부 간 거리
H···지지벽의 높이

Claims (6)

  1. 주행하는 체인을 접동 안내하는 안내면과, 상기 안내면을 체인 주행 방향을 따라서 지지하는 본체부를 구비하고, 상기 본체부가, 소정의 높이의 지지벽과, 상기 지지벽의 상하 단연 이외의 부분으로부터 측방으로 돌출된 보강 리브를 갖는 체인 가이드이며,
    상기 보강 리브가, 횡방향 리브부를 갖고,
    상기 본체부가, 길이 방향의 떨어진 위치에 적어도 2개소의 지지부를 갖고,
    상기 횡방향 리브부가, 상기 2개소의 지지부 간의 거리 L에 대해 20% 이상의 길이에 걸쳐서 보강 리브의 다른 부분과는 접속되지 않는 독립 영역(independent zone)을 갖고,
    상기 독립 영역이, 상기 지지벽의 높이 치수의 반의 위치보다 상기 안내면에서 먼 측에 설치되고 있는 것을 특징으로 하는 체인 가이드.
  2. 제1항에 있어서,
    상기 보강 리브가, 횡방향 리브부만으로 구성되어 있는 것을 특징으로 하는 체인 가이드.
  3. 제1항에 있어서,
    상기 본체부가, 상기 지지벽의 상하 단연(端緣)을 따라서, 측방으로 돌출된 외연 리브를 갖고,
    상기 보강 리브가, 상기 횡방향 리브부로부터 상기 외연 리브에 연장되는 접속 리브부를 갖는 것을 특징으로 하는 체인 가이드.
  4. 제1항에 있어서,
    상기 2개소의 지지부의 적어도 일방이, 상기 지지벽으로부터 측방으로 돌출된 취부 보스부(mounting boss)로 구성되고,
    상기 횡방향 리브부가, 상기 취부 보스부에 접속되고 있는 것을 특징으로 하는 체인 가이드.
  5. 제1항에 있어서,
    상기 보강 리브가, 횡방향 리브부의 독립 영역만으로 구성되어 있는 것을 특징으로 하는 체인 가이드.
  6. 제1항에 있어서,
    상기 독립 영역이, 상기 2개소의 지지부 간의 거리 L에 대해 50% 이상의 길이에 걸쳐서 설치되고 있는 것을 특징으로 하는 체인 가이드.
KR1020180016268A 2017-02-24 2018-02-09 체인 가이드 Active KR102050303B1 (ko)

Applications Claiming Priority (2)

Application Number Priority Date Filing Date Title
JP2017033208A JP6823261B2 (ja) 2017-02-24 2017-02-24 チェーンガイド
JPJP-P-2017-033208 2017-02-24

Publications (2)

Publication Number Publication Date
KR20180098135A true KR20180098135A (ko) 2018-09-03
KR102050303B1 KR102050303B1 (ko) 2019-11-29

Family

ID=63112341

Family Applications (1)

Application Number Title Priority Date Filing Date
KR1020180016268A Active KR102050303B1 (ko) 2017-02-24 2018-02-09 체인 가이드

Country Status (5)

Country Link
US (1) US10753437B2 (ko)
JP (1) JP6823261B2 (ko)
KR (1) KR102050303B1 (ko)
CN (1) CN108506435B (ko)
DE (1) DE102018201732B4 (ko)

Families Citing this family (3)

* Cited by examiner, † Cited by third party
Publication number Priority date Publication date Assignee Title
JP7177342B2 (ja) * 2018-10-16 2022-11-24 株式会社椿本チエイン チェーンガイド
WO2020153378A1 (ja) * 2019-01-22 2020-07-30 大同工業株式会社 チェーンガイド及びそれを用いたチェーン伝動装置
JP2021025538A (ja) * 2019-07-31 2021-02-22 Ntn株式会社 電動アクチュエータ

Citations (4)

* Cited by examiner, † Cited by third party
Publication number Priority date Publication date Assignee Title
JPH1130297A (ja) * 1997-07-08 1999-02-02 Nok Corp チェーンガイド
JP2009501887A (ja) 2005-07-20 2009-01-22 ディーエスエム アイピー アセッツ ビー.ブイ. 伝動装置用ガイド
KR20140111958A (ko) * 2013-03-12 2014-09-22 가부시기가이샤쯔바기모도체인 체인 가이드
KR20150011312A (ko) * 2013-07-22 2015-01-30 가부시기가이샤쯔바기모도체인 체인 가이드

Family Cites Families (12)

* Cited by examiner, † Cited by third party
Publication number Priority date Publication date Assignee Title
DE3706136C1 (de) * 1987-02-26 1988-09-15 Porsche Ag Verfahren zur Herstellung eines Kettenspanners
JPH08145132A (ja) * 1994-11-22 1996-06-04 Hokushin Ind Inc チェーンガイド
US5690569A (en) * 1996-03-13 1997-11-25 Borg-Warner Automotive, Inc. Single piece reinforced chain guide
US6013000A (en) * 1998-08-14 2000-01-11 Tmj Properties, L.L.C. Polymeric chain guide
JP2001323976A (ja) * 2000-05-15 2001-11-22 Honda Motor Co Ltd チェンガイド部材,チェンガイド部材製造方法およびチェンガイド部材製造装置
JP3398143B2 (ja) * 2001-09-11 2003-04-21 株式会社椿本チエイン 伝動装置用合成樹脂ガイド
DE10244734B4 (de) 2002-09-26 2013-01-17 Carl Freudenberg Kg Kettentrieb
DE10302876A1 (de) 2003-01-25 2004-08-05 Ina-Schaeffler Kg Baueinheit mit einer Hülse für Kettensteuertriebe
DE102005018901A1 (de) * 2005-04-22 2006-11-16 Schaeffler Kg Zugmitteltrieb mit zumindest einer Schiene zum Spannen und/oder Führen eines endlosen Zugmittels
DE102013216806A1 (de) 2013-08-23 2015-02-26 Schaeffler Technologies Gmbh & Co. Kg Spann- oder Führungsschiene für einen Zugmitteltrieb an einem Verbrennungsmotor eines Fahrzeugs
US9476485B2 (en) * 2014-03-14 2016-10-25 Ford Global Technologies, Llc Diamond-like carbon coating on chain guides and tensioning arms for internal combustion engines
KR101923657B1 (ko) * 2017-01-12 2018-11-30 유신정밀공업 주식회사 체인 텐셔너

Patent Citations (4)

* Cited by examiner, † Cited by third party
Publication number Priority date Publication date Assignee Title
JPH1130297A (ja) * 1997-07-08 1999-02-02 Nok Corp チェーンガイド
JP2009501887A (ja) 2005-07-20 2009-01-22 ディーエスエム アイピー アセッツ ビー.ブイ. 伝動装置用ガイド
KR20140111958A (ko) * 2013-03-12 2014-09-22 가부시기가이샤쯔바기모도체인 체인 가이드
KR20150011312A (ko) * 2013-07-22 2015-01-30 가부시기가이샤쯔바기모도체인 체인 가이드

Also Published As

Publication number Publication date
JP2018138793A (ja) 2018-09-06
KR102050303B1 (ko) 2019-11-29
CN108506435B (zh) 2021-01-01
DE102018201732B4 (de) 2024-08-08
US20180245673A1 (en) 2018-08-30
JP6823261B2 (ja) 2021-02-03
CN108506435A (zh) 2018-09-07
US10753437B2 (en) 2020-08-25
DE102018201732A1 (de) 2018-08-30

Similar Documents

Publication Publication Date Title
JP5848277B2 (ja) チェーンガイド
KR20180098135A (ko) 체인 가이드
US7896766B2 (en) Side bow conveyor chain with inner and outer chain links
KR101732448B1 (ko) 체인 가이드
US20120205223A1 (en) Steel cord conveyer belt with a connecting hinge for coupling two belt ends
US7393487B2 (en) Method of molding synthetic resin guide for transmission device
KR20150011312A (ko) 체인 가이드
CN111946782B (zh) 张紧杆
US8057336B2 (en) Guide device for an endless torque-transmitting means, and mold for producing a guide device
US7074145B2 (en) Sliding contact guide for transmission device
CN1192956C (zh) 传送带的滑轨装置
JP6161191B2 (ja) チェーンガイド
US20140213401A1 (en) Chain guide
KR20180070122A (ko) 차량용 휠 공명기 장착 구조체 및 장착 방법
US9714693B2 (en) Tensioning rail with resilient press-on region
KR20140082933A (ko) 체인 가이드
JP4248544B2 (ja) 伝動装置用可動ガイド
US20140274513A1 (en) Chain guide
CN102954165B (zh) 牵引机构传动装置的导轨或张紧轨以及牵引机构传动装置
KR20200042850A (ko) 체인 가이드
CN107524769B (zh) 链条导件
KR20140125732A (ko) 체인 가이드
WO2009014713A4 (en) Gripping apparatus for a fork of a fork lift
KR102898846B1 (ko) 유동형 스터드 타입의 밴드 케이블
CN112392913B (zh) 用于输送带的无端连接的夹紧连接件

Legal Events

Date Code Title Description
PA0109 Patent application

Patent event code: PA01091R01D

Comment text: Patent Application

Patent event date: 20180209

PG1501 Laying open of application
PA0201 Request for examination

Patent event code: PA02012R01D

Patent event date: 20181005

Comment text: Request for Examination of Application

Patent event code: PA02011R01I

Patent event date: 20180209

Comment text: Patent Application

E701 Decision to grant or registration of patent right
PE0701 Decision of registration

Patent event code: PE07011S01D

Comment text: Decision to Grant Registration

Patent event date: 20191028

GRNT Written decision to grant
PR0701 Registration of establishment

Comment text: Registration of Establishment

Patent event date: 20191125

Patent event code: PR07011E01D

PR1002 Payment of registration fee

Payment date: 20191126

End annual number: 3

Start annual number: 1

PG1601 Publication of registration
PR1001 Payment of annual fee

Payment date: 20221102

Start annual number: 4

End annual number: 4

PR1001 Payment of annual fee

Payment date: 20231101

Start annual number: 5

End annual number: 5

PR1001 Payment of annual fee

Payment date: 20241029

Start annual number: 6

End annual number: 6