KR20140113931A - 디알킬 카르보네이트와 알켈렌 글리콜을 수득하는 방법 - Google Patents
디알킬 카르보네이트와 알켈렌 글리콜을 수득하는 방법 Download PDFInfo
- Publication number
- KR20140113931A KR20140113931A KR1020147018561A KR20147018561A KR20140113931A KR 20140113931 A KR20140113931 A KR 20140113931A KR 1020147018561 A KR1020147018561 A KR 1020147018561A KR 20147018561 A KR20147018561 A KR 20147018561A KR 20140113931 A KR20140113931 A KR 20140113931A
- Authority
- KR
- South Korea
- Prior art keywords
- carbonate
- stream
- alkylene
- alkylene glycol
- dialkyl carbonate
- Prior art date
- Legal status (The legal status is an assumption and is not a legal conclusion. Google has not performed a legal analysis and makes no representation as to the accuracy of the status listed.)
- Withdrawn
Links
- -1 alkylene glycol Chemical compound 0.000 title claims abstract description 277
- LYCAIKOWRPUZTN-UHFFFAOYSA-N ethylene glycol Natural products OCCO LYCAIKOWRPUZTN-UHFFFAOYSA-N 0.000 title claims abstract description 194
- BVKZGUZCCUSVTD-UHFFFAOYSA-L Carbonate Chemical compound [O-]C([O-])=O BVKZGUZCCUSVTD-UHFFFAOYSA-L 0.000 title claims abstract description 178
- WGCNASOHLSPBMP-UHFFFAOYSA-N hydroxyacetaldehyde Natural products OCC=O WGCNASOHLSPBMP-UHFFFAOYSA-N 0.000 title claims abstract description 143
- 238000000034 method Methods 0.000 title claims abstract description 37
- 238000004821 distillation Methods 0.000 claims abstract description 124
- LFQSCWFLJHTTHZ-UHFFFAOYSA-N Ethanol Chemical compound CCO LFQSCWFLJHTTHZ-UHFFFAOYSA-N 0.000 claims abstract description 75
- 239000000203 mixture Substances 0.000 claims abstract description 68
- 239000012043 crude product Substances 0.000 claims abstract description 45
- 238000005191 phase separation Methods 0.000 claims abstract description 35
- ZXEKIIBDNHEJCQ-UHFFFAOYSA-N isobutanol Chemical compound CC(C)CO ZXEKIIBDNHEJCQ-UHFFFAOYSA-N 0.000 claims description 32
- 239000000047 product Substances 0.000 claims description 29
- 238000006243 chemical reaction Methods 0.000 claims description 25
- BDERNNFJNOPAEC-UHFFFAOYSA-N propan-1-ol Chemical compound CCCO BDERNNFJNOPAEC-UHFFFAOYSA-N 0.000 claims description 23
- KMTRUDSVKNLOMY-UHFFFAOYSA-N Ethylene carbonate Chemical group O=C1OCCO1 KMTRUDSVKNLOMY-UHFFFAOYSA-N 0.000 claims description 19
- LRHPLDYGYMQRHN-UHFFFAOYSA-N N-Butanol Chemical compound CCCCO LRHPLDYGYMQRHN-UHFFFAOYSA-N 0.000 claims description 13
- 238000000066 reactive distillation Methods 0.000 claims description 13
- AMQJEAYHLZJPGS-UHFFFAOYSA-N N-Pentanol Chemical compound CCCCCO AMQJEAYHLZJPGS-UHFFFAOYSA-N 0.000 claims description 8
- 239000003795 chemical substances by application Substances 0.000 claims description 6
- ZSIAUFGUXNUGDI-UHFFFAOYSA-N hexan-1-ol Chemical compound CCCCCCO ZSIAUFGUXNUGDI-UHFFFAOYSA-N 0.000 claims description 6
- 239000000376 reactant Substances 0.000 claims description 5
- XNWFRZJHXBZDAG-UHFFFAOYSA-N 2-METHOXYETHANOL Chemical compound COCCO XNWFRZJHXBZDAG-UHFFFAOYSA-N 0.000 claims description 3
- 125000000217 alkyl group Chemical group 0.000 claims description 3
- RUOJZAUFBMNUDX-UHFFFAOYSA-N propylene carbonate Chemical compound CC1COC(=O)O1 RUOJZAUFBMNUDX-UHFFFAOYSA-N 0.000 claims description 2
- UXXXZMDJQLPQPH-UHFFFAOYSA-N bis(2-methylpropyl) carbonate Chemical compound CC(C)COC(=O)OCC(C)C UXXXZMDJQLPQPH-UHFFFAOYSA-N 0.000 description 32
- 239000012071 phase Substances 0.000 description 25
- 238000005809 transesterification reaction Methods 0.000 description 21
- 239000003054 catalyst Substances 0.000 description 14
- 239000007788 liquid Substances 0.000 description 13
- CURLTUGMZLYLDI-UHFFFAOYSA-N Carbon dioxide Chemical compound O=C=O CURLTUGMZLYLDI-UHFFFAOYSA-N 0.000 description 12
- 238000000926 separation method Methods 0.000 description 11
- 150000001298 alcohols Chemical class 0.000 description 9
- 150000004649 carbonic acid derivatives Chemical class 0.000 description 8
- 150000003254 radicals Chemical class 0.000 description 8
- 238000010992 reflux Methods 0.000 description 8
- 238000000746 purification Methods 0.000 description 7
- QPRQEDXDYOZYLA-UHFFFAOYSA-N 2-methylbutan-1-ol Chemical compound CCC(C)CO QPRQEDXDYOZYLA-UHFFFAOYSA-N 0.000 description 6
- 230000015572 biosynthetic process Effects 0.000 description 6
- 239000001569 carbon dioxide Substances 0.000 description 6
- 229910002092 carbon dioxide Inorganic materials 0.000 description 6
- VUPKGFBOKBGHFZ-UHFFFAOYSA-N dipropyl carbonate Chemical compound CCCOC(=O)OCCC VUPKGFBOKBGHFZ-UHFFFAOYSA-N 0.000 description 6
- 150000002148 esters Chemical group 0.000 description 6
- XLYOFNOQVPJJNP-UHFFFAOYSA-N water Substances O XLYOFNOQVPJJNP-UHFFFAOYSA-N 0.000 description 6
- 125000002947 alkylene group Chemical group 0.000 description 5
- 238000009835 boiling Methods 0.000 description 5
- LELOWRISYMNNSU-UHFFFAOYSA-N hydrogen cyanide Chemical compound N#C LELOWRISYMNNSU-UHFFFAOYSA-N 0.000 description 5
- 125000001424 substituent group Chemical group 0.000 description 5
- 238000010626 work up procedure Methods 0.000 description 5
- 229910052783 alkali metal Inorganic materials 0.000 description 4
- 239000006227 byproduct Substances 0.000 description 4
- 230000000694 effects Effects 0.000 description 4
- 229910052736 halogen Inorganic materials 0.000 description 4
- ZOCHHNOQQHDWHG-UHFFFAOYSA-N hexan-3-ol Chemical compound CCCC(O)CC ZOCHHNOQQHDWHG-UHFFFAOYSA-N 0.000 description 4
- 230000007062 hydrolysis Effects 0.000 description 4
- 238000006460 hydrolysis reaction Methods 0.000 description 4
- PHTQWCKDNZKARW-UHFFFAOYSA-N isoamylol Chemical compound CC(C)CCO PHTQWCKDNZKARW-UHFFFAOYSA-N 0.000 description 4
- JYCDILBEUUCCQD-UHFFFAOYSA-N sodium;2-methylpropan-1-olate Chemical compound [Na+].CC(C)C[O-] JYCDILBEUUCCQD-UHFFFAOYSA-N 0.000 description 4
- 238000003786 synthesis reaction Methods 0.000 description 4
- VTBOTOBFGSVRMA-UHFFFAOYSA-N 1-Methylcyclohexanol Chemical compound CC1(O)CCCCC1 VTBOTOBFGSVRMA-UHFFFAOYSA-N 0.000 description 3
- MSXVEPNJUHWQHW-UHFFFAOYSA-N 2-methylbutan-2-ol Chemical compound CCC(C)(C)O MSXVEPNJUHWQHW-UHFFFAOYSA-N 0.000 description 3
- QTBSBXVTEAMEQO-UHFFFAOYSA-N Acetic acid Chemical compound CC(O)=O QTBSBXVTEAMEQO-UHFFFAOYSA-N 0.000 description 3
- RTZKZFJDLAIYFH-UHFFFAOYSA-N Diethyl ether Chemical compound CCOCC RTZKZFJDLAIYFH-UHFFFAOYSA-N 0.000 description 3
- RZKSECIXORKHQS-UHFFFAOYSA-N Heptan-3-ol Chemical compound CCCCC(O)CC RZKSECIXORKHQS-UHFFFAOYSA-N 0.000 description 3
- KFZMGEQAYNKOFK-UHFFFAOYSA-N Isopropanol Chemical compound CC(C)O KFZMGEQAYNKOFK-UHFFFAOYSA-N 0.000 description 3
- KWYUFKZDYYNOTN-UHFFFAOYSA-M Potassium hydroxide Chemical group [OH-].[K+] KWYUFKZDYYNOTN-UHFFFAOYSA-M 0.000 description 3
- HEMHJVSKTPXQMS-UHFFFAOYSA-M Sodium hydroxide Chemical group [OH-].[Na+] HEMHJVSKTPXQMS-UHFFFAOYSA-M 0.000 description 3
- QAOWNCQODCNURD-UHFFFAOYSA-N Sulfuric acid Chemical compound OS(O)(=O)=O QAOWNCQODCNURD-UHFFFAOYSA-N 0.000 description 3
- 238000010586 diagram Methods 0.000 description 3
- HSNQKJVQUFYBBY-UHFFFAOYSA-N dipentyl carbonate Chemical compound CCCCCOC(=O)OCCCCC HSNQKJVQUFYBBY-UHFFFAOYSA-N 0.000 description 3
- 238000005755 formation reaction Methods 0.000 description 3
- 150000002367 halogens Chemical class 0.000 description 3
- 239000002815 homogeneous catalyst Substances 0.000 description 3
- 125000000956 methoxy group Chemical group [H]C([H])([H])O* 0.000 description 3
- 238000002156 mixing Methods 0.000 description 3
- 239000007858 starting material Substances 0.000 description 3
- 125000006552 (C3-C8) cycloalkyl group Chemical group 0.000 description 2
- BBMCTIGTTCKYKF-UHFFFAOYSA-N 1-heptanol Chemical compound CCCCCCCO BBMCTIGTTCKYKF-UHFFFAOYSA-N 0.000 description 2
- CETWDUZRCINIHU-UHFFFAOYSA-N 2-heptanol Chemical compound CCCCCC(C)O CETWDUZRCINIHU-UHFFFAOYSA-N 0.000 description 2
- WFRBDWRZVBPBDO-UHFFFAOYSA-N 2-methyl-2-pentanol Chemical compound CCCC(C)(C)O WFRBDWRZVBPBDO-UHFFFAOYSA-N 0.000 description 2
- MXLMTQWGSQIYOW-UHFFFAOYSA-N 3-methyl-2-butanol Chemical compound CC(C)C(C)O MXLMTQWGSQIYOW-UHFFFAOYSA-N 0.000 description 2
- IWTBVKIGCDZRPL-UHFFFAOYSA-N 3-methylpentanol Chemical compound CCC(C)CCO IWTBVKIGCDZRPL-UHFFFAOYSA-N 0.000 description 2
- MQWCXKGKQLNYQG-UHFFFAOYSA-N 4-methylcyclohexan-1-ol Chemical compound CC1CCC(O)CC1 MQWCXKGKQLNYQG-UHFFFAOYSA-N 0.000 description 2
- IJGRMHOSHXDMSA-UHFFFAOYSA-N Atomic nitrogen Chemical compound N#N IJGRMHOSHXDMSA-UHFFFAOYSA-N 0.000 description 2
- FERIUCNNQQJTOY-UHFFFAOYSA-N Butyric acid Chemical compound CCCC(O)=O FERIUCNNQQJTOY-UHFFFAOYSA-N 0.000 description 2
- KRHYYFGTRYWZRS-UHFFFAOYSA-N Fluorane Chemical compound F KRHYYFGTRYWZRS-UHFFFAOYSA-N 0.000 description 2
- VEXZGXHMUGYJMC-UHFFFAOYSA-N Hydrochloric acid Chemical compound Cl VEXZGXHMUGYJMC-UHFFFAOYSA-N 0.000 description 2
- NBIIXXVUZAFLBC-UHFFFAOYSA-N Phosphoric acid Chemical compound OP(O)(O)=O NBIIXXVUZAFLBC-UHFFFAOYSA-N 0.000 description 2
- VYPSYNLAJGMNEJ-UHFFFAOYSA-N Silicium dioxide Chemical compound O=[Si]=O VYPSYNLAJGMNEJ-UHFFFAOYSA-N 0.000 description 2
- 150000001340 alkali metals Chemical class 0.000 description 2
- NBZANZVJRKXVBH-GYDPHNCVSA-N alpha-Cryptoxanthin Natural products O[C@H]1CC(C)(C)C(/C=C/C(=C\C=C\C(=C/C=C/C=C(\C=C\C=C(/C=C/[C@H]2C(C)=CCCC2(C)C)\C)/C)\C)/C)=C(C)C1 NBZANZVJRKXVBH-GYDPHNCVSA-N 0.000 description 2
- WPYMKLBDIGXBTP-UHFFFAOYSA-N benzoic acid Chemical compound OC(=O)C1=CC=CC=C1 WPYMKLBDIGXBTP-UHFFFAOYSA-N 0.000 description 2
- 238000006555 catalytic reaction Methods 0.000 description 2
- 125000004122 cyclic group Chemical group 0.000 description 2
- 125000000113 cyclohexyl group Chemical group [H]C1([H])C([H])([H])C([H])([H])C([H])(*)C([H])([H])C1([H])[H] 0.000 description 2
- 125000001511 cyclopentyl group Chemical group [H]C1([H])C([H])([H])C([H])([H])C([H])(*)C1([H])[H] 0.000 description 2
- 238000000354 decomposition reaction Methods 0.000 description 2
- QLVWOKQMDLQXNN-UHFFFAOYSA-N dibutyl carbonate Chemical compound CCCCOC(=O)OCCCC QLVWOKQMDLQXNN-UHFFFAOYSA-N 0.000 description 2
- XBDQKXXYIPTUBI-UHFFFAOYSA-N dimethylselenoniopropionate Natural products CCC(O)=O XBDQKXXYIPTUBI-UHFFFAOYSA-N 0.000 description 2
- 125000005842 heteroatom Chemical group 0.000 description 2
- 150000004679 hydroxides Chemical class 0.000 description 2
- 239000012535 impurity Substances 0.000 description 2
- 238000004519 manufacturing process Methods 0.000 description 2
- 125000002496 methyl group Chemical group [H]C([H])([H])* 0.000 description 2
- NMRPBPVERJPACX-UHFFFAOYSA-N octan-3-ol Chemical compound CCCCCC(O)CC NMRPBPVERJPACX-UHFFFAOYSA-N 0.000 description 2
- 125000004430 oxygen atom Chemical group O* 0.000 description 2
- 238000005192 partition Methods 0.000 description 2
- AQIXEPGDORPWBJ-UHFFFAOYSA-N pentan-3-ol Chemical compound CCC(O)CC AQIXEPGDORPWBJ-UHFFFAOYSA-N 0.000 description 2
- 238000002360 preparation method Methods 0.000 description 2
- TVDSBUOJIPERQY-UHFFFAOYSA-N prop-2-yn-1-ol Chemical compound OCC#C TVDSBUOJIPERQY-UHFFFAOYSA-N 0.000 description 2
- 238000007086 side reaction Methods 0.000 description 2
- ZMZDMBWJUHKJPS-UHFFFAOYSA-N thiocyanic acid Chemical compound SC#N ZMZDMBWJUHKJPS-UHFFFAOYSA-N 0.000 description 2
- 238000011144 upstream manufacturing Methods 0.000 description 2
- NDVWOBYBJYUSMF-NKWVEPMBSA-N (1r,2s)-2-methylcyclohexan-1-ol Chemical compound C[C@H]1CCCC[C@H]1O NDVWOBYBJYUSMF-NKWVEPMBSA-N 0.000 description 1
- HTSABYAWKQAHBT-NKWVEPMBSA-N (1r,3s)-3-methylcyclohexan-1-ol Chemical compound C[C@H]1CCC[C@@H](O)C1 HTSABYAWKQAHBT-NKWVEPMBSA-N 0.000 description 1
- 239000001618 (3R)-3-methylpentan-1-ol Substances 0.000 description 1
- MOISVRZIQDQVPF-RNLVFQAGSA-N (rac)-2,6-dimethylcyclohexanol Natural products C[C@@H]1CCC[C@H](C)[C@@H]1O MOISVRZIQDQVPF-RNLVFQAGSA-N 0.000 description 1
- GILIYJDBJZWGBG-UHFFFAOYSA-N 1,1,1-trifluoropropan-2-ol Chemical compound CC(O)C(F)(F)F GILIYJDBJZWGBG-UHFFFAOYSA-N 0.000 description 1
- NNZZMYIWZFZLHU-UHFFFAOYSA-N 1,1,2,2,2-pentafluoroethanol Chemical compound OC(F)(F)C(F)(F)F NNZZMYIWZFZLHU-UHFFFAOYSA-N 0.000 description 1
- KGUDSELBPWEAKU-UHFFFAOYSA-N 1,1,2,2-tetrafluoroethanol Chemical compound OC(F)(F)C(F)F KGUDSELBPWEAKU-UHFFFAOYSA-N 0.000 description 1
- SXXGBDASYFEMSO-UHFFFAOYSA-N 1,3-dioxolan-2-one;ethane-1,2-diol Chemical compound OCCO.O=C1OCCO1 SXXGBDASYFEMSO-UHFFFAOYSA-N 0.000 description 1
- KJESGYZFVCIMDE-UHFFFAOYSA-N 1-chloroethanol Chemical compound CC(O)Cl KJESGYZFVCIMDE-UHFFFAOYSA-N 0.000 description 1
- YYTSGNJTASLUOY-UHFFFAOYSA-N 1-chloropropan-2-ol Chemical compound CC(O)CCl YYTSGNJTASLUOY-UHFFFAOYSA-N 0.000 description 1
- LPCWIFPJLFCXRS-UHFFFAOYSA-N 1-ethylcyclopentan-1-ol Chemical compound CCC1(O)CCCC1 LPCWIFPJLFCXRS-UHFFFAOYSA-N 0.000 description 1
- CAKWRXVKWGUISE-UHFFFAOYSA-N 1-methylcyclopentan-1-ol Chemical compound CC1(O)CCCC1 CAKWRXVKWGUISE-UHFFFAOYSA-N 0.000 description 1
- CWPPDTVYIJETDF-UHFFFAOYSA-N 2,2,4-trimethylpentan-1-ol Chemical compound CC(C)CC(C)(C)CO CWPPDTVYIJETDF-UHFFFAOYSA-N 0.000 description 1
- XRMVWAKMXZNZIL-UHFFFAOYSA-N 2,2-dimethyl-1-butanol Chemical compound CCC(C)(C)CO XRMVWAKMXZNZIL-UHFFFAOYSA-N 0.000 description 1
- OKXVARYIKDXAEO-UHFFFAOYSA-N 2,3,3-trimethylbutan-2-ol Chemical compound CC(C)(C)C(C)(C)O OKXVARYIKDXAEO-UHFFFAOYSA-N 0.000 description 1
- CRHWWCJHVFUFIV-UHFFFAOYSA-N 2,3-dimethylheptan-4-ol Chemical compound CCCC(O)C(C)C(C)C CRHWWCJHVFUFIV-UHFFFAOYSA-N 0.000 description 1
- BAYAKMPRFGNNFW-UHFFFAOYSA-N 2,4-dimethylpentan-3-ol Chemical compound CC(C)C(O)C(C)C BAYAKMPRFGNNFW-UHFFFAOYSA-N 0.000 description 1
- MOISVRZIQDQVPF-UHFFFAOYSA-N 2,6-dimethylcyclohexan-1-ol Chemical compound CC1CCCC(C)C1O MOISVRZIQDQVPF-UHFFFAOYSA-N 0.000 description 1
- ZNQVEEAIQZEUHB-UHFFFAOYSA-N 2-ethoxyethanol Chemical compound CCOCCO ZNQVEEAIQZEUHB-UHFFFAOYSA-N 0.000 description 1
- ISTJMQSHILQAEC-UHFFFAOYSA-N 2-methyl-3-pentanol Chemical compound CCC(O)C(C)C ISTJMQSHILQAEC-UHFFFAOYSA-N 0.000 description 1
- ACBMYYVZWKYLIP-UHFFFAOYSA-N 2-methylheptan-2-ol Chemical compound CCCCCC(C)(C)O ACBMYYVZWKYLIP-UHFFFAOYSA-N 0.000 description 1
- RGRUUTLDBCWYBL-UHFFFAOYSA-N 2-methylhexan-3-ol Chemical compound CCCC(O)C(C)C RGRUUTLDBCWYBL-UHFFFAOYSA-N 0.000 description 1
- 125000001494 2-propynyl group Chemical group [H]C#CC([H])([H])* 0.000 description 1
- FCUOIGTWJDBTHR-UHFFFAOYSA-N 3,3-dimethylpentan-2-ol Chemical compound CCC(C)(C)C(C)O FCUOIGTWJDBTHR-UHFFFAOYSA-N 0.000 description 1
- FJXOYCIYKQJAAF-UHFFFAOYSA-N 3,4-dimethylhexan-3-ol Chemical compound CCC(C)C(C)(O)CC FJXOYCIYKQJAAF-UHFFFAOYSA-N 0.000 description 1
- NMRPBPVERJPACX-QMMMGPOBSA-N 3-Octanol Natural products CCCCC[C@@H](O)CC NMRPBPVERJPACX-QMMMGPOBSA-N 0.000 description 1
- BMYNFMYTOJXKLE-UHFFFAOYSA-N 3-azaniumyl-2-hydroxypropanoate Chemical compound NCC(O)C(O)=O BMYNFMYTOJXKLE-UHFFFAOYSA-N 0.000 description 1
- LAMUXTNQCICZQX-UHFFFAOYSA-N 3-chloropropan-1-ol Chemical compound OCCCCl LAMUXTNQCICZQX-UHFFFAOYSA-N 0.000 description 1
- WNDLTOTUHMHNOC-UHFFFAOYSA-N 3-ethylhexan-3-ol Chemical compound CCCC(O)(CC)CC WNDLTOTUHMHNOC-UHFFFAOYSA-N 0.000 description 1
- 125000004919 3-methyl-2-pentyl group Chemical group CC(C(C)*)CC 0.000 description 1
- JMRDKKYZLXDPLN-UHFFFAOYSA-N 3-methylheptan-4-ol Chemical compound CCCC(O)C(C)CC JMRDKKYZLXDPLN-UHFFFAOYSA-N 0.000 description 1
- GUHWHNUGIGOSCN-UHFFFAOYSA-N 4-Methyl-2-heptanol Chemical compound CCCC(C)CC(C)O GUHWHNUGIGOSCN-UHFFFAOYSA-N 0.000 description 1
- WVYWICLMDOOCFB-UHFFFAOYSA-N 4-methyl-2-pentanol Chemical compound CC(C)CC(C)O WVYWICLMDOOCFB-UHFFFAOYSA-N 0.000 description 1
- IQXKGRKRIRMQCQ-UHFFFAOYSA-N 4-methylheptan-4-ol Chemical compound CCCC(C)(O)CCC IQXKGRKRIRMQCQ-UHFFFAOYSA-N 0.000 description 1
- YNPVNLWKVZZBTM-UHFFFAOYSA-N 4-methylhexan-1-ol Chemical compound CCC(C)CCCO YNPVNLWKVZZBTM-UHFFFAOYSA-N 0.000 description 1
- RXSIKQJQLQRQQY-UHFFFAOYSA-N 4-methyloctan-4-ol Chemical compound CCCCC(C)(O)CCC RXSIKQJQLQRQQY-UHFFFAOYSA-N 0.000 description 1
- PCWGTDULNUVNBN-UHFFFAOYSA-N 4-methylpentan-1-ol Chemical compound CC(C)CCCO PCWGTDULNUVNBN-UHFFFAOYSA-N 0.000 description 1
- FYMBAYNKBWGEIK-UHFFFAOYSA-N 5-methylheptan-2-ol Chemical compound CCC(C)CCC(C)O FYMBAYNKBWGEIK-UHFFFAOYSA-N 0.000 description 1
- SECKOSOTZOBWEI-UHFFFAOYSA-N 5-methylheptan-3-ol Chemical compound CCC(C)CC(O)CC SECKOSOTZOBWEI-UHFFFAOYSA-N 0.000 description 1
- 239000005711 Benzoic acid Substances 0.000 description 1
- KOGUETJHVWKSDK-UHFFFAOYSA-N CC(C)C[C]CC(C)C Chemical compound CC(C)C[C]CC(C)C KOGUETJHVWKSDK-UHFFFAOYSA-N 0.000 description 1
- PXGOKWXKJXAPGV-UHFFFAOYSA-N Fluorine Chemical compound FF PXGOKWXKJXAPGV-UHFFFAOYSA-N 0.000 description 1
- YVBCULSIZWMTFY-UHFFFAOYSA-N Heptan-4-ol Chemical compound CCCC(O)CCC YVBCULSIZWMTFY-UHFFFAOYSA-N 0.000 description 1
- GRYLNZFGIOXLOG-UHFFFAOYSA-N Nitric acid Chemical compound O[N+]([O-])=O GRYLNZFGIOXLOG-UHFFFAOYSA-N 0.000 description 1
- ZLMJMSJWJFRBEC-UHFFFAOYSA-N Potassium Chemical compound [K] ZLMJMSJWJFRBEC-UHFFFAOYSA-N 0.000 description 1
- 235000021355 Stearic acid Nutrition 0.000 description 1
- DKGAVHZHDRPRBM-UHFFFAOYSA-N Tert-Butanol Chemical compound CC(C)(C)O DKGAVHZHDRPRBM-UHFFFAOYSA-N 0.000 description 1
- RHQDFWAXVIIEBN-UHFFFAOYSA-N Trifluoroethanol Chemical compound OCC(F)(F)F RHQDFWAXVIIEBN-UHFFFAOYSA-N 0.000 description 1
- 229910052915 alkaline earth metal silicate Inorganic materials 0.000 description 1
- 150000004703 alkoxides Chemical class 0.000 description 1
- 125000003545 alkoxy group Chemical group 0.000 description 1
- 125000005910 alkyl carbonate group Chemical group 0.000 description 1
- 229910000147 aluminium phosphate Inorganic materials 0.000 description 1
- 150000001408 amides Chemical class 0.000 description 1
- QGZKDVFQNNGYKY-UHFFFAOYSA-O ammonium group Chemical group [NH4+] QGZKDVFQNNGYKY-UHFFFAOYSA-O 0.000 description 1
- 235000010233 benzoic acid Nutrition 0.000 description 1
- SEDFXKPTDJKEDU-UHFFFAOYSA-N bis(1,1,1-trifluoropropan-2-yl) carbonate Chemical compound FC(F)(F)C(C)OC(=O)OC(C)C(F)(F)F SEDFXKPTDJKEDU-UHFFFAOYSA-N 0.000 description 1
- BCDNOCIXDNHODD-UHFFFAOYSA-N bis(1,1,2,2,2-pentafluoroethyl) carbonate Chemical compound FC(F)(F)C(F)(F)OC(=O)OC(F)(F)C(F)(F)F BCDNOCIXDNHODD-UHFFFAOYSA-N 0.000 description 1
- VEMRXAAEFFUNDW-UHFFFAOYSA-N bis(1,1,2,2-tetrafluoroethyl) carbonate Chemical compound FC(F)C(F)(F)OC(=O)OC(F)(F)C(F)F VEMRXAAEFFUNDW-UHFFFAOYSA-N 0.000 description 1
- WLLOZRDOFANZMZ-UHFFFAOYSA-N bis(2,2,2-trifluoroethyl) carbonate Chemical compound FC(F)(F)COC(=O)OCC(F)(F)F WLLOZRDOFANZMZ-UHFFFAOYSA-N 0.000 description 1
- MCKUTMKFVVWRJH-UHFFFAOYSA-N bis(2,2,4-trimethylpentyl) carbonate Chemical class CC(C)CC(C)(C)COC(=O)OCC(C)(C)CC(C)C MCKUTMKFVVWRJH-UHFFFAOYSA-N 0.000 description 1
- XXJCLCBMWUQUDO-UHFFFAOYSA-N bis(2,2-dimethylbutyl) carbonate Chemical compound CCC(C)(C)COC(=O)OCC(C)(C)CC XXJCLCBMWUQUDO-UHFFFAOYSA-N 0.000 description 1
- MXILIGLIKGAXAJ-UHFFFAOYSA-N bis(2,2-dimethylhexan-3-yl) carbonate Chemical class CCCC(C(C)(C)C)OC(=O)OC(C(C)(C)C)CCC MXILIGLIKGAXAJ-UHFFFAOYSA-N 0.000 description 1
- VAHNUCFSRZLENO-UHFFFAOYSA-N bis(2,2-dimethylpropyl) carbonate Chemical compound CC(C)(C)COC(=O)OCC(C)(C)C VAHNUCFSRZLENO-UHFFFAOYSA-N 0.000 description 1
- FXUVYTFUECVOJT-UHFFFAOYSA-N bis(2,5-dimethylhexan-3-yl) carbonate Chemical compound CC(C)CC(C(C)C)OC(=O)OC(C(C)C)CC(C)C FXUVYTFUECVOJT-UHFFFAOYSA-N 0.000 description 1
- DSHXGCOIDPHJPX-UHFFFAOYSA-N bis(2,6-dimethylcyclohexyl) carbonate Chemical compound CC1CCCC(C)C1OC(=O)OC1C(C)CCCC1C DSHXGCOIDPHJPX-UHFFFAOYSA-N 0.000 description 1
- RXXXWFKQCPANHB-UHFFFAOYSA-N bis(2-methylcyclohexyl) carbonate Chemical compound CC1CCCCC1OC(=O)OC1C(C)CCCC1 RXXXWFKQCPANHB-UHFFFAOYSA-N 0.000 description 1
- AIPBNEXYKCHAEY-UHFFFAOYSA-N bis(2-methylhexan-3-yl) carbonate Chemical compound CCCC(C(C)C)OC(=O)OC(C(C)C)CCC AIPBNEXYKCHAEY-UHFFFAOYSA-N 0.000 description 1
- PIGCSBXOAZFMCG-UHFFFAOYSA-N bis(3,3-dimethylbutan-2-yl) carbonate Chemical compound CC(C)(C)C(C)OC(=O)OC(C)C(C)(C)C PIGCSBXOAZFMCG-UHFFFAOYSA-N 0.000 description 1
- CWEAMOXRSYNUJE-UHFFFAOYSA-N bis(3,4-dimethylhexan-3-yl) carbonate Chemical compound CCC(C)C(C)(CC)OC(=O)OC(C)(CC)C(C)CC CWEAMOXRSYNUJE-UHFFFAOYSA-N 0.000 description 1
- KDQLIZMVOXSHLX-UHFFFAOYSA-N bis(3-ethylpentan-2-yl) carbonate Chemical compound CCC(CC)C(C)OC(=O)OC(C)C(CC)CC KDQLIZMVOXSHLX-UHFFFAOYSA-N 0.000 description 1
- GLTYUAINPQJYPF-UHFFFAOYSA-N bis(3-methylbutan-2-yl) carbonate Chemical compound CC(C)C(C)OC(=O)OC(C)C(C)C GLTYUAINPQJYPF-UHFFFAOYSA-N 0.000 description 1
- AMDFYCTWMRZKJI-UHFFFAOYSA-N bis(4-methylheptan-3-yl) carbonate Chemical compound CCCC(C)C(CC)OC(=O)OC(CC)C(C)CCC AMDFYCTWMRZKJI-UHFFFAOYSA-N 0.000 description 1
- TUZBCMSCBKLHPS-UHFFFAOYSA-N bis(5-methylhexan-2-yl) carbonate Chemical compound CC(C)CCC(C)OC(=O)OC(C)CCC(C)C TUZBCMSCBKLHPS-UHFFFAOYSA-N 0.000 description 1
- 125000005587 carbonate group Chemical group 0.000 description 1
- ZUFTZOVETCERGK-UHFFFAOYSA-N carbonic acid;dipropyl carbonate Chemical compound OC(O)=O.CCCOC(=O)OCCC ZUFTZOVETCERGK-UHFFFAOYSA-N 0.000 description 1
- OVXAYNWBMFUWNG-UHFFFAOYSA-N carbonic acid;hex-2-yn-1-ol Chemical class OC(O)=O.CCCC#CCO.CCCC#CCO OVXAYNWBMFUWNG-UHFFFAOYSA-N 0.000 description 1
- 150000001805 chlorine compounds Chemical class 0.000 description 1
- 125000001309 chloro group Chemical group Cl* 0.000 description 1
- 238000010924 continuous production Methods 0.000 description 1
- 125000000582 cycloheptyl group Chemical group [H]C1([H])C([H])([H])C([H])([H])C([H])([H])C([H])(*)C([H])([H])C1([H])[H] 0.000 description 1
- HPXRVTGHNJAIIH-UHFFFAOYSA-N cyclohexanol Chemical compound OC1CCCCC1 HPXRVTGHNJAIIH-UHFFFAOYSA-N 0.000 description 1
- RYRWDTRXCNOMOJ-UHFFFAOYSA-N dibutan-2-yl carbonate Chemical compound CCC(C)OC(=O)OC(C)CC RYRWDTRXCNOMOJ-UHFFFAOYSA-N 0.000 description 1
- ZFTFAPZRGNKQPU-UHFFFAOYSA-N dicarbonic acid Chemical class OC(=O)OC(O)=O ZFTFAPZRGNKQPU-UHFFFAOYSA-N 0.000 description 1
- AJHQRWJZHVBYLU-UHFFFAOYSA-N dicyclopentyl carbonate Chemical compound C1CCCC1OC(=O)OC1CCCC1 AJHQRWJZHVBYLU-UHFFFAOYSA-N 0.000 description 1
- HCQAMXWNSXFJCF-UHFFFAOYSA-N diheptan-2-yl carbonate Chemical compound CCCCCC(C)OC(=O)OC(C)CCCCC HCQAMXWNSXFJCF-UHFFFAOYSA-N 0.000 description 1
- IEJIGPNLZYLLBP-UHFFFAOYSA-N dimethyl carbonate Chemical compound COC(=O)OC IEJIGPNLZYLLBP-UHFFFAOYSA-N 0.000 description 1
- TVMOAYSCWQPHEA-UHFFFAOYSA-N dipentan-2-yl carbonate Chemical compound CCCC(C)OC(=O)OC(C)CCC TVMOAYSCWQPHEA-UHFFFAOYSA-N 0.000 description 1
- NQWWLIXAXXDLIV-UHFFFAOYSA-N dipentan-3-yl carbonate Chemical compound CCC(CC)OC(=O)OC(CC)CC NQWWLIXAXXDLIV-UHFFFAOYSA-N 0.000 description 1
- ROORDVPLFPIABK-UHFFFAOYSA-N diphenyl carbonate Chemical compound C=1C=CC=CC=1OC(=O)OC1=CC=CC=C1 ROORDVPLFPIABK-UHFFFAOYSA-N 0.000 description 1
- JMPVESVJOFYWTB-UHFFFAOYSA-N dipropan-2-yl carbonate Chemical compound CC(C)OC(=O)OC(C)C JMPVESVJOFYWTB-UHFFFAOYSA-N 0.000 description 1
- 238000011143 downstream manufacturing Methods 0.000 description 1
- 238000011067 equilibration Methods 0.000 description 1
- 230000032050 esterification Effects 0.000 description 1
- 238000005886 esterification reaction Methods 0.000 description 1
- 125000001495 ethyl group Chemical group [H]C([H])([H])C([H])([H])* 0.000 description 1
- 238000000605 extraction Methods 0.000 description 1
- 238000000895 extractive distillation Methods 0.000 description 1
- 230000002349 favourable effect Effects 0.000 description 1
- 229910052731 fluorine Inorganic materials 0.000 description 1
- 239000011737 fluorine Substances 0.000 description 1
- 238000005194 fractionation Methods 0.000 description 1
- 125000000524 functional group Chemical group 0.000 description 1
- 150000002334 glycols Chemical class 0.000 description 1
- 230000005484 gravity Effects 0.000 description 1
- 125000001188 haloalkyl group Chemical group 0.000 description 1
- 125000005843 halogen group Chemical group 0.000 description 1
- QNVRIHYSUZMSGM-UHFFFAOYSA-N hexan-2-ol Chemical compound CCCCC(C)O QNVRIHYSUZMSGM-UHFFFAOYSA-N 0.000 description 1
- 239000008240 homogeneous mixture Substances 0.000 description 1
- 150000004678 hydrides Chemical class 0.000 description 1
- 239000001257 hydrogen Substances 0.000 description 1
- 229910052739 hydrogen Inorganic materials 0.000 description 1
- 125000004435 hydrogen atom Chemical class [H]* 0.000 description 1
- XMBWDFGMSWQBCA-UHFFFAOYSA-N hydrogen iodide Chemical compound I XMBWDFGMSWQBCA-UHFFFAOYSA-N 0.000 description 1
- 229940071870 hydroiodic acid Drugs 0.000 description 1
- 125000002887 hydroxy group Chemical group [H]O* 0.000 description 1
- 230000005764 inhibitory process Effects 0.000 description 1
- 239000003456 ion exchange resin Substances 0.000 description 1
- 229920003303 ion-exchange polymer Polymers 0.000 description 1
- 239000007791 liquid phase Substances 0.000 description 1
- 230000007774 longterm Effects 0.000 description 1
- 229910017604 nitric acid Inorganic materials 0.000 description 1
- 229910052757 nitrogen Inorganic materials 0.000 description 1
- QIQXTHQIDYTFRH-UHFFFAOYSA-N octadecanoic acid Chemical class CCCCCCCCCCCCCCCCCC(O)=O QIQXTHQIDYTFRH-UHFFFAOYSA-N 0.000 description 1
- OQCDKBAXFALNLD-UHFFFAOYSA-N octadecanoic acid Natural products CCCCCCCC(C)CCCCCCCCC(O)=O OQCDKBAXFALNLD-UHFFFAOYSA-N 0.000 description 1
- 150000007524 organic acids Chemical class 0.000 description 1
- 235000005985 organic acids Nutrition 0.000 description 1
- 235000020030 perry Nutrition 0.000 description 1
- 229920001515 polyalkylene glycol Polymers 0.000 description 1
- 229910052700 potassium Inorganic materials 0.000 description 1
- 239000011591 potassium Substances 0.000 description 1
- 235000019260 propionic acid Nutrition 0.000 description 1
- FOWDZVNRQHPXDO-UHFFFAOYSA-N propyl hydrogen carbonate Chemical compound CCCOC(O)=O FOWDZVNRQHPXDO-UHFFFAOYSA-N 0.000 description 1
- 125000001453 quaternary ammonium group Chemical group 0.000 description 1
- IUVKMZGDUIUOCP-BTNSXGMBSA-N quinbolone Chemical compound O([C@H]1CC[C@H]2[C@H]3[C@@H]([C@]4(C=CC(=O)C=C4CC3)C)CC[C@@]21C)C1=CCCC1 IUVKMZGDUIUOCP-BTNSXGMBSA-N 0.000 description 1
- 239000011541 reaction mixture Substances 0.000 description 1
- 238000004064 recycling Methods 0.000 description 1
- 230000002441 reversible effect Effects 0.000 description 1
- 239000000377 silicon dioxide Substances 0.000 description 1
- 235000012239 silicon dioxide Nutrition 0.000 description 1
- 159000000000 sodium salts Chemical class 0.000 description 1
- 239000008117 stearic acid Substances 0.000 description 1
- 239000000126 substance Substances 0.000 description 1
- 150000003512 tertiary amines Chemical class 0.000 description 1
- 239000010457 zeolite Substances 0.000 description 1
Images
Classifications
-
- B—PERFORMING OPERATIONS; TRANSPORTING
- B01—PHYSICAL OR CHEMICAL PROCESSES OR APPARATUS IN GENERAL
- B01D—SEPARATION
- B01D3/00—Distillation or related exchange processes in which liquids are contacted with gaseous media, e.g. stripping
- B01D3/009—Distillation or related exchange processes in which liquids are contacted with gaseous media, e.g. stripping in combination with chemical reactions
-
- B—PERFORMING OPERATIONS; TRANSPORTING
- B01—PHYSICAL OR CHEMICAL PROCESSES OR APPARATUS IN GENERAL
- B01D—SEPARATION
- B01D3/00—Distillation or related exchange processes in which liquids are contacted with gaseous media, e.g. stripping
- B01D3/14—Fractional distillation or use of a fractionation or rectification column
- B01D3/141—Fractional distillation or use of a fractionation or rectification column where at least one distillation column contains at least one dividing wall
-
- B—PERFORMING OPERATIONS; TRANSPORTING
- B01—PHYSICAL OR CHEMICAL PROCESSES OR APPARATUS IN GENERAL
- B01D—SEPARATION
- B01D3/00—Distillation or related exchange processes in which liquids are contacted with gaseous media, e.g. stripping
- B01D3/34—Distillation or related exchange processes in which liquids are contacted with gaseous media, e.g. stripping with one or more auxiliary substances
- B01D3/36—Azeotropic distillation
-
- C—CHEMISTRY; METALLURGY
- C07—ORGANIC CHEMISTRY
- C07C—ACYCLIC OR CARBOCYCLIC COMPOUNDS
- C07C29/00—Preparation of compounds having hydroxy or O-metal groups bound to a carbon atom not belonging to a six-membered aromatic ring
- C07C29/74—Separation; Purification; Use of additives, e.g. for stabilisation
- C07C29/76—Separation; Purification; Use of additives, e.g. for stabilisation by physical treatment
- C07C29/80—Separation; Purification; Use of additives, e.g. for stabilisation by physical treatment by distillation
-
- C—CHEMISTRY; METALLURGY
- C07—ORGANIC CHEMISTRY
- C07C—ACYCLIC OR CARBOCYCLIC COMPOUNDS
- C07C29/00—Preparation of compounds having hydroxy or O-metal groups bound to a carbon atom not belonging to a six-membered aromatic ring
- C07C29/74—Separation; Purification; Use of additives, e.g. for stabilisation
- C07C29/76—Separation; Purification; Use of additives, e.g. for stabilisation by physical treatment
- C07C29/86—Separation; Purification; Use of additives, e.g. for stabilisation by physical treatment by liquid-liquid treatment
-
- C—CHEMISTRY; METALLURGY
- C07—ORGANIC CHEMISTRY
- C07C—ACYCLIC OR CARBOCYCLIC COMPOUNDS
- C07C68/00—Preparation of esters of carbonic or haloformic acids
- C07C68/06—Preparation of esters of carbonic or haloformic acids from organic carbonates
- C07C68/065—Preparation of esters of carbonic or haloformic acids from organic carbonates from alkylene carbonates
-
- C—CHEMISTRY; METALLURGY
- C07—ORGANIC CHEMISTRY
- C07C—ACYCLIC OR CARBOCYCLIC COMPOUNDS
- C07C68/00—Preparation of esters of carbonic or haloformic acids
- C07C68/08—Purification; Separation; Stabilisation
-
- Y—GENERAL TAGGING OF NEW TECHNOLOGICAL DEVELOPMENTS; GENERAL TAGGING OF CROSS-SECTIONAL TECHNOLOGIES SPANNING OVER SEVERAL SECTIONS OF THE IPC; TECHNICAL SUBJECTS COVERED BY FORMER USPC CROSS-REFERENCE ART COLLECTIONS [XRACs] AND DIGESTS
- Y02—TECHNOLOGIES OR APPLICATIONS FOR MITIGATION OR ADAPTATION AGAINST CLIMATE CHANGE
- Y02P—CLIMATE CHANGE MITIGATION TECHNOLOGIES IN THE PRODUCTION OR PROCESSING OF GOODS
- Y02P20/00—Technologies relating to chemical industry
- Y02P20/10—Process efficiency
-
- Y—GENERAL TAGGING OF NEW TECHNOLOGICAL DEVELOPMENTS; GENERAL TAGGING OF CROSS-SECTIONAL TECHNOLOGIES SPANNING OVER SEVERAL SECTIONS OF THE IPC; TECHNICAL SUBJECTS COVERED BY FORMER USPC CROSS-REFERENCE ART COLLECTIONS [XRACs] AND DIGESTS
- Y02—TECHNOLOGIES OR APPLICATIONS FOR MITIGATION OR ADAPTATION AGAINST CLIMATE CHANGE
- Y02P—CLIMATE CHANGE MITIGATION TECHNOLOGIES IN THE PRODUCTION OR PROCESSING OF GOODS
- Y02P20/00—Technologies relating to chemical industry
- Y02P20/50—Improvements relating to the production of bulk chemicals
- Y02P20/582—Recycling of unreacted starting or intermediate materials
Landscapes
- Chemical & Material Sciences (AREA)
- Organic Chemistry (AREA)
- Chemical Kinetics & Catalysis (AREA)
- Organic Low-Molecular-Weight Compounds And Preparation Thereof (AREA)
Applications Claiming Priority (3)
| Application Number | Priority Date | Filing Date | Title |
|---|---|---|---|
| EP11191894.2 | 2011-12-05 | ||
| EP11191894 | 2011-12-05 | ||
| PCT/EP2012/074478 WO2013083618A1 (de) | 2011-12-05 | 2012-12-05 | Verfahren zur gewinnung eines dialkylcarbonats und eines alkylenglykols |
Publications (1)
| Publication Number | Publication Date |
|---|---|
| KR20140113931A true KR20140113931A (ko) | 2014-09-25 |
Family
ID=47351616
Family Applications (1)
| Application Number | Title | Priority Date | Filing Date |
|---|---|---|---|
| KR1020147018561A Withdrawn KR20140113931A (ko) | 2011-12-05 | 2012-12-05 | 디알킬 카르보네이트와 알켈렌 글리콜을 수득하는 방법 |
Country Status (7)
| Country | Link |
|---|---|
| EP (1) | EP2788315A1 (enExample) |
| JP (1) | JP2015504855A (enExample) |
| KR (1) | KR20140113931A (enExample) |
| CN (1) | CN104203899A (enExample) |
| BR (1) | BR112014013557A2 (enExample) |
| IN (1) | IN2014CN04151A (enExample) |
| WO (1) | WO2013083618A1 (enExample) |
Families Citing this family (8)
| Publication number | Priority date | Publication date | Assignee | Title |
|---|---|---|---|---|
| JPWO2013150989A1 (ja) * | 2012-04-04 | 2015-12-17 | 旭硝子株式会社 | ジオールおよびジブチルカーボネートの分離方法、精製方法、ならびに製造方法 |
| EP3368104B1 (en) | 2015-10-28 | 2021-09-01 | SHL Medical AG | Medicament container holder |
| US10399004B2 (en) * | 2016-09-08 | 2019-09-03 | Eastman Chemical Company | Thermally integrated distillation systems and processes using the same |
| CN108558669A (zh) * | 2017-03-23 | 2018-09-21 | 秦燕雯 | 一种用于碳酸二甲酯装置节能降耗的装置 |
| CN114555553B (zh) * | 2019-10-03 | 2024-04-05 | 国际壳牌研究有限公司 | 用于制备碳酸二烷基酯和链烷二醇的方法 |
| EP3831805A1 (en) * | 2019-12-06 | 2021-06-09 | Shell Internationale Research Maatschappij B.V. | Process for the preparation of a dialkyl carbonate and an alkanediol |
| WO2021110627A1 (en) * | 2019-12-06 | 2021-06-10 | Shell Internationale Research Maatschappij B.V. | Process for removing an ether alkanol impurity from an organic carbonate stream |
| CN115594585B (zh) * | 2022-12-13 | 2023-04-07 | 江苏华盛锂电材料股份有限公司 | 一种一步合成并提纯甲基三氟乙基碳酸酯的方法 |
Family Cites Families (20)
| Publication number | Priority date | Publication date | Assignee | Title |
|---|---|---|---|---|
| US3642858A (en) * | 1969-02-12 | 1972-02-15 | Dow Chemical Co | Carbonate synthesis from alkylene carbonates |
| US5489703A (en) | 1995-05-19 | 1996-02-06 | Amoco Corporation | Reaction extraction of alkyl carbonate |
| DE69620470T2 (de) | 1995-12-22 | 2002-11-21 | Asahi Kasei Kabushiki Kaisha, Osaka | Verfahren zur kontinuierlichen herstellung von dialkylcarbonaten und diolen |
| US6346638B1 (en) | 1998-06-10 | 2002-02-12 | Asahi Kasel Kabushiki Kaisha | Process for continuous production of dialkyl carbonate and diol |
| AU2827900A (en) | 1999-03-03 | 2000-09-21 | Asahi Kasei Kabushiki Kaisha | Process for continuously producing dialkyl carbonate and diol |
| US6166240A (en) * | 2000-02-22 | 2000-12-26 | Mobil Oil Corporation | Process for co-production of dialkyl carbonate and alkanediol |
| US6573396B2 (en) | 2001-10-12 | 2003-06-03 | Exxonmobil Chemical Patents Inc. | Co-production of dialkyl carbonates and diols with treatment of hydroxy alkyl carbonate |
| JP2003300918A (ja) * | 2002-04-11 | 2003-10-21 | Mitsui Chemicals Inc | ジアルキルカーボネートとグリコールの連続同時製造方法 |
| US6620959B1 (en) | 2002-04-16 | 2003-09-16 | Exxonmobil Chemical Patents Inc. | Process for the production of unsymmetric and/or symmetric dialkyl carbonates and diols |
| JP4000912B2 (ja) * | 2002-05-30 | 2007-10-31 | 三菱化学株式会社 | ジメチルカーボネートの製造方法 |
| JP4424898B2 (ja) * | 2002-10-08 | 2010-03-03 | 旭化成ケミカルズ株式会社 | ジアルキルカーボネートおよびジオールを製造する方法 |
| JP2006023065A (ja) | 2004-06-10 | 2006-01-26 | Mitsubishi Electric Corp | 換気機能付き空気調和機及び換気機能付き空気調和機の換気装置及び換気機能付き空気調和機の換気方法 |
| JP2006206497A (ja) * | 2005-01-28 | 2006-08-10 | Asahi Kasei Chemicals Corp | ジアルキルカーボネートおよびジオールを製造する方法 |
| EP1961721A1 (en) | 2005-12-12 | 2008-08-27 | Asahi Kasei Chemicals Corporation | Process for production of dialkyl carbonate and diol in industrial scale |
| TW200732291A (en) | 2005-12-14 | 2007-09-01 | Asahi Kasei Chemicals Corp | Process for production of dialkyl carbonate and diol in industrial scale and with high yield |
| TWI383976B (zh) | 2006-02-22 | 2013-02-01 | Shell Int Research | 製備碳酸二烷酯及烷二醇的方法 |
| JP5094459B2 (ja) | 2007-03-09 | 2012-12-12 | ローム アンド ハース カンパニー | アルカンを不飽和カルボン酸に変換するための改良法 |
| DE102009030680A1 (de) * | 2009-06-26 | 2010-12-30 | Bayer Materialscience Ag | Verfahren zur Herstellung von Dialkylcarbonaten aus Alkylencarbonaten und Alkoholen |
| DE102009053370A1 (de) | 2009-11-14 | 2011-05-19 | Bayer Materialscience Ag | Verfahren zur Reinigung von Dialkylcarbonaten |
| TWI473786B (zh) | 2009-11-16 | 2015-02-21 | Shell Int Research | 製備烷二醇及碳酸二烷酯的方法 |
-
2012
- 2012-12-05 BR BR112014013557A patent/BR112014013557A2/pt not_active IP Right Cessation
- 2012-12-05 EP EP12799132.1A patent/EP2788315A1/de not_active Withdrawn
- 2012-12-05 JP JP2014545236A patent/JP2015504855A/ja not_active Ceased
- 2012-12-05 CN CN201280069004.4A patent/CN104203899A/zh active Pending
- 2012-12-05 WO PCT/EP2012/074478 patent/WO2013083618A1/de not_active Ceased
- 2012-12-05 IN IN4151CHN2014 patent/IN2014CN04151A/en unknown
- 2012-12-05 KR KR1020147018561A patent/KR20140113931A/ko not_active Withdrawn
Also Published As
| Publication number | Publication date |
|---|---|
| BR112014013557A2 (pt) | 2017-06-13 |
| WO2013083618A1 (de) | 2013-06-13 |
| CN104203899A (zh) | 2014-12-10 |
| IN2014CN04151A (enExample) | 2015-07-17 |
| EP2788315A1 (de) | 2014-10-15 |
| JP2015504855A (ja) | 2015-02-16 |
Similar Documents
| Publication | Publication Date | Title |
|---|---|---|
| KR20140113931A (ko) | 디알킬 카르보네이트와 알켈렌 글리콜을 수득하는 방법 | |
| EP2432758B1 (en) | The production of n,n-dialkylaminoethyl (meth)acrylates | |
| EP2231572B1 (en) | Production of propylene glycol monoalkyl ether | |
| KR20110105379A (ko) | 디알킬카보네이트의 제조 방법 | |
| CA2185821A1 (en) | Continuous preparation of alkyl esters of (meth)acrylic acid and apparatus for this purpose | |
| US20030018216A1 (en) | Method for producing anhydrous formic acid | |
| IL189243A (en) | Purification of Fluoromethyl 3,3,3,1,1,1 – Hexafluoroisopropyl ether (Sabofloran) | |
| CN112262119B (zh) | 纯化轻质丙烯酸酯的方法 | |
| KR20180015632A (ko) | 공액 디엔의 제조 방법 | |
| US8558021B2 (en) | Process for the catalytic halogenation of a diol | |
| US5074967A (en) | Separation of methoxyisopropylamine from methoxyisopropylamine-water azeotrope | |
| US9133094B2 (en) | Apparatus and process for nitration selectivity flexibility enabled by azeotropic distillation | |
| US6838579B2 (en) | Utilization of an extracting agent as antifoaming agent in the production of anhydrous formic acid | |
| US20060205972A1 (en) | Process for preparing alkyl esters of (meth)acrylic acid | |
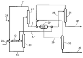
| US20130144080A1 (en) | Process for obtaining a dialkyl carbonate and an alkylene glycol | |
| US3860495A (en) | Process for the purification of crude acrolein by extractive distillation | |
| US9192877B2 (en) | Apparatus and process for using a nitroalkane as an entrainer for azeotropic removal of water from aqueous acid solution | |
| US20060205973A1 (en) | Process for preparing alkyl esters of (meth)acrylic acid | |
| JPS6039049B2 (ja) | アルコ−ルの製造方法 | |
| KR20020029131A (ko) | 지방산 아미드의 제조방법 | |
| US12134558B2 (en) | Process for preparing hydrazine hydrate with pyrazoline recycling | |
| US6414204B1 (en) | Process for producing allyl chloride | |
| JP6270476B2 (ja) | ジトリメチロールプロパンの製造方法 | |
| JP2002003458A (ja) | ホルムアミドの製造方法 |
Legal Events
| Date | Code | Title | Description |
|---|---|---|---|
| PA0105 | International application |
Patent event date: 20140704 Patent event code: PA01051R01D Comment text: International Patent Application |
|
| PG1501 | Laying open of application | ||
| PC1203 | Withdrawal of no request for examination | ||
| WITN | Application deemed withdrawn, e.g. because no request for examination was filed or no examination fee was paid |