KR20100133445A - 확장된 공핍 깊이를 갖는 광검출기 - Google Patents
확장된 공핍 깊이를 갖는 광검출기 Download PDFInfo
- Publication number
- KR20100133445A KR20100133445A KR1020107023683A KR20107023683A KR20100133445A KR 20100133445 A KR20100133445 A KR 20100133445A KR 1020107023683 A KR1020107023683 A KR 1020107023683A KR 20107023683 A KR20107023683 A KR 20107023683A KR 20100133445 A KR20100133445 A KR 20100133445A
- Authority
- KR
- South Korea
- Prior art keywords
- layer
- substrate
- image sensor
- conductivity type
- substrate layer
- Prior art date
- Legal status (The legal status is an assumption and is not a legal conclusion. Google has not performed a legal analysis and makes no representation as to the accuracy of the status listed.)
- Ceased
Links
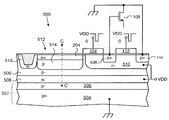
- 239000000758 substrate Substances 0.000 claims abstract description 57
- 239000002019 doping agent Substances 0.000 claims abstract description 24
- 238000003384 imaging method Methods 0.000 claims abstract description 20
- 238000000034 method Methods 0.000 claims description 21
- 238000012546 transfer Methods 0.000 description 10
- 238000004519 manufacturing process Methods 0.000 description 8
- 239000007943 implant Substances 0.000 description 6
- 238000010586 diagram Methods 0.000 description 4
- 239000000872 buffer Substances 0.000 description 3
- 230000008901 benefit Effects 0.000 description 2
- 230000015572 biosynthetic process Effects 0.000 description 2
- 230000007423 decrease Effects 0.000 description 2
- 238000009792 diffusion process Methods 0.000 description 2
- 238000002955 isolation Methods 0.000 description 2
- 230000003287 optical effect Effects 0.000 description 2
- 238000012545 processing Methods 0.000 description 2
- 229910052710 silicon Inorganic materials 0.000 description 2
- 239000010703 silicon Substances 0.000 description 2
- 230000005236 sound signal Effects 0.000 description 2
- 238000003860 storage Methods 0.000 description 2
- 239000002800 charge carrier Substances 0.000 description 1
- 230000000295 complement effect Effects 0.000 description 1
- 238000012937 correction Methods 0.000 description 1
- 239000003989 dielectric material Substances 0.000 description 1
- 230000000694 effects Effects 0.000 description 1
- 238000005516 engineering process Methods 0.000 description 1
- 230000006870 function Effects 0.000 description 1
- 238000002347 injection Methods 0.000 description 1
- 239000007924 injection Substances 0.000 description 1
- 238000005468 ion implantation Methods 0.000 description 1
- 239000011159 matrix material Substances 0.000 description 1
- 229910044991 metal oxide Inorganic materials 0.000 description 1
- 150000004706 metal oxides Chemical class 0.000 description 1
- 238000012986 modification Methods 0.000 description 1
- 230000004048 modification Effects 0.000 description 1
- 230000002093 peripheral effect Effects 0.000 description 1
- 230000008569 process Effects 0.000 description 1
- 230000001902 propagating effect Effects 0.000 description 1
- 230000004044 response Effects 0.000 description 1
- 238000012552 review Methods 0.000 description 1
- 239000004065 semiconductor Substances 0.000 description 1
Images
Classifications
-
- H—ELECTRICITY
- H10—SEMICONDUCTOR DEVICES; ELECTRIC SOLID-STATE DEVICES NOT OTHERWISE PROVIDED FOR
- H10F—INORGANIC SEMICONDUCTOR DEVICES SENSITIVE TO INFRARED RADIATION, LIGHT, ELECTROMAGNETIC RADIATION OF SHORTER WAVELENGTH OR CORPUSCULAR RADIATION
- H10F39/00—Integrated devices, or assemblies of multiple devices, comprising at least one element covered by group H10F30/00, e.g. radiation detectors comprising photodiode arrays
- H10F39/80—Constructional details of image sensors
- H10F39/803—Pixels having integrated switching, control, storage or amplification elements
-
- H—ELECTRICITY
- H10—SEMICONDUCTOR DEVICES; ELECTRIC SOLID-STATE DEVICES NOT OTHERWISE PROVIDED FOR
- H10F—INORGANIC SEMICONDUCTOR DEVICES SENSITIVE TO INFRARED RADIATION, LIGHT, ELECTROMAGNETIC RADIATION OF SHORTER WAVELENGTH OR CORPUSCULAR RADIATION
- H10F39/00—Integrated devices, or assemblies of multiple devices, comprising at least one element covered by group H10F30/00, e.g. radiation detectors comprising photodiode arrays
- H10F39/011—Manufacture or treatment of image sensors covered by group H10F39/12
- H10F39/014—Manufacture or treatment of image sensors covered by group H10F39/12 of CMOS image sensors
-
- H—ELECTRICITY
- H10—SEMICONDUCTOR DEVICES; ELECTRIC SOLID-STATE DEVICES NOT OTHERWISE PROVIDED FOR
- H10F—INORGANIC SEMICONDUCTOR DEVICES SENSITIVE TO INFRARED RADIATION, LIGHT, ELECTROMAGNETIC RADIATION OF SHORTER WAVELENGTH OR CORPUSCULAR RADIATION
- H10F39/00—Integrated devices, or assemblies of multiple devices, comprising at least one element covered by group H10F30/00, e.g. radiation detectors comprising photodiode arrays
- H10F39/80—Constructional details of image sensors
- H10F39/802—Geometry or disposition of elements in pixels, e.g. address-lines or gate electrodes
Landscapes
- Solid State Image Pick-Up Elements (AREA)
Applications Claiming Priority (2)
| Application Number | Priority Date | Filing Date | Title |
|---|---|---|---|
| US12/054,505 US20090243025A1 (en) | 2008-03-25 | 2008-03-25 | Pixel structure with a photodetector having an extended depletion depth |
| US12/054,505 | 2008-03-25 |
Publications (1)
| Publication Number | Publication Date |
|---|---|
| KR20100133445A true KR20100133445A (ko) | 2010-12-21 |
Family
ID=40786478
Family Applications (1)
| Application Number | Title | Priority Date | Filing Date |
|---|---|---|---|
| KR1020107023683A Ceased KR20100133445A (ko) | 2008-03-25 | 2009-03-24 | 확장된 공핍 깊이를 갖는 광검출기 |
Country Status (7)
| Country | Link |
|---|---|
| US (1) | US20090243025A1 (enExample) |
| EP (1) | EP2269222A1 (enExample) |
| JP (1) | JP2011517509A (enExample) |
| KR (1) | KR20100133445A (enExample) |
| CN (1) | CN101978500A (enExample) |
| TW (1) | TW201001688A (enExample) |
| WO (1) | WO2009120317A1 (enExample) |
Cited By (1)
| Publication number | Priority date | Publication date | Assignee | Title |
|---|---|---|---|---|
| KR20230112262A (ko) * | 2022-01-20 | 2023-07-27 | 주식회사 시지트로닉스 | 고농도 도핑된 에피층을 이용한 광대역 포토다이오드 및 그 제조방법 |
Families Citing this family (16)
| Publication number | Priority date | Publication date | Assignee | Title |
|---|---|---|---|---|
| JP5282543B2 (ja) * | 2008-11-28 | 2013-09-04 | ソニー株式会社 | 固体撮像装置、固体撮像装置の駆動方法および撮像装置 |
| US20100140668A1 (en) * | 2008-12-08 | 2010-06-10 | Stevens Eric G | Shallow trench isolation regions in image sensors |
| US20100148230A1 (en) * | 2008-12-11 | 2010-06-17 | Stevens Eric G | Trench isolation regions in image sensors |
| KR101363532B1 (ko) * | 2009-10-05 | 2014-02-14 | 고쿠리츠 다이가꾸 호우진 시즈오까 다이가꾸 | 반도체 소자 및 고체 촬상 장치 |
| JP5682150B2 (ja) * | 2010-06-14 | 2015-03-11 | ソニー株式会社 | 固体撮像素子及びその製造方法、撮像装置 |
| US8378398B2 (en) * | 2010-09-30 | 2013-02-19 | Omnivision Technologies, Inc. | Photodetector isolation in image sensors |
| US8101450B1 (en) * | 2010-12-13 | 2012-01-24 | Omnivision Technologies, Inc. | Photodetector isolation in image sensors |
| CN102222678A (zh) * | 2011-06-22 | 2011-10-19 | 格科微电子(上海)有限公司 | Cmos图像传感器及其形成方法 |
| JP6161454B2 (ja) * | 2013-07-25 | 2017-07-12 | キヤノン株式会社 | 光電変換装置、その製造方法及びカメラ |
| JP6159184B2 (ja) * | 2013-07-25 | 2017-07-05 | キヤノン株式会社 | 光電変換装置及び撮像システム |
| KR102717094B1 (ko) | 2016-12-27 | 2024-10-15 | 삼성전자주식회사 | 공유 픽셀을 구비한 이미지 센서 및 그 이미지 센서를 구비한 전자 장치 |
| TWI837648B (zh) * | 2017-07-31 | 2024-04-01 | 日商松下知識產權經營股份有限公司 | 拍攝裝置 |
| JP2019029643A (ja) * | 2017-07-31 | 2019-02-21 | パナソニックIpマネジメント株式会社 | 撮像装置 |
| JP7286778B2 (ja) * | 2019-02-26 | 2023-06-05 | エーエスエムエル ネザーランズ ビー.ブイ. | 利得要素を備えた荷電粒子検出器およびその製造方法 |
| CN114068739A (zh) * | 2021-07-29 | 2022-02-18 | 神盾股份有限公司 | 光感测装置 |
| CN115513242B (zh) * | 2022-11-01 | 2025-10-03 | 北京集创北方科技股份有限公司 | 半导体器件结构形成方法、感光组件、传感器、电子设备 |
Family Cites Families (21)
| Publication number | Priority date | Publication date | Assignee | Title |
|---|---|---|---|---|
| JPS6157181A (ja) * | 1984-08-28 | 1986-03-24 | Sharp Corp | 固体撮像装置 |
| JPS62124771A (ja) * | 1985-11-25 | 1987-06-06 | Sharp Corp | 固体撮像装置 |
| US5238864A (en) * | 1990-12-21 | 1993-08-24 | Mitsubishi Denki Kabushiki Kaisha | Method of making solid-state imaging device |
| US5436476A (en) * | 1993-04-14 | 1995-07-25 | Texas Instruments Incorporated | CCD image sensor with active transistor pixel |
| EP0883187A1 (en) * | 1997-06-04 | 1998-12-09 | Interuniversitair Micro-Elektronica Centrum Vzw | A detector for electromagnetic radiation, pixel structure with high sensitivity using such detector and method of manufacturing such detector |
| JP3457551B2 (ja) * | 1998-11-09 | 2003-10-20 | 株式会社東芝 | 固体撮像装置 |
| JP4604296B2 (ja) * | 1999-02-09 | 2011-01-05 | ソニー株式会社 | 固体撮像装置及びその製造方法 |
| JP4419238B2 (ja) * | 1999-12-27 | 2010-02-24 | ソニー株式会社 | 固体撮像素子及びその製造方法 |
| JP2001284568A (ja) * | 2000-03-31 | 2001-10-12 | Sharp Corp | 固体撮像装置 |
| JP2002223393A (ja) * | 2000-11-27 | 2002-08-09 | Sanyo Electric Co Ltd | 電荷転送素子 |
| US6504196B1 (en) * | 2001-08-30 | 2003-01-07 | Micron Technology, Inc. | CMOS imager and method of formation |
| JP3840203B2 (ja) * | 2002-06-27 | 2006-11-01 | キヤノン株式会社 | 固体撮像装置及び固体撮像装置を用いたカメラシステム |
| CN100466270C (zh) * | 2003-06-30 | 2009-03-04 | 罗姆股份有限公司 | 图像传感器及光电二极管的分离结构的形成方法 |
| JP2006294871A (ja) * | 2005-04-11 | 2006-10-26 | Matsushita Electric Ind Co Ltd | 固体撮像装置 |
| KR100690884B1 (ko) * | 2005-04-28 | 2007-03-09 | 삼성전자주식회사 | 이미지 센서 및 그 제조 방법 |
| US20070045668A1 (en) * | 2005-08-26 | 2007-03-01 | Micron Technology, Inc. | Vertical anti-blooming control and cross-talk reduction for imagers |
| US7875916B2 (en) * | 2005-09-28 | 2011-01-25 | Eastman Kodak Company | Photodetector and n-layer structure for improved collection efficiency |
| US20070069260A1 (en) * | 2005-09-28 | 2007-03-29 | Eastman Kodak Company | Photodetector structure for improved collection efficiency |
| US7728277B2 (en) * | 2005-11-16 | 2010-06-01 | Eastman Kodak Company | PMOS pixel structure with low cross talk for active pixel image sensors |
| JP4923596B2 (ja) * | 2006-01-31 | 2012-04-25 | ソニー株式会社 | 固体撮像装置 |
| JP4859045B2 (ja) * | 2006-09-06 | 2012-01-18 | シャープ株式会社 | 固体撮像素子および電子情報機器 |
-
2008
- 2008-03-25 US US12/054,505 patent/US20090243025A1/en not_active Abandoned
-
2009
- 2009-03-24 CN CN2009801098945A patent/CN101978500A/zh active Pending
- 2009-03-24 JP JP2011501801A patent/JP2011517509A/ja active Pending
- 2009-03-24 TW TW098109569A patent/TW201001688A/zh unknown
- 2009-03-24 KR KR1020107023683A patent/KR20100133445A/ko not_active Ceased
- 2009-03-24 WO PCT/US2009/001835 patent/WO2009120317A1/en not_active Ceased
- 2009-03-24 EP EP09725303A patent/EP2269222A1/en not_active Withdrawn
Cited By (1)
| Publication number | Priority date | Publication date | Assignee | Title |
|---|---|---|---|---|
| KR20230112262A (ko) * | 2022-01-20 | 2023-07-27 | 주식회사 시지트로닉스 | 고농도 도핑된 에피층을 이용한 광대역 포토다이오드 및 그 제조방법 |
Also Published As
| Publication number | Publication date |
|---|---|
| US20090243025A1 (en) | 2009-10-01 |
| WO2009120317A1 (en) | 2009-10-01 |
| JP2011517509A (ja) | 2011-06-09 |
| TW201001688A (en) | 2010-01-01 |
| EP2269222A1 (en) | 2011-01-05 |
| CN101978500A (zh) | 2011-02-16 |
Similar Documents
| Publication | Publication Date | Title |
|---|---|---|
| US20090243025A1 (en) | Pixel structure with a photodetector having an extended depletion depth | |
| US8049256B2 (en) | Active pixel sensor having a sensor wafer connected to a support circuit wafer | |
| US7858915B2 (en) | Active pixel sensor having two wafers | |
| JP5564909B2 (ja) | 固体撮像装置とその製造方法、及び電子機器 | |
| KR101568350B1 (ko) | 3d 집적 픽셀에 대한 고 이득 판독 회로 | |
| CN103117289B (zh) | 固体摄像元件、固体摄像元件制造方法和电子设备 | |
| JP5522980B2 (ja) | 固体撮像装置、固体撮像装置を用いた撮像システム、および固体撮像装置の製造方法 | |
| CN110729317B (zh) | 固态成像装置,制造固态成像装置的方法和电子设备 | |
| CN104282701A (zh) | 图像拾取装置、制造图像拾取装置的方法以及电子设备 | |
| JP2016028457A (ja) | 固体撮像装置及び電子機器 | |
| CN103688359B (zh) | 固态成像装置及其驱动方法、固态成像装置的制造方法以及电子信息设备 | |
| US20120002092A1 (en) | Low noise active pixel sensor |
Legal Events
| Date | Code | Title | Description |
|---|---|---|---|
| PA0105 | International application |
Patent event date: 20101022 Patent event code: PA01051R01D Comment text: International Patent Application |
|
| PG1501 | Laying open of application | ||
| N231 | Notification of change of applicant | ||
| PN2301 | Change of applicant |
Patent event date: 20110526 Comment text: Notification of Change of Applicant Patent event code: PN23011R01D |
|
| A201 | Request for examination | ||
| PA0201 | Request for examination |
Patent event code: PA02012R01D Patent event date: 20120327 Comment text: Request for Examination of Application |
|
| PE0902 | Notice of grounds for rejection |
Comment text: Notification of reason for refusal Patent event date: 20130514 Patent event code: PE09021S01D |
|
| E601 | Decision to refuse application | ||
| PE0601 | Decision on rejection of patent |
Patent event date: 20130725 Comment text: Decision to Refuse Application Patent event code: PE06012S01D Patent event date: 20130514 Comment text: Notification of reason for refusal Patent event code: PE06011S01I |