KR100329053B1 - 고발광효율을갖는반도체발광장치 - Google Patents

고발광효율을갖는반도체발광장치 Download PDF

Info

Publication number
KR100329053B1
KR100329053B1 KR1019970075496A KR19970075496A KR100329053B1 KR 100329053 B1 KR100329053 B1 KR 100329053B1 KR 1019970075496 A KR1019970075496 A KR 1019970075496A KR 19970075496 A KR19970075496 A KR 19970075496A KR 100329053 B1 KR100329053 B1 KR 100329053B1
Authority
KR
South Korea
Prior art keywords
light emitting
impurity
semiconductor
base material
substrate
Prior art date
Legal status (The legal status is an assumption and is not a legal conclusion. Google has not performed a legal analysis and makes no representation as to the accuracy of the status listed.)
Expired - Fee Related
Application number
KR1019970075496A
Other languages
English (en)
Other versions
KR19980064764A (ko
Inventor
히로시 나카쯔
Original Assignee
샤프 가부시키가이샤
Priority date (The priority date is an assumption and is not a legal conclusion. Google has not performed a legal analysis and makes no representation as to the accuracy of the date listed.)
Filing date
Publication date
Application filed by 샤프 가부시키가이샤 filed Critical 샤프 가부시키가이샤
Publication of KR19980064764A publication Critical patent/KR19980064764A/ko
Application granted granted Critical
Publication of KR100329053B1 publication Critical patent/KR100329053B1/ko
Anticipated expiration legal-status Critical
Expired - Fee Related legal-status Critical Current

Links

Images

Classifications

    • HELECTRICITY
    • H10SEMICONDUCTOR DEVICES; ELECTRIC SOLID-STATE DEVICES NOT OTHERWISE PROVIDED FOR
    • H10HINORGANIC LIGHT-EMITTING SEMICONDUCTOR DEVICES HAVING POTENTIAL BARRIERS
    • H10H20/00Individual inorganic light-emitting semiconductor devices having potential barriers, e.g. light-emitting diodes [LED]
    • H10H20/80Constructional details
    • H10H20/81Bodies
    • H10H20/822Materials of the light-emitting regions
    • H10H20/824Materials of the light-emitting regions comprising only Group III-V materials, e.g. GaP
    • H10H20/8242Materials of the light-emitting regions comprising only Group III-V materials, e.g. GaP characterised by the dopants
    • HELECTRICITY
    • H10SEMICONDUCTOR DEVICES; ELECTRIC SOLID-STATE DEVICES NOT OTHERWISE PROVIDED FOR
    • H10HINORGANIC LIGHT-EMITTING SEMICONDUCTOR DEVICES HAVING POTENTIAL BARRIERS
    • H10H20/00Individual inorganic light-emitting semiconductor devices having potential barriers, e.g. light-emitting diodes [LED]
    • H10H20/80Constructional details
    • H10H20/81Bodies
    • H10H20/819Bodies characterised by their shape, e.g. curved or truncated substrates
    • H10H20/821Bodies characterised by their shape, e.g. curved or truncated substrates of the light-emitting regions, e.g. non-planar junctions

Landscapes

  • Led Devices (AREA)
  • Electroluminescent Light Sources (AREA)

Abstract

본 발명은, 발광층(4)이 반도체 기판(1)과 격자 부정합의 상태로 반도체 기판(1)상에 형성되어, 고 효율의 발광을 얻을 수 있는 반도체 발광장치를 제공한다. 발광층의 기재 물질로 사용된 반도체 물질은 발광 재결합 중심으로 작용하는 불순물로 도정된다. 반도체 기판은 GaP 기판이고 또 발광층(4)의 기재 물질인 반도체 물질은 (AlxGal-x)1-yInyP 이다. 이 (AlxGal-x)1-yInyP 물질은 도너 준위를 형성하는 제 1 불순물인 질소, 산소, 셀렌, 황 또는 텔루륨으로 도핑되고 또 억셉터 준위를 형성하는 제 2 불순물인 마그네슘, 아연 또는 카드뮴으로 도핑된다.

Description

고 발광 효율을 갖는 반도체 발광 장치
본 발명은 반도체 발광장치에 관한 것이다. 보다 자세하게는, 본 발명은 AlGaInP물질로 제조된 발광층을 갖는 발광 다이오드에 관한 것이다.
본 명세서에서 "AlGaInP 물질'이란 (AlxGal-x)1-yInyP의 혼합 결정비 x, y가 0≤x, y ≤ 1 범위내에서 변화되는 것을 의미한다.
(AlxGal-x)1-yInyP 물질은 In 혼합 결정비 y = 0.51에서 GaAs 기판과 격자 정합을 나타낸다. 게다가, In 혼합 결정비 y = 0.51에 있어서, (AlxGa1-x)1-yInyP 물질은 Al 혼합 결정비 x = 0∼0.7 범위 내에서 직접 천이형으로 되어, 적색에서 녹색까지 의 넓은 파장에 걸쳐 고휘도의 발광을 얻을 수 있다. 그 결과, (AlxGa1-x)1-yInyP 물질은 최근 발광 다이오드의 재료로서 널리 사용되게 되었다. 예컨대 도 8에 예시 한 바와 같은 (AlxGa1-x)1-yInyP 계열의 발광 다이오드가 알려져 있는데, 이 발광 다이오드는 n-형 GaAs 버퍼층(211), n-형 (AlxGa1-x)1-yInyP 클래드층(203), 도핑되지않은 (AlxGa1-x)1-yInyP 활성층(210), p-형 (AlxGa1-x)1-yInyP 클래드층(205) 및 p-형 GaP 전류 확산층(206)을 n-형 GaAs 기판(212)상에 순서대로 적층한 것이다. 주입 캐리어를 활성층(210)에 효과적으로 가두어 두기(entraP) 위하여, 클래드층(203, 205)의 밴드 갭은 활성층(210) 의 밴드 갭 보다 크게 설정되어 있다(더블 헤테로 (DH) 구조). 또한, n-측 전극(207)이 GaAs 기판(212)의 바닥면에 제공되고 p-측 전극(208)은 전류 확산층(206)의 윗면에 제공된다. In 혼합 결정비 y는 GaAs 기판과 격자 정합하는 y = 0.51로 설정되어 있기 때문에, 발광에 기여하는 (AlxGa1-x)1-yInyP 물질(활성층(210)과 클래드층(203, 205))의 결정도가 양호하게 된다. 그 결과, 도 9A의 에너지 대로부터 알 수 있듯이, 활성층(210)의 전도대의 바닥(에너지값 Ec) 부근 및 가전자대의 상부(에너지 값 Ev) 부근은 모두 포물선 형상이며, 또 도 9B에 도시한 바와 같이 전도대 및 가전자대에서의 캐리어의 상태 밀도G(E)의 피이크(P10, P20)는 각각 전도대 및 가전자대의 단부(Ec, Ev)에 근접해 있다. 따라서, (AlxGa1-x)1-yInyP 활성층(210) 그 자체는 비교적 높은 내부 양자 효율(p-n 접합부 부근에서 전기가 광으로 변환되는 효율을 의미함)을 나타낼 수 있다.
그러나, 도 8의 구조에 의하면, GaAs 기판(212)의 밴드 갭이 1.42 eV이기 때문에 적색에서 녹색까지의 방출 광이 흡수되어 광 출력이 1/2 미만으로 저하되는 문제가 있다. 발광 물질이 GaP, GaAsP, AlGaAs 등으로 제조되는 경우, GaAs 기판이 발광 파장에 대하여 투명하기 때문에 기판의 광 흡수에 기인한 문제는 발생 가능성이 없었다. 그러나, 발광 물질이 (AlxGa1-x)1-yInyP로 제조되는 경우, GaAs 기판이 사용되는 한, 기판에 의한 광 흡수가 생겨서 외부 양자효율(광이 외부로 빠져 나가는 효율을 의미하며, 간단히 "효율" 또는 "발광 효율"이라고도 함)이 저하된다.
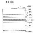
기판에 의한 광 흡수를 피하기 위하여, 도 10에 도시한 바와 같이 n-형 GaAs버퍼층(311), n-형 브래그 반사(DBR)층(313), n-형 (AlxGa1-x)1-yInyP 클래드층(303), 도핑되지 않은 (AlxGa1-x)1-yInyP 활성층(310), p-형 (AlxGa1-x)1-yInyP 클래드층(305) 및 p-형 GaP 전류 확산층(306)이 n-형 GaAs 기판(301)상에 순서대로 적층된 발광 다이오드(Appl. Phys. Lett., vol. 61, No. 15 (1992), pp. 1775-1777)가 제안되어 있다. 이 발광 다이오드는 GaAs 기판(301)과 n-형 클래드층(303) 사이에 굴절률이 따른 2종류의 반도체층물 적당한 두께로 교대로 조합하여 형성된 DBR 층(312)을 구비하여, 활성층(310)에 의해 방출된 광이 이 DBR층(313)에 의해 상방으로 반사되어 GaAs 기판(301)측에 도달하지 않도록 한 것이다. 또한 도 11에 도시한 바와 같이, n-형 (AlxGa1-x)1-yInyP 클래드층(403), 도핑되지 않은 (AlxGa1-x)1-yInyP 활성층(410), p-형 (AlxGal-x)1-yInyP 클래드층(405) 및 p-형 GaP 전류 확산층(406)을 도시되지 않은 GaAs 기판상에 순서대로 적층한 후, 에칭에 의해 GaAs 기판을 제거하고 클래드층(403)의 노출 표면(접합부)(420)에 적색에서 녹색까지의 발광 파장에 대하여 투명한 GaP 기판(414; 밴드 갭 2.27 eV)을 결합시켜 제조된 발광 다이오드(Appl. Phys. Lett., vol. 64, No. 21 (1994), pp. 2839-2841)가 제안되어 있다.
그러나, 도 10의 발광 다이오드의 경우, 활성층(310)으로부터 하방으로 방출된 광 전부가 DBR 층(313)에 의해 반사될 수 없어 광의 일부가 DBR층(313)에 의해 전달되어 CaAs 기판(301)에 의해 흡수된다. 그 결과 도 10의 발광 다이오드는 도 8의 발광 다이오드에 비하여 발광 효율이 1.5배정도 향상될 뿐이다.
한편, 도 11의 발광 다이오드의 경우에는 GaP 기판(414)을 접합시키는 기술이 어렵기 때문에 대량 생산에 부적합하다.
이러한 배경하에서, (AlxGa1-x)1-yInyP 물질을 GaAs 기판상에 성장시키지 않고 (AlxGa1-x)1-yInyP 물질의 발광 파장(650-550 nm)에 대하여 투명한 기판, 대표적으로는 상술한 GaP 기판(밴드 갭 2.27 cV)상에 성장시키는 수단을 본원 명세서에서 고려하게 되었다. 즉, 도 6에 도시한 바와 같이, n-형 GaInP 버피층(104), n-형 (AlxGa1-x)1-yInyP 클래드층(103), 도핑되지 않은 (AlxGa1-x)1-yInyP 활성층(110), p-형 (AlxGa1-x)1-yInyP 클래드층(105) 및 p-형 GaP 전류 확산층(106)을 n-형 GaP 기판 (101)상에 성장시킨 발광 다이오드를 고안하게 되었다.
그러나, 도 5에 도시한 바와 같이, GaP의 격자 상수 5.451Å 근처에서는 (AlxGa1-x)1-yInyP 물질의 직접적인 천이를 허용하는 영역이 존재하지 않는다. 따라서, GaP 기판과 격자 정합하는 (AlxGa1-x)1-yInyP 물질을 GaP 기판(101)상에 성장시켰다 하더라도, 고효율의 발광은 기대할 수 없다. 한편, GaAs 기판의 격자 상수 5.653Å가 GaP 기판의 격자 상수 5.451Å 보다 약 3.6% 크기 때문에, GaAs 기판과격자 정합하는 (AlxGa1-x)1-yInyP 물질(103, 110 및 105)을 GaP 기판(101)상에 성장시킨 경우, 격자 상수 차를 완화시키기 위하여 GaInP 버퍼층(104)이 개재된다 하더라도 성장시킨 (AlxGa1-x)1-yInyP 물질(103, 110 및 105)에 소위 미스피트 전위(misfit dislocation; 격자 부정합에 따른 전위)가 증가하여 비발광 재결합 중심이 증가하고 발광의 천이 확률이 감소된다. 즉, 기판상에 격자 상수가 다른 결정들이 성장 되기 때문에, 성장한 결정 격자의 주기성에 장애가 발생하여 명확한 금지대가 존재할 수 없다. 그 결과, 도 7A에 도시한 바와 같이, 활성층(110)의 전도대의 바닥 (Ec) 근처 뿐만 아니라 가전자대의 상부(Ev) 근처가 포물선 형상을 이루지 않고, 수십 meV의 테일을 가지게 되어 도 7B에 도시한 바와 같이 테일의 팁 단부(Ec#, Ev#: 반드시 일정 위치에 존재하는 것은 아님)는 전도대 및 가전자대에서의 캐리어 상태 밀도 G(E)의 피이크(P10, P20)로부터 떨어지게 된다. 그 결과, 주입된 캐리어가 대(band) 단부(Ec, Ev)의 근처에서는 재결합하기 어려워져서 발광의 천이 확률이 작게 된다. 따라서, GaAs 기판과 격자 정합하는 (AlxGa1-x)1-yInyP 물질(103, 110 및 105)을 GaP 기판(101)상에 성장시켜 제조한 직접 천이형 발광 다이오드의 경우, 고효율의 발광을 얻기 어렵다. 실제로, 그 발광 효율은 도 8의 발광 다이오드에 비하여 2차수(2 order) 이상 감소된다.
따라서, 반도체 기판이 발광 파장에 대하여 투명하다고 하더라도, 발광층(활성층)이 반도체 기판과 격자 정합되지 않는 상태로 성장된 반도체 발광장치로는 고효율의 발광을 얻을 수 없는 문제가 있다.
본 발명의 목적은 발광층(활성층)을 반도체 기판과 격자 부정합의 상태로 반도체 기판상에 형성하여 고효율의 발광을 얻을 수 있는 반도체 발광장치를 제공하는 것이다.
특히, 본 발명의 목적은 GaP 기판상에 (AlxGa1-x)1-yInyP 물질을 기재물질로 하는 발광층을 형성하여 적색에서 녹색까지의 파장 영역에 걸쳐 고효율의 발광을 얻을 수 있는 반도체 발광장치를 제공하는 것이다.
도 1은 본 발명의 제 1 실시예에 따른 구조도,
도 2A 및 도2B는 본 발명의 제 1 실시예에 따른 캐리어의 상태 밀도 분포를 나타내는 밴드 상태도,
도 3은 본 발명의 제 2 실시예에 따른 구조도,
도 4A 및 도 4B는 본 발명의 제 2 실시예에 따른 캐리어의 상태 밀도 분포를 타내는 밴드 상태도,
도 5는 발광층의 반도체 물질과 기판의 격자 상수 및 에너지 갭 사이의 관계를 나타내는 차트,
도 6은 GaP 기판상의 발광 다이오드의 구조도,
도 7A 및 도 7B는 GaP 기판상의 발광 다이오드중의 캐리어의 밴드 상태도 및 상태 밀도 분포도,
도 8은 종래 기술에 따른 발광 다이오드의 구조도,
도 9A 및 도 9B는 종래 기술에 따른 발광 다이오드중의 캐리어의 밴드 상태도.
도 10은 종래 기술에 따른 발광 다이오드의 구조도,
도 11은 종래 기술에 따른 발광 다이오드의 구조도.
*도면의 주요부분에 대한 부호의 설명
1,11: 기판 2,12: 버퍼층 3,13: 클래드층
4,14: 활성층 6,16: 전류 확산층 7,17: n-측 전극
8,18: p-측 전극
상기 목적을 달성하기 위하여, 본 발명은 반도체 기판에 의해 실질적으로 흡수되지 않는 파장의 광을 방출하는 발광층이 반도체 기판과 격자 부정합의 상태로 반도체 기판상에 형성되며, 발광층의 기재 물질로서 사용된 반도체 물질이 발광 재결합 중심으로서 작용하는 하나 이상의 불순물로 도정되는 것을 특징으로 하는 반도체 발광장치를 제공한다.
본 발명의 반도체 발광장치에서, 발광 재결합 중심으로서 작용하는 불순물은 발광충의 기재 물질로서 사용된 반도체 물질의 금지대의 단부로부터 떨어진 위치 및 금지대에서 불순물 준위를 형성할 수 있다. 이 경우, 발광층의 기재 물질로서 사용된 반도체 물질의 대 단부가 반도체 기판과 격자부정합에 의하여 테일을 갖더라도, 불순물 준위를 통한 발광 재결합은 테일에 의해 영향을 받지 않을 건이다. 따라서, 내부 양자 효율이 향상된다. 또한 발광층에 의해 방출된 광이 반도체 기판에 의해 실질적으로 흡수되지 않으며, 즉, 반도체 기판에서 가전자대의 상부에서부터 전도대의 하부로의 천이를 유발할 광 흡수를 유발하지 않으므로 외부 양자 효율도 감소되지 않을 것이다, 그러므로 발광 효율 전체가 향상된다.
실시예로서, 발광층은 도너 준위를 형성하기 위한 제 1 불순물 및 억셉터 준위를 형성하기 위한 제 2 불순물을 포함하는 2종류의 불순물을 함유한다.
상기 실시예의 반도체 발광장치에서는 제 1 불순물에 의해 형성된 도너 준위라 제 2 불순물에 의해 형성된 억셉터 준위 사이에서 발광 재결합이 생긴다. 따라서, 내부 양자 효율은 제 1 불순물 또는 제 2 불순물중의 하나만이 함유된 경우에 비하여 높게 되므로 발광 효율 전체는 향상된다.
다른 실시예로서, 제 1 불순물에 의해 형성된 도너 준위는 기재 물질로서 사용된 반도체 물질의 전도대의 단부로부터 30 meV 내지 200 meV 범위내에서 위치하며, 또 제 2 불순물에 의해 형성된 억셉터 준위는 기재 물질로서 사용된 반도체 물질의 가전자대의 단부로부터 30 meV 내지 200 meV 범위내에서 위치한다.
상기 경우, 발광층의 기재 물질로서 사용된 반도체 물질의 전도대의 단부 및 가전자대의 단부를 각기 전도대의 단부 및 가전자대의 단부로 칭하며, 이 경우 발광층은 반도체 기판과 격자 정합되어 형성된다. 즉, 제 1 불순물에 의해 형성된 도너 준위과 제 2 불순물에 의해 형성된 억셉터 준위는 기재 물질로서 사용된 반도체 물질의 원래의 대 단부로 정의된다
상기 실시예의 반도체 발광장치에서, 제 1 불순물에 의해 형성된 도너 준위는 기재 물질로서 사용된 반도체 물질의 전도대의 단부로부터 30 meV 떨어져 있고또 제 2 불순물에 의해 형성된 억셉터 준위는 기재 물질로서 사용된 반도체 물질의 가전자대의 단부로부터 30 meV 떨어져 있다. 그 결과, 기재 물질로서 사용된 반도체 물질의 전도대의 단부 및 가전자대의 단부가 각기 반도체 기판과 발광층 사이의 격자가 정합되지 않음으로 인한 수십 meV의 테일을 갖는다하더라도, 제 1 불순물에 의해 형성된 도너 준위와 제 2 불순물에 의해 형성된 억셉터 준위 사이의 발광 재결합은 테일에 의해 영향을 거의 받지 않는다. 또한 제 1 불순물에 의해 형성된 도너 준위는 기재 물질로서 사용된 반도체 물질의 전도대의 단부로부터 200 meV 내에 위치하고 또 제 2 불순물에 의해 형성된 억셉터 준위는 기재 물질로서 사용된 반도체 물질의 가전자대의 단부로부터 200 meV 내에 위치한다. 따라서, 이들 제 1 및 제 2 불순물은 각기 발광 재결합 중심으로서 효과적으로 작용한다. 따라서, 제 1 불순물에 의해 형성된 도너 준위와 제 2 불순물에 의해 형성된 억셉터 준위 사이의 발광 재결합에 의해 내부 양자 효율도 향상된다. 이 결과, 발광 효율 전체도 향상된다.
본 발명은 기재 물질로서 A1GaInP 물질을 포함하는 발광충이 GaP 기판과 격자 정합되지 않는 상태로 GaP 기판상에서 성장하며, 또 발광층의 기재 물질로서 사용된 AlGaInP 물질은 도너 준위를 형성하기 위한 제 1 불순물로서 질소, 산소, 셀렌, 황 또는 텔루륨 그리고 억셉터 준위를 형성하기 위한 제 2 불순물로서 마그네슘, 아연 또는 카드뮴으로 도핑되는 것을 특징으로 하는 반도체 발광장치를 제공한다.
본 발명의 반도체 발광장치에서, 제 1 불순물인 질소, 산소, 셀렌, 황 또는텔루륨은 기재 물질로서 사용된 AlGaInP 물질의 전도대의 단부로부터 30 meV 내지 200 meV 범위내에서 도너 준위를 형성하는 반면에, 마그네슘, 아연 또는 카드뮴은 기재 물질로서 사용된 AlGaInP 물질의 가전자대의 단부로부터 30 meV 내지 200 meV 범위내에서 억셉터 준위를 형성한다. 제 1 불순물에 의해 형성된 도너 준위는 기재 물질로서 사용된 AlGaInP 물질의 전도대의 단부로부터 30 meV 정도 떨어져 있고, 또 제 2 불순물에 의해 형성된 억셉터 준위는 기재 물질로서 사용된 AlGaInP 물질의 가전자대의 단부로부터 30 meV 정도 떨어져 있다. 따라서, 기재 물질로서 사용된 AlGaInP 물질의 전도대의 단부 및 가전자대의 단부가 각기 GaP 기판과 발광 층 사이의 격자 정합되지 않음으로 인한 약 수십 meV의 테일을 갖는다 하더라도, 제 1 불순물에 의해 형성된 도너 준위와 제 2 불순물에 의해 형성된 억셉터 준위 사이의 발광 재결합은 테일에 의해 거의 영향을 받지 않는다. 또한 제 1 불순물에 의해 형성된 도너 준위는 기재 물질로서 사용된 AlGaInP 물질의 전도대의 단부로부터 200 meV 내에 위치하고 또 제 2 불순물에 의해 형성된 억셉터 준위는 기재 물질로서 사용된 AlGaInP 물질의 가전자대의 단부로부터 200 meV내에 위치한다. 따라서 이들 제 1 및 제 2 불순물은 각기 발광 재결합 중심으로서 효과적으로 작용한다. 따라서 제 1 불순물에 의해 형성된 도너 준위와 제 2 불순물에 의해 형성된 억셉터 준위 사이의 발광 재결합에 의해 내부 양자 효율이 향상된다. 또한 제 1 불순물에 의해 형성된 도너 준위와 제 2 불순물에 의해 형성된 억셉터 준위 사이의 에너지 갭에 반응하여 발광층에 의해 방출된 적색에서 부터 녹색 까지의 파장의 광은 GaP 기판에 의해 실질적으로 흡수되지 않는다(GaP 기판은 AlGaInP 물질의 방출광 파장 650nm 내지 550 nm에 대하여 투명하다). 따라서, 외부 양자 효율도 감소되지 않을 것이다. 따라서, 발광 효율 전체는 향상되고, 또 적색에서 부터 녹색의 파장 밴드로 고 명도의 발광을 얻을 수 있다.
이하, 본 발명의 실시예를 자세하게 설명한다.
(제 1 실시예)
도 1은 본 발명의 제 1 실시예에 따른 AlGaInP 발광 다이오드의 횡단면도이다. 이 발광 다이오드는 (001) 면으로부터 [110] 방향으로 15°경사진 면을 갖는 n-형 GaP 기판(1)상에 예컨대 MOCVD법(유기금속 화학기상 성장법)에 의해 n-형 InGaP 버퍼층(2), Si 도핑된 (AlxGa1-x)1-yInyP (x=1.0, y= 0.51) 클래드층(3), 발광층인 질소-아연 도핑된 (AlxGa1-x)1-yInyP (x=0.5, y=0.51) 활성층(4), Zn 도핑된 (AlxGa1-x)1-yInyP (x=1.0, y=0.51) 클래드층(5) 및 Zn 도정된 GaP 전류 확산층(6)을 순서대로 성장시킨 후, GaP 기판(1)의 바닥면에 n-측 전극(7)을, 그리고 전류 확산 층(6)의 상부 표면에 p-측 전극(8)을 제공하는 단계를 통하여 형성된다. 15°기울어진 기판(1)이 사용되지만, (100)면 저스트(just) 기판이어도 좋다. 활성층(4)의 기재 물질로 사용된 (AlxGa1-x)1-yInyP 물질로의 불순물 도핑 농도는 도너 준위를 형성하는 제 1 불순물인 질소에 대해서는 1 × 1017- 1 × 1019cm-3범위내이고 억셉 터 준위를 형성하는 제 2 불순물인 아연에 대해서는 1 × 1017- 1 × 1018cm-3범위내이다.
GaP 기판(1)상에 격자 부정합의 상태로 (AlxGa1-x)1-yInyP 물질(3, 4 및 5)이 성장되기 때문에, 도 2A의 에너지대 도면에 나타낸 바와 같이 활성층(4)의 전도대의 하부(에너지 값 Ec) 근처뿐만 아니라 가전자대의 상부(에너지 값 Ev) 근처가 모두 포물선 형상으로 되지 않고 수십 meV의 테일을 가지므로 도 2B에 도시된 바와 같이 테일의 팁 단부(반드시 위치가 정해진 것은 아님)가 전도대 및 가전자대에서의 캐리어의 상태 밀도 G(E)의 퍼이크(P10, P20)로부터 떨어지게 된다. 이 때문에, 대 단부에서의 통상적인 발광의 천이 확률은 비교적 작다.
그러나, 상기 발광 다이오드에 의하면, 활성층(4)에 있어서 제 1 불순물인 질소가 기재 물질 (AlxGa1-x)1-yInyP (x=0.5, y=0.51)의 전도대의 단부(하부) Ec로부터 30 meV 떨어진 위치에서 도너 준위 E(N)를 형성하고 또 제 2 불순물인 아연이 기재 물질 (AlxGa1-x)1-yInyP (x=0.5, y=0.51)의 가전자대의 단부(상부)로부터 60 meV 떨어진 위치에서 억셉터 준위 E(zn)를 형성한다(도 2B중의 Pl, P2는 상기 도너 준위 E(N)와 억셉터 준위 E(zn)각각에 대응하는 상태 밀도 G(E)의 피이크를 나타낸다). 질소에 의해 형성된 도너 준위 E(N)과 아연에 의해 형성된 억셉터 준위 E(zn)은 각각 대(band) 단부 Ec 및 Ev 로부터 30 meV 이상 떨어져 있기 때문에, 질소에 의해 형성된 도너 준위 E(N)와 아연에 의해 형성된 억셉터 준위 E(zn)사이의 발광 재결합은 테일에 의해 거의 영향을 받지 않는다. 또한, 질소에 의해 형성된 도너 준위 E(N)와아연에 의해 형성된 억셉터 준위 E(zn)는 각각 대 단부 Ec 및 Ev 로부터 200 meV 내에 위치하기 때문에, 이들 질소와 아연은 발광 재결합 중심으로서 효과적으로 작용한다. 따라서, 질소에 의해 형성된 도너 준위 E(N)와 아연에 의해 형성된 억셉터 준위 E(zn)사이의 발광 재결합에 의해 내부 양자 효율이 향상된다. 활성층(4)는 질소에 의해 형성된 도너 준위 E(N)와 아연에 의해 형성된 억셉터 준위 E(Zn)사이의 에너지 갭 △E1에 상응하는 파장의 광을 방출하지만, 활성층(4)에 의해 방출된 광은 GaP 기판(1)에 의해 실질적으로 흡수되지 않아서 (GaP 기판은 AlGaInP 물질의 발광 파장인 650 nm - 550 nm에 대하여 투명하기 때문임), 외부 양자 효율이 감소되지 않는다. 따라서, 전체적으로 발광 효율이 향상될 수 있다.
실제로, 제 1 실시예의 발광 다이오드의 경우, 질소에 의해 형성된 도너 준위 E(N)과 아연에 의해 형성된 억셉터 준위 E(Zn)사이의 에너지 갭 △E1= 2.16 eV에 대응하여 발광 파장이 574 nm로 된다 이 경우, 1.0%의 발광 효율을 얻을 수 있었다. 이와 대조적으로, 도 8에 도시한 바와 같이 GaAs 기판상에 AlGaInP 물질을 성장시킨 격자 정합형의 발광 다이오드의 경우, 도핑되지 않은 (AlxGa1-x)1-yInyP 활성층(210)의 혼합 결정비가 x=0.5, y=0.51일 때 밴드 갭 Eg(=2.25 eV)에 대응하여 발광 파장은 550 nm로 된다. 이 경우, 발광 효율은 0.1%이다. 따라서, 활성층의 혼합 결정비 x, y를 동일하게 하여 비교한 경우, 제 1 실시예의 구조를 갖는 발광 다이오드는 도 8의 발광 다이오드에 비하여 발광 효율이 10배 향상될 수 있다는 것이밝혀졌다. 또한, 도 8에 도시한 바와 같이 GaAs 기판상에 AlGaInP 물질을 성장시킨 격자 정합형의 발광 다이오드의 경우, 도핑되지 않은 (AlxGa1-x)1-yInyP 활성층(210)의 혼합 결정비가 x=0.38, y=0.51일 때, 발광 파장은 572 nm로 된다. 이 경우, 발광 효율은 0.35% 이다. 따라서, 일반적으로 동일한 발광 파장 조건하에서 비교하면, 제 1 실시예의 구조를 갖는 발광 다이오드는 도 8의 발광 다이오드에 비하여 발광 효율이 약 3배 향상될 수 있다는 것이 밝혀졌다.
활성층(4)에 질소를 도핑하는 것은 단파장화의 측면에서도 유리하다. 이는 활성층(4)의 Al 혼합 결정비를 x=0.75 정도로 크게 하여 간접 천이 영역(도 5 참조)으로 들어가게 하더라도, 질소의 도핑에 의해 등전자 준위가 형성되어 직접 천이를 유발시킴으로써 발광의 천이 확률이 향상되기 때문이다. 실제로, x=0.75, y=0.51 조건하에서 발광 파장이 555 nm일 때 0.2%의 발광 효율을 얻었다.
(제 2 실시예)
도 3은 본 발명의 제 2 실시예에 따른 ALGaInP 발광 다이오드의 횡단면도를 도시한다. 이 발광 다이오드는 (001) 면으로부터 [110] 방향으로 15°경사진 면을 갖는 n-형 GaP 기판(11)상에 예컨대 MOCVD법(유기금속 화학기상 성장법)에 의해 n형 InGaP 버퍼층(12), Si 도핑된 (AlxGa1-x)1-yInyP (x=1.0, y= 0.51) 클래드층(13), 발광층인 Se ·Mg 도핑된 (AlxGa1-x)1-yInyP (x=0.5, y=0.51) 활성층(14), Zn 도핑된 (AlxGa1-x)1-yInyP (x=1.0, y=0.51) 클래드층(15) 및 Zn 도핑된 GaP 전류 확산층(16)을 순서대로 성장시킨 후, GaP 기판(11)의 바닥면에 n-측 전극(17)을, 그리고 전류확산층(16)의 상부 표면에 p-측 전극(18)을 각각 제공하는 단계를 통하여 형성된다. 제 1 실시예에서와 마찬가지로 15°기울어진 기판(1)이 사용되지만, (100)면 저스트(just) 기판을 사용하여도 좋다. 활성층(14)의 기재 물질로서 사용된 (AlxGa1-x)1-yInyP 물질로의 불순물 도핑농도는 도너 준위를 형성하는 제 1 불순물인 Se에 대해서는 1 × 1017- 1 × 1019cm-3범위내이고 억셉터 준위를 형성하는 제 2 불 순물인 Mg에 대해서는 1 × 1017- 1 x 1018cm-3범위내이다.
GaP 기판(11)상에 격자 부정합의 상태로 (AlxGa1-x)1-yInyP 물질(13, 14 및 15)을 성장시키기 때문에, 도 4A의 에너지 밴드 도면에 도시된 바와 같이 활성층(14)의 전도대의 바닥(에너지 값 Ec) 근처뿐만 아니라 가전자대의 상부(에너지 값 Ev)의 근처가 모두 포물선 형상으로 되지 않고 약 수십 meV의 테일을 가지므로, 도 4B에 도시된 바와 같이 테일의 팁 단부(반드시 위치가 정해진 것은 아님)는 전도대와 가전자대에서의 캐리어의 상태 밀도 G(E)의 피이크(P10, P20)로부터 떨어지게 된다. 이 때문에, 대(band) 단부에서의 통상적인 발광의 천이 확률은 비교적 작다.
그러나, 상기 발광 다이오드의 경우, 활성층(14)에 있어서 제 1 불순물인 Se가 기재 물질 (AlxGa1-x)1-yInyP (x=0.5, y=0.51)의 전도대의 단부(하부) Ec로부터 190 meV 떨어진 위치에서 도너 준위 E(Se)를 형성하고 또 제 2 불순물인 Mg가 기재물질 (AlxGa1-x)1-yInyP (x=0.5, y=0.51)의 가전자대의 단부(상부)로부터 64 meV 떨어진위치에서 억셉터 준위 E(Mg)를 형성한다 (도 4B중의 P1, P2는 상기 도너 준위 E(Se)와 억셉터 준위 E(Mg)각각에 대응하는 상태 밀도 G(E)의 피이크를 나타낸다). Se에 의해 형성된 도너 준위 E(Se)와 Mg에 의해 형성된 억셉터 준위 E(Mg)는 각각 대 단부 Ec 및 Ev 로부터 30 meV 이상 떨어져 있기 때문에 Se에 의해 형성된 도너 준위 E(Se)과 Mg에 의해 형성된 억셉터 준위 E(Mg)사이의 발광 재결합은 테일에 의해 거의 영향을 받지 않는다. 또한 Se에 의해 형성된 도너 준위 E(Se)와 Mg에 의해 형성된 억셉터 준위 E(Mg)는 각각 대 단부 Ec 및 Ev 로부터 200 meV 내에 위치하기 때문에, 이들 Se와 Mg는 발광 재결합 중심으로서 효과적으로 작용한다. 따라서, Se에 의해 형성된 도너 준위 E(Se)와 Mg에 의해 형성된 억셉터 준위 E(Mg)사이의 발광 재결합에 의해 내부 양자 효율이 향상된다. 또한, 활성층(14)은 Se에 의해 형성된 도너 준위 E(Se)와 Mg에 의해 형성된 억셉터 준위 E(Mg)사이의 에너지 갭 ΔE2에 상응하는 파장의 광을 방출하지만, 활성층(14)에 의해 방출된 광은 GaP 기판(11)에 실질적으로 흡수되지 않아서(GaP 기판은 AlGaInP 물질의 발광 파장인 650 - 550 nm에 대하여 투명하기 때문임), 외부 양자 효율이 감소하지 않는다. 따라서, 전체적으로 발광 효율이 향상될 수 있다.
실제로, 제 2 실시예의 발광 다이오드의 경우, Se에 의해 형성된 도너 준위 E(Se)와 Mg에 의해 형성된 억셉터 준위 E(Mg)사이의 에너지 갭 ΔE2=2.00에 eV에 대응하여 발광 파장은 621 nm로 된다. 이 경우, 4.5%의 발광 효율을 얻을 수 있었다. 이와 대조적으로, 도 8에 도시한 바와 같이 GaAs 기판상에 AlGaInP 물질을 성장시킨 격자 정합형의 발광 다이오드의 경우, 도핑되지 않은 (AlxGa1-x)1-yInyP 활성층(210)의 혼합 결정비가 x=0.5, y=0.51일 때, 밴드 갭 Eg(=2.25 eV)에 대응하여 발광 파장은 550 nm로 된다. 이 경우, 발광 효율은 0.1%이다. 따라서, 활성층의 혼합 결정비 x, y를 동일하게 하여 비교한 경우, 제 2 실시예의 구조를 갖는 발광 다 이오드는 도 8의 발광 다이오드에 비하여 발광 효율이 10배 향상될 수 있다는 것이 밝혀졌다. 또한 도 8에 도시한 바와 같이 GaAs 기판상에 AlGaInP 물질을 성장시킨 격자 정합형의 발광 다이오드의 경우, 도핑되지 않은 (AlxGa1-x)1-yInyP 활성층(210)의 혼합 결정비가 x=0.8, y=0.51일 때, 발광 파장은 635 nm로 된다. 이 경우, 발광 효율은 0.15% 이다. 따라서, 일반적으로 동일한 발광 파장 조건하에서 비교하면, 제 2 실시예의 구조를 갖는 발광 다이오드는 도 8의 발광 다이오드에 비하여 발광 효율을 약 3배 향상시킬 수 있다는 것이 밝혀졌다.
또한, 질소 및 셀렌 이외에 황, 텔루륨 등이 도너 준위를 형성하는 제 1 불순물로서 사용될 수 있고, 아연 및 마그네슘 이외에 카드뮴 등이 억셉터 준위를 형성하는 제 2 불순물로서 사용될 수 있다.
또한, GaP 대신에 AlGaAs 등이 전류 확산층(6, 16) 물질로서 사용될 수 있다.
제 1 및 제 2 실시예의 발광 다이오드는 활성층이 큰 에너지 갭을 갖는 클래드 층에 의해 둘러싸인 더블 헤테로 형의 다이오드로 하였지만, 당연히 본 발명은 이에 한정되지 않는다. 본 발명은 싱글 헤테로 형의 발광 다이오드나 호모접합형 (homojuntion type)의 발광 다이오드 및 기타 반도체 발광장치에 널리 적용될 수 있다.
이상 설명한 바와 같이, 본 발명의 반도체 발광장치는, 반도체 기판상에 이 반도체 기판에 의해 실질적으로 흡수되지 않는 파장의 광을 방출하는 발광층이 반도체 기판과 격자 부정합의 상태로 형성되며, 또 발광 재결합 중심으로서 작용하는 불순물이 발광층의 기재 물질로 사용된 반도체 물질의 금지대 내에서 대 단부로부터 떨어진 위치에 불순물 준위를 형성한다. 따라서, 반도체 기판과의 격자 부정합에 의하여 발광층의 기재 물질로 사용된 반도체 물질의 대 단부가 테일을 갖는다. 하더라도, 불순물 준위를 매개로 하는 발광 재결합은 테일에 의해 영향을 받지 않는다. 그 결과, 내부 양자 효율이 향상된다. 또한, 발광층에 의해 방출된 광은 반도체 기판에 실질적으로 흡수되지 않아서, 외부 양자 효율도 감소되지 않는다. 따라서, 전체적으로 발광 효율이 향상될 수 있다.
또한, 본 발명의 반도체 발광장치는, 2 종류의 불순물, 즉 도너 준위를 형성하는 제 1 불순물 및 억셉터 준위를 형성하는 제 2 불순물이 사용되기 때문에, 제 1 불순물에 의해 형성된 도너 준위와 제 2 불순물에 의해 형성된 억셉터 준위 사이에서 발광 재결합이 생긴다. 따라서, 제 1 불순물 또는 제 2 불순물중의 어느 하나만이 도핑된 경우에 비하여 내부 양자 효율이 높게 되므로 전체적으로 발광 효율이 더욱 향상된다.
본 발명의 반도체 발광장치는, 제 1 불순물에 의해 형성된 도너 준위는 기재 물질로서 사용된 반도체 물질의 전도대의 단부로부터 30 meV 내지 200 meV 범위내에 위치하고, 또 제 2 불순물에 의해 형성된 억셉터 준위는 기재 물질로서 사용된 반도체 물질의 가전자대의 단부로부터 30 meV 내지 200 meV 범위내에 위치한다. 따라서, 반도체 기판과 발광층의 격자 부정합에 의하여 기재 물질로서 사용된 반도체 물질의 전도대의 단부 및 가전자대의 단부가 각각 약 수십 meV 정도의 테일을 가진 다하더라도, 제 1 불순물에 의해 형성된 도너 준위와 제 2 불순물에 의해 형성된 억셉터 준위 사이의 발광 재결합은 테일에 의하여 거의 영향을 받지 않는다. 또한 이들 제 1 및 제 2 불순물은 발광 재결합 중심으로서 효과적으로 작용한다. 따라 서, 제 1 불순물에 의해 형성된 도너 준위와 제 2 불순물에 의해 형성된 억셉터 준위 사이의 발광 재결합에 의해 내부 양자 효율이 더욱 향상된다. 그 결과, 전체적 으로 발광 효율이 더욱 향상될 수 있다.
본 발명의 반도체 발광장치는, GaP 기판상에 기재 물질인 AlGaInP 물질을 포함하는 발광층을 GaP 기판과 격자 부정합의 상태로 성장시키고, 또 발광층의 기재 물질로서 사용된 AlGaInP 물질에 질소, 산소, 셀렌, 황 또는 텔루륨이 도너 준위를 형성하는 제 1 불순물로서 도핑되며 또 마그네슘, 아연 또는 카드뮴이 억셉터 준위를 형성하는 제 2 불순물로서 도핑된다. 따라서, 제 1 불순물인 질소, 산소, 셀 렌, 황 또는 텔루륨은 기재 물질로 사용된 AlGaInP 물질의 전도대의 단부로부터 30 meV 내지 200 meV 범위내에서 도너 준위를 형성하고 또 제 2 불순물인 마그네슘, 아연 또는 카드뮴은 기재 물질로 사용된 AlGaInP 물질의 가전자대의 단부로부터 30meV 내지 200 meV 범위내에서 억셉터 준위를 형성한다. 그 결과, GaP 기판과 발광층 사이의 격자 부정합에 의하여 기재 물질로서 사용된 AlGaInP 물질의 전도대의 단부 및 가전자대의 단부가 각각 약 수십 meV의 테일을 갖는다 하더라도, 제 1 불순물에 의해 형성된 도너 준위와 제 2 불순물에 의해 형성된 도너 준위 사이의 발광 재결합은 테일에 의하여 거의 영향을 받지 않는다. 또한 이들 제 1 및 제 2 불순물은 각기 발광 재결합 중심으로서 효과적으로 작용한다. 따라서, 제 1 불순물에 의해 형성된 도너 준위와 제 2 불순물에 의해 형성된 억셉터 준위 사이의 발광 재결합에 의해 내부 양자 효율이 향상된다. 또한, 제 1 불순물에 의해 형성된 도너 준위와 제 2 불순물에 의해 형성된 억셉터 준위 사이의 에너지 갭에 대응하여, 발광층에 의해 방출된 적색에서 녹색까지의 파장의 광은 GaP 기판에 실질적으로 흡수되지 않아 외부 양자 효율도 저하되지 않는다. 따라서 전체적으로 발광 효율이 향상되고, 또 적색에서 녹색까지의 파장영역에서 고휘도의 발광을 얻을 수 있다.
본 발명을 상기와 같이 설명하였지만 다양한 방식으로 변경될 수 있다. 이러한 변경은 본 발명의 정신과 범위로부터 벗어나지 않은 것으로 보며 이러한 모든 변경은 이 분야의 숙련자에게 분명한 바와 같이 첨부한 특허청구의 범위내에 포함된다.
본 발명에 따르면, 발광층(활성층)이 반도체 기판과 격자 부정합의 상태로 반도체 기판상에서 성장하고 이에 의해 고효율의 발광을 얻을 수 있는 반도체 발광 장치가 제공된다.

Claims (3)

  1. 반도체 기판(1,11)에 의해 실질적으로 흡수되지 않는 파장의 광을 방출하는 발광층(4,14)이 상기 반도체 기판(1,11)과 격자 부정합의 상태로 반도체 기판(1,11)상에 형성된 반도체 발광장치에 있어서,
    상기 발광층의 기재 물질로서 사용된 반도체 물질이 발광 재결합 중심으로서 작용하는 하나 이상의 불순물로 도핑되고,
    제 1 불순물에 의해 형성된 도너 준위가 기재 물질로서 사용된 상기 반도체 물질의 전도대의 단부로부터 30 meV 내지 200 meV 범위내에 위치하고, 또 제 2 불순물에 의해 형성된 억셉터 준위가 기재 물질로서 사용된 상기 반도체 물질의 가전자대의 단부로부터 30 meV 내지 200 meV 범위 내에 위치하는 것을 특징으로 하는 반도체 발광장치 .
  2. 제 1항에 있어서, 발광층(4,14)이 도너 준위를 형성하는 제 1 불순물 및 억 셉터 준위를 형성하는 제 2 불순물을 포함하는 2종류의 불순물을 함유하는 반도체 발광장치.
  3. 기재물질인 AlGaInP 물질을 포함하는 발광층(4,14)이 GaP 기판(1,11)과 격자 부정합의 상태로 GaP 기판(1,11)상에 성장된 반도체 발광소자에 있어서,
    상기 발광층(4,14)의 기재 물질로 사용된 AlGaInP 물질은 도너 준위를 형성하는 제 1 불순물로서 질소, 산소, 셀렌, 황 또는 텔루륨으로 도핑되고 또 억셉터 준위를 형성하는 제 2 불순물로서 마그네슘, 아연 또는 카드뮴으로 도핑되는 것을 특징으로 하는 반도체 발광장치.
KR1019970075496A 1996-12-20 1997-12-20 고발광효율을갖는반도체발광장치 Expired - Fee Related KR100329053B1 (ko)

Applications Claiming Priority (2)

Application Number Priority Date Filing Date Title
JP34108596A JP3643665B2 (ja) 1996-12-20 1996-12-20 半導体発光素子
JP96-341085 1996-12-20

Publications (2)

Publication Number Publication Date
KR19980064764A KR19980064764A (ko) 1998-10-07
KR100329053B1 true KR100329053B1 (ko) 2002-08-27

Family

ID=18343119

Family Applications (1)

Application Number Title Priority Date Filing Date
KR1019970075496A Expired - Fee Related KR100329053B1 (ko) 1996-12-20 1997-12-20 고발광효율을갖는반도체발광장치

Country Status (6)

Country Link
US (1) US6081540A (ko)
JP (1) JP3643665B2 (ko)
KR (1) KR100329053B1 (ko)
CN (1) CN1111913C (ko)
DE (1) DE19756856B4 (ko)
TW (1) TW350145B (ko)

Families Citing this family (27)

* Cited by examiner, † Cited by third party
Publication number Priority date Publication date Assignee Title
TW413972B (en) * 1998-04-22 2000-12-01 Matsushita Electric Industrial Co Ltd Semiconductor laser device
ATE263433T1 (de) * 1998-07-17 2004-04-15 Infineon Technologies Ag Leistungshalbleiterbauelement für hohe sperrspannungen
US20010020703A1 (en) * 1998-07-24 2001-09-13 Nathan F. Gardner Algainp light emitting devices with thin active layers
WO2000033388A1 (en) * 1998-11-24 2000-06-08 Massachusetts Institute Of Technology METHOD OF PRODUCING DEVICE QUALITY (Al)InGaP ALLOYS ON LATTICE-MISMATCHED SUBSTRATES
US6469314B1 (en) * 1999-12-21 2002-10-22 Lumileds Lighting U.S., Llc Thin multi-well active layer LED with controlled oxygen doping
US6486499B1 (en) 1999-12-22 2002-11-26 Lumileds Lighting U.S., Llc III-nitride light-emitting device with increased light generating capability
US6885035B2 (en) 1999-12-22 2005-04-26 Lumileds Lighting U.S., Llc Multi-chip semiconductor LED assembly
US6903376B2 (en) * 1999-12-22 2005-06-07 Lumileds Lighting U.S., Llc Selective placement of quantum wells in flipchip light emitting diodes for improved light extraction
US6573537B1 (en) 1999-12-22 2003-06-03 Lumileds Lighting, U.S., Llc Highly reflective ohmic contacts to III-nitride flip-chip LEDs
US6514782B1 (en) 1999-12-22 2003-02-04 Lumileds Lighting, U.S., Llc Method of making a III-nitride light-emitting device with increased light generating capability
JP2001291895A (ja) * 2000-04-06 2001-10-19 Sharp Corp 半導体発光素子
US6744798B2 (en) * 2000-10-10 2004-06-01 Agency Of Industrial Science And Technology Surface-type light amplifer device and method of manufacture thereof
DE60136101D1 (de) * 2001-02-09 2008-11-20 Midwest Research Inst Isoelektronische kodotierung
US7968362B2 (en) 2001-03-27 2011-06-28 Ricoh Company, Ltd. Semiconductor light-emitting device, surface-emission laser diode, and production apparatus thereof, production method, optical module and optical telecommunication system
US6765232B2 (en) * 2001-03-27 2004-07-20 Ricoh Company, Ltd. Semiconductor light-emitting device, surface-emission laser diode, and production apparatus thereof, production method, optical module and optical telecommunication system
US7180100B2 (en) * 2001-03-27 2007-02-20 Ricoh Company, Ltd. Semiconductor light-emitting device, surface-emission laser diode, and production apparatus thereof, production method, optical module and optical telecommunication system
US6563142B2 (en) * 2001-07-11 2003-05-13 Lumileds Lighting, U.S., Llc Reducing the variation of far-field radiation patterns of flipchip light emitting diodes
WO2004017433A1 (en) 2002-08-02 2004-02-26 Massachusetts Institute Of Technology Yellow-green light emitting diodes and laser based on strained-ingap quantum well grown on a transparent indirect bandgap substrate
TW577184B (en) * 2002-12-26 2004-02-21 Epistar Corp Light emitting layer having voltage/resistance interdependent layer
US7528417B2 (en) * 2003-02-10 2009-05-05 Showa Denko K.K. Light-emitting diode device and production method thereof
DE10329079B4 (de) * 2003-06-27 2014-10-23 Osram Opto Semiconductors Gmbh Strahlungsemittierendes Halbleiterbauelement
JP4154731B2 (ja) * 2004-04-27 2008-09-24 信越半導体株式会社 発光素子の製造方法及び発光素子
JP4092658B2 (ja) * 2004-04-27 2008-05-28 信越半導体株式会社 発光素子の製造方法
US20070096121A1 (en) * 2005-10-28 2007-05-03 Ni Ying C Light emitting diode and method for manufacturing the same
JP4537936B2 (ja) * 2005-10-31 2010-09-08 関西電力株式会社 パワー半導体素子
JP2008091862A (ja) * 2006-09-08 2008-04-17 Sharp Corp 窒化物半導体発光素子および窒化物半導体発光素子の製造方法
WO2012120798A1 (ja) * 2011-03-09 2012-09-13 信越半導体株式会社 化合物半導体基板及び化合物半導体基板の製造方法並びに発光素子

Citations (1)

* Cited by examiner, † Cited by third party
Publication number Priority date Publication date Assignee Title
JPH04257276A (ja) * 1991-02-08 1992-09-11 Mitsubishi Cable Ind Ltd 半導体素子

Family Cites Families (6)

* Cited by examiner, † Cited by third party
Publication number Priority date Publication date Assignee Title
JPS63226918A (ja) * 1987-03-16 1988-09-21 Shin Etsu Handotai Co Ltd 燐化砒化ガリウム混晶エピタキシヤルウエ−ハ
JP2680762B2 (ja) * 1991-12-25 1997-11-19 シャープ株式会社 半導体発光素子
JP3209786B2 (ja) * 1992-04-09 2001-09-17 シャープ株式会社 半導体発光素子
JP2560963B2 (ja) * 1993-03-05 1996-12-04 日亜化学工業株式会社 窒化ガリウム系化合物半導体発光素子
JP2773597B2 (ja) * 1993-03-25 1998-07-09 信越半導体株式会社 半導体発光装置及びその製造方法
US6015719A (en) * 1997-10-24 2000-01-18 Hewlett-Packard Company Transparent substrate light emitting diodes with directed light output

Patent Citations (1)

* Cited by examiner, † Cited by third party
Publication number Priority date Publication date Assignee Title
JPH04257276A (ja) * 1991-02-08 1992-09-11 Mitsubishi Cable Ind Ltd 半導体素子

Also Published As

Publication number Publication date
DE19756856B4 (de) 2008-06-26
US6081540A (en) 2000-06-27
JP3643665B2 (ja) 2005-04-27
JPH10190052A (ja) 1998-07-21
CN1185663A (zh) 1998-06-24
DE19756856A1 (de) 1998-07-02
CN1111913C (zh) 2003-06-18
TW350145B (en) 1999-01-11
KR19980064764A (ko) 1998-10-07

Similar Documents

Publication Publication Date Title
KR100329053B1 (ko) 고발광효율을갖는반도체발광장치
US6548834B2 (en) Semiconductor light emitting element
US6057562A (en) High efficiency light emitting diode with distributed Bragg reflector
US5466950A (en) Semiconductor light emitting device with short wavelength light selecting means
US5917201A (en) Light emitting diode with asymmetrical energy band structure
KR100385755B1 (ko) 발광 다이오드
JP3559446B2 (ja) 半導体発光素子および半導体発光装置
US6617606B2 (en) Light-emitting semiconductor element
KR100631414B1 (ko) 반도체 발광 다이오드 및 그 제조방법
US7485902B2 (en) Nitride-based semiconductor light-emitting device
KR19990037429A (ko) 발광 다이오드 장치 및 그 제조방법
US7528417B2 (en) Light-emitting diode device and production method thereof
JP3152708B2 (ja) 半導体発光素子
JPH0897468A (ja) 半導体発光素子
US20090146163A1 (en) High brightness light emitting diode structure
JP4288030B2 (ja) Iii族窒化物4元材料系を用いた半導体構造体
JP3458007B2 (ja) 半導体発光素子
JP3442889B2 (ja) 半導体発光装置
US6066862A (en) High brightness light emitting diode
US12087877B2 (en) Light-emitting element
Chang et al. AlGaInP multiquantum well light-emitting diodes
JP3207618B2 (ja) 半導体装置
RU2819316C1 (ru) Полупроводниковый электролюминесцентный источник света
JP3635727B2 (ja) 半導体発光ダイオード
JP3057547B2 (ja) 緑色発光ダイオード

Legal Events

Date Code Title Description
A201 Request for examination
PA0109 Patent application

St.27 status event code: A-0-1-A10-A12-nap-PA0109

PA0201 Request for examination

St.27 status event code: A-1-2-D10-D11-exm-PA0201

PA0201 Request for examination

St.27 status event code: A-1-2-D10-D11-exm-PA0201

R17-X000 Change to representative recorded

St.27 status event code: A-3-3-R10-R17-oth-X000

PG1501 Laying open of application

St.27 status event code: A-1-1-Q10-Q12-nap-PG1501

PN2301 Change of applicant

St.27 status event code: A-3-3-R10-R13-asn-PN2301

St.27 status event code: A-3-3-R10-R11-asn-PN2301

E902 Notification of reason for refusal
PE0902 Notice of grounds for rejection

St.27 status event code: A-1-2-D10-D21-exm-PE0902

R17-X000 Change to representative recorded

St.27 status event code: A-3-3-R10-R17-oth-X000

T11-X000 Administrative time limit extension requested

St.27 status event code: U-3-3-T10-T11-oth-X000

E601 Decision to refuse application
PE0601 Decision on rejection of patent

St.27 status event code: N-2-6-B10-B15-exm-PE0601

AMND Amendment
J201 Request for trial against refusal decision
P11-X000 Amendment of application requested

St.27 status event code: A-2-2-P10-P11-nap-X000

P13-X000 Application amended

St.27 status event code: A-2-2-P10-P13-nap-X000

PJ0201 Trial against decision of rejection

St.27 status event code: A-3-3-V10-V11-apl-PJ0201

PB0901 Examination by re-examination before a trial

St.27 status event code: A-6-3-E10-E12-rex-PB0901

E902 Notification of reason for refusal
PE0902 Notice of grounds for rejection

St.27 status event code: A-1-2-D10-D21-exm-PE0902

P11-X000 Amendment of application requested

St.27 status event code: A-2-2-P10-P11-nap-X000

P13-X000 Application amended

St.27 status event code: A-2-2-P10-P13-nap-X000

B701 Decision to grant
PB0701 Decision of registration after re-examination before a trial

St.27 status event code: A-3-4-F10-F13-rex-PB0701

GRNT Written decision to grant
PR0701 Registration of establishment

St.27 status event code: A-2-4-F10-F11-exm-PR0701

PR1002 Payment of registration fee

St.27 status event code: A-2-2-U10-U11-oth-PR1002

Fee payment year number: 1

PG1601 Publication of registration

St.27 status event code: A-4-4-Q10-Q13-nap-PG1601

PR1001 Payment of annual fee

St.27 status event code: A-4-4-U10-U11-oth-PR1001

Fee payment year number: 4

PN2301 Change of applicant

St.27 status event code: A-5-5-R10-R13-asn-PN2301

St.27 status event code: A-5-5-R10-R11-asn-PN2301

PR1001 Payment of annual fee

St.27 status event code: A-4-4-U10-U11-oth-PR1001

Fee payment year number: 5

PR1001 Payment of annual fee

St.27 status event code: A-4-4-U10-U11-oth-PR1001

Fee payment year number: 6

FPAY Annual fee payment

Payment date: 20080225

Year of fee payment: 7

PR1001 Payment of annual fee

St.27 status event code: A-4-4-U10-U11-oth-PR1001

Fee payment year number: 7

LAPS Lapse due to unpaid annual fee
PC1903 Unpaid annual fee

St.27 status event code: A-4-4-U10-U13-oth-PC1903

Not in force date: 20090307

Payment event data comment text: Termination Category : DEFAULT_OF_REGISTRATION_FEE

PC1903 Unpaid annual fee

St.27 status event code: N-4-6-H10-H13-oth-PC1903

Ip right cessation event data comment text: Termination Category : DEFAULT_OF_REGISTRATION_FEE

Not in force date: 20090307

R18-X000 Changes to party contact information recorded

St.27 status event code: A-5-5-R10-R18-oth-X000

P22-X000 Classification modified

St.27 status event code: A-4-4-P10-P22-nap-X000

P22-X000 Classification modified

St.27 status event code: A-4-4-P10-P22-nap-X000