JP7629552B2 - インクジェット記録システム - Google Patents

インクジェット記録システム Download PDF

Info

Publication number
JP7629552B2
JP7629552B2 JP2024025056A JP2024025056A JP7629552B2 JP 7629552 B2 JP7629552 B2 JP 7629552B2 JP 2024025056 A JP2024025056 A JP 2024025056A JP 2024025056 A JP2024025056 A JP 2024025056A JP 7629552 B2 JP7629552 B2 JP 7629552B2
Authority
JP
Japan
Prior art keywords
cleaning
print head
ink
unit
controller
Prior art date
Legal status (The legal status is an assumption and is not a legal conclusion. Google has not performed a legal analysis and makes no representation as to the accuracy of the status listed.)
Active
Application number
JP2024025056A
Other languages
English (en)
Other versions
JP2024045701A (ja
JP2024045701A5 (ja
Inventor
篤史 北村
貴紀 安藤
稔 種子田
護 井▲高▼
Current Assignee (The listed assignees may be inaccurate. Google has not performed a legal analysis and makes no representation or warranty as to the accuracy of the list.)
Keyence Corp
Original Assignee
Keyence Corp
Priority date (The priority date is an assumption and is not a legal conclusion. Google has not performed a legal analysis and makes no representation as to the accuracy of the date listed.)
Filing date
Publication date
Application filed by Keyence Corp filed Critical Keyence Corp
Priority to JP2024025056A priority Critical patent/JP7629552B2/ja
Publication of JP2024045701A publication Critical patent/JP2024045701A/ja
Publication of JP2024045701A5 publication Critical patent/JP2024045701A5/ja
Priority to JP2025014477A priority patent/JP2025069962A/ja
Application granted granted Critical
Publication of JP7629552B2 publication Critical patent/JP7629552B2/ja
Active legal-status Critical Current
Anticipated expiration legal-status Critical

Links

Images

Classifications

    • BPERFORMING OPERATIONS; TRANSPORTING
    • B41PRINTING; LINING MACHINES; TYPEWRITERS; STAMPS
    • B41JTYPEWRITERS; SELECTIVE PRINTING MECHANISMS, i.e. MECHANISMS PRINTING OTHERWISE THAN FROM A FORME; CORRECTION OF TYPOGRAPHICAL ERRORS
    • B41J2/00Typewriters or selective printing mechanisms characterised by the printing or marking process for which they are designed
    • B41J2/005Typewriters or selective printing mechanisms characterised by the printing or marking process for which they are designed characterised by bringing liquid or particles selectively into contact with a printing material
    • B41J2/01Ink jet
    • BPERFORMING OPERATIONS; TRANSPORTING
    • B41PRINTING; LINING MACHINES; TYPEWRITERS; STAMPS
    • B41JTYPEWRITERS; SELECTIVE PRINTING MECHANISMS, i.e. MECHANISMS PRINTING OTHERWISE THAN FROM A FORME; CORRECTION OF TYPOGRAPHICAL ERRORS
    • B41J2/00Typewriters or selective printing mechanisms characterised by the printing or marking process for which they are designed
    • B41J2/005Typewriters or selective printing mechanisms characterised by the printing or marking process for which they are designed characterised by bringing liquid or particles selectively into contact with a printing material
    • B41J2/01Ink jet
    • B41J2/135Nozzles
    • B41J2/165Prevention or detection of nozzle clogging, e.g. cleaning, capping or moistening for nozzles
    • B41J2/16517Cleaning of print head nozzles
    • B41J2/16552Cleaning of print head nozzles using cleaning fluids
    • BPERFORMING OPERATIONS; TRANSPORTING
    • B41PRINTING; LINING MACHINES; TYPEWRITERS; STAMPS
    • B41JTYPEWRITERS; SELECTIVE PRINTING MECHANISMS, i.e. MECHANISMS PRINTING OTHERWISE THAN FROM A FORME; CORRECTION OF TYPOGRAPHICAL ERRORS
    • B41J2/00Typewriters or selective printing mechanisms characterised by the printing or marking process for which they are designed
    • B41J2/005Typewriters or selective printing mechanisms characterised by the printing or marking process for which they are designed characterised by bringing liquid or particles selectively into contact with a printing material
    • B41J2/01Ink jet
    • B41J2/135Nozzles
    • B41J2/165Prevention or detection of nozzle clogging, e.g. cleaning, capping or moistening for nozzles
    • B41J2/16517Cleaning of print head nozzles
    • BPERFORMING OPERATIONS; TRANSPORTING
    • B41PRINTING; LINING MACHINES; TYPEWRITERS; STAMPS
    • B41JTYPEWRITERS; SELECTIVE PRINTING MECHANISMS, i.e. MECHANISMS PRINTING OTHERWISE THAN FROM A FORME; CORRECTION OF TYPOGRAPHICAL ERRORS
    • B41J2/00Typewriters or selective printing mechanisms characterised by the printing or marking process for which they are designed
    • B41J2/005Typewriters or selective printing mechanisms characterised by the printing or marking process for which they are designed characterised by bringing liquid or particles selectively into contact with a printing material
    • B41J2/01Ink jet
    • B41J2/17Ink jet characterised by ink handling
    • B41J2/1707Conditioning of the inside of ink supply circuits, e.g. flushing during start-up or shut-down
    • BPERFORMING OPERATIONS; TRANSPORTING
    • B41PRINTING; LINING MACHINES; TYPEWRITERS; STAMPS
    • B41JTYPEWRITERS; SELECTIVE PRINTING MECHANISMS, i.e. MECHANISMS PRINTING OTHERWISE THAN FROM A FORME; CORRECTION OF TYPOGRAPHICAL ERRORS
    • B41J2/00Typewriters or selective printing mechanisms characterised by the printing or marking process for which they are designed
    • B41J2/005Typewriters or selective printing mechanisms characterised by the printing or marking process for which they are designed characterised by bringing liquid or particles selectively into contact with a printing material
    • B41J2/01Ink jet
    • B41J2/17Ink jet characterised by ink handling
    • B41J2/1721Collecting waste ink; Collectors therefor
    • BPERFORMING OPERATIONS; TRANSPORTING
    • B41PRINTING; LINING MACHINES; TYPEWRITERS; STAMPS
    • B41JTYPEWRITERS; SELECTIVE PRINTING MECHANISMS, i.e. MECHANISMS PRINTING OTHERWISE THAN FROM A FORME; CORRECTION OF TYPOGRAPHICAL ERRORS
    • B41J2/00Typewriters or selective printing mechanisms characterised by the printing or marking process for which they are designed
    • B41J2/005Typewriters or selective printing mechanisms characterised by the printing or marking process for which they are designed characterised by bringing liquid or particles selectively into contact with a printing material
    • B41J2/01Ink jet
    • B41J2/17Ink jet characterised by ink handling
    • B41J2/18Ink recirculation systems
    • BPERFORMING OPERATIONS; TRANSPORTING
    • B41PRINTING; LINING MACHINES; TYPEWRITERS; STAMPS
    • B41JTYPEWRITERS; SELECTIVE PRINTING MECHANISMS, i.e. MECHANISMS PRINTING OTHERWISE THAN FROM A FORME; CORRECTION OF TYPOGRAPHICAL ERRORS
    • B41J25/00Actions or mechanisms not otherwise provided for
    • B41J25/304Bodily-movable mechanisms for print heads or carriages movable towards or from paper surface
    • BPERFORMING OPERATIONS; TRANSPORTING
    • B41PRINTING; LINING MACHINES; TYPEWRITERS; STAMPS
    • B41JTYPEWRITERS; SELECTIVE PRINTING MECHANISMS, i.e. MECHANISMS PRINTING OTHERWISE THAN FROM A FORME; CORRECTION OF TYPOGRAPHICAL ERRORS
    • B41J29/00Details of, or accessories for, typewriters or selective printing mechanisms not otherwise provided for
    • B41J29/38Drives, motors, controls or automatic cut-off devices for the entire printing mechanism
    • BPERFORMING OPERATIONS; TRANSPORTING
    • B41PRINTING; LINING MACHINES; TYPEWRITERS; STAMPS
    • B41JTYPEWRITERS; SELECTIVE PRINTING MECHANISMS, i.e. MECHANISMS PRINTING OTHERWISE THAN FROM A FORME; CORRECTION OF TYPOGRAPHICAL ERRORS
    • B41J2/00Typewriters or selective printing mechanisms characterised by the printing or marking process for which they are designed
    • B41J2/005Typewriters or selective printing mechanisms characterised by the printing or marking process for which they are designed characterised by bringing liquid or particles selectively into contact with a printing material
    • B41J2/01Ink jet
    • B41J2/135Nozzles
    • B41J2/165Prevention or detection of nozzle clogging, e.g. cleaning, capping or moistening for nozzles
    • B41J2/16517Cleaning of print head nozzles
    • B41J2002/1657Cleaning of only nozzles or print head parts being selected
    • BPERFORMING OPERATIONS; TRANSPORTING
    • B41PRINTING; LINING MACHINES; TYPEWRITERS; STAMPS
    • B41JTYPEWRITERS; SELECTIVE PRINTING MECHANISMS, i.e. MECHANISMS PRINTING OTHERWISE THAN FROM A FORME; CORRECTION OF TYPOGRAPHICAL ERRORS
    • B41J2/00Typewriters or selective printing mechanisms characterised by the printing or marking process for which they are designed
    • B41J2/005Typewriters or selective printing mechanisms characterised by the printing or marking process for which they are designed characterised by bringing liquid or particles selectively into contact with a printing material
    • B41J2/01Ink jet
    • B41J2/135Nozzles
    • B41J2/165Prevention or detection of nozzle clogging, e.g. cleaning, capping or moistening for nozzles
    • B41J2/16517Cleaning of print head nozzles
    • B41J2002/16573Cleaning process logic, e.g. for determining type or order of cleaning processes

Landscapes

  • Ink Jet (AREA)
  • Particle Formation And Scattering Control In Inkjet Printers (AREA)

Description

本開示は、インクジェット記録システムに関する。
従来、ワークに印字を行うためのインクジェット記録装置が知られている。
例えば、特許文献1には、ワークに印字を行っていないときであっても、装置内部にインクを循環させる、いわゆるコンティニュアンス方式のインクジェット記録装置が開示されている。このインクジェット記録装置は、インク粒を吐出するための印字ヘッドと、この印字ヘッドに接続されたコントローラとを備えている。このインクジェット記録装置は洗浄台も備えており、これらによってインクジェット記録システムが構成されている。
印字ヘッドは、インクまたは溶剤を吐出する印字ノズルと、この印字ノズルから吐出された粒子状のインク(インク粒)を帯電させる帯電電極と、この帯電電極によって帯電されたインクの飛翔方向(進行方向)を偏向させる偏向電極とを内部に収容しており、その偏向電極により偏向されたインクを外部に吐出して印字を行うように構成されている。印字に使用されなかったインク粒は、印字ヘッドのガターから回収されるようになっている。
また、コントローラは、印字ノズルにインクを供給するためのインク供給経路等を含むインク供給部と、各部を制御する制御部とを備えている。
特許文献1のインクジェット記録装置を、インクの循環が停止した状態から稼働状態に移行する際には、インク供給部を制御することにより、加圧されたインクを印字ノズルから吐出させて印字を実行可能な状態にする立上げ処理が実行される。この立上げ処理の際、印字ヘッドを洗浄台に載置し、印字ヘッド内に印字ノズルとは別に設けられた洗浄ノズルから洗浄液を印字ノズルに向けて噴射し、印字ノズルやその周辺を自動的に洗浄することにより、印字ノズルの穴やガターの開口に付着しているインクの固形物を除去するようにしている。洗浄時には、洗浄液が印字ヘッドから漏れ出すことになるが、この漏れ出した洗浄液は洗浄台で回収される。
特開2015-136934号公報
ところで、印字を実行する現場に、第1のインクジェット記録装置、第2のインクジェット記録装置、・・・のように、複数台のインクジェット記録装置が導入されている場合がある。各インクジェット記録装置は、印字ヘッド、コントローラ及び洗浄台を備えているので、印字ヘッドは第1の印字ヘッド、第2の印字ヘッド、・・・が存在し、コントローラは第1のコントローラ、第2のコントローラ、・・・が存在し、洗浄台は第1の洗浄台、第2の洗浄台、・・・が存在することになる。
このような現場では、印字ヘッドの自動洗浄が誤って行われる可能性があった。すなわち、ユーザが第1のコントローラに接続された第1の印字ヘッドを洗浄するために第1の洗浄台に載置したつもりが、誤って、第2のコントローラに接続された第2の印字ヘッドを第1の洗浄台に載置した場合、第1の印字ヘッドが洗浄台に載置されていない状態になる。この状態で自動洗浄が行われると、第1の印字ヘッドから漏れ出した洗浄液を受ける物がないので、洗浄液が周囲環境を汚染したり、揮発して好ましくない環境になり得るおそれがある。
本発明は、かかる点に鑑みてなされたものであり、その目的とするところは、洗浄載置部に載置されていない印字ヘッドが洗浄されないようにして洗浄液による周囲環境の汚染を未然に防止することにある。
上記目的を達成するために、本開示の第1の側面は、インクを吐出するノズル、該ノズルから吐出された粒子状のインクを帯電させる帯電電極、及び該帯電電極により帯電されたインクの飛翔方向を偏向させる偏向電極を内部に収容し、かつ前記偏向電極により偏向されたインクを外部に吐出する印字ヘッドと、前記印字ヘッドに接続されるとともに、前記印字ヘッドに対してインクを供給するインク供給部、前記印字ヘッドに接続されるとともに、前記印字ヘッドに対して溶剤を供給する溶剤供給部、及び前記インク供給部から前記印字ヘッドへのインク供給を制御するとともに、前記溶剤供給部から前記印字ヘッドへの溶剤供給を制御する制御部を有するコントローラとを備え、前記インク供給部から供給されるインクを用いてワークへの印字を行うインクジェット記録装置と、前記インクジェット記録装置により印字を行う際の前記印字ヘッドの設置場所とは異なる場所に配置され、前記溶剤供給部から供給される溶剤を用いて前記印字ヘッドを洗浄する際に前記印字ヘッドが載置される洗浄載置部とを備えたインクジェット記録システムであって、前記洗浄載置部に前記印字ヘッドが載置されたことを検知可能に構成され、前記印字ヘッドが載置されたことを検知した場合に、前記洗浄載置部に載置された前記印字ヘッドに接続される前記制御部に対し、前記印字ヘッドの載置確認に基づく信号を送る載置検知部を備えていることを特徴とする。
この構成によれば、印字ヘッドを洗浄載置部に載置すると、印字ヘッドが載置されたことを載置検知部が検知する。載置検知部により印字ヘッドが載置されたことを検知した場合には、印字ヘッドの載置確認に基づく信号が、洗浄載置部に載置された印字ヘッドと接続されている制御部に対して送られる。これにより、制御部は、自身に接続されている印字ヘッドが洗浄載置部に載置されていることを確認できるので、印字ヘッドの洗浄が行える状態であると判定できる。従って、洗浄載置部に載置されている印字ヘッドを洗浄できるので、印字ヘッドから漏れ出した溶剤を洗浄載置部で受けることができ、周囲環境の汚染が防止される。
ここで、複数台のインクジェット記録装置、即ち、第1のインクジェット記録装置及び第2のインクジェット記録装置が導入されている現場を想定すると、第1のコントローラに接続されている第1の印字ヘッドを洗浄するつもりであるのが、実際には、第2のコントローラに接続された第2の印字ヘッドを第1の洗浄載置部に載置することが考えられる。この場合、第1の印字ヘッドが第1の洗浄載置部に載置されていないので、第1の印字ヘッドの載置確認に基づく信号が第1のコントローラの制御部には送られない。これにより、第1のコントローラは、自身に接続されている第1の印字ヘッドが洗浄載置部に載置されていないと判定できるので、第1の印字ヘッドを洗浄しないようにして第1の印字ヘッドから洗浄液が漏れ出すのを防止できる。
なお、載置検知部は、印字ヘッドに設けられていてもよいし、洗浄載置部に設けられていてもよい。また、印字ヘッドの載置確認に基づく信号は、印字ヘッドが洗浄載置部に載置されたことを示す信号であってもよいし、載置された印字ヘッドがコントローラに接続されていることを示す信号であってもよい。また、印字ヘッドが洗浄載置部に載置されているか否かの判定は、コントローラで行ってもよい。
また、載置検知部は、各種センサで構成することもできるし、印字ヘッドが洗浄載置部に載置されたときのみ通電するように、印字ヘッド及び洗浄載置部にそれぞれ設けた接点や通電端子のような検知手段で構成することもでき、この場合、印字ヘッドが洗浄載置部に載置されたことを接点間の通電によって検知できる。
本開示の第2の側面は、前記コントローラは、前記制御部が前記載置検知部により送られた前記印字ヘッドの載置確認に基づく信号を受信した場合に、前記洗浄載置部に載置された前記印字ヘッドの洗浄動作を行う洗浄動作部を備え、前記載置検知部は、前記印字ヘッドの載置確認に基づく信号を、前記洗浄動作部による洗浄動作を許可するための許可信号として前記制御部に送ることを特徴とする。
この構成によれば、印字ヘッドの載置確認に基づく信号を受信すると、印字ヘッドの洗浄を自動的に行うことができる。
本開示の第3の側面は、前記載置検知部は、前記印字ヘッドの載置確認に基づく信号を、前記印字ヘッド及び前記制御部によるワークへの印字を不許可とするための不許可信号として前記制御部に送ることを特徴とする。
本開示の第4の側面は、前記洗浄動作部は、前記印字ヘッドの載置確認に基づく信号を受信していない時には、前記印字ヘッドの洗浄動作を禁止するように構成されていることを特徴とする。
すなわち、印字ヘッドの載置確認に基づく信号を受信していないということは、印字ヘッドが洗浄載置部に載置されていないということであり、この場合に印字ヘッドの洗浄動作が禁止されるので、洗浄載置部に載置されていない印字ヘッドが誤って洗浄されることが無くなる。
本開示の第5の側面は、前記載置検知部は、前記印字ヘッドの載置確認に基づく信号を、前記印字ヘッドと前記コントローラとを接続するケーブルを介して前記制御部に送るように構成されていることを特徴とする。
この構成によれば、ケーブルを介してコントローラの制御信号が印字ヘッドに送られて印字ヘッドが制御される。このケーブルを、印字ヘッドの載置確認に基づく信号を送る手段として利用することができるので、システム構成をシンプルにすることができる。
本開示の第6の側面は、前記印字ヘッドと前記コントローラとは、ケーブルにより接続されており、前記コントローラと前記洗浄載置部とは、前記ケーブルとは異なる有線又は無線からなる信号ラインにより接続されており、前記載置検知部は、前記印字ヘッドの載置確認に基づく信号を、前記信号ラインを介して前記制御部に送るように構成されていることを特徴とする。
本開示の第7の側面は、前記コントローラと前記洗浄載置部とは、前記コントローラが有する識別情報を前記洗浄載置部に送信可能な有線または無線からなる信号ラインにより接続されており、前記印字ヘッドの載置確認に基づく信号と、前記信号ラインを介して予め取得した前記コントローラの識別情報とを前記制御部に送るように構成されていることを特徴とする。
この構成によれば、コントローラの識別情報を事前に取得することができる。このコントローラの識別情報を制御部に送ることで、制御部は、送られてきた識別情報と自身の識別情報との整合を判定でき、整合している場合には、自身に接続された印字ヘッドであると判定でき、整合していない場合には、自身に接続された印字ヘッドではないと判定できる。これにより、洗浄動作の可否判定がより正確に行える。
コントローラが有する識別情報は、例えばコントローラのシリアルナンバー等のようにコントローラに固有の情報とすることができ、例えば数字、文字、記号等で構成することができ、数字、文字、記号等のうち、任意の1つのみで構成されていてもよいし、任意の2つ以上を組み合わせて構成されていてもよい。コントローラの識別情報と、印字ヘッドの載置確認に基づく信号とは同時に送ってもよいし、異なるタイミングで送ってもよい。
本開示の第8の側面は、前記印字ヘッドの載置確認に基づく信号と、前記コントローラの識別情報とを前記信号ラインを介して前記制御部に送るように構成されている。
この構成によれば、コントローラの識別情報を取得するための信号ラインを利用して、ヘッドの載置確認に基づく信号と、コントローラの識別情報とを制御部へ送ることができるので、システム構成をシンプルにすることができる。
本開示の第9の側面は、前記洗浄載置部に載置されている前記印字ヘッドが有する識別情報を取得し、前記印字ヘッドの載置確認に基づく信号を送る際に、前記印字ヘッドの識別情報も前記制御部へ送るように構成されている。
この構成によれば、洗浄載置部に載置されている印字ヘッドの識別情報が制御部へ送られるので、当該印字ヘッドとコントローラとが互いに接続されたものであるか否かを判定でき、これにより、洗浄動作の可否判定がより正確に行える。
印字ヘッドが有する識別情報は、例えば印字ヘッドのシリアルナンバー等のように印字ヘッドに固有の情報とすることができ、例えば数字、文字、記号等で構成することができ、数字、文字、記号等のうち、任意の1つのみで構成されていてもよいし、任意の2つ以上を組み合わせて構成されていてもよい。印字ヘッドの識別情報と、印字ヘッドの載置確認に基づく信号とは同時に送ってもよいし、異なるタイミングで送ってもよい。
本開示の第10の側面は、前記制御部と前記洗浄載置部とは通信可能に接続され、前記洗浄載置部と前記印字ヘッドとは通信可能に接続され、前記印字ヘッドと前記制御部とは通信可能に接続され、前記制御部は認証情報を前記洗浄載置部に送信し、前記洗浄載置部は前記制御部から送信された前記認証情報を前記印字ヘッドに送信し、前記印字ヘッドは前記洗浄載置部から送信された前記認証情報を前記制御部に送信し、前記制御部は、前記洗浄載置部に送信した前記認証情報と、前記印字ヘッドから受信した前記認証情報とに基づいて、前記印字ヘッドが当該制御部に接続されたものであるか否かの認証処理を実行するように構成されている。
この構成によれば、コントローラ、洗浄載置部及び印字ヘッドが正規の組み合わせである場合には、コントローラが送信した認証情報が、洗浄載置部及び印字ヘッドを介して制御部に送信されるので、認証処理において印字ヘッドが当該コントローラに接続されたものであると認証される。一方、正規の組み合わせでない場合には、認証情報の受信自体がなされない場合があるとともに、認証処理において、制御部が送信した認証情報と、印字ヘッドから受信した認証情報とに食い違いが生じる場合がある。これにより、正規の組み合わせになっていないと判定できるので、洗浄動作の可否判定がより正確に行える。
認証情報は、例えばコントローラのシリアルナンバーであってもよいし、乱数であってもよいし、日時情報であってもよい。
以上説明したように、前記インクジェット記録システムによれば、洗浄載置部に載置されていない印字ヘッドが洗浄されないようにすることができるので、溶剤による周囲環境の汚染を未然に防止できる。
図1は、インクジェット記録システムの全体構成を例示する図である。 図2は、インクジェット記録装置の概略構成を例示するブロック図である。 図3は、印字ヘッドの概略構成を例示する図である。 図4は、インクジェット記録装置におけるインクおよび溶剤の経路を例示する図である。 図5は、印字ヘッドを下方から見た斜視図である。 図6は、インクジェット記録装置の基本動作を例示するフローチャートである。 図7は、インクジェット記録装置の立上処理を例示するフローチャートである。 図8は、立上処理における工程Aを説明するための図である。 図9は、立上処理における工程Bを説明するための図である。 図10は、立上処理における工程Cを説明するための図である。 図11は、インクジェット記録装置の立下処理を例示するフローチャートである。 図12は、立下処理における工程Dを説明するための図である。 図13は、立下処理における工程Eを説明するための図である。 図14は、立下処理における工程Fを説明するための図である。 図15は、印字ヘッドが洗浄載置部に載置された状態を示す斜視図である。 図16は、洗浄載置部の斜視図である。 図17は、洗浄載置部の上部の拡大図である。 図18は、印字ヘッドの背面の拡大図である。 図19は、正規の位置に着座した印字ヘッドと洗浄載置部との一部分を示す縦断面図である。 図20は、コントローラ、印字ヘッド及び洗浄載置部の簡易ブロック図である。 図21は、洗浄載置部で受けた洗浄液の別の排出方法を示す図15相当図である、 図22は、回収容器を保持部により保持する前の状態を示す洗浄載置部の斜視図である。 図23は、回収容器を上昇させる前の状態を示し、洗浄載置部を背面側から見た斜視図である。 図24は、図23に示す状態の縦断面図である。 図25は、洗浄載置部の平面図である。 図26は、回収容器が取り付けられた状態の縦断面図である。 図27は、回収容器が満量である場合の断面図である。 図28は、メンテナンス実行処理を例示するフローチャートである。 図29は、複数台の自動印字システムが導入された現場で、印字ヘッドが別のシステムの洗浄載置部に載置された場合を説明する図である。 図30は、印字ヘッドの接続確認を行う場合の処理を例示するフローチャートである。 図31は、メンテナンスが実行可能か否かの確認処理を例示するフローチャートである。 図32は、変形例1に係る図20相当図である。 図33は、変形例1に係る図30相当図である。 図34は、変形例2に係る図20相当図である。 図35は、変形例2に係る図30相当図である。 図36は、変形例3に係る図20相当図である。 図37は、変形例3に係る図30相当図である。 図38は、変形例4に係る図20相当図である。 図39は、変形例4に係る図30相当図である。 図40は、変形例5に係る図20相当図である。 図41は、変形例5に係る図30相当図である。 図42は、スリープモードの動作の一例を示すフローチャートである。 図43は、メンテナンス用ユーザインターフェースの一例を示す図である。 図44は、状態表示ユーザインターフェースの一例を示す図である。 図45は、洗浄載置部側の異常を確認しながらスリープモードを動作させる場合のフローチャートである。 図46は、立上処理中に異常検出した場合のタイミングチャートである。 図47は、スリープモードの変形例に係る処理を示す図45相当図である。 図48は、立ち下げ時に表示する期間選択用ユーザインターフェースの一例を示す図である。 図49は、スリープモード移行判定処理の一例を示すフローチャートである。 図50は、スリープモード自動移行判定処理の一例を示すフローチャートである。
以下、本発明の実施形態を図面に基づいて詳細に説明する。尚、以下の好ましい実施形態の説明は、本質的に例示に過ぎず、本発明、その適用物或いはその用途を制限することを意図するものではない。
すなわち、本明細書では、インクジェット記録装置の一例として、産業用インクジェットプリンタについて説明するが、ここに開示する技術は、インクジェット記録装置および産業用インクジェットプリンタという名称に関わらず、粒子状のインクを飛翔させてワークに着弾させるインクジェットを用いた一般の機器に適用することができる。
また、本明細書においては、インクジェット記録装置による印字について説明するが、ここでいう「印字」には、文字の印刷、図形のマーキング等、インクジェットを応用したあらゆる加工処理が含まれる。
<全体構成>
図1はインクジェット記録システムSの全体構成を例示する図である。また、図2はインクジェット記録装置Iの概略構成を例示する図であり、図3はインクジェット記録装置Iにおける印字ヘッド1の概略構成を例示する図である。そして、図4は、インクジェット記録装置Iにおけるインクおよび溶剤の経路を例示する図である。図1に例示する自動印字システムSは、例えば工場等の搬送ラインLに設置されており、その搬送ラインLを流れる各ワークWに対し、順番に印字を施すように構成されている。なお、本開示の適用対象は、自動印字システムSには限定されない。自動以外の方法を用いた印字システムに適用することもできる。搬送ラインLは、例えばベルトコンベア等で構成することができる。
具体的に、自動印字システムSは、粒子状のインク(インク粒)をワークWに着弾させることで印字を行うインクジェット記録装置Iと、インクジェット記録装置Iに接続される操作用端末800及び外部機器900と、インクジェット記録装置Iに接続されて印字ヘッド1の洗浄を行う洗浄載置部200と、を備えている。なお、操作用端末800および外部機器900は、必須ではない。
図1~図3に例示するインクジェット記録装置Iは、インク粒をノズル12から吐出するとともに、そのインク粒をワークWに着弾させる印字ヘッド1と、この印字ヘッド1に対し制御信号、インクおよび溶剤を供給するコントローラ100と、を備えている。コントローラ100が印字ヘッド1に制御信号を供給することで、インク粒の軌跡を制御する。これにより、ワークW上でのインク粒の着弾位置が調整されて、所望の印字が実現されるようになっている。
特に、本実施形態に係るインクジェット記録装置Iは、いわゆるコンティニュアス方式のインクジェットプリンタ(Continuous Ink Jet printer:CIJ)として構成されている。すなわち、インクジェット記録装置Iは、インクの揮発に起因した目詰まり(特に、ノズル12の目詰まり)等を防止するために、印字を実行していないときであっても、インクジェット記録装置Iが稼働状態であれば、インクジェット記録装置Iの内部を常にインクが循環している。コンティニュアス方式を採用することで、インクによる目詰まりを招くことなく、速乾性のインクを用いることができるようになる。
また、本実施形態に係るインクジェット記録装置Iは、溶剤を印字ヘッド1へ送り出すことで、ノズル12等、印字ヘッド1の各部を洗浄することができるようになっている。洗浄に用いられた溶剤は、必要に応じて回収されて、インクの濃度(粘度)を調整するために再利用することができる。
インクの循環を実現するために、印字ヘッド1は、インクまたは溶剤を吐出するノズル12に加えて、そのノズル12から吐出されたインクまたは溶剤を回収するガター16を備えている(図3参照)。コントローラ100から印字ヘッド1へ送り込まれたインクまたは溶剤は、ノズル12から吐出されてガター16によって回収される。そうして回収されたインクまたは溶剤は、コントローラ100へ送り戻されて再利用される。こうした工程を繰り返し行うことで、インクを循環させることができる。
操作用端末800は、例えば中央演算処理装置(Central Processing Unit:CPU)および記憶装置を有しており、コントローラ100に接続されている。この操作用端末800は、印字における加工条件を設定するとともに、印字に関連した情報をユーザに示すための端末として機能する。
操作用端末800により設定される加工条件は、コントローラ100に出力されて、その記憶部102に記憶される。コントローラ100の記憶部102に加えて、または、この記憶部102に代えて、操作用端末800が加工条件を記憶してもよい。
なお、本実施形態に係る加工条件には、印字されるべき文字列等の内容に加えて、後述の立下処理に関連した条件およびパラメータ(以下、これを「洗浄設定」ともいう)が含まれる。
なお、操作用端末800は、例えばコントローラ100に組み込んで一体化することができる。この場合は「操作用端末」という呼称ではなく、コントロールユニット等の呼称が用いられることになる。
外部機器900は、必要に応じてコントローラ100に接続される。図1および図2に示す例では、外部機器900として、ワーク検出センサ901、搬送速度センサ902およびプログラマブルロジックコントローラ(Programmable Logic Controller:PLC)903が設けられている。
具体的に、ワーク検出センサ901は、搬送ラインLにおけるワークWの有無を検出し、その検出結果を示す信号(検出信号)をコントローラ100へ出力する。ワーク検出センサ901から出力される検出信号は、印字を開始するためのトリガー(印字トリガ)として機能する。
搬送速度センサ902は、例えばロータリエンコーダから構成されており、ワークWの搬送速度を検出することができる。搬送速度センサ902は、その検出結果を示す信号(検出信号)をコントローラ100へ出力する。コントローラ100は、搬送速度センサ902から入力された検出信号に基づいて、印字ヘッド1からインク粒を吐出するタイミング等を制御する。
またPLC903は、図2に例示するように、コントローラ100と電気的に接続されている。PLC903は、予め定めたシーケンスに従ってインクジェット記録システムSを制御するために用いられる。
インクジェット記録装置Iには、上述した機器や装置以外にも、操作および制御を行うための装置、その他の各種処理を行うためのコンピュータ、記憶装置、周辺機器等を接続することもできる。この場合の接続は、例えば、IEEE1394、RS-232、RS-422およびUSB等のシリアル接続、またはパラレル接続としてもよい。あるいは、10BASE-T、100BASE-TX、1000BASE-T等のネットワークを介して電気的、磁気的または光学的な接続を採用することもできる。また、有線接続以外にも、IEEE802等の無線LAN、または、Bluetooth(登録商標)等の電波、赤外線、光通信等を利用した無線接続でもよい。さらに、データの交換や各種設定の保存等を行うための記憶装置に用いる記憶媒体としては、例えば、各種メモリカード、磁気ディスク、光磁気ディスク、半導体メモリ、ハードディスク等を利用することができる。
<コントローラ100>
コントローラ100は、印字ヘッド1を電気的に制御するとともに、印字用のインク、および、インクを希釈するための溶剤を印字ヘッド1へ供給することができるように構成されている。
具体的に、本実施形態に係るコントローラ100は、電気的な制御に関連した構成要素として、前述の加工条件を記憶する記憶部102と、コントローラ100および印字ヘッド1の各部を制御する制御部101と、ユーザによる操作を受け付けるとともに、ユーザへ情報を表示する操作表示部103と、外部から供給される電力を制御部101へ導く電源供給部121と、を備えている。
コントローラ100はまた、インク等の供給に関連した構成要素として、印字ヘッド1のノズル12にインクを供給するインク供給部104と、このノズル12およびインク供給部104に溶剤を供給する溶剤供給部105と、を備えている。
制御部101と、インク供給部104及び溶剤供給部105とは、別ユニットで構成されていてもよい。記憶部102も、インク供給部104及び溶剤供給部105とは、別ユニットで構成されていてもよい。操作表示部103も、インク供給部104及び溶剤供給部105とは、別ユニットで構成されていてもよい。これらの場合も、構成要素を合わせてコントローラ100とすることができる。
(記憶部102)
記憶部102は、後述の操作表示部103、または、操作用端末800を介して設定された加工条件を記憶するとともに、外部からの制御信号に基づいて、記憶された加工条件を制御部101へと出力するように構成されている。
具体的に、記憶部102は、揮発性メモリ、不揮発性メモリ、ハードディスクドライブ(Hard Disk Drive:HDD)、ソリッドステートドライブ(Solid State Drive:SSD)等を用いて構成されており、加工条件を示す情報を一時的または継続的に記憶することができる。なお、操作用端末800をコントローラ100に組み込んだ場合には、操作用端末800が記憶部102を兼用してもよい。
(制御部101)
制御部101は、記憶部102に記憶された加工条件に基づいて、少なくとも、コントローラ100におけるインク供給部104および溶剤供給部105と、印字ヘッド1におけるノズル12、帯電電極13および偏向電極15と、を制御する。制御部101が各部を制御することにより、ワークWへの印字が所定のタイミングで実施される。
具体的に、制御部101は、例えばCPU、メモリ、入出力バス等を有しており、操作表示部103または操作用端末800を介して入力された情報を示す信号と、記憶部102から読み込んだ加工条件を示す信号と、に基づいて制御信号を生成する。制御部101は、そうして生成した制御信号をコントローラ100およびインクジェット記録装置Iの各部へと出力することにより、ワークWに対する印字を制御する。
例えば制御部101は、ワークWに印字するときには、記憶部102に記憶されたワークWへの印字内容を読み込んで、その印字内容に基づいた制御信号を生成する。そして、制御部101は、その制御信号を帯電電極13へと出力することで、印字内容に対応した着弾位置を実現するようにインク粒の飛翔方向を設定する。
(操作表示部103)
図1に示すように、操作表示部103は、例えばコントローラ100を構成する筐体等に設けることができるが、筐体とは別に構成し、筐体とは異なる所に設置するようにしてもよい。この操作表示部103は、インクジェット記録装置Iに関連した種々の情報を表示する表示部103aと、例えば、タッチ式操作パネルやボタン、スイッチ等からなる操作部103bと、を備えている。表示部103aは、例えば液晶表示パネルや有機EL表示パネル等で構成されており、制御部101によって制御され、後述するようなユーザインターフェース等も表示可能に構成されている。
ユーザが操作表示部103の操作部103bを操作すると、その操作情報が制御部101に入力され、制御部101はどのような操作が行われたか検知することができる。例えば、操作部103bを操作することで、インクジェット記録装置Iの電源ON/OFF等を切替えることや、各種設定、情報の入力等を行うことができる。なお、操作用端末800をコントローラ100に組み込んだ場合には、操作用端末800が操作表示部103を兼用してもよい。操作表示部103の表示部103aは、ユーザに各種情報を通知する通知部であり、また、操作部103bは各種情報を入力可能な入力部である。
この操作表示部103は、前述の操作用端末800と同様に、印字における加工条件を設定することもできる。操作表示部103により設定される加工条件は、コントローラ100に出力されて、その記憶部102に記憶される。以下の記載では、ユーザが操作表示部103を操作するケースを前提に説明するが、操作表示部103の代わりに操作用端末800を用いることもできる。
(インク供給部104)
インク供給部104は、主たる構成要素として、補充用のインクを収容したインクカートリッジ104aと、このインクカートリッジ104aからインクが供給されるメインタンク104bと、インク流通経路104cとを有している。インクカートリッジ104a、メインタンク104bおよび印字ヘッド1は、インク流通経路104cを介して流体的に接続されている。
このうち、インクカートリッジ104aは、コントローラ100に対して着脱自在に構成されており、これを付け替えることで、メインタンク104bにインクを補充することができる。
このように、本実施形態に係るインクジェット記録装置Iは、いわゆる“カートリッジ式”のインクジェットプリンタとして構成されているが、この構成には限定されない。例えば、手動で開閉可能なタンクを設けるとともに、そのタンクに対してインクを補充するように構成してもよい。
メインタンク104bは、ノズル12へ供給されるインクを蓄える容器であり、具体的には溶剤によって濃度(粘度)調整されたインクを収容するように構成されている。こうした構成を実現するために、インクカートリッジ104aからメインタンク104bへ至る経路には、溶剤供給用の経路が接続されている。
また、インク流通経路104cは、印字ヘッド1にインクを供給するための経路であり、例えば、ノズル12にインクを送り込むための経路と、ガター16からインクを送り戻すための経路と、を有している。ノズル12にインクを送り込むための経路は、インクカートリッジ104aと、メインタンク104bと、ノズル12とを接続している。ガター16からインクを送り戻すための経路は、ガター16と、メインタンク104bとを接続している。これらの経路によって、印字ヘッド1とコントローラ100との間でインクを循環させることができる。
後述の如く、インク流通経路104cには、第1バルブV1をはじめとする複数の電磁弁と、インクポンプP1をはじめとする複数のポンプと、が設けられている。このうち、各電磁弁は、制御部101から出力された制御信号を受けて開閉し、インクの流れを制御することができる。一方、各ポンプは、制御部101から出力された制御信号を受けてインクを圧送し、電磁弁と同様に、インクの流れを制御することができる。
(溶剤供給部105)
溶剤供給部105は、主たる構成要素として、補充用の溶剤を収容した溶剤カートリッジ105aと、洗浄に用いられた溶剤を蓄えるコンディショニングタンク105bと、溶剤流通経路105cと、を有している。溶剤カートリッジ105a、コンディショニングタンク105bおよび印字ヘッド1は、溶剤流通経路105cを介して流体的に接続されている。溶剤が流通する溶剤流通経路105cは、複数の経路からなり、そのうちの一部は、ガター16からインクを送り戻す経路により兼用されている。
溶剤カートリッジ105aは、コントローラ100に対して着脱自在に構成されている。この溶剤カートリッジ105aを付け替えることで、コントローラ100に溶剤を補充することができる。溶剤カートリッジ105aの代わりに溶剤タンクを設けてもよい。なお、溶剤供給部105は、溶剤カートリッジ105a内の溶剤が空になったか否か、又は、溶剤が残り少なくなったか否かを検知する機能を有する。溶剤カートリッジ105aに収容されている溶剤は、インクの濃度調整に用いられるとともに、インクが流通する経路等を洗浄する洗浄剤としても使用される。
コンディショニングタンク105bは、洗浄に用いられた溶剤を収容するように構成されている。前述のように、ノズル12から吐出された溶剤は、インクと同様にガター16によって回収される。そのため、ガター16からインクを送り戻すための経路は、溶剤を送り戻すための経路を兼用している。
また、溶剤流通経路105cは、印字ヘッド1およびメインタンク104b等に溶剤を供給するための経路を含み、例えば、ノズル12に溶剤を送り込むための経路と、ガター16から溶剤を送り戻すための経路と、を有している。ノズル12に溶剤を送り込むための経路は、溶剤カートリッジ105aとノズル12とを接続している。ガター16から溶剤を送り戻すための経路は、前述のように、インクを送り戻すための経路を兼ねている。
後述の如く、溶剤流通経路105cには、第16バルブV16をはじめとする複数の電磁弁と、溶剤ポンプP2をはじめとする複数のポンプと、が設けられている。このうち、各電磁弁は、制御部101から出力された制御信号を受けて開閉し、溶剤の流れを制御することができる。一方、各ポンプは、制御部101から出力された制御信号を受けて溶剤を圧送し、電磁弁と同様に、溶剤の流れを制御することができる。
なお、溶剤流通経路105c、および、前述のインク流通経路104cという分類は、説明を簡潔にするためになされた便宜上の分類に過ぎない。溶剤流通経路105cおよびインク流通経路104cは、相互に接続されていたり、一方が他方を兼ねていたりするため、実質的に不可分となっている。
(電源供給部121)
電源供給部121は、商用電源700と制御部101の間に介在しており、商用電源700)から供給される電力を中継し、これを制御部101へと供給することができる。
(他の構成要素)
コントローラ100には、制御信号を送受するための電気配線と、インクを送受するためのチューブ(具体的には、インク流通経路104cを区画するチューブ)と、溶剤を送受するためのチューブ(具体的には、溶剤流通経路105cを区画するチューブ)と、が束になって被覆された接続ケーブル107が設けられている。この接続ケーブル107は可撓性を有しており、印字ヘッド1の上端部に接続されている(図1を参照)。コントローラ100と印字ヘッド1は、この接続ケーブル107を介して電気的にかつ流体的に接続されている。
<印字ヘッド1>
印字ヘッド1は、コントローラ100から供給される制御信号、インクおよび溶剤に基づいて濃度調整されたインクを粒子状のインク粒として吐出する。印字ヘッド1は、そうして吐出されたインク粒の飛翔方向を偏向せしめるとともに、偏向されたインク粒をワークWの表面に着弾させることで、そのワークWに対して印字を実行することができる。
具体的には、図3に示すように、本実施形態に係る印字ヘッド1は、インクを加振する加振器11と、加振器11により加振されたインクを吐出するノズル12と、ノズル12から吐出された粒子状のインクを帯電させる帯電電極13と、インクの帯電状態を監視する帯電検出センサ14と、帯電電極13により帯電されたインクの飛翔方向を偏向させる偏向電極15と、偏向電極15により非偏向とされたインク、または、ノズル12から吐出された溶剤を回収するガター16と、を備えている。
印字ヘッド1は、加振器11、ノズル12、帯電電極13、帯電検出センサ14、偏向電極15およびガター16を内部に収容し、かつ、インク粒の飛翔空間S1を区画する筐体10を備えている。この印字ヘッド1は、偏向電極15によって偏向されたインク粒を、飛翔空間S1を介して筐体10の外部に吐出することができる。
図5にも示すように、印字ヘッド1の外形状をなす筐体10の下面には、偏向電極15により偏向されたインクを外部に吐出するための吐出口Aが開口している。インクは、この吐出口Aから筐体10の下方へ向けて吐出されるようになっている。
図1に示すように、印字時における印字ヘッド1は、例えば支持部材2によって支持されている。支持部材2によって支持された状態の印字ヘッド1は、その吐出孔AがワークWの印字面に対して上方向から対向するように配置される。この場所が、インクジェット記録装置Iにより印字を行う際の印字ヘッド1の設置場所の一例である。
以下、印字ヘッド1をなす各部について、順番に説明をする。なお、以下の記載において「上下方向」とは、鉛直方向に沿った方向を指す。例えば、図3の紙面上方が「上方向」に相当し、同図の紙面下方が「下方向」に相当する。他の図においても、これに対応する方向を「上下方向」という。
(加振器11)
図3に例示するように、加振器11は、筐体10の飛翔空間S1における上端付近に配置されている。本実施形態に係る加振器11には、インクに上下振動を付与(加振)するためのデバイス(例えばピエゾ素子)が内蔵されている。この加振器11は、接続ケーブル107を介してインクが供給されるように構成されており、そうして供給されたインクを加振することができる。加振器11によって加振されたインクは、ノズル12へと供給される。
なお、図示は省略したが、本実施形態に係る加振器11は接地されている。
(ノズル12)
図3に例示するように、ノズル12は、加振器11の下端部に接続されており、その開口端(インクの噴射口)を下方に向けた姿勢で配置されている。ノズル12の開口端から、加振器11によって加振されたインクを吐出することができる。このノズル12には、例えば立下時に印字ヘッド1内部の圧力を抜くためのリターン経路として機能する吸引経路27が接続されている(図4を参照)。また、吸引経路27を通じて、ノズル12から溶剤を吸引させることもできる。
ここで、加振器11によって加振されずにノズル12から吐出されたインクは、軸状のいわゆる“インク軸”となって流れる。一方、加振されたインクは、ノズル12から吐出された直後に粒子化されて、いわゆる“インク粒”となる。ノズル12から吐出されたインクは、ノズル12から吐出された直後は軸状であるが、ノズル12から離れるに従って粒子状になる。この粒子状になる位置をブレークポイントと呼ぶ。ノズル12から吐出されたインク(インク粒)は、後述する帯電電極13を通過する。
なお、印字ヘッド1を洗浄すべく供給された溶剤は、加振器11とノズル12を順番に通過して、ノズル12の先端部から吐出される。そうして吐出される溶剤は、軸状に流れて、帯電電極13を通過する。
(帯電電極13)
図3に例示するように、帯電電極13は、一対の伝導性を有する金属板によって構成されており、ノズル12の下方に配置されている。ここで、帯電電極13を構成する一対の金属板は、それぞれの長手方向を上下方向に沿わせた姿勢で、かつ互いに水平方向に向い合うような姿勢で筐体10に固定されている。一対の金属板の間隔は、ノズル12から吐出されたインクの粒径よりも大きく設定されており、ノズル12から吐出されたインクが一対の金属板の間を通過することになる。
本実施形態に係る帯電電極13には、少なくとも印字動作を実行するときに電位(正電位)が印加される。これにより、加振器11と帯電電極13との間に電位差を生じさせ、帯電電極13を通過するインク粒を帯電させることが可能となる。各インク粒を帯電させるために、本実施形態に係る帯電電極13は、ノズル12から吐出されたインクが粒子化するブレークポイント付近に配置される。
帯電電極13には、コントローラ100によって制御可能なパルス電位が印加される。ここで、帯電電極13に対して相対的に高い電圧を印加した場合は、それよりも低い電圧を印加した場合に比して、各インク粒の帯電量(負の電荷の大きさ)が大きくなる。各インク粒は、その帯電量が大きい場合には、それが小さい場合に比して、偏向電極15によって大きく偏向される。コントローラ100がパルス電位の大きさを調整することで、インク粒の偏向量を制御することができる。帯電電極13によって帯電されたインク粒は、帯電検出センサ14の側方を通過した偏向電極15へ至る。
また、ノズル12から吐出される溶剤は、帯電されることなく、帯電検出センサ14の側方を通過して偏向電極15へ至る。
(帯電検出センサ14)
図3に例示するように、帯電検出センサ14は、帯電電極13の下方に配置されている。詳しくは、帯電検出センサ14は、帯電電極13を構成する金属板(図3に示す例では、紙面右側の金属板)の下方において、インク粒が飛翔する際の軌跡と交わらないように配置されている。帯電検出センサ14をこのように配置することで、インク粒と帯電検出センサ14との衝突を避けることが可能となる。
また、本実施形態に係る帯電検出センサ14は、筐体10の内部に設けた回路基板に接続されている。帯電検出センサ14は、その側方を通過するインク粒の帯電状態を検出することができる。帯電検出センサ14による検出結果は、検出信号として制御部101に出力される。この検出信号に基づいて、制御部101は、各インク粒が適切に帯電しているか否かを判定することができる。
(偏向電極15)
図3に例示するように、偏向電極15は、一対の伝導性を有する金属板(いわゆる「対向電極」)によって構成されており、帯電電極13および帯電検出センサ14の下方に配置されている。ここで、一対の金属板は、それぞれの長手方向を略上下方向に沿わせた姿勢で、かつ互いに水平方向に向い合うような姿勢で筐体10に固定されている。帯電電極13を構成する一対の金属板の間を通過したインク粒は、偏向電極15を構成する一対の金属板の間を通過することになる。
偏向電極15には、コントローラ100によって制御可能な電圧が印加される。これにより、偏向電極15を構成する一対の金属板の間には電位差が生じることになる。この電位差によって、インク粒の帯電量に応じて、そのインク粒の飛翔方向を偏向させることができる。インク粒の飛翔方向は、偏向電極15を構成する一対の金属板の並び方向に沿って偏向され得る。
すなわち、帯電電極13および偏向電極15のそれぞれに印加される電圧を介して、インク粒の飛翔方向を制御することができる。そうして飛翔方向が制御されるインク粒には、偏向電極15により偏向されたものと、偏向電極15により偏向されないもの(非偏向とされたもの)と、が含まれる。このうち、偏向電極15により偏向されたインク粒がワークWの印字に関与する。偏向電極15により偏向されたインク粒は、筐体10の下面に設けた吐出口Aから吐出されて、ワークWに着弾する。
一方、偏向電極15により非偏向とされたインク粒は、ワークWの印字に関与しない。こうしたインク粒、または、そもそも粒子化されていない軸状のインクは、図3において鎖線で例示したように、ガター16の中に到達する。同様に、印字ヘッド1におけるノズル12等の洗浄に用いられて偏向電極15を通過した溶剤もまた、ガター16の中に至る。
(ガター16)
図3に例示するように、ガター16は、その開口端を上方に向けた曲管によって構成されており、偏向電極15の下方に配置されている。本実施形態に係るガター16は、ワークWの印字に関与しないインクと、ノズル12を通過した溶剤(具体的には、ノズル12から吐出された溶剤)と、を回収することができる。
詳しくは、本実施形態においては、ガター16の開口端(上流端)と、ノズル12の開口端とが互いに向い合うように配置されており、ガター16の開口端の真上にノズル12の開口端が位置している。このように配置することで、ノズル12の開口端から鉛直方向に沿って流れた流体を、ガター16の開口端から受け入れることが可能になる。
ガター16によって回収されたインクまたは溶剤は、インク流通経路104c、溶剤流通経路105c等を通じてコントローラ100に送り戻されて、メインタンク104bまたはコンディショニングタンク105bに蓄えられるようになっている。
以下、ガター16によるインクまたは溶剤の回収について詳細に説明するために、インク流通経路104cおよび溶剤流通経路105cに係る構成について、図4を用いて説明をする。なお、図4において符号Fが付された構成要素は、フィルタを例示している。以下の記載では、フィルタFの配置、構成等の説明を省略する。
<インクおよび溶剤の経路について>
前述のように、本実施形態に係るコントローラ100は、印字ヘッド1にインクを供給するためのインク流通経路104cと、印字ヘッド1およびメインタンク104b等に溶剤を供給するための溶剤流通経路105cと、を備えている。
具体的に、インク流通経路104cは、ノズル12へのインクの供給に関連した経路として、インクカートリッジ104aおよび第1分岐部51を接続する第1インク経路21と、第1分岐部51(詳細には、第2インク経路22における中途の部位)、および、第2分岐部52を接続する第6インク経路26と、第2分岐部52およびメインタンク104bを接続する第8インク経路28と、メインタンク104bおよびノズル12を接続する第4インク経路24と、を有している。ここで、本実施形態に係る第6インク経路26は、後述の第5インク経路25を介して第2分岐部52と接続されるようになっている。
また、インク流通経路104cは、粘度計53による粘度測定に関連した経路として、第1分岐部51およびメインタンク104bを接続し、かつ粘度計53が介設された第2インク経路22と、この第2インク経路22とは独立して設けられ、メインタンク104bおよび第1分岐部51を接続する第3インク経路23と、を有している。
また、インク流通経路104cは、ガター16によるインクの回収に関連した経路として、ガター16およびメインタンク104bを接続する第5インク経路25を有している。
ここで、第2インク経路22には、循環ポンプP4と、第11バルブV11と、粘度計53と、が順番に設けられている。第4インク経路24には、インクポンプP1と、減圧弁と、圧力計と、第14バルブV14と、が順番に設けられている。第5インク経路25には、第10バルブV10と、ガターポンプP3と、第2分岐部52と、が順番に設けられている。
一方、溶剤流通経路105cは、ノズル12への溶剤の供給に関連した経路として、溶剤カートリッジ105aおよびノズル12を接続する第1溶剤経路31を有している。
また、溶剤流通経路105cは、溶剤カートリッジ105aに収容された溶剤によるインクの濃度(粘度)調整に関連した経路(溶剤カートリッジ105aとメインタンク104bとを結ぶ経路の一部要素)として、第1溶剤経路31における中途の部位、および、第1分岐部51を接続する第2溶剤経路32を有していてもよい。
また、溶剤流通経路105cは、コンディショニングタンク105bに収納された溶剤による濃度調整に関連した経路(メインタンク104bとコンディショニングタンク105bとを結ぶ経路の一部要素)として、第1分岐部51とコンディショニングタンク105bを接続する第3溶剤経路33を有していてもよい。
なお、インク流通経路104cとして例示された第5インク経路25は、ガター16による溶剤の回収に関連している。前述のように、「インク流通経路104c」および「溶剤流通経路105c」という分類は、便宜上の分類に過ぎない。
ここで、第1溶剤経路31には、光学式空検知機構44と、溶剤ポンプP2と、第16バルブV16と、第12バルブV12と、が順番に設けられている。第1溶剤経路31には、溶剤噴射部としての洗浄ノズル19が接続されている。洗浄ノズル19は、印字ヘッド1における加振器11、ノズル12の先端部、帯電電極13、偏向電極15等に溶剤を噴射することによってそれらを洗浄するためのノズルであって、洗浄液としての溶剤を噴出することができる。洗浄ノズル19から第1溶剤経路31に至る途中には、第15バルブV15が設けられている。
ここで、第1分岐部51は、第3インク経路23および第2インク経路22の間を開閉する第5バルブV5と、第1インク経路21および第2インク経路22の間を開閉する第8バルブV8と、第3溶剤経路33および第2インク経路22の間を開閉する第9バルブV9と、第2溶剤経路32および第2インク経路の間を開閉する第13バルブV13と、を有している。
また、第2分岐部52は、第6インク経路26および第8インク経路28の間を開閉する第1バルブV1と、第6インク経路26およびコンディショニングタンク105bの間を開閉する第3バルブV3と、第6インク経路26および廃液タンク(図4において、「廃液」と図示)の間を開閉する第4バルブV4と、を有している。
制御部101は、第11バルブV11など、各経路に設けられたバルブに制御信号を出力したり、第1分岐部51および第2分岐部52をなす各バルブに制御信号を出力したりすることで、コントローラ100内に所望の流路を構成することができる。
例えば、第8バルブV8と第1バルブV1を開くことで、インクカートリッジ104aからメインタンク104bにインクを補充することが可能になる。また、本来の循環動作ではないが、第5バルブV5と第11バルブV11を開くことで、第2インク経路22と、メインタンクと、第3インク経路23と、の間でインクを循環させて、粘度計53によってインクの粘度を測定することが可能になる。
溶剤に関連した経路についても同様である。例えば、第13バルブV13と、第1バルブV1と、を開くことで、溶剤カートリッジ105aに収容された溶剤をメインタンク104bに供給し、同タンクに蓄えられたインクの濃度を調整することができるようになる。また、第9バルブV9と、第1バルブV1と、を開くことで、コンディショニングタンク105bに貯蔵されたインク混じりの溶剤が、第3溶剤経路33、第1分岐部51、第6インク経路26、第2分岐部52および第8インク経路28を通過して、メインタンク105aに供給される。
コントローラ100は、空気の流通に関連した経路も有している。例えば、メインタンク104bには、不図示の排気口に通じる第1排気管41が接続されている。同様に、コンディショニングタンク105bには、前記排気口に通じる第2排気管42が接続されている。
空気の流通に関連した経路の別例として、コントローラ100は、ノズル12および第1分岐部51を接続する吸引経路27を有している。吸引経路27には第6バルブV6が設けられていて、この第6バルブV6と、前述の第5バルブV5を開くことで、吸引経路27、第1分岐部51、第6インク経路26、第2分岐部52、第8インク経路28、メインタンク104bおよび第1排気管41を介してノズル12を大気と連通させることができる。これにより、ノズル12から吐出されるインク粒の噴射圧を調整することができるようになる。
また、印字を実施する際には、第14バルブV14を開くことで、メインタンク104bから第4インク経路24を介してインクが供給される。そうして供給されたインクは、粒子状のインク粒となってノズル12から吐出される。
ここで、ノズル12から吐出されたインク(インク粒)のうち、印字に関与するインクは、図3を用いて説明したように印字ヘッド1から吐出される。一方、印字に関与しないインク、および、ノズル12等の洗浄に用いられた溶剤は、ガター16に回収されて、第5インク経路25を通じてコントローラ100に送り戻される。
その場合、メインタンク104bに送り戻されるべきインクは、第1分岐部51から、第6インク経路26、及び、第2分岐部52における第1バルブV1、および、第8インク経路28を介してメインタンク104bに供給される。一方、コンディショニングタンク105bに送り戻されるべき溶剤は、第5経路25から、第2分岐部52における第3バルブV3を介してコンディショニングタンク105bに供給される。
ガター16によるインクまたは溶剤の回収は、例えば、インクジェット記録装置Iの立上処理および立下処理と関連して行われるようになっている。ここで、「立上処理」とは、インクジェット記録装置Iへの電源投入時に、印字を開始する前に実行される処理をいう。一方、「立下処理」とは、インクジェット記録装置Iの電源遮断時に、同装置の動作を停止する前に実行される処理をいう。
詳しくは、本実施形態に係るインクジェット記録装置Iは、電源スイッチがONにされても、印字を直ちには開始しない。インクジェット記録装置Iは、印字を開始する前に所定の立上処理を実行する。この立上処理においては、溶剤を用いて印字ヘッド1を洗浄した後に、インクの吐出が開始される。立上処理の開始直後に吐出されるインクは、前述したインク軸を形成し、ガター16によって回収される。
同様に、本実施形態に係るインクジェット記録装置Iは、電源スイッチがOFFにされようとしたときには、その動作を直ちには停止しない。インクジェット記録装置Iは、動作を停止する前に、ノズル洗浄などからなる所定の立下処理を実行する。この立下処理においては、ノズル12から溶剤を吐出させて、これに残存したインクを洗浄および回収することができる。溶剤の吐出に伴ってノズル12から排出されたインクは、立上処理におけるインク軸と同様に、ガター16によって回収される。
なお、本実施形態における「電源スイッチ」には、物理的な押し釦に加えて、操作表示部103等に表示されるタッチ式操作パネルで構成されるスイッチ類も含む。そして、電源スイッチのOFF操作とは、押し釦等を物理的に押下する操作に加えて、操作用端末800、操作表示部103等を通じて指令されるシャットダウン操作も指す。電源スイッチのON操作についても同様である。
以下、インクジェット記録装置Iの立上処理および立下処理について詳細に説明する。
<インクジェット記録装置Iの基本動作>
図6は、インクジェット記録装置Iの基本動作を例示するフローチャートである。このフローチャートは、立上処理をはじめとするインクジェット記録装置Iの基本動作を例示している。
まず、図6のステップSA1では、インクジェット記録装置Iの電源スイッチがOFFFからONにされて、インクジェット記録装置Iに電源が投入される。
ステップSA1から続くステップSA2において、制御部101が立上処理を実行する。
図7は、インクジェット記録装置Iの立上処理を例示するフローチャートである。このフローチャートは、図6におけるステップSA2の詳細を例示している。すなわち、図7における4つのステップSB1、SB2、SB3、SB4が、図6のステップSA2を構成している。
また、図8は立上処理における工程Aを説明するための図であり、図9は立上処理における工程Bを説明するための図であり、図10は立上処理における工程Cを説明するための図である。
ステップSB1においては、制御部101が工程Aを実行し、インクジェット記録装置Iにおけるインクおよび溶剤の経路を昇圧する。この工程Aにおいては、溶剤を準備するために、制御部101は、第16バルブV16を開いた状態で、第12バルブV12を閉状態で待機させる。その状態で溶剤ポンプP2が作動することで、溶剤カートリッジ105aに収容された溶剤が、第1溶剤経路31を介して第12バルブV12付近まで供給される(図8の太線を参照)。
また、インクを準備するために、制御部101は、第14バルブV14を閉状態で待機させる。その状態でインクポンプP1が作動することで、第4インク経路24内のインクの圧力が上昇する(図8の太線を参照)。
また、ガター16を準備するために、制御部101は、第10バルブV10および第1バルブV1を開状態で待機させる。その状態でガターポンプP3が作動することで、ガター16によって回収されたインクまたは溶剤を、第5インク経路25および第2分岐部52を介してメインタンク104bまで送り戻すことができるようになる(図8の太線を参照)。
工程Aにおいて、制御部101には、圧力計の検知信号が入力される。制御部101は、そうした検知信号に基づいて、第4インク経路24の圧力が規定値以上になるまで待機する。
ステップSA1から続くステップSA2では、制御部101が工程Bを実行し、ノズル12から溶剤を吐出させる。この工程Bにおいては、制御部101が第12バルブV12を開くことで、ノズル12から溶剤が吸い出されて吐出される。そうして吐出された溶剤は、ガター16によって回収される。この工程Bは、1秒未満の短期間にわたって実行されるため、他の工程に比して、少量の溶剤が吐出されることになる。そのため、工程Bにおいて吐出される溶剤は、第1バルブV1を介して第5インク経路25からメインタンク104bに送り戻される(図9の太線を参照)。
なお、工程Bにおいて多量の溶剤が噴射される場合は、第1バルブV1ではなく第3バルブV3が開放されて、第5インク経路25からコンディショニングタンク105bへ溶剤が送り戻される。
ステップSA2から続くステップSA3では、制御部101が工程Cを実行し、ノズル12からインクを吐出させる。この工程Cにおいては、インクを吐出させるために、制御部101は、第12バルブV12を閉じて第14バルブV14を開く。これにより、ノズル12から軸状のインク(インク軸)が吐出される。そうして吐出されたインクは、ガター16によって回収される。そうして回収されたインクは、第1バルブV1を介して第5インク経路25からメインタンク104bに送り戻される(図10の太線を参照)。
ステップSA3から続くステップSA4では、制御部101が、ノズル12から吐出されるインクへの加振、並びに、帯電電極13および偏向電極15への印加を開始させる。これにより、インクを粒子化させたり、帯電させたり、偏向させたりすることが可能となる。
ステップSA4に示す処理が終了するとリターンされて、図7に示す制御プロセスから図6に示す制御プロセスに戻る。そして、制御部101が、ステップSA2から続くステップSA3を実行する。
ステップSA3において、制御部101は、粒子状のインク(インク粒)をワークWに着弾させることで、そのワークWに対して印字を行う。
ワークWへの印字動作を開始すると、図3に示すように、加振器11によって加振されたインクがノズル12から吐出される。このインクは、コントローラ100のインク供給部104から適宜供給されるようになっている。ノズル12から吐出されたインクは、その吐出直後から粒子化を開始し、粒子化した段階で帯電電極13によって帯電される。帯電電極13によって帯電されたインク粒は、帯電検出センサ14によって帯電状態が検出された上で、偏向電極15を通過する。
そして、偏向電極15によって飛翔方向が偏向されたインク粒は、筐体10内の飛翔区間S1を通過して、印字ヘッド1の外部に吐出される。印字ヘッド1から吐出されたインク粒は、図1に示すように、ワークWの表面上に着弾して文字や図形を形成する。ここで、インク粒の着弾位置は、各インク粒の帯電量と、偏向電極15への印加電圧を介して制御される。
また、前述のように、本実施形態に係るインクジェット記録装置Iは、コンティニュアス方式のインクジェットプリンタとして構成されているため、立上処理後の印字可能状態(インクジェット記録装置Iの稼働状態)にあっては、印字を実行しないときであっても、ノズル12からインクが吐出され続けるようになっている。このときに吐出されるインクは、偏向電極15によって偏向されない(換言すれば、「非偏向」とされる)。非偏向とされたインクは、印字に関与することなく、ガター16により回収されて装置内部を循環し、再利用される。
ここで、印字が滞りなく完了し、インクジェット記録装置Iが正常にシャットダウンされる場合を考える。具体的に、ステップSA3において、インクジェット記録装置Iの電源スイッチがONからOFFに切り替えられようとしたものとする。
この場合、ステップSA4において、制御部101が立下処理を実行する。この立下処理は、本実施形態における「洗浄動作」の例示である。洗浄動作は、制御部101の洗浄動作部101aが実行する。
図11は、インクジェット記録装置Iの立下処理を例示するフローチャートである。このフローチャートは、図6におけるステップSA4の詳細を例示している。すなわち、図11における5つのステップSC1~ステップSC5が図6のステップSA4を構成している。
また、図12は立下処理における工程Dを説明するための図であり、図13は立下処理における工程Eを説明するための図であり、図14は立下処理における工程Fを説明するための図である。
ステップSC1においては、制御部101が、ノズル12から吐出されるインクへの加振、並びに、帯電電極13および偏向電極15への電圧印加を停止する(インクの粒子化、帯電、偏向:ON→OFF)。これにより、インクの粒子化、帯電および偏向が停止され、ノズル12からは軸状のインク軸が吐出されるようになる。
ステップSC1から続くステップSC2では、制御部101が、インク軸の吐出を停止させる(インクの吐出停止)。具体的に、このステップSC2では、インクの吐出を停止するために、制御部101は、第14バルブV14を閉じる。これにより、ノズル12からインクが吐出されないようになる。
ステップSC2から続くステップSC3では、制御部101が、溶剤の間欠吐出を実行する(溶剤の間欠噴出)。具体的に、制御部101は、溶剤を間欠的に吐出させるために、図12に例示する工程Dと、図13に例示する工程Eと、を交互に実行する。溶剤を間欠的に吐出することで、インクジェット記録装置I、特に印字ヘッド1をなすノズル12を洗浄することができる。以下、この動作を「間欠噴出動作」という。
このうち、図12に示す工程Dにおいては、制御部101は、第16バルブV16と、第12バルブ(溶剤噴射バルブともいう。)V12と、第10バルブV10と、第1バルブV1と、を開く。その状態で溶剤ポンプP2およびガターポンプP3を作動させることで、溶剤カートリッジ105aに収容された溶剤が、第1溶剤経路31を介してノズル12から吐出されてガター16により回収される。ガター16により回収された溶剤は、第5インク経路25および第2分岐部52を介してメインタンク104bに送り戻される(図12の太線を参照)。
図11に示す処理を開始した直後は、第5インク経路25に多くのインクが残存していると考えられるため、図12に示す工程Dにおける溶剤は、コンディショニングタンク105bではなく、メインタンク104bへ送り戻されるようになっている。
また、図13に示す工程Eにおいては、制御部101は、第12バルブV12を閉じて、第6バルブV6を開く。そうすると、循環ポンプP4が及ぼす負圧によって、ノズル12に残存した溶剤が、吸引経路27、第1分岐部51、第6インク経路26、第1バルブV1、第8インク経路28を介してメインタンク104bに吸い込まれるようになる(図13の太線を参照)。
なお、図13に示す工程Eにおいては、第12バルブV12を閉じずに、開いたままとしてもよい。その場合、溶剤カートリッジ105aからノズル12へ溶剤が供給されつつも、そうして供給された溶剤がそのまま、吸引経路27から吸い込まれるようになる。こうすることで、第6バルブV6を流れる溶剤の流量を向上させ、より十分に洗浄することができるようになる。
図12に示す工程Dと図13に示す工程Eとは、複数回(例えば数セット)にわたって繰り返される。ここで、ステップSC3において工程Dを実施する時間(例えば1秒未満)は、工程Eを実施する時間(例えば数秒程度)よりも短い。
また、工程Eにおいて第12バルブV12を閉じた後に、工程Dにおいて第12バルブV12を開くことで、溶剤が間欠的に噴射されるようになる。工程Dから工程Eへ移行する際に、数秒程度にわたって第12バルブV12を閉じてもよい。こうすることで、第12バルブV12付近における溶剤の圧力を高めることができ、第12バルブV12を開いたときに、溶剤を勢いよく吐出することができるようになる。
ステップSC3から続くステップSC4において、制御部101が図12に示す工程Dのみを実行し、ノズル12から溶剤を吐出させる。このステップSC4において工程Dを実施する時間は、例えば30秒程度であり、ステップSC3において工程Dを実施する時間よりも長い。このステップSC4を実行することで、主に、ガター16に通じる第5インク経路25を洗浄することができる。以下、この動作を「ガター洗浄動作」という。
ステップSC4から続くステップSC5において、制御部101が図14に示す工程Fを実行し、印字ヘッド1から溶剤を回収する。具体的に、この工程Fにおいて、制御部101は、第10バルブV10および第3バルブV3を開く。その状態でガターポンプP3が作動することで、ノズル12に残存した溶剤が、第5インク経路25および第2分岐部52を介してコンディショニングタンク105bに吸引される(図14の太線を参照)。このステップS65を実行することで、洗浄に用いた溶剤を回収することができる。
ステップSC5が実行される前に、ステップSC4において溶剤を吐出させたため、第5インク経路25には相対的に多くの溶剤が残存していると考えられる。そのため、工程Fにおける溶剤は、メインタンク104bではなく、コンディショニングタンク105bへと送り戻されるようになっている。
ステップSC5に示す処理が終了するとリターンされて、図11に示す制御プロセスから図6に示す制御プロセスに戻る。そして、ステップSA4から続くステップSA5では、インクジェット記録装置Iへの電源供給が遮断され、インクジェット記録装置Iは、その動作を停止する。
<洗浄載置部200>
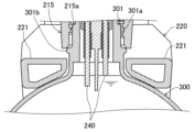
図1に示すように、洗浄載置部200は、インクジェット記録装置Iにより印字を行う際の印字ヘッド1の設置場所とは異なる場所に配置されている。図15に示すように、洗浄載置部200は、洗浄液を用いて印字ヘッド1を洗浄する際に印字ヘッド1が載置されるように構成されたものである。洗浄液は、溶剤以外の液体を用いることもできる。
洗浄載置部200と印字ヘッド1とは、通信可能に接続されており、その接続形態は有線であってもよいし、無線であってもよい。また、印字ヘッド1と、コントローラ100とは通信可能に接続されており、その接続形態は有線であってもよいし、無線であってもよい。さらに、コントローラ100と洗浄載置部200とは通信可能に接続されており、その接続形態は有線であってもよいし、無線であってもよい。これらの接続形態の一例として、信号の送受信が可能な信号ラインを用いることができる。
インクジェット記録装置Iにより印字を行う際の印字ヘッド1の設置場所が図1に示すように規定されている場合、その設置場所から離れた場所に、洗浄載置部200が設置されている。洗浄載置部200は、コントローラ100から離して設置することができるが、コントローラ100と同じ場所に設置してもよい。洗浄載置部200は、印字ヘッド1が載置された状態で印字ヘッド1の洗浄を行うユニットであり、例えば、洗浄ステーション、洗浄ドック、洗浄載置装置、洗浄ユニット等と呼ぶこともできる。
図16に示すように、洗浄載置部200は、本体部210と、印字ヘッド1の洗浄液を回収するための回収容器300とを備えている。本体部210は、上下方向に延びる背板部211を備えている。背板部211の上部には、印字ヘッド1を案内するとともに支持する案内支持部材230が設けられている。図17に示すように、案内支持部材230は、左右一対のレール部230a、230aと、支持部230bとを有している。レール部230a、230aは互いに左右方向に間隔をあけて設けられており、共に上下方向に延びるとともに、背板部211の前面から前側へ突出するように配置されている。レール部230a、230aの上端部は開放されている。支持部230bは、正規の位置に載置された印字ヘッド1を支持する部分であり、レール部230a、230aの間から前側へ向けて突出する突出部で構成されている。支持部230bはストッパ部と呼ぶこともできる。
一方、図18に示すように、印字ヘッド1の筐体10の背面における上下方向中間部には、被案内部材18が設けられている。被案内部材18は、筐体10の背面から突出するように配設された板材等で構成されている。被案内部材18の左側には、洗浄載置部200の左側のレール部230aに嵌まるように形成された被案内部18aが左方向に突出するように形成されている。被案内部材18の右側には、洗浄載置部200の右側のレール部230aに嵌まるように形成された被案内部18aが右方向に突出するように形成されている。
左右の被案内部18a、18aは上下方向に延びており、洗浄載置部200のレール部230a、230aの上端部から当該レール部230a、230a内に差し込むことが可能に形成されている。被案内部18a、18aはレール部230a、230a内に差し込まれた状態で当該レール部230a、230aによって上下方向に案内される。このとき、印字ヘッド1の移動方向は上下方向のみに規制され、洗浄載置部200に対して左右方向や前後方向には移動しないようになっている。
被案内部材18の下端面は、洗浄載置部200の案内支持部材230に設けられている支持部230bの上面に当接する当接面18bとされている。当接面18bが図17に示す支持部230bの上面に当接するまで印字ヘッド1を洗浄載置部200に対して下方へ移動させることができる。言い換えると、被案内部材18の当接面18bの高さまたは支持部230bの上面の高さにより、洗浄載置部200に載置した状態の印字ヘッド1の高さを設定することができる。この実施形態では、洗浄載置部200に載置した状態の印字ヘッド1の高さは図15に示すように設定されており、この位置が正規の位置である。なお、図示しないが、レール部が印字ヘッド1に設けられていて、被案内部材が洗浄載置部200に設けられていてもよい。印字ヘッド1を正規の位置に位置決めする構造は上述した構造に限られるものではなく、印字ヘッド1を本体部210の一部によって正規の位置で支持可能な構成であればよい。
図16及び図19に示すように、洗浄載置部200の背板部211の内部には、磁石211aが設けられている。磁石211aは、磁力が背板部211を透過して前方へ作用するように配置されている。また、図19に示すように、背板部211の内部には、基板211bが設けられており、この基板211bには、赤外線通信を行うための赤外光を発する発光素子211cが実装されている。図20に示すように、発光素子211cは、コントローラ100の制御部101に接続されており、制御部101によって制御されるようになっている。図19に示すように、発光素子211cの発光面は前に向いている。背板部211には、発光素子211cの赤外光を透過する透過部材211dが設けられている。発光素子211cから照射された赤外光は透過部材211dを透過して背板部211の前方へ向けて照射される。
一方、印字ヘッド1の筐体10の内部には、基板10aが設けられている。基板10aには、磁気センサ10bと、赤外線通信用の受光素子10cとが実装されている。磁気センサ10bは、所定閾値以上の磁力を検知したときに、そのことを電気信号に変換して出力するように構成された非接触の磁気センサであり、例えばホール素子等で構成することができる。磁気センサ10bは、印字ヘッド10が正規の位置にあるときに、洗浄載置部200の磁石211aと略同じ高さとなるように位置付けられている。磁石211aの前側において当該磁石211aと同じ高さが最も磁力の大きな所であり、この位置にあるときのみ、磁気センサ10bは、磁力検知信号を出力するように構成されている。したがって、例えば印字センサ1が正規の位置よりも上に載置されていた場合には、磁気センサ10bと磁石211aとの距離が遠くなるので、磁気センサ10bは磁力検知信号を出力しない。これを利用して印字ヘッド1が洗浄載置部200に載置されているか否か、正規の位置に載置されているか否かを検知できる。磁気センサ10bは、コントローラ100の制御部101に接続されており、制御部101に信号を出力するように構成されている。印字ヘッド1が洗浄載置部200に載置されているか否か、正規の位置に載置されているか否かの判定は、制御部101が行うようにしてもよい。
受光素子10cは、洗浄載置部200の発光素子211cから照射された赤外光を受光可能となるように、受光面が後側に向いている。印字ヘッド10が正規の位置にあるときにのみ、受光素子10cが発光素子211cの赤外光を受光できるように、受光素子10cの高さが設定されている。発光素子211cの赤外光は広範囲に拡散しないように指向性を狭めておくとともに、受光素子10cの指向性も狭めておくことで、印字ヘッド10が正規の位置にあるときにのみ、受光素子10cが発光素子211cの赤外光を受光可能になる。この通信の成立可否に基づいて、印字ヘッド1が洗浄載置部200に載置されているか否か、正規の位置に載置されているか否かを検知できる。受光素子10cは、コントローラ100の制御部101に接続されており、制御部101に信号を出力するように構成されている。印字ヘッド1が洗浄載置部200に載置されているか否か、正規の位置に載置されているか否かの判定は、通信の成立可否に基づいて、制御部101が行うようにしてもよい。なお、筐体10には、発光素子211cの赤外光を透過させる窓部10dが設けられている。
発光素子211c及び受光素子10cの位置は、図示した位置に限られるものではなく、印字ヘッド1が正規の位置に載置された状態でのみ、発光素子211cから照射された赤外光を受光素子10cが受光できる位置関係であればよい。同様に、磁石211a及び磁気センサ10bの位置は、図示した位置に限られるものではなく、印字ヘッド1が正規の位置に載置された状態でのみ、磁気センサ10bが磁力検知信号を出力する位置関係であればよい。
上述したように、洗浄載置部200に印字ヘッド1が載置されなければ磁気センサ10bが磁力検知信号を出力しないので、磁気センサ10bは、洗浄載置部200に印字ヘッド1が載置されたことを検知する載置検知部に相当するものである。また、洗浄載置部200に対して印字ヘッド1が正規の位置に載置されていなければ磁気センサ10bが磁力検知信号を出力しないので、磁気センサ10bは、洗浄載置部200に対して印字ヘッド1が正規の位置に載置したことを検知することもできる。磁力検知信号は、印字ヘッド1の載置確認に基づく信号である。
また、洗浄載置部200に印字ヘッド1が載置されなければ受光素子10cが発光素子211cから照射された赤外光を受光することができないので、受光素子10cは、洗浄載置部200に印字ヘッド1が載置されたことを検知する載置検知部に相当するものである。また、洗浄載置部200に対して印字ヘッド1が正規の位置に載置されていなければ受光素子10cが発光素子211cから照射された赤外光を受光することができないので、受光素子10cは、洗浄載置部200に対して印字ヘッド1が正規の位置に載置したことを検知することもできる。また、発光素子211cと受光素子10cとが赤外線通信を行うことができなければ印字ヘッド1が載置されていないと推定できるので、制御部101は、受光素子10cの出力に基づいて、赤外線通信が可能な状態であるときには洗浄載置部200に印字ヘッド1が載置されていると検知することができる。同様に、洗浄載置部200に対して印字ヘッド1が正規の位置に載置されていなければ、発光素子211cと受光素子10cとが赤外線通信を行うことができないので、制御部101は、受光素子10cの出力に基づいて、赤外線通信が可能な状態であるときには洗浄載置部200に対して印字ヘッド1が正規の位置に載置されていると検知することができる。受光素子10cで取得された赤外線通信の信号は、印字ヘッド1の載置確認に基づく信号である。
磁気センサ10bから出力される磁力検知信号及び受光素子10cで取得された赤外線通信の信号は、接続ケーブル107を介して印字ヘッド1からコントローラ100の制御部101に送られる。
載置検知部は、磁力検知信号や赤外線通信を利用したもの以外にも、例えば近接センサ、光電センサ、レーザセンサ等であってもよい。これらセンサを利用する場合、印字ヘッド1と洗浄載置部200との距離が所定距離以下となった場合に、印字ヘッド1が洗浄載置部200に対して載置した、または正規の位置に載置したことを検知できる。
この実施形態では、印字ヘッド1の載置確認に基づく信号として、磁力検知信号と赤外線通信との両方を出力可能構成しているが、これらのうち、一方のみ出力可能に構成してもよい。印字ヘッド1の載置確認に基づく信号を2種類以上出力することで、検知精度を向上させることができる。
図16に示すように、背板部211には、上下方向中間部から前側へ向けて延びる底壁部212と、底壁部212から上方へ延びる周壁部213とが設けられており、底壁部212と周壁部213とによってコップ形状をなしている。図24に仮想線で示すように、周壁部213内に、正規の位置に載置されている印字ヘッド1の下側が挿入されるようになっている。この状態で印字ヘッド1の上側は周壁部213の上端部から上方へ突出している。また、印字ヘッド1の吐出口A(図5に示す)から下方に離れた所に底壁部212が位置している。印字ヘッド1の洗浄時に使用された溶剤は、主に印字ヘッド1の吐出口Aから漏れ出すことになるが、この吐出口Aから漏れ出した溶剤を底壁部212と周壁部213とによって受けることができるようになっている。底壁部212と周壁部213とは、説明の上で区別して示しているが、これらの境界が区別不能に一体化した形状であってもよく、要するに、印字ヘッド1の下側を収容可能な有底筒状に形成されていればよい。
<回収容器300の取り付け構造>
図16に示すように、底壁部212には、印字ヘッド1の洗浄剤を回収するための回収容器300が取り付けられるようになっている。回収容器300は、例えば樹脂製ボトル等で構成することができ、内部の洗浄液量を外部から把握可能な透光性を有するものや、目盛りの付いたものを使用することができる。図21に示す変形例のように、回収容器300を底壁部212に直接取り付けることなく、例えばホースや配管部材等からなる管350を底壁部212に取り付け、この管350を介して洗浄液を別の回収容器(図示せず)に回収するようにしてもよい。この場合、回収容器は、コントローラ100に設けておくことができる。管350は回収容器の一部を構成する部材であってもよいし、洗浄載置部200の一部を構成する部材であってもよい。回収容器300の底壁部212への取付構造と、管350の底壁部212への取付構造とは、異なっていてもよいし、同じにすることもできる。以下、回収容器300の底壁部212への取付構造について詳細に説明する。
図22に示すように、回収容器300の上部には、円筒状の口部301が設けられている。口部301の外周面にはネジ山301aが形成されている。口部301の外周面には、ネジ山301aの下側にフランジ部301bが形成されている。回収容器300は、洗浄載置部200の一部を構成する部材とすることができる。
図24に示すように、底壁部212には、下方へ突出する筒状部212aが形成されている。筒状部212aの外径は、回収容器300の口部301の内径よりも小さく設定されている。筒状部212aの下端部は、図26に示すように回収容器300が底壁部212に取り付けられた状態で回収容器300の内部に挿入され、口部301の下端部よりも下に達するようになっている。
図24に示すように、筒状部212a内には、印字ヘッド1の洗浄液が通過する通過孔212bが上下方向に延びるように形成されている。通過孔212bの上端部は、底壁部212の上面において前寄りの部分に開口している。また、通過孔212bの下端部は、筒状部212aの下端部において開口している。
図25にも示すように、底壁部212の上面には、導電性を有する金属製の板材からなる受け部材214が設けられている。受け部材214は、印字ヘッド1から漏れ出すインクを受ける部材であり等電位線と接続されている。印字ヘッド1から漏れ出すインクは、上記帯電電極13や偏向電極15により帯電していることがある。帯電したインクが受け部材214に触れると、インクの電荷を逃がすことができ、これにより、電荷の蓄積を抑制することができる。
受け部材214は、印字ヘッド1の吐出孔Aと対向するように配置されている。図24に示すように、受け部材214は、前側へ行くほど下に位置するように傾斜している。これにより、受け部材214で受けた洗浄液を受け部材214によって底壁部212の前側へ向けて案内して通過孔212bの上端開口部へ向けて流すことができる。
受け部材214の前端部及び前後方向の中間部には、上方へ突出する突出板部214aが形成されている。受け部材214には、開口部214bも形成されている。突出板部214aや開口部214bは、必須なものではない。
底壁部212の下面には、取付筒部215が下方へ突出するように形成されている。取付筒部215は、筒状部212aを囲むように、当該筒状部212aよりも大径となっている。取付筒部215の下端部は、筒状部212aの下端部よりも上に位置している。取付筒部215の内周面には、ネジ溝215aが形成されている。ネジ溝215aには、回収容器300のネジ山301aが螺合するようになっている。ネジ溝215aに回収容器300のネジ山301aを螺合させることにより、回収容器300を底壁部212に対して液漏れすることなく、取り付けることができる。図26に示すように、回収容器300の取付状態では、口部301が取付筒部215内に入り込むとともに、筒状部212aの下端部が回収容器300内に配置される。なお、図21に示す管350の場合もネジによって取り付けることができる。
図16や図22に示すように、洗浄載置部200は、容器ホルダ220を備えている。容器ホルダ220は、本体部210の背板部211における底壁部212よりも下側部分に対して上下方向にスライド可能に取り付けられている。容器ホルダ220は、前方へ突出するように設けられた左右一対の係合突出部221、221を有している。係合突出部221、221間には、回収容器300の口部301を横方向に差し込むことが可能な隙間が形成されている。係合突出部221、221の左右方向の離間距離は、口部301のフランジ部301bの外径寸法よりも短く設定されており、回収容器300の口部301を係合突出部221、221間に横方向(図22に矢印Xで示す方向)から差し込むことにより、口部301のフランジ部301bを係合突出部221、221に対して上方から引っ掛けて保持することができるようになっている。
容器ホルダ220は、図22~図24に示す非装着位置と、図15、図16、図26等に示す装着完了位置とに切り替えることができるようになっている。容器ホルダ220は、周知のロック機構やストッパ等により、非装着位置から下方へ移動しないように停止させておくことができ、ユーザが非装着位置から装着完了位置に容易に切り替えることができる。洗浄載置部200は、容器ホルダ220を下方へ付勢するバネ等の付勢部材を備えていてもよい。
非装着位置は、容器ホルダ220の下降端位置であり、回収容器300を洗浄載置部200から取り外した位置である。非装着位置では、回収容器300の口部301を係合突出部221、221の間に差し込むこと、及び、係合突出部221、221の間に差し込んだ口部301を取り出すことが可能になっている。非装着位置にある容器ホルダ220を上方向、即ち縦方向に移動させていくことにより、装着完了位置に切り替えることができる。この装着完了位置では、容器ホルダ220が上昇端位置にあり、回収容器300の口部301を係合突出部221、221の間に差し込むことができなくなる。装着完了位置にある容器ホルダ220に保持されている回収容器300の口部301は取付筒部215に差し込まれるので、回収容器300を横方向に移動させることができなくなっている。
容器ホルダ220を保持した状態の容器ホルダ220を装着位置にした後、回収容器300を、口部301のネジ山301aが取付筒部215のネジ溝215aに螺合する方向に回転させることで、ネジ山301aをネジ溝215aに螺合させて回収容器300を底壁部212に取り付けることができる。ネジ山301aをネジ溝215aに螺合させる過程で、回収容器300が上方へ徐々に移動していくが、この回収容器300の上方へ移動に伴って容器ホルダ220が当該回収容器300によって上方へ押し上げられ、図26に示す装着完了位置になる。この状態で、底壁部212に形成されている通過孔212bの下端開口が回収容器300内に臨むように配置されるので、印字ヘッド1から漏れ出した洗浄液の全量を回収容器300で回収することが可能になる。
回収容器300を取り外す際には、取付時とは反対方向に回収容器300を回転させて口部301を取付筒部215から離脱させる。その後、容器ホルダ220を非装着位置に切り替えてから回収容器300を横方向に移動させて口部301を係合突出部221、221の間から抜くことができる。
回収容器300の取付構造は上述した構造に限られるものではなく、例えば回収容器300の口部301を取付筒部215に圧入する構造であってもよい。図21に示す管350の場合も取付筒部215に圧入する構造であってもよい。また、容器ホルダ220は、回収容器300に取り付けるようにし、本体部210によって案内される構成のものであってもよい。また、容器ホルダ220を省略してもよい。
<容器検知センサ235>
図24に示すように、洗浄載置部200は、回収容器300が取り付けられたことを検知する容器検知部としての容器検知センサ235を備えている。容器検知センサ235は、非接触の磁気センサを用いることができ、例えばホール素子等で構成することができる。すなわち、容器ホルダ220には、磁石231が設けられている。磁石231は、磁力が上方へ作用するように配置されている。一方、容器検知センサ235は、例えば底壁部212の内部に設けられており、磁石231の真上に配置されている。容器ホルダ220が非装着位置にあるときには、磁石231と容器検知センサ235とが最も離れることになり、磁石231の磁力を容器検知センサ235で検知することができず、容器検知センサ235は磁力検知信号を出力しない。図26に示すように、口部301のネジ山301aを取付筒部215のネジ溝215aに螺合させ、容器ホルダ220が装着完了位置にあるときには、容器ホルダ220が装着完了位置になるので、磁石231と容器検知センサ235とが最も接近することになる。このときにのみ、容器検知センサ235が磁力検知信号を出力するように構成されている。つまり、回収容器300が容器ホルダ220に保持されていたとしても、口部301が取付筒部215に接続されていないと、容器検知センサ235が磁力検知信号を出力しないように構成されている。容器検知センサ235は、コントローラ100の制御部101に接続されており、制御部101に信号を出力するように構成されている。
図示しないが、磁石は、回収容器300に設けてもよい。この場合も回収容器300が装着完了位置になったときにのみ、容器検知センサ235がONになるので、回収容器300が取り付けられたことを容器検知センサ235で検知できる。容器ホルダ220を省略する場合には、磁石を回収容器300に設けることで回収容器300が取り付けられたことを検知できる。
容器検知部は、磁力検知信号を利用したもの以外にも、例えば近接センサ、光電センサ、レーザセンサ、上述した赤外線通信を利用したもの等であってもよい。近接センサ、光電センサ、レーザセンサを利用する場合、回収容器300と底壁部212との距離が所定距離以下となった場合に、回収容器300が底壁部212に対して取り付けられたことを検知できる。赤外線通信の場合、回収容器300と底壁部212の一方に発光素子を設け、他方に受光素子を設けておき、発光素子と受光素子との通信可否に基づいて、回収容器300が底壁部212に対して取り付けられたこと判定できる。
容器ホルダ200を下方へ付勢する付勢部材を備えている場合には、回収容器300が取り付けられていない状態で容器ホルダ200だけが上昇端位置に配置されてしまうのを防止することができる。これにより、容器検知センサ235による誤検知を防止できる。
<液量センサ240>
図23及び図27に示すように、洗浄載置部200は、回収容器300内の液量を検知する液量センサ240を備えている。液量センサ240は、2本の電極を備えている。これら電極は、底壁部212の下面から下方へ突出しており、取付状態にある回収容器300の口部301から当該口部301よりも下に達するように形成されている。液量センサ240による測定原理は、インクを含んだ洗浄液が導体であることを利用したものであり、2本の電極間のインピーダンスを測定し、そのインピーダンス変化に基づいて液量が所定以上であるか否かを検知することができる。例えば、洗浄液の液面が回収容器300内の口部301近傍に達したときに、当該洗浄液に接触するように両電極の下端部の位置を設定しておくことができる。この場合、2本の電極間のインピーダンスが急に変化した場合には、洗浄液が満量にあるということであり、満量を検知するセンサとして液量センサ240を利用することができる。また、液量センサ240は、洗浄液が溢れる直前の状態を検知する溢れ検知センサと呼ぶこともできる。液量センサ240は、コントローラ100の制御部101に接続されており、制御部101に信号を出力するように構成されている。
純粋な洗浄液が非導体である場合には、洗浄動作前に少量のインクをノズル12から吐出させる制御を行うことにより、回収容器300内の洗浄液にインクを必ず含ませることができる。これにより、上述した検知手法を利用することができる。
液量センサ240の構成は上述した構成に限られるものではなく、回収容器300内の洗浄液の液面の高さ、回収容器300内の洗浄液の量や重さを直接または間接的に取得できるセンサであれば、どのようなセンサであってもよい。洗浄液の液面の高さを取得するセンサの一例としては、例えば変位センサ等がある。変位センサで液量を検知する場合、回収容器300の有無を当該変位センサによって検知することもできる。
また、液量センサ240は、例えばフロートセンサ、静電容量式レベルセンサ、光電センサ等であってもよい。
<メンテナンス実行処理>
図28は、メンテナンスを実行する際に行われる処理を例示するフローチャートである。メンテナンスとは、例えば洗浄動作である。以下の判定や制御は、コントローラ100の制御部101によって行うことができる。ユーザが印字ヘッド1を洗浄載置部200にセットすると、ステップSE1で印字ヘッド1が洗浄載置部200に対して正規の位置に載置されたか否かを判定する。この判定には、磁気センサ10bの出力信号を用いることができる。磁気センサ10bから磁力検知信号が出力されていれば、印字ヘッド1が洗浄載置部200の正規の位置に載置されているのでYESと判定する一方、磁気センサ10bから磁力検知信号が出力されていなければ、印字ヘッド1が洗浄載置部200の正規の位置に載置されていないのでNOと判定される。ステップSE1では、発光素子211cと受光素子10cとの赤外線通信が成立した否かに基づいて判定することもでき、この場合、発光素子211cと受光素子10cとの赤外線通信が成立すればYESと判定する一方、発光素子211cと受光素子10cとの赤外線通信が成立しなければNOと判定する。また、ステップSE1では、磁気センサ10bの信号と、赤外線通信との2つに基づいて判定することもでき、磁気センサ10bから磁力検知信号が出力されていないか、赤外線通信が成立していなければ、NOと判定する。ステップSE1でYESと判定された場合にはステップSE4に進む。
一方、ステップSE1でNOと判定されてステップSE2に進むと、印字ヘッド1を正規の位置に載置するようにメッセージを出す。メッセージは、例えば図2に示す表示部103aに表示させることができる。これにより、ユーザに印字ヘッド1の位置確認を促すことができる。その後、ステップSE3に進み、ステップSE1と同様な判定を行い、NOと判定された場合にはステップSE2に進んで再度メッセージを出す。ステップSE3でYESと判定されて印字ヘッド1が正規の位置に載置されると、ステップSE4に進む。
ステップSE4では、容器検知センサ235がONであるか否か、即ち、回収容器300が取り付けられているか否かを判定する。回収容器300が取り付けられると、容器検知センサ235が磁力検知信号を出力する(容器検知センサ235がONになる)ので、この場合には、YESと判定とされてステップSE7に進む。一方、回収容器300が取り付けられていない場合には、ステップSE4でNOと判定されてステップSE5に進み、回収容器300を取り付けるようにメッセージを出す。メッセージは、例えば図2に示す表示部103aに表示させることができる。これにより、ユーザに回収容器300を取り付けるように促すことができる。その後、ステップSE6に進み、ステップSE4と同様な判定を行い、NOと判定された場合にはステップSE5に進んで再度メッセージを出す。ステップSE6でYESと判定されて回収容器300が取り付けられると、ステップSE7に進む。
ステップSE7では、液量センサがONであるか否か、即ち、回収容器300が満量または満量に近い状態であるか否かを判定する。回収容器300が満量または満量に近い状態でない場合には、液量センサ240がOFFになるので、この場合には、YESと判定とされてステップSE10に進む。一方、回収容器300が満量または満量に近い状態である場合には、ステップSE7でNOと判定されてステップSE8に進み、回収容器300内の洗浄液を廃棄するようにメッセージを出す。メッセージは、例えば図2に示す表示部103aに表示させることができる。これにより、ユーザに回収容器300内の廃液を促すことができる。その後、ステップSE9に進み、ステップSE7と同様な判定を行い、NOと判定された場合にはステップSE8に進んで再度メッセージを出す。ステップSE9でYESと判定されて廃液されると、ステップSE10に進む。ステップSE10では、洗浄動作の許可信号を出力して各種メンテナンスを実行可能にする。
この例では、コントローラ100の洗浄動作部101aは、ステップSE1またSE3において、載置検知部である磁気センサ10bから送られた印字ヘッド1の載置確認に基づく信号(磁力検知信号)を受信した場合に、洗浄載置部200に載置された印字ヘッド1の洗浄動作を行い、それ以外の場合には洗浄動作を禁止する。また、コントローラ100の洗浄動作部101aは、ステップSE1またSE3において、受光素子10cで取得された赤外線通信の信号(印字ヘッド1の載置確認に基づく信号)を受信した場合に、洗浄載置部200に載置された印字ヘッド1の洗浄動作を行い、それ以外の場合には洗浄動作を禁止する。つまり、ステップSE1またはSE3では、洗浄動作部101aが印字ヘッド1の載置確認に基づく信号を受信していない時には、印字ヘッド1の洗浄動作を禁止することができる。
<接続確認処理>
上述した図28に示すフローチャートの処理では、印字ヘッド1の載置確認に基づく信号を受信すれば、回収容器300の検知及び液量検知を行い、それらが問題なければ、洗浄動作部101aが印字ヘッド1の洗浄動作を行うことになる。自動印字システムSが1台のみ導入されている現場であれば、洗浄載置台200に載置される印字ヘッド1はその自動印字システムSのものであるため、図28に示すフローチャートの処理で特に問題は生じない。
しかし、図29に示すように、複数台の自動印字システムSが1つの現場に導入されている場合がある。この例では、第1のコントローラA、第1の印字ヘッドA及び第1の洗浄載置部Aで1つの自動印字システムSが構成され、第2のコントローラB、第2の印字ヘッドB及び第2の洗浄載置部Bで別の自動印字システムSが構成されている。第1及び第2の印字ヘッドA、Bの構造及び形状は同じで、第1及び第2の洗浄載置部A、Bの構造及び形状も同じであるため、図29に示すように、ユーザが第1のコントローラAに接続された第1の印字ヘッドAを洗浄するために第1の洗浄載置部Aに載置したつもりが、誤って、第2のコントローラBに接続された第2の印字ヘッドBを第1の洗浄部Aに載置した場合、第1の印字ヘッドAが洗浄載置部A、Bのいずれにも載置されていない状態になる。この状態で自動洗浄が行われると、第1の印字ヘッドAから漏れ出した洗浄液を受ける物がないので、洗浄液が周囲環境を汚染したり、揮発して好ましくない環境になり得るおそれがある。つまり、図28に示すフローチャートの処理では、誤った載置がなされた場合であるにも関わらず、印字ヘッド1の洗浄が行われてしまう可能性がある。
この場合、図30に示すフローチャートの処理を行うことができる。ステップSF1では、印字ヘッド1の洗浄載置部200への載置を検知する。これは磁気センサ10bから出力される磁力検知信号または受光素子10cで取得された赤外線通信の信号に基づいて検知できる。その後、ステップSF2では、コントローラ100の洗浄動作部101aが、印字ヘッド1が載置されていることを確認する。
ステップSF3では、コントローラ100が有する識別情報であるシリアルNo.を洗浄載置部200に送信する。コントローラ100が有する識別情報は、シリアルNo.に限られるものではなく、コントローラ100に固有の情報とすることができ、例えば数字、文字、記号等で構成することができ、数字、文字、記号等のうち、任意の1つのみで構成されていてもよいし、任意の2つ以上を組み合わせて構成されていてもよい。コントローラ100が有する識別情報は、乱数であってもよい。
ステップSF4では、コントローラ100から送信されたシリアルNo.を洗浄載置部200が受信する。ステップSF5では、洗浄載置部200がコントローラ100から送信されたシリアルNo.を印字ヘッド1に送信する。このとき、発光素子211cと受光素子10cによる赤外線通信によって送信することができる。ステップSF6では、洗浄載置部200から送信されたコントローラ100のシリアルNo.を印字ヘッド1が受信する。ステップSF7では洗浄載置部200から送信されたコントローラ100のシリアルNo.をコントローラ100に送信する。ステップSF8では、印字ヘッド1から送信されたシリアルNo.をコントローラ100が受信する。ステップSF9では、コントローラ100の制御部101は、印字ヘッド1から送信されたコントローラ100のシリアルNo.が、ステップSF3でコントローラ100が送信したシリアルNo.と一致しているか否かを判定する。この処理は、洗浄載置部200に載置された印字ヘッド1がコントローラ100に接続されたものであるか否かの認証処理である。両者が一致していないということは、このコントローラ100に接続された印字ヘッド1ではないということなので、以下の処理には進まず、ステップSF3に戻り、ステップSF3~SF9の処理を繰り返す。所定回数繰り返してもステップSF9で不一致と判定される場合には、このフローを中断してユーザに報知するか、エラー表示を行う。
一方、ステップSF9において、印字ヘッド1から送信されたコントローラ100のシリアルNo.が、ステップSF3でコントローラ100が送信したシリアルNo.と一致していると判定された場合には、ステップSF10に進む。ステップSF10では、センサ状態の出力要求を洗浄載置部200に対して行う。ステップSF11では、洗浄載置部200がセンサ状態、即ち、容器検知センサ235及び液量センサ240の状態をコントローラ100の洗浄動作部101aに送信する。ステップSF12では洗浄動作部101aがセンサ状態を受信する。ステップSF13では、メンテナンスが実行可能か否かを確認する。
確認時のフローチャートは図31に示す。センサ状態の確認開始後、ステップSG1では、磁気センサ10bの状態を確認する。磁気センサ10bがON、即ち磁力検知信号を出力していればステップSG2に進む一方、磁気センサ10bがOFF、即ち磁力検知信号を出力していなければステップSG4に進む。磁気センサ10bの代わりに、受光素子10cで取得された赤外線通信の信号を用いることができる。
ステップSG2では、容器検知センサ235の状態を確認する。容器検知センサ235がON、即ち回収容器300が取り付けられていればステップSG3に進む一方、容器検知センサ235がOFF、即ち回収容器300が取り付けられていなければステップSG4に進む。ステップSG3では、液量センサ240の状態を確認する。液量センサ240がOFF、即ち回収容器300内の洗浄剤の量が満量よりも少なければ、始めのステップに戻ってメンテナンス実行可能とする一方、液量センサ240がON、即ち回収容器300内の洗浄剤の量が満量であれば、ステップSG4に進む。ステップSG4では、メンテナンスを禁止するので、洗浄動作部101aが洗浄動作を許可しない。ステップSG4に進まない限りは、洗浄動作部101aが洗浄動作を許可する。したがって、図30に示すフローチャートのステップSF13において「可能」と判定されてステップSF14に進む。図31に示すフローチャートのステップSG4に進むと、図30に示すフローチャートのステップSF13で「不可能」と判定されてステップSF10に戻る。
ステップSF14では洗浄動作部101aがメンテナンスを実行する。具体的には、コントローラ100の溶剤ポンプP2を作動させるとともに、溶剤噴射バルブを開く。洗浄動作中は、図31に示すフローチャートが繰り返し実行されており、ステップSG4に進んだ時点で洗浄動作部101aは洗浄動作を中断する。
印字ヘッド1は、ステップSF1で印字ヘッド1の載置確認に基づく信号を送り、ステップSF7で信号ラインを介して予め取得したコントローラ100の識別情報を、コントローラ100に送るように構成されている。従って、印字ヘッド1が載置されただけでは洗浄動作が実行されることはなく、ステップSF9でコントローラ100の識別情報が一致しなければ洗浄動作が実行されない。例えば、図29に示すように第2の印字ヘッドBが第1の洗浄載置部Aに載置されている場合には、第1のコントローラAから送信された識別情報は第2のコントローラBが受信することになり、その結果、第1のコントローラAには送信されないので、第1のコントローラAが洗浄動作を行うことはない。よって、第1の印字ヘッドAから洗浄液が漏れ出さないようにすることができる。
また、ステップSF1で印字ヘッド1の載置確認に基づく信号を送る際に、印字ヘッド1の識別情報もコントローラ100へ送るように構成することもできる。コントローラ100に接続されている印字ヘッド1に固有の識別番号等からなる識別情報を付与している場合に、印字ヘッド1の識別情報をコントローラ100で確認することで、当該コントローラ100に接続されている印字ヘッド1であるか否かを確認することができる。印字ヘッド1の載置確認が行われ、かつ、当該コントローラ100に接続されている印字ヘッド1であると確認された場合に、印字ヘッド1の洗浄動作を許可するように、洗浄動作部101aを構成することができる。
<変形例1>
図32は、実施形態の変形例1に係る簡易ブロック図である。変形例1では、印字ヘッド1に、磁石10e及び発光素子10fを設けており、発光素子10fはコントローラ100の制御部101によって制御される。載置洗浄部200には、磁気センサ200a及び受光素子200bを設けている。印字ヘッド1の磁石10eの磁力を載置洗浄部200の磁気センサ200aが検知可能になっている。印字ヘッド1の発光素子10fが照射した赤外光を載置洗浄部200の受光素子200bが受光可能になっている。磁気センサ200a及び受光素子200bは、コントローラ100の制御部101に接続されている。この変形例1では、赤外線通信及び磁気センサ200aによる検知結果に基づいて印字ヘッド10の載置確認や正規の位置にあるか否かを正確に判定できる。
図33は、実施形態の変形例1に係る処理を例示するフローチャートである。ステップSH1では、洗浄載置部200が、印字ヘッド1の洗浄載置部200への載置を検知する。これは磁気センサ200aから出力された磁力検知信号または受光素子200bで取得された赤外線通信の信号に基づいて検知できる。その後、ステップSH2では、コントローラ100の洗浄動作部101aが、印字ヘッド1が載置されていることを確認する。
ステップSH3では、コントローラ100が有する識別情報であるシリアルNo.を印字ヘッド1に送信する。ステップSH4では、コントローラ100から送信されたシリアルNo.を印字ヘッド1が受信する。ステップSH5では、印字ヘッド1がコントローラ100から送信されたシリアルNo.を洗浄載置部200に送信する。このとき、発光素子10fと受光素子200bによる赤外線通信によって送信することができる。ステップSH6では、印字ヘッド1から送信されたコントローラ100のシリアルNo.を洗浄載置部200が受信する。ステップSH7では、印字ヘッド1から送信されたコントローラ100のシリアルNo.をコントローラ100に送信する。ステップSH8では、洗浄載置部200から送信されたシリアルNo.をコントローラ100が受信する。ステップSH9~SH16は、それぞれ図30に示すフローチャートのステップSF9~SF16と同じである。これにより、ステップSH9でシリアルNo.が一致しなければ洗浄動作が実行されないので、図29に示すような状態で第1の印字ヘッドAが洗浄されることはない。
<変形例2>
図34は、実施形態の変形例2に係る簡易ブロック図である。変形例2では、印字ヘッド1に、受光素子10cだけでなく発光素子10fを設けている。発光素子10fはコントローラ100の制御部101によって制御される。洗浄載置部200には、発光素子211cだけでなく、受光素子200bも設けられている。さらに、洗浄載置部200には、制御部200cが設けられている。制御部200cには、容器検知センサ235、液量センサ240、受光素子200b及び発光素子211cが接続されている。容器検知センサ235及び液量センサ240の検知結果と、受光素子200bが受信した情報とは、制御部200cで処理された後、発光素子211cによって印字ヘッド1側に送信されて、受光素子10cで受信される。印字ヘッド1で受信された情報は、コントローラ100の制御部101に送信される。この変形例2では、コントローラ100が洗浄載置部200に電力を供給するだけであり、コントローラ100と洗浄載置部200との直接の通信は行わない。洗浄載置部200にはバッテリが内蔵されていてもよい。
図35は、実施形態の変形例2に係る処理を例示するフローチャートである。ステップSI1では、印字ヘッド1の洗浄載置部200への載置を当該印字ヘッド1が検知する。これは磁気センサ10bから出力された磁力検知信号または受光素子10cで取得された赤外線通信の信号に基づいて検知できる。その後、ステップSI2では、コントローラ100の洗浄動作部101aが、印字ヘッド1が載置されていることを確認する。
ステップSI3では、センサ状態の出力要求を印字ヘッド1に対して行う。ステップSI4では、印字ヘッド1がセンサ状態の出力要求を洗浄載置部200に対して行う。ステップSI5では、印字ヘッド1から送信されたセンサ状態の出力要求を洗浄載置部200が受信する。ステップSI6では、洗浄載置部200が、容器検知センサ235及び液量センサ240の状態を印字ヘッド1に送信する。ステップSI7では、印字ヘッド1が洗浄載置部200から送信された容器検知センサ235及び液量センサ240の状態を受信する。
ステップSI8では、容器検知センサ235及び液量センサ240の状態を受信し、メンテナンスが実行可能か否かを確認する。「可能」であればステップSI9に進んだ後、ステップSI10、SI11に進み、洗浄動作を実行する。「不可能」であれば、ステップSI13に戻る。
この変形例2では、容器検知センサ235及び液量センサ240の状態を、印字ヘッド1を経由して取得することができるので、図29に示すような誤った載置であっても、器検知センサ235及び液量センサ240の状態に基づいて制御を行うことができ、安全性を担保できる。
<変形例3>
図36は、実施形態の変形例3に係る簡易ブロック図である。変形例3では、洗浄載置部200に、制御部200cが設けられている。制御部200cには、磁気センサ211a、容器検知センサ235、液量センサ240及び発光素子211cが接続されている。磁気センサ211a、容器検知センサ235及び液量センサ240の検知結果は、制御部200cで処理された後、発光素子211cによって印字ヘッド1側に送信されて、受光素子10cで受信される。印字ヘッド1で受信された情報は、コントローラ100の制御部101に送信される。この変形例3では、コントローラ100が洗浄載置部200に電力を供給するだけであり、コントローラ100と洗浄載置部200との直接の通信は行わない。
図37は、実施形態の変形例3に係る処理を例示するフローチャートである。ステップSJ1では、洗浄載置部200が、印字ヘッド1の洗浄載置部200への載置を検知する。これは磁気センサ211aから出力された磁力検知信号に基づいて検知できる。その後、ステップSJ2では、洗浄載置部200が容器検知センサ235及び液量センサ240の状態を印字ヘッド1に対して送信する。ステップSJ3では、洗浄載置部200から送信されたセンサ状態を印字ヘッド1がコントローラ100に送信する。
ステップSJ4では、容器検知センサ235及び液量センサ240の状態を受信し、メンテナンスが実行可能か否かを確認する。「可能」であればステップSJ5に進んだ後、ステップSJ6、SJ7に進み、洗浄動作を実行する。「不可能」であれば、このフローを終了する。
変形例3では、コントローラ100からのコマンドレスポンス方式ではなく、洗浄載置部200が載置検知すると、センサ状態を一方向的に出力する。これにより、赤外線通信部を一方向通信で構成すればよいので、発光素子及び受光素子の個数を削減できる。
<変形例4>
図38は、実施形態の変形例4に係る簡易ブロック図である。変形例4では、洗浄載置部200に、洗浄剤ノズル200d及び洗浄剤ポンプP5を設けるとともに、制御部200cも設けている。洗浄剤ポンプP5には、図示しない洗浄剤タンクまたは洗浄剤カートリッジが接続されている。制御部200cには、磁気センサ211a、容器検知センサ235、液量センサ240及び発光素子211cが接続されている。磁気センサ211a、容器検知センサ235及び液量センサ240の検知結果は、制御部200cで処理され、制御部200cが洗浄剤ノズル200dの電磁弁(洗浄剤噴射バルブ)及び洗浄剤ポンプP5を制御して、洗浄動作を実行することができる。洗浄剤ノズル200dは、図24に示す洗浄剤ノズル360のように配設することができる。この変形例4では、洗浄剤としてコントローラ100内の溶剤を利用しなくてもよいので、水や水溶性洗浄剤を使用することができる。
図39は、実施形態の変形例3に係る処理を例示するフローチャートである。ステップSK1では、洗浄載置部200が、印字ヘッド1の洗浄載置部200への載置を検知する。これは磁気センサ211aから出力された磁力検知信号に基づいて検知できる。その後、ステップSK2では、コントローラ100の洗浄動作部101aが、印字ヘッド1が載置されていることを確認する。
ステップSK3では、コントローラ100が有する識別情報であるシリアルNo.を洗浄載置部200に送信する。ステップSK4では、コントローラ100から送信されたシリアルNo.を洗浄載置部200が受信する。ステップSK5では、洗浄載置部200がコントローラ100から送信されたシリアルNo.を印字ヘッド1に送信する。ステップSK6では、洗浄載置部200から送信されたコントローラ100のシリアルNo.を印字ヘッド1が受信する。ステップSK7では、浄載置部200から送信されたコントローラ100のシリアルNo.をコントローラ100に送信する。ステップSK8では、印字ヘッド1から送信されたシリアルNo.をコントローラ100が受信する。ステップSK9では、印字ヘッド1から送信されたコントローラ100のシリアルNo.が、ステップSK3でコントローラ100が送信したシリアルNo.と一致しているか否かを判定する。両者が一致していない場合には、ステップSK3に戻る。
一方、ステップSK9において、印字ヘッド1から送信されたコントローラ100のシリアルNo.が、ステップSK3でコントローラ100が送信したシリアルNo.と一致していると判定された場合には、ステップSK10に進む。ステップSK10では、メンテナンス実行要求を洗浄載置部200に送信する。ステップSK11では、容器検知センサ235及び液量センサ240の状態を制御部200cに送信する。ステップSK12では、制御部200cが、容器検知センサ235及び液量センサ240の状態に基づいてメンテナンスを実行可能か否か判定する。「不可能」である場合には、ステップSK10に戻る。「可能」である場合には、ステップSK13に進んだ後、ステップSK14でポンプP5を作動させ、ステップSK15で洗浄剤噴射バルブを開く。
<変形例5>
図40は、実施形態の変形例5に係る簡易ブロック図である。変形例5では、印字ヘッド1がAND回路を有しており、AND回路によって洗浄ノズル19の電磁弁を制御することができるようになっている。AND回路には、制御部101からの制御信号が入力されるとともに、磁気センサ10bの出力信号が入力されるようになっている。制御部101からの制御信号が洗浄動作許可信号であり、かつ、磁気センサ10bの磁力検知信号が入力されると、洗浄ノズル19の電磁弁を閉から開に切り替えて洗浄動作を行うことができる。
図41は、実施形態の変形例3に係る処理を例示するフローチャートである。ステップSL1では、コントローラ100がシリアルNo.を洗浄載置部200に送信する。ステップSL2では、コントローラ100から送信されたシリアルNo.を洗浄載置部200が受信する。ステップSL3は、コントローラ100から受信したシリアルNo.を洗浄載置部200が印字ヘッド1に送信する。ステップSL4では、洗浄載置部200から送信されたシリアルNo.を印字ヘッド1が受信する。ステップSL5では、洗浄載置部200から受信したシリアルNo.を印字ヘッド1がコントローラ100に送信する。ステップSL6では、印字ヘッド1から送信されたシリアルNo.をコントローラ100が受信する。
ステップSL7では、印字ヘッド1から送信されたコントローラ100のシリアルNo.が、ステップSL1でコントローラ100が送信したシリアルNo.と一致しているか否かを判定する。両者が一致していない場合には、ステップSL1に戻る。一致していれば、ステップSL8に進み、センサ状態の出力要求を洗浄載置部200に対して行う。ステップSL9では、洗浄載置部200が容器検知センサ235及び液量センサ240の状態をコントローラ100に送信する。ステップSL10では、容器検知センサ235及び液量センサ240の状態を受信し、ステップSL11では、メンテナンスが実行可能か否かを確認する。「不可能」であればステップSL8に進み、「可能」であればステップSL12に進んでメンテナンスを実行する。この場合、ステップSL14でポンプを作動させる。一方、印字ヘッド1は、磁気センサ10bの出力信号に基づいて印字ヘッド1の載置検知の結果を取得し、この載置検知の信号と、メンテナンス実行許可信号とのAND条件が成立した場合にのみ、ステップSL15に進んで溶剤噴射バルブを開く。
この変形例5では、容器検知センサ235、液量センサ240及び載置検知の信号のANDをもってバルブを制御することができ、制御部101には、載置検知の信号が伝達されない。この変形例5の洗浄制御部は、印字ヘッド1のAND回路を含むように構成することができる。
<スリープモード>
この実施形態では、自動印字システムSの稼働停止期間が長期間に亘る場合に、インクの固着による不具合を起こりにくくするために自動洗浄を定期的に行うスリープモードを実行可能に構成されている。図2に示すように、コントローラ100の制御部101は、モード動作部101bを備えている。モード動作部101bは、載置検知部(磁気センサ10bや受光素子10c等)により印字ヘッド1が洗浄載置部200に載置されたことを検知した場合に、外部電力が供給されたインクジェット記録装置Iの稼働停止中に所定間隔で自動的に印字ヘッド1の洗浄動作を行うためのスリープモードを動作させる部分である。スリープモードを動作させるためには、図2に示すように例えば商用電源700等からインクジェット記録装置Iに電力を供給しておく。
図42は、スリープモードの動作の一例を示すフローチャートである。立下げ後に、印字ヘッド1を洗浄載置部200に載置されていることを検知すると、このフローが開始される。フローが開始されると、モード動作部101bは、図43に示すメンテナンス用ユーザインターフェース400を生成し、図2に示す表示部103aに表示させる。メンテナンス開始ユーザインターフェース400には、スリープモードを開始する際に操作する開始ボタン400aと、スリープモードに関する説明文や説明図を表示する表示領域400bとが設けられている。図42のステップSM1において開始ボタン400aが押されると、モード動作部101bがそのことを検知し、スリープモードを動作させる。また、モード動作部101bは、図44に示す状態表示ユーザインターフェース401を生成し、図2に示す表示部103aに表示させる。状態表示ユーザインターフェース401には、スリープモードを解除(終了)する際に操作する解除ボタン401aと、インク残量等を表示する状態表示領域401bと、説明文や説明図を表示する表示領域401cとが設けられている。スリープモード中は、状態表示ユーザインターフェース401を表示させておくことができる。
図42のステップSM2では、数週間から数ヶ月以上に亘って長期間放置された場合を示している。この間に、洗浄動作部101aは、インクジェット記録装置Iを自動的に立ち上げて溶剤供給部105によって溶剤をノズル12に供給して当該ノズル12から吐出させる洗浄動作を行う。洗浄動作は、溶剤をノズル12に供給して当該ノズル12から吐出させる洗浄動作以外にも、例えば、溶剤を洗浄ノズル19から噴射する洗浄動作であってもよいし、インクをインク供給部104からノズルに供給して当該ノズルから吐出させる洗浄動作であってもよい。これら複数の洗浄動作のうち、2以上を行うようにすることもできる。洗浄用のノズルは洗浄ノズル19に限られるものではなく、例えば図24に仮想線で示すように、洗浄載置部200に設けられた洗浄剤ノズル360であってもよい。洗浄剤ノズル360には、コントローラ100から洗浄ノズル19と同様に洗浄剤を供給することができる。洗浄剤ノズル360は、ノズル12や帯電電極13等に洗浄剤を噴射することができる。
図2に示すように、コントローラ100の制御部101は、インクジェット記録装置Iがスリープモード動作中である時間を計測する時間計測部101cを備えている。この時間計測部101cは、いわゆるタイマーであり、図43に示すメンテナンス用ユーザインターフェース400の開始ボタン400aが押された時から計時を開始するように構成することができ、また、モード動作部101bがスリープモードを動作させた時から計時を開始するように構成することができる。
洗浄動作部101aは、モード動作部101bがスリープモードを動作させたことを検知したとき、時間計測部101cにより計測されたスリープモード動作中の時間を取得する。時間計測部101cにより計測されたスリープモード動作中の時間が所定時間に達した場合、洗浄動作部101aが洗浄動作を行う。
図42に示すステップSM3において、図44に示す状態表示ユーザインターフェース401の解除ボタン401aが押されると、モード動作部101bがそのことを検知し、スリープモードを解除する。制御部101は、モード動作部101bがスリープモードを解除したことを検知すると、ステップSM4の立上処理を実行し、その後、ステップSM5の印字処理を実行する。
上記の例では、洗浄載置部200側の異常を確認することなく、スリープモードを動作させた場合について説明したが、これに限らず、洗浄載置部200側の異常を確認しながらスリープモードを動作させることもできる。
図45は、洗浄載置部200側の異常を確認しながらスリープモードを動作させる場合のフローチャートである。ステップSN1において図43に示す開始ボタン400aが押されると、モード動作部101bがそのことを検知し、スリープモードを動作させる。ステップSN2では、時間計測部101cが計時を開始するとともに、インクジェット記録装置Iが立下げられた日時に「7日」を加える処理を行う。この「7日」は、洗浄動作が必要であると判断される期間であり、「7日」に限られるものではない。日数の代わりに時間を加える処理を行ってもよい。
ステップSN3で待った後、ステップSN4に進み、所定時間(この例では上記7日間)経過したか否かを判定する。ステップSN4でNOと判定されて7日間経過していない場合にはステップSN3に進んで待ち、再びステップSN4の判定を行う。ステップSN4でYESと判定されて、インクジェット記録装置Iが立下げられてから7日間経過すると、ステップSN5に進み、エラー解除処理を行う。エラーについては後述する。
その後、ステップSN6に進み、異常検出判定を行う。異常検出は、図31に示すフローチャートで行うことができる。すなわち、載置検知部である磁気センサ10bがOFFであると、印字ヘッド1が正規の位置に存在しないということなので、図45のステップSN6において異常として検出される。また、容器検知センサ235がOFFであると、回収容器300が取り付けられていないということなので、図45のステップSN6において異常として検出される。さらに、液量センサ240がONであると、回収容器300内の洗浄剤が満量かそれに近い状態にあるということなので、図45のステップSN6において異常として検出される。
洗浄動作部101aは、スリープモード動作中の時間が所定時間に達し、かつ、洗浄動作を行う前に、洗浄載置部200に印字ヘッド1が載置されたことが載置検知部によって検知されているか否かを確認する載置確認処理をステップSN6において実行するように構成されている。
上記複数の異常のうち、1つでも検出した場合には、ステップSN6で「異常」となり、ステップSN7に進む。ステップSN7では、アラート出力し、エラー画面を表示部103a等に表示させるとともに、エラーが記録される。つまり、洗浄動作部101aは、ステップSN6の載置確認処理の実行結果により、洗浄載置部200に印字ヘッド1が載置されたことが載置検知部によって検知されていないと判定される場合には、ステップSN7においてエラー出力を行うように構成されている。エラー出力は、表示部103aにエラー表示を行う形態や、エラー音声をスピーカ等(図示せず)から発生させる形態であってもよいし、外部機器に対してエラー信号を出力する形態であってもよい。
ステップSN6で「正常」と判定された場合にはステップSN8に進み、洗浄動作部101aが洗浄動作を行う。これにより、立上げ成功率を高めることができる。
洗浄動作を開始するとステップSN9に進み、ステップSN6と同様な異常検出判定を行う。このステップSN9において、洗浄動作部101aは、洗浄動作中に、洗浄載置部200に印字ヘッド1が載置されたことが載置検知部によって検知されているか否かを確認する載置確認処理を実行する。そして、ステップSN9で「異常」と判定された場合は、ステップSN20に進み、洗浄動作を緊急停止した後、ステップSN19に進む。したがって、洗浄動作部101aは、ステップSN9における載置確認処理の実行結果により、洗浄載置部200に印字ヘッド1が載置されたことが載置検知部によって検知されていないと判定される場合には、洗浄動作を停止させるように構成されている。
例えば、図46に示すように、洗浄動作中に印字ヘッド1が抜き取られると、磁気センサ10bがOFFになって洗浄動作が緊急停止され、また、洗浄動作中に回収容器300からの洗浄剤の溢れを液量センサ240で検出した場合には洗浄動作が緊急停止され、また、洗浄動作中に回収容器300が離脱したことを容器検知センサ235で検出した場合には洗浄動作が緊急停止される。
ステップSN9で「正常」と判定された場合にはステップSN10に進み、洗浄動作が終了したか否かを判定する。ステップSN10でNOと判定されて洗浄動作が終了していない場合には洗浄動作を継続する。ステップSN10でYESと判定されて洗浄動作が終了している場合にはステップSN11に進み、立上処理を実行する。立上処理を実行した後、ステップSN12に進み、ステップSN6と同様な異常検出判定を行う。ステップSN12で「異常」と判定された場合は、ステップSN18に進み、直ちに立下処理を実行する。ステップSN12で「正常」と判定された場合には、ステップSN13に進み、立上処理が終了したか否かを判定する。ステップSN13でNOと判定されて立上処理が終了していない場合には立上処理を継続する。ステップSN13でYESと判定されて立上処理が終了している場合にはステップSN14に進み、時間計測部101cが新たに計時を開始するとともに、現在日時に「7日」を加える処理を行う。
その後、ステップSN15に進み、インクを循環させるとともに、インクの粘度調整を行うことでインクの固着が抑制される。次いで、ステップSN16に進み、ステップSN6と同様な異常検出判定を行う。ステップSN16で「異常」と判定された場合は、ステップSN18に進み、直ちに立下処理を実行する。ステップSN16で「正常」と判定された場合には、ステップSN17に進み、予め規定されているインクの調整時間が経過したか否かを判定する。調整時間が経過していなければ、ステップSN15を継続して行う。
ステップSN17でYESと判定されてインクの調整時間が経過すると、ステップSN18に進み、立下処理を実行する。その後、ステップSN19に進み、インクジェット記録装置Iを停止状態にしてから、ステップSN3に進む。その後に進むステップSN5では、上述したエラーが解除される。
<スリープモードの変形例>
図47は、スリープモードの変形例を示すフローチャートであり、この変形例では洗浄剤の消費量を減らすことができる点で図45に示す処理とは異なっている。ステップSP1~SP7は、図45に示すフローチャートのステップSN1~SN7と同じである。ステップSP8では立上処理を行い、ステップSP9に進む。ステップSP9では、図45のステップSN6と同様に異常検出判定を行う。そして、ステップSP9で「異常」と判定された場合は、ステップSP21に進み、立上処理を緊急停止した後、ステップSP20に進む。
ステップSP9で「正常」と判定された場合にはステップSP10に進み、エラーが検出されたか否かを判定する。このエラーは、異常検出判定によるエラーとは異なり、例えばノズル12の詰まり等が発生した際のエラーである。ステップSP10で「正常」と判定された場合にはステップSP11に進んで立上処理が終了したか否かを判定する。ステップSP11でNOと判定されて立上処理が終了していない場合には立上処理を継続する。
一方、ステップSP10で「異常」と判定された場合にはノズル12の詰まり等が発生しているということであり、洗浄動作の必要性が高いので、ステップSP12に進んで洗浄動作を実行する。つまり、この変形例では、洗浄動作の必要性が高いと判定されるときのみ洗浄動作を実行するので、洗浄剤の消費量を抑制することができる。
ステップSP12からステップSP13に進むと、ステップSP9と同様に異常検出判定を行う。ステップSP13で「異常」と判定された場合は、ステップSP21に進み、洗浄動作を緊急停止した後、ステップSP20に進む。ステップSP13で「正常」と判定された場合にはステップSP14に進んで洗浄動作が終了したか否かを判定する。ステップSP14でNOと判定されて洗浄動作が終了していない場合には洗浄動作を継続する。
ステップSP14でYESと判定されて洗浄動作が終了した場合には、ステップSP15に進み、時間計測部101cが新たに計時を開始するとともに、現在日時に「7日」を加える処理を行う。
その後、ステップSP16に進み、インクを循環させるとともに、インクの粘度調整を行う。次いで、ステップSP17に進み、ステップSP9と同様な異常検出判定を行う。ステップSP17で「異常」と判定された場合は、ステップSP19に進み、直ちに立下処理を実行する。ステップSP17で「正常」と判定された場合には、ステップSP18に進み、インクの粘度が正常は粘度範囲にあるか否かを判定する。ステップSP18でNOと判定された場合には、インクの粘度が正常は粘度範囲となるまで粘度調整を行う。ステップSN18でYESと判定された場合には、ステップSN19に進み、立下処理を実行する。その後、ステップSP20に進み、インクジェット記録装置Iを停止状態にしてから、ステップSP3に進む。
<スリープモード移行判定>
スリープモードへは、立下処理後に自動的に移行するようにしてもよいし、立下処理後に、図48に示す期間選択用ユーザインターフェース402をモード動作部101bが生成し、これを図2に示す表示部103aに表示させ、その期間選択結果に応じて移行可否を決定するようにしてもよい。
図48に示す期間選択用ユーザインターフェース402には、インクジェット記録装置Iを稼働停止させる前に、稼働停止してから次回稼働させるまでの期間に関する情報を入力可能な入力部402aと、OKボタン402bと、キャンセルボタン402cとが設けられている。入力部402aには、インクジェット記録装置Iを稼働停止してから次回稼働させるまでの期間として、6日以内、7日以上、21日以上の各選択ボタンが設けられており、選択ボタンの操作により、上記期間を入力することができるようになっている。なお、インクジェット記録装置Iを稼働停止してから次回稼働させるまでの日数を入力してもよく、この場合、入力された日数が稼働停止してから次回稼働させるまでの期間に関する情報になる。また、次回稼働させる年月日を例えばカレンダー等から入力可能にしてもよく、この場合、入力された年月日が稼働停止してから次回稼働させるまでの期間に関する情報になる。いずれの場合も、次回稼働するまでの期間を取得することができる。
図49は、スリープモード移行判定処理の一例を示すフローチャートである。このフローはインクジェット記録装置Iにより印字処理が終了した後、立下処理の開始によって始まる。立下処理の開始は、ユーザによる立下処理の開始ボタン(図示せず)の操作によって検知できる。
ステップSQ1では、図48に示す期間選択用ユーザインターフェース402の入力部402aに入力された期間に関する情報に基づいて、期間判定を行う。6日以内であれば、ステップSQ2に進み、通常の立下処理を行う。7日以上であれば、ステップSQ3に進み、長期立下処理を行う。長期立下処理は、通常の立下処理に比べて洗浄剤の吐出時間が長時間に設定されていたり、洗浄剤の吐出量が多くなるように設定されていたり、洗浄剤の吐出回数が多くなるように設定されている。
ステップSQ1における期間判定の結果、21日以上であれば、ステップSQ4に進む。ステップSQ4では、コントローラ100と洗浄載置部200との通信確認を行う。確認の結果、コントローラ100と洗浄載置部200とが未接続である場合には、ステップSQ3に進む一方、コントローラ100と洗浄載置部200とが接続されている場合には、ステップSQ5に進み、図43に示すメンテナンス用ユーザインターフェース400を図2に示す表示部103aに表示させる。ステップSQ6において開始ボタン400aが押されると、モード動作部101bがそのことを検知し、スリープモードを動作させ、ステップSQ7に進む。ステップSQ7では、洗浄載置部200に印字ヘッド1が載置されたことが載置検知部によって検知されているか否かを確認する載置確認処理を行う。
ステップSQ7で「非載置」と判定されて洗浄載置部200に印字ヘッド1が載置されていない場合には、ステップSQ8に進んでアラート出力して表示部103aに表示する。一方、ステップSQ7で「載置」と判定された場合にはステップSQ9に進み、立下処理を行い、その後、モード動作部101bがスリープモードを動作させる。したがって、モード動作部101bは、図48に示す期間選択用ユーザインターフェース402の入力部402aに入力された期間に関する情報に基づいて、次回稼働させるまでの期間が所定期間以上であるか否かをステップSQ1において判定し、次回稼働させるまでの期間が所定期間以上である判定される場合には、ステップSQ4~SQ7、SQ7に進んだ後、スリープモードを動作させるように構成されているので、稼働停止期間に応じたメンテナンスを自動で行うことができる。一方、次回稼働させるまでの期間が所定期間未満であると判定される場合には、ステップSQ2またはSQ3に進むので、モード動作部101bはスリープモードを動作させない。
<スリープモード自動移行>
図50は、スリープモード自動移行判定処理の一例を示すフローチャートである。このフローは、印字ヘッド1を洗浄載置部200に載置したことを検知すると開始する。ステプSR1では、コントローラ100の各ポンプが停止中であるか否かを判定する。ステップSR1でNOと判定された場合には稼働中であると考えられるのでステップSR2に進み、稼働日時を更新し、記憶しておく。稼働中、即ち印字処理を行っているとき等のように、ポンプが作動していれば、稼働日時が随時更新されて書き換えられることになる。一方、ステップSR1でYESと判定された場合にはステップSR3に進み、放置期間を算出する。放置期間は、現在日時から稼働日時を差し引くことによって得る。
ステップSR4では、モード動作部101bが放置期間が規定日数よりも長いか否かを判定する。規定日数は、例えば数週間程度に設定することができるが、この実施形態では21日としている。ステップSR4でNOと判定されて放置期間が規定日数に満たない場合には、ステップSR1に戻る一方、ステップSR4でYESと判定されて放置期間が規定日数よりも長い場合には、モード動作部101bがスリープモードを動作させる。
この例では、図48に示す期間選択用ユーザインターフェース402を表示させることなく、インクジェット記録システムSの放置期間に基づいてスリープモードに移行するべきか否かをインクジェット記録システムSが自動的に判定し、必要であればスリープモードに移行するので、ユーザがスリープモードに設定し忘れていても洗浄動作を行うことができる。
(実施形態の作用効果)
以上説明したように、この実施形態によれば、印字ヘッド1を洗浄載置部200に載置すると、印字ヘッド1が洗浄載置部200に載置されたことを検知できる。そして、印字ヘッド1の載置確認に基づく信号が、洗浄載置部200に載置された印字ヘッド1と接続されているコントローラ100に対して送られる。これにより、コントローラ100は、自身に接続されている印字ヘッド1が洗浄載置部200に載置されていることを確認できるので、印字ヘッド1の洗浄が行える状態であると判定できる。従って、洗浄載置部200に載置された印字ヘッド1を洗浄できるので、印字ヘッド1から漏れ出した洗浄液を洗浄載置部200で受けることができ、周囲環境の汚染が防止される。
また、インクジェット記録装置Iの稼働停止中にモード動作部101bによってスリープモードを動作させることができる。スリープモード動作中の時間が所定時間に達すると、洗浄動作部101aが、インクジェット記録装置Iを自動的に立ち上げて洗浄動作を行う。これにより、再稼働まで長期間の保管が想定される場合に、インクの固着に起因する不具合が起こりにくくなる。
上述の実施形態はあらゆる点で単なる例示に過ぎず、限定的に解釈してはならない。さらに、特許請求の範囲の均等範囲に属する変形や変更は、全て本発明の範囲内のものである。
以上説明したように、本発明は、例えば各種ワークに印字を行う場合に利用することができる。
1 印字ヘッド
10b 磁気センサ
10c 受光素子
12 ノズル
13 帯電電極
15 偏向電極
100 コントローラ
101 制御部
101a 洗浄動作部
101b モード動作部
101c 時間計測部
104 インク供給部
105 溶剤供給部
200 洗浄載置部
211a 磁石
211c 発光素子
212 底壁部
212b 通過孔
213 周壁部
235 容器検知センサ
240 液量センサ
300 回収容器
I インクジェット記録装置
S インクジェット記録システム

Claims (12)

  1. コントローラと、該コントローラと接続ケーブルを介して電気的にかつ流体的に接続されて該コントローラの外部に設置される印字ヘッドとを有するコンティニュアス方式のインクジェット記録装置と、
    前記コントローラと有線又は無線の信号ラインを介して通信可能に接続されて該コントローラの外部に設置されるとともに、溶剤を用いて前記印字ヘッドを洗浄する際に該印字ヘッドがセットされる洗浄載置部と、
    前記洗浄載置部に取り付けられ、溶剤を回収する回収容器と、
    前記回収容器が前記洗浄載置部に取り付けられたことを検知して、前記コントローラに信号を出力する容器検知部と、
    前記インクジェット記録装置の前記コントローラに設けられ、前記印字ヘッドの洗浄動作を自動的に行い、前記容器検知部により出力される信号に基づいて、該洗浄動作中に前記容器検知部により前記回収容器の取り外しが検知されると該洗浄動作を停止する洗浄動作部と、
    を有し、
    前記洗浄動作部は、前記洗浄動作として、ユーザの操作入力に応じて開始する第1洗浄動作と、前記インクジェット記録装置の稼働停止中に期間の判定に基づいて開始する第2洗浄動作とを行うインクジェット記録システム。
  2. 前記洗浄動作部は、前記洗浄載置部への前記回収容器の取り付けが前記容器検知部によって検知されている場合に、前記印字ヘッドの洗浄動作を自動的に行うことを特徴とする請求項1に記載のインクジェット記録システム。
  3. 前記インクジェット記録装置は、さらに、
    前記コントローラに設けられ、ユーザによる操作入力を受け付けるとともに各種情報を表示する操作表示部を有し、
    前記操作表示部は、前記洗浄動作部による洗浄動作中に前記容器検知部により前記回収容器の取り外しが検知されるとエラー画面を表示することを特徴とする請求項1又は2に記載のインクジェット記録システム。
  4. 前記操作表示部は、ユーザから日数の入力を受け付け、
    前記洗浄動作部は、前記インクジェット記録装置の稼働停止中に、前記操作表示部により受け付けた日数の経過に応じて前記印字ヘッドの洗浄動作を自動的に行うことを特徴とする請求項3に記載のインクジェット記録システム。
  5. 前記インクジェット記録装置は、さらに、
    前記インクジェット記録装置の稼働停止中に前記洗浄動作部により前記印字ヘッドの洗浄動作を自動的に行うスリープモードを動作させるモード動作部を有し、
    前記モード動作部は、前記操作表示部により受け付けたユーザの操作入力に基づいて、前記スリープモードを動作させることを特徴とする請求項3又は4に記載のインクジェット記録システム。
  6. 前記操作表示部は、前記スリープモードの動作中に、該スリープモードに関する説明文を表示するとともに、該スリープモードを解除するための操作入力を受け付けることを特徴とする請求項5に記載のインクジェット記録システム。
  7. 前記容器検知部は、前記洗浄載置部に設けられ、前記回収容器の取り付けを磁力によって検知する磁気センサを有することを特徴とする請求項1から6のいずれか1つに記載のインクジェット記録システム。
  8. 前記洗浄動作部は、前記印字ヘッドの洗浄動作として、
    ノズルから溶剤を吐出させる第1の動作、前記ノズルとは異なる洗浄用ノズルであって、前記印字ヘッドまたは前記洗浄載置部に設けられた洗浄用ノズルから溶剤を吐出させる第2の動作、及び前記ノズルからインクを吐出させる第3の動作のうち、少なくとも1つの動作を含むことを特徴とする請求項1から7のいずれか1つに記載のインクジェット記録システム。
  9. 前記インクジェット記録システムは、さらに、
    前記回収容器内の液量を検知する液量検知部を有することを特徴とする請求項1から8のいずれか1つに記載のインクジェット記録システム。
  10. 前記液量検知部は、前記回収容器内の液面の高さを検知するフロートセンサを有することを特徴とする請求項9に記載のインクジェット記録システム。
  11. 前記インクジェット記録システムは、さらに、
    前記洗浄載置部に前記印字ヘッドがセットされたことを検知する載置検知部を有することを特徴とする請求項1から10のいずれか1つに記載のインクジェット記録システム。
  12. 前記印字ヘッドは、インクを吐出するノズル、該ノズルから吐出されるインク粒を帯電させる帯電電極、該帯電電極で帯電されたインク粒を偏向する偏向電極、及び該偏向電極で非偏向とされたインク粒を回収するガターを備え、
    前記コントローラは、前記印字ヘッドにインクを供給するインク供給部及び前記印字ヘッドに溶剤を供給する溶剤供給部を有し、
    前記洗浄動作部は、前記溶剤供給部から供給される溶剤を用いて前記印字ヘッドの洗浄動作を自動的に行うことを特徴とする請求項1に記載のインクジェット記録システム。
JP2024025056A 2019-12-12 2024-02-22 インクジェット記録システム Active JP7629552B2 (ja)

Priority Applications (2)

Application Number Priority Date Filing Date Title
JP2024025056A JP7629552B2 (ja) 2019-12-12 2024-02-22 インクジェット記録システム
JP2025014477A JP2025069962A (ja) 2019-12-12 2025-01-31 インクジェット記録システム

Applications Claiming Priority (3)

Application Number Priority Date Filing Date Title
JP2019224104A JP7366725B2 (ja) 2019-12-12 2019-12-12 インクジェット記録システム
JP2023175427A JP7472382B2 (ja) 2019-12-12 2023-10-10 インクジェット記録システム
JP2024025056A JP7629552B2 (ja) 2019-12-12 2024-02-22 インクジェット記録システム

Related Parent Applications (1)

Application Number Title Priority Date Filing Date
JP2023175427A Division JP7472382B2 (ja) 2019-12-12 2023-10-10 インクジェット記録システム

Related Child Applications (1)

Application Number Title Priority Date Filing Date
JP2025014477A Division JP2025069962A (ja) 2019-12-12 2025-01-31 インクジェット記録システム

Publications (3)

Publication Number Publication Date
JP2024045701A JP2024045701A (ja) 2024-04-02
JP2024045701A5 JP2024045701A5 (ja) 2024-05-09
JP7629552B2 true JP7629552B2 (ja) 2025-02-13

Family

ID=76311494

Family Applications (5)

Application Number Title Priority Date Filing Date
JP2019224104A Active JP7366725B2 (ja) 2019-12-12 2019-12-12 インクジェット記録システム
JP2023175427A Active JP7472382B2 (ja) 2019-12-12 2023-10-10 インクジェット記録システム
JP2024025056A Active JP7629552B2 (ja) 2019-12-12 2024-02-22 インクジェット記録システム
JP2024025055A Active JP7478917B2 (ja) 2019-12-12 2024-02-22 インクジェット記録システム
JP2025014477A Pending JP2025069962A (ja) 2019-12-12 2025-01-31 インクジェット記録システム

Family Applications Before (2)

Application Number Title Priority Date Filing Date
JP2019224104A Active JP7366725B2 (ja) 2019-12-12 2019-12-12 インクジェット記録システム
JP2023175427A Active JP7472382B2 (ja) 2019-12-12 2023-10-10 インクジェット記録システム

Family Applications After (2)

Application Number Title Priority Date Filing Date
JP2024025055A Active JP7478917B2 (ja) 2019-12-12 2024-02-22 インクジェット記録システム
JP2025014477A Pending JP2025069962A (ja) 2019-12-12 2025-01-31 インクジェット記録システム

Country Status (3)

Country Link
US (1) US11298943B2 (ja)
JP (5) JP7366725B2 (ja)
CN (1) CN112976807B (ja)

Families Citing this family (4)

* Cited by examiner, † Cited by third party
Publication number Priority date Publication date Assignee Title
JP7326051B2 (ja) * 2019-07-10 2023-08-15 株式会社日立産機システム インクジェット記録装置およびインクジェット記録装置の制御方法
JP7366725B2 (ja) * 2019-12-12 2023-10-23 株式会社キーエンス インクジェット記録システム
JP7667037B2 (ja) * 2021-08-30 2025-04-22 株式会社日立産機システム インクジェット記録装置及びインクジェット記録装置の管理方法
JP7775411B1 (ja) * 2024-10-09 2025-11-25 株式会社日立産機システム インクジェット記録装置、インクジェット記録装置の制御方法

Citations (4)

* Cited by examiner, † Cited by third party
Publication number Priority date Publication date Assignee Title
WO2009157139A1 (ja) 2008-06-24 2009-12-30 株式会社マスターマインド 印刷装置
WO2016002896A1 (ja) 2014-07-03 2016-01-07 株式会社ミマキエンジニアリング ヘッド洗浄装置及びインクジェットプリンタ
WO2019073478A1 (en) 2017-10-13 2019-04-18 Vachhani Bhavesh Maganbhai DIGITAL PRINTING MACHINE WITH COIL INK JET
JP2019111804A (ja) 2017-12-25 2019-07-11 ローランドディー.ジー.株式会社 インクジェットプリンタ

Family Cites Families (19)

* Cited by examiner, † Cited by third party
Publication number Priority date Publication date Assignee Title
DE3234107C2 (de) * 1981-09-14 1986-09-25 Konishiroku Photo Industry Co. Ltd., Tokio/Tokyo Reinigungsvorrichtung für einen Tintentröpfchenschreiber
US5183066A (en) * 1991-04-02 1993-02-02 General Dynamics Corp., Air Defense Systems Division Spray nozzle cleaning apparatus and method
US5500659A (en) * 1993-11-15 1996-03-19 Xerox Corporation Method and apparatus for cleaning a printhead maintenance station of an ink jet printer
AU754301B2 (en) * 1997-07-01 2002-11-14 Videojet Technologies Inc. Clean-in-place system for an ink jet printhead
JP3347680B2 (ja) 1998-12-28 2002-11-20 キヤノン株式会社 記録装置
JP4144214B2 (ja) * 2001-11-30 2008-09-03 セイコーエプソン株式会社 クリーニング装置、印刷装置、及び、クリーニング方法
JP4711773B2 (ja) * 2005-08-09 2011-06-29 株式会社リコー インクジェットプリンタおよび画像処理装置
CN101497265B (zh) * 2008-01-28 2011-08-31 株式会社日立产机系统 喷墨记录装置
JP5525885B2 (ja) * 2010-03-26 2014-06-18 富士フイルム株式会社 液付与装置および画像形成装置、並びにポンプおよびフィルターの判定方法
JP5786331B2 (ja) * 2010-12-24 2015-09-30 大日本印刷株式会社 部品内蔵配線板
JP6099946B2 (ja) 2012-11-22 2017-03-22 株式会社ミマキエンジニアリング プリンタヘッド洗浄装置及びインクジェット印刷装置
JP6266359B2 (ja) * 2014-01-24 2018-01-24 株式会社キーエンス インクジェット記録装置及びそのヘッド洗浄方法
CN104941876A (zh) * 2015-07-15 2015-09-30 合肥鑫晟光电科技有限公司 一种涂胶机胶头的清洁设备
JP7144171B2 (ja) * 2018-03-28 2022-09-29 株式会社日立産機システム 洗浄装置、及びインクジェット記録装置
EP3804995B1 (en) * 2018-06-06 2023-08-02 Hitachi Industrial Equipment Systems Co., Ltd. Inkjet recording device
JP7280677B2 (ja) * 2018-09-27 2023-05-24 株式会社日立産機システム インクジェット記録装置
JP7326051B2 (ja) * 2019-07-10 2023-08-15 株式会社日立産機システム インクジェット記録装置およびインクジェット記録装置の制御方法
JP7364690B2 (ja) * 2019-12-04 2023-10-18 株式会社日立産機システム インクジェット記録装置、インクジェット記録装置の洗浄ユニットおよび液位検出装置
JP7366725B2 (ja) * 2019-12-12 2023-10-23 株式会社キーエンス インクジェット記録システム

Patent Citations (4)

* Cited by examiner, † Cited by third party
Publication number Priority date Publication date Assignee Title
WO2009157139A1 (ja) 2008-06-24 2009-12-30 株式会社マスターマインド 印刷装置
WO2016002896A1 (ja) 2014-07-03 2016-01-07 株式会社ミマキエンジニアリング ヘッド洗浄装置及びインクジェットプリンタ
WO2019073478A1 (en) 2017-10-13 2019-04-18 Vachhani Bhavesh Maganbhai DIGITAL PRINTING MACHINE WITH COIL INK JET
JP2019111804A (ja) 2017-12-25 2019-07-11 ローランドディー.ジー.株式会社 インクジェットプリンタ

Non-Patent Citations (1)

* Cited by examiner, † Cited by third party
Title
産業用インクジェットプリンタ「Gravis UX シリーズ ヘッド洗浄ユニット付モデル」を販売,[online],株式会社日立製作所,2018年12月13日,[2024年2月29日検索],<https://www.hitachi.co.jp/New/cnews/month/2018/12/1213.pdf>

Also Published As

Publication number Publication date
CN112976807B (zh) 2025-06-03
JP2025069962A (ja) 2025-05-01
JP7478917B2 (ja) 2024-05-07
JP2023171534A (ja) 2023-12-01
US20210178767A1 (en) 2021-06-17
CN112976807A (zh) 2021-06-18
JP7366725B2 (ja) 2023-10-23
JP2024045701A (ja) 2024-04-02
JP7472382B2 (ja) 2024-04-22
US11298943B2 (en) 2022-04-12
JP2021091169A (ja) 2021-06-17
JP2024045700A (ja) 2024-04-02

Similar Documents

Publication Publication Date Title
JP7629552B2 (ja) インクジェット記録システム
JP7675784B2 (ja) インクジェット記録装置
JP7688107B2 (ja) 記録装置
JP2025015759A (ja) インクジェット記録装置
JP7365219B2 (ja) インクジェット記録システム
JP7451757B2 (ja) インクジェット記録装置
US11618261B2 (en) Ink jet recording apparatus
JP7365218B2 (ja) インクジェット記録システム
JP7388903B2 (ja) インクジェット記録装置
JP7356780B2 (ja) インクジェット記録システム
JP7312098B2 (ja) インクジェット記録システム
JP7653858B2 (ja) インクジェット記録装置、インクジェット記録装置用インク、インクジェット記録装置補充液及びインクと補充液の組み合わせ
JP7370238B2 (ja) インクジェット記録装置
JP7312097B2 (ja) インクジェット記録装置
JP7321072B2 (ja) インクジェット記録装置
WO2026009714A1 (ja) インクジェット記録システム
JP7667037B2 (ja) インクジェット記録装置及びインクジェット記録装置の管理方法
WO2025094722A1 (ja) インクジェット記録装置及びインクジェット記録システム
JP4492171B2 (ja) 液体噴射装置及び液体噴射装置のクリーニング方法

Legal Events

Date Code Title Description
A521 Request for written amendment filed

Free format text: JAPANESE INTERMEDIATE CODE: A523

Effective date: 20240222

A621 Written request for application examination

Free format text: JAPANESE INTERMEDIATE CODE: A621

Effective date: 20240319

A521 Request for written amendment filed

Free format text: JAPANESE INTERMEDIATE CODE: A523

Effective date: 20240426

A977 Report on retrieval

Free format text: JAPANESE INTERMEDIATE CODE: A971007

Effective date: 20241017

A131 Notification of reasons for refusal

Free format text: JAPANESE INTERMEDIATE CODE: A131

Effective date: 20241029

A521 Request for written amendment filed

Free format text: JAPANESE INTERMEDIATE CODE: A523

Effective date: 20241219

TRDD Decision of grant or rejection written
A01 Written decision to grant a patent or to grant a registration (utility model)

Free format text: JAPANESE INTERMEDIATE CODE: A01

Effective date: 20250107

A61 First payment of annual fees (during grant procedure)

Free format text: JAPANESE INTERMEDIATE CODE: A61

Effective date: 20250131

R150 Certificate of patent or registration of utility model

Ref document number: 7629552

Country of ref document: JP

Free format text: JAPANESE INTERMEDIATE CODE: R150