JP7409552B2 - 搬送機器 - Google Patents

搬送機器 Download PDF

Info

Publication number
JP7409552B2
JP7409552B2 JP2023504896A JP2023504896A JP7409552B2 JP 7409552 B2 JP7409552 B2 JP 7409552B2 JP 2023504896 A JP2023504896 A JP 2023504896A JP 2023504896 A JP2023504896 A JP 2023504896A JP 7409552 B2 JP7409552 B2 JP 7409552B2
Authority
JP
Japan
Prior art keywords
rail
car
link
wheels
pair
Prior art date
Legal status (The legal status is an assumption and is not a legal conclusion. Google has not performed a legal analysis and makes no representation as to the accuracy of the status listed.)
Active
Application number
JP2023504896A
Other languages
English (en)
Other versions
JPWO2022190179A1 (ja
JPWO2022190179A5 (ja
Inventor
雄介 菅原
行生 武田
貴大 石井
壮史 松本
政之 垣尾
Current Assignee (The listed assignees may be inaccurate. Google has not performed a legal analysis and makes no representation or warranty as to the accuracy of the list.)
Mitsubishi Electric Corp
Tokyo Institute of Technology NUC
Original Assignee
Mitsubishi Electric Corp
Tokyo Institute of Technology NUC
Priority date (The priority date is an assumption and is not a legal conclusion. Google has not performed a legal analysis and makes no representation as to the accuracy of the date listed.)
Filing date
Publication date
Application filed by Mitsubishi Electric Corp, Tokyo Institute of Technology NUC filed Critical Mitsubishi Electric Corp
Publication of JPWO2022190179A1 publication Critical patent/JPWO2022190179A1/ja
Publication of JPWO2022190179A5 publication Critical patent/JPWO2022190179A5/ja
Application granted granted Critical
Publication of JP7409552B2 publication Critical patent/JP7409552B2/ja
Active legal-status Critical Current
Anticipated expiration legal-status Critical

Links

Images

Classifications

    • BPERFORMING OPERATIONS; TRANSPORTING
    • B66HOISTING; LIFTING; HAULING
    • B66BELEVATORS; ESCALATORS OR MOVING WALKWAYS
    • B66B9/00Kinds or types of lifts in, or associated with, buildings or other structures
    • B66B9/003Kinds or types of lifts in, or associated with, buildings or other structures for lateral transfer of car or frame, e.g. between vertical hoistways or to/from a parking position
    • BPERFORMING OPERATIONS; TRANSPORTING
    • B66HOISTING; LIFTING; HAULING
    • B66BELEVATORS; ESCALATORS OR MOVING WALKWAYS
    • B66B11/00Main component parts of lifts in, or associated with, buildings or other structures
    • B66B11/0035Arrangement of driving gear, e.g. location or support
    • B66B11/0045Arrangement of driving gear, e.g. location or support in the hoistway
    • B66B11/005Arrangement of driving gear, e.g. location or support in the hoistway on the car
    • BPERFORMING OPERATIONS; TRANSPORTING
    • B66HOISTING; LIFTING; HAULING
    • B66BELEVATORS; ESCALATORS OR MOVING WALKWAYS
    • B66B11/00Main component parts of lifts in, or associated with, buildings or other structures
    • B66B11/04Driving gear ; Details thereof, e.g. seals
    • B66B11/043Driving gear ; Details thereof, e.g. seals actuated by rotating motor; Details, e.g. ventilation
    • B66B11/0476Driving gear ; Details thereof, e.g. seals actuated by rotating motor; Details, e.g. ventilation with friction gear, e.g. belt linking motor to sheave
    • BPERFORMING OPERATIONS; TRANSPORTING
    • B66HOISTING; LIFTING; HAULING
    • B66BELEVATORS; ESCALATORS OR MOVING WALKWAYS
    • B66B9/00Kinds or types of lifts in, or associated with, buildings or other structures
    • B66B9/02Kinds or types of lifts in, or associated with, buildings or other structures actuated mechanically otherwise than by rope or cable

Landscapes

  • Engineering & Computer Science (AREA)
  • Structural Engineering (AREA)
  • Mechanical Engineering (AREA)
  • Automation & Control Theory (AREA)
  • Civil Engineering (AREA)
  • Types And Forms Of Lifts (AREA)

Description

本開示は、自走エレベーターの駆動装置に関する。
特許文献1は、エレベーターシステムを開示する。当該エレベーターシステムにおいて、かごは、鉛直方向と水平方向に移動する。
日本特開平6-48672号公報
しかしながら、特許文献1に記載のエレベーターシステムにおいて、かごは、リニアモータの駆動力により移動する。このため、かごを移動させるためのシステムが複雑となる。
本開示は、上述の課題を解決するためになされた。本開示の目的は、簡素な構成で鉛直方向と水平方向とにかごを移動させることができる自走エレベーターの駆動装置を提供することである。
本開示に係る搬送機器は、かご室の背面に対して回転自在に連結された回転体と、前記かご室の背面側においてレールのガイド面を挟み込むように前記回転体に設けられ、前記レールが長手方向を鉛直方向としている際に前記レールとの摩擦により前記かご室を鉛直方向に移動させる力を発生させ、前記レールが長手方向を水平方向としている際に前記レールとの摩擦力により前記かご室を水平方向に移動させる力を発生させる車輪と、前記レールのガイド面に接触した第1左右傾き防止ローラーと、前記回転体に回転自在に支持され、前記第1左右傾き防止ローラーを回転自在に支持したリンクと、前記リンクと前記回転体とに連結された弾性体と、前記レールの底板において前記かご室から遠い側に接触した状態で前記回転体に支持された第1前後傾き防止ローラーと、前記レールのガイド板の先端に接触した状態で前記回転体に支持された第2前後傾き防止ローラーと、を備えた。
また、本開示に係る搬送機器は、一対の分割体で構成され、かご室の背面に対してそれぞれ回転自在に連結された回転体と、前記かご室の背面側においてレールのガイド面を挟み込むように前記回転体に設けられ、前記レールが長手方向を鉛直方向としている際に前記レールとの摩擦により前記かご室を鉛直方向に移動させる力を発生させ、前記レールが長手方向を水平方向としている際に前記レールとの摩擦力により前記かご室を水平方向に移動させる力を発生させる車輪と、前記レールのガイド面に接触した第1左右傾き防止ローラーと、前記レールの底板において前記かご室から遠い側に接触した状態で前記一対の分割体の一方に支持された第1前後傾き防止ローラーと、前記レールのガイド板の先端に接触した状態で前記一対の分割体の他方に支持された第2前後傾き防止ローラーと、前記回転体の前記一対の分割体の他方に回転自在に支持され、前記第1左右傾き防止ローラーを回転自在に支持したリンクと、前記リンクと前記回転体の前記一対の分割体の他方とに連結された弾性体と、を備えた。
また、本開示に係る搬送機器は、かご室の背面に対して回転自在に連結された回転体と、前記かご室の背面側においてレールのガイド面の一方の側に設けられた第1車輪と前記レールのガイド面の他方の側に設けられた第2車輪とで前記レールのガイド面を挟み込むように前記回転体に設けられ、前記レールが長手方向を鉛直方向としている際に前記レールとの摩擦により前記かご室を鉛直方向に移動させる力を発生させ、前記レールが長手方向を水平方向としている際に前記レールのガイド面の一方の側に接触して前記レールとの摩擦力により前記かご室を水平方向に移動させる力を発生させる車輪と、前記回転体から前記かご室に対して離れる方向に伸びた支持体と、前記レールに対して前記かご室から遠い側のガイド面の側において前記支持体に設けられ、前記第1車輪を回転自在に支持した第1車輪支持リンクと、前記レールが長手方向を鉛直方向としている際に第1車輪支持リンクよりも低い位置に配置されるように、前記レールに対して前記かご室から近い側のガイド面の側において前記支持体に設けられ、前記第2車輪を回転自在に支持した第2車輪支持リンクと、を備え、前記かご室が水平方向に移動する場合は、前記第1車輪支持リンクの側の車輪が駆動される。
本開示によれば、複数の車輪は、レールのガイド面を挟み込むように設けられる。レールが長手方向を鉛直方向としている際、複数の車輪は、レールとの摩擦によりかご室を鉛直方向に移動させる力を発生させる。レールが長手方向を水平方向としている際、複数の車輪は、レールとの摩擦力によりかご室を水平方向に移動させる力を発生させる。このため、簡素な構成で鉛直方向と水平方向とにかごを移動させることができる。
実施の形態1における自走エレベーターの駆動装置が適用されるエレベーターシステムの構成図である。 実施の形態1における自走エレベーターの駆動装置が適用されるエレベーターシステムのレールとかごとを説明するための斜視図である。 実施の形態1における自走エレベーターの駆動装置の背面図である。 実施の形態1における自走エレベーターの駆動装置の側面図である。 実施の形態1における自走エレベーターの駆動装置の背面図である。 実施の形態1における自走エレベーターの駆動装置の側面図である。 実施の形態1における自走エレベーターの駆動装置の第1変形例の背面図である。 実施の形態1における自走エレベーターの駆動装置の第1変形例の側面図である。 実施の形態1における自走エレベーターの駆動装置の第2変形例の背面図である。 実施の形態1における自走エレベーターの駆動装置の第3変形例の斜視図である。 実施の形態2における自走エレベーターの駆動装置が適用されるエレベーターシステムの下部を示す図である。 実施の形態2における自走エレベーターの駆動装置の背面図である。 実施の形態2における自走エレベーターの駆動装置の側面図である。 実施の形態2における自走エレベーターの駆動装置の背面図である。 実施の形態2における自走エレベーターの駆動装置の側面図である。 実施の形態3における自走エレベーターの駆動装置の斜視図である。 実施の形態3における自走エレベーターの駆動装置の背面図である。 実施の形態3における自走エレベーターの駆動装置の側面図である。 実施の形態3における自走エレベーターの駆動装置の背面図である。 実施の形態3における自走エレベーターの駆動装置の側面図である。 実施の形態3における自走エレベーターの駆動装置の第1変形例の側面図である。 実施の形態4における自走エレベーターの駆動装置が適用されるエレベーターシステムの斜視図である。 実施の形態4における自走エレベーターのかごの斜視図である。 実施の形態4における自走エレベーターの駆動装置が適用されるエレベーターシステムの第1変形例の要部の斜視図である。
実施の形態について添付の図面に従って説明する。なお、各図中、同一または相当する部分には同一の符号が付される。当該部分の重複説明は適宜に簡略化ないし省略される。
実施の形態1.
図1は実施の形態1における自走エレベーターの駆動装置が適用されるエレベーターシステムの構成図である。
図1のエレベーターシステムは、自走エレベーターのシステムである。自走エレベーターは、人、物等の搬送物を昇降方向に搬送する装置である。例えば、昇降方向は、鉛直方向である。例えば、昇降方向は、鉛直方向に対して傾いた斜めの方向である。
自走式エレベーターは、かごを昇降させるためのロープを必要としない。このため、1つの昇降路において、複数台のかごを走行させることができる。ロープで駆動する一般のエレベーターを含めて、エレベーターが設けられる建築物が高層化するほど建築物に対して昇降路が占める割合は大きくなる。このため、1つの昇降路に複数台のかごを走行させることは、昇降路の水平投影面上の面積を削減するうえで有効である。
例えば、エレベーター1は、建築物に設けられる。建築物は、複数の階床を有する。建築物において、昇降路2は、複数の階床にわたって設けられる。昇降路2は、昇降路2aと昇降路2bとに分割される。この例において、昇降方向は、鉛直方向である。
一対のレール3の一方は、昇降路2aにおいて長手方向を鉛直方向にして積み上げられる。一対のレール3の他方は、昇降路2bにおいて長手方向を鉛直方向にして積み上げられる。
分割レール3aは、一対のレール3の一方の下方に配置される。分割レール3aは、図示されないアクチュエーターにより回転し得るように設けられる。分割レール3aは、長手方向を鉛直方向または水平方向とした際に姿勢を維持し得るように設けられる。
分割レール3bは、一対のレール3の一方の上方に配置される。分割レール3bは、図示されないアクチュエーターにより回転し得るように設けられる。分割レール3bは、長手方向を鉛直方向または水平方向とした際に姿勢を維持し得るように設けられる。
分割レール3cは、一対のレール3の他方の上方に配置される。分割レール3cは、図示されないアクチュエーターにより回転し得るように設けられる。分割レール3cは、長手方向を鉛直方向または水平方向とした際に姿勢を維持し得るように設けられる。
分割レール3dは、一対のレール3の他方の下方に配置される。分割レール3dは、図示されないアクチュエーターにより回転し得るように設けられる。分割レール3dは、長手方向を鉛直方向または水平方向とした際に姿勢を維持し得るように設けられる。
水平レール3eは、昇降路2の下部において長手方向を水平方向として配置される。水平レール3eは、昇降路2aの下部と昇降路2bの下部とにまたがって配置される。水平レール3eの一側は、分割レール3aが長手方向を水平方向とした際に分割レール3aと円滑につながり得るように設けられる。水平レール3eの他側は、分割レール3dが長手方向を水平方向とした際に分割レール3dと円滑につながり得るように設けられる。
水平レール3fは、昇降路2の上部において長手方向を水平方向として配置される。水平レール3fは、昇降路2aの上部と昇降路2bの上部とにまたがって配置される。水平レール3fの一側は、分割レール3bが長手方向を水平方向とした際に分割レール3bと円滑につながり得るように設けられる。水平レール3fの他側は、分割レール3cが長手方向を水平方向とした際に分割レール3cと円滑につながり得るように設けられる。
エレベーター1は、2台以上のかご4を備える。例えば、エレベーター1は、昇降路2aと昇降路2bとに対して3台以上のかご4を備えることもある。
かご4は、かご室5と駆動装置6と制御部7とを備える。
かご室5は、搬送物を搭載する空間を内部に有する。かご室5は、かご床8を有する。かご床8は、かご室5の下面である。かご床8は、かご室5に搭載される搬送物の荷重を支持する。
駆動装置6は、かご室5を昇降させる駆動力を発生させる装置である。駆動装置6は、利用者がかご室5に対して乗り降りする乗場とは反対側においてかご室5の背面側に設けられる。駆動装置6は、レール3を把持する。駆動装置6は、レール3との間の摩擦力によりかご室5を昇降させる。
制御部7は、かご4の動作を制御する部分である。例えば、制御部7は、かご室5の上部に配置される。例えば、制御部7は、かご4の下部に配置される。例えば、制御部7は、かご4において上部および下部以外の場所に配置される。例えば、制御部7は、複数の部分に分割されて配置される。
この例において、かご室5は、昇降路2aまたは昇降路2bを昇降する。かご室5は、昇降路2の上部または下部において昇降路2aと2bとの間を移動する。
例えば、かご室5は、昇降路2aにおいて駆動装置6を介してレール3に案内されて上昇することで分割レール3bに至る。その後、分割レール3bと分割レール3cとは、長手方向が鉛直方向から水平方向へとなるように90度回転する。その後、かご室5は、駆動装置6を介して分割レール3bに案内されて水平方向に移動する。その後、かご室5は、駆動装置6を介して水平レール3fに案内されて水平方向に移動する。その後、かご室5は、駆動装置6を介して分割レール3cに到着する。その後、分割レール3bと分割レール3cとは、長手方向が水平方向から鉛直方向へとなるように90度回転する。その後、かご室5は、昇降路2bにおいて駆動装置6を介して分割レール3cに案内されて下降することでレール3に至る。
次に、図2を用いて、レール3とかご4とを説明する。
図2は実施の形態1における自走エレベーターの駆動装置が適用されるエレベーターシステムのレールとかごとを説明するための斜視図である。
この例において、レール3の水平断面の形状は、T字形状である。レール3は、底板9およびガイド板10を有する。底板9は、かご4から遠い側の部分である。この例において、ガイド板10は、底板9に垂直な板である。ガイド板10は、底板9からかご4の側に配置される板状部分である。ガイド板10は、ガイド面11を有する。ガイド面11は、ガイド板10の表面または裏面の少なくとも一方である。ガイド面11は、レール3の長手方向に延びる。なお、レール3は、実際には上から下へ延伸しているが、図2においては、後述する駆動輪21、第1押付け力平均化リンク22、および第2押付け力平均化リンク23とレール3と駆動装置6との位置関係をわかりやすく説明するために、破断線(波線)で挟まれた領域において、レール3の図示は省略される。
図示されないが、分割レール3a等も、レール3と同等の構成である。
かご室5は、かごドア13を有する。かごドア13は、かご室5において駆動装置6とは反対側に設けられる。図示されないが、かご4は、駆動装置6の他に、ブレーキ、非常止め装置等を有することもある。ブレーキは、かご4の移動中または静止中に制動力を与え得るように設けられる。非常止め装置は、かご4が自由落下した際にかご4を強制的に静止させ得るように設けられる。
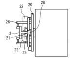
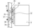
次に、図3から図6を用いて、駆動装置6を説明する。
図3は実施の形態1における自走エレベーターの駆動装置の背面図である。図4は実施の形態1における自走エレベーターの駆動装置の側面図である。図5は実施の形態1における自走エレベーターの駆動装置の背面図である。図6は実施の形態1における自走エレベーターの駆動装置の側面図である。
図3と図4とは、かご4が鉛直方向に移動する場合を示す。
ベアリング12は、かご室5の背面と駆動装置6とを連結する。分割レール3a等が回転する際、駆動装置6は、分割レール3a等とともに回転する。これに対し、かご室5は、静止して回転しない。その結果、かご室5の内部において、搬送物は、回転しない。
駆動装置6は、回転体として回転板20を有する。
回転板20は、ベアリング12を介してかご室5の背面に対して回転自在に連結される。
駆動装置6は、一対の車輪と一対の駆動輪21とを有する。
一対の車輪の一方は、一対のガイド面11の一方に接触する。一対の駆動輪21の一方は、一対の車輪の一方の下方において一対のガイド面11の一方に接触する。一対の車輪の他方は、一対のガイド面11の他方に接触する。一対の駆動輪21の他方は、一対の車輪の下方において一対のガイド面11の他方に接触する。
一対の車輪の一方と他方とは、両方のガイド面11に対して対称な位置に配置される。一対の駆動輪21の一方と他方とは、両方のガイド面11に対して対称な位置に配置される。
図示されないが、駆動装置6は、駆動輪21を動かすために少なくとも1つのモーターを有する。
この例においては、第1押付け力平均化リンク22は、三角形状である。第1押付け力平均化リンク22は、車輪支持リンクとして、一対のガイド面11の一方の側に配置される。第1押付け力平均化リンク22は、一対の車輪の一方と一対の駆動輪21の一方とを回転自在に支持する。第1押付け力平均化リンク22において、レール3とは反対側の一端は、回転板20に対して回転自在に支持される。
この例においては、第2押付け力平均化リンク23は、四角形状である。第2押付け力平均化リンク23は、一対のガイド面11の他方の側に配置される。第2押付け力平均化リンク23は、車輪支持リンクとして、一対の車輪の他方と一対の駆動輪21の他方とを回転自在に支持する。第2押付け力平均化リンク23において、レール3とは反対側は、自己倍力用リンク24に対して回転自在に支持される。
自己倍力用リンク24は、水平方向に対して45度以下の角度で斜めに配置される。自己倍力用リンク24の一端は、第2押付け力平均化リンク23におけるレール3とは反対側に対して回転自在に連結される。自己倍力用リンク24の他端は、回転板20に対して回転自在に支持される。
ばね29の一端は、第2押付け力平均化リンク23または自己倍力用リンク24に連結される。ばね29の他端は、回転板20に連結される。
第1組の第1左右傾き防止ローラー25の一方は、一対の車輪の一方と一対の駆動輪21の一方との上方において一対のガイド面11の一方に接触する。第1組の第1左右傾き防止ローラー25の他方は、一対の車輪の一方と一対の駆動輪21の一方との下方において一対のガイド面11の一方に接触する。
第2組の第1左右傾き防止ローラー25の一方は、一対の車輪の他方と一対の駆動輪21の他方との上方において一対のガイド面11の他方に接触する。第2組の第1左右傾き防止ローラー25の他方は、一対の車輪の他方と一対の駆動輪21の他方との下方において一対のガイド面11の他方に接触する。
第1組のリンクの一方において、一端は、第1組の第1左右傾き防止ローラー25の一方を回転自在に支持する。第1組のリンクの一方において、他端は、回転板20に対して回転自在に支持される。第1組のリンクの他方において、一端は、第1組の第1左右傾き防止ローラー25の他方を回転自在に支持する。第1組のリンクの他方において、他端は、回転板20に対して回転自在に支持される。
第2組のリンクの一方において、一端は、第2組の第1左右傾き防止ローラー25の一方を回転自在に支持する。第2組のリンクの一方において、他端は、回転板20に対して回転自在に支持される。第2組のリンクの他方において、一端は、第2組の第1左右傾き防止ローラー25の他方を回転自在に支持する。第2組のリンクの他方において、他端は、回転板20に対して回転自在に支持される。
複数のばね27は、かご室5と回転板20とが左右に傾こうとした際の復元力を与える弾性体として機能する。
第1組のばね27の一方において、一端は、第1組のリンクの一方の中央部に連結される。第1組のばね27の一方において、他端は、回転板20に連結される。第1組のばね27の他方において、一端は、第1組のリンクの他方の中央部に連結される。第1組のばね27の他方において、他端は、回転板20に連結される。
第2組のばね27の一方において、一端は、第2組のリンクの一方の中央部に連結される。第2組のばね27の一方において、他端は、回転板20に連結される。第2組のばね27の他方において、一端は、第2組のリンクの他方の中央部に連結される。第2組のばね27の他方において、他端は、回転板20に連結される。
第1組の第1前後傾き防止ローラー26の一方は、一対のガイド面11の一方の側で高さ方向において第1押付け力平均化リンク22の上方に配置される。第1組の第1前後傾き防止ローラー26の一方は、レール3の底板9においてかご室5から遠い側に接触した状態でアームを介して回転板20に支持される。第1組の第1前後傾き防止ローラー26の他方は、一対のガイド面11の一方の側で高さ方向において第1押付け力平均化リンク22の下方に配置される。第1組の第1前後傾き防止ローラー26の他方は、レール3の底板9においてかご室5から近い側に接触した状態でアームを介して回転板20に支持される。
第2組の第1前後傾き防止ローラー26の一方は、一対のガイド面11の他方の側で高さ方向において第2押付け力平均化リンク23の上方に配置される。第2組の第1前後傾き防止ローラー26の一方は、レール3の底板9においてかご室5から遠い側に接触した状態でアームを介して回転板20に支持される。第2組の第1前後傾き防止ローラー26の他方は、一対のガイド面11の他方の側で高さ方向において第2押付け力平均化リンク23の下方に配置される。第2組の第1前後傾き防止ローラー26の他方は、レール3の底板9においてかご室5から近い側に接触した状態でアームを介して回転板20に支持される。
一対の第2前後傾き防止ローラー28の一方は、高さ方向において第1組の第1前後傾き防止ローラー26の一方と第2組の第1前後傾き防止ローラー26の一方との間に配置される。一対の第2前後傾き防止ローラー28の一方は、レール3のガイド板10の先端に接触した状態で回転板20に支持される。一対の第2前後傾き防止ローラー28の他方は、高さ方向において第1組の第1前後傾き防止ローラー26の他方と第2組の第1前後傾き防止ローラー26の他方との間に配置される。一対の第2前後傾き防止ローラー28の他方は、レール3のガイド板10の先端に接触した状態で回転板20に支持される。
図5と図6とは、かご4が水平方向に移動する場合を示す。
図5と図6とに示されるように、駆動装置6は、図3と図4とに示された状態から第1押付け力平均化リンク22がレール3の上側になるように90度回転する。
この際、レール3の下方において、一対の車輪の他方と一対の駆動輪21の他方とは、ばね29の強さによっては、ガイド面11に接触しないこともある。レール3の上方において、一対の車輪の一方と一対の駆動輪21の一方とは、ガイド面11に接触する。
一対の車輪の一方と一対の駆動輪21の一方とは、ガイド面11に接触する。一対の車輪の一方と一対の駆動輪21の一方とは、かご4と駆動装置6との自重を支持する。これらの自重は、レール3への押付け力として作用する。当該押付け力は、かご室5を水平方向に移動させる際の摩擦力を発生させる。一対の車輪の一方と一対の駆動輪21の一方とは、かご室5を水平方向に移動させる力を発生させる。
なお、かご4が分割レール3a等に到着した場合、かご4は、回転しないように固定される。例えば、かご室5は、図示されないブレーキにより分割レール3a等に固定される。例えば、かご室5は、図示されないピン等により昇降路2に固定される。
この状態において、分割レール3a等は、長手方向が鉛直方向から水平方向になるように回転する。駆動装置6と回転板20とは、分割レール3aの回転に追従して回転する。その結果、自己倍力用リンク24による押付け力が減少する。最終的には、当該押付け力はゼロになる。
分割レール3a等の長手方向が水平方向から鉛直方向になるように分割レール3a等が回転した場合、第2押付け力平均化リンク23と自己倍力用リンク24とは、ばね29の復元力により定位置に戻る。
以上で説明した実施の形態1によれば、一対の車輪と一対の駆動輪21とは、レール3のガイド面11を挟み込むように配置される。分割レール3a等が長手方向を鉛直方向としている際、一対の車輪と一対の駆動輪21とは、分割レール3a等との摩擦によりかご室5を鉛直方向に移動させる力を発生させる。分割レール3a等が長手方向を水平方向としている際、一対の車輪と一対の駆動輪21とは、分割レール3a等との摩擦によりかご室5を水平方向に移動させる力を発生させる。このため、一つの駆動装置6でかご室5aを鉛直方向と水平方向とに移動させることができる。その結果、駆動装置6を簡素かつ軽量にすることができる。また、かご室5の移動の際の振動および騒音を抑制することができる。
また、分割レール3a等が長手方向を水平方向にしている際、一対の車輪の他方と一対の駆動輪21の他方とは、ばね29の強さによっては、ガイド面11に接触しないこともある。レール3の上方において、一対の車輪の一方と一対の駆動輪21の一方とは、ガイド面11に接触する。一対の車輪の一方と一対の駆動輪21の一方とは、かご室5を水平方向に移動させる力を発生させる。このため、押付け力が発生する車輪のみを駆動することでエネルギーの消費を抑制することができる。
また、自己倍力用リンク24は、水平方向に対して45度以下の角度で斜めに配置される。このため、かご4と駆動装置6との自重を利用して、これらの自重以上の押付け力を得ることができる。
また、かご室5が鉛直方向に移動する際、自己倍力用リンク24により積載重量の増大に伴って、受動的に車輪と駆動輪21との押付け力が増大する。また、かご室5aが水平方向に移動する際、レール3のガイド面11の上方の側において、車輪と駆動輪21とがかご室5を支持する。このため、積載重量の増大に伴って、受動的に車輪および駆動輪21の押付け力が増大する。この際、常に最大積載重量時に必要な押付け力を発生させ続ける必要がない。このため、レール3、車輪、駆動輪21を無駄に摩耗させたり、積載重量を計測したうえで当該積載重量に応じた押付け力を能動的に発生させる油圧などのアクチュエーターを用いたりする必要がない。その結果、駆動装置6を簡素かつ軽量にすることができる。
また、駆動装置6は、複数の第1左右傾き防止ローラー25と複数の第1前後傾き防止ローラー26と複数の第2前後傾き防止ローラー28とを有する。このため、かご室5が鉛直方向または水平方向に移動する際にかご室5の内部において偏った荷重がかかっている場合でも、かご室5の傾きを抑制することができる。
また、第1押付け力平均化リンク22は、回転板20に対して回転自在に支持される。このため、一対の車輪の一方と一対の駆動輪21の一方とに作用する押付け力を平均化することができる。
また、第2押付け力平均化リンク23は、回転板20に対して回転自在に支持される。このため、一対の車輪の一方と一対の駆動輪21の一方とに作用する押付け力を平均化することができる。
なお、かご4がレール3の継ぎ目部分、分割レール3a等とレール3との間等に発生する段差または隙間を通過する場合、第1押付け力平均化リンク22および第2押付け力平均化リンク23とは、回転板20に対して少し回転する。このため、車輪と駆動輪21とは、当該段差または当該隙間を容易に通過することができる。
なお、昇降路2の中間部でレール3を分割し、かご4が水平方向に移動できるようにしてもよい。
なお、車輪と駆動輪21との組み合わせは、適宜変更してもよい。例えば、車輪が3個で駆動輪21が1個である場合、図3において、一対のガイド面11の一方の側で上側または下側に駆動輪21を配置してもよい。例えば、車輪が2個で駆動輪21が2個である場合、図3において、一対のガイド面11の一方の側に2個の駆動輪21を配置したり、一対のガイド面11の一方の側かつ下側と他方の側かつ下側とにそれぞれ1個の駆動輪を配置したりしてもよい。例えば、駆動輪21が4個である場合は、図3において、すべての位置に駆動輪21を配置すればよい。
次に、図7と図8とを用いて、第1変形例を説明する。
図7は実施の形態1における自走エレベーターの駆動装置の第1変形例の背面図である。図8は実施の形態1における自走エレベーターの駆動装置の第1変形例の側面図である。
図7と図8とに示されるように、第1変形例において、第2押付け力平均化リンク23はない。車輪および駆動輪21の少なくとも一方は、自己倍力用リンク24のレール3の側の端部に直接的に回転自在に支持される。
以上で説明した第1変形例によれば、第2押付け力平均化リンク23はない。このため、駆動装置6をより少ない部品点数でより簡素にすることができる。その結果、駆動装置6のコストを抑制し、かつ、駆動装置6をより軽量にすることができる。
次に、図9を用いて、第2変形例を説明する。
図9は実施の形態1における自走エレベーターの駆動装置の第2変形例の背面図である。
図9に示されるように、第2変形例において、第1押付け力平均化リンク22はない。車輪および駆動輪21は、固定リンク30に支持される。固定リンク30は、回転板20に対して回転しない。
以上で説明した第2変形例によれば、車輪および駆動輪21は、固定リンク30に支持される。このため、駆動装置6をより簡素にすることができる。その結果、駆動装置6のコストを抑制し、かつ、駆動装置6をより軽くすることができる。
次に、図10を用いて、第3変形例を説明する。
図10は実施の形態1における自走エレベーターの駆動装置の第3変形例の斜視図である。
図10に示されるように、かご4は、一対の駆動装置6を有する。一対の駆動装置6の一方は、一対のレール3の一方に案内される。一対の駆動装置6の他方は、一対のレール3の他方に案内される。
以上で説明した第2変形例によれば、一対の駆動装置6の一方は、一対のレール3の一方に案内される。一対の駆動装置6の他方は、一対のレール3の他方に案内される。このため、個々のレール3と個々の駆動装置6とを小さくすることができる。その結果、昇降路2の水平投影面上の面積を小さくすることができる。
実施の形態2.
図11は実施の形態2における自走エレベーターの駆動装置が適用されるエレベーターシステムの下部を示す図である。図12は実施の形態2における自走エレベーターの駆動装置の背面図である。図13は実施の形態2における自走エレベーターの駆動装置の側面図である。図14は実施の形態2における自走エレベーターの駆動装置の背面図である。図15は実施の形態2における自走エレベーターの駆動装置の側面図である。なお、実施の形態1の部分と同一又は相当部分には同一符号が付される。当該部分の説明は省略される。
図11に示されるように、分割レール3aは、上側分割レール3gと下側分割レール3hとに上下に分割される。上側分割レール3gと下側分割レール3hとは、それぞれ図示されないアクチュエーターにより回転し得るように設けられる。上側分割レール3gと下側分割レール3hとは、長手方向を鉛直方向または水平方向とした際に姿勢を維持し得るように設けられる。上側分割レール3gと下側分割レール3hとは、長手方向を鉛直方向とした際に互いに円滑につながり得るように設けられる。
分割レール3dは、上側分割レール3iと下側分割レール3jとに上下に分割される。上側分割レール3iと下側分割レール3jとは、それぞれ図示されないアクチュエーターにより回転し得るように設けられる。上側分割レール3iと下側分割レール3jとは、長手方向を鉛直方向または水平方向とした際に姿勢を維持し得るように設けられる。上側分割レールと下側分割レールとは、長手方向を鉛直方向とした際に互いに円滑につながり得るように設けられる。
水平レール3eは、上側水平レール3kと下側水平レール3lとに上下に分割される。上側水平レール3kと下側水平レール3lとは、それぞれ長手方向を水平方向として配置される。
上側水平レール3kの一側は、上側分割レール3gが長手方向を水平方向とした際に上側分割レール3gと円滑につながり得るように設けられる。上側水平レール3kの他側は、上側分割レール3iが長手方向を水平方向とした際に上側分割レール3iと円滑につながり得るように設けられる。
下側水平レール3lの一側は、下側分割レール3hが長手方向を水平方向とした際に下側分割レール3hと円滑につながり得るように設けられる。下側水平レール3lの他側は、下側分割レール3jが長手方向を水平方向とした際に下側分割レール3jと円滑につながり得るように設けられる。
図12等に示されるように、駆動装置6において、複数の分割体として、第2回転板31と第3回転板32とを有する。第2回転板31は、駆動装置6の上側に配置される。第3回転板32は、駆動装置6の下側に配置される。第2回転板31と第3回転板32とは、それぞれベアリング12を介してかご室5の背面に対して回転自在に連結される。
第2回転板31は、第1押付け力平均化リンク22、第2押付け力平均化リンク23、自己倍力用リンク24、1個以上の駆動輪を含む車輪および駆動輪21を4つ、第1前後傾き防止ローラー26および少なくとも1つ以上のモーターを有する。
第3回転板32は、第1左右傾き防止ローラー25と第2前後傾き防止ローラー28とを有する。
かご室5は、鉛直方向に移動する際に1本のレールに案内される。かご室5は、水平方向に移動する際に2本のレールに案内される。具体的には、第2回転板31と第3回転板32それぞれに対し、1本のレールが必要となる。
例えば、図11でかご室5が昇降路2aの下部から昇降路2bに移動する場合、第2回転板31の側において、車輪および駆動輪21は、上側分割レール3g、上側水平レール3k、上側分割レール3iに沿って移動する。一方、第3回転板32の側において、第1左右傾き防止ローラー25と第2前後傾き防止ローラー28とは、下側分割レール3h、下側水平レール3l、下側分割レール3jを移動する。
具体的には、かご室5が上側分割レール3gと下側分割レール3hとに到着すると、かご室5は、回転しないように固定される。例えば、かご室5は、図示されないブレーキにより上側分割レール3gおよび下側分割レール3hの少なくとも一方に固定される。例えば、かご室5は、図示されないピン等により昇降路2に固定される。
この状態において、上側分割レール3gと下側分割レール3hとは、長手方向が鉛直方向から水平方向になるように回転する。第2回転板31は、上側分割レール3gの回転に追従して回転する。その結果、自己倍力用リンク24による押付け力が減少する。最終的には、当該押付け力はゼロになる。一方、第3回転板32は、下側分割レール3hの回転に追従して回転する。
この状態において、かご室5は、水平方向に移動する。その後、かご室5は、上側分割レール3iと下側分割レールと3jに到着すると、かご室5は、回転しないように固定される。例えば、かご室5は、図示されないブレーキにより上側分割レール3iおよび下側分割レール3jの少なくとも一方に固定される。例えば、かご室5は、図示されないピン等により昇降路2に固定される。
この状態において、上側分割レール3iと下側分割レール3jとは、長手方向が水平方向から鉛直方向になるように回転する。この際、第2押付け力平均化リンク23と自己倍力用リンク24とは、ばね29の復元力により定位置に戻る。
以上で説明した実施の形態2によれば、第2回転板31は、駆動装置6の上側に配置される。第3回転板32は、駆動装置6の下側に配置される。このため、かご室5が鉛直方向または水平方向に移動する際に、かご室5の前後方向および水平方向に倒れることを抑制できる。
また、第2回転板31と第3回転板32との回転半径と質量とが減少する。回転半径と質量との減少により、第2回転板31と第3回転板32との回転時の慣性質量も減少する。このため、第2回転板31と第3回転板32とを回転させるために昇降路2に配置するアクチュエーターを小さくすることができる。その結果、昇降路2の水平投影面上の面積を削減することができる。
また、駆動装置6は、複数の第1左右傾き防止ローラー25と複数の第1前後傾き防止ローラー26と複数の第2前後傾き防止ローラー28とを有する。このため、かご室5が鉛直方向または水平方向に移動する際にかご室5の内部において偏った荷重がかかっている場合でも、かご室5の傾きを抑制することができる。
実施の形態3.
図16は実施の形態3における自走エレベーターの駆動装置の斜視図である。なお、実施の形態1の部分と同一又は相当部分には同一符号が付される。当該部分の説明は省略される。
図16に示されるように、実施の形態3において、レール3は、実施の形態1のレール3を水平投影面上で90度回転させたように配置される。この場合、ガイド板10は、かごドア13の開閉方向と平行になる。
次に、図17から図20を用いて、駆動装置6を説明する。
図17は実施の形態3における自走エレベーターの駆動装置の背面図である。図18は実施の形態3における自走エレベーターの駆動装置の側面図である。図19は実施の形態3における自走エレベーターの駆動装置の背面図である。図20は実施の形態3における自走エレベーターの駆動装置の側面図である。
この例において、駆動装置6は、支持板43と一対の第1押付け力平均化リンク22とを有する。
支持板43は、支持体として回転板20と直交するように回転板20に固定される。
一対の第1押付け力平均化リンク22の一方は、かご室5から遠い側において一対のガイド面11の一方の側に配置される。一対の第1押付け力平均化リンク22の一方は、第1車輪支持リンクとして、一対の車輪の一方と一対の駆動輪21の一方とを回転自在に支持する。一対の第1押付け力平均化リンク22において、レール3とは反対側の一端は、支持板43に対して回転自在に支持される。
一対の第1押付け力平均化リンク22の他方は、かご室5から近い側において一対のガイド面11の他方の側に配置される。一対の第1押付け力平均化リンク22の他方は、第2車輪支持リンクとして、一対の第1押付け力平均化リンク22の一方よりもhだけ低い位置に配置される。一対の第1押付け力平均化リンク22の他方は、一対の車輪の他方と一対の駆動輪21の他方とを回転自在に支持する。一対の第1押付け力平均化リンク22の他方において、レール3とは反対側の一端は、支持板43に対して回転自在に支持される。
第1組の複数の第2左右傾き防止ローラー41は、回転板20に設けられる。第1組の複数の第2左右傾き防止ローラー41は、レール3におけるかご室の側の底板9の一面に接触する。
第2組の複数の第2左右傾き防止ローラー41は、支持板43に設けられる。第2組の複数の第2左右傾き防止ローラー41は、レール3におけるかご室の側の底板9の他面に接触する。
例えば、第3前後傾き防止ローラー42は、かご室5から遠い側において最上部にある車輪または駆動輪21と同じ高さの位置に配置される。例えば、第3前後傾き防止ローラー42は、かご室5から遠い側において最上部にある車輪または駆動輪21よりも高い位置に配置される。第3前後傾き防止ローラー42は、レール3におけるかご室5から近い側のガイド面11に接触する。
以上で説明した実施の形態3によれば、一対の第1押付け力平均化リンク22の他方は、第2車輪支持リンクとして、一対の第1押付け力平均化リンク22の一方よりもhだけ低い位置に配置される。このため、かご室5が倒れようとするモーメントを車輪および駆動輪21の押付け力として利用することができる。その結果、車輪および駆動輪21とレール3との間の摩擦により鉛直方向にかご室5を移動させるために必要な大きな押付け力を得ることができる。
具体的には、図18に示されるように、かご室5と駆動装置6の合計質量Mが作用する重心がレール3から距離dだけ離れている場合、車輪および駆動輪21のそれぞれの押付け力がF/2であるとすると、モーメントの吊り合いにより、次式が成立する。なお、gは重力加速度である。
F=Mg×(d/h)
このため、d/hを適切に設定することにより、かご室5と駆動装置6との自重以上の押付け力を得ることができる。例えば、d/hが1である場合、かご室5と駆動装置6との自重と同じ押付け力を得ることができる。
また、当該押付け力は、かご室5と駆動装置6との合計質量Mに比例する。このため、かご室5の積載重量が増大した場合、受動的に車輪および駆動輪21の押付け力が増大する。この際、常に最大積載重量時に必要な押付け力を発生させ続ける必要がない。このため、レール3、車輪、駆動輪21を無駄に摩耗させたり、積載重量を計測したうえで当該積載重量に応じた押付け力を能動的に発生させる油圧などのアクチュエーターを用いたりする必要がない。その結果、駆動装置6を簡素かつ軽量にすることができる。
図19と図20とに示されるように、かご室5を水平方向に移動する場合、かご室5が倒れようとするモーメントがかご室5から遠い側の第1押付け力平均化リンク22の車輪および駆動輪21に作用する。当該モーメントにより、レール3への押付け力が作用する。このため、かご室5から遠い側の駆動輪21のみを駆動させればよい。
また、かご4の姿勢は、第1組の複数の第2左右傾き防止ローラー41と第2組の複数の第2左右傾き防止ローラー41と第3前後傾き防止ローラー42とで決まる。このため、かご室5の積載重量が偏っている場合でも、鉛直方向または水平方向にかご室5を移動させることができる。
また、第1押付け力平均化リンク22は、支持板43に対して回転自在に支持される。このため、車輪と駆動輪21とに作用する押付け力を平均化することができる。その結果、かご4がレール3の継ぎ目部分、分割レール3a等とレール3との間等に発生する段差または隙間を容易に通過することができる。
なお、実施の形態3においては、実施の形態1よりも駆動装置6の奥行寸法が増大するものの、自己倍力用リンク24を削除することができる。このため、回転板20の寸法を小さくできる。その結果、駆動装置6を簡素にすることができる。
次に、図21を用いて、第1変形例を説明する。
図21は実施の形態3における自走エレベーターの駆動装置の第1変形例の側面図である。
図21に示されるように、駆動装置6は、車輪と駆動輪21と一対の車輪固定リンク44とを有する。
車輪は、かご4から近い側において一対のガイド面11の一方の側に配置される。駆動輪21は、かご4から遠い側において一対のガイド面11の他方の側に配置される。
一対の車輪固定リンク44の一方は、かご4から遠い側において一対のガイド面11の一方の側に配置される。一対の車輪固定リンク44の一方は、駆動輪21を回転自在に支持する。一対の車輪固定リンク44の一方において、レール3とは反対側の一端は、支持板43に固定される。
一対の車輪固定リンク44の他方は、かご4から近い側において一対のガイド面11の他方の側に配置される。一対の車輪固定リンク44の他方は、一対の車輪固定リンク44の一方よりも低い位置に配置される。一対の車輪固定リンク44の他方は、駆動輪21を回転自在に支持する。一対の車輪固定リンク44の他方において、レール3とは反対側の一端は、支持板43に固定される。
以上で説明した第1変形例によれば、駆動装置6は、車輪と駆動輪21と一対の車輪固定リンク44とを有する。このため、駆動装置6をより簡素かつより軽量にすることができる。
実施の形態4.
図22は実施の形態4における自走エレベーターの駆動装置が適用されるエレベーターシステムの斜視図である。なお、実施の形態1の部分と同一又は相当部分には同一符号が付される。当該部分の説明は省略される。
実施の形態4においては、水平方向への移動のために、長いレールが設けられる。当該レールは、互いに離れた位置に設けられた第1建築物と第2建築物とにまたがる。
次に、図23を用いて、かご4を説明する。
図23は実施の形態4における自走エレベーターのかごの斜視図である。
かご4が搬送機器51として使用される場合、荷物のみを運搬することが考慮される。この場合、かご室5は、天井を有さない。例えば、かご室5は、実施の形態1から実施の形態3のかご室5の壁の途中までの高さの壁または柵52を有する。
以上で説明した実施の形態4によれば、かご4が搬送機器として使用される。この場合、かご室5の移動時の加速度を高くすることができる。このため、かご室5の鉛直方向と水平方向との移動を高速化することができる。その結果、図21に示されるような複数の建物の間において荷物を短時間で搬送することができる。
なお、ホテル、大規模な施設群等の3つ以上の建築物の間において荷物を搬送できるようにしてもよい。
また、搬送機器としては、運搬ロボットも考えられる。運搬ロボットは、車輪により水平方向に自律移動する。運搬ロボットは、人と共働することを目的とする。このため、運搬ロボットは、人と接触しないように移動する。さらに、運搬ロボットは、人との接触時の衝撃を抑えるために低速で移動する。運搬ロボットは、任意の場所を移動できるものの、目的地近傍等の詳細な位置の把握が必要な場合により低速度で移動する。
これに対し、実施の形態4のエレベーターシステムにおいて、かご室5は、移動可能な場所が制限されるものの、専用の移動スペースとレールを有する。このため、運搬ロボットと比較して、より高速で移動することができる。また、かご室5の位置の把握等のために減速する必要をなくすことができる。
次に、図24を用いて、第1変形例を説明する。
図24は実施の形態4における自走エレベーターの駆動装置が適用されるエレベーターシステムの要部の斜視図である。
図24は、倉庫の内部を示す。倉庫において、複数の棚62は、隣接して配置される。複数の棚62の各々において、複数の棚板63は、鉛直方向に並んで設けられる。複数の棚板63は、互いに平行である。荷物66は、棚板63に載せられた状態で保管される。
複数のレール64は、複数の棚板63に対応して棚62の背面側に設けられる。複数のレール64のそれぞれは、複数の棚板63のそれぞれに対して平行に配置される。複数の分割レール65は、複数の棚62の両側に設けられる。図示されないが、横移動用レールは、最も下方に存在する分割レール65に隣接する。
搬送機器61は、荷受け部67を有する。搬送機器61は、レール64に案内されて対象の荷物66の位置まで移動する。その後、搬送機器61は、荷受け部67を前後に移動させて棚板63から当該荷物66を取り出す。その後、搬送機器61は、レール64と分割レール65と横移動用レールとに案内されて指定の場所まで荷物66を運搬する。
以上で説明した第1変形例によれば、レール3を固定する壁として棚62が利用される。このため、広大な倉庫であっても搬送機器61を利用することができる。
同様な棚の配置において、荷物66を棚に置くまたは回収する機器としてスタッカークレーンがある。スタッカークレーンにおいて、車両部は、棚と棚の間に配置されたレールに沿って移動する。荷台は、車両部に設置された柱に沿って上下する。当該スタッカークレーンによれば、両側の棚と荷物の受け渡しができる。
しかしながら、移動するレールごとに専用となる1台または少数台のスタッカークレーンが配置される。このため、同時に作業するスタッカークレーンの台数は限られる。
これに対し、多数の搬送機器61を投入することで、同時に作業する搬送機器61の台数を増やすことができる。その結果、効率的に荷物66を運搬することができる。
以上のように、本開示の自走式エレベーターの駆動装置は、エレベーターシステムに利用できる。
1 エレベーター、 2 昇降路、 3 レール、 3a 分割レール、 3b 分割レール、 3c 分割レール、 3d 分割レール、 3e 水平レール、 3f 水平レール、 3g 上側分割レール、 3h 下側分割レール、 3i 上側分割レール、 3j 下側分割レール、 3k 上側水平レール、 3l 下側水平レール、 4 かご、 5 かご室、 6 駆動装置、 7 制御部、 8 かご床、 9 底板、 10 ガイド板、 11 ガイド面、 12 ベアリング、 13 かごドア、 20 回転板、 21 駆動輪、 22 第1押付け力平均化リンク、 23 第2押付け力平均化リンク、 24 自己倍力用リンク、 25 第1左右傾き防止ローラー、 26 第1前後傾き防止ローラー、 27 ばね、 28 第2前後傾き防止ローラー、 29 ばね、 30 固定リンク、 31 第2回転板、 32 第3回転板、 41 第2左右傾き防止ローラー、 42 第3前後傾き防止ローラー、 43 支持板、 44 車輪固定リンク、 51 搬送機器、 52 壁または柵、 61 搬送機器、 62 棚、 63 棚板、 64 レール、 65 分割レール、 66 荷物、 67 荷受け部

Claims (10)

  1. かご室の背面に対して回転自在に連結された回転体と、
    前記かご室の背面側においてレールのガイド面を挟み込むように前記回転体に設けられ、前記レールが長手方向を鉛直方向としている際に前記レールとの摩擦により前記かご室を鉛直方向に移動させる力を発生させ、前記レールが長手方向を水平方向としている際に前記レールとの摩擦力により前記かご室を水平方向に移動させる力を発生させる車輪と、
    前記レールのガイド面に接触した第1左右傾き防止ローラーと、
    前記回転体に回転自在に支持され、前記第1左右傾き防止ローラーを回転自在に支持したリンクと、
    前記リンクと前記回転体とに連結された弾性体と、
    前記レールの底板において前記かご室から遠い側に接触した状態で前記回転体に支持された第1前後傾き防止ローラーと、
    前記レールのガイド板の先端に接触した状態で前記回転体に支持された第2前後傾き防止ローラーと、
    を備えた搬送機器
  2. 一対の分割体で構成され、かご室の背面に対してそれぞれ回転自在に連結された回転体と、
    前記かご室の背面側においてレールのガイド面を挟み込むように前記回転体に設けられ、前記レールが長手方向を鉛直方向としている際に前記レールとの摩擦により前記かご室を鉛直方向に移動させる力を発生させ、前記レールが長手方向を水平方向としている際に前記レールとの摩擦力により前記かご室を水平方向に移動させる力を発生させる車輪と、
    前記レールのガイド面に接触した第1左右傾き防止ローラーと、
    前記レールの底板において前記かご室から遠い側に接触した状態で前記一対の分割体の一方に支持された第1前後傾き防止ローラーと、
    前記レールのガイド板の先端に接触した状態で前記一対の分割体の他方に支持された第2前後傾き防止ローラーと、
    前記回転体の前記一対の分割体の他方に回転自在に支持され、前記第1左右傾き防止ローラーを回転自在に支持したリンクと、
    前記リンクと前記回転体の前記一対の分割体の他方とに連結された弾性体と、
    を備えた搬送機器
  3. 前記車輪は、複数であり、
    複数の車輪のうちの一部は、前記レールのガイド面の他方の側に設けられ、
    前記複数の車輪のうちの他部は、前記レールのガイド面の一方の側に設けられ、前記レールが長手方向を水平方向としている際に前記ガイド面の一方に接触して前記レールとの摩擦力により前記かご室を水平方向に移動させる力を発生させる請求項1または請求項2に記載の搬送機器
  4. 前記レールのガイド面の一方の側において前記回転体に支持され、前記複数の車輪のうちの他部を回転自在に支持した車輪支持リンクと、
    前記かご室が鉛直方向に移動する際に水平方向に対して45度以下の角度で斜めに配置されるように前記レールのガイド面の他方の側において前記回転体に支持され、前記複数の車輪のうちの一部を回転自在に支持した自己倍力用リンクと、
    を備えた請求項に記載の搬送機器
  5. 前記車輪支持リンクは、前記回転体に対して回転自在に支持されたリンクまた前記回転体に対して固定されたリンクである請求項4に記載の搬送機器
  6. 前記複数の車輪のうちの一部を回転自在に支持し、前記自己倍力用リンクに回転自在に支持されたリンク、
    を備えた請求項4に記載の搬送機器
  7. 前記自己倍力用リンクは、前記複数の車輪のうちの一部を直接的に回転自在に支持した請求項4に記載の搬送機器
  8. かご室の背面に対して回転自在に連結された回転体と、
    前記かご室の背面側においてレールのガイド面の一方の側に設けられた第1車輪と前記レールのガイド面の他方の側に設けられた第2車輪とで前記レールのガイド面を挟み込むように前記回転体に設けられ、前記レールが長手方向を鉛直方向としている際に前記レールとの摩擦により前記かご室を鉛直方向に移動させる力を発生させ、前記レールが長手方向を水平方向としている際に前記ガイド面の一方に接触して前記レールとの摩擦力により前記かご室を水平方向に移動させる力を発生させる車輪と、
    前記回転体から前記かご室に対して離れる方向に伸びた支持体と、
    前記レールに対して前記かご室から遠い側のガイド面の側において前記支持体に設けられ、前記第1輪を回転自在に支持した第1車輪支持リンクと、
    前記レールが長手方向を鉛直方向としている際に第1車輪支持リンクよりも低い位置に配置されるように、前記レールに対して前記かご室から近い側のガイド面の側において前記支持体に設けられ、前記第2輪を回転自在に支持した第2車輪支持リンクと、
    を備え、
    前記かご室が水平方向に移動する場合は、前記第1車輪支持リンクの側の車輪が駆動される、搬送機器
  9. 前記第2車輪支持リンクは、前記支持体に対して回転自在に支持されたリンクまた前記支持体に対して固定されたリンクである請求項に記載の搬送機器
  10. 前記支持体に設けられ、前記レールにおけるかご室の側の底板の一面に接触する第1組の複数の第2左右傾き防止ローラーと、
    前記支持体に設けられ、前記レールにおけるかご室の側の底板の他面に接触する第2組の複数の第2左右傾き防止ローラーと、
    前記かご室から遠い側において最上部にある車輪と同じ高さの位置またはかご室から遠い側において最上部にある車輪よりも高い位置において前記支持体に設けられ、前記レールにおける前記かご室から近い側のガイド面に接触する第3前後傾き防止ローラーと、
    を備えた請求項または請求項に記載の搬送機器
JP2023504896A 2021-03-08 2021-03-08 搬送機器 Active JP7409552B2 (ja)

Applications Claiming Priority (1)

Application Number Priority Date Filing Date Title
PCT/JP2021/009051 WO2022190179A1 (ja) 2021-03-08 2021-03-08 自走エレベーターの駆動装置

Publications (3)

Publication Number Publication Date
JPWO2022190179A1 JPWO2022190179A1 (ja) 2022-09-15
JPWO2022190179A5 JPWO2022190179A5 (ja) 2023-06-19
JP7409552B2 true JP7409552B2 (ja) 2024-01-09

Family

ID=83227538

Family Applications (1)

Application Number Title Priority Date Filing Date
JP2023504896A Active JP7409552B2 (ja) 2021-03-08 2021-03-08 搬送機器

Country Status (5)

Country Link
US (1) US12503340B2 (ja)
JP (1) JP7409552B2 (ja)
CN (1) CN116963986A (ja)
DE (1) DE112021007262T5 (ja)
WO (1) WO2022190179A1 (ja)

Families Citing this family (2)

* Cited by examiner, † Cited by third party
Publication number Priority date Publication date Assignee Title
CN113879941B (zh) * 2021-09-24 2023-05-05 中际联合(北京)科技股份有限公司 模块化升降设备及升降系统
JP7758217B2 (ja) * 2022-10-12 2025-10-22 三菱電機株式会社 自走式エレベーター、及び、自走式エレベーターの経路切り替え方法

Citations (7)

* Cited by examiner, † Cited by third party
Publication number Priority date Publication date Assignee Title
US4015537A (en) 1975-06-09 1977-04-05 Diebold, Incorporated Interior railway transportation system
JP2001080848A (ja) 1999-09-10 2001-03-27 Fujitec Co Ltd 自走式エレベータ
US20050236945A1 (en) 2004-04-21 2005-10-27 Vasco De Sousa Marreiros Alves People and cargo transportation machine
US20070272494A1 (en) 2006-05-24 2007-11-29 Hans Kocher Elevator with frictional drive
WO2018142556A1 (ja) 2017-02-03 2018-08-09 株式会社日立製作所 マルチカーエレベーター
US20200131001A1 (en) 2017-06-21 2020-04-30 Thyssenkrupp Elevator Ag Supporting device for a rotary platform in an elevator system
WO2021038731A1 (ja) 2019-08-27 2021-03-04 三菱電機株式会社 搬送装置

Family Cites Families (20)

* Cited by examiner, † Cited by third party
Publication number Priority date Publication date Assignee Title
US3261303A (en) * 1964-07-10 1966-07-19 Anglo Transvaal Cons Invest Co Overhead haulage systems
DE1580860C3 (de) * 1966-11-08 1980-04-17 Pank Ag, Zuerich (Schweiz) Hängebahnfahrwerk
US3568605A (en) * 1968-01-24 1971-03-09 Projects General Of America Suspended monorail system
DE1928058B2 (de) * 1969-06-02 1974-11-14 Von Roll Ag, Gerlafingen (Schweiz) Transporteinheit für Einschienen-Hängebahnen
US3658155A (en) * 1970-09-15 1972-04-25 William G Salter Elevator system
US3774548A (en) * 1971-01-13 1973-11-27 A Borst Gripping locomotive for suspended railway
EP0354461B1 (en) * 1988-08-10 1995-01-25 Yamaha Hatsudoki Kabushiki Kaisha Freight system
DE4122855A1 (de) * 1991-02-14 1992-08-20 Hillenkoetter & Ronsieck Aufzug, insbesondere schraegaufzug
JPH0648672A (ja) 1991-10-28 1994-02-22 Toshiba Corp エレベータ
JP2987020B2 (ja) * 1992-12-25 1999-12-06 株式会社竹中工務店 エレベータ装置
EP0745553A1 (de) * 1995-06-02 1996-12-04 Inventio Ag Antriebseinheit für einen Aufzug
DE59808783D1 (de) * 1997-04-11 2003-07-31 Inventio Ag Einrichtung zum Festsetzen einer Aufzugskabine
AR018972A1 (es) * 2000-01-13 2001-12-12 Serrano Jorge DISPOSICIoN AUToNOMA DE TRANSPORTE Y VEHíCULO AUToNOMO DE TRANSPORTE.
JP2009280313A (ja) * 2008-05-20 2009-12-03 Mitsubishi Electric Corp 自走式エレベータのカゴ装置
DE102014104458A1 (de) 2014-03-28 2015-10-01 Thyssenkrupp Elevator Ag Aufzugsystem
SE1551010A1 (en) * 2015-07-10 2017-01-11 Articulated Funiculator Ab Elevator carriage support structure
KR20180053047A (ko) 2016-11-11 2018-05-21 유장욱 순환형 엘리베이터 시스템
US11939187B2 (en) * 2018-06-14 2024-03-26 Inventio Ag Method for erecting an elevator facility
CN112311099B (zh) * 2019-07-31 2023-08-18 湖南大举信息科技有限公司 用于无随行电缆电梯的供电系统及多轿厢电梯系统
US20220177273A1 (en) * 2020-12-04 2022-06-09 Otis Elevator Company Autonomous elevator car mover configured for derailment prevention

Patent Citations (7)

* Cited by examiner, † Cited by third party
Publication number Priority date Publication date Assignee Title
US4015537A (en) 1975-06-09 1977-04-05 Diebold, Incorporated Interior railway transportation system
JP2001080848A (ja) 1999-09-10 2001-03-27 Fujitec Co Ltd 自走式エレベータ
US20050236945A1 (en) 2004-04-21 2005-10-27 Vasco De Sousa Marreiros Alves People and cargo transportation machine
US20070272494A1 (en) 2006-05-24 2007-11-29 Hans Kocher Elevator with frictional drive
WO2018142556A1 (ja) 2017-02-03 2018-08-09 株式会社日立製作所 マルチカーエレベーター
US20200131001A1 (en) 2017-06-21 2020-04-30 Thyssenkrupp Elevator Ag Supporting device for a rotary platform in an elevator system
WO2021038731A1 (ja) 2019-08-27 2021-03-04 三菱電機株式会社 搬送装置

Also Published As

Publication number Publication date
JPWO2022190179A1 (ja) 2022-09-15
CN116963986A (zh) 2023-10-27
DE112021007262T5 (de) 2023-12-28
US12503340B2 (en) 2025-12-23
WO2022190179A1 (ja) 2022-09-15
US20240140760A1 (en) 2024-05-02

Similar Documents

Publication Publication Date Title
US6443266B2 (en) Traction type elevator
JP7409552B2 (ja) 搬送機器
JP7156545B2 (ja) 搬送装置
JP4543868B2 (ja) マルチカーエレベータ
KR20250083530A (ko) 보관 보조물을 전송하기 위한 셔틀을 포함하는 자동 보관 시스템
US5816368A (en) Elevator cars switch hoistways while traveling vertically
CN111204623A (zh) 一种电梯系统
JPH11217950A (ja) 駐車設備のターンテーブル装置
KR102330511B1 (ko) 로프리스 엘리베이터 시스템
KR20180053047A (ko) 순환형 엘리베이터 시스템
CN113581976B (zh) 用于电梯轿厢的导向装置和电梯系统
JP2007106147A (ja) 圧延コイル搬送台車
JPH04191282A (ja) エレベータ装置
JPWO2007020674A1 (ja) エレベータ装置
CN120057686B (zh) 电梯系统
KR20210085847A (ko) 로프리스 엘리베이터 시스템
KR102946385B1 (ko) 선박용 외팔보 화물승강기
EP4337584B1 (en) An elevator system and method
JP7537977B2 (ja) 自動倉庫システム
JP5676556B2 (ja) エレベータ装置
JP2975308B2 (ja) 移動棚
WO2018142556A1 (ja) マルチカーエレベーター
JP2024124711A (ja) 乗客コンベアおよびその支持装置
JP6662472B2 (ja) スタッカクレーン
JP2001140489A (ja) 走行台車を備えた駐車装置

Legal Events

Date Code Title Description
A521 Request for written amendment filed

Free format text: JAPANESE INTERMEDIATE CODE: A523

Effective date: 20230330

A621 Written request for application examination

Free format text: JAPANESE INTERMEDIATE CODE: A621

Effective date: 20230330

TRDD Decision of grant or rejection written
A01 Written decision to grant a patent or to grant a registration (utility model)

Free format text: JAPANESE INTERMEDIATE CODE: A01

Effective date: 20231121

A61 First payment of annual fees (during grant procedure)

Free format text: JAPANESE INTERMEDIATE CODE: A61

Effective date: 20231204

R150 Certificate of patent or registration of utility model

Ref document number: 7409552

Country of ref document: JP

Free format text: JAPANESE INTERMEDIATE CODE: R150

S533 Written request for registration of change of name

Free format text: JAPANESE INTERMEDIATE CODE: R313533

R350 Written notification of registration of transfer

Free format text: JAPANESE INTERMEDIATE CODE: R350