JP7193368B2 - 屋根パネル - Google Patents

屋根パネル Download PDF

Info

Publication number
JP7193368B2
JP7193368B2 JP2019022263A JP2019022263A JP7193368B2 JP 7193368 B2 JP7193368 B2 JP 7193368B2 JP 2019022263 A JP2019022263 A JP 2019022263A JP 2019022263 A JP2019022263 A JP 2019022263A JP 7193368 B2 JP7193368 B2 JP 7193368B2
Authority
JP
Japan
Prior art keywords
roof
vertical frame
frame
roof panel
frame member
Prior art date
Legal status (The legal status is an assumption and is not a legal conclusion. Google has not performed a legal analysis and makes no representation as to the accuracy of the status listed.)
Active
Application number
JP2019022263A
Other languages
English (en)
Other versions
JP2020128669A (ja
Inventor
文岳 伊藤
昌紀 堀田
Current Assignee (The listed assignees may be inaccurate. Google has not performed a legal analysis and makes no representation or warranty as to the accuracy of the list.)
Sekisui Chemical Co Ltd
Original Assignee
Sekisui Chemical Co Ltd
Priority date (The priority date is an assumption and is not a legal conclusion. Google has not performed a legal analysis and makes no representation as to the accuracy of the date listed.)
Filing date
Publication date
Application filed by Sekisui Chemical Co Ltd filed Critical Sekisui Chemical Co Ltd
Priority to JP2019022263A priority Critical patent/JP7193368B2/ja
Publication of JP2020128669A publication Critical patent/JP2020128669A/ja
Application granted granted Critical
Publication of JP7193368B2 publication Critical patent/JP7193368B2/ja
Active legal-status Critical Current
Anticipated expiration legal-status Critical

Links

Images

Landscapes

  • Roof Covering Using Slabs Or Stiff Sheets (AREA)

Description

この発明は、屋根パネルに関するものである。
住宅などの建物には、屋根を屋根パネルによって構成したものがある。このような屋根パネルには、一対の縦枠材と一対の横枠材とを組み合わせて成る矩形状の屋根枠の上面に矩形状の屋根面材を張設したものがある(例えば、特許文献1、特許文献2参照)。一般に、屋根枠は屋根面材と同じ大きさに形成される。
特開平9-279761号公報 特開2001-219407号公報
しかしながら、屋根パネルは、仕様ごとにそれぞれ異なる構造となっていたので、複数種類の屋根パネルが存在しており、生産性が悪かった。
そこで、本発明は、主に、上記した問題点を解決することを目的としている。
上記課題を解決するために、本発明は、
一対の一本物の縦枠材と一対の一本物の横枠材とを組み合わせて成る矩形状の一つの屋根枠と、該屋根枠の上面に張設された矩形状の屋根面材とを有する屋根パネルであって、
前記屋根枠は、前記縦枠材が、前記屋根面材の幅両側部よりも内側に位置された共用枠となっており、
該共用枠は、前記縦枠材の外側面に屋根仕様に応じた第二の縦枠材を取付けられるようになっていると共に、
前記共用枠は、水下側の前記横枠材が、前記屋根面材の幅寸法と同じ長さとされて、水上側の面の端部近傍に、前記縦枠材の下端部が当接固定されていることを特徴とする。
本発明によれば、上記構成によって、屋根パネルの生産性を向上することなどができる。
建物の屋根に対して屋根パネルを施工している状態を示す斜視図である。 (a)はこの実施例にかかる屋根パネル(標準仕様)を構成する共用枠に第二の縦枠材を取付ける状態を示す分解斜視図、(b)は(a)の縦枠材および第二の縦枠材の断面図である。 図2の屋根パネルを横枠材の側から見た側面図である。 比較例にかかる屋根パネル(標準仕様)を横枠材の側から見た側面図である。 (a)はこの実施例にかかる屋根パネル(多雪地仕様など)を構成する共用枠に第二の縦枠材を取付ける状態を示す分解斜視図、(b)は(a)の縦枠材および第二の縦枠材の断面図である。 図5の屋根パネルを横枠材の側から見た側面図である。 屋根面材の上に屋根仕上材を施工する状態を示す斜視図である。 捨水切の取付状態を示す屋根パネルの側部の部分的な断面図である。このうち、(a)は標準仕様の場合、(b)は多雪地仕様などの場合である。 比較例にかかる屋根パネル(多雪地仕様)を横枠材の側から見た側面図である。
以下、本実施の形態を、図面を用いて詳細に説明する。
図1~図9は、この実施の形態を説明するためのものである。
<構成>以下、構成について説明する。
図1に示すように、住宅などの建物1の屋根2を屋根パネル3,4によって構成する。
ここで、建物1は、どのような構造のものであっても良いが、例えば、ユニット建物5などとすることができる。ユニット建物5は、予め工場で製造した建物ユニット6を建築現場へ搬送して、建築現場で組み立てることによって短期間のうちに建物1を構築し得るようにしたものである。建物ユニット6は、基本形状が直方体状とされており、鋼製のものや木製のものなどが存在している。
屋根2は、各種のものが存在しているが、この実施例の場合には、複数の建物ユニット6で構成された建物本体7の上部中央に屋根構造体8を設置し、屋根構造体8の外周に沿って、複数枚の屋根パネル3,4を斜めに設置したものなどとされている。
屋根パネル3,4には、平面視ほぼ三角形状をした三角パネル(屋根パネル3)や、平面視ほぼ矩形状をした矩形パネル(屋根パネル4)などがあり、三角パネル(屋根パネル3)は屋根2のコーナー部分などに設置され、矩形パネル(屋根パネル4)は、三角パネル(屋根パネル3)の間などに設置される。屋根パネル3,4は、クレーンによって吊り上げられて、屋根構造体8の上部に取付けられた水上固定金具11と、建物本体7の上部に取付けられた軒元固定金具12との間に斜めに傾斜させた状態で支持固定される。但し、屋根パネル3,4を用いて構成される屋根2の構造は、これに限るものではない。
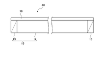
このうち、矩形パネル(屋根パネル4)は、図2(図3)に示すように、一対の縦枠材13と一対の横枠材14とを組み合わせて成る矩形状の屋根枠15と、屋根枠15の上面に張設された矩形状の屋根面材16(図3)とを有するものとされる。
屋根パネル4は、どのような大きさとしても良いが、この実施例では、幅の広いパネルなど(例えば、幅約2500mmなどの幅広パネルまたは大判パネル)とされている。このような幅広パネルとすることにより、屋根2に対する屋根パネル4の施工効率を向上することが期待できる。
一対の縦枠材13および一対の横枠材14は、それぞれ平行に設置される。縦枠材13および横枠材14は、例えば、2×4材などで構成することができる。縦枠材13および横枠材14は、それぞれ断面が縦長の状態で設置される。屋根枠15の内側には、必要に応じて、横枠材14と平行な横桟17を単数または複数本設けることができる。横桟17は、横枠材14と同様に断面が縦長の状態で設置される。また、屋根面材16は、屋根下地材などとなるものである。
そして、上記のような構成に対し、この実施例は、以下のような構成を備えることができる。
(1)屋根枠15は、縦枠材13が、屋根面材16の幅両側部よりも内側に位置された共用枠21とされる。
共用枠21は、縦枠材13の外側面に屋根仕様に応じた第二の縦枠材22を取付けられるようになっている。
ここで、縦枠材13は、屋根2の水上側から水下側へ向けて延ばされる部材であり、共用枠21にとって、内垂木(第一の縦枠材)となるものである。縦枠材13の外側面は、第二の縦枠材22に対する取付面とされる。
共用枠21は、縦枠材13の外側面に第二の縦枠材22を取付けたときに、第二の縦枠材22が屋根面材16の幅両側部からハミ出さないように、縦枠材13を第二の縦枠材22の分だけ内側に設置したものとされる。即ち、縦枠材13は、屋根面材16の幅両側部の位置よりも第二の縦枠材22の断面の幅寸法分、または、それよりも僅かに大きい分だけ、幅方向の内側に設置される。
共用枠21は、一対の横枠材14を同じ長さにしても良いが、例えば、水上側の横枠材14が短くなり、水下側の横枠材14が長くなるように、長さを異ならせても良い。この場合、水上側の横枠材14は、一対の縦枠材13の間に介在されて、両端部が縦枠材13の上端部の内側面にそれぞれ当接固定される長さとされる。また、水下側の横枠材14は、屋根面材16の幅寸法とほぼ同じ長さとされる。そして、水下側の横枠材14の水上側の面の端部近傍に、縦枠材13の下端部が当接固定されるようにする。
第二の縦枠材22は、水上側から水下側へ向けて延ばされる部材であり、共用枠21にとって外垂木となるものである。第二の縦枠材22には、屋根仕様に応じた材質のものを適宜使用することができる。例えば、図2は、標準仕様の屋根パネル4を示しており、この場合には、第二の縦枠材22に2×4材などが用いられる。第二の縦枠材22は、縦枠材13とほぼ同じ長さを有しており、縦枠材13に対して釘やビスなどの固定具23で横から固定されることで、縦枠材13に対して二重化される(部分二重枠構造)。釘やビスなどの固定具23は、第二の縦枠材22の長手方向に沿って複数本設置される。釘やビスなどの固定具23は、例えば、直線状に取付けても良いが、千鳥状に取付けるのが好ましい。第二の縦枠材22は、図2(b)に示すように、縦枠材13に対し上部の位置が1mm程度以下の誤差となるように揃えて設置固定される。
共用枠21の上側部や下側部には、上記した水上固定金具11や軒元固定金具12に取付ける際に用いられる取付ボルト24などが、縦枠材13と第二の縦枠材22とを貫通するように設置されても良い。また、共用枠21の上側の内側部における、上側の取付ボルト24の位置には、水上ジョイント金具25などを取付けても良い。
なお、比較例として図4に示す、既存の標準仕様の屋根パネル40の場合には、屋根枠15が屋根面材16とほぼ同じ大きさに形成されており、この屋根枠15は、縦枠材13の外側に第二の縦枠材22のない一重枠構造となっている。よって、既存の標準仕様の屋根パネル40は、この実施例の屋根パネル4とは、基本構造が異なっている。
(2)図5(図6)に示すように、第二の縦枠材22は、鋼製外垂木31としても良い。
鋼製外垂木31は、縦枠材13よりも高さ寸法が小さいものとされて、屋根面材16との間に隙間32(図6)を有して取付けられても良い。
ここで、鋼製外垂木31は、どのようなものとしても良いが、例えば、ウェブ部31aの上下端部に共用枠21の幅方向の外方へ延びる一対のフランジ部31b,31cを有するC字断面のものなどとしても良い。鋼製外垂木31には、屋根仕様(例えば、多雪地仕様や、太陽光パネル仕様や、瓦仕様や、幅広パネル仕様など)に応じて必要な強度を有するものが使用される。鋼製外垂木31は、縦枠材13とほぼ同じ長さを有しており、縦枠材13に対してボルト・ナットなどの固定具33で横から固定されることで、二重化される(部分二重枠構造)。その他の構成については、標準仕様の第二の縦枠材22とほぼ同様である。
鋼製外垂木31は、図5(b)に示すように、縦枠材13に対し下部の位置を揃えて設置することで、屋根面材16との間に所要の隙間32を形成する。この隙間32は、図6に示すように、屋根面材16の上に屋根仕上材35などを施工する際に、屋根仕上材35などを固定するための固定具36の先端部が鋼製外垂木31に当たらないようにするための間隔が確保される。
そして、屋根面材16の上に対する屋根仕上材35などの施工は、まず、図7に示すように、屋根面材16の上にルーフィング材などの防水シート37を敷設する。次に、屋根面材16の水上側の辺部に沿って水上受鋼板38を取付け、屋根面材16の水上側の辺部に沿って軒先受金具39を取付ける。そして、屋根面材16の幅方向の側部に必要に応じて捨水切41を取付ける。捨水切41の取付けの際には、図8に示すように、第二の縦枠材22の外側面の位置を基準にして寸法管理を行うようにする(寸法管理用治具42)。
また、図7に示すように、屋根面材16の上面に、捨水切41と平行となるようにアンカークリップ43を所要の間隔で取付ける。捨水切41やアンカークリップ43は、板金用ビスやネジなどの固定具44などを用いて上から屋根面材16に取付ける。そして、捨水切41とアンカークリップ43との間や、隣接するアンカークリップ43の間に、屋根仕上材35を取付ける。そして、ルーフィング材などの防水シート37を、屋根面材16の縁部に合わせてカットする。
更に、隣接する屋根仕上材35の側縁部間を上から目地カバー45で覆い、目地カバー45の所要位置に雪止金具などを取付けるようにする。途中、必要に応じてアンカークリップ43の先端部や、水上受鋼板38と目地カバー45との間などに、変性シリコーンなどの防水シール剤47を施工する。
なお、比較例として図9に示す、既存の多雪地仕様の屋根パネル40の場合は、屋根枠15には、横枠材14として2×4材が使用され、縦枠材13として2×8材や、2×8材と同じ大きさの単板積層材48が部分三重枠構造などとなるように使用されている。この場合には、2×4材と2×8材などとが混在されることによって、屋根枠15の下側に段差が生じるので、生産設備には段差部分を支持するための定盤などが必要になる。また、2×8材や単板積層材48はコストが高く、また、単板積層材48は固くて釘が打ち難いなどの問題がある。
よって、既存の多雪地仕様の屋根パネル40は、図4に示す既存の一般地仕様の屋根パネル40とは、厚みや基本構造などが全く異なるものとなっている。そして、既存の多雪地仕様の屋根パネル40には、生産性が悪いという問題があった。これに対し、この実施例の場合には、多雪地仕様と一般地仕様とで、屋根パネル4の基本構造は同じで、生産性の良いものとなる。
<作用>この実施例の作用は、以下の通りである。
この実施例の建物1では、建物本体7の上に複数枚の屋根パネル3,4を斜めに設置することで、屋根2が形成される。
屋根パネル4には、例えば、一対の縦枠材13と一対の横枠材14とを組み合わせて成る矩形状の屋根枠15と、屋根枠15の上面に張設された矩形状の屋根面材16とを有するものを使用することができる。
そして、屋根パネル4を、仕様ごとにそれぞれ異なる構造にした場合、複数種類の屋根パネル4が存在することになるため、生産性が悪くなる。
<効果>この実施例によれば、以下のような効果を得ることができる。
(効果 1)屋根パネル4は、屋根枠15を、屋根面材16の幅両側部よりも内側に縦枠材13が位置された共用枠21としても良い。そして、共用枠21は、縦枠材13の外側面に屋根仕様に応じた第二の縦枠材22を取付けられるようにしても良い。これにより、例えば、共用枠21に屋根面材16を張設した基本部分を予め作成して用意しておき、使用するときに共用枠21を構成する縦枠材13の外側面に第二の縦枠材22を取付けるだけで、屋根仕様に応じた屋根パネル4を迅速且つ効率的に製造することができる。
なお、屋根面材16は、共用枠21に第二の縦枠材22を取付けた後で、共用枠21に取付けることで製造するようにしても良い。
そして、共用枠21は、既存の屋根枠15と比べて面積が小さくなっているため、材料コストを抑制することができる。また、共用枠21は、既存の屋根枠15と同じ材料と、同じ生産設備とを用いて、ほぼ同様の製造工程で生産できるため、特に製造に手間やコストがかからない。よって、屋根パネル4の基本部分の共用化を図ることや、屋根仕様に応じた最適な屋根パネル4を自在に作れるようにすることや、屋根パネル4の生産性を向上することや、屋根パネル4のコストの削減を図ることなどが可能になる。
(効果 2)第二の縦枠材22は、鋼製外垂木31としても良い。これにより、鋼製外垂木31は上下方向の荷重に対して高い剛性を有するので、共用枠21に鋼製外垂木31を取付けることで、高い強度の屋根パネル4を得ることができる。このような高強度の屋根パネル4は、例えば、多雪地仕様や太陽光パネル仕様や瓦仕様や大判パネル仕様などの場合に利用することができる。そして、高強度の屋根パネル4を、標準仕様の屋根パネル4と同じ厚みに仕上げることができる。
また、鋼製外垂木31は、縦枠材13よりも高さ寸法が小さく形成されて、屋根面材16との間に隙間32を有して取付けられるようにしても良い。これにより、屋根面材16の上に屋根仕上材35などを施工する際に、屋根仕上材35などを固定する固定具36が鋼製外垂木31に当たらないようにすることができる。
4 屋根パネル
13 縦枠材
14 横枠材
15 屋根枠
16 屋根面材
21 共用枠
22 第二の縦枠材
31 鋼製外垂木
32 隙間

Claims (2)

  1. 一対の一本物の縦枠材と一対の一本物の横枠材とを組み合わせて成る矩形状の一つの屋根枠と、該屋根枠の上面に張設された矩形状の屋根面材とを有する屋根パネルであって、
    前記屋根枠は、前記縦枠材が、前記屋根面材の幅両側部よりも内側に位置された共用枠となっており、
    該共用枠は、前記縦枠材の外側面に屋根仕様に応じた第二の縦枠材を取付けられるようになっていると共に、
    前記共用枠は、水下側の前記横枠材が、前記屋根面材の幅寸法と同じ長さとされて、水上側の面の端部近傍に、前記縦枠材の下端部が当接固定されていることを特徴とする屋根パネル。
  2. 請求項1に記載の屋根パネルであって、
    前記第二の縦枠材は、鋼製外垂木であり、
    該鋼製外垂木は、前記縦枠材よりも高さ寸法が小さいものとされて、前記屋根面材との間に隙間を有して取付けられることを特徴とする屋根パネル。
JP2019022263A 2019-02-12 2019-02-12 屋根パネル Active JP7193368B2 (ja)

Priority Applications (1)

Application Number Priority Date Filing Date Title
JP2019022263A JP7193368B2 (ja) 2019-02-12 2019-02-12 屋根パネル

Applications Claiming Priority (1)

Application Number Priority Date Filing Date Title
JP2019022263A JP7193368B2 (ja) 2019-02-12 2019-02-12 屋根パネル

Publications (2)

Publication Number Publication Date
JP2020128669A JP2020128669A (ja) 2020-08-27
JP7193368B2 true JP7193368B2 (ja) 2022-12-20

Family

ID=72174374

Family Applications (1)

Application Number Title Priority Date Filing Date
JP2019022263A Active JP7193368B2 (ja) 2019-02-12 2019-02-12 屋根パネル

Country Status (1)

Country Link
JP (1) JP7193368B2 (ja)

Citations (1)

* Cited by examiner, † Cited by third party
Publication number Priority date Publication date Assignee Title
JP2000336822A (ja) 1999-05-27 2000-12-05 Sekisui Chem Co Ltd 屋根パネルと屋根構造

Family Cites Families (2)

* Cited by examiner, † Cited by third party
Publication number Priority date Publication date Assignee Title
JP2801786B2 (ja) * 1991-02-21 1998-09-21 ミサワホーム株式会社 屋根パネル
JPH094126A (ja) * 1995-06-15 1997-01-07 Misawa Homes Co Ltd 建築用パネル

Patent Citations (1)

* Cited by examiner, † Cited by third party
Publication number Priority date Publication date Assignee Title
JP2000336822A (ja) 1999-05-27 2000-12-05 Sekisui Chem Co Ltd 屋根パネルと屋根構造

Also Published As

Publication number Publication date
JP2020128669A (ja) 2020-08-27

Similar Documents

Publication Publication Date Title
JP5671643B2 (ja) 屋根パネル及び建物の屋根構造
JP5080191B2 (ja) 外壁施工構造
JP7348363B2 (ja) 断熱構造及び建物
JP7193368B2 (ja) 屋根パネル
JP2009102844A (ja) 金属製建屋、屋根材ユニット及びジョイント部材
KR101792193B1 (ko) 하우스 시공방법
WO2015114859A1 (ja) 分割式屋根材および屋根の設置方法
KR200390559Y1 (ko) 펄린, 펄린용 클립 및 지붕구조
JP7115922B2 (ja) 断熱構造及び建物
RU2608369C2 (ru) Стыковочная конструкция внешних стеновых материалов
JP6415194B2 (ja) 隙間の屋根構造
JP2665430B2 (ja) 屋根パネルの接続構造
JP2662749B2 (ja) 屋根の水勾配工法
JP2980199B2 (ja) 建築物構造
JP7171046B2 (ja) 外設部材を備える屋根構造
JP7285089B2 (ja) 屋根構造
JP5199609B2 (ja) 大型壁パネルの設置構造
JPH042253Y2 (ja)
JP6908404B2 (ja) 勾配屋根構造及び建物
JP6535272B2 (ja) 建物の屋根構造
KR200267641Y1 (ko) 조립식 건축물용 지붕판 고정구
JP6863790B2 (ja) 雪止具、屋根構造および建物
JP3919336B2 (ja) 野地板及び外囲体
JPH05133046A (ja) 建築用屋根パネル
JPH036733Y2 (ja)

Legal Events

Date Code Title Description
A621 Written request for application examination

Free format text: JAPANESE INTERMEDIATE CODE: A621

Effective date: 20211122

A977 Report on retrieval

Free format text: JAPANESE INTERMEDIATE CODE: A971007

Effective date: 20220909

A131 Notification of reasons for refusal

Free format text: JAPANESE INTERMEDIATE CODE: A131

Effective date: 20220920

A521 Request for written amendment filed

Free format text: JAPANESE INTERMEDIATE CODE: A523

Effective date: 20220921

TRDD Decision of grant or rejection written
A01 Written decision to grant a patent or to grant a registration (utility model)

Free format text: JAPANESE INTERMEDIATE CODE: A01

Effective date: 20221115

A61 First payment of annual fees (during grant procedure)

Free format text: JAPANESE INTERMEDIATE CODE: A61

Effective date: 20221208

R151 Written notification of patent or utility model registration

Ref document number: 7193368

Country of ref document: JP

Free format text: JAPANESE INTERMEDIATE CODE: R151